Область техники, к которой относится изобретение.
Изобретение относится к устройствам для формирования, подведения и отпуска программно-рассчитанной дозы от пучка заряженных частиц или ионизирующего излучения, посредством фокусировки, замедления, регулирующих диафрагм, затворов или прерывателей, и может быть использовано как в рутинной лучевой терапии, так и флеш-терапии [G21K1/04, A61N5/10].
Уровень техники.
Чоппер протонного пучка представляет собой электромеханический прибор, выполненный с возможностью функционировать, как в атмосферных условиях процедурных кабинетов лучевых терапевтических установок, так и в высоковакуумных объёмах ускорителей, высокоинтенсивных потоков частиц протонного пучка, пропуская и/или отсекая его, по программно-задаваемому интервалу времени или по достижении заданного значения дозы, не нарушая поперечной равномерности в облучаемой мишени пациента, или по аварийному отключению электропитания.
Из уровня техники известна СИСТЕМА ДЛЯ ПРОВЕДЕНИЯ ПРОТОННОЙ ТЕРАПИИ [EP1584353A1, опубл. 12.10.2005], содержащая корпус, содержащий проход для прохождения протонного пучка и линейный двигатель, содержащий статор и ротор, содержащий мишень полного поглощения (МПП) и расположенный между ними проём для прохождения протонного пучка, при этом ротор выполнен с возможностью линейного перемещения для совмещения прохода корпуса и либо проёма ротора, либо МПП ротора.
Недостатками аналога являются наличие только одной МПП, соответственно отсутствие последовательного совмещения прохода корпуса и либо проёма ротора, либо одной из МПП ротора, что уменьшает скорость перекрытия центрального прохода для прохождения протонного пучка, и отсутствие у ротора возможности при обесточивании занимать устойчивое положение, в котором с проходом в корпусе совмещена одна из МПП.
Также из уровня техники известен НЕЙТРОННЫЙ ЧОППЕР ВРАЩАЮЩЕГОСЯ ДИСКОВОГО ТИПА [CN104376890A, опубл. 25.02.2015], содержащий корпус, содержащий проход корпуса для прохождения нейтронного пучка и расположенный на корпусе через тонкую стенку вакуумной камеры серводвигатель, содержащий мишень рассеивания и замедления (МРЗ) дискового типа с секторным проёмом для прохождения нейтронного пучка, при этом серводвигатель выполнен с возможностью вращения МРЗ для совмещения прохода корпуса и либо секторного проёма ротора, либо слоя вещества МРЗ.
Недостатками аналога являются наличие только одной МРЗ, соответственно отсутствие последовательного совмещения прохода корпуса и либо проёма ротора, либо одной МРЗ ротора, что уменьшает скорость перекрытия центрального прохода для прохождения нейтронного пучка, создаёт поперечную неравномерность в нейтронном поле, отсутствие у ротора возможности при обесточивании занимать устойчивое блокирующее положение, в котором с проходом в корпусе совмещена одна из МРЗ, а также, наличие постоянно вращательного движения массивного диска МРЗ, что увеличивает потребление энергии.
Наиболее близким по технической сущности является ЧОППЕР ДЛЯ УДАЛЕНИЯ ПУЧКА БЫСТРЫХ НЕЙТРОНОВ [CN107170506A, опубл. 15.09.2017], содержащий корпус, содержащий проход корпуса для прохождения нейтронного пучка и расположенный в корпусе через тонкую стенку форвакуумной камеры ротор, содержащий две мишени рассеивания и замедления (МРЗ) и расположенный между ними проём корпуса для прохождения нейтронного пучка, при этом ротор выполнен с возможностью вращения для совмещения прохода корпуса и либо проёма ротора, либо одной из МРЗ ротора.
Недостатками прототипа являются отсутствие у постоянно и равномерно вращающегося ротора способности изменять интервал времени, скважность и период проходного и закрытого состояния. Выполнение мишеней в виде мишеней рассеивания и замедления, способные только уменьшать количество и энергию нейтронов. Также отсутствует свойство при обесточивании чоппера (аварийное отключение) занимать устойчивое крайнее положение, в котором проход в корпусе перекрыт одной из МРЗ, наличие постоянно вращающегося мотора большой мощности, вращающего две тяжёлые, замедляющие и рассеивающие мишени, что не позволяет целенаправленно, по заданию оператора, вводить и выводить МРЗ в зону свободного прохождения пучка нейтронов, изменять время облучения опухолей, от сотен микросекунд (n*10-6 ) секунд до (m*103) секунд, открытого прохождения пучка, т.е. управлять потоком нейтронов.
Раскрытие сущности изобретения.
Технической проблемой, на решение которой направлено заявленное изобретение заключается в создании чоппера протонного пучка повышенной безопасности.
Техническим результатом является повышение безопасности и увеличение скорости перекрытия прохода для прохождения протонного пучка.
Повышение безопасности объективно проявляется в уменьшении числа факторов, способных компрометировать безопасность проведения сеанса протонной лучевой терапии и привести к нанесению вреда онкологическим пациентам, медицинскому персоналу или повреждению дозиметрического мониторного оборудования.
Указанный физико-технический результат обеспечивает чоппер протонного пучка для проведения сеансов рутинной и флеш-терапии, с программно управляемым временным интервалом, содержащий корпус, содержащий проход для прохождения протонного пучка и линейный двигатель, содержащий статор и ротор, содержащий две мишени полного поглощения (МПП) из комбинации конструкционного углеродного - (12С) блока, фольгового свинца- (207Pb), и блока борированного полиэтилена (водорода 1Н и бора 10В), выполненные с возможностью полного поглощения протонного пучка и расположенный между ними проём для прохождения протонного пучка, при этом ротор выполнен с возможностью возвратно-поступательного движения для последовательного совмещения прохода корпуса, перекрываемого за ~5 миллисекунд или более, одной из двух МПП ротора, при этом ротор имеет возможность в обесточенном состоянии линейного двигателя скатываться в крайнее устойчивое положение, в котором с проходом протонного пучка, в корпусе, совмещена одна из двух МПП.
В частности, проём между двух МПП образован их гранями, параллельными между собой и направлению распространения протонного пучка.
В частности, корпус и линейный двигатель выполнены герметичными по воздуху.
В частности, корпус выполнен в высоковакуумном исполнении.
В частности, ротор и статор находятся в атмосферном воздухе.
В частности, в корпусе имеется вакуумная камера, расположенная над линейным двигателем.
В частности, между ротором и статором имеется перегородка с углом наклона 5-7 градусов к горизонту.
В частности, на поверхность перегородки нанесён антифрикционный материал, например дисульфид молибдена.
В частности, статор закреплен на перегородке с внешней стороны корпуса чоппера и находится в атмосферном воздухе, а ротор, несущий два МПП, находится в высоковакуумном объёме.
В частности, МПП содержат блок конструкционного графита, впрессованного через свинцовую фольгу в блок борированного полиэтилена.
В частности, статор имеет канал водяного охлаждения.
В частности, ротор, несущий две МПП, за один цикл движения дважды перекрывает проход для прохождения протонного пучка.
В частности, в корпусе имеется входной фланец для прохождения протонного пучка.
В частности, в корпусе имеется выходной фланец для выпуска протонного пучка к пациенту или в атмосферу процедурного помещения в виде равномерного дозового поля протонного пучка.
Краткое описание чертежей.
На фиг. 1 показан вид сбоку чоппера протонного пучка в вакуумном исполнении.
На фиг. 2 показан линейный двигатель чоппера протонного пучка в вакуумном исполнении.
На фиг. 3 показана структура мишени полного поглощения (МПП) чоппера протонного пучка.
На фиг. 4 показан вид сверху чоппера протонного пучка с совмещённым проходом корпуса и проёмом ротора для прохождения протонного пучка.
На фиг. 5 и фиг. 6 показан вид сверху вариантов чоппера протонного пучка с совмещённым проходом корпуса и одной из МПП.
На фиг. 7 показан вид сбоку чоппера протонного пучка в атмосферном исполнении.
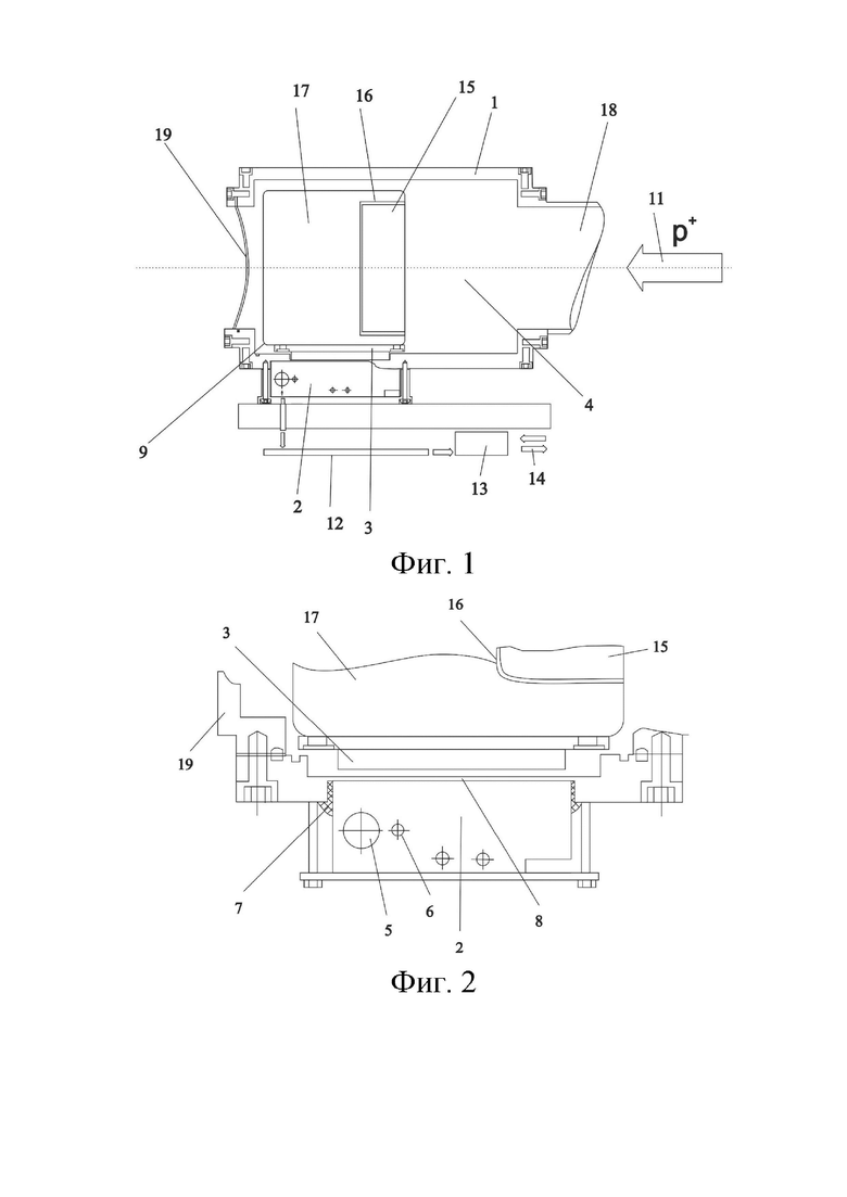
На фигурах обозначено: 1 - корпус, 2 - статор, 3 - ротор, 4 - вакуумная камера, 5 - ввод силового питания линейного двигателя, 6 - канал водяного охлаждения, 7 - вакуумный клей, 8 - перегородка, 9 - мишени полного поглощения, 10 - проём, 11 - протонный пучок, 12 - шина управления, 13 - программный драйвер, 14 - устройство дистанционного управления, 15 - слой конструкционного графита, 16 - слой свинцовой фольги, 17 - блок из борированного полиэтилена, 18 - входной фланец, 19 - выходной фланец, 20 - дозовое поле, прошедшее проём между двух МПП, протонного пучка.
Осуществление изобретения.
Чоппер протонного пучка содержит корпус 1, предпочтительно выполненный герметичным по воздуху, предпочтительно вакуум-плотным.
Чоппер в вакуумном исполнении имеет линейный двигатель, содержащий неподвижный статор 2 и ротор 3, выполненный с возможностью к движению. Над линейным двигателем в корпусе 1 расположена вакуумная камера 4.
Статор 2 содержит медную силовую обмотку с вводом 5, ярмо магнитопровода, и канала водяного охлаждения 6. Статор 2 жёстко закреплен с помощью резьбового соединения и вакуумного клея 7 на тонкой немагнитной перегородке 8 из нержавеющей стали с внешней стороны корпуса 1. Перегородка 8 выполнена в теле корпуса 1 фрезерованием так, что имеет угол наклона к горизонту величиной 5-7 градусов в направлении движения ротора 3. Для снижения коэффициента трения между ротором 3 и перегородкой 8 на перегородку 8 нанесён дисульфид молибдена.
Ротор 3 содержит пластину с полюсными накладками и имеет возможность свободно с большой скоростью, совершать возвратно-поступательные движения над перегородкой 8 в объёме вакуумной камеры 4.
В вакуумной камере 4 на роторе 3 расположены по бокам, параллельно друг другу две составные мишени 9 полного поглощения (МПП) и разделенные друг от друга свободным пространством - проёмом 10, выполненным с возможностью беспрепятственного прохода протонного пучка 11. Грани блоков МПП 9, образующие проём и обращённые друг к другу, строго параллельны между собой и вектору скорости частиц протонного пучка 11.
При отсутствии магнитного поля в статоре 2 ротор 3 имеет возможность к самопроизвольному перекрытию проёма прохождения протонного пучка 11 за счет совмещения прохода корпуса 1 и одной из двух МПП 9 ротора 3. Данное положение является устойчивым положением ротора 3. При возникновении в статоре 2 магнитного поля, за счет подачи электрического тока на него, ротор 3, противодействуя силе тяжести, имеет возможность к выходу из своего вышеописанного устойчивого положения и осуществлению линейного перемещения в ответ на силу магнитного поля на статоре 2.
В результате при непредусмотренном обесточивании линейного двигателя ротор 3 имеет возможность безусловно занимать свое устойчивое положение, в котором проход корпуса 1для протонного пучка, перекрыт одной из двух МПП 9.
Перекрытие прохода для протонов в обесточенном состоянии обеспечивает безопасность для персонала, пациента и окружающей среды, а также предотвращает утечку индуцированного излучения от первичного протонного пучка и позволяет исключить избыточную дозу облучения из-за обесточивания линейного двигателя в процессе эксплуатации чоппера.
Перегородка 8 между статором 2 и ротором 3, имеет возможность дополнительно способствовать переходу ротора 3 в свое устойчивое первоначальное положение при аварийном обесточивании линейного двигателя, за счет формирования наклонной поверхности для скатывания ротора 3 в свое исходное устойчивое положение. При этом ротор 3 выполнен с возможностью перекрытия прохода протонного пучка 11 одной из МПП 9.
Ротор 3, с установленными на нем двумя составными МПП 9, имеет возможность к возвратно-поступательному движению под управлением команд по шине управления 12 от программного драйвера 13 устройства дистанционного управления 14 для закрытия и открытия центрального прохода для прохождения протонного пучка 11 через вакуумную камеру 4. Ротор 3, за счет расположенных на нём двух МПП 9, имеет возможность за один цикл движения ротора 3 дважды перекрывать центральный проход для прохождения протонного пучка 11.
Обе мишени 9 полного поглощения (МПП) выполнены с возможностью торможения частиц протонного пучка 11 до их полной остановки и неупругого взаимодействия с ядрами углерода 12С в укороченном по пробегу слое 15 конструкционного графита. Сечение ядерной реакции 12С (p, pn) 11C имеет пороговое значение при энергии Е=~20 МэВ.
Период полураспада изотопов углерода 11C, содержащихся в слое 15 в каждой из двух МПП 9, составляет 20,6 минуты, что снижает риск облучения медицинского и технического персонала.
Каждая мишень 9 выполнена из конструкционного углерода (графита), имеющего форму цилиндра, высота которого равна величине укороченного пробега протонов с энергией на 20 МэВ меньше, чем значение начальной (Е0 >20 МэВ). Слой 15 конструкционного графита цилиндрической формы запрессован через слой 16 свинцовой фольги, толщина которой может составлять предпочтительно от 0.25мм до 0.5 мм, в прямоугольный блок 17 из борированного полиэтилена. Тонкий слой 16 свинцовой фольги имеет возможность, испускаемые ядрами углерода 11С позитроны, конвертировать, в реакции аннигиляции, на электронах металла (Pb), в два гамма-кванта с энергиями по 511 кэВ каждый. Блок 17 из борированного полиэтилена выполнен в форме параллелепипеда, высота которого ровна или больше величины пробега частиц протонного пучка с энергией Е0. Толщина блока 17 из борированного полиэтилена, должна быть больше величины пробега частиц протонного пучка с исходной энергией Е0, рассчитанная с учётом физической плотности, используемой марки борированного полиэтилена.
Чоппер имеет входной высоковакуумный фланец 18, выполненный с одной стороны вакуумной камеры 4 с возможностью приема, входа, протонного пучка 11, и расположенный с противоположной стороны чоппера выходной фланец 19 с тонким фольговым окном 11, с возможностью выпуска сформированного, равномерного дозового поля 20 протонного пучка на опухоль пациента или в атмосферу процедурного помещения медицинского учреждения.
Чоппер протонного пучка в атмосферном исполнении отличается тем, что не имеет вакуумную камеру 4, между статором 2 и ротором 3 отсутствует перегородка 8, с нанесённым на ее поверхность дисульфидом молибдена.
Чоппер протонного пучка используется следующим образом.
Чоппер протонного пучка может нарезать протонный пучок или полностью его поглощать при неиспользовании непрерывно подающегося протонного пучка или в случае обесточивания.
При вакуумном исполнении генерируемый ускорителем, непрерывный протонный пучок проходит через входной фланец и попадает в вакуумную камеру объёма чоппера. При атмосферном исполнении протонный пучок проходит через входной фланец и попадает внутрь корпуса чоппера.
В начале измеряется величина тока частиц протонного пучка. По этому значению программно рассчитывается время открытого состояния чоппера, необходимое для подведения заданной лучевым терапевтом дозы излучения пациенту. Под управлением команд по шине управления от программного драйвера устройства дистанционного управления подается сигнал на статор для закрытия или открытия прохода корпуса для прохождения протонного пучка. Ротор с двумя МПП быстро перемещается в состояние совмещения проёма с зоной прохождения пучка. Останавливается в положении «открыто» на заранее рассчитанное время. Далее, ротор, перемещаясь в том же направлении, перекрывает прохождение частиц протонного пучка к мишени пациента, второй МПП. Непрерывное прохождение пучка частиц прервано по достижении заданного значения дозы излучения или истечению рассчитанного интервала времени положения «открыто».
При вакуумном исполнении, силовое электромагнитное поле, передаётся от статора, находящегося в атмосфере, к ротору, расположенному в высоковакуумной камере, через тонкую немагнитную перегородку. При атмосферном исполнении силовое электромагнитное поле, передаётся от статора, через воздушный зазор непосредственно на ротор. При отсутствии электромагнитного поля в статоре ротор перекрывает прохождение протонного пучка за счет совмещения прохода корпуса и одной из МПП ротора. При подаче сигнала об открытии прохода в статоре создается электромагнитное поле, ротор, противодействуя силе, выходит из своего вышеописанного устойчивого положения и осуществляет линейное перемещение в ответ на изменение электромагнитного поля на статоре. Ротор из положения, когда МПП перекрывает прохождение протонного пучка, перемещается таким образом, чтобы протонный пучок свободно проходил через вакуумную камеру и проём между МПП, в случае вакуума, или внутри корпуса, в случае атмосферного исполнения, и выходил через выходной фланец. При подаче сигнала закрытия прохода, ротор, с находящимися на нём двумя МПП, перемещается таким образом, чтобы одна из двух МПП перекрывала свободное прохождение протонного пучка. При попадании протонного пучка на один из двух МПП протоны взаимодействуют с ядрами 12С в графитовом блоке. На ядрах углерода происходит ядерная реакция, 12С (р, pn) 11C, в результате которой образуется нейтрон дефицитное ядро углерода. Это состояние ядра 11C неустойчиво и возбуждение снимается путём выброса двух частиц, позитрона и электронного нейтрино. 11С→10B+e+νe, при этом ядро становится элементом (10В) - Бор. Слой свинцовой фольги за счет большой физической, массовой и электронной плотности значительно сокращает пробег позитронов до электронов среды и их аннигиляции. В результате реакции аннигиляции рождаются два гамма-кванта с энергиями 511кэВ. Гамма-кванты разлетаются под углом в ~180° градусов, и только один из двух может перенести энергию излучения в сторону размещения пациента. Гамма-излучение относится к классу слабо ионизирующих, что также снижает дозу у пациента от вторичного излучения. Нейтроны, образующиеся в ядерной реакции 12С (р, pn) 11C, взаимодействуют с ядрами водорода и ядрами бора, в блоке борированного полиэтилена одного из двух МПП, рассеиваются и замедляются. Таким образом происходит поглощение энергии частиц протонного пучка при его утилизации на ядрах углерода (12С), водорода (1Н) и бора (10В), а также в реакции аннигиляции на электронах.
При непредусмотренном, аварийном обесточивании линейного двигателя, под действием силы тяжести ротор, содержащий две МПП, безусловно сдвигается так, что одна из двух МПП совмещается с проходом корпуса для прохождения протонного пучка, тем самым перекрывая непрерывно проходящий через чоппер протонный пучок.
Открытие и закрытие прохода для свободного прохождения протонного пучка может выполняться за интервал времени в единицы миллисекунд, что позволяет фрагментировать непрерывный протонный пучок на необходимые временные интервалы или на достижение заданного уровня интегральных доз излучения на мишени. Это свойство чоппера, быстро и по заранее заданному алгоритму работы, разрешать, удерживать и запрещать свободное прохождение протонного пучка, является перспективным электромеханическим устройством в его использовании на непрерывных, и сильноточных, циклотронных пучках в лучевых центрах с рутинной и флэш-терапией злокачественных образований.
Обоснование достижения технического результата.
Повышение безопасности достигается за счет того, что при отсутствии электромагнитного поля (аварийная ситуация) ротор имеет устойчивое положение, при котором полностью перекрывает проход корпуса одной из МПП, тем самым при неиспользовании протонного пучка не позволяет ему облучать окружающее пространство и персонал, так как не происходит активация воздуха в процедурном помещении, материалов противоположной степны, дозиметрического мониторного оборудования. Помимо этого, санкционированное или определяемое планом облучения перекрытие ротором прохождение протонного пучка позволяет не выключать источники тока магнитных блоков ускорителя протонного пучка при его временном неиспользовании, обеспечивая постоянство заданных характеристик протонного пучка, экономию электроэнергии и предотвращая эффекты гистерезиса в магнитных блоках и поляризации узлов ускорительной машины. При непредусмотренном, аварийном обесточивании линейного двигателя чоппера, ротор скатывается, занимая устойчивое положение, при котором проход корпуса перекрыт одной из двух МПП, что повышает безопасность для персонала, пациентов и окружающей среды, а также предотвращает генерацию аэрозолей в процедурном помещении.
Наличие тонкой, вакуумной перегородки, нижней части корпуса, между ротором и статором, имеющей угол наклона величиной 5-7 градусов к горизонту в направлении ротора, дополнительно обеспечивает самопроизвольное скатывание к устойчивому первоначальному положению ротора при обесточивании линейного двигателя. В этом случае происходит совмещение прохода корпуса и одной из МПП ротора, что повышает безопасность, за счет перекрытия протонного пучка и его утилизации в материалах МПП, предотвращая облучение персонала и. окружающей среды.
Также снижается риск облучения медицинского и технического персонала и повышается безопасность, за счет использования в МПП углерода в слое конструкционного графита в каждой из двух МПП, у которого период полураспада изотопов углерода 11C, составляет всего 20,6 минут.
Наличие в МПП слоя из свинца позволяет конвертировать испускаемые ядрами углерода 11С позитроны в реакции аннигиляции на электронах атомов металла (Pb) в два гамма-кванта с энергиями по 511 кэВ каждый. Аннигиляционные гамма-кванты, разлетаясь под углом ~180° градусов, соответственно, в два раза снижают лучевую нагрузку на пациента. Блок борированного полиэтилена поглощает избыточное количество протонного пучка, низкой энергии, проходящего через чоппер, что также повышает радиационную безопасность, исключая получение избыточной дозы облучения.
Также, наличие двух МПП, которые попеременно находятся под прямым протонным пучком высокой энергии, активируются также попеременно, что приводит к снижению уровня наведённой активности каждой из двух МПП, - в два раза.
Ротор совершает возвратно-поступательное движение и содержит две МПП, между которыми есть проём для прохождения протонного пучка, что позволяет за один цикл движения ротора дважды открывать и перекрывать проход для прохождения протонного пучка, приводя к сокращению временного интервала протонного облучения до ~5 миллисекунд для свободного прохождения протонного пучка.
Ротор, несущий два МПП, совершает быстрое, линейное, возвратно-поступательное движение, открывая и закрывая свободный проход пучка, формируя равномерное дозовое поле протонного излучения, на выходном фланце корпуса чоппера.
Изобретение относится к устройству формирования, подведения и отпуска программно-рассчитанной дозы от пучка заряженных частиц или ионизирующего излучения посредством фокусировки, замедления, регулирующих диафрагм, затворов или прерывателей и может быть использовано в рутинной лучевой терапии и флеш-терапии. Чоппер протонного пучка содержит корпус с проходом для прохождения протонного пучка и линейный двигатель, содержащий статор и ротор. Ротор содержит две мишени полного поглощения (МПП) из комбинации конструкционного углеродного (12С) блока, фольгового свинца (207Pb) и блока борированного полиэтилена (водорода 1Н и бора 10В), выполненные с возможностью полного поглощения протонного пучка. Между ротором и статором расположен проем для прохождения протонного пучка. Причем ротор выполнен с возможностью возвратно-поступательного движения для последовательного совмещения прохода корпуса, перекрываемого за ~5 миллисекунд или более, одной из двух МПП ротора, а также с возможностью в обесточенном состоянии линейного двигателя скатываться в крайнее устойчивое положение, в котором с проходом протонного пучка в корпусе совмещена одна из двух МПП. Техническим результатом является повышение безопасности и увеличение скорости перекрытия прохода для прохождения протонного пучка. 13 з.п. ф-лы, 7 ил.
1. Чоппер протонного пучка для проведения сеансов рутинной и флеш-терапии с программно управляемым временным интервалом, содержащий корпус, содержащий проход для прохождения протонного пучка и линейный двигатель, содержащий статор и ротор, содержащий две мишени полного поглощения (МПП) из комбинации конструкционного углеродного (12С) блока, фольгового свинца (207Pb) и блока борированного полиэтилена (водорода 1Н и бора 10В), выполненные с возможностью полного поглощения протонного пучка и расположенный между ними проём для прохождения протонного пучка, при этом ротор выполнен с возможностью возвратно-поступательного движения для последовательного совмещения прохода корпуса, перекрываемого за ~5 миллисекунд или более, одной из двух МПП ротора, при этом ротор имеет возможность в обесточенном состоянии линейного двигателя скатываться в крайнее устойчивое положение, в котором с проходом протонного пучка, в корпусе, совмещена одна из двух МПП.
2. Чоппер по п. 1, в котором проём между двух МПП образован их гранями, параллельными между собой и направлению распространения протонного пучка.
3. Чоппер по п. 1, в котором корпус и линейный двигатель выполнены герметичными по воздуху.
4. Чоппер по п. 1, в котором корпус выполнен в высоковакуумном исполнении.
5. Чоппер по п. 3, в котором ротор и статор находятся в атмосферном воздухе.
6. Чоппер по п. 4, в котором в корпусе имеется вакуумная камера, расположенная над линейным двигателем.
7. Чоппер по п. 4, в котором в корпусе между ротором и статором имеется перегородка с углом наклона 5-7 градусов к горизонту, вмонтированная в нижнюю часть корпуса.
8. Чоппер по п. 4, в котором на перегородку нанесён антифрикционный материал, например дисульфид молибдена.
9. Чоппер по п. 4, в котором статор закреплен на перегородке с внешней стороны корпуса чоппера и находится в атмосферном воздухе, а ротор находится в высоковакуумном объеме.
10. Чоппер по п. 1, в котором МПП содержат блок конструкционного графита, впрессованного через свинцовую фольгу в блок борированного полиэтилена.
11. Чоппер по п.1, в котором статор имеет канал водяного охлаждения.
12. Чоппер по п.1, в котором ротор, несущий две МПП, за один цикл движения дважды перекрывает проход для прохождения протонного пучка.
13. Чоппер по п. 1, в котором имеется входной фланец для прохождения протонного пучка.
14. Чоппер по п. 1, в котором имеется выходной фланец для выпуска протонного пучка к пациенту или в атмосферу процедурного помещения в виде равномерного дозового поля протонного пучка.
| CN 107170506 A, 15.09.2017 | |||
| CN 104376890 B, 24.05.2017 | |||
| EP 1584353 A1, 12.10.2005 | |||
| RU 2776867 C1, 28.07.2022 | |||
| CN 208045114 U, 02.11.2018 | |||
| ПРОТОННОЕ ОБЛУЧЕНИЕ С ИСПОЛЬЗОВАНИЕМ СКАНИРОВАНИЯ ПЯТНОМ | 2012 |
|
RU2610530C2 |
| US 20060033042 A1, 16.02.2006 | |||
| US 20100012859 A1, 21.01.2010 | |||
| US 20090309520 A1, 17.12.2009 | |||
| US 20090236545 A1, 24.09.2009. | |||
Авторы
Даты
2025-03-31—Публикация
2024-09-17—Подача