Область техники
Настоящее изобретение относится к области вспомогательных дыхательных аппаратов и, в частности, к кислородно-водородной интегрированной машине.
Уровень техники
“Водород”, то есть “молекулы водорода”, является наименьшей молекулой в природе, которая чрезвычайно проницаема и диффундирует через кожу и слизистые оболочки в любой орган, ткань, клетку, митохондрии и ядро человеческого организма. Водород обладает идеальным селективным антиоксидантным действием, может избирательно и эффективно удалять злокачественные свободные радикалы - источник болезней и старения, восстанавливать баланс внутренней среды на самом базовом уровне клеток и жидкости организма человека, стимулировать механизм самовосстановления человеческого организма и всесторонне улучшать состояние здоровья.
В настоящее время существует два способа получения водорода с помощью устройства для получения водорода и кислорода путем электролиза для кислородно-водородной машины, один способ - получение чистого водорода, а другой способ - получение смеси кислорода и водорода. В ноздри вставляется трубка для всасывания водорода, имеющая небольшие отверстия для вывода чистого водорода, хотя некоторое количество воздуха будет всасываться в соседние отверстия, пользователь склонен к недостаточному поступлению кислорода, и может возникнуть явление нехватки кислорода; выход смеси кислорода и водорода может решить проблему низкого содержания кислорода, но объемное соотношение водорода и кислорода в режиме смешивания кислорода и водорода составляет 2:1, и, согласно теоретическому расчету, предел взрываемости водорода составляет 4%-75,6% (объемная концентрация), поэтому существующий режим смешивания кислород-водорода эффективен, но безопасность невысока. Кроме того, кислорода, получаемого при электролизе, меньше, а давление недостаточное, что затрудняет удовлетворение потребности пользователя в кислороде.
Раскрытие изобретения
Техническая проблема, решаемая настоящим изобретением, заключается в создании кислородно-водородной интегрированной машины, способной абсолютно и безопасно выдавать кислородно-водородную смесь таким образом, чтобы удовлетворить потребность пользователя в газообразной смеси кислорода и водорода.
Для решения вышеуказанной технической проблемы техническое решение настоящего изобретения заключается в следующем:
Кислородно-водородная интегрированная машина, включающая корпус машины, в котором модуль получения кислорода молекулярным ситом и модуль электролитического получения водорода предусмотрены в корпусе машины, кислородно-водородный интерфейс предусмотрен на одной стороне корпуса машины, модуль получения кислорода молекулярным ситом и модуль электролитического получения водорода соответственно выдает кислород и водород при одинаковом давлении газа с помощью клапана регулирования давления кислорода и клапана регулирования давления водорода, отверстие для ограничения потока кислорода и отверстие для ограничения потока водорода соответственно предусмотрены на выходном конце клапана регулирования давления кислорода и выходном конце клапана регулирования давления водорода, и кислород и водород сообщаются с кислородно-водородным интерфейсом после прохождения через отверстие для ограничения потока кислорода и выходное отверстие для регулирования давления водорода; и соотношение площадей поперечного сечения отверстия для ограничения потока кислорода и отверстия для ограничения потока водорода превышает 24:1.
Дополнительно, модуль получения кислорода молекулярным ситом и модуль электролитического получения водорода соответственно снабжены резервуаром для хранения кислорода и резервуаром для хранения водорода, и соотношение объемов между резервуаром для хранения кислорода и резервуаром для хранения водорода превышает 24:1; выходной конец резервуара для хранения кислорода снабжен клапаном регулирования давления кислорода, а выходной конец резервуара для хранения водорода снабжен клапаном регулирования давления водорода.
Дополнительно, отношение выхода кислорода модуля получения кислорода молекулярным ситом к выходу водорода модуля электролитического получения водорода превышает 24:1.
Конкретно, на кислородно-водородном интерфейсе предусмотрен смесительный клапан, входные концы смесительного клапана соответственно соединены с кислородом и водородом, и на кислородно-водородном интерфейсе образуется газообразная смесь кислорода и водорода, а объемная концентрация водорода в газообразной смеси кислорода и водорода не превышает 4%.
Дополнительно, между резервуаром для хранения кислорода и клапаном регулирования давления кислорода предусмотрен предохранительный клапан кислороа, а между резервуаром для хранения водорода и клапаном регулирования давления водорода предусмотрен предохранительный клапан водорода.
Альтернативно, выходной конец смесительного клапана соединен с клапаном регулирования расхода для регулирования выхода кислородно-водородной смеси газа.
Альтернативно, кислородно-водородный интерфейс снабжен увлажнителем или распылителем. Конкретно, увлажнитель или распылитель предусмотрен на выходном конце клапана регулирования расхода.
Дополнительно, в корпусе машины предусмотрены печатная плата управления и устройство питания, и печатная плата управления соединена с экраном дисплея, силовым выключателем и светодиодным индикатором, расположенными на одной стороне корпуса машины; устройство питания и печатная плата управления соответственно соединены с модулем получения кислорода молекулярным ситом и модулем электролитического получения водорода.
Дополнительно, модуль получения кислорода молекулярным ситом включает в себя компрессор, фильтр для сбора газа, соединенный с входным концом компрессора, и множество молекулярных сит, соединенных с выходным концом компрессора через блок электромагнитных клапанов, и молекулярные сита соединены с резервуаром для хранения кислорода.
Дополнительно, множество молекулярных сит предусмотрено в корпусе машины через монтажную вертикальную пластину, компрессор предусмотрен в монтажной раме, а блок электромагнитных клапанов, множество вентиляторов конденсации и конденсатор предусмотрены на монтажной раме; печатная плата управления и устройство питания крепятся на монтажной раме с помощью монтажной платы.
Дополнительно, модуль электролитического получения водорода содержит электролизёр, бак для чистой воды, предусмотренный на верхней стороне электролизёра через монтажную плату бака для чистой воды, и водородно-водяной сепаратор, причем бак для чистой воды соединен с электролизёром через трубу для чистой воды, в электролизёре предусмотрены пленка SPE, спеченный электролитический анод и спеченный электролитический катод, пленка SPE разделяет корпус электролизёра на водородную камеру и кислородную камеру, а водородная камера сообщена с водородно-водяным сепаратором.
Дополнительно, модуль электролитического получения водорода дополнительно содержит кислородно-водяной сепаратор, кислородная камера сообщена с кислородно-водяным сепаратором, кислородно-водяной сепаратор подает кислород к фильтру для сбора газа модуля молекулярно-ситового получения кислорода через кислородную трубу.
Альтернативно, в баке для чистой воды предусмотрены датчик уровня воды и датчик температуры воды, а датчик уровня воды и датчик температуры воды соединены с печатной платой управления.
Альтернативно, модуль электролитического получения водорода дополнительно включает в себя фильтрующий элемент из ионообменной смолы, циркуляционный контур образован между баком для чистой воды и фильтрующим элементом из ионообменной смолы, на циркуляционном контуре предусмотрена измерительная головка мониторинга качества воды, и измерительная головка мониторинга качества воды соединена с печатной платой управления.
Альтернативно, предусмотрены датчик напряжения для контроля рабочего напряжения отдельного элемента и датчик температуры для контроля температуры электролизёра, соответствующие электролизёру, причем датчик напряжения и датчик температуры соединены с печатной платой управления.
Альтернативно, в корпусе машины предусмотрен датчик азимута для контроля угла наклона корпуса машины, причем датчик азимута соединен с печатной платой управления.
Альтернативно, на входном конце резервуара для хранения кислорода предусмотрен невозвратный клапан кислорода, а на входном конце резервуара для хранения водорода предусмотрен невозвратный клапан водорода.
Предпочтительно, печатная плата управления предусмотрена для соединения с устройством беспроводной связи, и устройство беспроводной связи представляет собой один или более из модуля связи “Голубой Зуб”, модуля беспроводной связи RF и модуля связи Wi-Fi. Предпочтительно, модуль связи “Голубой Зуб 4.0” используется для реализации обмена данными с мобильным терминалом и может быть подключен к облачному серверу через мобильный терминал или напрямую подключен к облачному серверу.
Благодаря вышеупомянутому техническому решению кислородно-водородная интегрированная машина по настоящему изобретению снабжена модулем получения кислорода молекулярным ситом и модулем электролитического получения водорода, в котором клапаны регулирования давления соответственно предусмотрены на выходных концах кислорода и водорода, так что выходные давления кислорода и водорода - одинаково, а затем кислород и водород смешиваются через отверстие для ограничения потока; объемное соотношение кислорода к водороду превышает 24:1, и газообразная смесь кислорода и водорода находится в абсолютно безопасном состоянии благодаря физическим структурным характеристикам отверстия для ограничения потока; во-вторых, объемное соотношение резервуара для хранения кислорода к резервуару для хранения водорода установлено равным большему, чем 24:1, и обеспечивается абсолютное безопасное соотношение подаваемого кислорода и водорода до смешивания кислорода и водорода; в-третьих, соотношение выхода водорода модулем получения кислорода молекулярным ситом и модулем электролитического получения водорода превышает 24:1, так что соотношение между количеством вырабатываемого кислорода и количеством вырабатываемого водорода машины находится в абсолютно безопасном состоянии, а кислород в модуле электролитического получения водорода вводится в газогенераторную часть модуля получения кислорода молекулярным ситом, повышая эффективность получения кислорода и дополнительно повышая коэффициент безопасности устройства, и предотвращение опасного неконтролируемого состояния существующей комбинации концентратора кислорода и машины для производства водорода или кислородно-водородной машины при смешивании кислорода и водорода в соответствии с вышеуказанными многочисленными ограничениями безопасности.
Краткое описание прилагаемых чертежей
Для того, чтобы более четко объяснить технические решения в вариантах осуществления или известном уровне техники настоящего изобретения, ниже будет дано краткое описание прилагаемых чертежей, которые используются в описании вариантов осуществления или известного уровня техники, и очевидно, что чертежи в приведенное ниже описание представляет собой лишь некоторые варианты осуществления настоящего изобретения, и для специалиста в данной области было бы очевидно получить другие чертежи в соответствии с этими чертежами без привлечения каких-либо изобретательских усилий.
Фиг. 1. Структурная схема кислородно-водородной интегрированной машины настоящего изобретения, вид спереди;
Фиг. 2. Структурная схема кислородно-водородной интегрированной машины
настоящего изобретения, вид сбоку;
Фиг. 3. Структурная схема кислородно-водородной интегрированной машины в левом поперечном сечении настоящего изобретения;
Фиг. 4. Структурная схема кислородно-водородной интегрированной машины в правом поперечном сечении настоящего изобретения;
Фиг. 5. Первая структурная схема модуля получения кислорода молекулярным ситом настоящего изобретения;
Фиг. 6. Вторая структурная схема модуля получения кислорода молекулярным ситом настоящего изобретения;
Фиг. 7. Трехмерная структурная схема модуля электролитического получения водорода настоящего изобретения 1;
Фиг. 8. Трехмерная структурная схема модуля электролитического получения водорода настоящего изобретения 1;
Фиг. 9. Схема, показывающая структурный принцип кислородно-водородной интегрированной машины настоящего изобретения;
На фигурах представлены 1-корпус машины, 2-экран дисплея, 3- силовой выключатель, 4-светодиодный индикатор, 5-кислородно-водородный интерфейс, 6-увлажнитель/распылитель, 7-переключающая пластина, 8-печатная плата управления, 81-устройство беспроводной связи, 82-датчик азимута, 83-устройство сигнализации об отключении питания; 9-бак для чистой воды, 91-датчик уровня/температуры воды, 92-фильтрующий элемент из ионообменной смолы, 93-измерительная головка мониторинга качества воды; 10-крышка бака для воды, 11-монтажная плата бака для воды, 12-электролизёр, 121-датчик напряжения, 122-датчик температуры; 13-водородно-водяной сепаратор, 14-труба для чистой воды, 15-водородная труба, 16-резервуар для хранения водорода, 161-датчик давления водорода, 162-предохранительный клапан водорода; 17-клапан регулирования давления водорода, 18-отверстие для ограничения расхода водорода, 19-кислородная труба, 20-компрессор, 21-фильтр для сбора газа, 22-глушитель для сбора газа, 23-монтажная вертикальная пластина, 24-молекулярное сито, 25-блок электромагнитных клапанов, 26-глушитель выхлопных газов в сборе, 27-резервуар для хранения кислорода, 271-датчик давления кислорода, 272-предохранительный клапан кислорода, 273-датчик концентрации кислорода; 28-клапан регулирования давления кислорода, 29-невозвратный клапан кислорода, 30-отверстие для ограничения расхода кислорода, 31-смесительный клапан, 32-невозвратный клапан водорода, 33-газоотводящий фильтрующий экран, 34-монтажная рама, 35-вентилятор конденсации, 36-конденсатор, 37-монтажная плата контура, 38-устройство питания, 39-излучающий вентилятор электролизёра, 40-кислородно-водяной сепаратор, 41-клапан регулирования расхода, 42-обратный трубопровод.
Осуществление изобретения
Теперь будет дано подробное описание о вариантах осуществления настоящего изобретения, примеры которых проиллюстрированы на прилагаемых чертежах. Следует понимать, что описание этих вариантов осуществления предназначено для того, чтобы помочь в понимании настоящего изобретения, и не предназначено для ограничения объема настоящего изобретения. Кроме того, технические особенности, задействованные в различных вариантах осуществления настоящего изобретения, описанных ниже, могут комбинироваться друг с другом до тех пор, пока они не вступают в противоречие друг с другом.
Вариант осуществления 1
Как показано на фиг. 1-4 и 9, вариант осуществления настоящего изобретения предусматривает кислородно-водородную интегрированную машину, включающую корпус машины 1, в котором модуль получения кислорода молекулярным ситом и модуль электролитического получения водорода предусмотрены в корпусе машины 1, кислородно-водородный интерфейс 5 предусмотрен на одной стороне корпуса машины 1, модуль получения кислорода молекулярным ситом и модуль электролитического получения водорода соответственно выводят кислород и водород при одинаковом давлении газа посредством клапана регулирования давления кислорода 28 и клапана регулирования давления водорода 17, отверстие для ограничения потока кислорода 30 и отверстие для ограничения потока водорода 18 соответственно предусмотрены на выходном конце клапана регулирования давления кислорода 28 и на выходном конце клапана регулирования давления водорода 17 , и кислород и водород сообщаются с кислородно-водородным интерфейсом 5 после прохождения через отверстие для ограничения потока кислорода 30 и отверстие для ограничения потока водорода 18; и соотношение площадей поперечного сечения отверстия для ограничения потока кислорода 30 и отверстия для ограничения потока водорода 18 превышает 24:1.
Конкретно, смесительный клапан 31 предусмотрен на кислородно-водородном интерфейсе 5, входные концы смесительного клапана 31 соответственно соединены с кислородом и водородом, и на кислородно-водородном интерфейсе 5 образуется газообразная смесь кислорода и водорода, и объемная концентрация содержание водорода в кислородно-водородной смеси газов составляет не более 4%. Смесительный клапан 31 может быть трехходовым клапаном, или может использоваться резервуар для смешивания кислорода и водорода для смешивания кислорода и водорода в корпусе резервуара и последующего выхода.
При использовании, поскольку кислород и водород, выводимые модулем получения кислорода молекулярным ситом и модулем электролитического получения водорода соответственно, имеют одинаковое давление газа с использованием клапана регулирования давления, то количество газа, проходящего через отверстие для ограничения потока в единицу времени, связано с размером отверстие, и когда соотношение площадей поперечного сечения между отверстием, ограничивающим поток кислорода, и отверстием, ограничивающим поток водорода, превышает 24:1, то есть концентрация водорода в газообразной смеси кислород-водород не будет превышать 4%; это гарантирует, что газообразная смесь кислорода и водорода находится в абсолютно безопасном состоянии, и позволяет избежать регулирования выходного соотношения кислорода и водорода с помощью клапана регулирования расхода. Клапан регулирования расхода не может обеспечить абсолютную стабильность и безопасность, а ручное регулирование легко допускает ошибки, так что устройство находится в опасном и неконтролируемом состоянии, в то время как отверстие для ограничения расхода используется для ограничения соотношения кислорода и водорода в безопасном и контролируемом диапазоне с помощью физической конструкции, таким образом достигается абсолютная безопасность выходное состояние машины.
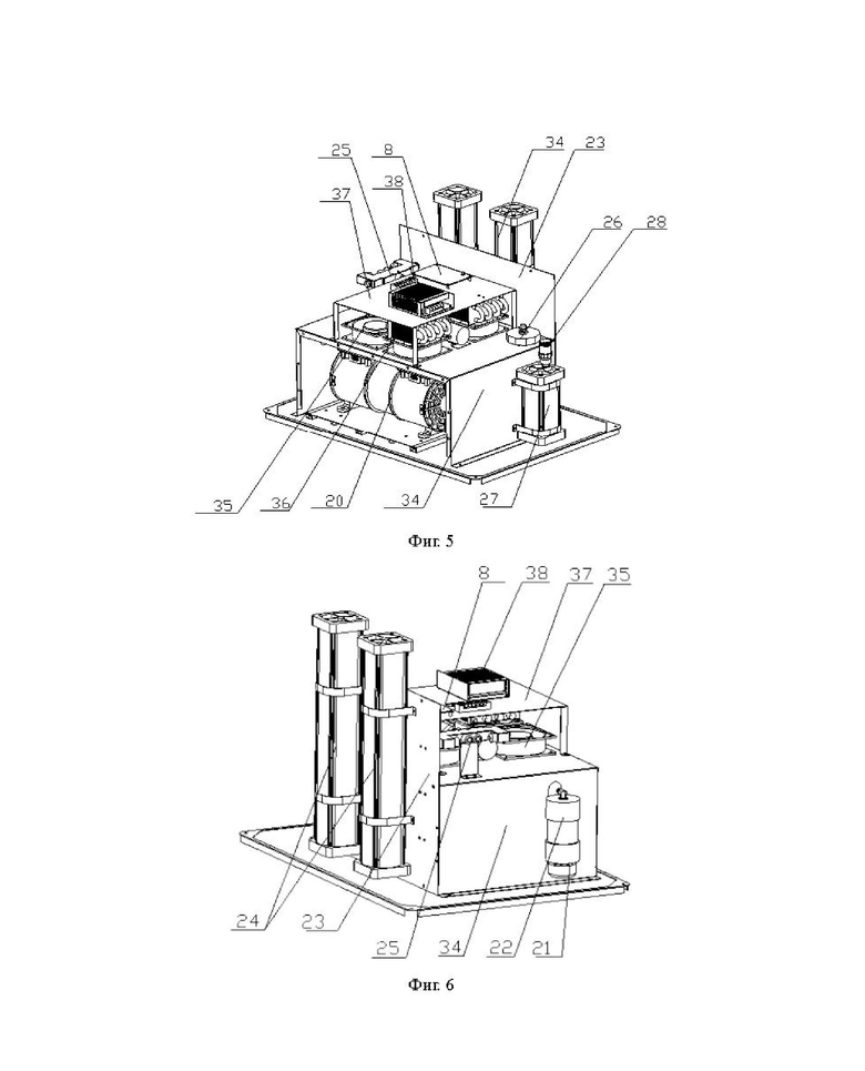
Как показано на фиг. 6 и 7, модуль получения кислорода молекулярным ситом и модуль электролитического получения водорода соответственно снабжены резервуаром для хранения кислорода 27 и резервуаром для хранения водорода 16, и соотношение объемов между резервуаром для хранения кислорода 27 и резервуаром для хранения водорода 16 превышает 24:1; выходной конец часть резервуара для хранения кислорода 27 снабжена клапаном регулирования давления кислорода 28, а выходной конец резервуара для хранения водорода 16 снабжен клапаном регулирования давления водорода 17. Устанавливая объемное соотношение между резервуаром для хранения кислорода 27 и резервуаром для хранения водорода 16 большим, чем 24:1, то есть объемная концентрация кислорода и водорода, хранящихся в резервуаре для хранения кислорода 27 и резервуаре для хранения водорода 16 перед смешиванием, составляет не более 4%, это абсолютно безопасно, что происходит прямое смешивание между резервуаром для хранения кислорода 27 и резервуаром для хранения водорода 16.
Предпочтительно, чтобы отношение выхода кислорода модуля получения кислорода молекулярным ситом к выходу водорода модуля электролитического получения водорода превышало 24:1. Даже если кислород, выходящий из модуля получения кислорода молекулярным ситом, непосредственно смешать с водородом, выходящим из модуля электролитического получения водорода, концентрация водорода составит не более 4%, и это абсолютно безопасно.
Водород выполняет функцию переноса кислорода, кислород признан эффективным средством для лечения респираторных заболеваний. Будучи самой маленькой молекулой в природе, водород может проникать в глубокие слои легче, чем кислород. Благодаря сильному проникновению водород может диффундировать по всему телу и легко проникать в резервуары, снимая воспаление легких за счет ингибирующего и элиминирующего действия водорода на воспаление. Таким образом, кислородотерапия водородом более эффективна, чем только кислородом.
Доказано, что молекулы водорода очень безопасны для человеческого организма, но существует неизбежная проблема безопасности при смешивании водорода и кислорода, то есть диапазон горения и детонации при смешивании водорода и воздуха составляет 4-75,6% (V/V) и 18-59% (V/V), соответственно, диапазон горения и диапазон детонации при смешивании водорода и кислорода составляют 4,65-94% (V/V) и 18,3-58,9% (V/V) соответственно, а энергия воспламенения составляет всего 0,02 мдж, а скорость пламени составляет 270 см/с. Когда вышеупомянутый смешанный газ сталкивается с открытым пламенем или электростатической искрой, он сгорает и взрывается. Соотношение водорода и кислорода, генерируемое водородно-кислородным распылителем, одобренным медицинских организаций, составляет 2:1, а концентрация водорода находится как раз в пределах этого диапазона взрывоопасности, поэтому он представляет большую потенциальную угрозу безопасности в непрофессиональных областях, например, дома. Эта проблема безопасности не может быть решена существующей смесью водорода и кислорода, получаемой при электролизе воды, поскольку соотношение водорода к кислороду, получаемому при электролизе воды, всегда составляет 2:1, кислород будет выводиться из некоторых устройств с сохранением только водорода, чистый водород также является горючим газом, а чистый водород это не способствует лечению респираторных заболеваний, и пациенты также подвергаются риску удушья. Чтобы обеспечить пациента как кислородом, так и водородом лучше и безопаснее, сочетание преимуществ обоих газов должно быть разработано таким образом, чтобы устранить эти скрытые угрозы безопасности.
Кислородно-водородная интегрированная машина по настоящему изобретению полностью решает вышеупомянутую проблему безопасности и обеспечивает собственную безопасность. В техническом решении по настоящему изобретению используется способ получения кислорода с помощью адсорбционных сит с переменным давлением и способ получения водорода электролизом воды, и объемная концентрация водорода в газообразной смеси водорода и кислорода, подаваемой потребителю, обеспечивается в пределах 4% с помощью физического тока ограничивает, таким образом, полностью устраняя риск взрыва. Даже в узком пространстве, таком как транспортное средство или палатка, в котором кислород и водород из кислородно-водородной интегрированной машины выводятся непосредственно, поскольку концентрация водорода всегда ниже 4%, отсутствует риск возгорания или взрыва, и, кроме того, когда пользователь спит, кислород-газообразная смесь водорода непосредственно сбрасывается в одеяло, подлежащее сбору, и генерируется электростатическая искра, так что газообразная смесь кислорода и водорода не может воспламениться, что позволяет избежать опасности.
Конкретно, в настоящем изобретении используются следующие технические решения для достижения собственной безопасности: Пример - кислородно-водородная интегрированная машина 7 л.:
1. Ограничение энергии: выход кислорода, получаемого с помощью мелкомолекулярного сита с перепадом давления PSA, составляет ≥ 6,720 мл, выход водорода, получаемого электролизом, составляет ≤ 280 мл, и отношение выхода кислорода из адсорбционных сит с переменным давлением PSA на малых молекулярных ситах для получения кислорода из источника, к выходу водорода, получаемого путем электролитического получения водорода, должно превышать 24:1.
2. Отношение объема резервуара для хранения кислорода, предусмотренного на выходе кислорода из адсорбционного мелкомолекулярного сита с переменным давлением PSA, к объему резервуара для хранения водорода, предусмотренного на выходе водорода путем электролитического получения водорода, превышает 24:1.
3. Клапан регулирования давления кислорода и клапан регулирования давления водорода установлены соответственно на резервуаре для хранения кислорода и резервуаре для хранения водорода, так что кислород и водород имеют одинаковое давление на выходе; отверстие для ограничения потока кислорода и отверстие для ограничения потока водорода соответственно предусмотрены на выходных концах кислородного бака. клапан регулирования давления и клапан регулирования давления водорода, а соотношение площадей поперечного сечения между отверстием для ограничения потока кислорода и отверстием для ограничения потока водорода превышает 24:1;
Благодаря специальной конструкции вышеупомянутых трех методов объемная концентрация водорода в кислородно-водородной смеси, выпускаемой кислородно-водородной интегрированной машиной, поддерживается постоянной на уровне не более 4%. Даже при обнаружении источника возгорания это не приведет к взрыву.
Кислородно-водородная интегрированная машина согласно варианту осуществления настоящего изобретения может полностью устранить риски для безопасности, связанные с кислородно-водородной газовой смесью, так что схема обработки кислородно-водородной смесью может быть более быстро популяризирована. Кислородно-водородная интегрированная машина по настоящему варианту осуществления обладает более высокой проницаемостью и усиливает противовоспалительный эффект водорода по сравнению с существующим генератором кислорода, оказывает лучшее терапевтическое воздействие при заболеваниях легких, является более безопасной и имеет меньшую стоимость, чем существующая кислородно-водородная смешанная распылительная машина, и может быть быстро выпущенный в регион с серьезной глобальной эпидемией после созревания и массового производства, что спасает больше жизней.
Предпочтительно, как показано на фиг. 9, предохранительный клапан кислорода 272 предусмотрен между резервуаром для хранения кислорода 27 и клапаном регулирования давления кислорода 28, а предохранительный клапан водорода 162 предусмотрен между резервуаром для хранения водорода 16 и клапаном регулирования давления водорода 17. Предохранительный клапан кислорода 272 и предохранительный клапан водорода 162 предотвращают избыточное давление в резервуаре для хранения кислорода 27 и резервуаре для хранения водорода 16. Альтернативно, выходной конец смесительного клапана 31 соединен с клапаном регулирования расхода 41 для регулирования выхода кислородно-водородной смеси газа.
Альтернативно, кислородно-водородный интерфейс 5 снабжен увлажнителем или распылителем 6. Конкретно, увлажнитель или распылитель 6 предусмотрен на выходном конце клапана регулирования расхода. Как показано на фиг. 3-6, в корпусе машины 1 предусмотрены печатная плата управления 8 и устройство питания 38, а печатная лата управления 8 соединена с экраном дисплея 2, силовым выключателем 3 и светодиодным индикатором 4, предусмотренной на одной стороне корпуса машины 1; устройство питания 38 и печатная плата управления 8 соответственно соединены с модулем получения кислорода молекулярным ситом и модулем электролитического получения водорода.
Как показано на фиг. 3, 4, 5 и 6, модуль получения кислорода молекулярным ситом включает в себя компрессор 20, фильтр для сбора газа 21, соединенный с входным концом компрессора 20, множество молекулярных сит 24, соединенных с выходным концом компрессора 20 через блок электромагнитных клапанов 25 и молекулярные сита 24 соединены с резервуаром для хранения кислорода 27. Предусмотрены датчик концентрации кислорода 273 и датчик давления кислорода 271, соответствующие резервуару для хранения кислорода 27, при этом датчик концентрации кислорода 273 и датчик давления кислорода 271 соединены с печатной платой управления 8 для контроля параметров концентрации кислорода и давления в резервуаре для хранения кислорода 27.
Альтернативно, фильтр для сбора газа 21 снабжен глушителем для сбора газа 22, и также предусмотрен глушитель выхлопных газов в сборе 26 для соединения с блоком электромагнитных клапанов 25. Альтернативно, как показано на фиг. 2, на корпусе машины 1 предусмотрен газоотводящий фильтрующий экран 33, соответствующий газоотводящему фильтру 21. Конкретно, множество молекулярных сит 24 предусмотрено в корпусе машины 1 посредством монтажной вертикальной пластины 23, а компрессор 20 предусмотрен в монтажной раме 34, на которой предусмотрена блок электромагнитных клапанов 25, множество вентиляторов для конденсации 35 и конденсатор 36.
Конкретно, печатная плата управления 8 и устройство питания 38 предусмотрены на монтажной раме 34 через монтажную плату 37 схемы. По меньшей мере, один резервуар для хранения кислорода 27 предусмотрен на одной стороне монтажной рамы 34, а клапан регулировки давления кислорода 28 предусмотрен на выходном конце резервуара для хранения кислорода 27.
Как показано на фиг. 7 и 8, модуль электролитического получения водорода включает в себя электролизёр 12, бак для чистой воды 9, расположенный на верхней стороне электролизёра 12 через монтажную плату 11 для водяного бака, и водородно-водяной сепаратор 13, при этом бак 9 для чистой воды соединен с электролизёром 12 через в электролизёре 12 предусмотрены труба для чистой воды 14, пленкаа SPE, спеченный электролитический анод и спеченный электролитический катод, пленка SPE разделяет корпус резервуара на водородную камеру и кислородную камеру, а водородная камера 38 сообщена с водородно-водяным сепаратором 13.
Конкретно, водородный водоотделитель 13 сообщен с баком для чистой воды 9 через трубу для чистой воды 14 и соединен с резервуаром для хранения водорода 16 через трубу для водорода 15. Как показано на фиг. 9, предусмотрен датчик давления водорода 161, соответствующий резервуару для сохранения водорода 16, и датчик давления водорода 161 соединен с печатной платой управления 8 для контроля параметра давления водорода в резервуаре для хранения водорода 16.
Альтернативно, крышка 10 бака для воды дополнительно предусмотрена на баке для чистой воды 9, а на корпусе машины 1 предусмотрена переключающая пластина 7, соответствующая крышке 10 бака для воды, для добавления чистой воды в бак для чистой воды 9.
Предпочтительно, как показано на фиг. 9, модуль электролитического получения водорода дополнительно включает в себя кислородно-водяной сепаратор 40, кислородная камера сообщена с кислородно-водяным сепаратором 40, кислородно-водяной сепаратор 40 подает кислород в фильтр для сбора газа 21 для получения кислорода молекулярным ситом модуль через кислородную трубку 19. Кислород, вырабатываемый модулем электролитического получения водорода, транспортируется в модуль получения кислорода молекулярным ситом, и эффективность получения кислорода повышается.
Альтернативно, как показано на фиг. 7 и 8, один конец водородно-водяного сепаратора 13 и кислородно-водяного сепаратора 40 выводит водород и кислород соответственно через водородную трубу 15 и кислородную трубу 19, и отделенная чистая вода подается обратно в бак для чистой воды 9 через обратный трубопроводтрубу 42.
Альтернативно, как показано на фиг. 9, предусмотрен датчик уровня воды/температуры воды 91, соответствующий баку для чистой воды 9, датчик уровня воды/температуры воды 91 соединен с печатной платой управления 8 и используется для контроля рабочего состояния бака для чистой воды 9, и когда уровень воды низкий, пользователю предлагается добавить воду с помощью акустооптической подсказки, и если вода не будет добавлена вовремя, машина будет выключена для защиты; высокий уровень воды указывает на то, что воду добавлять не следует.
Альтернативно, как показано на фиг. 9, модуль электролитического получения водорода дополнительно включает в себя фильтрующий элемент из ионообменной смолы 92, циркуляционный контур образован между баком для чистой воды 9 и фильтрующим элементом из ионообменной смолы 92, на циркуляционном контуре предусмотрена измерительная головка мониторинга качества воды 93, а измерительная головка мониторинга качества воды 93 соединена с печатной платой управления 8. Измерительная головка мониторинга качества воды 93 является датчиком TDS, и когда значение TDS превышает 10 PPM, ей предлагается заменить чистую воду, в противном случае машина выключается для подачи сигнала тревоги.
Альтернативно, как показано на фиг. 9, предусмотрены датчик напряжения 121 для контроля рабочего напряжения отдельных элементов и датчик температуры 122 для контроля температуры электролизёра 12, соответствующие электролизёру 12, и датчик напряжения 121 и датчик температуры 122 соединены с печатной платой управления 8. Рабочая температура электролизёра 12 обычно составляет 5-55°C, и если она превышает 60°C, машина выключается для подачи сигнала тревоги; Кроме того, электролизёр 12 работает при напряжении ниже 2,2 В, и машина выключается для подачи сигнала тревоги, когда напряжение превышает 3 В. Как показано на фиг. 2, предусмотрен излучающий вентилятор 39 электролизёра, соответствующий электролизному баку 12. В качестве альтернативы, как показано на фиг. 9, в корпусе машины 1 предусмотрен датчик азимута 82 для контроля угла наклона корпуса машины, причем датчик азимута 82 соединен с печатной платой управления 8. Во время работы машина должна быть расположена горизонтально, и когда датчик азимута 82 обнаруживает, что машина наклонена более чем на 15 градусов, машина выключается для подачи сигнала тревоги. Датчиком азимута 82 может быть гироскоп, электронный компас, датчик ускорения и тому подобное.
Альтернативно, невозвратный клапан кислорода 29 предусмотрен на входе в резервуар для хранения кислорода 27, а невозвратный клапан водорода 32 предусмотрен на входном конце резервуара для хранения водорода 16.
Предпочтительно, как показано на фиг. 9, печатная плата управления 8 предусмотрена для соединения с устройством беспроводной связи 81, и устройство беспроводной связи 81 представляет собой один или более из модуля связи “Голубой Зуб”, модуля беспроводной связи RF и модуля связи Wi-Fi. Предпочтительно, модуль связи “Голубой Зуб” 4.0 используется для реализации обмена данными с мобильным терминалом и может быть подключен к облачному серверу через мобильный терминал или напрямую подключен к облачному серверу.
Предпочтительно, как показано на фиг. 9, устройство сигнализации об отключении питания 83 встроено в печатную плату управления 8, и когда устройство выключено, отправляется акустооптический запрос, напоминающий пользователю о необходимости принять необходимые меры, чтобы избежать причинения вреда пользователям.
Варианты осуществления настоящего изобретения были подробно описаны в сочетание с прилагаемыми чертежами, но настоящее изобретение не ограничивается описанными вариантами осуществления. Специалисту в данной области техники будет очевидно, что в варианты осуществления могут быть внесены различные изменения, модификация, подстановка и вариации без отступления от духа и объема настоящего изобретения.
Промышленная применимость
Кислородно-водородная интегрированная машина по настоящему изобретению снабжена модулем получения кислорода с молекулярным ситом и модулем электролитического получения водорода, в котором клапаны регулирования давления соответственно предусмотрены на выходных концах кислорода и водорода, так что выходные давления кислорода и водорода одинаковы, а затем кислород и водород соответственно смешиваются через отверстие, ограничивающее поток; объемное соотношение кислорода к водороду превышает 24:1, и газообразная смесь кислорода и водорода находится в абсолютно безопасном состоянии благодаря физическим структурным характеристикам отверстия для ограничения потока; во-вторых, объемное соотношение резервуара для хранения кислорода к резервуару для хранения водорода установлено равным большему, чем 24:1, и обеспечивается абсолютное безопасное соотношение подаваемого кислорода и водорода до смешивания кислорода и водорода; в-третьих, соотношение выхода кислорода модуля получения кислорода молекулярным ситом и выхода водорода модуля электролитического получения водорода превышает 24:1, так что соотношение между общим количеством генерируемого кислорода и количеством вырабатываемого водорода устройства находится в абсолютно безопасном состоянии, а кислород из модуль электролитического получения водорода подключается к газообразующей части модуля получения кислорода молекулярным ситом, что повышает эффективность генерации кислорода и еще больше повышает коэффициент безопасности устройства, и предотвращение опасного неконтролируемого состояния существующей комбинации генератора кислорода и генератора водорода или генератора кислорода и водорода при смешивании кислорода и водорода в соответствии с вышеуказанными многочисленными ограничениями безопасности.
Изобретение относится к кислородно-водородной интегрированной машине, характеризующейся тем, что содержит корпус машины (1), в котором модуль получения кислорода молекулярным ситом и модуль электролитического получения водорода предусмотрены в корпусе машины (1) и кислородно-водородный интерфейс (5) предусмотрен на одной стороне корпуса машины (1), модуль получения кислорода молекулярным ситом и модуль электролитического получения водорода соответственно проходят через клапан регулирования давления кислорода (28) и клапан регулирования давления водорода (17) таким образом, что кислород и водород имеют одинаковое давление на выходе, при этом на выходе клапана регулирования давления кислорода (28) и клапана регулирования давления водорода (17) предусмотрены отверстие для ограничения потока кислорода (30) и отверстие для ограничения потока водорода (18) соответственно, а кислород и водород подключаются к кислородно-водородному интерфейсу (5) после прохождения через отверстие для ограничения потока кислорода (30) и отверстие для ограничения потока водорода (18); при этом соотношение площади поперечного сечения между отверстием для ограничения потока кислорода (30) и отверстием для ограничения потока водорода (18) превышает 24:1. Использование предлагаемого изобретения позволяет предоставлять кислородно-водородную смесь безопасным образом. 14 з.п. ф-лы, 9 ил., 1 пр. 
1. Кислородно-водородная интегрированная машина, отличающаяся тем, что содержит корпус машины (1), в котором модуль получения кислорода молекулярным ситом и модуль электролитического получения водорода предусмотрены в корпусе машины (1) и кислородно-водородный интерфейс (5) предусмотрен на одной стороне корпуса машины (1), модуль получения кислорода молекулярным ситом и модуль электролитического получения водорода соответственно проходят через клапан регулирования давления кислорода (28) и клапан регулирования давления водорода (17) таким образом, что кислород и водород имеют одинаковое давление на выходе, при этом на выходе клапана регулирования давления кислорода (28) и клапана регулирования давления водорода (17) предусмотрены отверстие для ограничения потока кислорода (30) и отверстие для ограничения потока водорода (18) соответственно, а кислород и водород подключаются к кислородно-водородному интерфейсу (5) после прохождения через отверстие для ограничения потока кислорода (30) и отверстие для ограничения потока водорода (18); при этом соотношение площади поперечного сечения между отверстием для ограничения потока кислорода (30) и отверстием для ограничения потока водорода (18) превышает 24:1.
2. Кислородно-водородная интегрированная машина по п. 1, отличающаяся тем, что модуль получения кислорода молекулярным ситом и модуль электролитического получения водорода соответственно снабжены резервуаром для хранения кислорода (27) и резервуаром для хранения водорода (16), при этом объемное соотношение между резервуаром для хранения кислорода (27) и резервуаром для хранения водорода (16) больше чем 24:1; на выходе резервуара для хранения кислорода (27) установлен клапан регулирования давления кислорода (28), а клапан регулирования давления водорода (17) установлен на выходе резервуара для хранения кислорода (16).
3. Кислородно-водородная интегрированная машина, по п. 1 или 2, отличающаяся тем, что отношение выхода кислорода модуля получения кислорода молекулярным ситом к выходу водорода модуля электролитического получения водорода составляет более 24:1.
4. Кислородно-водородная интегрированная машина по п. 1, отличающаяся тем, что кислородно-водородный интерфейс (5) снабжен смесительным клапаном (31), а входной вывод смесительного клапана (31) соответственно подключен к кислороду и водороду, образуя газообразную смесь кислорода и водорода на кислородно-водородном интерфейсе (5), объемная концентрация водорода в газообразной смеси кислорода и водорода составляет не более 4%.
5. Кислородно-водородная интегрированная машина по п. 2, отличающаяся тем, что предохранительный клапан кислорода (272) предусмотрен между резервуаром для хранения кислорода (27) и клапаном регулирования давления кислорода (28), а предохранительный клапан водорода (162) предусмотрен между резервуаром для хранения водорода (16) и клапаном регулирования давления водорода (17).
6. Кислородно-водородная интегрированная машина по п. 4, отличающаяся тем, что выходной вывод смесительного клапана (31) соединен с клапаном регулирования расхода (41) и клапан регулирования расхода (41) используется для регулировки выхода газообразной смеси кислорода и водорода.
7. Кислородно-водородная интегрированная машина по п. 6, отличающаяся тем, что задний конец клапана регулирования расхода (41) снабжен увлажнителем или распылителем (6).
8. Кислородно-водородная интегрированная машина по п. 1, отличающаяся тем, что корпус машины (1) снабжен печатной платой управления (8) и устройством питания (38), печатная плата управления (8) подключена к экрану дисплея (2) силовым выключателем (3) и светодиодным индикатором (4), расположенными на одной стороне корпуса (1); устройство питания (38), печатная плата управления (8) и модуль получения кислорода молекулярным ситом, модуль электролитического получения водорода соответственно подключены.
9. Кислородно-водородная интегрированная машина, по п. 1, отличающаяся тем, что модуль получения кислорода молекулярным ситом содержит компрессор (20), фильтр для сбора газа (21), подключенный к входу компрессора (20), и ряд молекулярных сит (24), подсоединенный к выходу компрессора (20) через блок электромагнитных клапанов (25), молекулярное сито (24) подсоединено к резервуару для хранения кислорода (27).
10. Кислородно-водородная интегрированная машина по п. 9, отличающаяся тем, что ряд молекулярных сит (24) расположен в корпусе машины (1) через монтажную вертикальную пластину (23), компрессор (20) расположен в монтажной раме (34), а монтажная рама (34) снабжена блоком электромагнитных клапанов (25), несколькими вентиляторами конденсации (35) и конденсатором (36); печатная плата управления (8) и устройство питания (38) расположены на монтажной раме (34) через монтажную плату схемы (37).
11. Кислородно-водородная интегрированная машина по п. 1, отличающаяся тем, что модуль электролитического получения водорода содержит электролизер (12), бак для чистой воды (9), расположенный на верхней стороне электролизера (12) через монтажную пластину (11) бака, и водородно-водяной сепаратор (13), при этом бак (9) для чистой воды соединен с электролизером (12) через трубопровод (14) для чистой воды, электролизер (12) снабжен пленкой SPE, спеченным электролитическим положительным электродом, спеченным электролитическим отрицательным электродом, а пленка SPE разделяет корпус электролизера на водородную камеру и кислородную камеру, а водородная камера сообщена с водородно-водяным сепаратором (13).
12. Кислородно-водородная интегрированная машина по п. 11, отличающаяся тем, что модуль электролитического получения водорода также включает в себя кислородно-водяной сепаратор (40), кислородная камера сообщена с кислородно-водяным сепаратором (40) и кислородно-водяный сепаратор (40) подает кислород по кислородной трубе (19) к фильтру для сбора газа (21) модуля получения кислорода с молекулярным ситом.
13. Кислородно-водородная интегрированная машина по п. 8, отличающаяся тем, что корпус машины (1) снабжен датчиком азимута (82), датчик азимута (82) используется для контроля угла наклона корпуса машины (1), а датчик азимута (82) подключен к печатной плате управления (8).
14. Кислородно-водородная интегрированная машина по п. 2, отличающаяся тем, что вход резервуара для хранения кислорода (27) снабжен невозвратным клапаном кислорода (29), а вход резервуара для хранения водорода (16) снабжен невозвратным клапаном водорода (32).
15. Кислородно-водородная интегрированная машина по п. 8, отличающаяся тем, что печатная плата управления (8) соединена с устройством беспроводной связи (81), а устройство беспроводной связи (81) представляет собой один или несколько из таких, как модуль связи “Голубой Зуб”, модуль беспроводной связи RF и модуль связи Wi-Fi.
| CN 211035232 U, 17.07.2020 | |||
| CN 211512996 U, 18.09.2020 | |||
| RU 2055941 C1, 10.03.1996. |
Авторы
Даты
2025-03-31—Публикация
2022-06-20—Подача