Гидравлическая установка для проведения ремонтно-восстановительных работ на скважине под давлением Российский патент 2025 года по МПК E21B19/00 

Описание патента на изобретение RU2837580C1

Изобретение относится к нефтедобывающей и газодобывающей промышленности и предназначено для проведения текущего (ТРС) и капитального ремонта (КРС) скважин, восстановления скважин, подбуриванию скважин и других ремонтно-восстановительных работ на скважинах под давлением, в том числе без их глушения.

Известна установка для спуска труб СТ-100, предназначенная для спуска (подъема) насосно-компрессорных, обсадных и бурильных труб в скважину, находящуюся под давлением, которая состоит из силового гидроцилиндра с двумя оппозитно расположенными поршнями и полыми штоками, на концах которых установлены верхняя подвижная и нижняя неподвижная шлипсовые катушки для захвата спускаемой (поднимаемой) трубы, а силовой гидроцилиндр установлен в раме, которая монтируется на фланец герметизирующей головки, причем спуск или подъем трубы в скважину производится за счет перемещения штока силового гидроцилиндра, совершающего попеременно движения вверх-вниз под действием давления рабочей жидкости гидросистемы установки, а сменные клиновые сухари шлипсовых катушек позволяют производить спускоподъемные операции (СПО) с трубами различного диаметра (см. книгу Справочник "Оборудование и инструмент для предупреждения и ликвидации фонтанов", М., Недра, 1996, с. 200 - 208).

Однако данная установка имеет сравнительно низкую производительность, что сужает область ее использования.

Наиболее близкой к изобретению по технической сущности и достигаемому результату является гидравлическая установка для ремонта скважин под давлением, содержащая установленные на устье скважины блок противовыбросового оборудования (ПВО) и ремонтную вышку со смонтированными на ней гидродомкратным блоком и телескопической мачтой (см. патент РФ №2215118,кл. Е21В 19/00, опубл. 27.10.2003).

Данная установка обеспечивает более эффективное непрерывное выполнение СПО безмуфтовых труб постоянного сечения различных диаметров как в автоматическом режиме, так и с ручным управлением.

Однако данная установка имеет недостаточные возможности по проведению текущего и капитального ремонта скважин без их глушения, а также других ремонтных и восстановительных работ на скважине, что сужает ее возможности с использованием воздействия на продуктивный пласт и зарезкой боковых стволов и ряда других ремонтно-восстановительных работ на скважинах под давлением без их глушения.

Технической проблемой, на решение которой направлено настоящее изобретение, является преодоление выявленных выше недостатков.

Технический результат, на достижение которого направлено настоящее изобретение, заключается в обеспечении возможности проведения ремонтно-восстановительных работ на скважине без ее глушения, в том числе проводить работы ТРС, КРС, по восстановлению скважин, бурению скважин, в частности дополнительных вертикальных и горизонтальных стволов скважин и интенсификации добычи на действующих стволах скважин.

Указанная техническая проблема решается, а технический результат достигается за счет того, что гидравлическая установка для ремонтно-восстановительных работ на скважине под давлением содержит установленные на устье скважины блок противовыбросового оборудования и ремонтную вышку со смонтированными на ней гидродомкратным блоком и телескопической мачтой, при этом на устье скважины установлена колонная головка и трубная головка с установленной на них шиберной задвижкой, ремонтная вышка выполнена с четырьмя стальными опорными стойками, которые соединены между собой тремя опорными плитами: нижней, средней и верхней, при этом на нижней опорной плите смонтирована нижняя площадка для монтажа/демонтажа верхнего кольцевого превентора блока ПВО и стационарного клинового захвата через адаптер для передачи веса колонны труб или насосно-компрессорных труб (НКТ) или бурильных труб на нижнюю опорную плиту, а также для подключения гидравлических линий в гидравлический распределительный блок и их обслуживания, а также закреплена нижняя часть телескопической мачты, на средней опорной плите смонтирован перевернутый стационарный клиновой захват для удержания выталкивающей силы действующей колонны труб или насосно-компрессорных труб или бурильных труб на опорные стойки ремонтной вышки, а на верхней опорной плите смонтированы четыре гидравлических цилиндра гидродомкратного блока, на штоках которых закреплена подвижная опорная плита с возможностью ее замены на опорную плиту с ротором, на которые сверху монтируется подвижный клиновой захват и снизу перевернутый подвижный клиновой захват, в том числе к верхней опорной плите прикреплена телескопическая мачта и на ней смонтирована верхняя рабочая площадка, гидравлические цилиндры подключены к установленному рядом со скважиной силовому агрегату для подачи в них жидкости под давлением по гидравлическим шлангам высокого давления, телескопическая мачта выполнена с основной и вспомогательной лебедками с возможностью подъема на верхнюю рабочую площадку одиночных насосно-компрессорных труб, бурильных труб и элементов внутрискважинного инструмента и оборудования или их сборок для дальнейшей сборки на верхней рабочей площадке и спуска в скважину при помощи гидродомкратного блока с клиновыми захватами, на верхней рабочей площадке также смонтированы балка для подвешивания трубного гидравлического ключа и панели управления для выполнения требуемых операций при помощи гидравлических цилиндров, основной и вспомогательной лебедки, клиновых захватов, ротора, гидравлических задвижек блока ПВО, превенторов блока ПВО, трубного гидравлического ключа для свинчивания и развинчивания труб НКТ или бурильных труб и элементов внутрискважинного инструмента и оборудования, в том числе на верхней рабочей площадке предусмотрены места крепления оттяжек для удержания гидравлической установки для ремонта скважин под давлением в вертикальном положении

Предпочтительно на трубной головке установлена шиберная полнопроходная задвижка.

Предпочтительно силовой агрегат состоит из дизельного двигателя, насоса, топливной емкости, емкости с жидкостью, блока аккумуляторов для работы с блоком ПВО и манифольдом для подключения гидравлических линий для передачи жидкости под давлением к гидравлическим домкратам, клиновым захватам, ротору, основной лебедке и вспомогательной лебедке, трубному гидравлическому ключу, превенторам блока ПВО и гидравлическим задвижкам блока ПВО, при этом в силовом агрегате предусмотрен блок аккумуляторов для аварийного закрытия превенторов блока ПВО, а также открытия и закрытия гидравлических задвижек блока ПВО, предусмотренных на контуре выравнивания и стравливания давления, а также закрытия клиновых захватов.

Предпочтительно блок ПВО состоит по направлению сверху вниз из верхнего кольцевого превентора, верхнего плашечного превентора с плашками для протаскивания тела трубы, крестовины с отводами к дросселям и гидравлическим задвижкам для подключения контура выравнивания и стравливания давления, нижнего плашечного превентора с плашками для протаскивания тела трубы, райзеров-удлинителей требуемой длины, нижнего кольцевого превентора и/или плашечных превенторов с трубными плашками, и превентора со срезными/глухими плашками, в том числе возможность оборудования дополнительным превентором с трубными удерживающими плашками, устанавливаемым под превентором со срезными/глухими плашками, а также обвязку, состоящую из линий стравливания - дросселирования и долива, циркуляции скважинной жидкости и подвода/отвода жидкости глушения.

В ходе проведенного исследования было установлено, что конструкция ремонтной вышки, которая по существу является основанием, т.е, опорной частью для размещения необходимого комплекта оборудования и рабочих площадок для проведения практически всех видов работ, которые необходимы для обеспечения притока добываемой из скважины среды и его интенсификации.

В результате удалось добиться заявленного выше технического результата за счет представленной выше совокупности оборудования и его строго определенного расположения над устьем скважины с использованием вышеописанной ремонтной вышки.

Таким образом, данная гидравлическая установка для ремонтно-восстановительных работ на скважине под давлением позволяет проводить широкий объем работ, который, в частности включает: комплекс работ по текущему ремонту скважин (ТРС), направленный на восстановление работоспособности внутрискважинного оборудования, и работ по изменению режима и способа эксплуатации скважины, а именно перевод скважин с одного способа эксплуатации на другой в целях обеспечения заданного технологического режима работы скважины, изменение режимов работы и смену оборудования и очистку ствола скважины и подъемных труб от песка, парафина, солей и иных отложений, а также включает комплекс работ по капитальному ремонту скважин (КРС), направленный на восстановление работоспособности скважин и продуктивного пласта различными технологическими операциями, а именно: восстановление технических характеристик обсадных колонн, цементного кольца, призабойной зоны, интервала перфорации, ликвидацию аварий с ловильными и другими сложными работами в стволе скважины, - спуск и подъем оборудования для раздельной эксплуатации и закачки различных агентов в пласт, -воздействие на продуктивный пласт физическими, химическими, биохимическими и другими методами, зарезку боковых стволов и проводку горизонтальных участков в продуктивном пласте, в случаях, когда данный вид работ не признается реконструкцией скважины, изоляцию одних и приобщение других горизонтов, исследование скважины и ликвидацию скважины.

Скважина, выбранная для выполнения комплекса ремонтно-восстановительных работ может быть любого назначения (эксплуатационная (нефтяная/газовая), нагнетательная (для поддержания пластового давления (ППД) или водо-поглощающая и т.д.), ранее построенная и принятая в эксплуатацию, которая может относиться к действующему либо бездействующему фонду скважин, а также один пробуренный ствол, или ствол, который должен быть пробурен для добычи нефти, газа и газового конденсата на заранее определенную обязательную проектную глубину и включает какое-либо корректирующее отклонение, пилотные стволы или вторые стволы, необходимые для достижения обязательной проектной глубины и выполнения геолого-технического задания.

На фиг. 1 схематически представлена блочная схема гидравлической установки для ремонтно-восстановительных работ на скважине под давлением.

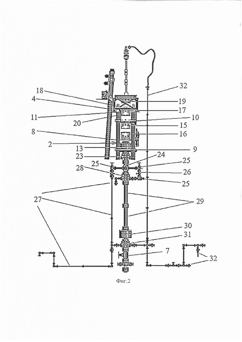
На фиг. 2 схематически представлена гидравлическая установка для ремонтно-восстановительных работ на скважине под давлением.

Гидравлическая установка для ремонтно-восстановительных работ на скважине под давлением содержит установленные на устье скважины блок ПВО 1 и ремонтную вышку 2 со смонтированными на ней гидродомкратным блоком 3 и телескопической мачтой 4.

На устье 14 скважины установлена колонная головка 6 и трубная головка 5, а на последней может быть установлена полнопроходная шиберная задвижка 7.

Ремонтная вышка 2 выполнена с четырьмя стальными опорными стойками 8, которые соединены между собой тремя опорными плитами: нижней 9, средней 10 и верхней 11.

На нижней опорной плите 9 смонтирована нижняя площадка 12 для монтажа/демонтажа верхнего кольцевого превентора 13 ПВО 1 и стационарного клинового захвата 16 через адаптер для передачи веса колонны труб или НКТ или бурильных труб на нижнюю опорную плиту 9, а также для подключения гидравлических линий в гидравлический распределительный блок и их обслуживания, а также закреплена нижняя часть телескопической мачты 4.

На средней опорной плите 10 смонтирован перевернутый стационарный клиновой захват 15 для удержания выталкивающей силы действующей колонны труб или НКТ или бурильных труб на опорные стойки 8 ремонтной вышки.

На верхней опорной плите 11 смонтированы четыре гидравлических цилиндра 17 гидродомкратного блока 3, на штоках которых закреплена подвижная опорная плита 18 с возможностью ее замены на опорную плиту с ротором, на которые сверху монтируется подвижный клиновой захват 19 и снизу перевернутый подвижный клиновой захват 20.

К верхней опорной плите 11 прикреплена телескопическая мачта 4 и кроме того на верхней опорной плите 11 смонтирована верхняя рабочая площадка 21.

Гидравлические цилиндры 17 подключены к установленному рядом со скважиной силовому агрегату 22 для подачи в них жидкости под давлением по гидравлическим шлангам высокого давления.

Телескопическая мачта 4 выполнена с основной и вспомогательной лебедками с возможностью подъема на верхнюю рабочую площадку 21 с уровня земли одиночных НКТ, бурильных труб и элементов внутрискважинного инструмента и оборудования или их сборок для дальнейшей сборки на верхней рабочей площадке 21 и спуска в скважину при помощи гидродомкратного блока 3 с клиновыми захватами 19 и 20 на подвижной опорной плите 18. Спуск одиночных НКТ, бурильных труб и элементов внутрискважинного инструмента и оборудования или их сборок с верхней рабочей площадки 21 на уровень земли, также осуществляется при помощи основной и вспомогательной лебедок телескопической мачты 4.

На верхней рабочей площадке 21 также смонтированы балка для подвешивания трубного гидравлического ключа и панель управления для выполнения требуемых операций при помощи гидравлических цилиндров 17, г

основной и вспомогательной лебедки, клиновых захватов 19 и 20, ротора, гидравлических задвижек блока ПВО 1, превенторов блока ПВО 1, трубного гидравлического ключа для свинчивания и развинчивания труб НКТ или бурильных труб и элементов внутрискважинного инструмента и оборудования.

В верхней рабочей площадке предусмотрены места крепления оттяжек (на чертеже не показаны) для удержания гидравлической установки для ремонта скважин под давлением в вертикальном положении.

Таким образом, ремонтная вышка 2 опирается через нижнюю опорную плиту 9 на блок ПВО 1, блок ПВО 1 опирается на шиберную задвижку 7, шиберная задвижка опирается на трубную головку 5, а трубная головка 5 на колонную головку 6, таким образом вес передаются на устье скважины 14 от всей гидравлической установки для ремонта скважин под давлением через блок ПВО, шиберную задвижку и далее на трубную и колонную головку.

Силовой агрегат 22 состоит из дизельного двигателя, насоса, топливной емкости, емкости с жидкостью, блока аккумуляторов для работы с блоком ПВО 1 и манифольдом для подключения гидравлических линий для передачи жидкости под давлением к гидравлическим цилиндрам 17, клиновым захватам, ротору, основной лебедке и вспомогательной лебедке, трубному гидравлическому ключу, превенторам блока ПВО 1 и гидравлическим задвижкам блока ПВО 1.

В силовом агрегате 22 предусмотрен блок аккумуляторов для аварийного закрытия превенторов блока ПВО 1, а также открытия и закрытия гидравлических задвижек блока ПВО 1, предусмотренных на контуре выравнивания и стравливания давления, а также закрытия клиновых захватов.

Блок ПВО 1 состоит по направлению сверху вниз из верхнего кольцевого превентора 13, верхнего плашечного превентора 23 с плашками для протаскивания тела трубы, крестовины 24 с отводами к дросселям и гидравлическим задвижкам 25 для подключения контура выравнивания давления 26 и стравливания давления 27, нижнего плашечного превентора 28 с плашками для протаскивания тела трубы, райзеров-удлинителей 29 требуемой длины, нижнего кольцевого превентора 30 и/или плашечных превенторов с трубными плашками, и превентора 31 со срезными/глухими плашками, в том числе с возможностью оборудования дополнительным превентором с трубными удерживающими плашками, устанавливаемым под превентором со срезными/глухими плашками, а также обвязку, состоящую из линий стравливания - дросселирования 27, циркуляции скважинной жидкости и долива и подвода/отвода жидкости глушения 32.

В процессе использования гидравлической установки для ремонтновосстановительных работ на скважине под давлением до начала ее монтажа и выполнения ремонтно-восстановительных работ на скважине, каждая скважина подготавливается путем герметизации внутритрубного пространства внутрискважинного оборудования при помощи мостовых пробок спускаемых и устанавливаемых на геофизическом кабеле.

Такие подготовительные работы выполняются, как отмечалось выше, на скважине оборудованной колонной головкой 6, трубной головкой 5 и фонтанной арматурой, при помощи лубрикатора устьевого гидравлического позволяющего под давлением в скважине выполнять операции по спуску в скважину мостовых пробок.

По завершению работ на трубную головку 5 может быть смонтирована механическая шиберная полнопроходная задвижка 7 для дальнейшего монтажа на нее гидравлической установки для ремонта скважин под давлением с блоком ПВО 1.

Для выполнения комплекса работ ТРС, КРС, ремонтно-восстановительных работ под давлением в скважине, трубную головку 5 или шиберную полнопроходную задвижку 7 оборудуют блоком ПВО 1, который предварительно монтируют на скважине перед монтажом гидравлической установки для ремонта скважин под давлением (ГУРС), в целях выполнения контроля давления в скважине и герметизации скважины в процессе проведения комплекса работ ТРС, КРС, ремонтно-восстановительных работ под давлением в скважине:

При этом проводят спуско-подъемные операции (СПО), которые включают в зависимости от проводимых в скважине работ спуск или подъем бурильных труб, НКТ и/или внутрискважинного инструмента или внутрискважинного оборудования под давлением на требуемую глубину, протаскивая трубы через рабочий блок ПВО 1, а именно: закрытые трубные плашечные превенторы 23, 28 и/или закрытый кольцевой превентор 13, что позволяет выполнить любой комплекс ремонтно-восстановительных работ на скважине, включая выполнение следующих операций:

- циркуляции через бурильные трубы, НКТ и/или внутрискважинный инструмент, нагнетая жидкость из технологической емкости (доливной емкости) цементировочным агрегатом по линии 32 глушения/долива/циркуляции (нагнетательная линия) через буровой рукав и вертлюг, поднимая забойные пачки по затрубному пространству в штуцер и далее по линии стравливания 27 в блок дросселирования и в технологическую емкость (желобную емкость-отстойник) с перекачиванием отстоянной чистой жидкости в доливную емкость и далее по циклу.

- вращения удерживаемых клиновыми захватами 19 и/или 20 бурильных труб, НКТ и/или внутрискважинного инструмента при помощи ротора с одновременной циркуляцией жидкости в скважину, одновременно с вращением и циркуляцией можно осуществлять спуск в скважину для целей проработки, бурения, подбуривания и разбуривания или подъем с вращением из скважины в целях проработки.

СПО выполняется при помощи ГУРС с применением подвижных 19, 20 и стационарных 15, 16 клиновых захватов.

Во время подъема и спуска внутрискважинного инструмента или оборудования, спускаемого в скважину или поднимаемого из скважины на бурильных трубах или НКТ используют оба подвижных клиновых захвата верхний 19 и нижний 20, которые направлены в противоположные стороны друг к другу:

- клиньями верхнего клинового захвата 19 удерживают вес спускаемых/поднимаемых бурильных труб, НКТ и/или внутрискважинного инструмента или внутрискважинного оборудования, превышающий выталкивающую силу в скважине,

-клиньями нижнего клинового захвата 20 удерживают от выталкивания спускаемые/поднимаемые бурильные трубы, НКТ и/или внутрискважинный инструмент или внутрискважинное оборудование, вес которых меньше выталкивающей силы скважины.

Посредством стационарных клиновых захватов удерживают внутрискважинное оборудование в стационарном положении, используя два клиновых захвата верхний 15 и нижний 16, направленные в противоположные стороны друг к другу:

- клиньями нижнего клинового захвата 16 удерживают вес спускаемых/поднимаемых бурильных труб, НКТ и/или внутрискважинного инструмента или внутрискважинного оборудования, превышающий выталкивающую силу в скважине,

- клиньями верхнего клинового захвата 15 удерживают от выталкивания спускаемые/поднимаемые бурильные трубы, НКТ и/или внутрискважинный инструмент или внутрискважинное оборудование, вес которых меньше выталкивающей силы скважины.

Таким образом, достигнуто выполнение заявленного в изобретении технического результата - достигается возможность проведения практически всех видов работ с помощью предлагаемой гидравлической установки с обеспечением возможности, кроме проведения работ по ремонту скважины (комплекс работ ТРС, КРС, ремонтно-восстановительных работ) без ее глушения, выполнять под давлением в скважине:

- работы по восстановлению скважин;

- работы по бурению скважин, в частности дополнительных вертикальных и горизонтальных стволов скважин;

- работы по интенсификации добычи на действующих стволах скважин;

- ловильные работы под давлением;

- фрезеровочные работы в скважине под давлением;

- работы по скреперованию интервала как обсадной колонны, так и внутри НКТ под давлением;

- работы по подбуриванию под давлением;

- работы по открытию и закрытию портов ГРП под давлением;

- работы по изоляции продуктивных интервалов, путем спуска в скважину соответствующего оборудования под давлением;

- работы по срыву стингера после выполнения ГРП;

- работы по срыву и установке пакеров в скважинах, работающих под давлением;

- работы по соляно-кислотной обработке продуктивного интервала;

- работы по доведению перфоратора до требуемой глубины в горизонтальных и наклонных скважинах без глушения скважины;

- работы по доведению приборов промысловой геофизики до требуемой глубины в горизонтальных скважинах;

- работы по глушению скважины с возможностью доведения трубы на требуемую глубину для обеспечения циркуляции скважины;

- работы по очистке ствола скважины от проппанта и песка.

Похожие патенты RU2837580C1

название год авторы номер документа
Способ подготовки скважинного оборудования для проведения ремонтных и/или восстановительных работ на скважине под давлением 2024
  • Постнов Тимур Андреевич
  • Постнов Антон Андреевич
  • Семенов Мансур Магомедович
RU2837577C1
Способ герметизации скважины после многостадийного гидравлического разрыва пласта 2023
  • Постнов Тимур Андреевич
  • Постнов Антон Андреевич
  • Семенов Мансур Магомедович
RU2815245C1
Устройство для резки или перфорации труб в скважине 2022
  • Постнов Тимур Андреевич
  • Постнов Антон Андреевич
  • Семенов Мансур Магомедович
RU2793820C1
Способ подготовки скважины к гидравлическому разрыву пласта в нефтяных и газовых скважинах 2020
  • Постнов Тимур Андреевич
  • Постнов Антон Андреевич
  • Семенов Мансур Магомедович
RU2747033C1
ПОДВОДНАЯ БУРОВАЯ УСТАНОВКА И ОПОРНАЯ ПЛАТФОРМА ДЛЯ НЕЕ 1995
  • Гаврилов В.П.
  • Корнев А.М.
  • Колтунов Е.И.
RU2081289C1
Превентор для скважины с двухрядной колонной труб 2022
  • Мокеев Сергей Александрович
  • Зиятдинов Радик Зяузятович
RU2789685C1
СПОСОБ ИЗОЛЯЦИИ КОНУСА ПОДОШВЕННЫХ ВОД В ГАЗОДОБЫВАЮЩЕЙ СКВАЖИНЕ 2020
  • Леонтьев Дмитрий Сергеевич
  • Цилибин Владислав Витальевич
  • Бакирова Аделя Данияровна
RU2726668C1
Способ установки превентора на опорном фланце устьевой арматуры и последовательного подъёма из скважины двухлифтовой компоновки внутрискважинного оборудования и устройство для его осуществления 2023
  • Зиятдинов Радик Зяузятович
  • Мокеев Сергей Александрович
  • Макаров Дмитрий Николаевич
RU2805701C1
Превентор плашечный для скважин с двухрядной колонной труб 2019
  • Зиятдинов Радик Зяузятович
RU2713032C1
Гидродомкратный блок для проведения ремонтно-восстановительных работ по замене устьевого оборудования скважин 2022
  • Соломахин Владимир Борисович
  • Кузнецов Виктор Генадьевич
  • Тимофеев Евгений Викторович
  • Матвеев Виктор Михайлович
  • Петин Владислав Александрович
  • Никульшин Сергей Михайлович
  • Сесёлкин Олег Вячеславович
RU2780181C1

Иллюстрации к изобретению RU 2 837 580 C1

Реферат патента 2025 года Гидравлическая установка для проведения ремонтно-восстановительных работ на скважине под давлением

Изобретение относится к нефтедобывающей и газодобывающей промышленности и предназначено для ремонтно-восстановительных работ на скважине под давлением. Гидравлическая установка содержит установленные на устье скважины блок противовыбросового оборудования (ПВО) и ремонтную вышку со смонтированными на ней гидродомкратным блоком и телескопической мачтой. На устье скважины установлена трубная головка и колонная головка, ремонтная вышка выполнена с четырьмя стальными опорными стойками, которые соединены между собой тремя опорными плитами: нижней, средней и верхней. На нижней опорной плите смонтирована нижняя площадка для монтажа/демонтажа верхнего кольцевого превентора блока ПВО и стационарного клинового захвата через адаптер для передачи веса колонны труб, или насосно-компрессорных труб (НКТ), или бурильных труб на нижнюю опорную плиту, а также для подключения гидравлических линий в гидравлический распределительный блок и их обслуживания, а также закреплена нижняя часть телескопической мачты. На средней опорной плите смонтирован перевернутый стационарный клиновой захват для удержания выталкивающей силы действующей колонны труб, или НКТ, или бурильных труб на опорные стойки ремонтной вышки. На верхней опорной плите смонтированы четыре гидравлических цилиндра гидродомкратного блока, на штоках которых закреплена подвижная опорная плита с возможностью ее замены на опорную плиту с ротором, на которые сверху монтируется подвижный клиновой захват и снизу перевернутый подвижный клиновой захват. К верхней опорной плите прикреплена телескопическая мачта и на ней смонтирована верхняя рабочая площадка. Гидравлические цилиндры подключены к установленному рядом со скважиной силовому агрегату для подачи в них жидкости под давлением по гидравлическим шлангам высокого давления. Телескопическая мачта выполнена с основной и вспомогательной лебедками с возможностью подъема на верхнюю рабочую площадку одиночных НКТ, бурильных труб и элементов внутрискважинного инструмента и оборудования или их сборок для дальнейшей сборки на верхней рабочей площадке и спуска в скважину при помощи гидродомкратного блока с клиновыми захватами. На верхней рабочей площадке также смонтированы балка для подвешивания трубного гидравлического ключа и панель управления. На верхней рабочей площадке предусмотрены места крепления оттяжек для удержания гидравлической установки для ремонта скважин под давлением в вертикальном положении. Достигается возможность проведения практически всех видов ремонтно-восстановительных работ на скважине под давлением с обеспечением возможности проведения работ на скважине без ее глушения. 3 з.п. ф-лы, 2 ил.

Формула изобретения RU 2 837 580 C1

1. Гидравлическая установка для ремонтно-восстановительных работ на скважине под давлением, содержащая установленные на устье скважины блок противовыбросового оборудования (ПВО) и ремонтную вышку со смонтированными на ней гидродомкратным блоком и телескопической мачтой, отличающаяся тем, что на устье скважины установлена трубная головка и колонная головка, ремонтная вышка выполнена с четырьмя стальными опорными стойками, которые соединены между собой тремя опорными плитами: нижней, средней и верхней, при этом на нижней опорной плите смонтирована нижняя площадка для монтажа/демонтажа верхнего кольцевого превентора блока ПВО и стационарного клинового захвата через адаптер для передачи веса колонны труб, или насосно-компрессорных труб, или бурильных труб на нижнюю опорную плиту, а также для подключения гидравлических линий в гидравлический распределительный блок и их обслуживания, а также закреплена нижняя часть телескопической мачты, на средней опорной плите смонтирован перевернутый стационарный клиновой захват для удержания выталкивающей силы действующей колонны труб, или насосно-компрессорных труб, или бурильных труб на опорные стойки ремонтной вышки, а на верхней опорной плите смонтированы четыре гидравлических цилиндра гидродомкратного блока, на штоках которых закреплена подвижная опорная плита с возможностью ее замены на опорную плиту с ротором, на которые сверху монтируется подвижный клиновой захват и снизу перевернутый подвижный клиновой захват, в том числе к верхней опорной плите прикреплена телескопическая мачта и на ней смонтирована верхняя рабочая площадка, гидравлические цилиндры подключены к установленному рядом со скважиной силовому агрегату для подачи в них жидкости под давлением по гидравлическим шлангам высокого давления, телескопическая мачта выполнена с основной и вспомогательной лебедками с возможностью подъема на верхнюю рабочую площадку одиночных насосно-компрессорных труб (НКТ), бурильных труб и элементов внутрискважинного инструмента и оборудования или их сборок для дальнейшей сборки на верхней рабочей площадке и спуска в скважину при помощи гидродомкратного блока с клиновыми захватами, на верхней рабочей площадке также смонтированы балка для подвешивания трубного гидравлического ключа и панель управления для выполнения требуемых операций при помощи гидравлических цилиндров, основной и вспомогательной лебедки, клиновых захватов, ротора, гидравлических задвижек блока ПВО, превенторов блока ПВО, трубного гидравлического ключа для свинчивания и развинчивания труб НКТ или бурильных труб и элементов внутрискважинного инструмента и оборудования, в том числе на верхней рабочей площадке предусмотрены места крепления оттяжек для удержания гидравлической установки для ремонта скважин под давлением в вертикальном положении.

2. Гидравлическая установка по п. 1, отличающаяся тем, что на трубной головке дополнительно установлена полнопроходная шиберная задвижка.

3. Гидравлическая установка по п. 1, отличающаяся тем, что силовой агрегат состоит из дизельного двигателя, насоса, топливной емкости, емкости с жидкостью, блока аккумуляторов для работы с блоком ПВО и манифольдом для подключения гидравлических линий для передачи жидкости под давлением к гидравлическим домкратам, клиновым захватам, ротору, основной лебедке и вспомогательной лебедке, трубному гидравлическому ключу, превенторам блока ПВО и гидравлическим задвижкам блока ПВО, при этом в силовом агрегате предусмотрен блок аккумуляторов для аварийного закрытия превенторов блока ПВО, а также открытия и закрытия гидравлических задвижек блока ПВО, предусмотренных на контуре выравнивания и стравливания давления, а также закрытия клиновых захватов.

4. Гидравлическая установка по п. 1, отличающаяся тем, что блок ПВО состоит по направлению сверху вниз из верхнего кольцевого превентора, верхнего плашечного превентора с плашками для протаскивания тела трубы, крестовины с отводами к дросселям и гидравлическим задвижкам для подключения контура выравнивания и стравливания давления, нижнего плашечного превентора с плашками для протаскивания тела трубы, райзеров-удлинителей требуемой длины, нижнего кольцевого превентора и/или плашечных превенторов с трубными плашками и превентора со срезными/глухими плашками, в том числе с возможностью оборудования дополнительным превентором с трубными удерживающими плашками, устанавливаемым под превентором со срезными/глухими плашками, а также обвязки, состоящей из линий стравливания-дросселирования и долива, циркуляции скважинной жидкости и подвода/отвода жидкости глушения.

Документы, цитированные в отчете о поиске Патент 2025 года RU2837580C1

МАЛОГАБАРИТНАЯ АВТОМАТИЧЕСКАЯ НЕПРЕРЫВНАЯ ГИДРАВЛИЧЕСКАЯ УСТАНОВКА ДЛЯ СПУСКА ТРУБ В СКВАЖИНУ ПОД ДАВЛЕНИЕМ 2001
  • Амиров Э.М.
  • Кузнецов В.Г.
  • Оминский А.С.
RU2215118C2
БУРОВАЯ УСТАНОВКА И СПОСОБ ПРИМЕНЕНИЯ БУРОВОЙ УСТАНОВКИ 2019
  • Гупта Ашиш
  • Редди Падира
  • Ли Денвер
RU2794033C1
УСТАНОВКА ДЛЯ ПРИНУДИТЕЛЬНОГО СПУСКА ТРУБ В СКВАЖИНУ ПОД ДАВЛЕНИЕМ 1995
  • Бондарев Виктор Артемович[Ua]
  • Ленкевич Юрий Евгеньевич[Ua]
  • Мельников Геннадий Григорьевич[Ua]
  • Рымчук Данило Васильевич[Ua]
RU2098594C1
Мобильная буровая установка 2016
  • Отмашкин Владимир Николаевич
  • Петров Андрей Владимирович
RU2647522C2
Амперметровый переключатель 1931
  • Смирнов Н.П.
SU29885A1
Способ получения цианистых соединений 1924
  • Климов Б.К.
SU2018A1

RU 2 837 580 C1

Авторы

Постнов Тимур Андреевич

Постнов Антон Андреевич

Семенов Мансур Магомедович

Даты

2025-04-01Публикация

2024-10-14Подача