Настоящее изобретение относится к элементу-нагревателю, подходящему для использования с устройством, генерирующим аэрозоль. Настоящее изобретение также относится к способу изготовления такого элемента-нагревателя.
Из уровня техники известны элементы-нагреватели для использования в качестве части устройства, генерирующего аэрозоль. В частности, известны электрические элементы-нагреватели, которые генерируют тепло за счет резистивного нагрева под действием электрического тока. Такие электрические резистивные элементы-нагреватели могут быть выполнены в виде керамической подложки, на которой расположена металлическая резистивная нагревательная дорожка. При использовании электричество, подаваемое на резистивную нагревательную дорожку, вызывает нагрев дорожки. Устройство, генерирующее аэрозоль, включающее в себя такой известный резистивный элемент-нагреватель, может использоваться с известным изделием, генерирующим аэрозоль, содержащим штранг субстрата, образующего аэрозоль. При использовании резистивный элемент-нагреватель вставляется внутрь изделия, генерирующего аэрозоль так, чтобы элемент-нагреватель непосредственно контактировал с субстратом, образующим аэрозоль. Тепло, сообщаемое субстрату, образующему аэрозоль, от резистивного элемента-нагревателя, испаряет составляющие элементы субстрата, образующего аэрозоль. При прохождении через изделие, образующее аэрозоль, пары, выделяющиеся из субстрата, охлаждаются и конденсируются с образованием аэрозоля для вдыхания пользователем. Однако повторное использование устройства, генерирующего аэрозоль, с различными изделиями, генерирующими аэрозоль, может привести к постепенному накоплению остатков на элементе-нагревателе. Эти остатки могут препятствовать способности элемента-нагревателя передавать тепло к субстрату, образующему аэрозоль, а также могут придавать нежелательные привкусы парам, выделяющимся из субстрата, образующего аэрозоль. Следовательно, присутствие таких остатков на элементе-нагревателе может отрицательно сказаться на использовании устройства, генерирующего аэрозоль. Для удаления этих остатков с поверхности элемента-нагревателя может быть выполнена чистка. Однако чистка может привести к приложению к элементу-нагревателю одного из растягивающих, сжимающих и скручивающих усилий или их комбинации. Поскольку керамические подложки по своей природе являются хрупкими, силы, прикладываемые к таким известным элементам-нагревателям на керамической основе во время чистки, могут привести к разрушению элемента-нагревателя.
Замена керамической подложки подложкой, выполненной из металлического материала, может помочь уменьшить вероятность разрушения элемента-нагревателя, поскольку металлические материалы в целом обладают большей пластичностью, чем керамические материалы. Однако металлические материалы обычно обладают большей теплопроводностью по сравнению с керамическими материалами. При использовании металлического материала для подложки элемента-нагревателя вместо керамического материала относительно более высокая теплопроводность металлической подложки может привести к тому, что тепло, поступающее в подложку от резистивной нагревательной дорожки, будет быстро передаваться по всей металлической подложке. Быстрое прохождение тепла по металлической подложке может привести к соответствующему быстрому повышению температуры подложки. Таким образом, это повышение температуры подложки может привести к перегреву чувствительных электронных компонентов устройства, генерирующего аэрозоль, связанных с управлением и эксплуатацией элемента-нагревателя. Например, схема управления, используемая для управления подачей электропитания на элемент-нагреватель, часто расположена в непосредственной близости от того места, где расположен элемент-нагреватель внутри устройства, генерирующего аэрозоль. Таким образом, чрезмерная температура металлической подложки может привести к повреждению чувствительной схемы управления. Кроме того, повреждение компонентов устройства, генерирующего аэрозоль, также может произойти из-за излучения тепла от чрезмерно горячих областей металлической подложки элемента-нагревателя.
Следовательно, требуется предоставь усовершенствованный резистивный элемент-нагреватель, который имеет улучшенное управление тепловым потоком и может лучше противостоять силам, которые могут быть приложены к элементу-нагревателю во время чистки или эксплуатации (таким как силы растяжения, сжатия или скручивания), без разрушения.
Согласно первому аспекту настоящего изобретения предложен продолговатый металлический элемент-нагреватель для использования с устройством, генерирующим аэрозоль. Элемент-нагреватель проходит от проксимального (далее – ближний) конца до дистального (далее – дальний) конца. Ближний конец выполнен с возможностью прикрепления к устройству, генерирующему аэрозоль, для электрической связи с устройством, генерирующим аэрозоль. Элемент-нагреватель содержит одно или оба из: i) множества поверхностных выемок, образованных на поверхности элемента-нагревателя; и ii) множества подповерхностных полостей, образованных под поверхностью элемента-нагревателя.
В контексте настоящего документа термин «металлический» используется для обозначения образованного преимущественно или полностью из одного или более металлов. Таким образом, термин «металлический» охватывает определенные металлические элементы или сплавы.
В контексте настоящего документа термин «устройство, генерирующее аэрозоль» используется для описания устройства, которое взаимодействует с субстратом, образующим аэрозоль, изделия, генерирующего аэрозоль, для генерирования аэрозоля. Предпочтительно устройство, генерирующее аэрозоль, является курительным устройством, которое взаимодействует с субстратом, образующим аэрозоль, изделия, генерирующего аэрозоль, для генерирования аэрозоля, который непосредственно вдыхается в легкие пользователя через рот пользователя. Устройство, генерирующее аэрозоль, может представлять собой держатель для курительного изделия. Предпочтительно изделие, генерирующее аэрозоль, является курительным изделием, которое генерирует аэрозоль, который непосредственно вдыхается в легкие пользователя через рот пользователя. Более предпочтительно изделие, генерирующее аэрозоль, является курительным изделием, которое генерирует никотинсодержащий аэрозоль, который непосредственно вдыхается в легкие пользователя через рот пользователя.
В контексте настоящего документа термин «субстрат, образующий аэрозоль», обозначает субстрат, состоящий из материала, образующего аэрозоль, который может высвобождать летучие соединения при нагреве для генерирования аэрозоля, или содержащий его.
Наличие в металлическом элементе-нагревателе множества поверхностных выемок, образованных на поверхности элемента-нагревателя, снижает интенсивность теплопередачи через элемент-нагреватель в месте расположения поверхностных выемок по сравнению с тем же самым элементом-нагревателем, не имеющим таких выемок. Эффект образования выемок в металлическом элементе-нагревателе заключается в удалении из элемента-нагревателя теплопроводного металлического материала, который в противном случае присутствовал бы для проведения тепла. Следовательно, интенсивность теплопередачи и результирующие температуры в одной или более областях элемента-нагревателя можно регулировать посредством наличия таких поверхностных выемок вблизи этих одной или более областей.
Наличие в металлическом элементе-нагревателе множества подповерхностных полостей может обеспечить те же преимущества, что и описанные выше для поверхностных выемок. Использование подповерхностных полостей может быть особенно полезным для сохранения жесткости элемента-нагревателя при изгибе из-за присущего металлическому материалу подложки, который окружает каждую подповерхностную полость, сдерживающего эффекта.
Использование поверхностных выемок или подповерхностных полостей можно противопоставить использованию сквозных отверстий в металлическом элементе-нагревателе. Использование поверхностной выемки или подповерхностной полости заданного объема может поддерживать более высокий уровень жесткости при изгибе в элементе-нагревателе по сравнению со сквозным отверстием того же объема. В контексте настоящего документа термин «сквозное отверстие» относится к месту, где отверстие проходит сквозь противоположные поверхности элемента-нагревателя и между ними.
Поверхностная выемка будет открытым элементом в том смысле, что выемка будет выходить на поверхность элемента-нагревателя. Напротив, подповерхностная полость будет закрытым элементом, поскольку она будет заключена и скрыта от глаз под поверхностью элемента-нагревателя.
Подводя итог, можно сказать, что использование металлического элемента-нагревателя, снабженного множеством поверхностных выемок и подповерхностных полостей, или и тем, и другим, обеспечивает улучшенное терморегулирование элемента-нагревателя. Эти преимущества сосуществуют наряду с пластичностью, которая является результатом того, что элемент-нагреватель выполнен из металлического материала. Эта присущая ему пластичность снижает вероятность разрушения элемента-нагревателя при воздействии растягивающих, сжимающих или скручивающих усилий во время эксплуатации или чистки. Кроме того, поверхностные выемки и подповерхностные полости уменьшают массу элемента-нагревателя по сравнению с тем же самым элементом-нагревателем, не имеющим таких выемок или полостей.
Распределение и размер поверхностных выемок и подповерхностных полостей могут быть выбраны и скомпонованы таким образом, чтобы обеспечить терморегулирование и управление температурой одной или более конкретных областей металлического элемента-нагревателя, сохраняя при этом достаточную жесткость элемента-нагревателя при изгибе, чтобы позволить элементу выдерживать нагрузки, возникающие при эксплуатации и чистке. Например, если металлический элемент-нагреватель предназначен для вставки в субстрат, образующий аэрозоль, изделия, генерирующего аэрозоль, элемент-нагреватель должен обладать достаточной жесткостью при изгибе, чтобы выдерживать вставку без коробления элемента-нагревателя.
Отдельные выемки и полости могут быть образованы одной или более криволинейными поверхностями. Например, поверхность выемки может соответствовать части поверхности сферы или эллипсоида. В качестве дополнительного примера замкнутая поверхность полости может соответствовать поверхности сферы или эллипсоида. Использование выемок и полостей, которые состоят из криволинейных поверхностей, также снижает вероятность того, что отдельные выемки и полости действуют как элементы, повышающие механическое напряжение, когда элемент-нагреватель подвергается растягивающим, сжимающим или скручивающим усилиям. Однако могут быть использованы выемки и полости других форм. Например, поверхностные выемки могут быть круглыми в плане, каждая из которых образует цилиндрическое отверстие, проходящее в поверхность элемента-нагревателя. Альтернативно поверхностные выемки могут быть шестиугольными в плане, образуя отверстие шестиугольной формы, проходящее в поверхность элемента-нагревателя.
Элемент-нагреватель может содержать металлическую подложку и одну или более резистивных нагревательных дорожек, причем одна или более резистивных нагревательных дорожек расположены на металлической подложке. В свою очередь, множество поверхностных выемок и подповерхностных полостей элемента-нагревателя могут быть образованы на металлической подложке или внутри нее. При использовании электрический ток может подаваться к одной или более резистивным нагревательным дорожкам элемента-нагревателя через ближний конец элемента-нагревателя. Прохождение электрического тока по одной или более резистивным дорожкам приводит к нагреву дорожек за счет резистивного нагрева (также известного как омический нагрев или джоулев нагрев).
Металлические материалы металлического элемента-нагревателя могут включать титан или нержавеющую сталь. Кроме того, может также подойти сплав Inconel® 617, обладающий сочетанием жаропрочности и стойкости к окислению. Для сплава Inconel ® 617 содержание никеля и хрома обеспечивает стойкость к окислению, а содержание алюминия и никеля также придает стойкость к окислению при высоких температурах. Например, элемент-нагреватель может быть выполнен в виде металлической подложки, изготовленной из титана, нержавеющей стали или сплава Inconel® 617, с одной или более резистивными нагревательными дорожками, расположенными на одной или более поверхностях подложки. Для металлического элемента-нагревателя могут быть использованы другие металлические материалы, при этом выбор материалов зависит от факторов, которые могут включать жесткость при изгибе, теплопроводность, стойкость к окислению и химическую реакционную способность.
Множество поверхностных выемок и подповерхностных полостей элемента-нагревателя может занимать совокупный объем от 15% до 30% объема соответствующего элемента-нагревателя, не содержащего таких выемок и полостей. В контексте настоящего документа термин «совокупный объем» означает суммирование объема, занимаемого всеми поверхностными выемками и подповерхностными полостями, образованными в элементе-нагревателе. В общем, чем больше совокупный объем элемента-нагревателя, занимаемый поверхностными выемками или подповерхностными полостями, тем больше соответствующее снижение кондуктивной теплопередачи через металлический элемент-нагреватель во время использования. Однако чем больше совокупный объем, занимаемый выемками или полостями, тем меньше жесткость при изгибе элемента-нагревателя. Ограничение совокупного объема в диапазоне от 15% до 30% обеспечивает баланс между двумя противоречащими друг другу требованиями: i) уменьшение чрезмерного теплового потока и, как следствие, высоких температур в металлическом элементе-нагревателе, и ii) сохранение достаточной жесткости элемента-нагревателя при изгибе, чтобы обеспечить элемент, способный выдерживать осевые сжимающие усилия без простого коробления. Однако целесообразно, чтобы множество поверхностных выемок и подповерхностных полостей элемента-нагревателя могли занимать совокупный объем от 17% до 26% объема соответствующего элемента-нагревателя, не содержащего таких выемок и полостей.
Элемент-нагреватель может быть полностью свободен от каких-либо сквозных отверстий, проходящих через толщину элемента-нагревателя. В отличие от поверхностных выемок и подповерхностных полостей, «сквозное отверстие» должно проходить насквозь и между противоположными поверхностями элемента-нагревателя.
Альтернативно элемент-нагреватель может дополнительно содержать множество сквозных отверстий, проходящих через толщину элемента-нагревателя. Таким образом, элемент-нагреватель может включать комбинацию различных категорий признаков, которые соответствуют удалению металлического материала из металлического элемента-нагревателя для обеспечения улучшенного терморегулирования элемента-нагревателя при использовании. Например, элемент-нагреватель может содержать множество сквозных отверстий рядом либо с множеством поверхностных выемок, либо с множеством подповерхностных полостей. Альтернативно элемент-нагреватель может содержать все из множества сквозных отверстий, множества поверхностных выемок и множества подповерхностных полостей. Множество сквозных отверстий может быть распределено по длине элемента-нагревателя. Отдельные сквозные отверстия могут обеспечивать поток воздуха через элемент-нагреватель во время использования.
Множество поверхностных выемок и подповерхностных полостей элемента-нагревателя могут быть сформированы для образования одной или более компоновок в форме сот. В контексте настоящего документа термин «компоновка в форме сот» относится к повторяющемуся рисунку выемок или полостей. Компоновка в форме сот может быть двухмерной; например, компоновка в форме сот может быть образована прерывистым слоем поверхностных выемок или подповерхностных полостей, проходящих вдоль двух осей, ортогональных друг другу. Альтернативно компоновка в форме сот может быть трехмерной. Использование такой компоновки в форме сот обеспечивает то, что область элемента-нагревателя, в которой расположена компоновка в форме сот, имеет практически одинаковые тепловые и структурные свойства.
Элемент-нагреватель может содержать множество поверхностных выемок и совсем не содержать каких-либо подповерхностных полостей. В качестве альтернативы, элемент-нагреватель может содержать множество подповерхностных полостей и совсем не содержать каких-либо поверхностных выемок.
По меньшей мере некоторые из множества поверхностных выемок и подповерхностных полостей элемента-нагревателя могут быть предусмотрены во внутренней области элемента-нагревателя, при этом внутренняя область проходит от ближнего конца до 33% длины элемента-нагревателя относительно ближнего конца. Поскольку ближний конец выполнен с возможностью прикрепления к устройству, генерирующему аэрозоль, обеспечение того, чтобы внутренняя область элемента-нагревателя содержала по меньшей мере несколько поверхностных выемок и подповерхностных полостей, может помочь избежать перегрева электронных компонентов устройства, генерирующего аэрозоль, расположенных смежно с ближним концом. Поскольку управляющая электроника устройства, генерирующего аэрозоль, часто будет располагаться на ближнем конце элемента-нагревателя или рядом с ним, наличие выемок или полостей во внутренней области элемента-нагревателя может предотвратить чрезмерное повышение температуры в этой области элемента-нагревателя и в соседних компонентах устройства, генерирующего аэрозоль. Обычно по меньшей мере 40% по объему, или по меньшей мере 50% по объему, или по меньшей мере 60% по объему, или по меньшей мере 70% по объему, или по меньшей мере 80% по объему от всего множества поверхностных выемок и подповерхностных полостей предусмотрены во внутренней области элемента-нагревателя. Обеспечение такой высокой объемной доли поверхностных выемок и/или поверхностных полостей создает барьер для кондуктивной теплопередачи через металлический материал элемента-нагревателя во внутренней области и, таким образом, повышает тепловую защиту компонентов устройства, генерирующего аэрозоль, в непосредственной близости к внутренней области элемента-нагревателя. В одном примере все из множества поверхностных выемок и подповерхностных полостей элемента-нагревателя могут быть предусмотрены во внутренней области элемента-нагревателя.
Если по меньшей мере некоторые из множества поверхностных выемок и подповерхностных полостей элемента-нагревателя предусмотрены во внутренней области элемента-нагревателя (как описано в предыдущем абзаце), поверхностные выемки и подповерхностные полости внутренней области могут проходить в поперечном направлении по меньшей мере на 90% или по меньшей мере на 95% поперечной ширины элемента-нагревателя. Такое расположение выемок или полостей помогает создать барьер для кондуктивной теплопередачи через металлическую подложку вблизи ближнего конца, при этом барьер проходит почти по всей боковой ширине элемента-нагревателя.
Если некоторые из множества поверхностных выемок и подповерхностных полостей элемента-нагревателя предусмотрены во внутренней области элемента-нагревателя (как описано в предыдущих абзацах), некоторые из множества поверхностных выемок и подповерхностных полостей элемента-нагревателя также могут быть расположены в средней области элемента-нагревателя, при этом средняя область проходит от 33% до 90% длины продолговатого элемента-нагревателя относительно ближнего конца. Включение поверхностных выемок или подповерхностных полостей в средней области элемента-нагревателя в дополнение к тем, которые находятся во внутренней области, может обеспечить более плавное изменение интенсивности теплопередачи через элемент-нагреватель при переходе от одной области элемента-нагревателя к другой. Обеспечение таких постепенных изменений интенсивности теплопередачи через элемент-нагреватель может быть полезным для предотвращения возникновения чрезмерных тепловых напряжений в металлическом материале элемента-нагревателя.
Элемент-нагреватель может проходить вдоль продольной оси и в поперечном направлении наружу от продольной оси, образуя лезвие, имеющее противоположные первую и вторую продолговатые поверхности. Предоставление элемента-нагревателя в форме лезвия делает этот элемент особенно подходящим для вставки через и внутрь субстрата, образующего аэрозоль, изделия, генерирующего аэрозоль. Элемент-нагреватель может дополнительно содержать резистивную нагревательную дорожку, расположенную на первой продолговатой поверхности, причем элемент-нагреватель содержит множество поверхностных выемок на второй продолговатой поверхности, при этом поверхностные выемки на второй продолговатой поверхности составляют по меньшей мере 80% по объему от всего множества поверхностных выемок элемента-нагревателя. Вторая продолговатая поверхность может не содержать какой-либо резистивной нагревательной дорожки. Как обсуждалось в предыдущих абзацах, прохождение электрического тока по резистивной нагревательной дорожке приведет к резистивному нагреву дорожки. Первая продолговатая поверхность может по существу не содержать поверхностных выемок. В качестве примера вместо этого на второй продолговатой поверхности могут быть предусмотрены любые поверхностные выемки элемента-нагревателя.
Множество поверхностных выемок и подповерхностных полостей элемента-нагревателя могут располагаться в одной или более симметричных в поперечном направлении группах. Одна или более симметричных в поперечном направлении групп могут включать первую группу, вторую группу и третью группу. Первая группа может быть расположена симметрично относительно продольной оси и проходить в поперечном направлении по меньшей мере на 90% или по меньшей мере на 95% поперечной ширины элемента-нагревателя во внутренней области элемента-нагревателя. Внутренняя область может проходить от ближнего конца до 33% длины элемента-нагревателя относительно ближнего конца. Вторая и третья группы могут быть расположены симметрично друг от друга по обе стороны от продольной оси в средней области элемента-нагревателя, при этом средняя область проходит от 33% до 90% длины элемента-нагревателя относительно ближнего конца. Вторая и третья группы могут быть разнесены в осевом направлении от первой группы. Вторая и третья группы могут соединяться друг с другом по продольной оси.
Предпочтительно элемент-нагреватель выполнен с возможностью съемного крепления на устройстве, генерирующем аэрозоль. Таким образом, элемент-нагреватель может быть удален для чистки перед повторным прикреплением. Кроме того, элемент-нагреватель может быть удален и заменен новым элементом-нагревателем.
Во втором аспекте настоящего изобретения предложено устройство, генерирующее аэрозоль, выполненное с возможностью размещения субстрата, образующего аэрозоль. Устройство, генерирующее аэрозоль, содержит продолговатый металлический элемент-нагреватель, как описано в отношении первого аспекта настоящего изобретения. Устройство, генерирующее аэрозоль, также содержит источник питания. Ближний конец элемента-нагревателя крепится к месту крепления устройства, генерирующего аэрозоль. Источник питания находится в электрической связи с элементом-нагревателем, чтобы во время использования резистивно нагревать элемент-нагреватель.
Источник питания предпочтительно выполнен в виде батареи, тем самым обеспечивая источник электропитания для устройства, генерирующего аэрозоль, и помогая сделать устройство портативным. Удобно, чтобы батарея была перезаряжаемой; например, в качестве источника питания может использоваться ионно-литиевая батарея.
Устройство, генерирующее аэрозоль, может быть выполнено таким образом, что при использовании с субстратом, образующим аэрозоль, помещенным в устройство, элемент-нагреватель проходит внутри субстрата, образующего аэрозоль, для нагрева субстрата, образующего аэрозоль, и генерирования из него вдыхаемого аэрозоля. Например, элемент-нагреватель может быть выполнен в виде лезвия, как описано в предыдущих абзацах. Дальний конец лезвия может заканчиваться острием, тем самым способствуя проникновению лезвия в субстрат, образующий аэрозоль. Одна или более продольных кромок лезвия также могут быть заточены.
Предпочтительно субстрат, образующий аэрозоль, представляет собой твердый субстрат, образующий аэрозоль. Однако субстрат, образующий аэрозоль, может содержать как твердые, так и жидкие компоненты. Альтернативно субстрат, образующий аэрозоль, может представлять собой жидкий субстрат, образующий аэрозоль.
Предпочтительно субстрат, образующий аэрозоль, содержит никотин. Более предпочтительно субстрат, образующий аэрозоль, содержит табак. Альтернативно или дополнительно субстрат, образующий аэрозоль, может содержать не содержащий табака материал, образующий аэрозоль.
Если субстрат, образующий аэрозоль, представляет собой твердый субстрат, образующий аэрозоль, твердый субстрат, образующий аэрозоль, может содержать, например, одно или более из: порошка, гранул, шариков, крупиц, нитей, полосок или листов, содержащих одно или более из: травяного листа, табачного листа, фрагментов табачной жилки, расширенного табака и гомогенизированного табака.
Необязательно твердый субстрат, образующий аэрозоль, может содержать табачные или нетабачные летучие вкусоароматические соединения, которые высвобождаются при нагреве твердого субстрата, образующего аэрозоль. Твердый субстрат, образующий аэрозоль, может также содержать одну или более капсул, которые, например, содержат дополнительные табачные летучие вкусоароматические соединения или нетабачные летучие вкусоароматические соединения, и такие капсулы могут плавиться во время нагрева твердого субстрата, образующего аэрозоль.
Необязательно твердый субстрат, образующий аэрозоль, может быть предоставлен на термостабильном носителе или встроен в него. Носитель может быть в виде порошка, гранул, шариков, крупиц, нитей, полосок или листов. Твердый субстрат, образующий аэрозоль, может быть нанесен на поверхность носителя в виде, например, листа, пеноматериала, геля или суспензии. Твердый субстрат, образующий аэрозоль, может быть нанесен на всю поверхность носителя или альтернативно может быть нанесен в виде узора с целью обеспечения неоднородной доставки вкусоароматической добавки во время использования.
В предпочтительном варианте осуществления субстрат, образующий аэрозоль, содержит гомогенизированный табачный материал. В контексте настоящего документа термин «гомогенизированный табачный материал» относится к материалу, образованному путем агломерации сыпучего табака.
Предпочтительно субстрат, образующий аэрозоль, содержит собранный лист гомогенизированного табачного материала. В контексте настоящего документа термин «лист» относится к слоистому элементу, имеющему ширину и длину, существенно превышающие его толщину. В контексте настоящего документа термин «собранный» используется для описания листа, который свернут, согнут или иным образом сжат или сужен по существу поперечно продольной оси изделия, генерирующего аэрозоль.
Предпочтительно субстрат, образующий аэрозоль, содержит вещество для образования аэрозоля. В контексте настоящего документа термин «вещество для образования аэрозоля» используется для описания любого подходящего известного соединения или смеси соединений, которые при использовании способствуют образованию аэрозоля и которые являются по существу стойкими к термической деградации при рабочей температуре изделия, генерирующего аэрозоль.
Подходящие вещества для образования аэрозоля известны в данной области техники и включают, но без ограничения: многоатомные спирты, такие как пропиленгликоль, триэтиленгликоль, 1,3-бутандиол и глицерин; сложные эфиры многоатомных спиртов, такие как моно-, ди- или триацетат глицерина; и алифатические сложные эфиры моно-, ди- или поликарбоновых кислот, такие как диметилдодекандиоат и диметилтетрадекандиоат. Предпочтительные вещества для образования аэрозоля представляют собой многоатомные спирты или их смеси, такие как пропиленгликоль, триэтиленгликоль, 1,3-бутандиол и наиболее предпочтительно глицерин.
Субстрат, образующий аэрозоль, может содержать одно вещество для образования аэрозоля. Альтернативно субстрат, образующий аэрозоль, может содержать комбинацию из двух или более веществ для образования аэрозоля.
В третьем аспекте настоящего изобретения предложен способ изготовления элемента-нагревателя. Способ включает обеспечение металлической подложки и образование одного или обоих из i) множества поверхностных выемок на поверхности металлической подложки; и ii) множества подповерхностных полостей, образованных под поверхностью металлической подложки.
Сначала из листа металлического материала может быть вырезано множество металлических заготовок, причем каждая заготовка образует «металлическую подложку» для данного элемента-нагревателя. Для удобства поверхностные выемки и подповерхностные полости могут быть образованы в листе из металлического материала перед разрезанием листа на отдельные заготовки. Альтернативно поверхностные выемки и подповерхностные полости могут быть образованы в каждой заготовке после ее вырезания из листа металлического материала.
Преимущественно этап образования может включать травление металлической подложки для образования множества поверхностных выемок. В качестве примера можно использовать процесс химического или механического травления для образования поверхностных выемок подложки. Травление хлором является примером подходящего процесса химического травления. Механическое травление может быть выполнено в виде поверхностных выемок, полученных обработкой на станке поверхности подложки.
Предпочтительно изготовленный элемент-нагреватель, полученный в результате способа, соответствует металлическому элементу-нагревателю, описанному в предыдущих абзацах в отношении первого аспекта настоящего изобретения.
В четвертом аспекте настоящего изобретения предложен способ изготовления элемента-нагревателя. Способ включает обеспечение подачи металлического материала; аддитивное производство элемента-нагревателя из исходного металлического материала для постепенного образования элемента-нагревателя, содержащего одно или оба из: i) множества поверхностных выемок на поверхности элемента-нагревателя; и ii) множества подповерхностных полостей, образованных под поверхностью элемента-нагревателя.
Использование аддитивного производства для образования элемента-нагревателя особенно предпочтительно для обеспечения возможности образования скрытых структурных элементов, таких как подповерхностные полости. Например, металлический материал может быть представлен в виде порошка или, альтернативно, в виде суспензии порошка и жидкости. Для удобства этап аддитивного производства может включать трехмерную трафаретную печать.
Предпочтительно изготовленный элемент-нагреватель, полученный в результате способа, соответствует металлическому элементу-нагревателю, описанному в предыдущих абзацах в отношении первого аспекта настоящего изобретения.
Настоящее изобретение определено в формуле изобретения. Однако ниже предоставлен не являющийся исчерпывающим перечень неограничивающих примеров. Любой один или более из признаков этих примеров можно комбинировать с любым одним или более признаками другого примера, варианта осуществления или аспекта, описанных в настоящем документе.
Пример Ex1. Продолговатый металлический элемент-нагреватель для использования с устройством, генерирующим аэрозоль, при этом элемент-нагреватель проходит между ближним и дальним концами, причем ближний конец выполнен с возможностью прикрепления к устройству, генерирующему аэрозоль, для электрической связи с устройством, генерирующим аэрозоль; при этом элемент-нагреватель содержит одно или оба из: i) множества поверхностных выемок, образованных на поверхности элемента-нагревателя; и ii) множества подповерхностных полостей, образованных под поверхностью элемента-нагревателя.
Пример Ex2. Продолговатый металлический элемент-нагреватель в соответствии с Ex1, в котором элемент-нагреватель содержит металлическую подложку и одну или более резистивных нагревательных дорожек, причем одна или более резистивных нагревательных дорожек расположены на металлической подложке, при этом на металлической подложке или внутри нее образовано множество поверхностных выемок и подповерхностных полостей элемента-нагревателя соответственно.
Пример Ex3. Продолговатый металлический элемент-нагреватель в соответствии с одним из Ex1 или Ex2, в котором множество поверхностных выемок и подповерхностных полостей элемента-нагревателя занимают совокупный объем от 15% до 30% объема соответствующего элемента-нагревателя, не содержащего таких выемок и полостей.
Пример Ex4. Продолговатый металлический элемент-нагреватель в соответствии с Ex3, в котором множество поверхностных выемок и подповерхностных полостей элемента-нагревателя занимают совокупный объем от 17% до 26% объема соответствующего элемента-нагревателя, не содержащего таких выемок и полостей.
Пример Ex5. Продолговатый металлический элемент-нагреватель в соответствии с любым из Ex1-Ex4, в котором элемент-нагреватель не содержит каких-либо сквозных отверстий, проходящих через толщину элемента-нагревателя.
Пример Ex6. Продолговатый металлический элемент-нагреватель в соответствии с любым из Ex1-Ex4, в котором элемент-нагреватель дополнительно содержит множество сквозных отверстий, проходящих через толщину элемента-нагревателя.
Пример Ex7. Продолговатый металлический элемент-нагреватель в соответствии Ex6, в котором множество сквозных отверстий распределено по длине элемента-нагревателя.
Пример Ex8. Продолговатый металлический элемент-нагреватель в соответствии с любым из Ex1-Ex6, в котором образовано множество поверхностных выемок и подповерхностных полостей элемента-нагревателя с образованием одной или более компоновок в форме сот.
Пример Ex9. Продолговатый металлический элемент-нагреватель в соответствии с любым из Ex1-Ex8, в котором элемент-нагреватель содержит множество поверхностных выемок и не содержит каких-либо подповерхностных полостей.
Пример Ex10. Продолговатый металлический элемент-нагреватель в соответствии с любым из Ex1-Ex8, в котором элемент-нагреватель содержит множество подповерхностных полостей и не содержит каких-либо поверхностных выемок.
Пример Ex11. Продолговатый металлический элемент-нагреватель в соответствии с любым из Ex1-Ex10, в котором по меньшей мере некоторые из множества поверхностных выемок и подповерхностных полостей элемента-нагревателя предусмотрены во внутренней области элемента-нагревателя, при этом внутренняя область проходит от ближнего конца до 33% длины элемента-нагревателя относительно ближнего конца.
Пример Ex12. Продолговатый металлический элемент-нагреватель в соответствии Ex11, в котором по меньшей мере 40% по объему, или по меньшей мере 50% по объему, или по меньшей мере 60% по объему, или по меньшей мере 70% по объему, или по меньшей мере 80% по объему всего множества поверхностных выемок и подповерхностных полостей элемента-нагревателя расположено во внутренней области.
Пример Ex13. Продолговатый металлический элемент-нагреватель в соответствии с одним из Ex11 или Ex12, в котором поверхностные выемки и подповерхностные полости внутренней области проходят в поперечном направлении по меньшей мере на 90% или по меньшей мере на 95% поперечной ширины элемента-нагревателя.
Пример Ex14. Продолговатый металлический элемент-нагреватель в соответствии с любым из Ex11-Ex13, в котором все множество поверхностных выемок и подповерхностных полостей элемента-нагревателя расположено во внутренней области элемента-нагревателя.
Пример Ex15. Продолговатый металлический элемент-нагреватель в соответствии с любым из Ex11-14, в котором некоторые из множества поверхностных выемок и подповерхностных полостей элемента-нагревателя предусмотрены в средней области элемента-нагревателя, при этом средняя область проходит от 33% до 90% длины продолговатого элемента-нагревателя относительно ближнего конца.
Пример Ex16. Продолговатый металлический элемент-нагреватель в соответствии с любым из Ex1-Ex15, в котором элемент-нагреватель проходит вдоль продольной оси и в боковом направлении наружу от продольной оси с образованием лезвия, имеющего противоположные первую и вторую продолговатые поверхности.
Пример Ex17. Продолговатый металлический элемент-нагреватель в соответствии Ex16, при этом элемент-нагреватель дополнительно содержит резистивную нагревательную дорожку, расположенную на первой продолговатой поверхности, причем элемент-нагреватель содержит множество поверхностных выемок на второй продолговатой поверхности, при этом поверхностные выемки на второй продолговатой поверхности образуют по меньшей мере 80% по объему всего множества поверхностных выемок элемента-нагревателя.
Пример Ex18. Продолговатый металлический элемент-нагреватель в соответствии Ex17, в котором первая продолговатая поверхность практически не содержит поверхностных выемок.
Пример Ex19. Продолговатый металлический элемент-нагреватель в соответствии с любым из Ex16-Ex18, в котором множество поверхностных выемок и подповерхностных полостей элемента-нагревателя расположены в одной или более симметричных в поперечном направлении группах.
Пример Ex20. Продолговатый металлический элемент-нагреватель в соответствии Ex19, в котором одна или более симметричных в поперечном направлении групп содержат: первую группу, расположенную симметрично относительно продольной оси и проходящую в поперечном направлении по меньшей мере на 90% или по меньшей мере на 95% поперечной ширины элемента-нагревателя во внутренней области элемента-нагревателя, причем внутренняя область проходит от ближнего конца до 33% длины элемента-нагревателя относительно ближнего конца; вторую и третью группы, расположенные симметрично друг от друга по обе стороны от продольной оси в средней области элемента-нагревателя, при этом средняя область проходит от 33% до 90% длины элемента-нагревателя относительно ближнего конца.
Пример Ex21. Продолговатый металлический элемент-нагреватель в соответствии Ex20, в котором вторая и третья группы соединяются друг с другом на продольной оси.
Пример Ex22. Продолговатый металлический элемент-нагреватель в соответствии с любым из Ex1-Ex21, в котором элемент-нагреватель выполнен с возможностью съемного крепления на устройстве, генерирующем аэрозоль.
Пример Ex23. Устройство, генерирующее аэрозоль, выполненное с возможностью размещения субстрата, образующего аэрозоль, причем устройство, генерирующее аэрозоль, содержит продолговатый металлический элемент-нагреватель в соответствии с любым из Ex1-Ex22 и источник питания, при этом ближний конец элемента-нагревателя прикреплен в месте крепления устройства, генерирующего аэрозоль, источник питания электрически соединен с элементом-нагревателем, чтобы во время использования элемент-нагреватель резистивно нагревался.
Пример Ex24. Устройство, генерирующее аэрозоль в соответствии Ex23, в котором устройство, генерирующее аэрозоль, выполнено таким образом, что при использовании субстрата, образующего аэрозоль, помещенного в устройство, элемент-нагреватель проходит внутри субстрата, образующего аэрозоль, чтобы нагревать субстрат, образующий аэрозоль, и генерировать из него вдыхаемый аэрозоль.
Пример Ex25. Способ изготовления элемента-нагревателя, включающий: обеспечение металлической подложки и образование одного или обоих из: i) множества поверхностных выемок на поверхности металлической подложки; и ii) множества подповерхностных полостей, образованных под поверхностью металлической подложки.
Пример Ex26. Способ изготовления элемента-нагревателя в соответствии Ex25, в котором этап формирования включает травление металлической подложки для образования множества поверхностных выемок.
Пример Ex27. Способ изготовления элемента-нагревателя, включающий: обеспечение подачи металлического материала; аддитивное производство элемента-нагревателя из исходного металлического материала для постепенного образования элемента-нагревателя, содержащего одно или оба из: i) множества поверхностных выемок на поверхности элемента-нагревателя; и ii) множества подповерхностных полостей, образованных под поверхностью элемента-нагревателя.
Пример Ex28. Способ изготовления элемента-нагревателя в соответствии Ex27, в котором этап аддитивного производства включает трехмерную трафаретную печать.
Пример Ex29. Способ изготовления элемента-нагревателя в соответствии с любым из Ex25-Ex28, в котором элемент-нагреватель, изготовленный в результате этого способа, соответствует любому из Ex1-Ex22.
Далее будут дополнительно описаны примеры со ссылкой на фигуры, на которых:
На фиг. 1 представлен схематический вид компонентов системы доставки аэрозоля.
На фиг. 2a представлен вид в перспективе сверху элемента-нагревателя, используемого в устройстве, генерирующем аэрозоль, системы доставки аэрозоля, показанной на фиг. 1, на котором на поверхности элемента-нагревателя образовано множество поверхностных выемок.
На фиг. 2b представлен вид в перспективе снизу элемента-нагревателя, показанного на фиг. 2а.
На фиг. 3а представлен подробный вид в плане части верхней поверхности иллюстративного элемента-нагревателя согласно настоящему изобретению, на котором на элементе-нагревателе предусмотрено расположение поверхностных выемок, которые имеют круглую форму и проходят в верхнюю поверхность элемента-нагревателя с образованием выемок частично сферической формы.
На фиг. 3b представлен вид в разрезе по сечению B-B части элемента-нагревателя, показанной на фиг. 3а.
На фиг. 4а представлен подробный вид сверху верхней поверхности части другого иллюстративного элемента-нагревателя согласно настоящему изобретению, на котором на элементе-нагревателе предусмотрено расположение поверхностных выемок, которые являются круглыми в плане с цилиндрическим отверстием, проходящим в верхнюю поверхность элемента-нагревателя.
На фиг. 4b представлен вид в разрезе по сечению C-C части элемента-нагревателя, изображенной на фиг. 4а, показывающий, как цилиндрическое отверстие каждой поверхностной выемки проходит в верхнюю поверхность элемента-нагревателя.
На фиг. 5а представлен подробный вид сверху верхней поверхности части другого иллюстративного элемента-нагревателя согласно настоящему изобретению, на котором на элементе-нагревателе предусмотрено расположение поверхностных выемок, которые являются шестиугольными в плане с шестиугольным отверстием, проходящими в верхнюю поверхность элемента-нагревателя.
На фиг. 5b представлен вид в разрезе по сечению D-D части элемента-нагревателя, изображенной на фиг. 5а, показывающий, как шестиугольное отверстие каждой поверхностной выемки проходит в верхнюю поверхность элемента-нагревателя.
На фиг. 6а представлен подробный вид сверху верхней поверхности части другого иллюстративного элемента-нагревателя согласно настоящему изобретению, на котором на элементе-нагревателе предусмотрено расположение поверхностных выемок, которые являются шестиугольными в плане, с шестиугольным отверстием, проходящим в верхнюю поверхность элемента-нагревателя.
На фиг. 6b представлен подробный вид в плане нижней поверхности части элемента-нагревателя, показанной на фиг. 6а, на котором на нижней поверхности элемента-нагревателя предусмотрены как резистивная нагревательная дорожка, так и расположение поверхностных выемок, которые являются шестиугольными в плане.
На фиг. 6с представлен вид в разрезе по сечению E-E части элемента-нагревателя, изображенной на фиг. 6а и 6b, показывающий, как шестиугольное отверстие поверхностных выемок проходит как в верхнюю, так и в нижнюю поверхности элемента-нагревателя.
На фиг. 7а представлен подробный вид сверху верхней поверхности части другого иллюстративного элемента-нагревателя согласно настоящему изобретению, на котором в элементе-нагревателе предусмотрено расположение подповерхностных полостей, которые имеют сферическую форму.
На фиг. 7b представлен вид в разрезе по сечению F-F части элемента-нагревателя, изображенной на фиг. 7а, показывающий, как полости расположены в одном подповерхностном слое, встроенном в элемент-нагреватель.
На фиг. 8 представлен вид в разрезе варианта элемента-нагревателя, показанного на фиг. 7а и 7b (по сечению F-F), на котором в элементе-нагревателе предусмотрено три слоя подповерхностных полостей, встроенных в элемент-нагреватель.
На фиг. 9 представлен вид в разрезе другого элемента-нагревателя, представляющего собой комбинацию примеров, показанных на фиг. 5а, b и 7а, b, в том, что на верхней поверхности элемента-нагревателя предусмотрено расположение шестиугольных в плане поверхностных выемок и расположение сферических подповерхностных полостей предусмотрено в виде единого слоя, встроенного в элемент-нагреватель.
На фиг. 10 представлен вид в перспективе пяти различных элементов-нагревателей, каждый из которых имеет различное расположение поверхностных выемок.
На фиг. 11 представлен схематический вид узла механической обработки для изготовления множества элементов-нагревателей из листа металлической подложки.
На фиг. 1 представлен схематический вид системы 10 доставки аэрозоля. Система 10, генерирующая аэрозоль, представляет собой курительную систему для генерирования вдыхаемого аэрозоля. Система 10 состоит из комбинации устройства 20, генерирующего аэрозоль, и изделия 30, генерирующего аэрозоль.
Устройство 20, генерирующее аэрозоль, имеет продолговатый корпус 21, выполненный из полимерного материала. Продолговатый корпус 21 содержит источник 22 питания, контроллер 23 и место 24 крепления. Металлический элемент-нагреватель 40 разъемно крепится к месту 24 крепления с помощью соединения с плотной посадкой. Элемент-нагреватель 40 выполнен из металлической подложки 41 и имеет резистивную нагревательную дорожку 42, наложенную на поверхность подложки (см. фиг. 2b, например). Конструкция элемента-нагревателя 40 более подробно описана в последующих абзацах. Элемент-нагреватель 40 прикрепляется в месте 24 крепления так, чтобы резистивная нагревательная дорожка 42 была электрически соединена с местом крепления. На одном конце продолговатого корпуса 21 предусмотрено отверстие 25 для доступа. От отверстия 25 для доступа внутрь продолговатого корпуса 21 проходит глухая полость 26. Элемент-нагреватель 40 проходит от закрытого конца 27 глухой полости 26 к отверстию 25 для доступа.
Изделие 30, генерирующее аэрозоль, имеет цилиндрическую форму и проходит между дальним концом 31 и мундштучным концом 32. Изделие 30, генерирующего аэрозоль, имеет обертку 33. Обертка 33 выполнена в виде сигаретной бумаги. Внутри обертки 33 соосно и последовательно расположены штранг субстрата 34, образующего аэрозоль, полая ацетатная трубка 35, трубчатый распорный элемент 36 и фильтр 37 мундштука. Изделие 30, генерирующее аэрозоль, размещается внутри глухой полости 26 так, чтобы элемент-нагреватель 40 был вставлен в штранг субстрата 34, образующего аэрозоль.
Для устройства 20, генерирующего аэрозоль, источник 22 питания соединен с контроллером 23 для подачи на него питания. В показанном примере источник 22 питания представляет собой перезаряжаемую ионно-литиевую батарею. Контроллер 23 соединен с местом 24 крепления для подачи электрического тока на место 24 крепления и, таким образом, на резистивную нагревательную дорожку 42 элемента-нагревателя 40. Контроллер 23 выполнен в виде управляющей электроники и включает в себя модуль 23а памяти. Модуль 23а памяти содержит команды, доступные процессору (не показан) контроллера 23 для управления подачей электрического тока на резистивную нагревательную дорожку 42 элемента-нагревателя 40. Электрический ток, подаваемый от контроллера 23 к месту 24 крепления, приводит к резистивному нагреву резистивной нагревательной дорожки 42. Часть тепла, генерируемого резистивной нагревательной дорожкой 42, отводится в нижележащую металлическую подложку 41 элемента-нагревателя 40.
При использовании тепло, генерируемое элементом-нагревателем 40, передается в штранг субстрата 34, образующего аэрозоль. Нагрев субстрата 34, образующего аэрозоль, приводит к выделению паров из субстрата, образующего аэрозоль. В ответ на то, что пользователь выполняет затяжку на мундштучном конце 32 изделия 30, поток окружающего воздуха (как показано стрелками на фиг. 1) всасывается в проход 28 для воздуха, расположенный по окружности между продолговатым корпусом 21 и глухой полостью 26. Затем поток воздуха входит в дальний конец 31 изделия 30, генерирующего аэрозоль, и проходит через штранг субстрата 34, образующего аэрозоль, для смешивания с парами, выделяющимися из субстрата, образующего аэрозоль. Паровая смесь затем проходит по ходу потока через внутреннюю часть изделия 30, генерирующего аэрозоль, по направлению к мундштучному концу 32, в течение которого пар конденсируется с образованием аэрозоля. Аэрозоль проходит через фильтр 37 мундштука, откуда вдыхается в легкие пользователя.
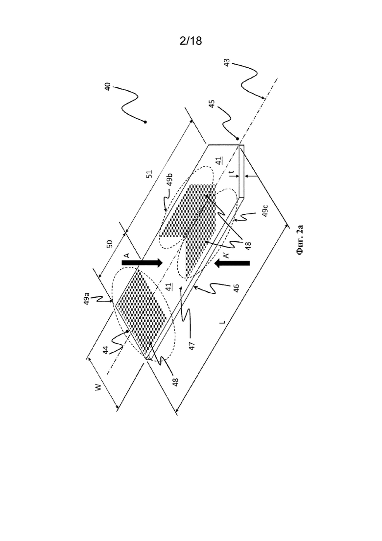
На фиг. 2а и 2b показаны виды в перспективе верхней и нижней поверхностей соответственно элемента-нагревателя 40, используемого в системе 10 доставки аэрозоля, показанной на фиг. 1. Термины «верхний» и «нижний» используются только в относительном смысле. Как указано выше, элемент-нагреватель 40 выполнен из металлической подложки 41. Металлическая подложка 41 выполнена из титана или нержавеющей стали. Однако в альтернативных примерах металлическая подложка 41 может быть выполнена из других металлов или сплавов. Резистивная нагревательная дорожка 42 наложена на поверхность металлической подложки 41 (см. фиг. 2b). В примере, показанном на фиг. 2а и 2b, резистивная нагревательная дорожка 42 имеет форму тонкой металлической проволоки, деформированной в виде катушки. Однако в альтернативных примерах (не показаны) резистивная нагревательная дорожка 41 может иметь другие формы, например представлять собой металлический лист, штампованный или иным образом сформированный в виде спирали. Металлическая подложка 41 элемента-нагревателя 40 проходит в продольном направлении вдоль оси 43 между ближним концом 44 и дальним концом 45, а также в поперечном направлении наружу от оси, образуя лезвиеобразный профиль для элемента-нагревателя 40. Элемент-нагреватель 40 разъемно прикреплен к месту 24 крепления на ближнем конце 44. Первая и вторая плоские поверхности 46, 47 определяют соответствующие нижнюю и верхнюю поверхности металлической подложки 41. На нижней поверхности 46 расположена резистивная нагревательная дорожка 42 (см. фиг. 2b). На верхней поверхности 47 образовано множество поверхностных выемок 48. Поверхностные выемки 48 частично проходят через толщину t металлической подложки 41. Множество поверхностных выемок 48 расположены в трех группах 49а, b, с. Группа 49а поверхностных выемок 48 предусмотрена во внутренней области 50 элемента-нагревателя 40, причем внутренняя область проходит от ближнего конца 44 до приблизительно 33% длины L элемента-нагревателя относительно ближнего конца. В примере, показанном на фиг. 2а, приблизительно 40% всех поверхностных выемок 48, образованных на элементе-нагревателе 40, расположены в этой внутренней области 50 в группе 49а. Группы 49b и 49c содержат оставшиеся 60% поверхностных выемок 47, образованных на элементе-нагревателе 40, при этом обе группы симметричны в поперечном направлении относительно оси 43 в средней области 51 элемента-нагревателя. Средняя область 51 проходит от 33% до 90% длины L элемента-нагревателя 40 относительно ближнего конца 44. Эти две симметричные в поперечном направлении группы 49b и 49c поверхностных выемок 48 соединяются на оси 43, образуя форму стрелы, если смотреть сверху, т. е. в направлении стрелки A. Поверхностные выемки 48 группы 49a проходят более чем на 95% поперечной ширины W элемента-нагревателя 40. Для элемента-нагревателя 40, показанного на фиг. 2а и 2b, поверхностные выемки 48 не образованы на нижней поверхности 46 металлической подложки 41. Однако в альтернативных примерах (например, на иллюстративном элементе-нагревателе, показанном на фиг. 6a-c, обсуждаемом в последующих абзацах) на нижней поверхности 46 металлической подложки 41 также предусмотрено множество поверхностных выемок 48.
Для элемента-нагревателя, показанного на фиг. 2а и 2b, поверхностные выемки 48 элемента-нагревателя 40 занимают совокупный объем ~18% соответствующего элемента-нагревателя, не содержащего таких выемок. Это обеспечивает уменьшение массы на ~18% по сравнению с соответствующим элементом-нагревателем, не имеющим таких выемок. В альтернативных примерах поверхностные выемки 48 занимают больший или меньший совокупный объем в зависимости от требуемой степени управления тепловым потоком. Кроме того, в альтернативных примерах (не показаны) распределение поверхностных выемок 48 по длине L и ширине W элемента-нагревателя 40 и доля поверхностных выемок 48 во внутренней и средней областях 50, 51, может отличаться от показанного и рассмотренного для элемента-нагревателя, изображенного на фиг. 2а и 2b.
На фиг. 3-9 показаны виды частей различных иллюстративных элементов-нагревателей 40, имеющих отличающееся расположение поверхностных выемок или подповерхностных полостей по отношению к элементу-нагревателю, показанному на фиг. 2а, b. Для удобства признаки, общие для различных иллюстративных элементов-нагревателей 40, обозначены одинаковыми ссылочными позициями.
На фиг. 3а представлен вид сверху (в направлении стрелки А на фиг. 2а) верхней поверхности 47 части иллюстративного элемента-нагревателя 40. На верхней поверхности 47 металлической подложки 41 образовано множество поверхностных выемок 48. Поверхностные выемки 48 являются круглыми в плане и имеют радиус r. Поверхностные выемки 48 выполнены в виде повторяющегося рисунка в форме сот, в котором смежные ряды выемок смещены друг относительно друга. Как показано на виде в разрезе на фиг. 3b, каждая из поверхностных выемок 48 проходит в верхнюю поверхность 47 металлической подложки 41, обеспечивая частично сферический профиль поверхностной выемки. Каждая выемка 48 частично проходит через толщину t подложки 41 на глубину d (см. фиг. 3b). Поскольку профиль поверхностной выемки частично сферический, глубина d равна радиусу r. В альтернативных примерах (не показаны) профиль поверхности выемок 48 является эллипсоидальным. В других альтернативных примерах (не показаны) размеры выемок 48 варьируются в разных областях элемента-нагревателя 40. Кроме того, расстояние между смежными выемками 48 может варьироваться в разных областях элемента-нагревателя 40. Например, на фиг. 2а выемки 48 во внутренней области 50 могут быть больше или располагаться ближе друг к другу, чем выемки в средней области 51. Такое изменение размеров выемки и расстояния между смежными выемками 48 в разных областях элемента-нагревателя 40 можно использовать для обеспечения различных уровней теплопроводности в этих разных областях.
На фиг. 4а представлен вид сверху (в направлении стрелки А на фиг. 2а) верхней поверхности части другого иллюстративного элемента-нагревателя 40. На верхней поверхности 47 металлической подложки 41 образовано множество поверхностных выемок 48. Как и в примере, показанном на фиг. 3а,b, поверхностные выемки 48 являются круглыми в плане, имеют радиус r и выполнены в виде повторяющегося рисунка в форме сот, в котором смежные ряды выемок смещены друг относительно друга. Однако, как показано на виде в разрезе на фиг. 4b, каждая из поверхностных выемок 48 имеет цилиндрическое отверстие, которое проходит в верхнюю поверхность 47 металлической подложки 41, обеспечивая цилиндрический профиль поверхностной выемки. Каждая выемка 48 частично проходит через толщину t подложки 41 на глубину d (см. фиг. 4b). В альтернативных примерах (не показаны) размеры выемок 48 варьируются в разных областях элемента-нагревателя 40. Кроме того, расстояние между смежными выемками 48 может варьироваться в разных областях элемента-нагревателя 40. Например, на фиг. 2а выемки 48 во внутренней области 50 могут быть больше или располагаться ближе друг к другу, чем выемки в средней области 51. Такое изменение размеров выемки и расстояния между смежными выемками 48 в разных областях элемента-нагревателя 40 можно использовать для обеспечения различных уровней теплопроводности в этих разных областях.
На фиг. 5а представлен вид сверху (в направлении стрелки А на фиг. 2а) верхней поверхности 47 части иллюстративного элемента-нагревателя 40. На верхней поверхности 47 металлической подложки 41 образовано множество поверхностных выемок 48. Поверхностные выемки 48 имеют шестиугольную форму в плане. Поверхностные выемки 48 выполнены в виде повторяющегося рисунка в форме сот, в котором смежные ряды выемок смещены друг относительно друга. Как показано в разрезе на фиг. 5b, каждая из поверхностных выемок 48 имеет шестиугольное отверстие, которое проходит в верхнюю поверхность 47 металлической подложки 41. Каждая выемка 48 частично проходит через толщину t подложки 41 на глубину d (см. фиг. 5b). В альтернативных примерах (не показаны) размеры выемок 48 варьируются в разных областях элемента-нагревателя 40. Кроме того, расстояние между смежными выемками 48 может варьироваться в разных областях элемента-нагревателя 40. Например, на фиг. 2а выемки 48 во внутренней области 50 могут быть больше или располагаться ближе друг к другу, чем выемки в средней области 51. Такое изменение размеров выемки и расстояния между смежными выемками 48 в разных областях элемента-нагревателя 40 можно использовать для обеспечения различных уровней теплопроводности в этих разных областях.
На фиг. 6а представлен вид сверху (в направлении стрелки А на фиг. 2а) верхней поверхности 47 части иллюстративного элемента-нагревателя 40. Расположение выемок на верхней поверхности 47 идентично расположению на элементе-нагревателе 40, показанному на фиг. 5А, множества поверхностных выемок 48, образованных на верхней поверхности металлической подложки 41. Поверхностные выемки 48 имеют шестиугольную форму в плане и выполнены в виде повторяющегося рисунка в форме сот, в котором смежные ряды выемок смещены относительно друг друга. Однако элемент-нагреватель в этом примере отличается от элемента-нагревателя, показанного на фиг. 5a, b, тем, что на нижней поверхности 46 металлической подложки 41 также предусмотрены поверхностные выемки 48. Что касается выемок на верхней поверхности 47, то выемки на нижней поверхности 46 имеют шестиугольную форму в плане. Однако выемок 48 на нижней поверхности 46 меньше, чем на верхней поверхности 47. Как видно на фиг. 6b, выемки 48 на нижней поверхности 46 расположены по обе стороны от резистивной нагревательной дорожки 42. Как показано на виде в разрезе на фиг. 6с, каждая выемка 48 частично проходит через толщину t подложки 41 на глубину d. В альтернативных примерах (не показаны) размеры выемок 48 варьируются в разных областях элемента-нагревателя 40. Кроме того, расстояние между смежными выемками 48 может варьироваться в разных областях элемента-нагревателя 40. Например, на фиг. 2а выемки 48 во внутренней области 50 могут быть больше или располагаться ближе друг к другу, чем выемки в средней области 51. Такое изменение размеров выемки и расстояния между смежными выемками 48 в разных областях элемента-нагревателя 40 можно использовать для обеспечения различных уровней теплопроводности в этих разных областях.
На фиг. 7а представлен вид сверху (в направлении стрелки А на фиг. 2а) верхней поверхности 47 части иллюстративного элемента-нагревателя 40. В отличие от иллюстративных элементов-нагревателей 40, показанных на фиг. 3-6, на металлической подложке не предусмотрены поверхностные выемки 48. Вместо этого в металлическую подложку 41 встроен слой сферических подповерхностных полостей 480, причем каждая полость имеет диаметр Φ (см. вид в разрезе на фиг. 7b). Контур этих подповерхностных полостей 480 показан пунктирной линией на виде сверху на фиг. 7а. Подповерхностные полости 480 выполнены в виде повторяющегося рисунка в форме сот, в котором смежные ряды встроенных полостей 480 смещены друг относительно друга (см. фиг. 7а). В альтернативных примерах (не показаны) подповерхностные полости 480 имеют эллипсоидальную форму. В дополнительных альтернативных примерах (не показаны) размеры подповерхностных полостей 480 варьируются в разных областях элемента-нагревателя 40. Кроме того, расстояние между смежными полостями 480 может варьироваться в разных областях элемента-нагревателя 40. В качестве примера, со ссылкой на фиг. 2а, подповерхностные полости 480 во внутренней области 50 могут быть больше или располагаться ближе друг к другу, чем полости в средней области 51. Такое изменение размеров полости и расстояния между смежными подповерхностными полостями 480 в разных областях элемента-нагревателя 40 можно использовать для обеспечения различных уровней теплопроводности в этих разных областях.
На фиг. 8 представлен вид в разрезе элемента-нагревателя 40, аналогичного элементу, показанному на фиг. 7b, но отличающегося тем, что в металлическую подложку 41 встроены три слоя подповерхностных полостей 480. В альтернативных примерах (не показаны), где несколько слоев подповерхностных полостей 480 встроены в металлическую подложку 41, слои могут отличаться друг от друга с точки зрения размера или расстояния между полостями 480 в каждом слое.
На фиг. 9 представлен вид в разрезе элемента-нагревателя 40, соответствующего комбинации примеров, показанных на фиг. 5а, b и 7а, b. Как можно видеть, на верхней поверхности 47 металлической подложки 41 образовано множество поверхностных выемок 48, причем выемки имеют шестиугольную форму в плане (как показано на фиг. 5а). Однако, кроме того, в металлическую подложку 41 встроен слой подповерхностных полостей 480 (как показано на фиг. 7а).
На фиг. 10 показан вид в перспективе пяти различных элементов-нагревателей 40, каждый из которых имеет разное расположение поверхностных выемок 48.
На фиг. 11 представлен схематический вид узла 60 механической обработки для изготовления элемента-нагревателя из листа 400 материала металлической подложки 41. Узел 60 механической обработки имеет держатель 61 инструмента, удерживающий обрабатывающий инструмент 62. Лист 400 металлической подложки предоставляется и закрепляется в положении относительно узла 60 механической обработки. Лист 400 имеет толщину, соответствующую требуемой толщине t элементов-нагревателей 40, описанных в предыдущих абзацах, но имеет ширину и длину, достаточную для образования нескольких элементов-нагревателей 40 из одного листа 400. Узел 60 механической обработки приводит в действие обрабатывающий инструмент 62 для обработки отдельной поверхностной выемки 48 на верхней поверхности металлического листа 400, а затем перемещает (см. стрелки на фиг. 11) держатель инструмента 61 и обрабатывающий инструмент 62 по поверхности металлического листа 400 для повторения операции механической обработки в нескольких требуемых местах. После завершения операции механической обработки резистивные нагревательные дорожки 62 располагаются с заданными интервалами на нижней поверхности листа 400. Затем из листа 400 вырезают отдельные элементы-нагреватели 40, при этом пунктирные линии на фиг. 11 показывают очертания двух таких элементов-нагревателей 40. В другом примере (не показан) поверхностные выемки 48 химически вытравлены на поверхности металлического листа 400, а не образованы механически.
Для целей настоящего описания и приложенной формулы изобретения, за исключением случаев, когда указано иное, все числа, выражающие величины, количества, проценты и т. д., следует понимать как модифицированные во всех случаях термином «приблизительно». Также все диапазоны включают раскрытые точки максимума и минимума и включают любые промежуточные диапазоны между ними, которые могут быть или не быть конкретно перечислены в настоящем документе. Следовательно, в этом контексте число «А» понимается как «А» ± 10% от «А». В этом контексте можно считать, что число «А» включает числовые значения, которые находятся в пределах общей стандартной погрешности для измерения того свойства, которое число «А» модифицирует. Число «А», используемое в прилагаемой формуле изобретения, в некоторых случаях может отклоняться на проценты, указанные выше, при условии что величина, на которую отклоняется «А», не оказывает существенного влияния на основную и новую характеристику (основные и новые характеристики) заявленного изобретения. Также все диапазоны включают раскрытые точки максимума и минимума и включают любые промежуточные диапазоны между ними, которые могут быть или не быть конкретно перечислены в настоящем документе.
| название | год | авторы | номер документа |
|---|---|---|---|
| УЗЕЛ НАГРЕВАТЕЛЯ С КРЕПЕЖНЫМ ЭЛЕМЕНТОМ | 2022 |
|
RU2841205C2 |
| УСТРОЙСТВО, ГЕНЕРИРУЮЩЕЕ АЭРОЗОЛЬ, С НАГРЕВАТЕЛЕМ С ХОЛОДНОЙ ЗОНОЙ | 2021 |
|
RU2817807C1 |
| УСТРОЙСТВО, ГЕНЕРИРУЮЩЕЕ АЭРОЗОЛЬ, С ТЕПЛОИЗОЛИРОВАННЫМ НАГРЕВАТЕЛЕМ | 2021 |
|
RU2817680C1 |
| ЭЛЕКТРОННОЕ УСТРОЙСТВО С МНОГОФУНКЦИОНАЛЬНЫМ НАГРЕВАТЕЛЕМ БАТАРЕИ | 2021 |
|
RU2810672C1 |
| НАГРЕВАТЕЛЬ В СБОРЕ С КРЕПЕЖНЫМИ НОЖКАМИ | 2019 |
|
RU2756265C1 |
| ИЗДЕЛИЕ ДЛЯ ГЕНЕРИРОВАНИЯ АЭРОЗОЛЯ, ИМЕЮЩЕЕ ТРУБЧАТЫЙ ОПОРНЫЙ ЭЛЕМЕНТ, И СИСТЕМА ДЛЯ ГЕНЕРИРОВАНИЯ АЭРОЗОЛЯ | 2020 |
|
RU2810158C2 |
| ГИБКИЙ НАГРЕВАТЕЛЬ И ЭЛЕКТРОННЫЕ КОМПОНЕНТЫ | 2020 |
|
RU2787008C1 |
| НАГРЕВАТЕЛЬ С ИНДУКЦИОННОЙ СВЯЗЬЮ | 2022 |
|
RU2824110C2 |
| КАРКАС ДЛЯ УСТРОЙСТВА, ГЕНЕРИРУЮЩЕГО АЭРОЗОЛЬ (ВАРИАНТЫ), СПОСОБ ИЗГОТОВЛЕНИЯ КАРКАСА И УСТРОЙСТВО, ГЕНЕРИРУЮЩЕЕ АЭРОЗОЛЬ | 2020 |
|
RU2817586C2 |
| ГЕНЕРИРУЮЩЕЕ АЭРОЗОЛЬ УСТРОЙСТВО, СОДЕРЖАЩЕЕ КРЫШЕЧНЫЙ ЭЛЕМЕНТ, И ГЕНЕРИРУЮЩАЯ АЭРОЗОЛЬ СИСТЕМА | 2019 |
|
RU2786608C2 |
Раскрыт продолговатый металлический элемент-нагреватель (40) для использования с устройством (20), генерирующим аэрозоль. Элемент-нагреватель проходит между ближним концом (44) и дальним концом (45). Ближний конец выполнен с возможностью прикрепления к устройству, генерирующему аэрозоль, для электрической связи с устройством, генерирующим аэрозоль. Элемент-нагреватель имеет одно или оба из множества поверхностных выемок (48), образованных на поверхности элемента-нагревателя, и множества подповерхностных полостей (480), образованных под поверхностью элемента-нагревателя. 2 н. и 13 з.п. ф-лы, 18 ил. 
1. Продолговатый металлический элемент-нагреватель для использования с устройством, генерирующим аэрозоль, при этом элемент-нагреватель проходит между проксимальным концом и дистальным концом, причем проксимальный конец выполнен с возможностью прикрепления к устройству, генерирующему аэрозоль, для электрической связи с устройством, генерирующим аэрозоль;
при этом элемент-нагреватель содержит одно или оба из:
множества поверхностных выемок, образованных на поверхности элемента-нагревателя; и
множества подповерхностных полостей, образованных под поверхностью элемента-нагревателя;
в котором по меньшей мере некоторые из упомянутого множества поверхностных выемок и подповерхностных полостей элемента-нагревателя предусмотрены во внутренней области элемента-нагревателя, причем эта внутренняя область проходит между проксимальным концом и 33% длины элемента-нагревателя относительно проксимального конца, и в котором по меньшей мере 40% по объему, или по меньшей мере 50% по объему, или по меньшей мере 60% по объему, или по меньшей мере 70% по объему, или по меньшей мере 80% по объему всех из упомянутого множества поверхностных выемок и подповерхностных полостей элемента-нагревателя предусмотрено в упомянутой внутренней области.
2. Продолговатый металлический элемент-нагреватель по п.1, отличающийся тем, что множество поверхностных выемок и подповерхностных полостей элемента-нагревателя занимают совокупный объем от 15% до 30% объема соответствующего элемента-нагревателя, не содержащего таких выемок и полостей.
3. Продолговатый металлический элемент-нагреватель по п.2, отличающийся тем, что множество поверхностных выемок и подповерхностных полостей элемента-нагревателя занимают совокупный объем от 17% до 26% объема соответствующего элемента-нагревателя, не содержащего таких выемок и полостей.
4. Продолговатый металлический элемент-нагреватель по любому из пп.1-3, отличающийся тем, что элемент-нагреватель дополнительно содержит множество сквозных отверстий, проходящих через толщину элемента-нагревателя.
5. Продолговатый металлический элемент-нагреватель по любому из пп.1-4, отличающийся тем, что множество поверхностных выемок и подповерхностных полостей элемента-нагревателя сформированы для образования одной или более компоновок в форме сот.
6. Продолговатый металлический элемент-нагреватель по любому из пп.1-5, отличающийся тем, что элемент-нагреватель содержит множество поверхностных выемок и свободен от каких-либо подповерхностных полостей.
7. Продолговатый металлический элемент-нагреватель по любому из пп.1-5, отличающийся тем, что элемент-нагреватель содержит множество подповерхностных полостей и свободен от каких-либо поверхностных выемок.
8. Продолговатый металлический элемент-нагреватель по любому из пп.1-7, отличающийся тем, что поверхностные выемки и подповерхностные полости внутренней области проходят в поперечном направлении по меньшей мере на 90% или по меньшей мере на 95% поперечной ширины элемента-нагревателя.
9. Продолговатый металлический элемент-нагреватель по любому из пп.1-8, отличающийся тем, что все из упомянутого множества поверхностных выемок и подповерхностных полостей элемента-нагревателя предусмотрены во внутренней области элемента-нагревателя.
10. Продолговатый металлический элемент-нагреватель по любому из пп.1-8, отличающийся тем, что некоторые из множества поверхностных выемок и подповерхностных полостей элемента-нагревателя предусмотрены в средней области элемента-нагревателя, при этом средняя область проходит от 33% до 90% длины продолговатого элемента-нагревателя относительно проксимального конца.
11. Продолговатый металлический элемент-нагреватель по любому из пп.1-10, отличающийся тем, что элемент-нагреватель проходит вдоль продольной оси и в боковом направлении наружу от продольной оси, образуя лезвие, имеющее противоположные первую и вторую продолговатые поверхности.
12. Продолговатый металлический элемент-нагреватель по п.11, отличающийся тем, что элемент-нагреватель дополнительно содержит резистивную нагревательную дорожку, расположенную на упомянутой первой продолговатой поверхности, причем элемент-нагреватель содержит множество поверхностных выемок на упомянутой второй продолговатой поверхности, при этом поверхностные выемки на второй продолговатой поверхности образуют по меньшей мере 80% по объему всего упомянутого множества поверхностных выемок элемента-нагревателя.
13. Продолговатый металлический элемент-нагреватель по п.11 или 12, отличающийся тем, что множество поверхностных выемок и подповерхностных полостей элемента-нагревателя расположены в одной или более симметричных в поперечном направлении группах.
14. Устройство, генерирующее аэрозоль, выполненное с возможностью размещения субстрата, образующего аэрозоль, причем устройство, генерирующее аэрозоль, содержит продолговатый металлический элемент-нагреватель по любому из предыдущих пунктов и источник питания, при этом проксимальный конец элемента-нагревателя прикреплен в месте крепления устройства, генерирующего аэрозоль, источник питания электрически соединен с элементом-нагревателем так, чтобы во время использования элемент-нагреватель резистивно нагревался.
15. Устройство, генерирующее аэрозоль, по п.14, отличающееся тем, что устройство, генерирующее аэрозоль, выполнено таким образом, что при использовании субстрата, образующего аэрозоль, помещенного в устройство, элемент-нагреватель проходит внутри субстрата, образующего аэрозоль, чтобы нагревать субстрат, образующий аэрозоль, и генерировать из него вдыхаемый аэрозоль.
| WO 2020142004 A1, 09.07.2020 | |||
| US 5878752 A1, 09.03.1999 | |||
| CN 203523811 U, 09.04.2014 | |||
| КУРИТЕЛЬНОЕ УСТРОЙСТВО | 2008 |
|
RU2400110C1 |
Авторы
Даты
2025-04-08—Публикация
2022-02-24—Подача