Настоящее изобретение относится к узлу нагревателя для устройства, генерирующего аэрозоль (для генерирования аэрозоля). Настоящее изобретение также относится к устройству, генерирующему аэрозоль, содержащему узел нагревателя. В частности, но не исключительно, настоящее изобретение относится к удерживаемому рукой электрическому устройству, генерирующему аэрозоль, для нагревания субстрата, образующего аэрозоль, для генерирования аэрозоля и доставки аэрозоля в рот пользователя. Настоящее изобретение также относится к системе, генерирующей аэрозоль (для генерирования аэрозоля), содержащей устройство, генерирующее аэрозоль, и субстрат, образующий аэрозоль.
Устройства, генерирующие аэрозоль, которые нагревают субстрат, образующий аэрозоль, для получения аэрозоля без сжигания субстрата, образующего аэрозоль, известны в области техники. Субстрат, образующий аэрозоль, обычно обеспечен внутри изделия, генерирующего аэрозоль, вместе с другими компонентами, такими как фильтры. Изделие, генерирующее аэрозоль, может иметь форму стержня для вставки изделия, генерирующего аэрозоль, в нагревательную камеру устройства, генерирующего аэрозоль. Нагревательный элемент обычно расположен в нагревательной камере или вокруг нее для нагрева субстрата, образующего аэрозоль, после того, как изделие, генерирующее аэрозоль, вставлено в нагревательную камеру устройства, генерирующего аэрозоль.
Нагревательная камера может быть расположена внутри корпуса устройства, генерирующего аэрозоль, и образовывать часть пути потока воздуха через устройство, генерирующее аэрозоль. Является известным обеспечение уплотнений вокруг пути потока воздуха и между нагревательной камерой и корпусом с целью предотвращения утечки аэрозоля из пути потока воздуха в другие части устройства, генерирующего аэрозоль, что может вызвать повреждение электронных компонентов устройства. Уплотнения могут быть расположены в непосредственном контакте с нагревательной камерой и, следовательно, обычно выполнены из теплостойкого полимера, такого как силикон или полисилоксан. Тем не менее, воздействие на такие полимерные уплотнения температур нагревания нагревательной камеры может приводить к возникновению нежелательных побочных продуктов, которые могут загрязнять аэрозоль. Кроме того, такие температуры нагревания могут ухудшать уплотнения со временем.
Для нагревания нагревательной камеры устройство, генерирующее аэрозоль, может содержать гибкий нагревательный элемент, расположенный вокруг нагревательной камеры. Для обеспечения возможности прямого контакта между уплотнениями и нагревательной камерой и уменьшения нагревания уплотнений предпринимались попытки удалить уплотнения от нагревательного элемента, например, на расположенном дальше по ходу потока конце нагревательной камеры. Тем не менее это может привести к тому, что придется пойти на компромисс в отношении общих размеров устройства, генерирующего аэрозоль, например, путем использования более длинной нагревательной камеры, что увеличивает потребление энергии нагревательной камеры и снижает эффективность устройства, генерирующего аэрозоль. Кроме того, увеличение длины нагревательной камеры может привести к окружению нагревательной камерой других компонентов изделия, генерирующего аэрозоль, таких как фильтры, которые могут опосредованно нагреваться ввиду проведения тепла через нагревательную камеру. Нагревание фильтров приводит к нежелательной трате энергии.
Альтернативой увеличению длины нагревательной камеры может быть уменьшение длины нагревательного элемента, окружающего нагревательную камеру. Тем не менее, это может привести к тому, что часть субстрата, образующего аэрозоль, не покрыта или не окружена нагревательным элементом, так что тепло должно пройти большее расстояние вдоль длины нагревательной камеры для нагревания этой части субстрата, образующего аэрозоль, по сравнению с прохождением относительно небольшого расстояния через толщину стенки нагревательной камеры. Поэтому часть субстрата, образующего аэрозоль, которая не окружена нагревательным элементом, может быть нагрета менее эффективно, чем часть, которая окружена нагревательным элементом. Следовательно, часть субстрата, образующего аэрозоль, которая не окружена нагревательным элементом, может иметь более низкую температуру, чем часть, которая окружена нагревательным элементом, что может привести к преждевременному конденсированию аэрозоля в более холодной части. Это может привести к доставке меньшего количества аэрозоля пользователю.
Еще один недостаток использования полимерных уплотнений между нагревательной камерой и корпусом устройства заключается в том, что они обеспечивают путь проведения тепла, который передает тепло от нагревательной камеры на материалы, окружающие нагревательную камеру. Это потерянное тепло уменьшает тепло, доступное для нагревания субстрата, образующего аэрозоль, и снижает эффективность устройства, генерирующего аэрозоль.
Было бы желательно обеспечить узел нагревателя для устройства, генерирующего аэрозоль, с улучшенным уплотнением его пути потока воздуха. Было бы желательно обеспечить узел нагревателя для устройства, генерирующего аэрозоль, который является более энергосберегающим и улучшает доставку аэрозоля пользователю.
Согласно примеру настоящего изобретения предложен узел нагревателя для устройства, генерирующего аэрозоль. Узел нагревателя может содержать первый кожух нагревателя. Первый кожух нагревателя может содержать впускное отверстие для воздуха. Узел нагревателя может содержать второй кожух нагревателя. Второй кожух нагревателя может содержать выпускное отверстие для аэрозоля. Узел нагревателя может содержать нагревательную камеру для нагревания субстрата, образующего аэрозоль. Нагревательная камера может быть в сообщении по текучей среде с впускным отверстием для воздуха. Нагревательная камера может быть в сообщении по текучей среде с выпускным отверстием для аэрозоля. Нагревательная камера может быть в сообщении по текучей среде как с впускным отверстием для воздуха, так и с выпускным отверстием для аэрозоля с образованием пути потока воздуха через узел нагревателя. Нагревательная камера может быть расположена между первым и вторым кожухами нагревателя. Первый и второй кожухи нагревателя могут быть прикреплены друг к другу посредством крепежного элемента. Крепежный элемент может быть выполнен с возможностью прикладывать осевую силу к первому и второму кожухам нагревателя. Крепежный элемент может быть выполнен с возможностью приводить противоположные в осевом направлении внутренние поверхности первого и второго кожухов нагревателя в уплотнительное взаимодействие с соответствующими противоположными в осевом направлении концевыми поверхностями нагревательной камеры для герметизации пути потока воздуха.
Согласно примеру настоящего изобретения предложен узел нагревателя для устройства, генерирующего аэрозоль. Узел нагревателя содержит первый кожух нагревателя, содержащий впускное отверстие для воздуха. Узел нагревателя содержит второй кожух нагревателя, содержащий выпускное отверстие для аэрозоля. Узел нагревателя содержит нагревательную камеру для нагревания субстрата, образующего аэрозоль. Нагревательная камера находится в сообщении по текучей среде как с впускным отверстием для воздуха, так и с выпускным отверстием для аэрозоля с образованием пути потока воздуха через узел нагревателя. Нагревательная камера расположена между первым и вторым кожухами нагревателя. Первый и второй кожухи нагревателя прикреплены друг к другу посредством крепежного элемента, при этом крепежный элемент выполнен с возможностью прикладывать осевую силу к первому и второму кожухам нагревателя, чтобы приводить противоположные в осевом направлении внутренние поверхности первого и второго кожухов нагревателя в уплотнительное взаимодействие с соответствующими противоположными в осевом направлении концевыми поверхностями нагревательной камеры для герметизации пути потока воздуха.
Предпочтительно описанный выше пример настоящего изобретения не требует полимерных уплотнений, потому что путь потока воздуха герметизирован посредством прямого взаимодействия концевых поверхностей нагревательной камеры с внутренними поверхностями первого и второго кожухов нагревателя. Таким образом, это исключает появление нежелательных побочных продуктов, которые могут быть высвобождены посредством нагревания полимерных уплотнений.
Еще одно преимущество герметизации пути потока воздуха за счет прямого взаимодействия концевых поверхностей нагревательной камеры с внутренними поверхностями первого и второго кожухов нагревателя состоит в том, что для обеспечения прямого контакта между полимерными уплотнениями и нагревательной камерой на концах нагревательной системы не требуется пространство. Любое пространство на одном или более концах нагревательной камеры, например для предотвращения прямого контакта между нагревательным элементом и окружающими кожухами нагревателя, может быть значительно уменьшено. Это означает, что могут быть использованы более короткие нагревательные камеры и может быть нагрета большая часть длины нагревательной трубки. Это делает возможным более эффективное нагревание субстрата, образующего аэрозоль.
Предпочтительно площадь поперечного сечения, доступная для переноса тепла от нагревательной камеры, значительно уменьшается. Нагревательная камера обычно будет иметь толщину стенки, которая будет меньше, чем толщина полимерных уплотнений, например, 100 микрон против 2 миллиметров соответственно. Поэтому площадь концевых стенок нагревательной камеры, находящаяся в контакте с первым и вторым кожухом нагревателя, меньше, чем площадь полимерных уплотнений, которые обычно окружают нагревательную камеру. Следовательно, снижается количество потерь тепла к частям устройства, генерирующего аэрозоль, окружающим нагревательную камеру.
В контексте данного документа термин «осевая сила» относится к силе, которая действует в направлении, параллельном к оси узла нагревателя. Например, сила может действовать в направлении, параллельном продольной оси узла нагревателя.
В контексте данного документа термины «дальний», «раньше по ходу потока» «ближний» и «дальше по ходу потока» описывают относительное расположение компонентов или частей компонентов устройства, генерирующего аэрозоль, и изделия, генерирующего аэрозоль. Изделия и устройства, генерирующие аэрозоль, согласно настоящему изобретению имеют ближний конец, через который при применении аэрозоль выходит из изделия или устройства для доставки пользователю, и имеет противоположный дальний конец. Ближний конец изделия и устройства, генерирующего аэрозоль, также может называться мундштучным концом. При использовании пользователь осуществляет затяжку на ближнем конце изделия, генерирующего аэрозоль, для вдыхания аэрозоля, сгенерированного изделием, или устройством, генерирующим аэрозоль. Термины «раньше по ходу потока» и «дальше по ходу потока» относятся к направлению движения аэрозоля через изделие, генерирующее аэрозоль, или устройство, генерирующее аэрозоль, когда пользователь осуществляет затяжку на ближнем конце изделия, генерирующего аэрозоль. Ближний конец изделия, генерирующего аэрозоль, расположен дальше по ходу потока относительно дальнего конца изделия, генерирующего аэрозоль. Ближний конец изделия, генерирующего аэрозоль, может также называться расположенным ниже по потоку концом изделия, генерирующего аэрозоль, а дальний конец изделия, генерирующего аэрозоль, может также называться расположенным выше по потоку концом изделия, генерирующего аэрозоль.
Выпускное отверстие для аэрозоля может быть отверстием для размещения изделия, генерирующего аэрозоль. Аэрозоль может выходить из отверстия через изделие, генерирующее аэрозоль, размещенное в нагревательной камере.
По меньшей мере один из первого и второго кожухов нагревателя может содержать внутреннюю полость. Внутренняя полость может окружать нагревательную камеру. Длина нагревательной камеры может быть больше, чем длина внутренней полости. Предпочтительно, за счет того, что длина нагревательной камеры больше длины внутренней полости, вызывается упругая деформация в, по меньшей мере, одном из первого и второго кожухов нагревателя. Эта упругая деформация поддерживается крепежным элементом, при этом крепежный элемент прилагает осевую силу к первому и второму кожухам нагревателя для обеспечения уплотнительного взаимодействия между первым и вторым кожухами нагревателя и нагревательной камерой для герметизации пути потока воздуха.
Первый кожух нагревателя может содержать внутреннюю полость. Внутренняя полость может окружать нагревательную камеру. Длина нагревательной камеры может быть больше, чем длина внутренней полости.
Второй кожух нагревателя может содержать внутреннюю полость. Внутренняя полость может окружать нагревательную камеру. Длина нагревательной камеры может быть больше, чем длина внутренней полости.
Первый кожух нагревателя может содержать первую внутреннюю полость. Второй кожух нагревателя может содержать вторую внутреннюю полость. Первая и вторая внутренние полости могут совместно окружать нагревательную камеру. Длина нагревательной камеры может быть больше, чем сумма длин первой и второй внутренних полостей.
Длина нагревательной камеры может быть больше, чем длина внутренней полости в несобранном состоянии узла нагревателя.
Длина внутренней полости может включать глубину углубления, образованного на внутренней поверхности внутренней полости по меньшей мере одного из первого и второго кожухов нагревателя. Длина внутренней полости может включать глубину углубления, образованного на внутренней поверхности внутренней полости и первого и второго кожухов нагревателя.
В качестве альтернативы длина внутренней полости может включать исключительно длину внутренней полости от первого конца внутренней полости до второго конца внутренней полости одного из первого и второго кожухов нагревателя.
Длина нагревательной камеры может быть на от приблизительно 0,05 процента до приблизительно 8,5 процента больше, чем у внутренней полости, предпочтительно на от приблизительно 0,5 процента до 5,0 процента больше, чем у внутренней полости, и более предпочтительно на от приблизительно 1,3 процента до приблизительно 3,1 процента больше, чем у внутренней полости. Было обнаружено, что эти диапазоны подходят для создания упругой деформации по меньшей мере в одном из первого и второго кожухов нагревателя.
Длина нагревательной камеры может быть на от приблизительно 0,05 миллиметра до приблизительно 1,0 миллиметра больше, чем у внутренней полости, и предпочтительно на от приблизительно 0,2 миллиметра до приблизительно 0,4 миллиметра больше, чем у внутренней полости. Было обнаружено, что эти диапазоны подходят для создания упругой деформации по меньшей мере в одном из первого и второго кожухов нагревателя.
Первый и второй кожухи нагревателя могут охватывать нагревательную камеру.
По меньшей мере один из первого и второго кожухов нагревателя может содержать материал, имеющий модуль упругости или Модуль Юнга меньше, чем 6 гигапаскаль, предпочтительно меньше, чем 5 гигапаскаль и более предпочтительно меньше, чем 4 гигапаскаль. Эти значения модуля упругости обычно меньше, чем модуль упругости материала нагревательной камеры, что означает то, что по меньшей мере один из первого и второго кожухов нагревателя будет упруго деформироваться в большей степени, чем нагревательная камера, потому что нагревательная камера изготовлена из более жестких материалов, чем первый и второй кожухи нагревателя. Было также обнаружено, что эти значения модуля упругости обеспечивают подходящую величину упругой деформации.
Нагревательная камера может содержать материал, имеющий модуль упругости или модуль Юнга больше, чем приблизительно 100 гигапаскаль, предпочтительно больше, чем приблизительно 150 гигапаскаль и более предпочтительно приблизительно 190 гигапаскаль или больше. Нагревательная камера может содержать материал, имеющий модуль упругости или модуль Юнга от приблизительно 100 гигапаскаль до приблизительно 250 гигапаскаль, предпочтительно от приблизительно 150 гигапаскаль до приблизительно 220 гигапаскаль и более предпочтительно от приблизительно 190 гигапаскаль до приблизительно 205 гигапаскаль.
По меньшей мере один из первого и второго кожухов нагревателя может содержать материал, имеющий температуру стеклования больше, чем 130 градусов Цельсия. По меньшей мере один из первого и второго кожухов нагревателя может содержать материал, имеющий температуру плавления больше, чем 280 градусов Цельсия. Эти свойства помогают материалу сохранять структурную стабильность при температурах, возникающих во время нагревания, и помогают снижать вероятность образования нежелательных побочных продуктов.
По меньшей мере один из первого и второго кожухов нагревателя может содержать материал, имеющий твердость по Шору меньше, чем 90A, как определено согласно техническому стандарту ISO868 с применением типа A.
Предпочтительно по меньшей мере один из первого и второго кожухов нагревателя может содержать материал, который может быть изготовлен методом литья под давлением.
По меньшей мере один из первого и второго кожухов нагревателя может содержать полимер. Было обнаружено, что полимеры являются особенно подходящими материалами благодаря своим эластичным свойствам.
Первый и второй кожухи нагревателя могут содержать любой подходящий материал или комбинацию материалов. Примеры подходящих материалов включают пластик или композитные материалы, содержащие один или более материалов, или термопласты, пригодные для применения в пищевом или фармацевтическом производстве, например полипропилен, полиэфирэфиркетон (PEEK), полифенилсульфон (PPSU) и полиэтилен. Предпочтительно по меньшей мере один из первого и второго кожухов нагревателя содержит PEEK или PPSU.
По меньшей мере один из первого и второго кожухов нагревателя может содержать скос или наклонную кромку, расположенную на внутренней поверхности по меньшей мере одного из первого и второго кожухов нагревателя для выравнивания в осевом направлении нагревательной камеры. Предпочтительно скос или наклонная кромка помогает точному определению местоположения нагревательной камеры внутри первого и второго кожухов нагревателя.
Крепежный элемент может предусматривать резьбовой крепежный элемент или замковый крепежный элемент. Было обнаружено, что эти типы крепежного элемента подходят для крепления первого и второго кожухов нагревателя друг к другу. Было установлено, что замковый крепежный элемент или разъем имеет множество дополнительных преимуществ. Например, замковый крепежный элемент может способствовать уменьшению размеров узла нагревателя, потому что имеет уменьшенный профиль по сравнению с другими типами крепежного элемента. Замковый крепежный элемент также может помочь достичь сбалансированного выравнивания первого и второго кожухов нагревателя, потому что он прилагает постоянную величину осевой силы, которая не может быть изменена. Кроме того, замковые крепежные элементы помогают упростить изготовление, потому что для крепления первого и второго кожухов нагревателя требуется всего одна операция запрессовки. Дополнительно, замковый крепежный элемент может быть образован как единое целое с первым и вторым кожухами нагревателя для уменьшения количества частей, необходимых для прикрепления.
Узел нагревателя может содержать несколько крепежных элементов. Первый и второй кожухи нагревателя могут быть прикреплены друг к другу посредством нескольких крепежных элементов. Несколько крепежных элементов могут быть симметрично распределены вокруг внешнего периметра или внешней поверхности первого и второго кожухов нагревателя. Эта компоновка помогает прилагать постоянное давление между концевыми поверхностями первого и второго кожухов нагревателя, которые находятся в контакте друг с другом по всему периметру первого и второго кожухов нагревателя. В результате этого постоянное герметизирующее давление, создается между контактными поверхностями нагревательной камеры и первым и вторым кожухами нагревателя по всей окружности трубчатой нагревательной камеры для обеспечения улучшенного уплотнения. Узел нагревателя может содержать по меньшей мере два крепежных элемента, расположенные диаметрально противоположно друг другу.
Первый и второй кожухи нагревателя могут быть радиально удалены от нагревательной камеры с образованием полого воздушного зазора вокруг нагревательной камеры. Предпочтительно полый воздушный зазор помогает обеспечить теплоизоляцию нагревательной камеры, что помогает уменьшить тепловые потери от нагревательной камеры и также помогает уменьшить теплопередачу наружу узла нагревателя.
Первый кожух нагревателя может содержать канал для потока воздуха. Канал для потока воздуха первого кожуха нагревателя может быть в сообщении по текучей среде с впускным отверстием для воздуха. Второй кожух нагревателя может содержать канал для потока воздуха. Канал для потока воздуха второго кожуха нагревателя может быть в сообщении по текучей среде с выпускным отверстием для аэрозоля. Нагревательная камера может содержать канал для потока воздуха. Канал для потока воздуха нагревательной камеры может проходить по всей длине нагревательной камеры. Каналы для потока воздуха каждого из первого кожуха нагревателя, второго кожуха нагревателя и нагревательной камеры могут быть в сообщении по текучей среде друг с другом с образованием пути потока воздуха через узел нагревателя.
Нагревательная камера может содержать трубчатую нагревательную камеру. Диаметр трубчатой нагревательной камеры на первом конце трубчатой нагревательной камеры может быть больше, чем диаметр вдоль длины трубчатой нагревательной камеры. Диаметр трубчатой нагревательной камеры на втором конце трубчатой нагревательной камеры может быть больше, чем диаметр вдоль длины трубчатой нагревательной камеры. Диаметр трубчатой нагревательной камеры на каждом конце трубчатой нагревательной камеры может быть больше, чем диаметр в области между двумя концами трубчатой нагревательной камеры.
Предпочтительно обеспечение диаметра одного или обоих концов трубчатой нагревательной камеры, который больше чем диаметр трубчатой нагревательной камеры вдоль длины нагревательной камеры, например в области между двумя концами трубчатой нагревательной камеры, делает возможными большие допустимые технологические отклонения для нагревательной камеры и также для других компонентов узла нагревателя. В частности, это делает возможными большие допустимые отклонения в радиальном или поперечном направлениях. В контексте этого документа термины «допустимое отклонение в радиальном направлении» или «допустимое отклонение в поперечном направлении» применяются для описания допустимых технологических отклонений в направлении, по существу перпендикулярном основной продольной оси или длине узла нагревателя или устройства, генерирующего аэрозоль, например допустимых отклонений, которые приводят к тому, что компоненты являются более широкими или узкими, чем их заданная проектная ширина, или тому, что диаметры являются большими или меньшими, чем их заданный проектный диаметр. Допустимые отклонения в радиальном или поперечном направлениях иногда называются «горизонтальными допустимыми отклонениями».
Предпочтительно за счет того, что диаметр конца трубчатой нагревательной камеры больше, чем у других частей трубчатой нагревательной камеры, внутренний диаметр на одном или обоих концах трубчатой нагревательной камеры будет больше, чем внутренний диаметр пути потока воздуха в других компонентах узла нагревателя, с которыми трубчатая нагревательная камера взаимодействует, то есть, в первом и втором кожухах нагревателя. Это помогает избежать выступания или прохождения концевой поверхности трубчатой нагревательной камеры во внутреннее пространство пути потока воздуха, которое может, возможно, привести к повреждению изделия, генерирующего аэрозоль, когда его помещают в нагревательную камеру через путь потока воздуха, и может оставить меньше концевой поверхности трубчатой нагревательной камеры для обеспечения уплотнительного взаимодействия с другими компонентами. Эта компоновка также делает возможными большие допустимые отклонения в радиальном или поперечном направлениях в других компонентах, что более подробно описано ниже.
Внешний диаметр одного или обоих концов трубчатой нагревательной камеры может быть до 20 процентов больше, предпочтительно до 15 процентов больше, более предпочтительно до 12 процентов больше и даже более предпочтительно до 8 процентов больше, чем внешний диаметр части трубчатой нагревательной камеры между двумя концами трубчатой нагревательной камеры. Внешний диаметр одного или обоих концов трубчатой нагревательной камеры может быть от 1 процента до 20 процентов больше, от 1 процента до 15 процентов больше, от 1 процента до 12 процентов больше или от 1 процента до 8 процентов больше, чем внешний диаметр части трубчатой нагревательной камеры между двумя концами трубчатой нагревательной камеры.
Один или оба конца трубчатой нагревательной камеры могут иметь внешний диаметр от 7,5 миллиметра до 9,0 миллиметра, предпочтительно от 8,0 миллиметра до 8,5 миллиметра и более предпочтительно приблизительно 8,4 миллиметра. Часть трубчатой нагревательной камеры между двумя концами трубчатой нагревательной камеры может иметь внешний диаметр от 6,5 миллиметра до 8,0 миллиметра, предпочтительно от 7,0 миллиметра до 8,0 миллиметра и более предпочтительно приблизительно 7,5 миллиметра.
Внутренний диаметр нагревательной камеры может по существу соответствовать, или быть по существу равным, внешнему диаметру изделия, генерирующего аэрозоль. В некоторых вариантах осуществления внутренний диаметр нагревательной камеры может быть немного меньше, чем внешний диаметр изделия, генерирующего аэрозоль, так что изделие, генерирующее аэрозоль, сжато в нагревательной камере. Например, внешний диаметр изделия, генерирующего аэрозоль, может быть приблизительно 7,4 миллиметра, и внутренний диаметр нагревательной камеры может быть приблизительно 7,3 миллиметра. Длина нагревательной камеры может по существу соответствовать, или быть по существу равной, длине субстрата, образующего аэрозоль, обеспеченного в изделии, генерирующем аэрозоль.
По меньшей мере одна концевая часть трубчатой нагревательной камеры может быть развальцованной или воронкообразной. Часть трубчатой нагревательной камеры на обоих концах трубчатой нагревательной камеры может быть развальцованной или воронкообразной. Осевая длина развальцованной или воронкообразной концевой части трубчатой нагревательной камеры может составлять от 0,5 процента до 10 процентов общей длины трубчатой нагревательной камеры, предпочтительно от 1 процента до 5 процентов общей длины трубчатой нагревательной камеры и более предпочтительно приблизительно 3,3 процента общей длины трубчатой нагревательной камеры.
Осевая длина развальцованной или воронкообразной концевой части трубчатой нагревательной камеры может составлять от 0,2 миллиметра до 2 миллиметров, предпочтительно от 0,4 миллиметра до 1 миллиметра и более предпочтительно приблизительно 0,5 мм. Развальцованная или воронкообразная концевая часть или концевые части трубчатой нагревательной камеры могут быть расположены под углом от 30 до 60 градусов, от 40 до 50 градусов или под углом приблизительно 45 градусов относительно продольной оси нагревательной камеры или узла нагревателя. В некоторых предпочтительных вариантах осуществления развальцованная или воронкообразная концевая часть или концевые части трубчатой нагревательной камеры могут быть расположены под углом меньше чем 50 градусов, предпочтительно меньше чем 40 градусов или более предпочтительно меньше чем 30 градусов относительно продольной оси нагревательной камеры или узла нагревателя. Предпочтительно обеспечение развальцованной или воронкообразной концевой части или концевых частей трубчатой нагревательной камеры под углом меньше чем 30 градусов относительно продольной оси нагревательной камеры или узла нагревателя может обеспечить оптимальную жесткость для развальцованной или воронкообразной концевой части или концевых частей трубчатой нагревательной камеры в направлении продольной оси нагревательной камеры или узла нагревателя.
По меньшей мере один конец или концевая часть трубчатой нагревательной камеры могут иметь ступенчатый профиль или быть коленчатыми. Часть трубчатой нагревательной камеры на обоих концах трубчатой нагревательной камеры может иметь ступенчатый профиль или быть коленчатой. Осевая длина ступенчатой или коленчатой концевой части трубчатой нагревательной камеры может составлять от 0,5 процента до 10 процентов общей длины трубчатой нагревательной камеры, предпочтительно от 1 процента до 5 процентов общей длины трубчатой нагревательной камеры и более предпочтительно приблизительно 3,7 процента общей длины трубчатой нагревательной камеры. Предпочтительно определенный радиус обеспечен между ступенчатыми или коленчатыми частями для исключения острых кромок и концентраторов напряжения.
Осевая длина развальцованной или воронкообразной концевой части трубчатой нагревательной камеры может составлять от 0,2 миллиметра до 2 миллиметров, предпочтительно от 0,4 миллиметра до 1 миллиметра и более предпочтительно приблизительно 0,5 мм.
Трубчатая нагревательная камера может иметь толщину трубчатой стенки от 0,05 миллиметра до 1,00 миллиметра, предпочтительно от 0,05 миллиметра до 0,50 миллиметра и более предпочтительно приблизительно 0,10 миллиметра.
Нагревательная камера может быть выполнена из любого подходящего материала в том числе, но без ограничения, керамики, или металла, или металлического сплава. Примером подходящего материала является нержавеющая сталь.
Узел нагревателя может содержать по меньшей мере один электрический нагревательный элемент для нагревания субстрата, образующего аэрозоль. Узел нагревателя может содержать несколько электрических нагревательных элементов. Электрический нагревательный элемент или элементы могут быть расположены вокруг внешней поверхности нагревательной камеры или окружать ее. Электрический нагревательный элемент или элементы могут быть расположены вокруг внутренней поверхности нагревательной камеры или окружать ее. Электрический нагревательный элемент или элементы могут быть частью нагревательной камеры, или выполнены за одно целое с ней.
Электрический нагревательный элемент или элементы могут содержать электрически резистивный материал. Подходящие электрически резистивные материалы включают, но без ограничения: полупроводники, такие как легированная керамика, электрически «проводящую» керамику (такую как, например, дисилицид молибдена), углерод, графит, металлы, сплавы металлов и композиционные материалы, изготовленные из керамического материала и металлического материала. Такие композиционные материалы могут содержать легированную или нелегированную керамику. Примеры подходящей легированной керамики включают легированные карбиды кремния. Примеры подходящих металлов включают титан, цирконий, тантал и металлы из платиновой группы. Примеры подходящих сплавов металлов включают нержавеющую сталь, сплавы, содержащие никель, кобальт, хром, алюминий, титан, цирконий, гафний, ниобий, молибден, тантал, вольфрам, олово, галлий, марганец, золото и железо, и суперсплавы на основе никеля, железа, кобальта, нержавеющей стали, TimetalTM, KanthalTM и другие железо-хром-алюминиевые сплавы и сплавы на основе железа, марганца и алюминия. В композиционных материалах электрически резистивный материал может быть необязательно встроен в изоляционный материал, инкапсулирован в него или покрыт им, или наоборот, в зависимости от кинетики переноса энергии и требуемых наружных физико-химических свойств.
Один или более нагревательных элементов может быть выполнен с использованием металла или металлического сплава, характеризующегося определенной зависимостью между температурой и удельным сопротивлением. Нагревательные элементы, образованные таким образом, могут быть использованы как для нагрева, так и для отслеживания температуры нагревательного элемента во время работы.
Нагревательный элемент может быть нанесен внутри жесткого материала носителя или на нем или субстрата. Нагревательный элемент может быть нанесен внутри гибкого материала носителя или субстрата или на них. Нагревательный элемент может быть выполнен в виде дорожки на подходящем изоляционном материале, таком как керамика, или стекло, или полиимидная пленка. Нагревательный элемент может быть зажат между двумя изоляционными материалами.
Узел нагревателя может содержать гибкий нагревательный элемент, расположенный вокруг внешней поверхности нагревательной камеры или окружающий ее. Гибкий нагревательный элемент может иметь длину, по существу равную длине субстрата, образующего аэрозоль, обеспеченного в изделии, генерирующем аэрозоль. Нагревательная камера может быть длиннее, чем нагревательный элемент. Нагревательная камера может содержать по меньшей мере одну концевую часть, которая не покрыта или окружена нагревательным элементом. На обоих концах нагревательной камеры может быть обеспечена концевая часть, которая не покрыта или окружена нагревательным элементом. Концевая часть или части могут служить разделительными частями для предотвращения прямого контакта между нагревательным элементом и другими компонентами узла нагревателя. Каждая концевая часть или части могут иметь длину меньше чем 2 миллиметра, предпочтительно меньше чем 1 миллиметр и предпочтительно приблизительно 0,5 миллиметра. Предпочтительно разделительные части будут иметь более низкую температуру во время нагревания, чем часть нагревательной камеры, покрытая или окруженная нагревательным элементом. Разделительные части могут содержать воронкообразные концевые части или ступенчатые концевые части.
Нагревательная камера может быть выполнена с возможностью размещения по меньшей мере части изделия, генерирующего аэрозоль (как определено ниже).
Согласно одному примеру настоящего изобретения предложено устройство, генерирующее аэрозоль. Устройство, генерирующее аэрозоль, может содержать узел нагревателя согласно любому из узлов нагревателей, описанных выше. Устройство, генерирующее аэрозоль, может содержать блок питания или источник питания для подачи электропитания на узел нагревателя.
Согласно одному примеру настоящего изобретения предложено устройство, генерирующее аэрозоль. Устройство, генерирующее аэрозоль, содержит узел нагревателя согласно любому из узлов нагревателей, описанных выше, и блок питания или источник питания для подачи электропитания на узел нагревателя.
Блок питания может являться любым подходящим блоком питания, например источником напряжения постоянного тока. В одном варианте осуществления блоком питания является литий-ионная батарея. В качестве альтернативы блоком питания может быть никель-металлогидридная батарея, никель-кадмиевая батарея или батарея на основе лития, например литий-кобальтовая, литий-железо-фосфатная или литий-полимерная батарея.
Предпочтительно устройство, генерирующее аэрозоль, является устройством, генерирующим аэрозоль, удерживаемым рукой, которое пользователю удобно держать между пальцами одной руки.
Устройство, генерирующее аэрозоль, может дополнительно содержать схему управления, выполненную с возможностью управления подачей электропитания на узел нагревателя. Схема управления может содержать микропроцессор. Микропроцессор может представлять собой программируемый микропроцессор, микроконтроллер или специализированную интегральную схему (ASIC) или другую электронную схему, способную обеспечивать управление. Схема управления может содержать дополнительные электронные компоненты. Например, в некоторых вариантах осуществления схема управления может содержать любое из: датчиков, переключателей, элементов отображения. Питание может подаваться на узел нагревателя непрерывно после активации устройства или может подаваться с перерывами, например от затяжки к затяжке. Питание может подаваться на узел нагревателя в виде импульсов электрического тока, например, посредством широтно-импульсной модуляции (PWM).
Устройство, генерирующее аэрозоль, может содержать корпус устройства. Корпус устройства может содержать узел нагревателя, блок питания и схему управления. Корпус может содержать отверстие для размещения изделия, генерирующего аэрозоль. Отверстие может быть соединено с выпускным отверстием для аэрозоля второго кожуха узла нагревателя для обеспечения возможности вставки изделия, генерирующего аэрозоль, в нагревательную камеру. Корпус может содержать впускное отверстие для воздуха. Впускное отверстие для воздуха может быть соединено с впускным отверстием для воздуха первого кожуха узла нагревателя.
Корпус может содержать любой подходящий материал или комбинацию материалов. Примеры подходящих материалов включают металлы, сплавы, пластмассы или композитные материалы, содержащие один или более таких материалов, или термопластичные материалы, подходящие для применений в пищевой или фармацевтической промышленности, например, полипропилен, полиэфирэфиркетон (PEEK) и полиэтилен. Материал предпочтительно является легким и нехрупким.
Согласно примеру настоящего изобретения предусмотрена система, генерирующая аэрозоль, содержащая устройство, генерирующее аэрозоль, согласно любому из примеров, описанных выше. Система, генерирующая аэрозоль, может содержать изделие, генерирующее аэрозоль, содержащее субстрат, образующий аэрозоль.
Согласно примеру настоящего изобретения предусмотрена система, генерирующая аэрозоль, содержащая: устройство, генерирующее аэрозоль, согласно одному из примеров, описанных выше; и изделие, генерирующее аэрозоль, содержащее субстрат, образующий аэрозоль.
В контексте данного документа термин «изделие, генерирующее аэрозоль», относится к изделию, содержащему субстрат, образующий аэрозоль, который при нагреве в устройстве, генерирующем аэрозоль, высвобождает летучие соединения, способные образовывать аэрозоль. Изделие, генерирующее аэрозоль, выполнено отдельно от устройства, генерирующего аэрозоль, и выполнено с возможностью комбинации с ним для нагревания изделия, генерирующего аэрозоль.
Изделие, генерирующее аэрозоль, может иметь по сути цилиндрическую форму. Изделие, генерирующее аэрозоль, может быть по существу продолговатым. Субстрат, образующий аэрозоль, может иметь по существу цилиндрическую форму. Субстрат, образующий аэрозоль, может быть по существу удлиненным.
Изделие, генерирующее аэрозоль, может иметь общую длину от приблизительно 30 мм до приблизительно 100 мм. Изделие, генерирующее аэрозоль, может иметь наружный диаметр от приблизительно 5 мм до приблизительно 12 мм. Субстрат, образующий аэрозоль, может иметь длину от приблизительно 10 мм до приблизительно 18 мм. Кроме того, диаметр субстрата, образующего аэрозоль, может составлять от приблизительно 5 мм до приблизительно 12 мм. Изделие, генерирующее аэрозоль, может содержать штранг фильтрующего материала. Штранг фильтрующего материала может находиться на расположенном ниже по ходу потока конце изделия, генерирующего аэрозоль. Штранг фильтрующего материала может представлять собой ацетилцеллюлозный штранг фильтрующего материала. Штранг фильтрующего материала в одном варианте осуществления имеет длину примерно 7 мм, однако может иметь длину от примерно 5 мм до примерно 12 мм.
В одном варианте осуществления изделие, генерирующее аэрозоль, может иметь общую длину, составляющую примерно 45 мм. Изделие, генерирующее аэрозоль, может иметь наружный диаметр приблизительно 7,3 мм, но может иметь наружный диаметр от приблизительно 7,0 мм до приблизительно 7,4 мм. Кроме того, субстрат, образующий аэрозоль, может иметь длину приблизительно 12 мм. Альтернативно, субстрат, образующий аэрозоль, может иметь длину приблизительно 16 мм. Изделие, генерирующее аэрозоль, может содержать внешнюю бумажную обертку. Кроме того, изделие, генерирующее аэрозоль, может содержать промежуток между субстратом, образующим аэрозоль, и штрангом фильтрующего материала. Промежуток может составлять приблизительно 21 мм или приблизительно 26 мм, но может составлять в диапазоне от приблизительно 5 мм до приблизительно 28 мм. Промежуток может быть обеспечен с помощью полой трубки. Полая трубка может быть изготовлена из картона или ацетата целлюлозы.
Субстрат, образующий аэрозоль, может быть твердым субстратом, образующим аэрозоль. В качестве альтернативы субстрат, образующий аэрозоль, может содержать как твердые, так и жидкие компоненты. Субстрат, образующий аэрозоль, может содержать табакосодержащий материал, содержащий летучие табачные вкусоароматические соединения, которые высвобождаются из субстрата при нагреве. В качестве альтернативы субстрат, образующий аэрозоль, может содержать нетабачный материал. Субстрат, образующий аэрозоль, может дополнительно содержать вещество для образования аэрозоля. Примерами подходящих веществ для образования аэрозоля являются глицерин и пропиленгликоль.
Если субстрат, образующий аэрозоль, представляет собой твердый субстрат, образующий аэрозоль, то твердый субстрат, образующий аэрозоль, может содержать, например, одно или несколько из следующего: порошок, гранулы, шарики, крупицы, тонкие трубки, полоски или листы, содержащие одно или несколько из следующего: травяные листья, табачные листья, фрагменты табачных жилок, восстановленный табак, гомогенизированный табак, экструдированный табак и взорванный табак. Твердый субстрат, образующий аэрозоль, может иметь рассыпную форму или может быть предоставлен в подходящей емкости или картридже. Необязательно твердый субстрат, образующий аэрозоль, может содержать дополнительные табачные или нетабачные летучие вкусоароматические соединения, предназначенные для высвобождения при нагреве субстрата. Твердый субстрат, образующий аэрозоль, может также содержать капсулы, которые, например, содержат дополнительные табачные или нетабачные летучие вкусоароматические соединения, и такие капсулы могут плавиться во время нагрева твердого субстрата, образующего аэрозоль.
В контексте данного документа «гомогенизированный табак» относится к материалу, образованному посредством агломерирования сыпучего табака. Гомогенизированный табак может иметь форму листа. Содержание вещества для образования аэрозоля в гомогенизированном табачном материале может составлять более 5% в пересчете на сухой вес. Альтернативно содержание вещества для образования аэрозоля в гомогенизированном табачном материале может составлять от 5% до 30% по весу в пересчете на сухой вес. Листы гомогенизированного табачного материала могут быть образованы путем агломерирования сыпучего табака, полученного путем помола или иного измельчения одного или обоих из пластинки табачного листа и стеблей табачного листа. Альтернативно или дополнительно листы гомогенизированного табачного материала могут содержать одно или более из табачной пыли, табачной мелочи и других побочных продуктов сыпучего табака, образующихся, например, во время обработки, перемещения и отгрузки табака. Листы гомогенизированного табачного материала могут содержать одно или более собственных связующих, т. е. табачных эндогенных связующих, одно или более внешних связующих, т. е. табачных экзогенных связующих, или их сочетание, чтобы способствовать агломерированию сыпучего табака; альтернативно или дополнительно листы гомогенизированного табачного материала могут содержать другие добавки, включая, но без ограничения, табачные и нетабачные волокна, вещества для образования аэрозоля, увлажнители, пластификаторы, ароматизаторы, наполнители, водные и неводные растворители и их сочетания.
В особенно предпочтительном варианте осуществления субстрат, образующий аэрозоль, содержит собранный гофрированный лист гомогенизированного табачного материала. В контексте данного документа термин «гофрированный лист» означает лист, имеющий множество по существу параллельных гребней или гофров. Предпочтительно, когда изделие, генерирующее аэрозоль, собрано, по существу параллельные складки или гофры проходят вдоль или параллельно продольной оси изделия, генерирующего аэрозоль. Это преимущественно упрощает сбор гофрированного листа гомогенизированного табачного материала с образованием субстрата, образующего аэрозоль. Однако будет понятно, что гофрированные листы гомогенизированного табачного материала для включения в изделие, генерирующее аэрозоль, могут альтернативно или дополнительно иметь множество по существу параллельных складок или гофров, которые расположены под острым или тупым углом к продольной оси изделия, генерирующего аэрозоль, когда изделие, генерирующее аэрозоль, собрано. В определенных вариантах осуществления субстрат, образующий аэрозоль, может содержать собранный лист гомогенизированного табачного материала, который по существу равномерно текстурирован по существу по всей поверхности. Например, субстрат, образующий аэрозоль, может содержать собранный гофрированный лист гомогенизированного табачного материала, содержащий множество по существу параллельных складок или гофров, которые по существу равномерно разнесены по ширине листа.
Необязательно твердый субстрат, образующий аэрозоль, может быть предоставлен на термостабильном носителе или встроен в него. Носитель может быть в виде порошка, гранул, шариков, крупиц, тонких трубок, полосок или листов. Альтернативно носитель может представлять собой трубчатый носитель, имеющий тонкий слой твердого субстрата, осажденного на его внутреннюю поверхность, или на его внешнюю поверхность, или как на его внутреннюю, так и внешнюю поверхности. Такой трубчатый носитель может быть выполнен, например, из бумаги или материала, подобного бумаге, нетканого мата из углеродных волокон, легкой металлической сетки с открытыми ячейками или перфорированной металлической фольги, или любой другой термостабильной полимерной матрицы.
Твердый субстрат, образующий аэрозоль, может быть нанесен на поверхность носителя в виде, например, листа, пеноматериала, геля или суспензии. Твердый субстрат, образующий аэрозоль, может быть нанесен на всю поверхность носителя или альтернативно может быть нанесен в виде узора с целью обеспечения неоднородной доставки вкусоароматической добавки во время использования.
Несмотря на то, что выше упоминаются твердые субстраты, образующие аэрозоль, специалисту в данной области техники будет понятно, что с другими вариантами осуществления могут быть применены другие формы субстрата, образующего аэрозоль. Например, субстрат, образующий аэрозоль, может представлять собой жидкий субстрат, образующий аэрозоль. Если предусмотрен жидкий субстрат, образующий аэрозоль, то устройство, генерирующее аэрозоль, предпочтительно содержит средства для удержания жидкости. Например, жидкий субстрат, образующий аэрозоль, может удерживаться в таре или части для хранения жидкости. Альтернативно или дополнительно жидкий субстрат, образующий аэрозоль, может быть поглощен пористым материалом носителя. Пористый материал носителя может быть изготовлен из любой подходящей поглощающей заглушки или детали, например из вспененного металлического или пластмассового материала, полипропилена, терилена, нейлоновых волокон или керамики. Жидкий субстрат, образующий аэрозоль, может удерживаться в пористом материале носителя перед применением устройства, генерирующего аэрозоль, или альтернативно материал жидкого субстрата, образующего аэрозоль, может высвобождаться в пористый материал носителя во время применения или непосредственно перед ним. Например, жидкий субстрат, образующий аэрозоль, может быть предусмотрен в капсуле. Оболочка капсулы предпочтительно плавится при нагреве и высвобождает жидкий субстрат, образующий аэрозоль, в пористый материал носителя. Капсула может необязательно содержать твердое вещество в сочетании с жидкостью.
Альтернативно носитель может представлять собой нетканое полотно или пучок волокон, в которые были включены табачные компоненты. Нетканое полотно или пучок волокон могут содержать, например, углеродные волокна, натуральные целлюлозные волокна или волокна из производных целлюлозы.
Согласно примеру настоящего изобретения предложен способ изготовления узла нагревателя для устройства, генерирующего аэрозоль. Способ может включать обеспечение первого кожуха нагревателя, содержащего впускное отверстие для воздуха. Способ может включать обеспечение второго кожуха нагревателя, содержащего выпускное отверстие для аэрозоля. Способ может включать обеспечение нагревательной камеры для нагревания субстрата, образующего аэрозоль. Способ может включать расположение нагревательной камеры так, что она находится в сообщении по текучей среде как с впускным отверстием для воздуха, так и с выпускным отверстием для воздуха с образованием пути потока воздуха через узел нагревателя. Способ может включать расположение нагревательной камеры между первым и вторым кожухами нагревателя. Способ может включать прикрепление первого и второго кожухов нагревателя друг к другу с помощью крепежного элемента. Крепежный элемент может быть выполнен с возможностью прикладывать осевую силу к первому и второму кожухам нагревателя для приведения противоположных в осевом направлении внутренних поверхностей первого и второго кожухов нагревателя в уплотнительное взаимодействие с соответствующими противоположными в осевом направлении концевыми поверхностями нагревательной камеры для герметизации пути потока воздуха.
Согласно примеру настоящего изобретения предложен способ изготовления узла нагревателя для устройства, генерирующего аэрозоль. Способ включает: обеспечение первого кожуха нагревателя, содержащего впускное отверстие для воздуха; обеспечение второго кожуха нагревателя, содержащего выпускное отверстие для аэрозоля; обеспечение нагревательной камеры для нагревания субстрата, образующего аэрозоль, и расположение нагревательной камеры так, что она находится в сообщении по текучей среде как с впускным отверстием для воздуха, так и с выпускным отверстием для аэрозоля с образованием пути потока воздуха через узел нагревателя; расположение нагревательной камеры между первым и вторым кожухами нагревателя и прикрепление первого и второго кожухов нагревателя друг к другу с помощью крепежного элемента, при этом крепежный элемент выполнен с возможностью прикладывать осевую силу к первому и второму кожухам нагревателя для приведения противоположных в осевом направлении внутренних поверхностей первого и второго кожухов нагревателя в уплотнительное взаимодействие с соответствующими противоположными в осевом направлении концевыми поверхностями нагревательной камеры для герметизации пути потока воздуха.
Способ может дополнительно включать приложение осевой сжимающей силы к первому и второму кожухам нагревателя перед прикреплением первого и второго кожухов нагревателя друг к другу с помощью крепежного элемента. Сжимающая сила может составлять от 100 ньютонов до 300 ньютонов, предпочтительно сжимающая сила составляет приблизительно 200 ньютонов.
Нагревательная камера может быть запрессована в углубление, образованное на внутренней поверхности первого кожуха нагревателя.
Нагревательная камера может быть запрессована в углубление, образованное на внутренней поверхности второго кожуха нагревателя.
Признаки, описанные в отношении одного из приведенных выше примеров, могут быть в равной степени применены и к другим примерам согласно настоящему изобретению.
Настоящее изобретение определено в формуле изобретения. Однако ниже предоставлен, не являющийся исчерпывающим перечень неограничивающих примеров. Любые один или более признаков этих примеров можно комбинировать с любыми одним или более признаками другого примера, варианта осуществления или аспекта, описанных в данном документе.
Пример Ex1: Узел нагревателя для устройства, генерирующего аэрозоль, при этом узел нагревателя содержит: первый кожух нагревателя, содержащий впускное отверстие для воздуха; второй кожух нагревателя, содержащий выпускное отверстие для аэрозоля; и нагревательную камеру для нагревания субстрата, образующего аэрозоль, при этом нагревательная камера находится в сообщении по текучей среде как с впускным отверстием для воздуха, так и с выпускным отверстием для аэрозоля с образованием пути потока воздуха через узел нагревателя.
Пример Ex2: Узел нагревателя согласно примеру Ex1, при этом нагревательная камера расположена между первым и вторым кожухами нагревателя.
Пример Ex3: Узел нагревателя согласно примеру Ex1 или Ex2, при этом первый и второй кожухи нагревателя прикреплены друг к другу посредством крепежного элемента, при этом крепежный элемент выполнен с возможностью прикладывать осевую силу к первому и второму кожухам нагревателя для приведения противоположных в осевом направлении внутренних поверхностей первого и второго кожухов нагревателя в уплотнительное взаимодействие с соответствующими противоположными в осевом направлении концевыми поверхностями нагревательной камеры для герметизации пути потока воздуха.
Пример Ex4: Узел нагревателя согласно любому из примеров Ex1-Ex3, при этом по меньшей мере один из первого и второго кожухов нагревателя содержит внутреннюю полость, которая окружает нагревательную камеру, и при этом длина нагревательной камеры больше, чем длина внутренней полости в несобранном состоянии узла нагревателя.
Пример Ex5: Узел нагревателя согласно примеру Ex4, при этом длина нагревательной камеры на от приблизительно 0,5 процента до приблизительно 8,5 процента больше, чем у внутренней полости.
Пример Ex6: Узел нагревателя согласно примеру Ex5, при этом длина нагревательной камеры на от приблизительно 1,0 процента до приблизительно 5,0 процента больше, чем у внутренней полости.
Пример Ex7: Узел нагревателя согласно примеру Ex6, при этом длина нагревательной камеры на от приблизительно 1,3 процента до приблизительно 3,1 процента больше, чем у внутренней полости.
Пример Ex8: Узел нагревателя согласно любому предыдущему примеру, при этом по меньшей мере один из первого и второго кожухов нагревателя содержит материал, имеющий модуль упругости меньше, чем 6 гигапаскаль.
Пример Ex9: Узел нагревателя согласно примеру Ex8, при этом по меньшей мере один из первого и второго кожухов нагревателя содержит материал, имеющий модуль упругости меньше, чем 5 гигапаскаль.
Пример Ex10: Узел нагревателя согласно примеру Ex9, при этом по меньшей мере один из первого и второго кожухов нагревателя содержит материал, имеющий модуль упругости меньше, чем 4 гигапаскаль.
Пример Ex11: Узел нагревателя согласно любому предыдущему примеру, при этом по меньшей мере один из первого и второго кожухов нагревателя содержит полимер.
Пример Ex12: Узел нагревателя согласно любому предыдущему примеру, при этом по меньшей мере один из первого и второго кожухов нагревателя содержит скос, расположенный на внутренней поверхности по меньшей мере одного из первого и второго кожухов нагревателя для выравнивания в осевом направлении нагревательной камеры.
Пример Ex13: Узел нагревателя согласно любому предыдущему примеру, при этом крепежный элемент предусматривает резьбовой крепежный элемент.
Пример Ex14: Узел нагревателя согласно любому из примеров Ex1-Ex12, при этом крепежный элемент предусматривает замковый крепежный элемент.
Пример Ex15: Узел нагревателя согласно любому предыдущему примеру, при этом узел нагревателя содержит несколько крепежных элементов.
Пример Ex16: Узел нагревателя согласно примеру Ex15, при этом несколько крепежных элементов симметрично распределены вокруг внешнего периметра первого и второго кожухов нагревателя.
Пример Ex17: Узел нагревателя согласно любому предыдущему примеру, при этом каждое из первого кожуха нагревателя, второго кожуха нагревателя и нагревательной камеры содержит канал для потока воздуха, при этом каналы для потока воздуха сообщаются с образованием пути потока воздуха.
Пример Ex18: Узел нагревателя согласно любому предыдущему примеру, при этом нагревательная камера содержит трубчатую нагревательную камеру.
Пример Ex19: Узел нагревателя согласно примеру Ex18, при этом диаметр трубчатой нагревательной камеры на каждом конце трубчатой нагревательной камеры больше, чем диаметр трубчатой нагревательной камеры в области между двумя концами трубчатой нагревательной камеры.
Пример Ex20: Узел нагревателя согласно примеру Ex18 или Ex19, при этом каждый конец трубчатой нагревательной камеры является развальцованным или воронкообразным.
Пример Ex21: Узел нагревателя согласно примеру Ex20, при этом осевая длина развальцованного или воронкообразного конца трубчатой нагревательной камеры составляет от 0,5 процента до 10 процентов общей длины трубчатой нагревательной камеры.
Пример Ex22: Узел нагревателя согласно примеру Ex18 или Ex19, при этом каждый конец трубчатой нагревательной камеры имеет ступенчатый или коленчатый профиль.
Пример Ex23: Узел нагревателя согласно примеру Ex22, при этом осевая длина ступенчатого или коленчатого конца трубчатой нагревательной камеры составляет от 0,5 процента до 10 процентов общей длины трубчатой нагревательной камеры.
Пример Ex24: Устройство, генерирующее аэрозоль, содержащее: узел нагревателя согласно любому из предыдущих пунктов; и блок питания для подачи электрического питания на узел нагревателя.
Пример Ex25: Способ изготовления узла нагревателя для устройства, генерирующего аэрозоль, при этом способ включает: обеспечение первого кожуха нагревателя, содержащего впускное отверстие для воздуха; обеспечение второго кожуха нагревателя, содержащего выпускное отверстие для аэрозоля; обеспечение нагревательной камеры для нагревания субстрата, образующего аэрозоль, и расположение нагревательной камеры так, что она находится в сообщении по текучей среде как с впускным отверстием для воздуха, так и с выпускным отверстием для аэрозоля с образованием пути потока воздуха через узел нагревателя; расположение нагревательной камеры между первым и вторым кожухами нагревателя; прикрепление первого и второго кожухов нагревателя друг к другу с помощью крепежного элемента, при этом крепежный элемент выполнен с возможностью прикладывать осевую силу к первому и второму кожухам нагревателя для приведения противоположных в осевом направлении внутренних поверхностей первого и второго кожухов нагревателя в уплотнительное взаимодействие с соответствующими противоположными в осевом направлении концевыми поверхностями нагревательной камеры для герметизации пути потока воздуха.
Пример Ex26: Способ согласно примеру Ex25, дополнительно включающий приложение осевой сжимающей силы к первому и второму кожухам нагревателя перед прикреплением первого и второго кожухов нагревателя друг к другу с помощью крепежного элемента.
Примеры теперь будут дополнительно описаны со ссылкой на фигуры чертежей, где:
На фиг. 1 представлен продольный разрез узла нагревателя согласно примеру настоящего изобретения.
На фиг. 2A представлен схематический вид в продольном сечении узла нагревателя по фиг. 1 в несобранном состоянии с нагревательной камерой, расположенной снаружи кожухов нагревателя.
На фиг. 2B представлен схематический вид в продольном сечении узла нагревателя по фиг. 1 непосредственно перед сборкой с нагревательной камерой, расположенной снаружи кожухов нагревателя.
На фиг. 3A представлено продольное сечение узла нагревателя согласно другому примеру настоящего изобретения.
На фиг. 3B представлен увеличенный частичный вид узла нагревателя, расположенный в области, обозначенной D на фиг. 3A.
На фиг. 4A и 4B представлены изображения сбоку двух представленных в качестве примера нагревательных камер для применения в узле нагревателя согласно настоящему изобретению.
На фиг. 5A-5C представлены схематические частичные изображения в разрезе известных трубчатых нагревательных камер, на которых показаны проблемы, которые могут возникнуть из-за допустимых технологических отклонений в результате запрессовки нагревательных камер в кожух нагревателя.
На фиг. 6 представлено схематическое изображение в разрезе, показывающее внутреннюю часть устройства, генерирующего аэрозоль, согласно примеру настоящего изобретения и изделие, генерирующее аэрозоль, размещенное внутри устройства, генерирующего аэрозоль.
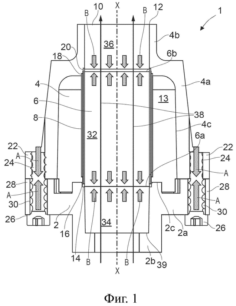
На фиг. 1 показано продольное сечение узла 1 нагревателя, содержащего первый кожух 2 нагревателя, второй кожух 4 нагревателя и нагревательную камеру 6 для нагревания субстрата, образующего аэрозоль. Первый 2 кожух нагревателя содержит по существу плоскую опорную секцию 2a и первую трубчатую секцию 2b. Опорная секция 2a первого кожуха 2 нагревателя имеет внутреннюю поверхность 2c, которая обращена ко второму кожуху 4 нагревателя. Впускное отверстие для воздуха (не показано) расположено на дальнем конце первой трубчатой секции 2b, при этом первая трубчатая секция 2b проходит в дистальном направлении от опорной секции 2a в направлении, параллельном продольной оси X-X узла 1 нагревателя.
Второй кожух 4 нагревателя содержит полую секцию 4a оболочки и вторую трубчатую секцию 4b. Полая секция 4a оболочки имеет внутреннюю полость 4c, которая окружает нагревательную камеру 6 и является открытой на своем дальнем конце, чтобы позволять размещение нагревательной камеры внутри внутренней полости 4c. Внутренняя полость 4c полой секции 4а оболочки закрыта на своем дальнем конце внутренней поверхностью 2c опорной секции 2a первого кожуха 2 нагревателя. Выпускное отверстие 10 для аэрозоля расположено на ближнем конце второй трубчатой секции 4b, при этом вторая трубчатая секция 4b проходит в проксимальном направлении от полой секции 4a оболочки в направлении, параллельном продольной оси X-X узла 1 нагревателя. Выпускное отверстие 10 для аэрозоля определено отверстием 12, которое выполнено с возможностью приема изделия, генерирующего аэрозоль, (не показано). Аэрозоль выходит из отверстия 10 через изделие, генерирующее аэрозоль, размещенное в нагревательной камере 6.
Нагревательная камера 6 содержит трубчатую нагревательную камеру, выполненную из трубки из нержавеющей стали. Нагревательный элемент 8 расположен вокруг внешней поверхности нагревательной камеры для нагревания нагревательной камеры 6, которая, в свою очередь, нагревает субстрат, образующий аэрозоль (не показан), размещенный внутри внутреннего пространства трубчатой нагревательной камеры 6. Нагревательный элемент содержит теплостойкую гибкую полиимидную пленку, содержащую электрически резистивные нагревательные дорожки (не показаны), образованные в петлеобразном узоре на пленке. Резистивные нагревательные дорожки соединены с электрическим блоком питания (не показан) и вырабатывают тепло, когда электрический ток пропускается через них. Нагревательный элемент расположен по существу по всей длине трубчатой нагревательной камеры 6 для нагревания по существу всей длины трубчатой нагревательной камеры 6.
Нагревательная камера 6 опирается на опорную секцию 2a первого кожуха 2 нагревателя. Дальний или первый конец 6a нагревательной камеры 6 запрессован внутри первого углубления 14, выполненного во второй стороне 2c первого кожуха 2 нагревателя. Внутренняя окружная кромка углубления 14 имеет наклон или скос 16 для размещения нагревательной камеры 6 в углублении 14 и правильного выравнивания нагревательной камеры 6 относительно продольной оси X-X узла 1 нагревателя. Ближний или второй конец 6b нагревательной камеры 6 запрессован внутри второго углубления 18, образованного на внутренней поверхности внутренней полости 4c второго кожуха 4 нагревателя. Внутренняя окружная кромка углубления 18 имеет наклон или скос 20 для размещения нагревательной камеры 6 в углублении 18 и правильного выравнивания нагревательной камеры 6 относительно продольной оси X-X узла 1 нагревателя. Второе углубление 18 расположено противоположно в осевом направлении относительно первого углубления 14 в направлении, параллельном продольной оси X-X узла 1 нагревателя.
Первый 2 и второй 4 кожухи нагревателя прикреплены друг к другу и охватывают нагревательную камеру 6. Дальний конец второго кожуха 4 нагревателя имеет два выступа или соединительных элемента 22, расположенных диаметрально противоположно друг другу на внешней поверхности второго кожуха 4 нагревателя. Каждый выступ 22 имеет отверстие 24 для размещения винта 26. Два выступа или соединительных элемента 28 расположены на ближнем конце первого кожуха 2 нагревателя в соответствующих выступам 22 местах. Каждый из выступов 28 имеет отверстие 30 для размещения винта 26. Для крепления первого 2 и второго 4 кожухов нагревателя ближний конец первого кожуха 2 вводится во взаимодействие с дальним концом второго кожуха 4, а винт 26 вставляется через отверстия 24 и 30 для фиксации первого 2 и второго 4 кожухов нагревателя во взаимодействии. Таким образом, винт 26 действует как крепежный элемент, удерживающий первый 2 и второй 4 кожухи нагревателя во взаимодействии друг с другом.
Боковая стенка внутренней полости 4c второго 4 кожуха нагревателя радиально удалена от нагревательной камеры 6 для образования полого воздушного зазора 13 вокруг нагревательной камеры 6. Полый воздушный зазор 13 помогает обеспечить теплоизоляцию нагревательной камере 6, что помогает уменьшить тепловые потери от нагревательной камеры 6 и также помогает уменьшить теплопередачу наружу узла 1 нагревателя и устройства, генерирующего аэрозоль.
Первый 2 и второй 4 кожухи нагревателя выполнены из полиэфирэфиркетона (PEEK) ввиду его предпочтительных теплоизоляционных и механических свойств. PEEK имеет более низкую теплопроводность, чем трубчатая нагревательная камера 6 из нержавеющей стали, что позволяет снизить передачу или потери тепла через первый 2 и второй 4 кожухи нагревателя. Это также позволяет поддерживать температуру внешней поверхности узла 1 нагревателя на более низком уровне, чем температура внешней поверхности нагревательной камеры 6. Кроме того, это помогает удерживать тепло внутри нагревательной камеры для улучшения генерации аэрозоля.
Другим преимуществом PEEK является то, что его модуль упругости или модуль Юнга меньше, чем у нержавеющей стали. Модуль упругости PEEK обычно находится в диапазоне от 3,7 до 3,95 гигапаскаль, тогда как модуль упругости нержавеющей стали находится в диапазоне от 190 до 203 гигапаскаль, хотя эти значения могут варьироваться в зависимости от конкретного состава каждого материала. Эти значения означают, что при приложении силы к узлу нагревателя 1 первый 2 и второй 4 кожухи нагревателя будут упруго деформироваться в большей степени, чем нагревательная камера 6, поскольку нагревательная камера жестче первого 2 и второго 4 кожухов нагревателя. Было установлено, что такая преимущественная упругая деформация является неожиданно преимущественной для узлов нагревателей согласно настоящему изобретению, как это более подробно рассмотрено ниже.
Трубчатая нагревательная камера 6 расположена между первым 2 и вторым 4 кожухами нагревателя. Трубчатая нагревательная камера 6 имеет длину, которая немного больше (на 0,5-8,5 процента), чем длина внутренней полости 4c во втором кожухе 4 нагревателя (включая глубину второго углубления 16 во втором кожухе 4 нагревателя и глубину первого углубления 14 в первом кожухе 2 нагревателя). Разница в длине между нагревательной камерой 6 и внутренней полостью 4c не видна в собранном состоянии, как показано на фиг. 1, но эта разница в длине показана и более подробно рассмотрена ниже в связи с фиг. 2A и 2B. Когда первый 2 и второй 4 кожухи нагревателя прикреплены друг к другу вокруг нагревательной камеры 6, несколько более длинная и жесткая нагревательная камера 6 вызывает упругую деформацию первого 2 и второго 4 кожухов нагревателя, когда их соответствующие концы приводятся во взаимодействие. Первый 2 и второй 4 кожухи нагревателя удерживаются в упруго-деформированном состоянии винтами 26, удерживающими первый 2 и второй 4 кожухи нагревателя во взаимодействии друг с другом. Винты 26 прикладывают осевую силу (обозначена стрелками A на фиг. 1) к первому 2 и второму 4 кожухам нагревателя в направлении, параллельном продольной оси X-X узла 1 нагревателя. Под действием осевой силы внутренние поверхности первого 14 и второго 16 углублений входят в уплотнительное взаимодействие с концевыми поверхностями соответствующих первого 6a и второго 6b концов нагревательной камеры 6. Уплотнительное взаимодействие происходит под действием сжимающей силы (обозначена стрелками В на фиг. 1), возникающей на границе раздела между нагревательной камерой 6 и первым 2 и вторым 4 кожухами нагревателя под действием осевой силы, создаваемой винтами 26. Локальная пластическая деформация первого 2 и второго 4 кожухов нагревателя происходит в области границы раздела между нагревательной камерой 6 и первым 2 и вторым 4 кожухами нагревателя (т. е. в области между стрелками B на фиг. 1), что способствует достижению уплотнения.
Как упоминалось выше, винты 26 расположены диаметрально противоположно друг другу в соответствующих выступах 22, 28 на внешних поверхностях первого 2 и второго 4 кожухов нагревателя. Такое симметричное расположение винтов относительно продольной оси X-X узла 1 нагревателя позволяет создать постоянное давление между концевыми поверхностями первого 2 и второго 4 кожухов нагревателя, которые контактируют друг с другом по всей окружности первого 2 и второго 4 кожухов нагревателя. В результате этого постоянное давление, постоянное герметизирующее давление, создается между контактными поверхностями нагревательной камеры 6 и первым 2 и вторым 4 кожухами нагревателя по всей окружности трубчатой нагревательной камеры 6.
Трубчатая нагревательная камера 6 имеет канал 32 для потока воздуха, определяемый внутренним пространством трубчатой нагревательной камеры 6, при этом канал 32 для потока воздуха проходит в осевом направлении вдоль длины нагревательной камеры 6 в направлении, параллельном продольной оси X-X узла 1 нагревателя. Кроме того, первая трубчатая секция 2b первого кожуха 2 нагревателя содержит канал 34 для потока воздуха, и вторая трубчатая секция 4b второго кожуха 4 нагревателя содержит канал 36 для потока воздуха. Каналы 34, 32 и 36 для потока воздуха первой трубчатой секции 2b, трубчатая нагревательная камера 6 и вторая трубчатая секция 4b соответственно находятся в сообщении по текучей среде друг с другом с образованием пути 38 потока воздуха через узел нагревателя 1 между впускным отверстием для воздуха (не показано) и выпускным отверстием 10 для аэрозоля. Нагревательная камера 6 поэтому находится в сообщении по текучей среде как с впускным отверстием для воздуха, так и с выпускным отверстием 10 для аэрозоля.
Нагревательная камера 6 выровнена в осевом направлении с первой 2b и второй 4b трубчатыми секциями первого 2 и второго 4 кожухов нагревателя соответственно. Поэтому, осевая сила (обозначенная стрелками A на фиг. 1), прикладываемая винтами 26, способствует приведению нагревательной камеры 6 и корпусов первого 2 и второго 4 нагревателей в уплотнительное взаимодействие друг с другом для герметизации пути 38 потока воздуха и снижения вероятности утечки аэрозоля из пути 38 потока воздуха в местах пересечения между нагревательной камерой 6 и первым 2 и вторым 4 кожухами нагревателя. Такое уплотнительное взаимодействие достигается в результате упругой деформации первого 2 и второго 4 кожухов нагревателя без использования полимерных уплотнений. Таким образом, данная схема позволяет снизить вероятность выделения нежелательных побочных продуктов.
Первый кожух 2 нагревателя имеет ступеньку или упор 39, образованный на внутренней поверхности первой трубчатой секции 2b внутри ее канала 34 для потока воздуха. Упор 39 расположен для зацепления с дальним концом изделия, генерирующего аэрозоль (не показано), для предотвращения перемещения дальнего конца изделия, генерирующего аэрозоль, за пределы упора 28 и для точного размещения субстрата, образующего аэрозоль, обеспеченного внутри изделия, генерирующего аэрозоль, внутри нагревательной камеры 6.
На фиг. 2A показан схематический вид в продольном сечении узла 1 нагревателя по фиг. 1 в несобранном состоянии. Для ясности трубчатая нагревательная камера 6 показана снаружи первого 2 и второго 4 кожухов нагревателя. Первый 2 и второй 4 кожухи нагревателя показаны так, чтобы дальний конец 4d второго кожуха нагревателя касался ближнего конца 2d первого кожуха нагревателя 2, но без какой-либо упругой деформации первого 2 и второго 4 кожухов нагревателя. Осевая длина lh трубчатой нагревательной камеры 6 больше, чем осевая длина lc внутренней полости 4c на величину разницы длин ld. В данном примере длина lc внутренней полости 4c включает глубину углублений 14 и 18, образованных в первом 2 и втором 4 кожухах нагревателя, и измеряется от верхней или ближней плоской внутренней поверхности углубления 18 во втором кожухе нагревателя 4 до нижней или дальней плоской внутренней поверхности углубления 14 в первом кожухе нагревателя 2. Внутренние поверхности углублений 14 и 18 являются частью внутренней поверхности первого 2 и второго 4 кожухов нагревателя соответственно.
Следует понимать, что в некоторых примерах узлов нагревателей можно не использовать углубления для размещения нагревательной камеры 6, а просто полагаться на осевую силу, прилагаемую винтами 26 на фиг. 1 для удержания нагревательной камеры на месте. При таком расположении длина lc внутренней полости будет просто длиной внутренней полости 4c второго 4 кожуха нагревателя, то есть осевой длиной от дальнего конца 4d второго кожуха нагревателя до внутренней поверхности верхней или ближней концевой стенки 4e второго кожуха нагревателя.
На фиг. 2B показан схематический вид в продольном сечении узла 1 нагревателя по фиг. 1 непосредственно перед сборкой. Нагревательная камера 6 расположена внутри внутренней полости 4c второго кожуха нагревателя и находится в осевом направлении между первым 2 и вторым 4 кожухами нагревателя. Из-за разницы в длине ld между трубчатой нагревательной камерой 6 и внутренней полостью 4c, дальний конец 4d второго 4 кожуха нагревателя отстоит от ближнего конца 2d первого кожуха 2 на расстояние ld.
Для того чтобы собрать нагреватель 1 в сборе, к нагревателю 1 в сборе прикладывается сжимающая сила (обозначена стрелками C на фиг. 2B), равная приблизительно 200 ньютонам. Под действием сжимающей силы C дальний конец 4d второго кожуха нагревателя входит во взаимодействие с ближним концом 2d первого кожуха нагревателя 2 и закрывает пространство или зазор между первым 2 и вторым 4 кожухами нагревателя. Более длинная и жесткая нагревательная камера 6 вызывает упругую деформацию первого 2 и второго 4 кожухов нагревателя, как описано выше. Винты 26 вставляются в отверстия 24, 30, образованные в выступах 22, 28 при приложении сжимающей силы C и затягиваются для удержания первого 2 и второго 4 кожухов нагревателя во взаимодействии. Затем сжимающая сила C снимается. Винты 26 поддерживают упругую деформацию в первом 2 и втором 4 кожухах нагревателя после снятия сжимающей силы C. В результате винты 26 прикладывают осевую силу к первому 2 и второму 4 кожухам нагревателя, как описано выше, чтобы удерживать первый 2 и второй 4 кожухи нагревателя в уплотнительном взаимодействии с трубчатой нагревательной камерой 6.
Следует отметить, что фиг. 2A и 2B являются схематическими и представлены без соблюдения масштаба. Для обеспечения ясности фигуры были упрощены путем опускания некоторых деталей и изменения или увеличения размера признаков.
На фиг. 3A представлено продольное сечение узла 1 нагревателя согласно другому примеру настоящего изобретения. Конструкция узла 1 нагревателя на фиг. 3А идентична конструкции на фиг. 1, за исключением того, что первый 2 и второй 4 кожухи нагревателя крепятся друг к другу с помощью защелкивающегося разъема 40 вместо винта 26 и выступов 22, 28 на фиг. 1.
Как и винты 26 на фиг. 1, защелкивающиеся разъемы 40 удерживают первый 2 и второй 4 кожухи нагревателя в упруго деформированном состоянии и удерживают первый 2 и второй 4 кожухи нагревателя во взаимодействии друг с другом. Защелкивающиеся разъемы 40 прикладывают осевую силу к первому 2 и второму 4 кожухам нагревателя в направлении, параллельном продольной оси X-X узла 1 нагревателя. Осевая сила противодействует упругой деформации первого 2 и второго 4 кожухов нагревателя, которая в противном случае привела бы к выходу первого 2 и второго 4 кожухов нагревателя из взаимодействия. Под действием осевой силы внутренние поверхности первого 14 и второго 16 углублений входят в уплотнительное взаимодействие с концевыми поверхностями соответствующих первого 6a и второго 6b концов нагревательной камеры 6, тем самым герметизируя путь 38 потока воздуха. Уплотнительное взаимодействие происходит под действием сжимающей силы (обозначена стрелками В на фиг. 3A), возникающей на границе раздела между нагревательной камерой 6 и первым 2 и вторым 4 кожухами нагревателя под действием осевой силы, прикладываемой защелкивающимися разъемами 40. Локальная пластическая деформация первого 2 и второго 4 кожухов нагревателя происходит в области границы раздела между нагревательной камерой 6 и первым 2 и вторым 4 кожухами нагревателя (т. е. в области между стрелками B на фиг. 3A), что способствует достижению уплотнения.
Как и винты 26 на фиг. 1, защелкивающиеся разъемы 40 расположены диаметрально противоположно друг другу на внешних поверхностях первого 2 и второго 4 кожухов нагревателя. Такое симметричное расположение защелкивающихся разъемов относительно продольной оси X-X узла 1 нагревателя позволяет создать постоянное давление между концевыми поверхностями первого 2 и второго 4 кожухов нагревателя, которые контактируют друг с другом по всей окружности первого 2 и второго 4 кожухов нагревателя. В результате этого постоянное давление, постоянное герметизирующее давление, создается между контактными поверхностями нагревательной камеры 6 и первым 2 и вторым 4 кожухами нагревателя по всей окружности трубчатой нагревательной камеры 6.
На фиг. 3В представлен увеличенный вид одного из защелкивающихся разъемов 40 узла 1 нагревателя, находящегося в прямоугольнике, обозначенном D на фиг. 3А. Защелкивающийся разъем 40 содержит консоль 42 и защелку 44. Защелка 44 расположена на ближнем конце консоли 42. Консоль 44 и защелка 44 составляют единое целое с первым кожухом 2 нагревателя на кромке ближней стороны первого кожуха 2 нагревателя. Защелкивающийся разъем 40 дополнительно содержит паз 46, образованный на внутренней поверхности второго кожуха 4 нагревателя рядом с дальним концом второго кожуха 4 нагревателя. Паз 46 выполнен с возможностью приема защелки 44. Защелка 44 имеет наклонный передний край, а консоль 42 способна упруго деформироваться, чтобы позволить защелке пройти во внутреннюю полость второго кожуха 4 нагревателя и в паз 46. Защелка 44 имеет квадратную заднюю кромку, которая препятствует извлечению защелки 44 из паза 46 после того, как защелка 44 окажется в пазу 46.
Как видно из фиг. 3А, защелкивающийся разъем 40 уменьшает габариты узла нагревателя 1, так как отпадает необходимость в использовании винтов и выступов, показанных на фиг. 1. Защелкивающиеся разъемы также помогают добиться сбалансированного выравнивания компонентов узла нагревателя, поскольку к каждому из них прикладывается одинаковая осевая сила. Кроме того, они позволяют упростить производство за счет того, что для крепления первого 2 и второго 4 кожухов нагревателя требуется только одна операция запрессовки, а также уменьшить количество частей, необходимых для прикрепления.
На фиг. 4A и 4B представлены изображения сбоку двух представленных в качестве примера нагревательных камер для применения в узле нагревателя согласно настоящему изобретению. Со ссылкой на фиг. 4A показана первая представленная в качестве примера нагревательная камера 6A. Нагревательная камера 6A содержит трубу из нержавеющей стали, имеющую круглое поперечное сечение. Полое внутреннее пространство внутри трубчатой нагревательной камеры 6A имеет внутренний диаметр, по существу соответствующий внешнему диаметру изделия, генерирующего аэрозоль, так что трубчатая нагревательная камера 6A может принимать изделие, генерирующее аэрозоль, (не показано) внутри внутреннего пространства. Часть 7a нагревательной камеры 6A на каждом конце нагревательной камеры 6A развальцована наружу с получением воронкообразной формы на каждом конце нагревательной камеры 6A. Каждая из развальцованных частей 7a имеет длину l1, и процент от общей длины l нагревательной камеры 6A, который составляет каждая длина l1 развальцованных частей, может быть в диапазоне от 1 до 5 процентов. Каждая из развальцованных концевых частей 7a нагревательной камеры 6A образует угол приблизительно 45 градусов с продольной осью нагревательной камеры 6A. Ввиду развальцованных концевых частей 7a внешний диаметр D на двух концах нагревательной камеры 6A больше, чем внешний диаметр d нагревательной камеры 6A между двумя развальцованными концевыми частями 7a.
Часть 9a нагревательной камеры 6A между двумя развальцованными концевыми частями 7a имеет прямые стороны, которые параллельны продольной оси нагревательной камеры 6A. Прямая часть 9a нагревательной камеры 6A имеет длину l2, которая по существу соответствует длине субстрата, образующего аэрозоль, обеспеченного в изделии, генерирующем аэрозоль, выполненном с возможностью быть размещенным внутри нагревательной камеры 6A. По существу вся длина l2 прямой части 9a нагревательной камеры 6A окружена гибким нагревательным элементом (не показан, но описан выше со ссылкой на фиг. 1). Развальцованные части 7a нагревательной камеры 6A не окружены нагревательным элементом и служат разделителями между концами нагревательного элемента и компонентами, которые удерживают нагревательную камеру 6A, то есть первый и второй кожухи нагревателя, и помогают предотвратить прямой контакт между этими компонентами и нагревательным элементом.
Со ссылкой на фиг. 4B показана вторая представленная в качестве примера нагревательная камера 6B. Нагревательная камера 6B имеет по существу такую же конструкцию, что и нагревательная камера 6A на фиг. 4A, с тем исключением, что вместо развальцованных концевых частей нагревательная камера 6B имеет ступенчатые или коленчатые концевые части 7b. То есть часть 7b нагревательной камеры 6B на каждом конце нагревательной камеры 6B является ступенчатой или коленчатой в направлении радиально наружу с образованием ступени на каждом конце нагревательной камеры 6B. Каждая из ступенчатых частей 7b имеет длину l1, и процент от общей длины l нагревательной камеры 6B, который составляет каждая длина l1 ступенчатых частей, может быть в диапазоне от 1 до 5 процентов. Ввиду ступенчатых концевых частей 7b внешний диаметр D на двух концах нагревательной камеры 6B больше, чем внешний диаметр d нагревательной камеры 6B между двумя ступенчатыми концевыми частями 7b.
Часть 9b нагревательной камеры 6B между двумя ступенчатыми концевыми частями 7b имеет прямые стороны, которые параллельны продольной оси нагревательной камеры 6B. Прямая часть 9b нагревательной камеры 6B имеет длину l2, которая по существу соответствует длине субстрата, образующего аэрозоль, обеспеченного в изделии, генерирующем аэрозоль, выполненном с возможностью быть размещенным внутри нагревательной камеры 6B. По существу вся длина l2 прямой части 9b нагревательной камеры 6B окружена гибким нагревательным элементом (не показан, но описан выше со ссылкой на фиг. 1). Ступенчатые части 7b нагревательной камеры 6B не окружены нагревательным элементом и служат разделителями между концами нагревательного элемента и компонентами, которые удерживают нагревательную камеру 6B, то есть первый и второй кожухи нагревателя, и помогают предотвратить прямой контакт между этими компонентами и нагревательным элементом. Нагревательная камера 6B также содержит переходную часть 11 между каждой ступенчатой частью 7b и прямой частью 9b для обеспечения наклонного или изогнутого перехода между внешним диаметром D каждой ступенчатой части и внешним диаметром d прямой части.
На фиг. 5A-5C представлены схематические изображения в разрезе частей известных трубчатых нагревательных камер с прямыми трубчатыми стенками, показывающие проблемы, которые могут возникнуть из-за допустимых технологических отклонений в процессе запрессовки таких нагревательных камер для обеспечения взаимодействия с кожухом нагревателя. Допустимые технологические отклонения могут привести к тому, что размеры компонентов больше или меньше, чем заданная проектная длина, что может привести к проблемам с соединением плотно посаженных компонентов. Получение очень точных допустимых технологических отклонений является более проблематичным в технологиях быстрого изготовления, таких как литье под давлением.
Со ссылкой на фиг. 5A показана верхняя часть известной или общепринятой трубчатой нагревательной камеры 6, запрессованной в углубление 16 в верхнем кожухе 4 нагревателя. Вся длина трубчатой нагревательной камеры 6 является прямой, то есть она имеет постоянный наружный диаметр вдоль всей своей длины, и трубчатая нагревательная камера 6 не имеет развальцованной или ступенчатой концевой части, как трубчатые нагревательные камеры 6A и 6B на фиг. 4A и 4B. Как видно на фиг. 5A, внутренний диаметр d1 нагревательной камеры 6 меньше, чем внутренний диаметр d2 отверстия 15 в кожухе 4 нагревателя, сквозь которое изделие, генерирующее аэрозоль, проходит во время вставки изделия, генерирующего аэрозоль, в нагревательную камеру 6. В результате часть с толщиной t каждой из стенок, то есть концевая поверхность, нагревательной камеры 6 выступает во внутреннее пространство, определенное внутренним диаметром d2 отверстия 15. Это образует острый выступ 17 в отверстии 15, который может повредить изделие, генерирующее аэрозоль, когда изделие, генерирующее аэрозоль, вставляется сквозь отверстие 15, или может сделать вставку изделия, генерирующего аэрозоль, невозможной. Подобная ситуация может возникнуть, если ширина w углубления 16 меньше, чем толщина t стенок трубчатой нагревательной камеры 6. В этом случае нет достаточного пространства внутри углубления 16 для размещения концов трубчатой нагревательной камеры 6, и, следовательно, концы будут выступать во внутреннее пространство, определенное внутренним диаметром d2 отверстия 15.
Следует иметь в виду, что ситуация, подобная показанной на фиг. 5A, может возникнуть в нижнем, или расположенном раньше по ходу потока, конце трубчатой нагревательной камеры 6. Острые выступы на расположенном раньше по ходу потока конце нагревательной камеры могут характеризоваться проблемой в том, что в трещинах, образованных выступом, образуются остатки или отложения, которые может быть затруднительно удалить или вычистить с помощью чистящего инструмента.
На фиг. 5B показана нижняя часть известной или общепринятой трубчатой нагревательной камеры 6, запрессованной в углубление 14 в нижнем кожухе 2 нагревателя. Как и на фиг. 5A, вся длина трубчатой нагревательной камеры 6 является прямой. Внутренний диаметр d3 нагревательной камеры 6 больше, чем внутренний диаметр d4 отверстия 19, образованного в нижнем кожухе 2 нагревателя, сквозь которое выступает часть изделия, генерирующего аэрозоль, когда изделие, генерирующее аэрозоль, должным образом расположено в нагревательной камере 6. В результате в отверстии 19 образуется острый выступ 21, который может повредить изделие, генерирующее аэрозоль, когда изделие, генерирующее аэрозоль, проходит сквозь отверстие 19, или может сделать невозможной полную вставку изделия, генерирующего аэрозоль.
Следует иметь в виду, что ситуация, подобная показанной на фиг. 5B, может возникнуть в верхнем, или расположенном дальше по ходу потока, конце трубчатой нагревательной камеры 6. Острые выступы на расположенном дальше по ходу потока конце нагревательной камеры могут характеризоваться проблемой в том, что в трещинах, образованных выступом, образуются остатки или отложения, которые может быть затруднительно удалить или вычистить с помощью чистящего инструмента.
На фиг. 5C показана верхняя часть известной или общепринятой трубчатой нагревательной камеры 6, подлежащей запрессовке в углубление 16 в верхнем кожухе 4 нагревателя. Как и на фиг. 5A и 5C, вся длина трубчатой нагревательной камеры 6 является прямой. Внешний диаметр d5 трубчатой нагревательной камеры 6 меньше, чем внутренний диаметр отверстия 15 в кожухе 4 нагревателя, сквозь которое изделие, генерирующее аэрозоль, проходит во время вставки изделия, генерирующего аэрозоль, в нагревательную камеру 6. В результате запрессовка является невозможной в этом случае, поскольку трубчатая нагревательная камера 6 просто прошла бы сквозь отверстие 15.
На фиг. 5D представлено схематическое изображение в разрезе верхней части трубчатой нагревательной камеры 6A по фиг. 4A. Как описано выше, трубчатая нагревательная камера 6A имеет стенки с воронкообразной или развальцованной концевой частью 7a. Развальцованная концевая часть 7a была запрессована в углубление 16 второго кожуха 4 нагревателя. Внешний диаметр D развальцованной концевой части 7a больше, чем внешний диаметр d части трубчатой нагревательной камеры 6A между двумя развальцованными концевыми частями 7a (только одна развальцованная концевая часть видна на фиг. 5D). Внешний диаметр D развальцованной концевой части 7a также больше, чем внутренний диаметр d7 отверстия 15 в кожухе 4 нагревателя, сквозь которое изделие, генерирующее аэрозоль, проходит во время вставки изделия, генерирующего аэрозоль, в нагревательную камеру 6. Внешний диаметр D развальцованной концевой части 7a больше, чем внутренний диаметр d7 отверстия 15, даже когда учтены допустимые технологические отклонения внутреннего диаметра d7 в радиальном или поперечном направлениях.
Компоновка по фиг. 5D значительно снижает вероятность выступания части концевых поверхностей 6c стенок трубчатой нагревательной камеры 6A в пределах диаметра d7 и поперечного сечения пути потока воздуха, которое определено на фиг. 5D диаметром d7. Кроме того, концевые поверхности 6c стенок трубчатой нагревательной камеры 6A расположены под углом относительно поперечного сечения пути потока воздуха, определенного диаметром d7, что дополнительно снижает вероятность выступания части концевых поверхностей 6c стенок трубчатой нагревательной камеры 6A в путь потока воздуха. Компоновка по фиг. 5D и, в частности, использование трубчатой нагревательной камеры 6A с развальцованными или воронкообразными концевыми частями 7a делают возможным использование компонентов с большими допустимыми отклонениями в радиальном или поперечном направлениях и поэтому подходят для технологий быстрого изготовления. Компоновка по фиг. 5D также значительно снижает риск повреждения изделия, генерирующего аэрозоль, при вставке изделия, генерирующего аэрозоль, в нагревательную камеру 6A.
Следует иметь в виду, что трубчатая нагревательная камера 6B по фиг. 4B могла бы также быть использована в компоновке по фиг. 5D вместо нагревательной камеры 6A с получением таких же преимуществ. Больший внешний диаметр D в области ступенчатых концевых частей 7b нагревательной камеры 6B снижает вероятность выступания части концевых поверхностей стенок трубчатой нагревательной камеры 6B в пределах диаметра d7 по фиг. 5D и в путь потока воздуха. Нагревательная камера 6B также делает возможным использование компонентов с большими допустимыми отклонениями в радиальном или поперечном направлениях и снижает риск повреждения изделия, генерирующего аэрозоль, при вставке изделия, генерирующего аэрозоль, в нагревательную камеру 6B.
Следует отметить, что фиг. 5A-5D являются схематическими и выполнены не в масштабе. Для обеспечения ясности фигуры были упрощены путем опускания некоторых деталей и изменения или увеличения размера признаков.
На фиг. 6 представлено схематическое изображение в разрезе, показывающее внутреннюю часть устройства 100, генерирующего аэрозоль, и изделие 200, генерирующее аэрозоль, размещенное внутри устройства 100, генерирующего аэрозоль. Вместе устройство 100, генерирующее аэрозоль, и изделие 200, генерирующее аэрозоль, образуют систему, генерирующую аэрозоль. На фиг. 6 устройство 100, генерирующее аэрозоль, показано упрощенно. В частности, элементы устройства 100, генерирующего аэрозоль, показаны не в масштабе. Кроме того, были опущены элементы, которые не являются существенными для понимания устройства 100, генерирующего аэрозоль.
Устройство 100, генерирующее аэрозоль, содержит корпус 102, который может содержать узел нагревателя 1 или по фиг. 1 или по фиг. 3А, блок 103 питания и схему 105 управления. На фиг. 6 показаны первый кожух 2 нагревателя, нагревательная камера 6 и второй кожух 4 нагревателя. Как описано выше со ссылкой на фиг. 1, нагревательная камера 6 содержит гибкий нагревательный элемент (не показан), расположенный вокруг нее для нагревания нагревательной камеры 6. Блоком 103 питания является батарея, и в данном примере это перезаряжаемая литий-ионная батарея. Схема 105 управления соединена как с блоком 103 питания, так и с нагревательным элементом и управляет подачей электрической энергии от блока 103 питания на нагревательный элемент для регулирования температуры нагревательного элемента.
Корпус 102 содержит отверстие 104 на ближнем, или мундштучном, конце устройства 100, генерирующего аэрозоль, сквозь которое вставлено изделие 200, генерирующее аэрозоль. Отверстие 104 соединено с отверстием 12 в нагревателе 1 в сборе по фиг. 1, сквозь которое аэрозоль выходит из узла 1 нагревателя. Тем не менее следует иметь в виду, что аэрозоль в основном выходит из узла 1 нагревателя и устройства 100, генерирующего аэрозоль, через изделие 200, генерирующее аэрозоль. Корпус 102 дополнительно содержит впускное отверстие 106 для воздуха на дальнем конце устройства 100, генерирующего аэрозоль. Впускное отверстие 106 для воздуха соединено с впускным отверстием для воздуха, расположенным на дальнем конце первой трубчатой секции 2b первого кожуха 2 нагревателя. Первая трубчатая секция 2b доставляет воздух из впускного отверстия 106 для воздуха в нагревательную камеру 6.
Изделие 200, генерирующее аэрозоль, содержит концевую заглушку 202, субстрат 204, образующий аэрозоль, полую трубку 206, фильтр 208 мундштука. Каждый из вышеуказанных компонентов изделия 100, генерирующего аэрозоль, представляет собой по существу цилиндрический элемент, при этом каждый из них имеет по существу одинаковый диаметр. Компоненты размещены последовательно в примыкающем соосном выравнивании и окружены наружной бумажной оберткой 210 с образованием цилиндрического стержня. Субстрат 204, образующий аэрозоль, представляет собой табачный стержень или штранг, содержащий собранный лист гофрированного гомогенизированного табачного материала, окруженный оберткой (не показано). Гофрированный лист гомогенизированного табачного материала содержит глицерин в качестве вещества для образования аэрозоля. Концевая заглушка 202 и фильтр 208 мундштука изготовлены из ацетилцеллюлозных волокон.
Дальний конец изделия 200, генерирующего аэрозоль, вставляется в устройство 100, генерирующее аэрозоль, сквозь отверстие 104 в корпусе 102 и задвигается в устройство 100, генерирующее аэрозоль, пока не упрется в упор (не показан на фиг. 6), расположенный на втором кожухе 4 нагревателя, в момент чего он полностью вставлен. Упор помогает правильно расположить субстрат 204, образующий аэрозоль, внутри нагревательной камеры 6, так что нагревательная камера 6 может нагревать субстрат 204, образующий аэрозоль, для образования аэрозоля.
Устройство 100, генерирующее аэрозоль, может дополнительно содержать: датчик (не показан) для обнаружения присутствия изделия 200, генерирующего аэрозоль; пользовательский интерфейс (не показан), такой как кнопка для активации нагревательного элемента; и дисплей или индикатор (не показан) для представления информации пользователю, например об оставшемся заряде батареи, состоянии нагрева, и сообщений об ошибках.
При использовании пользователь вставляет изделие 200, генерирующее аэрозоль, в устройство 100, генерирующее аэрозоль, как показано на фиг. 6. Затем пользователь запускает цикл нагрева путем активации устройства 100, генерирующего аэрозоль, например нажатием переключателя с включением устройства. В ответ на это схема 105 управления управляет подачей электропитания из блока 103 питания на нагревательный элемент (не показан) для нагревания нагревательного элемента, который, в свою очередь, нагревает нагревательную камеру 6. Во время цикла нагрева нагревательный элемент нагревает нагревательную камеру 6 до предварительно определенной температуры или диапазона предварительно определенных температур согласно температурному профилю. Цикл нагрева может длиться приблизительно 6 минут. Тепло от нагревательной камеры 6 передается на субстрат 204, образующий аэрозоль, который выделяет летучие соединения из субстрата 204, образующего аэрозоль. Летучие соединения образуют аэрозоль внутри камеры для образования аэрозоля, образованной полой трубкой 206. Во время цикла нагрева пользователь помещает фильтр 208 мундштука изделия 200, генерирующего аэрозоль, между губами своего рта и осуществляет затяжку или вдыхает через фильтр 208 мундштука. Затем сгенерированный аэрозоль втягивают через фильтр 102 мундштука в рот пользователя.
Для цели настоящего описания и приложенной формулы изобретения, за исключением случаев, когда указано иное, все числа, выражающие величины, количества, процентные доли и т. д., необходимо понимать как модифицированные во всех случаях термином «приблизительно». Также все диапазоны включают раскрытые точки максимума и минимума и включают любые промежуточные диапазоны между ними, которые могут быть или не быть конкретно перечислены в настоящем документе. Поэтому в данном контексте число A следует понимать как A ± 5 процентов (5%) от A. В этом контексте число A можно считать включающим численные значения, находящиеся в пределах обычной стандартной ошибки для измерения свойства, которое число A модифицирует. Число A в некоторых случаях при использовании в прилагаемой формуле изобретения может отклоняться на перечисленные выше процентные доли при условии, что величина, на которую отклоняется A, существенно не влияет на основную (основные) и новую (новые) характеристику (характеристики) заявленного изобретения. Также все диапазоны включают раскрытые точки максимума и минимума и включают любые промежуточные диапазоны между ними, которые могут быть или не быть конкретно перечислены в настоящем документе.
Узел нагревателя (1) для устройства, генерирующего аэрозоль, при этом узел нагревателя содержит: первый кожух (2) нагревателя, содержащий впускное отверстие для воздуха; второй кожух (4) нагревателя, содержащий выпускное отверстие (10) для аэрозоля; нагревательную камеру (6) для нагревания субстрата, образующего аэрозоль, при этом нагревательная камера (6) находится в сообщении по текучей среде как с впускным отверстием для воздуха, так и с выпускным отверстием (10) для аэрозоля с образованием пути потока воздуха через узел нагревателя (1); при этом нагревательная камера (6) расположена между первым (2) и вторым (4) кожухами нагревателя; при этом первый (2) и второй (4) кожухи нагревателя прикреплены друг к другу посредством крепежного элемента (26), при этом крепежный элемент (26) выполнен с возможностью прикладывать осевую силу к первому (2) и второму (4) кожухам нагревателя для приведения противоположных в осевом направлении внутренних поверхностей первого (2) и второго (4) кожухов нагревателя в уплотнительное взаимодействие с соответствующими противоположными в осевом направлении концевыми поверхностями нагревательной камеры (6) для герметизации пути потока воздуха. 3 н. и 17 з.п. ф-лы, 6 ил. 
1. Узел нагревателя для устройства для генерирования аэрозоля, содержащий:
первый кожух нагревателя, содержащий впускное отверстие для воздуха;
второй кожух нагревателя, содержащий выпускное отверстие для аэрозоля;
нагревательную камеру для нагревания образующего аэрозоль субстрата, находящуюся в сообщении по текучей среде с впускным отверстием для воздуха и с выпускным отверстием для аэрозоля для образования пути потока воздуха через узел нагревателя;
при этом нагревательная камера расположена между первым и вторым кожухами нагревателя;
первый и второй кожухи нагревателя прикреплены друг к другу посредством крепежного элемента, выполненного с возможностью приложения осевой силы к первому и второму кожухам нагревателя для приведения противоположных в осевом направлении внутренних поверхностей первого и второго кожуха нагревателя в уплотнительное взаимодействие с соответствующими противоположными в осевом направлении концевыми поверхностями нагревательной камеры для герметизации пути потока воздуха.
2. Узел по п. 1, в котором по меньшей мере один из первого и второго кожухов нагревателя содержит внутреннюю полость, которая охватывает нагревательную камеру, при этом длина нагревательной камеры больше, чем длина внутренней полости в несобранном состоянии узла нагревателя.
3. Узел по п. 2, в котором длина нагревательной камеры на от 0,5 до 8,5 % больше, чем длина внутренней полости.
4. Узел по любому предыдущему пункту, в котором первый и второй кожухи нагревателя непосредственно прикреплены друг к другу посредством крепежного элемента.
5. Узел по любому предыдущему пункту, в котором противоположные в осевом направлении концевые поверхности нагревательной камеры находятся в прямом взаимодействии с соответствующими противоположными в осевом направлении внутренними поверхностями первого и второго кожухов нагревателя.
6. Узел по любому предыдущему пункту, в котором по меньшей мере один из первого и второго кожухов нагревателя содержит материал, имеющий модуль упругости меньше 6 гигапаскаль.
7. Узел по любому предыдущему пункту, в котором по меньшей мере один из первого и второго кожухов нагревателя содержит полимер.
8. Узел по любому предыдущему пункту, в котором по меньшей мере один из первого и второго кожухов нагревателя содержит скос, расположенный на внутренней поверхности по меньшей мере одного из первого и второго кожухов нагревателя для выравнивания нагревательной камеры в осевом направлении.
9. Узел по любому предыдущему пункту, в котором крепежный элемент содержит резьбовой крепежный элемент или замковый крепежный элемент.
10. Узел по любому предыдущему пункту, в котором первый и второй кожухи нагревателя прикреплены друг к другу посредством множества крепежных элементов.
11. Узел по п. 10, в котором множество крепежных элементов симметрично расположены вокруг внешнего периметра первого и второго кожухов нагревателя.
12. Узел по любому предыдущему пункту, в котором каждое из первого кожуха нагревателя, второго кожуха нагревателя и нагревательной камеры содержит канал для потока воздуха, при этом каналы для потока воздуха сообщаются для образования пути потока воздуха.
13. Узел по любому из предыдущих пунктов, в котором нагревательная камера содержит трубчатую нагревательную камеру.
14. Узел по п. 13, в котором диаметр трубчатой нагревательной камеры на каждом конце трубчатой нагревательной камеры больше, чем диаметр трубчатой нагревательной камеры в области между двумя концами трубчатой нагревательной камеры.
15. Узел по любому из пп. 13, 14, в котором каждый конец трубчатой нагревательной камеры развальцован или выполнен воронкообразным.
16. Узел по п. 15, в котором каждый конец трубчатой нагревательной камеры имеет ступенчатый или коленчатый профиль.
17. Узел по любому из предыдущих пунктов, в котором нагревательная камера выполнена с возможностью размещения по меньшей мере части изделия для генерирования аэрозоля.
18. Устройство для генерирования аэрозоля, содержащее:
узел нагревателя по любому из предыдущих пунктов; и
блок питания для подачи электропитания на узел нагревателя.
19. Способ изготовления узла нагревателя для устройства для генерирования аэрозоля, включающий:
обеспечение первого кожуха нагревателя, содержащего впускное отверстие для воздуха;
обеспечение второго кожуха нагревателя, содержащего выпускное отверстие для аэрозоля;
обеспечение нагревательной камеры для нагревания образующего аэрозоль субстрата и расположение нагревательной камеры с ее нахождением в сообщении по текучей среде с впускным отверстием для воздуха и с выпускным отверстием для воздуха для образования пути потока воздуха через узел нагревателя;
расположение нагревательной камеры между первым и вторым кожухами нагревателя,
прикрепление первого и второго кожухов нагревателя друг к другу с помощью крепежного элемента, при этом крепежный элемент выполнен с возможностью приложения осевой силы к первому и второму кожухам нагревателя для приведения противоположных в осевом направлении внутренних поверхностей первого и второго кожухов нагревателя в уплотнительное взаимодействие с соответствующими противоположными в осевом направлении концевыми поверхностями нагревательной камеры для герметизации пути потока воздуха.
20. Способ по п. 19, дополнительно включающий приложение осевой сжимающей силы к первому и второму кожухам нагревателя перед прикреплением первого и второго кожухов нагревателя друг к другу с помощью крепежного элемента.
| WO 2021023842 A1, 11.02.2021 | |||
| WO 2020225098 A1, 12.11.2020 | |||
| US 10433590 B2, 08.10.2019 | |||
| Способ получения нуклеиновой кислоты | 1958 |
|
SU122254A1 |
Авторы
Даты
2025-06-04—Публикация
2022-04-01—Подача