ФАРМАЦЕВТИЧЕСКИЕ КОМПОЗИЦИИ, СОДЕРЖАЩИЕ ДЕКСТРОМЕТОРФАНОВОЕ СОЕДИНЕНИЕ И ХИНИДИН ДЛЯ ЛЕЧЕНИЯ ВОЗБУЖДЕНИЯ ПРИ ДЕМЕНЦИИ Российский патент 2025 года по МПК A61K31/4748 A61K31/4709 A61K31/485 A61K31/49 A61P25/00 A61P25/28 

Описание патента на изобретение RU2838188C2

[001] По настоящей заявке испрашивается приоритет следующих предварительных заявок США: № 62/050170, поданной 14 сентября 2014 года, № 62/061451, поданной 8 октября 2014 года, № 62/063122, поданной 13 октября 2014 года, № 62/063861, поданной 14 октября 2014 года, № 62/068742, поданной 26 октября 2014 года, № 62/111053, поданной 2 февраля 2015 года, № 62/111590, поданной 3 февраля 2015 года, № 62/128446, поданной 4 марта 2015 года, № 62/162140, поданной 15 мая 2015 года, № 62/165535, поданной 22 мая 2015 года, № 62/169997, поданной 2 июня 2015 года, № 62/180026, поданной 15 июня 2015 года, № 62/193347, поданной 16 июля 2015 года, № и 62/205061, поданной 14 августа 2015 года, № 62/216636, поданной 10 сентября 2015 года, № 62/217142, поданной 11 сентября 2015 года, и № 62/217470, поданной 11 сентября 2015, и содержание всех указанных заявок включено в настоящее изобретение в качестве ссылки.

ОБЛАСТЬ ИЗОБРЕТЕНИЯ

[002] Настоящее изобретение относится к лечению поведенческих расстройств, таких как возбуждение и/или агрессия, и/или связанных с ними симптомов, обусловленных расстройствами центральной нервной системы (ЦНС), например, болезнью Альцгеймера. Способы, относящиеся к настоящему изобретению, включают введение декстрометорфанового соединения, в качестве единственного средства или в комбинации с ингибитором CYP2D6, таким как хинидин (Q), субъекту, страдающему возбуждением и/или агрессией, и/или имеющему симптомы, обусловленные расстройствами центральной нервной системы (ЦНС), например, болезнью Альцгеймера. Изобретение также относится к фармацевтическим комбинациям, включающим декстрометорфановое соединение, в качестве единственного средства или в комбинации с ингибитором CYP2D6, таким как хинидин (Q).

УРОВЕНЬ ИЗОБРЕТЕНИЯ

[003] Болезнь Альцгеймера представляет собой прогрессирующее нейродегенеративное заболевание, которое в конечном итоге приводит к смерти. По оценкам, болезнью Альцгеймера страдают 5,4 миллиона американцев. С 1980 года число таких пациентов удвоилось и ожидается, что к 2050 году оно будет превышать 16 миллионов человек (Brookmeyeretal., AlzheimersDement. 2011; 7(1):61-73). Среди взрослых американцев старше 65 лет распространенность деменции составляет от 5% до 15%, при этом наиболее распространенным типом деменции является болезнь Альцгеймера (KaplanandSadock'sSynopsisofPsychiatry: BehavioralSciences, 1998; Evansetal., JAMA. 1989;262(18):2551-6; Losonczyetal., PublicHealthReports., 1998;113:273-80).

[004] Возбуждение является общепризнанным симптомом в качестве частого и важного клинического признака болезни Альцгеймера (БА) и других форм деменции (Ballard C.G. et al., Nat. Rev. Neurol. 2009; 5 (5):245-255). Несмотря на легкость распознавания этого симптома врачами и лицами, обеспечивающими уход, только недавно появилось согласованное определение возбуждения при деменции, разработанное рабочей группой для определения возбуждения (ADWG) Международной психогериатрической ассоциации (IPA). В этом определении использованы следующие критерии: «1) наблюдается у пациентов с когнитивными нарушениями или синдромом деменции; 2) пациент демонстрирует поведение в соответствии с эмоциональным дистрессом; 3) наблюдается излишняя двигательная активность, вербальная или физическая агрессия; и 4) подтверждаются модели поведения, которые вызывают избыточное инвалидизирующее ухудшение взаимоотношений и/или повседневной деятельности, и которые не являются единственной причиной других расстройств (психиатрических, клинических или обусловленных воздействием веществ)» (Cummings J. et al., Int. Psychogeriatr. 2014:1-11). По оценкам специалистов, возбуждение и/или агрессия у пациентов с деменцией наблюдаются приблизительно в случаях до 80% (RyuS-Hetal., Am. J. Geriatr. Psychiatry. 2005; 13(11):976-983; TractenbergR.E. etal., J. Geriatr. psychiatry. Neurol. 2003; 16(2):94-99), при этом по мере прогрессирования заболевания увеличивается уровень его распространенности.

[005] Возбуждение у больных с деменцией является причиной нарастания функциональных нарушений (RabinsP. V. etal., Alzheimer'sDement. 2013; 9(2):204-207), ухудшения качества жизни (González-SalvadorT. etal., Int. J. Geriatr. Psychiatry. 2000; 15(2):181-189), ранней институционализации (SteeleC. etal., Am. J. Psychiatry. 1990; 147(8):1049-1051), повышенной нагрузки на лиц, обеспечивающих уход да пациентом (RabinsP. V. etal., Alzheimer'sDement. 2013; 9(2):204-207), повышения затрат на медицинские услуги (MurmanD.L. etal., Neurology. 2002; 59(11):1721-1729), сокращения времени до появления симптомов тяжелой деменции (PetersM.E. etal., Am. J. Geriatr. Psychiatry. 2014; 22(3):S65-S66) и ускорениялетальногоисхода (Peters M.E. et al., Am. J. Geriatr. Psychiatry. 2014; 22(3):S65-S66). По этим причинам, возбуждение и агрессия у пациентов с болезнью Альцгеймера являются психоневрологическими симптомами, для которых с наибольшей вероятностью требуется фармакологическое вмешательство (Ballard C.G. et al., Nat. Rev. Neurol. 2009; 5 (5):245-255).

[006] Тем не менее, в настоящее время не существует одобренных FDA фармакологических средств для лечения возбуждения при БА, и в конечном итоге, в попытке лечения указанных симптомов врачи прибегают к использованию нейролептиков, седативных/снотворных лекарственных средств, транквилизаторов и антидепрессантов вне зарегистрированных показаний (Maher A.R. et al. JAMA, 2011; 306 (12): 1359-1369). К сожалению, эти лекарственные средства имеют ограниченную применимость и, соответственно, невысокую эффективность, которая нивелируется относительно недобросовестным соблюдением режима лечения, показателями безопасности и переносимости (BallardC.G. etal., Nat. Rev. Neurol. 2009; 5(5):245-255; Schneider L.S. et al., N. Engl. J. Med. 2006; 355(15):1525-1538; Huybrechts K.F. et al., BMJ 2012; 344:e977). Таким образом, существует явная потребность в разработке безопасного и эффективного фармакологического вмешательства для лечения возбуждения при деменции. Такое лечение может глубоко повлиять на уход за пациентами, снизить нагрузки на ухаживающий персонал и потенциально улучшить общий прогноз заболевания.

[007] Поскольку не существует одобренного Управлением по санитарному надзору за качеством пищевых продуктов и медикаментов (FDA) средства для лечения обусловленных болезнью Альцгеймера поведенческих симптомов, назначение антипсихотических средств вне зарегистрированных показаний широко используется для лечения таких симптомов, как агрессия и возбуждение (Salzmanetal., J. Clin. Psychiatry. 2008; 69(6):889-98; LevensonandCrecelius, AMDA: Publications - CaringfortheAges., 2003; 4(6):31,34-35). Атипичные антипсихотические средства обладают незначительной эффективностью при краткосрочном лечении агрессии (на протяжении 6-12 недель), но приносят ограниченную пользу при долгосрочном лечении, поскольку их потенциальная эффективность обычно перекрывается нежелательными эффектами (Scheideretal., N. Engl. J. Med. 2006; 355(15):1525-38). Преимущества в отношении других симптомов, например, возбуждения, установлены в меньшей степени (Sultzeretal., Am. J. Psychiatry. 2008; 165(7):844-54). Дополнительно, существуют значительные опасения по поводу возможности возникновения серьезных неблагоприятных исходов в случае применения антипсихотических средств, и такие исходы включают инсульт и увеличение смертности (Hybrechts et al. BMJ, 2012; 344:e977). Также без особого результата проведено исследование неантипсихотических психотропных средств в плане их применения и для облегчения симптомов, и для их вторичной профилактики (Tariot et al., Arch. Gen. Psychiatry. 2011; 68 (8):853-61). В этой связи, существует необходимость тщательного изучения других фармакологических и нефармакологических подходов к лечению возбуждения и агрессии у пациентов с болезнью Альцгеймера (Ballardetal., Curr. Opin. Psychiatry. 2009; 22(6):532-40; Lyketsosetal., TheJournalofAlzheimer'sAssociation. 2011; 7(5):532-9).

[008] Декстрометорфан является международным непатентованным наименованием (+)-3-метокси-N-метилморфинана. Он представляет собой один из классов молекул, которые относятся к правовращающим аналогам морфиноподобных опиатов. Известно, что декстрометорфан обладает по меньшей мере тремя разными рецепторными действиями, которые оказывают влияние на центральные нейроны нервной системы. При том, что фармакологический профиль декстрометорфана указывает на его клиническую эффективность для нескольких показаний, эффективность декстрометорфана при введении как есть вызывает разочарование, по сравнению с плацебо.

[009] Давно известно, что у большинства людей (по оценкам, включающим приблизительно 90% всего населения Соединенных Штатов Америки), декстрометорфан в печени в значительной степени подвергается превращению в декстрорфан путем O-деметилирования, которое катализируется посредством CYP2D6, и быстро выводится из организма (Ramachander et al., J. Pharm. Sci. 1977; 66 (7):1047-8, и Vetticaden et al., Pharm. Res. 1989; 6 (1):13-9). Фермент CYP2D6 является членом класса окислительных ферментов, которые присутствуют в печени в высоких концентрациях и называются ферментами цитохрома P450 (Kronbach et al., Anal. Biochem. 1987; 162 (1):24-32, и Dayer et al., Clin. Pharmacol. Ther. 1989; 45 (1):34-40).

[010] В дополнение к метаболизму декстрометорфана, CYP2D6 также отвечает за гидроксилирование полиморфного дебризохина у человека (Schmid et al., Clin. Pharmacol. Ther. 1985; 38:618-624). Альтернативный путь опосредуется главным образом ферментом CYP3A4 и N-деметилированием с образованием 3-метоксиморфинана (Von Moltke et al., J. Pharm. Pharmacol, 1998; 50:997-1004). И декстрорфан и 3-метоксиморфинан могут дополнительно подвергаться деметилированию до 3-гидроксиморфинана, который затем подвергается глюкуронизации. Метаболический путь, с помощью которого декстрометорфан преобразуется в декстрорфан, является преобладающим в популяции и представляет собой принцип, лежащий в основе использования декстрометорфана в качестве модели для представителей отдельных фенотипов, например, с сильным и слабым метаболизмом CYP2D6 (Kupferetal., Lancet. 1984; 2:517-518; Guttendorfetal., Ther. DrugMonit. 1988; 10:490-498). Приблизительно у 7% представителей европеоидной популяции выявлен фенотип слабого метаболизма, а частота появления фенотипа со слабым метаболизмом среди китайской и черной африканской популяции еще ниже (Drolletal., Pharmacogenetics. 1998; 8:325-333). В исследовании по изучению способности декстрометорфана повышать порог болевой чувствительности среди представителей фенотипов сильного и слабого метаболизма было выявлено, что антиноцицептивное действие декстрометорфана является очень выраженным у представителей со слабым метаболизмом, в отличие от фенотипов с сильным метаболизмом (Desmeuies et al., J. Pharmacol. Exp. Ther. 1999; 288:607-612). Эти результаты согласуются с прямыми действиями на нейромодуляцию, которые обусловлены исходным соединением декстрометорфана, в отличие от декстрорфанового метаболита.

Сущность изобретения

[011] Как описано выше, остается настоятельная необходимость в дополнительных или улучшенных формах лечения возбуждения, агрессии и/или связанных с ними симптомов у пациентов с болезнью Альцгеймера. Настоящее изобретение относится к способам лечения возбуждения и/или агрессии и/или связанных с ними симптомов у пациентов с болезнью Альцгеймера, и указанные способы не имеют повышенного риска развития серьезных нежелательных эффектов.

[012] Первый аспект настоящего изобретения относится к способу лечения возбуждения, и/или агрессии и/или связанных с ними симптомов у пациентов, страдающих деменцией, путем введения декстрометорфанового соединения в комбинации с ингибитором CYP2D6, таким как хинидин (Q). Изобретение также охватывает применение фармацевтически приемлемых солей декстрометорфанового соединения единственного или также и солей хинидина в описанных способах. В способах, описанных в изобретении, также могут быть использованы аналог или производное хинидина. В одном варианте деменция является деменцией по типу болезни Альцгеймера.

[013] Второй аспект настоящего изобретения относится к комбинации декстрометорфанового соединения и ингибитора CYP2D6, такого как хинидин. Изобретение также охватывает применение фармацевтически приемлемых солей одного или обоих из декстрометорфового соединения и хинидина в описанной комбинации. Такая комбинация может применяться для лечения возбуждения, и/или агрессии и/или связанных с ними симптомов у субъекта с деменцией. В этой комбинации также могут быть использованы аналог или производное хинидина. В одном варианте деменция является деменцией по типу болезни Альцгеймера.

[014] В некоторых вариантах осуществления, в соответствии с первым и вторым аспектами настоящего раскрытия, декстрометорфановое соединение вводят или применяют в количестве в диапазоне приблизительно от 10 мг в день приблизительно до 200 мг в день, и хинидин вводят или применяют в количестве приблизительно от 0,05 мг в день до менее чем приблизительно 50 мг в день.

[015] В некоторых вариантах осуществления хинидин вводят или применяют в количестве в диапазоне приблизительно от 4,75 мг в день приблизительно до 20 мг в день. В некоторых вариантах осуществления декстрометорфановое соединение вводят или применяют в количестве в диапазоне приблизительно от 10 мг в день приблизительно до 90 мг в день.

[016] В некоторых вариантах осуществления одно или оба из указанных соединений хинидина и декстрометорфана находятся в форме фармацевтически приемлемой соли. Фармацевтически приемлемые соли согласно настоящему изобретению включают соли щелочных металлов, соли лития, соли натрия, соли калия, соли щелочно-земельных металлов, соли кальция, соли магния, соли лизина, соли N,N`дибензилэтилендиамина, соли хлорпрокаина, соли холина, соли диэтаноламина, соли этилендиамина, соли меглумина, соли прокаина, соли трис-соединений, соли свободных кислот, соли свободных оснований, неорганические соли, соли сульфата, соли гидрохлорида и соли гидробромида. В некоторых вариантах осуществления декстрометорфановое соединение находится в форме декстрометорфана гидробромида или дейтерированного декстрометорфана гидробромида. В некоторых вариантах осуществления хинидин находится в виде хинидина сульфата.

[017] В некоторых вариантах осуществления настоящего изобретения декстрометорфановое соединение и хинидин вводят или применяют в виде стандартной лекарственной формы. В некоторых вариантах осуществления стандартная лекарственная форма содержит приблизительно 4,75 мг, 4,9 мг, 9 мг, или 10 мг хинидина (например, в виде хинидина сульфата) и приблизительно 45 мг, 34 мг, 30 мг, 28 мг, 24 мг, 23 мг, 20 мг, 18 мг, 15 мг или 10 мг декстрометорфанового соединения (например, в виде дейтерированного декстрометорфана гидробромида или декстрометорфана гидробромида). В одном варианте осуществления стандартная лекарственная форма содержит приблизительно 10 мг хинидина (например, хинидина сульфата) и приблизительно 20 мг или 30 мг декстрометорфанового соединения (например, декстрометорфана гидробромида или дейтерированного декстрометорфана гидробромида). В другом варианте осуществления стандартная лекарственная форма содержит приблизительно 9 мг хинидина (например, хинидина сульфата) и приблизительно 15 мг или 23 мг декстрометорфанового соединения (например, декстрометорфана гидробромида или дейтерированного декстрометорфана гидробромида). В другом варианте осуществления стандартная лекарственная форма содержит приблизительно 4,9 мг хинидина (например, хинидина сульфата) и приблизительно 18 мг, 24 мг, 28 мг, 30 мг или 34 мг декстрометорфанового соединения (например, декстрометорфана гидробромида или дейтерированного декстрометорфана гидробромида). Еще в одном варианте осуществления стандартная лекарственная форма содержит приблизительно 4,75 мг хинидина (например, хинидина сульфата) и приблизительно 18 мг, 24 мг, 28 мг, 30 мг или 34 мг декстрометорфанового соединения (например, декстрометорфана гидробромида или дейтерированного декстрометорфана гидробромида). В некоторых вариантах осуществления стандартные лекарственные формы соединения декстрометорфана и хинидина представлены в виде таблетки или капсулы.

[018] В некоторых вариантах осуществления декстрометорфановое соединение и хинидин вводят или применяют в комбинированной дозе или в раздельных дозах в весовом соотношении декстрометорфанового соединения к хинидину, которое составляет приблизительно 1:1 или меньше. В некоторых вариантах осуществления весовое соотношение составляет приблизительно 1:1, 1:0,95, 1:0,9, 1:0,85, 1:0,8, 1:0,75, 1:0,7, 1:0,65, 1:0,6, 1:0,55 или 1:0,5 или меньше. Кроме того, в некоторых вариантах осуществления весовое соотношение дозы декстрометорфанового соединения и хинидина составляет менее чем приблизительно 1:0,5, например, приблизительно 1:0,45, 1:0,4, 1:0,35, 1:0,3, 1:0,25, 1:0,2, 1:0,15 или 1:0,1, 1:0,09, 1:0,08, 1:0,07, 1:0,06, 1:0,05, 1:0,04, 1:0,03, 1:0,02 или 1:0,01 или меньше. Весовые соотношения могут составлять, например, приблизительно 1:0,75, приблизительно 1:0,68, приблизительно 1:0,6, приблизительно 1:0,56, приблизительно 1:0,5, приблизительно 1:0,44, приблизительно 1:0,39, приблизительно 1:0,38, приблизительно 1:0,31, приблизительно 1:0,30, приблизительно 1:0,29, приблизительно 1:0,28, приблизительно 1:0,27, приблизительно 1:0,26, приблизительно 1:0,25, приблизительно 1:0,24, приблизительно 1:0,23, приблизительно 1:0,22, приблизительно 1: 0,21, приблизительно 1:0,20, приблизительно 1:0,19, приблизительно 1:0,18, приблизительно 1:0,17, приблизительно 1:0,16, приблизительно 1:0,15, приблизительно 1:0,14, приблизительно 1:0,13, приблизительно 1:0,12, приблизительно 1:0,11 и приблизительно 1:0,10. В некоторых вариантах осуществления весовые соотношения свободного основания декстрометорфана и свободного основания хинидина составляют приблизительно 1:0,68, приблизительно 1:0,56, приблизительно 1:0,44, приблизительно 1:0,38. В некоторых других вариантах осуществления весовые соотношения свободного основания d6-дейтерированного декстрометорфана и свободного основания хинидина составляют приблизительно 1:0,30, приблизительно 1:0,22, приблизительно 1:0,19, приблизительно 1:0,18, приблизительно 1:0,16 и приблизительно 1:0,15.

[019] Декстрометорфановое соединение и хинидин можно вводить или применять в виде одной комбинированной дозы в день или по меньшей мере, двух комбинированных доз в день. В одном варианте осуществления декстрометорфановое соединение и хинидин вводят совместно.

[020] В некоторых вариантах осуществления улучшение состояния, обусловленное применением декстрометорфанового соединения в комбинации с хинидином для лечения возбуждения, и/или агрессии и/или связанных с ними симптомов у пациентов с болезнью Альцгеймера, можно измерить по улучшению одного или нескольких следующих показателей:

- домен возбуждения/агрессии по опроснику нейропсихиатрического состояния (NPI);

- общая оценка NPI;

- сочетание оценок NPI в отношении доменов возбуждения/агрессии, раздражительности/лабильности, аберрантного двигательного поведения и тревожности (NPI4A);

- сочетание оценок NPI в отношении доменов возбуждения/агрессии, раздражительности/лабильности, аберрантного двигательного поведения и растормаживания (NPI4D)

- NPI дистресс у лица, осуществляющего уход - домен возбуждения/агрессии;

- модифицированное коллективное исследование болезни Альцгеймера - общая клиническая оценка изменений (ADCS-CGIC) в отношении возбуждения; и/или

- общая клиническая оценка изменений пациентом (PGI-C) в отношении возбуждения.

[021] В одном варианте осуществления оценка NPI субъекта в отношении возбуждения/агрессии снижается, по меньшей мере, в 1,5 раза по сравнению с субъектами без лечения или субъектами при введения плацебо.

[022] В одном варианте осуществления оценка NPI4A субъекта снижается, по меньшей мере, в 2,4 раза по сравнению с с субъектами без лечения или субъектами при введения плацебо.

[023] В одном варианте осуществления оценка NPI4D субъекта снижается, по меньшей мере, в 3,0 раза, по сравнению с субъектами без лечения или субъектами при введения плацебо.

[024] В одном варианте осуществления оценка ADCS-CGIC субъекта в отношении возбуждения улучшается по меньшей мере в 0,5 раза по сравнению с субъектами без лечения или субъектами при введения плацебо.

[025] В одном варианте осуществления оценка PGI-С субъекта в отношении возбуждения улучшается по меньшей мере в 0,6 раз по сравнению с субъектами без лечения или субъектами при введения плацебо.

[026] Фармацевтические композиции, описанные в изобретении, необязательно могут включать фармацевтически приемлемые носители, адъюванты, наполнители или другие фармацевтические композиции, и могут быть введены в виде любой из многочисленных лекарственных форм или с помощью любого из многочисленных путей введения, известных в данной области.

[027] Способы, раскрытые в изобретении, необязательно могут также включать введение декстрометорфанового соединения и ингибитора CYP2D6, такого как хинидин, в сочетании с другими терапевтическими веществами, такими как, например, одно или несколько терапевтических веществ, известных или выявленных для лечения болезни Альцгеймера.

[028] Следует понимать, что приведенное выше общее описание и последующее подробное описание представляют собой только иллюстративные и пояснительные описания и предназначены для дальнейшего не ограничивающего объяснения настоящего изобретения.

КРАТКОЕ ОПИСАНИЕ ФИГУР

[029] На фигуре 1 показана химическая структура варианта осуществления декстрометорфанового соединения по настоящему изобретению, а именно, декстрометорфана, модифицированного d6-дейтерием.

[030] На фигуре 2 представлена схема исследования для клинического исследования возбуждения при болезни Альцгеймера. Надпись «декстрометорфан/хинидин 20/10» обозначает дозу 20 мг декстрометорфана и 10 мг хинидина. Дозировки QD и BID обозначают введение один раз в день и два раза в день, соответственно. Звездочкой (*) отмечены участники исследования, которые выбыли до визита на неделе 1, и поэтому от них не были получены какие-либо данные после исходных данных для первичной конечной точки эффективности.

[031] Фигура 3 представляет собой схему Единых стандартов представления результатов испытаний (CONSORT) для пациентов, используемую при клиническом исследовании возбуждения при болезни Альцгеймера, описанном в изобретении. Популяции, обозначенные значком ‡, представляют собой популяции, включенные в схему последовательного параллельного сравнения (SPCD).

[032] На фигуре 4 показаны средние баллы NPI оценки возбуждения/агрессии на этапе 1, для пациентов, включенных в клиническое исследование возбуждения при болезни Альцгеймера, описанное в изобретении, в котором использована схема последовательного параллельного сравнения (или SPCD). Для каждого визита приведены Р-значения, рассчитанные на основе модели ковариационного анализа (ANCOVA), в котором лечение представлено, как фиксированный эффект, и исходный уровень, как ковариат. а=наблюдаемые случаи.

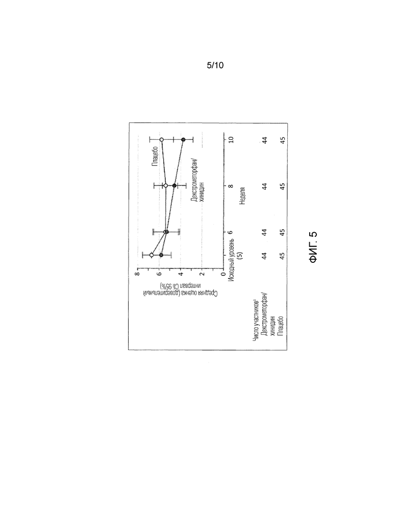
[033] На фигуре 5 показаны На фигуре 4 показаны средние баллы NPI оценки возбуждения/агрессии на этапе 2, для субъектов, включенных в клиническое исследование возбуждения при болезни Альцгеймера, описанное в изобретении, (в котором использована схема SPCD). Для каждого визита приведены Р-значения, рассчитанные на основе модели ковариационного анализа (ANCOVA), в котором лечение представлено, как фиксированный эффект, и исходный уровень, как ковариат. а=наблюдаемые случаи.

[034] На фигуре 6 показаны средние баллы NPI оценки возбуждения/агрессии в 10-недельном вторичном анализе клинического исследования возбуждения при болезни Альцгеймера, описанного в изобретении. Во вторичный 10-недельный анализ были включены только субъекты, которые оставались в одной и той же группе лечения во время исследования, то есть, были рандомизированы по введению только декстрометорфана/хинидина или только плацебо для полноты исследования, то есть, таким образом имитировалась параллельная схема исследования. Для каждого визита приведены Р-значения, рассчитанные на основе модели ковариационного анализа (ANCOVA), в котором лечение представлено, как фиксированный эффект, и исходный уровень, как ковариат. а=наблюдаемые случаи.

[035] На фигуре 7 показаны средние значения концентрации в плазме в зависимости от времени при лечении пароксетином и AVP-786 - группа 1.

[036] На фигуре 8 показаны средние значения концентрации в плазме в зависимости от времени при лечении пароксетином и AVP-786 - группа 2.

[037] На фигуре 9 показаны средние значения концентрации в плазме в зависимости от времени при лечении дулоксетином и AVP-786 - группа 3.

[038] На фигуре 10 показаны средние значения концентрации в плазме в зависимости от времени при лечении дулоксетином и AVP-786 - группа 4.

ПОДРОБНОЕ ОПИСАНИЕ

[039] Далее приведено подробное описание и примеры, иллюстрирующие некоторые варианты осуществления настоящего изобретения. Специалистам в данной области будет очевидно, что существуют многочисленные варианты и модификации настоящего раскрытия, которые входят в его объем. Таким образом, описание конкретных вариантов осуществления не следует рассматривать как ограничение объема настоящего изобретения.

[040] Все ссылки, приведенные в настоящем документе, включающие без ограничения опубликованные и неопубликованные заявки, патенты и литературные ссылки, включены в настоящее изобретение в качестве ссылки в полном объеме и таким образом представляют собой часть данного описания.

Определения

[041] Термины «улучшение» и «лечение» используются взаимозаменяемо и включают терапевтическое лечение. Оба термина означают улучшение, уменьшение, подавление, ослабление, сокращение, прекращение или стабилизацию развития или прогрессирования заболевания (например, болезни или расстройства, описанного в изобретении) или симптомов заболевания, по отдельности или в совокупности (например, синдрома). Термин «лечение» используется в изобретении для обозначения уменьшения или облегчения по меньшей мере одного симптома заболевания у пациента. Например, термин «лечение» в отношении поведенческих расстройств может означать снятие или облегчение возбуждения, и/или агрессии и/или связанных с ними симптомов и любого сочетания их проявлений (например, нанесение побоев, драчливость, сквернословие, хождение взад и вперед, упрямство и т.д.) и связанных с ними моделей поведения (например, раздражительность, тревожность и т.д.). В контексте настоящего описания термин «лечение» также обозначает прекращение, задержку начала заболевания (т.е. периода до клинического проявления заболевания), и/или снижение риска развития или обострения заболевания.

[042] «Болезнь/заболевание» означает любое состояние или расстройство, которое наносит вред или нарушает нормальное функционирование клетки, ткани, органа или организма.

[043] Термин «деменция» относится к общему психическому ухудшению, обусловленному органическими или психологическими факторами. Деменция характеризуется дезориентацией, нарушением памяти, суждений и интеллекта и слабой аффективной лабильностью. Типы деменции, согласно изобретению, включают сосудистую деменцию, ишемическую сосудистую деменцию (IVD), лобно-височную деменцию (FTD), деменцию с тельцами Леви, деменцию Альцгеймера и тому подобное. Наиболее распространенная форма деменции обусловлена болезнью Альцгеймера (БА).

[044] Термин «болезнь Альцгеймера (БА)» относится к прогрессирующему психическому истощению, которое проявляется потерей памяти, спутанностью сознания и дезориентацией. Обычно БА начинается в старшем возрасте и часто приводит к смерти в течение 5-10 лет. Диагностику болезни Альцгеймера может провести опытный невролог или терапевт. В одном варианте осуществления пациент с БА соответствует критериям Национального института неврологических и коммуникативных расстройств и инсульта/Ассоциации по изучению болезни Альцгеймера и связанных с ней расстройств (NINCDS/ADRDA), по которым определяется вероятность наличия БА.

[045] Термины «аналог» или «производное» используются в изобретении в общепринятом фармацевтическом смысле для обозначения молекулы, имеющей структурное сходство с эталонной молекулой (например, молекулой декстрометорфана, дейтерированного декстрометорфана или хинидина), которая была модифицирована целенаправленным и регулируемым образом с целью замены в этой эталонной молекуле одного или нескольких конкретных заместителей на альтернативные заместители, и таким образом создается молекула, имеющая структурное сходство с эталонной молекулой. В области фармацевтической химии хорошо известен подход к разработке лекарств, представляющий собой синтез и скрининг аналогов (например, с помощью структурного и/или биохимического анализа) для определения минимально модифицированных версий известного соединения, которые могут обладать улучшенными или измененными признаками (например, более сильным действием и/или селективностью в отношении конкретного типа целевых рецепторов, повышенной способностью к проникновению через гематоэнцефалический барьер у млекопитающих, уменьшенными побочными эффектами и т.д.). Дополнительно, с помощью способов, известных специалистам в данной области, можно создавать аналоги и производные соединений по изобретению, которые обладают улучшенной терапевтической эффективностью, то есть более высокой эффективностью и/или селективностью по отношению к конкретному типу целевых рецепторов, и большей или меньшей способностью к проникновению через гематоэнцефалические барьеры у млекопитающих (например, более высокой или низкой скоростью проникновения через гематоэнцефалический барьер), менее выраженными побочными эффектами, более продолжительным существованием в организме пациента и т.д.

[046] Термин «возбуждение», используемый в настоящем изобретении, представляет собой обобщающее понятие, которое может относиться к ряду поведенческих расстройств или нарушений, включающих агрессию, агрессивность и гиперактивность. Для целей настоящего раскрытия указанное определение включает возбуждение, согласно описанию авторов Cummings et al. International Psychogeriatrics; Volume 27; Issue 01; January 2015, стр. 7-17. В широком смысле, согласно определению возбуждения по Cummings et al., считается, что: 1) оно возникает у пациентов с когнитивными нарушениями или синдромом деменции; 2) демонстрируемое поведение соответствует эмоциональному дистрессу; 3) проявляется чрезмерная двигательная активность, вербальная агрессия или физическая агрессия; и 4) подтверждаются модели поведения, которые вызывают дополнительную инвалидизацию и не связаны исключительно с другим расстройством (психиатрическим, клиническим или расстройством, обусловленным воздействием веществ). Термин возбуждение также включает:

1) чрезмерную двигательную активность, связанную с чувством внутреннего напряжения. Деятельность обычно является непродуктивной и повторяющейся и состоит из таких поведенческих особенностей, как невозможность спокойно сидеть, ходьба взад и вперед, заламывание рук и одергивание одежды;

2) неадекватную словесную, вокальную или двигательную активность, которую нельзя объяснить потребностями, или спутанность сама по себе. Это включает такие модели поведения, как бесцельное блуждание, ходьба взад и вперед, сквернословие, выкрикивания, попытки кусаться и драться;

3) вокальное или двигательное поведение, которое представляет собой или нарушение социального поведения, или является небезопасным или препятствует осуществлению лечения в определенной среде. Оно включает четыре поведенческих сферы, такие как вокализация, двигательные расстройства, агрессивность и сопротивление лечению;

4) модели поведения, которые передаются на другие, то есть, пациент испытывает неприятное состояние возбуждения, и которые остаются после вмешательства, проведенного с целью уменьшения внутренних или внешних раздражителей путем регуляции сопротивления, облегчения аверсивных физических признаков и сокращения источников накопленного стресса; и

5) поведение, при котором пациент отказывается сотрудничать, не позволяет людям оказывать помощь или затрудняет обращение с собой.

[047] Понятие «сопутствующие симптомы», используемое в изобретении, относится к симптомам, связанным с пациентом, которые соответствуют критериям когнитивных нарушений или синдрома деменции (например, болезнь Альцгеймера, FTD, DLB, сосудистая деменция, другие типы деменции, предшествующий деменции синдром когнитивного нарушения, такой как слабые когнитивные нарушения, или другие когнитивные расстройства). Сопутствующие симптомы включают, например, модели поведения, которые связаны с наблюдаемыми или выведенными доказательствами эмоционального дистресса (например, быстрые изменения в настроении, раздражительность, эмоциональные вспышки). В некоторых случаях такое поведение является постоянным или часто повторяется в течение как минимум двух недель, и представляет собой переход от обычного поведения пациента. Понятие «сопутствующие симптомы» также включает чрезмерную двигательную активность (например, хождение взад и вперед, раскачивание, жестикуляцию, указание пальцами, беспокойность, выполнение повторяющихся манерных движений), вербальную агрессию (например, крик, разговор чрезмерно громким голосом, использование ненормативной лексики, визжание, выкрикивания), физическую агрессию (например, пациент может хватать руками, толкать, пихать, отталкивать и бить окружающих, пинать предметы или людей, царапаться или кусаться, бросать предметы, наносить удары самому себе, хлопать дверями, рвать вещи и портить имущество).

[048] Термин «комбинация» в отношении активных ингредиентов, используемых в изобретении, означает монолитную фармацевтическую композицию (рецептуру), содержащую оба лекарственных вещества настоящего изобретения (то есть, декстрометорфановое соединение и хинидин), или две отдельные фармацевтические композиции (рецептуры), при этом каждая из них содержит одно лекарственное вещество по изобретению (то есть, декстрометорфановое соединение или хинидин), которые предназначены для совместного введения.

[049] В контексте настоящего изобретения понятие «совместное введение» используется для обозначения введения декстрометорфанового соединения и хинидина одновременно в одной композиции, или одновременно в разных композициях, или означает их последовательное введение. Чтобы последовательное введение можно было считать «совместным», декстрометорфановое соединение и хинидин вводят раздельно с интервалом времени, при этом в результате достигается эффект полезного влияния на лечение, профилактику, прекращение, задержку начала и/или снижение риска развития у пациента поведенческого расстройства, связанного с центральной нервной системой (ЦНС). Например, в некоторых вариантах осуществления декстрометорфановое соединение и хинидин вводят в один и тот же день (например, каждое из этих лекарственных веществ вводят один раз в день или два раза в день).

[050] Согласно изобретению, общая оценка по баллам NPI является суммой баллов по 12 стандартным NPI-доменам. Опросник NPI является утвержденным клиническим инструментом для психопатологической оценки при различных клинических ситуациях, в том числе при деменции. В результате опроса по NPI создается шкала ретроспективной оценки пациента лицом, осуществляющим уход, которая охватывает 12 доменов психоневрологических симптомов: бред, галлюцинации, возбуждение/агрессивность, дисфория/депрессия, тревожность, эйфория/приподнятое настроение, апатия/безразличие, расторможенность, раздражительность/лабильность, аберрантные модели двигательного поведения, ночные поведенческие расстройства и нарушение аппетита/пищевые расстройства. Опрос по сценарию NPI включает обобщенные скрининговые вопросы для каждого домена симптомов, после которых идет перечень вопросов о моделях поведения из конкретного домена, который используется при положительном ответе на соответствующий скрининговый вопрос. Психоневрологические манифестации в пределах домена в совокупности ранжируются, согласно мнению лица, осуществляющего уход, в плане их частоты (от 0 до 4) и степени тяжести (от 1 до 3), и в результате получают совокупную оценку симптомов по доменам от 1 до 12 (частота × степень тяжести) для каждого положительно оцененного домена. По шкале оценок частоты и степени тяжести определяют опорные точки для повышения надежности ответов лица, осуществляющего уход. Дистресс лица, осуществляющего уход, оценивается для каждого положительного домена психоневрологических симптомов по шкале с опорными точками от 0 баллов (дистресс отсутствует полностью) до 5 баллов (чрезвычайный дистресс). Согласно изобретению, баллы NPI4A представляют собой совокупную оценку, содержащую NPI-домены возбуждения/агрессии, аберрантного двигательного поведения, раздражительности/лабильности и тревожности. Согласно изобретению, баллы NPI4D представляют собой совокупную оценку, содержащую NPI-домены возбуждения/агрессии, аберрантного двигательного поведения, раздражительности/лабильности и растормаживания.

[051] Понятие «терапевтически эффективное» в отношении дозы или количества означает такое количество соединения или фармацевтической композиции, которое является достаточным для достижения желательного действия при введении нуждающемуся в этом субъекту. Используемое в изобретении понятие термин «терапевтически эффективное количество/доза» по отношению к фармацевтическим композициям, содержащим декстрометорфановое соединение, упоминается взаимозаменяемо с понятием «неврологически эффективное количество/доза» и относится к количеству/дозе соединения или фармацевтической композиции, которое является достаточным для достижения эффективной неврологической реакции, то есть, для купирования поведенческого нарушения, связанного с расстройством ЦНС, при его введении субъекту.

[052] Понятие «фармацевтически приемлемое», применительно к композициям по изобретению, относится к молекулярным частицам и другим ингредиентам таких композиций, которые являются физиологически переносимыми и обычно не вызывают нежелательных реакций при введении субъекту (например, человеку). В некоторых вариантах осуществления понятие «фармацевтически приемлемый» означает, что вещество одобрено регулирующим ведомством федерального правительства или правительства штата, или упомянуто в Фармакопее США или в других общепризнанных фармакопеях для использования у млекопитающих, и более конкретно, у людей.

[053] Термин «носитель», применительно к фармацевтическим композициям по изобретению, относится к разбавителю, наполнителю или веществу для переноса, вместе с которым вводится активное соединение (например, декстрометорфановое соединение или хинидин). Такими фармацевтическими носителями могут быть стерильные жидкости, например, вода, солевые растворы, водные растворы декстрозы, водные растворы глицерина и масла, включающие масла из нефти, масла животного, растительного или синтетического происхождения, такие как арахисовое масло, соевое масло, минеральное масло, кунжутное масло и тому подобное. Подходящие фармацевтические носители описаны в руководстве E. W. Martin «Remington's Pharmaceutical Sciences», 18-е издание.

[054] Используемый в изобретении термин «субъект» включает млекопитающих (например, грызунов, таких как мыши или крысы). В некоторых вариантах осуществления этот термин относится к человеку с выявленным поведенческим расстройством, связанным с расстройством ЦНС, например, с возбуждением и/или агрессией. В понятие «субъект» также входят люди с проявлением психоневрологических симптомов или поведенческих симптомов деменции.

[055] Следует понимать, что при синтезе соединения возникают некоторые вариации природного состава изотопов, которые обусловлены происхождением химических материалов, используемых при синтезе. Таким образом, препарат декстрометорфан будет по своей природе содержать небольшое количество дейтерированных и/или 13С-содержащих изотопологов. Концентрация часто встречающихся в природе стабильных изотопов водорода и углерода, несмотря на эти вариации, является невысокой и несущественной по сравнению со степенью замещения стабильных изотопов в соединениях по изобретению. См., например, публикации Wada E. et al., Seikagaku 1994, 66:15; Ganes L. Z. et al., Comp. Biochem. Physiol. A Mol. Integr. Physiol. 1998, 119:725. Относительно соединения по изобретению, если в конкретном положении указано наличие дейтерия, следует понимать, что содержание дейтерия в этом положении по существу превышает природное содержание дейтерия, которое обычно составляет приблизительно 0,015%. Для положения с указанным наличием дейтерия обычно характерен минимальный коэффициент изотопного обогащения, который составляет по меньшей мере 3000 (45% включенного дейтерия) для каждого атома, обозначенного в указанном соединении как дейтерий.

[056] Термин «коэффициент изотопного обогащения», используемый в изобретении, означает соотношение между содержанием изотопа и природным содержанием конкретного изотопа.

[057] В других вариантах осуществления соединение по изобретению имеет коэффициент изотопного обогащения для каждого указанного атома дейтерия, который составляет по меньшей мере 3500 (52,5% включенного дейтерия в каждом указанном атоме дейтерия), по меньшей мере 4000 (60% включенного дейтерия), по меньшей мере 4500 (67,5% включенного дейтерия), по меньшей мере 5000 (75% включенного дейтерия), по меньшей мере 5500 (82,5% включенного дейтерия), по меньшей мере 6000 (90% включенного дейтерия), по меньшей мере 6333,3 (95% включенного дейтерия), по меньшей мере 6466,7 (97% включенного дейтерия), по меньшей мере 6600 (99% включенного дейтерия) или по меньшей мере 6633,3 (99,5% включенного дейтерия).

[058] В соединениях по изобретению любой атом, для которого конкретно не определен тип конкретного изотопа, обозначает любой стабильный изотоп этого атома. Если не указано иное, в случае, если положение обозначено конкретно как «Н» или «водород», следует понимать, что в этом положении присутствует водород с природным содержанием его изотопного состава.

[059] Термин «изотополог» относится к виду, который имеет ту же химическую структуру и формулу, что и конкретное соединение настоящего изобретения, за исключением состава изотопов в одном или нескольких положениях, например, Н, в отличие от D. Таким образом, изотополог отличается от конкретного соединения настоящего изобретения по своему изотопному составу.

[060] Термин «соединение», используемый в изобретении, также включает любые соли, сольваты или гидраты. Термин «декстрометорфановое соединение» используется в данной заявке для простоты применения и включает следующие термины: декстрометорфан, или дейтерированный декстрометорфан, или его аналог, или производное декстрометорфана или аналог или производное дейтерированного декстрометорфана.

[061] В общем, декстрометорфановое соединение по настоящему изобретению имеет четыре молекулярных кольца в конфигурации, называемой «морфинанной» структурой, которая представлена ​​следующим образом:

[062] На этой структурной схеме атомы углерода пронумерованы общепринятым образом, как и показано. Клинообразные связи, соединяющие атомы углерода 9 и 13, обозначают, что эти связи возникают из плоскости, образованной тремя другими кольцами в морфинанной структуре.

[063] Соль соединения по изобретению образуется между кислотой и основной группой соединения, например, амино функциональной группой, или между основанием и кислотной группой соединения, например, карбоксильной функциональной группой. Согласно другому варианту осуществления, соединение представляет собой фармацевтически приемлемую кислотно-аддитивную соль.

[064] Кислоты, обычно используемые для образования фармацевтически приемлемых солей, включают неорганические кислоты, такие как бисульфид водорода, соляная кислота, бромистоводородная кислота, йодистоводородная кислота, серная кислота и фосфорная кислота, а также органические кислоты, такие как пара-толуолсульфоновая кислота, салициловая кислота, винная кислота, битартаровая кислота, аскорбиновая кислота, малеиновая кислота, бесилатовая кислота, фумаровая кислота, глюконовая кислота, глюкуроновая кислота, муравьиная кислота, глутаминовая кислота, метансульфоновая кислота, этансульфоновая кислота, бензолсульфоновая кислота, молочная кислота, щавелевая кислота, пара-бромфенилсульфоновая кислота, угольная кислота, янтарная кислота, лимонная кислота, бензойная кислота и уксусная кислота, а также родственные неорганические и органические кислоты. Упомянутые фармацевтически приемлемые соли включают сульфат, пиросульфат, бисульфат, сульфит, бисульфит, фосфат, моногидрофосфат, дигидрофосфат, метафосфат, пирофосфат, хлорид, бромид, иодид, ацетат, пропионат, деканоит, каприлат, акрилат, формиат, изобутират, капрат, гептаноит, пропионат, оксалат, малонат, сукцинат, суберат, себацат, фумарат, малеат, бутин-1,4-диоат, гексин-1,6-диоат, бензоат, хлорбензоат, метилбензоат, динитробензоат, гидроксибензоат, метоксибензоат, фталат, терефталат, сульфонат, ксилол сульфонат, фенилацетат, фенилпропионат, фенилбутират, цитрат, лактат, β-гидроксибутират, гликолат, малеат, тартрат, метансульфонат, пропансульфонат, нафталин-1-сульфонат, нафталин-2-сульфонат, манделат и другие соли. В одном варианте осуществления фармацевтически приемлемые кислотно-аддитивные соли включают соли, образованные с минеральными кислотами, такими как соляная кислота и бромистоводородная кислота, и соли, образованные с органическими кислотами, такими как малеиновая кислота.

[065] В некоторых вариантах осуществления фармацевтически приемлемые соли включают соли щелочных металлов, соли лития, соли натрия, соли калия, соли щелочноземельных металлов, соли кальция, соли магния, соли лизина, соли N,N'дибензилэтилендиамина, соли хлорпрокаина, соли холина, соли диэтаноламина, соли этилендиамина, соли меглумина, соли прокаина, соли трис, соли свободных кислот, соли свободных оснований, неорганические соли, соли сульфатов, соли гидрохлоридов и соли гидробромидов.

[066] Если не указано иное, описанные в изобретении дозы относятся к формам гидробромидных и сульфатных солей декстрометорфанового соединения и хинидина, соответственно. На основе этой информации специалист в данной области может рассчитать подходящие дозы для соответствующих активных ингредиентов в форме свободных кислот или свободных оснований. Специалист в данной области может вычислить молекулярную массу для соли декстрометорфана и молекулярную массу для свободного основания декстрометорфана, и использовать это соотношение для расчета подходящих доз для свободного основания, а также для соли. Например, можно вводить или применять дозу 15 мг декстрометорфана гидробромида (с молекулярной формулой C18Η25ΝΟ·ΗΒr·Η2О) и дозу 9 мг хинидина сульфата (с молекулярной формулой (С20Н24N2O2)2·H2SO4·2H2O) (что соответствует приблизительно 11 мг декстрометорфана и 7,5 мг хинидина). Другие дозы включают, например, 23 мг декстрометорфана гидробромида и 9 мг хинидина сульфата (что соответствует приблизительно 17 мг декстрометорфана и приблизительно 7,5 мг хинидина); 20 мг декстрометорфана гидробромида и 10 мг хинидина сульфата (что соответствует приблизительно 15 мг декстрометорфана и 8,3 мг хинидина); 30 мг декстрометорфана гидробромида и 10 мг хинидина сульфата (что соответствует приблизительно 22 мг декстрометорфана и 8,3 мг хинидина).

[067] Может вводить d6-дейтерированный декстрометорфан гидробромид (с молекулярной формулой С18Н19D8NO·HBr·H2O) в дозе 24 мг и хинидин сульфат (с молекулярной формулой (С20Н24N2O2)2·H2SO4·2H2O) в дозе 4,75 мг (что соответствует приблизительно 18 мг декстрометорфана и 3,96 мг хинидина). Другие дозы d6-дейтерированного декстрометорфана включают, например, 34 мг d6-декстрометорфана гидробромида и 4,75 мг хинидина сульфата (что соответствует приблизительно 25,18 мг d6-декстрометорфана и приблизительно 3,96 мг хинидина); 18 мг d6-декстрометорфана гидробромида и 4,9 мг хинидина сульфата (что соответствует приблизительно 13,33 мг d6-декстрометорфана и 4,08 мг хинидина); 24 мг d6-декстрометорфана гидробромида и 4,9 мг хинидина сульфата (что соответствует приблизительно 17,78 мг d6-декстрометорфана и 4,08 мг хинидина); 28 мг d6-декстрометорфана гидробромида и 4,9 мг хинидина сульфата (что соответствует приблизительно 20,74 мг d6-декстрометорфана и 4,08 мг хинидина); 30 мг d6-декстрометорфана гидробромида и 4,9 мг хинидина сульфата (что соответствует приблизительно 22,22 мг d6-декстрометорфана и 4,08 мг хинидина); 34 мг d6-декстрометорфана гидробромида и 4,9 мг хинидина сульфата (что соответствует приблизительно 25,18 мг d6-декстрометорфана и 4,08 мг хинидина).

[068] Используемый в изобретении термин «гидрат» означает соединение, которое дополнительно включает стехиометрическое или нестехиометрическое количество воды, связанной посредством нековалентных межмолекулярных сил.

[069] Используемый в изобретении термин «сольват» означает соединение, которое дополнительно включает стехиометрическое или нестехиометрическое количество растворителя, такого как вода, ацетон, этанол, метанол, дихлорметан, 2-пропанол или тому подобный растворитель, связанный посредством нековалентных межмолекулярных сил.

[070] Соединение по настоящему изобретению (например, соединение формулы I, описанное ниже) может содержать асимметричный атом углерода, например, в результате замещения дейтерия или полученный иным образом. Таким образом, соединения по настоящему изобретению могут существовать в виде раздельных энантиомеров или в виде смеси двух энантиомеров. Соответственно, соединение по настоящему изобретению будет включать как рацемические смеси, так и отдельные соответствующие стереоизомеры, которые по существу не содержат другие возможные стереоизомеры. Используемое в изобретении понятие «по существу не содержит другие стереоизомеры» означает присутствие других стереоизомеров в количестве менее чем 25%, в некоторых вариантах осуществления присутствует менее чем 10% других стереоизомеров, в некоторых вариантах осуществления менее чем 5% других стереоизомеров, и в некоторых вариантах осуществления менее чем 2% других стереоизомеров, или в количестве менее чем «X»% других стереоизомеров (где Х представляет собой число в диапазоне от 0 до 100 включительно). Способы получения или синтеза конкретного энантиомера заданного соединения хорошо известны в данной области и могут быть применены, если это практически возможно, для конечных соединений или исходного материала или промежуточных продуктов.

[071] Термин «стабильные соединения», используемый в изобретении, относится к соединениям, которые обладают стабильностью, достаточной для их производства, и которые сохраняют целостность соединения в течение достаточного периода времени и при этом остаются полезными для целей, описанных в изобретении (например, для создания рецептуры лекарственных продуктов, для промежуточных продуктов, предназначенных для производства лекарственных соединений, для поддающихся выделению или хранению промежуточных соединений, для лечения заболевания или состояния, при которых имеется реакция на лекарственные вещества).

[072] "D" обозначает дейтерий.

[073] «Стереоизомер» относится и к энантиомерам и к диастереомерам.

[074] В тексте настоящего изобретения переменные могут относиться к общим понятиям (например, «каждый R») или могут относиться к конкретным элементам (например, R1 или R2). Если не указано иное и переменная относится к общим понятиям, такая переменная включает все конкретные варианты осуществления этой конкретной переменной.

[075] Понятие «содержащий», используемое в изобретении, является синонимом понятий «включающий», «состоящий из» или «характеризующийся наличием», и является инклюзивным или открытым, и не исключает дополнительных неуказанных элементов или этапов способа.

[076] Все числа, выражающие количества ингредиентов, условия реакции и т.д., используемые в настоящей заявке, следует считать модифицированными во всех случаях упоминания понятия «приблизительно». Соответственно, если не указано обратное, числовые параметры, приведенные в изобретении, являются приблизительными и могут варьироваться в зависимости от желаемых свойств. По меньшей мере, и не в качестве попытки ограничить применение доктрины эквивалентов к объему какого либо пункта формулы изобретения в любой из заявок, по которым испрашивается приоритет настоящей заявки, следует толковать каждый числовой параметр в свете числа из значащих цифр и обычных подходов к округлению.

Терапевтические соединения

[077] Декстрометорфан (DM) представляет собой неопиоидный d-изомер кодеинового аналога леворфанола и уже около 50 лет широко применяется в качестве безрецептурного (OTC) противокашлевого средства. Декстрометорфан имеет сложные фармакологические характеристики, обладает аффинностью связывания с рядом различных рецепторов и свое основное действие проявляет в центральной нервной системе (ЦНС). Общеизвестно действие DM в качестве слабого неконкурентного антагониста N-метил-D-аспартатного рецептора (NMDA) (Ki=1500 нМ) (Tortella et al. Trends Pharmacol. Sci. 1989; 10(12):501-7; Chou YC et al., Brain Res. 1999; 821(2):516-9; Netzer R. et al., Eur. J. Pharmacol. 1993; 238(2-3):209-16; Jaffe D.B. et al., Neurosci. Lett. 1989; 105(1-2):227-32) с соответствующей возможным действием в качестве антагониста возбуждения глутаматного рецептора. DM также является мощным агонистом сигма-1 (Zhou GZ et al., Eur. J. Pharmacol. 1991; 206(4):261-9; Maurice T. et al., Brain Res. Brain Res. Rev. 2001; 37(1-3):116-32; Cobos E.J. et al., Curr. Neuropharmacol. 2008; 6(4):344-66), (Ki=200 нМ) и связывается с высокой аффиностью с переносчиком серотонина (SERT, Ki=40 нМ). DM обладает умеренной аффинностью к переносчику норэпинефрина (Ki=13 мкМ), но вместес тем, DM эффективно ингибирует захват норадреналина (Ki=240 нМ) (Codd E.E. et al., J. Pharmacol. Exp. Ther. 1995; 274(3):1263-70). DM представляет собой антагонист никотиновых ацетилхолиновых рецепторов α3β4, и зарегистрированное значение IC50 (концентрации, приводящей к ингибированию 50%)DM составляет 0,7 мкΜ (Damaj et al., J. Pharmacol. Exp. Ther. 2005; 312 (2): 780-5).

[078] Как результат одного или нескольких из указанных взаимодействий, DM уменьшает калий-опосредованное высвобождение глутамата (Annels S.J. et al., Brain Res. 1991; 564 (2): 341-3) и модулирует нейротрансмиссию моноаминов (серотонина, норадреналина и допамина) (Codd E.E. et al., J. Pharmacol. Exp. Ther. 1995; 274(3):1263-70; Maurice T. et al., Pharmacol. Ther. 2009; 124(2):195-206; Maurice T. et al., Prog. Neuropsychopharmacol. Biol. Psychiatry. 1997; 21(1):69-102). Антагонизм DM по отношению к никотиновым ацетилхолиновым рецепторам α3β4 (Damaj М.I. et al., J. Pharmacol. Exp. Ther. 2005; 312 (2): 780-5) может оказывать влияние при некоторых двигательных расстройствах ЦНС и наркотической зависимости (Silver A.A. et al., J. Am. Acad. Child Adolesc. Psychiatry. 2001; 40(9):1103-10). При введении в качестве единственного средства DM быстро метаболизируется в печени в основном до декстрорфана (DX), что является причиной его чрезвычайно низкой биодоступности, и, таким образом, ограничивается воздействие DM на ЦНС. Хотя DX взаимодействует с некоторыми из тех же рецепторов, что и DM, но его аффинность к важнейшим рецепторам отличается. Также DX подвергается быстрой конъюгации с глюкуронидами, что в значительной степени препятствует его прохождению через гематоэнцефалический барьер, и таким образом, уменьшается его действие на ЦНС в предписанных дозах (Church J. et al., Eur. J. Pharmacol. 1985; 111(2):185-90; Franklin P.H. et al., Mol. Pharmacol. 1992;41(1):134-46).

[079] Настоящее изобретение относится к соединению формулы I, в том числе к его фармацевтически приемлемым солям, сольватам и гидратам:

где R1 выбран из СН3, СН2D, CHD2 и CD3; и R2 выбран из СН3, СН2D, CHD2 и CD3.

[080] Все соединения, соответствующие формуле I, которые имеют по меньшей мере один дейтерий, называются дейтерированным декстрометорфаном. В одном варианте осуществления обе группы R1 и R2 представляют собой CD3. Это соединение также называют d6-декстрометорфаном или d6-DM. В другом варианте осуществления только один из R1 и R2 представляет собой CD3.

[081] Еще в одном варианте осуществления соединение выбирают из любого одного из соединений, указанных в таблице 1.

Таблица 1: Примеры соединений формулы I

№ соединения R1 R2 100 CD3 CD3 101 CD3 CD3 102 СН2D CD3 103 CD3 СН2D 104 CD3 CD3 105 СН2D СН2D 106 СН2D CD3 107 CD3 СН2D 108 CD3 CD3

[082] В другом наборе вариантов осуществления любой атом, не обозначенный как дейтерий в любом из вариантов осуществления, изложенных выше или ниже, присутствует в своем природном изотопном содержании.

[083] В другом наборе вариантов осуществления соединение формулы I подвергается выделению или очистке, например, чистота соединения формулы I составляет по меньшей мере 50% по весу (например, по меньшей мере 55%, 60%, 65%, 70%, 75%, 80%, 85%, 90%, 95%, 97%, 98%, 98,5%, 99%, 99,5% или 99,9%) от общего количества присутствующих изотопологов формулы I, соответственно. Таким образом, в некоторых вариантах осуществления композиция, содержащая соединение формулы I, может включать распределение изотопологов этого соединения, при условии, что по меньшей мере 50% изотопологов по массе представляют собой рассматриваемое соединение.

[084] В некоторых вариантах осуществления, в любом положении в соединении формулы I, обозначенном как имеющее D, минимальное содержание включенного дейтерия составляет по меньшей мере 45% (например, по меньшей мере 52,5%, по меньшей мере 60%, по меньшей мере 67,5%, по меньшей мере 75%, по меньшей мере 82,5%, по меньшей мере 90%, по меньшей мере 95%, по меньшей мере 97%, по меньшей мере 99% или по меньшей мере 99,5%) в указанном положении (положениях) в соединении формулы I. Таким образом, в некоторых вариантах осуществления композиция, содержащая соединение формулы I, может включать распределение изотопологов этого соединения, при условии, что по меньшей мере 45% изотопологов включают D в указанном положении (положениях).

[085] В некоторых вариантах осуществления соединение формулы I «по существу не содержит» других изотопологов этого соединения, например, в этом соединении присутствуют другие изотопологи в количестве менее 50%, менее 25%, менее 10%, менее 5%, менее 2%, менее 1% или менее 0,5%.

[086] Рядовые специалисты по химическому синтезу могут легко осуществлять синтез соединений формулы I. Соответствующие методики и промежуточные продукты раскрыты, например, в публикациях Kim H. C. et al., Bioorg. Med. Chem. Lett. 2001, 11:1651 и Newman A.H. et al., J. Med. Chem. 1992, 35:4135.

[087] Способы синтеза соединений, упомянутых в изобретении, можно осуществлять с использованием соответствующего дейтерированного реагента и, необязательно, других содержащих изотопы реагентов и/или промежуточных соединений, или применять известные в данной области стандартные протоколы синтеза, чтобы ввести в химическую структуру атомы изотопов.

[088] Дейтерированный (d6)-DM (d6-DM) (фигура 1) представляет собой дейтерированный изотоп DM, в котором дейтерий заменяет 6 атомов водорода в определенных положениях. Дейтерий является стабильным, нерадиоактивным изотопом водорода, который повсеместно встречается в окружающей среде, в том числе в воде. Стабильные изотопы широко и на протяжении долгого времени используются в медицинских исследованиях, у людей всех возрастов от новорожденных до взрослых. Чаще всего дейтерий используется для изучения фармакокинетики (ФК) и метаболизма на следовом уровне. Также предполагается, что ожидаемые уровни воздействия при длительном применении дейтерированных лекарственных средств должны быть достаточно малы по сравнению с суточным воздействием дейтерия из природных источников, например, из воды. Так, например, считается, что воздействие, полученное от d6-DM в дозе 30 мг, будет приблизительно эквивалентно воздействию 20 мл (0,7 унций) воды. Этот расчет основан на природном содержании дейтерия в воде, составляющим 0,0156%, и на предположении, что полная поглощенная доза d6-DM (молекулярная масса=277,43) будет метаболизироваться до d3-декстрорфана (d3-DX), с высвобождением дейтерированной воды (мол. масса=20,03). Согласно последнему предположению, количество высвобождаемой дейтерированной воды переоценивается, но дается представление о сравнительном количестве потребляемого дейтерия.

[089] В результате фармакологических исследований, проведенных авторами настоящего изобретения с дейтерированным DM, было показано, что дейтерирование не влияет на основные фармакологические свойства DM. Исследования этого лекарственного средства в отношении ФК и метаболизма показывают, что d6-DM метаболизируется посредством тех же путей метаболизма, что и DM. На метаболизм с участием CYP2D6 в наибольшей степени влияет ингибирование путем замещения дейтерием. Исследования метаболизма in vitro также показывают, что в ходе метаболизма d6-DM и DM (у разных видов, в том числе у человека) образуются одинаковые метаболиты, то есть, не было выявлено каких-либо уникальных метаболитов d6-DM по сравнению с DM. В исследовании распределения в тканях было выявлено сходное распределение радиологических меток от 14С-меченого d6-DM (14С-d6-DM) и от от 14С-меченого DM (14С-DM). В токсикологических исследованиях d6-DM было выявлено, что ограниченные токсичностью дозы (DLT) d6-DM и DM сопоставимы при сравнимых экспозициях и зависят от неблагоприятных клинических признаков, обусловленных эффектами со стороны ЦНС. Было проведено исследование токсичности д6-DM/Q в течение 13 недель, в которое для сравнения была включена высокая доза DM/Q, и анализ значений токсичности показал аналогичные результаты для d6-DM/Q и для не-дейтерированного DM/Q.

Примеры синтеза

[090] Удобный способ синтеза соединений формулы I состоит в замене соответствующих дейтерированных промежуточных продуктов и реагентов из способов синтеза, используемых для получения декстрометорфана. Эти способы описаны, например, в патенте США № 7973049, который включен в изобретение в качестве ссылки в полном объеме. Соединения формулы I могут быть получены из одного из известных промежуточных продуктов X, XI и XII, показанных ниже, и из родственных промежуточных продуктов, которые могут быть легко получены с помощью известных методик.

Схема 1 показывает общий путь получения соединений формулы I.

[092] На схеме 1 показан общий путь получения соединений формулы I, в котором R1 не является CH3. Соль HBr (10) после обработки ΝΗ4OH подвергают N-деметилированию и получают соединение 11. В результате ацилирования амина 11 с помощью этилхлорформиата получают карбамат 12, который затем подвергают О-деметилированию с использованием BBR3, с получением спирта 13. Соединение 13 в присутствии основания обрабатывают иодметаном, который соответствующим образом дейтерирован, с получением эфира 14, который восстанавливают с использованием или литий-алюминий дейтерида (LAD) с получением соединений формулы I, где R2=CD3, или литий-алюминий гидрида (LAH) с получением соединения, в котором R2=CH3. Для тех соединений, в которых R1 представляет собой СН3, карбамат 12 непосредственно обрабатывают LAD с получением соединения, в котором R2 представляет собой CD3.

[093] Конкретные подходы и соединения, показанные выше, упомянуты не в качестве ограничения. На химических структурных формулах и схемах настоящего изобретения изображены переменные, определения которых приведены в соответствии с определениями химических групп (функциональных групп, атомов и т.д.) из соответствующего положения в формуле соединения по изобретению, не зависимо от того, имеют ли они такие же наименования переменной (то есть, R1 или R2) или нет. Рядовому специалисту в данной области известно о том, подходит ли химическая группа в структурной формуле соединения для использования в синтезе другого соединения.

[094] Дополнительные способы синтеза соединений формулы I и их предшественников по синтезу, в том числе соединений с путями синтеза, которые явно не представлены в настоящем документе, входят в компетенцию химиков - специалистов в данной области. Технологии синтеза, химических превращений и защитных групп (введение и удаление защитных групп), полезные для синтеза применимых соединений, известны в данной области и включают, например, технологии, описанные в следующих руководствах: Larock R., Comprehensive Organic Transformations, VCH Publishers (1989); Greene T. W. et al., Protective Groups in Organic Synthesis, 3издание, John Wiley and Sons (1999); Fieser L. et al., Fieser and Fieser's Reagents for Organic Synthesis, John Wiley and Sons (1994); и Paquette L., ed., Encyclopedia of Reagents for Organic Synthesis, John Wiley and Sons (1995) и в последующих изданиях указанных руководств.

[095] Комбинации заместителей и переменных по изобретению представляют собой те из них, которые приводят к образованию стабильных соединений.

Аналоги или производные дейтеризованного декстрометорфана и декстрометорфана.

[096] Следует понимать, что декстрометорфановые соединения, используемые в способах и комбинациях по изобретению, включают аналоги или производные как декстрометорфана, так и дейтерированного декстрометорфана. Например, в одном варианте осуществления комбинации или способы по изобретению включают дейтерированный декстрометорфан, и в другом варианте осуществления комбинации и способы включают аналоги или производные дейтерированного декстрометорфана. Аналогичным образом, в другом варианте осуществления комбинации или способы по изобретению включают декстрометорфан, и в другом варианте осуществления комбинации или способы включают аналоги или производные декстрометорфана.

[097] Используемый в изобретении термин «алкил» означает любой неразветвленный или разветвленный, замещенный или незамещенный насыщенный углеводород. Алкильный фрагмент может представлять собой разветвленную или линейную цепь. Алкильная группа может иметь от 1 до 10 атомов углерода (при каждом упоминании в настоящем документе числового диапазона, например, «от 1 до 10», следует понимать, что рассматривается каждое целое число в данном диапазоне, например, «1 до 10 атомов углерода» означает, что алкильная группа может состоять из 1 атома углерода, 2 атомов углерода, 3 атомов углерода и т.д., до 10 атомов углерода, при этом настоящее определение охватывает также термин «алкил», упоминаемый без обозначения числового диапазона).

[098] Термин «замещенный» имеет свое общепринятое значение, которое можно найти в многочисленных современных патентах из предшествующего уровня техники. См., например, патенты США №№ 6509331, 6506787, 6500825, 5922683, 5886210, 5874443 и 6350759, все из которых включены в настоящее изобретение в полном объеме посредством ссылки. В частности, определение замещения является столь же широким, как это представлено в патенте США № 6509331, в котором термин «замещенный алкил» относится к алкильной группе. В некоторых вариантах осуществления термин «замещенный алкил» относится к группе от 1 до 10 атомов углерода, имеющих от 1 до 5 заместителей, а в некоторых вариантах осуществления от 1 до 3 заместителей, выбранных из группы, состоящей из следующего: алкокси, замещенный алкокси, циклоалкил, замещенный циклоалкил, циклоалкенил, замещенный циклоалкенил, ацил, ациламино, ацилокси, амино, замещенный амино, аминоацил, аминоацилокси, оксиациламино, циано, галоген, гидроксил, карбоксил, карбоксиалкил, кето, тиокето, тиол, тиоалкокси, замещенный тиоалкокси, арил, арилокси, гетероарил, гетероарилокси, гетероциклический заместитель, гетероциклоокси, гидроксиамин, алкоксиамин, нитро, -SO-алкил, -SO-замещенный алкил, -SO-арил, -SO-гетероарил, -SO2-алкил, -SO2-замещенный алкил, -SO2-арил и -SO2-гетероарил. В остальных вышеперечисленных патентах также приведены стандартные определения термина «замещенный», которые хорошо понятны специалистам в данной области.

[099] Термин «циклоалкил» относится к любому неароматическому углеводородному кольцу, которое в некоторых вариантах осуществления имеет от пяти до двенадцати атомов, составляющих это кольцо. Термин «гетероцикл» или «гетероциклический» относится к любому неароматическому углеводородному кольцо, в которых по меньшей мере один гетероатом, например, атом кислорода, серы или азота, находится в кольце по меньшей мере с одним атомом углерода.

[0100] Используемый в изобретении термин «алкенил» означает любой неразветвленный или разветвленный, замещенный или незамещенный ненасыщенный углеводород, имеющий двойную связь между двумя атомами углерода. Термин «алкинил», используемый в изобретении, означает любой неразветвленный или разветвленный замещенный или незамещенный, ненасыщенный углеводород, имеющий тройную связь между двумя атомами углерода.

[0101] Используемые в изобретении термины «арил» и «гетероарил» относятся к ароматическим углеводородным кольцам, которые в некоторых вариантах осуществления имеют пять, шесть или семь атомов, а в других вариантах осуществления имеют шесть атомов, составляющих это кольцо. «Гетероарил» относится к ароматическим углеводородным кольцам, в которых по меньшей мере один гетероатом, например, атом кислорода, серы или азота, находится в кольце по меньшей мере с одним атомом углерода. Термин «гетероцикл» или «гетероциклический» относится к любому циклическому соединению, содержащему один или несколько гетероатомов. Такие арилы, гетероциклы и гетероарилы могут быть замещены любым заместителем, в том числе описанными выше, и заместителями, известными в данной области.

[0102] Заместитель «R», упомянутый сам по себе и без цифрового обозначения, относится к заместителю, выбранному из группы, состоящей из алкила, циклоалкила, арила, гетероарила (присоединенного через атом углерода в кольце) и гетероалициклила (присоединенного через атом углерода в кольце).

[0103] Термин «аминоалкил» относится к заместителю, выбранному из группы, состоящей из -RNR'R", -RNHR' и -RNH2, при этом R, R' и R" независимо друг от друга представляют собой R, определение которого приведено в изобретении.

[0104] Термин «атом галогена», используемый в изобретении, означает любой один из радиоустойчивых атомов седьмой группы Периодической таблицы элементов, например, фтор, хлор, бром или йод.

[0105] Термин «алкокси» относится к любому неразветвленному или разветвленному, замещенному или незамещенному, насыщенному или ненасыщенному эфиру, например, обозначает C1-C6 неразветвленные, насыщенные, незамещенные простые эфиры, метокси- и диметил-, диэтил-, метил-изобутил и метил-трет-бутиловые эфиры.

[0106] Был выявлен ряд аналогов декстрометорфана, которые обладают способностью замедлять или предотвращать метаболизм декстрометорфана. В некоторых вариантах осуществления водород в 2-ом положении арильного кольца, R1, может быть заменен объемной группой.

[0107] Используемое в изобретении понятие «объемный» относится к заместителю с большим, чем у водорода, углом конусности. Подходящие заместители включают без ограничения С110 алкил, С210 алкенил, С210алкинил, С612арил, С713арилалкил, С310 циклоалкил, С210 гетероцикл, С310 гетероциклоалкил, С312гетероарил, С412гетероарилалкил, алкиламино и диалкиламино, и при этом каждый водород необязательно замещен низшим алкилом, алкокси или галогеном.

[0108] Без связи с какой-либо конкретной теорией, считается, что введение объемной группы может блокировать CYP2D6, препятствуя началу каталитического механизма, посредством которого декстрометорфановое соединение преобразуется в декстрорфан и другие метаболиты. В результате можно предотвратить или резко снизить быстрый метаболизм аналогов декстрометорфана, в том числе дейтерированных аналогов. Так, например, трет-бутил-алкильная группа с относительно большим углом конусности может защищать метильную группу, присоединенную к атому кислорода и предотвращать O-деметилирование декстрометорфана или дейтерированного декстрометорфана. Альтернативно, если объемная группа содержит основной азот, присутствие такого атома азота на расстоянии от 5 до 7 ангстрем от группы метокси может предотвращать окисление путем ингибирования CYP2D6.

[0109] Подходящие аналоги с объемными группами в положении 2 включают соединения (1-1) и (1-2), указанные ниже.

(1-1)

(1-2)

[0110] В других вариантах осуществления метокси-группа в 3-положении может быть замещена объемной группой OR2.

[0111] Подходящие заместители включают без ограничения следующие: R1 выбран из группы, состоящей из следующего: водород, С110 алкил, С210 алкенил, С210алкинил, С612арил, С713арилалкил, С310 циклоалкил, С210 гетероцикл, С310гетероциклоалкил, С312гетероарил, С412гетероарилалкил, алкиламино и диалкиламино, в которых каждый водород необязательно замещен низшим алкилом, алкокси или галогеном; и R2 выбран из группы, состоящей из следующего: C2-C10 алкил, C2-C10 алкенил, C2-C10алкинил, C6-C12арил, C7-C13арилалкил, C3-C10 циклоалкил, С210 гетероцикл, С410гетероциклоалкил, С312гетероарил, С412гетероарилалкил, алкиламино и диалкиламино, в которых каждый водород необязательно замещен низшим алкилом, алкокси или галогеном. Если R1 представляет собой водород, R2 не может быть ни водородом, ни метилом, чтобы исключить декстрометорфан и декстрорфан.

[0112] Подходящие аналоги с объемными группами -OR2 в 3-ем положении включают соединения (II - 1) - (II - 4), указанные ниже.

(II - 1)

(II - 2)

(II - 3)

(II - 4)

[0113] В других вариантах осуществления метокси-группа в 3-ем положении может быть замещена объемной группой, которая включает атом серы.

[0114] Подходящие заместители включают без ограничения следующее: каждый из R1 независимо выбран из группы, состоящей из следующего: водород, С110 алкил, С210 алкенил, C2-C10алкинил, C6-C12арил, С713арилалкил, С310 циклоалкил, С210 гетероцикл, С310гетероциклоалкил, С312гетероарил, С412гетероарилалкил, алкиламино и диалкиламино, при этом каждый водород необязательно замещен низшим алкилом, алкокси или галогеном; и R2 выбран из группы, состоящей из -SR1.

[0115] Подходящие аналоги с серосодержащей объемной группой в 3-ем положении включают соединения (III-1) - (III-3), указанные ниже.

(III-1)

(III-2)

(III-3)

[0116] Без связи с какой-либо конкретной теорией, предполагается, что введение объемной группы, которая содержит или атом кислорода или атом серы в 3-ем положении, может увеличивать период полужизни (Т1/2) декстрометорфана или дейтеризованного декстрометорфана. За счет увеличения периода полужизни можно сохранять повышенную концентрацию аналогов декстрометорфана в крови в течение более длительного периода времени до его превращения в декстрорфан. Альтернативные заместители и замещения также входят в объем настоящего изобретения. В частности, в объем настоящего изобретения входят заместители и замещения, которые включают один или несколько атомов дейтерия, например, d6DM. Специалисту в данной области известны способы модификации аналогов декстрометорфана по изобретению для получения дейтерированных аналогов декстрометорфана.

[0117] Также в объем настоящего изобретения входят соединения, описанные авторами Newman et al. в журнале J. Med. Chem. 1992 Oct. 30;35 (22): 4135-42. Ньюмен (Newman) установил, что эти соединения проявляют противосудорожное действие в различных моделях судорожной активности in vitro и in vivo.

Ингибиторы CYP2D6

[0118] Согласно изобретению, предполагается использовать декстрометорфановое соединение вместе с ингибитором CYP2D6, таким как хинидин. Хинидин чаще всего используется для совместного введения с другими антиоксидантами, например, описанными в публикациях Inaba et al., Drug Metabolism and Disposition. 1985;13:443-447, Forme-Pfister et al., Biochem. Pharmacol. 1988;37:3829-3835, и Broly et al., Biochem. Pharmacol. 1990;39:1045-1053. Также хинидин можно вводить совместно с декстрометорфановым соединением для уменьшения его трансформации. По данным Inaba et al., ингибиторы CYP2D6 со значением Ki=50 мкМ или ниже (показатель ингибирования по уравнению Михаэлиса-Ментона) включают нортриптилин, хлорпромазин, домперидон, галоперидол, пипамперон, лабеталол, метапролол, окспренолол, пропранолол, тимолол, мексилетин, хинин, димедрол, аймалин, лобелин, папаверин и йохимбин. Соединения, обладающие особенно мощным ингибирующим действием, включают йохимбин, галоперидол, аймалин, лобелин и пипамперон, и значение Ki указанных соединений находится в диапазоне от 4 до 0,33 мкмоль. В дополнение к упомянутым выше антиоксидантам, также было установлено, что препарат флуоксетин, поставляемый компанией Eli Lilly and Co. под торговым названием Прозак®, обладает эффектом повышения концентрации декстрометорфана в крови у некоторых людей. Дополнительно, для ингибирования CYP2D6 можно применять любое из следующих соединений: тербинафин, цинакалцет, бупренорфин, имипрамин, бупропион, ритонавир, сертралин, дулоксетин, тиоридазин, метоклопрамид, пароксетин или флувоксамин. Дозы других антиоксидантов можно варьировать в зависимости от антиоксиданта и определять, исходя из индивидуальных особенностей.

[0119] Было неожиданно обнаружено, что возбуждение и/или агрессию на фоне болезни Альцгеймера у пациентов можно лечить декстрометорфановым соединением в комбинации с таким количеством хинидина, которое значительно ниже, чем минимальное количество, до сих пор считавшееся необходимым для достижения выраженного терапевтического эффекта.

[0120] Дополнительно, можно избежать метаболизма декстрометорфана или его дейтерированной формы путем совместного введения ингибитора CYP2D6 и декстрометорфана. Хинидин является мощным ингибитором CYP2D6, и было прицельно изучено его применение в этом качестве (патент США № 5206248, Smith). Химическая структура хинидина представлена следующим образом:

[0121] Совместное введение хинидина имеет по меньшей мере два разных полезных эффекта. Во-первых, это значительно увеличивает количество циркулирующих в крови декстрометорфановых соединений. Дополнительно, при совместном введении также достигается более устойчивая и прогнозируемая концентрация декстрометорфана. Исследования, охватывающие изучение декстрометорфана или совместного введения хинидина и декстрометорфана, а также влияние хинидина на концентрацию в плазме крови, описаны в патентной литературе (см., например, патент США № 5166207, патент США № 5863927, патент США № 5366980, патент США № 5206248, патент США № 5350756 и патент США № 7973049).

[0122] Путем введения хинидина можно превращать фенотип сильного метаболизма у субъектов в фенотип слабого метаболизма (Inaba et al., Br, J. Clin. Pharmacol. 1986; 22: 199-200). Содержание в крови декстрометорфана нарастает в линейной зависимости от дозы декстрометорфана при его совместном введении с хинидином, но у большинства пациентов, получавших декстрометорфан в качестве единственного лекарственного средства даже в высоких дозах, его уровень в крови не поддается обнаружению (Zhang et al., Clin. Pharmac. &Therap. 1992; 51:647-55). Таким образом, наблюдаемый уровень в плазме пациентов с фенотипом быстрого метаболизма после ведения декстрометорфана совместно с хинидином аналогичен уровню в плазме, который выявляют у пациентов со слабым метаболизмом. Соответственно, врачи должны проявлять осторожность при введении хинидина пациентам, которые могут иметь фенотип слабого метаболизма.

Фармацевтические композиции

[0123] Одним из свойств описанных способов и комбинаций является действие уменьшения возбуждения и/или агрессии у пациентов с болезнью Альцгеймера. В некоторых случаях это уменьшение достигается без применения транквилизаторов или иного серьезного вмешательства в сознание или восприимчивость, и/или без увеличения риска серьезных нежелательных явлений. Используемое в изобретении понятие «серьезное вмешательство» относится к неблагоприятным явлениям, которые могли бы стать выраженными или проявляться на клиническом уровне (например, вызывать конкретную озабоченность у врача или психолога), или на личном или социальном уровне (например, вызывать достаточно выраженную сонливость, вследствие чего может снижаться способность управлять автомобилем). В противоположность этому, серьезным вмешательством не считаются некоторые типы очень незначительных побочных эффектов, которые могут быть вызваны безрецептурным лекарственным средством, например, декстрометорфан-содержащим сиропом от кашля, в случае его применения в рекомендуемых дозах.

[0124] Величина терапевтической дозы декстрометорфанового соединения в комбинации с хинидином для экстренного или хронического лечения возбуждения и/или агрессии у пациентов, страдающих болезнью Альцгеймера, может варьироваться в зависимости от ряда факторов, например, от конкретной причины этого состояния, от тяжести состояния и способа введения. Дозировки и/или частота введения могут также варьироваться в зависимости от возраста, массы тела и реакции конкретного пациента.

[0125] В одном варианте осуществления декстрометорфановое соединение и хинидин назначают в комбинированной дозе или в раздельных дозах. Раздельные дозы можно вводить по существу одновременно. В одном варианте осуществления соотношение массы декстрометорфанового соединения и массы хинидина составляет приблизительно 1:1 или меньше. В некоторых вариантах соотношение массы указанных препаратов составляет приблизительно 1:1, 1:0,95, 1:0,9, 1:0,85, 1:0,8, 1:0,75, 1:0,7, 1:0,65, 1:0,6, 1:0,55, или 1:0,5 или меньше. Кроме того, в некоторых вариантах осуществления соотношение массы декстрометорфанового соединения и массы хинидина составляет менее чем приблизительно 1:0,5, например, приблизительно 1:0,45, 1:0,4, 1:0,35, 1:0,3, 1:0,25, 1:0,2, 1:0,15 или 1:0,1, 1:0,09, 1:0,08, 1:0,07, 1:0,06, 1:0,05, 1:0,04, 1:0,03, 1:0,02, или 1:0,01 или меньше. Это соотношение по массе может составлять, например, приблизительно 1:0,75, приблизительно 1:0,68, приблизительно 1:0,6, приблизительно 1:0,56, приблизительно 1:0,5, приблизительно 1:0,44, приблизительно 1:0,39, приблизительно 1:0,38, приблизительно 1:0,31, приблизительно 1:0,30, приблизительно 1:0,29, приблизительно 1:0,28, приблизительно 1:0,27, приблизительно 1:0,26, приблизительно 1:0,25, приблизительно 1:0,24, приблизительно 1:0,23, приблизительно 1:0,22, приблизительно 1:0,21, приблизительно 1:0,20, приблизительно 1:0,19, приблизительно 1:0,18, приблизительно 1:0,17, приблизительно 1:0,16, приблизительно 1:0,15, приблизительно 1:0,14, приблизительно 1:0,13, приблизительно 1:0,12, приблизительно 1:0,11 и приблизительно 1:0,10. В некоторых вариантах осуществления соотношение массы свободного основания декстрометорфана и массы свободного основания хинидина составляет приблизительно 1:0,68, приблизительно 1:0,56, приблизительно 1:0,44, приблизительно 1:0,38. В некоторых других вариантах осуществления соотношение массы свободного основания d6-дейтерированного декстрометорфана и массы свободного основания хинидина составляет приблизительно 1:0,30, приблизительно 1:0,22, приблизительно 1:0,19, приблизительно 1:0,18, приблизительно 1:0,16 и приблизительно 1:0,15.

[0126] В некоторых вариантах осуществления при введении декстрометорфанового соединения и хинидина в соотношении по массе 1:1 или меньше, количество вводимого в любой момент времени хинидина составляет менее 50 мг. Например, в некоторых вариантах осуществления хинидин вводят в количестве приблизительно 30, 25 или 20 мг или меньше. В других вариантах осуществления хинидин вводят в количестве приблизительно 15, 10, 9,5, 9,0, 8,5, 8,0, 7,5, 7,0, 6,5, 6,0, 5,5, 5,0 или меньше. В других вариантах осуществления хинидин вводят в количестве приблизительно 5,00, 4,95, 4,90, 4,85, 4,80, 4,75, 4,70, 4,65, 4,60, 4,55, 4,50, 4,45, 4,40, 4,35, 4,30, 4,25, 4,20, 4,15 4,10, 4,05, 4,00, 3,95, 3,90, 3,85, 3,80, 3,75, 3,70, 3,65, 3,60 3,55, 3,50, 3,45 3,40, 3,35, 3,30, 3,25, 3,20, 3,15, 3,10, 3,05, 3,00, 2,95, 2,90, 2,85, 2,80, 2,75 2,70, 2,65, 2,60 2,55, 2,50, 2,45, 2,40, 2,35, 2,30, 2,25, 2,20, 2,15, 2,10, 2,05, 2,00, 1,95, 1,90 1,85, 1,80, 1,75 1,70, 1,65, 1,60, 1,55, 1,50, 1,45, 1,40, 1,35, 1,30, 1,25, 1,20, 1,15, 1,10, 1,05 1,00, 0,95, 0,90 0,85, 0,80, 0,75, 0,70 0,65 0,60, 0,55, 0,50, 0,45, 0,40, 0,35, 0,30, 0,25, 0,20, 0,15, 0,10 или 0,05, или меньше.

[0127] В некоторых вариантах осуществления комбинированную дозу (или одновременно вводимые раздельные дозы) при соотношении по массе 1:1 или меньше вводят один раз в день, два раза в день, три раза в день, четыре раза в день или чаще, с целью достижения у пациента определенного уровня суточной дозы, например: 60 мг хинидина и 60 мг декстрометорфанового соединения в день, при введении в двух дозах, при этом каждая доза будет содержать 30 мг хинидина и 30 мг декстрометорфанового соединения; 50 мг хинидина и 50 мг декстрометорфанового соединения в день, при введении в двух дозах, при этом каждая доза будет содержать 25 мг хинидина и 25 мг декстрометорфанового соединения; 40 мг хинидина и 40 мг декстрометорфанового соединения в день, при введении в двух дозах, при этом каждая доза будет содержать 20 мг хинидина и 20 мг декстрометорфанового соединения; 30 мг хинидина и 30 мг декстрометорфанового соединения в день, при введении в двух дозах, при этом каждая доза будет содержать 15 мг хинидина и 15 мг декстрометорфанового соединения; или 20 мг хинидина и 20 мг декстрометорфанового соединения в день, при введении в двух дозах, при этом каждая доза будет содержать 10 мг хинидина (т.е. приблизительно 9 мг свободного основания хинидина) и 10 мг декстрометорфанового соединения. В некоторых вариантах осуществления общее количество декстрометорфанового соединения и хинидина в комбинированной дозе может быть скорректировано в зависимости от числа доз, назначенного для ежедневного введения, таким образом, чтобы у пациента была достигнута подходящая общая суточная доза и при этом сохранялось соотношение по массе 1:1 или меньше.

[0128] В некоторых вариантах осуществления общая суточная доза декстрометорфанового соединения в комбинации с хинидином, предназначенная для лечения возбуждения и/или агрессии у пациентов с болезнью Альцгеймера, составляет: приблизительно от 10 мг или меньше приблизительно до 200 мг или больше декстрометорфанового соединения в комбинации с хинидином в количестве приблизительно от 0,05 мг или меньше приблизительно до 60 мг или больше. В некоторых вариантах осуществления суточная доза для лечения возбуждения и/или агрессии у пациентов с болезнью Альцгеймера составляет приблизительно от 10 мг приблизительно до 90 мг декстрометорфанового соединения в комбинации с хинидином в количестве приблизительно от 2,5 мг приблизительно до 60 мг хинидина, в монолитных или разделенных дозах. В некоторых вариантах осуществления общая суточная доза декстрометорфанового соединения составляет приблизительно 15, 16, 17, 18, 19 или 20 мг в комбинации с хинидином в количестве приблизительно от 15, 10, 9,5, 9,0, 8,5, 8,0, 7,5, 7,0, 6,5, 6,0, 5,5, 5,00, 4,95, 4,90, 4,85, 4,80, 4,75, 4,70, 4,65, 4,60, 4,55, 4,50, 4,45, 4,40, 4,35, 4,30, 4,25, 4,20, 4,15, 4,10, 4,05, 4,00, 3,95, 3,90, 3,85, 3,80, 3,75, 3,70, 3,65, 3,60, 3,55, 3,50, 3,45, 3,40, 3,35, 3,30, 3,25, 3,20, 3,15, 3,10, 3,05, 3,00, 2,95, 2,90, 2,85, 2,80, 2,75, 2,70, 2,65, 2,60, 2,55, 2,50, 2,45, 2,40, 2,35, 2,30, 2,25, 2,20, 2,15, 2,10, 2,05, 2,00, 1,95, 1,90, 1,85, 1,80, 1,75, 1,70, 1,65, 1,60, 1,55, 1,50, 1,45, 1,40, 1,35, 1,30, 1,25, 1,20, 1,15, 1,10, 1,05, 1,00, 0,95, 0,90, 0,85, 0,80, 0,75, 0,70, 0,65, 0,60, 0,55, 0,50, 0,45, 0,40, 0,35, 0,30, 0,25, 0,20, 0,15, 0,10, или 0,05 мг или меньше.

[0129] В некоторых вариантах осуществления суточная доза для лечения возбуждения и/или агрессии у пациентов с болезнью Альцгеймера составляет: приблизительно 20, 21, 22, 23, 24, 25, 26, 27, 28, 29 или 30 мг декстрометорфанового соединения в комбинации с хинидином в количестве приблизительно 15, 10, 9,5, 9,0, 8,5, 8,0, 7,5, 7,0, 6,5, 6,0, 5,5, 5,00, 4,95, 4,90, 4,85, 4,80, 4,75, 4,70, 4,65, 4,60, 4,55, 4,50, 4,45, 4,40, 4,35, 4,30, 4,25, 4,20, 4,15, 4,10, 4,05, 4,00, 3,95, 3,90, 3,85, 3,80, 3,75, 3,70, 3,65, 3,60, 3,55, 3,50, 3,45, 3,40, 3,35, 3,30, 3,25, 3,20, 3,15, 3,10, 3,05, 3,00, 2,95, 2,90, 2,85, 2,80, 2,75, 2,70, 2,65, 2,60, 2,55, 2,50, 2,45, 2,40, 2,35, 2,30, 2,25, 2,20, 2,15, 2,10, 2,05, 2,00, 1,95, 1,90, 1,85, 1,80, 1,75, 1,70, 1,65, 1,60, 1,55, 1,50, 1,45, 1,40, 1,35, 1,30, 1,25, 1,20, 1,15, 1,10, 1,05, 1,00, 0,95, 0,90, 0,85, 0,80, 0,75, 0,70, 0,65, 0,60, 0,55, 0,50, 0,45, 0,40, 0,35, 0,30, 0,25, 0,20, 0,15, 0,10 или 0,05 мг или меньше; или приблизительно 30, 31, 32, 33, 34, 35, 36, 37, 38, 39 или 40 мг декстрометорфанового соединения в комбинации с хинидином в количестве 15, 10, 9,5, 9,0, 8,5, 8,0, 7,5, 7,0, 6,5, 6,0, 5,5, 5,00, 4,95, 4,90, 4,85, 4,80, 4,75, 4,70, 4,65, 4,60, 4,55, 4,50, 4,45, 4,40, 4,35, 4,30, 4,25, 4,20, 4,15, 4,10, 4,05, 4,00, 3,95, 3,90, 3,85, 3,80, 3,75, 3,70, 3,65, 3,60, 3,55, 3,50, 3,45, 3,40, 3,35, 3,30, 3,25, 3,20, 3,15, 3,10, 3,05, 3,00, 2,95, 2,90, 2,85, 2,80, 2,75, 2,70, 2,65, 2,60, 2,55, 2,50, 2,45, 2,40, 2,35, 2,30, 2,25, 2,20, 2,15, 2,10, 2,05, 2,00, 1,95, 1,90, 1,85, 1,80, 1,75, 1,70, 1,65, 1,60, 1,55, 1,50, 1,45, 1,40, 1,35, 1,30, 1,25, 1,20, 1,15, 1,10, 1,05, 1,00, 0,95, 0,90, 0,85, 0,80, 0,75, 0,70, 0,65, 0,60, 0,55, 0,50, 0,45, 0,40, 0,35, 0,30, 0,25, 0,20, 0,15, 0,10 или 0,05 мг или меньше; или приблизительно 40, 41, 42, 43, 44, 45, 46, 47, 48, 49 или 50 мг декстрометорфанового соединения в комбинации с хинидином в количестве приблизительно 15, 10, 9,5, 9,0, 8,5, 8,0, 7,5, 7,0, 6,5, 6,0, 5,5, 5,00; 4,95, 4,90, 4,85, 4,80, 4,75, 4,70, 4,65, 4,60, 4,55, 4,50, 4,45, 4,40, 4,35, 4,30, 4,25, 4,20, 4,15, 4,10, 4,05, 4,00, 3,95, 3,90, 3,85, 3,80, 3,75, 3,70, 3,65, 3,60, 3,55, 3,50, 3,45, 3,40, 3,35, 3,30, 3,25, 3,20, 3,15, 3,10, 3,05, 3,00, 2,95, 2,90, 2,85, 2,80, 2,75, 2,70, 2,65, 2,60, 2,55, 2,50, 2,45, 2,40, 2,35, 2,30, 2,25, 2,20, 2,15, 2,10, 2,05, 2,00, 1,95, 1,90, 1,85, 1,80, 1,75, 1,70, 1,65, 1,60, 1,55, 1,50, 1,45, 1,40, 1,35, 1,30, 1,25, 1,20, 1,15, 1,10, 1,05, 1,00, 0,95, 0,90, 0,85, 0,80, 0,75, 0,70, 0,65, 0,60, 0,55, 0,50, 0,45, 0,40, 0,35, 0,30, 0,25, 0,20, 0,15, 0,10 или 0,05 мг или меньше; или приблизительно 50, 51, 52, 53, 54, 55, 56, 57, 58, 59 или 60 мг декстрометорфанового соединения в комбинации с хинидином в количестве приблизительно 15, 10, 9,5, 9,0, 8,5, 8,0, 7,5, 7,0, 6,5, 6,0, 5,5, 5,00, 4,95, 4,90, 4,85, 4,80, 4,75, 4,70, 4,65, 4,60, 4,55, 4,50, 4,45, 4,40, 4,35, 4,30, 4,25, 4,20, 4,15, 4,10, 4,05, 4,00, 3,95, 3,90, 3,85, 3,80, 3,75, 3,70, 3,65, 3,60, 3,55, 3,50, 3,45, 3,40, 3,35, 3,30, 3,25, 3,20, 3,15, 3,10, 3,05, 3,00, 2,95, 2,90, 2,85, 2,80, 2,75, 2,70, 2,65, 2,60, 2,55, 2,50, 2,45, 2,40, 2,35, 2,30, 2,25, 2,20, 2,15, 2,10, 2,05, 2,00, 1,95, 1,90, 1,85, 1,80, 1,75, 1,70, 1,65, 1,60, 1,55, 1,50, 1,45, 1,40, 1,35, 1,30, 1,25, 1,20, 1,15, 1,10, 1,05, 1,00, 0,95, 0,90, 0,85, 0,80, 0,75, 0,70, 0,65, 0,60, 0,55, 0,50, 0,45, 0,40, 0,35, 0,30, 0,25, 0,20, 0,15, 0,10 или 0,05 мг или меньше; или приблизительно 60, 61, 62, 63, 64, 65, 66, 67, 68, 69 или 70 мг декстрометорфанового соединение в комбинации с хинидином в количестве приблизительно 15, 10, 9,5, 9,0, 8,5, 8,0, 7,5, 7,0, 6,5, 6,0, 5,5, 5,00, 4,95, 4,90, 4,85, 4,80, 4,75, 4,70, 4,65, 4,60, 4,55, 4,50, 4,45, 4,40, 4,35, 4,30, 4,25, 4,20, 4,15, 4,10, 4,05, 4,00, 3,95, 3,90, 3,85, 3,80, 3,75, 3,70, 3,65, 3,60, 3,55, 3,50, 3,45, 3,40, 3,35, 3,30, 3,25, 3,20, 3,15, 3,10, 3,05, 3,00, 2,95, 2,90, 2,85, 2,80, 2,75, 2,70, 2,65, 2,60, 2,55, 2,50, 2,45, 2,40, 2,35, 2,30, 2,25, 2,20, 2,15, 2,10, 2,05, 2,00, 1,95, 1,90, 1,85, 1,80, 1,75, 1,70, 1,65, 1,60, 1,55, 1,50, 1,45, 1,40, 1,35, 1,30, 1,25, 1,20, 1,15, 1,10, 1,05, 1,00, 0,95, 0,90, 0,85, 0,80, 0,75, 0,70, 0,65, 0,60, 0,55, 0,50, 0,45, 0,40, 0,35, 0,30, 0,25, 0,20, 0,15, 0,10 или 0,05 мг или меньше; или приблизительно 70, 71, 72, 73, 74, 75, 76, 77, 78, 79 или 80 мг декстрометорфанового соединения в комбинации с хинидином в количестве приблизительно 15, 10, 9,5, 9,0, 8,5, 8,0, 7,5, 7,0, 6,5, 6,0, 5,5, 5,00, 4,95, 4,90, 4,85, 4,80, 4,75, 4,70, 4,65, 4,60, 4,55, 4,50, 4,45, 4,40, 4,35, 4,30, 4,25, 4,20, 4,15, 4,10, 4,05, 4,00, 3,95, 3,90, 3,85, 3,80, 3,75, 3,70, 3,65, 3,60, 3,55, 3,50, 3,45, 3,40, 3,35, 3,30, 3,25, 3,20, 3,15, 3,10, 3,05, 3,00, 2,95, 2,90, 2,85, 2,80, 2,75, 2,70, 2,65, 2,60, 2,55, 2,50, 2,45, 2,40, 2,35, 2,30, 2,25, 2,20, 2,15, 2,10, 2,05, 2,00, 1,95, 1,90, 1,85, 1,80, 1,75, 1,70, 1,65, 1,60, 1,55, 1,50, 1,45, 1,40, 1,35, 1.30, 1.25, 1,20, 1,15, 1,10, 1,05, 1,00, 0,95, 0,90, 0,85, 0,80, 0,75, 0,70, 0,65, 0,60, 0,55, 0,50, 0,45, 0,40, 0,35, 0,30, 0,25, 0,20, 0,15, 0,10 или 0,05 мг или меньше; или приблизительно 80, 81, 82, 83, 84, 85, 86, 87, 88, 89, 90 мг декстрометорфанового соединения в комбинации с хинидином в количестве приблизительно 15, 10, 9,5, 9,0, 8,5, 8,0, 7,5, 7,0, 6,5, 6,0, 5,5, 5,00, 4,95, 4,90, 4,85, 4,80, 4,75, 4,70, 4,65, 4,60, 4,55, 4,50, 4,45, 4,40, 4,35, 4,30, 4,25, 4,20, 4,15, 4,10, 4,05, 4,00, 3,95, 3,90, 3,85, 3,80, 3,75, 3,70, 3,65, 3,60, 3,55, 3,50, 3,45, 3,40, 3,35, 3,30, 3,25, 3,20, 3,15, 3,10, 3,05, 3,00, 2,95, 2,90, 2,85, 2,80, 2,75, 2,70, 2,65, 2,60, 2,55, 2,50, 2,45, 2,40, 2,35, 2,30, 2,25, 2,20, 2,15, 2,10, 2,05, 2,00, 1,95, 1,90, 1,85, 1,80, 1,75, 1,70, 1,65, 1,60, 1,55, 1,50, 1,45, 1,40, 1,35, 1,30, 1,25, 1,20, 1,15, 1,10, 1,05, 1,00, 0,95, 0,90, 0,85, 0,80, 0,75, 0,70, 0,65, 0,60, 0,55, 0,50, 0,45, 0,40, 0,35, 0,30, 0,25, 0,20, 0,15, 0,10, или 0,05 мг или меньше; и указанные дозы представляют собой монолитные или разделенные дозы.

[0130] В некоторых вариантах осуществления суточная доза декстрометорфанового соединения и хинидина составляет 30 мг декстрометорфана гидробромида и 30 мг хинидина сульфата. Другие дозы включают, например, 15 мг декстрометорфана гидробромида и 9 мг хинидина сульфата (что соответствует приблизительно 11 мг декстрометорфана и приблизительно 7,5 мг хинидина); 23 мг декстрометорфана гидробромида и 9 мг хинидина сульфата (что соответствует приблизительно 17 мг декстрометорфана и приблизительно 7,5 мг хинидина); 20 мг декстрометорфана гидробромида и 10 мг хинидина сульфата (что соответствует приблизительно 15 мг декстрометорфана и 8,3 мг хинидина); 30 мг декстрометорфана гидробромида и 10 мг хинидина сульфата (что соответствует приблизительно 22 мг декстрометорфана и 8,3 мг хинидина).

[0131] Можно вводить или применять дозу 30 мг d6-декстрометорфана гидробромида (молекулярная формула C18H19D6NO·HBr·H2O) и 30 мг сульфата хинидина (молекулярная формула (С20Н24N2O2)2·H2SO4·2H2O) (что соответствует приблизительно 22,22 мг декстрометорфана и 25 мг хинидина). Другие дозы для d6-дейтерированного декстрометорфана включают, например, 24 мг d6-декстрометорфана гидробромида и 4,75 мг хинидина сульфата (что соответствует приблизительно 18 мг d6-декстрометорфана и приблизительно 3,96 мг хинидина); 4 мг d6-декстрометорфана гидробромида и 4,75 мг хинидина сульфата (что соответствует приблизительно 25,18 мг d6-декстрометорфана и приблизительно 3,96 мг хинидина); 18 мг d6-декстрометорфана гидробромида и 4,9 мг хинидина сульфата (что соответствует приблизительно 13,33 мг d6-декстрометорфана и 4,08 мг хинидина); 24 мг d6-декстрометорфана гидробромида и 4,9 мг сульфата хинидина (что соответствует приблизительно 17,78 мг d6-декстрометорфан и 4,08 мг хинидина); 28 мг d6-декстрометорфана гидробромида и 4,9 мг хинидина сульфата (что соответствует приблизительно 20,74 мг d6-декстрометорфана и 4,08 мг хинидина); 30 мг d6-декстрометорфана гидробромида и 4,9 мг хинидина сульфата (что соответствует приблизительно 22,22 мг d6-декстрометорфана и 4,08 мг хинидина); 34 мг d6-декстрометорфана гидробромида и 4,9 мг хинидина сульфата (что соответствует приблизительно 25,18 мг d6-декстрометорфана и 4,08 мг хинидина).

[0132] В некоторых вариантах осуществления лечение начинают с более низкой суточной дозы, например, приблизительно 18 или 30 мг декстрометорфанового соединения в комбинации с хинидином в количестве приблизительно от 2,5 до 10 мг хинидина в день, и увеличивают приблизительно до 90 мг декстрометорфанового соединения в комбинации с хинидином в количестве приблизительно от 10 до 20 мг хинидина, или с более высокой дозы, в зависимости от общей реакции пациента. В некоторых вариантах осуществления у новорожденных, детей, лиц старше 65 лет и у пациентов с нарушенной функцией почек или печени введение начинают с малых доз, которые можно изменять, исходя из индивидуальной реакции (реакций) и уровня (уровней) в крови. Обычно суточная доза, составляющая от 18 до 90 мг декстрометорфанового соединения и от 4,75 до 20 мг хинидина, хорошо переносится большинством пациентов.

[0133] Специалистам в данной области будет очевидно, что в некоторых случаях можно применять дозировки вне упомянутых в изобретении диапазонов. Дополнительно, следует отметить, что рядовому клиницисту или лечащему врачу известно о тем, как и когда следует прерывать, корректировать или прекращать лечение с учетом индивидуальной реакции.

[0134] Можно применять любой подходящий способ введения для доставки пациенту эффективной дозы декстрометорфанового соединения в комбинации с хинидином для лечения возбуждения и/или агрессии на фоне болезни Альцгеймера. Например, можно применять пероральный, ректальный, чрескожный, парентеральный (подкожный, внутримышечный, внутривенный), интратекальный, местный, ингаляционный и подобные пути введения. Подходящие лекарственные формы включают таблетки, пастилки, дисперсии, суспензии, растворы, капсулы, пластыри и тому подобное. Введение лекарственных средств, изготовленных из описанных в изобретении соединений, можно осуществлять любым подходящим способом, позволяющим доставлять упомянутые соединения в кровеносное русло. В некоторых вариантах осуществления композиции могут содержать смесь активных соединений с фармацевтически приемлемыми носителями или разбавителями, известными специалистам в данной области.

[0135] Фармацевтические композиции, описанные в изобретении, содержат в качестве активных ингредиентов декстрометорфановое соединение в комбинации с ингибитором CYP2D6, таким как хинидин, или фармацевтически приемлемые соли декстрометорфанового соединения и/или хинидина, и также могут содержать фармацевтически приемлемый носитель, и необязательно, другие терапевтические ингредиенты.

[0136] Понятия «фармацевтически приемлемые соли» или «их фармацевтически приемлемые соли» относятся к солям, полученным из фармацевтически приемлемых нетоксичных кислот или оснований. Подходящие фармацевтически приемлемые соли включают соли металлов, например, соли алюминия, цинка; соли щелочных металлов, например, соли лития, натрия и калия; соли щелочноземельных металлов, такие как соли кальция и магния, органические соли, например, соли лизина, Ν,Ν'-дибензилэтилендиамина, хлорпрокаина, холина, диэтаноламина, этилендиамина, меглумина (N- метилглюкамина), прокаина и трис-соединений; соли свободных кислот и оснований; неорганические соли, например, сульфат, гидрохлорид и гидробромид; и другие соли, которые в настоящее время имеют широкое фармацевтическое применение и перечислены в источниках, хорошо известных специалистам в данной области, например, в перечне The Merck Index.

[0137] Может быть выбран любой подходящий компонент для получения соли активного лекарственного средства, описанного в изобретении, при условии, что этот компонент не токсичен и не оказывает значительного влияния на желательное действие. В дополнение к соли, можно использовать фармацевтически приемлемые соединения-предшественники и производные этих соединений. Фармацевтически приемлемые амиды, сложные эфиры низших алкилов и защищенные производные дейтерированного декстрометорфана и/или хинидина также могут подходить для использования в композициях и способах по изобретению. В некоторых вариантах осуществления дейтерированный декстрометорфан применяют в виде дейтерированного декстрометорфана гидробромида, декстрометорфан применяют в виде декстрометорфана гидробромида, и хинидин применяют в виде хинидина сульфата.

[0138] Композиции могут быть приготовлены в любой желаемой форме, например, таблетки, порошки, капсулы, формы для инъекций, суспензии, саше, облатки, пластыри, растворы, эликсиры и аэрозоли. В пероральных твердых лекарственных формах могут быть использованы носители, такие как крахмалы, сахар, микрокристаллическая целлюлоза, разбавители, гранулирующие вещества, смазывающие вещества, связующие вещества, дезинтегрирующие вещества и тому подобное. В некоторых вариантах осуществления композиции готовят в виде пероральных твердых форм (таких как порошки, капсулы и таблетки). В некоторых вариантах осуществления композиции готовят в виде пероральных жидких форм. В некоторых вариантах осуществления пероральные твердые формы представляют собой таблетки. Если это желательно, на таблетки можно наносить покрытие с помощью стандартных технологий на водной или безводной основе.

[0139] В дополнение к описанным выше дозированным лекарственным формам, соединения по изобретению также можно вводить в виде композиций с длительным высвобождением, отсроченным высвобождением или с регулируемым высвобождением и/или с помощью устройств для доставки, например, таких, как устройства, описанные в патентах США №№ 3845770, 3916899, 3536809, 3598123 и 4008719.

[0140] Фармацевтические композиции, подходящие для перорального введения, могут быть представлены в виде дискретных лекарственных форм, таких как капсулы, саше, облатки, пластыри, формы для инъекций, таблетки и аэрозольные спреи, при этом каждая из указанных лекарственных форм содержит заранее определенные количества активных ингредиентов. Указанные фармацевтические композиции также могут быть представлены в виде порошка или гранул, или в виде раствора или суспензии в водной жидкости, неводной жидкости, в виде эмульсии масло-в-воде или жидкой эмульсии вода-в-масле. Такие композиции могут быть получены с помощью любого из общепринятых в фармации способов, но большинство из способов обычно включает этап присоединения активных ингредиентов к носителю, который состоит из одного или нескольких ингредиентов. В общем, такие композиции получают путем равномерного и тщательного смешивания активных ингредиентов с жидкими носителями, тонко измельченными твердыми носителями или с обоими типами носителей, после чего, при необходимости, выполняют формование продукта для придания желательного внешнего вида.

[0141] Например, таблетку можно изготовить путем прессования или формования, необязательно с одним или несколькими дополнительными ингредиентами. Прессованные таблетки можно делать в подходящем устройстве путем прессования активного ингредиента в свободно-текучей форме, например, в виде порошка или гранул, необязательно смешанных со связующим веществом, смазывающим веществом, инертным разбавителем, поверхностно-активным или диспергирующим веществом. Формованные таблетки могут быть изготовлены в подходящем устройстве путем формования смеси порошкообразного соединения, увлажненного инертным жидким разбавителем.

[0142] В некоторых вариантах осуществления каждая таблетка содержит приблизительно от 30 мг декстрометорфана гидробромида и 30 мг хинидина сульфата. Таблетка может включать, например, 15 мг декстрометорфана гидробромида и 9 мг хинидина сульфата (что соответствует приблизительно 11 мг декстрометорфана и приблизительно 7,5 мг хинидина); 23 мг декстрометорфана гидробромида и 9 мг хинидина сульфата (что соответствует приблизительно 17 мг декстрометорфана и приблизительно 7,5 мг хинидина); 20 мг декстрометорфана гидробромида и 10 мг хинидина сульфата (что соответствует приблизительно 15 мг декстрометорфана и 8,3 мг хинидина); 30 мг декстрометорфана гидробромида и 10 мг хинидина сульфата (что соответствует приблизительно 22 мг декстрометорфана и 8,3 мг хинидина).

[0143] Таблетка может включать 30 мг d6-декстрометорфана гидробромида (молекулярная формула C18H19D6NO·HBr·H2O) и 30 мг хинидина сульфата (молекулярная формула (C20H24N2O2)2·H2SO4·2H2O) (что соответствует приблизительно 22,22 мг декстрометорфана и 25 мг хинидина). Таблетка может содержать другие дозировки, например, 24 мг d6-декстрометорфана гидробромида и 4,75 мг хинидина сульфата (что соответствует приблизительно 18 мг d6-декстрометорфана и приблизительно 3,96 мг хинидина); 34 мг d6-декстрометорфана гидробромида и 4,75 мг хинидина сульфата (что соответствует приблизительно 25,18 мг d6-декстрометорфана и приблизительно 3,96 мг хинидина); 18 мг d6-декстрометорфана гидробромида и 4,9 мг хинидина сульфата (что соответствует приблизительно 13,33 мг d6-декстрометорфана и 4,08 мг хинидина); 24 мг d6-декстрометорфана гидробромида и 4,9 мг хинидина сульфата (что соответствует 17,78 мг d6-декстрометорфана и 4,08 мг хинидина); 28 мг d6-декстрометорфана гидробромида и 4,9 мг хинидина сульфата (что соответствует приблизительно 20,74 мг d6-декстрометорфана и 4,08 мг хинидина); 30 мг d6-декстрометорфана гидробромида и 4,9 мг хинидина сульфата (что соответствует приблизительно 22,22 мг d6-декстрометорфана и 4,08 мг хинидина); 34 мг d6-декстрометорфана гидробромида и 4,9 мг хинидина сульфата (что соответствует приблизительно 25,18 мг d6-декстрометорфана и 4,08 мг хинидина).

[0144] Используемое в изобретении понятие «минимальное терапевтически эффективное количество» означает такое количество, которое приводит к удовлетворительному ингибированию быстрой элиминации декстрометорфанового соединения из организма, при этом не оказывает никакого неблагоприятного эффекта или вызывает неблагоприятные явления только в приемлемой степени и с приемлемыми характеристиками. Более конкретно, в некоторых вариантах осуществления терапевтически эффективное количество декстрометорфанового соединения находится в диапазоне приблизительно от 9, 10, 18, 20, 25 или 30 мг приблизительно до 90 мг в день, и терапевтически эффективное количество хинидина составляет менее чем приблизительно 50 мг в день. В некоторых вариантах осуществления терапевтически эффективное количество декстрометорфанового соединения находится в диапазоне приблизительно от 20 или 30 мг приблизительно до 90 мг в день, и приблизительно от 0,5 мг приблизительно до 30 мг хинидина в день. В некоторых вариантах осуществления это количество вводят в дозе, разделенной исходя из периода полувыведения из плазмы декстрометорфанового соединения. Например, в одном варианте осуществления дейтерированный декстрометорфан и хинидин назначают с конкретным шагом приращения в мг для достижения целевой концентрации дейтерированного декстрометорфана с заданным уровнем в пг/мл в плазме, при этом максимальную конкретную дозу дейтерированного декстрометорфана и хинидина определяют, исходя из массы тела. В некоторых вариантах осуществления целевая доза вводится через каждые 12 часов. В некоторых вариантах осуществления целевая доза вводится один раз в день. В некоторых вариантах осуществления минимизируют уровень хинидина, и побочные эффекты, наблюдаемые при высоких дозах хинидина, сводятся к минимуму или исключаются, что дает значительное преимущество по сравнению с композициями, содержащими декстрометорфановое соединение в комбинации с хинидином при его более высоком содержании.

[0145] В некоторых вариантах осуществления вводят другие терапевтические вещества в комбинации с декстрометорфановым соединением и хинидином. Например, декстрометорфановое соединение и хинидин можно вводить в комбинации с соединением для лечения депрессии и тревожности.

[0146] В некоторых вариантах осуществления декстрометорфановое соединение и хинидин применяют в качестве адъюванта известных терапевтических веществ, предназначенных для лечения симптомов болезни Альцгеймера. Вещества для лечения симптомов болезни Альцгеймера включают без ограничения ингибиторы холинэстеразы, такие как донепезил, ривастигмин, галантамин и такрин, мемантин и витамин Е.

ПРИМЕРЫ

Пример 1: Клиническое исследование возбуждения и агрессии при болезни Альцгеймера

[0147] Было проведено клиническое исследование с целью определения эффективности комбинации декстрометорфана и хинидина для уменьшения возбуждения и/или агрессии у пациентов с болезнью Альцгеймера.

[0148] Это исследование длительностью 10 недель представляло собой рандомизированное двойное слепое плацебо-контролируемое многоцентровое исследование эффективности пероральной формы декстрометорфана/хинидина у пациентов с предполагаемой болезнью Альцгеймера и клинически значимыми симптомами возбуждения. Исследование проводились в 42 учреждениях США, в том числе в амбулаторных клиниках для пациентов с болезнью Альцгеймера, учреждениях сестринского ухода и домах для проживания с уходом.

[0149] К исследованию были допущены участники в возрасте от 50 до 90 лет с предполагаемой болезнью Альцгеймера (по критериям Национального института ассоциации возраста и болезни Альцгеймера - 2011/National Institute on Aging-Alzheimer Association - 2011) и клинический значимыми симптомами возбуждения, которые были определены как состояние плохо организованной и бесцельной психомоторной активности, характеризуемое по меньшей мере одной из следующих моделей поведения: вербальная агрессия (например, крики, сквернословие); физическая агрессия (например, уничтожение предметов, хватание руками, драчливость); и неагрессивная физическая активность (например, ходьба взад и вперед, беспокойство). Подходящие участники проявляли возбуждение (периодически или постоянно) в течение 7 дней до скрининга, и симптомы возбуждения должны были быть настолько серьезными, что они мешали повседневной жизни и требовали медикаментозного лечения. Подходящие участники также оценивались по уровню возбуждения≥4 (болезнь средней тяжести) на основании шкалы общего клинического впечатления о тяжести заболевания (CGIS) и по краткой шкале оценки психического статуса (Mini Mental State Examination (MMSE)) получили от 8 до 28 баллов. Был разрешен прием лекарственных средств против болезни Альцгеймера в постоянных дозах (≥2 месяцев, мемантин и/или ингибиторы ацетилхолинэстеразы) и антидепрессантов, нейролептиков или снотворных (≥1 месяца, в том числе прием бензодиазепинов и не бензодиазепинов короткого действия); при этом дозы должны были оставаться постоянными на протяжении всего исследования. Во время исследования был разрешен прием пероральной формы лоразепама (в максимальной дозе 1,5 мг/день и не более 3 дней в течение 7-дневного периода) в качестве лекарства «спасения» при возбуждении, если выполняющий наблюдение исследователь считал это необходимым.

[0150] Применялись следующие критерии исключения: деменция, не обусловленная болезнью Альцгеймера, возбуждение не является вторичным по отношению к болезни Альцгеймера, госпитализации в психиатрическое учреждение, выраженная депрессия (≥10 по шкале депрессии Корнелла (Cornell) при деменции [CSDD]), шизофрения, шизоаффективное или биполярное расстройство, миастения (поскольку противопоказано применение хинидина) или клинически значимое/нестабильное системное заболевание; полная блокада сердца в анамнезе, корригированное изменение удлинения интервала QT (QTc) или желудочковая тахикардия по типу пируэт (torsades de pointes); врожденное удлинение QT в семейном анамнезе; постуральные или необъяснимые обмороки в течение последнего года в анамнезе; или алкогольная/химическая зависимость в течение 3-х лет. Не разрешался прием антипсихотических лекарственных средств первого поколения, трициклических антидепрессантов и ингибиторов моноаминоксидазы.

[0151] 10-недельное исследование состояло из 2 последовательных двойных слепых этапов продолжительностью 5 недель (этап 1 и этап 2) (фигура 2). На этапе 1 участники были рандомизированы в соотношении 3:4 (активное вещество: плацебо). Рандомизация на этапе 1 была стратифицирована по исходной когнитивной функции (MMSE > 15 по сравнению≥15) и тяжести возбуждения (4-5 баллов CGIS по сравнению с 6-7 баллами); блочная рандомизация служила гарантией равномерности лечения в каждой страте. В течение первых 7 дней этапа 1 (дни 1-7) группа лечения активным веществом получала препарат AVP-923-20 (20 мг декстрометорфана и 10 мг хинидина) утром и плацебо вечером, и группа плацебо получала плацебо два раза в день. В течение следующих 2-х недель этапа 1 (дни 8-21) группа AVP-923 получала препарат AVP-923-20 два раза в день, и группа плацебо получала плацебо два раза в день. На 22 день дозу препарата увеличивали для группы AVP, с введением препарата AVP-923-30 (30 мг декстрометорфана и 10 мг хинидина) два раза в день. Группа AVP продолжала получать AVP-923-30 два раза в день в течение оставшихся 2-х недель этапа 1 (дни 22-35). Участники, получавшие плацебо, продолжала получать плацебо два раза в день.

[0152] На этапе 2 участники, которые получали препарат AVP-923 на этапе 1, продолжали получать AVP-923 два раза в день в течение всего периода 5 недель. Участники, которые получали плацебо на этапе 1, были разделены на две подгруппы, в зависимости от их клинического ответа, который оценивался по их клиническому впечатлению о тяжести заболевания (CGIS) в баллах и по нейропсихиатрическому опроснику (NPI) в отношении домена возбуждения/агрессии, по баллам возбуждения в конце 1 этапа (визит 4). Участники считались ответившими на лечение «респондентами», если оценка возбуждения по CGIS была меньше 3 (болезнь средней тяжести), и их оценка домена возбуждения/агрессии NPI снизилась на 25% или больше по сравнению с исходным показателем. Участники, не соответствующие этим критериям, были отнесены к группе «нереспондентами», то есть, лиц, не ответивших на лечение. После этого каждая из подгрупп плацебо (респонденты и нереспонденты) была повторно рандомизирована в соотношении 1:1 для введения или препарата AVP-923 или соответствующего плацебо. Участники, которые получали плацебо в течение этапа 1 и были повторно рандомизированы в группу AVP-923 на этапе 2, получали препарат AVP-923-20 утром и плацебо вечером в течение первых 7 дней исследования (этап 2, дни 36-42). Начиная с 43-его дня, участники получали препарат AVP-923-20 два раза в день в течение 2 недель подряд (этап 2, дни 43-56), затем, начиная с дня 57, участники получали препарат AVP-923-30 два раза в день в течение оставшихся 2-х недель (этап 2, дни 57-70) до завершения исследования.

[0153] Участники посещали исследовательский центр для скринингового обследования, определения исходного уровня (день 1) и в дни 8, 22, 36, 43, 57 и 70 (визиты 2-7). Продолжительность участия каждого пациента в этом исследовании составила приблизительно 14 недель, включая этап скрининга. Образцы крови для измерения уровней лекарственного вещества в плазме крови собирали на 36-й день (визит 4) и на 70-й день (визит 7). Образцы крови для определения генотипа по цитохрому P450-2D6 (CYP2D6) собирали в день 1 (визит исходного уровня).

[0154] Исследователь или спонсор исследования имел возможность исключить участника из исследования в случае интеркуррентного заболевания, неблагоприятного явления, других причин, касающихся здоровья или благополучия участника, или в случае отсутствия сотрудничества, не соблюдения режима лечения, нарушения протокола или других административных причин. Дополнительно, из исследования были исключены участники, у которых был выявлен интервал QTc (коррекция по Bazett QT (QTcB) или коррекция по Fridericia QT (QTcF))>500 мсек (за исключением желудочковой стимуляции) или изменение интервала QTc от скрининговых электрокардиографических (ЭКГ) данных >60 мс в любой период после рандомизации. Оценивали клиническую значимость значений QTc и регистрировали их. Участников, выбывших до завершения исследования, просили вернуться в исследовательский центр для завершающего визита 7 с целью оценки (конец исследования). Если участник был исключен или выбыл из исследования до его завершения, прилагались все усилия для регистрации показателей такого участника. Если участник выбыл из исследования и лицом, осуществляющим уход и/или представителем участника было отозвано согласие на раскрытие информации в будущем, никакие дальнейшие оценки не проводились и никакие дополнительные данные не собирались.

[0155] Участники и лица, осуществляющие уход, были проинструктированы о том, что участник должен принимать исследуемый препарат приблизительно через каждые 12 часов±4 часа перорально с водой (утром и вечером). Препарат AVP-923 и плацебо были представлены в виде одинаковых капсул и упакованы в белые пластиковые флаконы объемом 85 см3 с защищенной от детей крышкой (один флакон с белой этикеткой для утреннего приема и второй флакон с синей этикеткой для вечернего приема). Композиции капсул AVP-923 и плацебо приведены в таблице 2.

Таблица 2:

Ингредиенты
(количество в мг)
AVP-923-30 AVP-923-20 Плацебо
декстрометорфан гидробромид USP,EP 30,00 20,00 0 хинидин сульфат дигидрат USP,EP 10,00 10,00 0 натрия кроскармеллоза NF 7,80 7,80 7,80 микрокристаллическая целлюлоза NF 94,00 94,00 94,00 коллоидный диоксид кремния NF 0,65 0,65 0,65 лактоза моногидрат NF 116,90 126,90 156,90 магния стеарат NF 0,65 0,65 0,65

EP=Европейская фармакопея; USP=Фармакопея США; NF=Национальный формуляр

[0156] Участники и лица, осуществляющие уход, были проинструктированы о необходимости возврата в исследовательский центр любых неиспользованных исследуемых препаратов и пустых флаконов в дни 8, 22, 36, 43, 57 и 70 (визиты 2-7). В этом исследовании соблюдение пациентом режима определялось как прием участником не менее 80% назначенной дозы. Лица, осуществляющие уход, получали дневники пациента и инструкции по ежедневной записи в дневнике сведений о количестве принимаемых капсул и времени приема. Дневники пациента собирали в дни 8, 22, 36, 43, 57 и 70 (визиты 2-7) или на момент досрочного прекращения участия в исследовании.

Эффективность

[0157] Основной конечной точкой эффективности было улучшение показателей NPI-домена возбуждения/агрессии. Вторичные конечные точки эффективности включали изменения общей оценки NPI от исходного уровня (диапазон от 1 до 144), отдельные оценки по домену NPI и совокупные баллы NPI, охватывающие домены возбуждения/агрессии, аберрантного двигательного поведения и раздражения/ лабильности плюс или оценки тревожности (NPI4A) или растормаживания (NPI4D). NPI-оценка дистресса лица, осуществляющего уход, (NPI-CDS; от 0 (отсутствие дистресса) до 5 (очень сильный дистресс) фиксировалась для каждого положительно оцененного домена NPI. Оценки ADCS-CGIC (модифицированное коллективное исследование болезни Альцгеймера - общая клиническая оценка изменений от 1 до 7 (от значительного улучшения до значительного ухудшения) и общая клиническая оценка изменений пациентом (PGI-C), которую составлял ухаживающий за пациентом человек (от 1 - очень выраженное улучшение до 7 - очень серьезное ухудшение) проводились на 5-й и 10-й неделе и предполагали измерение клинической значимости. Дополнительные вторичные конечные точки включали ADCS - опросник активностей повседневной жизни (ADCS-ADL, от 0 до 54, более высокие баллы означают более высокую активность); шкалу Корнелла для оценки депрессии при деменции CSDD (от 0 до 38, более высокие баллы означают более тяжелую депрессию); показатель напряжения лица, осуществляющего уход (CSI; от 0 до 13, более высокие баллы означают более высокий уровень напряжения); качество жизни при болезни Альцгеймера (QOL-AD, от 13 до 52, более высокая оценка означает лучшее качество жизни); и изменения психотропной лекарственной терапии/использование препарата спасения лоразепама. Когнитивную функцию оценивали с использованием MMSE (от 0 до 30, более низкая оценка означает более выраженные когнитивные нарушения) и оценочную шкалу нарушений при болезни Альцгеймера - когнитивной субшкале (ADAS-cog; от 0 до 70, более высокая оценка означает более выраженные когнитивные нарушения). Результаты исследования безопасности включали оценку нежелательных явлений (НЯ), жизненно важных признаков, результаты клинических лабораторных исследований и данные ЭКГ. Показатели интервала QT были скорректированы по изменению частоты сердечных сокращений и были использованы расчеты QTcF (QT/3√[RR]).

[0158] Описанные выше параметры эффективности оценивались в следующих временных точках в ходе исследования: CSI и все домены NPI были оценены на исходном уровне и на неделе 1, 3, 5, 6, 8 и 10; возбуждение по ADCS-CGIC, качество жизни QOL-AD (оценка лица, осуществляющего уход), и когнитивные нарушения ADAS-cog оценивались на исходном уровне и на неделе 5 и 10; показатели CSDD и MMSE оценивались при скрининге и на неделе 5 и 10; и показатели PGI-С оценивались на неделе 5 и 10.

[0159] Первичные и вторичные конечные точки эффективности были проанализированы на основе известных способов по схеме последовательного параллельного сравнения (SPCD) (Fava et al., Psychother. Psychosom. 2003;72(3):115-127; Chen et al., Contemp. Clin. Trials., 2011;32(4):592-604) с анализом данных от обоих 5-недельных этапов с взвешиванием 1:1 с использованием способа обычных наименьших квадратов (OLS), при этом в анализ были включены все участники из этапа 1, и только повторно рандомизированные нереспонденты, получавшие плацебо (фигура 2) из этапа 2. Анализ первичной конечной точки исследования был задан предварительно; не проводилась коррекция с целью устранения множественности во вторичных конечных точках. Группу введения декстрометорфана/хинидина и группу плацебо сравнивали с помощью 2-сторонних тестов с уровнем значимости альфа=0,05. Дополнительно, выполняли ковариационный анализ (ANCOVA), в котором лечение считалось фиксированным эффектом, а исходный уровень служил ковариатой, для сравнения показателей в группе лечения на каждом этапе и на момент каждого визита, по отдельности. Наконец, для модели 10-недельной схемы с параллельной группой (как показано на фигуре 2) проводили предварительно заданное сравнение NPI-оценок возбуждения/агрессии среди участников, которые были рандомизированы на группы, получавшие только декстрометорфан/хинидин (n=93) или только плацебо (n=66) в течение всех 10 недель исследования (независимо от статуса ответа на лечение). Все статистические анализы были выполнены с использованием программного обеспечения SAS® версии 9.1 или выше (SAS Institute, Cary, NC, USA).

[0160] Для гарантии достоверности результатов первичного анализа и с учетом использования методологии SPCD, были проведены дополнительные поисковые анализы чувствительности первичной конечной точки. В одном из анализов использовалась модель повторных измерений (MMRM, предварительно заданная), описанная авторами Doros et al. (Doros et al., Stat. Med. 2013; 32 (16):2767-2789), для проверки потенциального влияния отсутствующих данных и исключения повторно рандомизированных пациентов - «респондентов» из группы плацебо на этапе 2. В этой модели используются все доступные данные из NPI-домена возбуждения/агрессии. Для оценки эффекта лечения использовали три отдельные модели, и в анализ включали данные, собранные на исходном уровне, в конце этапа 1 и в конце этапа 2, и применение обобщенной модели позволило включить данные от промежуточных визитов. На основе рекомендации FDA (Управление по контролю за качеством пищевых продуктов и лекарственных препаратов США) был проведен второй анализ чувствительности первичной конечной точки с использованием способа внешне не связанных уравнений (SUR) (Doros et al., Stat. Med. 2013; 32(16):2767-2789; Zellner et al., J. Am. Stat. Assoc. 1962; 57(298):348-368; Tamura and Huang, Clin. Trials. 2007; 4(4):309-317) в схеме последовательного параллельного сравнения (SPCD), вместо способа наименьших квадратов, после вывода из слепого способа исследования, чтобы установить могли ли недостающие данные быть пропущены не случайно. В дополнение к вышеуказанному, был проведен предварительно заданный поисковый анализ первичной конечной точки, для которого применялась та же методика SPCD, описанная выше для первичного анализа, но в этом случае в анализ были включены обе группы плацебо, и респонденты и нереспонденты, которые были повторно рандомизированы на этапе 2.

[0161] В опубликованных исследованиях по лечению обусловленного деменцией возбуждения оценки стандартного отклонения (SD) в значениях изменения NPI-баллов возбуждения/агрессии были в диапазоне от 3,1 до 5,2 единиц (Herrmann et al., CNS Drugs. 2011; 25(5):425-433; Mintzer et al., Am. J. Geriatr. Psychiatry. 2007; 15(11):918-931; Herrmann et al., Dement. Geriatr. Cogn. Disord. 2007; 23(2):116-1199). Предполагается, что SD составляет 5,0 единиц, и на основе 2-стороннего 2-выборочного сравнения значений из независимых выборок на уровне значимости 5% был рассчитан размер выборки из 196 участников, чтобы обеспечить 90% мощность для обнаружения средней разности 2,5 единицы. Расчет размера выборки был основан на параллельной схеме, поскольку не проводилось предшествующего анализа SPCD в отношении лечения возбуждения у пациентов с болезнью Альцгеймера.

[0162] В группу для анализа безопасности были включены все участники, которые принимали по меньшей мере 1 дозу исследуемого препарата. В группу для модифицированного анализа выборки, включающей всех пациентов, первоначально отобранных для исследования (mITT) для оценки эффективности были включены все участники, оцененные по NPI после определения исходного уровня на возбуждение/агрессию на этапе 1. Отсутствующие данные были замещены с использованием последнего документированного значения.

[0163] В группу анализа безопасности были включены все 220 рандомизированных участников (126 женщин, 94 мужчин); 218 участников составили группу анализа mITT на эффективность, при этом завершили исследование 194 участника (88,2%) (фигура 3). Применялись способы SPCD и повторная рандомизация группы плацебо на момент начала этапа 2. В общей сложности 152 участника получали декстрометорфан/хинидин (93 участника начали на этапе 1 и дополнительно 49 повторно рандомизированных участников из группы плацебо на этапе 2), и 127 участников получали плацебо, в результате чего воздействие в группе декстрометорфана/хинидина было приблизительно на 26,7% больше (1153 пациенто-недели), чем в группе плацебо (91 пациенто-неделя). Семнадцать участников (11,2%) прекратили исследование во время приема декстрометорфана/хинидина, и 9 участников (7,1%) прекратили исследование во время приема плацебо, в том числе 8 участников (5,3%) и 4 участника (3,1%) по причине нежелательных явлений (НЯ), соответственно. Участники по своим показателям были пропорционально распределены между группами лечения и представлены в таблице 3 и таблице 4 (группа исследования эффективности mITT). В повторно рандомизированной группе на этапе 2 эти показатели также были пропорционально распределены. Данные mITT от повторно рандомизированной группы плацебо, полученные способом SPCD, приведены в таблице 3.

Таблица 3

Показатели Плацебо (n=127)а Декстрометорфан/хинидин (n=93)а Возраст (лет), среднее значение, стандартное отклонение (SD) 77,8 (7,2) 77,8 (8,0) Возраст 75 лет, n (%) 86 (67,7) 68 (73,1) Женщины, n (%) 74 (58,3) 52 (55,9) Расовая принадлежность, n (%) Белые 118 (92,9) 84 (90,3) Черные или афроамериканцы 6 (4,7) 5 (5,4) Азиаты 1 (0,8) 3 (3,2) Коренные гавайцы или другие выходцы с тихоокеанских островов 0 1 (1,1) Другие 2 (1,6) 0 Этническая принадлежность Латиноамериканец или мексиканец 13 (10,2) 7 (7,5) Местонахождение, n (%) Амбулаторно 111 (87,4) 82 (88,2) Дом для проживания с уходом 10 (7,9) 5 (5,4) Учреждение с сестринским уходом 6 (4,7) 6 (6,5) Сопутствующее медикаментозное лечение, n (%) Ингибиторы ацетилхолинэстеразы 95 (74,8) 67 (72,0) Мемантин 66 (52,0) 43 (46,2) Антидепрессанты 65 (51,2) 57 (61,3) Антипсихотические средства 29 (22,8) 16 (17,2) Бензодиазепины 12 (9,5) 6 (6,5) Бензодиазепино-подобные производные 12 (9,5) 6 (6,5) Падения в анамнезе, n(%) 16 (12,6) 16 (17,2) Ранжирование по оценочной шкале b, среднее значение (SD) Возбуждение по CGI-S 4,5 (0,7) 4,4 (0,6) Возбуждение/агрессия по NPI 7,0 (2,4) 7,1 (2,6) Общая оценка NPI 38,0 (18,7) 40,1 (19,6) Аберрантное двигательное поведение по NPI 3,5 (4,2) 4,3 (4,4) Раздражительность/лабильность по NPI 5,4 (3,2) 5,8 (3,7) NPI4A 20,1 (8,3) 20,9 (9,4) NPI4D 18,5 (9,2) 19,8 (9,1) Дистресс лица, осуществляющего уход, по NPI (возбуждение) 3,0 (1,0) 3,3 (0,9) Дистресс лица, осуществляющего уход, по NPI (общая оценка) 17,0 (8,3) 17,9 (8,0) CSI 6,8 (3,6) 6,9 (3,2) CSDD 5,8 (2,4) 5,9 (2,4) QOL-AD 37,2 (6,4) 36,5 (7,4) QOL-AD 30,1 (6,0) 30,9 (6,0) MMSE 17,2 (5,8) 17,4 (6,0) ADAS-cog 32,0 (15,2) 30,6 (14,1) ADCS - ADL 34,1 (12,8) 35,8 (11,9) Оценки исходного уровня возбуждения CGIS, b, n (%) 4 (средняя тяжесть заболевания) 77 (60,6) 61 (65,6) 5 (значительная тяжесть заболевания) 40 (31,5) 28 (30,1) 6 или 7 (тяжелая форма или среди наиболее тяжело больных) 10 (7,9) 4 (4,3)

Характеристики участников по группам лечения. aГруппа анализа безопасности при рандомизации. bМодифицированный анализ выборки, включающей всех пациентов, первоначально отобранных для исследования (mITT), в анализе эффективности (плацебо, n= 125, декстрометорфан/хинидин (n=93).

Таблица 4

Показатели Плацебо Декстрометорфан/хинидин Пол n 125 93 Женщины 74 (59,2%) 52 (55,9%) Мужчины 51 (40,8%) 41 (44,1%) Расовая принадлежность n 125 93 Белые 116 (92,8%) 84 (90,3%) Черные или афроамериканцы 6 (4,8%) 5 (5,4%) Азиаты 1 (0,8%) 3 (3,2%) Американские индейцы или коренные жители Аляски 0 0 Коренные гавайцы или другие коренные жители тихоокеанских островов 0 1 (1,1%) Другие 2 (1,6%) 0 Этническая принадлежность n 125 93 Латиноамериканец или мексиканец 13 (10,4%) 7 (7,5%) Не латиноамериканец и не мексиканец 112 (89,6%) 86 (92,5%) Возраст (лет) n 125 93 Среднее значение 77,6 77,8 SD 7,19 8,01 Минимальное 56 53 Медиана 78,0 78,0 Максимальное 90 90 Возрастная группа 2 (лет) n 125 93 < 75 41 (32,8%) 25 (26,9%) ≥ 75 84 (67,2%) 68 (73,1%) Жилищные условия пациента n 125 93 Амбулаторный пациент 109 (87,2%) 82 (88,2%) Дом для проживания с уходом 10 (8,0%) 5 (5,4%) Учреждение с сестринским уходом 6 (4,8%) 6 (6,5%) Оценка возбуждения по CGI-S n 125 93 Среднее значение 4,5 4,4 SD 0,67 0,57 Минимальное 4 4 Медиана 4,0 4,0 Максимальное 7 6 Подгруппа по метаболизму CYP2D6 n 121 85 Слабый метаболизм 7 (5,8%) 9 (10,6%) Средний метаболизм 48 (39,7%) 38 (44,7%) Протяженный метаболизм 65 (53,7%) 35 (41,2%) Сверхбыстрый метаболизм 1 (0,8%) 3 (3,5%)

Популяционная группа из модифицированного анализа выборки, включающей всех пациентов, первоначально отобранных для исследования (mITT), в анализе эффективности на основе рандомизации на этапе 1. В группу с «протяженным» метаболизмом входят пациенты с «нормальным» или «нормальным или средним» метаболизмом

Таблица 5

Показатели Плацебо Декстрометорфан/хинидин Пол n 45 44 Женщины 29 (64,4%) 23 (52,3%) Мужчины 16 (35,6%) 21 (47,7%) Расовая принадлежность n 45 44 Белые 41 (91,1%) 42 (95,5%) Черные или афроамериканцы 2 (4,4%) 2 (4,5%) Американские индейцы или коренные жители Аляски 0 0 Другие 2 (4,4%) 0 Этническая принадлежность n 45 44 Латиноамериканец или мексиканец 6 (13,3%) 2 (4,5%) Не латиноамериканец и не мексиканец 39 (86,7%) 42 (95,5%) Возраст (лет) n 45 44 Среднее значение 77,3 78,3 SD 7,02 7,40 Минимальное 59 60 Медиана 78,0 80,0 Максимальное 89 90 Возрастная группа 2 (лет) n 45 44 < 75 17 (37,8%) 13 (29,5%) ≥ 75 28 (62,2%) 31 (70,5%) Жилищные условия пациента n 45 44 Амбулаторный пациент 39 (86,7%) 41 (93,2%) Дом для проживания с уходом 4 (8,9%) 2 (4,5%) Учреждение с сестринским уходом 2 (4,4%) 1 (2,3%) Оценка возбуждения по CGI-S n 45 44 Среднее значение 4,6 4,6 SD 0,75 0,66 Минимальное 4 4 Медиана 4,0 4,5 Максимальное 7 6 Подгруппа по метаболизму CYP2D6 n 45 41 Слабый метаболизм 2 (4,4%) 3 (7,3%) Средний метаболизм 13 (28,9%) 19 (46,3%) Протяженный метаболизм 30 (66,7%) 18 (43,9%) Сверхбыстрый метаболизм 1 (2,4%)

Повторно рандомизированные участники из группы плацебо - нереспонденты из модифицированного анализа выборки, включающей всех пациентов, первоначально отобранных для исследования (mITT), выполненного по схеме последовательного параллельного сравнения (SPCD) на этапе 2. В группу с «протяженным» метаболизмом входят пациенты с «нормальным» или «нормальным или средним» метаболизмом

[0164] Декстрометорфан/хинидин значительно улучшает NPI-оценки возбуждения/агрессии по сравнению с плацебо в первичном анализе SPCD (Z-статистика из способа наименьших квадратов OLS: -3,95, P< 0,001) в популяционной группе mITT. Результаты от каждого этапа также показывают преимущество декстрометорфана/хинидина по сравнению с плацебо (таблица 6). На этапе 1 средние NPI-оценки (95% Ci) возбуждения/агрессии снизились от 7,1 (6,6, 7,6) до 3,8 (3,1, 4,5) при введении декстрометорфана/хинидина и от 7,0 (6,6, 7,4) до 5,3 (4,7, 5,9) при введении плацебо (P< 0,001), при средней разности (95% Ci) лечения по способу наименьших квадратов (LS) -1,5 (-2,3 -0,7). Дифференциальный отклик был отмечен на 1-й неделе (-0,8 [-1,5, -0,03], P=0,04; фигура 4. На этапе 2 (нереспонденты из группы плацебо, повторно рандомизированные или в группу декстрометорфана/хинидина или в группу плацебо) средние NPI-оценки (95% Ci) возбуждения/агрессии снизились от 5,8 (4,9, 6,7) до 3,8 (2,9, 4,7) при введении декстрометорфана/хинидина и от 6,7 (5,9, 7,5) до 5,8 (4,7, 6,9) при введении плацебо (P=0,02), при средней разности (95% Ci) лечения по способу наименьших квадратов (LS) -1,6 [-2,9, -0,3]; фигура 5). Улучшения в NPI-домене возбуждения/агрессии были статистически значимы на 1-й неделе и в каждой точке времени до завершения исследования, за исключением 6-й недели (на этапе 2). Предварительно заданное сравнение NPI-оценки возбуждения/агрессии среди участников, которые были рандомизированы по группам введения только декстрометорфана/хинидина (n=93) или только плацебо (n=66) в течение всех 10 недель испытания (независимо от статуса ответа на лечение (респондент или нереспондент) с моделированием схемы с параллельной группой, как показано на фигуре 2), также показывает преимущество декстрометорфана/хинидина по сравнению с плацебо (средняя разность (95% Ci) лечения по способу наименьших квадратов (LS) -1,8 [-2,8, -0,7]; таблица 6, фигура 6). Реакция на декстрометорфан/хинидин по сравнению с плацебо, по-видимому, не имеет различий в зависимости от стадии заболевания. В результате стратифицированной рандомизации в зависимости от исходной оценки MMSE (> 15 по сравнению с≤15) и исходного уровня CGIS (4 или 5 по сравнению с 6 или 7) были выделены пропорциональные группы лечения, предназначенные и для оценки возбуждения и для оценки когнитивной функции. Дополнительные анализы, проведенные для оценки потенциального влияния этих факторов, не предполагали отличия в ответах, хотя размеры некоторых страт в этих анализах были малы, и для таких наблюдений требуется подтверждение в более крупных исследованиях.

Таблица 6

Параметр Этап N/N Декстро-меторфан/
хинидин/
плацебо
Декстро-меторфан/
хинидин, Среднее изменение от исходного уровня
(95% Ci)
P-значение на этапеa,b Средняя разница в лечении по OLS
(95% Ci)
P-значение SPCDh
Возбуждение/агрессия по NPId 1a 93/125 -3,3 (-3,9, -2,6) -1,7 (-2,3, -1,2) <,001 -1,5 (-2,3, -0,7) <,001 2b 44/45 -2,0 (-3,0, -1,0) -0,8 (-1,9, 0,2) ,02 -1,6 (-2.9, -0,3) 10 неделяc 93/66 -3,6 (-4,3, -2,9) -1,9 (-2,8, -1,0) ,001 -1,8 (-2,8, -0,7) N/A Общая оценка NPId 1a 93/125 -13,5 (-17,1, -9,9) -8,5 (-11,0, -5,9) ,03 -4,1 (-8,0,-0,4) ,01 2b 44/45 -6,0 (-9,7, -2,2) -2,5 (-6,0, 1,1) ,15 -3,8 (-9,0, 1,4) 10 неделяc 93/66 -16,0 (-19,5, -12,5) -10,1 (-14,7, -5,5) ,02 -5,7 (-10,7, -0,7) N/A Аберрантное двигательное поведение по NPId 1a 93/125 -1,2 (-2,0, -0,4) -0,4 (-1,1, 0,3) ,39 -0,4 (-1,3, 0,5) ,03 2b 44/45 -0,8 (-1,6, -0,1) 0,4 (-0,6, 1,3) ,04 -1,2 (-2,4, -0,1) 10 неделяc 93/66 -1,3 (-2,1, -0,5) 0,1 (-0,7, 0,8) ,03 -1,0 (-1,9, -0,1) N/A Раздражительность/лабильность по NPId 1a 93/125 -2,2 (-3,0, -1,4) -1,2 (-1,8, -0,6) ,09 -0,7 (-1,5, 0,1) 0,03 2b 44/45 -1,0 (-2,0, 0,04) -0,7 (-1,8, 0,5) ,14 -0,9 (-2,2, 0,3) 10 неделяc 93/66 -2,4 (-3,3, -1,6) -1,8 (-2,8, -0,7) ,38 -0,4 (-1,4, 0,6) N/A NPI4Ad 1a 93/125 -7,3 (-9,1, -5,4) -4,5 (-6,0, -3,0) ,03 -2,4 (-4,6, -0,2) ,001 2b 44/45 -4,8 (-6,9, -2,7) -1,4 (-3,8, 1,0) ,01 -3,9 (-7,0, -0,9) 10 неделяc 93/66 -8,5 (-10,4, -6,7) -5,0 (-7,4, -2,5) ,01 -3,4 (-6,1, -0,7) N/A NPI4Dd 1a 93/125 -7,6 (-9,4, -5,7) -4,0 (-5,5, -2,6) ,006 -3,0 (-5,1, -0,9) <,001 2b 44/45 -4,6 (-6,8, -2,4) -1,9 (-4,2, 0,4) ,02 -3,5 (-6,5,-0,5) 10 неделяc 93/66 -8,3 (-10,1, -6,5) -5,0 (-7,4, -2,6) ,02 -3,0 (-5,5, -0,4) N/A Дистресс лица, осуществляющего уход, по NPI (возбуждение)d 1a 93/125 -1,4 (-1,6, -1,0) -0,6 (-0,8, -0,4) <,001 -0,7 (-1,0, -0,3) ,01 2b 44/45 -0,5 (-0,9, -0,004) -0,7 (-1,2, -0,2) ,49 -0,2 (-0,8, 0,4) 10 неделяc 93/66 N/A N/A N/A N/A N/A Дистресс лица, осуществляющего уход, общая оценка NPId 1a 93/125 -6,6 (-8,2, -5,0) -3,6 (-4,8, -2,5) N/A N/A ,01 2b 44/45 -2,6 (-4,3, -1,0) -2,0 (-3,8, -0,3) N/A N/A 10 неделяc 93/66 N/A N/A N/A N/A N/A CSId 1a 93/125 -1,2 (-1,7, -0,7) -0,6 (-0,9, -0,2) ,03 -0,6 (-1,2, -0,1) ,05 2b 44/45 -0,2 (-0,7, 0,3) 0,1 (-0,5, 0,6) ,42 -0,3 (-1,0, 0,4) 10 неделяc 93/66 -1,2 (-1,7, 0,6) -0,4 (-0,9, 1,3) ,04 -0,8 (-1,6, 0,02) N/A CSDDf 1a 88/123 -0,1 (-1,8, -0,3) 0,6 (-0,1, 1,3) ,002 -1,6 (-2,5, -0,6) ,02 2b 43/44 -0,9 (-1,8, -0,004) -0,7 (-1,5, 0,1) ,75 -0,2 (-1,3, 0,9) 10 неделяc 88/64 -1,2 (-2,0, -0,4) 0,4 (-0,6, 1,5) ,03 -1,3 (-2,6, -0,1) N/A Возбуждение e по ADCS - CGIS 1a 88/123 3,0 (2,8, 3,3) 3,6 (3,4, 3,8) <,001 -0,6 (-0,9, -0,3) <,001 2b 42/42 3,3 (2,9, 3,6) 3,7 (3,3, 4,2) ,07 -0,5 (-1,0, 0,1) 10 неделяc 82/59 2,7 (2,3, 3,1) 3,3 (3,0, 3,7) ,02 -0,5 (-0,9, -0,1) N/A PGI-Cg 1a 88/123 3,1 (2,8, 3,3) 3,6 (3,4, 3,8) ,001 -0,6 (-0,9, -0,2) ,001 2b 43/44 3,2 (2,8, 3,6) 3,8 (3,3, 4,2) ,04 -0,6 (-1,1, -0,1) 10 неделяc 81/59 2,9 (2,7, 3,2) 3,5 (3,2, 3,8) ,007 -0,6 (-1,0, -0,2) N/A QOL-AD (пациент)e 1a 87/116 1,3 (-0,03, 2,6) 0,0 (-1,0, 0,9) ,14 1,1 (-0,4, 2,6) ,16 2b 40/40 1,5 (-0,1, 3,1) 0,7 (-0,7, 2,0) ,50 0,7 (-1,4, 2,7) 10 неделяc 87/61 0,7 (-0,7, 2,1) 0,5 (-1,1, 2,0) ,96 -0,1 (-2,0, 1,9) N/A QOL-AD (лицо, осуществляющее уход)e,i 1a 88/123 0,4 (-0,5, 1,3) 0,3 (-0,5, 1,1) ,63 0,3 (-0,9, 1,5) ,47 2b 43/43 -0,3 (-1,5, 0,9) 0,9 (-0,4, 2,2) ,24 1,1 (-2,8, 0,7) 10 неделяc 88/64 1,3 (0,2, 2,4) 0,9 (-0,5, 2,4) ,28 0,9 (-0,7, 2,6) N/A ADCS-ADLe 1a 88/123 -0,9 (-1,8,-0,04) -0,8 (-1,5, -0,1) ,90 -0,1 (-1,2, 1,1) ,16 2b 43/44 -2,0 (-3,4, -0,5) -0,6 (-1,7, 0,4) ,12 -1,4 (-3,1, 0,4) 10 неделяс 88/64 -0,8 (-1,8, 0,2) -1,8 (-2,9, 0,7) ,17 1,0 (-0,5, 2,5) N/A Общая оценка MMSEf 1a 88/122 0,2 (-0,4, 0,9) -0,3 (-0,8, 0,20 ,20 0,5 (-0,3, 1,3) ,05 2 42/44 0,3 (-0,5, 1,2) -0,5 (-1,3, 0,2) ,15 0,8 (-0,3, 2,0) 10 неделяа 88/63 0,1 (-0,5, 0,8) -0,6 (-1,5, 0,3) ,21 0,7 (-0,4, 1,8) N/A ADAS-coge 1a 87/121 -0,9 (-2,5, 0,6) 0,3 (-5,7, 1,3) ,11 -1,4 (-3,0, 0,3) ,20 2b 42/43 0,3 (-1,4, 1,9) 0,8 (-0,7, 2,3) ,64 -0,5 (-2,8, 1,7) 10 неделяс 81/58 -0,7 (-1,9, 0,7) 1,2 (-0,2, 2,4) ,07 -1,7 (-3,5, 0,2) N/A

N/A=оценка не проводилась

*Разница в лечении: декстрометорфан/хинидин - плацебо; а этап 1: в исследование включены все участники и показатели изменяются от исходного уровня этапа 1 к неделе 5 для каждого результата; b этап 2: в исследование включены только рандомизированные нереспонденты из группы плацебо из этапа 1, и показатели изменяются от исходного уровня этапа 2 (неделя 5) до недели 10 для всех результатов, за исключением PGI-C (исходный уровень начального этапа 1 до недели 10); с в 10-недельный анализ были включены только те участники, которые оставались на своем первоначальном лечении в ходе всего их участия в исследовании (то есть, принимали только декстрометорфан/хинидин или только плацебо, тем самым создавая модель параллельного сравнения), и измерения от исходного уровня этапа 1 до недели 10; d оценка на исходном уровне, на неделе 1, 3, 5, 6, 8 и 10; e оценка на исходном уровне, на неделе 5 и 10; f оценка при скрининге, на неделе 5 и 10; g оценка на неделе 5 и 10. Анализ hSPCD (по схеме последовательного параллельного сравнения) был определен протоколом для первичного анализа эффективности и объединяет результаты всех пациентов на этапе 1 и от «плацебо-нереспондентов», повторно рандомизированных на этапе 2, на основе взвешивания 50/50 NPI-домена возбуждения/агрессии для каждого этапа исследования; i для оценки QOL-AD (лицом, осуществляющим уход), ухаживающий человек оценивает качество жизни пациента; P-значение на этапах исследования на основе анализа ковариат (ANCOVA); P-значение для SPCD-анализа на основе обычных наименьших квадратов (OLS).

[0165] В анализе SPCD предварительно заданных вторичных результатов (таблица 6) было показано благоприятное действие декстрометорфана/хинидина, которое привело к значительному улучшению общей оценки (PGI-C и CGIC), общей оценки NPI, показателей NPI-доменов аберрантного двигательного поведения и раздражительности/лабильности, совокупной оценки NPI4A и NPI4D, NPI-оценки дистресса лица, осуществляющего уход (и в отношении домена возбуждения/агрессии, и по общей оценке), CSI и CSDD. Результаты по изменениям показателей QOL-AD, ADCS-ADL, MMSE и ADAS-cog (поисковый результат) не были значимы по сравнению с плацебо. В анализе по полученным результатам (post hoc) было выявлено улучшение NPI-оценки возбуждения/агрессии при использовании декстрометорфана/хинидином у участников, принимавших сопутствующие ингибиторы ацетилхолинэстеразы, мемантин, антидепрессанты или нейролептики, аналогичное по сравнению с участниками, не получающими указанные препараты. Лечение спасения в виде лоразепама применялось у 10 из 152 (6,6%) и у 13 из 125 (10,4%) участников на фоне приема декстрометорфана/хинидина и плацебо, соответственно. В конце 10-недельного лечения у 45,1% участников, получавших только декстрометорфан/хинидин (n=82) были выявлено «значительное улучшение» или «очень значительное улучшение» по оценке ADCS-CGIC, по сравнению с 27,1% участников, получавших только плацебо (n=59).

Безопасность и переносимость

[0166] Декстрометорфан/хинидин в целом хорошо переносился в упомянутой популяционной группе, получавшей несколько сопутствующих препаратов, и не был связан с когнитивными нарушениями. Возникающие при лечении неблагоприятные явления (TEAE) считались следствием проводимого на момент их возникновения лечения. О возникновении TEAE сообщили 93 из 152 участников (61,2%) и 55 из 127 участников (43,3%) (группа по исследованию безопасности) во время лечения декстрометорфаном/хинидином или плацебо, соответственно. Наиболее часто встречающиеся TEAE (> 3%) представляли собой падения (8,6% против 3,9%), диарею (5,9% против 3,1%), инфекции мочевыводящих путей (5,3% против 3,9%), головокружение (4,6% против 2,4%) и возбуждение (3,3% против 4,7%) при приеме декстрометорфана/хинидина по сравнению с плацебо, соответственно. Серьезные нежелательные явления (СНЯ) возникли у 12 (7,9%) участников, получавших декстрометорфан/хинидин, и у 6 (4,7%) участников, получавших плацебо. Серьезные нежелательные явления у участников, получавших декстрометорфан/хинидин, включали боль в груди (n=2), анемию, острый инфаркт миокарда (возникший через 2 дня после завершения введения дозы), брадикардию, инфекцию почек, перелом бедренной кости, обезвоживание, рак толстой кишки, нарушение мозгового кровообращения, агрессию и гематурию (n=1, для каждого случая). СНЯ у участников, получавших плацебо, включали идиопатическую тромбоцитопеническую пурпуру, головокружение, пневмонию, гастроэнтерит, контузию, транзиторные ишемические атаки и возбуждение (n=1, для каждого случая). Восемь участников (5,3%), получавших декстрометорфан/хинидин и 4 участника (3, 1%), получавших плацебо, прекратили лечение по причине нежелательных явлений (НЯ), в том числе 4 участника (2,6%) и 2 участника (1,6%), соответственно, по причине СНЯ. Случаев смерти во время исследования не было.

[0167] Из 13 участников, отметивших случаи падения во время приема декстрометорфана/хинидина, 9 участников имели в анамнезе падения. Трое участников падали в период от 2 до 4 дней после завершения исследования, и один участник упал два раза в течение 24 часов с момента введения лекарства спасения лоразепама в обоих случаях; ни один из участников, упавших во время приема плацебо, не имел в анамнезе случаев падения. Два падения были связаны с серьезными НЯ (СНЯ): перелом бедренной кости на фоне приема декстрометорфана/хинидина и случай ушиба при приеме плацебо.

[0168] Не наблюдались какие-либо клинически значимые различия между группами по параметрам ЭКГ. На момент последнего визита среднее значение (SD) QTcF составляло 5,3 мсек (14,06) и -0,3 мсек (12,96) у участников, получающих декстрометорфан/хинидин (n=138) и плацебо (n=60), соответственно. Пятнадцать участников (10,3%), получавших AVP923, и 8 участников (6,7%), получавших плацебо, имели изменение QTcF≥30 мсек во время всех визитах; у одного из участников в группе плацебо выявлено изменение QTcF >60 мсек. Ни у одного из участников не зарегистрирован QTcF >500 мсек.

[0169] Исходя из данных, представленных в таблице 6 и на фигуре 4, фигуре 5 и фигуре 6, очевидно, что комбинация декстрометорфана и хинидина проявляет высокую эффективность при лечении возбуждения и агрессии у пациентов с вероятной болезнью Альцгеймера по сравнению с плацебо. Кроме того, указанная комбинация обычно хорошо переносится в этой популяции лиц пожилого возраста и не вызывает когнитивных нарушений, седативного эффекта или клинически значимого удлинения интервала QTc.

Пример 2: Актуальность изучения AVP-786 для лечения возбуждения при болезни Альцгеймера.

[0170] AVP-786 представляет собой комбинированный продукт из дейтерированного (d6)-декстрометорфана гидробромида (d6-DM), компонента, действующего на центральную нервную систему (ЦНС), и хинидина сульфата (Q), применяемого в качестве ингибитора метаболизма d6-DM посредством изофермента печени цитохрома Р450 (CYP) 2D6 (CYP2D6). Препарат AVP-786 может иметь клиническое преимущество для лечения возбуждения у пациентов с болезнью Альцгеймера (БА).

[0171] d6-DM связывается с рецепторами, ответственными за модуляцию глутамата, моноамина, сигма-1 и никотиновых холинергических путей, которые могут быть ключевыми для терапевтических веществ, воздействующих на ЦНС. Фармакологические исследования d6-DM, проведенные авторами настоящего изобретения, показали, что дейтерирование не изменяет основные фармакологические свойства DM. Также, в исследованиях фармакокинетики (ФК) и метаболизма лекарственных средств было показано, что метаболизм d6-DM происходит посредством тех же метаболических путей, что и DM, но его дейтерирование приводит к снижению скорости метаболизма СYP2D6.

[0172] В недавно проведенном авторами настоящего изобретения исследовании фазы 2 была выявлена первичная конечная точка эффективности и показано явное купирование возбуждения у больных, получающих AVP-923, по сравнению с плацебо. Данное исследование продолжалось 10 недель и представляло собой рандомизированное двойное слепое плацебо-контролируемое 2-х этапное исследование по схеме последовательного параллельного сравнения (SPCD), задачей которого была оценка эффективности, безопасности и переносимости AVP-923 для лечения возбуждения у 220 пациентов с болезнью Альцгеймера. У пациентов, получавших AVP-923, выявлено значительное уменьшение возбуждение по сравнению с пациентами, которые получали плацебо (р <0,001), и это изменение было измерено с помощью психоневрологического опросника (NPI) по домену возбуждения/агрессии. Также статистически значимым было большинство изученных вторичных конечных точек (например, общая оценка NPI, NPI-домен возбуждения/агрессии, домен дистресса лица, осуществляющего уход, оценка изменения по шкале общего клинического впечатления [CGIC] - по возбуждению, оценка клинического впечатления о тяжести [CGIS] - по возбуждению и общее впечатление пациента об изменениях [PGIC]). Впечатления об изменениях, полученные и врачом, и пациентом/лицом, осуществляющим уход, подтверждают клиническую значимость улучшений, выявленных в отношении возбуждения. Также наблюдался номинально благоприятный ответ со стороны когнитивной функции, измеряемой по краткой шкале оценки психического статуса (MMSE) и по оценке болезни Альцгеймера - когнитивной субшкале (ADAS-cog), который не достигал статистической значимости.

[0173] Дальнейшие исследования, проведенные авторами изобретения, показали, что d6-дейтериевая модификация декстрометорфана (DM) снижает скорость метаболизма CYP2D6 таким образом, что комбинация с хинидином в намного меньшей дозе (< 50% от количества хинидина Q, содержащегося в препарате AVP-923) является достаточной для биоэквивалентности d6-DM и DM в препаратах AVP-786 и AVP-923, соответственно. Снижение количества хинидина в препарате AVP-786 способствует уменьшению взаимодействия с другими субстратами CYP2D6, ограничивает уровни Q даже в присутствии ингибиторов CYP3A4 и уменьшает воздействие на реполяризацию миокарда и интервал QTc.

Пример 3: Многоцентровое рандомизированное двойное слепое плацебо-контролируемое исследование фазы 3, с целью оценки эффективности, безопасности и переносимости AVP-786 (дейтерированного [d6]- декстрометорфана гидробромида [d6-DM]/хинидина сульфата [Q]) для лечения возбуждения у больных с деменцией альцгеймеровского типа.

[0174] Данное исследование предназначено для оценки эффективности, безопасности и переносимости препарата AVP-786 для лечения возбуждения у пациентов с деменцией альцгеймеровского типа.

Обоснование продолжительности лечения AVP-786.

[0175] В плане оценки эффективности оптимальной длительностью лечения считается его продолжительность 12 недель, исходя из обзора данных исследования 12-AVR-131 препарата AVP-923 (Papakostas GI et al., Am. J. Psychiatry. 2012; 169(12):1267-1274; Marshall R, Leigh-Pemberton R., Memisoglu A., et al. Opioid modulation: a novel mechanism for the treatment of depression: results of the ALKS 5461 phase 2 study. 2004; 2:5461). Для пациентов, которым такое же лечение было назначено на протяжении всех 12 недель исследования, также можно оценивать ответ на лечение в течение продолжительного времени.

Исследуемая популяция

[0176] Количество пациентов: В исследовании примут участие приблизительно 380 пациентов приблизительно в 60 центрах в США.

[0177] Состояние/заболевание: Пациенты с симптомом возбуждения, которое является вторичным по отношению к деменции по альцгеймерному типу. Диагноз вероятной болезни Альцгеймера будет основан на критериях из руководства «2011 Diagnostic Guidelines for Alzheimer's Disease», изданного рабочей группой Национального института по проблемам старения (National Institute on Aging -NIA) и Ассоциации по изучению болезни Альцгеймера (AA) (McKhann GM et al., Alzheimers Dement. 2011; 7(3):263-269). Диагноз возбуждения будет основан на предварительном консенсусном определении возбуждения у пациентов с когнитивными расстройствами, разработанным рабочей группой по определению возбуждения Международной психогериатрической ассоциации (IPA) (Cummings J. et al, Int. Psychogeriatr. 2014:1-11).

[0178] Основные критерии включения: на момент скрининга и по меньшей мере за 2 недели до рандомизации у пациентов имеется клинически значимое, умеренное/тяжелое возбуждение, которое нарушает повседневную жизнь и является основанием для назначения рецептурного препарата, по мнению исследователя. Для участия в исследовании необходима оценка возбуждения≥4 баллов по общему клиническому впечатлению о тяжести заболевания (CGIS) (болезнь средней тяжести) при скрининге и оценке исходного уровня. Подходящие для исследования пациенты должны иметь надежного человека, осуществляющего уход, который проявляет способность и желание выполнять процедуры в рамках исследования, в том числе не будет вводить какие-либо запрещенные препараты в ходе исследования.

[0179] Основные критерии исключения: для участия в исследовании не подходят пациенты с деменцией преимущественно не альцгеймеровского типа (например, сосудистая деменция, лобно-височная деменция, болезнь Паркинсона, деменция, вызванная химическими веществами) и пациенты с возбуждением, которое не является вторичным по отношению к болезни Альцгеймера (например, деменция, обусловленная болью, другим психическим расстройством или делирием).

План исследования

[0180] Структура: многоцентровое рандомизированное двойное слепое плацебо-контролируемое исследование, фаза 3.

[0181] Продолжительность: Пациенты будут включены в исследование на протяжении приблизительно 16 недель, с периодом скрининга 4 недели и периодом лечения 12 недель.

[0182] Исследуемое лечение: Исследуемый продукт представляет собой AVP-786 (дейтерированный [d6]-декстрометорфан гидробромид [d6-DM]/хинидин сульфат [Q]). Будут изучены две дозы AVP-786: d6-DM 28 мг/Q, 4,9 мг и d6-DM 18 мг/Q, 4,9 мг, далее именуемые как AVP-786-28/4,9 и AVP-786-18/4,9 соответственно.

[0183] Композиция AVP-786: Качественные и количественные составы 2 доз исследуемого препарата (ИП) и плацебо приведены в таблице 7 ниже.

Таблица 7:

Ингредиенты
(количество в мг)
AVP-786-28/4,9 AVP-786-18/4,9 AVP-786 Плацебо
декстрометорфан гидробромид 28,00 18,00 0 хинидин сульфат USP,EP 4,90 4,90 0 натрия кроскармеллоза NF 6,60 6,60 6,60 микрокристаллическая целлюлоза NF 177,20 187,20 210,10 коллоидный диоксид кремния NF 2,20 2,20 2,20 магния стеарат NF 1,10 1,10 1,10 Всего 220,0 220,0 220,0 Синие непрозрачные капсулы, размер 3 (средний вес) 48,0 48,0 48,0 Всего 268,0 268,0 268,0

EP=Европейская фармакопея; USP=Фармакопея США; NF=Национальный формуляр

[0184] Контроль: в качестве контроля будут использоваться капсулы плацебо, одинаковые по внешнему виду с исследуемым препаратом.

[0185] Рандомизация/стратификация: Подходящие пациенты будут рандомизированы в исследование на группы, которые будут получать или капсулы AVP-786-28/4,9, или капсулы AVP-786-18/4,9, или соответствующие капсулы плацебо. Рандомизация будет стратифицирована по критериям психоневрологического опросника (NPI) по оценке домена возбуждения/агрессии (≤6 по сравнению с > 6), по оценке риска падений (нормальный/умеренный по сравнению с средним/высоким риском), и по сопутствующему применению нейролептиков (ДА по сравнению с НЕТ).

[0186] Схема введения: Подходящие для исследования пациенты будут случайным образом распределены во время первого визита (исходный уровень) на группы, получающие или капсулы AVP-786 или капсулы плацебо. Пациенты, рандомизированные в группу AVP-786-28/4,9, будут начинать с приема AVP-786-18/4,9 один раз в сутки утром и плацебо вечером в течение первых 7 дней исследования. С 8-го дня пациенты будут получать AVP-786-18/4,9 два раза в сутки в течение 14 дней. С 22-го дня пациенты будут получать AVP-786-28/4,9 два раза в сутки в течении остальных 9 недель исследования.

Пациенты, рандомизированные в группу AVP-786-18/4,9, будут начинать с приема AVP-786-18/4,9 один раз в сутки утром и приема плацебо вечером в течение первых 7 дней исследования. С 8-го дня пациенты будут получать AVP-786-18/4,9 два раза в сутки в течение оставшихся 11 недель исследования. Пациенты будут иметь по меньшей мере 50% шанс получения AVP-786 в какой-либо момент в ходе исследования. Исследуемый препарат будет вводиться перорально два раза в сутки (1 капсула утром и 1 капсула вечером приблизительно с интервалом 12 часов) на протяжении всего исследования.

Оценки и визиты

[0187] Пациенты будут посещать исследовательские центры в период скрининга, для определения исходного уровня (день 1), и в день 8 (неделя 1), 22 (неделя 3), день 43 (неделя 6), день 64 (неделя 9) и день 85 (неделя 12). Последующие телефонные звонки для оценки безопасности будут сделаны в день 29 (неделя 4) и день 71 (неделя 10). Процедуры в рамках исследования будут выполняться при каждом визите, как указано в Расписании визитов и оценок (таблица 8). Оценки должны быть выполнены, по возможности, одним и тем же экспертом на протяжении всего исследования.

Таблица 8: Расписание визитов и оценок

Проце-дура Визит: Скри-нинг исходный уровень визит 21 визит 31 телефонный звонок1,2 визит 41 визит 51 телефонный звонок1,2 визит 61
/ ET3,4
День исследова-ния: дни от-28 до -1 день 1 день 8 день 22 день 29 день 43 день 64 день 71 день 85 Неделя окончания исследова-ния: недели от -4 до -1 неделя 1 неделя 3 неделя 4 неделя 6 неделя 9 неделя 10 Неде-ля 12 Форма информированного согласия X История болезни X Проверка приемлемости5 X X Рандомизация X Физикальное и неврологическое обследование X X X Жизненно важные признаки и масса тела6 X X X X X X X CGIS X X X X Оценка риска падения (журнал регистрации и тест TUG) X X7 X7 ЭКГ X X8 X X8 X X Нежелательные явления(AE) X X X X X X X X Предшествующие и сопутствующие лекарственные средства X X X X X X X X X MMSE X X X X GMHR X X NPI X9 X X X X X X CSDD X X X Интервью ZBI X X X X X DEMQOL10 X X X EQ-5D-5L10 X X X ADAS-cog11 X X X PGIC12 X X X X Исходная оценка ADCS-CGIC X ADCS-CGIC X X X X RUD X X X S-STS X X X X X X X Выдача утренней дозы исследуемого препарата в клинике X X13 X X X X Биохимические, гематологические анализы; анализ мочи X14 X X Анализ мочи на беременность15 X X X X Образец крови для ФК-анализа X X Образец крови на CYP2D6 X X X Выдача исследуемого препарата по рецепту и дневник пациента X X X X Проверка и возврат неиспользованного исследуемого препарата и дневника пациента X13 X X X X

ADAS-cog - шкала оценки болезни Альцгеймера - когнитивная субшкала; ADCS-CGIC - общее клиническое впечатление об изменениях; AE (НЯ) - неблагоприятное явление; CGIS - общее клиническое впечатление о тяжести болезни; CSDD - шкала Корнелла для оценки депрессии при деменции; DEMQOL - шкала качества жизни по деменции; ЭКГ - электрокардиограмма; EQ-5D-5L - 5 измерений по 5 уровням европейского качества жизни EuroQol на исходном уровне; ET - досрочное прекращение; GMHR - общемедицинский уровень состояния здоровья; MMSE - краткая шкала оценки психического статуса; NPI - нейропсихиатрический опросник; PGIC - общее впечатление об изменении у пациента, оцененное ухаживающим лицом; ФК - фармакокинетика; RUD - использование ресурсов при деменции; S-STS - шкала отслеживания суицидальности Шихана; TUG - тест Timeed Up and Go; интервью ZBI - интерьвью др. Zarit Burden.

1. Визиты в ходе исследования проводятся с интервалами +/- 3 дня, кроме исходного визита, визита 2 и телефонных звонков. Исходный визит, визит 2 и телефонные звонки проводятся с +3-дневным интервалом.

2. Телефонный звонок должен быть сделан пациенту/лицу, осуществляющему уход с целью сбора информации о нежелательных явлениях и опроса о применении сопутствующих лекарственных средств.

3. Визит досрочного завершения выполняют пациенты, которые вышли из исследования до его завершения.

4. Пациенты, которые досрочно вышли из исследования или не вошли в расширенное исследование (Исследование 15-AVP-786-303), получают телефонный звонок относительно безопасности исследуемого препарата через 30 дней после последней дозы исследуемого препарата.

5. Для каждого пациента заполняется форма соответствия требованиям протокола.

6. Масса тела должна измеряться только при исходном визите.

7. Для оценки риска падений при визитах 4 и 6 необходимо проводить только тест TUG.

8. ЭКГ необходимо регистрировать до и после введения дозы.

9. При скрининговом визите должна проводиться оценка NPI только в отношении домена «возбуждение/агрессия». Эту оценку необходимо провести перед оценкой CGIS.

10. Прокси-версия должна быть оценена лицом, осуществляющим уход. Не прокси-версия должна оцениваться только пациентами, показавшими≥10 баллов по шкале MMSE на исходном уровне.

11. Оценка ADAS-cog проводится только у пациентов показавшими≥10 баллов по шкале MMSE в начале исследования.

12. Оценка PGIC должна проводиться лицом, осуществляющим уход.

13. Исследуемый препарат следует принимать из блистерной упаковки, вскрываемой пациентом. Блистерная упаковка и дневник пациента должны быть возвращены пациенту/лицу, осуществляющему уход, после проверки соблюдения пациентом режима лечения.

14. Анализы функции щитовидной железы (ТТГ и рефлекс Т3 и Т4 при отклонении от нормы показателей ТТГ) должны проводиться во время скринингового визита.

15. Анализ мочи на беременность должен проводиться только для женщин детородного возраста.

Измерения реакции

[0188] Измерение первичной эффективности: первичная эффективность будет оцениваться по нейропсихиатрическому опроснику NPI по домену возбуждения/агрессии.

[0189] Измерение вторичной эффективности: измерения вторичной эффективности включают общую оценку клинического впечатления об изменениях (CGIC) в отношении возбуждения, NPI-оценку по домену возбуждения/агрессии по баллам дистресса лица, осуществляющего уход, NPI-оценку домена аберрантного двигательного поведения, интервью д-ра Зарита Бурдена (Zarit Burden - ZBI), NPI-оценку домена раздражительности/лабильности, оценку пациентом общего впечатления об изменениях (PGIC, оценивается лицом, осуществляющим уход), оценку качества жизни по деменции (DEMQOL), шкалу депрессии Корнелла при деменции (CSDD), использование ресурсов при деменции (RUD), общую оценку по NPI, CGIS - возбуждение, шкалу оценки болезни Альцгеймера - когнитивную подшкалу (ADAS-cog), общемедицинский уровень состояния здоровья (GMHR) и европейскую оценку качества жизни по 5 измерениям и 5 уровням (EQ-5D-5L).

[0190] Фармакокинетика: будут измерены концентрации в плазме d6-DM, его метаболитов и хинидина Q.

[0191] Безопасность и переносимость: безопасность и переносимость препарата AVP-786 будет оцениваться по сообщениям о нежелательных явлениях (НЯ), на основании физикального и неврологического обследования, жизненно важных признаков, оценки клинических лабораторных данных, электрокардиограммы (ЭКГ) в покое в 12 отведениях, по шкале отслеживания суицидальности Шихана (S-STS), по краткой шкале оценки психического статуса (MMSE) и с помощью теста TUG (Timeed Up and Go). Анализы на беременность должны проводиться для женщин детородного возраста.

Общие статистические способы и виды анализов

[0192] Анализ эффективности: первичной конечной точкой эффективности в данном исследования является изменение от исходного уровня до 12-й недели (день 85) по баллам домена возбуждения/агрессии по NPI. Эффект лечения будет оцениваться с помощью линейной модели повторных измерений (MMRM) со смешанными эффектами на основе правдоподобия, по наблюдаемым данным. Способ поэтапного входного контроля будет использоваться для контроля общей ошибки I рода с двусторонним критерием α=0,05 для 2-х первичных сравнений: препарат AVP-786-28/4,9 по сравнению с плацебо и препарат AVP-786-18/4,9 по сравнению с плацебо. Вторичные конечные точки эффективности включают изменение от исходного уровня до 12 недели (день 85) по следующим показателям эффективности: возбуждение по CGIC, NPI-оценка по домену возбуждения/агрессии по баллам дистресса лица, осуществляющего уход, NPI-оценка домена аберрантного двигательного поведения, ZBI, NPI-оценка домена раздражительности/лабильности, PGIC, DEMQOL, CSDD, RUD, общую оценку по NPI, CGIS - возбуждение, ADAS-cog, GMHR и EQ-5D-5L.

[0193] Анализ безопасности: измерения показателей безопасности будут обобщены по группам лечения.

[0194] Расчет величины выборки: расчеты мощности были выполнены с учетом предполагаемого двумерного нормального распределения для первичной конечной точки эффективности препарата AVP-786-28/4,9 (высокая доза) по сравнению с плацебо. Исходя из результатов проведенного исследования фазы 2, предполагается, что разница в лечении составляет -2,1, и стандартные отклонения составляют 4,7 (величина эффекта -0,45). Совокупный уровень отсева составляет 20%. Планируемое привлечение 380 пациентов дает показатель мощности исследования приблизительно 93% для отклонения нулевой гипотезы, в сравнении препарата AVP-786-28/4,9 и плацебо, при этом частота ошибки I рода при двухстороннем α=0,05. Для контроля общей ошибки I рода на уровне 0,05, анализ нулевой гипотезы о низкой дозе AVP-786-18/4,9 будет проведен только в случае отклонения нулевой гипотезы о высокой дозе.

Пример 4: Исследование фазы 3: многоцентровое рандомизированное двойное слепое плацебо-контролируемое исследование с целью оценки эффективности, безопасности и переносимости препарата AVP-786 (дейтерированного [d6]-декстрометорфана гидробромида [d6-DM]/хинидина сульфата [Q]) для лечения возбуждения у больных с деменцией альцгеймеровского типа.

[0195] Целью данного исследования является оценка эффективности, безопасности и переносимости препарата AVP-786 по сравнению с плацебо, для лечения возбуждения у больных с деменцией альцгеймеровского типа.

[0196] Необходимо показать сохранение эффективности препарата, разрабатываемого для лечения хронического заболевания. Эксперты и регулирующие органы обычно считают продолжительность лечения 12 недель обоснованным сроком для оценки острых и хронических эффектов и безопасности соединения, предназначенного для хронического применения. Для гарантии переносимости пациенты, участвующие в исследовании лечения (AVP-786) постепенно будут подвергаться воздействию более высокой дозы. В начале исследования будет проводиться однократное ежедневное введение низкой дозы (AVP-786-18/4,9) в течение одной недели, с последующим введением два раза в сутки низкой дозы в течение 2 недель, а затем два раза в сутки будет вводиться высокая доза (AVP- 786-28/4,9) в течение оставшегося срока исследования 9 недель. Дополнительно, будет разрешено однократное снижение дозы только у пациентов, у которых выявлены проблемы переносимости высокой дозы.

Исследуемая популяция

[0197] Количество пациентов: В исследовании примут участие приблизительно 325 пациентов приблизительно в 50 центрах в США.

[0198] Состояние/заболевание: Пациенты с симптомом возбуждения, которое является вторичным по отношению к деменции по альцгеймерному типу. Диагноз вероятной болезни Альцгеймера будет основан на критериях из руководства «2011 Diagnostic Guidelines for Alzheimer's Disease», изданного рабочей группой Национального института по проблемам старения (National Institute on Aging -NIA) и Ассоциации по изучению болезни Альцгеймера (AA) (McKhann GM et al., Alzheimers Dement. 2011; 7(3):263-269). Диагноз возбуждения будет основан на предварительном консенсусном определении возбуждения у пациентов с когнитивными расстройствами, разработанным рабочей группой по определению возбуждения Международной психогериатрической ассоциации (IPA) (Cummings J. et al, Int. Psychogeriatr. 2014:1-11).

[0199] Основные критерии включения: на момент скрининга и по меньшей мере за 2 недели до рандомизации у пациентов имеется клинически значимое, умеренное/тяжелое возбуждение, которое нарушает повседневную жизнь и является основанием для назначения рецептурного препарата, по мнению исследователя. Для участия в исследовании необходима оценка возбуждения≥4 баллов по общему клиническому впечатлению о тяжести заболевания (CGIS) (болезнь средней тяжести) при скрининге и оценке исходного уровня. Подходящие для исследования пациенты должны иметь надежного человека, осуществляющего уход, который проявляет способность и желание выполнять процедуры в рамках исследования, в том числе не будет вводить какие-либо запрещенные препараты в ходе исследования.

[0200] Основные критерии исключения: для участия в исследовании не подходят пациенты с деменцией преимущественно не альцгеймеровского типа (например, сосудистая деменция, лобно-височная деменция, болезнь Паркинсона, деменция, вызванная химическими веществами) и пациенты с возбуждением, которое не является вторичным по отношению к болезни Альцгеймера (например, деменция, обусловленная болью, другим психическим расстройством или делирием).

План исследования

[0201] Структура: многоцентровое рандомизированное двойное слепое плацебо-контролируемое исследование, фаза 3.

[0202] Продолжительность: Пациенты будут включены в исследование на протяжении приблизительно 16 недель, с периодом скрининга 4 недели и периодом лечения 12 недель.

[0203] Исследуемое лечение: Исследуемый продукт представляет собой AVP-786 (дейтерированный [d6]-декстрометорфан гидробромид [d6-DM]/хинидин сульфат [Q]). Будут изучены две дозы AVP-786: d6-DM 28 мг/Q, 4,9 мг и d6-DM 18 мг/Q, 4,9 мг, далее именуемые как AVP-786-28/4,9 и AVP-786-18/4,9 соответственно.

[0204] Композиция AVP-786: Качественные и количественные составы 2 доз исследуемого препарата (ИП) и плацебо приведены в таблице 9 ниже.

Таблица 9:

Ингредиенты
(количество в мг)
AVP-786-28/4,9 AVP-786-18/4,9 AVP-786 Плацебо
декстрометорфан гидробромид 28,00 18,00 0 хинидин сульфат USP,EP 4,90 4,90 0 натрия кроскармеллоза NF 6,60 6,60 6,60 микрокристаллическая целлюлоза NF 177,20 187,20 210,10 коллоидный диоксид кремния NF 2,20 2,20 2,20 магния стеарат NF 1,10 1,10 1,10 Всего 220,0 220,0 220,0 Синие непрозрачные капсулы, размер 3 (средний вес) 48,0 48,0 48,0 Всего 268,0 268,0 268,0

EP=Европейская фармакопея; USP=Фармакопея США; NF=Национальный формуляр

[0205] Контроль: в качестве контроля будут использоваться капсулы плацебо, одинаковые по внешнему виду с исследуемым препаратом.

[0206] Рандомизация/стратификация: Подходящие пациенты будут рандомизированы в исследование на группы, которые будут получать или капсулы AVP-786 или соответствующие капсулы плацебо. Рандомизация будет стратифицирована по критериям психоневрологического опросника (NPI) по оценке домена возбуждения/агрессии (≤6 по сравнению с > 6), по оценке риска падений (нормальный/умеренный по сравнению с средним/высоким риском), и по сопутствующему применению нейролептиков (ДА по сравнению с НЕТ).

[0207] Схема введения: Подходящие для исследования пациенты будут случайным образом распределены во время первого визита (исходный уровень) на группы, получающие или капсулы AVP-786 или соответствующие капсулы плацебо. Исследуемый препарат будет вводиться перорально два раза в сутки (1 капсула утром и 1 капсула вечером приблизительно с интервалом 12 часов) на протяжении всего исследования. Пациенты, рандомизированные в группу AVP-786, будут начинать с приема AVP-786-18/4,9 один раз в сутки утром и плацебо вечером в течение первых 7 дней исследования. С 8-го дня пациенты будут получать AVP-786-18/4,9 два раза в сутки в течение 14 дней. С 22-го дня пациенты будут получать AVP-786-28/4,9 два раза в сутки в течении остальных 9 недель исследования. При необходимости, по мнению исследователя, будет разрешено одноразовое снижение дозы AVP-786- 18/4,9 после визита 3 до визита 5 включительно (т.е., в период от дня 23 до дня 64), и пациент будет оставаться на более низкой дозе исследуемого препарата в течение оставшегося срока исследования. При необходимости корректировки дозы пациентам придется выполнить незапланированный визит для проведения оценок безопасности. Пациенты будут иметь по меньшей мере 50% шанс получения AVP-786 в какой-либо момент в ходе исследования.

Оценки и визиты

[0208] Пациенты будут посещать исследовательские центры в период скрининга, для определения исходного уровня (день 1), и в день 8 (неделя 1), 22 (неделя 3), день 43 (неделя 6), день 64 (неделя 9) и день 85 (неделя 12). Последующие телефонные звонки для оценки безопасности будут сделаны в день 29 (неделя 4) и день 71 (неделя 10). Процедуры в рамках исследования будут выполняться при каждом визите, как указано в Расписании визитов и оценок (таблица 10).

Таблица 10: Расписание визитов и оценок

Проце-дура Визит: скрининг исходный уровень визит 21 визит 31,14 телефонный звонок 1,2,16 визит 41,16 визит 51,16 телефонный звонок1,2 визит 61
/ ET3,4
День исследова-ния: дни от-28 до -1 день 1 день 8 день 22 день 29 день 43 день 64 день 71 день 85 Неделя окончания исследова-ния: недели от -4 до -1 неделя 1 неделя 3 неделя 4 неделя 6 неделя 9 неделя 10 Неде-ля 12 Форма информированного согласия X История болезни X Проверка приемлемости5 X X Рандомизация X Физикальное и неврологическое обследование X X X Жизненно важные признаки и масса тела6 X X X X X X X CGIS X X X X Оценка риска падения (журнал регистрации и тест TUG) X X7 X7 ЭКГ X X8 X X8 X X Нежелательные явления(AE) X X X X X X X X Предшествующие и сопутствующие лекарственные средства X X X X X X X X X MMSE X X X X GMHR X X NPI X9 X X X X X X CSDD X X X Интервью ZBI X X X X X DEMQOL10 X X X EQ-5D-5L10 X X X ADAS-cog11 X X X PGIC12 X X X X Исходная оценка ADCS-CGIC X ADCS-CGIC X X X X RUD X X X S-STS X X X X X X X Выдача утренней дозы исследуемого препарата в клинике X X13 X X X X Биохимические, гематологические анализы; анализ мочи X14 X X Анализ мочи на беременность15 X X X X Образец крови для ФК-анализа X X Образец крови на CYP2D6 X Выдача исследуемого препарата по рецепту и дневник пациента X X X X Проверка и возврат неиспользованного исследуемого препарата и дневника пациента X13 X X X X

ADAS-cog - шкала оценки болезни Альцгеймера - когнитивная субшкала; ADCS-CGIC - общее клиническое впечатление об изменениях; AE (НЯ) - неблагоприятное явление; CGIS - общее клиническое впечатление о тяжести болезни; CSDD - шкала Корнелла для оценки депрессии при деменции; DEMQOL - шкала качества жизни по деменции; ЭКГ - электрокардиограмма; EQ-5D-5L - 5 измерений по 5 уровням европейского качества жизни EuroQol; ET - досрочное прекращение; GMHR - общемедицинский уровень состояния здоровья; MMSE - краткая шкала оценки психического статуса; NPI - нейропсихиатрический опросник; PGIC - общее впечатление об изменении у пациента, оцененное ухаживающим лицом; ФК - фармакокинетика; RUD - использование ресурсов при деменции; S-STS - шкала отслеживания суицидальности Шихана; TUG - тест Timeed Up and Go; интервью ZBI - интервью др. Zarit Burden.

1. Визиты в ходе исследования проводятся с интервалами +/- 3 дня, кроме исходного визита, визита 2 и телефонных звонков. Исходный визит, визит 2 и телефонные звонки проводятся с +3-дневным интервалом.

2. Телефонный звонок должен быть сделан пациенту/лицу, осуществляющему уход с целью сбора информации о нежелательных явлениях и опроса о применении сопутствующих лекарственных средств.

3. Визит досрочного завершения выполняется пациентами, которые вышли из исследования до его завершения.

4. Пациенты, которые досрочно вышли из исследования или не вошли в расширенное исследование (Исследование 15-AVP-786-303), получают телефонный звонок относительно безопасности исследуемого препарата через 30 дней после последней дозы исследуемого препарата.

5. Для каждого пациента заполняется форма соответствия требованиям протокола.

6. Масса тела должна измеряться только при исходном визите.

7. Для оценки риска падений при визитах 4 и 6 необходимо проводить только тест TUG.

8. ЭКГ необходимо регистрировать до и после введения дозы.

9. При скрининговом визите должна проводиться оценка NPI только в отношении домена «возбуждение/агрессия». Эту оценку необходимо провести перед оценкой CGIS.

10. Прокси-версия должна быть оценена лицом, осуществляющим уход. Не прокси-версия должна оцениваться только пациентами, показавшими≥10 баллов по шкале MMSE в начале исследования.

11. Оценка ADAS-cog проводится только у пациентов показавших≥10 баллов по шкале MMSE на исходном уровне.

12. Оценка PGIC должна проводиться лицом, осуществляющим уход.

13. Исследуемый препарат следует принимать из блистерной упаковки, вскрываемой пациентом. Блистерная упаковка и дневник пациента должны быть возвращены пациенту/лицу, осуществляющему уход, после проверки соблюдения пациентом режима лечения.

14. Анализы функции щитовидной железы (ТТГ и рефлекс Т3 и Т4 при отклонении от нормы показателей ТТГ) должны проводиться во время скринингового визита.

15. Анализ мочи на беременность должен проводиться только для женщин детородного возраста.

16. Единовременная понижающая корректировка дозы разрешена после 3-го визита (неделя 3) до 5-го визита включительно (неделя 9), то есть, от дня 23 до дня 64. Пациенту необходимо вернуться в исследовательский центр для незапланированного визита в целях оценки безопасности.

Измерения реакции

[0209] Измерение первичной эффективности: первичная эффективность будет оцениваться по нейропсихиатрическому опроснику NPI по домену возбуждения/агрессии.

[0210] Измерение вторичной эффективности: измерения вторичной эффективности включают общую оценку клинического впечатления об изменениях (CGIC) в отношении возбуждения, NPI-оценку по домену возбуждения/агрессии по баллам дистресса лица, осуществляющего уход, NPI-оценку домена аберрантного двигательного поведения, интервью д-ра Зарита Бурдена (Zarit Burden - ZBI), NPI-оценку домена раздражительности/лабильности, оценку пациентом общего впечатления об изменениях (PGIC, оценивается лицом, осуществляющим уход), оценку качества жизни по деменции (DEMQOL), шкалу депрессии Корнелла при деменции (CSDD), использование ресурсов при деменции (RUD), общую оценку по NPI, CGIS - возбуждение, шкалу оценки болезни Альцгеймера - когнитивную подшкалу (ADAS-cog), общемедицинский уровень состояния здоровья (GMHR) и европейскую оценку качества жизни по 5 измерениям и 5 уровням (EQ-5D-5L).

[0211] Фармакокинетика: будут измерены концентрации в плазме d6-DM, его метаболитов и хинидина Q.

[0212] Безопасность и переносимость: безопасность и переносимость препарата AVP-786 будет оцениваться по сообщениям о нежелательных явлениях (НЯ), на основании физикального и неврологического обследования, жизненно важных признаков, оценки клинических лабораторных данных, электрокардиограммы (ЭКГ) в покое в 12 отведениях, по шкале отслеживания суицидальности Шихана (S-STS), по краткой шкале оценки психического статуса (MMSE) и с помощью теста TUG (Timeed Up and Go). Анализы на беременность должны проводиться для женщин детородного возраста.

Общие статистические способы и виды анализов

[0213] Популяционный анализ: применяются три популяционных анализа: модифицированный анализ всех рандомизированных пациентов в соответствии с исходно назначенным лечением (mITT), статистический анализ всех рандомизированных пациентов (ITT) и анализ безопасности. Популяционный анализ mITT включает всех пациентов, рандомизированных в исследовании, у которых была проведена по меньшей мере одна оценка эффективности после исходного уровня, и такой способ будет применяться для всех анализов эффективности. Пациенты в популяционном анализе mITT будут включены в группу лечения, в которую они были рандомизированы, независимо от получаемого лечения. В популяционный анализ ITT включены все рандомизированные в исследование пациенты, и такой способ применяется для поискового анализа эффективности. В популяционный анализ безопасности включены все пациенты, получавшие исследуемый препарат, и такой способ будет применяться для всех анализов безопасности. Пациенты будут включены в группы лечения на основе фактического получаемого лечения.

[0214] Анализ эффективности: первичной конечной точкой эффективности в данном исследования является изменение от исходного уровня до 12-й недели (день 85) по баллам домена возбуждения/агрессии по NPI. Сравнение лечения будет проведено с использованием линейной модели повторных измерений (MMRM) со смешанными эффектами. Такая модель будет включать фиксированные эффекты для лечения, визита, взаимодействие с эффектом фактора лечения в зависимости от визита, взаимодействие с эффектом фактора лечения в зависимости от исходного условия и базовые ковариаты, которые включают значение исходного уровня и другие стратификационые факторы рандомизации. Будет использоваться неструктурированная модель ковариации. Вторичные конечные точки эффективности включают изменение от исходного уровня до 12 недели (день 85) по следующим показателям эффективности: возбуждение по CGIC, NPI-оценка по домену возбуждения/агрессии по баллам дистресса лица, осуществляющего уход, NPI-оценка домена аберрантного двигательного поведения, ZBI, NPI-оценка домена раздражительности/лабильности, PGIC, DEMQOL, CSDD, RUD, общую оценку по NPI, CGIS - возбуждение, ADAS-cog, GMHR и EQ-5D-5L.

[0215] Анализ безопасности: анализ безопасности будет состоять из суммированных данных по биологическим параметрам и нежелательным явлениям (НЯ). Результаты анализа безопасности будут приведены в таблице по группам лечения.

[0216] Расчет величины выборки: расчеты мощности были выполнены с учетом предполагаемого двумерного нормального распределения для первичной конечной точки эффективности. Величина лечебного эффекта, выявленная для измерения первичной эффективности в завершенном исследовании фазы 2, составляет -0,51 на этапе 1 и -0,34 на этапе 2. Для этого одноэтапного 12-недельного исследования величина лечебного эффекта (AVP-786 по сравнению с плацебо) принимается равной -0,40. Планируемый общий размер выборки 325 пациентов (~ 163/на группу) будет давать показатель мощности исследования 90%, при этом частота ошибки I рода при двухстороннем α=0,05, с учетом уровня отсева 20% в ходе исследования.

Пример 5: Многоцентровое долгосрочное расширенное исследование фазы 3 по безопасности и эффективности AVP-786 (дейтерированный [d6] декстрометорфана гидробромид [d6-DM]/хинидина сульфат [Q]) для лечения возбуждения у пациентов с деменцией альцгеймерского типа.

[0217] Целью данного исследования является оценка долгосрочной безопасности и сохранения эффективности препарата AVP-786 для лечения возбуждения у больных с деменцией альцгеймерского типа.

Исследуемая популяция

[0218] Количество пациентов: В исследовании примут участие приблизительно 550 пациентов приблизительно в 110 центрах в США.

[0219] Состояние/заболевание: Пациенты с симптомом возбуждения, которое является вторичным по отношению к деменции по альцгеймерному типу. Диагноз вероятной болезни Альцгеймера будет основан на критериях из руководства «2011 Diagnostic Guidelines for Alzheimer's Disease», изданного рабочей группой Национального института по проблемам старения (National Institute on Aging -NIA) и Ассоциации по изучению болезни Альцгеймера (AA) (McKhann GM et al., Alzheimers Dement. 2011; 7(3):263-269). Диагноз возбуждения будет основан на предварительном консенсусном определении возбуждения у пациентов с когнитивными расстройствами, разработанным рабочей группой по определению возбуждения Международной психогериатрической ассоциации (IPA) (Cummings J. et al, Int. Psychogeriatr. 2014:1-11).

[0220] Основные критерии включения: пациент успешно завершил участие в исследовании 15-AVP-786-301, 15-AVP-786-302 или 12-AVR-131. Подходящие пациенты должны иметь надежного человека, осуществляющего уход, который проявляет способность и готовность выполнять все необходимые процедуры исследования, в том числе не вводить какие-либо запрещенные препаратов в ходе исследования.

[0221] Основные критерии исключения: пациент на текущий момент участвует или ранее принимал участие в другом интервенционном клиническом исследовании (лекарственного средства или устройства) после выхода из исследования 15-AVP-786-301 и 15-AVP-786-302, или в период за 30 дней до определения исходного уровня для пациентов из исследования 12-AVR-131. Пациенты с сопутствующими, клинически значимыми или нестабильными системными заболеваний, которые могут искажать интерпретацию результатов исследования по безопасности.

План исследования

[0222] Структура: фаза 3 многоцентрового долгосрочного расширенного исследования по фазе 3 исследований 15-AVP-786-301 и 15-AVP-786-302, в которое также можно включать пациентов из фазы 2 исследования 12-AVR-131. Пациенты из исследований 15-AVP-786-301 и 15-AVP-786-302 будет включены в данное исследование в течение 3 дней с момента последнего визита (визит 6, День 85) в рамках предыдущего исследования. Несмотря на то, что все включенные в исследование пациенты будут получать AVP-786, назначенная доза лечения будет скрыта от пациента, исследователя, исследовательского персонала и спонсора.

[0223] Продолжительность: пациенты будут задействованы в исследовании на протяжении приблизительно 52 недель.

[0224] Исследуемый препарат: исследуемый продукт представляет собой AVP-786 (дейтерированный [d6]-декстрометорфан гидробромид [d6-DM]/хинидин сульфат [Q]). Путем титрования будут оценены две дозы AVP-786: d6-DM 28 мг/Q, 4,9 мг и d6-DM 18 мг/Q, 4,9 мг, далее именуемые как AVP-786-28/4,9 и AVP-786-18/4,9, соответственно.

[0225] Композиция AVP-786: качественный и количественный состав 2 доз исследуемого препарата перечислены ниже в таблице 11.

Таблица 11:

Ингредиенты
(количество в мг)
AVP-786-28/4,9 AVP-786-18/4,91
декстрометорфан гидробромид 28,00 18,00 хинидин сульфат USP,EP 4,90 4,90 натрия кроскармеллоза NF 6,60 6,60 микрокристаллическая целлюлоза NF 177,20 187,20 коллоидный диоксид кремния NF 2,20 2,20 магния стеарат NF 1,10 1,10 Всего 220,0 220,0 Синие непрозрачные капсулы, размер 3 (средний вес) 48,0 48,0 Всего 268,0 268,0

EP=Европейская фармакопея; USP=Фармакопея США; NF=Национальный формуляр

1 - Блистерная упаковка препарата AVP-786-18 в дозе 4,9 будет содержать капсулы AVP-786 плацебо в качестве вечерней дозы в течение дней с 1 по 7.

[0226] Контроль: Нет

[0227] Распределение в группы лечения: подходящие пациенты были распределены на группы, получавшие или капсулы AVP-786-28/4,9 или капсулы AVP-786-18/4,9 в скрытом виде, в зависимости от последнего лечения, проведенного в предыдущем исследовании (15-AVP-786-301 и 15-AVP-786-302) и от оценки исследователем коррекции дозы. Исследуемый препарат будет назначен с помощью интерактивной системы реагирования с доступом через интернет (IWRS).

[0228] Пациенты, которые получали плацебо в предыдущих исследованиях и пациенты из исследования 12-AVR-131, в настоящем исследовании будут получать препарат AVP-786-18/4,9. Пациентам, ранее получавшим AVP-786-18/4,9, препарат будет назначен в той же дозе, если не требуется корректировка дозы, или препарат AVP-786-28/4,9, если исследователь считает необходимым увеличить дозу. Пациенты, ранее получавшие AVP-786-28/4,9, будут или продолжать получать AVP-786-28/4,9, или им будут назначены более низкие дозы AVP-786-18/4,9 по усмотрению исследователя.

[0229] Схема введения: исследуемый препарат вводят перорально два раза в сутки (1 капсула утром и 1 капсула вечером с интервалом приблизительно 12 часов) на протяжении всего исследования. Пациентам, получавшим плацебо в предыдущих исследованиях, и пациентам из исследования 12-AVR-131 в течение дней с 1 по 7 будет назначен вечерний прием капсул AVP-786 плацебо, и с 22 дня (неделя 3), и в дальнейшем они будут получать AVP-786- 28 /4,9 два раза в сутки, если не требуется корректировка дозы. По усмотрению исследователя, по соображениям безопасности доза исследуемого препарата может быть снижена в любой момент в ходе исследования.

Оценки и визиты

[0230] В рамках исследования есть 8 запланированных визитов. Пациентам следует посетить исследовательский центр для определения исходного уровня (день 1), и в день 15 (неделя 2), день 43 (неделя 6), день 85 (неделя 12), день 169 (неделя 24), день 253 (неделя 36), день 337 (неделя 48) и день 365 (52 неделя). Последующие телефонные звонки для оценки безопасности будут сделаны в день 29 (неделя 4), день 127 (неделя 18), день 211 (неделя 30) и день 295 (неделя 42). Пациентам, которым необходима корректировка дозы, могут делать незапланированные визиты для оценки безопасности по усмотрению исследователя. Процедуры в рамках исследования будет выполняться при каждом посещении, как указано в Расписании визитов и оценок (Таблица 12).

Таблица 12:

Процедура Визит: исходный уровень визит 21 телефонный звонок2 визит 32 визит 42 телефонный звонок2 визит 51 телефонный звонок2 визит 62 телефонный звонок2 визит 72 визит 82
/ ET3,4
День иссле-дования: день 1 день 8 день 29 день 43 день 85 день 127 день 169 день211 день 253 день 295 день 337 день 365 Неделя оконча-ния исследования: неделя 1 неделя 4 неделя 6 неделя 12 неделя 18 неделя 24 неделя 30 неделя 36 неделя 42 неделя 48 неделя 52 Форма информирован-ного согласия X5 История болезни X6 Проверка приемлемости5 Оценка риска падения (журнал регистрации и тест TUG) X6 X7 X7 Проверка приемлемости8 X6 Распределение на группы лечения9 X Физикальное и неврологичес-кое обследование X4 X Жизненно важные признаки и масса тела10 X6 X X X X X X X CGIS X6 X X X X X ЭКГ11 X12 X X X X X X X Нежелательные явления(AE) X X X X X X X X X X X X Предшествующие и сопутствующие лекарственные средства X X X X X X X X X X X X MMSE X6 X X X X X GMHR X6 X NPI X6 X13 X X13 X13 X CSDD X6 X X ZBI X6 X X X X X EQ-5D-5L14 X6 X X DEMQOL10 X6 X X ADAS-cog15 X6 X X PGIC16 X6 X X X X X Исходная оценка ADCS-CGIC X6 ADCS-CGIC X X X X X RUD X6 X X IADL X X X S-STS X6 X X X X X X X Выдача утренней дозы исследуемого препарата в клинике X X19 X X X X X X Биохимические, гематологические анализы; анализ мочи X
6,17
X X X X X X X
Анализ мочи на беременность18 X6 X X X X X X X Выдача исследуемого препарата по рецепту и дневник пациента X X X X X X X Проверка и возврат неиспользованного исследуемого препарата и дневника пациента X19 X X X X

ADAS-cog - шкала оценки болезни Альцгеймера - когнитивная субшкала; ADCS-CGIC - общее клиническое впечатление об изменениях; AE (НЯ) - неблагоприятное явление; CGIS - общее клиническое впечатление о тяжести болезни; CSDD - шкала Корнелла для оценки депрессии при деменции; DEMQOL - шкала качества жизни по деменции; ЭКГ - электрокардиограмма; EQ-5D-5L - 5 измерений по 5 уровням европейского качества жизни EuroQol; ET - досрочное прекращение; GMHR - общемедицинский уровень состояния здоровья; MMSE - краткая шкала оценки психического статуса; NPI - нейропсихиатрический опросник; PGIC - общее впечатление об изменении у пациента, оцененное ухаживающим лицом; ФК - фармакокинетика; RUD - использование ресурсов при деменции; S-STS - шкала отслеживания суицидальности Шихана; TUG - тест Timeed Up and Go; интервью ZBI - интервью др. Zarit Burden; IADL - шкала инструментальной активности в повседневной жизни.

1. Исходный визит должен произойти в течение 3 дней после выхода пациента из исследования 15-AVP-786-301 или 15-AVP-786-302.

2. Визит 2 (день 15) и визит 3 (день 43) и телефонный звонок в день 29 проводятся с интервалом «+/- 3 дня». Для всех других визитов и телефонных звонков в рамках исследования используется интервал «+/- 7 дней».

3. Визит досрочного завершения выполняется пациентами, которые вышли из исследования до его завершения.

4. В отношении пациентов, досрочно вышедших из исследования: следует связываться по телефону в течение следующих 5 дней после досрочного прекращения с пациентом/лицом, осуществляющим уход, чтобы спросить об общем самочувствии пациента. Дополнительно, последующий телефонный звонок будет сделан всем пациентам через 30 дней после приема последней дозы.

5. Информированное согласие может быть подписано при визите на выходе из исследования 15-AVP-786-301 и 15-AVP-786-302, применительно к пациентам, переходящим из этих исследований.

6. Процедуры должны выполняться только для пациентов из исследования 12-AVR-131.

7. Для оценки риска падений во время визитов 5 и 8 должен проводиться только тест TUG.

8. Для каждого пациента будет заполнена форма соответствия критериям протокола, которая включает проверку критериев включения/исключения.

9. Пациенты будут распределены на группы, получающие AVP-786 d6DM 28 мг/Q 4,9 мг или d6DM 18 мг/Q 4,9 мг, с помощью IWRS.

10. Массу тела следует измерять только при исходном визите.

11. ЭКГ следует проводить через 2-3 часа после введения дозы

12. Для пациентов из исследования 12-AVR-131 ЭКГ следует регистрировать перед введением и после введения дозы.

13. При визитах 4, 6 и 7 должна проводиться оценка NPI только в отношении домена «возбуждение/агрессия». Эту оценку необходимо провести перед оценкой CGIS.

14. Прокси-версия должна быть оценена лицом, осуществляющим уход. Не прокси-версия должна оцениваться только пациентами, показавшими≥10 баллов по шкале MMSE на исходном уровне.

15. Оценка ADAS-cog проводится только у пациентов показавших≥10 баллов по шкале MMSE на исходном уровне.

16. Оценка PGIC должна проводиться лицом, осуществляющим уход.

17. Анализы функции щитовидной железы (ТТГ и рефлекс Т3 и Т4 при отклонении от нормы показателей ТТГ) также должны проводиться при исходно визите только для пациентов, включенных в исследование 12-AVR-131.

18. Анализ мочи на беременность должен проводиться только для женщин детородного возраста.

19. Исследуемый препарат следует принимать из блистерной упаковки, вскрываемой пациентом. Блистерная упаковка и дневник пациента должны быть возвращены пациенту/лицу, осуществляющему уход, после проверки соблюдения пациентом режима лечения.

Измерения реакции

[0232] Безопасность и переносимость: безопасность и переносимость препарата AVP-786 будет оцениваться по сообщениям о нежелательных явлениях (НЯ), на основании физикального и неврологического обследования, жизненно важных признаков, оценки клинических лабораторных данных, электрокардиограммы (ЭКГ) в покое в 12 отведениях, по шкале отслеживания суицидальности Шихана (S-STS), по краткой шкале оценки психического статуса (MMSE) и с помощью теста TUG (Timeed Up and Go). Анализы на беременность должны проводиться для женщин детородного возраста.

[0233] Эффективность: эффективность будет оцениваться по нейропсихиатрическому опроснику NPI, по общей оценке клинического впечатления об изменениях (CGIC) в отношении возбуждения, по интервью д-ра Зарита Бурдена (ZBI), оценке пациентом общего впечатления об изменениях (PGIC, оценивается лицом, осуществляющим уход), оценке качества жизни по деменции (DEMQOL), шкале депрессии Корнелла при деменции (CSDD), по использованию ресурсов при деменции (RUD), общемедицинскому уровню состояния здоровья (GMHR), европейской оценке качества жизни по 5 измерениям и 5 уровням (EQ-5D-5L) и по шкале инструментальной активности в повседневной жизни (IADL).

Общие статистические способы и виды анализов

[0234] Популяционный анализ: применяется популяционный анализ безопасности, в который включают всех пациентов, получавших исследуемый препарат, для всех сводных данных по эффективности и безопасности. Три группы по видам лечения будут включены в исследованиях по безопасности и эффективности: AVP-786-28/4,9, AVP-786-18/4,9, и все пациенты в совокупности. Сравнения видов лечения выполняться не будут.

[0235] Анализ безопасности: результаты измерений показателей безопасности и переносимости, включающие сообщения о НЯ, жизненно важные признаки, оценки клинических лабораторных данных, ЭКГ в покое в 12 отведениях, S-STS, MMSE, ADAS-cog и TUG, будут подведены с помощью описательной статистики и/или таблицы частот.

[0236] Анализы эффективности: будет предоставлена ​​сводная статистика для наблюдаемых данных об эффективности, полученных при каждом визите. Будут представлены наблюдаемые исходные значения и изменение от исходного уровня, там, где это применимо.

[0237] Расчет величины выборки: размер выборки в 550 пациентов, включенных в исследование, обеспечит адекватное воздействие исследуемого препарата, соответствующее нормативным требованиям.

Пример 6: Одноцентровое открытое последовательное исследование фазы 1 лекарственного взаимодействия между препаратом AVP-786 (дейтерированный [d6] декстрометорфана гидробромид [DM]/хинидин асульфат [Q]) и пароксетином, и между AVP-786 и дулоксетином у здоровых людей.

[0238] Основными задачами данного исследования были: определение влияния AVP-786 (d6-DM/Q) на стабильную фармакокинетику пароксетина у здоровых людей; определение влияния AVP-786 на стабильную фармакокинетику дулоксетина у здоровых людей; и определение влияние пароксетина и дулоксетина на стабильную фармакокинетику AVP-786 у здоровых людей. Вторичными задачами исследования были оценки безопасности и переносимости при введении AVP-786 одновременно с пароксетином и дулоксетином здоровым людям. Пароксетин и дулоксетин представляют собой антидепрессанты, которые могут применяться, предположительно, у пациентов с болезнью Альцгеймера.

[0239] Было проведено два исследования для изучения ФК, безопасности и переносимости d6-DM. Исследование 12-AVR-132 представляет собой рандомизированное двойное слепое исследование единственной дозы и множественных доз, фаза 1, для оценки фармакокинетики в плазме крови при однократном и многократном введении AVP786, перорально, в различных дозах, по отдельности и в комбинации с хинидином (Q) у здоровых людей. Исследование 13-AVR-134 представляет собой одноцентровое рандомизированное открытое исследование фазы 1 для оценки фармакокинетики, безопасности и переносимости препарата AVP-786 у здоровых добровольцев.

Методика исследования

[0240] Данное исследование было проведено в единственном центре и состояло из открытого последовательного определения влияния AVP-786 на ФК пароксетина и дулоксетина, и влияния пароксетина и дулоксетина на ФК препарата AVP-786. В одну из 4 групп лечения в этом исследовании были включены 56 человек:

Группа 1: n=14

- пароксетин 20 мг один раз в сутки, дни 1-20

- AVP-786-30/4,75 (d6-DM 30 мг/Q, 4,75 мг), два раза в сутки, день 13 - до утра дня 20

Группа 2: n=14

- AVP-786-30/4,75 (d6-DM 30 мг/Q, 4,75 мг), два раза в сутки, день 1 до утра дня 20.

- пароксетин 20 мг один раз в сутки, дни 9-20

Группа 3: n=14

- дулоксетин 20 мг, два раза в сутки, день 1 до утра дня 13

- AVP-786-30/4,75 (d6-DM 30 мг/Q, 4,75 мг), два раза в сутки, день 6 до утра дня 13

Группа 4: n=14

- AVP-786-30/4,75 (d6-DM 30 мг/Q, 4,75 мг), два раза в сутки, день 1 до утра дня 13

- дулоксетин 20 мг, два раза в сутки, день 9 до утра дня 13.

[0241] Добровольцы посещали исследовательский центр с целью скринингового визита в период 14 дней до начала приема (день 1). Если эти добровольцы соответствовали критериям, они зачислялись в день 1 в одну из 4-х групп (день 1 имел место в разные дни для разных групп, чтобы обеспечить наличие койко-мест в отделениях в эти дни). Испытуемые ежедневно приходили в клинику для амбулаторного введения, до наступления второго дня (утро), когда производился забор ФК образцов (этот день был разным у разных групп лечения). После забора ФК образцов на второй день (утром) испытуемые поступали в клинику накануне на ночь перед (полным) забором ФК образцов на следующий день. Испытуемые оставались в отделении стационара до последнего дня забора ФК образцов (продолжительность времени отличалась между группами лечения, исходя из количества времени, за которое исследуемый препарат достигал устойчивой концентрации).

[0242] Образцы собирали для ФК оценки до момента 36 часов после последнего введения дозы исследуемого препарата. Все образцы анализировали на d6-DM, d3-декстрорфан (d3-DX), хинидин, пароксетин и дулоксетин, в зависимости от анализа.

[0243] Оценку безопасность проводили у всех испытуемых на протяжении всего исследования. В эту оценку входили: сообщения о неблагоприятных явлениях (НЯ), электрокардиограммы (ЭКГ), лабораторные данные, физикальные обследования и жизненно важные признаки. Для проспективной оценки суицидальных мыслей и поведения на протяжении всего исследования использовали колумбийскую шкалу серьезности суицидальных намерений (C-SSRS).

[0244] Пациенты возвращались для последующего визита в рамках исследования безопасности через 7-10 дней после введения последней дозы исследуемого препарата.

Планируемое (и проанализированное) количество испытуемых

[0245] Группа 1: планируемое n=14; участники n=14 (группа исследования безопасности); проанализировано n=11 (группа ФК исследования).

Группа 2: планируемое n=14; участники n=14 (группа исследования безопасности); проанализировано n=14 (группа ФК исследования).

Группа 3: планируемое n=14; участники n=14 (группа исследования безопасности); проанализировано n=14 (группа ФК исследования).

Группа 4: планируемое n=14; участники n=14 (группа исследования безопасности); проанализировано n=11 (группа ФК исследования).

Диагноз и критерии включения

[0246] Здоровые взрослые мужчины и женщины в возрасте от 18 до 50 лет включительно с индексом массы тела (ИМТ) от 18 до 300 кг/м2, у которых выявлен генотип CYP2D6, проявляющийся в виде протяженного метаболизма.

Исследуемые препараты

[0247] Тестируемые продукты: капсулы AVP-786-30/4,75 (d6-DM 30 мг/Q 4,75 мг). Пароксетин 20 мг в таблетках. Дулоксетин 20 мг в капсулах. Испытуемые получали исследуемый препарат в соответствии с планом исследования, приведенном выше в абзаце «Методика».

[0248] Каждая доза (состоящая из одной капсулы/таблетки) принималась перорально с водой комнатной температуры, объем 240 мл. Перед введением утренней дозы делали перерыв в приеме пищи (натощак, кроме употребления воды) в течение ночи (т.е., по меньшей мере, в течение 8 часов), и введение вечерней дозы происходило по меньшей мере через 2 часа после еды. После каждого введения дозы воздерживались от приема пищи (кроме воды) в течение по меньшей мере 2 часов после введения дозы.

Критерии оценки

[0249] Безопасность. Оценку безопасность проводили у всех испытуемых на протяжении всего исследования. В эту оценку входили: сообщения о неблагоприятных явлениях (НЯ), электрокардиограммы (ЭКГ), лабораторные данные, физикальные обследования и жизненно важные признаки. Для проспективной оценки суицидальных мыслей и поведения на протяжении всего исследования использовали колумбийскую шкалу серьезности суицидальных намерений (C-SSRS) в рамках оценки безопасности в соответствии с руководством FDA «Suicidal Ideation and Behavior: Prospective Assessment of Occurrence in Clinical Trials».

[0250] Фармакокинетика: Образцы крови (6 мл для введения единственного препарата и 12 мл для введения комбинированного препарата) для определения в плазме d6-DM, DX-d3, хинидина, пароксетина и дулоксетина, были собраны в следующих точках времени:

[0251] Перед введением и через 0,5, 1, 2, 3, 4, 6, 8 и 12 часов после введения утренней дозы в последний день введения единственного препарата. Для группы 1 только: поскольку пароксетин вводили один раз в сутки, дополнительный образец забирали через 24 часа после последнего дня о введения единственного препарата (перед первым комбинированным введением).

[0252] Перед введением и через 0,5, 1, 2, 3, 4, 6, 8, 12, 24 и 36 часов после введения утренней дозы в последний день комбинированного введения.

[0253] Перед утренним введением в день 4 (только для групп 2 и 4) и в каждый из двух дней перед последним днем введения единственного препарата и в последний день комбинированного введения.

[0254] Использовали некомпартментные способы для определения фармакокинетических параметров, в том числе AUC0-12, AUC0-24, Cmax,Tmax, kel, t½, Cmin и Tmin.

Статистические способы

[0255] Безопасность: по видам лечения обобщали переменные показатели безопасности, включающие частоту неблагоприятных явлений, жизненно важные признаки, параметры ЭКГ и клинические лабораторные данные. Ответы на опросник С-SSRS были указаны для каждого испытуемого. Представлены индивидуальные профили испытуемых для решения любых вопросов, связанных с аномальной реакцией.

[0256] Фармакокинетика: описательные статистические данные по концентрации в плазме d6-DM, DX-d3, хинидина и пароксетина или дулоксетина (когда это применимо), были сведены в таблицу, для каждой точки времени по видам лечения. Средние профили зависимости концентрации в плазме от времени были представлены в виде графика по видам лечения на линейной и полу-логарифмической шкале. Дополнительно, были получены некомпартментные ФК параметры. Сравнение между комбинированным лечением (группа 1 против группы 2, AVP-786 и пароксетин, группа 3 против группы 4, AVP-786 и дулоксетин) были представлены как средние геометрические соотношения Cmax и AUC0-12 (AUC0-24 для пароксетина) с доверительными интервалами 90%. Точечные оценки и доверительные пределы были определены с помощью логарифмических данных, а затем обратно трансформированы к исходному масштабу. Анализ проводили с использованием дисперсионного анализа вариаций в отношении испытуемого и лечения.

Результаты

[0257] Фармакокинетика:

[0258] Взаимодействие пароксетина и AVP-786: средние концентрации различных анализируемых веществ в плазме при введении множественных доз в зависимости от времени и от группы лечения показаны на фигурах 7 и 8. Средние значения (CV%) в зависимости от лечения и анализируемого вещества (# медиана (диапазон) для Tmax) представлены в таблице 13.

Таблица 13:

Аналит Лечение N
(n для t1/2)
Cmax (нг/мл) Tmax# (часы) AUC0-12
(PAR: AUC0-24)
(часы*нг/мл)
t1/2 (часы)
d6-DM группа 1, день 20 11 (3) 93,5 (21%) 2,00 (2,00-4,00) 943 (22%) 18.5 (4,8%) группа 2, день 8 14 (0) 54,6 (30%) 3,00 (2,00-4,00) 467 (36%) NA группа 2, день 20 14 (4) 100 (34%) 3,00 (1,00-8,00) 1027 (37%) 17,3 (20%) d3-DX группа 1, день 20 11 (0) 87,2 (22%) 1,00 (0,00-4,00) 820 (21%) NA группа 2, день 8 14 (0) 117 (22%) 3,00 (0,00-3,00) 1142 (23%) NA группа 2, день 20 14 (0) 94,1 (45%) 0,50 (0,00-2,00) 820 (23%) NA Хинидин (Q) группа 1, день 20 11 (10) 24,2 (41%) 1,03 (1,00-3,00) 163 (48%) 6,97 (31%) группа 2, день 8 14 (13) 23,1 (40%) 1,00 (0,50-2,00) 146 (38%) 4,80 (15%) группа 2, день 20 14 (14) 28,3 (34%) 1,00 (0,50-2,00) 191 (34%) 8,47 (31%) Пароксетин (PAR) группа 1, день 12 11 (0) 29,5 (39%) 4,00 (3,00-8,00) 452 (42%) NA группа 1, день 20 11 (2) 42,8
(32%)
4,00 (2,00-6,00) 712 (35%) 19,2 (8,7%)
группа 2, день 20 14 (8) 48,0 (36%) 4,00 (3,00-6,00) 768 (40%) 16,8 (16%)

NA=не оценивали

[0259] Сравнение комбинированного введения с введением единственного препарата с помощью лог-трансформированного ANOVA (таблица 14):

Таблица 14:

Аналит N Параметр Соотношение LS значений CI 90%соотношения LS значений Пароксетин (PAR) 11
(группа 1)
Cmax (нг/мл) 149,4% [135,5-164,7]
AUC0-24 (час*нг/мл) 163,7% [141,7-189,2] d6-DM 14
(группа 2)
Cmax (нг/мл) 180,7% [163,0-200,3]
AUC0-24 (час*нг/мл) 217,9% [193,1-246,0] d3-DX 14
(группа 2)
Cmax (нг/мл) 77,1% [67,1-88,4]
AUC0-24 (час*нг/мл) 71,6% [66,2-77,5] Хинидин (Q) 14
(группа 2)
Cmax (нг/мл) 125,3% [110,2-142,5]
AUC0-24 (час*нг/мл) 132,5% [118,7-148,0]

LS - значения=среднеквадратичное среднее значение

CI 90%=доверительный интервал 90%

[0260] Взаимодействие дулоксетина и AVP-786: средние концентрации различных анализируемых веществ в плазме при введении множественных доз в зависимости от времени и от группы лечения показаны на фигурах 9 и 10. Средние значения (CV%) в зависимости от лечения и анализируемого вещества (# медиана (диапазон) для Tmax) представлены в таблице 15.

Таблица 15:

Аналит Лечение N
(n для t1/2)
Cmax (нг/мл) Tmax# (часы) AUC0-12
(PAR: AUC0-24)
(часы*нг/мл)
t1/2 (часы)
d6-DM группа 3, день 13 14 (13) 72,7 (31%) 4,00 (2,00-8,00) 692 (34%) 13.3 (14%) группа 4, день 8 11 (0) 59,0 (36%) 3,00 (2,00-4,00) 540 (46%) NA группа 4, день 13 11 (11) 66,8 (31%) 3.00 (2.00-4.00) 605 (34%) 12,6 (24%) d3-DX группа 3, день 13 14 (1) 128 (17%) 3,00 (0,00-8,00) 1295 (16%) 21,7
(NA)
группа 4, день 8 11 (0) 127 (30%) 3.00 (0,00-4,00) 1267 (30%) NA группа 4, день 13 11 (3) 121 (27%) 3,00 (0,00-12,00) 1224 (27%) 20,5 (5,2%) Хинидин (Q) группа 3, день 13 14 (14) 25,5 (31%) 2,00 (1,00-4,03) 191 (32%) 7,39 (36%) группа 4, день 8 11 (11) 24,9 (46%) 1,00 (0,50-3,00) 160 (44%) 5,19 (13%) группа 4, день 13 11 (10) 25,5 (43%) 2,00 (0,50-3,08) 168 (43%) 6,59 (39%) Дулоксетин (DUL) группа 3, день 5 14 (8) 26,1 (46%) 4,00 (3,00-6,00) 194 (46%) 5,04 (14%) группа 3, день 13 14 (14) 41,9
(35%)
3,50 (3,00-6,00) 345 (38%) 11,1 (15%)
группа 4, день 13 11 (11) 51,4 (37%) 4,00 (3,00-6,00) 419 (46%) 11,4 (22%)

NA=не оценивали

[0261] Сравнение комбинированного введения с введением единственного препарата с помощью лог-трансформированного ANOVA (таблица 16):

Таблица 16:

Аналит N Параметр Соотношение LS значений CI 90%соотношения LS-значений Дулоксетин (DUL) 14
(группа 3)
Cmax (нг/мл) 167,6% [151,5-186,1]
AUC0-12 (час*нг/мл) 184,0% [167,5-202,1] d6-DM 11
(группа 4)
Cmax (нг/мл) 113,9% [106,8-121,4]
AUC0-12 (час*нг/мл) 114,8% [108,9-121,0] d3-DX 11
(группа 4)
Cmax (нг/мл) 96,3% [90,1-102,9]
AUC0-12 (час*нг/мл) 97,6% [91,8-103,7] Хинидин (Q) 11
(группа 4)
Cmax (нг/мл) 103,1% [91,0-116,8]
AUC0-12 (час*нг/мл) 105,4% [99,5-111,6]

LS - значения=среднеквадратичное среднее значение

CI 90%=доверительный интервал 90%

[0262] Безопасность:

[0263] Не было отмечено ни одного случая смерти. У одного испытуемого (субъект R112, пароксетин/AVP-786) выявлено 2 сопутствующих серьезных нежелательных явления (СНЯ): гипокалиемия и гипохлоремия после приема пароксетина 20 мг один раз в сутки (день 1-16) и AVP-786-30/4,75 два раза в сутки (день 13-16). Оба явления считаются НЯ средней тяжести. Испытуемый сообщил о головокружении, связанном с ортостатической гипотензией в день 15 и мышечной слабости в обеих ногах с покалыванием в день 16. Для дополнительно оценки клинических симптомов провели анализы крови и ЭКГ, полученные на 17 день, с выявлением гипокалиемии, метаболического алкалоза и удлинения QTc. Симптомы полностью устранены путем переливания жидкости и электролитов. На основании клинической проверки деталей этих СНЯ заявителем и независимой оценки эксперта-кардиолога сделан вывод, что клиническая картина не согласуется с известными лекарственными эффектами ни пароксетина, ни AVP-786.

[0264] Среди испытуемых было 4 досрочных исключения из исследования по причине таких НЯ, как суицидальные мыслей (субъект R107, после 8 доз пароксетина), гипокалиемия и гипохлоремия (субъект R112, см. выше), инфекция мочевых путей (субъект R411, после 12 доз AVP-786) и рвота (субъект R412, после 9 доз AVP-786).

[0265] Взаимодействие пароксетина и АVP-786:

[0266] В группах 1 и 2 были сообщения о возникновении нежелательных явлений вследствие лечения у 7 из 14 пациентов (50%) после пароксетина (в течение 12 дней введения), у 9 из 14 пациентов (64%) после AVP-786 (в течение 8 дней введения), у 10 из 12 пациентов (83%) после комбинации пароксетина/AVP-786 (в течение 8 дней введения) и у 13 из 14 пациентов (93%) после комбинации AVP-786/пароксетина (в течение 12 дней введения).

[0267] Было признано, что большинство НЯ (104 из 115 НЯ, 90%) связаны (возможно или вероятно) с исследуемым лечением. Наиболее распространенными побочными, обусловленными лечением, были головокружение и постуральное головокружение, головная боль, диарея, тошнота, ночные кошмары и нарушения внимания. О таких неблагоприятных явлениях, как ночные кошмары и нарушение внимание сообщали только пациенты, получавшие комбинацию пароксетина и AVP-786. По сообщениям испытуемых, головокружение наблюдалось чаще при комбинированном лечении по сравнению с лечением пароксетином или AVP-786 в качестве единственных препаратов. Следует отметить, что головная боль и тошнота была зарегистрирована только у пациентов после приема пароксетина или комбинации пароксетина и AVP-786, но не после приема AVP-786 в качестве единственного препарата.

[0268] Большинство НЯ были классифицированы как незначительные степени тяжести и не выявлено серьезных нежелательных явлений (СНЯ). Неблагоприятные явления средней тяжести, которые считались связанными с исследуемым лечением, представляли собой суицидальные мысли, гипокалиемию и гипохлоремию, и депрессию.

[0269] Взаимодействие дулоксетина и АVP-786:

[0270] В группах 3 и 4 были сообщения о возникновении нежелательных явлений вследствие лечения у 6 из 14 пациентов (43%) после дулоксетина (в течение 5 дней введения), у 7 из 14 пациентов (50%) после AVP-786 (в течение 8 дней введения), у 7 из 14 пациентов (50%) после комбинации дулоксетина/AVP-786 (в течение 8 дней введения), и у 5 из 11 пациентов (45%) после комбинации AVP-786/ дулоксетина (в течение 5 дней введения).

[0271] Было признано, что большинство НЯ (40 из 50 НЯ, 80%) связаны (возможно или вероятно) с исследуемым лечением. Наиболее распространенные нежелательные явления, связанные с лечением, представляли собой слабость и мышечную скованность. Не выявлено каких-либо распространенных, часто возникающих НЯ у испытуемых после комбинации AVP-786 и дулоксетина по сравнению с введением дулоксетина или AVP-786 по отдельности. Следует отметить, что слабость отмечена только у испытуемых после введения AVP-786 в качестве единственного препарата в группе 4, но не выявлена после введения AVP-786 испытуемым в группе 2.

[0272] Большинство НЯ были классифицированы как незначительные по степени тяжести, при этом выявлено одно серьезное нежелательное явление (СНЯ). Серьезным неблагоприятным явлением средней тяжести, которое было связано с исследуемым лечением, была рвота (1 субъект, AVP-786). Неблагоприятные явления средней тяжести, которые считались связанными с исследуемым лечением, представляли собой рвоту, холодный пот, головную боль, головокружение и боли внизу живота.

[0273] По сводным данным о НЯ по степени тяжести для каждой из групп не отмечено различий между видами лечения. Не было явных различий в безопасности, по оценке клинических лабораторных исследований, жизненно важные признаков и по результатам ЭКГ между введениями.

Выводы

[0274] Отсутствуют какие-либо клинически значимые различия в оценках безопасности для комбинаций многократного введения AVP-786 с пароксетином или с дулоксетином, по сравнению с многократным введением этих препаратов по отдельности.

[0275] Стабильное системное воздействие пароксетина значительно увеличивается (приблизительно до 150%) при совместном введении с AVP-786, по сравнению с пароксетином в качестве единственного препарата. Наблюдались значительные изменения в стабильном системном воздействии аналитов AVP-786 при их совместном введении с пароксетином, по сравнению с введением AVP-786 в качестве единственного препарата, с увеличением системного воздействия d6-DM приблизительно в два раза и существенным уменьшением d3-DX (приблизительно до 75%), что свидетельствует о снижении скорости превращения d6-DM в d3-DX при введении AVP-786 в комбинации с пароксетином. Выявлено умеренное увеличение (приблизительно до 130%) в системном воздействии хинидина.

[0276] Стабильное системное воздействие дулоксетина значительно увеличилось (приблизительно до 180%) при совместном введении с AVP-786, по сравнению с введением дулоксетина в качестве единственного препарата.

Не выявлено каких-либо существенных изменений в стабильном системном воздействии аналитов AVP-786 при их совместном введении с дулоксетином по сравнению с введением AVP-786 в качестве единственного препарата.

Похожие патенты RU2838188C2

название год авторы номер документа
КОМПОЗИЦИИ И СВЯЗАННЫЕ С НИМИ СПОСОБЫ 2017
  • Вепачеду Шринивасарао
  • Мёбиус Ханс Й.
  • Беспалов Антон
RU2764716C2
ФАРМАЦЕВТИЧЕСКИЕ КОМПОЗИЦИИ ДЛЯ ЛЕЧЕНИЯ НЕВРОЛОГИЧЕСКИХ РАССТРОЙСТВ, СОДЕРЖАЩИЕ ДЕКСТРОМЕТОРФАН И ХИНИДИН 2003
  • Якатан Геральд
  • Берг Джеймс
  • Поуп Лаура Е.
  • Смит Ричард А.
RU2341265C2
МЕМАНТИН ДЛЯ ЛЕЧЕНИЯ БОЛЕЗНИ АЛЬЦГЕЙМЕРА ЛЕГКОЙ И ОТ ЛЕГКОЙ ДО УМЕРЕННОЙ СТЕПЕНИ ТЯЖЕСТИ 2005
  • Макдональд Скотт
  • Гергел Айван
  • Штеффлер Альбрехт
  • Мебиус Ханс-Йорг
  • Вирт Ивонне
  • Поткин Стивен
RU2371173C2
Целевой лекарственный препарат и новые композиции, комбинации на его основе и способы их применения 2018
  • Вепачеду Шринивасарао
  • Мёбиус Ханс Й.
  • Беспалов Антон
RU2760558C2
СПОСОБЫ ПОДДЕРЖАНИЯ, ЛЕЧЕНИЯ ИЛИ УЛУЧШЕНИЯ КОГНИТИВНОЙ ФУНКЦИИ 2013
  • Кениг Герхард
  • Хилт Дана К.
RU2635522C2
УСТРОЙСТВО ДЛЯ ТРАНСДЕРМАЛЬНОЙ ДОСТАВКИ ДЕКСТРОМЕТОРФАНА 2018
  • Борсадиа Суреш
RU2795729C2
КОМПОЗИЦИЯ, ВКЛЮЧАЮЩАЯ АМИЛОИДНЫЙ ПЕПТИД Аβ-1-6, ПРИСОЕДИНЕННЫЙ К ВИРУСОПОДОБНОЙ ЧАСТИЦЕ И АДЪЮВАНТУ 2011
  • Петер Ульрих
  • Катя Баер
  • Жорж Имбер
  • Мари-Жозе Хёллингер
  • Мари-Эмманюэль Ривьер
  • Ана Граф
RU2603486C2
ПРИМЕНЕНИЕ ЭКСТРАКТА ЛИСТЬЕВ ГИНКГО БИЛОБА 2008
  • Херрманн Йоахим
  • Хёрр Роберт
RU2493865C2
КОМБИНАЦИЯ АНТАГОНИСТА 5-HT-РЕЦЕПТОРА И ИНГИБИТОРА АЦЕТИЛХОЛИНЭСТЕРАЗЫ ДЛЯ ПРИМЕНЕНИЯ ПРИ ЛЕЧЕНИИ БОЛЕЗНИ АЛЬЦГЕЙМЕРА У СУБПОПУЛЯЦИИ ПАЦИЕНТОВ, КОТОРЫЕ ЯВЛЯЮТСЯ НОСИТЕЛЯМИ АЛЛЕЛЕЙ APOE4 2018
  • Уинфельд, Кристиан
RU2776366C2
ИСПОЛЬЗОВАНИЕ ДЕКСТРОМЕТОРФАНА И ИНГИБИТОРА ОКСИДАЗЫ ДЛЯ ОТУЧЕНИЯ ПАЦИЕНТОВ ОТ НАРКОТИКОВ И АНТИДЕПРЕССАНТОВ 2000
  • Смит Ричард Алэн
RU2281771C2

Иллюстрации к изобретению RU 2 838 188 C2

Реферат патента 2025 года ФАРМАЦЕВТИЧЕСКИЕ КОМПОЗИЦИИ, СОДЕРЖАЩИЕ ДЕКСТРОМЕТОРФАНОВОЕ СОЕДИНЕНИЕ И ХИНИДИН ДЛЯ ЛЕЧЕНИЯ ВОЗБУЖДЕНИЯ ПРИ ДЕМЕНЦИИ

Изобретение относится к медицине. Предложен способ лечения возбуждения и/или агрессии, и/или связанных с ними симптомов у пациента с деменцией, включающий введение нуждающемуся в этом пациенту дейтерированного декстрометорфана и хинидина, где дейтерированный декстрометорфан вводят перорально в количестве от 10 до 200 мг в день и хинидин вводят перорально в количестве от 0,05 до 50 мг в день, и дейтерированный декстрометорфан и хинидин вводят в количествах, достаточных для снижения показателя субъекта по модифицированному коллективному исследованию болезни Альцгеймера – общей клинической оценке изменений (ADCS – CGIC) в отношении возбуждения по меньшей мере в 0,5 раза по сравнению с субъектами без лечения или субъектами при введении плацебо, и/или для снижения показателя общей клинической оценки изменений пациентом (PGI-C) в отношении возбуждения по меньшей мере в 0,6 раз по сравнению с субъектами без лечения или субъектами при введении плацебо. Также предложено применение дейтерированного декстрометорфана и хинидина для лечения возбуждения и/или агрессии и/или связанных с ними симптомов у пациента с деменцией и применение дейтерированного декстрометорфана и хинидина для получения лекарственного средства для лечения возбуждения и/или агрессии, и/или связанных с ними симптомов у пациента с деменцией. Группа изобретений обеспечивает лечение возбуждения и/или агрессии, и/или связанных с ними симптомов у пациента с болезнью Альцгеймера, и указанный способ не имеет повышенного риска развития серьезных нежелательных эффектов. 3 н. и 7 з.п. ф-лы, 10 ил., 16 табл., 6 пр.

Формула изобретения RU 2 838 188 C2

1. Способ лечения возбуждения и/или агрессии, и/или связанных с ними симптомов у пациента с деменцией, включающий введение нуждающемуся в этом пациенту дейтерированного декстрометорфана и хинидина, где дейтерированный декстрометорфан вводят перорально в количестве от 10 мг до 200 мг в день и хинидин вводят перорально в количестве от 0,05 мг до 50 мг в день, и дейтерированный декстрометорфан и хинидин вводят в количествах, достаточных для снижения показателя субъекта по модифицированному коллективному исследованию болезни Альцгеймера – общей клинической оценке изменений (ADCS – CGIC) в отношении возбуждения по меньшей мере в 0,5 раза по сравнению с субъектами без лечения или субъектами при введении плацебо, и/или для снижения показателя общей клинической оценки изменений пациентом (PGI-C) в отношении возбуждения по меньшей мере в 0,6 раз по сравнению с субъектами без лечения или субъектами при введении плацебо.

2. Способ по п. 1, в котором типом деменции является болезнь Альцгеймера.

3. Способ по п. 1 или 2, включающий введение дейтерированного декстрометорфана в количестве 18 мг и введение хинидина в количестве 4,9 мг.

4. Способ по п. 1 или 2, включающий введение дейтерированного декстрометорфана в количестве 28 мг и введение хинидина в количестве 4,9 мг.

5. Способ по п. 1 или 2, включающий введение дейтерированного декстрометорфана в количестве 42 мг и введение хинидина в количестве 4,9 мг.

6. Способ по п. 1 или 2, включающий введение дейтерированного декстрометорфана в количестве 43 мг и введение хинидина в количестве 4,9 мг.

7. Применение дейтерированного декстрометорфана и хинидина для лечения возбуждения и/или агрессии и/или связанных с ними симптомов у пациента с деменцией, где дейтерированный декстрометорфан вводят перорально в количестве от 10 до 200 мг в день и хинидин вводят перорально в количестве от 0,05 до 50 мг в день, и дейтерированный декстрометорфан и хинидин вводят в количествах, достаточных для снижения показателя субъекта по модифицированному коллективному исследованию болезни Альцгеймера – общей клинической оценке изменений (ADCS – CGIC) в отношении возбуждения по меньшей мере в 0,5 раза по сравнению с субъектами без лечения или субъектами при введении плацебо, и/или для снижения показателя общей клинической оценки изменений пациентом (PGI-C) в отношении возбуждения по меньшей мере в 0,6 раз по сравнению с субъектами без лечения или субъектами при введении плацебо.

8. Применение по п. 7, где типом деменции является болезнь Альцгеймера.

9. Применение дейтерированного декстрометорфана и хинидина для получения лекарственного средства для лечения возбуждения и/или агрессии, и/или связанных с ними симптомов у пациента с деменцией, где дейтерированный декстрометорфан вводят перорально в количестве от 10 до 200 мг в день и хинидин вводят перорально в количестве от 0,05 до 50 мг в день, и дейтерированный декстрометорфан и хинидин вводят в количествах, достаточных для снижения показателя субъекта по модифицированному коллективному исследованию болезни Альцгеймера – общей клинической оценке изменений (ADCS – CGIC) в отношении возбуждения по меньшей мере в 0,5 раза по сравнению с субъектами без лечения или субъектами при введении плацебо, и/или для снижения показателя общей клинической оценки изменений пациентом (PGI-C) в отношении возбуждения по меньшей мере в 0,6 раз по сравнению с субъектами без лечения или субъектами при введении плацебо.

10. Применение по п. 9, где типом деменции является болезнь Альцгеймера.

Документы, цитированные в отчете о поиске Патент 2025 года RU2838188C2

US 20130137714 A1, 30.05.2013
HARBESON et al., Deuterium Medicinal Chemistry: A New Approach to Drug Discovery and Development// Medchem News, (20140500), vol
Пишущая машина для тюркско-арабского шрифта 1922
  • Мадьярова А.
  • Туганов Т.
SU24A1
Аппарат для очищения воды при помощи химических реактивов 1917
  • Гордон И.Д.
SU2A1
ФАРМАЦЕВТИЧЕСКИЕ КОМПОЗИЦИИ ДЛЯ ЛЕЧЕНИЯ НЕВРОЛОГИЧЕСКИХ РАССТРОЙСТВ, СОДЕРЖАЩИЕ ДЕКСТРОМЕТОРФАН И ХИНИДИН 2003
  • Якатан Геральд
  • Берг Джеймс
  • Поуп Лаура Е.
  • Смит Ричард А.
RU2341265C2
WO 2008137474 A1, 13.11.2008
Жуленко В.Н., и др
Фармакология: учебник для студентов высших учебных заведений, М: КолосС, 2008,

RU 2 838 188 C2

Авторы

Сифферт, Джоао

Даты

2025-04-11Публикация

2020-05-21Подача