[0001] Настоящее изобретение в целом относится к области укупорочных средств для упаковки, обычно в форме флаконов или бутылок, для фармацевтических препаратов и, в частности, к области лекарственных средств для парентерального применения.
[0002] Целью настоящего изобретения является создание пластикового устройства укупорки, частично удаляемого посредством отрыва, способного обеспечить подлинность упаковки с выявлением признаков ее вскрытия.
[0003] В данной области техники известны колпачки для дальнейшего укупоривания упаковки, как правило, флакона в форме стеклянной бутылки, которая уже укупорена резиновой пробкой. В таких известных решениях колпачок полностью закрывает резиновую пробку.
[0004] В случае лекарственных средств для приема внутрь, которые, соответственно, предполагают всасывание в кишечнике, колпачок полностью удаляется, обеспечивая возможность снятия резиновой пробки и, следовательно, получения доступа к содержимому упаковки.
[0005] Пример указанных известных решений для лекарственных средств для приема внутрь описан в документе известного уровня техники US 3,480,171 (А), относящемся к колпачку, полностью изготовленному из металла, в частности из алюминия. Одно из преимуществ алюминия заключается в деформативности материала, что позволяет легко фиксировать колпачок в нужном положении, загибая его нижнюю кромку под край горлышка упаковки. Кроме того, колпачок, полностью изготовленный из металла, позволяет обеспечить очень малую толщину и размеры. Тем не менее, металлический колпачок имеет ряд недостатков, напрямую связанных с материалом. Тонкий металлический колпачок может на практике неприемлемо деформироваться на этапах наполнения и очистки упаковки. Еще один недостаток заключается в том, что мельчайшие частицы металла могут отделяться при отрыве и вступать в контакт с резиновой пробкой, загрязняя ее. Более того, такой тип колпачков не обеспечивает подлинность и целостность содержимого упаковки. На самом деле, фиксацию колпачка загибом кромок легко нарушить с помощью подходящих инструментов.
[0006] В данной области техники известны решения в виде пластиковых колпачков для лекарственных средств для приема внутрь. Пример описан в патенте US 4,251,003 (А), в котором колпачок включает отрывную внешнюю насадку и легкосъемный внутренний ободок для последующего удаления резиновой пробки. В таком решении внешняя насадка должна обеспечивать надежную фиксацию внутреннего ободка под краями горлышка упаковки. Хотя такой колпачок позволяет решить проблемы, связанные с применением металла, у него есть существенный недостаток. На практике, такой тип колпачков не обеспечивает подлинность и целостность содержимого упаковки, поскольку внешняя насадка легко вскрывается с помощью подходящих инструментов.
[0007] В общих словах, в колпачках для лекарственных средств для приема внутрь важно, чтобы колпачок полностью снимался для последующего удаления резиновой пробки. Кроме того, колпачки, известные в применении для данных лекарственных средств, легко вскрываются манипуляциями с нижней кромкой самого колпачка.
[0008] В колпачках для лекарственных средств для парентерального применения важно, чтобы резиновая пробка была плотно прижата к горлышку упаковки. В случае лекарственных средств для парентерального применения, по сути, можно вскрыть только верхнюю часть колпачка, к примеру, посредством отрыва, чтобы обеспечить доступ к верхней части резиновой пробки для прокола иглой шприца, используемого для извлечения фармакологического раствора, содержащегося в упаковке.
[0009] В данной области техники известны решения в виде пластиковых колпачков для лекарственных средств для парентерального применения. Такой пример описан в документе US 2016/184182 (А1), в котором колпачок состоит из верхней части, которую можно вскрыть для получения доступа к прокалываемой области резиновой пробки, и фиксированной нижней части, плотно прижимающей резиновую пробку. В таком решении фиксированная часть защелкивается под краем горлышка упаковки и охватывает всю окружность горлышка. Хотя такое решение снижает риски вскрытия с учетом затруднительности доступа к области под колпачком, откуда его легче вскрыть, у него, тем не менее, есть некоторые недостатки. На практике, в случае случайных ударов по нижнему краю или при попытке вскрытия в любом случае существует риск того, что фиксированная часть открепится от горлышка упаковки, что приведет к потере прижимающего усилия, применяемого к резиновой пробке, и нарушению герметичности укупорки. Кроме того, намеренно расширенная фиксированная часть затрудняет видимость горлышка упаковки, когда при извлечении остатков фармакологического раствора с помощью шприца упаковку переворачивают вверх дном и остатки раствора собираются прямо в горлышке. Более того, у такого известного колпачка отсутствует как механизм пригонке по различной высоте стеклянных упаковок в случае одновременного наполнения, так и механизмы пригонки по допускам на размеры, типичным для стеклянных и резиновых компонентов.
[0010] Целью настоящего изобретения является создание пластикового устройства укупорки для лекарственных средств для парентерального применения, частично отрывного, которое решает проблемы известного уровня техники с учетом потребностей в данной области.
[0011] В частности, целью настоящего изобретения является создание пластикового устройства укупорки для лекарственных средств для парентерального применения, частично удаляемого посредством отрыва, способного обеспечить подлинность упаковки с выявлением признаков ее вскрытия.
[0012] Другой целью изобретения является создание пластикового защитного колпачка, способного обеспечить подлинность упаковки и в то же время обеспечить достаточную видимость горлышка упаковки во время извлечения остатков фармакологического раствора с помощью шприца.
[0013] Другой целью изобретения является создание пластикового защитного колпачка, который плотно прижимает резиновый элемент к упаковке даже после частичного отрыва колпачка.
[0014] Другой целью изобретения является создание пластикового защитного колпачка, который даже в случае неприемлемых частичных деформаций во время наполнения и очистки упаковки сохраняет герметичность укупорки.
[0015] Другой целью изобретения является создание пластикового защитного колпачка, для которого предусмотрен по меньшей мере один механизм пригонки по разной высоте стеклянных флаконов в случае одновременного наполнения.
[0016] Другой целью изобретения является создание пластикового защитного колпачка, для которого предусмотрен, по меньшей мере, один механизм пригонки по допускам на размеры, типичным для стеклянных и резиновых компонентов.
[0017] Другой целью изобретения является создание пластикового защитного колпачка, состоящего только из двух компонентов, которые легко изготовить методом литья под давлением.
[0018] Эта цель достигается в виде частично отрывного пластикового устройства укупорки и упаковки для лекарственных средств для парентерального применения, как описано и заявлено в настоящем документе. В документе также описаны предпочтительные варианты осуществления изобретения.
[0019] Дополнительные признаки и преимущества устройства укупорки согласно настоящему изобретению будут очевидны из следующего описания предпочтительных вариантов осуществления, приведенных в качестве показательных, не ограничивающих примеров, со ссылкой на прилагаемые фигуры:
- На фигуре 1 показан вид сзади упаковки для лекарственных средств для парентерального применения, снабженного частично отрывным пластиковым устройством укупорки в соответствии с настоящим изобретением, с внешним оформлением;
- На фигуре 2 показан вид спереди упаковки для лекарственных средств для парентерального применения, снабженного частично отрывным пластиковым устройством укупорки в соответствии с настоящим изобретением;
- На фигурах 3А и 3В показаны этапы вскрытия устройства укупорки согласно настоящему изобретению, в частности, отрыв внешней насадки;
- На фигурах 4А и 4В показан вид спереди и вид в разрезе, соответственно, устройства укупорки в соответствии с настоящим изобретением после полного удаления внешней насадки;
- На фигурах 4С и 4D показана аксонометрическая проекция и аксонометрическая проекция в разрезе, соответственно, устройства укупорки в соответствии с настоящим изобретением после полного удаления внешней насадки;
- На фигуре 5 показана упаковка для лекарственных средств для парентерального применения в соответствии с настоящим изобретением;
На фигурах 6А, 6В и 6С показаны аксонометрическая проекция сверху, вид снизу и вид в разрезе, соответственно, компонента устройства укупорки согласно настоящему изобретению, в частности внутреннего ободка, в примере осуществления;
- На фигурах 7А, 7В и 7С показаны аксонометрическая проекция сверху, вид снизу и вид в разрезе, соответственно, компонента устройства укупорки согласно настоящему изобретению, в частности внутреннего ободка, в другом примере осуществления;
- На фигурах 8А и 8В показаны этапы сборки устройства укупорки согласно настоящему изобретению на соответствующей упаковке;
- На фигурах 9А и 9В показан компонент устройства укупорки согласно настоящему изобретению и, в частности, уплотнительный элемент в двух вариантах осуществления;
- На фигурах 10А и 10В показана схема механизма пригонки по различной высоте стеклянных флаконов в случае одновременного наполнения, в примере осуществления, в случае минимальной высоты, по которой необходимо выполнить пригонку, и максимальной высоты, по которой необходимо выполнить пригонку, соответственно;
- На фигурах 11А-11С показаны дополнительные примеры осуществления механизма пригонки;
- На фигуре 12 показан вид в разрезе компонента устройства укупорки согласно настоящему изобретению и, в частности, внешней насадки;
- На фигуре 13 показана деталь устройства укупорки в соответствии с настоящим изобретением и, в частности, дополнительный механизм пригонки по различной высоте стеклянных флаконов в случае одновременного наполнения в примере осуществления;
- На фигурах 14А-14С дополнительно показаны этапы сборки устройства укупорки согласно настоящему изобретению на соответствующей упаковке.
[0020] На прилагаемых фигурах позиционное обозначение 1 относится к упаковке для фармацевтических препаратов для парентерального применения, состоящей из флакона 2, закрытого устройством укупорки 10, включающего элемент укупорки 3, например, из резины, и защитный колпачок 4, например, из пластика, частично отрывной и пригодный для обеспечения подлинности упаковки с выявлением признаков ее вскрытия.
[0021] Защитный колпачок 4 полностью закрывает элемент укупорки 3 и может быть удален, по крайней мере, частично, для получения доступа к прокалываемой области 31 такого элемента укупорки 3, предназначенной для ввода иглы шприца для извлечения фармакологического раствора S, который содержится во флаконе 2.
[0022] Флакон 2, детально изображенный на фигуре 5, предназначен для фармакологического раствора S для парентерального применения и имеет горлышко 21, оканчивающееся сверху краем 23, который определяет отверстие 24 самого флакона. Край 23 имеет борт 22, выступающий радиально из шейки 21 и имеющим внешний диаметр больше, чем внешний диаметр шейки 21. Горлышко 21 флакона заканчивается у основания плеча флакона.
[0023] У упаковки 1 отверстие 24 флакона 2 закрывается элементом укупорки 3.
[0024] Элемент укупорки 3, детально изображенный на фигурах 9А и 9В и описанный ниже, представляет собой резиновую пробку, стерильно укупоривающую содержимое флакона 2 для защиты от внешней среды, которую можно проколоть иглой для подкожных инъекций, не показанной на чертежах, для извлечения фармакологического раствора S из упаковки 1.
[0025] Элемент укупорки 3 закрывается защитным колпачком 4, который, помимо усиления укупорки упаковки 1, также выполняет функцию защиты от вскрытия, обеспечивающую выявление любых признаков вскрытия самой упаковки.
[0026] Защитный колпачок 4 содержит два элемента и полностью выполнен из пластика. Как правило, защитный колпачок 4 состоит только двух элементов.
[0027] Детали защитного колпачка 4:
- внутренний ободок 5, детально изображенный на фигурах 6А-7С и описанный ниже, пригодный для частичного покрытия элемента укупорки 3 с не менее одной обнаженной прокалываемой областью 31, и пригодный для удерживания элемента укупорки 3 в отверстии 24 флакона 2 в надлежащем положении укупорки даже при использовании упаковки 1;
- внешняя насадка 6, детально изображенная на фигуре 12 и описанная ниже, пригодная для полного покрытия элемента укупорки 3 и внутреннего ободка 5 до момента использования упаковки 1, когда указанную насадку 6 можно удалить отрывом для получения доступа к прокалываемой области 31 элемента укупорки 3, предназначенной для ввода иглы шприца для извлечения фармакологического раствора S, содержащегося во флаконе 2.
[0028] На фигурах 6А-7С показан внутренний ободок 5 защитного колпачка 4 согласно настоящему изобретению в двух возможных вариантах осуществления.
[0029] Внутренний ободок 5 содержит головку 51, в которой предусмотрено центральное отверстие 52, открывающее доступ к прокалываемой области 31 элемента укупорки 3, головка окружена цилиндрической юбкой 53, которая заканчивается нижней кромкой 54, под которой предусмотрено устройство фиксации 55.
[0030] Головка 51 внутреннего ободка 5 включает внешнюю поверхность головки 512 и внутреннюю поверхность головки 511.
[0031] Юбка 53 имеет определенную высоту, подогнанную под размеры борта 22 флакона 2 и элемента укупорки 3.
[0032] Юбка 53 внутреннего ободка 5 включает внешнюю поверхность юбки 532 и внутреннюю поверхность юбки 531.
[0033] Юбка 53 заканчивается нижней кромкой 54, под которой предусмотрено выступающее внутрь устройство фиксации 55. На практике, внутренний ободок 5 защитного колпачка 4 защелкивается под бортом 22 на горлышке 21 флакона 2 с помощью указанного устройства фиксации 55.
[0034] Устройство фиксации 55 образует одно целое с юбкой 53.
[0035] Устройство фиксации 55 имеет, по меньшей мере, один крючковидный выступ внутрь внутреннего ободка 5, то есть обращенный к внутренней поверхности юбки 531.
[0036] Как правило, устройство фиксации 55 соединено с юбкой 53 по нижней кромке 54, имеющей криволинейный профиль, что повышает гибкость устройства фиксации 55.
[0037] Устройство фиксации 55 имеет зазор 551 между самим устройством фиксации и внутренней поверхностью юбки 531. Как видно из фигур 8А и 8В, при установке внутреннего ободка 5 на горлышке 21 флакона 2 устройство фиксации 55 сжимается, приближаясь к внутренней поверхности юбки 531 и заполняя зазор 551 без деформации внутреннего ободка 5. Такое решение облегчает скольжение устройства фиксации 55 по борту 22 флакона 2 до достижения защелкивания под указанным бортом 22. Преимущество заключается в том, что высокая гибкость устройства фиксации 55 снижает нагрузку при установке защитного колпачка 4 на флаконе 2 в случае одновременного наполнения.
[0038] Следовательно, устройство фиксации 55, как правило, представляет собой подвернутые крючком выступы, способные сгибаться во время сборки на горлышке 21 флакона 2 (фигура 8А) и заклиниваться под горлышком 21 в случае попыток удаления (фигура 8В). Такое решение обеспечивает низкое усилие установки за счет зазора 551 и высокое усилие снятия за счет крючковидного загиба. Соответственно, в общих словах, внутренний ободок 5 защитного колпачка 4 имеет гибкое устройство фиксации 55, облегчающее этапы сборки упаковки 1, с высоким усилием прижима, обеспечивающим наилучшую фиксацию внутреннего ободка 5 на горлышке 21 флакона 2. Таким образом, преимущество заключается в том, что благодаря устройству фиксации 55 внутреннего ободка 5 после защелкивания под горлышком 21 флакона 2 не требуются никакие дополнительные элементы фиксации или зажима для надежного удерживания элемента укупорки 3 в закрытом положении укупорки в отверстии 24 флакона 2 даже при полном удалении внешней насадки 6 отрывом. Следовательно, даже в случае попыток вскрытия внешней насадки 6 и разрыва внешнего кольца 61 элемент укупорки 3 остается плотно прижатым в положении укупорки в отверстии 2 4 за счет внутреннего ободка 5.
[0039] Пример осуществления внутреннего ободка 5 показан на фигурах 6А-6С. В данном примере устройство фиксации 55 представляет собой единый непрерывный загиб по окружности нижней кромки 54 юбки 53. В данном решении загиб выполняется посредством сгиба нижней кромки 54 внутрь юбки 53.
[0040] Еще один пример осуществления внутреннего ободка 5 показан на фигурах 7А-7С. В данном примере устройство фиксации 55 представляет собой множество загибов, однородно распределенных по нижней кромке 54 юбки 53. В таком решении загибы выполняются литьем. Для облегчения извлечения вкладышей формы и всего этапа литья во внутреннем ободке 5 у каждого загиба предусмотрено верхнее отверстие доступа 514 в головке 51.
[0041] Как правило, внутренний ободок 5 снабжен прижимающими упорами 5 6 элемента укупорки 3, они расположены под головкой 51 и показаны на фигурах 10А-11С.
[0042] Как правило, прижимающие упоры 56 представляют собой не менее одного непрерывного выступа 561 по окружности внутренней поверхности 511 головки. Прижимающие упоры 56 предусмотрены как механизм пригонки по допускам при стыковке элемента укупорки 3, внутреннего ободка 5 и борта 22 горлышка 21 флакона 2. На практике, резиновый элемент укупорки 3 и стеклянный борт 22 представляют собой детали, отличающиеся высокой вариабельностью допусков на размеры, по которым необходима пригонка внутреннего ободка 5 для обеспечения надлежащего усилия натяжения под бортом 22 для защиты от вскрытия. В случае минимальных допусков на размеры резинового и стеклянного компонентов на практике усилие натяжения может быть недостаточным для гарантии надлежащей фиксации на флаконе 2, и, наоборот, в случае максимальных допусков на размеры резинового и стеклянного компонентов, усилие натяжения может быть слишком высоким, не допуская фиксацию на флаконе 2.
[0043] Как показано на фигуре 10А, указаны следующие размерные характеристики элементов, участвующих в фиксации на горлышке флакона:
X: максимальная высота головки 33 элемента укупорки 3;
Y: максимальная высота борта 22 горлышка флакона 2;
Н: максимальная высота поверхности захвата внутреннего ободка 5, заданная между концом прижимающих упоров 5 6 и концом устройства фиксации 55; для обеспечения эффективности усилия натяжения, создаваемого внутренним ободком 5, должны выполняться следующие условия:
Н<(X+Y)
Z: минимальная высота натяжения, определяемая как:
Z=(X+Y) - Н
±а: допуск на размер X
±b: допуск на размер Y
±с: допуск на размер Н
W: высота прижимающих упоров 56; для обеспечения эффективности усилия натяжения, создаваемого внутренним ободком 5, должны выполняться следующие условия:
W≥Z+a+b+c
[0044] Следует отметить, что техническое решение в виде определенной высоты W прижимающих упоров 56 и сопутствующее условие, которое необходимо выполнить выше, не зависят от наличия или отсутствия внешней насадки 6, а также от специфических свойств элемента укупорки 3, таких как, например, выступ 34, или от внутреннего ободка 5, к примеру, от специфической формы прижимающих упоров 56. Следовательно, такое техническое решение можно также применять к другим устройствам укупорки и упаковкам.
[0045] В примере осуществления, показанном на фигурах 11А и 11В, прижимающие упоры 56 имеют треугольный профиль, оканчивающийся верхушкой 562, пригодной для, по меньшей мере, частичного погружения в элемент укупорки 3. В таких примерах осуществления прижимающие упоры 56 имеют различные формы выступов.
[0046] В другом примере осуществления, показанном на фигуре НС, прижимающие упоры 5 6 имеют ступенчатый профиль, при этом над наибольшим участком выступает суженная верхушка 562.
[0047] Прижимающие упоры 5 6 внутреннего ободка 5 способны, посредством верхушки 562, создавать минимальное прижимающее усилие на элемент укупорки 3 даже в случае минимальных допусков на размеры стеклянного и резинового компонентов, как показано на фигуре 10А. В то же время, максимальное прижимающее усилие, создаваемое на элемент укупорки 3, в случае максимальных допусков на размеры стеклянного и резинового компонентов, как показано на фигуре 10В, не будет избыточным, поскольку верхушка 562 за счет очень малого сечения погружается глубже в элемент укупорки 3. Таким образом, преимущество также заключается в том, что благодаря прижимающим упорам 56 внутреннего ободка 5 после защелкивания под горлышком 21 флакона 2 не требуются никакие дополнительные элементы фиксации или зажима для надежного удерживания элемента укупорки 3 в закрытом положении укупорки в отверстии 24 флакона 2 даже при полном удалении внешней насадки 6 отрывом.
[0048] На фигуре 12 показана внешняя насадка 6 защитного колпачка 4 согласно настоящему изобретению.
[0049] Внешняя насадка 6 состоит из отрывного элемента, посредством которого вскрывается колпачок для обеспечения доступа к элементу укупорки 3.
[0050] Внешняя насадка 6 состоит из кольца 61, как правило, цилиндрической формы, закрытого сверху крышкой 62, как правило, дисковидной формы.
[0051] Обычно кольцо 61 имеет расширенную форму, т.е. оно покрывает все горлышко 21 флакона 2, как видно из фигуры 1. Такое решение существенно снижает риски вскрытия, поскольку оно затрудняет доступ к заключенному внутри защитному колпачку 4 для выполнения манипуляций по вскрытию.
[0052] Крышка 62 соединена с кольцом 61 посредством перемычек 63 по внешнему периметру 623 крышки. Такие перемычки 63 подходят для разрыва с целью отделения крышки 62 от кольца 61, позволяя открыть внешнюю насадку 6 в верхней части для доступа к элементу укупорки 3.
[0053] Перемычки 63 представляют собой множество равномерно распределенных тонких мостиков, как показано на фигуре 1, или суженных линий материала, или надрезов или бороздок.
[0054] В примере осуществления крышка 62 полностью отделяется от кольца 61.
[0055] В другом примере осуществления крышка 62 частично отделяется от кольца 61, как видно из фигуры 3В. В данном примере крышка 62 остается соединенной с кольцом 61 за счет не разрываемой соединительной части 64, расположенной по внешнему периметру 623 самой крышки.
[0056] Как правило, на кольце 61 есть не менее одной линии 65 перемычек 63. Такая линия 65 может быть сплошной и простираться по всей длине кольца 61 или прерванной и, соответственно, прерываться до нижней кромки 66.
[0057] Обычно у кольца 61 есть сплошная линия 65 перемычек 63, допускающая продольное вскрытие самого кольца, и параллельная прерванная линия 65 перемычек 63, допускающая удаление всей внешней насадки 6 сразу, иными словами без разделения на части.
[0058] Как правило, не менее одной линии 65 перемычек 63 простирается от одного конца соединительной части 64 между крышкой 62 и кольцом 61.
[0059] Наличие перемычек 63 также и на кольце 61 облегчает полное удаление внешней насадки 6 защитного колпачка 4 с упаковки. Преимущество заключается в том, что благодаря полностью съемной внешней насадке 6 даже при наличии расширенного кольца 61, покрывающего все горлышко 21 флакона 2, обеспечивается возможность полной видимости самого горлышка, как видно из фигуры 4а, что является практичным при переворачивании флакона 2 во время извлечения остатков фармакологического раствора шприцем, поскольку остатки раствора собираются непосредственно в горлышке.
[0060] Как правило, на внешней насадке 6 на кольце 61 также предусмотрена выемка для захвата 67, облегчающая захват и удаление крышки 62. Пользователь, таким образом, может легко поддеть ногтем крышку 62 по внешнему периметру 623 и поднять ее, разрывая перемычки 63.
[0061] Крышка 62 внешней насадки 6 имеет внешнюю поверхность крышки 622 и внутреннюю поверхность крышки 621.
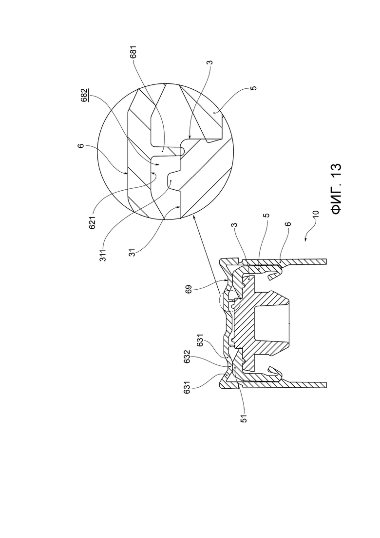
[0062] Как правило, внешняя насадка 6 имеет устройство 68 защиты элемента укупорки 3, расположенное под крышкой 62. Обычно защитное устройство 68 представляет собой выступ 681, как правило, непрерывный по окружности, на внутренней поверхности крышки 621. Такой выступ 681 разделяет камеру 682, как видно на фигуре 13. При сборке устройства укупорки 10 защитное устройство 68 располагается таким образом, что выступ 681 упирается в элемент укупорки 3 вблизи прокалываемой области 31, которая, таким образом, располагается внутри камеры 682. Следовательно, внутренняя поверхность крышки 621 внешней насадки 6 всегда приподнята относительно прокалываемой области 31 элемента укупорки 3, предотвращая ее загрязнение.
[0063] Как правило, внешняя насадка 6 оснащена пружинящим устройством 69, расположенным на крышке 62, как показано на фигуре 13. Обычно пружинящее устройство 69 образует пружину с линейной характеристикой за счет сгибов на крышке 62. В частности, крышка 62 состоит из пары наклонных стенок 631, обращенных друг к другу, между которыми расположена нижняя стенка 632, образующая углубление 633 по окружности. Как видно из фигуры 13, при сборке устройства укупорки 10 нижняя стенка 632 упирается в головку 51 внутреннего ободка 5. Преимущество заключается в том, что пружинящее устройство 69 обеспечивает механизм пригонки устройства укупорки 10 к различной высоте флакона 2 в случае одновременного наполнения.
[0064] Как показано на фигуре 8В, кольцо 61 внешней насадки 6 имеет пригнанную высоту, полностью покрывая внутренний ободок 5 и все горлышко 21 флакона 2.
[0065] Кольцо 61 внешней насадки 6 имеет внешнюю поверхность кольца 612 и внутреннюю поверхность кольца 611.
[0066] Внешняя насадка 6 зафиксирована на флаконе 2 посредством заключения в себе внутреннего ободка 5. Внешняя насадка 6 защитного колпачка 4 на практике защелкивается под нижней кромкой 54 внутреннего ободка 5 посредством устройства сцепления 615.
[0067] Устройство сцепления 615 образует одно целое с кольцом.
[0068] Устройство сцепления 615 представляет собой не менее одной выпуклости, выступающей внутрь кольца 61. Как правило, устройство сцепления 615 выполнено в форме непрерывной выпуклости по окружности, выступающей из внутренней поверхности кольца 611.
[0069] Обычно устройство сцепления 615 находится глубже, то есть вверх по направлению к нижней кромке 66 кольца 61.
[0070] Элемент укупорки 3, показанный в вариантах осуществления на фигурах 9А и 9В, представляет собой резиновую пробку с резиновой головкой 33, как правило, в форме диска, под которой находится корпус пробки 32, предпочтительно продолговатой цилиндрической формы.
[0071] Корпус пробки 32 предназначен для вставки в горлышко 21 флакона 2, а головка пробки предназначена для размещения на краю 23 близко к отверстию 24 самого флакона.
[0072] Элемент укупорки 3 имеет прокалываемую дискообразную область 31, расположенную по центру головки пробки 33 и ограниченную круговой кромкой 311.
[0073] Как правило, прокалываемая область 31 находится на дискообразном подъеме 34 головки пробки 33. Таким образом головка пробки 33 определяет плоскость головки, а прокалываемая область 31 находится на приподнятой плоскости относительно плоскости головки и определена подъемом 34. Как видно из фигур 4С и 4D, при сборке устройства укупорки 10 подъем 34 вставляется и удерживается внутри центрального отверстия 52 головки 51 внутреннего ободка 5. Преимущество заключается в том, что таким образом элемент укупорки 3 вставляется во внутренний ободок 5, что облегчает работу с ним на этапе сборки устройства укупорки 10. Преимущество заключается в том, что подъем 34 позволяет располагать прокалываемую область 31 выше, облегчая доступ и возможность дезинфекции при использовании упаковки 1.
[0074] Как правило, прокалываемая область 31 располагается вровень с головкой 51 внутреннего ободка 5. Предпочтительно, круговая кромка 311, определяющая прокалываемую область 31, выступает над головкой 51 внутреннего ободка 5.
[0075] В примере осуществления, показанном на фигуре 9В, элемент укупорки 3 имеет множество выступающих упоров 35, расположенных радиально на головке пробки 33, равномерно распределенных по прокалываемой части 31. К примеру, элемент укупорки 3 имеет четыре выступающих упора 35. Выступающие упоры 35 элемента укупорки 3 предназначены для взаимодействия с прижимающими упорами 56 внутреннего ободка 5.
[0076] Настоящее изобретение относится к упаковке 1 для фармацевтических препаратов для парентерального применения, состоящей из флакона 2, закрытого, как показано, устройством укупорки 10, т.е. включающего элемент укупорки 3, например, из резины, и защитный колпачок 4, например, из пластика, частично отрывной и пригодный для обеспечения подлинности упаковки с выявлением признаков ее вскрытия.
[0077] Преимущество заключается в том, что упаковка 1 в таком исполнении оснащена, в частности, системой контроля вскрытия, при этом отличаясь меньшими габаритами. Как видно из фигуры 1, на практике устройство укупорки 10 согласно настоящему изобретению имеет наружный диаметр, который меньше наружного диаметра или в большинстве случаев соответствует наружному диаметру флакона 2. Еще большее преимущество заключается в том, что в случае устройства укупорки 10 с наружным диаметром, соответствующим наружному диаметру флакона 2, упаковка 1 имеет в целом цилиндрическую форму, что в значительной мере облегчает работу с ней, особенно в случае одновременного наполнения нескольких упаковок в полностью автоматической системе.
[0078] Что касается материалов, то технические решения, описанные выше, применяются к пластиковым устройствам укупорки 10, к стеклянным или пластиковым флаконам 2, к элементам укупорки 3 из термореактивной резины или термопластичной резины.
[0079] Новизна изобретения заключается в том, что пластиковое устройство укупорки для лекарственных средств для парентерального применения, частично отрывное, и соответствующая упаковка согласно настоящему изобретению позволяет достигнуть предусмотренные выше цели с особой эффективностью.
[0080] Преимущество заключается в том, что устройство укупорки согласно настоящему изобретению не только обеспечивает подлинность упаковки, но также способно обеспечить герметичность упаковки даже в случае попытки вскрытия.
[0081] В общих словах, устройство укупорки согласно настоящему изобретению обладает следующими инновационными свойствами и преимуществами:
1. снабжено инновационной системой полного контроля вскрытия;
2. снабжено устройством вскрытия отрывной верхней части и полного удаления кольца контроля вскрытия посредством разрыва;
3. снабжено пружинящей системой для поглощения избыточных усилий на этапе установки;
4. снабжено защитным кольцом для предотвращения попадания посторонних частиц (например, пыли) на прокалываемую область резиновой пробки;
5. снабжено системой защелкивания внутреннего ободка 5 на горлышке флакона 2 посредством устройства фиксации 55 в форме подвернутого края (вариант на фигуре 6А);
6. снабжено системой защелкивания внутреннего ободка 5 на горлышке флакона 2 посредством устройства фиксации 55, выполненного литьем (вариант на фигуре 7А);
7. отличается малым усилием установки за счет системы сцепления, предусматривающей зазор с учетом свободной деформации устройства фиксации 55;
8. обеспечивает удерживание резинового элемента укупорки 3 во внутреннем ободке 5 еще до установки на флакон;
9. обеспечивает максимальный общий диаметр устройства укупорки меньше диаметра флакона;
10. предусматривает систему доступа к элементу укупорки 3, облегчающую очистку после вскрытия отрывной части за счет подъема центральной области;
11. не требует большого количества компонентов, кроме двух в дополнении к резиновому элементу укупорки 3;
12. после удаления внешней насадки 6 внутренний ободок 5 имеет размер, сопоставимый с размером традиционных алюминиевых ободков, таким образом, допуская полную видимость горлышка и совместимость с традиционными передаточными устройствами.
[0082] Очевидно, что специалисты в данной области техники могут вносить изменения в описанные выше устройство укупорки и упаковку в рамках объема защиты, определенного следующими пунктами формулы изобретения.
Изобретение в целом относится к области укупорочных средств для упаковки, обычно в форме флаконов или бутылок, для фармацевтических препаратов и, в частности, к области лекарственных средств для парентерального применения. Устройство укупорки (10) содержит внешнюю насадку (6) с разрывными перемычками (63), позволяющими удаление насадки посредством отрыва. Устройство укупорки (1) характеризуется тем, что оно содержит внутренний ободок (5) с головкой (51), снабженной центральным отверстием (52) и юбкой (53) и оканчивающейся нижней кромкой (54), на которой предусмотрено устройство фиксации (55) для перманентного защелкивания на горлышке (21) флакона (2). Кроме того, внешняя насадка (6) защелкивается под нижней кромкой (54) внутреннего ободка (5) посредством устройства сцепления (615). Технический результат заключается в обеспечении подлинности упаковки и ее герметичности даже в случае попытки вскрытия. 2 н. и 17 з.п. ф-лы, 29 ил.
1. Пластиковое устройство укупорки (10) упаковки для фармацевтических препаратов для парентерального применения в форме флакона (2) с горлышком (21), указанное устройство укупорки (1) содержит съемную внешнюю насадку (6), выполненную в форме цилиндрического кольца (61), закрытого сверху крышкой (62), указанная внешняя насадка (6) снабжена разрывными перемычками (63), позволяющими удалять ее отрывом, и устройством сцепления защелкиванием (615), выступающим внутрь кольца (61);
характеризуется тем, что оно содержит внутренний ободок (5) с головкой (51), снабженной центральным отверстием (52) и далее юбкой (53) и оканчивающейся нижней кромкой (54), на которой предусмотрено устройство фиксации (55) для перманентного защелкивания на горлышке (21) флакона (2), и где указанная внешняя насадка (6) фиксируется защелкиванием под нижней кромкой (54) внутреннего ободка (5) посредством указанного устройства сцепления (615).
2. Устройство укупорки (10) по п. 1, в котором указанное устройство фиксации (55) представляет собой, по меньшей мере, крючковидный выступ, обращенный к внутренней поверхности ободка (5) и предназначенный для загиба на этапе сборки на горлышке (21) флакона (2) и фиксации под указанным горлышком (21) при попытке удаления.
3. Устройство укупорки (10) по п. 2, в котором указанное устройство фиксации (55) имеет запас пространства (551), определенный между указанным крючковидным выступом и внутренней поверхностью юбки (531).
4. Устройство укупорки (10) по любому из предшествующих пунктов, в котором указанное устройство фиксации (55) соединяется с юбкой (53) за счет криволинейного профиля нижней кромки (54).
5. Устройство укупорки (10) по любому из предшествующих пунктов, в котором указанное устройство фиксации (55) представляет собой загиб (512) нижней кромки (54) юбки (53).
6. Устройство укупорки (10) по любому из предшествующих пунктов, в котором указанное устройство фиксации (55) представляет собой множество загибов (513), равномерно распределенных по нижней кромке (54) юбки (53).
7. Устройство укупорки (10) по п. 6, в котором указанный внутренний ободок (5) имеет головку (51) с верхним отверстием доступа (514) над каждым загибом (513).
8. Устройство укупорки (10) по любому из предшествующих пунктов, в котором указанный внутренний ободок (5) имеет внутреннюю поверхность головки (51) с прижимающими упорами (56) для элемента укупорки (3), при этом указанные прижимающие упоры представляют собой по меньшей мере один выступ (561) с верхушкой (562).
9. Устройство укупорки (10) по любому из предшествующих пунктов, в котором указанная крышка (62) соединена с кольцом (61) посредством перемычек (63) и/или указанное кольцо (61) также имеет перемычки (63).
10. Устройство укупорки (10) по п. 9, в котором указанная крышка (62) также соединена с кольцом (61) посредством не разрываемой соединительной части (64).
11. Устройство укупорки (10) по любому из предшествующих пунктов, в котором внешняя насадка (6) имеет защитное устройство (68) для элемента укупорки (3) в форме кругового выступа (681) на внутренней поверхности крышки (62).
12. Устройство укупорки (10) по любому из предшествующих пунктов, в котором внешняя насадка (6) снабжена пружинящим устройством (69), расположенным на крышке (62) и образующим пружину с линейной характеристикой за счет сгибов на крышке (62).
13. Устройство укупорки (10) по любому из предшествующих пунктов, дополнительно содержащее резиновый элемент укупорки (3), вставленный в указанный внутренний ободок (5) таким образом, что после удаления внешней насадки (6) доступ к прокалываемой области (31) указанного элемента укупорки (3) открывается через центральное отверстие (52) внутреннего ободка (5).
14. Устройство укупорки (10) по п. 13, в котором указанный элемент укупорки (3) содержит головку пробки (33), определяющую плоскость головки, и в котором указанная прокалываемая область (31) расположена на приподнятой плоскости относительно плоскости головки и определена подъемом (34).
15. Устройство укупорки (10) по п. 14, в котором указанный элемент укупорки (3) удерживается во внутреннем ободке (5) за счет сцепления силами трения подъема (34) с центральным отверстием (52) головки (51).
16. Упаковка (1) для фармацевтических препаратов для парентерального применения, включающая:
- флакон (2) с горлышком (21) с радиально выступающим бортом (22);
- устройство укупорки (10) по любому из предшествующих пунктов, содержащее резиновый элемент укупорки (3);
при этом указанный внутренний ободок (5) перманентно зафиксирован защелкиванием под бортом (22) горлышка (21) флакона (2) даже после удаления внешней насадки (6) отрывом.
17. Упаковка (1) по п. 16, в которой кольцо (61) внешней насадки (6) полностью закрывает горлышко (21) флакона (2) и заканчивается у плеча флакона (2).
18. Упаковка (1) по п. 16 или 17, в которой нижняя кромка (54) внутреннего ободка (5) заканчивается непосредственно под бортом (22), обеспечивая видимость горлышка (21) флакона (2).
19. Упаковка (1) по любому из пп. 16-18, в которой определены следующие размерные характеристики:
X: максимальная высота головки (33) элемента укупорки (3);
Y: максимальная высота борта (22) горлышка флакона (2);
Н: максимальная высота области захвата внутреннего ободка (5), заданная между одним концом прижимающих упоров (56) и одним концом устройства фиксации (55);
Z: минимальная высота натяжения, определяемая как
Z=(X+Y)-Н
±а: допуск на размер X;
±b: допуск на размер Y;
±с: допуск на размер Н;
W: высота прижимающих упоров (56), определяемая как
W≥Z+a+b+c.
| US 4251003 A, 17.02.1981 | |||
| US 2016184182 A1, 30.06.2016 | |||
| US 3480171 A, 25.11.1969 | |||
| US 3603472 A, 07.09.1971 | |||
| ЗАКУПОРИВАЮЩИЙ УЗЕЛ ДЛЯ БУТЫЛКИ, СООТВЕТСТВУЮЩАЯ БУТЫЛКА И СПОСОБ УСТАНОВКИ | 2016 |
|
RU2716808C2 |
Авторы
Даты
2025-04-18—Публикация
2022-01-18—Подача