Настоящее изобретение относится к устройствам, генерирующим аэрозоль, выполненным с возможностью генерирования аэрозоля во время сеанса использования, и к способам использования таких устройств.
В области техники, к которой относится настоящее изобретение, известны устройства, генерирующие аэрозоль, выполненные с возможностью генерирования аэрозоля из субстрата, образующего аэрозоль, такого как субстрат, содержащий табак. Как правило, вдыхаемый аэрозоль генерируется в результате передачи тепла от источника тепла на физически отделенный субстрат, образующий аэрозоль, или материал, который может быть расположен внутри, вокруг или дальше по ходу потока относительно источника тепла. Субстрат, образующий аэрозоль, может быть жидким субстратом, содержащимся в резервуаре. Субстрат, образующий аэрозоль, может быть твердым субстратом. Субстрат, образующий аэрозоль, может быть составной частью отдельного изделия, генерирующего аэрозоль, выполненного с возможностью вхождения в зацепление с устройством, генерирующим аэрозоль, для образования аэрозоля. Во время потребления летучие соединения высвобождаются из субстрата, образующего аэрозоль, за счет передачи тепла от источника тепла и попадают в воздух, втягиваемый через изделие, генерирующее аэрозоль. По мере охлаждения высвобождающихся соединений, они конденсируются с образованием аэрозоля, который вдыхается потребителем.
Некоторые устройства, генерирующие аэрозоль, выполнены с возможностью обеспечения сеансов использования пользователем, которые имеют ограниченную продолжительность. Например, устройство, генерирующее аэрозоль, может быть выполнено с возможностью работы в течение заданного периода времени в любом отдельном сеансе использования. Устройства, генерирующие аэрозоль, выполненные с возможностью использования с отдельными изделиями, генерирующими аэрозоль, могут быть выполнены с возможностью работы в прерывистых сеансах использования, продолжительностью, не превышающей время, необходимое для израсходования субстрата, образующего аэрозоль, в отдельном изделии, генерирующем аэрозоль.
Традиционная сгораемая сигарета имеет линию сгорания, которая перемещается вдоль сигареты по мере ее потребления и, таким образом, обеспечивает пользователю постоянную визуальную индикацию хода выполнения в сеансе использования пользователем. Таким образом, пользователь может в любой момент времени оценить, сколько сигареты доступно для потребления. Во многих устройствах, генерирующих аэрозоль, такая оценка является более трудной. Некоторые устройства предоставляют индикацию на то, что сеанс использования завершится незадолго до окончания такого сеанса, но это не предоставляет пользователю информацию о ходе выполнения сеанса использования во время сеанса использования. Информация о ходе выполнения может быть особенно полезна для пользователя, когда продолжительность сеанса использования управляется более чем одним параметром.
Согласно одному аспекту настоящего изобретения предложено устройство, генерирующее аэрозоль, для генерирования аэрозоля из субстрата, образующего аэрозоль. Устройство, генерирующее аэрозоль, выполнено с возможностью генерирования аэрозоля во время сеанса использования, проходящего через множество последовательных фаз между началом сеанса использования и прекращением сеанса использования. Устройство, генерирующее аэрозоль, содержит таймер, блок выходного тактильного сигнала и контроллер. Ход выполнения сеанса использования через множество последовательных фаз управляется контроллером в ответ на сигналы синхронизации от таймера и в ответ на сигналы, представляющие отслеживаемый параметр взаимодействия пользователя. Контроллер выполнен с возможностью управления блоком выходного тактильного сигнала для испускания другого выходного тактильного сигнала во время каждой из множества последовательных фаз, чтобы указать ход выполнения сеанса использования.
Блок выходного тактильного сигнала может быть выполнен с возможностью испускания выходного тактильного сигнала, представляющего текущую фазу сеанса использования, в ответ на пользовательский ввод. Например, пользователь может инициировать запрос состояния, например, нажатием кнопки на устройстве, генерирующем аэрозоль. Выходной тактильный сигнал, представляющий текущий сеанс использования, затем может испускаться в ответ на запрос состояния.
Блок выходного тактильного сигнала может содержать тактильный привод или тактильный двигатель, например, привод с эксцентриковой вращающейся массой. Выходной тактильный сигнал может быть в форме одной или более вибраций или звуковых сигналов, которые могут быть обнаружены пользователем, держащим устройство.
Блок выходного тактильного сигнала может быть выполнен с возможностью испускания выходного тактильного сигнала, представляющего текущую фазу сеанса использования, в ответ на переход от одной из множества последовательных фаз к последующей из множества последовательных фаз. Таким образом, тактильный сигнал может автоматически испускаться при переходе от одной фазы к последующей фазе. Это может предоставить пользователю непрерывную тактильную индикацию хода выполнения сеанса использования.
Сеанс использования является ограниченным сеансом использования, то есть сеансом использования, имеющим начало и конец. Продолжительность сеанса использования, измеряемая временем, может зависеть от использования во время сеанса использования. Продолжительность сеанса использования может иметь максимальную продолжительность, определяемую максимальным временем от начала сеанса использования. Продолжительность сеанса использования может быть меньше максимальной продолжительности, если один или более отслеживаемых параметров достигают заданного порога до истечения максимального времени с начала сеанса использования.
Устройство, генерирующее аэрозоль, обычно представляет собой устройство, удерживаемое в руке. Устройство, генерирующее аэрозоль, может, например, иметь размеры, аналогичные традиционной сигаре или традиционной сигарете. Удерживаемое рукой устройство, генерирующее аэрозоль, имеет ограниченную площадь поверхности, на которой можно устанавливать или иным образом размещать информационные индикаторные устройства, такие как индикаторы. Таким образом, дисплеи, которые содержат большое количество блоков отображения, таких как большое количество светоизлучающих блоков, занимают значительную площадь на поверхности обычного устройства, генерирующего аэрозоль. Кроме того, дисплеи, состоящие из большого количества блоков отображения, также потребляют большое количество энергии. Обычное устройство, генерирующее аэрозоль, имеет ограниченное пространство для блока питания, такого как аккумулятор, и, таким образом, функции, требующие высокого энергопотребления, требуют большей емкости и, следовательно, физически больших блоков питания. Более сложные дисплеи, такие как экраны, могут быть выполнены с возможностью отображения широкого спектра информации, но также потребляют большое количество энергии и представляют другие связанные с этим сложности конструкции из-за необходимости сложной электронной архитектуры и требований к обеспечению достаточной мощности дисплея и рассеиванию тепла, генерируемого дисплеем.
Пользователь может быть занят другими действиями, например беседой, во время использования устройства, генерирующего аэрозоль. В таких обстоятельствах может быть нецелесообразным для пользователя постоянно проверять свое устройство для отслеживания хода выполнения сеанса использования. Следовательно, может быть преимущественным, если пользователь может отслеживать ход выполнения сеанса использования прерывистым и ненавязчивым способом. Например, может быть преимущественным, если пользователь может определять ход выполнения сеанса использования без необходимости проверки визуальной индикации.
Если у пользователя нет надлежащей обратной связи, у пользователя может возникнуть склонность потреблять взаимодействие с устройством, генерирующим аэрозоль, с большей частотой. Например, если пользователь не уверен, сколько времени осталось до сеанса использования, он может делать более частые затяжки, чем в ином случае, что приведет к более быстрому исчерпанию субстрата, образующего аэрозоль, и, возможно, к более раннему прекращению сеанса использования, чем он хотел бы в ином случае. Возможность отслеживания хода выполнения сеанса использования может сделать пользователя более расслабленным во время сеанса использования и, следовательно, сделать пользовательский опыт более приятным.
Устройство, генерирующее аэрозоль, которое может обеспечивать тактильную обратную связь, указывающую на ход выполнения сеанса использования, может позволить пользователю отслеживать ход выполнения сеанса использования при продолжении других действий, таких как общение с другими.
Сеанс использования может быть определен как период ограниченной продолжительности, в течение которого пользователь может получить пользовательский опыт. Сеанс использования может, например, длиться между началом сеанса использования, который можно называть, например, началом сеанса, и окончанием сеанса использования, которое можно называть, например, прекращением сеанса. Начало сеанса может быть определено как момент приведения в действие устройства, генерирующего аэрозоль. Например, пользователь может вручную инициировать сеанс использования путем приведения в действие устройства, генерирующего аэрозоль, например, нажатием кнопки, которая приводит в действие устройство, генерирующее аэрозоль. Устройство, генерирующее аэрозоль, может быть выполнено с возможностью автоматического инициирования сеанса использования, например, в ответ на то, что изделие, генерирующее аэрозоль, взаимодействует с устройством, генерирующим аэрозоль.
Устройство, генерирующее аэрозоль, может быть сконфигурировано таким образом, что сеанс использования имеет максимальную продолжительность, определяемую таймером. Максимальная продолжительность может гарантировать, что сеанс использования завершится без дополнительного ввода от пользователя. Устройство, генерирующее аэрозоль, выполненное с возможностью обеспечения сеанса использования, имеющего максимальную продолжительность, помогает сохранить качество пользовательского опыта, предотвращая попытки пользователя генерировать аэрозоль, когда субстрат, образующий аэрозоль, израсходован. Сеанс использования, имеющий максимальную продолжительность, также помогает обеспечить безопасность, поскольку система приведения в действие, обычно включающая нагреватель, не остается в активированном состоянии в случае, если пользователь забывает, что сеанс использования начался. Сеанс использования, имеющий максимальную продолжительность, также требует от пользователя принятия сознательного решения о начале следующего сеанса использования, что может помочь пользователю контролировать потребление аэрозоля.
Устройство, генерирующее аэрозоль, может быть выполнено с возможностью размещения изделия, генерирующего аэрозоль, которое содержит субстрат, образующий аэрозоль. Например, устройство, генерирующее аэрозоль, может быть выполнено с возможностью размещения картриджа, содержащего субстрат, образующий аэрозоль, например жидкий субстрат, образующий аэрозоль. Устройство, генерирующее аэрозоль, может быть выполнено с возможностью размещения нагретого изделия, генерирующего аэрозоль, содержащего твердый субстрат, генерирующий аэрозоль.
Устройство, генерирующее аэрозоль, может быть выполнено с возможностью обнаружения присутствия изделия, генерирующего аэрозоль. Датчики или детекторы в устройстве могут обнаруживать присутствие изделия и могут быть способны различать одно изделие, выполненное с возможностью использования с устройством, и другое изделие, выполненное с возможностью использования с устройством. Устройство может быть способно различать изделия, выполненные с возможностью использования с устройством, и другие изделия, не выполненные с возможностью использования с устройством. Устройство может быть способно предотвращать инициирование сеанса использования, если изделие, генерирующее аэрозоль, не является изделием, выполненным с возможностью использования с устройством.
Устройство, генерирующее аэрозоль, может быть сконфигурировано таким образом, что сеанс использования прекращается, если изделие, генерирующее аэрозоль, извлекается из устройства, генерирующего аэрозоль. Таким образом, в такой конфигурации сеанс использования может быть завершен до достижения максимальной продолжительности в случае, если пользователь извлекает изделие с устройства во время сеанса использования. Это может улучшить как безопасность, так и пользовательский опыт.
Устройство, генерирующее аэрозоль, может быть выполнено с возможностью отслеживания параметра взаимодействия пользователя, указывающего на использование устройства, генерирующего аэрозоль, во время сеанса использования. Сеанс использования может быть выполнен с возможностью прекращения, если параметр взаимодействия пользователя достигает заданного порога. Таким образом, в такой конфигурации сеанс использования может быть завершен до достижения максимальной продолжительности в случае, если отслеживаемый параметр взаимодействия пользователя достигает порога до достижения максимальной продолжительности сеанса использования. В случае, если пользователь активно использовал устройство во время сеанса использования, субстрат, образующий аэрозоль, может быть израсходован быстрее, чем это было бы в случае, если бы пользователь не использовал устройство активно. Таким образом, возможность отслеживать и прекращать сеанс использования, когда параметр взаимодействия пользователя достигает заданного порога, может улучшить пользовательский опыт за счет предотвращения генерирования аэрозоля из израсходованного изделия, генерирующего аэрозоль. Чтобы продолжить использование, пользователю может потребоваться заменить изделие и начать дальнейший сеанс использования.
В качестве примера, параметр взаимодействия пользователя может указывать на затяжки пользователя, сделанные во время сеанса использования. Устройство, генерирующее аэрозоль, может содержать механизм подсчета затяжек для определения количества затяжек пользователя, сделанных во время сеанса использования. Устройство, генерирующее аэрозоль, может быть выполнено с возможностью прекращения сеанса использования, когда количество затяжек пользователя, сделанных во время сеанса использования, достигает заданного порога. Таким образом, сеанс использования может содержать ограниченное количество затяжек, которые может сделать пользователь. Сеанс использования может быть прекращен до максимальной продолжительности, определенной таймером, если количество затяжек, сделанных во время сеанса использования, достигает заданного порога до максимальной продолжительности, определенной таймером. Таким образом, в случае, если пользователь израсходует субстрат, образующий аэрозоль, делая большое количество затяжек за короткий промежуток времени, сеанс использования пользователем сохраняется за счет предотвращения затяжек после израсходования субстрата, образующего аэрозоль.
Когда длина сеанса использования определяется более чем одним порогом, например максимальной продолжительностью, определяемой порогом времени и порогом, определяемым одним или более параметрами взаимодействия пользователя, репрезентативная индикация хода выполнения на протяжении сеанса использования становится более сложной.
Сеанс использования определяется как состоящий из множества последовательных фаз. Ход выполнения сеанса использования в целом может быть определен относительно хода выполнения через множество последовательных фаз. Множество последовательных фаз может быть по меньшей мере тремя последовательными фазами или по меньшей мере четырьмя последовательными фазами. Например, множество последовательных фаз может содержать по меньшей мере пять последовательных фаз или по меньшей мере шесть последовательных фаз. Чем на большее количество фаз разделен сеанс использования, тем выше точность индикации хода выполнения во время сеанса. Однако, если количество этапов слишком велико, индикация хода выполнения может ввести в заблуждение и принести мало практической пользы пользователю.
Устройство, генерирующее аэрозоль, может быть сконфигурировано таким образом, что любая или каждая из множества последовательных фаз имеет продолжительность фазы, определяемую началом фазы и концом фазы. Устройство, генерирующее аэрозоль, может быть сконфигурировано таким образом, что любая или каждая из множества последовательных фаз имеет максимальную продолжительность фазы, определяемую таймером. Таким образом, любая или каждая из множества последовательных фаз может заканчиваться, когда отслеживаемый период времени достигает заданного порога для фазы, если фаза не закончилась раньше.
Первая фаза из множества последовательных фаз может иметь продолжительность первой фазы, например, определяемую началом первой фазы и концом первой фазы. Можно считать, что первая фаза начинается с момента начала сеанса использования.
Если устройство, генерирующее аэрозоль, содержит нагреватель, первая фаза может содержать период нагрева, в течение которого температура нагревательного элемента повышается от температуры окружающей среды до рабочей температуры для генерирования аэрозоля.
Первая фаза из множества последовательных фаз может иметь продолжительность первой фазы, например, определяемую началом первой фазы и концом первой фазы, в которой первая фаза может считаться начинающейся в конце предфазового периода нагрева, при этом предфазовый период нагрева начинается в начале сеанса. Предфазовый период нагрева может представлять собой период нагрева, в течение которого температура нагревательного элемента повышается от температуры окружающей среды до рабочей температуры для генерирования аэрозоля.
Вторая фаза из множества последовательных фаз может иметь продолжительность второй фазы, определяемую началом второй фазы и концом второй фазы. Вторая фаза может начаться в конце первой фазы.
Третья фаза из множества последовательных фаз может иметь продолжительность третьей фазы, определяемую началом третьей фазы и концом третьей фазы. Третья фаза может начаться в конце второй фазы. Сеанс использования может завершиться в конце третьей фазы. Таким образом, сеанс использования может быть разделен на три фазы, каждая фаза имеет свою собственную продолжительность, при этом сеанс использования заканчивается в конце третьей фазы. Ход выполнения на протяжении сеанса использования затем может быть определен путем определения фазы, в которой находится сеанс использования в любое время в течение сеанса использования.
Сеанс использования может быть разделен более чем на три фазы.
Четвертая фаза из множества последовательных фаз может иметь продолжительность четвертой фазы, определяемую началом четвертой фазы и концом четвертой фазы. Четвертая фаза может начаться в конце третьей фазы.
Сеанс использования может завершиться в конце четвертой фазы. Таким образом, сеанс использования может быть разделен на четыре фазы, каждая фаза имеет свою собственную продолжительность, при этом сеанс использования заканчивается в конце четвертой фазы. Ход выполнения на протяжении сеанса использования затем может быть определен путем определения фазы, в которой находится сеанс использования в любое время в течение сеанса использования.
Сеанс использования может быть разделен более чем на четыре фазы. Пятая фаза из множества последовательных фаз имеет продолжительность пятой фазы, которая может быть определена началом пятой фазы и концом пятой фазы. Пятая фаза может начаться в конце четвертой фазы. Сеанс использования может завершиться в конце пятой фазы.
Сеанс использования может быть разделен более чем на пять фаз. Шестая фаза из множества последовательных фаз может иметь продолжительность шестой фазы, определяемую началом шестой фазы и концом шестой фазы. Шестая фаза может начаться в конце пятой фазы. Сеанс использования может завершиться в конце шестой фазы.
Устройство, генерирующее аэрозоль, может быть выполнено с возможностью отслеживания параметра взаимодействия пользователя, указывающего на использование устройства, генерирующего аэрозоль, во время сеанса использования. Продолжительность любой или каждой из множества последовательных фаз может управляться со ссылкой на отслеживаемый параметр взаимодействия пользователя. Предпочтительно продолжительность любой или каждой из множества последовательных фаз управляется со ссылкой на параметр взаимодействия пользователя и по меньшей мере один дополнительный параметр. По меньшей мере одним дополнительным параметром предпочтительно является течение времени, определяемое таймером.
Таким образом, прогрессирование сеанса использования через каждую из множества последовательных фаз может определяться ссылкой как на таймер, обеспечивающий максимальную продолжительность для каждой фазы, так и на отслеживаемый параметр взаимодействия пользователя, который может завершить фазу раньше, чем максимально возможная продолжительность для этой фазы, если отслеживаемый параметр взаимодействия пользователя достигает заданного порога.
Параметр взаимодействия пользователя может указывать на затяжки пользователя, сделанные во время сеанса использования.
Параметр взаимодействия пользователя может указывать на количество аэрозоля или объем аэрозоля, выделяемого субстратом, образующим аэрозоль. Параметр взаимодействия пользователя может указывать на количество аэрозоля или объем аэрозоля, доставляемого пользователю. Параметром взаимодействия пользователя может быть совокупный объем аэрозоля, доставляемого пользователю.
Параметр взаимодействия пользователя может указывать на питание, подаваемое на нагревательный элемент во время сеанса использования.
Устройство, генерирующее аэрозоль, может содержать механизм подсчета затяжек для определения количества затяжек пользователя, сделанных во время сеанса использования. Затяжки, сделанные пользователем, могут определяться, например, путем отслеживания питания, подаваемого блоком питания во время сеанса использования, или путем отслеживания температуры нагревательного элемента во время сеанса использования. Затяжки, сделанные пользователем, могут быть определены путем отслеживания потока воздуха через устройство во время сеанса использования. Продолжительность любой или каждой из множества последовательных фаз может, следовательно, управляться в зависимости от количества затяжек пользователя, сделанных во время сеанса использования.
Устройство, генерирующее аэрозоль, может быть сконфигурировано таким образом, что сеанс использования имеет максимальную продолжительность сеанса использования, определяемую таймером, и в котором устройство, генерирующее аэрозоль, выполнено с возможностью записи по меньшей мере одного параметра взаимодействия пользователя во время сеанса использования. Продолжительность фазы любой или каждой из множества последовательных фаз может иметь продолжительность, меньшую, чем максимальная продолжительность фазы, если значение параметра взаимодействия пользователя достигает заданного порога до окончания этой фазы.
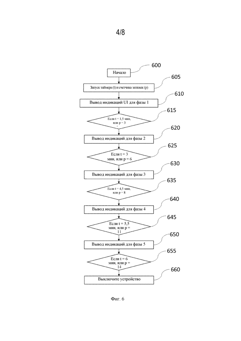
Сеанс использования может, например, содержать первую фазу, вторую фазу, третью фазу и четвертую фазу. Первая фаза может начинаться с момента начала сеанса использования. Первая фаза может закончиться, и, следовательно, вторая фаза может начаться после того, как отслеживаемый период времени, начинающийся с момента начала отслеживания, достигает заданного порога времени первой фазы, или после того, как записанный параметр взаимодействия пользователя достигает первого заданного значения, если первое заданное значение достигается в момент, предшествующий заданному порогу времени первой фазы. Вторая фаза может закончиться, и, следовательно, третья фаза может начаться после того, как отслеживаемое время, начинающееся с момента начала отслеживания, достигает заданного порога времени второй фазы, или после того, как записанный параметр взаимодействия пользователя достигает второго заданного значения, если второе заданное значение достигается в момент, предшествующий заданному порогу времени второй фазы. Третья фаза может закончиться, и, следовательно, четвертая фаза может начаться после того, как отслеживаемое время, начинающееся с момента начала отслеживания, достигает заданного порога времени третьей фазы, или после того, как записанный параметр взаимодействия пользователя достигает третьего заданного значения, если третье заданное значение достигается в момент, предшествующий заданному порогу времени третьей фазы. Четвертая фаза может закончиться, и после того, как отслеживаемое время, начинающееся с момента начала отслеживания, достигает заданного порога времени четвертой фазы, или после того, как записанный параметр взаимодействия пользователя достигает четвертого заданного значения, если четвертое заданное значение достигается в момент, предшествующий заданному порогу времени четвертой фазы.
В целях удобства начало отслеживания времени может быть началом сеанса использования. Записанный параметр взаимодействия пользователя может быть репрезентативным для количества затяжек, сделанных пользователем во время сеанса использования.
Порог времени первой фазы может представлять собой значение от 75 секунд до 105 секунд с момента начала сеанса использования. Первое заданное значение может составлять 3 затяжки или 4 затяжки.
Порог времени второй фазы может представлять собой значение от 150 секунд до 210 секунд с момента начала сеанса использования. Второе заданное значение может составлять 6 затяжек или 7 затяжек.
Порог времени третьей фазы может представлять собой значение от 225 секунд до 315 секунд с момента начала сеанса использования. Третье заданное значение может составлять 9 затяжек или 10 затяжек.
Порог времени четвертой фазы может представлять собой значение от 300 секунд до 420 секунд с момента начала сеанса использования. Четвертое заданное значение может составлять 12 затяжек или 13 затяжек.
В другом примере записанный параметр взаимодействия пользователя может представлять объем аэрозоля, доставляемого пользователю во время сеанса использования. Этот параметр может быть рассчитан, например, путем отслеживания сигнала мощности, определения начальной точки и конечной точки затяжек пользователя и интеграции для определения общей мощности, обеспечиваемой во время затяжек пользователя. Исходя из этой общей обеспечиваемой мощности, можно рассчитать объем доставляемого аэрозоля.
Например, устройство может быть выполнено с возможностью отслеживания параметра, указывающего на генерирование аэрозоля, такого как питание, подаваемое на нагреватель, во время работы устройства, генерирующего аэрозоль, анализа отслеживаемого параметра для идентификации затяжки пользователя, затяжки пользователя, определяемой началом затяжки и концом затяжки, анализа отслеживаемого параметра во время затяжки пользователя для расчета объема затяжки, при этом объем затяжки представляет собой объем аэрозоля, генерируемого во время затяжки пользователя и использования объема затяжки в качестве параметра взаимодействия пользователя.
Порог времени первой фазы может представлять собой значение от 75 секунд до 105 секунд с момента начала сеанса использования. Первое заданное значение может составлять от 50 мл до 200 мл аэрозоля.
Порог времени второй фазы может представлять собой значение от 150 секунд до 210 секунд с момента начала сеанса использования. Второе заданное значение может составлять от 100 мл до 400 мл аэрозоля.
Порог времени третьей фазы может представлять собой значение от 225 секунд до 315 секунд с момента начала сеанса использования. Третье заданное значение может составлять от 150 мл до 600 мл аэрозоля.
Порог времени четвертой фазы может представлять собой значение от 300 секунд до 420 секунд с момента начала сеанса использования. Четвертое заданное значение может составлять от 200 мл до 800 мл аэрозоля.
Сеанс использования может содержать заключительную фазу, которая может быть четвертой фазой или последующей фазой, и заключительная фаза может закончиться после отслеживаемого периода времени, например, после того, как время, начинающееся с начала сеанса сеанса использования, достигает заданного порога времени конечной фазы, или после того, как записанный параметр взаимодействия пользователя достигает конечного заданного значения, если окончательное заданное значение достигается до заданного порога времени конечной фазы.
Сеанс использования, вступающий в заключительную фазу, может, следовательно, быть индикацией для пользователя, что сеанс использования близок к завершению. Заключительная фаза может иметь максимальную продолжительность, которая короче максимальной продолжительности предыдущих фаз.
Устройство, генерирующее аэрозоль, может быть выполнено так, что сеанс использования предусматривает по меньшей мере четыре последовательные фазы, и блок выходного тактильного сигнала выполнен с возможностью испускания другого выходного тактильного сигнала во время каждой из по меньшей мере четырех последовательных фаз. Выходной тактильный сигнал может быть в форме одной или более вибраций или звуковых сигналов, которые воспринимаются пользователем, держащим устройство.
Во время первой фазы блок выходного тактильного сигнала может испускать выходной сигнал, содержащий первое количество вибраций, например, первое количество вибраций, выбранных из списка, содержащего одиночную вибрацию, двойную вибрацию, тройную вибрацию и четверную вибрацию.
Во время второй фазы блок выходного тактильного сигнала может испускать выходной сигнал, содержащий второе количество вибраций, например, второе количество вибраций, выбранных из списка, содержащего одиночную вибрацию, двойную вибрацию, тройную вибрацию и четверную вибрацию, выходной тактильный сигнал, испускаемый во время второй фазы, отличается от выходного тактильного сигнала, испускаемого во время первой фазы.
Во время третьей фазы блок выходного тактильного сигнала может испускать выходной сигнал, содержащий третье количество вибраций, например, третье количество вибраций, выбранных из списка, содержащего одиночную вибрацию, двойную вибрацию, тройную вибрацию и четверную вибрацию, выходной тактильный сигнал, испускаемый во время третьей фазы, отличается от выходного тактильного сигнала, испускаемого как во время первой фазы, так и во время второй фазы.
Во время четвертой фазы блок выходного тактильного сигнала может испускать выходной сигнал, содержащий четвертое количество вибраций, например, четвертое количество вибраций, выбранных из списка, содержащего одиночную вибрацию, двойную вибрацию, тройную вибрацию и четверную вибрацию, выходной тактильный сигнал, испускаемый во время четвертой фазы, отличается от выходного тактильного сигнала, испускаемого во время любой из первой фазы, второй фазы и третьей фазы.
Таким образом, устройство, генерирующее аэрозоль, может быть выполнено с возможностью генерирования аэрозоля во время ограниченного сеанса использования. Сеанс использования может быть разделен на множество последовательных фаз. Контроллер может быть выполнен с возможностью определения и управления продолжительностью сеанса использования со ссылкой на отслеживаемые параметры. Контроллер может также определять и управлять продолжительностью каждой из множества фаз со ссылкой на отслеживаемые параметры. Длина сеанса использования и любой фазы в сеансе использования может иметь максимальную продолжительность или последнюю конечную точку, определяемую порогом синхронизации. Длина сеанса использования и любой фазы во время сеанса использования может быть меньше максимальной продолжительности, разрешенной порогом синхронизации, если один или более отслеживаемых параметров достигают порога. Контроллер может иметь возможность определять в какой фазе сеанса использования находится устройство и управлять блоком выходного тактильного сигнала для выдачи индикации, представляющей эту фазу. Таким образом, разделяя сеанс использования на множество последовательных фаз, пользователь может определить фазу, в которой находится сеанс использования в любое время в течение сеанса использования. Таким образом, пользователь может иметь индикацию того, сколько времени остается в сеансе использования или сколько дополнительного взаимодействия он может иметь с устройством до окончания сеанса использования. Это может быть особым преимуществом, когда продолжительность сеанса использования в некоторой степени зависит от уровня взаимодействия пользователя с устройством.
Устройство, генерирующее аэрозоль, может содержать нагреватель для нагрева субстрата, образующего аэрозоль, для образования аэрозоля. Нагреватель может быть индукционным нагревателем. Индукционный нагреватель может содержать индуктор, выполненный с возможностью генерирования изменяющегося магнитного поля, предназначенного для нагрева токоприемника. Нагреватель может быть резистивным нагревателем.
Нагреватель может содержать нагревательный элемент для нагревания расходуемого изделия, генерирующего аэрозоль. Нагревательный элемент может представлять собой внутренний нагреватель, предназначенный для вставки в расходуемое изделие, генерирующее аэрозоль, например, резистивный нагревательный элемент или токоприемник в виде штыря или пластины, которая может быть вставлена в субстрат, образующий аэрозоль, расположенный в расходуемом изделии, генерирующем аэрозоль. Нагревательный элемент может представлять собой внешний нагреватель, предназначенный для нагрева внешней поверхности расходуемого изделия, генерирующего аэрозоль, например, резистивный нагревательный элемент или токоприемник, расположенный на периферии приемной полости для субстрата или окружающий ее, для размещения расходуемого изделия, генерирующего аэрозоль.
Устройство, генерирующее аэрозоль, может содержать секцию для сменного субстрата, содержащую субстрат, образующий аэрозоль. Секция для сменного субстрата может образовывать участок основной части устройства, генерирующего аэрозоль, и может сама по себе вмещать или содержать часть субстрата, образующего аэрозоль, для расхода в устройстве. Секция для сменного субстрата может быть расположена удаленно от ближнего конца устройства, например, удаленно от мундштука. Секция для сменного субстрата может быть расположена близко к дальнему концу устройства. Секция для сменного субстрата может быть соединена с одной или более других секций, образующих основную часть устройства, генерирующего аэрозоль, посредством соединительных средств, таких как винтовые резьбы или штыковое соединение, или магнитное соединение, или средства механического защелкивания, такие как соединения с защелкиванием или посадка с натягом.
Секция для сменного субстрата может содержать резервуар для жидкого субстрата, образующего аэрозоль. Например, секция для сменного субстрата может содержать резервуар для жидкости, содержащей никотин, и вещество для образования аэрозоля, такое как пропиленгликоль или глицерин. Альтернативно секция для сменного субстрата может содержать емкость для твердого субстрата, образующего аэрозоль, или емкость для коллоидного субстрата, образующего аэрозоль, такого как гелеобразный субстрат.
Устройство, генерирующее аэрозоль, может содержать секцию для сменного субстрата, содержащую два или более компонентов, которые образуют аэрозоль при объединении.
Секция для сменного субстрата может содержать распылитель, такой как нагревательный элемент для нагревания субстрата, образующего аэрозоль, или для нагревания по меньшей мере одного из двух или более компонентов, которые образуют аэрозоль при объединении. Таким образом, секция для сменного субстрата может представлять собой форму картомайзера и содержать как субстрат, образующий аэрозоль, так и распылительный компонент. В таких вариантах осуществления секция для сменного субстрата предпочтительно будет содержать электрические контакты, выполненные с возможностью контакта с соответствующими электрическими контактами на части в виде батареи устройства, генерирующего аэрозоль, для подачи питания для приведения в действие распылителя.
В одном примере распылитель может представлять собой резистивный нагреватель, такой как резистивная проволока или резистивная дорожка на субстрате. В других примерах распылитель может представлять собой индукционный токоприемник, способный нагревать, находясь внутри пульсирующего магнитного поля, генерируемого индукционной катушкой.
Устройство, генерирующее аэрозоль, может быть выполнено с возможностью размещения изделия, генерирующего аэрозоль, которое содержит субстрат, образующий аэрозоль. Субстрат, образующий аэрозоль, может быть твердым субстратом, образующим аэрозоль. Устройство, генерирующее аэрозоль, может, например, содержать приемную полость для субстрата для размещения расходуемого изделия, генерирующего аэрозоль, содержащего субстрат, образующий аэрозоль. Примеры изделий, генерирующих аэрозоль, включают пакеты типа «саше», заполненные твердыми субстратами, образующими аэрозоль, сигареты и изделия, подобные сигарете, которые содержат субстрат, образующий аэрозоль, находящийся внутри обертки, такой как сигаретная бумага, капсулы или емкости для жидкого субстрата, образующего аэрозоль, или коллоидного субстрата, образующего аэрозоль. Расходуемое изделие, генерирующее аэрозоль, может содержать секцию для сменного субстрата, содержащую два или более компонентов, которые образуют аэрозоль при объединении.
Расходуемое изделие, генерирующее аэрозоль, может содержать распылитель, такой как нагревательный элемент для нагревания субстрата, образующего аэрозоль, или для нагревания по меньшей мере одного из двух или более компонентов, которые образуют аэрозоль при объединении. Таким образом, расходуемое изделие, генерирующее аэрозоль, может быть формой картомайзера и содержать как субстрат, образующий аэрозоль, так и распылительный компонент. В таких вариантах осуществления расходуемое изделие, генерирующее аэрозоль, предпочтительно будет содержать электрические контакты, выполненные с возможностью контакта с соответствующими электрическими контактами на части в виде батареи устройства, генерирующего аэрозоль, для подачи питания для приведения в действие распылителя.
В примерах распылитель может представлять собой резистивный нагреватель, такой как резистивная проволока или резистивная дорожка на субстрате. В других вариантах осуществления распылитель может представлять собой индукционный токоприемник, способный нагревать, находясь внутри пульсирующего магнитного поля, генерируемого индукционной катушкой.
Устройство, генерирующее аэрозоль, может быть сконфигурировано таким образом, что питание подается на нагреватель для сохранения нагревателя при заданной температуре во время сеанса использования.
Питание может подаваться на нагреватель для повышения температуры нагревательного элемента до диапазона рабочей температуры для генерирования аэрозоля, при этом нагревательный элемент остается в пределах диапазона рабочей температуры до конца сеанса использования. Питание может подаваться на нагреватель во время сеанса использования как когда пользователь делает затяжку, так и когда пользователь не делает затяжку. В такой конфигурации питание, подаваемое во время затяжки пользователем, вероятно, будет больше, чем питание, подаваемое, когда пользователь не делает затяжку, поскольку для сохранения температуры нагревателя между затяжками потребуется меньше питания.
Предпочтительное расходуемое изделие, генерирующее аэрозоль, может иметь форму сигареты или изделия, подобного сигарете, содержащего твердый субстрат, образующий аэрозоль, находящийся внутри обертки. Предпочтительно такое изделие содержит, мундштучный конец, предназначенный для вставки в рот пользователя для использования изделия. Предпочтительно мундштучный конец содержит фильтр для имитации обычной сигареты с заданными свойствами. Предпочтительно, расходуемое изделие, генерирующее аэрозоль, выполнено с возможностью взаимодействия с распылителем, предпочтительно нагревателем, расположенным в основной части устройства, генерирующего аэрозоль. Таким образом, нагревательное средство, такое как резистивный нагревательный элемент, может быть расположено в приемной полости для субстрата или вокруг нее для размещения расходуемого изделия, генерирующего аэрозоль. Приемная полость для субстрата может быть расположена на ближнем конце устройства. Например, отверстие относительно приемной полости для субстрата может быть расположено на ближнем конце устройства.
Система, генерирующая аэрозоль, может содержать устройство, генерирующее аэрозоль, как описано выше, и изделие, генерирующее аэрозоль, выполненное с возможностью приема устройством, генерирующим аэрозоль, при этом изделие, генерирующее аэрозоль, содержит субстрат, образующий аэрозоль.
Система, генерирующая аэрозоль, может дополнительно содержать зарядное устройство для зарядки устройства, генерирующего аэрозоль. Зарядное устройство может содержать первичный источник питания и может иметь стыковочную компоновку, выполненную с возможностью зацепления с удлиненным устройством, генерирующим аэрозоль.
Согласно одному аспекту настоящего изобретения предложен способ индикации хода выполнения сеанса использования в устройстве, генерирующем аэрозоль, для генерирования аэрозоля из субстрата, образующего аэрозоль. Устройство, генерирующее аэрозоль, содержит блок выходного тактильного сигнала и контроллер. Способ включает этапы определения начальной точки сеанса использования, отслеживания сигналов синхронизации, генерируемых таймером, отслеживания параметра взаимодействия пользователя, определения хода выполнения сеанса использования на основании сигналов синхронизации и полученного параметра взаимодействия пользователя и управления блоком выходного тактильного сигнала для испускания разных выходных тактильных сигналов для указания хода выполнения сеанса использования.
Разделяя сеанс использования на множество последовательных фаз, устройство может определять и указывать пользователю ход выполнения сеанса использования. Пользователь может определять фазу, в которой находится сеанс использования, посредством получения тактильной индикации. Таким образом, пользователь может иметь индикацию того, сколько времени остается в сеансе использования или сколько дополнительного взаимодействия он может иметь с устройством до окончания сеанса использования. Это может быть особым преимуществом, когда продолжительность сеанса использования в некоторой степени зависит от уровня взаимодействия пользователя с устройством.
Устройство, генерирующее аэрозоль, может быть выполнено с возможностью генерирования аэрозоля во время сеанса использования, и сеанс использования проходит через множество последовательных фаз между началом сеанса использования и прекращением сеанса использования. Способ может включать этап управления блоком выходного тактильного сигнала для испускания другого выходного тактильного сигнала во время каждой из множества последовательных фаз, чтобы указать ход выполнения сеанса использования.
Способ может включать этапы определения начальной точки сеанса использования, определения хода выполнения сеанса использования и управления блоком выходного тактильного сигнала для испускания выходных тактильных сигналов для указания хода выполнения сеанса использования.
Способ может включать дополнительные этапы определения по меньшей мере четырех последовательных фаз между началом сеанса и прекращением сеанса и управления блоком выходного тактильного сигнала для испускания разного выходного тактильного сигнала во время каждой из последовательных фаз.
Способ может включать дополнительные этапы записи параметра взаимодействия пользователя во время сеанса использования и определения продолжительности сеанса использования и/или каждой из множества последовательных фаз на основании информации о времени и значения параметра взаимодействия пользователя.
Параметр взаимодействия пользователя может представлять количество затяжек пользователя, и общая продолжительность сеанса использования может быть определена как максимальная продолжительность, определяемая таймером, или продолжительность ниже максимальной продолжительности, если количество затяжек во время сеанса использования превышает максимальное количество затяжек, разрешенных во время сеанса пользователя.
Параметр взаимодействия пользователя может представлять количество затяжек пользователя, и общая продолжительность каждой фазы может быть определена как максимальная продолжительностью фазы, определяемая таймером, или продолжительность ниже максимальной продолжительности фазы, если количество затяжек во время фазы превышает максимальное количество затяжек, разрешенных во время фазы.
Согласно одному аспекту настоящего изобретения предусмотрено устройство, генерирующее аэрозоль, для генерирования аэрозоля из субстрата, образующего аэрозоль, причем устройство, генерирующее аэрозоль, выполнено с возможностью генерирования аэрозоля во время сеанса использования, проходящего через множество последовательных фаз между началом сеанса использования и прекращением сеанса использования. Устройство, генерирующее аэрозоль, содержит таймер, блок выходного тактильного сигнала и контроллер. Устройство, генерирующее аэрозоль, содержит машиночитаемый носитель, содержащий команды для выполнения способа определения начальной точки сеанса использования, отслеживания сигналов синхронизации, генерируемых таймером, отслеживания параметра взаимодействия пользователя, определения хода выполнения сеанса использования на основании сигналов синхронизации и полученного параметра взаимодействия пользователя и управления блоком выходного тактильного сигнала для испускания разных выходных тактильных сигналов для указания хода выполнения сеанса использования.
В контексте данного документа термин «устройство, генерирующее аэрозоль» относится к устройству, которое взаимодействует с субстратом, образующим аэрозоль, с генерированием аэрозоля, который непосредственно вдыхается в легкие пользователя через рот пользователя. В определенных вариантах осуществления устройство, генерирующее аэрозоль, может нагревать субстрат, образующий аэрозоль, для упрощения высвобождения летучих соединений. Устройство, генерирующее аэрозоль, может взаимодействовать с изделием, генерирующим аэрозоль, содержащим субстрат, образующий аэрозоль, или картриджем, содержащим субстрат, образующий аэрозоль. Электрическое устройство, генерирующее аэрозоль, может содержать распылитель, такой как электрический нагреватель, для нагрева субстрата, образующего аэрозоль, с образованием аэрозоля.
В контексте данного документа термин «изделие, генерирующее аэрозоль» относится к изделию, содержащему субстрат, образующий аэрозоль, способному высвобождать летучие соединения, которые могут образовывать аэрозоль. В определенных вариантах осуществления изделие, генерирующее аэрозоль, может содержать субстрат, образующий аэрозоль, способный выделять при нагреве летучие соединения, которые могут образовывать аэрозоль.
Используемый в данном документе термин «сеанс использования» относится к периоду работы устройства, генерирующего аэрозоль, имеющему ограниченную продолжительность. Сеанс использования может быть инициирован действием пользователя. Сеанс использования может быть прекращен по истечении заданного периода времени с момента инициирования сеанса использования. Сеанс использования может быть прекращен после того, как отслеживаемый параметр достиг порога во время сеанса использования. Обычно сеанс использования имеет продолжительность, которая позволяет пользователю наслаждаться одним сеансом использования пользователем. Например, в определенных устройствах, генерирующих аэрозоль, сеанс использования может иметь продолжительность, которая позволяет пользователю потреблять одно одноразовое изделие, генерирующее аэрозоль. После прекращения сеанса использования пользователю требуются дальнейшие действия для инициирования последующего сеанса использования.
Используемый в данном документе термин «блок выходного тактильного сигнала» относится к элементу устройства, генерирующего аэрозоль, способному выдавать индикацию в тактильном виде пользователю устройства. Блок выходного тактильного сигнала может, например, содержать вибродвигатель или тактильный двигатель, такой как привод с эксцентриковой вращающейся массой.
Настоящее изобретение определено в формуле изобретения. Однако ниже предложен не являющийся исчерпывающим перечень неограничивающих примеров. Любой один или более из признаков этих примеров можно комбинировать с любым одним или более признаками другого примера, варианта осуществления или аспекта, описанных в данном документе.
Пример i. Устройство, генерирующее аэрозоль, для генерирования аэрозоля из субстрата, образующего аэрозоль, причем устройство, генерирующее аэрозоль, выполнено с возможностью генерирования аэрозоля во время сеанса использования, причем устройство, генерирующее аэрозоль, содержит: контроллер, выполненный с возможностью отслеживания хода выполнения сеанса использования и управления индикатором для указания хода выполнения сеанса использования.
Пример ii. Устройство, генерирующее аэрозоль, для генерирования аэрозоля из субстрата, образующего аэрозоль, причем устройство, генерирующее аэрозоль, выполнено с возможностью генерирования аэрозоля во время сеанса использования, причем устройство, генерирующее аэрозоль, содержит: блок выходного тактильного сигнала и контроллер, выполненный с возможностью управления блоком выходного тактильного сигнала для указания хода выполнения сеанса использования.
Пример iii. Устройство, генерирующее аэрозоль, для генерирования аэрозоля из субстрата, генерирующего аэрозоль, причем устройство, генерирующее аэрозоль, выполнено с возможностью генерирования аэрозоля во время сеанса использования, проходящего через множество последовательных фаз между началом сеанса использования и прекращением сеанса использования, причем устройство, генерирующее аэрозоль, содержит:
блок выходного тактильного сигнала и
контроллер,
в котором ход выполнения сеанса использования через множество последовательных фаз управляется контроллером в ответ на отслеживаемый параметр,
и в котором контроллер выполнен с возможностью управления блоком выходного тактильного сигнала для испускания разного выходного тактильного сигнала во время каждой из множества последовательных фаз, чтобы указать ход выполнения сеанса использования.
Пример iv. Устройство, генерирующее аэрозоль, согласно примеру iii, в котором отслеживаемым параметром является время или параметр взаимодействия пользователя.
Пример Ex1. Устройство, генерирующее аэрозоль, для генерирования аэрозоля из субстрата, генерирующего аэрозоль, причем устройство, генерирующее аэрозоль, выполнено с возможностью генерирования аэрозоля во время сеанса использования, проходящего через множество последовательных фаз между началом сеанса использования и прекращением сеанса использования, причем устройство, генерирующее аэрозоль, содержит:
таймер,
блок выходного тактильного сигнала и
контроллер,
в котором ход выполнения сеанса использования через множество последовательных фаз управляется контроллером в ответ на сигналы синхронизации от таймера и в ответ на сигналы, представляющие отслеживаемый параметр взаимодействия пользователя,
и в котором контроллер выполнен с возможностью управления блоком выходного тактильного сигнала для испускания разного выходного тактильного сигнала во время каждой из множества последовательных фаз, чтобы указать ход выполнения сеанса использования.
Пример Ex2. Устройство, генерирующее аэрозоль, согласно любому предыдущему примеру, в котором блок выходного тактильного сигнала выполнен с возможностью испускания выходного тактильного сигнала, представляющего текущую фазу сеанса использования, в ответ на пользовательский ввод.
Пример Ex3. Устройство, генерирующее аэрозоль, согласно любому предыдущему примеру, в котором блок выходного тактильного сигнала выполнен с возможностью испускания выходного тактильного сигнала, представляющего текущую фазу сеанса использования, в ответ на переход от одной из множества последовательных фаз к последующей из множества последовательных фаз.
Пример Ex4. Устройство, генерирующее аэрозоль, согласно любому предыдущему примеру, в котором множество последовательных фаз содержит по меньшей мере три последовательные фазы.
Пример Ex5. Устройство, генерирующее аэрозоль, согласно любому предыдущему примеру, в котором множество последовательных фаз содержит по меньшей мере четыре последовательные фазы или по меньшей мере пять последовательных фаз.
Пример Ex6. Устройство, генерирующее аэрозоль, согласно любому предыдущему примеру, в котором устройство, генерирующее аэрозоль, сконфигурировано таким образом, что сеанс использования имеет максимальную продолжительность, определяемую таймером.
Пример Ex7. Устройство, генерирующее аэрозоль, согласно любому предыдущему примеру, в котором устройство, генерирующее аэрозоль, выполнено с возможностью размещения изделия, генерирующего аэрозоль, содержащего субстрат, образующий аэрозоль.
Пример Ex8. Устройство, генерирующее аэрозоль, согласно примеру Ex7, в котором устройство, генерирующее аэрозоль, выполнено с возможностью обнаружения присутствия изделия, генерирующего аэрозоль.
Пример Ex9. Устройство, генерирующее аэрозоль, согласно примеру Ex7 или Ex8, в котором сеанс использования прекращается, если изделие, генерирующее аэрозоль, извлекают из устройства, генерирующего аэрозоль.
Пример Ex10. Устройство, генерирующее аэрозоль, согласно любому предыдущему примеру, в котором параметр взаимодействия пользователя указывает на использование устройства, генерирующего аэрозоль, во время сеанса использования.
Пример Ex11. Устройство, генерирующее аэрозоль, согласно примеру Ex10, в котором сеанс использования выполнен с возможностью прекращения, если параметр взаимодействия пользователя достигает заданного порога.
Пример Ex12. Устройство, генерирующее аэрозоль, согласно примеру Ex10 или Ex11, в котором параметр взаимодействия пользователя указывает на затяжки пользователя, сделанные во время сеанса использования, или в котором параметр взаимодействия пользователя указывает на объем аэрозоля, высвобождаемого субстратом, образующим аэрозоль, или доставляемого пользователю во время сеанса использования.
Пример Ex13. Устройство, генерирующее аэрозоль, согласно любому предыдущему примеру, в котором устройство, генерирующее аэрозоль, содержит механизм подсчета затяжек для определения количества затяжек пользователя, сделанных во время сеанса использования.
Пример Ex14. Устройство, генерирующее аэрозоль, согласно примеру Ex13, в котором устройство, генерирующее аэрозоль, выполнено с возможностью прекращения сеанса использования, когда количество затяжек пользователя, сделанных во время сеанса использования, достигает заданного порога.
Пример 14A. Устройство, генерирующее аэрозоль, согласно любому предыдущему примеру, выполненное с возможностью отслеживания параметра, указывающего на генерирование аэрозоля во время работы устройства, генерирующего аэрозоль, анализа отслеживаемого параметра для идентификации затяжки пользователя, затяжки пользователя, определяемой началом затяжки и концом затяжки, анализа отслеживаемого параметра во время затяжки пользователя для расчета объема затяжки, при этом объем затяжки представляет собой объем аэрозоля, генерируемого во время затяжки пользователя и использования объема затяжки в качестве параметра взаимодействия пользователя.
Пример Ex15. Устройство, генерирующее аэрозоль, согласно любому предыдущему примеру, в котором устройство, генерирующее аэрозоль, сконфигурировано таким образом, что любая или каждая из множества последовательных фаз имеет продолжительность фазы, определяемую началом фазы и концом фазы.
Пример Ex16. Устройство, генерирующее аэрозоль, согласно любому предыдущему примеру, в котором устройство, генерирующее аэрозоль, сконфигурировано таким образом, что любая или каждая из множества последовательных фаз имеет максимальную продолжительность фазы, определяемую таймером.
Пример Ex17. Устройство, генерирующее аэрозоль, согласно любому предыдущему примеру, в котором любая или каждая из множества последовательных фаз имеет продолжительность фазы, определяемую началом фазы и концом фазы.
Пример Ex18. Устройство, генерирующее аэрозоль, согласно примеру Ex17, в котором и в котором любая или каждая из множества последовательных фаз имеет максимальную продолжительность фазы, определяемую таймером.
Пример Ex19. Устройство, генерирующее аэрозоль, согласно примеру Ex17 или Ex18, в котором любая или каждая из множества последовательных фаз заканчивается, когда отслеживаемый период времени достигает заданного порога для фазы, если фаза не закончилась раньше.
Пример Ex20. Устройство, генерирующее аэрозоль, согласно любому предыдущему примеру, в котором
первая фаза из множества последовательных фаз имеет продолжительность первой фазы, определяемую началом первой фазы и концом первой фазы, в котором первая фаза начинается в начале сеанса использования.
Пример Ex21. Устройство, генерирующее аэрозоль, согласно примеру Ex20, в котором первая фаза предусматривает период нагрева, в течение которого температура нагревательного элемента увеличивается от температуры окружающей среды до рабочей температуры для генерирования аэрозоля.
Пример Ex22. Устройство, генерирующее аэрозоль, согласно любому предыдущему примеру, в котором
первая фаза из множества последовательных фаз имеет продолжительность первой фазы, определяемую началом первой фазы и концом первой фазы, в которой первая фаза начинается в конце предфазового периода нагрева, при этом предфазовый период нагрева начинается в начале сеанса.
Пример Ex23. Устройство, генерирующее аэрозоль, согласно примеру Ex22, в котором предфазовый период нагрева представляет собой период нагрева, в течение которого температура нагревательного элемента увеличивается от температуры окружающей среды до рабочей температуры для генерирования аэрозоля.
Пример Ex24. Устройство, генерирующее аэрозоль, согласно любому предыдущему примеру, в котором
вторая фаза из множества последовательных фаз имеет продолжительность второй фазы, определяемую началом второй фазы и концом второй фазы, в которой вторая фаза начинается в конце первой фазы.
Пример Ex25. Устройство, генерирующее аэрозоль, согласно любому предыдущему примеру, в котором
третья фаза из множества последовательных фаз имеет продолжительность третьей фазы, определяемую началом третьей фазы и концом первой фазы, в которой третья фаза начинается в конце второй фазы.
Пример Ex26. Устройство, генерирующее аэрозоль, согласно любому предыдущему примеру, в котором
четвертая фаза из множества последовательных фаз имеет продолжительность четвертой фазы, определяемую началом четвертой фазы и концом четвертой фазы, в которой четвертая фаза начинается в конце третьей фазы.
Пример Ex27. Устройство, генерирующее аэрозоль, согласно любому предыдущему примеру, в котором сеанс использования заканчивается в конце четвертой фазы.
Пример Ex28. Устройство, генерирующее аэрозоль, согласно любому из примеров Ex1-Ex26, в котором
пятая фаза из множества последовательных фаз имеет продолжительность пятой фазы, определяемую началом пятой фазы и концом пятой фазы, в которой пятая фаза начинается в конце четвертой фазы.
Пример Ex29. Устройство, генерирующее аэрозоль, согласно примеру Ex28, в котором сеанс использования заканчивается в конце пятой фазы.
Пример Ex30. Устройство, генерирующее аэрозоль, согласно любому из примеров Ex1-Ex26 и Ex28, в котором
шестая фаза из множества последовательных фаз имеет продолжительность шестой фазы, определяемую началом шестой фазы и концом шестой фазы, в которой шестая фаза начинается в конце пятой фазы.
Пример Ex31. Устройство, генерирующее аэрозоль, согласно примеру Ex30, в котором сеанс использования заканчивается в конце шестой фазы.
Пример Ex32. Устройство, генерирующее аэрозоль, согласно любому предыдущему примеру, в котором устройство, генерирующее аэрозоль, содержит аппаратуру контроля и наблюдения, выполненную с возможностью отслеживания параметра взаимодействия пользователя, указывающего на использование устройства, генерирующего аэрозоль, во время сеанса использования.
Пример Ex33. Устройство, генерирующее аэрозоль, согласно любому предыдущему примеру, в котором продолжительность любой или каждой из множества последовательных фаз управляется со ссылкой на параметр взаимодействия пользователя.
Пример Ex34. Устройство, генерирующее аэрозоль, согласно любому предыдущему примеру, в котором продолжительность любой или каждой из множества последовательных фаз регулируется со ссылкой на параметр взаимодействия пользователя и по меньшей мере один дополнительный параметр.
Пример Ex35. Устройство, генерирующее аэрозоль, согласно примеру Ex34, в котором по меньшей мере одним дополнительным параметром является течение времени, определяемое таймером.
Пример Ex36. Устройство, генерирующее аэрозоль, согласно любому предыдущему примеру, в котором параметр взаимодействия пользователя указывает на затяжки пользователя, сделанные во время сеанса использования.
Пример Ex37. Устройство, генерирующее аэрозоль, согласно любому предыдущему примеру, в котором параметр взаимодействия пользователя указывает на питание, подаваемое на нагревательный элемент во время сеанса использования.
Пример Ex38. Устройство, генерирующее аэрозоль, согласно любому предыдущему примеру, в котором устройство, генерирующее аэрозоль, содержит механизм подсчета затяжек для определения количества затяжек пользователя, сделанных во время сеанса использования, и в котором продолжительность любой или каждой из множества последовательных фаз регулируется со ссылкой на количество затяжек пользователя, сделанных во время сеанса использования.
Пример Ex39. Устройство, генерирующее аэрозоль, согласно любому предыдущему примеру, в котором устройство, генерирующее аэрозоль, сконфигурировано таким образом, что сеанс использования имеет максимальную продолжительность сеанса использования, определяемую таймером, и в котором устройство, генерирующее аэрозоль, выполнено с возможностью записи по меньшей мере одного параметра взаимодействия пользователя во время сеанса использования, причем продолжительность фазы любой или каждой из множества последовательных фаз имеет меньшую продолжительность, чем максимальная продолжительность фазы, если значение параметра взаимодействия пользователя достигает заданного порога.
Пример Ex40. Устройство, генерирующее аэрозоль, согласно любому предыдущему примеру, в котором сеанс использования содержит первую фазу, вторую фазу, третью фазу и четвертую фазу.
Пример Ex41. Устройство, генерирующее аэрозоль, согласно примеру Ex40, в котором первая фаза начинается с момента начала сеанса использования.
Пример Ex42. Устройство, генерирующее аэрозоль, согласно примеру Ex40 или Ex41, где первая фаза заканчивается, а вторая фаза начинается после того, как отслеживаемый период времени, начинающийся с момента начала отслеживания времени, достигает заданного порога времени первой фазы, или после того, как записанный параметр взаимодействия пользователя достигает первого заданного значения, если первое заданное значение достигается в момент времени, предшествующий заданному порогу времени первой фазы.
Пример Ex43. Устройство, генерирующее аэрозоль, согласно любому из примеров Ex40-Ex42, где вторая фаза заканчивается, а третья фаза начинается после того, как отслеживаемое время, начинающееся с момента начала отслеживания времени, достигает заданного порога времени второй фазы, или после того, как записанный параметр взаимодействия пользователя достигает второго заданного значения, если второе заданное значение достигается в момент времени, предшествующий заданному порогу времени второй фазы.
Пример Ex44. Устройство, генерирующее аэрозоль, согласно любому из примеров Ex40-Ex43, где третья фаза заканчивается, а четвертая фаза начинается после того, как отслеживаемое время, начинающееся с момента начала отслеживания времени, достигает заданного порога времени третьей фазы, или после того, как записанный параметр взаимодействия пользователя достигает третьего заданного значения, если третье заданное значение достигается в момент времени, предшествующий заданному порогу времени третьей фазы.
Пример Ex45. Устройство, генерирующее аэрозоль, согласно любому из примеров Ex40-Ex44, где четвертая фаза заканчивается после того, как отслеживаемое время, начинающееся с момента начала отслеживания времени, достигает заданного порога времени четвертой фазы, или после того, как записанный параметр взаимодействия пользователя достигает четвертого заданного значения, если четвертое заданное значение достигается в момент времени, предшествующий заданному порогу времени четвертой фазы.
Пример Ex46. Устройство, генерирующее аэрозоль, согласно любому из примеров Ex42-Ex45, в котором начало отслеживания времени представляет собой момент начала сеанса использования.
Пример Ex47. Устройство, генерирующее аэрозоль, согласно любому из примеров Ex42-Ex46, в котором порог времени первой фазы представляет собой значение от 75 секунд до 105 секунд с момента начала сеанса использования.
Пример Ex48. Устройство, генерирующее аэрозоль, согласно любому из примеров Ex42-Ex47, в котором записанный параметр взаимодействия пользователя представляет количество затяжек, сделанных пользователем во время сеанса использования,
причем первое заданное значение составляет 3 затяжки или 4 затяжки.
Пример Ex49. Устройство, генерирующее аэрозоль, согласно любому из примеров Ex42-Ex48, в котором порог времени второй фазы представляет собой значение от 150 секунд до 210 секунд с момента начала сеанса использования.
Пример Ex50. Устройство, генерирующее аэрозоль, согласно любому из примеров Ex42-Ex49, в котором записанный параметр взаимодействия пользователя представляет количество затяжек, сделанных пользователем во время сеанса использования,
причем второе заданное значение составляет 6 затяжек или 7 затяжек.
Пример Ex51. Устройство, генерирующее аэрозоль, согласно любому из примеров Ex42-Ex50, в котором порог времени третьей фазы представляет собой значение от 225 секунд до 315 секунд с момента начала сеанса использования.
Пример Ex52. Устройство, генерирующее аэрозоль, согласно любому из примеров Ex42-Ex51, в котором записанный параметр взаимодействия пользователя представляет количество затяжек, сделанных пользователем во время сеанса использования,
причем третье заданное значение составляет 9 затяжек или 10 затяжек.
Пример Ex53. Устройство, генерирующее аэрозоль, согласно любому из примеров Ex42-Ex52, в котором порог времени четвертой фазы представляет собой значение от 300 секунд до 420 секунд с момента начала сеанса использования.
Пример Ex54. Устройство, генерирующее аэрозоль, согласно любому из примеров Ex42-Ex52, в котором записанный параметр взаимодействия пользователя представляет количество затяжек, сделанных пользователем во время сеанса использования,
причем первое заданное значение составляет 12 затяжек или 13 затяжек.
Пример Ex55. Устройство, генерирующее аэрозоль, согласно любому из примеров Ex42-Ex54, в котором
сеанс использования содержит заключительную фазу, которая может быть четвертой фазой или последующей фазой, а заключительная фаза заканчивается после отслеживаемого времени, начинающегося с момента начала сеанса использования, достигает заданного порога времени заключительной фазы, или после того, как записанный параметр взаимодействия пользователя достигает конечного заданного значения, если окончательное заданное значение достигается до заданного порога времени заключительной фазы.
Пример Ex56. Устройство, генерирующее аэрозоль, согласно примеру Ex55, в котором заключительная фаза имеет максимальную продолжительность, которая меньше максимальной продолжительности предыдущих фаз.
Пример Ex57. Устройство, генерирующее аэрозоль, согласно любому предыдущему примеру, в котором сеанс использования предусматривает по меньшей мере четыре последовательные фазы, и блок выходного тактильного сигнала выполнен с возможностью испускания разного выходного тактильного сигнала во время каждой из по меньшей мере четырех последовательных фаз.
Пример Ex58. Устройство, генерирующее аэрозоль, согласно примеру Ex57, в котором
во время первой фазы блок выходного тактильного сигнала испускает выходной сигнал, предусматривающий первое количество вибраций, например, первое количество вибраций или звуковых сигналов, выбранных из списка, содержащего одиночную вибрацию, двойную вибрацию, тройную вибрацию и четверную вибрацию.
Пример Ex59. Устройство, генерирующее аэрозоль, согласно примеру Ex58, в котором
во время второй фазы блок выходного тактильного сигнала испускает выходной сигнал, предусматривающий второе количество вибраций, например, второе количество вибраций, выбранных из списка, содержащего одиночную вибрацию, двойную вибрацию, тройную вибрацию и четверную вибрацию, причем выходной тактильный сигнал, испускаемый во время второй фазы, отличается от выходного тактильного сигнала, испускаемого во время первой фазы.
Пример Ex60. Устройство, генерирующее аэрозоль, согласно примеру Ex59, в котором
во время третьей фазы блок выходного тактильного сигнала испускает выходной сигнал, предусматривающий третье количество вибраций, например, третье количество вибраций, выбранных из списка, содержащего одиночную вибрацию, двойную вибрацию, тройную вибрацию и четверную вибрацию, причем выходной тактильный сигнал, испускаемый во время третьей фазы, отличается от выходного тактильного сигнала, испускаемого во время как первой фазы, так и второй фазы.
Пример Ex61. Устройство, генерирующее аэрозоль, согласно примеру Ex60, в котором
во время четвертой фазы блок выходного тактильного сигнала испускает выходной сигнал, предусматривающий четвертое количество вибраций, например, четвертое количество вибраций, выбранных из списка, содержащего одиночную вибрацию, двойную вибрацию, тройную вибрацию и четверную вибрацию, причем выходной тактильный сигнал, испускаемый во время четвертой фазы, отличается от выходного тактильного сигнала, испускаемого во время любой из первой фазы, второй фазы и третьей фазы.
Пример Ex62. Устройство, генерирующее аэрозоль, согласно любому предыдущему примеру, в котором устройство содержит нагреватель.
Пример Ex63. Устройство, генерирующее аэрозоль, согласно примеру Ex62, в котором нагреватель является индукционным нагревателем.
Пример Ex64. Устройство, генерирующее аэрозоль, согласно примеру Ex62, в котором нагреватель является резистивным нагревателем.
Пример Ex64i. Устройство, генерирующее аэрозоль, согласно любому из примеров Ex22-Ex64, в котором питание подается на нагреватель для сохранения заданной температуры нагревателя во время сеанса использования.
Пример 64ii. Устройство, генерирующее аэрозоль, согласно любому из примеров Ex62-Ex64i, в котором питание подается на нагреватель для увеличения температуры нагревательного элемента до диапазона рабочей температуры для генерирования аэрозоля, при этом нагревательный элемент остается в пределах диапазона рабочей температуры до конца сеанса использования.
Пример 64iii. Устройство, генерирующее аэрозоль, согласно любому из примеров Ex62-Ex64ii, в котором питание подается на нагреватель во время сеанса использования как когда пользователь делает затяжку, так и когда пользователь не делает затяжку.
Пример Ex65. Устройство, генерирующее аэрозоль, согласно любому предыдущему примеру выполнено с возможностью размещения изделия, генерирующего аэрозоль, содержащего субстрат, образующий аэрозоль.
Пример Ex66. Устройство, генерирующее аэрозоль, согласно примеру Ex65, в котором субстрат, образующий аэрозоль, представляет собой твердый субстрат, образующий аэрозоль.
Пример Ex67. Система, генерирующая аэрозоль, содержащая устройство, генерирующее аэрозоль, согласно любому предыдущему примеру и изделие, генерирующее аэрозоль, выполненное с возможностью приема устройством, генерирующим аэрозоль, при этом изделие, генерирующее аэрозоль, содержащее субстрат, образующий аэрозоль.
Пример Ex68. Способ индикации хода выполнения сеанса использования в устройстве, генерирующем аэрозоль, для генерирования аэрозоля из субстрата, образующего аэрозоль, причем устройство, генерирующее аэрозоль, содержит блок выходного тактильного сигнала и контроллер,
причем способ включает этапы:
определения начальной точки сеанса использования,
отслеживания сигналов синхронизации, генерируемых таймером,
отслеживания параметра взаимодействия пользователя,
определения хода выполнения сеанса использования на основании сигналов синхронизации и полученного параметра взаимодействия пользователя и
управления блоком выходного тактильного сигнала дли испускания разных выходных тактильных сигналов для указания хода выполнения сеанса использования.
Пример Ex69. Способ согласно примеру Ex68, в котором устройство, генерирующее аэрозоль, выполнено с возможностью генерирования аэрозоля во время сеанса использования, и сеанс использования проходит через множество последовательных фаз между началом сеанса использования и прекращением сеанса использования, причем способ включает этап управления блоком выходного тактильного сигнала для испускания разного выходного тактильного сигнала во время каждой из множества последовательных фаз для указания хода выполнения сеанса использования.
Пример Ex70. Способ индикации хода выполнения сеанса использования согласно примеру Ex68 или Ex69 в устройстве, генерирующем аэрозоль, согласно любому из примеров Ex1-Ex66, причем способ включает этапы;
определения начальной точки сеанса использования,
определения хода выполнения сеанса использования и
управления блоком выходного тактильного сигнала дли испускания выходных тактильных сигналов для указания хода выполнения сеанса использования.
Пример Ex71. Способ согласно любому из примеров Ex68-Ex70, включающий дополнительные этапы
определения по меньшей мере четырех последовательных фаз между началом сеанса и прекращением сеанса и
управления блоком выходного тактильного сигнала для испускания разного выходного тактильного сигнала во время каждой из последовательных фаз.
Пример Ex72. Устройство, генерирующее аэрозоль, для генерирования аэрозоля из субстрата, генерирующего аэрозоль, причем устройство, генерирующее аэрозоль, выполнено с возможностью генерирования аэрозоля во время сеанса использования, проходящего через множество последовательных фаз между началом сеанса использования и прекращением сеанса использования, причем устройство, генерирующее аэрозоль, содержит:
таймер,
блок выходного тактильного сигнала и
контроллер,
причем устройство, генерирующее аэрозоль, содержит машиночитаемый носитель, содержащий команды для выполнения способа:
определения начальной точки сеанса использования,
отслеживания сигналов синхронизации, генерируемых таймером,
отслеживания параметра взаимодействия пользователя,
определения хода выполнения сеанса использования на основании сигналов синхронизации и полученного параметра взаимодействия пользователя и
управления блоком выходного тактильного сигнала дли испускания разных выходных тактильных сигналов для указания хода выполнения сеанса использования.
Пример Ex73. Устройство, генерирующее аэрозоль, для генерирования аэрозоля из субстрата, генерирующего аэрозоль, причем устройство, генерирующее аэрозоль, выполнено с возможностью генерирования аэрозоля во время сеанса использования, проходящего через множество последовательных фаз между началом сеанса использования и прекращением сеанса использования, причем устройство, генерирующее аэрозоль, содержит:
таймер,
блок выходного тактильного сигнала и
контроллер,
причем устройство, генерирующее аэрозоль, содержит машиночитаемый носитель, содержащий команды для выполнения этапов способа согласно любому из примеров Ex68-Ex72.
Далее будут описаны конкретные варианты осуществления изобретения со ссылкой на фигуры, на которых:
на фиг. 1 изображен схематический вид сбоку устройства, генерирующего аэрозоль;
на фиг. 2 изображен схематический вид с верхнего конца устройства, генерирующего аэрозоль по фиг. 1;
на фиг. 3 изображен схематический вид сбоку в сечении устройства, генерирующего аэрозоль, по фиг. 1 и изделие, генерирующее аэрозоль, для использования с устройством;
на фиг. 4 представлена блок-схема, показывающая схематическое изображение различных электронных компонентов устройства, генерирующего аэрозоль, и их взаимодействия;
на фиг. 5 представлена блок-схема, иллюстрирующая этапы способа, связанные с обеспечением пользователю индикации количества оставшихся сеансов использования;
на фиг. 6 представлена блок-схема, иллюстрирующая этапы способа, связанные с индикацией, указывающей пользователю на ход выполнения сеанса использования, где ход выполнения определен временем и количеством затяжек;
на фиг. 7 представлена блок-схема, иллюстрирующая этапы способа, связанные с индикацией, указывающей пользователю на ход выполнения сеанса использования, где ход выполнения определен временем и генерируемым объемом аэрозоля;
на фиг. 8 представлена блок-схема, иллюстрирующая этапы способа, связанные с обеспечением пользователю индикации хода выполнения сеанса использования в ответ на запрос состояния;
на фиг. 9-11 показано схематическое изображение иллюстративных индикаций, которые могут быть обеспечены светоизлучающим индикатором для указания количества оставшихся сеансов использования; и
на фиг. 12-16 показано схематическое изображение иллюстративных индикаций, которые могут быть обеспечены светоизлучающим индикатором для указания хода выполнения сеанса использования.
Устройство 10, генерирующее аэрозоль, является удерживаемым рукой устройством, генерирующим аэрозоль, и имеет продолговатую форму, образованную корпусом 20, который имеет по существу круглоцилиндрическую форму. Устройство 10, генерирующее аэрозоль, содержит открытую полость 25, расположенную на ближнем конце 21 корпуса 20 для размещения изделия 30, генерирующего аэрозоль, содержащего субстрат 31, образующий аэрозоль. Устройство 10, генерирующее аэрозоль, дополнительно содержит батарею (не показана), размещенную в корпусе 20 устройства, и работающий от электричества нагреватель 40, расположенный с возможностью нагревания по меньшей мере части 31 в виде субстрата, образующий аэрозоль, изделия 30, генерирующего аэрозоль, когда изделие 30, генерирующее аэрозоль, размещают в полости 25.
Устройство, генерирующее аэрозоль, выполнено с возможностью размещения расходуемого изделия 30, генерирующего аэрозоль. Изделие 30, генерирующее аэрозоль, имеет форму цилиндрического стержня и содержит субстрат 31, образующий аэрозоль. Субстрат, образующий аэрозоль, является твердым субстратом, образующим аэрозоль, содержащим табак. Изделие 30, генерирующее аэрозоль, дополнительно содержит мундштук, такой как фильтр 32, расположенный в коаксиальном выравнивании с субстратом, образующим аэрозоль, в цилиндрическом стержне. Изделие 30, генерирующее аэрозоль, имеет диаметр, по существу равный диаметру полости 25 устройства 10, и длину, большую чем глубина полости 25, так что когда изделие 30 размещено в полости 25 устройства 10, мундштук 32 проходит за пределы полости 25 и пользователь может осуществлять на нем затяжку по аналогии с обычной сигаретой.
В процессе использования пользователь вставляет изделие 30 в полость 25 устройства 10, генерирующего аэрозоль, и включает устройство 10 нажатием кнопки 50 пользователя с целью активации нагревателя 40 для начала сеанса использования. Нагреватель 40 нагревает субстрат, образующий аэрозоль, изделия 30, так что летучие соединения субстрата 31, образующего аэрозоль, высвобождаются и распыляются с образованием аэрозоля. Пользователь осуществляет затяжку на мундштуке изделия 30 и вдыхает аэрозоль, генерируемый из нагретого субстрата, образующего аэрозоль. После активации температура нагревателя 40 повышается от температуры окружающей среды до заданной температуры для нагревания субстрата, образующего аэрозоль. Управляющая электроника устройства 10 подает питание на нагреватель от батареи для поддержания температуры нагревателя на приблизительно постоянном уровне, когда пользователь выполняет затяжку на изделии 30, генерирующем аэрозоль. Нагреватель продолжает нагревать изделие, генерирующее аэрозоль, до конца сеанса использования, когда нагреватель деактивируют и охлаждают.
В конце сеанса использования изделие 30 удаляют из устройства 10 для утилизации, и устройство 10 может быть соединено со внешним источником питания для зарядки батареи устройства 10.
Устройство 10, генерирующее аэрозоль, дополнительно содержит светоизлучающий индикатор 60, имеющий первый светоизлучающий блок 61 и второй светоизлучающий блок 62. Свет, излучаемый первым светоизлучающим блоком 61 и вторым светоизлучающим блоком 62, виден через корпус 20 устройства 10, генерирующего аэрозоль. Первый светоизлучающий блок 61 и второй светоизлучающий блок 62 оба являются светоизлучающими диодными (LED) устройствами, способными излучать свет в четырех цветах; белый, зеленый, красный и янтарный. Светодиоды могут быть видны через корпус 20, или свет, излучаемый светоизлучающими диодами, может быть виден снаружи корпуса 20 через канал передачи света (например, через волновод или аналогичную структуру). В дополнение к тому, что каждый из них способен излучать свет разных цветов, первый светоизлучающий блок и второй светоизлучающий блок оба могут быть независимо управляемыми для полного выключения, полного включения или включения и выключения мигания.
На фиг. 4 представлено схематическое изображение различных электронных компонентов устройства, генерирующего аэрозоль, и их взаимодействия.
Контроллер 420, расположенный внутри корпуса 20, соединен с батареей 410, нагревателем 40, таймером 430, акселерометром 440, тактильным двигателем 450 и светоизлучающим индикатором 60.
Батарея 410 подает электрическую энергию для нагрева нагревателя 40 и работы других электрических компонентов. Батарея 410 при полной зарядке обладает электрической энергией, достаточной для питания двух полных сеансов использования устройства, генерирующего аэрозоль. Батарея 410 представляет собой перезаряжаемую батарею и может быть подключена к внешнему источнику питания для подзарядки.
Нагреватель 40 преобразует электрическую энергию, подаваемую батареей, в тепло для нагрева устройства, генерирующего аэрозоль, в достаточной степени для образования аэрозоля. Во время работы контроллер управляет подачей электрической энергии от батареи для поддержания нагревателя при по существу постоянной температуре, генерирующей аэрозоль.
Таймер 430 подает сигналы синхронизации на контроллер.
Акселерометр 440 выполнен с возможностью обнаружения движения устройства. При обнаружении движения на контроллер посылают сигнал, и контроллер определяет, соответствует ли обнаруженное движение заданной схеме или жесту. Таким образом, пользователь может взаимодействовать с устройством, заставляя его двигаться в определенных схемах и жестах.
Тактильный двигатель 450 генерирует выходной тактильный сигнал пользователю устройства. Тактильный двигатель выполнен с возможностью испускания выходного тактильного сигнала в ответ на сигнал управления от контроллера 420.
Светоизлучающий индикатор 60 генерирует визуальную индикацию для пользователя. Светоизлучающий индикатор выполнен с возможностью выдачи визуальной индикации в ответ на сигнал управления от контроллера 420.
Устройство 10, генерирующее аэрозоль, в данном конкретном варианте осуществления выполнено с возможностью приема запросов пользователя в виде конкретных жестов, выполняемых пользователем с помощью устройства 10. В ответ на запросы пользователя устройство 10 выполнено с возможностью вывода сигналов, указывающих количество сеансов использования, оставшихся до того, как батарея устройства должна быть перезаряжена, и, во время сеанса использования, сигналов, указывающих на ход выполнения сеанса использования.
При полной зарядке батарея может обеспечить достаточную электрическую энергию по меньшей мере для одного полного сеанса использования. Батарея может обеспечивать достаточную электрическую энергию для двух или более сеансов использования (например, двадцать сеансов использования). Пользователь может пожелать узнать, сколько сеансов использования доступно, прежде чем пытаться начать сеанс использования.
На фиг. 5 представлена блок-схема, иллюстрирующая этапы способа, связанные с обеспечением пользователю индикации количества оставшихся сеансов использования.
Этап 500: когда устройство, генерирующее аэрозоль, не задействовано в сеансе использования, пользователь поднимает устройство и двигает устройство заданным жестом.
Этап 510: движение устройства, связанное с заданным жестом, обнаруживается акселерометром, который посылает сигнал на контроллер. Заданный жест может заключаться, например, в подъеме устройства и ориентировании устройства в вертикальном положении.
Этап 520: сигнал, подаваемый акселерометром, анализируется, чтобы определить, является ли обнаруженный жест жестом, указывающим на запрос состояния батареи.
Этап 530: если обнаруженный сигнал определен как запрос состояния батареи, то контроллер связывается с батареей для определения уровня заряда батареи.
Этап 540: контроллер посылает сигнал на светоизлучающий индикатор 60 для выдачи индикации количества оставшихся сеансов использования.
Этап 550: светоизлучающий индикатор 60 испускает визуальный сигнал, указывающий на количество оставшихся сеансов использования.
На фиг. 9-11 показано схематическое изображение иллюстративных индикаций, которые могут быть обеспечены светоизлучающим индикатором 60 для указания количества оставшихся сеансов использования. Если контроллер определит, что заряда батареи достаточно для 2 сеансов использования, то светоизлучающий индикатор выдает индикацию, указывающую на то, что осталось два сеанса использования; например, первый светоизлучающий блок 61 и второй светоизлучающий блок 62 оба могут быть освещены белым светом.
Если контроллер определит, что заряда батареи достаточно для 1 сеанса использования, то светоизлучающий индикатор 60 выдает индикацию, указывающую на то, что остался один сеанс использования; например, первый светоизлучающий блок 61 может быть освещен белым светом, а второй светоизлучающий блок 62 может быть не освещен.
Если контроллер определит, что заряда батареи недостаточно для сеанса использования, то светоизлучающий индикатор выдает индикацию, указывающую на то, что сеансы использования недоступны и батарея нуждается в подзарядке; например, первый светоизлучающий блок 61 может быть освещен желтым светом, а второй светоизлучающий блок 62 может быть не освещен.
Изделие, генерирующее аэрозоль, для использования с устройством имеет ограниченное количество субстрата, образующего аэрозоль, и, таким образом, сеанс использования должен иметь ограниченную продолжительность для предотвращения попытки пользователя создать аэрозоль, когда субстрат, образующий аэрозоль, был израсходован. Сеанс использования выполнен с возможностью иметь максимальную продолжительность, определенную периодом времени от начала сеанса использования. Сеанс использования также выполнен с возможностью иметь продолжительность меньше, чем максимальная продолжительность, если параметр взаимодействия пользователя, зафиксированный во время сеанса использования, достигает порога до максимальной продолжительности, определяемой таймером.
В конкретном варианте осуществления параметр взаимодействия пользователя представляет собой количество затяжек, сделанных пользователем во время сеанса использования. Таким образом, устройство, генерирующее аэрозоль, выполнено таким образом, что каждый сеанс использования имеет продолжительность 6 минут от инициирования сеанса использования, или 14 затяжек, сделанных пользователем, если 14 затяжек сделаны в пределах 6 минут от инициирования сеанса использования.
Во время сеанса использования пользователь может пожелать иметь индикацию хода выполнения на протяжении сеанса использования. Например, пользователь может пожелать знать, сколько приблизительно затяжек у него осталось, или сколько приблизительно времени осталось в сеансе использования.
Контроллер содержит счетчик затяжек для отслеживания количества затяжек, сделанных во время сеанса использования. Количество затяжек, сделанных пользователем, определяют путем отслеживания питания, подаваемого на нагреватель во время сеанса использования. Когда пользователь делает затяжку, поток воздуха охлаждает нагреватель, и, следовательно, батарея подает большее количество энергии для поддержания температуры нагревателя при его рабочей температуре. Таким образом, путем отслеживания питания, подаваемого нагревателем, контроллер способен определить количество затяжек, сделанных во время сеанса использования.
Для того, чтобы отслеживать ход выполнения, сеанс использования разделяют на количество последовательных фаз, начиная с первой фазы, начинающейся, когда сеанс использования начинается, и заканчивая заключительной фазой, когда сеанс использования заканчивается, переход от одной фазы к следующей фазе определяют временем и количеством затяжек таким же образом, как и сеанс использования. По мере хода выполнения сеанса использования через его последовательные фазы контроллер дает команду светоизлучающему индикатору и тактильному двигателю испускать сигналы, указывающие на каждую последующую фазу. Таким образом, пользователь приблизительно знает ход выполнения сеанса использования.
В конкретном примере сеанс использования может быть разбит на пять последовательных фаз для целей индикации. На фиг. 6 показаны этапы способа, связанные с индикацией, указывающей пользователю на ход выполнения сеанса использования.
Этап 600: пользователь вставляет изделие 30, генерирующее аэрозоль, в полость 25 устройства 10 и инициирует сеанс использования путем нажатия на кнопку 50 пользователя.
Этап 605: таймер инициируют для записи времени, прошедшего во время сеанса использования, а счетчик затяжек инициируют для записи количества затяжек, сделанных во время сеанса использования.
Этап 610: считается, что первая фаза сеанса использования началась тогда, когда начался сеанс использования.
Находясь в первой фазе, контроллер дает команду светоизлучающему индикатору 60 испускать сигнал, указывающий на то, что сеанс использования находится в первой фазе. Примером такого сигнала является первый светоизлучающий блок 61 и второй светоизлучающий блок 62, оба излучающие непрерывный белый свет, как показано на фиг. 12.
Находясь в первой фазе, контроллер дает команду тактильному двигателю испускать тактильный сигнал, указывающий на то, что сеанс использования находится в первой фазе. Примером такого сигнала является тактильный двигатель, издающий 4 последовательных звуковых сигнала.
Этап 615: первая фаза заканчивается, а вторая фаза начинается по истечении 1,5 минуты с начала сеанса использования или после того, как пользователь сделал 3 затяжки с начала сеанса использования, если эти 3 затяжки сделаны до того, как с начала сеанса использования прошло 1,5 минуты.
Этап 620: считается, что вторая фаза сеанса использования началась тогда, когда первая фаза закончилась.
Находясь во второй фазе, контроллер дает команду светоизлучающему индикатору 60 испускать сигнал, указывающий на то, что сеанс использования находится во второй фазе. Примером такого сигнала является первый светоизлучающий блок 61, излучающий непрерывный белый свет, и второй светоизлучающий блок 62, излучающий мигающий белый свет, как показано на фиг. 13.
Находясь во второй фазе, контроллер дает команду тактильному двигателю испускать тактильный сигнал, указывающий на то, что сеанс использования находится во второй фазе. Примером такого сигнала является тактильный двигатель, издающий 3 последовательных звуковых сигнала.
Этап 625: вторая фаза заканчивается, а третья фаза начинается по истечении 3 минут с начала сеанса использования или после того, как пользователь сделал 6 затяжек с начала сеанса использования, если эти 6 затяжек сделаны до того, как с начала сеанса использования прошло 3 минуты.
Этап 630: считается, что третья фаза сеанса использования началась тогда, когда вторая фаза закончилась.
Находясь в третьей фазе, контроллер дает команду светоизлучающему индикатору 60 испускать сигнал, указывающий на то, что сеанс использования находится в третьей фазе. Примером такого сигнала является первый светоизлучающий блок 61, излучающий непрерывный белый свет, и второй светоизлучающий блок 62 не освещен, как показано на фиг. 14.
Находясь в третьей фазе, контроллер дает команду тактильному двигателю испускать тактильный сигнал, указывающий на то, что сеанс использования находится в третьей фазе. Примером такого сигнала является тактильный двигатель, издающий 2 последовательных звуковых сигнала.
Этап 635: третья фаза заканчивается, а четвертая фаза начинается по истечении 4,5 минуты с начала сеанса использования или после того, как пользователь сделал 8 затяжек с начала сеанса использования, если эти 8 затяжек сделаны до того, как с начала сеанса использования прошло 4,5 минуты.
Этап 640: считается, что четвертая фаза сеанса использования началась тогда, когда третья фаза закончилась.
Находясь в четвертой фазе, контроллер дает команду светоизлучающему индикатору 60 испускать сигнал, указывающий на то, что сеанс использования находится в четвертой фазе. Примером такого сигнала является первый светоизлучающий блок 61, излучающий мигающий белый свет, и второй светоизлучающий блок 62 не освещен, как показано на фиг. 15.
Находясь в четвертой фазе, контроллер дает команду тактильному двигателю испускать тактильный сигнал, указывающий на то, что сеанс использования находится в четвертой фазе. Примером такого сигнала является тактильный двигатель, издающий один звуковой сигнал.
Этап 645: четвертая фаза заканчивается, а пятая фаза начинается по истечении 5,5 минуты с начала сеанса использования или после того, как пользователь сделал 11 затяжек с начала сеанса использования, если эти 11 затяжек сделаны до того, как с начала сеанса использования прошло 5,5 минуты.
Этап 650: считается, что пятая фаза сеанса использования началась тогда, когда четвертая фаза закончилась.
Находясь в пятой фазе, контроллер дает команду светоизлучающему индикатору 60 испускать сигнал, указывающий на то, что сеанс использования находится в пятой фазе. Примером такого сигнала является первый светоизлучающий блок 61, излучающий мигающий желтый свет, и второй светоизлучающий блок 62 не освещен, как показано на фиг. 16.
Этап 655: пятая фаза заканчивается по истечении 6 минут с начала сеанса использования или после того, как пользователь сделал 14 затяжек с начала сеанса использования, если эти 14 затяжек сделаны до того, как с начала сеанса использования прошло 6 минут.
Этап 660: в конце пятой фазы сеанс использования заканчивается. Нагреватель отключается, а аэрозоль больше не генерируется. Теперь пользователь может извлечь изделие, генерирующее аэрозоль, из устройства и, при необходимости, зарядить устройство.
В дополнительном конкретном варианте осуществления параметр взаимодействия пользователя представляет собой вычисленный объем аэрозоля, доставляемого пользователю во время сеанса использования. Следовательно, устройство, генерирующее аэрозоль, выполнено таким образом, что каждый сеанс использования имеет продолжительность 6 минут от инициирования сеанса использования, или от доставки заданного максимального объема аэрозоля, если этот заданный объем аэрозоля будет доставлен пользователю в пределах 6 минут от инициирования сеанса использования. Заданный максимальный объем аэрозоля может составлять, например, 660 мл аэрозоля.
Во время сеанса использования пользователь может пожелать иметь индикацию хода выполнения на протяжении сеанса использования. Например, пользователь может пожелать приблизительно знать, сколько потенциально пригодного для доставки аэрозоля у него осталось, или сколько приблизительно времени осталось в сеансе использования.
Контроллер выполнен с возможностью обнаружения затяжек, сделанных во время сеанса использования. Начальную точку затяжки и конечную точку затяжки для каждой обнаруженной затяжки определяют путем отслеживания питания, подаваемого на нагреватель во время сеанса использования. Когда пользователь делает затяжку, поток воздуха охлаждает нагреватель, и, следовательно, батарея подает большее количество энергии для поддержания температуры нагревателя при его рабочей температуре. Таким образом, путем отслеживания питания, подаваемого нагревателем, контроллер способен определить начальную точку и конечную точку затяжек, сделанных во время сеанса использования. Путем интегрирования отслеживаемого питания между обнаруженной начальной точкой затяжки и обнаруженной конечной точкой затяжки может быть получено вычисленное значение для доставляемого аэрозоля. Путем суммирования вычисленные значения аэрозоля, доставляемого во время сеанса использования, можно получить суммарное значение аэрозоля, доставляемого во время сеанса использования.
Для того, чтобы отслеживать ход выполнения, сеанс использования разделяют на количество последовательных фаз, начиная с первой фазы, начинающейся, когда сеанс использования начинается, и заканчивая заключительной фазой, когда сеанс использования заканчивается, переход от одной фазы к следующей фазе определяют временем и суммарным значением доставляемого аэрозоля. По мере хода выполнения сеанса использования через его последовательные фазы контроллер дает команду светоизлучающему индикатору и тактильному двигателю испускать сигналы, указывающие на каждую последующую фазу. Таким образом, пользователь приблизительно знает ход выполнения сеанса использования.
В конкретном примере сеанс использования может быть разбит на пять последовательных фаз для целей индикации. На фиг. 7 показаны этапы способа, связанные с индикацией, указывающей пользователю на ход выполнения сеанса использования.
Этап 700: пользователь вставляет изделие 30, генерирующее аэрозоль, в полость 25 устройства 10 и инициирует сеанс использования путем нажатия на кнопку 50 пользователя.
Этап 705: таймер инициируют для записи времени, прошедшего в течение сеанса использования, а контроллер инициируют для идентификации затяжек, сделанных во время сеанса использования, и вычисления объема аэрозоля, доставляемого во время каждой из затяжек.
Этап 710: считается, что первая фаза сеанса использования началась тогда, когда начался сеанс использования.
Находясь в первой фазе, контроллер дает команду светоизлучающему индикатору 60 испускать сигнал, указывающий на то, что сеанс использования находится в первой фазе. Примером такого сигнала является первый светоизлучающий блок 61 и второй светоизлучающий блок 62, оба излучающие непрерывный белый свет, как показано на фиг. 11.
Находясь в первой фазе, контроллер дает команду тактильному двигателю испускать тактильный сигнал, указывающий на то, что сеанс использования находится в первой фазе. Примером такого сигнала является тактильный двигатель, издающий 4 последовательных звуковых сигнала.
Этап 715: первая фаза заканчивается, а вторая фаза начинается по истечении 1,5 минуты с начала сеанса использования или после того, как с начала сеанса использования был доставлен первый заданный объем аэрозоля, если первый заданный объем аэрозоля доставлен до истечения 1,5 минуты с начала сеанса использования. Первый заданный объем аэрозоля может составлять, например, 150 мл.
Этап 720: считается, что вторая фаза сеанса использования началась тогда, когда первая фаза закончилась.
Находясь во второй фазе, контроллер дает команду светоизлучающему индикатору 60 испускать сигнал, указывающий на то, что сеанс использования находится во второй фазе. Примером такого сигнала является первый светоизлучающий блок 61, излучающий непрерывный белый свет, и второй светоизлучающий блок 62, излучающий мигающий белый свет, как показано на фиг. 12.
Находясь во второй фазе, контроллер дает команду тактильному двигателю испускать тактильный сигнал, указывающий на то, что сеанс использования находится во второй фазе. Примером такого сигнала является тактильный двигатель, издающий 3 последовательных звуковых сигнала.
Этап 725: вторая фаза заканчивается, а третья фаза начинается по истечении 3 минут с начала сеанса использования или после того, как с начала сеанса использования был доставлен второй заданный объем аэрозоля, если второй заданный объем аэрозоля доставлен до истечения 3 минут с начала сеанса использования. Первый заданный объем аэрозоля может составлять, например, 300 мл.
Этап 730: считается, что третья фаза сеанса использования началась тогда, когда вторая фаза закончилась.
Находясь в третьей фазе, контроллер дает команду светоизлучающему индикатору 60 испускать сигнал, указывающий на то, что сеанс использования находится в третьей фазе. Примером такого сигнала является первый светоизлучающий блок 61, излучающий непрерывный белый свет, и второй светоизлучающий блок 62 не освещен, как показано на фиг. 13.
Находясь в третьей фазе, контроллер дает команду тактильному двигателю испускать тактильный сигнал, указывающий на то, что сеанс использования находится в третьей фазе. Примером такого сигнала является тактильный двигатель, издающий 2 последовательных звуковых сигнала.
Этап 735: третья фаза заканчивается, а четвертая фаза начинается по истечении 4,5 минуты с начала сеанса использования или после того, как с начала сеанса использования был доставлен третий заданный объем аэрозоля, если третий заданный объем аэрозоля доставлен до истечения 4,5 минуты с начала сеанса использования. Третий заданный объем аэрозоля может составлять, например, 450 мл.
Этап 740: считается, что четвертая фаза сеанса использования началась тогда, когда третья фаза закончилась.
Находясь в четвертой фазе, контроллер дает команду светоизлучающему индикатору 60 испускать сигнал, указывающий на то, что сеанс использования находится в четвертой фазе. Примером такого сигнала является первый светоизлучающий блок 61, излучающий мигающий белый свет, и второй светоизлучающий блок 62 не освещен, как показано на фиг. 14.
Находясь в четвертой фазе, контроллер дает команду тактильному двигателю испускать тактильный сигнал, указывающий на то, что сеанс использования находится в четвертой фазе. Примером такого сигнала является тактильный двигатель, издающий один звуковой сигнал.
Этап 745: четвертая фаза заканчивается, а пятая фаза начинается по истечении 5,5 минуты с начала сеанса использования или после того, как с начала сеанса использования был доставлен четвертый заданный объем аэрозоля, если четвертый заданный объем аэрозоля доставлен до истечения 5,5 минуты с начала сеанса использования. Четвертый заданный объем аэрозоля может составлять, например, 600 мл.
Этап 750: считается, что пятая фаза сеанса использования началась тогда, когда четвертая фаза закончилась.
Находясь в пятой фазе, контроллер дает команду светоизлучающему индикатору 60 испускать сигнал, указывающий на то, что сеанс использования находится в пятой фазе. Примером такого сигнала является первый светоизлучающий блок 61, излучающий мигающий желтый свет, и второй светоизлучающий блок 62 не освещен, как показано на фиг. 15.
Этап 755: пятая фаза заканчивается по истечении 6 минут с начала сеанса использования или после того, как с начала сеанса использования был доставлен пятый заданный объем аэрозоля, если пятый заданный объем аэрозоля доставлен до истечения 6 минут с начала сеанса использования. Пятый заданный объем аэрозоля может составлять, например, 660 мл.
Этап 760: в конце пятой фазы сеанс использования заканчивается. Нагреватель отключается, а аэрозоль больше не генерируется. Теперь пользователь может извлечь изделие, генерирующее аэрозоль, из устройства и, при необходимости, зарядить устройство.
Индикация разных фаз может быть обеспечена непрерывно. Например, индикация от светоизлучающего индикатора может оставаться постоянно включенной во время сеанса использования. В качестве альтернативы индикация разных фаз может быть обеспечена только с перерывами, например, при переходе от одной фазы к другой. В качестве дополнительной альтернативы индикация разных фаз может быть обеспечена в ответ на запрос состояния от пользователя во время сеанса использования.
На фиг. 8 представлена блок-схема, иллюстрирующая этапы способа, связанные с обеспечением пользователю индикации хода выполнения сеанса использования в ответ на запрос состояния.
Этап 800: когда устройство, генерирующее аэрозоль, задействовано в сеансе использования, пользователь двигает устройство заданным жестом.
Этап 810: движение устройства, связанное с заданным жестом, обнаруживается акселерометром, который посылает сигнал на контроллер. Заданный жест может заключаться, например, в двойном резком нажатии на устройство.
Этап 820: сигнал, подаваемый акселерометром, анализируется, чтобы определить, является ли обнаруженный жест жестом, указывающим на запрос хода выполнения сеанса использования.
Этап 830: если обнаруженный сигнал определен как запрос хода выполнения сеанса использования, то контроллер определяет текущую фазу сеанса использования.
Этап 840: контроллер посылает сигнал на светоизлучающий блок для выдачи индикации хода выполнения сеанса использования.
Этап 850: контроллер посылает сигнал на тактильный двигатель для выдачи индикации хода выполнения сеанса использования.
Устройство может быть выполнено таким образом, что сигналы как визуальной, так и тактильной индикации автоматически испускаются в качестве индикации хода выполнения. В качестве альтернативы устройство может быть выполнено таким образом, что сигналы визуальной индикации предоставляются непрерывно во время сеанса использования, в то время как тактильные сигналы предоставляются только в ответ на запрос от пользователя. Например, тактильные сигналы, указывающие на ход использования, могут испускаться только после того, как пользователь инициировал запрос состояния, двигая устройство заданным жестом. В качестве дополнительной альтернативы устройство может быть выполнено таким образом, что сигналы, относящиеся к ходу выполнения сеанса использования, не испускаются непрерывно во время использования, а испускаются только в ответ на запрос от пользователя. Например, визуальные сигналы и/или тактильные сигналы, указывающие на ход использования, могут испускаться только после того, как пользователь инициировал запрос состояния, двигая устройство заданным жестом.
Изобретение относится к устройству, генерирующему аэрозоль. Устройство, генерирующее аэрозоль, выполнено с возможностью генерирования аэрозоля во время сеанса использования, проходящего через множество последовательных фаз между началом сеанса использования и прекращением сеанса использования. Устройство, генерирующее аэрозоль, содержит: таймер, блок выходного тактильного сигнала, контроллер и акселерометр, в котором ход выполнения сеанса использования через множество последовательных фаз управляется контроллером в ответ на сигналы синхронизации от таймера и в ответ на сигналы, представляющие отслеживаемый параметр взаимодействия пользователя. Акселерометр выполнен с возможностью обнаружения движения устройства, генерирующего аэрозоль, связанного с заданным жестом, и отправки сигнала на контроллер, в котором сигнал, подаваемый акселерометром, анализируется для определения того, является ли обнаруженный жест жестом, указывающим на запрос хода выполнения сеанса использования, и, если обнаруженный сигнал определяется как запрос хода выполнения сеанса использования, контроллер выполнен с возможностью определения текущей фазы сеанса использования и отправки сигнала на блок выходного тактильного сигнала для выдачи индикации хода выполнения сеанса использования. Контроллер выполнен с возможностью управления блоком выходного тактильного сигнала для испускания разного выходного тактильного сигнала во время каждой из множества последовательных фаз, чтобы указать ход выполнения сеанса использования. Устройство, генерирующее аэрозоль, обеспечивает тактильную обратную связь, указывающую на ход выполнения сеанса использования, и обеспечивает возможность пользователю отслеживать ход выполнения сеанса использования при продолжении других действий, таких как общение с другими. 14 з.п. ф-лы, 16 ил.
1. Устройство, генерирующее аэрозоль, для генерирования аэрозоля из субстрата, генерирующего аэрозоль, причем устройство, генерирующее аэрозоль, выполнено с возможностью генерирования аэрозоля во время сеанса использования, проходящего через множество последовательных фаз между началом сеанса использования и прекращением сеанса использования, причем устройство, генерирующее аэрозоль, содержит: таймер, блок выходного тактильного сигнала, контроллер и акселерометр, в котором ход выполнения сеанса использования через множество последовательных фаз управляется контроллером в ответ на сигналы синхронизации от таймера и в ответ на сигналы, представляющие отслеживаемый параметр взаимодействия пользователя, в котором акселерометр выполнен с возможностью обнаружения движения устройства, генерирующего аэрозоль, связанного с заданным жестом, и отправки сигнала на контроллер, в котором сигнал, подаваемый акселерометром, анализируется для определения того, является ли обнаруженный жест жестом, указывающим на запрос хода выполнения сеанса использования, и, если обнаруженный сигнал определяется как запрос хода выполнения сеанса использования, контроллер выполнен с возможностью определения текущей фазы сеанса использования и отправки сигнала на блок выходного тактильного сигнала для выдачи индикации хода выполнения сеанса использования, и в котором контроллер выполнен с возможностью управления блоком выходного тактильного сигнала для испускания разного выходного тактильного сигнала во время каждой из множества последовательных фаз, чтобы указать ход выполнения сеанса использования.
2. Устройство, генерирующее аэрозоль, по п. 1, отличающееся тем, что блок выходного тактильного сигнала выполнен с возможностью испускания выходного тактильного сигнала, представляющего текущую фазу сеанса использования, в ответ на пользовательский ввод.
3. Устройство, генерирующее аэрозоль, по п. 1 или 2, отличающееся тем, что в нем блок выходного тактильного сигнала выполнен с возможностью испускания выходного тактильного сигнала, представляющего текущую фазу сеанса использования, в ответ на переход от одной из множества последовательных фаз к последующей из множества последовательных фаз.
4. Устройство, генерирующее аэрозоль, по любому из предыдущих пунктов, отличающееся тем, что в нем множество последовательных фаз представляет собой по меньшей мере четыре последовательные фазы или по меньшей мере пять последовательных фаз.
5. Устройство, генерирующее аэрозоль, по любому из предыдущих пунктов, отличающееся тем, что устройство, генерирующее аэрозоль, сконфигурировано таким образом, что сеанс использования имеет максимальную продолжительность, определяемую таймером.
6. Устройство, генерирующее аэрозоль, по любому из предыдущих пунктов, отличающееся тем, что в нем параметр взаимодействия пользователя указывает на использование устройства, генерирующего аэрозоль, во время сеанса использования.
7. Устройство, генерирующее аэрозоль, по п. 6, отличающееся тем, что в нем сеанс использования реализован с возможностью прекращения, если параметр взаимодействия пользователя достигает заданного порога.
8. Устройство, генерирующее аэрозоль, по п. 6 или 7, отличающееся тем, что в нем параметр взаимодействия пользователя указывает на затяжки пользователя, сделанные во время сеанса использования.
9. Устройство, генерирующее аэрозоль, по любому из предыдущих пунктов, отличающееся тем, что в нем любая или каждая из множества последовательных фаз имеет продолжительность фазы, определяемую началом фазы и концом фазы.
10. Устройство, генерирующее аэрозоль, по п. 9, отличающееся тем, что в нем любая или каждая из множества последовательных фаз имеет максимальную продолжительность фазы, определяемую таймером.
11. Устройство, генерирующее аэрозоль, по любому из предыдущих пунктов, отличающееся тем, что устройство, генерирующее аэрозоль, сконфигурировано таким образом, что сеанс использования имеет максимальную продолжительность сеанса использования, определяемую таймером, и при этом устройство, генерирующее аэрозоль, выполнено с возможностью записи по меньшей мере одного параметра взаимодействия пользователя во время сеанса использования, причем продолжительность фазы любой или каждой из множества последовательных фаз имеет меньшую продолжительность, чем максимальная продолжительность фазы, если значение параметра взаимодействия пользователя достигает заданного порога.
12. Устройство, генерирующее аэрозоль, по п. 11, отличающееся тем, что в нем во время первой фазы блок выходного тактильного сигнала испускает выходной сигнал, содержащий первое количество вибраций.
13. Устройство, генерирующее аэрозоль, по п. 12, отличающееся тем, что в нем во время второй фазы блок выходного тактильного сигнала испускает выходной сигнал, содержащий второе количество вибраций, причем выходной тактильный сигнал, испускаемый во время второй фазы, отличается от выходного тактильного сигнала, испускаемого во время первой фазы.
14. Устройство, генерирующее аэрозоль, по п. 13, отличающееся тем, что в нем во время третьей фазы блок выходного тактильного сигнала испускает выходной сигнал, содержащий третье количество вибраций, причем выходной тактильный сигнал, испускаемый во время третьей фазы, отличается от выходного тактильного сигнала, испускаемого во время как первой фазы, так и второй фазы.
15. Устройство, генерирующее аэрозоль, по п. 14, отличающееся тем, что в нем во время четвертой фазы блок выходного тактильного сигнала испускает выходной сигнал, содержащий четвертое количество вибраций, причем выходной тактильный сигнал, испускаемый во время четвертой фазы, отличается от выходного тактильного сигнала, испускаемого во время любой из первой фазы, второй фазы и третьей фазы.
| EP 3610747 A2, 19.02.2020 | |||
| CN 210130353 U, 10.03.2020 | |||
| Токарный резец | 1924 |
|
SU2016A1 |
| Токарный резец | 1924 |
|
SU2016A1 |
| УПРАВЛЯЮЩЕЕ НАГРЕВАНИЕМ УСТРОЙСТВО ДЛЯ ЭЛЕКТРОННОГО КУРИТЕЛЬНОГО ИЗДЕЛИЯ И ОТНОСЯЩИЕСЯ К НЕМУ СИСТЕМА И СПОСОБ | 2014 |
|
RU2647805C2 |
Авторы
Даты
2025-04-21—Публикация
2021-06-30—Подача