ОБЛАСТЬ ТЕХНИКИ, К КОТОРОЙ ОТНОСИТСЯ ИЗОБРЕТЕНИЕ
Настоящее изобретение относится, в общем, к беспроводной связи и, более конкретно, к устройствам и способам конфигурирования и осуществления передачи опорных сигналов зондирования (SRS) со скачкообразной перестройкой частоты (FH) в системе беспроводной связи.
ПРЕДШЕСТВУЮЩИЙ УРОВЕНЬ ТЕХНИКИ
На современном этапе имеет место все более и более активное развертывание сетей беспроводной связи 5-го поколения (5G) стандарта New Radio (NR), преимущества и возможности которых широко известны.
На базовых станциях (BS) в системе 5G NR используются массивные антенные решетки (Massive MIMO (mMIMO)), содержащие множественные приемопередающие антенные элементы (АЕ), которые позволяют эффективно реализовать технологию MIMO ("многоканальный вход - многоканальный выход"), когда для передачи данных (например, физического нисходящего совместно используемого канала (PDSCH)) на одно или несколько пользовательских оборудований (UE) передаются несколько пространственных MIMO-слоев. С помощью технологии пространственного мультиплексирования (SM) обеспечивается возможность использования одних и тех же частотно-временных ресурсов для нисходящей (DL) передачи MIMO-слоев на пользовательские оборудования, а с помощью технологии адаптивного формирования диаграммы направленности (BF) обеспечивается динамическое фокусирование мощности передаваемого сигнала в одном или более заданных направлениях; за счет применения модуляции с ортогональным частотным разделением и мультиплексированием (OFDM) обеспечивается эффективная широкополосная передача сигнала в канале с многолучевым распространением. Аналогичным образом, один или более MIMO-слоев (например, физического восходящего совместно используемого канала (PUSCH)) передаются от каждого из пользовательских оборудований на приемник базовой станции.
В 5G NR предусмотрено использование опорных сигналов зондирования (SRS). В общем, SRS передаются пользовательским оборудованием(ями) на базовую станцию (к примеру, по запросу SRS, принятому от базовой станции), и базовая станция осуществляет измерения принимаемых SRS. На основе этих измерений базовая станция выполняет вычисления - в частности, вычисляется матрица прекодинга для восходящего (UL) канала в целях формирования диаграммы направленности для планируемой UL передачи от пользовательского оборудования; соответственно, базовая станция заблаговременно сообщает на пользовательское оборудование предпочтительный вариант UL прекодинга для запланированной передачи, а также для адаптации схемы модуляции и кодирования (MCS).
В силу взаимности канала в нисходящей и восходящей линии связи для дуплексного режима с временным разделением каналов (TDD) 5G NR, базовая станция также может выполнять, на основе измерений принимаемых SRS, вычисления для DL прекодинга в целях формирования диаграммы направленности для планируемой DL передачи с базовой станции на пользовательское оборудование.
Соответственно, на стороне базовой станции необходимо высокое качество приема SRS для обеспечения точной оценки канала, в частности, в UL.
Стоит отметить, что мощность, доступная на стороне пользовательского оборудования для UL передачи, как правило, ограничена, что приводит к существенному снижению производительности UL канала связи для пользовательских оборудований, находящихся вблизи границы соты, обслуживаемой базовой станцией. Для обеспечения требуемого покрытия в соте в UL, в 5G NR используется узкополосная (NB) UL передача, которая увеличивает спектральную плотность мощности передаваемого сигнала. Однако, из-за частотной селективности канала простая передача узкополосного SRS сигнала, для обеспечения зондирования, в общем, широкой полосы частот канала не является достаточной. Соответственно, для зондирования всей полосы с помощью узкополосных UL передач SRS, в 5G NR при их осуществлении используется процедура скачкообразной перестройки частоты (FH). Данная процедура, в общем, конфигурируется на базовой станции, и конфигурация FH сообщается базовой станцией на каждое из соответствующих пользовательских оборудований.
Реализация передачи SRS с FH обобщенно проиллюстрирована на Фиг. 1.
Показанная на Фиг. 1 полоса частот разделена на ряд более узких неперекрывающихся SRS подканалов (четыре серых прямоугольника на данной иллюстрации), и по некоему заданному правилу, единому для пользовательского оборудования и для базовой станции, осуществляется скачкообразная перестройка частоты в зависимости от времени, так что в каждом единичном интервале времени выполняется передача SRS в одном соответствующем SRS подканале (SRS sub-band). При этом, как следует из Фиг. 1, за четыре единичных интервала времени за счет FH будут выполнены узкополосные передачи SRS во всех SRS подканалах; соответственно, на базовой станции будут приняты SRS, которыми обеспечивается зондирование фактически всей полосы частот, которая, в общем, является широкополосной (WB). Положение каждого зондируемого SRS подканала в частотной области в зависимости от времени в соответствии с упомянутым заданным правилом может упоминаться по тексту настоящей заявки как 'перескок по частоте' (hop), без ограничения общности. Иными словами, SRS подканал представляет собой участок полосы частот, который зондируется посредством SRS за один перескок по частоте.
Таким образом, каждая единовременная передача SRS становится узкополосной и, соответственно, обеспечивается возможность использовать мощность передачи на один узкополосный SRS подканал. Как следствие, при приеме такой передачи SRS на базовой станции, на приемном устройстве базовой станции увеличиваются спектральная плотность принимаемой мощности и отношение сигнал-шум (SNR), чем, в общем, обеспечивается повышение качества оценки канала, в том числе - для пользовательских оборудований, находящихся вблизи границы соты, обслуживаемой базовой станцией. Иными словами, улучшается покрытие.
Проиллюстрированная на Фиг. 1 полоса частот может соответствовать как всему частотному ресурсу, доступному в системе для UL передачи (для краткости - всей полосе частот системы), так и части полосы частот системы. Далее по тексту и на чертежах в настоящей заявке полоса частот системы или ее часть могут обобщенно обозначаться как полоса зондирования. Именно такое обозначение используется на Фиг. 1. Единичным интервалом времени может быть один OFDM-символ.
Согласно 5G NR, полоса частот системы разбита на физические ресурсные блоки (PRB), где каждый PRB в типичном случае образован двенадцатью поднесущими. Максимальная полоса частот системы, поддерживаемая в 5G NR, составляет 273 PRB. Каждый SRS подканал по Фиг. 1 представляет собой соответствующую группу PRB, при этом, в соответствии с 5G NR, число PRB в любой такой группе PRB кратно 4.
Аспекты непосредственной реализации FH для передачи SRS, в том числе конфигурирования пользовательского оборудования базовой станцией для осуществления такой UL передачи, подробно раскрыты в спецификации 5G NR TS 38.211, V18.1.0, которая включена в описание изобретения настоящей заявки во всей полноте посредством ссылки. В соответствии с этой спецификацией, в 5G NR для SRS реализуется многоступенчатая иерархическая FH, и математическое описание данной реализации является весьма сложным и не приводится здесь в полной мере дабы не загромождать описание изобретения в настоящей заявке. В частности, согласно TS 38.211, V18.1.0, математическое выражение для SRS сигнала имеет следующий вид:
где 
Выражения для каждого из членов уравнения (1), а также раскрытие их смыслового содержания приведены в TS 38.211, V18.1.0. В контексте настоящей заявки существенной является индексная часть
определяющая положение SRS сигнала в частотной области.
В качестве пояснения, согласно 5G NR, SRS имеет гребенчатую структуру, т.е. для передачи SRS соответственно задано использование либо каждой второй поднесущей, либо каждой четвертой поднесущей, либо каждой восьмой поднесущей. Параметр KTC={2,4,8} позволяет, по сути, контролировать размер гребенки.
Параметр
показывает частотный сдвиг гребенки в зависимости от SRS порта (
- индекс SRS порта). Согласно TS 38.211, V18.1.0:
где
- соответствующие частотные сдвиги, смысловое содержание и выражения которых отражены в TS 38.211, V18.1.0.
Так,
обозначает связанный с FH сдвиг SRS сигнала в частотной области в зависимости от OFDM-символа, и его математическое выражение имеет следующий вид:
где BSRS - количество поддерживаемых уровней FH;
- число поднесущих на один PRB; mSRS,b - ширина SRS подканала или, иными словами, размер группы PRB, зондируемой посредством SRS (см. Фиг. 1), для b-го уровня FH; Nb - число перескоков по частоте (или, иными словами, число SRS подканалов) на b-ом уровне FH; Fb(nSRS) - функция скачкообразной перестройки частоты, nSRS - индекс OFDM-символа, на котором осуществляется передача SRS; nRRC фиксированный сдвиг в частотной области; параметр bhop будет пояснен ниже. Смысловое содержание членов, входящих в уравнения (3)-(5), более подробно пояснено в TS 38.211, v18.1.0.
Fb(nSRS) определяет правило, по которому осуществляется иерархическая, многоуровневая FH для SRS, и каждый b-ый (
) уровень FH, по сути, определяется двумя параметрами: числом mSRS,b PRB и числом Nb перескоков, используемыми на b-ом уровне.
В TS 38.211, V18.1.0, предусмотрена таблица, которая является изначально доступной на базовой станции и на пользовательских оборудованиях. Каждая строка этой таблицы определяет конкретную конфигурацию FH, которая может быть выбрана на базовой станции и сообщена на пользовательское оборудование для реализации им FH при передаче SRS. Часть таблицы конфигураций FH показана Таблицей 1.
В Таблице 1 CSRS - индекс конфигурации FH. Для каждой строки таблицы, в столбцах BSRS=1, BSRS=2, BSRS=3 определены подконфигурации соответствующей конфигурации FH, причем каждая из подконфигураций FH определяет соответствующий уровень FH, то есть подконфигурация BSRS=1 соответствует первому уровню FH, подконфигурация BSRS=2 соответствует второму уровню FH, подконфигурация BSRS=3 соответствует третьему уровню FH. Таким образом, согласно Таблице 1, в 5G NR поддерживаются до трех уровней FH. BSRS=0, по существу, соответствует подконфигурации SRS без FH.
Каждая подконфигурация FH представлена двумя столбцами, где, как отмечалось ранее, mSRS,i где i=1,2,3, представляет число PRB, составляющих SRS подканал на 1-ом уровне, а Ni - число перескоков по частоте на 1-ом уровне. mSRS,0 показывает общую ширину полосы зондирования, подлежащей зондированию посредством SRS для соответствующей конфигурации FH; N0=1 по умолчанию.
Так, в Таблице 1 для иллюстрации выделена конфигурация FH с индексом CSRS=4, и для данной конфигурации на первом уровне FH (BSRS=1) используются mSRS,1=8 PRB для SRS подканала и N1=2 перескока по частоте, а на втором уровне FH (BSRS=2) используются mSRS,2=4 PRB и N2=2 перескока; N3=1 означает, что третий уровень FH (BSRS=3) не используется для данной конфигурации FH.
Таким образом, для рассматриваемой конфигурации CSRS=4 ширина полосы зондирования для SRS равна 16 PRB и задействуются максимум два уровня FH, которые выделены в Таблице 1 жирной рамкой.
Двухуровневая реализация FH для конфигурации CSRS=4 из Таблицы 1 проиллюстрирована на Фиг. 2.
В левой части Фиг. 2 проиллюстрирован первый уровень FH. Как видно из данной иллюстрации, перестройка частоты при передаче SRS должна осуществляться в каждом OFDM-символе, и при ширине участка подполосы частот в mSRS,1=8 PRB, зондируемого посредством SRS за один перескок по частоте, за N1=2 перескока (и, соответственно, за два OFDM-символа) будет обеспечено SRS зондирование полосы частот шириной 16 PRB. Такая реализация FH SRS на первом уровне FH считается имеющей гранулярность FH, равную 1.
В средней и левой частях Фиг. 2 проиллюстрирован второй уровень FH для рассматриваемой конфигурации FH. Как видно из данной иллюстрации, FH второго уровня, по сути, осуществляется внутри подконфигурации первого уровня FH. При этом, в течение каждого из двух показанных периодов подконфигурации первого уровня FH, равного двум OFDM-символам, положение SRS подканала второго уровня шириной mSRS,2=4 PRB (серые прямоугольники в правой части Фиг. 2) внутри SRS подканала первого уровня шириной 8 PRB не изменяется, в то же время, положение SRS подканала второго уровня внутри SRS подканала первого уровня во втором периоде отличается от такового в первом периоде. Таким образом, на втором уровне FH рассматриваемой конфигурации перестройка SRS по частоте будет иметь место раз в два OFDM-символа (см. среднюю часть Фиг. 2), или, иными словами, каждому одному из N2=2 перескоков по частоте будут соответствовать два OFDM-символа. В результате, подконфигурацией второго уровня FH за четыре OFDM-символа указанным образом будет обеспечено SRS зондирование полосы частот шириной 16 PRB. При этом, очевидно, что передача SRS с FH второго уровня является более узкополосной и, соответственно, обеспечивает лучшее покрытие в UL, чем передача SRS с FH первого уровня.
В отношении упомянутой таблицы конфигураций FH согласно TS 38.211, V18.1.0, необходимо, в общем, отметить, что использованием функции
(см. уравнение (5)) обеспечивается то, что более низкий уровень FH является более быстро меняющимся во времени и перестраивает передачу SRS на большие частотные диапазоны; более высокие уровни FH являются медленнее меняющимися во времени. При этом каждый последующий уровень FH является, по сути, вложенным по отношению к предшествующему ему уровню FH. Данный аспект напрямую вытекает из иллюстрации по Фиг. 2 для конфигурации CSRS=4.
Более полно 5G NR таблица конфигураций FH, частично показанная Таблицей 1, иллюстрируется Таблицей 2 ниже.
В Таблице 2 CSRS=0, по сути, означает, что FH для данной конфигурации не используется; Ni=1, i=1,2,3, для некоторой конфигурации FH (т.е. для соответствующей строки таблицы) означает, что i-ый уровень FH не используется для данной конфигурации; в этом случае mSRS,i задается равным четырем по умолчанию. Так, для конфигурации CSRS=3 суммарной полосой зондирования равной 16 PRB (выделена рамкой в Таблице 2), N2=N3=1, то есть задействуется только первый уровень FH (BSRS=1), где используется SRS подканал шириной mSRS,1=4 PRB и N1=4 перескока SRS по частоте. Согласно еще одному примеру, для конфигурации CSRS=19 с суммарной полосой зондирования равной 72 PRB (также выделена рамкой в Таблице 2), вложенным образом задействуются все три уровня FH, где самый верхний уровень (BSRS=3) будет самым медленно меняющимся во времени. Наконец, как видно из Таблицы 2, максимальная поддерживаемая в 5G NR ширина полосы частот, которая может быть прозондирована посредством SRS, составляет 272 PRB (конфигурации FH CSRS=61, 62, 63, где конфигурация CSRS=63 соответствует последней строке таблицы). Соответственно, обеспечить поддержку более широких полос зондирования на основе таблицы конфигураций FH, используемой в 5G NR, не представляется возможным.
Как отмечалось ранее, конфигурация FH выбирается на базовой станции из таблицы, рассмотренной выше (к примеру, в зависимости от используемой полосы канала, числа выделенных OFDM-символов внутри слота для передачи SRS и целевого значения спектральной плотности мощности принимаемого сигнала), и сигнализируется на пользовательское оборудование для уведомления пользовательского оборудования о том, что последующая передача SRS должна быть выполнена пользовательским оборудованием с FH согласно сигнализируемой конфигурации. Данное уведомление реализуется в 5G NR путем передачи с базовой станции на пользовательское оборудование, посредством сигнализации уровня управления ресурсами (RRC), сообщения конфигурации, включающего в себя следующую структуру, называемую SRS ресурсом:
В SRS ресурсе, передаваемом в RRC сообщении конфигурации, имеется структура freqHopping, которой непосредственно конфигурируется последующее выполнение FH для передачи SRS на стороне пользовательского оборудования. Структура freqHopping включает в себя три целочисленных параметра, где:
• Параметром c-SRS задается строка в таблице конфигураций FH (см. Таблицу 2), иными словами, c-SRS соответствует индексу CSRS конфигурации FH.
• Параметром b-SRS, по сути, обеспечивается контроль минимального используемого уровня FH (т.е. ограничение сверху): если b-SRS в freqHopping равен 1, то это означает, что для сигнализируемой конфигураций FH может использоваться только первый уровень FH (BSRS=1); если b-SRS в freqHopping равен 2, то могут использоваться первый и/или второй уровни FH (BSRS=1, BSRS=2). если же b-SRS в freqHopping равен 3, то могут использоваться первый уровень FH (BSRS=1), а также вложенные второй и/или третий уровни FH (BSRS=2, BSRS=3).
• Параметром b-hop, по сути, обеспечивается ограничение по числу уровней FH снизу. Так, если в SRS ресурсе сигнализируется конфигурация FH CSRS=19, т.е. c-SRS=19, и b-SRS задан равным 3, т.е. этим параметром разрешается использовать все три уровня FH (BSRS=1, BSRS=2, BSRS=3), а параметр b-hop в freqHopping задан равным 1, то один уровень снизу (BSRS=1) исключается из использования, и для передачи SRS в итоге могут быть использованы только второй и третий уровень FH (BSRS=2, BSRS=3). Необходимо подчеркнуть, что параметр b-hop из SRS ресурса используется (как bhop) в уравнениях (4), (5).
Параметров, содержащихся в freqHopping из состава SRS ресурса, а также соответственно в строке таблицы конфигураций FH, указываемой параметром c-SRS, достаточно для выполнения, на стороне пользовательского оборудования, FH при передаче SRS на основе уравнений (3)-(5) согласно указанной конфигурации FH.
Хотя развертывание систем 5G NR в мире только начинает набирать обороты, уже сейчас ведутся активные исследования в различных направлениях по стандартизации систем беспроводной связи следующего поколения, т.н. 6G, которые буду обладать характеристиками, превосходящими 5G NR.
В частности, для рабочего диапазона 6G 7-13 ГГц (UPPER MID BAND) на базовых станциях планируется поддержка сверхбольших антенных решеток (например, состоящих из 3072 антенных элементов) с гибридным аналоговым и цифровым формированием диаграммы направленности с большим количеством антенных портов (≤256). Таким образом, с поддержкой, в частности, до 64 одновременно передаваемых пространственных MIMO-слоев в системах связи UPPER MID BAND диапазона концепция радиоинтерфейса со сверхбольшой антенной решеткой (xMIMO) будет выведена на принципиально новый уровень. При этом, в 6G планируется поддержка набора опорных сигналов, аналогичного используемому в 5G NR, таких как DMRS, CSI-RS, SRS, PT-RS, PSS/SSS.
В то же время, подходы, применяемые в 5G NR, далеко не всегда могут быть непосредственно расширены на системы беспроводной связи следующего поколения.
В частности, передачи в системе связи 6G будут более широкополосными и ширина полосы частот системы будет составлять 544 PRB. В то же время, как отмечалось ранее, основывающийся на таблице подход 5G NR на текущий момент может обеспечить SRS зондирование ширины полосы системы максимум 272 PRB. Ниже приводится анализ для случая прямого расширения данного подхода на 6G, т.е., по сути, для случая соответственного добавления новых строк в таблицу конфигураций FH.
Так, полосы зондирования, поддерживаемые в 5G NR согласно таблице конфигураций FH для SRS (см. Таблицу 2), проиллюстрированы на Фиг. 3 в виде вершин графа (белые кружки на данной фигуре), в кружках соответственно приведены значения полосы зондирования, или, иными словами,
j=0,1,…,63, из данной таблицы. Неявный принцип построения такого графа заключается в том, что каждая новая полоса зондирования должна быть кратна одной или более предыдущим, и опции кратности условно соответствуют ребрам графа. К примеру, опциями кратности для полосы зондирования шириной 272 PRB являются 136, 68, 16, и, соответственно, к данной вершине графа подходят три ребра. В продолжение данного примера, в Таблице 2 указанные опции соответствуют трем строкам CSRS=61, 62, 63 для полосы зондирования равной 272 PRB. Учитывая, что каждая из этих строк характеризуется наличием более одного уровня FH, возможна целая совокупность вариантов конфигурирования SRS зондирования для полосы зондирования равной 272 PRB в соответствии с данной таблицей.
Серыми кружками на Фиг. 3 условно показаны значения полос зондирования, поддержка которых планируется в 6G, а также для этих новых значений ребрами графа показаны возможные опции кратности. Как наглядно видно из Фиг. 3, для полосы зондирования равной 480 PRB количество опций кратности, представляемых ребрами графа от существующих полос зондирования, является очень большим, следовательно, только для данного значения полосы зондирования в таблицу будет добавлено большое количество строк. Соответственно, совокупность вариантов конфигурирования SRS зондирования для полосы зондирования равной 480 PRB согласно расширенной таблице становится тоже очень большим (заметно больше такового для 272 PRB), чем в значительной степени повышается сложность такого конфигурирования.
Затем, в 5G NR таблице конфигураций FH имеются строки, которые, по существу, избыточны. Этот аспект проиллюстрирован Таблицей 3, которая является частью Таблицы 2, где серым цветом выделены избыточные строки, а также справа добавлен столбец, соответственно показывающий для каждой из избыточных строк, на основе какой другой строки таблицы она может быть представлена.
В частности, как показано прямоугольными рамками в Таблице 3, конфигурация FH CSRS=4 в точности повторяет конфигурацию CSRS=9 с отключенным первым уровнем FH (посредством b-hop=1). Данным аспектом делается вклад в вышеупомянутую вариативность конфигурирования SRS зондирования одних и тех же значений полос частот.
Наконец, из Таблицы 2 видно, что более узкие полосы зондирования (верхняя часть таблицы) могут быть прозондированы с задействованием одного-двух уровней FH, тогда как по мере увеличения полосы зондирования (перемещение в нижнюю часть таблицы) для SRS зондирования зачастую задействуются все три уровня FH с увеличением числа перескоков по частоте на каждом уровне.
Соответственно, описанный подход 5G NR к SRS зондированию, основывающийся на таблице конфигураций FH (см. Таблицу 2), может оказаться неэффективным для систем беспроводной связи 6G, работающих в диапазоне UPPER MID BAND, где требования по обеспечению требующейся спектральной плотности мощности UL передачи и, следовательно, более узкополосной передачи SRS являются более высокими, поскольку непосредственное расширение такого подхода на 6G может привести, по меньшей мере, к неприемлемому увеличению вычислительной сложности.
СУЩНОСТЬ ИЗОБРЕТЕНИЯ
Основной задачей настоящего изобретения является создание способа конфигурирования и осуществления передачи SRS с FH, который позволил бы обеспечить достижение заданных требований по поддерживаемой ширине полосы частот системы и покрытию и избежать при этом недостатков предшествующего уровня техники, обсужденных выше.
В контексте решения этой технической задачи, согласно первому аспекту настоящего изобретения предложен способ конфигурирования передачи опорных сигналов зондирования (SRS) со скачкообразной перестройкой частоты (FH) в системе беспроводной связи.
Предложенный способ содержит этап, на котором: с базовой станции системы беспроводной связи передают на пользовательское оборудование по меньшей мере одну конфигурацию FH для передачи SRS. Данная передача осуществляется предпочтительно посредством RRC сигнализации. Каждая конфигурация FH из этой по меньшей мере одной конфигурации FH содержит параметры конфигурации, включающие в себя: количество перескоков по частоте на каждом уровне FH из заранее заданного числа уровней FH и, для самого верхнего уровня FH из заранее заданного числа уровней FH, ширину SRS подканала, причем SRS подканал представляет собой участок полосы частот, зондируемый посредством SRS за один перескок по частоте. Ширина SRS подканала предпочтительно определяется числом PRB.
Затем, предложенный способ содержит этап, на котором: на пользовательском оборудовании, для каждой конфигурации FH из по меньшей мере одной конфигурации FH, переданной с базовой станции, вычисляют ширину SRS подканала для каждого из остальных уровней FH, причем вычисление ширины SRS подканала для остальных уровней FH осуществляется на основе параметров конфигурации данной конфигурации FH.
Согласно предпочтительному варианту осуществления, упомянутое вычисление ширины SRS подканала для остальных уровней FH осуществляется следующим образом:
где N - упомянутое заранее заданное число уровней FH; mSRS,i - число PRB, составляющих SRS подканал на i-ом уровне FH,
- количество перескоков по частоте на i-ом уровне FH, 0<i<N, i=N индекс самого верхнего уровня FH; mSRS,0 - число PRB, составляющих ширину полосы частот, SRS зондирование которой обеспечивается упомянутой конфигурацией FH. Максимальное значение mSRS,0 может составлять 544 PRB.
В соответствии с вариантом осуществления, N=3, либо N=4, при этом N является заранее заданным на базовой станции и заблаговременно просигнализированным на пользовательское оборудование.
Согласно варианту осуществления, параметры конфигурации задаются на базовой станции для каждой конфигурации FH из упомянутой по меньшей мере одной конфигурации FH таким образом, что значение mSRS,0 для этой конфигурации FH равно соответствующему значению из заранее заданного набора значений {mSRS,0).
В соответствии с одним вариантом осуществления, упомянутая по меньшей мере одна конфигурация FH представляет собой набор из двух или более конфигураций FH. В данном варианте осуществления способ дополнительно содержит этапы, на которых: передают с базовой станции на пользовательское оборудование запрос передачи SRS, содержащий указание конфигурации FH из упомянутого набора конфигураций FH; и осуществляют, с пользовательского оборудования на базовую станцию, передачу SRS с FH, выполняемой на основе конфигурации FH, указанной в запросе передачи SRS. Согласно одной предпочтительной реализации, передача запроса передачи SRS осуществляется посредством управляющей информации нисходящей линии связи (DCI). Согласно другой предпочтительной реализации, передача запроса передачи SRS осуществляется либо посредством управляющего элемента (СЕ) уровня управления доступом к среде (MAC).
В соответствии с другим вариантом осуществления, упомянутая по меньшей мере одна конфигурация FH представляет собой одну конфигурацию FH.
Согласно варианту осуществления, все конфигурации FH, поддерживаемые в системе беспроводной связи для передачи SRS, представляются в виде таблицы, каждая строка которой соответствует одной конфигурации FH из упомянутых всех конфигураций FH. Таблица содержит столбец индексов конфигураций FH и (N+1) столбцов подконфигурации. Каждый столбец подконфигурации имеет индекс j, 0≤j≤N, при этом j-ый столбец подконфигурации, 1≤j≤N, соответствует j-ому уровню FH, а столбец подконфигурации с индексом j=0 соответствует подконфигурации SRS без FH. Каждый столбец подконфигурации содержит первый подстолбец и второй подстолбец. Для каждой строки конфигурации FH в таблице, в первом подстолбце j-ого столбца подконфигурации, 0≤j≤N, содержится mSRS,j для этой конфигурации FH и во втором подстолбце j-ого столбца подконфигурации, 0≤j≤N, содержится Nj для этой конфигурации, причем N0=1 по умолчанию. Значение NN=1 в строке конфигурации FH в таблице указывает, что N-ый уровень FH не поддерживается для данной конфигурации FH.
Согласно второму аспекту настоящего изобретения предложена система беспроводной связи, содержащая базовую станцию, причем базовая станция содержит по меньшей мере: приемопередающие устройства, устройства обработки данных и устройства хранения данных, при этом базовая станция - на связи с пользовательским оборудованием, содержащим по меньшей мере: приемопередающие устройства, устройства обработки данных и устройства хранения данных. В устройствах хранения данных базовой станции сохранены машиноисполняемые коды и в устройстве хранения данных пользовательского оборудования сохранены машиноисполняемые коды, причем при исполнении машиноисполняемых кодов устройствами обработки данных базовых станций и пользовательского оборудования обеспечивается выполнение способа согласно любому варианту осуществления первого аспекта настоящего изобретения.
Согласно третьему аспекту настоящего изобретения предложен способ передачи опорных сигналов зондирования (SRS) со скачкообразной перестройкой частоты (FH), выполняемый пользовательским оборудованием в системе беспроводной связи. Предложенный способ содержит этап, на котором: принимают от базовой станции системы беспроводной связи набор из двух или более конфигураций FH. Каждая конфигурация FH из набора конфигураций FH содержит параметры конфигурации, включающие в себя: количество перескоков по частоте на каждом уровне FH из заранее заданного числа уровней FH и, для самого верхнего уровня FH из заранее заданного числа уровней FH, ширину SRS подканала, причем SRS подканал представляет собой участок полосы частот, зондируемый посредством SRS за один перескок по частоте. Ширина SRS подканала предпочтительно определяется числом PRB. Набор конфигураций FH предпочтительно передается с базовой станции посредством RRC сигнализации.
Затем, предложенный способ содержит этапы, на которых: для каждой конфигурации FH из принятого набора конфигураций FH вычисляют ширину SRS подканала для каждого из остальных уровней FH, причем вычисление ширину SRS подканала для остальных уровней FH осуществляется на основе параметров конфигурации данной конфигурации FH; принимают от базовой станции запрос передачи SRS, содержащий указание конфигурации FH из набора конфигураций FH; и осуществляют передачу, на базовую станцию, SRS с FH, выполняемой на основе конфигурации FH, указанной в принятом запросе передачи SRS. Запрос передачи SRS предпочтительно передается с базовой станции посредством DCI, либо посредством MAC СЕ.
Согласно предпочтительному варианту осуществления, упомянутое вычисление ширины SRS подканала для остальных уровней FH осуществляется следующим образом:
где
где N - упомянутое заранее заданное число уровней FH; mSRS,i - число PRB, составляющих SRS подканал на i-ом уровне FH,
- количество перескоков по частоте на i-ом уровне FH, 0<i<N, i=N индекс самого верхнего уровня FH; mSRS,0 - число PRB, составляющих ширину полосы частот, SRS зондирование которой обеспечивается упомянутой конфигурацией FH. Максимальное значение mSRS,0 может составлять составляет 544 PRB
В соответствии с вариантом осуществления, N=3, либо N=4, при этом N является заранее заданным на базовой станции и заблаговременно просигнализированным на пользовательское оборудование.
Согласно варианту осуществления, параметры конфигурации задаются на базовой станции для каждой конфигурации FH из набора конфигураций FH таким образом, что значение mSRS,0 для этой конфигурации FH равно соответствующему значению из заранее заданного набора значений {mSRS,0}.
В соответствии с вариантом осуществления, все конфигурации FH, поддерживаемые в системе беспроводной связи для передачи SRS, представляются в виде таблицы, каждая строка которой соответствует одной конфигурации FH из упомянутых всех конфигураций FH. Таблица содержит столбец индексов конфигураций FH и (N+1) столбцов подконфигурации. Каждый столбец подконфигурации имеет индекс j, 0≤j≤N, при этом j-ый столбец подконфигурации, 1≤j≤N, соответствует j-ому уровню FH, а столбец подконфигурации с индексом j=0 соответствует подконфигурации SRS без FH. Каждый столбец подконфигурации содержит первый подстолбец и второй подстолбец. Для каждой строки конфигурации FH в таблице, в первом подстолбце j-ого столбца подконфигурации, 0≤j≤N, содержится mSRS,j для этой конфигурации FH и во втором подстолбце j-ого столбца подконфигурации, 0≤j≤N, содержится для этой конфигурации, причем N0=1 по умолчанию. Значение NN=1 строке конфигурации FH в таблице указывает, что N-ый уровень FH не поддерживается для данной конфигурации FH.
Согласно четвертому аспекту настоящего изобретения предложено пользовательское оборудование в системе беспроводной связи, содержащее по меньшей мере: приемопередающие устройства, устройства обработки данных и устройства хранения данных, при этом в устройствах хранения данных сохранены машиноисполняемые коды, которыми при их исполнении устройствами обработки данных обеспечивается выполнение способа согласно любому варианту осуществления третьего аспекта настоящего изобретения.
Согласно пятому аспекту настоящего изобретения предложен машиночитаемый носитель информации, на котором сохранены машиноисполняемые коды, которые при их исполнении по меньшей мере одним устройством обработки данных пользовательского оборудования предписывают пользовательскому оборудованию выполнять способ согласно любому варианту осуществления третьего аспекта настоящего изобретения.
Достигаемый настоящим изобретением технический результат заключается в обеспечении эффективной поддержки конфигураций FH для SRS зондирования более широких полос зондирования, а также в обеспечении более гибкого конфигурирования пользовательского оборудования для передачи SRS с FH.
КРАТКОЕ ОПИСАНИЕ ЧЕРТЕЖЕЙ
Фиг. 1 - общая иллюстрация реализации передачи SRS с FH.
Фиг. 2 - иллюстрация многоуровневой реализации FH для конкретной конфигурации FH для SRS согласно 5G NR.
Фиг. 3 - иллюстрация, в виде графа, значений полос зондирования, поддерживаемых в 5G NR согласно таблице конфигураций FH для SRS.
Фиг. 4 - иллюстративная схема системы беспроводной связи, в которой могут быть реализованы варианты осуществления настоящего изобретения.
Фиг. 5 - блок-схема способа конфигурирования и осуществления передачи SRS с FH согласно настоящему изобретению.
Фиг. 6 - иллюстративная схема последовательности взаимодействия между базовой станцией и пользовательским оборудованием при осуществлении способа согласно Фиг. 5.
Фиг. 7 - блок-схема способа передачи SRS с FH согласно предпочтительному варианту осуществления настоящего изобретения.
Фиг. 8 - иллюстративная схема последовательности взаимодействия между базовой станцией и пользовательским оборудованием при осуществлении способа согласно Фиг. 7.
ПОДРОБНОЕ ОПИСАНИЕ ИЗОБРЕТЕНИЯ
Далее делается отсылка к примерным вариантам осуществления настоящего изобретения, которые иллюстрируются на сопровождающих чертежах, где одинаковые ссылочные номера обозначают аналогичные элементы. Следует при этом понимать, что варианты осуществления изобретения могут принимать различные формы и не должны рассматриваться как ограниченные приведенными здесь описаниями. Соответственно, иллюстративные варианты осуществления описываются ниже со ссылкой на фигуры чертежей для пояснения существа аспектов настоящего изобретения.
На Фиг. 4 в общем виде проиллюстрирована система беспроводной связи, в которой могут быть реализованы различные аспекты настоящего изобретения. Как показано на Фиг. 4, пользовательские оборудования (UE) 401 осуществляют связь с базовыми станциями (BS) 402 в сети радиодоступа (RAN) 400. UE 401 (например, UE 401-1, 401-2, 401-3, …) распределены по RAN 400, и каждое из UE 401 может быть стационарным или мобильным. Широко известными примерами UE являются смартфоны, планшеты, модемы и т.п.
Базовые станции 402 (например, BS 402-А, 402-В, 402-С) могут обеспечить зону покрытия для конкретной географической области, зачастую именуемой 'сотой'. Базовые станции 402, в основном, имеют стационарную конструкцию, но могут быть и в подвижном исполнении. В общем, базовые станции могут представлять собой макро-BS (как иллюстрируется BS 402-А, 402-В, 402-С на Фиг. 4), а также пико-BS для пикосот или фемто-BS для фемтосот. Соты, в свою очередь, могут быть разбиты на сектора.
Координацию и управление работой базовых станций 402 может обеспечивать контроллер сети, находящийся на связи с ними (например, через магистральное соединение (backhaul)). RAN 400 может быть на связи с базовой сетью (CN) (к примеру, через контроллер сети), которая обеспечивает различные сетевые функции, такие как, например, управление доступом и мобильностью, управление сеансами, функция сервера аутентификации, функция приложений и т.п. При этом, базовые станции 402 в RAN 400 могут также соединяться между собой, например, через прямое физическое соединение, которое предпочтительно является высокоскоростным соединением.
При перемещении пользовательского оборудования в пределах RAN 400 может быть осуществлена передача его обслуживания (handover) от одной базовой станции другой базовой станции. Например, обслуживание UE 401-3 может быть передано от BS 402-В к BS 402-А. При этом осуществляется переконфигурирование соответствующих параметров системы связи на пользовательском оборудовании для работы с новой базовой станцией. Переключение обслуживания пользовательского оборудования может осуществляться и между секторами одной базовой станции.
Следует отметить, что описание по Фиг. 4 и сама данная фигура имеют исключительно иллюстративный, неограничивающий характер в целях обрисовки общей рабочей среды настоящего изобретения. Хотя на Фиг. 4 проиллюстрированы лишь известные базовые компоненты системы связи, следует понимать, что система связи может дополнительно включать в себя множество других элементов.
Каждая из BS 402, показанных на Фиг. 4, включает в себя аппаратные и логические средства для реализации соответствующих функций в базовой станции. К аппаратным средствам относятся, в частности, антенная решетка, состоящая из приемопередающих антенных элементов, различные специальным образом сконфигурированные процессоры, контроллеры, устройства хранения данных, прочие схемные элементы, а также связывающие их шины. К логическим средствам относится программное обеспечение, хранящееся в соответствующих запоминающих устройствах и конфигурирующее соответствующие схемные элементы. К программному обеспечению также относится и микропрограммное обеспечение, непосредственно прошитое в процессорах и контроллерах. Указанные аппаратные средства конфигурируются, в том числе, для выполнения различной обработки в отношении передаваемых и принимаемых сигналов, включая (де)модуляцию, (де)мультиплексирование, (де)кодирование, усиление, фильтрацию, оцифровку, (де)перемежение, распределение ресурсов, планирование приема/передачи.
Аналогичным образом, каждое из UE 401, показанных на Фиг. 4, включает в себя аппаратные и логические средства для реализации соответствующих функций в пользовательском оборудовании. К аппаратным средствам относятся, в частности, приемопередающие устройства с соответствующими антенными элементами, различные специальным образом сконфигурированные процессор(ы), контроллеры, устройства хранения данных, прочие схемные элементы, а также связывающие их шины. К логическим средствам относится программное обеспечение, хранящееся в соответствующих запоминающих устройствах и конфигурирующее соответствующие схемные элементы. К программному обеспечению также относится и микропрограммное обеспечение, непосредственно прошитое в контроллерах. Указанные аппаратные средства конфигурируются, в том числе, для выполнения различной обработки в отношении передаваемых и принимаемых сигналов, включая (де)модуляцию, (де)мультиплексирование, (де)кодирование, усиление, фильтрацию, оцифровку, (де)перемежение. Помимо этого, UE содержит средства для взаимодействия с пользователем, включая сенсорный экран, динамики/микрофон, кнопки, а также пользовательские приложения, хранящиеся в памяти пользовательского оборудования и исполняющиеся процессором пользовательского оборудования в соответствующей операционной системе.
Примеры вышеупомянутых процессоров/контроллеров включают в себя микропроцессоры, микроконтроллеры, устройства цифровой обработки сигналов (DSP), программируемые вентильные матрицы (FPGA), дискретные аппаратные микросхемы и т.п. (Микро)программное обеспечение, исполняемое процессорами/контроллерами, следует толковать в широком смысле, как означающее машиноисполняемые инструкции, наборы инструкций, программный код, сегменты кода, подпрограммы, программные модули, объекты, процедуры и т.п. Программное обеспечение хранится на соответствующих машиночитаемых носителях, которые могут быть реализованы, на пример, в виде ОЗУ (RAM), ПЗУ (ROM), перепрограммируемого ПЗУ (EEPROM), твердотельных запоминающих устройств, магнитных запоминающих устройств, оптических запоминающих устройств и т.п., на которых могут быть записаны или сохранены соответствующие программные коды и структуры данных, к которым может осуществляться доступ со стороны соответствующих процессоров/контроллеров.
Вышеперечисленные аппаратные и программные элементы базовых станций и пользовательских оборудований конфигурируются для обеспечения выполнения в базовых станциях и пользовательских оборудованиях способов согласно настоящей заявке, которые описываются ниже. Сама реализация компонентных аппаратных средств базовых станций и пользовательских оборудований и их специализированное конфигурирование, в том числе посредством соответствующих логических средств, является известным в области техники, к которой относится настоящая заявка. При этом, различные функции согласно способам, отвечающим настоящей заявке, могут выполняться в множестве отдельных элементов либо одном или нескольких интегральных элементах, что определяется проектными конструкционными характеристиками.
Для решения стоящей перед настоящим изобретением технической задачи, в соответствии с основным аспектом настоящего изобретения заявке предложена методика конфигурирования FH для SRS, которая не основывается на таблице конфигураций FH, в отличие от подхода 5G NR, описанного выше со ссылкой на Фиг. 1-3 и Таблицы 1, 2.
В соответствии с настоящим изобретением, конфигурация FH для передачи SRS содержит параметры конфигурации, включающие в себя: количество перескоков по частоте на каждом уровне FH из заранее заданного числа уровней FH и ширину SRS подканала для самого верхнего уровня FH из этого заранее заданного числа уровней FH. Соответственно, на базовой станции выбирается по меньшей мере одна конфигурация FH для передачи SRS пользовательским оборудованием, и на пользовательское оборудование с базовой станции передается, предпочтительно через RRC, сообщение, содержащее такие параметры конфигурации для выбранной конфигурации FH. На пользовательском оборудовании, по приему RRC сообщения, вычисляется ширина SRS подканала для каждого из остальных уровней FH среди заранее заданного их числа; вычисление ширины SRS подканала для остальных уровней FH осуществляется на основе параметров конфигурации выбранной конфигурации FH, содержащихся в принятом RRC сообщении. По приему запроса SRS от базовой станции, пользовательское оборудование осуществляет передачу SRS с выполнением FH в соответствии с указанной конфигурацией FH. При этом, согласно предпочтительному варианту осуществления настоящего изобретения, непосредственная реализация FH при передаче SRS основывается на соответствующем математическом аппарате 5G NR (см., в частности, уравнения (1)-(5)).
Согласно настоящему изобретению, вычисление ширины SRS подканала для остальных уровней FH осуществляется в соответствии с уравнением:
где N - упомянутое заранее заданное число уровней FH; mSRS,i число PRB, составляющих SRS подканал на i-ом уровне FH, а
- количество перескоков по частоте на i-ом уровне FH, 0<i<N, i=N индекс самого верхнего уровня FH; mSRS,0 - число PRB, составляющих полную полосу зондирования для выбранной конфигурации FH. Следует отметить, что параметры mSRS,i, Ni, 0≤i≤N, в настоящем изобретении имеют то же смысловое содержание, что и в 5G NR. В частности,
по умолчанию.
Следует понимать, что вышеуказанные параметры конфигурации не являются единственно возможными и конфигурация FH согласно настоящему изобретению может содержать другие параметры конфигурации. В частности, как и в 5G NR, в составе параметров конфигурации на пользовательское оборудование может передаваться b-hop.
Таким образом, в результате осуществления подхода согласно настоящему изобретению, вкратце обрисованному выше, на стороне пользовательского оборудования доступны переменные, достаточные для выполнения FH при передаче SRS на основе уравнений (3)-(5) согласно выбранной конфигурации FH.
Ниже рассматривается один вариант осуществления настоящего изобретения для случая, когда поддерживается максимум три уровня FH, т.е. N=3.
Параметры конфигурации для конфигурации FH, выбранной на базовой станции, которые передаются в составе RRC сообщения на пользовательское оборудование, могут быть условно проиллюстрированы следующим образом:
где выражением mSRS,3=4⋅μSRS показывается, что ширина SRS подканала кратна четырем PRB; μSRS представляет целочисленный параметр, задающий ширину полосы зондирования в единицах PRB кратных 4. Согласно другой возможной реализации изобретения значения mSRS,3 являются кратными четырем и конфигурируются как элемент нумерованного списка (enumerated).
В соответствии с уравнением (6), ширины SRS подканалов для остальных двух уровней FH выбранной конфигурации FH определяются как mSRS,2=N3⋅mSRS,3, mSRS,1=N2⋅mSRS,2, а суммарная полоса зондирования для данной конфигурации соответственно определяется следующим образом: mSRS,0=N1⋅mSRS,1.
Согласно одной реализации, в целях снижения сложности на стороне пользовательского оборудования, возможные значения полос зондирования, которые должны быть прозондированы посредством SRS, для поддерживаемых конфигураций FH ограничены следующим набором значений {mSRS,0}={4, 8, 12, 16, 20, 24, 28, 32, 36, 40, 48, 52, 56, 60, 64, 72, 76, 80, 88, 96, 104, 112, 120, 128, 132, 136, 144, 152, 160, 168, 176, 184, 192, 208, 216, 224, 240, 256, 264, 272, 288, 304, 320, 336, 352, 368, 384, 416, 432, 448}, где каждое значение в наборе {mSRS,0} представляет число PRB, составляющих соответствующую полосу зондирования, а полужирным шрифтом выделены полосы зондирования, поддержка которых планируется в 6G. Соответственно, при такой реализации, параметры конфигурации N1, N2, N3, mSRS,3 задаются на базовой станции для выбранной конфигурации FH таким образом, чтобы значение mSRS,0 для этой конфигурации FH было равно соответствующему значению из набора {mSRS,0}.
В то же время, предусмотрены другие реализации, где будут поддерживаться все планируемые полосы зондирования для 6G, включая максимальное значение равное 544 PRB, а также будут поддерживаться все полосы зондирования согласно таблице конфигураций FH, отвечающей 5G NR (см., к примеру, Таблицу 2), для обеспечения полной обратной совместимости - в этом случае параметры N1, N2, N3, mSRS,3 для выбранной конфигурации FH будут представлять собой значения из соответствующей строки 5G NR таблицы конфигураций FH.
Как отмечалось ранее в отношении конкретики информирования пользовательского оборудования базовой станцией о конфигурации FH для SRS, пользовательское оборудование уведомляется о конфигурации FH посредством соответствующего SRS ресурса в RRC сообщении. В виду вышесказанного, структура SRS ресурса согласно настоящему изобретению будет отличаться от таковой для 5G NR. Для рассматриваемого варианта осуществления трехуровневой FH, структура SRS ресурса может иметь следующий вид:
Для N1, N2, N3 число после
в списке ENUMERATED {…} в freqHopping соответственно число перескоков по частоте на соответствующем уровне FH; для mSrs3 число после
в списке ENUMERATED {…} соответственно обозначает количество PRB, составляющих SRS подканал для третьего уровня FH (к примеру,
обозначает, что SRS подканал имеет ширину 12 PRB). Как и в 5G NR, в предложенном SRS ресурсе имеется структура freqHopping, посредством которой непосредственно конфигурируется последующее выполнение FH для передачи SRS на стороне пользовательского оборудования. В рассматриваемом варианте осуществления настоящего изобретения целочисленные параметры N1, N2, N3, mSrs3 в freqHopping SRS ресурса представляют собой вышеописанные параметры конфигурации N1, N2, N3, mSRS,3, соответственно. В показанном SRS ресурсе полужирным шрифтом выделены значения, соответствующие 6G - в частности, значения mSrs3 для более широких полос зондирования, поддержка которых планируется в 6G (см., к примеру, набор (mSRS,0), приведенный выше).
Как было отмечено выше в отношении 5G NR таблицы конфигураций FH (см. Таблицу 2), по мере увеличения полосы зондирования, для SRS зондирования зачастую задействуются все три уровня FH с увеличением числа перескоков по частоте на каждом уровне, что является мотивацией для увеличения числа поддерживаемых уровней FH для более широких полос частот для SRS зондирования.
Далее рассматривается другой, более предпочтительный вариант осуществления настоящего изобретения для случая, когда поддерживается вплоть до четырех уровней FH, т.е. N=4.
Параметры конфигурации для выбранной конфигурации FH, которые передаются в составе RRC сообщения на пользовательское оборудование, могут быть, аналогично представлению (7), условно проиллюстрированы следующим образом:
В соответствии с уравнением (6), ширины SRS подканалов для остальных трех уровней FH выбранной конфигурации FH определяются как mSRS,3=N4⋅mSRS,4, mSRS,2=N3⋅mSRS,3, mSRS,1=N2⋅mSRS,2, а суммарная полоса зондирования для данной конфигурации определяется как mSRS,0=N1⋅mSRS,1.
Аналогично варианту осуществления с N=3, согласно одной реализации, возможные значения полос зондирования для поддерживаемых конфигураций FH могут быть ограничены набором {mSRS,0), приведенным выше; согласно другим реализациям, могут поддерживаться все планируемые полосы зондирования для 6G, включая максимальное значение 544 PRB, а также все существующие полосы зондирования согласно 5G NR таблице конфигураций FH.
Для варианта осуществления с четырехуровневой FH, структура SRS ресурса может иметь следующий вид:
В SRS ресурсе, показанном для рассматриваемого предпочтительного варианта осуществления, полужирным шрифтом выделены не только значения, соответствующие 6G, но и новые параметры, а именно параметр N4, представляющий число перескоков по частоте на новом, четвертом уровне FH, а также параметр mSrs4, представляющий ширину SRS подканала для четвертого уровня FH. Введение четвертого уровня FH обеспечивает возможность использования более узкополосных SRS подканалов при SRS зондировании более широких частотных каналов. В случае, если в обсуждаемом здесь SRS ресурсе N4=1, это означает, что данным SRS ресурсом указывается трехуровневая конфигурация FH, т.е. для указываемой конфигурации четвертый уровень FH не поддерживается (что, по сути, аналогично рассмотренному выше случаю с Ni=1, i=2, 3, в строке 5G NR таблицы конфигураций). Таким образом, предложенный подход конфигурирования четырехуровневой конфигурации FH обеспечивает возможность гибкого отката к указанию трехуровневой конфигурации FH, включая существующие конфигурации 5G NR.
Далее иллюстрируется дополнительная опция гибкости, обеспечиваемая подходом к конфигурированию FH согласно настоящему изобретению, обсужденному выше.
Как отмечалось ранее при раскрытии основывающегося на таблице подхода к конфигурированию FH для SRS согласно 5G NR, все конфигурации FH поддерживают до трех смежных уровней FH. А именно, в 5G NR возможны следующие варианты многоуровневой поддержки FH:
• только первый уровень FH: N1>1, N2=N3=1;
• первый и второй уровни FH: N1>1, N2>1, N3=1;
• первый, второй и третий уровни FH: N1>1, N2>1, N3>1.
Эти варианты поддержки уровней FH проиллюстрированы ниже Таблицей 4, которая, по сути, представляет собой Таблицу 2, где жирной линией отграничены фактические используемые уровни FH.
Вышеописанным подходом конфигурирования FH для SRS согласно основному аспекту настоящего изобретения (см. (7), (8)) обеспечивается новое качество, заключающееся в возможности отключения промежуточных уровней FH для конфигураций FH. Данное качество проиллюстрировано ниже для случая трехуровневой конфигурации FH Таблицей 5, которая, по сути, представляет некую строку Таблицы 2. Как видно из данной иллюстрации, появляется возможность поддержки несмежных двух уровней FH.
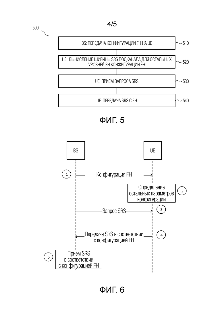
Далее со ссылкой на блок-схему по Фиг. 5 и схему взаимодействия по Фиг. 6 приводится описание способа 500 конфигурирования и осуществления передачи SRS с FH в системе беспроводной связи, согласно настоящему изобретению.
На этапе 510 с базовой станции на пользовательское оборудование передают, в общем, по меньшей мере одну конфигурацию FH для передачи SRS. Каждая конфигурация FH из этой по меньшей мере одной конфигурации FH содержит параметры конфигурации, включающие в себя: количество перескоков по частоте на каждом уровне FH из заранее заданного числа (N) уровней FH и ширину SRS подканала для самого верхнего уровня FH из заранее заданного числа уровней FH (см. (7), (8)). Как отмечалось ранее, согласно вариантам осуществления настоящего изобретения, N может быть равно четырем, либо N может быть равно трем.
Иллюстрация соответствующей последовательности взаимодействия между базовой станцией и пользовательским оборудованием на Фиг. 6 неограничительным образом соответствует случаю, когда на этапе 510 на пользовательское оборудование сигнализируется одна конфигурация FH (действие 1 по Фиг. 6). Согласно вышеприведенному раскрытию, данное сигнализирование предпочтительно осуществляется посредством SRS ресурса в RRC сообщении.
На этапе 520 на пользовательском оборудовании, для каждой конфигурации FH из по меньшей мере одной конфигурации FH, сообщенной с базовой станции на этапе 510, вычисляют ширину SRS подканала для каждого из остальных уровней FH (действие 2 по Фиг. 6). Как отмечалось ранее, вычисление ширины SRS подканала для остальных уровней FH соответствующей конфигурации FH осуществляется на этапе 520 на основе параметров конфигурации, содержащихся в этой конфигурации FH (см. (6)). Так, согласно действию 2 по Фиг. 6 вычисляется ширина SRS подканала для каждого из остальных уровней FH конфигурации FH, указанной с базовой станции в действии 1.
На этапе 530 на пользовательском оборудовании принимают запрос SRS (действие 3 по Фиг. 6) и на этапе 540 выполняют соответствующую передачу SRS с FH (действие 4 по Фиг. 6). Согласно действию 4 по Фиг. 6 осуществляется передача SRS с выполнением FH согласно указанной конфигурации FH. Базовая станция осуществляет прием SRS от пользовательского оборудования в соответствии с данной конфигурацией FH (действие 5 по Фиг. 6).
Затем, со ссылкой на блок-схему по Фиг. 7 и схему взаимодействия по Фиг. 8 приводится описание способа 700 передачи SRS с FH в системе беспроводной связи, согласно предпочтительному варианту осуществления настоящего изобретения.
Иллюстрируемый на Фиг. 7 способ 700 выполняется на пользовательском оборудовании.
На этапе 710 от базовой станции принимают набор из двух или более конфигураций FH (действие 1 по Фиг. 8). Как отмечалось в отношении этапа 510, каждая конфигурация FH из набора конфигураций FH содержит параметры конфигурации, включающие в себя: количество перескоков по частоте на каждом уровне FH из заранее заданного числа (N) уровней FH и ширину SRS подканала для самого верхнего уровня FH из заранее заданного числа уровней FH (см. (7), (8)). Набор конфигураций FH предпочтительно сигнализируется с базовой станции на этапе 710 посредством RRC сообщения.
Аналогично этапу 520, на этапе 720 для каждой конфигурации FH из набора конфигураций FH, принятого на этапе 710, вычисляют ширину SRS подканала для каждого из остальных уровней FH (действие 2 по Фиг. 8) на основе параметров конфигурации, содержащихся в этой конфигурации FH (см. (6)).
На этапе 730 от базовой станции принимают запрос SRS (действие 3 по Фиг. 8), содержащий указание одной конфигурации FH из набора конфигураций FH. В соответствии с одной предпочтительной реализацией, запрос SRS передается с базовой станции на пользовательское оборудование посредством DCI. В соответствии с другой предпочтительной реализацией, запрос SRS передается посредством MAC СЕ. На этапе 740 осуществляют передачу, на базовую станцию, SRS с FH (действие 4 по Фиг. 8), выполняемой на основе конфигурации FH, указанной в запросе SRS, принятом на этапе 730. Базовая станция осуществляет прием SRS от пользовательского оборудования в соответствии с указанной конфигурацией FH (действие 5 по Фиг. 8).
В отношении предпочтительного варианта осуществления настоящего изобретения, рассмотренного со ссылкой на Фиг. 7, 8, необходимо пояснить следующее.
В настоящее время снижение эксплуатационных расходов, связанных с системами беспроводной связи, является актуальной задачей, в том числе и в контексте разработки систем связи следующего поколения. Значительный вклад в эксплуатационные расходы оператора сети беспроводной связи вносит энергопотребление сети; соответственно, в контексте решения этой актуальной задачи общей мотивацией является применение различных энергосберегающих технологий для обеспечения высокой энергоэффективности сети. В целях энергосбережения, для системы может быть желательно иметь возможность динамически менять полосу UL передачи на стороне пользовательского оборудования. В частности, диктуется необходимость динамической адаптации параметров SRS зондирования - так, если на базовой станции будет принято решение использовать более узкую полосу зондирования для приема и/или передачи, то целесообразной является динамическая перенастройка упомянутых параметров. В существующих системах связи, включая 5G NR, данная адаптация осуществляется полустатически, и этот подход может оказаться недостаточно гибким и быстрым для 6G.
В соответствии с предпочтительным вариантом осуществления, обсужденным со ссылкой на Фиг. 7, 8, с базовой станции на пользовательское оборудование заблаговременно сообщается несколько конфигураций FH для SRS, и затем, посредством запроса SRS, передаваемого посредством DCI (уровень L1) или MAC СЕ (уровень L2), базовой станцией у пользовательского оборудования запрашивается передача SRS с FH согласно требующейся одной конфигурации FH (соответствующей выбранной текущей полосе) из нескольких конфигураций FH. В 5G NR подобное переконфигурирование осуществляется посредством RRC, т.е. на уровне L3, и, соответственно, является более медленным.
Настоящим изобретением обеспечивается эффективная поддержка конфигураций FH для SRS зондирования более широких полос зондирования (вплоть до 544 PRB), а также обеспечивается более гибкое конфигурирование пользовательского оборудования для передачи SRS с FH, с возможностью динамического переконфигурирования в зависимости от требующейся полосы.
Дополнительный аспект настоящей заявки подразумевает возможность расширения существующей 5G NR таблицы конфигураций FH для SRS (см. Таблицу 2) для поддержки новых полос с шириной более 272 PRB, использование которых ожидается в 6G. В Таблице 6 показаны новые строки для случая трехуровневой FH (т.е., по сути, новые строки непосредственно для Таблицы 2), а в Таблице 7 показаны новые строки для четырехуровневой FH. В случае четырехуровневой FH к существующей 5G NR таблице конфигураций FH справа будет также добавлен столбец подконфигураций BSRS=4, при этом для строк с
т.е. строк, непосредственно относящихся к 5G NR, где поддерживается не более трех уровней FH, N4 будет установлен равным 1, тем самым показывая неиспользование четвертого уровня FH, a mSRS,4 будет по умолчанию установлен равным 4. Таким образом, данным дополнительным аспектом предусматривается опция переиспользования существующей 5G NR инфраструктуры FH для SRS зондирования в отношении более широких полос (>272 PRB).
Следует также понимать, что проиллюстрированные примерные варианты осуществления являются всего лишь предпочтительными, а не единственно возможными вариантами реализации настоящего изобретения. Точнее, объем настоящего изобретения определяется нижеследующей формулой изобретения и ее эквивалентами.
| название | год | авторы | номер документа |
|---|---|---|---|
| УСТРОЙСТВА И СПОСОБЫ КОНФИГУРИРОВАНИЯ И ОСУЩЕСТВЛЕНИЯ ПЕРЕДАЧИ ПО ВОСХОДЯЩЕЙ ЛИНИИ СВЯЗИ СО СКАЧКООБРАЗНОЙ ПЕРЕСТРОЙКОЙ ЧАСТОТЫ В СИСТЕМЕ БЕСПРОВОДНОЙ СВЯЗИ | 2024 |
|
RU2836032C1 |
| СПОСОБ И УСТРОЙСТВО СВЯЗИ, РЕАЛИЗУЮЩИЕ ПРОЦЕДУРУ СВЯЗИ В СЕТИ С РАННИМ ПОЛУЧЕНИЕМ ИНФОРМАЦИИ О СОСТОЯНИИ КАНАЛА | 2023 |
|
RU2805306C1 |
| УСТРОЙСТВА И СПОСОБЫ ФОРМИРОВАНИЯ ДИАГРАММЫ НАПРАВЛЕННОСТИ ДЛЯ ПРИЕМА ПО ВОСХОДЯЩЕЙ ЛИНИИ СВЯЗИ | 2024 |
|
RU2836039C1 |
| СПОСОБ ПЕРЕДАЧИ ОПОРНОГО СИГНАЛА ИНФОРМАЦИИ О СОСТОЯНИИ КАНАЛА | 2023 |
|
RU2820271C1 |
| СПОСОБ ПЕРЕДАЧИ ОПОРНОГО ЗОНДИРУЮЩЕГО СИГНАЛА ВОСХОДЯЩЕГО КАНАЛА | 2009 |
|
RU2440695C1 |
| СПОСОБ ПЕРЕДАЧИ SRS И ТЕРМИНАЛ ДЛЯ ЕГО ОСУЩЕСТВЛЕНИЯ | 2018 |
|
RU2719330C1 |
| УСТРОЙСТВА И СПОСОБЫ ФОРМИРОВАНИЯ ОПОРНЫХ СИГНАЛОВ ИНФОРМАЦИИ СОСТОЯНИЯ КАНАЛА В СИСТЕМЕ БЕСПРОВОДНОЙ СВЯЗИ | 2024 |
|
RU2824924C1 |
| СПОСОБ ПЕРЕДАЧИ ЗОНДИРУЮЩЕГО ОПОРНОГО СИГНАЛА, СПОСОБ И СИСТЕМА СВЯЗИ И КОМПЬЮТЕРНО-ЧИТАЕМЫЙ НОСИТЕЛЬ | 2023 |
|
RU2811077C1 |
| СПОСОБ И ОБОРУДОВАНИЕ ДЛЯ ПЕРЕДАЧИ РАЗЛИЧНОЙ УПРАВЛЯЮЩЕЙ ИНФОРМАЦИИ ВОСХОДЯЩЕЙ ЛИНИИ СВЯЗИ В СИСТЕМЕ БЕСПРОВОДНОЙ СВЯЗИ | 2018 |
|
RU2774980C2 |
| СПОСОБ ПЕРЕДАЧИ/ПРИЕМА ВОСХОДЯЩЕЙ ЛИНИИ СВЯЗИ В СИСТЕМЕ БЕСПРОВОДНОЙ СВЯЗИ И УСТРОЙСТВО ДЛЯ ЭТОГО | 2017 |
|
RU2717840C1 |
Изобретение относится к области беспроводной связи, в частности, к способам конфигурирования и осуществления передачи опорных сигналов зондирования (SRS) со скачкообразной перестройкой частоты (FH) в системе беспроводной связи. Технический результат заключается в обеспечении более гибкого конфигурирования пользовательского оборудования (UE) для передачи SRS с FH, с возможностью динамического переконфигурирования в зависимости от требующейся полосы. Технический результат достигается тем, что базовая станция (BS) передает UE конфигурации FH для передачи SRS. Каждая конфигурация FH содержит параметры конфигурации, включающие в себя количество перескоков по частоте на каждом уровне FH, и ширину SRS подканала для самого верхнего уровня FH. SRS подканал представляет собой участок полосы частот, зондируемый посредством SRS за один перескок по частоте. Для каждой конфигурации FH, переданной с базовой станции, UE вычисляет ширину SRS подканала остальных уровней FH, причем вычисление ширины SRS подканала для остальных уровней FH осуществляется на основе параметров конфигурации данной конфигурации FH. 5 н. и 18 н.п. ф-лы, 8 ил., 7 табл.
1. Способ конфигурирования передачи опорных сигналов зондирования (SRS) со скачкообразной перестройкой частоты (FH) в системе беспроводной связи, содержащий этапы, на которых:
c базовой станции (BS) системы беспроводной связи передают на пользовательское оборудование (UE) по меньшей мере одну конфигурацию FH для передачи SRS, при этом каждая конфигурация FH из этой по меньшей мере одной конфигурации FH содержит параметры конфигурации, включающие в себя:
количество перескоков по частоте на каждом уровне FH из заранее заданного числа уровней FH, и, для самого верхнего уровня FH из заранее заданного числа уровней FH, ширину SRS подканала, причем SRS подканал представляет собой участок полосы частот, зондируемый посредством SRS за один перескок по частоте;
на пользовательском оборудовании, для каждой конфигурации FH из по меньшей мере одной конфигурации FH, переданной с базовой станции, вычисляют ширину SRS подканала для каждого из остальных уровней FH, причем вычисление ширины SRS подканала для остальных уровней FH осуществляется на основе параметров конфигурации данной конфигурации FH.
2. Способ по п. 1, в котором ширина SRS подканала определяется числом физических ресурсных блоков (PRB).
3. Способ по п. 2, в котором упомянутое вычисление ширины SRS подканала для остальных уровней FH осуществляется следующим образом:
,
, где
- упомянутое заранее заданное число уровней FH;
- число PRB, составляющих SRS подканал на
-ом уровне FH,
- количество перескоков по частоте на
-ом уровне FH,
,
- индекс самого верхнего уровня FH;
- число PRB, составляющих ширину полосы частот, SRS зондирование которой обеспечивается упомянутой конфигурацией FH.
4. Способ по п. 3, в котором максимальное значение
составляет 544 PRB.
5. Способ по п. 3 или 4, в котором
, либо
, при этом
является заранее заданным на базовой станции и заблаговременно просигнализированным на пользовательское оборудование.
6. Способ по п. 5, в котором параметры конфигурации задаются на базовой станции для каждой конфигурации FH из упомянутой по меньшей мере одной конфигурации FH таким образом, что значение
для этой конфигурации FH равно соответствующему значению из заранее заданного набора значений
.
7. Способ по любому одному из предшествующих пунктов, в котором упомянутая передача по меньшей мере одной конфигурации FH осуществляется посредством сигнализации уровня управления радиоресурсами (RRC).
8. Способ по любому одному из предшествующих пунктов, в котором упомянутая по меньшей мере одна конфигурация FH представляет собой набор из двух или более конфигураций FH, при этом способ дополнительно содержит этапы, на которых:
передают с базовой станции на пользовательское оборудование запрос передачи SRS, содержащий указание конфигурации FH из упомянутого набора конфигураций FH; и
осуществляют, с пользовательского оборудования на базовую станцию, передачу SRS с FH, выполняемой на основе конфигурации FH, указанной в запросе передачи SRS.
9. Способ по п. 8, в котором упомянутая передача запроса передачи SRS осуществляется посредством управляющей информации нисходящей линии связи (DCI), либо посредством управляющего элемента (CE) уровня управления доступом к среде (MAC).
10. Способ по любому одному из пп. 1-7, в котором упомянутая по меньшей мере одна конфигурация FH представляет собой одну конфигурацию FH.
11. Способ по любому одному из пп. 5-10, в котором все конфигурации FH, поддерживаемые в системе беспроводной связи для передачи SRS, представляются в виде таблицы, каждая строка которой соответствует одной конфигурации FH из упомянутых всех конфигураций FH, при этом таблица содержит столбец индексов конфигураций FH и
столбцов подконфигурации, причем каждый столбец подконфигурации имеет индекс
,
, при этом
-ый столбец подконфигурации,
, соответствует
-ому уровню FH, а столбец подконфигурации с индексом
соответствует подконфигурации SRS без FH, причем каждый столбец подконфигурации содержит первый подстолбец и второй подстолбец, при этом, для каждой строки конфигурации FH в таблице, в первом подстолбце
-ого столбца подконфигурации,
, содержится
для этой конфигурации FH и во втором подстолбце
-ого столбца подконфигурации,
, содержится
для этой конфигурации, причем
по умолчанию, при этом значение
в строке конфигурации FH в таблице указывает, что
-ый уровень FH не поддерживается для данной конфигурации FH.
12. Система беспроводной связи, содержащая базовую станцию (BS), причем базовая станция содержит по меньшей мере: приемопередающие устройства, устройства обработки данных и устройства хранения данных, при этом базовая станция - на связи с пользовательским оборудованием (UE), содержащим по меньшей мере: приемопередающие устройства, устройства обработки данных и устройства хранения данных, при этом в устройствах хранения данных базовой станции сохранены машиноисполняемые коды и в устройстве хранения данных пользовательского оборудования сохранены машиноисполняемые коды, причем при исполнении машиноисполняемых кодов устройствами обработки данных базовых станций и пользовательского оборудования обеспечивается выполнение способа по любому одному из пп. 1-11.
13. Способ передачи опорных сигналов зондирования (SRS) со скачкообразной перестройкой частоты (FH), выполняемый пользовательским оборудованием (UE) в системе беспроводной связи, при этом способ содержит этапы, на которых:
принимают от базовой станции (BS) системы беспроводной связи набор из двух или более конфигураций FH, при этом каждая конфигурация FH из набора конфигураций FH содержит параметры конфигурации, включающие в себя:
количество перескоков по частоте на каждом уровне FH из заранее заданного числа уровней FH и,
для самого верхнего уровня FH из заранее заданного числа уровней FH, ширину SRS подканала, причем SRS подканал представляет собой участок полосы частот, зондируемый посредством SRS за один перескок по частоте;
для каждой конфигурации FH из принятого набора конфигураций FH вычисляют ширину SRS подканала для каждого из остальных уровней FH, причем вычисление ширину SRS подканала для остальных уровней FH осуществляется на основе параметров конфигурации данной конфигурации FH;
принимают от базовой станции запрос передачи SRS, содержащий указание конфигурации FH из набора конфигураций FH; и
осуществляют передачу, на базовую станцию, SRS с FH, выполняемой на основе конфигурации FH, указанной в принятом запросе передачи SRS.
14. Способ по п. 13, в котором ширина SRS подканала определяется числом PRB.
15. Способ по п. 14, в котором упомянутое вычисление ширины SRS подканала для остальных уровней FH осуществляется следующим образом:
,
, где
- упомянутое заранее заданное число уровней FH;
- число PRB, составляющих SRS подканал на
-ом уровне FH,
- количество перескоков по частоте на
-ом уровне FH,
,
- индекс самого верхнего уровня FH;
- число PRB, составляющих ширину полосы частот, SRS зондирование которой обеспечивается упомянутой конфигурацией FH.
16. Способ по п. 15, в котором максимальное значение
составляет 544 PRB.
17. Способ по п. 15 или 16, в котором
, либо
, при этом
является заранее заданным на базовой станции и заблаговременно просигнализированным на пользовательское оборудование.
18. Способ по п. 17, в котором параметры конфигурации задаются на базовой станции для каждой конфигурации FH из набора конфигураций FH таким образом, что значение
для этой конфигурации FH равно соответствующему значению из заранее заданного набора значений
.
19. Способ по любому одному из пп. 13-18, в котором набор конфигураций FH передается с базовой станции посредством RRC.
20. Способ по любому одному из пп. 13-19, в котором запрос передачи SRS передается с базовой станции посредством DCI, либо посредством MAC CE.
21. Способ по любому одному из пп. 17-20, в котором все конфигурации FH, поддерживаемые в системе беспроводной связи для передачи SRS, представляются в виде таблицы, каждая строка которой соответствует одной конфигурации FH из упомянутых всех конфигураций FH, при этом таблица содержит столбец индексов конфигураций FH и
столбцов подконфигурации, причем каждый столбец подконфигурации имеет индекс
,
, при этом
-ый столбец подконфигурации,
, соответствует
-ому уровню FH, а столбец подконфигурации с индексом
соответствует подконфигурации SRS без FH, причем каждый столбец подконфигурации содержит первый подстолбец и второй подстолбец, при этом, для каждой строки конфигурации FH в таблице, в первом подстолбце
-ого столбца подконфигурации,
, содержится
для этой конфигурации FH и во втором подстолбце
-ого столбца подконфигурации,
, содержится
для этой конфигурации, причем
по умолчанию, при этом значение
в строке конфигурации FH в таблице указывает, что
-ый уровень FH не поддерживается для данной конфигурации FH.
22. Пользовательское оборудование (UE) в системе беспроводной связи, содержащее по меньшей мере: приемопередающие устройства, устройства обработки данных и устройства хранения данных, при этом в устройствах хранения данных сохранены машиноисполняемые коды, которыми при их исполнении устройствами обработки данных обеспечивается выполнение способа по любому одному из пп. 13-21.
23. Машиночитаемый носитель информации, на котором сохранены машиноисполняемые коды, которые при их исполнении по меньшей мере одним устройством обработки данных пользовательского оборудования (UE) предписывают пользовательскому оборудованию выполнять способ по любому одному из пп. 13-21.
| ШАБЛОН И КОНФИГУРАЦИЯ СКАЧКООБРАЗНОЙ ПЕРЕСТРОЙКИ ЧАСТОТЫ ДЛЯ ЗОНДИРУЮЩЕГО ОПОРНОГО СИГНАЛА | 2009 |
|
RU2485708C9 |
| СПОСОБ И УСТРОЙСТВО СВЯЗИ, РЕАЛИЗУЮЩИЕ ПРОЦЕДУРУ СВЯЗИ В СЕТИ С РАННИМ ПОЛУЧЕНИЕМ ИНФОРМАЦИИ О СОСТОЯНИИ КАНАЛА | 2023 |
|
RU2805306C1 |
| СПОСОБ И УСТРОЙСТВО ПЕРЕДАЧИ ЗАПРОСА НА ПЛАНИРОВАНИЕ В СИСТЕМЕ БЕСПРОВОДНОЙ СВЯЗИ | 2009 |
|
RU2480911C2 |
| US 20240080828 A1, 07.03.2024 | |||
| US 20220103324 A1, 31.03.2022. | |||
Авторы
Даты
2025-04-28—Публикация
2024-10-09—Подача