Изобретение относится к экспериментальному оборудованию, а именно к стендам для исследования процессов тушения пожара гидратным огнетушителем.
Известна установка для определения огнетушащей способности аэрозолеобразующих составов [RU 146216 U1, МПК A62C 35/00 (2006.01), опубл. 10.10.2014], содержащая герметичную огневую камеру из негорючего материала, модельные очаги пожара класса В, термоэлектрические преобразователи, устройство для измерения и регистрации изменения температуры. Огневая камера снабжена вентиляционной системой принудительной циркуляции в замкнутом объеме.
Данная установка не позволяет вести отбор проб газа для исследования концентрации антропогенных выбросов в дымовых газах.
Известен стенд для исследования процессов горения и тушения при пожаре в герметичном объеме [SU 995818 A1, МПК A62C 39/00 (2006.01), опубл. 15.02.1983], выбранный в качестве прототипа, содержащий цилиндрический резервуар с размещенным в нем оборудованием, имеющим средства создания очагов пожара и их тушения, средства измерения параметров процесса горения, клапан отбора проб газовой среды на анализ и пульт управления оборудованием и регистрации исследуемых параметров. С целью увеличения достоверности исследуемых параметров он имеет герметичную переборку для разделения резервуара на две камеры, выполненную подвижной относительно продольной оси резервуара и снабженную запорным органом для фиксации ее в крайних положениях. Стенд включает дополнительное оборудование, связанное с пультом управления и регистрации, имеющее средство создания очагов пожара и их тушения, средства измерения параметров процесса горения и клапан отбора проб газовой среды на анализ. При этом основное оборудование резервуара размещено в одной из его камер, а дополнительное - в другой камере.
Однако в данном стенде тушение осуществляют жидким и газообразным огнетушащим веществом.
Техническим результатом предложенного изобретения является создание стенда для исследования процессов тушения пожара гидратным огнетушителем.
Стенд для исследования процессов тушения пожара гидратным огнетушителем, так же, как в прототипе, содержит объем, разделённый на две части, каждая из которых снабжена дверью, и одна часть предназначена для размещения горючего материала, средство тушения очага пожара, датчик температуры, средство отбора проб газовой среды на анализ и средства управления оборудованием и регистрации исследуемых параметров.
Согласно изобретению, объем для исследования выполнен в виде камеры сгорания, представляющей собой стальной параллелепипед, разделенный внутри колосниковой решеткой на верхний и нижний отсеки, в передних стенках каждого из которых выполнена дверь, причем дверь верхнего отсека снабжена окном. В верхнюю стенку камеры сгорания вмонтирована труба, в которой установлена шиберная задвижка, снабженная сервоприводом. На шиберной задвижке размещен гидратный огнетушитель в виде банки из полиэтилентерефталата, наполненной гидратом диоксида углерода и накрытой крышкой. В одну боковую стенку верхнего отсека камеры сгорания вставлена труба для поступления воздуха. В противоположную боковую стенку камеры сгорания вмонтирован датчик температуры и щуп газоанализатора. Из верхней стенки камеры сгорания в атмосферу выведен дымоход, внутри которого размещен вентилятор. Конец дымохода снабжен дефлектором. Щит управления содержит программируемый логический контроллер, который подключён к источнику питания. К программируемому логическому контроллеру подключены сервопривод, датчик температуры, газоанализатор, вентилятор и персональный компьютер.
Предложенный стенд позволяет исследовать эффективность использования гидратного огнетушителя в качестве средства пожаротушения. С помощью стенда определяют время, затрачиваемое на тушение различных очагов возгорания, и проводят анализ состава дымовых газов.
При диссоциации гидрата диоксида углерода и дальнейшем испарении воды отводится тепло от очага возгорания. При этом его температура снижается до значений ниже температур воспламеняемости, а диоксид углерода, выделяющийся в процессе диссоциации, вытесняет окислитель из зоны возгорания, тем самым ликвидируя пожар.
На фиг. 1 представлена схема стенда для исследования процессов тушения пожара гидратным огнетушителем.
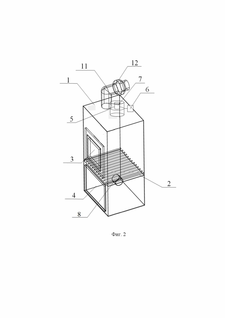
На фиг. 2 представлена схема камеры сгорания.
На фиг. 3 представлен схема щита управления.
Стенд для исследования процессов тушения пожара гидратным огнетушителем содержит камеру сгорания 1 в виде стального параллелепипеда размерами 1×0,8×2 м (фиг. 1). Камера сгорания 1 внутри разделена колосниковой решеткой 2 на верхний и нижний отсеки (фиг. 2). В передней стенке верхнего отсека камеры сгорания 1 выполнена дверь с окном 3. В передней стенке нижнего отсека камеры сгорания 1 выполнена дверь 4. В верхнюю стенку камеры сгорания 1 вмонтирована труба, в которой размещена шиберная задвижка 5, снабженная сервоприводом 6. На шиберной задвижке 5 размещен гидратный огнетушитель 7 в виде банки из полиэтилентерефталата диаметром 80 мм, наполненной гидратом диоксида углерода и накрытой крышкой. В первую боковую стенку верхнего отсека камеры сгорания 1 вставлена труба 8 для поступления воздуха. В противоположную боковую стенку камеры сгорания 1 вмонтирован датчик температуры 9 и щуп газоанализатора 10 (ГЗ) (фиг. 1). Через верхнюю стенку камеры сгорания 1 в атмосферу выведен дымоход 11, внутри которого размещен вентилятор 12. Конец дымохода снабжен дефлектором 13.
Щит управления 14 (ЩУ) содержит программируемый логический контроллер 15 (ПЛК), который подключён к источнику питания 16 (ИП) (фиг. 3). К программируемому логическому контроллеру 15 (ПЛК) подключены сервопривод 6, датчик температуры 9, газоанализатор 10 (ГЗ), вентилятор 12 и персональный компьютер 17 (ПК).
На шиберную задвижку сверху помещают гидратный огнетушитель 7 в виде банки из полиэтилентерефталата, наполненной гидратом диоксида углерода, который предварительно синтезируют в реакторе высокого давления [RU 2807263 С1] и затем распределяют по банкам и закрывают их крышками.
Открыв дверь 3, в верхний отсек камеры сгорания 1 на колосниковую решетку помещают твердый горючий материал, например деревянные балки, или жидкий горючий материал, например бензин, налитый в емкость размером 300×200×80 мм3. Горючий материал поджигают с помощью газовой горелки (на фиг. 1 не показано). Воздух к очагу возгорания поступает через трубу 8. С помощью программируемого логического контроллера 15 (ПЛК) включают вентилятор 12 для удаления дымовых газов из камеры сгорания 1 через дымоход 11. Температуру в камере сгорания 1 измеряют датчиком температуры 9, показания которого передают в программируемый логический контроллер 15 (ПЛК). При достижении в камере сгорания 1 температуры 300°С программируемый логический контроллер 15 (ПЛК) посылает сигнал сервоприводу 6, который поворачивает шиберную задвижку 5 в вертикальное положение, и гидратный огнетушитель 7 падает на очаг возгорания. За счет высокой температуры в очаге возгорания гидрат диоксида углерода внутри гидратного огнетушителя 7 начинает диссоциировать, то есть распадаться на газ и воду. Внутреннее давление гидратного огнетушителя 7 возрастает, и при достижении критического давления его оболочка разрывается. Взрывная волна разносит гидрат диоксида углерода и воду по периметру камеры сгорания 1. При дальнейшей диссоциации гидрата диоксида углерода от очага возгорания отводится тепло, а выделяющийся углекислый газ вытесняет окислитель из зоны горения, что приводит к тушению очага возгорания. В процессе всего эксперимента состав дымовых газов фиксируют с помощью газоанализатора 10 (ГЗ), сигнал от которого поступает в программируемый логический контроллер 15 (ПЛК) и затем передается в персональный компьютер 17 (ПК). Окончание процесса горения регистрируют визуально через дверь с окном 3 в верхнем отсеке камеры сгорания 1 или по составу газа, если преобладает концентрация кислорода. Время срабатывания сервопривода 6 и окончание процесса горения фиксируют в персональном компьютере 17 (ПК) для расчёта времени, затрачиваемого на тушение. После завершения процесса тушения, открыв дверь 4, из нижнего отсека камеры сгорания 1 извлекают золу.
| название | год | авторы | номер документа |
|---|---|---|---|
| СТЕНД ДЛЯ ИССЛЕДОВАНИЯ ПРОЦЕССОВ ГОРЕНИЯ И ТУШЕНИЯ МАТЕРИАЛОВ | 2024 |
|
RU2837970C1 |
| УСТРОЙСТВО ДЛЯ СЖИГАНИЯ УГОЛЬНОГО ШЛАМА | 2024 |
|
RU2840948C1 |
| УСТРОЙСТВО ДЛЯ ТУШЕНИЯ ПОЖАРА | 2023 |
|
RU2827579C1 |
| УСТРОЙСТВО ДЛЯ ПОДГОТОВКИ ВОДОУГОЛЬНОГО ТОПЛИВА К СЖИГАНИЮ В КОТЕЛЬНОЙ УСТАНОВКЕ | 2023 |
|
RU2811243C1 |
| СТЕНД ДЛЯ ИСПЫТАНИЯ ПОЖАРНЫХ ИЗВЕЩАТЕЛЕЙ И ГАЗОАНАЛИТИЧЕСКИХ СЕНСОРОВ | 2024 |
|
RU2840063C1 |
| УСТРОЙСТВО ДЛЯ ТУШЕНИЯ ПОЖАРОВ | 2000 |
|
RU2158152C1 |
| СПОСОБ ПОЖАРОТУШЕНИЯ (ЕГО ВАРИАНТ), УСТРОЙСТВО ДЛЯ ЕГО ОСУЩЕСТВЛЕНИЯ (ЕГО ВАРИАНТЫ) И СИСТЕМА ПОЖАРОТУШЕНИЯ | 1997 |
|
RU2118551C1 |
| ПАРОГАЗОВЫЙ ОГНЕТУШИТЕЛЬ | 2001 |
|
RU2210411C2 |
| Мобильный модуль для хранения и зарядки литий-ионных аккумуляторов транспортных средств и подвижного состава с системой адресного тушения возгорания и способ адресного тушения возгорания в мобильном модуле | 2021 |
|
RU2775054C1 |
| УСТРОЙСТВО ДЛЯ ТУШЕНИЯ ПОЖАРА В ПОМЕЩЕНИИ | 2024 |
|
RU2840076C1 |
Изобретение относится к экспериментальному оборудованию, а именно к стенду для исследования процессов тушения пожара гидратным огнетушителем. Стенд для исследования процессов тушения пожара гидратным огнетушителем содержит камеру сгорания, представляющую собой стальной параллелепипед, разделенный внутри колосниковой решеткой на верхний и нижний отсеки, в передних стенках каждого из которых выполнена дверь, причем дверь верхнего отсека снабжена окном. В верхнюю стенку камеры сгорания вмонтирована труба, в которой установлена шиберная задвижка, снабженная сервоприводом. На шиберной задвижке размещен гидратный огнетушитель в виде банки из полиэтилентерефталата, наполненной гидратом диоксида углерода и накрытой крышкой. В одну боковую стенку верхнего отсека камеры сгорания вставлена труба для поступления воздуха. В противоположную боковую стенку камеры сгорания вмонтирован датчик температуры и щуп газоанализатора. Из верхней стенки камеры сгорания в атмосферу выведен дымоход, внутри которого размещен вентилятор. Конец дымохода снабжен дефлектором. Щит управления содержит программируемый логический контроллер, который подключён к источнику питания. К программируемому логическому контроллеру подключены сервопривод, датчик температуры, газоанализатор, вентилятор и персональный компьютер. Технический результат: исследование эффективности использования гидратного огнетушителя. 3 ил.
Стенд для исследования процессов тушения пожара гидратным огнетушителем, содержащий объем, разделённый на две части, каждая из которых снабжена дверью, и одна часть предназначена для размещения горючего материала, средство тушения очага пожара, датчик температуры, средство отбора проб газовой среды на анализ и средства управления оборудованием и регистрации исследуемых параметров, отличающийся тем, что объем для исследования выполнен в виде камеры сгорания, представляющей собой стальной параллелепипед, разделенный внутри колосниковой решеткой на верхний и нижний отсеки, в передних стенках каждого из которых выполнена дверь, причем дверь верхнего отсека снабжена окном, в верхнюю стенку камеры сгорания вмонтирована труба, в которой установлена шиберная задвижка, снабженная сервоприводом, на шиберной задвижке размещен гидратный огнетушитель в виде банки из полиэтилентерефталата, наполненной гидратом диоксида углерода и накрытой крышкой, в одну боковую стенку верхнего отсека камеры сгорания вставлена труба для поступления воздуха, а в противоположную боковую стенку камеры сгорания вмонтирован датчик температуры и щуп газоанализатора, из верхней стенки камеры сгорания в атмосферу выведен дымоход, внутри которого размещен вентилятор, причем конец дымохода снабжен дефлектором, щит управления содержит программируемый логический контроллер, который подключён к источнику питания, к программируемому логическому контроллеру подключены сервопривод, датчик температуры, газоанализатор, вентилятор и персональный компьютер.
| Стакан-масленка с конусными стенками для прядильных и крутильных машин | 1961 |
|
SU146216A1 |
| 0 |
|
SU158135A1 | |
| Устройство для определения огнетушащей способности порошков | 1981 |
|
SU947730A1 |
| CN 1233467 C, 28.12.2005 | |||
| CN 206837310 U, 05.01.2018 | |||
| CN 202942579 U, 22.05.2013 | |||
| Стенд для исследования процессов горения и тушения пожаров | 1986 |
|
SU1319872A1 |
| CN 217112649 U, 02.08.2022. | |||
Авторы
Даты
2025-04-30—Публикация
2024-12-10—Подача