Изобретение относится к устройствам для сжигания горючего газа и может быть использовано в промышленных печах.
Известная рекуперативная горелка содержит корпус, имеющий теплообменник, который содержит первый канал, предназначенный для воздуха для сжигания, и второй канал, предназначенный для отходящих газов, и содержит по меньшей мере одну первую трубку для выпуска отходящих газов (Патент РФ 2727303, опубл. 2020.07.21, F23L15/04). Горелка содержит канал для впуска воздуха, ведущий в первую кольцевую камеру, ось симметрии которой совпадает с осью симметрии по меньшей мере одной первой трубки для выпуска отходящих газов, причем первая кольцевая камера также соединена с трубкой Вентури, расположенной внутри по меньшей мере одной первой трубки для выпуска отходящих газов. Первая кольцевая камера соединена со второй кольцевой камерой, ось симметрии которой совпадает с осью симметрии теплообменника. Вторая кольцевая камера сообщена с первым проходом, контактирующим с теплообменником, причем первый проход расположен между теплообменником и первой трубкой, соосной теплообменнику и расположенной внутри теплообменника.
Известна рекуперативная горелка для газообразного топлива (Патент РФ 2378573, опубл. 2010.01.10, F23D 14/00). Изобретение относится к теплотехнике, может быть использовано для сжигания газообразного топлива в процессе обогрева рабочего пространства промышленных печей и других тепловых агрегатов и повышает количество теплоты, отбираемой у дымовых газов, и передачу ее воздуху, идущему на горение, что, соответственно, приводит к повышению температуры подогрева воздуха и снижению расхода топлива. Указанный технический результат достигается в рекуперативной горелке для газообразного топлива, содержащей корпус, размещенную в корпусе с кольцевым зазором трубу первичного воздуха, камеру сгорания, теплообменник, выполненный из пучка труб, предназначенных для продуктов сгорания, причем трубы теплообменника проходят сквозь смонтированную между корпусом и трубой первичного воздуха винтовую спираль для направления воздуха, омывающего трубы теплообменника.
Известна рекуперативная горелка (Патент SU 1576782, опубл. 1990.07.07, F23D14/12). Изобретение относится к устройствам для сжигания топлива и может быть использовано в нагревательных и термических печах. Цель изобретения - повышение экономичности путем увеличения степени рекуперации теплоты. Воздух подается тангенциально в кожух 3, нагревается продуктами сгорания, проходящими по каналам 4а, 4б, 4в, и поступает в камеру 5 сгорания через завихритель 9. Природный газ подается через сопло 14, эжектирует продукты сгорания через сопло 15 и в виде конвертированной топливной смеси поступает в коллектор 6, где нагревается продуктами сгорания, проходящими по каналам 4а, 4б, 4в, и через раздающие сопла 8 подается в камеру 5 сгорания, где сжигается в подогретом воздухе. Горелка обеспечивает не только рекуперацию тепла отходящих продуктов сгорания, но и реакцию конверсии смеси природного газа с продуктами сгорания, получаемой в эжекторе и сопровождаемой значительным эндотермическим эффектом.
Известна рекуперативная горелка, содержащая корпус с патрубком подвода воздуха, кожух, размещенный вокруг корпуса с образованием кольцевого зазора для отвода продуктов сгорания в дымовой канал, и камеру сгорания, включающую патрубок подвода топлива от коллектора к соплу (Патент 2406026, опубл. 2010.12.10, F23D14/00), выбранная в качестве прототипа. Камера сгорания снабжена первой перфорированной обечайкой и второй обечайкой, которые установлены в корпусе с соответствующими кольцевыми зазорами, кожух снабжен третьей перфорированной обечайкой, первая и вторая перфорированные обечайки установлены соосно между корпусом и третьей перфорированной обечайкой. Корпус, первая, вторая и третья перфорированные обечайки образуют каналы подачи холодного воздуха, нагреваемого воздуха и нагретого воздуха.
Известная рекуперативная горелка имеет низкую степень рекуперация теплоты отходящих дымовых газов.
Задачей изобретения является повышение энергоэффективности промышленных печей и экономии топлива путем увеличения степени рекуперации теплоты отходящих дымовых газов. Другой задачей изобретения является снижения вредных выбросов интенсификации дожигания продуктов неполного горения, а также уменьшения теплового загрязнения окружающей среды путем лучшей утилизации теплоты отходящих дымовых газов.
Технический результат заявленного изобретения заключается в увеличении скорости натекания струй на теплопередающую стенку в 2-3 раза, что позволяет увеличить коэффициент теплопередачи в 1,5-2 раза за счет наличия нескольких (не менее двух) раздельных секций подогрева воздуха с перфорированными обечайками, установленные соосно корпусу с соответствующими кольцевыми зазорами.
Для решения указанных задач заявлена рекуперативная горелка, содержащая корпус с патрубком подвода воздуха, кожух, размещенный вокруг корпуса с образованием кольцевого канала для отвода продуктов сгорания в дымовой канал, и камеру сгорания, включающую патрубок подвода топлива от коллектора к соплу, при этом снабженной первой перфорированной обечайкой и второй перфорированной обечайкой, которые установлены в корпусе с соответствующими кольцевыми каналами, первая и вторая перфорированные обечайки установлены соосно корпусу и третьей перфорированной обечайке, установленной между кожухом и корпусом горелки для организации дополнительного дымового канала. В отличие от прототипа корпус снабжен не менее чем двумя раздельными секциями подогрева воздуха с перфорированными обечайками, установленные соосно корпусу с соответствующими кольцевыми зазорами.
В заявленном изобретении кожух снабжен перфорированной и неперфорированной обечайками, соединенными между собой, между кожухом и корпусом горелки соосно установлена перфорированная обечайка для образования не менее двух раздельных дымовых секций.
Изобретение поясняется чертежом.
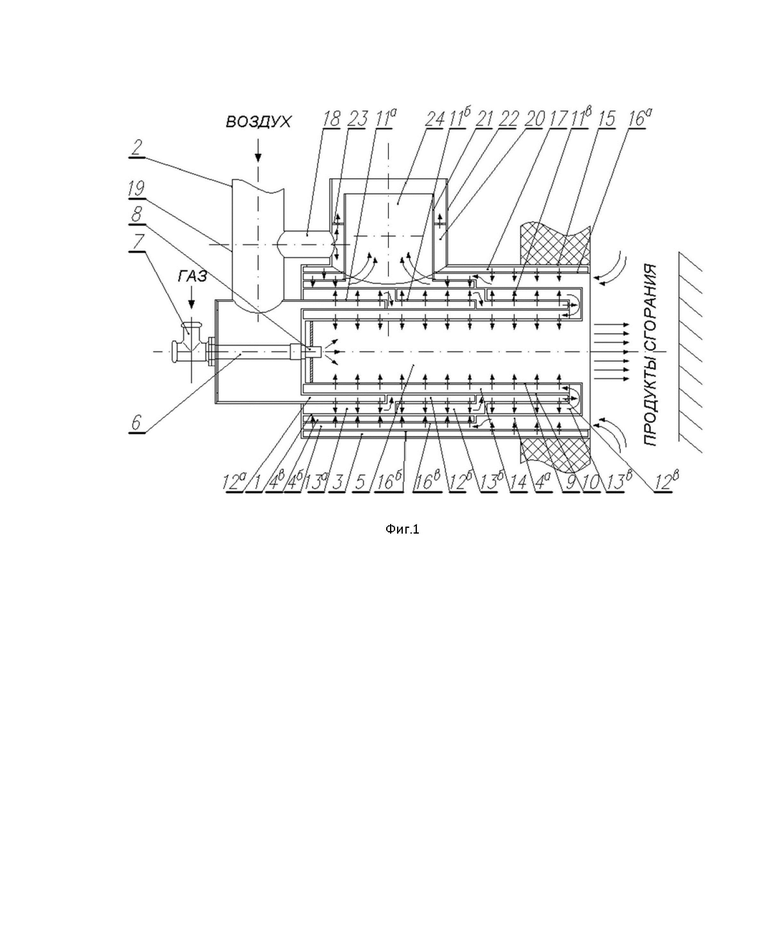
Рекуперативная горелка содержит корпус 1 с патрубком 2 подвода воздуха, кожух 3, размещенный вокруг корпуса 1 с образованием кольцевых каналов 4а, 4б, 4в для интенсификации теплоотдачи к корпусу и отвода продуктов сгорания в дымовую трубу, и камеру сгорания 5, снабженную для подвода горючего газа - топлива коллектором 6 с патрубком 7 и соплом 8.
Камера сгорания 5 образована первой перфорированной цилиндрической обечайкой 9, второй цилиндрической обечайкой 10 и перфорированными цилиндрическими обечайками 11а, 11б, 11в.
Обечайка 10 и перфорированные обечайки 11а, 11б, 11в установлены соосно между корпусом 1 и перфорированной обечайкой 9.
Обечайка 10 и перфорированная обечайка 11а образуют канал 12а для подачи холодного воздуха.
Цилиндрическая стенка корпуса 1 и перфорированная обечайка 11а образуют канал 13а первой ступени нагреваемого воздуха.
Обечайка 10 и перфорированная обечайка 11б образуют канал 12б для подачи нагретого воздуха первой ступени.
Цилиндрическая стенка корпуса 1 и перфорированная обечайка 11б образуют канал 13б второй ступени нагреваемого воздуха.
Обечайка 10 и перфорированная обечайка 11в образуют канал 12в для подачи нагретого воздуха второй ступени.
Цилиндрическая стенка корпуса 1 и перфорированная обечайка 11в образуют канал 13в третьей ступени нагреваемого воздуха.
Первая перфорированная обечайка 9 и вторая цилиндрическая обечайка 10 образуют канал 14 для подачи нагретого воздуха.
Кожух 3 выполнен из двух соосно расположенных неперфорированной обечайки 15 и соединенных перфорированной обечайки 16а и неперфорированной обечайки 16б с образованием канала 17, к которому подключен патрубок 18 вторичного воздуха, поступающего от воздушного коллектора 19, через канал 20, образованный обечайкой 21 и обечайкой 22.
Канал 4а образован перфорированной обечайкой 16а и корпусом 1, канал 4б образован неперфорированной обечайкой 16б и перфорированной обечайкой 16в.
В канале 20 установлен перфорированный кольцевой фланец 23 для подачи вторичного воздуха на эжекцию продуктов сгорания через дымовую трубу 24, образованную обечайкой 21.
Пример осуществления приведен ниже.
Воздух через патрубок 2 поступает в канал 12а, откуда в виде системы перпендикулярных струй через перфорированную обечайку 11а направляется на корпус 1, являющийся теплопередающей стенкой, затем воздух первой ступени нагрева из канала 13а направляется в канал 12б, откуда в виде системы перпендикулярных струй через перфорированную обечайку 11б направляется на корпус 1, затем воздух второй ступени нагрева из канала 13б направляется в канал 12в, откуда в виде системы перпендикулярных струй через перфорированную обечайку 11в направляется на корпус 1.
Далее двигаясь по каналу 13в и нагреваясь от корпуса 1, воздух поступает в канал 14, откуда через систему отверстий перфорированной обечайки 9 поступает в камеру сгорания 5, где происходит его смешение с горючим газом, поступающим через сопло 8, и распределенное горение за счет порционной подачи воздуха через систему отверстий перфорированной обечайки 9.
Такая последовательность подачи воздуха позволяет за счет кратного увеличения скорости натекающей струи значительно коэффициент теплообмена (при увеличении скорости струи в 2 раза коэффициент турбулентного теплообмена увеличивается более чем в 1,5 раза).
Продукты горения поступают в рабочее пространство печи. Отработанные продукты сгорания за счет разрежения, создаваемого в трубе 24, поступают в дымовой канал 4а, где подвергаются воздействию перпендикулярных струй воздуха, поступающих через перфорированную обечайку 16а кожуха 3, затем поступая в канал 4б дымовые газы через перфорированную обечайку 16в направляются в виде струй на корпус 1.
В результате происходит существенное увеличение отдачи теплоты от продуктов сгорания к поверхности корпуса 1, что снижает температуру отходящих газов, тем самым уменьшая тепловое загрязнение окружающей среды.
Одновременно при этом может происходить дожигание продуктов неполного горения, поступающих из рабочего пространства печи, работающей в режиме восстановительного нагреве, что значительно снижает токсичность выбросов.
| название | год | авторы | номер документа |
|---|---|---|---|
| РЕКУПЕРАТИВНАЯ ГОРЕЛКА | 2009 |
|
RU2406026C1 |
| СПОСОБ НАГРЕВА ГАЗА | 2018 |
|
RU2691441C1 |
| УСТРОЙСТВО НАГРЕВА ГАЗОВ | 2012 |
|
RU2514810C1 |
| ПЕЧЬ ДЛЯ ТЕРМООБРАБОТКИ ИЗДЕЛИЙ | 2012 |
|
RU2496885C1 |
| БЕЗВАННОВОЕ ПЛАВЛЕНИЕ ГОРНЫХ ПОРОД ПО СПОСОБУ Р.Д.ТИХОНОВА И УСТРОЙСТВО ДЛЯ ЕГО ОСУЩЕСТВЛЕНИЯ | 2002 |
|
RU2230709C2 |
| СПОСОБ НАГРЕВА ГАЗОВ | 2012 |
|
RU2518714C1 |
| РЕКУПЕРАТИВНАЯ ГОРЕЛКА ДЛЯ ГАЗООБРАЗНОГО ТОПЛИВА | 2008 |
|
RU2378573C1 |
| КОНТАКТНЫЙ ВОДОНАГРЕВАТЕЛЬ | 2018 |
|
RU2680458C1 |
| СПОСОБ ТЕРМООБРАБОТКИ ИЗДЕЛИЙ В ГОРИЗОНТАЛЬНОЙ ПЕЧИ | 2012 |
|
RU2494155C1 |
| СПОСОБ ВНЕПЕЧНОЙ ТЕРМООБРАБОТКИ СВАРНЫХ ИЗДЕЛИЙ | 2012 |
|
RU2518813C1 |
Изобретение относится к устройствам для сжигания горючего газа и может быть использовано в промышленных печах. Рекуперативная горелка содержит корпус с патрубком подвода воздуха, кожух, размещенный вокруг корпуса с образованием кольцевого зазора для отвода продуктов сгорания в дымовой канал, и камеру сгорания, включающую патрубок подвода топлива от коллектора к соплу, при этом снабженную первой перфорированной обечайкой и второй перфорированной обечайкой, которые установлены соосно корпусу и третьей перфорированной обечайке, установленной между кожухом и корпусом горелки для организации дополнительного дымового канала. Корпус снабжен не менее чем двумя раздельными секциями подогрева воздуха с перфорированными обечайками, установленными соосно корпусу с соответствующими последовательно соединёнными кольцевыми каналами. Изобретение позволяет снизить количество вредных выбросов, увеличить степень рекуперации теплоты отходящих дымовых газов. 1 з.п. ф-лы, 1 ил.
1. Рекуперативная горелка, содержащая корпус с патрубком подвода воздуха, кожух, размещенный вокруг корпуса с образованием кольцевого зазора для отвода продуктов сгорания в дымовой канал, и камеру сгорания, включающую патрубок подвода топлива от коллектора к соплу, при этом снабженную первой перфорированной обечайкой и второй перфорированной обечайкой, которые установлены соосно корпусу и третьей перфорированной обечайке, установленной между кожухом и корпусом горелки для организации дополнительного дымового канала, отличающаяся тем, что корпус снабжен не менее чем двумя раздельными секциями подогрева воздуха с перфорированными обечайками, установленными соосно корпусу с соответствующими последовательно соединёнными кольцевыми каналами.
2. Рекуперативная горелка по п.1, отличающаяся тем, что кожух снабжен не менее чем двумя раздельными дымовыми секциями с перфорированными обечайками, установленными соосно корпусу с соответствующими последовательно соединёнными кольцевыми каналами.
| РЕКУПЕРАТИВНАЯ ГОРЕЛКА | 2009 |
|
RU2406026C1 |
| Рекуперативная горелка | 1989 |
|
SU1684570A1 |
| Рекуператор для нагревательных и термических печей | 1984 |
|
SU1186897A1 |
| Рекуперативная горелка | 1985 |
|
SU1281821A1 |
| JP 7208708 A, 11.08.1995. | |||
Авторы
Даты
2025-05-13—Публикация
2024-09-24—Подача