Устройство комплексной аппаратной ипликаторной акупунктурно-акупрессурной электротерапии по методу А.Г. Салдаева Российский патент 2025 года по МПК A61H39/08 

Описание патента на изобретение RU2840098C1

Техническое решение относится к области медицины и может быть использовано для лечения, реабилитации и ускоренного восстановления физических сил путем совмещения ипликаторной акупрессуры, прессотерапии и элетроакупунктуры.

Известно устройство для повышения работоспособности человека «Ипликатор Кузнецова» (патент на изобретение №2133602, МПК CA61H 11/00, А61Н 39/00, опубл. 27.07.1999), которое содержит эластичное воздухонепроницаемое основание с лунками, размещенными по основанию и открытыми в сторону поверхности аппликации, на которой имеются выступы. Лунки выполнены из материала основания, за одно целое с ним. Лунки и выступы расположены, как правило, по основанию функционально. Основание выполняется из нетоксичных, эластичных материалов, например на основе полимеров. В лунках установлены воздействующие элементы с иглами. В качестве этих элементов наиболее рационально для выполнения поставленных задач использовать съемные модули с центральным отверстием, известные как круглый ипликатор Кузнецова (Кузнецов И.И. Ипликатор Кузнецова - уникальный исцелитель безнадежных больных, омоложение престарелых, долголетие человека в домашних условиях. - М. : СП Интерпринт, 1990).

Недостатком описанного устройства является отсутствие возможности дополнительно воздействовать на конкретные акупунктурные точки электрическим током и контролируемым механическим воздействием, а также отсутствие возможности одновременного с этим синхронного проведения лимфодренажа по всей поверхности тела под пневмоманжетами.

Известен микросегнетогенератор для воздействия на рефлекторные точки (патент на изобретение №2619508, МПК А61Н 39/00, опубл. 16.05.2017), который содержит чашеобразный корпус-электрод с расположенным в нем активным элементом, выполненным в виде таблетки из сегнетокерамического материала, соединенной одной стороной с внутренней стороной чашеобразного корпуса-электрода, при этом в пространство между активным элементом и бортами чашеобразного корпуса вставлена шайба, выполненная из твердого изоляционного материала и имеющая отверстие для размещения активного элемента. Диаметр отверстия со стороны шайбы, обращенной к корпусу-электроду, меньше, чем диаметр отверстия с противоположной стороны шайбы, и в него закапан жидкий токопроводящий клей для крепления шайбы к корпусу-электроду и таблетке. Использование изобретения позволяет расширить арсенал технических средств воздействия электрическим током на рефлекторные точки.

Недостатком описанного устройства является отсутствие дополнительной возможности воздействовать на конкретные акупунктурные точки с помощью контролируемого механического воздействия, а также отсутствие возможности одновременного с этим синхронного проведения лимфодренажа по всей поверхности тела под пневмоманжетами.

Известно устройство для выполнения способа волновой биомеханотерапии Б.С. Савельева (патент на изобретение RU 2202323, МПК А61Н 9/00, опубл. 20.04.2001), согласно которому осуществляют массажное и терапевтическое воздействие на организм человека как тепловыми и световыми волнами, так и механическими, которые представляют собой последовательные и параллельные комбинации продольных и поперечных модулированных уединенных волн длиной от 0,005 до 0,1 м. и распространяющихся по телу со скоростью от 0,01 до 12 м/с, причем уединенные волны образуются на теле вследствие импульсного воздействия отдельных термовибратодов, соединенных между собой управляемой связью и воздействующих на тело человека с температурой от 0 до 90°С, удельным давлением от 0,5⋅105 до 4⋅105 Па и сдвигающим усилием от 0,1 до 100 Н.

Недостатком этого устройства является отсутствие возможности комплексно воздействовать на конкретные (адресные) акупунктурные точки одновременно с контролируемым механическим усилием и воздействием электрическим током с заданными параметрами при имеющейся возможности проведения лимфодренажа по всей поверхности тела под пневмоманжетами.

Наиболее близким аналогом является термоэлектрическое полупроводниковое устройство для локального механического и температурного воздействия на рефлекторные зоны человеческого организма (патент на изобретение №2299722, МПК А61Н 39/06, A61F 7/00, А61Н 11/00, опубл. 27.05.2007), которое содержит включенные в резиновое полотно элементы, включающие термоэлектрический модуль, находящийся первыми спаями в тепловом контакте с аппликатором, включающим металлические выступы, вторыми спаями - с жидкостным теплообменником, в резиновом полотне проложены цепи питания термоэлектрических элементов и каналы подвода и отвода жидкости теплообменников, при этом аппликатор выполнен в виде металлической пластины, одна из плоских поверхностей которой имеет пилообразные выступы, а другая находится в тепловом контакте с первыми спаями, промежуток между металлической пластиной и жидкостным теплообменником, свободный от термоэлектрического модуля, залит диэлектрическим компаундом, а термоэлектрические модули подключены к цепям питания с возможностью подвода разнополярного электрического тока к соседним термоэлектрическим модулям. Изобретение позволяет создать градиент температур аппликатора по произвольной схеме.

Недостатком описанного устройства является сложность конструкции и отсутствие возможности дополнительно воздействовать на конкретные акупунктурные точки контролируемым механическим воздействием, а также отсутствие возможности одновременного с этим синхронного проведения лимфодренажа по всей поверхности тела под пневмоманжетами.

Техническим результатом предлагаемого решения является повышение лечебного воздействия на тело человека за счет улучшения состояния внутренних и внешних органов путем контролируемого комплексного ипликаторного акупунктурно-акупрессурного электро воздействия на конкретные (адресные) акупунктурные точки.

Технический результат достигается за счет того, что устройство комплексной аппаратной ипликаторной акупунктурно-акупрессурной электротерапии, содержащее активные управляемые электрические ипликаторы - концентраторы давления с полимерным корпусом и воздействующими элементами в виде группы радиально расположенных заостренных выступов с контактной металлической коронкой, с возможностью закрепления на теле человека с помощью удерживающего элемента в местах расположения заранее установленных биологически активных точек, состоит из полимерного эргономичного корпуса, в который встроен блок электропитания, блок пневмосистемы, состоящий из типового компрессора и блока типовых управляемых пневмоклапанов, а также электронный блок управления генерацией импульсов электрического тока и общий электронный блок управления с набором соответствующих управляющих программ, причем активные управляемые электрические ипликаторы-концентраторы давления соединены с электронным блоком управления генерацией импульсов электрического тока через коммутатор, а блок пневмосистемы соединен через воздуховод с пневмоманжетами, при этом на внешней стороне корпуса установлен тачскрин, связанный с общим электронным блоком управления, а на передней части корпуса выполнена интерфейсная панель, в которой установлена ответная часть для разъема воздуховода, разъем для соединения с коммутатором и набор USB-портов.

Реализация устройства комплексной аппаратной ипликаторной акупунктурно-акупрессурной электротерапии по методу А.Г. Салдаева характеризуется следующими чертежами:

- на фиг. 1 изображена блок-схема устройства комплексной аппаратной ипликаторной акупунктурно-акупрессурной электротерапии по методу А.Г. Салдаева;

- на фиг. 2 изображена конструкция устройства комплексной аппаратной ипликаторной акупунктурно-акупрессурной электротерапии по методу А.Г. Салдаева;

- на фиг. 3 изображен активный управляемый электрический ипликатор-концентратор давления Салдаева А.Г. (АУЭИКДС);

- на фиг. 4 изображен коммутатор для АУЭИКДС.

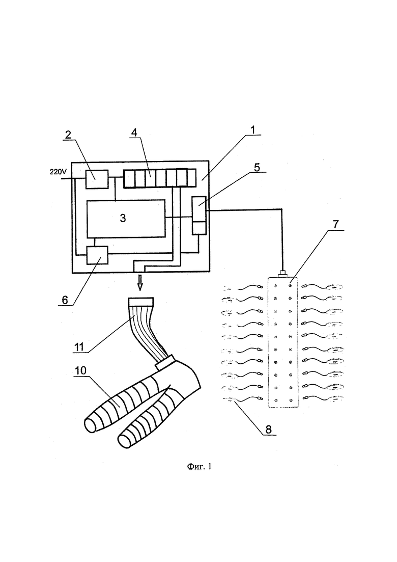
Конструктивно устройство комплексной аппаратной ипликаторной акупунктурно-акупрессурной электротерапии представляет собой модульную конструкцию состоящую из полимерного эргономичного корпуса (1), в который встроен блок электропитания (2), дающий требуемое напряжение блоку пневмосистемы, состоящему из типового компрессора (3) с определенными эксплуатационными техническими параметрами и блока типовых управляемых пневмоклапанов (от 8 до 20 единиц) (4), электронный блок управления генерацией импульсов электрического тока (ЭБУГ) (5) и общий электронный блок управления (ЭБУ) (6) с набором электронных программ для запуска и взаимного действия электроакупрессуры и пневмосистемы. Также устройство содержит коммутатор (7) с АУЭИКДС (8), связанный с ЭБУГ (5) через, например, USB соединение (9), и набор сменных пневмоманжет (10) определенной конструкции для различных частей тела, связанные через воздуховод (11) с корпусом (1). На внешней стороне корпуса (1) установлен тачскрин (12), связанный с ЭБУ (6) и имеющий в своем функционале в том числе: операционную систему, мультимедиа, сим-карту, Bluetooth, а также кнопки с разноцветной светодиодной подсветкой - индикаторы (13) состояния работы устройства и каждой из его систем в отдельности: кнопка с синей подсветкой - пневмосистема вкл/выкл; кнопка с зеленой подсветкой - система электроакупрессуры вкл/выкл; кнопка с белой подсветкой - само устройство вкл/выкл). Также в передней части корпуса устройства выполнена интерфейсная панель с крышкой (14). В панели установлены ответная часть (15) для разъема воздуховода (10) и набор USB-портов (16) с индикаторными диодами (17).

АУЭИКДС (фиг. 3) представляет собой полимерный объект определенной формы: круглый в плане и сильно уплощенный при виде сбоку диаметром 45-50 мм, имеющий со стороны не направленной к телу человека, гладкую поверхность с большим радиусом кривизны, а с другой стороны, которая направлена к поверхности тела человека, плоскую поверхность на которой имеется ряд заостренных выступов (зубьев), общим количеством от 7 до 9. Один центральный выступ (зуб) (18) выше на 2 мм (6-7 мм) остальных выступов (зубьев) (19) высотой (4-5 мм), расположенных вдоль окружности радиусом 5-7 мм с центром в месте расположения центрального выступа (зуба) (18). Выступы (18,19) оснащены контактными стержнями (20,21), на которые установлены два не связанных между собой электрических контакта определенной конструкции (наконечник (22) и коронка (23)). Через внутренний объем корпуса ипликатора-концентратора давления электропроводка выведена под крышкой (24) за пределы ипликатора-концентратора давления в виде электрического кабеля, имеющего в своем окончании электроразъем в виде USB (микро-USB) разъема (либо более бюджетный вариант - штырьковый разъем). При этом внутренний монтаж электропроводки внутри АУЭИКДС залит силиконом (25) и закрыт соответствующей крышкой (24), изготовленной заподлицо с внешней не направленной к рабочей поверхности ипликатора-концентратора давления стороной большого радиуса кривизны. На плоской стороне, обращенной к телу пациента расположен удерживающий элемент в виде широкого кольца (26) из двустороннего медицинского скотча шириной от внешнего края объекта до радиуса расположения меньшего по высоте ряда выступов (зубьев) (19), которое уже приклеено одной стороной к плоской поверхности АУЭИКДС, а вторая сторона клеевого слоя находится под защитной пленкой, которая снимается непосредственно при установке АУЭИКДС на тело человека в месте расположения заранее установленной каким-либо способом (документарным или аппаратным) в биологически активные точки тела (БАТ). Данный удерживающий элемент обеспечивает необходимую фиксацию АУЭИКДС непосредственно на месте установленной БАТ - точки акупрессурного воздействия (TAB) для последующего воздействия на нее. Помимо указанной выше основной своей функции удержания активного управляемого электрического ипликатора-концентратора давления (АУЭИКДС) данный удерживающий элемент (26) может выполнять также разогревающую, охлаждающую, обезболивающую или лечебную функции в зависимости от прикрепляемого к его слою, направленному к телу пациента, специального разогревающего (охлаждающего, обезболивающего, лечебного) пластыря - готового и уже сертифицированного медицинского препарата с известными параметрами воздействия.

Работа устройства комплексной аппаратной ипликаторной акупунктурно-акупрессурной электротерапии по методу А.Г. Салдаева осуществляется следующим образом.

На определенных БАТ пациента закрепляют АУЭИКДС (8) с помощью удерживающего элемента (26). После чего устанавливают пневмоманжеты (10) поверх АУЭИКДС (8). При воздействии на тело активной работающей оболочки пневмоманжеты (10), наполненной сжатым воздухом, при использовании аппаратной прессотерапии создается поверхностное воздействие (усилие) по всей внешней поверхности массируемого этой активной пневмоманжетой участка тела, которое направлено разносторонне параллельно (вдоль) плоскости (поверхности) тела. Установленные (приклеенные на двусторонний медицинский скотч (26)) в БАТ на теле человека активные управляемые электрические ипликаторы-концентраторы давления (8) своим непосредственным присутствием на данном месте позволяют перенаправить указанное выше волну механического воздействия (давления) от действия активной работающей пневмоманжеты с параллельного поверхности массируемого участка тела на перпендикулярное его поверхности и направленное внутрь тела непосредственно в заранее установленную (определенную) БАТ - TAB. При этом перенаправленная сила, с которой оказывается давление на тело в акупунктурной точке, расположенной непосредственно под ипликатором-концентратором давления (8) будет многократно больше (до 7 раз) усилия, которое оказывала бы работающая пневмоманжета на тот же участок тела без ипликатора-концентратора давления, а ее размер пропорционален соотношению площадей основания ипликатора-концентратора давления (диаметром: 45-50 мм) к суммарной площади контакта (суммарная площадь всех зубьев (выступов) -от 7 до 9 шт. АУЭИКДС (8), которые посредством электрического кабеля через разъемы (микро-USB или штырьковые) соединяется со специальным коммутатором (7), представляющим собой специальный разветвитель электропроводки в пластиковом корпусе прямоугольной формы, имеющий спереди 16-20 электроразъемов (микро-USB или штырьковые) или на каждой из двух больших боковых поверхностей по 8-10 электроразъемов (микро-USB или штырьковые) (27) для контактного соединения через них по 8-10 единиц АУЭИКДС (8). На верхней лицевой поверхности коммутатора имеется цифровая и светодиодная индикация (28), у каждого из уставленных в этом месте электроразъемов с обеих сторон коммутатора, которая автоматически загорается при присоединении к соответствующему электроразъему коммутатора соответствующего АУЭИКДС (8). На той же лицевой панели коммутатора имеется выключатель (29) общей электросети коммутатора со светодиодной индикацией (30) рабочего его положения (вкл-выкл), размещенный рядом с выходом единого сетевого электрокабеля (31), идущего непосредственно к ЭБУГ (5), к которому он присоединяется через USB разъем.

ЭБУГ (5) имеет модульную архитектуру, включающую в себя блок генерации импульсов электрического тока с частотой от 10 до 200 Гц (максимальным потребляемым током более 300 мА при напряжении питания 3 В), направляемых через указанный выше коммутатор непосредственно на подключенные к нему и установленные на тело объемные (3D) выносные электроды в виде АУЭИКДС, установленных и закрепленных на теле с помощью удерживающего элемента (26), который обеспечивает необходимую фиксацию АУЭИКДС непосредственно на месте установленной БАТ - TAB для последующего воздействия на нее. Управление ЭБУГ (5) производится через тачскрин (12).

Сам блок управления ЭБУГ может использовать в качестве основы (платформы) смартфон или планшет с тачскрином, что позволяет ему при использовании соответствующего программного обеспечения, вести не только само управление аппаратным комплексом во время его работы, а также осуществлять запись дневника назначенных и выполненных процедур для каждого пациента индивидуально, а также передавать результаты контроля их выполнения непосредственно назначившему эти процедуры лечащему врачу (специалисту) и непосредственно пациенту на его смартфон или электронную почту (через доступные ему протоколы связи). При этом на установленном экране тачскрин наглядно графически и анимационно отображается весь требуемый для работы аппарата функционал. Также возможно взаимодействие данного блока управления с необходимыми и совмещаемыми дополнительными устройствами через установленные на корпусе блока дополнительные USB разъемы (16), а также при поддержке устройством протоколов Bluetooth, wi-fi, e-mail и т.д.

В качестве дополнительных устройств, как по отдельности, так и в совокупности, могут быть применены: комплекс электро-тактильной индикации виртуального позиционирования и визуализации БАТ; стерео наушники, через которые во время проведения процедур пациенту может транслироваться специально подобранные программы, включающие в себя релаксирующую музыку и (или) аудиозаписи с подбором аутотренинговых программ для достижения более углубленного эффекта лечебного воздействия от указанных выше процедур с применением АУЭИКДС; для достижения аналогичных целей вместо указанных наушников и соответствующих аудиопрограмм также возможно применение очков дополненной реальности (ОДР) со встроенными высококачественными динамиками и набором аналогичных релаксирущих видео-аудио-аутотренинговых программ для создания еще более углубленного эффекта от лечебного воздействия процедур с применением АУЭИКДС.

Именно при этом совместном тройном взаимном действии: пневмоманжет аппарата прессотерапии с действием акупресуры АУЭИКДС, усиленного воздействием эффекта электроакупунктуры достигается автоматическая синхронизация взаимодействия каждого из трех указанных способов воздействия - процессов лимфодренажа (прессотерапии), акупрессуры, электроакупунктуры и это, безусловно, взаимно дополняет и усиливает благотворное их взаимное воздействие на нервную, кровеносную, лимфатическую системы человека и на состояние внутренних и внешних органов его тела.

Похожие патенты RU2840098C1

название год авторы номер документа
Устройство комплексной аппаратной ипликаторной акупунктурно-акупрессурной электролазерной терапии по методу А.Г. Салдаева 2023
  • Салдаев Алексей Геннадьевич
RU2840096C1
Устройство комплексной аппаратной ипликаторной акупунктурно-акупрессурной лазерной терапии по методу А.Г. Салдаева 2023
  • Салдаев Алексей Геннадьевич
RU2839986C1
Способ (варианты) комплексной аппаратной акупунктурно-акупрессурной прессотерапии и устройство ипликатора-концентратора давления (варианты) для его реализации 2023
  • Салдаев Алексей Геннадьевич
RU2828755C1
Программно-аппаратный комплекс контроля постановки и снятия инфузионных систем 2021
  • Салдаев Алексей Геннадьевич
RU2766782C1
МУЛЬТИЭЛЕКТРОД 2003
  • Тимошевский С.В.
  • Ситников Алексей Владимирович
RU2266100C2
СПОСОБ КОМПЛЕКСНОГО ВОССТАНОВЛЕНИЯ И ПОДДЕРЖАНИЯ СОСТОЯНИЯ КОЖИ, ПОДКОЖНО-ЖИРОВОЙ КЛЕТЧАТКИ, МЫШЕЧНОЙ И СОЕДИНИТЕЛЬНОЙ ТКАНИ В КОСМЕТОЛОГИИ (ВАРИАНТЫ) 2015
  • Фаустова Екатерина Евгеньевна
RU2576788C1
Тренажер для дозированной противофазной пневмокомпрессии стоп ног и кистей рук человека 2018
  • Ладожский-Гапеенко Сергей Николаевич
  • Ладожская-Гапеенко Екатерина Евгеньевна
RU2700493C1
УСТРОЙСТВО ДЛЯ ДИАГНОСТИКИ И ЭЛЕКТРОТЕРАПИИ 1998
  • Марьяновский Л.С.
RU2139703C1
СПОСОБ ЛЕЧЕНИЯ ХРОНИЧЕСКИХ КОЛЬПИТА, ЦЕРВИЦИТА, ЭНДОМЕТРИТА, ЭНДОМИОМЕТРИТА, САЛЬПИНГИТА, ООФОРИТА И ИХ СОЧЕТАННЫХ ФОРМ 2007
  • Чураков Алексей Аркадьевич
RU2351306C1
ПРОГРАММНО-АППАРАТНЫЙ КОМПЛЕКС АРХИТЕКТУРЫ ЕДИНОЙ СЕРВЕРНОЙ ПЛАТФОРМЫ ДЛЯ ПОДСИСТЕМ ЦИФРОВЫХ ПОДСТАНЦИЙ 35 - 110 КВ С ИСПОЛЬЗОВАНИЕМ СРЕДСТВ ВИРТУАЛИЗАЦИИ 2020
  • Головин Александр Валерьевич
  • Аношин Алексей Олегович
  • Свистунов Никита Валерьевич
RU2762950C1

Иллюстрации к изобретению RU 2 840 098 C1

Реферат патента 2025 года Устройство комплексной аппаратной ипликаторной акупунктурно-акупрессурной электротерапии по методу А.Г. Салдаева

Изобретение относится к медицине и может быть использовано для лечения, реабилитации и ускоренного восстановления физических сил путем совмещения ипликаторной акупрессуры, прессотерапии и электроакупунктуры. Устройство комплексной аппаратной ипликаторной акупунктурно-акупрессурной электротерапии содержит полимерный корпус аппарата, в который встроен блок электропитания, блок пневмосистемы, состоящий из компрессора и блока управляемых пневмоклапанов, а также электронный блок управления генерацией импульсов электрического тока, общий электронный блок управления с набором управляющих программ и набор активных управляемых электрических ипликаторов - концентраторов давления. Каждый из концентраторов имеет полимерный корпус с воздействующими элементами в виде группы радиально расположенных заостренных выступов и возможностью закрепления его на теле человека выступами к поверхности тела с помощью удерживающего элемента в местах расположения заранее установленных биологически активных точек. На них расположены два не связанных между собой электрических контакта в виде токопроводящей металлической коронки и центрального наконечника. Каждый ипликатор-концентратор давления содержит от 7 до 9 выступов, расположенных по окружности радиусом 5-7 мм с центром в месте расположения центрального выступа, который выше остальных выступов на 2 мм. Каждый управляемый электрический ипликатор-концентратор давления соединен электрокабелем через коммутатор с электронным блоком управления генерацией импульсов электрического тока. Блок пневмосистемы соединен через воздуховод с набором сменных пневмоманжет для различных частей тела. На внешней стороне корпуса аппарата установлен тачскрин, связанный с общим электронным блоком управления. На передней части этого корпуса выполнена интерфейсная панель, в которой установлена ответная часть для разъема воздуховода, разъем для соединения с коммутатором и набор USB-портов. Техническим результатом изобретения является повышение лечебного воздействия на тело человека за счет улучшения состояния внутренних и внешних органов путем контролируемого комплексного механоэлектрического воздействия на конкретные (адресные) акупунктурные точки. 4 ил.

Формула изобретения RU 2 840 098 C1

Устройство комплексной аппаратной ипликаторной акупунктурно-акупрессурной электротерапии, содержащее полимерный корпус аппарата, в который встроен блок электропитания, блок пневмосистемы, состоящий из компрессора и блока управляемых пневмоклапанов, а также электронный блок управления генерацией импульсов электрического тока, общий электронный блок управления с набором управляющих программ и набор активных управляемых электрических ипликаторов - концентраторов давления, каждый из которых имеет полимерный корпус с воздействующими элементами в виде группы радиально расположенных заостренных выступов и возможностью закрепления его на теле человека выступами к поверхности тела с помощью удерживающего элемента в местах расположения заранее установленных биологически активных точек, отличающееся тем, что на них расположены два не связанных между собой электрических контакта в виде токопроводящей металлической коронки и центрального наконечника, причем каждый ипликатор-концентратор давления содержит от 7 до 9 выступов, расположенных по окружности радиусом 5-7 мм с центром в месте расположения центрального выступа, который выше остальных выступов на 2 мм, при этом каждый управляемый электрический ипликатор-концентратор давления соединен электрокабелем через коммутатор с электронным блоком управления генерацией импульсов электрического тока, блок пневмосистемы соединен через воздуховод с набором сменных пневмоманжет для различных частей тела, на внешней стороне корпуса аппарата установлен тачскрин, связанный с общим электронным блоком управления, а на передней части этого корпуса выполнена интерфейсная панель, в которой установлена ответная часть для разъема воздуховода, разъем для соединения с коммутатором и набор USB-портов.

Документы, цитированные в отчете о поиске Патент 2025 года RU2840098C1

ТЕРМОЭЛЕКТРИЧЕСКОЕ ПОЛУПРОВОДНИКОВОЕ УСТРОЙСТВО ДЛЯ ЛОКАЛЬНОГО МЕХАНИЧЕСКОГО И ТЕМПЕРАТУРНОГО ВОЗДЕЙСТВИЯ НА РЕФЛЕКТОРНЫЕ ЗОНЫ ЧЕЛОВЕЧЕСКОГО ОРГАНИЗМА 2004
  • Исмаилов Тагир Абдурашидович
  • Аминов Гарун Ильясович
  • Юсуфов Ширали Абдулкадиевич
  • Хазамова Мадина Абдулаевна
RU2299722C2
Устройство для закрепления лыж на раме мотоциклов и велосипедов взамен переднего колеса 1924
  • Шапошников Н.П.
SU2015A1
СПОСОБ УПРАВЛЕНИЯ УСИЛИЕМ АКУПРЕССУРЫ И СКАНИРОВАНИЕМ ТЕЛА В РЕАЛЬНОМ ВРЕМЕНИ 2016
  • Хан Сан Чхеол
  • Парк Чхан Су
  • Чхой Хуэй Вон
  • Сон Хан Рим
  • Паек Кеун Еун
RU2726475C1
НИТЕРАСКЛАДЫВАЮЩИЙ МЕХАНИЗМ ДЛЯ КРЕСТОМОТАЛЬНОЙ МАШИНЫ 0
SU175856A1

RU 2 840 098 C1

Авторы

Салдаев Алексей Геннадьевич

Даты

2025-05-16Публикация

2023-12-18Подача