[Область техники]
[1] Один или несколько вариантов осуществления изобретения относятся к устройству для генерирования аэрозоля, в частности, к устройству для генерирования аэрозоля, в котором воздух бесперебойно подают в изделие для генерирования аэрозоля.
[Предшествующий уровень техники]
[2] В последнее время возрос спрос на технологию, позволяющую заменить способ подачи аэрозоля при сжигании сигареты, известный на уровне техники. Например, проведены исследования способа получения ароматизирующих аэрозолей путем генерирования аэрозолей из жидкого или твердого материала для генерирования аэрозоля или образования пара из жидкого материала для генерирования аэрозоля и последующего пропускания пара через твердую ароматическую среду.
[3] Недавно в качестве альтернативы способу подачи аэрозоля путем сжигания сигареты было предложено изделие для генерирования аэрозоля, позволяющее генерировать аэрозоль путем нагрева изделия для генерирования аэрозоля. Например, устройство для генерирования аэрозоля может представлять собой устройство, способное генерировать аэрозоли путем нагревания жидкого или твердого материала для генерирования аэрозоля до определенной температуры с помощью нагревателя.
[4] Использование устройства для генерирования аэрозоля позволяет повысить удобство курения для пользователя, например, благодаря возможности курения без дополнительных изделий, таких как зажигалка, и возможности курения пользователем в течение любого времени. Таким образом, в настоящее время исследования устройств для генерирования аэрозоля постепенно расширяются. Так в качестве ближайшего аналога может быть рассмотрен объект KR 20180070454.
[Сущность изобретения]
[Техническая задача]
[5] Для эффективного распыления в устройстве для генерирования аэрозоля воздух должен бесперебойно поступать в изделие для генерирования аэрозоля, помещенное в такое устройство.
[6] В различных вариантах осуществления изобретения предложено устройство для генерирования аэрозоля с улучшенными характеристиками распыления, обеспечиваемыми бесперебойной подачей воздуха в изделие для генерирования аэрозоля, помещенное в такое устройство.
[7] Кроме того, в одном или нескольких вариантах осуществления изобретения предложено устройство для генерирования аэрозоля, способное точно распознавать изменение потока воздуха.
[8] Технические задачи настоящего изобретения не ограничены вышеприведенным описанием, и специалист в данной области техники сможет понять другие технические задачи на основании описаных ниже вариантов осуществления изобретения.
[Техническое решение]
[9] Устройство для генерирования аэрозоля согласно одному из вариантов осуществления изобретения может содержать корпус, содержащий пространство для размещения, предназначенное для размещения изделия для генерирования аэрозоля, и опору со стороны впускного отверстия, расположенную в отверстии пространства для размещения и содержащую по меньшей мере один опорный корпус для поддержки изделия для генерирования аэрозоля и приточный канал, выполненный с возможностью приема воздуха снаружи корпуса, причем ширина приточного канала уменьшается по направлению к внутренней части пространства для размещения.
[Полезные эффекты изобретения]
[10] Устройство для генерирования аэрозоля согласно различным вариантам осуществления изобретения может улучшать характеристики распыления за счет эффективного введения потока воздуха.
[11] Кроме того, поскольку устройство для генерирования аэрозоля согласно различным вариантам осуществления изобретения содержит усовершенствованный канал для потока воздуха, устройство для генерирования аэрозоля может точно распознавать изменение потока воздуха.
[12] Эффекты настоящего изобретения не ограничены описанными выше эффектами, и неуказанные эффекты будут понятны специалисту в данной области техники из настоящего описания и приложенных чертежей.
[Описание чертежей]
[13] На ФИГ. 1 в аксонометрии изображено устройство для генерирования аэрозоля согласно одному из вариантов осуществления изобретения.
[14] На ФИГ. 2 изображен разрез части устройства для генерирования аэрозоля согласно варианту осуществления изобретения, изображенному на ФИГ. 1.
[15] На ФИГ. 3 изображен увеличенный разрез некоторых компонентов устройства для генерирования аэрозоля согласно варианту осуществления изобретения, изображенному на ФИГ. 1.
[16] На ФИГ. 4 в плане изображено устройство для генерирования аэрозоля согласно варианту осуществления изобретения, изображенному на ФИГ. 1.
[17] На ФИГ. 5 изображен вид в аксонометрии опорного узла со стороны впускного отверстия, установленного на устройстве для генерирования аэрозоля согласно варианту осуществления изобретения, изображенному на ФИГ. 1.
[18] На ФИГ. 6 изображен покомпонентный вид, схематично иллюстрирующий компоненты опорного узла со стороны впускного отверстия, изображенного на ФИГ. 5.
[19] На ФИГ. 7 в плане изображен опорный узел со стороны впускного отверстия, изображенный на ФИГ. 5.
[20] На ФИГ. 8 изображен разрез сбоку опорного узла со стороны впускного отверстия, изображенного на ФИГ. 5.
[21] На ФИГ. 9 изображен вид в аксонометрии опорного узла со стороны впускного отверстия, установленного на устройстве для генерирования аэрозоля согласно другому варианту осуществления изобретения.
[22] На ФИГ. 10 изображен вид в аксонометрии опорного узла со стороны впускного отверстия, установленного на устройстве для генерирования аэрозоля согласно другому варианту осуществления изобретения.
[23] На ФИГ. 11 изображен вид в аксонометрии опорного узла со стороны впускного отверстия, установленного на устройстве для генерирования аэрозоля согласно другому варианту осуществления изобретения.
[24] На ФИГ. 12 изображен вид в аксонометрии опорного узла со стороны впускного отверстия, установленного на устройстве для генерирования аэрозоля согласно другому варианту осуществления изобретения.
[25] На ФИГ. 13 в плане изображена часть опорного узла со стороны впускного отверстия, изображенного на ФИГ. 12.
[26] На ФИГ. 14 изображен вид в аксонометрии опорного узла со стороны впускного отверстия, установленного на устройстве для генерирования аэрозоля согласно другому варианту осуществления изобретения.
[27] На ФИГ. 15 изображен вид в аксонометрии опорного узла со стороны впускного отверстия, установленного на устройстве для генерирования аэрозоля согласно другому варианту осуществления изобретения.
[28] На ФИГ. 16 в плане изображена часть опорного узла со стороны впускного отверстия, изображенного на ФИГ. 15.
[29] На ФИГ. 17 изображен разрез сбоку опорного узла со стороны впускного отверстия, изображенного на ФИГ. 15.
[30] На ФИГ. 18 изображен вид в аксонометрии опорного узла со стороны впускного отверстия, установленного на устройстве для генерирования аэрозоля согласно другому варианту осуществления изобретения.
[31] На ФИГ. 19 изображен вид в аксонометрии опорного узла со стороны впускного отверстия, установленного на устройстве для генерирования аэрозоля согласно другому варианту осуществления изобретения.
[32] На ФИГ. 20 изображен вид в аксонометрии опорного узла со стороны впускного отверстия, установленного на устройстве для генерирования аэрозоля согласно другому варианту осуществления изобретения.
[33] На ФИГ. 21 изображен вид в аксонометрии опорного узла со стороны впускного отверстия, установленного на устройстве для генерирования аэрозоля согласно другому варианту осуществления изобретения.
[34] На ФИГ. 22 в плане изображена часть опорного узла со стороны впускного отверстия, изображенного на ФИГ. 21.
[35] На ФИГ. 23 изображен разрез сбоку опорного узла со стороны впускного отверстия, изображенного на ФИГ. 21, в который вставлено изделие для генерирования аэрозоля; и
[36] На ФИГ. 24 изображена блок-схема устройства для генерирования аэрозоля согласно одному из вариантов осуществления изобретения.
[Принцип изобретения]
[37] Что касается терминов, используемых для описания различных вариантов осуществления изобретения, общие термины, которые в настоящее время широко используются, выбраны с учетом функций структурных элементов в различных вариантах осуществления изобретения. Тем не менее, значения терминов могут быть изменены в зависимости от намерений, судебного прецедента, появления новых технологий и им подобных. Кроме того, в некоторых случаях термины могут быть выбраны заявителем произвольно. В таком случае значение таких терминов будет подробно описано в соответствующей части описания настоящего изобретения. Следовательно, термины, использованные в различных вариантах осуществления настоящего изобретения, следует понимать согласно значениям и объяснениям, приведенным в описании настоящего изобретения.
[38] При этом, если прямо не указано обратное, слово «содержать» и его формы, такие как «содержит» или «содержащий», будет пониматься как подразумевающее включение указанных элементов в состав чего-либо, но не как исключение любых других элементов. Кроме того, термины, обозначающие «блок», «часть» и «модуль», представленные в описании изобретения, означают блоки для обработки по меньшей мере одной функции и операции и могут быть реализованы компонентами аппаратного или программного обеспечения, а также их комбинациями.
[39] В данном случае, когда выражение типа «по меньшей мере один» стоит перед упорядоченными элементами, оно изменяет все элементы, а не каждый упорядоченный элемент. Например, выражение «по меньшей мере одно из a, b и с» следует толковать как включающее а, b, с, или а и b, а и с, b и с, или a, b и с.
[40] В одном из вариантов осуществления изобретения устройство для генерирования аэрозоля может быть выполнено как устройство, генерирующее аэрозоль путем электрического нагрева сигареты, размещенной в его внутреннем пространстве.
[41] Устройство для генерирования аэрозоля может содержать нагреватель. В одном из вариантов осуществления изобретения нагреватель может представлять собой электрорезистивный нагреватель. Например, нагреватель может содержать электропроводящую дорожку, и нагреватель может нагреваться, когда по электропроводящей дорожке протекает электрический ток.
[42] Нагреватель может содержать трубчатый нагревательный элемент, пластинчатый нагревательный элемент, игольчатый или стержневой нагревательный элемент и может нагревать внутреннюю или внешнюю часть сигареты в соответствии с формой нагревательного элемента.
[43] Сигарета может содержать табачный стержень и фильтрующий стержень. Табачный стержень может быть сформирован в виде листов, нитей и мелких кусочков, вырезанных из табачного листа. Кроме того, табачный стержень может быть окружен теплопроводящим материалом. Например, теплопроводящим материалом может служить металлическая фольга, например алюминиевая фольга, а также другие материалы.
[44] Фильтрующий стержень может содержать фильтр из ацетата целлюлозы. Фильтрующий стержень может содержать по меньшей мере один сегмент. Например, фильтрующий стержень может содержать первый сегмент, выполненный с возможностью охлаждения аэрозоля, и второй сегмент, выполненный с возможностью фильтрации определенного содержащегося в аэрозоле компонента.
[45] В другом варианте осуществления изобретения устройство для генерирования аэрозоля может представлять собой устройство, генерирующее аэрозоль с помощью картриджа, содержащего материал для генерирования аэрозоля.
[46] Устройство для генерирования аэрозоля может содержать картридж, содержащий материал для генерирования аэрозоля и основной корпус, поддерживающий картридж. Картридж может быть соединен с основным корпусом с возможностью разъединения, но возможны и другие варианты. Картридж может быть выполнен как единое целое с основным корпусом или собран с основным корпусом, и может быть закреплен на основном корпусе таким образом, чтобы пользователь не мог отсоединить его от основного корпуса. Картридж может быть установлен на основном корпусе так, чтобы материал для генерирования аэрозоля находился внутри него. Тем не менее, описание изобретения этим не ограничено. Материал для генерирования аэрозоля может быть введен в картридж, когда картридж соединен с основным корпусом.
[47] Картридж может содержать материал для генерирования аэрозоля, находящийся, например, в жидком, твердом, газообразном или гелеобразном состоянии. Материал для генерирования аэрозоля может представлять собой жидкую композицию. Например, жидкая композиция может представлять собой жидкость с содержанием табачного материала, в который входит летучий компонент табачного ароматизатора или жидкость с содержанием нетабачного материала.
[48] Картридж может управляться электрическим сигналом или радиосигналом, переданным от основного корпуса, для выполнения функции генерирования аэрозоля путем преобразования материала для генерирования аэрозоля внутри картриджа в газовую фазу. Аэрозоль может представлять собой газ, в котором испаренные частицы материала для генерирования аэрозоля смешаны с воздухом.
[49] В другом варианте осуществления изобретения устройство для генерирования аэрозоля может генерировать аэрозоль путем нагревания жидкой композиции, и сгенерированный аэрозоль может поступать к пользователю через сигарету. То есть, сгенерированный из жидкой композиции аэрозоль может перемещаться вдоль канала для потока воздуха в устройстве для генерирования аэрозоля, и канал для потока воздуха может быть выполнен с возможностью пропускания аэрозоля к пользователю через сигарету.
[50] В другом варианте осуществления изобретения устройство для генерирования аэрозоля может представлять собой устройство, генерирующее аэрозоль из материала для генерирования аэрозоля с помощью ультразвуковых колебаний. В настоящее время под способом ультразвуковых колебаний может пониматься способ генерирования аэрозоля путем распыления материала для генерирования аэрозоля с помощью ультразвуковых колебаний, генерируемых источником колебаний.
[51] Устройство для генерирования аэрозоля может содержать источник колебаний и может создавать короткопериодные колебания с помощью источника колебаний для преобразования материала для генерирования аэрозоля в аэрозоли. Колебания, создаваемые источником колебаний, могут представлять собой ультразвуковые колебания, причем частотный диапазон ультразвуковых колебаний может составлять примерно от 100 кГц до 3,5 МГц; также возможны другие варианты.
[52] Устройство для генерирования аэрозоля может дополнительно содержать фитиль, впитывающий материал для генерирования аэрозоля. Например, фитиль может быть расположен с возможностью окружения по меньшей мере одного участка источника колебаний или с возможностью контакта по меньшей мере с одним участком источника колебаний.
[53] Когда на источник колебаний подают напряжение (например, переменное напряжение), источник колебаний может генерировать тепло и/или ультразвуковые колебания, и тепло и/или ультразвуковые колебания, генерируемые источником колебаний, могут быть переданы на впитанный фитилем материал для генерирования аэрозоля. Впитанный фитилем материал для генерирования аэрозоля может быть переведен в газовую фазу под воздействием передаваемого от источника колебаний тепла и/или ультразвуковых колебаний, что позволяет генерировать аэрозоль.
[54] Например, вязкость впитанного фитилем материала для генерирования аэрозоля может быть снижена под воздействием генерируемого источником колебаний тепла, и материал для генерирования аэрозоля с пониженной вязкостью может быть гранулирован под действием ультразвуковых колебаний, создаваемых источником колебаний, что позволяет генерировать аэрозоль; также возможны другие варианты.
[55] В другом варианте осуществления изобретения устройство для генерирования аэрозоля может представлять собой устройство, генерирующее аэрозоль путем индукционного нагрева размещенного в нем изделия для генерирования аэрозоля.
[56] Устройство для генерирования аэрозоля может содержать токоприемник и катушку. В одном из вариантов осуществления изобретения катушка может прилагать магнитное поле к токоприемнику. Когда питание подают на катушку от устройства для генерирования аэрозоля, внутри катушки может быть сформировано магнитное поле. В одном из вариантов осуществления изобретения токоприемник может представлять собой магнитное тело, генерирующее тепло под воздействием внешнего магнитного поля. При размещении токоприемника внутри катушки и приложении к нему магнитного поля токоприемник выделяет тепло для нагрева изделия для генерирования аэрозоля. Кроме того, опционально, токоприемник может быть расположен внутри изделия для генерирования аэрозоля.
[57] В другом варианте осуществления изобретения устройство для генерирования аэрозоля может дополнительно содержать подставку.
[58] Устройство для генерирования аэрозоля может образовывать систему с отдельной подставкой. Например, подставка может заряжать аккумулятор устройства для генерирования аэрозоля. В альтернативном варианте осуществления изобретения нагреватель может нагреваться при соединении подставки и устройства для генерирования аэрозоля друг с другом.
[59] Предложенное ниже изобретение будет описано более полно со ссылкой на прилагаемые чертежи, на которых варианты осуществления настоящего изобретения изображены таким образом, чтобы специалистам обычной квалификации в данной области техники было легко разобраться в настоящем изобретении. Изобретение может быть реализовано в формах, которые могут быть реализованы в устройствах для генерирования аэрозоля в соответствии с различными вариантами осуществления изобретения, описанными выше, или может быть реализовано в различных формах и не ограничивается вариантами осуществления изобретения, описанными в настоящем документе.
[60] Далее будут подробно описаны некоторые варианты осуществления настоящего изобретения со ссылкой на прилагаемые чертежи.
[61] На ФИГ. 1 в аксонометрии изображено устройство для генерирования аэрозоля согласно одному из вариантов осуществления изобретения.
[62] Как показано на ФИГ. 1, устройство 10 для генерирования аэрозоля согласно одному из вариантов осуществления изобретения может содержать корпус 100, в который может быть вставлено изделие 20 для генерирования аэрозоля.
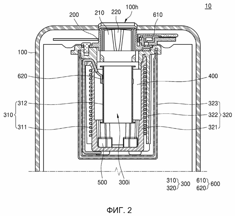
[63] Корпус 100 может определять внешнюю форму устройства 10 для генерирования аэрозоля и может содержать внутреннее пространство (или «пространство для размещения»), в котором могут быть расположены компоненты устройства 10 для генерирования аэрозоля. Хотя на чертеже корпус 100 показан как имеющий полукруглое сечение, форма корпуса 100 не ограничивается этим вариантом. Например, корпус 100 может иметь по существу цилиндрическую форму или образовывать многоугольную стойку (например, треугольную или четырехугольную стойку).
[64] Компоненты для генерирования аэрозоля путем нагрева изделия 20 для генерирования аэрозоля, вставленного в корпус 100, и компоненты для распознавания затяжки пользователя могут быть расположены во внутреннем пространстве корпуса 100 и будут подробно описаны ниже.
[65] Согласно одному из вариантов осуществления изобретения корпус 100 может содержать отверстие 100h, через которое изделие 20 для генерирования аэрозоля может быть вставлено во внутреннюю часть корпуса 100. По меньшей мере часть изделия 20 для генерирования аэрозоля может быть вставлена во внутреннюю часть корпуса 100 или размещена в ней через отверстие 100h.
[66] Изделие 20 для генерирования аэрозоля, вставленное или размещенное во внутренней части корпуса 100, может нагреваться внутри корпуса 100, что позволяет генерировать аэрозоль. Пользователь может вдыхать аэрозоль, выпускаемый из изделия 20 для генерирования аэрозоля.
[67] Устройство 10 для генерирования аэрозоля может дополнительно содержать дисплей D, на котором отображается визуальная информация.
[68] Дисплей D может быть расположен таким образом, чтобы по меньшей мере часть поверхности дисплея D была открыта наружу из корпуса 100. Устройство 10 для генерирования аэрозоля может предоставлять пользователю различную визуальную информацию посредством дисплея D.
[69] Например, устройство 10 для генерирования аэрозоля может предоставлять информацию о том, выполнил ли пользователь затяжку, и/или информацию о количестве оставшихся затяжек вставленного изделия 20 для генерирования аэрозоля посредством дисплея D, причем информация, предоставляемая посредством дисплея D, может быть изменена различными способами.
[70] На ФИГ. 2 изображен разрез части устройства для генерирования аэрозоля согласно варианту осуществления изобретения, изображенному на ФИГ. 1. На ФИГ. 2 изображен разрез устройства 10 для генерирования аэрозоля, изображенного на ФИГ. 1, выполненный по линии I-I.
[71] Как показано на ФИГ. 2, устройство 10 для генерирования аэрозоля согласно одному из вариантов осуществления изобретения может содержать корпус 100, опорный узел 200 со стороны впускного отверстия, узел 300 нагревателя, канал 400 для потока воздуха, опорный узел 500 концевой части и датчик 600.
[72] Корпус 100 может определять внешнюю форму устройства 10 для генерирования аэрозоля и может содержать внутреннее пространство, в котором могут быть расположены компоненты устройства 10 для генерирования аэрозоля. Например, опорный узел 200 со стороны впускного отверстия, узел 300 нагревателя, канал 400 для потока воздуха, опорный узел 500 концевой части и датчик 600 могут быть расположены во внутреннем пространстве корпуса 100, но варианты осуществления изобретения не ограничиваются компонентами, расположенными во внутреннем пространстве корпуса 100.
[73] Согласно одному из вариантов осуществления изобретения корпус 100 может содержать отверстие 100h, и по меньшей мере часть изделия для генерирования аэрозоля может быть вставлена (или размещена) во внутренней части корпуса 100 через отверстие 100h. Хотя отверстие 100h показано на чертеже в области верхней части корпуса 100, исполнение отверстия 100h не ограничивается этим вариантом.
[74] Опорный узел 200 со стороны впускного отверстия может находиться внутри отверстия 100h корпуса 100 и поддерживать по меньшей мере часть изделия для генерирования аэрозоля, вставленного во внутреннюю часть корпуса 100. Кроме того, опорный узел 200 со стороны впускного отверстия может пропускать воздух, находящийся снаружи устройства 10 для генерирования аэрозоля, в устройство 10 для генерирования аэрозоля.
[75] Опорный узел 200 со стороны впускного отверстия может содержать опорный корпус 210, поддерживающий по меньшей мере часть изделия для генерирования аэрозоля, и приточный канал 220, по которому воздух снаружи корпуса 100 поступает во внутреннюю часть корпуса 100.
[76] Узел 300 нагревателя может находиться во внутреннем пространстве корпуса 100. Узел 300 нагревателя может генерировать аэрозоль путем нагрева изделия для генерирования аэрозоля, вставленного во внутреннюю часть корпуса 100.
[77] Узел 300 нагревателя может содержать нагреватель 310, генерирующий тепло при подаче питания. Нагреватель 310 может содержать пространство 300i для размещения, предназначенное для размещения по меньшей мере части изделия для генерирования аэрозоля, вставленного во внутреннюю часть корпуса 100. По меньшей мере одна область изделия для генерирования аэрозоля, размещенная в пространстве 300i для размещения, может нагреваться нагревателем 310. Изделие для генерирования аэрозоля может нагреваться, и испаренные частицы, генерируемые из изделия для генерирования аэрозоля, могут быть смешаны с воздухом во внутреннем пространстве корпуса 100 для генерирования аэрозоля.
[78] Нагреватель 310 может нагревать, по меньшей мере, одну область изделия для генерирования аэрозоля, размещенного в пространстве 300i для размещения, способом индукционного нагрева с применением катушки 311 и токоприемника 312.
[79] Катушка 311 может быть расположена вокруг внешней периферийной поверхности токоприемника 312 и может генерировать переменное магнитное поле за счет питания от аккумулятора.
[80] Токоприемник 312 может быть расположен вокруг по меньшей мере части внешней периферийной поверхности изделия для генерирования аэрозоля, размещенного в пространстве 300i для размещения. Токоприемник 312 может нагревать изделие для генерирования аэрозоля, размещенное в пространстве 300i для размещения, путем генерирования тепла под действием переменного магнитного поля, создаваемого катушкой 311.
[81] В другом примере узла 300 нагревателя узел 300 нагревателя может содержать электрорезистивный нагреватель. Например, узел 300 нагревателя может содержать пленочный нагреватель, расположенный вокруг по меньшей мере части внешней периферийной поверхности изделия для генерирования аэрозоля, вставленного во внутреннюю часть корпуса 100. Пленочный нагреватель может содержать электропроводящую дорожку, и когда по электропроводящей дорожке протекает ток, пленочный нагреватель может генерировать тепло для нагрева изделия для генерирования аэрозоля, вставленного в корпус 100.
[82] В другом примере узла 300 нагревателя узел 300 нагревателя может содержать игольчатый и/или стержневой и/или трубчатый нагреватель, способный нагревать внутреннюю часть изделия для генерирования аэрозоля, вставленного в корпус 100. Вышеописанный нагреватель может быть вставлен, например, по меньшей мере в одну область изделия для генерирования аэрозоля для нагрева внутренней части изделия для генерирования аэрозоля.
[83] Варианты осуществления изобретения не ограничены этим способом реализации нагревателя, и нагреватель может быть модифицирован в различные формы при условии возможности нагрева изделия для генерирования аэрозоля до заданной температуры. Согласно изобретению, «заданная температура» может означать температуру, при которой материал для генерирования аэрозоля, входящий в состав изделия для генерирования аэрозоля, может быть нагрет для генерирования аэрозоля. Заданная температура может быть задана в устройстве 10 для генерирования аэрозоля. В альтернативном варианте заданная температура может быть изменена в зависимости от типа устройства 10 для генерирования аэрозоля и/или действий пользователя.
[84] Узел 300 нагревателя может дополнительно содержать теплоизолирующую структуру 320 для герметизации нагревателя 310.
[85] Теплоизолирующая структура 320 может предотвращать передачу тепла, генерируемого нагревателем 310, на внешнюю периферийную поверхность корпуса 100, герметизируя нагреватель 310. Даже когда температура нагревателя 310 поддерживается высокой, теплоизолирующая структура 320 может предотвращать передачу тепла высокой температуры на тело (например, ладонь) пользователя, удерживающего корпус 100.
[86] Теплоизолирующая структура 320 может быть закрыта узлом уплотнения. Узел уплотнения позволяет предотвратить утечку капель, образующихся в процессе генерирования аэрозоля, наружу из узла 300 нагревателя, герметизируя пространство, в котором расположен нагреватель 310. Узел уплотнения может предотвращать выход из строя или повреждение компонентов устройства 10 для генерирования аэрозоля каплями.
[87] Теплоизолирующая структура 320 может содержать первый теплоизолирующий корпус 321, второй теплоизолирующий корпус 322 и внешний теплоизолирующий корпус 323 с двойной стенкой.
[88] Первый теплоизолирующий корпус 321 может находиться снаружи токоприемника 312.
[89] Второй теплоизолирующий корпус 322 расположен таким образом, чтобы он был соединен с верхним концом первого теплоизолирующего корпуса 321 и окружал часть внешней поверхности первого теплоизолирующего корпуса 321.
[90] Внешний теплоизолирующий корпус 323 находится снаружи второго теплоизолирующего корпуса 322 и имеет двойную стенку.
[91] Токоприемник 312 может быть расположен во внутреннем пространстве, образованном первым теплоизолирующим корпусом 321 и вторым теплоизолирующим корпусом 322.
[92] Второй теплоизолирующий корпус 322 может быть соединен, по меньшей мере, с одной областью верхнего конца первого теплоизолирующего корпуса 321, но конструкция соединения второго теплоизолирующего корпуса 322 и первого теплоизолирующего корпуса 321 не ограничивается этим вариантом. В другом примере первый теплоизолирующий корпус 321 и второй теплоизолирующий корпус 322 могут быть выполнены как единое целое.
[93] Канал 400 для потока воздуха находится между токоприемником 312 и первым теплоизолирующим корпусом 321 во внутреннем пространстве корпуса 100. Канал 400 для потока воздуха может быть реализован с возможностью передачи текучей среды между внешней стороной устройства 10 для генерирования аэрозоля и пространством 300i для размещения узла 300 нагревателя.
[94] Канал 400 для потока воздуха может быть расположен с возможностью соединения отверстия для потока воздуха в опорном узле 200 со стороны впускного отверстия с частью впуска воздуха опорного узла 500 концевой части в пространстве 300i для размещения в состоянии нахождения на некотором удалении от узла 300 нагревателя. Например, канал 400 для потока воздуха может быть расположен между катушкой 311 и токоприемником 312, окружая токоприемник 312, но форма канала 400 для потока воздуха не ограничивается таким вариантом расположения.
[95] Описанная выше конструкция канала 400 для потока воздуха позволяет соединить внешнюю сторону устройства 10 для генерирования аэрозоля с внутренней частью пространства 300i для размещения с возможностью передачи текучей среды.
[96] Опорный узел 500 концевой части может быть расположен в концевой части (например, нижней концевой части) пространства 300i для размещения и может поддерживать нижнюю и боковую часть изделия для генерирования аэрозоля, вставленного во внутреннюю часть корпуса 100.
[97] Опорный узел 500 концевой части может быть расположен в виде независимого элемента в нижней концевой части пространства 300i для размещения для поддержки изделия для генерирования аэрозоля. Опорный узел 500 концевой части может быть выполнен как единое целое с пространством 300i для размещения в нижней концевой части пространства 300i для размещения путем деформации опорного узла 500 концевой части.
[98] Когда изделие для генерирования аэрозоля вставлено в пространство 300i для размещения, воздух в канале 400 для потока воздуха может поступать в изделие для генерирования аэрозоля через опорный узел 500 концевой части.
[99] Датчик 600 может быть расположен во внутреннем пространстве корпуса 100 и распознавать затяжку пользователя или изменение температуры нагревателя 310.
[100] Датчик 600 может содержать датчик 610 затяжки для распознавания изменения давления. Датчик 610 затяжки может распознавать изменение давления в канале 400 для потока воздуха в соответствии с затяжкой пользователя.
[101] Датчик 600 может содержать датчик 620 температуры для распознавания изменения температуры. Датчик 620 температуры может распознавать изменение температуры нагревателя 310 во время работы нагревателя 310.
[102] Датчик 610 затяжки может быть расположен рядом с опорным узлом 200 со стороны впускного отверстия. Датчик 620 температуры может быть расположен рядом с токоприемником 312 во внутреннем пространстве. Положение датчика 620 температуры и датчика 610 затяжки может быть изменено различным образом.
[103] На ФИГ. 3 изображен увеличенный вид в разрезе некоторых компонентов устройства для генерирования аэрозоля согласно одному из вариантов осуществления изобретения, причем схема иллюстрирует процесс движения воздуха в соответствии с затяжкой пользователя в устройстве для генерирования аэрозоля.
[104] На ФИГ. 3 детально изображен разрез узла 300 нагревателя устройства 10 для генерирования аэрозоля, изображенного на ФИГ. 2.
[105] В дальнейшем подробная конфигурация узла 300 нагревателя устройства 10 для генерирования аэрозоля и движение воздуха в соответствии с затяжкой пользователя будут описаны со ссылкой на ФИГ. 3.
[106] Как показано на ФИГ. 3, устройство 10 для генерирования аэрозоля согласно одному из вариантов осуществления изобретения может содержать корпус 100, опорный узел 200 со стороны впускного отверстия, узел 300 нагревателя, канал 400 для потока воздуха, опорный узел 500 концевой части и датчик 600. По меньшей мере один из компонентов устройства 10 для генерирования аэрозоля согласно одному из вариантов осуществления изобретения может соответствовать или быть аналогичен по меньшей мере одному из компонентов устройства 10 для генерирования аэрозоля, изображенного на ФИГ. 2, и повторное описание будет опущено.
[107] В одном из вариантов осуществления изобретения при контакте рта пользователя с изделием 20 для генерирования аэрозоля и выполнении затяжки может возникать разность давлений между внешней стороной устройства 10 для генерирования аэрозоля и внутренним пространством корпуса 100, что обеспечивает поступление внешнего воздуха во внутреннюю часть корпуса 100 через опорный узел 200 со стороны впускного отверстия.
[108] Внешний воздух, поступающий внутрь корпуса 100, может проходить через приточный канал 220 опорного узла 200 со стороны впускного отверстия и достигать канала 400 для потока воздуха, проходя через отверстие 400h для потока воздуха.
[109] Воздух, прошедший по каналу 400 для потока воздуха, может достигать части 500i впуска потока воздуха в опорном узле 500 концевой части.
[110] Воздух, достигший части 500i впуска потока воздуха, принимает U-образную форму вдоль опорного узла 500 концевой части и проходит через часть 500е выпуска воздуха, чтобы поступить в концевую часть изделия 20 для генерирования аэрозоля, вставленного в пространство 300i для размещения (см. ФИГ. 2).
[111] Воздух, поступающий в пространство 300i для размещения (см. ФИГ. 2) может быть смешан с испаренными частицами, образующимися при нагревании изделия 20 для генерирования аэрозоля, в целях генерирования аэрозоля. Пользователь может вдыхать аэрозоль, генерируемый в пространстве 300i для размещения (см. ФИГ. 2), посредством затяжки при вдыхании изделия 20 для генерирования аэрозоля.
[112] На ФИГ. 4 в плане изображено устройство для генерирования аэрозоля согласно одному из вариантов осуществления изобретения.
[113] На ФИГ. 4 в плане изображен корпус 100, в который вставлено изделие 20 для генерирования аэрозоля, и опорный узел 200 со стороны впускного отверстия в устройстве 10 для генерирования аэрозоля, изображенном на ФИГ. 2.
[114] Как показано на ФИГ. 4, устройство 10 для генерирования аэрозоля может содержать корпус 100 и опорный узел 200 со стороны впускного отверстия. По меньшей мере один из компонентов устройства 10 для генерирования аэрозоля может соответствовать или быть аналогичен по меньшей мере одному из компонентов устройства 10 для генерирования аэрозоля, изображенного на ФИГ. 2, и повторное описание будет опущено.
[115] Опорный узел 200 со стороны впускного отверстия может быть расположен внутри отверстия 100h корпуса 100 и установлен на устройстве 10 для генерирования аэрозоля для поддержки изделия 20 для генерирования аэрозоля.
[116] На ФИГ. 5 в аксонометрии изображен опорный узел со стороны впускного отверстия, установленный на устройстве для генерирования аэрозоля согласно одному из вариантов осуществления изобретения.
[117] На ФИГ. 5 изображен увеличенный вид в аксонометрии опорного узла 200 со стороны впускного отверстия в устройстве 10 для генерирования аэрозоля, изображенном на ФИГ. 4.
[118] Как показано на ФИГ. 5, внутреннее пространство корпуса 100 может содержать пространство 300i для размещения, предназначенное для размещения изделия для генерирования аэрозоля. Опорный узел 200 со стороны впускного отверстия может быть расположен в концевой части (например, верхней концевой части) пространства 300i для размещения и быть открыт в направлении наружу из корпуса 100.
[119] Опорный узел 200 со стороны впускного отверстия может содержать по меньшей мере один опорный корпус 210 для поддержки по меньшей мере части изделия для генерирования аэрозоля и приточный канал 220, через который воздух снаружи корпуса 100 поступает внутрь пространства 300i для размещения.
[120] Опорный корпус 210 может соприкасаться, по меньшей мере, с частью внешней стороны изделия для генерирования аэрозоля, образуя опору изделия для генерирования аэрозоля. Соответственно, множество опорных корпусов может быть расположено в периферийном направлении пространства 300i для размещения таким образом, чтобы они соприкасались с внешней стороной изделия для генерирования аэрозоля. Когда изделие для генерирования аэрозоля вставлено в опорный узел 200 со стороны впускного отверстия, опорный узел 210 может соприкасаться с изделием для генерирования аэрозоля и одновременно образовывать приточный канал 220 между опорным узлом 200 со стороны впускного отверстия и изделием для генерирования аэрозоля. То есть приточный канал 220 может находиться между опорными корпусами 210.
[121] Приточный канал 220 пропускает воздух и может иметь ширину, уменьшающуюся по направлению к внутренней части пространства 300i для размещения от внешней стороны корпуса 100. Форма приточного канала 220 может обеспечивать два преимущества в отношении потока воздуха по сравнению с формой с постоянной шириной в продольном направлении корпуса 100, используемой на уровне техники.
[122] Во-первых, поскольку на всем протяжении приточного канала 220 площадь отверстия приточного канала 220, открытого наружу из корпуса 100, максимальна, достаточное количество внешнего воздуха может непрерывно поступать в пространство 300i для размещения. Эффективность распыления в устройстве 10 для генерирования аэрозоля можно улучшить благодаря структуре приточного канала 220.
[123] Во-вторых, размер приточного канала 220 уменьшается в направлении внутренней части пространства 300i для размещения от отверстия, открытого наружу из корпуса 100. В связи с изменением размера приточного канала 220 скорость потока воздуха, проходящего через приточный канал 220, может изменяться. По мере изменения скорости потока воздуха изменяется давление воздуха в пространстве 300i для размещения, и датчик 610 затяжки (см. ФИГ. 2) может распознавать изменение давления воздуха. Контроллер может распознавать осуществление затяжки, при которой пользователь выполняет вдох, на основании распознавания изменения давления датчиком затяжки.
[124] Размер приточного канала 220 может уменьшаться в направлении внутренней части пространства 300i для размещения в продольном направлении корпуса 100. Один приточный канал 220 окружен опорными корпусами 210 в периферийном направлении пространства 300i для размещения. Размер опорного корпуса 210 может увеличиваться в направлении внутренней части пространства 300i для размещения в продольном направлении корпуса 100.
[125] Приточный канал 220 может иметь ширину, уменьшающуюся по направлению к внутренней части пространства 300i для размещения от внешней стороны корпуса 100. Конфигурация и форма опорного узла 200 со стороны впускного отверстия могут быть изменены различным образом.
[126] Приточный канал 220 между соседними опорными корпусами 210 содержит боковую стенку 220w, перекрытую в периферийном направлении пространства 300i для размещения опорным корпусом 210.
[127] Поскольку один приточный канал 220 окружен опорными корпусами 210 в периферийном направлении пространства 300i для размещения, боковая стенка 220w приточного канала 220 может представлять собой стенку на боковой поверхности, обращенной к опорному корпусу 210 в периферийном направлении пространства 300i для размещения.
[128] Боковая стенка 220w может быть ориентирована в продольном направлении корпуса 100 и наклонена в периферийном направлении пространства 300i для размещения. Благодаря наклону боковой стенки 220w размер приточного канала 220 может уменьшаться, и размер опорного корпуса 210 может увеличиваться в направлении внутренней части пространства 300i для размещения снаружи в продольном направлении корпуса 100. Варианты осуществления изобретения не ограничены такой формой боковой стенки, и форма боковой стенки 220 может быть изменена различным образом.
[129] Опорный узел 200 со стороны впускного отверстия содержит верхнюю концевую часть, обращенную наружу от корпуса 100, и нижнюю концевую часть, обращенную внутрь пространства 300i для размещения в продольном направлении корпуса 100. То есть опорный корпус 210 содержит верхнюю концевую часть 210и и нижнюю концевую часть 2101, и приточный канал 220 также содержит верхнюю концевую часть 220и и нижнюю концевую часть 2201.
[130] Длина приточного канала 220 в периферийном направлении пространства 300i для размещения от верхней концевой части 220и приточного канала 220 может превышать длину приточного канала 220 в периферийном направлении пространства 300i для размещения от нижней концевой части 2201 приточного канала 220. В отличие от длины приточного канала 220, длина опорного корпуса 210 в периферийном направлении пространства 300i для размещения от нижней концевой части 2101 опорного корпуса 210 может превышать длину опорного корпуса 210 в периферийном направлении пространства 300i для размещения от верхней концевой части 210и опорного корпуса 210.
[131] Соответственно, ширина приточного канала 220 может уменьшаться по направлению к внутренней части пространства 300i для размещения от внешней стороны корпуса 100, при этом конфигурация и форма опорного узла 200 со стороны впускного отверстия могут быть изменены различным образом.
[132] На ФИГ. 6 изображен покомпонентный вид, схематично иллюстрирующий компоненты опорного узла со стороны впускного отверстия, изображенного на ФИГ. 5.
[133] На ФИГ. 6 в плане схематично изображен опорный корпус 210, приточный канал 220 и отверстие 400h для потока воздуха в окружном направлении опорного узла 200 со стороны впускного отверстия.
[134] Как показано на ФИГ. 6, размер приточного канала 220 может уменьшаться, и размер опорного корпуса 210 может увеличиваться в направлении нижней концевой части от верхней концевой части на виде опорного узла 200 со стороны впускного отверстия в плане.
[135] Верхняя концевая часть в плане представляет собой внешнюю сторону корпуса 100, и нижняя концевая часть в плане представляет собой часть, обращенную внутрь пространства 300i для размещения (см. ФИГ. 2). Благодаря наклону боковой стенки 220w, описанному выше со ссылкой на ФИГ. 5, размер приточного канала 220 уменьшается в направлении внутренней части пространства 300i для размещения (см. ФИГ. 2) в продольном направлении корпуса 100.
[136] На ФИГ. 7 в плане изображен опорный узел со стороны впускного отверстия, изображенный на ФИГ. 5.
[137] На ФИГ. 7 в плане изображен только опорный узел 200 со стороны впускного отверстия, полученный путем отделения опорного узла 200 со стороны впускного отверстия от устройства 10 для генерирования аэрозоля, изображенного на ФИГ. 5.
[138] Как показано на ФИГ. 7, опорный узел 200 со стороны впускного отверстия может содержать соединительный узел для соединения опорного корпуса 210, приточного канала 220 и корпуса 100 друг с другом. Форма опорного узла 200 со стороны впускного отверстия может быть изменена различным образом.
[139] Благодаря наклону боковой стенки 220w размер приточного канала 220 может быть уменьшен в направлении внутренней части пространства 300i для размещения (см. ФИГ. 2) в продольном направлении корпуса 100. В отличие от формы приточного канала 220, размер опорного корпуса 210 может увеличиваться в направлении внутренней части пространства 300i для размещения (см. ФИГ. 2) в продольном направлении корпуса 100.
[140] Размеры опорного корпуса 210 и приточного канала 220 постоянны в радиальном направлении пространства 300i для размещения (см. ФИГ. 2). Тем не менее, варианты осуществления изобретения не ограничены формой приточного канала 220.
[141] На ФИГ. 8 изображен разрез сбоку опорного узла со стороны впускного отверстия, изображенного на ФИГ. 5.
[142] На ФИГ. 8 изображен разрез вдоль линии VIII-VIII, иллюстрирующий состояние, в котором опорный узел 200 со стороны впускного отверстия, изображенный на ФИГ. 7, установлен на устройство 10 для генерирования аэрозоля.
[143] Как показано на ФИГ. 8, боковая стенка 220w приточного канала 220 опорного элемента 200 со стороны впускного отверстия может быть наклонена в периферийном направлении пространства 300i для размещения (см. ФИГ. 2), ориентированного в продольном направлении корпуса 100.
[144] Например, вследствие наклона боковой стенки 220w, описанного выше со ссылкой на ФИГ. 5, форма приточного канала 220 уменьшается в сторону внутренней части пространства 300i для размещения (см. ФИГ. 2) в продольном направлении корпуса 100.
[145] На ФИГ. 9 изображен вид в аксонометрии опорного узла со стороны впускного отверстия, установленного на устройстве для генерирования аэрозоля, согласно другому варианту осуществления изобретения.
[146] На ФИГ. 9 в аксонометрии изображен опорный узел 200 со стороны впускного отверстия, в котором форма боковой стенки 220w приточного канала 220 изменена в продольном направлении корпуса 100 по сравнению с вариантом осуществления изобретения, изображенным на ФИГ. 5.
[147] Как показано на ФИГ. 5 и 9, приточные каналы 220 опорных узлов 200 со стороны впускного отверстия согласно варианту осуществления изобретения, изображенному на ФИГ. 5, и другому варианту осуществления изобретения, изображенному на ФИГ. 9, обычно могут иметь ширину, уменьшающуюся по направлению к внутренней части пространства 300i для размещения в продольном направлении корпуса 100.
[148] Боковая стенка 220w приточного канала 220 опорного узла 200 со стороны впускного отверстия согласно варианту осуществления изобретения, изображенному на ФИГ. 5, может быть ориентирована в продольном направлении корпуса 100 и образовывать непрерывную плоскость от концевой части (например, верхней концевой части) до другой концевой части (например, нижней концевой части) приточного канала 220.
[149] Боковая стенка 220w приточного канала 220 опорного узла 200 со стороны впускного отверстия согласно варианту осуществления изобретения, изображенному на ФИГ. 9, может содержать по меньшей мере одну плоскую или криволинейную поверхность для формирования дискретной формы (например, формы лестницы).
[150] На ФИГ. 10 изображен вид в аксонометрии опорного узла со стороны впускного отверстия, установленного на устройстве для генерирования аэрозоля, согласно другому варианту осуществления изобретения.
[151] На ФИГ. 10 в аксонометрии изображен опорный узел 200 со стороны впускного отверстия, в котором форма боковой стенки 220w приточного канала 220 изменена в продольном направлении корпуса 100 по сравнению с вариантом осуществления изобретения, изображенным на ФИГ. 5.
[152] Как показано на ФИГ. 5 и 10, приточные каналы 220 опорных узлов 200 со стороны впускного отверстия согласно варианту осуществления изобретения, изображенному на ФИГ. 5, и другому варианту осуществления изобретения, изображенному на ФИГ. 10, обычно могут иметь ширину, уменьшающуюся по направлению к внутренней части пространства 300i для размещения в продольном направлении корпуса 100.
[153] Боковая стенка 220w приточного канала 220 опорного узла 200 со стороны впускного отверстия согласно варианту осуществления изобретения, изображенному на ФИГ. 5, может быть ориентирована в продольном направлении корпуса 100 и линейно наклонена в периферийном направлении пространства 300i для размещения.
[154] Боковая стенка 220w приточного канала 220 опорного узла 200 со стороны впускного отверстия согласно варианту осуществления изобретения, изображенному на ФИГ. 10, может быть ориентирована в продольном направлении корпуса 100 и криволинейно наклонена в периферийном направлении пространства 300i для размещения.
[155] На ФИГ. 11 изображен вид в аксонометрии опорного узла со стороны впускного отверстия, установленного на устройстве для генерирования аэрозоля, согласно другому варианту осуществления изобретения.
[156] На ФИГ. 11 изображен вид в аксонометрии опорного узла 200 со стороны впускного отверстия, в котором форма наклона криволинейной стенки 220w изменена по сравнению с вариантом осуществления изобретения, изображенным на ФИГ. 10.
[157] Как показано на ФИГ. 10 и 11, приточные каналы 220 опорных узлов 200 со стороны впускного отверстия в двух вариантах осуществления изобретения могут иметь ширину, уменьшающуюся по направлению к внутренней части пространства 300i для размещения вследствие криволинейного наклона боковой стенки 220w приточного канала 220.
[158] Боковая стенка 220w приточного канала 220 согласно варианту осуществления изобретения, изображенному на ФИГ. 10, может проходить в продольном направлении корпуса 100 и образовывать наклон вогнутой криволинейной формы в периферийном направлении пространства 300i для размещения.
[159] Боковая стенка 220w приточного канала 220 согласно варианту осуществления изобретения, изображенному на ФИГ. 11, может проходить в продольном направлении корпуса 100 и образовывать наклон выпуклой криволинейной формы в периферийном направлении пространства 300i для размещения.
[160] На ФИГ. 12 изображен вид в аксонометрии опорного узла со стороны впускного отверстия, установленного на устройстве для генерирования аэрозоля, согласно другому варианту осуществления изобретения.
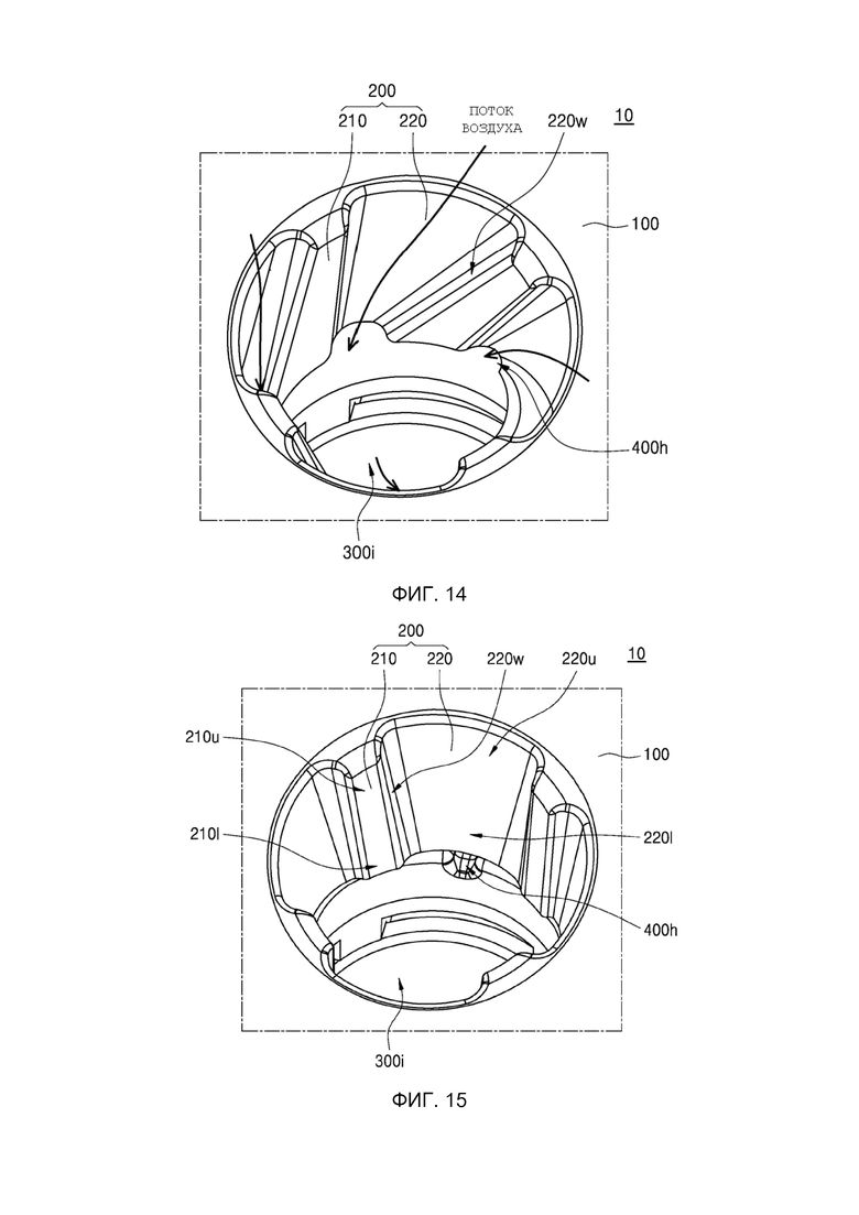
[161] На ФИГ. 12 в аксонометрии изображен опорный узел 200 со стороны впускного отверстия, в котором форма приточного канала 220 изменена в периферийном направлении пространства 300i для размещения (см. ФИГ. 2) по сравнению с вариантом осуществления изобретения, изображенным на ФИГ. 5.
[162] Как показано на ФИГ. 5 и 12, приточные каналы 220 опорных узлов 200 со стороны впускного отверстия согласно варианту осуществления изобретения, изображенному на ФИГ. 5, и другому варианту осуществления изобретения, изображенному на ФИГ. 12, обычно могут иметь ширину, уменьшающуюся по направлению к внутренней части пространства 300i для размещения в продольном направлении корпуса 100. Кроме того, приточный канал 220 может иметь форму, открытую в сторону изделия для генерирования аэрозоля, вставленного в устройство 10 для генерирования аэрозоля.
[163] Приточный канал 220 опорного узла 200 со стороны впускного отверстия согласно варианту осуществления изобретения, изображенному на ФИГ. 5, может содержать по меньшей мере одну плоскую или криволинейную поверхность между опорными корпусами 210 в периферийном направлении пространства 300i для размещения.
[164] Приточный канал 220 опорного узла 200 со стороны впускного отверстия согласно варианту осуществления изобретения, изображенному на ФИГ. 12, может иметь вогнутую форму между опорными корпусами 210 в периферийном направлении пространства 300i для размещения.
[165] На ФИГ. 13 в плане изображена часть опорного узла со стороны впускного отверстия, изображенного на ФИГ. 12.
[166] На ФИГ. 13 в плане изображена только часть опорного узла 200 со стороны впускного отверстия, полученная путем отделения опорного узла 200 со стороны впускного отверстия от устройства 10 для генерирования аэрозоля, изображенного на ФИГ. 12.
[167] Как показано на ФИГ. 13, опорный узел 200 со стороны впускного отверстия согласно другому варианту осуществления изобретения может иметь конструкцию, соответствующую опорному узлу 200 со стороны впускного отверстия согласно варианту осуществления изобретения, описанному выше со ссылкой на ФИГ. 7, и отличается формой приточного канала 220, описанного выше со ссылкой на ФИГ. 12.
[168] На ФИГ. 14 изображен вид в аксонометрии опорного узла со стороны впускного отверстия, установленного на устройстве для генерирования аэрозоля согласно другому варианту осуществления изобретения, который является схемой, иллюстрирующей движение воздуха в приточном канале.
[169] На ФИГ. 14 в аксонометрии изображен опорный узел 200 со стороны впускного отверстия, в котором форма приточного канала 220 отличается с точки зрения потока воздуха от варианта осуществления изобретения, изображенного на ФИГ. 5, на которой схематично показано изменение потока воздуха в зависимости от формы приточного канала 220.
[170] Как показано на ФИГ. 5 и 14, приточные каналы 220 опорных узлов 200 со стороны впускного отверстия согласно варианту осуществления изобретения, изображенному на ФИГ. 5, и другому варианту осуществления изобретения, изображенному на ФИГ. 14, могут обычно иметь ширину, уменьшающуюся по направлению к внутренней части пространства 300i для размещения в продольном направлении корпуса 100. Кроме того, приточный канал 220 может пропускать воздух снаружи корпуса 100 внутрь пространства 300i для размещения.
[171] Приточный канал 220 опорного узла 200 со стороны впускного отверстия согласно варианту осуществления изобретения, изображенному на ФИГ. 5, может иметь форму, вытянутую в продольном направлении корпуса 100, и пропускать вводимый воздух в продольном направлении корпуса 100.
[172] Приточный канал 220 опорного узла 200 со стороны впускного отверстия согласно варианту осуществления изобретения, изображенному на ФИГ. 14, может быть изогнут в периферийном направлении пространства 300i для размещения и ориентирован в продольном направлении корпуса 100.
[173] Благодаря своей изогнутой форме приточный канал 220 может направлять воздух, протекающий по приточному каналу 220, вокруг изделия для генерирования аэрозоля по вихревой схеме.
[174] На ФИГ. 15 изображен вид в аксонометрии опорного узла со стороны впускного отверстия, установленного на устройстве для генерирования аэрозоля, согласно другому варианту осуществления изобретения.
[175] На ФИГ. 15 в аксонометрии изображен опорный узел 200 со стороны впускного отверстия, в котором изменена форма приточного канала 220, ширина которого уменьшается к внутренней части пространства 300i для размещения, по сравнению с вариантами осуществления изобретения, изображенными на ФИГ. 5.
[176] Как показано на ФИГ. 5 и 15, приточные каналы 220 опорных узлов 200 со стороны впускного отверстия согласно варианту осуществления изобретения, изображенному на ФИГ. 5, и другому варианту осуществления изобретения, изображенному на ФИГ. 15, обычно могут иметь ширину, уменьшающуюся по направлению к внутренней части пространства 300i для размещения в продольном направлении корпуса 100. Иными словами, длина от приточного канала 220 в периферийном направлении пространства 300i для размещения может превышать длину от верхней концевой части 220и приточного канала 220 до нижней концевой части 2201 приточного канала 220.
[177] Опорный узел 200 со стороны впускного отверстия в соответствии с вариантом осуществления изобретения, изображенным на ФИГ. 5, может содержать приточный канал 220, ширина которого уменьшается по направлению к внутренней части пространства 300i для размещения вследствие наклона боковой стенки 220w, описанного выше со ссылкой на ФИГ. 5. Тем не менее, размеры опорного корпуса 210 и приточного канала 220 постоянны в радиальном направлении пространства 300i для размещения.
[178] Опорный узел 200 со стороны впускного отверстия в соответствии с вариантом осуществления изобретения, изображенным на ФИГ. 15, не имеет наклона боковой стенки 220w приточного канала 220 в периферийном направлении пространства 300i для размещения. Вместо этого в радиальном направлении пространства 300i для размещения ширина между нижней концевой частью 2201 приточного канала 220 и изделием для генерирования аэрозоля может быть меньше ширины между верхней концевой частью 220и приточного канала 220 и изделием для генерирования аэрозоля.
[179] Соответственно, приточный канал 220 опорного элемента 200 со стороны впускного отверстия согласно варианту осуществления изобретения, изображенному на ФИГ. 15, может иметь ширину, уменьшающуюся в направлении внутренней части пространства 300i для размещения вследствие разности в ширине между каждой частью приточного канала 220 и изделием 20 для генерирования аэрозоля, описанным выше.
[180] Размер опорного корпуса 210 постоянен в радиальном направлении пространства 300i для размещения. Тем не менее, варианты осуществления изобретения не ограничиваются формой опорного корпуса 210 и приточного канала 220, и форма опорного корпуса 210 и приточного канала 220 может быть изменена различным образом.
[181] На ФИГ. 16 в плане изображена часть опорного узла со стороны впускного отверстия, изображенного на ФИГ. 15.
[182] На ФИГ. 16 в плане изображена только часть опорного узла 200 со стороны впускного отверстия, полученная путем отделения опорного узла 200 со стороны впускного отверстия от устройства 10 для генерирования аэрозоля, изображенного на ФИГ. 15.
[183] Как показано на ФИГ. 16, опорный узел 200 со стороны впускного отверстия согласно другому варианту осуществления изобретения может содержать опорный корпус 210 и приточный канал 220. Форма опорного узла 200 со стороны впускного отверстия может быть изменена различным образом.
[184] В другом варианте осуществления изобретения, вследствие разницы в ширине между каждой частью приточного канала 220 и изделием для генерирования аэрозоля, описанным выше со ссылкой на ФИГ. 15, ширина приточного канала 220 может уменьшаться по направлению к внутренней части пространства 300i для размещения (см. ФИГ. 2).
[185] Размер опорного корпуса 210 постоянен в радиальном направлении пространства 300i для размещения (см. ФИГ. 2) и периферийном направлении пространства 300i для размещения (см. ФИГ. 2). Тем не менее, варианты осуществления изобретения не ограничены формой опорного корпуса 210 и приточного канала 220.
[186] На ФИГ. 17 изображен разрез сбоку опорного узла со стороны впускного отверстия, изображенного на ФИГ. 15. На ФИГ. 17 изображен разрез вдоль линии XVII-XVII, иллюстрирующий состояние, в котором опорный узел 200 со стороны впускного отверстия, изображенный на ФИГ. 16, установлен на устройстве 10 для генерирования аэрозоля, и изделие 20 для генерирования аэрозоля вставлено.
[187] Как показано на ФИГ. 17, в радиальном направлении пространства 300i для размещения согласно другому варианту осуществления изобретения ширина между нижней концевой частью 2201 приточного канала 220 и изделием 20 для генерирования аэрозоля может быть меньше ширины между верхней концевой частью 220и приточного канала 220 и изделием 20 для генерирования аэрозоля.
[188] Это может быть примером приточного канала 220, ширина которого уменьшается по направлению к внутренней части пространства 300i для размещения вследствие разности в ширине между каждой частью приточного канала 220 и изделием 20 для генерирования аэрозоля, описанной выше со ссылкой на ФИГ. 15.
[189] На ФИГ. 18 изображен вид в аксонометрии опорного узла со стороны впускного отверстия, установленного на устройстве для генерирования аэрозоля, согласно другому варианту осуществления изобретения.
[190] На ФИГ. 18 в аксонометрии изображен опорный узел 200 со стороны впускного отверстия, в котором форма поверхности приточного канала 220, обращенной к изделию для генерирования аэрозоля, вставленному в устройство 10 для генерирования аэрозоля, изменяется в продольном направлении корпуса 100 (см. ФИГ. 2) по сравнению с вариантом осуществления изобретения, изображенным на ФИГ. 15.
[191] Как показано на ФИГ. 15 и 18, приточные каналы 220 опорных узлов 200 со стороны впускного отверстия в двух вариантах осуществления изобретения могут иметь ширину, уменьшающуюся к внутренней части пространства 300i для размещения в продольном направлении корпуса 100.
[192] В радиальном направлении пространства 300i для размещения в соответствии с вариантом осуществления изобретения, изображенным на ФИГ. 15, ширина между концевой частью приточного канала 220 и изделием для генерирования аэрозоля непрерывно изменяется в продольном направлении корпуса 100.
[193] В варианте осуществления изобретения, изображенном на ФИГ. 18, вышеуказанная ширина в описанном выше направлении может дискретно изменяться в продольном направлении корпуса 100.
[194] На ФИГ. 19 изображен вид в аксонометрии опорного узла со стороны впускного отверстия, установленного на устройстве для генерирования аэрозоля, согласно другому варианту осуществления изобретения.
[195] На ФИГ. 19 в аксонометрии изображен опорный узел 200 со стороны впускного отверстия, в котором форма поверхности приточного канала 220, обращенной к изделию для генерирования аэрозоля, вставленному в устройство 10 для генерирования аэрозоля, изменяется в продольном направлении корпуса 100 (см. ФИГ. 2) по сравнению с вариантом осуществления изобретения, изображенным на ФИГ. 15.
[196] Как показано на ФИГ. 15 и 19, приточные каналы 220 опорных узлов 200 со стороны впускного отверстия в двух вариантах осуществления могут иметь ширину, уменьшающуюся к внутренней части пространства 300i для размещения в продольном направлении корпуса 100.
[197] В радиальном направлении пространства 300i для размещения в соответствии с вариантом осуществления изобретения, изображенным на ФИГ. 15, ширина между концевой частью приточного канала 220 и изделием для генерирования аэрозоля линейно изменяется в продольном направлении корпуса 100.
[198] В варианте осуществления изобретения, изображенном на ФИГ. 19, вышеуказанная ширина в описанном выше направлении может нелинейно изменяться в продольном направлении корпуса 100.
[199] На ФИГ. 20 изображен вид в аксонометрии опорного узла со стороны впускного отверстия, установленного на устройстве для генерирования аэрозоля, согласно другому варианту осуществления изобретения.
[200] На ФИГ. 20 изображен вид в аксонометрии опорного узла 200 со стороны впускного отверстия, в котором направление поверхности приточного канала 220 изогнуто, поверхность, обращенная к изделию для генерирования аэрозоля, вставленному в устройство 10 для генерирования аэрозоля, изменена по сравнению с вариантом осуществления изобретения, изображенным на ФИГ. 19.
[201] Как показано на ФИГ. 19 и 20, приточные каналы 220 опорных узлов 200 со стороны впускного отверстия в двух вариантах осуществления изобретения могут иметь ширину, уменьшающуюся к внутренней части пространства 300i для размещения в продольном направлении корпуса 100, вследствие нелинейного изменения ширины в продольном направлении корпуса 100.
[202] Поверхность приточного канала 220 в варианте осуществления изобретения, изображенном на ФИГ. 19, поверхность, обращенная к изделию для генерирования аэрозоля, может быть выпуклой.
[203] Поверхность, описанная выше в варианте осуществления изобретения, изображенном на ФИГ. 20, может быть вогнутой.
[204] На ФИГ. 21 изображен вид в аксонометрии опорного узла со стороны впускного отверстия, установленного на устройстве для генерирования аэрозоля, согласно другому варианту осуществления изобретения.
[205] На ФИГ. 21 в аксонометрии изображен опорный узел 200 со стороны впускного отверстия, в котором изменена форма приточного канала 220, ширина которого уменьшается к внутренней части пространства 300i для размещения, по сравнению с вариантами осуществления изобретения, изображенными на ФИГ. 5 и 15.
[206] Как показано на ФИГ. 21, приточный канал 220 опорного узла 200 со стороны впускного отверстия согласно другому варианту осуществления изобретения может иметь ширину, уменьшающуюся по направлению к внутренней части пространства 300i для размещения, как в вариантах осуществления изобретения, изображенных на ФИГ. 5 и 15.
[207] Опорный узел 200 со стороны впускного отверстия в соответствии с вариантом осуществления изобретения, изображенным на ФИГ. 21, не имеет наклона боковой стенки 220w приточного канала 220 в периферийном направлении пространства 300i для размещения, как показано на ФИГ. 15. Тем не менее, в отличие от варианта осуществления изобретения, изображенного на ФИГ. 15, толщина опорного корпуса 210 в радиальном направлении пространства 300i для размещения может изменяться в продольном направлении корпуса 100.
[208] В частности, в радиальном направлении пространства 300i для размещения толщина верхней концевой части 210и опорного корпуса 210 может быть меньше толщины нижней концевой части 2101 опорного корпуса 210.
[209] Поскольку верхняя концевая часть 210и опорного корпуса 210 не соприкасается с изделием для генерирования аэрозоля, между опорным корпусом 210 и изделием для генерирования аэрозоля образуется пространство. Пространство может представлять собой часть приточного канала 220.
[210] Приточный канал 220 между опорными корпусами 210 в периферийном направлении пространства 300i для размещения имеет постоянную ширину относительно изделия для генерирования аэрозоля в радиальном направлении пространства 300i для размещения.
[211] Приточный канал 220, образованный между опорным корпусом 210 и изделием для генерирования аэрозоля, может иметь ширину, уменьшающуюся по направлению к внутренней части пространства 300i для размещения, вследствие описанной выше разности в толщине опорного корпуса 210.
[212] Нижняя концевая часть 2101 опорного корпуса 210 может вступать в контакт с внешней стороной изделия для генерирования аэрозоля в степени, позволяющей поддерживать изделие для генерирования аэрозоля. Тем не менее, варианты осуществления изобретения не ограничиваются формой опорного корпуса 210 и приточного канала 220, и форма опорного корпуса 210 и приточного канала 220 может быть изменена различным образом.
[213] На ФИГ. 22 в плане изображена часть опорного узла со стороны впускного отверстия, изображенного на ФИГ. 21.
[214] На ФИГ. 22 в плане изображена только часть опорного узла 200 со стороны впускного отверстия, полученная путем отделения опорного узла 200 со стороны впускного отверстия от устройства 10 для генерирования аэрозоля, изображенного на ФИГ. 21.
[215] Как показано на ФИГ. 22, опорный узел 200 со стороны впускного отверстия согласно другому варианту осуществления изобретения может содержать опорный корпус 210 и приточный канал 220. Форма опорного узла 200 со стороны впускного отверстия может быть изменена различным образом.
[216] В другом варианте осуществления изобретения, вследствие различной толщины опорного корпуса 210, описанного выше со ссылкой на ФИГ. 21, ширина приточного канала 220 может уменьшаться по направлению к внутренней части пространства 300i для размещения (см. ФИГ. 2).
[217] Размер приточного канала 220 между опорными корпусами 210 в периферийном направлении пространства 300i для размещения (см. ФИГ. 2) постоянен в радиальном направлении пространства 300i для размещения (см. ФИГ. 2) и периферийном направлении пространства 300i для размещения (см. ФИГ. 2). Тем не менее, варианты осуществления изобретения не ограничены формой опорного корпуса 210 и приточного канала 220.
[218] На ФИГ. 23 изображен разрез сбоку опорного узла со стороны впускного отверстия, изображенного на ФИГ. 21, в который вставлено изделие для генерирования аэрозоля.
[219] На ФИГ. 23 изображен разрез вдоль линии ХХШ-ХХШ, иллюстрирующий состояние, в котором опорный узел 200 со стороны впускного отверстия, изображенный на ФИГ. 22, установлен на устройстве 10 для генерирования аэрозоля, и изделие 20 для генерирования аэрозоля вставлено.
[220] Как показано на ФИГ. 23, в радиальном направлении пространства 300i для размещения (см. ФИГ. 2) толщина верхней концевой части 210и опорного корпуса 210 может быть меньше толщины нижней концевой части 2101 опорного корпуса 210.
[221] Это может быть примером приточного канала 220, ширина которого уменьшается по направлению к внутренней части пространства 300i для размещения вследствие разности толщины опорного корпуса 210, описанной выше со ссылкой на ФИГ. 21.
[222] Нижняя концевая часть 2101 опорного корпуса 210 может вступать в контакт с наружной стороной изделия для генерирования аэрозоля в степени, позволяющей поддерживать изделие для генерирования аэрозоля. Тем не менее, варианты осуществления изобретения не ограничиваются формой опорного корпуса 210 и приточного канала 220, и форма опорного корпуса 210 и приточного канала 220 может быть изменена различным образом.
[223] На ФИГ. 24 изображена блок-схема устройства для генерирования аэрозоля согласно одному из вариантов осуществления изобретения.
[224] Устройство 2400 для генерирования аэрозоля может содержать контроллер 2410, сенсорный блок 2420, блок 2430 вывода, аккумулятор 2440, нагреватель 2450, блок 2460 пользовательского ввода, память 2470 и блок 2480 связи. Тем не менее, внутренняя структура устройства 2400 для генерирования аэрозоля не ограничивается вариантами, показанными на ФИГ. 24. То есть специалисту в данной области техники очевидно, что некоторые из компонентов, показанных на ФИГ. 24, могут отсутствовать, или новые компоненты могут быть добавлены в соответствии с конструктивным исполнением устройства 2400 для генерирования аэрозоля.
[225] Сенсорный блок 2420 может определять состояние устройства 2400 для генерирования аэрозоля и состояние среды вокруг устройства 2400 для генерирования аэрозоля, и передавать полученную информацию в контроллер 2410. На основании полученной информации контроллер 2410 может подавать на устройство 2400 для генерирования аэрозоля команды на выполнение различных функций, таких как управление работой нагревателя 2450, ограничение курения, распознавание введения изделия для генерирования аэрозоля (например, сигареты, картриджа и т.п.), отображение уведомления и т.п.
[226] Сенсорный блок 2420 может содержать датчик 2422 температуры и/или датчик 2424 распознавания введения и/или датчик 2426 затяжки, а также другие датчики.
[227] Датчик 2422 температуры может определять температуру, до которой нагрет нагреватель 2450 (или материал для генерирования аэрозоля). Устройство 2400 для генерирования аэрозоля может содержать отдельный датчик температуры для определения температуры нагревателя 2450, или сам нагреватель 2450 может служить датчиком температуры. В альтернативном варианте датчик 2422 температуры может быть расположен вокруг аккумулятора 2440 для контроля температуры аккумулятора 2440.
[228] Датчик 2424 распознавания введения может распознавать введение и/или извлечение изделия для генерирования аэрозоля. Например, датчик 2424 распознавания введения может представлять собой пленочный датчик и/или датчик давления и/или световой датчик и/или резистивный датчик и/или емкостной датчик и/или индуктивный датчик и/или инфракрасный датчик, и может распознавать изменение сигнала при введении и/или извлечении изделия для генерирования аэрозоля.
[229] Датчик 2426 затяжки может распознавать выполняемую пользователем затяжку на основании различных физических изменений на пути для потока воздуха или в канале для потока воздуха. Например, датчик 2426 затяжки может распознавать затяжку пользователя, основываясь на изменении любого из следующих параметров: температура, расход, напряжение и давление.
[230] Сенсорный блок 2420 может дополнительно содержать по меньшей мере один из следующих компонентов: датчик температуры/влажности, датчик атмосферного давления, магнитный датчик, датчик ускорения, гироскоп, датчик положения (например, датчик глобальной системы позиционирования (GPS)), датчик приближения или датчик красного, зеленого, синего (RGB) цвета (например, датчик освещенности), в дополнение к датчику 2422 температуры, датчику 2424 распознавания введения и датчику 2426 затяжки, описанным выше. Поскольку назначение каждого датчика может быть интуитивно понятно из его названия специалисту в данной области техники, подробное описание этого назначения в настоящем документе может быть опущено.
[231] Блок 2430 вывода может выводить информацию о состоянии устройства 2400 для генерирования аэрозоля и предоставлять ее пользователю. Блок 2430 вывода может содержать устройство 2432 отображения и/или тактильное устройство 2434 и/или устройство 2436 вывода звука, а также другие устройства. Если устройство 2432 отображения и сенсорная панель выполнены в виде слоистой структуры для формирования сенсорного экрана, устройство 2432 отображения можно использовать в качестве вводного устройства в дополнение к устройству вывода.
[232] Устройство 2432 отображения может визуально предоставлять пользователю информацию об устройстве 2400 для генерирования аэрозоля. Информация об устройстве 2400 для генерирования аэрозоля может содержать, например, состояние зарядки/разрядки аккумулятора 2440 устройства 2400 для генерирования аэрозоля, состояние предварительного нагрева нагревателя 2450, состояние введения/извлечения изделия для генерирования аэрозоля, состояние ограниченного использования (например, обнаружен аномальный объект) устройства 2400 для генерирования аэрозоля и т.п., и устройство 2432 отображения может выводить информацию наружу. Устройство 2432 отображения может представлять собой, например, жидкокристаллический дисплей (LCD), дисплей на органических светодиодах (OLED) и т.п.Кроме того, устройство 2432 отображения может быть выполнено в виде устройства на светоизлучающих диодах (СИД).
[233] Тактильное устройство 2434 может предоставлять пользователю информацию об устройстве 2400 для генерирования аэрозоля тактильным способом путем преобразования электрического сигнала в механический или электрический раздражитель. Тактильное устройство 2434 может представлять собой, например, мотор, пьезоэлектрический элемент или устройство электрической стимуляции.
[234] Устройство 2436 вывода звука может предоставлять пользователю информацию об устройстве 2400 для генерирования аэрозоля в звуковой форме. Например, устройство 2436 вывода звука может преобразовывать электрический сигнал в звуковой сигнал и выводить звуковой сигнал наружу.
[235] Аккумулятор 2440 может подавать питание, необходимое для управления устройством 2400 для генерирования аэрозоля. Например, аккумулятор 2440 может подавать питание, позволяющее нагревать нагреватель 2450. Кроме того, аккумулятор 2440 может подавать питание, необходимое для работы других компонентов (например, сенсорного блока 2420, блока 2430 вывода, блока 2460 пользовательского ввода, памяти 2470 и блока 2480 связи), входящих в состав устройства 2400 для генерирования аэрозоля. Аккумулятор 2440 может представлять собой перезаряжаемый аккумулятор или одноразовый аккумулятор. Например, аккумулятор 2440 может представлять собой литий-полимерный (LiPoly) аккумулятор; также возможны другие варианты.
[236] Нагреватель 2450 может получать питание от аккумулятора 2440 для нагрева материала для генерирования аэрозоля. Хотя это не показано на ФИГ. 24, устройство 2400 для генерирования аэрозоля может дополнительно содержать схему преобразования питания (например, преобразователь постоянного тока (DC/DC)), которая преобразует питание аккумулятора 2440 и подает питание на нагреватель 2450. Кроме того, когда устройство 2400 для генерирования аэрозоля генерирует аэрозоль способом индукционного нагрева, устройство 2400 для генерирования аэрозоля может дополнительно содержать преобразователь постоянного тока в переменный ток (DC/АС), который преобразует постоянный ток аккумулятора 2440 в переменный ток.
[237] Контроллер 2410, сенсорный блок 2420, блок 2430 вывода, блок 2460 пользовательского ввода, память 2470 и блок 2480 связи могут получать необходимое для выполнения своих функций питание от аккумулятора 2440. Хотя это не показано на ФИГ. 24, устройство 2400 для генерирования аэрозоля может дополнительно содержать схему преобразования питания, например, схему с низким падением напряжения (LDO) или схему регулятора напряжения, которая преобразует питание аккумулятора 2440 и подает питание на соответствующие компоненты.
[238] В одном из вариантов осуществления изобретения нагреватель 2450 может содержать любой подходящий электрорезистивный материал. Например, подходящий электрорезистивный материал может представлять собой металл или сплав металлов, в том числе титан, цирконий, тантал, платину, никель, кобальт, хром, гафний, ниобий, молибден, вольфрам, олово, галлий, марганец, железо, медь, нержавеющую сталь, нихром и т.п., а также другие металлы или сплавы. Кроме того, нагреватель 2450 может быть выполнен в виде металлической проволоки, металлической пластины, на которой размещена электропроводящая дорожка, или керамического нагревающего элемента, а также в других вариантах.
[239] В другом варианте осуществления изобретения нагреватель 2450 может представлять собой нагреватель индукционного типа. Например, нагреватель 2450 может содержать токоприемник, нагревающий материал для генерирования аэрозоля путем выделения тепла через магнитное поле, индуцированное катушкой.
[240] Блок 2460 пользовательского ввода может принимать информацию от пользователя или выводить информацию пользователю. Например, блок 2460 пользовательского ввода может содержать, в частности, клавиатуру, купольный переключатель, сенсорную панель (например, контактно-емкостного типа, типа резистивной пленки, типа инфракрасного датчика, типа поверхностной ультразвуковой проводимости, типа измерения интегрального напряжения, типа пьезоэффекта и т.д.), колесо переключения, переключатель и т.п.Кроме того, хотя это не показано на ФИГ. 24, устройство 2400 для генерирования аэрозоля может дополнительно содержать интерфейс подключения, такой как интерфейс универсальной последовательной шины (USB), и может быть подключено к другому внешнему устройству через интерфейс подключения, такой как интерфейс USB, для передачи и приема информации или для зарядки аккумулятора 2440.
[241] Память 2470 представляет собой компонент аппаратного обеспечения, хранящий различные типы данных, обрабатываемых в устройстве 2400 для генерирования аэрозоля, и может хранить подлежащие обработке данные и обрабатываемые контроллером 2410 данные. Память 2470 может представлять собой по меньшей мере один из следующих типов носителя информации: флэш-память, жесткий диск, мультимедийная микро-карта, карта (например, SD или XD), оперативная память (RAM), постоянная оперативная память (SRAM), постоянная память (ROM), энергонезависимая память (EEPROM), программируемая постоянная память (PROM), магнитная память, магнитный диск или оптический диск. Память 2470 может хранить время работы устройства 2400 для генерирования аэрозоля, максимальное число затяжек, текущее число затяжек, по меньшей мере один профиль температуры, данные о привычках пользователя при курении и т.д.
[242] Блок 2480 связи может содержать по меньшей мере один компонент для связи с другим электронным устройством. Например, блок 2480 связи может содержать блок 2482 беспроводной связи малого радиуса действия и блок 2484 беспроводной связи.
[243] Блок 2482 беспроводной связи малого радиуса действия может представлять собой блок связи Bluetooth, блок связи Bluetooth low energy (BLE), блок связи ближнего поля, блок связи WLAN (Wi-Fi), блок связи ZigBee, блок связи IrDA, блок связи Wi-Fi direct (WFD), сверхширокополосной блок связи (UWB) и блок связи Ant+, а также иные подобные устройства, но не ограничивается этими вариантами.
[244] Блок 2484 беспроводной связи может представлять собой коммуникатор сотовой сети, коммуникатор Интернета, коммуникатор компьютерной сети (например, локальной сети (LAN) или глобальной сети (WAN)), а также иные подобные устройства, но не ограничивается этими вариантами. Блок 2484 беспроводной связи может использовать информацию об абоненте (например, международный идентификатор мобильного абонента (IMSI)) для идентификации и аутентификации устройства 2400 для генерирования аэрозоля в сети связи.
[245] Контроллер 2410 может управлять работой устройства 2400 для генерирования аэрозоля в целом. В одном из вариантов осуществления изобретения контроллер 2410 может содержать по меньшей мере один процессор. Процессор может быть реализован как массив из множества логических элементов или как комбинация микропроцессора общего назначения и памяти, в которой хранится программа, исполняемая в микропроцессоре. Специалисту в данной области техники будет понятно, что процессор может быть реализован с использованием других видов аппаратных средств.
[246] Контроллер 2410 может управлять температурой нагревателя 2450 путем управления подачей питания от аккумулятора 2440 на нагреватель 2450. Например, контроллер 2410 может управлять подачей питания путем управления переключением переключающего элемента между аккумулятором 2440 и нагревателем 2450. В другом варианте осуществления изобретения схема прямого нагрева может управлять подачей питания на нагреватель 2450 в соответствии с управляющей командой от контроллера 2410.
[247] Контроллер 2410 может анализировать результат, полученный сенсорным блоком 2420, и управлять последующими процессами. Например, контроллер 2410 может управлять питанием, подаваемым на нагреватель 2450 для запуска или прекращения работы нагревателя 2450, на основании результата, полученного сенсорным блоком 2420. В другом варианте осуществления изобретения контроллер 2410 на основании результата, полученного сенсорным блоком 2420, может управлять количеством питания, подаваемого на нагреватель 2450, и временем подачи питания, что позволяет нагревать нагреватель 2450 до определенной температуры или поддерживать его на соответствующем уровне температуры.
[248] Контроллер 2410 может управлять блоком 2430 вывода на основании результата, полученного сенсорным блоком 2420. Например, если количество затяжек, подсчитанное датчиком 2426 затяжки, достигает заданного количества, контроллер 2410 может сообщить пользователю, что работа устройства 2400 для генерирования аэрозоля скоро закончится, посредством устройства 2432 отображения и/или тактильного устройства 2434 и/или устройства 2436 вывода звука.
[249] В одном из вариантов осуществления изобретения контроллер 2410 может управлять временем и/или количеством подачи питания на нагреватель 2450 в зависимости от состояния изделия для генерирования аэрозоля (например, изделия 20 для генерирования аэрозоля на ФИГ. 1), распознанного сенсорным блоком 2420. Например, когда изделие 20 для генерирования аэрозоля находится в состоянии избыточного увлажнения, контроллер 2410 может управлять временем подачи питания на катушку индуктивности (например, катушку 311 на ФИГ. 2) для увеличения времени предварительного нагрева изделия 20 для генерирования аэрозоля по сравнению с обычным состоянием.
[250] Один вариант осуществления изобретения может быть также реализован в форме носителя информации, содержащего инструкции, выполняемые компьютером, такие как программные модули, выполняемые компьютером. Машиночитаемый записывающий носитель может представлять собой любой доступный носитель, к которому может иметь доступ компьютер, и включает в себя как не сохраняющие информацию при выключении питания, так и сохраняющие информацию при выключении питания носители, и съемные и несъемные носители. Кроме того, машиночитаемый носитель может содержать как запоминающую среду компьютера, так и коммуникационную среду. Запоминающая среда компьютера содержит все из не сохраняющих информацию при выключении питания и сохраняющих информацию при выключении питания носителей и съемных и несъемных носителей, реализуемых любым способом или методом хранения информации, такие как машиночитаемые инструкции, структуры данных, программные модули или другие данные. Коммуникационная среда обычно содержит машиночитаемые инструкции, структуры данных, другие данные в модулированных сигналах данных, таких как программные модули, или другие механизмы передачи, и содержит любые среды передачи информации.
[251] Описания вышеизложенных вариантов осуществления представляют собой лишь примеры, и специалисту обычной квалификации в данной области техники будет понятно, что возможно внесение различных изменений и использование эквивалентов. Поэтому защищаемый объем изобретения должен определяться прилагаемой формулой изобретения, и все отличия в защищаемом объеме, эквивалентные описанным в пунктах формулы, будут интерпретированы как включаемые в защищаемый объем, определяемый формулой.
Изобретение относится к устройству для генерирования аэрозоля. Техническим результатом является повышение характеристики распыления за счет эффективного введения потока воздуха. Устройство содержит корпус, содержащий пространство для размещения, выполненное с возможностью размещения изделия для генерирования аэрозоля. Также устройство содержит опору со стороны впускного отверстия, расположенную в отверстии пространства для размещения и содержащую по меньшей мере один опорный корпус, выполненный с возможностью поддержки изделия для генерирования аэрозоля. Также устройство содержит приточный канал, выполненный с возможностью приема воздуха снаружи корпуса. Ширина приточного канала уменьшается по направлению к внутренней части пространства для размещения с внешней стороны корпуса. 14 з.п. ф-лы, 24 ил.
1. Устройство для генерирования аэрозоля, содержащее:
корпус, содержащий пространство для размещения, выполненное с возможностью размещения изделия для генерирования аэрозоля; и
опору со стороны впускного отверстия, расположенную в отверстии пространства для размещения и содержащую по меньшей мере один опорный корпус, выполненный с возможностью поддержки изделия для генерирования аэрозоля, и приточный канал, выполненный с возможностью приема воздуха снаружи корпуса, причем ширина приточного канала уменьшается по направлению к внутренней части пространства для размещения с внешней стороны корпуса.
2. Устройство для генерирования аэрозоля по п. 1, в котором размер приточного канала уменьшается по направлению к внутренней части пространства для размещения в продольном направлении корпуса.
3. Устройство для генерирования аэрозоля по п. 2, в котором по меньшей мере одна боковая стенка приточного канала в периферийном направлении пространства для размещения ориентирована в продольном направлении корпуса и наклонена в периферийном направлении пространства для размещения.
4. Устройство для генерирования аэрозоля по п. 3, в котором, по меньшей мере, одна боковая стенка наклонена криволинейно.
5. Устройство для генерирования аэрозоля по п. 1, в котором предусмотрено множество опорных корпусов, и приточный канал имеет вогнутую форму между соседними опорными корпусами и открыт в сторону изделия для генерирования аэрозоля.
6. Устройство для генерирования аэрозоля по п. 1, в котором приточный канал изогнут в периферийном направлении пространства для размещения и при этом ориентирован в продольном направлении корпуса, причем приточный канал выполнен с возможностью направления воздуха, движущегося по приточному каналу, вокруг изделия для генерирования аэрозоля по вихревой схеме.
7. Устройство для генерирования аэрозоля по п. 1, в котором в продольном направлении корпуса длина отверстия приточного канала, обращенного наружу из корпуса, в периферийном направлении пространства для размещения превышает длину части приточного канала, расположенной внутри пространства для размещения, в периферийном направлении пространства для размещения.
8. Устройство для генерирования аэрозоля по п. 1, в котором приточный канал содержит верхнюю концевую часть, обращенную наружу от корпуса, и нижнюю концевую часть, обращенную внутрь пространства для размещения в продольном направлении корпуса, и ширина верхней концевой части меньше ширины нижней концевой части в радиальном направлении пространства для размещения.
9. Устройство для генерирования аэрозоля по п. 8, в котором ширина приточного канала дискретно уменьшается.
10. Устройство для генерирования аэрозоля по п. 8, в котором ширина приточного канала нелинейно уменьшается.
11. Устройство для генерирования аэрозоля по п. 1, в котором множество опорных корпусов расположено в периферийном направлении пространства для размещения таким образом, чтобы они соприкасались с внешней стороной изделия для генерирования аэрозоля, и приточный канал расположен между соседними опорными корпусами.
12. Устройство для генерирования аэрозоля по п. 11, в котором размер по меньшей мере одного из множества опорных корпусов увеличивается в направлении к внутренней части пространства для размещения от внешней стороны корпуса в продольном направлении корпуса.
13. Устройство для генерирования аэрозоля по п. 12, в котором боковая стенка по меньшей мере одного из множества опорных корпусов в периферийном направлении пространства для размещения ориентирована в продольном направлении корпуса и наклонена в периферийном направлении пространства для размещения.
14. Устройство для генерирования аэрозоля по п. 11, в котором длина нижней концевой части, по меньшей мере, одного опорного корпуса, обращенной внутрь пространства для размещения в продольном направлении корпуса, в периферийном направлении пространства для размещения превышает длину верхней концевой части, по меньшей мере, одного опорного корпуса, обращенной наружу из корпуса, в периферийном направлении пространства для размещения.
15. Устройство для генерирования аэрозоля по п. 11, в котором каждый из множества опорных корпусов содержит верхнюю концевую часть, обращенную наружу из корпуса, и нижнюю концевую часть, обращенную внутрь пространства для размещения в продольном направлении корпуса, и толщина верхней концевой части меньше толщины нижней концевой части в радиальном направлении пространства для размещения.
| KR 20180070454 A, 26.06.2018 | |||
| УСТРОЙСТВО СОЗДАНИЯ ПАРА | 2017 |
|
RU2690274C1 |
| СИСТЕМЫ СНАБЖЕНИЯ АЭРОЗОЛЕМ | 2018 |
|
RU2694292C2 |
| ЭЛЕКТРОННЫЕ СИСТЕМЫ ОБЕСПЕЧЕНИЯ АЭРОЗОЛЯ | 2016 |
|
RU2670534C1 |
| US 6803550 B2, 12.10.2004. | |||
Авторы
Даты
2025-05-20—Публикация
2022-11-10—Подача