УСТРОЙСТВО ДЛЯ ГЕНЕРИРОВАНИЯ АЭРОЗОЛЯ Российский патент 2025 года по МПК A24F40/40 

Описание патента на изобретение RU2837965C2

Область техники

[1] Варианты осуществления изобретения относятся к устройству для генерирования аэрозоля и, в частности, к устройству для генерирования аэрозоля, позволяющему бесперебойно подавать воздух в изделие для генерирования аэрозоля.

Предшествующий уровень техники

[2] В последнее время растет спрос на технологии, которые могут заменить способ подачи аэрозоля путем сжигания обычной сигареты. Например, проведены исследования способа, в котором аэрозоль генерируют из жидкого или твердого материала для генерирования аэрозоля, или ароматизированный аэрозоль подают путем генерирования пара из жидкого материала для генерирования аэрозоля и пропускания сгенерированного пара через твердую ароматическую среду.

[3] В последнее время в замену способа, в котором аэрозоль подают путем сжигания сигареты, было предложено устройство для генерирования аэрозоля, в котором аэрозоль генерируют путем нагрева изделия для генерирования аэрозоля. Например, устройство для генерирования аэрозоля может генерировать аэрозоль путем нагрева жидкого или твердого материала для генерирования аэрозоля до заданной температуры посредством нагревателя.

[4] При использовании устройства для генерирования аэрозоля курение возможно без дополнительных принадлежностей, например, зажигалки, и повышается удобство курения за счет того, что пользователь может курить столько, сколько захочет. По этой причине в последнее время растет число научных исследований устройств для генерирования аэрозоля.

Сущность изобретения

Техническая задача

[5] Для повышения эффективности распыления в устройстве для генерирования аэрозоля необходимо обеспечить бесперебойную подачу воздуха в изделие для генерирования аэрозоля.

[6] Различные варианты осуществления настоящего изобретения предусматривают устройство для генерирования аэрозоля с повышенной эффективностью распыления, достигаемой бесперебойной подачей воздуха в изделие для генерирования аэрозоля.

[7] Технические задачи настоящего изобретения не ограничены вышеприведенным описанием, и специалист в данной области техники сможет понять другие технические задачи на основании раскрытых ниже вариантов осуществления изобретения.

Техническое решение

[8] Устройство для генерирования аэрозоля согласно одному из вариантов осуществления изобретения содержит внутренний цилиндр, содержащий пространство для размещения, предназначенное для размещения изделия для генерирования аэрозоля, первую опорную часть, расположенную у входа в пространство для размещения и служащую опорой изделия для генерирования аэрозоля, размещенного в пространстве для размещения, причем первая опорная часть содержит впускной канал, через который наружный воздух поступает в пространство для размещения, вторую опорную часть, расположенную внутри пространства для размещения и служащую опорой конца изделия для генерирования аэрозоля, причем вторая опорная часть содержит переходный канал, через который воздух в пространстве для размещения поступает в изделие для генерирования аэрозоля, и нагреватель, расположенный внутри пространства для размещения, служащий опорой внешней поверхности изделия для генерирования аэрозоля и выполненный с возможностью нагрева изделия для генерирования аэрозоля.

Полезные эффекты изобретения

[9] Устройство для генерирования аэрозоля в различных вариантах осуществления данного изобретения позволяет повысить эффективность распыления за счет эффективной подачи потока воздуха в изделие для генерирования аэрозоля.

[10] Кроме того, устройство для генерирования аэрозоля в различных вариантах осуществления настоящего изобретения может принимать в себя достаточное количество воздуха с тем, чтобы повысить эффективность распыления изделия для генерирования аэрозоля.

[11] Эффекты настоящего изобретения не ограничены раскрытыми выше эффектами, и неуказанные эффекты будут понятны специалисту в данной области техники из настоящего раскрытия и приложенных чертежей.

Описание чертежей

[12] На ФИГ. 1 в аксонометрии изображено устройство для генерирования аэрозоля в соответствии с одним из вариантов осуществления изобретения.

[13] На ФИГ. 2 в разрезе изображена часть устройства для генерирования аэрозоля, изображенного на ФИГ. 1.

[14] На ФИГ. 3 в разрезе изображена часть устройства для генерирования аэрозоля, изображенного на ФИГ. 1, но под углом, отличающимся от изображения на ФИГ. 2.

[15] На ФИГ. 4 изображен покомпонентный вид в аксонометрии части устройства для генерирования аэрозоля, изображенного на ФИГ. 1.

[16] На ФИГ. 5 изображен покомпонентный вид в аксонометрии увеличенной части изображения на ФИГ. 4.

[17] На ФИГ. 6 изображен увеличенный вид в разрезе некоторых компонентов устройства для генерирования аэрозоля, изображенного на ФИГ. 1.

[18] На ФИГ. 7 изображен вид в аксонометрии первой опорной части, установленной в устройстве для генерирования аэрозоля, изображенном на ФИГ. 1.

[19] На ФИГ. 8 изображен вид в аксонометрии второй опорной части, установленной в устройстве для генерирования аэрозоля, изображенном на ФИГ. 1.

[20] На ФИГ. 9 изображен вид в аксонометрии внутреннего цилиндра устройства для генерирования аэрозоля в соответствии с другим вариантом осуществления изобретения.

[21] На ФИГ. 10 изображена блок-схема устройства для генерирования аэрозоля в соответствии с другим вариантом осуществления изобретения.

Принцип изобретения

[22] В отношении терминов в различных вариантах осуществления изобретения, общие термины, широко используемые в настоящее время, выбирают с учетом функций структурных элементов в различных вариантах осуществления изобретения, раскрытых в настоящем описании. Тем не менее значения терминов могут быть изменены в соответствии с намерением, судебным прецедентом, появлением новых технологий и т. п. Кроме того, в некоторых случаях возможен произвольный выбор заявителем терминов в конкретных случаях. В таком случае значение термина будет подробно раскрыто в соответствующей части настоящего описания изобретения. Следовательно, термины, использованные в различных вариантах осуществления настоящего изобретения, следует понимать согласно значениям и объяснениям, приведенным в настоящем описании изобретения.

[23] При этом, если прямо не указано обратное, слово «содержать» и его формы, такие как «содержит» или «содержащий», будут пониматься как подразумевающее включение указанных элементов в состав чего-либо, но не как исключение любых других элементов. Кроме того, термины, обозначающие «блок», «часть» и «модуль», представленные в описании изобретения, означают блоки для обработки по меньшей мере одной функции и операции и могут быть реализованы компонентами аппаратного или программного обеспечения, а также их комбинациями.

[24] В данном случае, когда выражение типа «по меньшей мере один» стоит перед упорядоченными элементами, оно изменяет все элементы, а не каждый упорядоченный элемент. Например, выражение «по меньшей мере одно из a, b и c» следует толковать как включающее a, b, c, или a и b, a и c, b и c, или a, b и c.

[25] В одном из вариантов осуществления изобретения устройство для генерирования аэрозоля может быть выполнено как устройство, генерирующее аэрозоль путем электрического нагрева сигареты, размещенной в его внутреннем пространстве.

[26] Устройство для генерирования аэрозоля может содержать нагреватель. В одном из вариантов осуществления изобретения нагреватель может представлять собой электрорезистивный нагреватель. Например, нагреватель может содержать электропроводящую дорожку, и нагреватель может нагреваться, когда по электропроводящей дорожке протекает электрический ток.

[27] Нагреватель может содержать трубчатый нагревательный элемент, пластинчатый нагревательный элемент, игольчатый или стержневой нагревательный элемент и может нагревать внутреннюю или внешнюю часть сигареты в соответствии с формой нагревательного элемента.

[28] Сигарета может содержать табачный стержень и фильтрующий стержень. Табачный стержень может быть сформирован из листов, нитей и мелких кусочков, вырезанных из табачного листа. Кроме того, табачный стержень может быть окружен теплопроводящим материалом. Например, теплопроводящим материалом может служить металлическая фольга, например алюминиевая фольга, а также другие материалы.

[29] Фильтрующий стержень может содержать фильтр из ацетата целлюлозы. Фильтрующий стержень может содержать по меньшей мере один сегмент. Например, фильтрующий стержень может содержать первый сегмент, выполненный с возможностью охлаждения аэрозоля, и второй сегмент, выполненный с возможностью фильтрации определенного содержащегося в аэрозоле компонента.

[30] В другом варианте осуществления изобретения устройство для генерирования аэрозоля может представлять собой устройство, генерирующее аэрозоль с помощью картриджа, содержащего материал для генерирования аэрозоля.

[31] Устройство для генерирования аэрозоля может содержать картридж, содержащий материал для генерирования аэрозоля, и основной корпус, поддерживающий картридж. Картридж может быть соединен с основным корпусом с возможностью разъединения, но возможны и другие варианты. Картридж может быть выполнен как единое целое с основным корпусом или собран с основным корпусом, и может быть закреплен на основном корпусе таким образом, чтобы пользователь не мог отсоединить его от основного корпуса. Картридж может быть установлен на основном корпусе так, чтобы материал для генерирования аэрозоля находился внутри него. Тем не менее, настоящее изобретение этим не ограничено. Материал для генерирования аэрозоля может быть введен в картридж, когда картридж соединен с основным корпусом.

[32] Картридж может содержать материал для генерирования аэрозоля, находящийся, например, в жидком, твердом, газообразном или гелеобразном состоянии. Материал для генерирования аэрозоля может представлять собой жидкую композицию. Например, жидкая композиция может представлять собой жидкость с содержанием табачного материала, в который входит летучий компонент табачного ароматизатора или жидкость с содержанием нетабачного материала.

[33] Картридж может управляться электрическим сигналом или радиосигналом, переданным от корпуса, для выполнения функции генерирования аэрозоля путем преобразования материала для генерирования аэрозоля внутри картриджа в газовую фазу. Аэрозоль может представлять собой газ, в котором испаренные частицы материала для генерирования аэрозоля смешаны с воздухом.

[34] В другом варианте осуществления изобретения устройство для генерирования аэрозоля может генерировать аэрозоль путем нагревания жидкой композиции, и сгенерированный аэрозоль может поступать к пользователю через сигарету. То есть, сгенерированный из жидкой композиции аэрозоль может перемещаться вдоль канала для потока воздуха в устройстве для генерирования аэрозоля, и канал для потока воздуха может быть выполнен с возможностью пропускания аэрозоля к пользователю через сигарету.

[35] В другом варианте осуществления изобретения устройство для генерирования аэрозоля может представлять собой устройство, генерирующее аэрозоль из материала для генерирования аэрозоля с применением способа ультразвуковых колебаний. В настоящее время под способом ультразвуковых колебаний может пониматься способ генерирования аэрозоля путем преобразования материала для генерирования аэрозоля в аэрозоль с помощью ультразвуковых колебаний, генерируемых источником колебаний.

[36] Устройство для генерирования аэрозоля может содержать источник колебаний и генерировать короткопериодные колебания с помощью источника колебаний для преобразования материала для генерирования аэрозоля в аэрозоль. Колебания, генерируемые источником колебаний, могут представлять собой ультразвуковые колебания, причем частотный диапазон ультразвуковых колебаний может составлять примерно от 100 кГц до 3,5 МГц; также возможны другие варианты.

[37] Устройство для генерирования аэрозоля может дополнительно содержать фитиль, впитывающий материал для генерирования аэрозоля. Например, фитиль может быть расположен с возможностью окружения по меньшей мере одного участка источника колебаний или с возможностью контакта по меньшей мере с одним участком источника колебаний.

[38] Когда на источник колебаний подают напряжение (например, переменное напряжение), источник колебаний может генерировать тепло и/или ультразвуковые колебания, и тепло и/или ультразвуковые колебания, генерируемые источником колебаний, могут быть переданы на впитанный фитилем материал для генерирования аэрозоля. Впитанный фитилем материал для генерирования аэрозоля может быть переведен в газовую фазу под воздействием передаваемого от источника колебаний тепла и/или ультразвуковых колебаний, что позволяет генерировать аэрозоль.

[39] Например, вязкость впитанного фитилем материала для генерирования аэрозоля может быть снижена под воздействием генерируемого источником колебаний тепла, и материал для генерирования аэрозоля с пониженной вязкостью может быть гранулирован под воздействием ультразвуковых колебаний, генерируемых источником колебаний, что позволяет генерировать аэрозоль; также возможны другие варианты.

[40] В другом варианте осуществления изобретения устройство для генерирования аэрозоля представляет собой устройство, генерирующее аэрозоль путем индукционного нагрева изделия для генерирования аэрозоля, размещенного в устройстве для генерирования аэрозоля.

[41] Устройство для генерирования аэрозоля может содержать токоприемник и катушку. В одном из вариантов осуществления изобретения катушка может воздействовать магнитным полем на токоприемник. Когда питание подают на катушку от устройства для генерирования аэрозоля, внутри катушки может быть сформировано магнитное поле. В одном из вариантов осуществления изобретения токоприемник может представлять собой магнитное тело, генерирующее тепло под воздействием внешнего магнитного поля. При размещении токоприемника внутри катушки и воздействии на него магнитного поля токоприемник выделяет тепло для нагрева изделия для генерирования аэрозоля. Кроме того, опционально, токоприемник может быть расположен внутри изделия для генерирования аэрозоля.

[42] В другом варианте осуществления изобретения устройство для генерирования аэрозоля может дополнительно содержать подставку.

[43] Устройство для генерирования аэрозоля может составлять единую систему вместе с отдельной подставкой. Например, подставку можно использовать для зарядки аккумулятора устройства для генерирования аэрозоля. В альтернативном варианте нагреватель может нагреваться при соединении подставки и устройства для генерирования аэрозоля друг с другом.

[44] Ниже предложенное изобретение будет раскрыто более полно со ссылкой на прилагаемые чертежи, на которых примеры вариантов осуществления настоящего изобретения изображены таким образом, чтобы специалисту в данной области техники было легко разобраться в настоящем изобретении. Настоящее изобретение может быть реализовано в формах, которые могут быть реализованы в устройствах для генерирования аэрозоля в соответствии с различными вариантами осуществления изобретения, раскрытыми выше, или может быть реализовано в различных формах и не ограничивается вариантами осуществления изобретения, описанными в настоящем документе.

[45] Ниже по тексту будут подробно раскрыты некоторые варианты осуществления настоящего изобретения со ссылкой на прилагаемые чертежи.

[46] На ФИГ. 1 в аксонометрии изображено устройство для генерирования аэрозоля в соответствии с одним из вариантов осуществления изобретения.

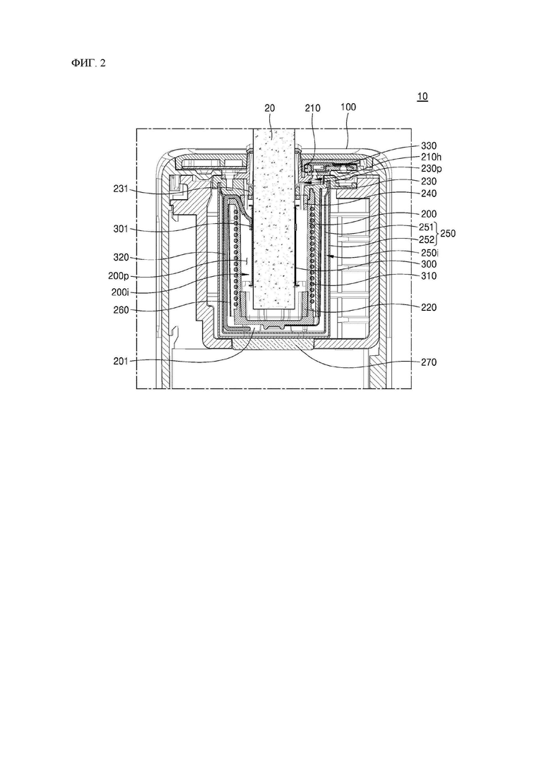
[47] Как показано на ФИГ. 1, устройство 10 для генерирования аэрозоля согласно одному из вариантов осуществления изобретения может содержать корпус 100, в который может быть вставлено изделие 20 для генерирования аэрозоля.

[48] Корпус 100 может определять внешний вид устройства 10 для генерирования аэрозоля и может содержать внутреннее пространство (или «пространство для размещения»), в котором могут быть расположены компоненты устройства 10 для генерирования аэрозоля. Хотя на фигуре показан корпус 100, имеющий полукруглое поперечное сечение, форма корпуса 100 не ограничивается данным вариантом осуществления. Например, корпус 100 может иметь цилиндрическую форму или форму многоугольной колонны (например, треугольной или четырехугольной) в целом.

[49] Компоненты для генерирования аэрозоля путем нагрева изделия 20 для генерирования аэрозоля, вставленного в корпус 100, и компоненты для распознавания затяжки пользователя могут быть расположены во внутреннем пространстве корпуса 100 и будут подробно раскрыты ниже.

[50] Согласно одному из вариантов осуществления изобретения корпус 100 может содержать отверстие 100h, через которое изделие 20 для генерирования аэрозоля может быть вставлено в корпус 100. По меньшей мере часть изделия 20 для генерирования аэрозоля может быть вставлена в корпус 100 или размещена в нем через отверстие 100h.

[51] Изделие 20 для генерирования аэрозоля, вставленное в корпус 100 или размещенное в нем, может быть нагрето в корпусе 100 для генерирования аэрозоля. Пользователь может вдыхать аэрозоль, выходящий из изделия 20 для генерирования аэрозоля.

[52] Устройство 10 для генерирования аэрозоля может дополнительно содержать дисплей D, на котором отображается визуальная информация.

[53] Дисплей D может быть расположен таким образом, чтобы по меньшей мере частичная область *?* дисплея D была выведена наружу корпуса 100. Устройство 10 для генерирования аэрозоля может предоставлять пользователю различную визуальную информацию посредством дисплея D.

[54] Например, устройство 10 для генерирования аэрозоля может выводить на дисплей D информацию о том, сделал ли пользователь затяжку, и/или информацию об оставшемся количестве затяжек вставленного изделия 20 для генерирования аэрозоля, тем не менее, выводимая на дисплей D информация не ограничивается данным вариантом.

[55] На ФИГ. 2 в разрезе изображена часть устройства для генерирования аэрозоля, изображенного на ФИГ. 1.

[56] На ФИГ. 2 в разрезе по линии А-А изображено устройство 10 для генерирования аэрозоля, изображенное на ФИГ. 1.

[57] Устройство 10 для генерирования аэрозоля в соответствии с одним из вариантов осуществления изобретения может содержать внутренний цилиндр 200, первую опорную часть 210, вторую опорную часть 220 и нагреватель 300.

[58] Внутренний цилиндр 200 может находиться во внутреннем пространстве корпуса 100. Внутренний цилиндр 200 может содержать пространство 200i для размещения, предназначенное для размещения изделия 20 для генерирования аэрозоля.

[59] Пространство 200i для размещения не только вмещает в себя изделие 20 для генерирования аэрозоля, но также может служить каналом для поступления наружного воздуха. Между внутренним цилиндром 200 и нагревателем 300 может быть образован внутренний канал 200p с тем, чтобы поступающий в пространство 200i для размещения через впускной канал первой опорной части 210 воздух попадал во вторую опорную часть 220. Введенный в пространство 200i для размещения воздух может протекать по внутреннему каналу 200p и достигать второй опорной части 220.

[60] Первая опорная часть 210 может находиться на входе в пространство 200i для размещения, служа опорой по меньшей мере для части изделия 20 для генерирования аэрозоля, размещенного в пространстве 200i для размещения. Кроме того, первая опорная часть 210 выполнена с возможностью ввода воздуха снаружи устройства 10 для генерирования аэрозоля в пространство 200i для размещения.

[61] Первая опорная часть 210 может содержать опорный корпус, служащий опорой по меньшей мере части изделия для генерирования аэрозоля и впускной канал, через который воздух снаружи устройства 10 для генерирования аэрозоля вводят в пространство 200i для размещения.

[62] Первая опорная часть 210 может содержать отверстие 210h для распознавания затяжки, соединенное с датчиком 330 затяжки. Отверстие 210h для распознавания затяжки может быть выполнено на нижнем конце датчика 330 затяжки, примыкающем к первой опорной части 210. Проходящий через впускной канал воздух может поступать в датчик 330 затяжки через отверстие 210h для распознавания затяжки. Отверстие 210h для распознавания затяжки может сужаться по направлению к датчику 330 затяжки, но не ограничивается описанной выше формой.

[63] Вторая опорная часть 220 может находиться внутри пространства 200i для размещения, служа опорой конца изделия 20 для генерирования аэрозоля. Кроме того, вторая опорная часть 220 выполнена с возможностью пропускания находящегося в пространстве 200i для размещения воздуха в изделие 20 для генерирования аэрозоля.

[64] Вторая опорная часть 220 может содержать переходный канал, через который находящийся в пространстве 200i для размещения воздух поступает в изделие для генерирования аэрозоля.

[65] Один конец (например, нижний конец) нагревателя 300 может быть вставлен во вторую опорную часть 220. Соответственно, нагреватель 300 может опираться на вторую опорную часть 220.

[66] Соединительная часть 230 может быть соединена c нижним концом первой опорной части 210.

[67] Соединительная часть 230 может содержать первое воздушное отверстие, через которое проходящий через впускной канал первой опорной части 210 воздух попадает в пространство 200i для размещения.

[68] Когда соединительная часть 230 соединена с первой опорной частью 210, между верхним концом соединительной части 230 и первой опорной частью 210 может быть сформирован канал 230p распознавания затяжки. Канал 230p распознавания затяжки может соединять впускной канал с датчиком 330 затяжки. Проходящий через впускной канал первой опорной части 210 воздух может проходить через канал 230p распознавания затяжки и попадать в расположенный рядом с первой опорной частью 210 датчик 330 затяжки.

[69] Согласно одному из вариантов осуществления изобретения движущийся вдоль канала 230p распознавания затяжки воздух может проходить через отверстие 210h распознавания затяжки первой опорной части 210 в датчик 330 затяжки.

[70] Часть соединительной части 230 может окружать внутренний цилиндр 200 по внешней окружности. Соединительная часть 230 может служить опорой для других компонентов снаружи соединительной части 230 за счет их контакта с частью соединительной части 230, как описано выше.

[71] Другая часть соединительной части 230 может оставаться открыта. Соответственно, устройство 10 для генерирования аэрозоля может содержать пространство, в котором внутри устройства 10 для генерирования аэрозоля могут находиться другие компоненты.

[72] Соединительная часть 230 может дополнительно содержать направляющую 231 для направления изделия 20 для генерирования аэрозоля при введении.

[73] Для предотвращения застревания изделия 20 для генерирования аэрозоля в направляющей 231 во время введения изделия 20 для генерирования аэрозоля в устройство 10 для генерирования аэрозоля, по меньшей мере часть направляющей 231 (например, верхний конец) может иметь фаску. Фаска может быть скошенной или закругленной.

[74] В другом варианте осуществления изобретения направляющая 231 может служить опорой по меньшей мере для части наружной окружной поверхности изделия 20 для генерирования аэрозоля.

[75] Один конец (например, верхний конец) внутреннего цилиндра 200 может быть вставлен в соединительную часть 230. Таким образом внутренний цилиндр 200 может опираться на соединительную часть 230.

[76] Один конец (например, верхний конец) внешнего цилиндра 250 может быть вставлен в соединительную часть 230. Таким образом внешний цилиндр 250 опирается на соединительную часть 230.

[77] Верхнее кольцо 240 может быть соединено с нижней поверхностью верхней части соединительной части 230.

[78] Верхнее кольцо 240 может содержать второе воздушное отверстие, через которое проходящий через первое воздушное отверстие соединительной части 230 воздух поступает в пространство 200i для размещения.

[79] Один конец (например, верхний конец) нагревателя 300 может быть вставлен в верхнее кольцо 240. Соответственно, нагреватель 300 может опираться на верхнее кольцо 240.

[80] Внешний цилиндр 250 может быть отделен от внутреннего цилиндра 200 по внешней стороне внутреннего цилиндра 200.

[81] Внешний цилиндр 250 может блокировать передачу наружу генерируемого нагревателем 300 тепла. Для повышения эффективности изоляции внешний цилиндр 250 может иметь конструкцию с двойными стенками.

[82] Внешний цилиндр 250 может содержать внутреннюю стенку 251, обращенную к внутреннему цилиндру 200, внешнюю стенку 252, отделенную от внутренней стенки 251 по направлению к внешней стороне внешнего цилиндра 250, и теплоизолирующее пространство 250i, образованное между внутренней стенкой 251 и внешней стенкой 252. В теплоизолирующем пространстве 250i можно поддерживать разрежение для предотвращения передачи тепла на внешнюю сторону устройства 10 для генерирования аэрозоля. В данном случае «разрежение» обозначает не только состояние отсутствия воздуха, но и состояние с давлением ниже атмосферного.

[83] Внешний цилиндр 250 может содержать сквозное отверстие на своем нижнем конце. На наружную сторону внешнего цилиндра 250 через сквозное отверстие внешнего цилиндра 250 могут быть выведены один или несколько проводов или генераторов 310 магнитного поля.

[84] Внутренний цилиндр 200 может содержать по меньшей мере одно опорное основание 201, соприкасающееся с внутренним нижним концом внешнего цилиндра 250. Внутренний цилиндр 200 может быть отделен от внешнего цилиндра 250 по внутренней части внешнего цилиндра 250 опорным основанием 201 и может опираться на внешний цилиндр 250 в продольном направлении, в котором вставляют изделие 20 для генерирования аэрозоля.

[85] Защитная часть 260 может располагаться таким образом, чтобы окружать наружную окружную поверхность по меньшей мере части соединительной части 230. Защитная часть 260 может соприкасаться с наружной окружной поверхностью по меньшей мере части соединительной части 230, что позволяет ей опираться на соединительную часть 230.

[86] Защитная часть 260 может блокировать распространение создаваемого внутри устройства 10 для генерирования аэрозоля индукционного магнитного поля наружу из устройства 10 для генерирования аэрозоля.

[87] Защитная часть 260 может содержать открытое по радиусу пространства 200i для размещения отверстие для прокладки термочувствительного провода 320.

[88] Для предотвращения утечки жидкости на внешнем нижнем конце внешнего цилиндра 250 может быть расположена уплотняющая часть 270. Уплотняющая часть 270 может содержать, например, эластичный материал, такой как резина или силикон.

[89] Уплотняющая часть 270 может содержать проводной канал, через который проходят один или несколько проводов или генераторов 310 магнитного поля. Один или несколько проводов или генераторов 310 магнитного поля могут выходить наружу из уплотняющей части 270 через проводной канал уплотняющей части 270.

[90] Внутри пространства 200i для размещения может быть расположен нагреватель 300. Нагреватель 300 может вмещать по меньшей мере часть изделия 20 для генерирования аэрозоля, введенного в корпус 100. Нагреватель 300 может служить опорой наружной окружной поверхности изделия 20 для генерирования аэрозоля, размещенного в пространстве 200i для размещения.

[91] Нагреватель 300 может вырабатывать тепло при подаче на него питания. По меньшей мере одна область введенного изделия 20 для генерирования аэрозоля может нагреваться нагревателем 300. Испаренные частицы, генерируемые изделием 20 для генерирования аэрозоля при нагревании изделия 20 для генерирования аэрозоля, могут быть смешаны с воздухом во внутреннем пространстве корпуса 100 для генерирования аэрозоля.

[92] Устройство 10 для генерирования аэрозоля в соответствии с одним из вариантов осуществления изобретения может содержать генераторы 310 магнитного поля. В этом случае нагреватель 300 может служить токоприемником.

[93] Генераторы 310 магнитного поля могут быть соединены с внутренним цилиндром 200. Например, генераторы 310 магнитного поля могут быть установлены на внешней стороне внутреннего цилиндра 200.

[94] Генераторы 310 магнитного поля способом индукционного нагрева могут нагревать по меньшей мере одну область изделия 20 для генерирования аэрозоля, размещенного в пространстве 200i для размещения.

[95] Генераторы 310 магнитного поля могут быть расположены вокруг наружной окружной поверхности токоприемника 300 и создавать индукционное магнитное поле в направлении токоприемника 300 за счет поступающей от аккумулятора энергии.

[96] Токоприемник 300 может быть расположен таким образом, чтобы он окружал по меньшей мере часть наружной окружной поверхности изделия 20 для генерирования аэрозоля, размещенного в пространстве 200i для размещения. Токоприемник 300 может нагревать изделие для генерирования аэрозоля, размещенное в пространстве 200i для размещения, за счет воздействия переменного магнитного поля, создаваемого генераторами 310 магнитного поля.

[97] В другом примере нагреватель 300 устройства 10 для генерирования аэрозоля может представлять собой электрорезистивный нагреватель. Например, устройство для генерирования аэрозоля может содержать пленочный нагреватель, расположенный вокруг по меньшей мере части наружной окружной поверхности изделия для генерирования аэрозоля, вставленного в корпус 100. Пленочный нагреватель может содержать электропроводящую дорожку, и при протекании тока по электропроводящей дорожке пленочный нагреватель может генерировать тепло для нагрева изделия для генерирования аэрозоля, вставленного в корпус 100.

[98] В другом примере нагреватель 300 в устройстве 10 для генерирования аэрозоля может представлять собой игольчатый нагреватель и/или стержневой нагреватель и/или трубчатый нагреватель, способный нагревать внутреннюю часть изделия для генерирования аэрозоля, вставленного в корпус 100. Раскрытый выше нагреватель может быть вставлен, например, по меньшей мере в одну область изделия для генерирования аэрозоля для нагрева внутренней части изделия для генерирования аэрозоля.

[99] Примеры не ограничиваются конкретным вариантом осуществления нагревателя 300, и для нагрева изделия 20 для генерирования аэрозоля до заданной температуры можно использовать нагреватели различной формы. В настоящем описании изобретения под «заданной температурой» может пониматься температура, до которой может быть нагрет материал для генерирования аэрозоля, содержащийся в изделии 20 для генерирования аэрозоля, в целях генерирования аэрозоля. Заданная температура может быть задана в устройстве 10 для генерирования аэрозоля. В альтернативном варианте заданная температура может зависеть от типа устройства 10 для генерирования аэрозоля и/или регулировки пользователя.

[100] Например, в качестве температурного датчика может служить термочувствительный провод 320. В качестве термочувствительного провода может служить термопара. В другом примере термочувствительный провод может представлять собой теплопроводящий провод для передачи тепла, причем термочувствительный провод может быть выполнен с возможностью подключения сенсорного модуля для генерирования сигнала в зависимости от изменения температуры.

[101] Часть термочувствительного провода 320 может быть соединена с нагревателем 300. Термочувствительный провод 320 может распознавать изменение температуры нагревателя 300 во время работы нагревателя 300.

[102] Термочувствительный провод 320 может выходить из пространства 200i для размещения наружу внутреннего цилиндра 200 через пространство между внутренним цилиндром 200 и соединительной частью 230. Термочувствительный провод 320 может проходить через пространство между внутренним цилиндром 200 и внешним цилиндром 250.

[103] Другая часть термочувствительного провода 320 может выходить наружу из внешнего цилиндра 250 через сквозное отверстие внешнего цилиндра 250 и внешний цилиндр 250.

[104] Нагреватель 300 может также содержать выступ 301, выступающий наружу. Часть описанного выше термочувствительного провода 320 может быть соединена с выступом 301 нагревателя 300.

[105] Датчик 330 затяжки может определять изменение давления в канале для потока воздуха, когда пользователь выполняет затяжку. Датчик 330 затяжки может быть расположен рядом с первой опорной частью 210.

[106] Расположение и форма описанных выше компонентов не ограничиваются приведенными вариантами осуществления изобретения и могут быть изменены различным образом.

[107] На ФИГ. 3 в разрезе изображена часть устройства для генерирования аэрозоля, изображенного на ФИГ. 1, но под углом, отличающимся от изображения на ФИГ. 2.

[108] На ФИГ. 3 в разрезе по линии В-В изображено устройство 10 для генерирования аэрозоля, изображенное на ФИГ. 1.

[109] Описания, дублирующие описания со ссылкой на ФИГ. 2, будут опущены.

[110] Как показано на ФИГ. 3, сквозное отверстие 250h внешнего цилиндра 250 и проводной канал 270p в уплотняющей части 270 могут быть смещены относительно центральной оси изделия 20 для генерирования аэрозоля в продольном направлении.

[111] По меньшей мере один участок уплотняющей части 270 может быть вставлен в сквозное отверстие 250h внешнего цилиндра 250. Один или несколько электрических проводов или генераторов 310 магнитного поля могут одновременно проходить через сквозное отверстие 250h внешнего цилиндра 250 и проводной канал 270p в уплотняющей части 270.

[112] На ФИГ. 4 изображен покомпонентный вид в аксонометрии части устройства для генерирования аэрозоля, изображенного на ФИГ. 1.

[113] Штрихпунктирная линия, изображенная на ФИГ. 4, представляет собой центральную продольную ось изделия 20 для генерирования аэрозоля, вставленного в устройство для генерирования аэрозоля.

[114] На ФИГ. 4 показано взаимное расположение соответствующих компонентов устройства для генерирования аэрозоля вдоль штрихпунктирной линии.

[115] В соответствии с одним из вариантов осуществления изобретения устройство для генерирования аэрозоля может содержать крышку 110.

[116] Крышка 110 может быть расположена на верхнем конце корпуса (100 на ФИГ. 1) для открывания и закрывания отверстия (100h на ФИГ. 1) в корпусе (100 на ФИГ. 1). Чтобы открыть отверстие (100H на ФИГ. 1) и вставить изделие 20 для генерирования аэрозоля в устройство для генерирования аэрозоля через отверстие (100H на ФИГ. 1), пользователь может нажать на крышку 110.

[117] Изделие 20 для генерирования аэрозоля, вставленное в устройство для генерирования аэрозоля, может соприкасаться с первой опорной частью 210, соединительной частью 230, верхним кольцом 240, нагревателем 300 и второй опорной частью 220 последовательно в продольном направлении, в котором вставлено изделие 20 для генерирования аэрозоля.

[118] Нагреватель 300 и вторая опорная часть 220 могут быть расположены в пространстве 200i для размещения внутреннего цилиндра 200, а соединительная часть 230 и верхнее кольцо 240 могут быть расположены у входа во внутренний цилиндр 200.

[119] Соединительная часть 230 может располагаться на входе во внутренний цилиндр 200 таким образом, чтобы она охватывала по меньшей мере часть наружной окружной поверхности внутреннего цилиндра 200, служа при этом опорой для верхнего конца внутреннего цилиндра 200.

[120] Выступ 301 нагревателя 300 может выступать из наружной окружной поверхности нагревателя 300 наружу нагревателя 300 в окружном направлении нагревателя 300. Часть термочувствительного провода (320 на ФИГ. 2) может быть соединена с выступом 301 нагревателя 300.

[121] Защитная часть 260 может окружать наружную окружную поверхность соединительной части 230 с наружной стороны соединительной части 230. Защитная часть 260 может содержать открытое в радиальном направлении пространства 200i для размещения отверстие 260h для прокладки провода, через которое может проходить термочувствительный провод 320 (на ФИГ. 2). Положение отверстия 260h для прокладки провода может меняться в зависимости от варианта осуществления изобретения.

[122] Защитная часть 260 может быть расположена внутри внешнего цилиндра 250, а уплотняющая часть 270 может быть расположена на внешнем нижнем конце внешнего цилиндра 250.

[123] На ФИГ. 5 изображен покомпонентный вид в аксонометрии увеличенной части изображения на ФИГ. 4.

[124] ФИГ. 5 представляет собой покомпонентный вид в аксонометрии, на котором в увеличенном виде для иллюстрации движения потока воздуха показаны только соответствующие компоненты.

[125] Канал для потока воздуха может быть сформирован путем соединения между собой впускного канала 210i первой опорной части 210, первого воздушного отверстия 230h соединительной части 230, второго воздушного отверстия 240h верхнего кольца 240, внутреннего канала между внутренним цилиндром 200 и нагревателем 300, и переходного канала 220p второй опорной части 220. Здесь под «путем для потока воздуха» может пониматься путь, по которому воздух движется от внешней части устройства для генерирования аэрозоля к нижнему концу изделия для генерирования аэрозоля.

[126] Первая опорная часть 210, соединительная часть 230, верхнее кольцо 240, нагреватель 300 и вторая опорная часть 220 могут быть расположены с возможностью соединения в продольном направлении, в котором вставляют изделие для генерирования аэрозоля.

[127] Впускной канал 210i первой опорной части 210, первое воздушное отверстие 230h соединительной части 230, второе воздушное отверстие 240h верхнего кольца 240 и переходный канал 220p второй опорной части 220 могут быть соединены с друг другом в продольном направлении, как описано выше. Это позволяет подаваемому через впускной канал 210i воздуху протекать в продольном направлении, как описано выше. В данном случае указание «компоненты соединены в продольном направлении» не ограничивается полным совмещением центров отверстий компонентов, но также включает формирование конструкции, в которой отверстия соответствующих компонентов соединены друг с другом таким образом, чтобы воздух мог проходить в продольном направлении.

[128] На ФИГ. 6 изображен увеличенный вид в разрезе некоторых компонентов устройства для генерирования аэрозоля, изображенного на ФИГ. 1.

[129] На ФИГ. 6 изображена схема перемещения воздуха при затяжке пользователя с помощью устройства для генерирования аэрозоля.

[130] В одном из вариантов осуществления изобретения при контакте рта пользователя с изделием 20 для генерирования аэрозоля и выполнении затяжки между внешней стороной устройства 10 для генерирования аэрозоля и внутренним пространством корпуса 100 возникает разность давлений, что обеспечивает поступление внешнего воздуха в корпус 100 через первую опорную часть 210.

[131] Внешний воздух, поступающий в корпус 100, может проходить через впускной канал 210i первой опорной части 210. Проходящий через впускной канал 210i воздух проходит через первое воздушное отверстие 230h и второе воздушное отверстие 240h и попадает во внутренний канал 200p между внутренним цилиндром 200 и нагревателем 300. Движущийся по внутреннему каналу 200p воздух может поступать во вторую опорную часть 220.

[132] Поступивший в переходный канал 220p второй опорной части 220 воздух может проходить через переходный канал 220p по U-образной траектории в соответствии с формой второй опорной части 220, после чего может проходить к концу изделия 20 для генерирования аэрозоля, вставленного в пространство 200i для размещения.

[133] Аэрозоль можно генерировать путем смешивания воздуха, поступающего в изделие 20 для генерирования аэрозоля, с испаренными частицами, образующимися при нагреве изделия 20 для генерирования аэрозоля. Делая затяжку изделием 20 для генерирования аэрозоля, пользователь может вдыхать генерируемый в пространстве 200i для размещения аэрозоль.

[134] На ФИГ. 7 изображен вид в аксонометрии первой опоры, установленной в устройстве для генерирования аэрозоля, изображенном на ФИГ. 1.

[135] Первая опорная часть 210 может содержать один или более опорных корпусов 210s, служащих опорой по меньшей мере части изделия для генерирования аэрозоля, и впускной канал 210i, через который воздух снаружи устройства 10 для генерирования аэрозоля поступает в пространство 200i для размещения.

[136] Опорные корпуса 210s могут служить опорой для изделия для генерирования аэрозоля, соприкасаясь по меньшей мере с частью наружной поверхности изделия для генерирования аэрозоля. Соответственно, несколько опорных корпусов 210s может быть расположено в окружном направлении пространства 200i для размещения и соприкасаться с внешней стороной изделия для генерирования аэрозоля. Когда изделие для генерирования аэрозоля вставлено в первую опорную часть 210, опорные корпуса 210s могут соприкасаться с изделием для генерирования аэрозоля, одновременно формируя в пространстве между первой опорной частью 210 и изделием для генерирования аэрозоля впускной канал 210i. Таким образом впускной канал 210i может находиться между соседними опорными корпусами 210s.

[137] Впускной канал 210i может пропускать воздух и иметь форму, сужающуюся от наружной части устройства 10 для генерирования аэрозоля к внутренней части пространства 200i для размещения. Такая форма впускного канала 210i может обеспечить два преимущества по сравнению с формой впускного канала с постоянной шириной в продольном направлении корпуса 100.

[138] Во-первых, в пространство 200i для размещения может бесперебойно поступать достаточное количество наружного воздуха за счет того, что площадь открытого к наружной стороне корпуса 100 отверстия впускного канала 210i максимальна среди всех путей впускного канала 210i. Тем самым за счет структуры впускного канала 210i может быть повышена эффективность распыления в устройстве 10 для генерирования аэрозоля.

[139] Во-вторых, размер впускного канала 210i может постепенно уменьшаться от открытого к наружной стороне корпуса 100 отверстия к внутренней части пространства 200i для размещения. Изменение размеров впускного канала 210i может изменять скорость проходящего через впускной канал 210i потока воздуха. При изменении скорости потока воздуха давление в пространстве 200i для размещения может также изменяться, и датчик (330 на ФИГ. 2) затяжки будет регистрировать изменение давления воздуха. Контроллер может распознавать затяжку, когда пользователь делает вдох, на основании регистрации изменения давления датчиком (330 на ФИГ. 2) затяжки.

[140] На ФИГ. 8 изображен вид в аксонометрии второй опорной части, установленной в устройстве для генерирования аэрозоля, изображенном на ФИГ. 1.

[141] На ФИГ. 8 изображена схема движения воздуха во второй опорной части 220.

[142] При введении изделия для генерирования аэрозоля в устройство 10 для генерирования аэрозоля и контакте изделия с внутренней поверхностью второй опорной части 220 между второй опорной частью 220 и изделием для генерирования аэрозоля может быть образован переходный канал 220p.

[143] Воздух, движущийся по внутреннему каналу 200p между внутренним цилиндром 200 и нагревателем 300, может попадать в переходный канал 220p второй опорной части 220. Переходный канал 220p может иметь U-образную форму, соответствующую форме второй опорной части 220. Воздух, движущийся по переходному каналу 220p, может достигать конца изделия для генерирования аэрозоля.

[144] Тем не менее, расположение и форма переходного канала 220p не ограничиваются описанными выше вариантами осуществления и могут изменяться различным образом.

[145] На ФИГ. 9 изображен вид в аксонометрии внутреннего цилиндра устройства для генерирования аэрозоля в соответствии с другим вариантом осуществления изобретения.

[146] По сравнению с внутренним цилиндром 200 устройства для генерирования аэрозоля согласно одному из вариантов осуществления изобретения, внутренний цилиндр 900 устройства для генерирования аэрозоля согласно другому варианту осуществления изобретения содержит паз 900g, выполненный на внешней стороне внутреннего цилиндра 900. В паз 900g может быть установлен генератор магнитного поля. Установленный генератор магнитного поля может быть более прочно соединен с внутренним цилиндром 900.

[147] По сравнению с внутренним цилиндром 200 устройства для генерирования аэрозоля согласно одному из вариантов осуществления изобретения, внутренний цилиндр 900 устройства для генерирования аэрозоля согласно другому варианту осуществления изобретения может представлять собой внутренний цилиндр 900, по меньшей мере часть которого имеет меньшую толщину для того, чтобы обеспечить поступление в пространство для размещения достаточного количества воздуха. Например, толщина внутреннего цилиндра 900 может быть уменьшена (W1 > W2) по направлению к нижней поверхности нижнего конца внутреннего цилиндра 900 в продольном направлении, в котором вставлено изделие для генерирования аэрозоля. Соответственно, размер пространства для размещения увеличивается по направлению к нижней поверхности нижнего конца внутреннего цилиндра 900, что позволяет увеличить поток воздуха.

[148] На ФИГ. 10 представлена блок-схема устройства для генерирования аэрозоля согласно одному из вариантов осуществления изобретения.

[149] Устройство 1000 для генерирования аэрозоля может содержать контроллер 1010, сенсорный блок 1020, блок 1030 вывода, аккумулятор 1040, нагреватель 1050, блок 1060 пользовательского ввода, память 1070 и блок 1080 связи. Тем не менее, внутренняя структура устройства 1000 для генерирования аэрозоля не ограничивается вариантами, показанными на ФИГ. 10. То есть специалисту в данной области техники очевидно, что некоторые из компонентов, показанных на ФИГ. 10, могут отсутствовать, или новые компоненты могут быть добавлены в соответствии с конструктивным исполнением устройства 1000 для генерирования аэрозоля.

[150] Сенсорный блок 1020 может распознавать состояние устройства 1000 для генерирования аэрозоля и состояние среды вокруг устройства 1000 для генерирования аэрозоля, и передавать информацию от датчиков в контроллер 1010. На основании информации от датчиков контроллер 1010 может подавать на устройство 1000 для генерирования аэрозоля команды на выполнение различных функций, таких как управление работой нагревателя 1050, ограничение курения, распознавание введения изделия для генерирования аэрозоля (например, сигареты, картриджа и т.п.), отображение уведомления и т. п.

[151] Сенсорный блок 1020 может содержать датчик 1022 температуры и/или датчик 1024 распознавания введения и/или датчик 1026 затяжки, а также другие датчики.

[152] Датчик 1022 температуры может определять температуру, до которой нагрет нагреватель 1050 (или материал для генерирования аэрозоля). Устройство 1000 для генерирования аэрозоля может содержать отдельный датчик температуры для определения температуры нагревателя 1050, или сам нагреватель 1050 может служить датчиком температуры. В альтернативном варианте датчик 1022 температуры может быть расположен вокруг аккумулятора 1040 для контроля температуры аккумулятора 1040.

[153] Датчик 1024 распознавания введения может распознавать введение и/или извлечение изделия для генерирования аэрозоля. Например, датчик 1024 распознавания введения может представлять собой пленочный датчик и/или датчик давления и/или световой датчик и/или резистивный датчик и/или емкостной датчик и/или индуктивный датчик и/или инфракрасный датчик, и может распознавать изменение сигнала при введении и/или извлечении изделия для генерирования аэрозоля.

[154] Датчик 1026 затяжки может распознавать выполняемую пользователем затяжку на основании различных физических изменений на пути для потока воздуха или в канале для потока воздуха. Например, датчик 1026 затяжки может распознавать затяжку пользователя, основываясь на изменении любого из следующих параметров: температура, поток, напряжение и давление.

[155] Сенсорный блок 1020 может дополнительно содержать по меньшей мере один из следующих компонентов: датчик температуры/влажности, датчик атмосферного давления, магнитный датчик, датчик ускорения, гироскоп, датчик положения (например, датчик глобальной системы позиционирования (GPS)), датчик приближения или датчик красного, зеленого, синего (RGB) цвета (датчик освещенности), в дополнение к датчику 1022 температуры, датчику 1024 распознавания введения и датчику 1026 затяжки, раскрытым выше. Поскольку назначение каждого датчика может быть интуитивно понятно из его названия специалисту в данной области техники, подробное раскрытие этого назначения в настоящем документе может быть опущено.

[156] Блок 1030 вывода может выводить информацию о состоянии устройства 1000 для генерирования аэрозоля и предоставлять ее пользователю. Блок 1030 вывода может содержать устройство 1032 отображения и/или тактильное устройство 1034 и/или устройство 1036 вывода звука, а также другие устройства. Если устройство 1032 отображения и сенсорная панель выполнены в виде слоистой структуры для формирования сенсорного экрана, устройство 1032 отображения можно использовать в качестве устройства ввода в дополнение к устройству вывода.

[157] Устройство 1032 отображения может визуально предоставлять пользователю информацию об устройстве 1000 для генерирования аэрозоля. Информация об устройстве 1000 для генерирования аэрозоля может содержать, например, состояние зарядки/разрядки аккумулятора 1040 устройства 1000 для генерирования аэрозоля, состояние предварительного нагрева нагревателя 1050, состояние введения/извлечения изделия для генерирования аэрозоля, состояние ограниченного использования (например, обнаружен нестандартный объект) устройства 1000 для генерирования аэрозоля и т.п., и устройство 1032 отображения может выводить информацию наружу. Устройство 1032 отображения может представлять собой, например, жидкокристаллический дисплей (LCD), дисплей на органических светодиодах (OLED) и т. п. Кроме того, устройство 1032 отображения может быть выполнено в виде устройства на светоизлучающих диодах (LED).

[158] Тактильное устройство 1034 может предоставлять пользователю информацию об устройстве 1000 для генерирования аэрозоля тактильным способом путем преобразования электрического сигнала в механический или электрический раздражитель. Тактильное устройство 1034 может представлять собой, например, мотор, пьезоэлектрический элемент или устройство электрической стимуляции.

[159] Устройство 1036 вывода звука может предоставлять пользователю информацию об устройстве 1000 для генерирования аэрозоля в звуковой форме. Например, устройство 1036 вывода звука может преобразовывать электрический сигнал в звуковой сигнал и выводить звуковой сигнал наружу.

[160] Аккумулятор 1040 может подавать питание, используемое для управления устройством 1000 для генерирования аэрозоля. Например, аккумулятор 1040 может подавать питание, позволяющее нагревать нагреватель 1050. Кроме того, аккумулятор 1040 может подавать питание, необходимое для работы других компонентов (например, сенсорного блока 1020, блока 1030 вывода, блока 1060 пользовательского ввода, памяти 1070 и блока 1080 связи), входящих в состав устройства 1000 для генерирования аэрозоля. Аккумулятор 1040 может представлять собой перезаряжаемый аккумулятор или одноразовый аккумулятор. Например, аккумулятор 1040 может представлять собой литий-полимерный (LiPoly) аккумулятор; также возможны другие варианты.

[161] Нагреватель 1050 может получать питание от аккумулятора 1040 для нагрева материала для генерирования аэрозоля. Хотя на ФИГ. 10 это не показано, устройство 1000 для генерирования аэрозоля может дополнительно содержать схему преобразования энергии (например, преобразователь постоянного тока (DC) в постоянный ток (DC/DC)), которая преобразует питание аккумулятора 1040 и подает его на нагреватель 1050. Кроме того, когда устройство 1000 для генерирования аэрозоля генерирует аэрозоль способом индукционного нагрева, устройство 1000 для генерирования аэрозоля может дополнительно содержать преобразователь постоянного тока в переменный ток (DC/AC), который преобразует постоянный ток аккумулятора 1040 в переменный ток.

[162] Контроллер 1010, сенсорный блок 1020, блок 1030 вывода, блок 1060 пользовательского ввода, память 1070 и блок 1080 связи могут получать необходимое для выполнения своих функций питание от аккумулятора 1040. Хотя это не показано на ФИГ. 10, устройство 1000 для генерирования аэрозоля может дополнительно содержать схему преобразования питания, преобразующую питание аккумулятора 1040 для подачи питания на соответствующие компоненты, например, схему с низким падением напряжения (LDO) или схему регулятора напряжения.

[163] В одном из вариантов осуществления изобретения нагреватель 1050 может содержать любой подходящий электрорезистивный материал. Например, подходящий электрорезистивный материал может представлять собой металл или сплав металлов, в том числе титан, цирконий, тантал, платину, никель, кобальт, хром, гафний, ниобий, молибден, вольфрам, олово, галлий, марганец, железо, медь, нержавеющую сталь, нихром и т. п., а также другие металлы или сплавы. Кроме того, нагреватель 1050 может быть выполнен в виде металлической проволоки, металлической пластины, на которой размещена электропроводящая дорожка, или керамического нагревающего элемента, а также в других вариантах.

[164] В другом варианте осуществления изобретения нагреватель 1050 может представлять собой нагреватель индукционного типа. Например, нагреватель 1050 может содержать токоприемник, нагревающий материал для генерирования аэрозоля путем выработки тепла через магнитное поле, индуцированное катушкой.

[165] Блок 1060 пользовательского ввода может принимать информацию, введенную пользователем, или выводить информацию пользователю. Например, блок 1060 пользовательского ввода может содержать клавиатуру, купольный переключатель, сенсорную панель (например, контактно-емкостного типа, типа резистивной пленки, типа инфракрасного датчика, типа поверхностной ультразвуковой проводимости, типа измерения интегрального напряжения, типа пьезоэффекта и т.д.), колесо переключения, переключатель и т.п. Кроме того, хотя это и не показано на ФИГ. 10, устройство 1000 для генерирования аэрозоля может дополнительно содержать интерфейс подключения, например интерфейс универсальной последовательной шины (USB), и может быть подключено к другому внешнему устройству через интерфейс подключения, например USB, для передачи и приема информации или зарядки аккумулятора 1040.

[166] Память 1070 представляет собой компонент аппаратного обеспечения, хранящий различные типы данных, обрабатываемых в устройстве 1000 для генерирования аэрозоля, и может хранить подлежащие обработке данные и обрабатываемые контроллером 1010 данные. Память 1070 может представлять собой по меньшей мере один из следующих типов носителя информации: флэш-память, жесткий диск, мультимедийная микрокарта, карта (например, SD или XD), оперативная память (RAM), постоянная оперативная память (SRAM), постоянная память (ROM), электрически стираемая программируемая постоянная память (EEPROM), программируемая постоянная память (PROM), магнитная память, магнитный диск или оптический диск. Память 1070 может хранить время работы устройства 1000 для генерирования аэрозоля, максимальное число затяжек, текущее число затяжек, по меньшей мере один профиль температуры, данные о привычных действиях пользователя при курении и т. п.

[167] Блок 1080 связи может содержать по меньшей мере один компонент для связи с другим электронным устройством. Например, блок 1080 связи может содержать блок 1082 беспроводной связи малого радиуса действия и блок 1084 беспроводной связи.

[168] Блок 1082 беспроводной связи малого радиуса действия может представлять собой блок связи Bluetooth, блок связи Bluetooth с низким энергопотреблением (BLE), блок связи ближнего поля, блок связи WLAN (Wi-Fi), блок связи ZigBee, блок связи ассоциации передачи данных в инфракрасном диапазоне (IrDA), блок связи Wi-Fi direct (WFD), сверхширокополосной блок связи (UWB) и блок связи Ant+, а также иные подобные устройства, но не ограничивается этими вариантами.

[169] Блок 1084 беспроводной связи может представлять собой коммуникатор сотовой сети, коммуникатор Интернета, коммуникатор компьютерной сети (например, локальной сети (LAN) или глобальной сети (WAN)), а также иные подобные устройства, но не ограничивается этими вариантами. Блок 1084 беспроводной связи может использовать информацию об абоненте (например, международный идентификатор мобильного абонента (IMSI)) для идентификации и аутентификации устройства 1000 для генерирования аэрозоля в сети связи.

[170] Контроллер 1010 может управлять работой устройства 1000 для генерирования аэрозоля в целом. В одном из вариантов осуществления изобретения контроллер 1010 может содержать по меньшей мере один процессор. Процессор может быть реализован как массив из множества логических элементов или как комбинация микропроцессора общего назначения и памяти, в которой хранится программа, исполняемая в микропроцессоре. Специалисту в данной области техники будет понятно, что процессор может быть реализован с использованием других видов аппаратных средств.

[171] Контроллер 1010 может управлять температурой нагревателя 1050 путем управления подачей питания от аккумулятора 1040 на нагреватель 1050. Например, контроллер 1010 может управлять подачей питания путем управления переключением переключающего элемента между аккумулятором 1040 и нагревателем 1050. В другом варианте осуществления изобретения схема прямого нагрева может управлять подачей питания на нагреватель 1050 в соответствии с управляющей командой от контроллера 1010.

[172] Контроллер 1010 может анализировать результат, полученный сенсорным блоком 1020, и управлять последующими процессами. Например, контроллер 1010 может управлять питанием, подаваемым на нагреватель 1050, для запуска или прекращения работы нагревателя 1050 на основании результата, полученного сенсорным блоком 1020. В другом варианте осуществления изобретения контроллер 1010 на основании результата, полученного сенсорным блоком 1020, может управлять количеством питания, подаваемого на нагреватель 1050, и временем подачи питания, что позволяет нагревать нагреватель 1050 до определенной температуры или поддерживать его на соответствующем уровне температуры.

[173] Контроллер 1010 может управлять блоком 1030 вывода на основании результата, полученного сенсорным блоком 1020. Например, если количество затяжек, подсчитанное датчиком 1026 затяжки, достигает заданного количества, контроллер 1010 может сообщить пользователю, что работа устройства 1000 для генерирования аэрозоля скоро закончится, посредством устройства 1032 отображения и/или тактильного устройства 1034 и/или устройства 1036 вывода звука.

[174] В одном из вариантов осуществления изобретения контроллер 1010 может управлять временем и/или количеством питания, подаваемого на нагреватель 1050, в зависимости от состояния изделия для генерирования аэрозоля (например, изделия 20 для генерирования аэрозоля на ФИГ. 1), распознанного сенсорным блоком 1020. Например, когда изделие 20 для генерирования аэрозоля находится в переувлажненном состоянии, контроллер 1010 может управлять временем подачи питания на катушку индуктивности (например, генератор 310 электрического поля на ФИГ. 2) для увеличения времени предварительного нагрева изделия 20 для генерирования аэрозоля по сравнению с обычным состоянием.

[175] Один вариант осуществления изобретения может быть также реализован в форме носителя информации, содержащего инструкции, выполняемые компьютером, такие как программные модули, выполняемые компьютером. Машиночитаемый записывающий носитель может представлять собой любой доступный носитель, к которому может иметь доступ компьютер, и включает в себя как не сохраняющие информацию при выключении питания, так и сохраняющие информацию при выключении питания носители, и съемные и несъемные носители. Кроме того, машиночитаемый носитель может содержать как запоминающую среду компьютера, так и коммуникационную среду. Запоминающая среда компьютера содержит все из не сохраняющих информацию при выключении питания и сохраняющих информацию при выключении питания носителей и съемных и несъемных носителей, реализуемых любым способом или методом хранения информации, такие как машиночитаемые инструкции, структуры данных, программные модули или другие данные. Коммуникационная среда обычно содержит машиночитаемые инструкции, структуры данных, другие данные в модулированных сигналах данных, таких как программные модули, или другие механизмы передачи, и содержит любые среды передачи информации.

[176] Описание вышеизложенных вариантов осуществления представляют собой лишь примеры, и специалисту в данной области техники будет понятно, что возможно внесение различных изменений и использование эквивалентов. Поэтому защищаемый объем изобретения должен определяться прилагаемой формулой изобретения, и все отличия в защищаемом объеме, эквивалентные раскрытым в пунктах формулы, будут интерпретированы как включаемые в защищаемый объем, определяемый формулой.

Похожие патенты RU2837965C2

название год авторы номер документа
УСТРОЙСТВО ДЛЯ ГЕНЕРИРОВАНИЯ АЭРОЗОЛЯ 2023
  • Ким, Тхэ Хон
  • Пак, Чу Он
  • Юн, Сон Ук
  • Чон, Хён Чин
  • Хан, Чон Хо
RU2839920C2
УСТРОЙСТВО ДЛЯ ГЕНЕРИРОВАНИЯ АЭРОЗОЛЯ, СОДЕРЖАЩЕЕ КАНАЛ ДЛЯ ПОТОКА ВОЗДУХА 2022
  • Ким, Тон Сун
  • Хан, Дэ Нам
  • Ким, Хван
  • Ли, Сын Вон
  • Чан, Сок Су
RU2831743C2
УСТРОЙСТВО ДЛЯ ГЕНЕРИРОВАНИЯ АЭРОЗОЛЯ 2022
  • Ким, Тон Сун
  • Гвон, Пум
  • Ким, Хван
  • Лим, Хон Иль
  • Чан, Сок Су
RU2840253C2
УСТРОЙСТВО ДЛЯ ГЕНЕРИРОВАНИЯ АЭРОЗОЛЯ 2022
  • Пак, Чуон
  • Ким, Минкю
  • Ли, Чжонсоб
  • Чо, Пюнсун
RU2822055C2
УСТРОЙСТВО ДЛЯ ГЕНЕРИРОВАНИЯ АЭРОЗОЛЯ (ВАРИАНТЫ) 2022
  • Ким, Тон Сон
  • Ким, Хван
  • Ли, Сын Вон
  • Чан, Сок Су
  • Хан, Дэ Нам
RU2831406C2
УСТРОЙСТВО ДЛЯ ГЕНЕРИРОВАНИЯ АЭРОЗОЛЯ 2022
  • Ким, Хван
  • Ким, Тон Сон
  • Лим, Хониль
  • Чан, Сок Су
RU2820134C2
УСТРОЙСТВО ДЛЯ ГЕНЕРИРОВАНИЯ АЭРОЗОЛЯ (ВАРИАНТЫ) 2022
  • Ли, Чжонсоб
  • Ким, Минкю
  • Пак, Чуон
  • Чо, Пюнсун
RU2829096C2
КАРТРИДЖ И УСТРОЙСТВО ДЛЯ ГЕНЕРИРОВАНИЯ АЭРОЗОЛЯ, СОДЕРЖАЩЕЕ ТАКОЙ КАРТРИДЖ 2022
  • Ли, Чжонсоб
  • Ким, Минкю
  • Пак, Чуон
  • Чо, Пюнсун
RU2830108C2
УСТРОЙСТВО ДЛЯ ГЕНЕРИРОВАНИЯ АЭРОЗОЛЯ 2022
  • Ким, Тэхун
RU2838193C2
УСТРОЙСТВО ДЛЯ ГЕНЕРИРОВАНИЯ АЭРОЗОЛЯ С ОПОРОЙ ДЛЯ ПОДАЧИ ВОЗДУХА В ИЗДЕЛИЕ ДЛЯ ГЕНЕРИРОВАНИЯ АЭРОЗОЛЯ 2022
  • Ким, Тон Сун
  • Гвон, Пум
  • Ким, Хван
  • Лим, Хон Иль
  • Чан, Сок Су
RU2840251C2

Иллюстрации к изобретению RU 2 837 965 C2

Реферат патента 2025 года УСТРОЙСТВО ДЛЯ ГЕНЕРИРОВАНИЯ АЭРОЗОЛЯ

Изобретение относится к устройству для генерирования аэрозоля. Устройство для генерирования аэрозоля содержит внутренний цилиндр, содержащий пространство для размещения, предназначенное для размещения изделия для генерирования аэрозоля, первую опорную часть, расположенную у входа в пространство для размещения, первая опорная часть содержит множество опорных корпусов, расположенных в окружном направлении пространства для размещения, и служащую опорой изделия для генерирования аэрозоля, размещенного в пространстве для размещения, и впускной канал между соседними опорными корпусами, через который наружный воздух поступает в пространство для размещения, вторую опорную часть, расположенную внутри пространства для размещения и служащую опорой конца изделия для генерирования аэрозоля, причем вторая опорная часть содержит переходный канал, через который воздух в пространстве для размещения поступает в изделие для генерирования аэрозоля, и нагреватель, расположенный внутри пространства для размещения, служащий опорой для внешней поверхности изделия для генерирования аэрозоля и выполненный с возможностью выработки тепла для нагрева изделия для генерирования аэрозоля. Между внутренним цилиндром и нагревателем образован внутренний канал с тем, чтобы поступающий в пространство для размещения через впускной канал первой опорной части воздух попадал во вторую опорную часть, при этом впускной канал сформирован в пространстве между первой опорной частью и изделием для генерирования аэрозоля, когда изделие для генерирования аэрозоля вставлено в устройство для генерирования аэрозоля и соприкасается с опорными корпусами. Переходный канал сформирован в пространстве между второй опорной частью и изделием для генерирования аэрозоля, когда изделие для генерирования аэрозоля вставлено в устройство для генерирования аэрозоля и соприкасается со второй опорной частью. Впускной канал и переходный канал выполнены с возможностью соединения друг с другом в продольном направлении вставки изделия для генерирования аэрозоля таким образом, чтобы входящий во впускной канал воздух протекал в продольном направлении, при этом внешний воздух, поступающий в конец изделия для генерирования аэрозоля, вставленного в пространство для размещения через впускной канал, внутренний канал и переходный канал, смешивается с испаренными частицами, образующимися при нагреве изделия для генерирования аэрозоля и вдыхается пользователем. Обеспечивается поступление воздуха в один конец изделия для генерирования аэрозоля с нескольких направлений. В результате воздух может эффективно переносить образующийся аэрозоль по всей рабочей секции. Это позволяет максимально эффективно использовать аэрозоль, образующийся в рабочей секции, увеличивает продолжительность курения и повышает удовлетворенность пользователя курением. 13 з.п. ф-лы, 10 ил.

Формула изобретения RU 2 837 965 C2

1. Устройство для генерирования аэрозоля, содержащее:

внутренний цилиндр, содержащий пространство для размещения, предназначенное для размещения изделия для генерирования аэрозоля;

первую опорную часть, расположенную у входа в пространство для размещения, первая опорная часть содержит множество опорных корпусов, расположенных в окружном направлении пространства для размещения, и служащую опорой изделия для генерирования аэрозоля, размещенного в пространстве для размещения, и впускной канал между соседними опорными корпусами, через который наружный воздух поступает в пространство для размещения;

вторую опорную часть, расположенную внутри пространства для размещения и служащую опорой конца изделия для генерирования аэрозоля, причем вторая опорная часть содержит переходный канал, через который воздух в пространстве для размещения поступает в изделие для генерирования аэрозоля; и

нагреватель, расположенный внутри пространства для размещения, служащий опорой для внешней поверхности изделия для генерирования аэрозоля и выполненный с возможностью выработки тепла для нагрева изделия для генерирования аэрозоля;

при этом между внутренним цилиндром и нагревателем образован внутренний канал с тем, чтобы поступающий в пространство для размещения через впускной канал первой опорной части воздух попадал во вторую опорную часть, при этом впускной канал сформирован в пространстве между первой опорной частью и изделием для генерирования аэрозоля, когда изделие для генерирования аэрозоля вставлено в устройство для генерирования аэрозоля и соприкасается с опорными корпусами, при этом переходный канал сформирован в пространстве между второй опорной частью и изделием для генерирования аэрозоля, когда изделие для генерирования аэрозоля вставлено в устройство для генерирования аэрозоля и соприкасается со второй опорной частью, при этом впускной канал и переходный канал выполнены с возможностью соединения друг с другом в продольном направлении вставки изделия для генерирования аэрозоля таким образом, чтобы входящий во впускной канал воздух протекал в продольном направлении, при этом внешний воздух, поступающий в конец изделия для генерирования аэрозоля, вставленного в пространство для размещения через впускной канал, внутренний канал и переходный канал, смешивается с испаренными частицами, образующимися при нагреве изделия для генерирования аэрозоля и вдыхается пользователем.

2. Устройство для генерирования аэрозоля по п. 1, дополнительно содержащее датчик затяжки, расположенный рядом с первой опорной частью, в котором первая опорная часть дополнительно содержит отверстие для распознавания затяжки, соединенное с датчиком затяжки.

3. Устройство для генерирования аэрозоля по п. 1, дополнительно содержащее соединительную часть, соединенную с первой опорной частью, в котором соединительная часть содержит первое воздушное отверстие, через которое проходящий через впускной канал первой опорной части воздух попадает в пространство для размещения.

4. Устройство для генерирования аэрозоля по п. 3, дополнительно содержащее датчик затяжки, расположенный рядом с первой опорной частью, в котором канал распознавания затяжки, соединяющий впускной канал с датчиком затяжки, образован соединительной частью и первой опорной частью.

5. Устройство для генерирования аэрозоля по п. 3, дополнительно содержащее верхнее кольцо, соединенное с соединительной частью, в котором верхнее кольцо содержит второе воздушное отверстие, через которое воздух, проходя через первое воздушное отверстие соединительной части, попадает в пространство для размещения, и один конец нагревателя выполнен с возможностью введения в верхнее кольцо таким образом, чтобы верхнее кольцо служило опорой для нагревателя.

6. Устройство для генерирования аэрозоля по п. 5, в котором первая опорная часть, соединительная часть, верхнее кольцо, нагреватель и вторая опорная часть выполнены с возможностью соединения друг с другом в продольном направлении и впускной канал, первое воздушное отверстие, второе воздушное отверстие и переходный канал выполнены с возможностью соединения друг с другом в продольном направлении.

7. Устройство для генерирования аэрозоля по п. 3, дополнительно содержащее внешний цилиндр, отделенный от внутреннего цилиндра по внешней стороне внутреннего цилиндра для предотвращения передачи вырабатываемого нагревателем тепла наружу, причем внешний цилиндр содержит сквозное отверстие, через которое проходят один или более проводов или генераторов магнитного поля.

8. Устройство для генерирования аэрозоля по п. 7, в котором внешний цилиндр содержит внутреннюю стенку, обращенную к внутреннему цилиндру, внешнюю стенку, отделенную от внутренней стенки по направлению к внешней стороне внешнего цилиндра, и теплоизолирующее пространство, образованное между внутренней и внешней стенками.

9. Устройство для генерирования аэрозоля по п. 7, в котором внутренний цилиндр выполнен с возможностью введения в часть соединительной части таким образом, чтобы соединительная часть служила опорой этого цилиндра, и внутренний цилиндр дополнительно содержит одно или более опорных оснований, соприкасающихся с внутренним нижним концом внешнего цилиндра таким образом, чтобы внешний цилиндр служил опорой этих оснований в продольном направлении.

10. Устройство для генерирования аэрозоля по п. 7, дополнительно содержащее уплотняющую часть для предотвращения утечки жидкости, расположенную на наружном нижнем конце внешнего цилиндра, в котором уплотняющая часть содержит проводной канал, через который проходят один или несколько проводов или генераторов магнитного поля.

11. Устройство для генерирования аэрозоля по п. 7, дополнительно содержащее термочувствительный провод с подключаемой к нагревателю частью, проходящий через пространство между внутренним цилиндром и внешним цилиндром, в котором другая часть термочувствительного провода проходит через сквозное отверстие внешнего цилиндра.

12. Устройство для генерирования аэрозоля по п. 1, дополнительно содержащее генератор магнитного поля, соединенный с внутренним цилиндром и выполненный с возможностью создания направленного на нагреватель индукционного магнитного поля, в котором нагреватель содержит токоприемник, выполненный с возможностью выработки тепла при воздействии индукционного магнитного поля.

13. Устройство для генерирования аэрозоля по п. 12, дополнительно содержащее паз, образованный на внешней поверхности внутреннего цилиндра, в котором генератор магнитного поля установлен в паз на внутреннем цилиндре.

14. Устройство для генерирования аэрозоля по п. 1, в котором толщина по меньшей мере части внутреннего цилиндра уменьшена для обеспечения поступления достаточного количества воздуха в пространство для размещения.

Документы, цитированные в отчете о поиске Патент 2025 года RU2837965C2

Способ регенерирования сульфо-кислот, употребленных при гидролизе жиров 1924
  • Петров Г.С.
SU2021A1
US 5954979 A, 21.09.1999
Способ регенерирования сульфо-кислот, употребленных при гидролизе жиров 1924
  • Петров Г.С.
SU2021A1
US 6803550 B2, 12.10.2004
EP 3610741 A1, 19.02.2020
CN 112220116 A, 15.01.2021
Способ восстановления спиралей из вольфрамовой проволоки для электрических ламп накаливания, наполненных газом 1924
  • Вейнрейх А.С.
  • Гладков К.К.
SU2020A1
ЭЛЕКТРОННОЕ КУРИТЕЛЬНОЕ ИЗДЕЛИЕ И УЛУЧШЕННЫЙ НАГРЕВАТЕЛЬНЫЙ ЭЛЕМЕНТ 2013
  • Такер Кристофер С.
  • Джордан Джеффри Брэндон
RU2635970C2
Способ приготовления мыла 1923
  • Петров Г.С.
  • Таланцев З.М.
SU2004A1

RU 2 837 965 C2

Авторы

Ким, Тон Сон

Квон, Пум

Ким, Хван

Лим, Хен Иль

Чан, Сок Су

Даты

2025-04-07Публикация

2022-11-10Подача