[Область техники]
[1] Настоящее изобретение относится к устройству для генерирования аэрозоля.
[Предшествующий уровень техники]
[2] Устройство для генерирования аэрозоля представляет собой устройство, извлекающее определенные компоненты из среды или вещества путем образования аэрозоля. Среда может содержать многокомпонентное вещество. Вещество, содержащееся в среде, может представлять собой многокомпонентное ароматизирующее вещество. Например, вещество, содержащееся в среде, может содержать никотиновый компонент, растительный компонент и/или кофейный компонент. В последнее время проводятся различные исследования устройств для генерирования аэрозоля. Так в качестве ближайшего аналога может быть рассмотрен источник KR 10-2021-0101045, в котором описано устройство для генерирования аэрозоля, содержащее часть для крепления картриджа, в которой картридж установлен с возможностью отсоединения; электродный блок, расположенный на расстоянии от картриджа, установленного на части для крепления картриджа; блок датчиков, который получает значение измерения емкости путем измерения емкости электродного блока; и блок управления, это определяет общее количество затяжек, при которых может образовываться аэрозоль из картриджа, установленного на монтажной части картриджа, на основе значения измерения емкости.
[Сущность изобретения]
[Техническая задача]
[3] Задачей настоящего изобретения является устранение вышеупомянутых и других недостатков.
[4] Другой задачей настоящего изобретения является разработка устройства для генерирования аэрозоля, в котором повышена эффективность использования пространства, в котором размещена подложка.
[5] Другой задачей настоящего изобретения является разработка устройства для генерирования аэрозоля, герметизирующего и защищающего пространство, в котором размещена плата.
[6] Другой задачей настоящего изобретения является разработка устройства для генерирования аэрозоля, отличающегося повышенной воздухонепроницаемостью и стабильностью.
[Техническое решение]
[7] Согласно одному из аспектов настоящего изобретения, поставленная задача решена устройством для генерирования аэрозоля, содержащим: корпус, содержащий удлиненное пространство для введения; картридж, соединенный с корпусом таким образом, чтобы он примыкал к пространству для введения; перегородку, сформированную на корпусе между пространством для введения и картриджем и выполненную с возможностью образования первого пространства внутри него; и датчик, установленный на корпусе и электрически соединенный с платой, расположенной в первом пространстве.
[Полезные эффекты изобретения]
[8] По меньшей мере в одном из вариантов осуществления настоящего изобретения может быть предложено устройство для генерирования аэрозоля, отличающееся повышенной эффективностью использования пространства, в котором размещена плата.
[9] По меньшей мере в одном из вариантов осуществления настоящего изобретения может быть предложено устройство для генерирования аэрозоля, в котором реализована герметизация и защита пространства, в котором размещена плата.
[10] По меньшей мере в одном из вариантов осуществления настоящего изобретения может быть предложено устройство для генерирования аэрозоля, отличающееся повышенной воздухонепроницаемостью и стабильностью.
[11] Дополнительные варианты осуществления настоящего изобретения станут очевидными из следующего подробного описания. Тем не менее, поскольку специалистам в данной области техники будут несомненно понятны различные изменения и модификации в рамках сущности и объема настоящего изобретения, следует понимать, что подробное описание и конкретные варианты осуществления изобретения, такие как предпочтительные варианты осуществления настоящего изобретения, приведены только в качестве примера.
[Описание чертежей]
[12] Вышеприведенные и другие цели, признаки и другие преимущества согласно настоящему изобретению следуют из приведенного ниже описания изобретения со ссылкой на прилагаемые чертежи, на которых изображено:
[13] На ФИГ. 1-22 изображены примеры устройства для генерирования аэрозоля согласно вариантам осуществления настоящего изобретения.
[Принцип изобретения
[14] Здесь и далее варианты осуществления, описанные в настоящей спецификации, будут подробно описаны со ссылкой на сопроводительные чертежи, причем одинаковые или подобные элементы имеют одинаковые ссылочные обозначения, даже если они изображены на разных чертежах, а излишние описания будут опущены.
[15] В отношении составляющих элементов, используемых в последующем описании, термины «модуль» и «блок» используются только с точки зрения облегчения описания и не имеют взаимно различающихся значений или функций.
[16] Кроме того, в последующем описании вариантов осуществления изобретения в настоящем документе подробное описание известных функций и конфигураций, являющихся частью настоящего описания, будет опущено, если это может сделать предмет описанных вариантов осуществления изобретения неясным. Кроме того, прилагаемые чертежи предоставлены только для лучшего понимания описанных вариантов осуществления изобретения, и не предназначены для ограничения описанных технических идей. Следовательно, следует понимать, что прилагаемые чертежи содержат все модификации, эквиваленты и замены в пределах объема и сущности настоящего изобретения.
[17] Следует понимать, что, хотя термины «первый», «второй» и т.п. могут использоваться для описания различных компонентов, эти компоненты не могут ограничиваться этими терминами. Эти термины используются исключительно для отличия одного компонента от другого.
[18] Следует понимать, что, когда компонент упоминается как «соединенный с» или «связанный с» другим компонентом, он может быть непосредственно соединен или связан с другим компонентом, или могут присутствовать промежуточные компоненты. С другой стороны, когда компонент упоминается как «непосредственно соединенный с» или «непосредственно связанный с» другим компонентом, промежуточные компоненты отсутствуют.
[19] Форма единственного числа подразумевает как единственное, так и множественное число существительных, за исключением случаев, когда контекстом явно определено иное.
[20]
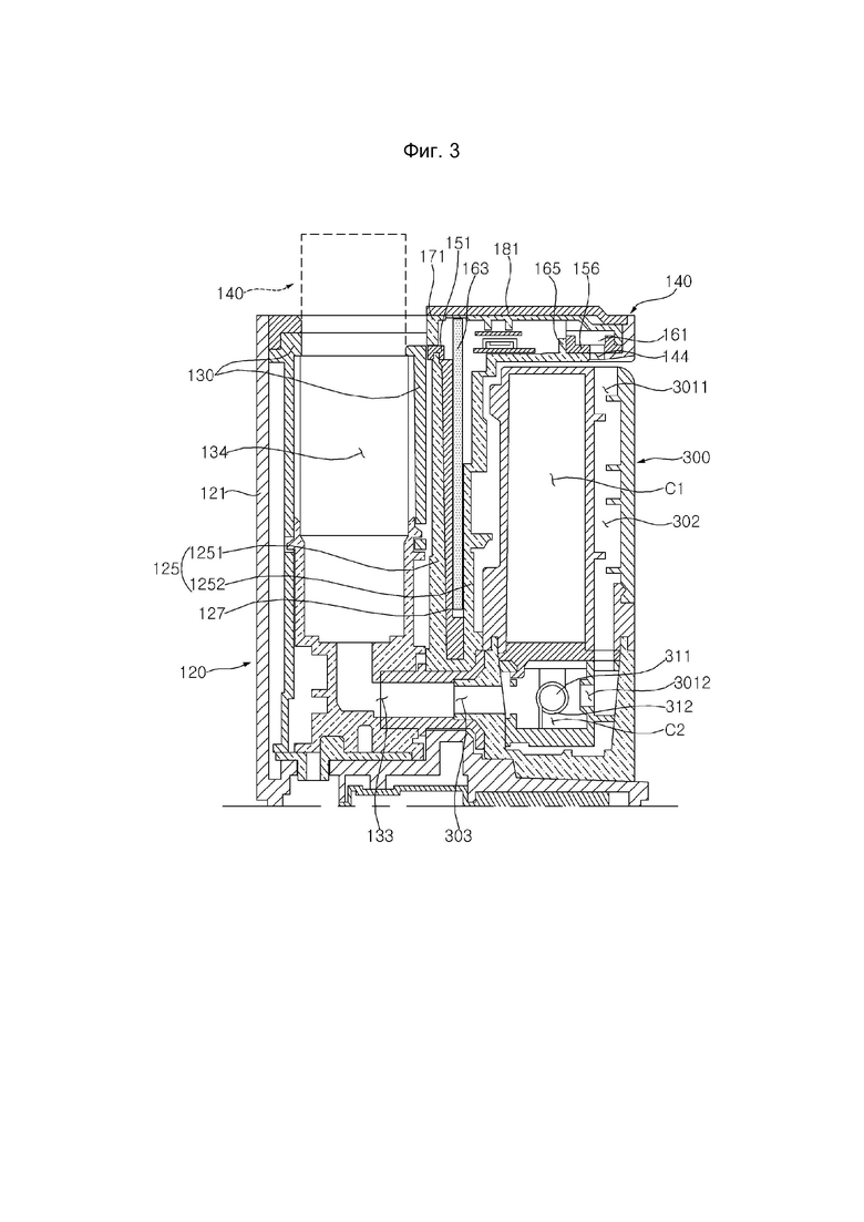
[21] Как показано на ФИГ. 1 и ФИГ. 2, корпус 100 может содержать нижнюю часть 110 корпуса и верхнюю часть 120 корпуса. Верхняя часть 120 корпуса может быть расположена над нижней частью 110 корпуса. Нижняя часть 110 корпуса может быть ориентирована по вертикали. Внутри корпуса 100 могут быть размещены компоненты, приводящие в действие устройство. В верхней части 120 корпуса может быть предусмотрено пространство 134 для введения, открытое вверх. Пространство 134 для введения может быть расположено внутри верхней части 120 корпуса. Пространство 134 для введения может быть ориентировано по вертикали. Пространство 134 для введения может быть сформировано в трубе 130 (см. ФИГ. 3), расположенной внутри верхней части 120 корпуса.
[22] Верхний корпус 200 может иметь полую форму с открытой нижней частью. Верхняя часть 120 корпуса может быть вставлена в полость верхнего корпуса 200. Верхний корпус 200 может быть соединен с корпусом 100 с возможностью разъединения. Верхний корпус 200 может накрывать верхнюю часть 120 корпуса. Боковая часть 211 верхнего корпуса 200 может накрывать внешнюю стенку 121 верхней части 120 корпуса. Верхняя часть 212 верхнего корпуса 200 может накрывать верхнюю часть 180 или внешнюю крышку 180 верхней части 120 корпуса. Когда верхний корпус 200 соединен с корпусом 100, верхний корпус 200 может накрывать корпус 100 вместе с картриджем 300. Картридж 300 может быть расположен внутри верхнего корпуса 200.
[23] Отверстие 214 для введения может быть сформировано в верхней части 212 верхнего корпуса 200. Отверстие 214 для введения может соответствовать отверстию пространства 134 для введения. Колпачок 215 может быть установлен на верхней части 212 верхнего корпуса 200 с возможностью перемещения. Отверстие 213 для скольжения может проходить от отверстия 214 для введения в одну сторону в верхней части 212 верхнего корпуса 200. Колпачок 215 может перемещаться вдоль отверстия 213 для скольжения. Колпачок 215 может открывать и закрывать отверстие 214 для введения и пространство 134 для введения. Стик 400 может быть вставлен в пространство 134 для введения через отверстие 214 для введения. Например, стик 400 может представлять собой сигарету.
[24] Внешняя стенка 121 и перегородка 125 могут образовывать боковую часть верхней части 120 корпуса. Перегородка 125 может разделять пространство 124а для соединения картриджа и пространство 134 для введения (см. ФИГ. 3). Посадочная часть 122 может проходить в одну сторону от нижней части перегородки 125. Удлинительная часть 140 может проходить в одну сторону от верхней части перегородки 125.
[25] Пространство 124а для соединения картриджа может быть образовано на одной стороне верхней части 120 корпуса. Пространство 124а для соединения картриджа может быть определено посадочной частью 122, перегородкой 125 и удлинительной частью 140 верхней части 120 корпуса. Нижняя часть пространства 124а для соединения картриджа может быть покрыта посадочной частью 122. Одна боковая часть пространства 124а для соединения картриджа может быть закрыта перегородкой 125 верхней части 120 корпуса. Верхняя часть пространства 124а для соединения картриджа может быть накрыта удлинительной частью 140. Пространство 124а для соединения картриджа может быть открыто наружу между посадочной частью 122 и удлинительной частью 140.
[26] Картридж 300 может быть соединен с одной стороной верхней части 120 корпуса. Картридж 300 может быть вставлен в пространство 124а для соединения картриджа. Нижняя часть картриджа 300 может быть посажена на посадочную часть 122. Одна боковая часть картриджа 300 может быть обращена к перегородке 125 верхней части 120 корпуса. Другая боковая часть картриджа 300 может выступать наружу из верхней части 120 корпуса. Верхняя часть картриджа 300 может быть накрыта удлинительной частью 140.
[27] В картридже 300 может храниться жидкость. Картридж 300 может быть электрически соединен с корпусом 100 через клемму 128 картриджа, выступающую из посадочной части 122. Картридж 300 может получать питание для генерирования аэрозоля.
[28]
[29] Как показано на ФИГ. 1-3, картридж 300 может содержать первую камеру С1. В первой камере С1 может храниться жидкость. Картридж 300 может содержать вторую камеру С2. Вторая камера С2 может быть отделена от первой камеры С1. Вторая камера С2 может быть расположена ниже первой камеры С1.
[30] Фитиль 311 может быть расположен во второй камере С2. Фитиль 311 может быть соединен с первой камерой С1. Фитиль 311 может принимать жидкость из первой камеры С1. Нагреватель 312 может быть расположен во второй камере С2. Нагреватель 312 может обматывать фитиль 311. Нагреватель 312 может быть электрически соединен с клеммой 128 картриджа для подачи питания. Нагреватель 312 может нагревать фитиль 311. Когда нагреватель 312 нагревает фитиль 311, пропитанный жидкостью, во второй камере С2 может генерироваться аэрозоль.
[31] Картридж 300 может содержать первое впускное отверстие 3011. Первое впускное отверстие 3011 может быть выполнено на верхнем конце картриджа 300. Первое впускное отверстие 3011 может сообщаться с наружной стороной картриджа 300. Картридж 300 может содержать второе впускное отверстие 3012. Второе впускное отверстие 3012 может быть сформировано на одной стороне второй камеры С2 и сообщаться со второй камерой С2. Приточный канал 302 может соединять первое впускное отверстие 3011 со вторым впускным отверстием 3012. Приточный канал 302 может быть расположен между первым впускным отверстием 3011 и вторым впускным отверстием 3012. Приточный канал 302 может проходить в вертикальном направлении внутрь картриджа 300. Картридж 300 может содержать выпускное отверстие 303. Выпускное отверстие 303 может быть образовано во второй камере С2 и сообщаться с внешней стороной картриджа 300. Выпускное отверстие 303 может быть расположено напротив второго впускного отверстия 3012 относительно второй камеры С2. Когда картридж 300 соединен с верхней частью 120 корпуса, выпускное отверстие 303 может быть соединено с соединительным каналом 133.
[32] Пользователь может поместить стик 400, вставленный в пространство 134 для введения, в рот и вдохнуть воздух. В состоянии, в котором верхний корпус 200 соединен с корпусом 100, воздух может поступать в первое впускное отверстие 3011 через отверстие 201, сформированное в верхнем корпусе 200. Воздух может поступать во внутреннюю часть картриджа 300 с внешней стороны картриджа 300 через первое впускное отверстие 3011. Воздух, поступающий в первое впускное отверстие 3011, может последовательно проходить через приточный канал 302 и второе впускное отверстие 3012 для подачи во вторую камеру С2. Воздух, введенный во вторую камеру С2, может выходить из картриджа 300 через выпускное отверстие 303 вместе с аэрозолем, генерируемым вблизи фитиля 311. Воздух, выпущенный через выпускное отверстие 303, может поступать в пространство 134 для введения, и стик 400 вставлен в пространство 134 для введения через соединительный канал 133.
[33]
[34] Как показано на ФИГ. 3 и ФИГ. 4, верхняя часть 120 корпуса может содержать внешнюю стенку 121 и перегородку 125. Внешняя стенка 121 и перегородка 125 могут быть соединены друг с другом. Пространство 124 для установки трубы может быть окружено внешней стенкой 121 и перегородкой 125. Пространство 124 для установки трубы может быть открыто вверх. Пространство 124 для установки трубы может быть ориентировано по вертикали.
[35] Перегородка 125 может проходить вертикально между трубой 130 и пространством 124а для соединения картриджа. Перегородка 125 может разделять пространство 124 для установки трубы и пространство 124а для соединения картриджа. Одна поверхность перегородки 125 может быть обращена к пространству 124 для установки трубы, а другая поверхность перегородки 125 может быть обращена к пространству 124а для соединения картриджа. Соединительное отверстие 123 может быть выполнено путем открытия нижней части перегородки 125. Соединительное отверстие 123 может сообщаться с пространством 124 для установки трубы. Перегородка 125 может быть сформирована между пространством 134 для введения и пространством 124а для соединения картриджа.
[36] Труба 130 может быть вытянута в вертикальном направлении. Труба 130 может быть полой. Пространство 134 для введения может быть сформировано внутри трубы 130. Пространство 134 для введения может быть открыто вверх. Пространство 134 для введения может быть ориентировано по вертикали. Соединительный канал 133 может быть сформирован в трубе 130. Соединительный канал 133 может быть сформирован ниже пространства 134 для введения. Один конец соединительного канала 133 может сообщаться с наружной стороной трубы 130, а другой конец может сообщаться с пространством 134 для введения. Соединительный канал 133 может быть изогнут в одну сторону от нижней части пространства 134 для введения.
[37]
[38] Как показано на ФИГ. 4 и ФИГ. 5, труба 130 может быть вставлена в пространство 124 для установки трубы. Труба 130 может быть окружена внешней стенкой 121 и перегородкой 125. Соединительный канал 133 может сообщаться с соединительным отверстием 123.
[39] Перегородка 125 может содержать первую часть 1251 перегородки и вторую часть 1252 перегородки. Первая часть 1251 перегородки и вторая часть 1252 перегородки могут быть сформированы параллельно друг другу. Первая часть 1251 перегородки может быть ориентирована по вертикали. Вторая часть 1252 перегородки может быть ориентирована по вертикали. Первая часть 1251 перегородки может быть обращена к одной стороне пространства 124 для установки трубы или трубе 130. Вторая часть 1252 перегородки может быть обращена к пространству 124а для соединения картриджа.
[40] В перегородке 125 может быть образовано первое пространство S1. Первое пространство S1 может быть образовано между первой частью 1251 перегородки и второй частью 1252 перегородки. Первое пространство S1 может быть ориентировано по вертикали. Первое пространство S1 может быть открыто вверх. Одна сторона и другая сторона первого пространства S1 могут быть накрыты первой частью 1251 перегородки и второй частью 1252 перегородки, соответственно. Первая часть 1251 перегородки может отделять пространство 124 для установки трубы от первого пространства S1. Вторая часть 1252 перегородки может разделять пространство 124а для соединения картриджа и второе пространство S2.
[41] Кронштейн 127 может быть расположен или зафиксирован в первом пространстве S1. Кронштейн 127 может быть ориентирован в вертикальном направлении. Кронштейн 127 может поддерживать или фиксировать вторую плату 162, вставленную в первое пространство S1.
[42] Одна сторона соединителя 126 может быть расположена в первом пространстве S1, а другая сторона соединителя 126 во втором пространстве S2. Соединитель 126 может быть изогнут и вытянут из первого пространства S1 во второе пространство S2. Один конец первого соединителя 126 может быть соединен с первой платой 129, установленной под верхней частью 120 корпуса. Первая плата 129 может быть прямо или опосредованно соединена с источником питания, памятью, блоком управления, датчиком и т.д., расположенным внутри корпуса 100, или память, блок управления, датчик и т.д. могут быть установлены на первую плату 129. Первый соединитель 126 может обладать электропроводящими свойствами.
[43] Верхняя часть 120 корпуса может содержать удлинительную часть 140. Удлинительная часть 140 может проходить в одну сторону от верхнего конца второй части 1252 перегородки. Удлинительная часть 140 может быть ориентирована в направлении, противоположном пространству 124 для установки трубы или трубе 130 относительно перегородки 125. Удлинительная часть 140 может проходить в направлении, пересекающем продольное направление второй части 1252 перегородки. Удлинительная часть 140 может накрывать верхнюю сторону пространства 124а для соединения картриджа или верхнюю сторону картриджа 300. Второе пространство S2 может быть сформировано внутри удлинительной части 140. Второе пространство S2 может быть определено как пространство, образованное между удлинительной частью 140 и внутренней крышкой 170 (см. ФИГ. 13). Второе пространство S2 и первое пространство S1 могут быть соединены.
[44] Удлинительная часть 140 может содержать удлинительную пластину 141. Удлинительная пластина 141 может проходить в одну сторону от второй части 1252 перегородки. Удлинительная пластина 141 может иметь форму тонкой пластины. Удлинительная пластина 141 может накрывать нижнюю часть второго пространства S2.
[45] Удлинительная часть 140 может содержать часть 142 ободка. Часть 142 ободка может проходить в окружном направлении вдоль верхней части внешней стенки 121 верхней части 120 корпуса и кромки удлинительной пластины 141. Часть 142 ободка может содержать часть, выступающую вверх от кромки удлинительной пластины 141. Часть 142 ободка может покрывать окружность второго пространства S2.
[46] Уплотнительный элемент 150 может быть расположен над удлинительной пластиной 141. Уплотнительный элемент 150 может быть расположен во втором пространстве S2. Одна сторона уплотнительного элемента 150 может накрывать верхний конец первой части 1251 перегородки. Другая сторона уплотнительного элемента 150 может по меньшей мере частично накрывать удлинительную пластину 141. Уплотнительный элемент 150 может содержать отверстие 154 для установки платы и отверстие 157 для установки стойки. Отверстие 154 для установки платы и отверстие первого пространства S1 могут сообщаться друг с другом. Уплотнительный элемент 150 может обладать эластичными свойствами. Например, уплотнительный элемент 150 может быть изготовлен из резины или силиконового материала.
[47] Блок 160 датчиков может быть расположен в первом пространстве S1 и втором пространстве S2. Одна сторона блока 160 датчиков может быть вставлена в первое пространство S1 через первое отверстие 154 для установки платы. Другая сторона блока 160 датчиков может быть расположена во втором пространстве S2.
[48] Крышка 170, 180 может накрывать первое пространство S1. Крышка 170, 180 может накрывать второе пространство S2. Уплотнительный элемент 150 может плотно соприкасаться с крышками 170, 180 и перегородкой 125, герметизируя одну сторону первого пространства S1 и второе пространство S1 относительно пространства 134 для введения. Уплотнительный элемент 150 может плотно соприкасаться с крышками 170, 180 и удлинительной частью 140, герметизируя другую сторону второго пространства S2.
[49] Крышка 170, 180 может содержать внутреннюю крышку 170. Внутренняя крышка 170 может быть расположена над уплотнительным элементом 150. Внутренняя крышка 170 может накрывать верхнюю часть уплотнительного элемента 150 и верхнюю часть блока 160 датчиков. Внутренняя крышка 170 может быть соединена или закреплена на удлинительной части 140 и трубе 130 посредством винтов 1771, 1772. Внутренняя крышка 170 может прижимать уплотнительный элемент 150 вниз посредством винтов 1771, 1772. Внутренняя крышка 170 может накрывать верхнюю часть второго пространства S2 (см. ФИГ. 13). Внутренняя крышка 170 может покрывать окружность второго пространства S2 вместе с частью 142 ободка.
[50] Крышка 170, 180 может содержать внешнюю крышку 180. Внешняя крышка 180 может быть расположена над внутренней крышкой 170. Внешняя крышка 180 может накрывать верхнюю часть внутренней крышки 170 и верхнюю часть трубы 130. Внешняя крышка 180 может содержать отверстие 184 в крышке. Отверстие 184 в крышке может соответствовать отверстию пространства 134 для введения. Внешняя крышка 180 может быть установлена или соединена с верхней частью 120 корпуса и удлинителем 140.
[51]
[52] Как показано на ФИГ. 6, блок 160 датчиков может содержать первый датчик 161. Блок 160 датчиков может содержать вторую плату 162. Блок 160 датчиков может содержать третью плату 163. Блок 160 датчиков может содержать второй соединитель 166. Блок 160 датчиков может содержать первую клемму 168.
[53] Первый датчик 161 может распознавать поток воздуха. Первый датчик 161 может распознавать поток воздуха вокруг первого впускного отверстия 3011 (см. ФИГ. 3) картриджа 300. Первый датчик 161 может представлять собой датчик 161 расхода воздуха.
[54] Вторая плата 162 может представлять собой твердую печатную плату (RPCB), а третья плата 163 может представлять собой гибкую печатную плату (FPCB). Вторая плата 162 и третья плата 163 могут быть соединены с образованием жестко-гибкой печатной платы (RFPCB). Вторая плата 162 может иметь форму пластины, ориентированной в вертикальном направлении. Третья плата 163 может быть соединена с верхним концом второй платы 162. Третья плата 163 может быть изогнута от второй платы 162 в сторону второго пространства S2. Один конец третьей платы 163 может быть соединен с первым датчиком 161. Другой конец третьей платы 163 может быть соединен со второй платой 162.
[55] На второй плате 162 может быть сформирована структура электродов для считывания различной информации. Вторая плата 162 может называться вторым датчиком 162. Второй датчик 162 может распознавать изменение электромагнитной характеристики вокруг датчика. Второй датчик 162 может получать различную информацию в зависимости от изменения диэлектрической проницаемости.
[56] Например, второй датчик 162 может распознавать наличие стика 400 в пространстве 134 для введения, влажность стика 400, тип стика 400, оригинальность стика 400, установку картриджа 300 на корпусе 100, тип установленного картриджа 300, оставшееся количество жидкости в картридже 300 и т.п. Второй датчик 162 может представлять собой датчик 162 емкости.
[57] Второй соединитель 166 может быть установлен на третьей плате 163. Второй соединитель 166 может обладать электропроводящими свойствами. Второй соединитель 166 может быть электрически соединен с первым соединителем 126. Соответственно, возможен обмен электрическими сигналами между первой платой 129 (см. ФИГ. 5), второй платой 162, третьей платой 163 и первым датчиком 161.
[58] Первая клемма 168 может быть установлена на третьей плате 163. Первая клемма 168 может представлять собой проводящую клемму зажимного или пружинного типа. Первая клемма 168 может быть обращена вверх.
[59]
[60] Как показано на ФИГ. 6-8, первое отверстие 144 для датчика может быть образовано путем открытия удлинительной пластины 141. Первое отверстие 144 для датчика может быть открыто в направлении пространства 124а для соединения картриджа. Соединительный выступ 145 уплотнения может выступать вверх из удлинительной пластины 141. Соединительный выступ 145 уплотнения может иметь форму выступа. Соединительный выступ 145 уплотнения может иметь некруглое сечение. Соединительный выступ 145 уплотнения может быть расположен вокруг первого отверстия 144 для датчика.
[61] Стойка 146 может выступать вверх из удлинительной пластины 141. Стойка 146 может иметь цилиндрическую форму. Стойка 146 может иметь отверстие 147 для крепежного винта, в которое могут введены винты 1771 и 1772 (см. ФИГ. 9). Стойка 146 может представлять собой любую из нескольких стоек 146. Несколько стоек 146 могут быть расположены симметрично друг другу.
[62] Уплотнительный элемент 150 может быть соединен с удлинительной частью 140. Уплотнительный элемент 150 может накрывать удлинительную пластину 141. Кромка уплотнительного элемента 150 может плотно соприкасаться с частью 142 ободка. Периферия блока 160 датчиков может быть герметизирована уплотнительный элементом 150.
[63] Уплотнительный элемент 150 может содержать первую уплотнительную часть 151 и вторую уплотнительную часть 152. Первая уплотнительная часть 151 может иметь форму планки, вытянутой в одном направлении. Вторая уплотнительная часть 152 может иметь форму пластины. Первая уплотнительная часть 151 и вторая уплотнительная часть 152 могут находиться на некотором расстоянии друг от друга.
[64] Третья уплотнительная часть 153 может быть расположена между первой уплотнитель ной частью 151 и второй уплотнительной частью 152. Один конец третьей уплотнитель ной части 153 может быть соединен с первой уплотнительной частью 151, а другой конец третьей уплотнительной части 153 может быть соединен со второй уплотнительной частью 152. Третья уплотнительная часть 153 может соединять первую уплотнительную часть 151 со второй уплотнительной частью 152. Третья уплотнительная часть 153 может проходить в направлении, пересекающем продольное направление первой уплотнительной части 151. Третья уплотнительная часть 153 может проходить от первой уплотнительной части 151 в направлении второй уплотнительной части 152. Третья уплотнительная часть 153 может иметь форму планки. Третья уплотнительная часть 153 может быть выполнена в виде пары. Любая часть из пары третьих уплотнительных частей 153 может быть соединена с одним концом первой уплотнительной части 151 и одной стороной второй уплотнительной части 152, а другая часть из пары третьих уплотнительных частей 153 может быть соединена с другим концом первой уплотнительной части 151 и другой стороной второй уплотнительной части 152.
[65] Отверстие 154 для установки платы может быть образовано путем открытия уплотнительного элемента 150. Отверстие 154 для установки платы может быть определено как пространство, образованное между первой уплотнительной частью 151, второй уплотнительной частью 152 и парой третьих уплотнительных частей 153. Отверстие 154 для установки платы может быть открыто вверх и вниз.
[66] Соединительное отверстие 155 уплотнения может быть образовано путем открытия второй уплотнительной части 152. Соединительное отверстие 155 уплотнения может соответствовать соединительному выступу 145 уплотнения. Соединительное отверстие 155 уплотнения может иметь некруглое сечение. Направляющая поверхность 1551 выступа может быть сформирована вокруг нижней части соединительного отверстия 155 уплотнения. Направляющая поверхность 1551 выступа может быть наклонена вверх от нижней поверхности второй уплотнительной части 152 в сторону отверстия 155 для введения. Направляющая поверхность 1551 выступа может проходить по окружности отверстия 155 для введения. Соответственно, соединительный выступ 145 уплотнения может быть направлен к соединительному отверстию 155 уплотнения посредством направляющей поверхности 1551 выступа и вставлен в соединительное отверстие 155 уплотнения для соединения.
[67] Часть 156 для размещения датчика может быть сформирована во второй уплотнительной части 152 вокруг соединительного отверстия 155 уплотнения. Часть 156 для размещения датчика может иметь форму, выступающую вверх из второй уплотнительной части 152. На внутренней стороне части 156 для размещения датчика может быть предусмотрен приемный паз 1565. Приемный паз 1565 может быть открыт вверх. Нижняя часть приемного паза 1565 накрыта нижней частью 1561 приемной части и может сообщаться со вторым отверстием 1564 для датчика, образованным путем открытия нижней части 1561 приемной части. Второе отверстие 1564 для датчика может соответствовать первому отверстию 144 для датчика. Боковая сторона приемного паза 1565 может быть накрыта боковой стенкой 1562 приемной части. Боковая стенка 1562 части для размещения может проходить по окружности приемного паза 1565. Боковая стенка 1562 части для размещения может быть наклонена таким образом, чтобы паз 1565 датчика постепенно сужался от верхней стороны к нижней стороне.
[68] Отверстие 157 для введения стойки может быть образовано путем открытия второй уплотнительной части 152. Отверстие 157 для установки стойки может соответствовать стойке 146. Отверстие 157 для установки стойки может иметь круглую форму. Может быть предусмотрено несколько отверстий 157 для установки стойки. Для установки стойка 146 может быть вставлена в отверстие 157 для установки стойки.
[69] Внутренняя поверхность 1511 первой уплотнительной части 151 может представлять собой поверхность, обращенную к отверстию 154 для установки платы. Внутренняя поверхность 1511 может быть обращена в направлении, пересекающем верхнюю поверхность 1512 первой уплотнительной части 151. Внутренняя поверхность 1511 может быть ближе к отверстию 154 для установки платы, чем верхняя поверхность 1512.
[70] Первая уплотнительная часть 151 может содержать направляющую поверхность 1513 платы. Направляющая поверхность 1513 платы может быть сформирована между внутренней поверхностью 1511 и верхней поверхностью 1512. Направляющая поверхность 1513 платы может быть ориентирована в продольном направлении первой уплотнительной части 151. Направляющая поверхность 1513 платы может быть наклонена вниз от верхней поверхности 1512 к внутренней поверхности 1511. Направляющая поверхность 1513 платы может быть обращена к отверстию 154 для установки платы. Направляющая поверхность 1513 платы может быть наклонена вниз таким образом, чтобы отверстие 154 для установки платы сужалось к нижней стороне. Соответственно, даже когда вторая плата 162 соприкасается с первой уплотнительной частью 151, вторая плата 162 может направляться через отверстие 154 для установки платы посредством направляющей поверхности 1513 платы.
[71] Установочный паз 1515 может быть сформирован на нижней поверхности первой уплотнительной части 151. Установочный паз 1515 может быть открыт вниз. Установочный паз 1515 может быть ориентирован в продольном направлении первой уплотнительной части 151. Установочный паз 1515 может соответствовать первой части 1251 перегородки. Для установки можно вставить первую часть 1251 перегородки в установочный паз 1515.
[72] Как показано на ФИГ. 6- 9, уплотнительный элемент 150 может быть собран или соединен с удлинительной частью 140. Когда уплотнительный элемент 150 установлен на удлинительную часть 140, первая уплотнительная часть 151 может плотно соприкасаться с верхним концом первой части 1251 перегородки. Вторая уплотнительная часть 152 может плотно соприкасаться с удлинительной пластиной 141. Окружность уплотнительного элемента 150 может плотно соприкасаться с внутренней окружной поверхностью части 142 ободка.
[73] Соединительный выступ 145 уплотнения может быть вставлен в соединительное отверстие 155 уплотнения для соединения. Второе отверстие 1564 для датчика может быть расположено таким образом, чтобы соответствовать первому отверстию 144 для датчика и сообщаться с ним. Для установки стойка 146 может быть вставлена в отверстие 157 для установки стойки. Отверстие 147 для крепежного винта, выполненное внутри стойки 146, может проходить через отверстие 157 для установки стойки и быть открыто вверх. Отверстие 154 для введения платы может быть расположено над первым пространством S1 для сообщения с первым пространством S1.
[74] Соответственно, уплотнительный элемент 150 может быть соединен с удлинительной частью 140 для стабильной фиксации.
[75] Первый датчик 161 может быть размещен в приемном пазе 1565 таким образом, чтобы он плотно соприкасался с частью 156 для размещения датчика. Первый датчик 161 может быть обращен вниз в части 156 для размещения датчика. Первый датчик 161 может быть соединен с наружной средой через первое отверстие 144 для датчика и второе отверстие 1564 для датчика. Вторая плата 162 (или второй датчик 162) может быть вставлена в первое пространство S1 через отверстие 154 для установки платы.
[76] Первый соединитель 126 может быть открыт на участке от первого пространства S1 к удлинительной части 140. Первый соединитель 126 может быть открыт вверх через отверстие 154 для установки платы уплотнительного элемента 150, соединенного с удлинительной частью 140. Второй соединитель 166, установленный на третьей плате 163, может соприкасаться с первым соединителем 126, выходящим из отверстия 154 для установки платы, для установления электрического соединения. Блок 160 датчиков может быть закреплен относительно удлинительной части 140. Блок 160 датчиков может быть расположен внутри окружности уплотнительного элемента 150.
[77]
[78] Как показано на ФИГ. 9-11, первое отверстие 137 для крепежного винта может быть образовано путем открытия верхней части трубы 130 вверх. На внутренней окружной поверхности первого отверстия 137 для крепежного винта может быть выполнена резьба. Может быть предусмотрено несколько первых отверстий 137 для крепежного винта. Второе отверстие 147 для крепежного винта может быть выполнено внутри стойки 146. На внутренней окружной поверхности второго отверстия 147 для крепежного винта может быть выполнена резьба. Может быть предусмотрено несколько вторых отверстий 147 для крепежного винта.
[79] Внутренняя крышка 170 может содержать внутреннюю пластину 171. Внутренняя пластина 171 может накрывать уплотнительный элемент 150 и блок 160 датчиков. Внутренняя пластина 171 может по меньшей мере частично накрывать верхнюю часть трубы 130. Внутренняя пластина 171 может поддерживать уплотнительный элемент 150, блок 160 датчиков и трубу 130, а также предотвращать их разделение.
[80] Сквозные отверстия 1741, 1742 для винта могут быть сформированы путем открытия внутренней пластины 171. Винты 1771, 1772 могут проходить через сквозные отверстия 1741, 1742 для введения в крепежные отверстия 137, 147 для винтов и соединения внутренней пластины 171 с верхней частью 120 корпуса. Винты 1771, 1772 могут быть вкручены в отверстия 137, 147 для крепежного винта для прижатия внутренней пластины 171 вниз. Внутренняя пластина 171 может быть расположена внутри части 142 ободка.
[81] Первое сквозное отверстие 1741 для винта может быть выполнено на одной стороне внутренней пластины 171. Может быть предусмотрено несколько первых сквозных отверстий 1741 для винта. Каждое из нескольких первых сквозных отверстий 1741 для винта может быть выполнено в положении, соответствующем каждому из нескольких первых отверстий 137 для крепежного винта. Первый винт 1771 может проходить через первое сквозное отверстие 1471 для винта, чтобы быть вкрученным в первое отверстие 137 для крепежного винта.
[82] Второе сквозное отверстие 1742 для винта может быть выполнено на другой стороне внутренней пластины 171. Может быть предусмотрено несколько вторых сквозных отверстий 1742 для винта. Каждое из нескольких вторых сквозных отверстий 1742 для винта может быть выполнено в положении, соответствующем каждому из нескольких вторых отверстий 147 для крепежного винта. Второй винт 1772 может проходить через второе сквозное отверстие 1472 для винта, чтобы быть вкрученным во второе отверстие 147 для крепежного винта.
[83] Прижимной выступ 175 может выступать вниз из нижней поверхности внутренней пластины 171. Прижимной выступ 175 может проходить вдоль кромки уплотнительного элемента 150 и периферии части 156 для размещения датчика. Прижимной выступ 175 может прижимать уплотнительный элемент 150.
[84] Прижимной выступ 175 может содержать первую прижимную часть 1751. Первая прижимная часть 1751 может быть сформирована в положении, соответствующем первой уплотнительной части 151. Первая прижимная часть 1751 может проходить вдоль первой уплотнительной части 151. Ширина первой прижимной части 1751 может быть меньше ширины верхней поверхности первой уплотнительной части 151. Первая прижимная часть 1571 может прижимать верхнюю поверхность первой уплотнительной части 151 вниз.
[85] Прижимной выступ 175 может содержать вторую прижимную часть 1752. Вторая прижимная часть 1752 может проходить вдоль периферии части 156 для размещения датчика, сформированной во второй уплотнительной части 152. Вторая прижимная часть 1752 может прижимать верхнюю поверхность второй уплотнительной части 152, сформированной вокруг части 156 для размещения датчика, вниз.
[86] Прижимной выступ 175 может содержать третью прижимную часть 1753. Третья прижимная часть 1753 может соединять первую прижимную часть 1751 и вторую прижимную часть 1752. Каждая часть из пары третьих прижимных частей 1753 может быть сформирована в положении, соответствующем каждой части из пары третьих уплотнительных частей 153. Третья прижимная часть 1753 может проходить вдоль третьей уплотнительной части 153. Ширина третьей прижимной части 1753 может быть меньше ширины верхней поверхности третьей уплотнительной части 153. Третья прижимная часть 1753 может прижимать верхнюю поверхность третьей уплотнительной части 153 вниз.
[87] Соответственно, внутренняя пластина 171 может плотно соприкасаться с уплотнительным элементом 150 при прижатии уплотнительного элемента 150 вниз. Кроме того, первое и второе пространства S1, S2 герметизированы, попадание посторонних веществ, таких как жидкость, в первое и второе пространства S1 и S2 предотвращено, и соединитель 126 и узел 160 датчика могут быть защищены от воздействия посторонних веществ.
[88] Кроме того, поскольку одна сторона внутренней крышки 170 соединена с удлинительной частью 140, а другая сторона внутренней крышки 170 соединена с трубой 130, труба 130 может быть стабильно закреплена путем поддержки верхней части трубы 130, вставленной в верхнюю часть 120 корпуса. Кроме того, уплотнительный элемент 150 может быть стабильно закреплен.
[89]
[90] Как показано на ФИГ. 9-12, внешняя крышка 180 может быть расположена над верхней частью 120 корпуса и удлинительной частью 140. Внешняя крышка 180 может быть соединена с верхней частью 120 корпуса и/или удлинительной частью 140. Внешняя крышка 180 может быть расположена внутри части 142 ободка. Внешняя крышка 180 может покрывать или блокировать зазоры между компонентами внутри части 142 ободка.
[91] Внешняя крышка 180 может содержать внешнюю пластину 181. Внешняя пластина 181 может быть расположена внутри части 142 ободка, покрывая внутреннюю крышку 170 и трубу 130. Окружность внешней пластины 181 может соприкасаться или плотно соприкасаться с внутренней периферийной поверхностью части 142 ободка. Отверстие 184 в крышке может быть образовано путем открытия одной стороны внешней пластины 181 вверх и вниз. Отверстие 184 в крышке может соответствовать отверстию пространства 134 для введения.
[92] Паз 185 для соединения крышки может быть сформирован на нижней стороне внешней пластины 181. Может быть предусмотрено несколько пазов 185 для соединения крышки. Паз 185 для соединения крышки может примыкать к кромке внешней пластины 181. Паз 185 для соединения крышки может быть открыт в поперечном направлении, пересекающем вертикальное направление.
[93] Крючок 186 может выступать вниз из внешней пластины 181. Может быть предусмотрено несколько крючков 186. Крючок 186 может примыкать к кромке внешней пластины 181.
[94] Соединительный выступ 125 крышки может выступать внутрь от внутренней окружной поверхности части 142 ободка в области верхней окружности трубы 130. Может быть предусмотрено несколько соединительных выступов 125 крышки. Соединительный выступ 125 крышки может соответствовать пазу 185 для соединения крышки. Соответственно, соединительный выступ 125 крышки может быть вставлен в паз 185 для соединения крышки с целью соединения одной стороны внешней крышки 180 с верхней частью 120 корпуса.
[95] Паз 176 для зацепления крючка может быть сформирован на одной стороне внутренней пластины 171. Паз 176 для зацепления крючка может быть открыт в поперечном направлении. Крючок 186 может быть вставлен в паз 176 для зацепления крючка таким образом, чтобы он входил в зацепление с внутренней пластиной 171. Соответственно, другие стороны внешней крышки 180 и внутренней крышки 170 могут быть соединены друг с другом, и другая сторона внешней крышки 180 может быть прикреплена к стороне удлинительной части 140.
[96] Верхняя часть 120 корпуса может перекрывать зазор между трубой 130 и внешней стенкой 121 или трубой 130 и частью 142 ободка. Верхняя часть 120 корпуса может перекрывать зазор между трубой 130 и перегородкой 125. Верхняя часть 120 корпуса может перекрывать зазор между трубой 130 и внутренней пластиной 171. Верхняя часть 120 корпуса может перекрывать зазор между внутренней пластиной 171 и частью 142 ободка. Верхняя часть 120 корпуса может перекрывать зазор между уплотнительный элементом 150 и частью 142 ободка.
[97] Соответственно, можно сформировать верхнюю внешнюю часть верхней части 120 корпуса и удлинительной части 140 и предотвратить попадание посторонних веществ снаружи в зазор между компонентами.
[98] Вторая клемма 178 может быть соединена с внутренней пластиной 171. Внутренняя пластина 171 может быть сформирована путем отливки вместе со второй клеммой 178. Верхний конец второй клеммы 178 может быть открыт, выступая вверх из внутренней пластины 171. Нижний конец второй клеммы 178 может быть открыт, выступая вниз из внутренней пластины 171. Вторая клемма 178 может обладать электропроводящими свойствами. Нижняя часть второй клеммы 178 может быть электрически соединена с первой клеммой 168, соединенной со вторым соединителем 166.
[99] Отверстие 188 для первой клеммы может быть образовано путем открытия одной стороны внешней пластины 181. Отверстие 188 для первой клеммы может соответствовать второй клемме 178. Верхний конец второй клеммы 178 может быть открыт к верхней стороне внешней крышки 180 через отверстие 188 для первой клеммы.
[100]
[101] Как показано на ФИГ. 3 и ФИГ. 13, блок 160 датчиков может быть расположен в пространстве, отделенном от трубы 130 и картриджа 300. Блок 160 датчиков может быть расположен в первом пространстве S1 и втором пространстве S2. Вторая плата 162 (или второй датчик 162) может быть расположена в первом пространстве S1. Первый датчик 161 может быть расположен во втором пространстве S2. Третья плата 163 может быть расположена во втором пространстве S2. Первый соединитель 126 может быть открыт на участке от первого пространства S1 до второго пространства S2 (см. ФИГ. 6). Второй соединитель 166 может быть расположен во втором пространстве S2. Второй соединитель 166 может быть соединен с первым соединителем 126 во втором пространстве S2.
[102] Первая уплотнительная часть 151 может быть расположена между первой частью 1251 перегородки и внутренней пластиной 171. Первая уплотнительная часть 151 может плотно соприкасаться с верхним концом первой части 1251 перегородки. Первая уплотнительная часть 151 может плотно соприкасаться с нижним концом внутренней пластины 171.
[103] Часть 156 для размещения датчика второй уплотнительной части 152 может герметизировать периферию первого отверстия 144 для датчика. Часть 156 для размещения датчика может плотно соприкасаться с удлинительной пластиной 141 вокруг первого отверстия 144 для датчика. Второе отверстие 1564 для датчика, выполненное в части 156 для размещения датчика, может сообщаться с первым отверстием 144 для датчика. Часть 156 для размещения датчика может плотно соприкасаться с первым датчиком 161.
[104] Соответственно, можно предотвратить попадание посторонних веществ или аэрозоля, выпускаемых из области вблизи отверстия трубы 130, в первое пространство S1. Кроме того, можно предотвратить попадание посторонних веществ во второе пространство S2 через первое отверстие 144 для датчика. Кроме того, можно предотвратить выход из строя платы или датчика.
[105]
[106] Как показано на ФИГ. 14, верхний корпус 200 может содержать внешний корпус 210. Верхний корпус 200 может содержать внутренний корпус 220. Верхний корпус 200 может содержать плату 230 заземления.
[107] Внешний корпус 210 может определять внешнюю форму верхнего корпуса 200. Внешний корпус 210 может иметь полую форму с открытой нижней частью. Внешний корпус 210 может содержать боковую стенку 211, образующую окружность полости, и верхнюю стенку 212, накрывающую верхнюю часть полости.
[108] Внешнее окно 216 может быть сформировано на боковой стенке 211 внешнего корпуса 210. Внешнее окно 216 может быть вытянуто в вертикальном направлении. Внешнее окно 216 может быть сформировано в положении, соответствующем первой камере С2 картриджа 300. Первое внешнее отверстие 214 для введения и отверстие 213 для скольжения могут быть выполнены в верхней стенке 212. Колпачок 215 для открывания и закрывания первого отверстия 214 для введения может быть установлен на верхней стенке 212 внешнего корпуса 210.
[109] Внутренний корпус 220 может быть вставлен в полость внешнего корпуса 210 и соединен с ним. Внутренний корпус 220 может окружать полость верхнего корпуса 200. Внутренний корпус 220 может иметь полую форму с открытой нижней частью. Внутренний корпус 220 может содержать боковую стенку 221, образующую окружность полости, и верхнюю стенку 222, накрывающую верхнюю часть полости.
[110] Внутреннее окно 226 может быть сформировано на боковой стенке 221 внутреннего корпуса 220. Внутреннее окно 226 может быть вытянуто в вертикальном направлении. Внутреннее окно 226 может соответствовать внешнему окну 216. Второе отверстие 224 для введения может быть образовано путем открытия верхней стенки 222 внутреннего корпуса 220. Второе отверстие 224 для введения может соответствовать первому отверстию 214 для введения. Направляющая 223 может проходить от верхней стенки 222 внутреннего корпуса 220 в направлении оси отверстия 213 для скольжения. Направляющая 223 поддерживает нижнюю часть колпачка 215 и может направлять движение колпачка 215 вдоль отверстия 213 для скольжения.
[111] Плата 230 заземления может проходить по окружности боковой стенки 221 внутреннего корпуса 220, образуя окружность. Плата 230 заземления может окружать внешнюю сторону боковой стенки 221 внутреннего корпуса 220. Плата 230 заземления может быть расположена между внутренним корпусом 220 и внешним корпусом 210. Плата 230 заземления может заземлять второй датчик 162 (см. ФИГ. 6).
[112] Вырезное пространство 236 может быть образовано путем вырезания платы 230 заземления. Вырезное пространство 236 может быть образовано в положении, соответствующем внутреннему окну 226 и внешнему окну 216. Размер вырезного пространства 236 может превышать размер внутреннего окна 226 и внешнего окна 216, и плата 230 заземления может не закрывать внутреннее окно 226 и внешнее окно 216.
[113]
[114] Как показано на ФИГ. 15, плата 230 заземления может быть скатана в рулон с образованием пространства 234. Плата 230 заземления может быть гибкой. Плата 230 заземления может представлять собой гибкую печатную плату (FPCB). Величину зазора 237 и пространства 234, образованного между обоими концами платы 230 заземления, можно изменять.
[115] Плата 230 заземления может содержать соединительную часть 232. Соединительная часть 232 может быть сформирована на верхнем конце подложки 230 заземления. Соединительная часть 232 может быть сформирована путем изгибания от верхнего конца одной стороны платы 230 заземления к пространству 234 внутри платы 230 заземления. Соединительная часть 232 может быть изогнута в направлении внутренней толщины подложки 230 заземления. Соединительная часть 232 может обладать электропроводящими свойствами. Третья клемма 238 может быть установлена на соединительной части 232. Третья клемма 238 может быть обращена вниз от нижней поверхности соединительной части 232. Третья клемма 238 может представлять собой проводящую клемму зажимного или пружинного типа (см. ФИГ. 22). Третья клемма 238 может быть электрически соединена с платой 230 заземления.
[116]
[117] Как показано на ФИГ. 16, отверстие 228 для второй клеммы может быть образовано путем открытия одной стороны верхней стенки 222 внутреннего корпуса 220 вверх и вниз. Отверстие 228 для второй клеммы может соответствовать третьей клемме 238. Отверстие 228 для второй клеммы может примыкать к кромке верхней стенки 222. Фиксирующий выступ 227 может выступать из верхней стенки 222 к верхней стороне отверстия 228 для второй клеммы.
[118] Ребра 2231, 2232 могут выступать из боковой стенки 221 внутреннего корпуса 220 в направлении наружной толщины. Ребра 2231, 2232 могут проходить по окружности боковой стенки 221, образуя окружность.
[119] Первое ребро 2231 может примыкать к верхней стенке 222 внутреннего корпуса 220. Первое ребро 2231 может быть сформировано на верхнем конце внутреннего корпуса 220. Первое ребро 2231 может выступать из боковой стенки 221, образуя первый фиксирующий выступ 2231а в направлении вниз.
[120] Второе ребро 2232 может быть расположено на некотором расстоянии вниз от первого ребра 2231. Второе ребро 2232 может быть сформировано на нижнем конце внутреннего корпуса 220. Второе ребро 2232 может выступать из боковой стенки 221, образуя второй фиксирующий выступ 2232а в направлении вверх. Соединительный выступ 225 может выступать из второго ребра 2232. Несколько соединительных выступов 225 может быть расположено вдоль окружного направления второго ребра 2232.
[121]
[122] Как показано на ФИГ. 17-19, плата 230 заземления может быть соединена с внутренним корпусом 220 таким образом, чтобы накрывать боковую стенку 221 внутреннего корпуса 220. Вырезное пространство 236 может соответствовать внутреннему окну 226.
[123] Когда плата 230 заземления соединена с внутренним корпусом 220, соединительная часть 232 на верхней стороне третьей клеммы 238 может быть вставлена в отверстие 228 для второй клеммы, закрывая отверстие 228 для второй клеммы. Третья клемма 238 может быть открыта вниз через отверстие 228 для второй клеммы. Соответственно, третья клемма 238 может быть открыта в направлении полости 204 (см. ФИГ. 20) внутри внутреннего корпуса 220.
[124] Фиксирующий выступ 227 может быть расположен на верхней стороне соединительной части 232. Верхняя поверхность соединительной части 232 может быть захвачена фиксирующим выступом 227. Фиксирующий выступ 227 может ограничивать вертикальное перемещение соединительной части 232. Соответственно, можно предотвратить отделение соединительной части 232 и третьей клеммы 238 в направлении вверх от отверстия 228 для второй клеммы и зафиксировать положение соединительной части 232 и третьей клеммы 238.
[125] Плата 230 заземления может быть расположена между первым ребром 2231 и вторым ребром 2232. Верхний конец платы 230 заземления может быть расположен ниже первого ребра 2231. Верхний конец платы 230 заземления может опираться на первый фиксирующий выступ 2231а первого ребра 2231. Нижний конец платы 230 заземления может быть расположен выше второго ребра 2232. Нижний конец платы 230 заземления может опираться на второй фиксирующий выступ 2232а второго ребра 2232.
[126] Внутренний корпус 220 и плата 230 заземления могут быть вставлены в полость внешнего корпуса 210. Внутренний корпус 220 и внешний корпус 210 могут быть соединены.
[127] Соединительный выступ 225 может соединять боковую стенку 221 внутреннего корпуса 220 с боковой стенкой 211 внешнего корпуса 210 с помощью защелкивания при установке в паз, сформированный на внутренней стороне внешнего корпуса 210. Верхняя стенка 222 внутреннего корпуса 220 может быть соединена с верхней стенкой 212 внешнего корпуса 210. Первое отверстие 214 для введения и второе отверстие 224 для введения могут соответствовать друг другу. Внутреннее окно 226 и внешнее окно 216 могут соответствовать друг другу.
[128] Окружность платы 230 заземления может быть расположена между боковой стенкой 211 внешнего корпуса 210 и боковой стенкой 221 внутреннего корпуса 220. Боковая стенка 211 внешнего корпуса 210 может покрывать внешнюю окружную поверхность платы 230 заземления. Боковая стенка 221 внутреннего корпуса 220 может покрывать внутреннюю окружную поверхность платы 230 заземления. Ребра 2231, 2232 могут соприкасаться с боковой стенкой 211 внешнего корпуса 210, перекрывая пространство, в котором может перемещаться верхний и нижний конец платы 230 заземления. Соединительная часть 232 может быть расположена между верхней стенкой 222 внутреннего корпуса 220 и нижней стенкой 212 внешнего корпуса 210.
[129] Соответственно, можно зафиксировать положение платы 230 заземления и предотвратить отделение платы 230 заземления от внутреннего корпуса 220.
[130]
[131] Как показано на ФИГ. 20- 22, третья клемма 238 может быть открыта через полость 204 верхнего корпуса 200. Третья клемма 238 может быть обращена к полости 204 с внутренней стороны верхнего корпуса 200. Третья клемма 238 может быть открыта через полость 204 в верхней части верхнего корпуса 200 и может быть обращена вниз. Третья клемма 238 может выступать из внутреннего корпуса 220 в полость 204. Третья клемма 238 может представлять собой проводящую клемму зажимного или пружинного типа.
[132] Верхний корпус 200 может быть присоединен или установлен на верхней части 120 корпуса с возможностью отсоединения. Когда верхний корпус 200 отделен от верхней части 120 корпуса, третья клемма 238 может быть отделена от второй клеммы 178 и разрывать электрическое соединение. Когда верхний корпус 200 установлен на верхней части 120 корпуса, верхний корпус 200 может закрывать верхнюю часть 120 корпуса, окружая ее. Плата 230 заземления может накрывать верхнюю часть 120 корпуса, окружая ее. Плата 230 заземления может окружать второй датчик 162 (см. ФИГ. 6). Когда верхний корпус 200 установлен на верхней части 120 корпуса, третья клемма 238 может соприкасаться с верхним концом второй клеммы 178, устанавливая электрическое соединение. Третья клемма 238 может быть электрически соединена с первой клеммой 168.
[133] Соответственно, когда верхний корпус 200 соединен с верхней частью 120 корпуса, плата 230 заземления и второй датчик 162 могут быть соединены друг с другом, и второй датчик 162 может быть заземлен через плату 230 заземления.
[134] Кроме того, при работе второго датчика 162 можно предотвратить помехи считывания во втором датчике 162, возникающие при изменении диэлектрической проницаемости второго датчика 162 при контакте тела пользователя и т.п. с устройством для генерирования аэрозоля. Например, плата 230 заземления, соединенная со вторым датчиком 162, может предотвращать помехи, возникающие в непосредственной близости от второго датчика 162 снаружи верхнего корпуса 200, что позволяет повысить точность считывания информации о стике или оставшемся количестве жидкости в картридже.
[135] Окна 216, 226 могут быть сформированы в положениях, соответствующих первой камере С1, и быть ориентированы в вертикальном направлении вдоль оси высоты первой камеры С1. Через окна 216, 226, выполненные в верхнем корпусе 200 первой камеры С1, можно визуально контролировать количество или состояние жидкости, хранящейся в первой камере С1 картриджа 300.
[136]
[137] Как показано на ФИГ. 1-22, устройство для генерирования аэрозоля согласно одному из аспектов настоящего изобретения может содержать корпус, содержащий удлиненное пространство для введения; картридж, соединенный с корпусом таким образом, чтобы он примыкал к пространству для введения; перегородку, сформированную на корпусе между пространством для введения и картриджем и выполненную с возможностью образования первого пространства внутри него; и датчик, установленный на корпусе и электрически соединенный с платой, расположенной в первом пространстве.
[138] Согласно другому аспекту настоящего изобретения, устройство для генерирования аэрозоля может дополнительно содержать крышку 170, 180, закрывающую отверстие первого пространства S1.
[139] Согласно другому аспекту настоящего изобретения, устройство для генерирования аэрозоля может дополнительно содержать уплотнительный элемент, примыкающий к пространству для введения, расположенный между перегородкой и крышкой и выполненный с возможностью герметизации первого пространства из пространства для введения.
[140] Согласно другому аспекту настоящего изобретения, перегородка 125 может содержать первую часть перегородки и вторую часть перегородки, образующие первое пространство между ними, причем уплотнительный элемент может содержать первую уплотнительную часть, обеспечивающую уплотнение между кромкой первой части перегородки и крышкой.
[141] Согласно другому аспекту настоящего изобретения, первая уплотнительная часть 151 может содержать установочный паз 1515, в который вставлена кромка первой части 1251 перегородки.
[142] Согласно другому аспекту настоящего изобретения, первая уплотнительная часть 151 может содержать направляющую поверхность 1513 платы, примыкающую к первому пространству S1 и наклоненную вниз в сторону первого пространства S1 для направления платы 162 в первое пространство S1.
[143] Согласно другому аспекту настоящего изобретения, корпус может содержать удлинительную часть, проходящую от верхнего конца второй перегородки и накрывающую картридж, удлинительная часть может содержать первое отверстие для датчика, открытое в сторону картриджа, и удлинительная часть закрыта крышкой с образованием второго пространства внутри нее, и датчик может быть расположен во втором пространстве примыкая к первому отверстию для датчика.
[144] Согласно другому аспекту настоящего изобретения, уплотнительный элемент 150 может содержать: второе отверстие для датчика, расположенное таким образом, чтобы соответствовать первому отверстию для датчика; и часть для размещения датчика, примыкающую к первому отверстию для датчика и выполненную с возможностью размещения датчика.
[145] Согласно другому аспекту настоящего изобретения, уплотнительный элемент может содержать вторую уплотнительную часть, соединенную с удлинительной частью и содержащую часть для размещения датчика; и третью уплотнительную часть, соединяющую первую уплотнительную часть и вторую уплотнительную часть.
[146] Согласно другому аспекту настоящего изобретения, третья уплотнительная часть может представлять собой одну часть из пары третьих уплотнительных частей, расположенных на расстоянии друг от друга для определения отверстия для установки платы между первой уплотнительной частью, второй уплотнительной частью и парой третьих уплотнительных частей, причем плата может проходить через отверстие для установки платы для введения в первое пространство.
[147] В другом аспекте настоящего изобретения крышка может быть соединена с корпусом и прижимает уплотнительный элемент, сформированный вокруг отверстия для установки платы, в направлении перегородки и удлинительной части.
[148] Согласно другому аспекту настоящего изобретения, крышка может быть соединена с корпусом и прижимает уплотнительный элемент к перегородке.
[149] Согласно другому аспекту настоящего изобретения, дополнительно предусмотрен винт, выполненный с возможностью свинчивания крышки и корпуса в направлении прижатия уплотнительного элемента.
[150] Согласно другому аспекту настоящего изобретения, устройство для генерирования аэрозоля может дополнительно содержать трубу, вставленную в корпус и выполненную с возможностью образования пространства для введения, причем крышка может быть соединена с корпусом и трубой.
[151] Согласно другому аспекту настоящего изобретения, картридж содержит впускное отверстие картриджа, через которое поступает воздух, и датчик может примыкать к впускному отверстию картриджа для распознавания потока воздуха во впускное отверстие картриджа.
[152] Согласно другому аспекту настоящего изобретения, перегородка может примыкать к пространству для введения и быть ориентирована параллельно продольному направлению пространства для введения.
[153]
[154] Некоторые варианты осуществления или другие варианты осуществления изобретения, описанные выше, не являются взаимоисключающими или отличными друг от друга. Любые или все элементы вариантов осуществления, описанного выше изобретения могут быть объединены с другими или объединены друг с другом по конфигурации или функции.
[155] Например, конфигурация «А», описанная в одном варианте осуществления изобретения и чертежах, и конфигурация «В», описанная в другом варианте осуществления изобретения и чертежах, могут быть объединены друг с другом. А именно, хотя комбинация между конфигурациями прямо не описана, комбинация возможна, за исключением случая, когда описано, что комбинация невозможна.
[156] Хотя варианты осуществления изобретения были описаны со ссылкой на ряд иллюстративных вариантов осуществления изобретения, следует понимать, что специалисты в данной области техники могут разработать множество других модификаций и вариантов осуществления изобретения, которые будут подпадать под действие принципов настоящего изобретения. В частности, возможны различные варианты и изменения составных частей и/или компоновок рассматриваемого комбинированного устройства в пределах объема описания, чертежей и прилагаемой формулы изобретения. Помимо вариантов и изменений составных частей и/или компоновок, специалистам в данной области техники также будут очевидны альтернативные варианты использования.
| название | год | авторы | номер документа |
|---|---|---|---|
| УСТРОЙСТВО ДЛЯ ГЕНЕРИРОВАНИЯ АЭРОЗОЛЯ (ВАРИАНТЫ) | 2022 |
|
RU2829096C2 |
| УСТРОЙСТВО ДЛЯ ГЕНЕРИРОВАНИЯ АЭРОЗОЛЯ | 2022 |
|
RU2822055C2 |
| КАРТРИДЖ И УСТРОЙСТВО ДЛЯ ГЕНЕРИРОВАНИЯ АЭРОЗОЛЯ, СОДЕРЖАЩЕЕ ТАКОЙ КАРТРИДЖ | 2022 |
|
RU2830108C2 |
| УСТРОЙСТВО ДЛЯ ГЕНЕРИРОВАНИЯ АЭРОЗОЛЯ (ВАРИАНТЫ) | 2022 |
|
RU2831726C2 |
| УСТРОЙСТВО ДЛЯ ГЕНЕРИРОВАНИЯ АЭРОЗОЛЯ | 2022 |
|
RU2831273C2 |
| УСТРОЙСТВО ДЛЯ ГЕНЕРИРОВАНИЯ АЭРОЗОЛЯ | 2022 |
|
RU2839354C2 |
| УСТРОЙСТВО ДЛЯ ГЕНЕРИРОВАНИЯ АЭРОЗОЛЯ | 2022 |
|
RU2830156C2 |
| УСТРОЙСТВО ДЛЯ ГЕНЕРИРОВАНИЯ АЭРОЗОЛЯ | 2023 |
|
RU2839920C2 |
| УСТРОЙСТВО ДЛЯ ГЕНЕРИРОВАНИЯ АЭРОЗОЛЯ | 2022 |
|
RU2831260C2 |
| УСТРОЙСТВО ДЛЯ ГЕНЕРИРОВАНИЯ АЭРОЗОЛЯ | 2022 |
|
RU2815298C2 |
Предложено устройство для генерирования аэрозоля. Техническим результатом является повышение эффективности использования пространства, в котором размещена подложка, повышение воздухонепроницаемости и стабильности работы. Устройство содержит корпус, содержащий удлиненное пространство для введения, вытянутое в продольном направлении корпуса. Также устройство содержит картридж, соединенный с корпусом таким образом, чтобы примыкать к пространству для введения. Также устройство содержит перегородку, сформированную на корпусе между пространством для введения и картриджем и выполненную с возможностью образования первого пространства внутри него. Также устройство содержит датчик, установленный на корпусе и электрически соединенный с платой, расположенной в первом пространстве. 15 з.п. ф-лы, 22 ил.
1. Устройство для генерирования аэрозоля, содержащее:
корпус, содержащий удлиненное пространство для введения, вытянутое в продольном направлении корпуса;
картридж, соединенный с корпусом таким образом, чтобы примыкать к пространству для введения;
перегородку, сформированную на корпусе между пространством для введения и картриджем и выполненную с возможностью образования первого пространства внутри него; и
датчик, установленный на корпусе и электрически соединенный с платой, расположенной в первом пространстве.
2. Устройство для генерирования аэрозоля по п. 1, дополнительно содержащее крышку, закрывающую отверстие первого пространства.
3. Устройство для генерирования аэрозоля по п. 2, дополнительно содержащее уплотнительный элемент, примыкающий к пространству для введения, расположенный между перегородкой и крышкой и выполненный с возможностью герметизации первого пространства относительно пространства для введения.
4. Устройство для генерирования аэрозоля по п. 3, в котором перегородка содержит:
первую часть перегородки и вторую часть перегородки, образующие первое пространство между ними,
в котором уплотнительный элемент содержит первую уплотнительную часть, обеспечивающую уплотнение между кромкой первой части перегородки и крышкой.
5. Устройство для генерирования аэрозоля по п. 4, в котором первая уплотнительная часть содержит установочный паз, в который вставлена кромка первой части перегородки.
6. Устройство для генерирования аэрозоля по п. 4, в котором первая уплотнительная часть содержит направляющую поверхность платы, примыкающую к первому пространству и наклоненную вниз в сторону первого пространства для направления платы в первое пространство.
7. Устройство для генерирования аэрозоля по п. 4, в котором корпус содержит удлинительную часть, проходящую от верхнего конца второй перегородки и накрывающую картридж,
в котором удлинительная часть содержит первое отверстие для датчика, открытое в сторону картриджа, и удлинительная часть покрыта крышкой, образующей второе пространство внутри нее, и
в котором датчик расположен во втором пространстве, примыкая к первому отверстию для датчика.
8. Устройство для генерирования аэрозоля по п. 4, в котором уплотнительный элемент дополнительно содержит:
второе отверстие для датчика, расположенное таким образом, чтобы соответствовать первому отверстию для датчика; и
часть для размещения датчика, примыкающую к первому отверстию для датчика и выполненную с возможностью размещения датчика.
9. Устройство для генерирования аэрозоля по п. 4, в котором уплотнительный элемент дополнительно содержит:
вторую уплотнительную часть, соединенную с удлинительной частью и содержащую часть для размещения датчика; и
третью уплотнительную часть, соединяющую первую уплотнительную часть со второй уплотнительной частью.
10. Устройство для генерирования аэрозоля по п. 9, в котором третья уплотнительная часть представляет собой одну часть из пары третьих уплотнительных частей, расположенных на расстоянии друг от друга для определения отверстия для установки платы между первой уплотнительной частью, второй уплотнительной частью и парой третьих уплотнительных частей, причем плата проходит через отверстие для установки платы для введения в первое пространство.
11. Устройство для генерирования аэрозоля по п. 10, в котором крышка соединена с корпусом и прижимает уплотнительный элемент, сформированный вокруг отверстия для установки платы, в направлении перегородки и удлинительной части.
12. Устройство для генерирования аэрозоля по п. 3, в котором крышка соединена с корпусом и прижимает уплотнительный элемент к перегородке.
13. Устройство для генерирования аэрозоля по п. 11 или 12, дополнительно содержащее винт, выполненный с возможностью свинчивания крышки и корпуса в направлении прижатия уплотнительного элемента.
14. Устройство для генерирования аэрозоля по п. 2, дополнительно содержащее трубу, вставленную в корпус и выполненную с возможностью определения пространства для введения, в котором крышка соединена с корпусом и трубой.
15. Устройство для генерирования аэрозоля по п. 1, в котором картридж содержит впускное отверстие картриджа, через которое поступает воздух, и
в котором датчик примыкает к впускному отверстию картриджа и предназначен для распознавания потока воздуха во впускное отверстие картриджа.
16. Устройство для генерирования аэрозоля по п. 1, в котором перегородка примыкает к пространству для введения и ориентирована параллельно продольному направлению пространства для введения.
| KR 20210101045 A, 18.08.2021 | |||
| ЭЛЕКТРОННОЕ ВЕЙПИНГОВОЕ (КУРИТЕЛЬНОЕ) УСТРОЙСТВО И ЕГО КОМПОНЕНТЫ | 2015 |
|
RU2679980C2 |
| БЛОК ПИТАНИЯ АЭРОЗОЛЬНОГО УСТРОЙСТВА | 2020 |
|
RU2740055C1 |
| УСТРОЙСТВО ДЛЯ ДОСТАВКИ АЭРОЗОЛЯ, СОДЕРЖАЩЕЕ ПОДВИЖНЫЙ КАРТРИДЖ, И ОТНОСЯЩИЙСЯ К НИМ СПОСОБ СБОРКИ | 2015 |
|
RU2693705C2 |
| WO 2020182735 A1, 17.09.2020. | |||
Авторы
Даты
2025-04-14—Публикация
2022-10-12—Подача