ОБЛАСТЬ ТЕХНИКИ
Данное изобретение относится к контейнеру для снюса, имеющему секции для хранения упакованных порций снюса, и к способу изготовления контейнера для снюса.
УРОВЕНЬ ТЕХНИКИ
Как правило, снюс продают потребителям в виде расфасованных порций, которые хранятся в контейнере с многократно закрываемой крышкой. Данные контейнеры обычно имеют цилиндрическую форму и выполнены из пластмассы или полимерного материала.
После использования порцию снюса выбрасывают, например, в общественный мусорный контейнер. Однако, если поблизости нет мусорного контейнера, возникает необходимость хранения использованных порций снюса. Решением данной проблемы является создание контейнеров для снюса, имеющих две отдельные секции. Таким образом, неиспользованные порции снюса могут храниться в одной секции, а использованные порции снюса - в отдельной от нее секции. Это обеспечивает возможность временного хранения использованных порций снюса до тех пор, пока они не будут выброшены в мусорный контейнер. Такой двухсекционный контейнер для снюса раскрыт, например, в патентном документе ЕР 3503748 А1 или ЕР 2308769 А1.
Проблемой двухсекционных контейнеров для снюса является их дополнительная сложность, которая увеличивает стоимость и усложняет производство и/или сборку. Контейнеры для снюса, обладающие большей сложностью, могут быть более хрупкими и, соответственно, могут чаще ломаться. Кроме того, такие контейнеры для снюса могут быть менее интуитивно понятны в использовании. Каждый из данных аспектов может привести к неудовлетворительному опыту использования. Более того, трудновыполнить двухсекционный контейнер для снюса, в котором вторая секция для хранения использованных порций снюса является достаточно большой и существенно не ограничивает пространство первой секции. Таким образом, представляет интерес создание двухсекционного контейнера для снюса, обладающего более простой и эффективной конструкцией и дешевого с точки зрения производства.
СУЩНОСТЬ ИЗОБРЕТЕНИЯ
Целью данного изобретения является создание усовершенствованного решения, частично устраняющего указанные недостатки существующих решений. В частности, первой целью является создание контейнера для снюса, имеющего простую и компактную конструкцию с точки зрения двух секций. Данная цель достигается с помощью изобретения, охарактеризованного в п. 1 формулы изобретения. Второй целью является создание контейнера для снюса, который является дешевым с точки зрения производства и простым в сборке. Данная цель достигается с помощью изобретения, охарактеризованного в п. 1 формулы изобретения. Третьей целью является создание способа изготовления такого контейнера для снюса, имеющего более простую и пространственно-эффективную конструкцию. Данная цель достигается с помощью изобретения, охарактеризованного в п. 9 формулы изобретения. Четвертой целью является создание пресс-формы для применения в указанном способе. Данная цель достигается с помощью изобретения, охарактеризованного в п. 10 формулы изобретения.
Согласно первому аспекту изобретения предложен контейнер для снюса. Контейнер для снюса содержит: корпус, ограничивающий первую секцию, первую крышку, выполненную с возможностью разъемного прикрепления к корпусу так, что она закрывает указанную первую секцию, и ограничивающую вторую секцию, отделенную от первой секции, и вторую крышку, шарнирно соединенную с первой крышкой с обеспечением возможности поворота указанной второй крышки вокруг поворотной оси при нажатии на приводную область второй крышки из закрытого положения, в котором вторая крышка закрывает вторую секцию, в полуоткрытоеположение, при этом вторая крышка шарнирно соединена с первой крышкой с помощью защелкивающегося соединения, обеспечивающего возможность обратимого отсоединения второй крышки от первой крышки, когда вторая крышка находится в указанном полуоткрытом положении.
Данный контейнер для снюса обеспечивает контейнер с первой секцией для хранения неиспользованных порций снюса и второй секцией для хранения использованных порций снюса. Кроме того, в данном контейнере для снюса вторая крышка может продолжать закрывать отверстие второй секции до тех пор, пока она не будет намеренно отодвинута от первой крышки. Такая конструкция обеспечивает преимущество, заключающееся в возможности предотвращения случайного открытия второй секции контейнера для снюса при ношении в кармане или сумке. Преимущество данной конструкции также заключается в возможности более эффективного использования пространства. Это обусловлено тем, что вторая крышка выполнена с обеспечением ее предварительного вдавливания во вторую секцию до того, как ее можно будет снять с первой крышки для обеспечения возможности доступа ко второй секции. Таким образом, вторая секция может иметь более широкую нижнюю поверхность при меньшей глубине, что, соответственно, также обеспечивает возможность выполнения первой секции с большим размером. В некоторых известных решениях (см., например, патентный документ ЕР 2308769 А1) первая крышка ограничивает пространство для задвигания части крышки при открывании, которое не может использоваться для хранения неиспользованных или использованных порций снюса. Таким образом, предложенный контейнер для снюса обеспечивает достижением первой цели, указанной выше.
Кроме того, компоненты контейнера для снюса, то есть корпус, первая крышка и вторая крышка, имеют относительно простую конструкцию и могут быть изготовлены, например, с помощью литья под давлением с использованием дешевого материала, такого как пластмасса или полимерный материал. После изготовления компонентов контейнер для снюса также может быть легко собран. Таким образом, предложенный контейнер для снюсаобеспечивает также достижение второй цели, указанной выше.
Выражение «разъемное прикрепление» может означать, что компонент А выполнен с возможностью прикрепления к компоненту В и обратимого отсоединения от него.
Выражение «обратимое отсоединение» может означать, что компонент А выполнен с возможностью отсоединения от компонента В и повторного присоединения к нему несколько раз.
Выражение «приводная область» может означать область и/или поверхность, размер и форма которой способствуют взаимодействию для обеспечения перемещения второй крышки.
Выражение «открытое положение» может означать положение, в котором обеспечена возможность доступа к секции.
Выражение «закрытое положение» может означать положение, в котором доступ к секции отсутствует.
Выражение «полуоткрытое положение» может означать положение, в котором доступ к секции отсутствует, но обеспечена возможность снятия второй крышки. Это может означать положение, в котором между первой крышкой и второй крышкой имеется зазор, обеспечивающий возможность введения порции снюса во вторую секцию, но препятствующий получению доступа к порциям снюса, если контейнер для снюса не ориентирован определенным образом.
Выражение «защелкивающееся соединение» может означать соединение, форма и размер которого обеспечивают возможность шарнирного и разъемного прикрепления первого компонента А ко второму компоненту В таким образом, что имеется возможность некоторого заданного поворотного перемещения. Это также может означать, что первый компонент А удерживается в указанном положении относительно второго компонента В с помощью гибкой части, которая образована первым и/или вторым компонентом В и может изгибаться под действием заданного усилия с обеспечением тем самым возможности высвобождения первого компонента А.
Контейнер для снюса может быть выполнен с такими размером и формой, что он имеет форм-фактор, аналогичный известным контейнерам для снюса. Контейнер для снюса может иметь по существу цилиндрическую форму. Первая секция также может иметь по существу цилиндрическую форму. Вторая секция может иметь по существу цилиндрическую форму. Одна из первой секции и второй секции может быть больше другой секции. Большая секция может быть предназначена для хранения неиспользованных порций снюса, а меньшая - для временного хранения использованных порций снюса. Первая секция может быть больше второй секции. Вторая секция может быть больше первой секции. Как вариант, первая секция и вторая секция имеют по существу одинаковые размеры. В случае цилиндрической геометрической формы первая секция может иметь больший диаметр, чем вторая секция, или наоборот. Высота первой секции может быть больше высоты второй секции при измерении высоты от центра дна каждой секции в вертикальном направлении до соответствующей крышки, закрывающей указанную секцию, или наоборот. Отношение высоты первой секции к высоте второй секции может составлять около 1,0-1,5, 1,5-2,0, 2,0-2,5, 2,5-3,0, 3,0-3,5, 3,5-4,0 или, как вариант, 0,2-0,4, 0,4-0,6, 0,6-0,8, 0,8-1, если первая секция имеет меньшую высоту, чем вторая секция.
Кроме того, первая крышка может иметь цилиндрический корпус, выполненный с возможностью по меньшей мере частичной вставки в первую секцию. Цилиндрический корпус первой крышки может ограничивать вторую секцию. Вторая секция может иметь цилиндрическую форму. Первая секция может иметь цилиндрическую форму.
Контейнер для снюса может быть выполнен из полимерного материала. Контейнер для снюса может быть выполнен из пластмассового материала. Как вариант, контейнер для снюса может быть выполнен из материала, содержащего металл, такой как алюминий, титан и т.д. В предпочтительном варианте выполнения корпус, первая крышка и вторая крышка выполнены из одного и того же материала.
Приводная область может быть образована заданной приводнойповерхностью на наружной стороне второй крышки. Заданная приводная поверхность может иметь круглую форму. Диаметр заданной приводной поверхности может составлять 1 -2 см. Заданная приводная поверхность может быть заглублена относительно окружающей поверхности наружной стороны второй крышки. Заданная приводная поверхность может быть заглублена плавным образом, то есть иметь небольшую кривизну. Заданная приводная поверхность может быть выполнена с текстурой, облегчающей определение места нажатия на вторую крышку для обеспечения ее поворота в полуоткрытое положение. Таким образом, может быть обеспечено более удовлетворительное впечатление от использования.
Еще одно преимущество данного изобретения заключается в отсутствии необходимости наличия в первой крышке какой-либо выемки для обеспечения доступа ко второй крышке для открывания второй секции. Вместо этого вторая секция выполнена с возможностью открывания простым нажатием на приводную область так, что вторая крышка поворачивается в полуоткрытое положение, в котором вторая крышка доступна для захвата и отсоединения от первой крышки для обеспечения доступа ко второй секции. Это обеспечивает более долговечную и экономичную конструкцию.
Согласной одному варианту выполнения вторая крышка содержит первую часть, выполненную с возможностью перемещения от дна второй секции при повороте второй крышки в полуоткрытое положение с открытием тем самым области захвата второй крышки, и вторую часть, соединенную с указанной первой частью и образующую приводную область, так что при толкании второй крышки ко дну второй секции обеспечен поворот указанной крышки из закрытого положения в полуоткрытое положение. Область захвата может способствовать захвату второй крышки, таким образом облегчая снятие второй крышки с первой крышки для обеспечения доступа ко второй секции. Область захвата может быть образована захватной кромкой. Вторая крышка может иметь форму и размер, обеспечивающие образование выемки, смежной с захватной кромкой. Когда вторая крышка находится в полуоткрытом положении, захватная кромка может быть расположена таким образом, что ееможно захватить.
Согласно одному варианту выполнения вторая крышка выполнена с возможностью ее удерживания в закрытом положении с помощью по меньшей мере одного фиксирующего выступа, предназначенного для защелкивания в соответствующей фиксирующей выемке до тех пор, пока на приводную область не будет действовать заданное усилие, обеспечивающее поворот второй крышки из закрытого положения в полуоткрытое положение. Таким образом, вторая крышка может удерживаться в закрытом положении. Указанный по меньшей мере один фиксирующий выступ может быть образован второй крышкой, а соответствующая фиксирующая выемка - первой крышкой, или наоборот. Указанный по меньшей мере один фиксирующий выступ и соответствующая фиксирующая выемка могут быть расположены так, что фиксирующий выступ защелкнут в соответствующей фиксирующей выемке, когда вторая крышка находится в закрытом положении.
Если фиксирующий выступ образован второй крышкой, он может отходить от боковой поверхности второй крышки, обращенной к внутренней боковой стенке второй секции, ограниченной первой крышкой. В этом случае соответствующая фиксирующая выемка может быть выполнена вдоль указанной внутренней боковой стенки второй секции, ограниченной первой крышкой.
Если фиксирующий выступ образован первой крышкой, он может отходить от внутренней боковой стенки второй секции, ограниченной первой крышкой, которая обращена к боковой поверхности второй крышки. В этом случае соответствующая фиксирующая выемка может быть выполнена вдоль указанной боковой поверхности второй крышки.
Контейнер для снюса может содержать несколько фиксирующих выступов и соответствующих фиксирующих выемок, выполненных с возможностью совместной работы для удерживания второй крышки в закрытом положении. Контейнер для снюса может иметь один или более фиксирующих выступов, образованных второй крышкой и выполненных свозможностью защелкивания с соответствующими фиксирующими выемками, образованными первой крышкой. Контейнер для снюса может дополнительно или в качестве варианта иметь один или более фиксирующих выступов, образованных первой крышкой и выполненных с возможностью защелкивания с соответствующими фиксирующими выемками, образованными второй крышкой.
Указанный по меньшей мере один фиксирующий выступ может иметь такие размер и форму, что он образует изогнутую наружную поверхность. Это может способствовать защелкиванию указанного фиксирующего выступа с указанной соответствующей фиксирующей выемкой и его отсоединению от нее. Аналогичным образом, указанная соответствующая фиксирующая выемка может иметь такие размер и форму, что она образует изогнутую выемку. Это может способствовать обеспечению указанной выемкой возможности перемещения указанного по меньшей мере одного фиксирующего выступа в соответствующую фиксирующую выемку и из нее.
Контейнер для снюса может иметь 1-2, 2-3, 3-4, 4-5, 5-6, 6-7, 7-8, 8-9, 10 или более фиксирующих выступов, выполненных с возможностью взаимодействия с соответствующей фиксирующей выемкой.
Согласно одному варианту выполнения вторая крышка имеет по меньшей мере два фиксирующих выступа, предпочтительно четыре фиксирующих выступа, при этом каждая из первой и второй частей второй крышки содержит по меньшей мере один соответствующий фиксирующий выступ из указанных по меньшей мере двух фиксирующих выступов. Таким образом, вторая крышка более надежно удерживается в закрытом положении. Указанные по меньшей мере два фиксирующих выступа или предпочтительно четыре фиксирующих выступа и соответствующие фиксирующие выемки могут быть расположены симметрично между второй крышкой и первой крышкой. Таким образом, вторая крышка может удерживаться еще более надежно в закрытом положении.
Согласно одному варианту выполнения защелкивающееся соединение обеспечено с помощью двух шарнирных выступов, взаимно расположенных собразованием указанной поворотной оси и выполненных с возможностью разъемного соединения с соответствующими шарнирными выемками для обеспечения поворота второй крышки вокруг поворотной оси. Таким образом, вторая крышка может быть при необходимости легко присоединена к первой крышке и отсоединена от нее в положение, в котором вторая крышка шарнирно соединена с первой крышкой, и из указанного положения. Указанные два шарнирных выступа могут быть расположены на второй крышке, а соответствующие шарнирные выемки могут быть расположены на первой крышке, или наоборот.
При расположении на второй крышке указанные два шарнирных выступа могут отходить от боковых поверхностей второй крышки, обращенных к внутренним боковым стенкам второй секции, образованной первой крышкой. В этом случае соответствующие шарнирные выемки могут быть расположены соответственно на указанных внутренних боковых стенках второй секции, образованной первой крышкой.
При расположении на первой крышке указанные два шарнирных выступа могут отходить от боковых поверхностей второй секции, образованной первой крышкой, которые обращены к боковым поверхностям второй крышки. В этом случае соответствующие шарнирные выемки могут быть расположены соответственно на указанных боковых поверхностях второй крышки.
Указанные два шарнирных выступа и соответствующие шарнирные выемки могут быть расположены так, что поворотная ось параллельна центральной линии, проходящей от двух противоположных точек второй крышки.
Согласно одному варианту выполнения вторая крышка имеет контактную часть, размер и форма которой обеспечивают взаимодействие с дном второй секции, когда вторая крышка находится в полуоткрытом положении. Благодаря этому может быть предотвращено слишком глубокое проталкивание второй крышки во вторую секцию, то есть гарантирована минимальная высота второй секции. Кроме того, благодаря этому обеспеченаопора, способствующая отсоединению второй крышки от первой крышки в полуоткрытом положении.
Контактная часть может отходить от дна второй крышки. Контактная часть может проходить частично в окружном направлении второй крышки. «Высота» прохождения от дна второй крышки может варьироваться в местоположении вблизи приводной области так, что между контактной частью и дном второй секции имеется большая зона контакта. Под высотой может пониматься расстояние, измеренное от дна второй крышки в перпендикулярном направлении до самого дальнего участка контактной части. Контактная часть может иметь минимальную высоту в положении, находящемся в перпендикулярном направлении от поворотной оси вдоль указанного окружного направления. Высота контактной части может увеличиваться в каждом из двух окружных направлений по направлению к точкам, расположенным вблизи поворотной оси. Контактная часть может представлять собой часть внутренней боковой стенки, являющейся в остальном цилиндрической и предназначенной для вставки во вторую секцию. Контактная часть может образовывать первую половину цилиндрической внутренней боковой стенки, тогда как другая половина цилиндрической внутренней боковой стенки имеет постоянную высоту, а также форму и размер, предотвращающие проталкивание второй крышки так, чтобы ее половина, не образующая приводную область, была вставлена во вторую секцию.
Согласно одному варианту выполнения первая крышка содержит ограничительный элемент, проходящий вверх от дна второй секции в положении вблизи приводной области. Благодаря этому может быть предотвращено такое размещение порций снюса во второй секции, которое ограничивало бы возможность поворота второй крышки вокруг поворотной оси. Ограничительный элемент может проходить вверх от дна второй секции в положении вблизи приводной области до точки, в которой он максимально прилегает ко второй крышке при ее нахождении в полуоткрытом положении. Ограничительный элемент может представлять собой часть цилиндрическойвнутренней боковой стенки, проходящей вверх от дна второй секции. Таким образом, внутренняя боковая стенка может ограничивать область, в которой могут быть размещены порции снюса. Кроме того, ограничительный элемент может действовать в качестве шарнирного элемента при отсоединении второй крышки от первой крышки.
Согласно одному варианту выполнения контейнер для снюса имеет такие форму и размер, что угол α поворота второй крышки при ее повороте между закрытым и полуоткрытым положениями составляет 5-20 градусов, предпочтительно 5-15 градусов и наиболее предпочтительно 6-10 градусов.
Согласно второму аспекту изобретения предложен способ изготовления контейнера для снюса, выполненному согласно первому аспекту или любым вариантам его выполнения. Способ включает следующие этапы: использование пресс-формы, ограничивающей полости, соответствующие формам корпуса, первой крышки и второй крышки контейнера для снюса, введение материала в указанные полости пресс-формы и извлечение контейнера для снюса из пресс-формы после затвердевания. В результате может быть получен контейнер для снюса, имеющий простую и пространственно-эффективную конструкции, и, таким образом, достигнута третья цель изобретения.
Материал может быть введен в полости пресс-формы с помощью одного или более сопел, предназначенных для направления материала в указанные полости. Введение материала может быть выполнено с помощью инжекционного устройства. Материал может быть нагрет до температуры плавления, в результате чего он становится текучей средой. При охлаждении материал застывает в указанных полостях. Контейнер для снюса может быть предпочтительно выполнен из пластмассы или полимерного материала. Как вариант, контейнер для снюса может быть выполнен из материала, содержащего металл, такой как алюминий, титан и т.д. Контейнер для снюса может быть выполнен в виде единого сплошного элемента, который после сборки разделяют на разные части: корпус, первую крышку и вторую крышку. Корпус, первая крышка и вторая крышка выполнены из одного и того жематериала.
Согласно третьему аспекту изобретения предложена пресс-форма. Пресс-форма имеет форму и размер, обеспечивающие образование полостей, соответствующих формам корпуса, первой крышки и второй крышки контейнера для снюса, выполненного согласно первому аспекту или любым вариантам его выполнения. В результате достигнута четвертая цель изобретения. Пресс-форма может быть предназначена для использования в способе согласно второму аспекту.
Пресс-форма может содержать первую часть и вторую часть. Первая часть может быть верхней частью, а вторая часть может быть нижней частью, или наоборот. Указанные первая и вторая части пресс-формы могут быть выполнены с возможностью из прижатия друг к другу с образованием указанных полостей, соответствующих форме контейнера для снюса. Первая часть может иметь форму и размер, обеспечивающие образование выемок, предназначенных для размещения в них соответствующих выступов второй части, когда первая и вторая части прижаты друг к другу. Выемки и выступы могут совместно образовывать полости пресс-формы, соответствующие корпусу, первой крышке и второй крышке контейнера для снюса. Первая и/или вторая части могут также образовывать проходы, соединяющие выемки для обеспечения возможности прохождения материала между соответствующими полостями пресс-формы. Пресс-форма может быть выполнена с возможностью соединения с соплом для направления материала в полости пресс-формы. Пресс-форма может также быть выполнена с одним или более толкательными штифтами для выталкивания контейнера для снюса после его затвердевания.
Изобретение определено прилагаемыми независимыми пунктами формулы изобретения, при этом варианты выполнения изложены в сопутствующих зависимых пунктах формулы изобретения и приведены в нижеследующем описании и на чертежах.
КРАТКОЕ ОПИСАНИЕ ЧЕРТЕЖЕЙ
Ниже приведено более подробное описание изобретения со ссылкой на прилагаемые чертежи, на которых:
фиг. 1 изображает вид в аксонометрии контейнера для снюса согласно одному варианту выполнения изобретения,
фиг. 2 изображает вид сбоку контейнера для снюса согласно одному варианту выполнения изобретения,
фиг. 3 изображает вид сверху контейнера для снюса согласно одному варианту выполнения изобретения,
фиг. 4 изображает вид в аксонометрии контейнера для снюса согласно одному варианту выполнения изобретения при нахождении второй крышки в полуоткрытом положении,
фиг. 5 изображает вид сбоку контейнера для снюса согласно одному варианту выполнения изобретения при нахождении второй крышки в полуоткрытом положении,
фиг. 6А изображает вид сбоку в разрезе контейнера для снюса согласно одному варианту выполнения изобретения при нахождении второй крышки в закрытом положении,
фиг. 6В изображает вид сбоку в разрезе контейнера для снюса согласно одному варианту выполнения изобретения при нахождении второй крышки в полуоткрытом положении,
фиг. 7 изображает вид в аксонометрии в разрезе контейнера для снюса согласно одному варианту выполнения изобретения,
фиг. 8 изображает блок-схему способа изготовления контейнера для снюса согласно одному варианту выполнения изобретения,
фиг. 9 изображает вид сбоку в разрезе пресс-формы, используемой в способе изготовления контейнера для снюса согласно одному варианту выполнения изобретения.
ОПИСАНИЕ ВАРИАНТОВ ВЫПОЛНЕНИЯ
Ниже приведено более подробное описание данного изобретения со ссылкой на прилагаемые чертежи, на которых показаны предпочтительные варианты выполнения изобретения. Однако данное изобретение может бытьвыполнено в различных видах и не должно рассматриваться как ограниченное вариантами выполнения, представленными в данном документе; скорее, данные варианты выполнения приведены для того, чтобы данное описание было полным и всесторонним и полностью передавало объем изобретения специалистам в данной области техники. На чертежах одинаковые номера позиций обозначают одинаковые элементы.
На фиг. 1 изображен вид в аксонометрии контейнера 1 для снюса согласно одному варианту выполнения изобретения. Контейнер 1 для снюса содержит корпус 11, образующий первую секцию 110. Контейнер 1 также содержит первую крышку 12. Первая крышка 12 выполнена с возможностью разъемного прикрепления к корпусу 11 так, что она закрывает первую секцию 110. На фиг. 1 первая крышка 12 находится в закрытом положении, в котором она закрывает первую секцию 110. Первая крышка 12 также образует вторую секцию 120, отделенную от первой секции 110. Контейнер 1 также содержит вторую крышку 13, шарнирно соединенную с первой крышкой 12 с обеспечением возможности поворота второй крышки вокруг поворотной оси Р при нажатии на приводную область 131 второй крышки 13 из закрытого положения, в котором вторая крышка 13 закрывает вторую секцию 120, в полуоткрытое положение. Поворотная ось Р показана, например, на фиг.3. Контейнер 1 для снюса, в котором вторая крышка 13 находится в полуоткрытом положении, показан, например, на фиг. 4. На фиг. 1 вторая крышка 13 находится в закрытом положении, таким образом, закрывая вторую секцию 120. Кроме того, вторая крышка 13 шарнирно соединена с первой крышкой 12 при помощи защелкивающегося соединения 122, 132, обеспечивающего возможность обратимого отсоединения второй крышки от первой крышки 12, когда вторая крышка 13 находится в полуоткрытом положении. Таким образом, с помощью защелкивающегося соединения 122, 132 вторая крышка 13 может быть отсоединена от первой крышки 12 для полного открывания второй секции 120.
Как показано на фиг. 1, контейнер 1 для снюса имеет по существу цилиндрическую форму, схожую с типичной конструкцией существующихконтейнеров для снюса. Как первая крышка 12, так и вторая крышка 13 выполнены с круглой формой. Кроме того, верхняя кромка и нижняя кромка контейнера для снюса слегка закруглены. Такая конструкция без острых кромок делает контейнер более удобным для удерживания и ношения в кармане одежды. Однако контейнер 1 не ограничен такой конструкцией и при необходимости может быть выполнен с другими формами.
На фиг. 2 изображен вид сбоку контейнера 1 для снюса согласно одному варианту выполнения изобретения, при этом первая крышка 12 и вторая крышка 13 находятся в своих соответствующих закрытых положениях.
На фиг. 3 изображен вид сверху контейнера 1 для снюса согласно одному варианту выполнения изобретения. В данном варианте выполнения вторая крышка 13 содержит первую часть 13а, выполненную с возможностью перемещения от дна второй секции 120 при повороте второй крышки 13 в полуоткрытое положение из закрытого положения. Вторая крышка 13 также содержит вторую часть 13b, которая соединена с первой частью 13а и образует приводную область 131, так что при толкании второй крышки 13 ко дну второй секции 120 обеспечивается ее поворот из закрытого положения в полуоткрытое положение. Как видно из фиг. 3, первая часть 13а и вторая часть 13b второй крышки 13 представляют собой две соответствующие половины второй крышки 13, разделенные вдоль поворотной оси Р.
Приводная область 131 представляет собой приводную поверхность 131, заглубленную относительно наружной поверхности второй крышки 13. Кроме того, приводная поверхность 131 заглублена плавным образом с небольшой кривизной. Также приводная поверхность 131 имеет текстуру, отличную от наружной поверхности второй крышки 13. Приводная поверхность 131 имеет ребристую текстуру. Выполнение приводной поверхности 131 с определенным конструктивным отличием от остальной части наружной поверхности второй крышки 13 позволяет пользователю быстро определить, на какое место второй крышки 13 следует надавить, чтобы повернуть ее в полуоткрытое положение. В дополнение или в качестве варианта приводная область 131 может содержать наклейку или маркировку либо представлятьсобой наклейку или маркировку, которая позволяет пользователю определить, на какое место второй крышки 13 следует нажать, чтобы повернуть ее в полуоткрытое положение.
Кроме того, первая часть 13а второй крышки 13 может иметь форму и размер, обеспечивающие образование области 134 захвата, которая может быть открыта для доступа, когда вторая крышка 13 находится в полуоткрытом положении. Область 134 захвата может облегчать отсоединение второй крышки 13 от первой крышки 12 для полного открытия второй секции 120. Область 134 захвата может иметь захватную кромку 134 и смежную с ней выемку, которые совместно способствуют захвату второй крышки 13.
В одном варианте выполнения вторая крышка 13 выполнена с возможностью ее удерживания в закрытом положении с помощью по меньшей мере одного фиксирующего выступа 133, предназначенного для защелкивания в соответствующей фиксирующей выемке 123 до тех пор, пока на приводную область 131 не будет действовать заданное усилие, обеспечивающее поворот второй крышки 13 из закрытого положения к полуоткрытому положению. На фиг. 3 контейнер 1 для снюса имеет четыре фиксирующих выступа 133, расположенных симметрично вдоль боковой поверхности второй крышки 13. Четыре фиксирующих выступа 133 расположены так, что каждый из них может быть защелкнут в соответствующей фиксирующей выемке 123, расположенной вдоль внутренних боковых стенок второй секции 120, образованной первой крышкой 12. Фиксирующие выступы 133 предпочтительно выполнен с криволинейной геометрической формой и размером, что способствует перемещению выступов 133 в соответствующие фиксирующие выемки 123 и из них при действии указанного заданного усилия на приводную область 131.
На фиг. 4 и 5 изображен контейнер 1 для снюса при нахождении второй крышки 13 в полуоткрытом положении. На чертежах видны два фиксирующих выступа 133, а также область 134 захвата, показанная в данном случае в виде захватной кромки и смежной с ней выемки, расположенной под указанной захватной кромкой.
На фиг. 6А и 6В изображен вид сбоку в разрезе контейнера 1 для снюса согласно одному варианту выполнения изобретения. В частности, на фиг. 6В изображен контейнер 1 для снюса при нахождении второй крышки 13 в закрытом положении. При этом на фиг.6B изображен контейнер 1 для снюса при нахождении второй крышки 13 в полуоткрытом положении. Контейнер для снюса имеет такие форму и размер, что угол α поворота второй крышки 13 при ее повороте между закрытым положением и полуоткрытым положением составляет 5-20 градусов, предпочтительно 5-15 градусов и наиболее предпочтительно 6-10 градусов. В частности, угол α поворота второй крышки 13, показанной на фиг. 6В, составляет около 7 градусов.
Кроме того, контейнер 1 для снюса может содержать контактную часть 135а, размер и форма которой обеспечивают взаимодействие с дном второй секции 120, когда вторая крышка 13 находится в полуоткрытом положении. Контактная часть 135а проходит от дна второй крышки 13 так, что соответствующая высота изменяется вдоль окружного направления. Высота является наименьшей в положении под прямым углом к поворотной оси, т.е. вблизи приводной области 131, и непрерывно увеличивается от нее в любом окружном направлении по направлению к местам, расположенным вблизи поворотной оси Р. Контактная часть 135 может представлять собой часть внутренней боковой стенки, являющейся в остальном цилиндрической и предназначенной для вставки во вторую секцию 120. Контактная часть 135 может образовывать первую половину цилиндрической внутренней боковой стенки, тогда другая половина указанной стенки имеет постоянную высоту, а также форму и размер, предотвращающие проталкивание второй крышки 13 так, чтобы ее половина, не образующая приводную область 131, была вставлена во вторую секцию 120.
Контейнер 1 для снюса может также содержать ограничительный элемент 121, проходящий вверх от дна второй секции 120 в положении вблизи приводной области 131 второй крышки 13. Благодаря этому может быть предотвращено такое размещение порций снюса во второй секции 120, которое ограничивало бы возможность поворота второй крышки 13 вокругповоротной оси Р. Ограничительный элемент 121 может проходить вверх от дна второй секции 120 в положении вблизи приводной области 131 до точки, в которой он максимально прилегает ко второй крышке при ее нахождении в полуоткрытом положении. Ограничительный элемент 121 также образует часть цилиндрической внутренней боковой стенки, проходящей вверх от дна второй секции 120, которая ограничивает область, в которой могут находиться порции снюса. Как показано на фиг. 6А, внутренняя боковая стенка второй крышки 13 и внутренняя боковая стенка, проходящая вверх от дна второй секции 120, взаимно расположены так, что они являются по меньшей мере частично смежными друг с другом, когда вторая крышка 13 находится в закрытом положении. Еще один эффект от использования ограничительного элемента 121 заключается в том, что он может действовать в качестве шарнирного элемента при отсоединении второй крышки 13 от первой крышки 12.
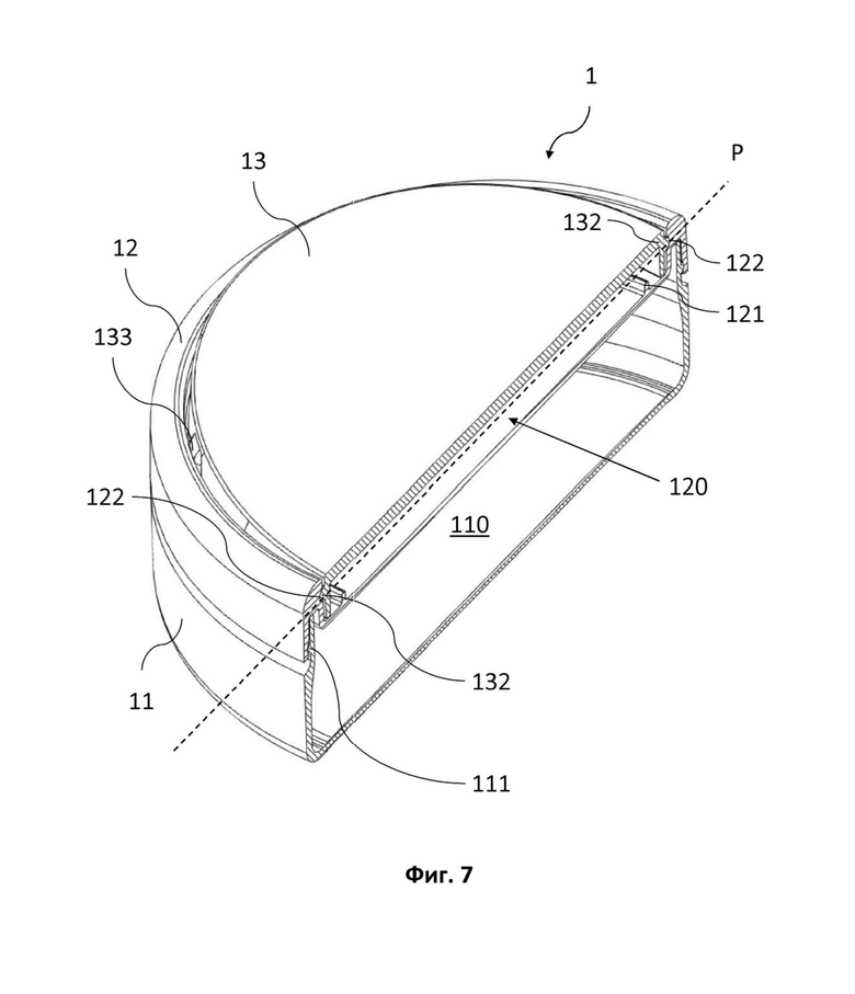
На фиг. 7 изображен вид в аксонометрии в разрезе контейнера 1 для снюса согласно одному варианту выполнения изобретения. Защелкивающееся соединение 122, 132 обеспечено с помощью двух шарнирных выступов 132, взаимно расположенных с образованием указанной поворотной оси и выполненных с возможностью разъемного соединения с соответствующими шарнирными выемками 122. Два шарнирных выступа 132 имеют по существу полусферическую форму и отходят от боковой поверхности второй крышки 13, обращенной к внутренним боковым стенкам второй секции 120, образованной первой крышкой 12. Соответствующие шарнирные выемки 122 представляют собой соответственно полусферические отверстия, расположенные соответствующим образом вдоль указанных внутренних боковых стенок второй секции 120, образованной первой крышкой 12. Первая крышка 12 выполнена с возможностью гибкой вставки в нее второй крышки 13 с помощью защелкивающегося соединения 122, 132. Это обеспечивает возможность удобного присоединения второй крышки 13 к первой крышке 12 и отсоединения от нее многократно и контролируемым образом.
На фиг. 8 изображена блок-схема способа S0 изготовления контейнера 1для снюса согласно одному варианту выполнения изобретения. Способ S0 включает следующие этапы: использование S1 пресс-формы 100, ограничивающей полости 1021,1022,1023, соответствующие формам корпуса 11, первой крышки 12 и второй крышки 13 контейнера 1 для снюса, введение S2 материала в полости 1021, 1022, 1023 пресс-формы и извлечение контейнера 1 для снюса из пресс-формы 100 после затвердевания. Контейнер 1 для снюса может быть выполнен в виде единого элемента, который затем разделяют на отдельные компоненты: корпус 11, первую крышку 12, вторую крышку 13. Используемый материал может представлять собой пластмассу или полимерный материал.
На фиг. 9 изображен разрез пресс-формы 100, используемой в способе S0 изготовления контейнера 1 для снюса согласно одному варианту выполнения изобретения. Пресс-форма 100 содержит верхнюю часть 101 и нижнюю часть 102. Нижняя часть 102 пресс-формы имеет форму и размер, обеспечивающие образование выемок 1021,1022,1923, предназначенных для размещения в них соответствующих выступов 1011, 1012, 1013 верхней части 101 пресс-формы, когда верхняя часть 101 и нижняя часть 102 прижаты друг к другу. Указанные выемки и выступы совместно образуют полости пресс-формы, соответствующие корпусу 11, первой крышке 12 и второй крышке 13 контейнера для снюса. Материал направляется в полости пресс-формы при помощи сопла 1014. После затвердевания контейнера 1 его извлекают с помощью толкательных штифтов 1024. Предпочтительно используемый материал представляет собой пластмассу или полимерный материал.
На чертежах и в описании приведены предпочтительные варианты выполнения и примеры изобретения, при этом, несмотря на использование конкретных терминов, данные термины используются только в общем и описательном смысле и не являются ограничивающими, а объем изобретения изложен в нижеследующей формуле изобретения.
| название | год | авторы | номер документа |
|---|---|---|---|
| КОНТЕЙНЕР ДЛЯ СНЮСА | 2022 |
|
RU2839645C2 |
| КОНТЕЙНЕР | 2016 |
|
RU2678684C1 |
| ЗАПИРАЕМЫЙ КОНТЕЙНЕР | 2010 |
|
RU2521289C2 |
| КОНТЕЙНЕР | 2016 |
|
RU2677718C1 |
| Емкость для табачного продукта | 2017 |
|
RU2726817C1 |
| КОНТЕЙНЕРЫ | 2011 |
|
RU2600385C2 |
| КОНТЕЙНЕР | 2014 |
|
RU2643632C2 |
| КАРМАННЫЙ КОНТЕЙНЕР ДЛЯ ПОТРЕБИТЕЛЬСКИХ ТОВАРОВ | 2008 |
|
RU2511301C2 |
| КОНТЕЙНЕР, КРЫШКА ДЛЯ КОНТЕЙНЕРА И СПОСОБ КРЕПЛЕНИЯ КРЫШКИ К КОНТЕЙНЕРУ | 1997 |
|
RU2170198C2 |
| НОВЫЙ КОНТЕЙНЕР | 2007 |
|
RU2431590C2 |
Данное изобретение относится к контейнеру (1) для снюса, который содержит корпус (11), ограничивающий первую секцию (110), первую крышку (12), выполненную с возможностью разъемного прикрепления к корпусу (11) так, что она закрывает первую секцию (110), и образующую вторую секцию (120), отделенную от первой секции (110), и вторую крышку (13), шарнирно соединенную с первой крышкой (12) с обеспечением возможности поворота второй крышки (13) вокруг поворотной оси (Р) при нажатии на ее приводную область из закрытого положения, в котором вторая крышка (13) закрывает вторую секцию (120), в полуоткрытое положение, при этом вторая крышка (13) шарнирно соединена с первой крышкой (12) с помощью защелкивающегося соединения (122, 132), обеспечивающего возможность обратимого отсоединения второй крышки (13) от первой крышки (12) при нахождении второй крышки (13) в полуоткрытом положении. Также раскрыты способ (S0) изготовления данного контейнера (1) для снюса и пресс-форма (100) для использования в данном способе (S0). 3 н. и 8 з.п. ф-лы, 10 ил.
1. Контейнер (1) для снюса, содержащий:
корпус (11), ограничивающий первую секцию (110),
первую крышку (12), выполненную с возможностью разъемного прикрепления к корпусу (11) так, что она закрывает первую секцию (110), причем первая крышка (12) ограничивает вторую секцию (120), отделенную от первой секции (110), при этом одна из указанных первой и второй секций (110, 120) предназначена для хранения неиспользованных порций снюса, а другая из указанных первой и второй секций (110, 120) предназначена для хранения использованных порций снюса, и
вторую крышку (13), шарнирно соединенную с первой крышкой (12) с обеспечением возможности поворота второй крышки (13) вокруг поворотной оси (Р) при нажатии на приводную область (131) второй крышки (13) из закрытого положения, в котором вторая крышка (13) закрывает вторую секцию (120), в полуоткрытое положение, в котором доступ ко второй секции все еще отсутствует,
причем вторая крышка (13) шарнирно соединена с первой крышкой (12) при помощи защелкивающегося соединения (122, 132), обеспечивающего возможность обратимого отсоединения второй крышки (13) от первой крышки (12) при нахождении второй крышки (13) в полуоткрытом положении,
при этом вторая крышка (13) содержит:
первую часть (13а), выполненную с возможностью перемещения от дна второй секции (120) при повороте второй крышки (13) в полуоткрытое положение с открытием тем самым области (134) захвата второй крышки (13), и
вторую часть (13b), соединенную с первой частью (13а) и образующую приводную область (131) так, что при толкании второй крышки (13) ко дну второй секции (120) обеспечен поворот второй крышки (13) из закрытого положения в полуоткрытое положение,
при этом возможность доступа ко второй секции (110) обеспечена при снятии второй крышки (13) с первой крышки (12).
2. Контейнер (1) по п. 1, в котором вторая крышка (13) выполнена с возможностью ее удерживания в закрытом положении с помощью по меньшей мере одного фиксирующего выступа (133), предназначенного для защелкивания в соответствующей фиксирующей выемке (123) до тех пор, пока на приводную область (131) не будет действовать заданное усилие, обеспечивающее поворот второй крышки (13) из закрытого положения в полуоткрытое положение.
3. Контейнер (1) по п. 2, в котором вторая крышка (13) имеет по меньшей мере два фиксирующих выступа (133), предпочтительно четыре фиксирующих выступа (133), при этом каждая из первой части (13а) и второй части (13b) второй крышки (13) содержит по меньшей мере один соответствующий фиксирующий выступ (133) из указанных по меньшей мере двух фиксирующих выступов (133).
4. Контейнер (1) по любому из предыдущих пунктов, в котором защелкивающееся соединение (122, 132) обеспечено с помощью двух шарнирных выступов (132), взаимно расположенных с образованием указанной поворотной оси (Р) и выполненных с возможностью разъемного соединения с соответствующим шарнирными выемками (122) для обеспечения поворота второй крышки (13) вокруг поворотной оси (Р).
5. Контейнер (1) по любому из предыдущих пунктов, в котором вторая крышка (13) имеет контактную часть (135а), размер и форма которой обеспечивают взаимодействие с дном второй секции (120) при нахождении второй крышки (13) в полуоткрытом положении.
6. Контейнер (1) по п. 5, в котором контактная часть (135а) проходит по меньшей мере частично в окружном направлении второй крышки (13) и имеет минимальную высоту в положении, находящемся в перпендикулярном направлении от поворотной оси (Р) вдоль указанного окружного направления, при этом высота контактной части (135а) увеличивается вдоль каждого из двух окружных направлений по направлению к точкам, расположенным вблизи поворотной оси (Р), от указанного положения минимальной высоты контактной части (135а).
7. Контейнер (1) по любому из предыдущих пунктов, в котором первая крышка (12) содержит ограничительный элемент (121), проходящий вверх от дна второй секции (120) в положении вблизи приводной области (131).
8. Контейнер (1) по любому из предыдущих пунктов, который имеет такие форму и размер, что угол (α) поворота второй крышки (13) при ее повороте между закрытым и полуоткрытым положениями составляет 5-20 градусов, предпочтительно 5-15 градусов, наиболее предпочтительно 6-10 градусов.
9. Контейнер (1) по п. 4, в котором указанные два шарнирных выступа (132) имеют по существу полусферическую форму, а указанные две шарнирные выемки (122) представляют собой соответственно полусферические отверстия.
10. Способ (S0) изготовления контейнера (1) для снюса по любому из предыдущих пунктов, включающий следующие этапы:
использование (S1) пресс-формы (100), ограничивающей полости (1021, 1022, 1023), соответствующие формам корпуса (11), первой крышки (12) и второй крышки (13) контейнера (1),
введение (S2) материала в полости (1021, 1022, 1023) пресс-формы и извлечение (S3) контейнера (1) из пресс-формы (100) после затвердевания.
11. Пресс-форма (100), в которой образованы полости (1021, 1022, 1023), соответствующие формам корпуса (11), первой крышки (12) и второй крышки (13) контейнера (1) для снюса по любому из пп. 1-9.
| СИНЕИЗЛУЧАЮЩИЙ ФОТОЛЮМИНОФОР ДЛЯ ЭКРАНОВ ПЛАЗМЕННЫХ ПАНЕЛЕЙ И СПОСОБ ЕГО ПОЛУЧЕНИЯ | 2001 |
|
RU2236433C2 |
| WO 2014124939 A1, 21.08.2014 | |||
| US 10463075 B2, 05.11.2019 | |||
| КОНТЕЙНЕР | 2016 |
|
RU2678684C1 |
Авторы
Даты
2025-05-23—Публикация
2022-04-07—Подача