Область техники
Изобретение относится к области получения метанола, и может быть использовано, в частности, для получения метанола с использованием сжигания биомассы в циркулирующем кипящем слое и сепарацией диоксида углерода.
Уровень техники
Из уровня техники известна принятая в качестве прототипа заявляемого изобретения установка для получения метанола, содержащая воздухоразделительную установку, вход которой соединен с помощью трубопровода с источником воздуха, а выход соединен с помощью трубопровода с котлом с кипящим слоем. При этом вход котла с кипящим слоем соединен с помощью трубопровода с источником древесной щепы. Причем выход котла с кипящим слоем соединен с помощью трубопровода с трехходовым шибером, первый выход которого соединен с трубопроводом для отвода газов, а второй выход - с помощью трубопровода с установкой DeOxo, выход которой соединен с помощью трубопровода с метанатором, выход которого соединен с трубопроводом для отвода метанола. При этом первый выход электролизера соединен с помощью трубопровода для подачи водорода Н2 с трехходовым шибером, первый выход которого соединен с помощью трубопровода с входом установки DeOxo, а второй выход - с помощью трубопровода с входом метанатора. Причем второй выход электролизера соединен с помощью трубопровода для подачи кислорода O2 с входом котла с кипящим слоем. При этом вход электролизера и вход теплообменника, установленного внутри метанатора, соединены с помощью трубопроводов с источником воды. Причем электролизер соединен с источником электроэнергии (Power-to-Green Methanol via CO2 Hydrogenation - A Concept Study Including Oxyfuel Fluidized Bed Combustion of Biomass /S. Pratschner, P. Skopec, J. Hrdlicka and F. Winter // Energies 2021, 14(15), 4638. https://doi.org/10.3390/enl4154638, фиг.A2, далее - [1]).
Недостатки известной из [1] установки для получения метанола заключаются в следующем.
В известной из [1] установке для получения метанола с использованием биомассы в кипящем слое энергия для питания электролизера используется только от внешнего источника электроэнергии. При этом в известной из [1] установке не производится электроэнергия за счет использования тепла от сжигания биомассы для питания электролизера с целью обеспечения процесса электролиза воды для получения водорода, который направляют в установку DeOxo (реактор для удаления кислорода) и в метанатор для производства метанола, а также для получения кислорода, который направляют в котел с кипящим слоем.
Раскрытие изобретения
Задачей, на решение которой направлено патентуемое изобретение, является разработка установки для получения метанола с использованием сжигания биомассы в циркулирующем кипящем слое и сепарацией диоксида углерода, а техническим результатом - обеспечение производства электроэнергии за счет тепла от сжигания биомассы для питания электролизера с целью обеспечения процесса электролиза воды для получения водорода, который направляют в реактор для удаления кислорода и в метанатор для производства метанола, а также для получения кислорода, который направляют в котел с циркулирующим кипящим слоем.
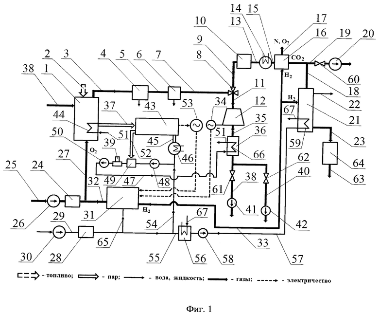
Решение указанной задачи путем достижения указанного технического результата обеспечивается тем, что установка для получения метанола содержит котел с циркулирующим кипящим слоем, к которому присоединена течка для подачи биомассы. При этом выход котла с циркулирующим кипящим слоем соединен с помощью трубопровода для отвода газов с входом фильтра, выход которого соединен с помощью трубопровода с входом скруббера для очистки газов от соединений серы. Причем выход скруббера для очистки газов от соединений серы соединен с помощью трубопровода с трехходовым шибером, первый выход которого соединен с помощью трубопровода с входом утилизатора тепла потока газов. При этом второй выход трехходового шибера соединен с помощью трубопровода с входом газовой турбины. Причем выход утилизатора тепла потока газов соединен с помощью трубопровода с входом конденсатора потока газов, выход которого соединен с помощью трубопровода с входом реактора для удаления кислорода. Причем первый выход реактора для удаления кислорода соединен с трубопроводом для отвода азота N и кислорода O2. При этом второй выход реактора для удаления кислорода соединен с помощью трубопровода для отвода углекислого газа CO2 с первым входом метанатора и с трубопроводом для отвода углекислого газа CO2 на захоронение, на линии которого установлен компрессор. Причем первый выход метанатора соединен с трубопроводом для отвода метанола, а второй выход метанатора соединен с трубопроводом для отвода сдувки, который соединен с утилизатором тепла сдувки. При этом установка для получения метанола также содержит воздухоразделительную установку, вход которой соединен с помощью трубопровода, на линии которого установлен компрессор, с источником воздуха. Причем выход воздухоразделительной установки соединен с помощью трубопровода с котлом с циркулирующим кипящим слоем. При этом установка для получения метанола также содержит водоподготовительную установку, вход которой соединен с трубопроводом для подачи воды, на линии которого установлен насос. Причем выход водоподготовительной установки соединен с помощью трубопровода с входом электролизера, первый выход которого соединен с помощью трубопровода для подачи кислорода O2 с котлом с циркулирующим кипящим слоем. При этом второй выход электролизера соединен с помощью трубопровода для подачи водорода Н2 со вторым входом метанатора и с реактором для удаления кислорода. Причем вал газовой турбины соединен с первым электрогенератором, подключенным к электролизеру. При этом выход газовой турбины соединен с помощью трубопровода с входом котла-утилизатора, выход которого соединен с трубопроводом для рециркуляции газов, на линии которого установлен компрессор. Причем трубопровод для рециркуляции газов соединен с котлом с циркулирующим кипящим слоем и с трубопроводом для отвода CO2, на линии которого установлен компрессор. При этом установка для получения метанола также содержит паровую турбину, вход которой соединен с помощью трубопровода с выходом поверхностного теплообменника, установленного внутри котла с циркулирующим кипящим слоем. Причем выход паровой турбины соединен с помощью трубопровода с входом конденсатора пара. Причем выход конденсатора пара соединен с помощью трубопровода подачи конденсата, на линии которого последовательно установлены конденсатный насос, как минимум один подогреватель, деаэратор и питательный насос, с входом поверхностного теплообменника, установленного внутри котла-утилизатора. При этом выход поверхностного теплообменника, установленного внутри котла-утилизатора, соединен с помощью трубопровода с входом поверхностного теплообменника, установленного внутри котла с циркулирующим кипящим слоем. Причем отбор паровой турбины соединен с помощью трубопровода с как минимум одним подогревателем. При этом вал паровой турбины соединен со вторым электрогенератором, подключенным к электролизеру. При этом выход водоподготовительной установки также соединен с помощью трубопровода с трубопроводом подачи конденсата. Причем выход водоподготовительной установки также соединен с помощью трубопровода с входом теплообменника подогрева воды для метанатора. При этом выход теплообменника подогрева воды для метанатора соединен с помощью трубопровода, на линии которого установлен насос подачи воды для охлаждения метанатора, с входом поверхностного теплообменника, установленного внутри метанатора. Причем выход поверхностного теплообменника, установленного внутри метанатора, соединен с помощью трубопровода с теплообменником подогрева воды для метанатора.
Причинно-следственная связь между совокупностью существенных признаков патентуемого изобретения и достигаемым техническим результатом заключается в следующем.
За счет того, что в заявляемой установке для получения метанола газы из котла с циркулирующим кипящим слоем подаются через фильтр и скруббер в газовую турбину, вал которой соединен с первым электрогенератором, подключенным к электролизеру; за счет того, что котел-утилизатор газовой турбины соединен с помощью трубопровода с входом поверхностного теплообменника, установленного внутри котла с циркулирующим кипящим слоем; за счет того, что выход поверхностного теплообменника, установленного внутри котла с циркулирующим кипящим слоем, соединен с входом паровой турбины, вал которой соединен со вторым электрогенератором, подключенным к электролизеру; за счет того, что выход паровой турбины соединен с помощью трубопровода с входом конденсатора пара, выход которого соединен с помощью трубопровода подачи конденсата, на линии которого последовательно установлены конденсатный насос, как минимум один подогреватель, деаэратор и питательный насос, с котлом-утилизатором газовой турбины, который соединен с помощью трубопровода с входом поверхностного теплообменника, установленного внутри котла с циркулирующим кипящим слоем, выход которого соединен с входом паровой турбины, обеспечивается производство электроэнергии за счет тепла от сжигания биомассы для питания электролизера с целью обеспечения процесса электролиза воды для получения водорода, который направляют в реактор для удаления кислорода и в метанатор для получения метанола, а также для получения кислорода, который направляют в котел с циркулирующим кипящим слоем.
Краткое описание фигуры
На фиг.1 представлена схема установки для получения метанола.
Описание позиций фигуры
1 - котел с циркулирующим кипящим слоем;
2 - течка для подачи биомассы;
3 - трубопровод для отвода газов;
4 - фильтр;
5 - трубопровод;
6 - скруббер для очистки газов от соединений серы;
7 - трубопровод;
8 - трехходовой шибер;
9 - трубопровод;
10 - утилизатор тепла потока газов;
11 - трубопровод;
12 - газовая турбина;
13 - трубопровод;
14 - конденсатор потока газов;
15 - трубопровод;
16 - реактор для удаления кислорода;
17 - трубопровод для отвода азота N и кислорода O2;
18 - трубопровод для отвода углекислого газа CO2;
19 - трубопровод для отвода углекислого газа CO2 на захоронение;
20 - компрессор;
21 - метанатор;
22 - трубопровод для отвода метанола;
23 - трубопровод для отвода сдувки;
24 - воздухоразделительная установка;
25 - трубопровод;
26 - компрессор;
27 - трубопровод;
28 - водоподготовительная установка;
29 - трубопровод для подачи воды;
30 - насос;
31- электролизер;
32 - трубопровод для подачи кислорода O2;
33 - трубопровод для подачи водорода Н2;
34 - первый электрогенератор;
35 - трубопровод;
36 - котел-утилизатор;
37 - трубопровод;
38 - трубопровод для рециркуляции газов;
39 - деаэратор;
40 - трубопровод для отвода CO2;
41, 42 - компрессоры;
43 - паровая турбина;
44 - поверхностный теплообменник;
45 - трубопровод;
46 - конденсатор пара;
47 - трубопровод подачи конденсата;
48 - конденсатный насос;
49 - подогреватель;
50 - питательный насос;
51 - трубопровод;
52 - трубопровод;
53 - второй электрогенератор;
54 - трубопровод;
55 - трубопровод;
56 - теплообменник подогрева воды для метанатора;
57 - трубопровод;
58 - насос подачи воды для охлаждения метанатора;
59 - теплообменник;
60, 61, 62 - шиберы;
63 - трубопровод;
64 - утилизатор тепла сдувки;
65 - трубопровод;
66 - поверхностный теплообменник;
67 - трубопровод.
Осуществление изобретения
Ниже приведен частный пример установки для получения метанола и принцип ее работы.
Установка для получения метанола содержит котел с циркулирующим кипящим слоем 1, к которому присоединена течка для подачи биомассы 2. При этом выход котла с циркулирующим кипящим слоем 1 соединен с помощью трубопровода для отвода газов 3 с входом высокотемпературного керамического фильтра 4, выход которого соединен с помощью трубопровода 5 с входом скруббера для очистки газов от соединений серы 6. Причем выход скруббера для очистки газов от соединений серы 6 соединен с помощью трубопровода 7 с трехходовым шибером 8, первый выход которого соединен с помощью трубопровода 9 с входом утилизатора тепла потока газов 10. При этом второй выход трехходового шибера 8 соединен с помощью трубопровода 11 с входом газовой турбины 12. Причем выход утилизатора тепла потока газов 10 соединен с помощью трубопровода 13 с входом конденсатора потока газов 14, выход которого соединен с помощью трубопровода 15 с входом реактора для удаления кислорода 16, в качестве которого используется реактор DeOxo. При этом первый выход реактора для удаления кислорода 16 соединен с трубопроводом для отвода азота N и кислорода O2 17. Причем второй выход реактора для удаления кислорода 16 соединен с помощью трубопровода для отвода углекислого газа CO2 18 с первым входом метанатора 21 и с трубопроводом для отвода углекислого газа CO2 на захоронение 19, на линии которого установлены шибер 60 и компрессор 20. При этом первый выход метанатора 21 соединен с трубопроводом для отвода метанола 22, а второй выход метанатора 21 соединен с трубопроводом для отвода сдувки 23, который соединен с утилизатором тепла сдувки 64, выход которого соединен с трубопроводом 63. Причем установка для получения метанола также содержит воздухоразделительную установку 24, вход которой соединен с помощью трубопровода 25, на линии которого установлен компрессор 26, с источником воздуха (на фиг. не показан). При этом выход воздухоразделительной установки 24 соединен с помощью трубопровода 27 с котлом с циркулирующим кипящим слоем 1. Причем установка для получения метанола также содержит водоподготовительную установку 28, вход которой соединен с трубопроводом для подачи воды 29, на линии которого установлен насос 30. При этом выход водоподготовительной установки 28 соединен с помощью трубопровода 65 с входом электролизера 31, первый выход которого соединен с помощью трубопровода для подачи кислорода O2 32 и трубопровода 27 с котлом с циркулирующим кипящим слоем 1. Причем второй выход электролизера 31 соединен с помощью трубопровода для подачи водорода Н2 33 со вторым входом метанатора 21 и с реактором для удаления кислорода 16. Причем вал газовой турбины 12 соединен с первым электрогенератором 34, подключенным к электролизеру 31. При этом выход газовой турбины 12 соединен с помощью трубопровода 35 с входом котла-утилизатора 36, выход которого соединен с трубопроводом для рециркуляции газов 38, на линии которого установлены шибер 61 и компрессор 41. Причем трубопровод для рециркуляции газов 38 соединен с котлом с циркулирующим кипящим слоем 1 и с трубопроводом для отвода CO2 40, на линии которого установлены шибер 62 и компрессор 42. При этом установка для получения метанола также содержит паровую турбину 43, вход которой соединен с помощью трубопровода 37 с выходом поверхностного теплообменника 44, установленного внутри котла с циркулирующим кипящим слоем 1. Причем выход паровой турбины 43 соединен с помощью трубопровода 45 с входом конденсатора пара 46. При этом выход конденсатора пара 46 соединен с помощью трубопровода подачи конденсата 47, на линии которого последовательно установлены конденсатный насос 48, подогреватель 49, деаэратор 39 и питательный насос 50, с входом поверхностного теплообменника 66, установленного внутри котла-утилизатора 36. Причем выход поверхностного теплообменника 66, установленного внутри котла-утилизатора 36, соединен с помощью трубопровода 51 с входом поверхностного теплообменника 44, установленного внутри котла с циркулирующим кипящим слоем 1. При этом отбор паровой турбины 43 соединен с помощью трубопровода 52 с подогревателем 49. При этом вал паровой турбины 43 соединен со вторым электрогенератором 53, подключенным к электролизеру 31. Причем выход водоподготовительной установки 28 также соединен с помощью трубопровода 54 с трубопроводом подачи конденсата 47. Причем выход водоподготовительной установки 28 также соединен с помощью трубопровода 55 с входом теплообменника подогрева воды для метанатора 56. При этом выход теплообменника подогрева воды для метанатора 56 соединен с помощью трубопровода 57, на линии которого установлен насос подачи воды для охлаждения метанатора 58, с входом поверхностного теплообменника 59, установленного внутри метанатора 21. Причем выход поверхностного теплообменника 59, установленного внутри метанатора 21, соединен с помощью трубопровода 67 с теплообменником подогрева воды для метанатора 56.
Работа установки для получения метанола осуществляется следующим образом.
Котел с циркулирующим кипящим слоем 1 работает при давлении 3 МПа и температуре 900°С в режиме кислородного сжигания топлива, в качестве которого используется биомасса, в данном случае древесная щепа. Расход сырой биомассы составлял 29 т/ч. В котел с циркулирующим кипящим слоем 1 подается топливо через течку для подачи биомассы 2. При этом в котел с циркулирующим кипящим слоем 1 через трубопровод 27 подается кислород O2 из воздухоразделительной установки 24, в которую с помощью компрессора 26 через трубопровод 25 подается воздух. Кислород O2 подается в котел с циркулирующим кипящим слоем 1, в том числе через трубопровод для подачи кислорода O2 32 из электролизера 31, в который с помощью насоса 30 через трубопровод для подачи воды 29 подается вода из водоподготовительной установки 28, в которой осуществляется ее химическая очистка. Дымовые газы, образующиеся в котле с циркулирующим кипящим слоем 1, поступают через трубопровод для отвода газов 3 в фильтр 4, в котором происходит отделение частиц золы от дымовых газов. Затем дымовые газы поступают в скруббер для очистки газов от соединений серы 6, в котором происходит очистка газов от соединений серы с КПД порядка 60-80%, так как содержание серы в дымовых газах после их выхода из котла с циркулирующим кипящим 1 слоем будет мало - порядка 20 мг/м3. Затем очищенные дымовые газы поступают в трехходовой шибер 8, из которого они поступают через трубопровод 9 в утилизатор тепла потока газов 10 и через трубопровод 11 в газовую турбину 12 при давлении 2,9 МПа и температуре 880°С. После чего очищенные дымовые газы поступают из утилизатора тепла потока газов 10 через трубопровод 13 в конденсатор потока газов 14, в котором их поток полностью осушается. Далее поток очищенных дымовых газов поступает через трубопровод 15 в реактор для удаления кислорода 16 (реактор DeOxo) с увеличением концентрации CO2 в потоке газов до 99% и отводом азота N и кислорода O2 через трубопровод 17. Затем одна часть потока углекислого газа CO2 направляется в метанатор 21 при давлении 2,8 МПа и температуре 230°С, а другая часть потока углекислого газа CO2, отводится через трубопровод 19 с помощью компрессора 20 на захоронение. Расход углекислого газа CO2 через трубопровод 19 регулируется с помощью шибера 60. При этом водород Н2 подается из электролизера 31 в метанатор 21 через трубопровод 33. В метанаторе 21 происходит производство метанола СН3ОН при протекании следующих основных химических реакций:
Полученный метанол СН3ОН отводится из метанатора 21 через трубопровод для отвода метанола 22 и направляется на очистку. При этом сдувка отводится из метанатора 21 через трубопровод для отвода сдувки 23 в утилизатор тепла сдувки 64, в котором осуществляется ее охлаждение. Вода подается из водоподготовительной установки 28 с помощью насоса 30 при давлении 3,0 МПа и температуре 80°С через трубопровод 55 в теплообменник для подогрева воды для метанатора 56, из которого вода подается с помощью насоса подачи воды для охлаждения метанатора 58 в теплообменник 59, установленный внутри метанатора 21. После чего вода подается из теплообменника 59 в теплообменник подогрева воды для метанатора 56 через трубопровод 67. Очищенные дымовые газы после прохождения через газовую турбину 12 при давлении 0,12 МПа и температуре 485°С поступают через трубопровод 35 в котел-утилизатор 36, из которого большая их часть подается через трубопровод для рециркуляции газов 38 с помощью компрессора 41 в котел с циркулирующим кипящим слоем 1. Причем меньшая часть потока очищенных дымовых газов направляется через трубопровод 40 с помощью компрессора 42 на захоронение. Расход очищенных дымовых газов через трубопроводы 38, 40 регулируется с помощью шиберов 61, 62. При этом вода подается из водоподготовительной установки 28 с помощью питательного насоса 50 через трубопровод 54 и трубопровод подачи конденсата 47 в поверхностный теплообменник 66, установленный внутри котла-утилизатора 36, внутри которого она превращается в пар. После чего пар поступает из поверхностного теплообменника 66 через трубопровод 51 в поверхностный теплообменник 44, установленный внутри котла с циркулирующим кипящим слоем 1. Затем пар поступает из поверхностного теплообменника 44 при давлении 4,0 МПа и температуре 510°С в паровую турбину 43, из которой пар поступает через трубопровод 45 в конденсатор пара 46. После чего конденсат пара поступает из конденсатора пара 46 с помощью конденсатного насоса 48 в трубопровод подачи конденсата 47, в котором она смешивается с водой, поступающей из водоподготовительной установки 28, и проходит через подогреватель 49, в который поступает пар из отбора паровой турбины 43 через трубопровод 52, в котел-утилизатор 36. Затем смесь конденсата паровой турбины 43 вместе с водой из водоподготовительной установки 28 поступает в поверхностный теплообменник 66, установленный внутри котла-утилизатора 36 газовой турбины 12, из которого она поступает в поверхностный теплообменник 44, установленный внутри котла с циркулирующим кипящим слоем 1. При этом электроэнергия подается на электролизер 31 сначала от внешнего генератора электроэнергии (на фиг. не показан), подключенного к электролизеру 31, а затем после начала работы газовой и паровой турбин 12, 43 от первого электрогенератора 34, соединенного с валом газовой турбины 12 и от второго электрогенератора 53, соединенного с валом паровой турбины 43.
Таким образом, обеспечивается производство электроэнергии за счет тепла от сжигания биомассы для питания электролизера 31 с целью обеспечения процесса электролиза воды для получения водорода, который направляют в реактор для удаления кислорода 16 и в метанатор 21 для производства метанола, а также для получения кислорода, который направляют в котел с циркулирующим кипящим слоем 1.
Промышленная применимость
Патентуемое изобретение отвечает условию «промышленная применимость». Сущность технического решения раскрыта в формуле, описании и фигуре достаточно ясно для понимания и промышленной реализации соответствующими специалистами, а используемые средства просты и доступны для промышленной реализации в области теплоэнергетики.
| название | год | авторы | номер документа |
|---|---|---|---|
| МУЛЬТИГЕНЕРИРУЮЩИЙ КОМПЛЕКС С КОМБИНИРОВАННЫМ ТОПЛИВОМ ПРИ ДОПОЛНИТЕЛЬНОМ ПРОИЗВОДСТВЕ ВОДОРОДА И КИСЛОРОДА | 2019 |
|
RU2708936C1 |
| СИСТЕМА ПРОИЗВОДСТВА ЭКОЛОГИЧЕСКИ ЧИСТОГО ТОПЛИВА НА ТЭЦ С ПАРОГАЗОВОЙ УСТАНОВКОЙ | 2021 |
|
RU2774551C1 |
| Энергетический комплекс выработки тепловой и электрической энергии и способ его работы (варианты) | 2023 |
|
RU2806868C1 |
| СПОСОБ И УСТАНОВКА ДЛЯ СИНТЕЗА МЕТАНОЛА | 2021 |
|
RU2792583C1 |
| ПАРОГАЗОВАЯ УСТАНОВКА ЭЛЕКТРОСТАНЦИИ | 2008 |
|
RU2362022C1 |
| СПОСОБ РАЗРАБОТКИ УГОЛЬНЫХ МЕСТОРОЖДЕНИЙ И КОМПЛЕКС ОБОРУДОВАНИЯ ДЛЯ ЕГО ОСУЩЕСТВЛЕНИЯ | 1990 |
|
RU2027854C1 |
| ЭНЕРГОХИМИЧЕСКАЯ УСТАНОВКА ДЛЯ ПОЛУЧЕНИЯ СИНТЕЗ-ГАЗА, ЭЛЕКТРИЧЕСКОЙ И ТЕПЛОВОЙ ЭНЕРГИИ | 2018 |
|
RU2693777C1 |
| СПОСОБ РАБОТЫ ВОДОПОДГОТОВИТЕЛЬНОЙ УСТАНОВКИ В СОСТАВЕ ТЕПЛОУТИЛИЗАЦИОННОГО КОНТУРА ВАГТЭ | 2022 |
|
RU2790509C1 |
| Комбинированная парогазовая установка с газификацией угля | 1989 |
|
SU1638320A1 |
| УСТАНОВКА ДЛЯ КОМБИНИРОВАННОГО ПРОИЗВОДСТВА ВОДОРОДОСОДЕРЖАЩЕГО ГАЗА, ЭЛЕКТРИЧЕСКОЙ И ТЕПЛОВОЙ ЭНЕРГИИ | 2010 |
|
RU2428459C1 |
Изобретение относится к области получения метанола, а именно к установке для получения метанола с использованием сжигания биомассы в циркулирующем кипящем слое и сепарацией диоксида углерода. Технический результат - обеспечение производства электроэнергии за счет тепла от сжигания биомассы для питания электролизера с целью обеспечения процесса электролиза воды для получения водорода, который направляют в реактор для удаления кислорода и в метанатор для производства метанола, а также для получения кислорода, который направляют в котел с циркулирующим кипящим слоем. 1 ил.
Установка для получения метанола, отличающаяся тем, что содержит котел с циркулирующим кипящим слоем, к которому присоединена течка для подачи биомассы; при этом выход котла с циркулирующим кипящим слоем соединен с помощью трубопровода для отвода газов с входом фильтра, выход которого соединен с помощью трубопровода с входом скруббера для очистки газов от соединений серы; причем выход скруббера для очистки газов от соединений серы соединен с помощью трубопровода с трехходовым шибером, первый выход которого соединен с помощью трубопровода с входом утилизатора тепла потока газов; при этом второй выход трехходового шибера соединен с помощью трубопровода с входом газовой турбины; причем выход утилизатора тепла потока газов соединен с помощью трубопровода с входом конденсатора потока газов, выход которого соединен с помощью трубопровода с входом реактора для удаления кислорода; причем первый выход реактора для удаления кислорода соединен с трубопроводом для отвода азота N и кислорода O2; при этом второй выход реактора для удаления кислорода соединен с помощью трубопровода для отвода углекислого газа CO2 с первым входом метанатора и с трубопроводом для отвода углекислого газа CO2 на захоронение, на линии которого установлен компрессор; причем первый выход метанатора соединен с трубопроводом для отвода метанола, а второй выход метанатора соединен с трубопроводом для отвода сдувки, который соединен с утилизатором тепла сдувки; при этом установка для получения метанола также содержит воздухоразделительную установку, вход которой соединен с помощью трубопровода, на линии которого установлен компрессор, с источником воздуха; причем выход воздухоразделительной установки соединен с помощью трубопровода с котлом с циркулирующим кипящим слоем; при этом установка для получения метанола также содержит водоподготовительную установку, вход которой соединен с трубопроводом для подачи воды, на линии которого установлен насос; причем выход водоподготовительной установки соединен с помощью трубопровода с входом электролизера, первый выход которого соединен с помощью трубопровода для подачи кислорода O2 с котлом с циркулирующим кипящим слоем; при этом второй выход электролизера соединен с помощью трубопровода для подачи водорода Н2 со вторым входом метанатора и с реактором для удаления кислорода; причем вал газовой турбины соединен с первым электрогенератором, подключенным к электролизеру; при этом выход газовой турбины соединен с помощью трубопровода с входом котла-утилизатора, выход которого соединен с трубопроводом для рециркуляции газов, на линии которого установлен компрессор; причем трубопровод для рециркуляции газов соединен с котлом с циркулирующим кипящим слоем и с трубопроводом для отвода CO2, на линии которого установлен компрессор; при этом установка для получения метанола также содержит паровую турбину, вход которой соединен с помощью трубопровода с выходом поверхностного теплообменника, установленного внутри котла с циркулирующим кипящим слоем; причем выход паровой турбины соединен с помощью трубопровода с входом конденсатора пара; причем выход конденсатора пара соединен с помощью трубопровода подачи конденсата, на линии которого последовательно установлены конденсатный насос, как минимум один подогреватель, деаэратор и питательный насос, с входом поверхностного теплообменника, установленного внутри котла-утилизатора; при этом выход поверхностного теплообменника, установленного внутри котла-утилизатора, соединен с помощью трубопровода с входом поверхностного теплообменника, установленного внутри котла с циркулирующим кипящим слоем; причем отбор паровой турбины соединен с помощью трубопровода с как минимум одним подогревателем; при этом вал паровой турбины соединен со вторым электрогенератором, подключенным к электролизеру; при этом выход водоподготовительной установки также соединен с помощью трубопровода с трубопроводом подачи конденсата; причем выход водоподготовительной установки также соединен с помощью трубопровода с входом теплообменника подогрева воды для метанатора; при этом выход теплообменника подогрева воды для метанатора соединен с помощью трубопровода, на линии которого установлен насос подачи воды для охлаждения метанатора, с входом поверхностного теплообменника, установленного внутри метанатора; причем выход поверхностного теплообменника, установленного внутри метанатора, соединен с помощью трубопровода с теплообменником подогрева воды для метанатора.
| Simon Pratschner et al | |||
| Аппарат для очищения воды при помощи химических реактивов | 1917 |
|
SU2A1 |
| Energies, 2021, 14(15), 4638 | |||
| СКРЕПЕРНАЯ ДВУХБАРАБАННАЯ ЛЕБЕДКА | 1934 |
|
SU44653A1 |
| EP 4043423 A1, 17.08.2022 | |||
| JP 2005035967 A, 10.02.2005 | |||
| ЭЛЕКТРОГЕНЕРИРУЮЩИЙ ТЕРМОЭМИССИОННЫЙ КАНАЛ ПЕРЕМЕННОГО ТОКА | 1996 |
|
RU2100869C1 |
Авторы
Даты
2025-05-26—Публикация
2024-09-19—Подача