Изобретение относится к электротехнике, в частности к электрическим машинам и электроприводу.
Аналогом является, например, электрическая машина с ротором, на котором установлены постоянные магниты, предложенная в книге Балагуров В.А., Галтеев Ф.Ф., Ларионов А.Н. «Электрические машины с постоянными магнитами» / «Энергия», М.-Л., 1964, 480 с. На стр. 59-60 для электрических машин предложен ротор с постоянными магнитами, названный авторами коллекторного типа. В аналоге ротор содержит полюсные наконечники, выполненные из ферромагнитного материала, между которыми размещены постоянные магниты, намагниченные по касательной к окружности, проходящей через центр постоянных магнитов. Полюсные наконечники и магниты соединяются в один конструктив крепежными элементами и устанавливаются на немагнитной втулке, закрепленной на валу ротора.
Наиболее близка к предлагаемой электрической машине с постоянными магнитами на роторе конструкция электрической машины, приведенная в патенте РФ «Электрическая машина» №2 534 225, опубликованном 27.11.2014, БИ №33. В прототипе электрическая машина содержит статор с шихтованным магнитопроводом, выполненным из электротехнической стали, в пазах которого уложена якорная обмотка, и ротор, установленный внутри статора и содержащий постоянные магниты и магнитомягкие полюсы, причем постоянные магниты имеют тангенциальное направление намагничивающей силы и прилегают к магнитомягким полюсам своими полюсами с одноименной намагниченностью. В прототипе показано, что энергетические характеристики электрической машины с постоянными магнитами на роторе улучшаются при определенном соотношении между активной длиной ротора и полюсным делением ротора.
Но прежде всего энергетические характеристики, момент и мощность, электрической машины с постоянными магнитами зависят от магнитного потока полюса (что подтверждается и в прототипе), а магнитный поток полюса зависит от индукции магнитного поля в рабочем зазоре между магнитопроводом статора и ротора.
Однако конструкция ротора коллекторного типа, приведенная в прототипе и аналоге, не всегда обеспечивает высокую индукцию магнитного поля в рабочем зазоре электрической машины. Недостатком прототипа и аналога является наличие определенных условий, при которых возможно достижение высокой индукции магнитного поле. Высокую величину магнитного потока полюса и индукции магнитного поля в рабочем зазоре электрической машины при использовании ротора коллекторного типа можно получить при условии, что площадь осевого сечения двух соседних постоянных магнитов, прилегающих к полюсу, значительно превышает площадь цилиндрической поверхности полюса ротора. При этом нужно учесть, что радиальная ширина постоянных магнитов может быть существенно меньше радиуса ротора, так как в центральной части ротора находится вал и немагнитная втулка, на которой размещены полюсы и постоянные магниты. Увеличивать радиальную ширину постоянных магнитов за счет увеличения диаметра роторе не выгодно, так как при этом растет и площадь полюса, а также масса и габариты машины, центробежные силы, действующие на элементы ротора при его вращении. Низкое значение индукции магнитного поля в рабочем зазоре электрической машины при использовании ротора коллекторного типа наиболее очевидно при малом числе пар полюсов ротора и малом диаметре ротора, когда площадь осевого сечения двух соседних постоянных магнитов может быть значительно меньше площади цилиндрической поверхности полюса ротора.
Таким образом, недостатком прототипа является малая величина индукции магнитного поля, а значит, малая величина момента и мощности электрической машины.
Предлагаемое изобретение представляет электрическую машину с постоянными магнитами на роторе, обеспечивающую повышение индукции магнитного поля в рабочем зазоре, момента и мощности электрической машины по сравнению с прототипом и аналогами.
Это достигается тем, что электрическая машина с постоянными магнитами на роторе, содержащая пакет магнитопровода статора с обмоткой, и установленный во внутренней полости пакета магнитопровода статора ротор, содержащий вал и установленную на вал немагнитную втулку, на которой размещены полюсы, выполненные из магнитомягкого материала, и установленные между полюсами призматические магниты, намагниченные в тангенциальном направлении и прилегающие с двух сторон к боковым поверхностям каждого полюса своими полюсами с одноименной намагниченностью, цилиндрический бандаж, выполненный из немагнитного материала и охватывающий наружную поверхность ротора, выполнен с немагнитной втулкой, имеющей осевую длину, превышающую осевую длину полюсов ротора, и расположенную симметрично относительно пакета магнитопровода статора так, что торцевые поверхности полюсов ротора и торцевые поверхности пакета магнитопровода статора находятся в одной плоскости. На боковых сторонах на цилиндрической поверхности немагнитной втулки с обеих торцевых сторон полюсов ротора закреплены постоянные магниты, число которых с каждой торцевой стороны равно числу полюсов ротора, имеющие форму поперечного сечения одинаковую с формой поперечного сечения полюса ротора. Эти постоянные магниты прилегают к торцевым плоскостям полюсов ротора и имеют осевое направление намагничивающей силы, направленное при контакте с северным полюсом ротора к северному полюсу, а при контакте с южным полюсом ротора от южного полюса ротора. Между расположенными с торцевых сторон ротора постоянными магнитами размещены вкладыши из немагнитного материала, имеющие такую же форму поперечного сечения, как и тангенциально намагниченные постоянные магниты, расположенные между полюсами ротора. На торцевых концах немагнитной втулки ротора с обеих сторон ротора закреплены втулки из магнитомягкого материала, между которыми закреплен бандаж, причем наружный диаметр указанных втулок из магнитомягкого материала равен диаметру бандажа.
В предлагаемом роторе электрической машины с постоянными магнитами магнитный поток каждого полюса ротора создается не только двумя соседними постоянными магнитами с тангенциальным направлением намагниченности, расположенными между полюсами ротора, как в прототипе, но дополнительно постоянными магнитами с осевым направлением намагниченности, расположенными с торцевых сторон каждого полюса. При этом магнитные потоки постоянных магнитов с осевым направлением намагниченности замыкаются через втулки из магнитно-мягкого материала, расположенные на торцевых концах немагнитной втулки ротора.
Следовательно, в предлагаемом роторе электрической машины с постоянными магнитами магнитный поток полюсов ротора и индукция магнитного поля в рабочем зазоре, а значит момент и мощность электрической машины будет выше, чем у прототипа. Увеличение индукции магнитного поля в рабочем зазоре, момента и мощности электрической машины при использовании предлагаемого ротора будет обеспечиваться в том числе при малом числе пар полюсов ротора и малом диаметре ротора.
Один из возможных вариантов конструкции предлагаемого ротора электрической машины с постоянными магнитами приведен ниже.
Сущность изобретения поясняется фигурами, на которых изображены:
- на фиг. 1 показана осевое и диаметральное сечение заготовки ротора электрической машины с постоянными магнитами;
- на фиг. 2 приведена заготовка ротора после механической обработки;
- на фиг. 3 показан ротор электрической машины с постоянными магнитами в собранном виде;
- На фиг. 4 показано осевое и диаметральное сечение статора и ротора электрической машины;
- На фиг. 5 показаны траектории магнитных потоков в элементах ротора;
- На фиг. 6 приведен конструкция ротора электрической машины с постоянными магнитами с увеличенным магнитным потоком полюсов ротора:
Изображенная на фиг. 1 заготовка ротора состоит из двух втулок - внутренней немагнитной втулки 1, на которой симметрично установлена внешняя втулка 2 из магнитомягкого сплава, при этом осевая длина втулки 2 меньше осевой длины втулки 1. Внешняя втулка 2 соединяется с внутренней втулкой 1 по торцевым сторонам кольцевыми сварными швами.
На фиг. 2 показана заготовка ротора после механической обработки. В заготовке выполнены радиальные пазы 3, которые на небольшую глубину входят в тело внутренней немагнитной втулки 1. Пазы 3 делят внешнюю втулку 2 из магнитомягкого сплава на полюсы 4. В верхней части полюсов 4 выполнены шлицы 5. Осевая длина полюсов ротора обозначена L. Во втулке 1 выполнено также центральное отверстие 6 с пазом 7.
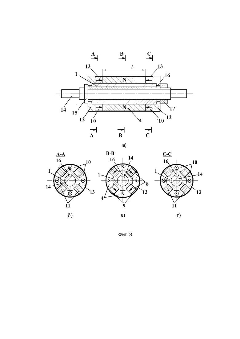
На фиг. 3а показано осевое сечение ротора электрической машины с постоянными магнитами в собранном виде и на фиг. 3б, фиг. 3в и фиг. 3г диаметральные сечения ротора, обозначенные на фиг. 3а.
В средней части ротора (фиг. 3в) в пазы 3 установлены постоянные магниты 8 с тангенциальным направлением намагничивающей силы, которая направлена к северным полюсам 4 ротора. Направление намагничивающих сил постоянных магнитов 8 показано на фиг. 3в стрелками. Соседние постоянные магниты 8 обращены друг к другу одноименными полюсами. Постоянные магниты 8 создают магнитное поле ротора, силовые линии которого проходят через полюсы 4, при этом полярность полюсов 4 ротора при обходе по окружности его наружной поверхности чередуется. Постоянные магниты 8 удерживаются от радиального смещения клиньями 9, выполненными из немагнитного материала и установленными в шлицы 5 в полюсах 4. Осевой размер постоянных магнитов 8 и клиньев 9 равен осевой длине L полюсов 4, торцевые поверхности полюсов 4, постоянных магнитов 8 и клиньев 9 лежат в одной плоскости.
С обеих торцевых сторон полюсов 4 ротора на цилиндрической поверхности немагнитной втулки 1 размещаются постоянные магниты 10 (фиг. 3б и фиг. 3г). Внутренний диаметр постоянных магнитов 10 равен наружному диаметру цилиндрической поверхности втулки 1. Форма торцевых плоскостей постоянных магнитов 10 такая же, как форма торцевых плоскостей полюсов 4 ротора. Постоянные магниты 10 торцевыми плоскостями прилегают к торцевым плоскостям полюсов 4 с обеих сторон полюсов 4. Постоянные магниты 10 имеют осевое направление намагничивающей силы, направленное при контакте постоянных магнитов 10 с северным полюсом 4 ротора к северному полюсу 4, а при контакте с южным полюсом 4 ротора от южного полюса 4 ротора. Направление намагничивающей силы постоянных магнитов 10 показано на фиг. 3а стрелками, а на фиг. 3б и фиг. 3г крестом, если намагничивающая сила постоянного магнита 10 направлена от наблюдателя, и точкой, если намагничивающая сила направлена к наблюдателю.
Между боковыми сторонами постоянных магнитов 10 с обеих торцевых сторон ротора размещены вкладыши 11, выполненные из немагнитного материала. Вкладыши 11 имеют форму поперечного сечения такую же как форма поперечного сечения постоянных магнитов 8, имеющих тангенциальную намагниченность. Нижняя часть вкладышей 11 входит в пазы 3, проходящие в торцевых частях немагнитной втулки 1. Торцевые поверхности вкладышей 11 прилегают к торцевым поверхностям постоянных магнитов 8.
С обеих сторон на торцевых концах немагнитной втулки 1 закрепляются втулки 12, выполненные из магнитомягкого материала. Между втулками 12 на роторе закрепляется цилиндрический бандаж 13 из немагнитного материала, фиксирующий элементы ротора в радиальном направлении.
В центральном отверстии 6 немагнитной втулки 1 закрепляется вал 14 ротора. С одной торцевой стороны торец втулки 1 упирается в буртик 15 вала 14. В паз 7 втулки 1 и продольный паз (на фиг. 3а паз вала не обозначен) вала 14 установлена шпонка 16, которая передает момент, действующий на вал 14 на втулку 1. С другой торцевой стороны втулки 1 на вал 14 установлена гайка 17 (или кольцо 17, закрепленное на валу 14 штифтом), которая фиксирует на валу ротор в осевом направлении.
На фиг. 4 показано расположение ротора предлагаемой электрической машины во внутренней полости пакета магнитопровода 18 статора с обмоткой 19. Конструктивные элементы электрической машины (корпус, подшипниковые щиты, подшипники и т.д.) на фиг. 4 не показаны.
На осевом сечении (фиг. 4а) электрической машины показано, что осевая длина L полюсов 4 ротора и постоянных магнитов 8 с тангенциальной намагниченностью равна осевой длине пакета магнитопровода 18 статора. Ротор расположен симметрично относительно пакета магнитопровода 18 статора, таким образом, что торцевые поверхности полюсов 4 ротора и торцевые поверхности пакета магнитопровода 18 статора находятся в одной плоскости. Между пакетом магнитопровода 18 статора и полюсами 4 ротора расположен рабочий зазор электрической машины. На диаметральном сечении пакета магнитопровода 18 статора и ротора (фиг. 4б) показаны силовые линии магнитного поля, созданного постоянными магнитами 8. Изображенный на фиг. 4 ротор имеет две пары полюсов 4. Магнитный поток, созданный постоянными магнитами 8, из северных полюсов 4 ротора проходит в радиальном направлении через рабочий зазор и зубцы пакета магнитопровода 18 в ярмо пакета магнитопровода 18 статора. По ярму пакета магнитопровода 18 магнитный поток из северных полюсов 4 в двух тангенциальных направлениях проходит к двум южным полюсам 4 ротора. Далее магнитный поток проходит в радиальном направлении через зубцы пакета магнитопровода 18 и рабочий зазор в южные полюсы 4 ротора и замыкается в постоянных магнитах 8. Точно также создается и проходит по такой же траектории магнитный поток в аналоге и прототипе. Однако в предлагаемом роторе общий магнитный поток полюсов 4 ротора создается не только постоянными магнитами 8 с тангенциальным направлением намагничивающей силы, но также постоянными магнитами 10, имеющими осевое направление намагничивающей силы.
На фиг. 5 показаны силовые линии магнитных потоков, созданных постоянными магнитами 10 и проходящих в роторе предлагаемой электрической машины. Для наглядности клинья 9, фиксирующие постоянные магниты 8 в пазах 3, и бандаж 13 на фиг. 5 не показаны.
Магнитный поток каждого полюса 4 ротора предлагаемой электрической машины создают две пары постоянных магнитов, одна пара это постоянные магниты 8 с тангенциальным направлением намагничивающей силы, прилегающие к боковым плоскостям полюсов 4, вторая пара - постоянные магниты 10 с осевым направлением намагничивающей силы, прилегающие к торцевым плоскостям полюсов 4. На фиг. 5 направление намагничивающих сил постоянных магнитов 8 и постоянных магнитов 10 показано стрелками. Намагничивающие силы двух постоянных магнитов 8 и двух постоянных магнитов 10, прилегающих к северному полюсу 4 ротора, направлены к северному полюсу 4 (один из постоянных магнитов 8, прилегающих к северному полюсу 4 ротора, на фиг. 5 не виден). Постоянные магниты 8 и постоянные магниты 10 создают магнитный поток северного полюса 4, траектория которого показана на фиг. 4б. Магнитный поток каждого северного полюса 4 через рабочие зазоры и по пакету магнитопровода 18 статора проходит к двум южным полюсам 4 ротора. Из каждого южного полюса 4 ротора одна часть магнитного потока проходит через два прилегающих к боковым поверхностям южных полюсов 4 постоянных магнита 8 в соседние северные полюсы 4 ротора. А другая часть магнитного потока южных полюсов 4 ротора проходит через два прилегающих к торцевым поверхностям южных полюсов 4 ротора постоянных магнита 10 с осевым направлением намагниченности, направленным от южных полюсов 4, в ферромагнитные втулки 12. Во втулках 12 эта часть магнитного потока проходит в двух тангенциальных направлениях к постоянным магнитам 10, прилегающим к северным полюсам 4 ротора, и через эти постоянные магниты 10 в осевом направлении магнитные потоки поступают в северные полюсы 4 ротора. Траектории магнитных потоков замыкаются.
Как видно из приведенного выше описания траектории магнитных потоков предлагаемой электрической машины, магнитный поток каждого полюса 4 ротора, создается не только постоянными магнитами 8, прилегающими к боковым поверхностям полюсов 4 ротора и имеющими тангенциальное направление намагничивающей силы, как в аналоге и прототипе. Кроме того, магнитный поток каждого полюса 4 ротора создается постоянными магнитами 10, прилегающими к торцевым поверхностям полюсов 4 ротора и имеющими осевое направление намагничивающей силы, которые в прототипе отсутствуют.
Следовательно, магнитный поток каждого полюса в предлагаемом роторе электрической машины с постоянными магнитами будет выше, чем в прототипе, значит будут выше индукция магнитного поля в рабочем зазоре, момент и мощность электрической машины.
Следует отметить, что увеличение осевой длины втулки 1 и размещение на втулке 1 с торцевых сторон ротора постоянных магнитов 10 с осевым направлением намагничивающей силы, вкладышей 11 и втулок 12 не приводит к значительному увеличению общей длины электрической машины, так эти элементы ротора частично размещаются под лобовыми частями обмотки 19 статора.
Число пар полюсов ротора и конструктивная реализация предлагаемой электрической машины с постоянными магнитами на роторе может отличаться от приведенной в описании, но принципиальным признаком данной электрической машины с постоянными магнитами на роторе являются установка на роторе с торцевых сторон каждого из полюсов ротора, имеющих осевую длину равную осевой длине пакета магнитопровода статора, постоянных магнитов с осевым направлением намагничивающей силы, направленной при контакте с торцевыми поверхностями северных полюсов к полюсам ротора, а при контакте с торцевыми поверхностями южных полюсов от полюсов ротора, а также закрепление на обеих торцевых сторонах ротора втулок из ферромагнитного материала, торцевые поверхности которых прилегают к наружным торцевым поверхностям постоянных магнитов, имеющих осевое направление намагничивающей силы.
Индукцию магнитного поля в рабочем зазоре, а значит момент и мощность предлагаемой электрической машины с постоянными магнитами на роторе можно повысить. Для этого нужно увеличить осевую длину постоянных магнитов 8 за счет уменьшения длины немагнитных вкладышей 11, как показано на фиг. 6.
На фиг. 6 длина постоянных магнитов 8 с тангенциальным направлением намагничивающей силы по сравнению с фиг. 5 увеличена и превышает осевую длину полюсов 4 ротора. Концы постоянных магнитов 8 с обеих сторон полюсов выступают за пределы полюсов ротора на величину, которая меньше осевой длины постоянных магнитов 10. При этом осевая длина немагнитных вкладышей 11 уменьшена на соответствующую величину. В этом случае торцевые части постоянных магнитов 8, выступающие за пределы полюсов 4 образуют с постоянными магнитами 10 магнитную систему Хальбаха. В результате взаимодействия постоянных магнитов 8 и постоянных магнитов 10 магнитные потоки постоянных магнитов 10 с осевым направлением намагничивающей силы увеличиваются, и значит увеличиваются магнитные поток каждого полюса 4 ротора, в которые направляют свой магнитный поток постоянные магниты 10, прилегающие к торцевым сторонам полюсов 4. Увеличение магнитного потока полюсов 4 приводит к увеличению индукции магнитного поля в рабочем зазоре электрической машины, момента и мощности.
Следует отметить, что увеличивать осевую длину постоянных магнитов 8 настолько, чтобы они полностью заполняли пазы 3 втулки 1 от одной втулки 12 до установленной на другом торце ротора втулки 12 без вкладышей 11 не имеет смысла. При контакте постоянных магнитов 8, имеющих тангенциальное направление намагничивающей силы, с втулками 12, постоянные магниты 8 создадут локальные магнитные потоки, проходящие через поперечное сечение втулок 12 в зоне контакта постоянных магнитов 8 с соответствующей втулкой 12. Эти локальные «паразитные» магнитные потоки могут создать насыщение втулок 12 в зоне контакта и препятствовать прохождению через втулки 12 рабочих магнитных потоков, направленных от одного постоянного магнита 10 к двум соседним постоянным магнитам 10. В результате магнитные потоки полюсов 4 ротора уменьшатся и соответственно уменьшатся момент и мощность электрической машины.
| название | год | авторы | номер документа |
|---|---|---|---|
| Ротор электрической машины с постоянными магнитами | 2024 |
|
RU2837666C1 |
| ОДНОФАЗНЫЙ БЕСКОНТАКТНЫЙ МАГНИТОЭЛЕКТРИЧЕСКИЙ ГЕНЕРАТОР | 2009 |
|
RU2393615C1 |
| БЕСКОНТАКТНАЯ РЕДУКТОРНАЯ МАШИНА С ЯВНОПОЛЮСНЫМ ЯКОРЕМ | 2010 |
|
RU2416861C1 |
| БЕСКОНТАКТНАЯ РЕДУКТОРНАЯ МАШИНА С АКСИАЛЬНЫМ ВОЗБУЖДЕНИЕМ | 2010 |
|
RU2437200C1 |
| БЕСКОНТАКТНАЯ РЕДУКТОРНАЯ МАГНИТОЭЛЕКТРИЧЕСКАЯ МАШИНА С МНОГОПАКЕТНЫМ ИНДУКТОРОМ | 2009 |
|
RU2382475C1 |
| БЕСКОНТАКТНАЯ РЕДУКТОРНАЯ ЭЛЕКТРИЧЕСКАЯ МАШИНА С КОМБИНИРОВАННЫМ ВОЗБУЖДЕНИЕМ | 2009 |
|
RU2390086C1 |
| БЕСКОНТАКТНАЯ РЕДУКТОРНАЯ МАГНИТОЭЛЕКТРИЧЕСКАЯ МАШИНА С АКСИАЛЬНЫМ ВОЗБУЖДЕНИЕМ | 2010 |
|
RU2437203C1 |
| БЕСКОНТАКТНАЯ РЕДУКТОРНАЯ МАГНИТОЭЛЕКТРИЧЕСКАЯ МАШИНА С ЯВНОПОЛЮСНЫМ ЯКОРЕМ | 2010 |
|
RU2416860C1 |
| ЭЛЕКТРИЧЕСКАЯ МАШИНА | 2003 |
|
RU2241298C1 |
| МНОГОСЛОЙНЫЙ ТОРЦЕВОЙ МОМЕНТНЫЙ ЭЛЕКТРОДВИГАТЕЛЬ | 2003 |
|
RU2251784C1 |
Изобретение относится к области электротехники. Технический результат – увеличение индукции магнитного поля в рабочем зазоре. Электрическая машина содержит магнитопровод статора с обмоткой и ротор, содержащий вал с немагнитной втулкой, на которой размещены полюсы из магнитомягкого материала, между которыми установлены призматические магниты, намагниченные тангенциально и прилегающие с двух сторон к полюсам своими полюсами с одноименной намагниченностью. Длина немагнитной втулки превышает осевую длину полюсов ротора, причем торцевые поверхности полюсов ротора и торцевые поверхности магнитопровода статора находятся в одной плоскости. На боковых сторонах на цилиндрической поверхности немагнитной втулки закреплены постоянные магниты, число которых равно числу полюсов ротора. Эти постоянные магниты имеют осевое направление намагничивающей силы, направленное при контакте с северным полюсом ротора к северному полюсу, а при контакте с южным полюсом ротора – от него. Между каждой парой соседних постоянных магнитов, расположенных с торцевых сторон полюсов ротора, размещены вкладыши из немагнитного материала. На торцах немагнитной втулки закреплены втулки из магнитомягкого материала, между которыми закреплен бандаж такого же наружного диаметра. 1 з.п. ф-лы, 6 ил.
1. Электрическая машина с постоянными магнитами на роторе, содержащая пакет магнитопровода статора с обмоткой и установленный во внутренней полости пакета магнитопровода статора ротор, содержащий вал и закрепленную на валу немагнитную втулку, на которой размещены полюсы, выполненные из магнитомягкого материала, и установленные между полюсов призматические магниты, намагниченные в тангенциальном направлении и прилегающие с двух сторон к боковым поверхностям каждого полюса своими полюсами с одноименной намагниченностью, цилиндрический бандаж, выполненный из немагнитного материала и охватывающий наружную поверхность ротора, отличающаяся тем, что ротор электрической машины выполнен с немагнитной втулкой, имеющей осевую длину, превышающую осевую длину полюсов ротора, и расположенной симметрично относительно пакета магнитопровода статора так, что торцевые поверхности полюсов ротора и торцевые поверхности пакета магнитопровода статора находятся в одной плоскости, и на боковых сторонах на цилиндрической поверхности немагнитной втулки с обеих торцевых сторон полюсов ротора закреплены постоянные магниты, число которых с каждой торцевой стороны равно числу полюсов ротора, имеющие форму поперечного сечения, одинаковую с формой поперечного сечения полюса ротора, эти постоянные магниты прилегают своими торцевыми плоскостями к торцевым плоскостям полюсов ротора и имеют осевое направление намагничивающей силы, направленное при контакте с северным полюсом ротора к северному полюсу, а при контакте с южным полюсом ротора от южного полюса ротора, и между каждой парой соседних постоянных магнитов, расположенных с торцевых сторон полюсов ротора, размещены вкладыши из немагнитного материала, имеющие такую же форму поперечного сечения, как и тангенциально намагниченные постоянные магниты, расположенные между полюсами ротора, и на торцевых концах немагнитной втулки с обеих сторон ротора закреплены втулки из магнитомягкого материала, между которыми закреплен бандаж, причем наружный диаметр указанных втулок из магнитомягкого материала равен диаметру бандажа.
2. Электрическая машина с постоянными магнитами на роторе по п. 1, отличающаяся тем, что ротор электрической машины выполнен с призматическими магнитами, расположенными между полюсами ротора симметрично относительно полюсов вдоль оси ротора и имеющими тангенциальное направление намагничивающей силы, осевая длина которых превышает осевую длину полюсов ротора, но остается меньше осевого расстояния между втулками из магнитомягкого материала, расположенными на торцевых сторонах ротора, при этом осевая длина каждого немагнитного вкладыша, расположенного между торцами этих постоянных магнитов и втулками из магнитомягкого материала, равна половине разности осевого расстояния между этими втулками и осевой длины призматических постоянных магнитов.
| WO 2019069178 A1, 11.04.2019 | |||
| DE 102013225238 A1, 11.06.2015 | |||
| ЭЛЕКТРИЧЕСКАЯ МАШИНА | 2013 |
|
RU2534225C2 |
| ЭЛЕКТРОМАШИНА | 2013 |
|
RU2542327C1 |
| Ротор электрической машины | 1989 |
|
SU1709465A1 |
Авторы
Даты
2025-05-26—Публикация
2024-07-17—Подача