[1] ОБЛАСТЬ ТЕХНИКИ
[2] Группа изобретений относится к решениям в области обработки массивов данных, в частности, к решениям в области обработки оцифрованных документов, содержащих информационные объекты, такие как текст и/или изображения, и может быть использована для преобразования оцифрованного документа для эффективной индексации его элементов и точного поиска.
[3] УРОВЕНЬ ТЕХНИКИ
[4] Из патента РФ 2544739 (Рогачев Игорь Петрович), опубл. 20.03.2015 (Д1) известен способ преобразования структурированного массива данных. В известном из Д1 способе преобразования структурированного массива данных, содержащего текст на естественном языке, формируют (101) первую структуру данных структурированного массива данных из итоговой структуры данных структурированного массива данных. Формируют (102) базу данных логических связей логических разделов элементов первой структуры данных. Формируют (103) вторую структуру данных структурированного массива данных. Формируют (104) базу данных семантических частей логических разделов элементов второй структуры данных. Формируют (105) грамматически и орфографически верные семантические части логических разделов элементов второй структуры данных путем лингвистических преобразований над упомянутыми семантическими частями. Формируют (106) итоговую структуру данных структурированного массива данных.
[5] В известном из Д1 способе обеспечивается преобразование структурированного массива данных для получения логических конструкций с грамматически и орфографически верными семантическими частями, что может быть полезно для повышения точности поиска информации в неспециализированных массивах данных, таких как, например, художественная литература или публицистика. Вместе с тем, преобразования, известные из Д1, не обеспечивают формирование ни базовых конструкций предметной области, ни тем более целевых конструкций предметной области, которые обеспечивают надежную идентификацию предметных ролей, что требуется для проведения высокоточных поисков в специализированных предметных областях, таких как, например. юриспруденция. Более того, известный из Д1 способ пригоден лишь для работы с текстами на естественном языке, то есть требует предварительную выборку текстов из документа.
[6] Известное из Д1 решение может быть принято в качестве ближайшего аналога.
[7] РАСКРЫТИЕ ИЗОБРЕТЕНИЯ
[8] Технической проблемой, решаемой заявленным изобретением, является создание изобретений, не обладающих недостатками ближайшего аналога и таким образом обладающих повышенной эффективностью обработки оцифрованных документов для последующей индексации его элементов, их обработки и проведения поисков с их использованием. Другой технической проблемой, решаемой заявленным изобретением, является расширение арсенала технических средств - способов преобразования структурированных массивов данных, содержащих информационные объекты оцифрованных документов.
[9] Техническим результатом, достигаемым при реализации заявленного изобретения, помимо реализации им своего назначения, является устранение недостатков ближайшего аналога и таким образом повышение эффективности обработки оцифрованных документов для последующей индексации его элементов, их обработки и проведения поисков с их использованием.
[10] Технический результат достигается за счет того, что обеспечивается исполняемый процессором или процессорами компьютерного устройства способ преобразования структурированного массива данных, содержащего, по меньшей мере, информационные объекты оцифрованного документа, являющиеся отдельными блоками информационного контента оцифрованного документа, представляющие собой текстовые информационные объекты, и/или представляющие собой визуальные информационные объекты, и/или представляющие собой текстово-визуальные информационные объекты; способ характеризуется: выполнением этапа 1001 формирования первой структуры данных, на котором формируют первую структуру данных, содержащую элементы первой структуры данных, представляющие собой смысловые части информационных объектов оцифрованного документа, а также идентификационные данные таких смысловых частей, представляющие собой значения таких смысловых частей и порядковые номера таких смысловых частей в оцифрованном документе; выполнением этапа 1002 формирования базы данных системных признаков смысловых частей, на котором выявляют системные признаки содержащихся в первой структуре данных смысловых частей, представляющие собой форматные системные характеристики таких смысловых частей и функциональные системные характеристики таких смысловых частей, а также значения соответствующих упомянутых системных характеристик, для выявления смысловых частей со структурными системными признаками, и/или для выявления смысловых частей с логическими системными признаками, и/или для выявления смысловых частей с информационными системными признаками, и/или для выявления смысловых частей с реквизитными системными признаками; и формируют из таких выявленных системных признаков базу данных системных признаков смысловых частей; выполнением этапа 1003 формирования второй структуры данных, на котором формируют вторую структуру данных, содержащую элементы второй структуры данных, представляющие собой интегрированные смысловые части информационных объектов оцифрованного документа, представляющие собой сгруппированные содержащиеся в первой структуре данных смысловые части с совпадающими системными признаками или сгруппированные содержащиеся в первой структуре данных смысловые части с уникальными системными признаками, а также содержащую идентификационные данные интегрированных смысловых частей, представляющие собой неповторяющиеся разновидности упомянутых смысловых частей с совпадающими системными признаками или упомянутых смысловых частей с уникальными системными признаками, значения упомянутых смысловых частей с совпадающими системными признаками или упомянутых смысловых частей с уникальными системными признаками, и порядковые номера в оцифрованном документе упомянутых смысловых частей с совпадающими системными признаками или упомянутых смысловых частей с уникальными системными признаками, причем такие упомянутые смысловые части с совпадающими системными признаками или такие упомянутые смысловые части с уникальными системными признаками составляют упомянутые интегрированные смысловые части; выполнением этапа 1004 формирования третьей структуры данных, на котором формируют третью структуру данных, содержащую в качестве элементов третьей структуры данных лингвистические конструкции, представляющие собой содержащиеся во второй структуре данных интегрированные смысловые части информационных объектов оцифрованного документа, причем такие интегрированные смысловые части имеют системные признаки текстовых логических смысловых частей, а также содержащую идентификационные данные лингвистических конструкций, представляющие собой значения лингвистических конструкций и порядковые номера лингвистических конструкций в оцифрованном документе, причем лингвистическими конструкциями в оцифрованном документе являются одни из следующих лингвистических конструкций или комбинация из следующих лингвистических конструкций: обычные лингвистические конструкции третьей структуры данных, являющиеся лингвистическими предложениями, особые лингвистические конструкции третьей структуры данных, являющиеся списками или рубриками перечисления, реконструируемые лингвистические конструкции третьей структуры данных, являющиеся таблицами, содержащими, по меньшей мере, две строки и два столбца, причем, по меньшей мере, одна строка содержит заголовки столбцов и/или, соответственно, по меньшей мере, один столбец содержит заголовки строк; выполнением этапа 1005 формирования четвертой структуры данных, на котором формируют четвертую структуру данных, содержащую в качестве элементов четвертой структуры данных лингвистические предложения четвертой структуры данных, сформированные из элементов третьей структуры данных и представляющие собой либо лингвистические предложения, являющиеся обычными лингвистическими конструкциями третьей структуры данных, либо лингвистические предложения, полученные посредством преобразования особых лингвистических конструкций третьей структуры данных, либо лингвистические предложения, полученные посредством воссоздания из реконструируемых лингвистических конструкций третьей структуры данных; причем четвертая структура данных включает также идентификационные данные лингвистических предложений четвертой структуры данных, представляющие собой значения лингвистических предложений четвертой структуры данных и порядковые номера лингвистических предложений четвертой структуры данных в четвертой структуре данных; выполнением этапа 1006 формирования пятой структуры данных, характеризующегося: выполнением этапа 1061 идентификации элементов пятой структуры данных, на котором идентифицируют элементы пятой структуры данных, представляющие собой текстовые элементы лингвистических предложений четвертой структуры данных, а также идентифицируют идентификационные данные текстовых элементов лингвистических предложений четвертой структуры данных, представляющие собой значения соответствующих текстовых элементов соответствующих лингвистических предложений четвертой структуры данных и порядковые номера соответствующих текстовых элементов в соответствующих лингвистических предложениях четвертой структуры данных; выполнением этапа 1062 формирования пятой структуры данных, на котором формируют пятую структуру данных из идентифицированных элементов пятой структуры данных и их идентификационных данных; и способ характеризуется: выполнением этапа 1007 формирования базы данных лингво-логическо-предметных признаков, на котором выявляют лингвистические, логические и предметные признаки текстовых элементов лингвистических предложений четвертой структуры данных и формируют из выявленных признаков базу данных лингво-логическо-предметных признаков; выполнением этапа 1008 формирования шестой структуры данных, на котором формируют шестую структуру данных, содержащую элементы шестой структуры данных, представляющие собой компоненты простого суждения, которые представляют собой компоненты соответствующих простых суждений, причем простые суждения являются простыми суждениями соответствующих лингвистических предложений четвертой структуры данных, а также содержащую идентификационные данные упомянутых компонентов простого суждения, представляющие собой для каждого соответствующего компонента простого суждения из шестой структуры данных вид такого соответствующего компонента простого суждения, значение такого соответствующего компонента простого суждения и порядковый номер такого соответствующего компонента простого суждения в соответствующем лингвистическом предложении; выполнением этапа 1009 формирования седьмой структуры данных, на котором формируют седьмую структуру данных, содержащую элементы седьмой структуры данных, представляющие собой простые суждения соответствующих лингвистических предложений четвертой структуры данных, а также содержащую идентификационные данные таких простых суждений, представляющие собой значения соответствующих простых суждений и порядковые номера соответствующих простых суждений в соответствующих лингвистических предложениях четвертой структуры данных; выполнением этапа 1010 формирования восьмой структуры данных, на котором формируют восьмую структуру данных, содержащую элементы восьмой структуры данных, представляющие собой итоговые суждения соответствующих лингвистических предложений четвертой структуры данных, сформированные из упомянутых простых суждений соответствующих лингвистических предложений четвертой структуры данных, а также содержащую идентификационные данные итоговых суждений, представляющие собой значения итоговых суждений и порядковые номера итоговых суждений в восьмой структуре данных; выполнением этапа 1011 формирования девятой структуры данных, на котором формируют девятую структуру данных, содержащую элементы девятой структуры данных, представляющие собой базовые конструкции предметной области, сформированные из данных, включающих данные упомянутой сформированной по результатам выполнения этапа 1008 шестой структуры данных, причем формирование базовых конструкций предметной области осуществляют на основании данных о формализованной модели базовой конструкции предметной области и данных о формализованной модели логической конструкции суждения, а также содержащую идентификационные данные базовых конструкций предметной области, представляющие собой значения базовых конструкций предметной области и порядковые номера базовых конструкций предметной области в девятой структуре данных; выполнением этапа 1012 формирования итоговой структуры данных, на котором формируют итоговую структуру данных, содержащую элементы итоговой структуры данных, представляющие собой целевые конструкции предметной области, сформированные из базовых конструкций предметной области, содержащихся в девятой структуре данных, причем формирование целевых конструкций предметной области осуществляют на основании данных о формализованной модели целевой конструкции предметной области, а также содержащую идентификационные данные целевых конструкций предметной области, представляющие собой значения целевых конструкций предметной области и порядковые номера целевых конструкций предметной области в итоговой структуре данных.
[11] КРАТКОЕ ОПИСАНИЕ ЧЕРТЕЖЕЙ
[12] Иллюстративные варианты осуществления настоящего изобретения описываются далее подробно со ссылкой на прилагаемые чертежи, которые включены в данный документ посредством ссылки, и на которых:
[13] На фиг. 1, в качестве примера, но не ограничения, изображена общая схема выполнения этапов способа 1000.
[14] На фиг. 2, в качестве примера, но не ограничения, изображена общая схема выполнения этапов этапа 1001.
[15] На фиг. 3, в качестве примера, но не ограничения, изображена общая структура исходной структуры данных.
[16] На фиг. 4, в качестве примера, но не ограничения, изображена общая структура сформированной первой структуры данных.
[17] На фиг. 5, в качестве примера, но не ограничения, изображена общая схема выполнения этапов этапа 1002.
[18] На фиг. 6, в качестве примера, но не ограничения, изображена общая структура сформированной базы данных системных признаков.
[19] На фиг. 7, в качестве примера, но не ограничения, изображена общая схема выполнения этапов этапа 1003.
[20] На фиг. 8, в качестве примера, но не ограничения, изображена общая структура сформированной второй структуры данных.
[21] На фиг. 9, в качестве примера, но не ограничения, изображена общая схема выполнения этапов этапа 1004.
[22] На фиг. 10, в качестве примера, но не ограничения, изображена общая структура сформированной третьей структуры данных.
[23] На фиг. 11, в качестве примера, но не ограничения, изображена общая схема выполнения этапов этапа 1005.
[24] На фиг. 12, в качестве примера, но не ограничения, изображена общая структура сформированной четвертой структуры данных.
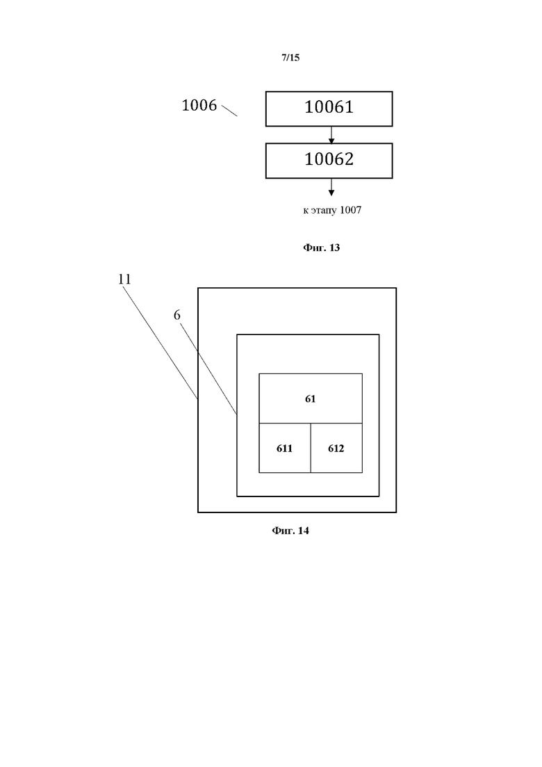
[25] На фиг. 13, в качестве примера, но не ограничения, изображена общая схема выполнения этапов этапа 1006.
[26] На фиг. 14, в качестве примера, но не ограничения, изображена общая структура сформированной пятой структуры данных.
[27] На фиг. 15, в качестве примера, но не ограничения, изображена общая схема выполнения этапов этапа 1007.
[28] На фиг. 16, в качестве примера, но не ограничения, изображена общая структура сформированной базы данных лингво-логическо-предметных признаков.
[29] На фиг. 17, в качестве примера, но не ограничения, изображена общая схема выполнения этапов этапа 1008.
[30] На фиг. 18, в качестве примера, но не ограничения, изображена общая структура сформированной шестой структуры данных.
[31] На фиг. 19, в качестве примера, но не ограничения, изображена общая схема выполнения этапов этапа 1009.
[32] На фиг. 20, в качестве примера, но не ограничения, изображена общая структура сформированной седьмой структуры данных.
[33] На фиг. 21, в качестве примера, но не ограничения, изображена общая схема выполнения этапов этапа 1010.
[34] На фиг. 22, в качестве примера, но не ограничения, изображена общая структура сформированной восьмой структуры данных.
[35] На фиг. 23, в качестве примера, но не ограничения, изображена общая схема выполнения этапов этапа 1011.
[36] На фиг. 24, в качестве примера, но не ограничения, изображена общая структура сформированной девятой структуры данных.
[37] На фиг. 25, в качестве примера, но не ограничения, изображена общая схема выполнения этапов этапа 1012.
[38] На фиг. 26, в качестве примера, но не ограничения, изображена общая структура сформированной итоговой структуры данных.
[39] На фиг. 27, в качестве примера, но не ограничения, проиллюстрирована примерная схема системы 2000.
[40] ОСУЩЕСТВЛЕНИЕ ИЗОБРЕТЕНИЯ
[41] Описанные в данном разделе возможные осуществления вариантов настоящего изобретения представлены на неограничивающих объем правовой охраны примерах, применительно к конкретным вариантам осуществления настоящего изобретения, которые во всех их аспектах предполагаются иллюстративными и не накладывающими ограничения. Альтернативные варианты реализации настоящего изобретения, не выходящие за пределы объема его правовой охраны, являются очевидными специалистам в данной области, имеющим обычную квалификацию, на которых это изобретение рассчитано.
На фиг. 1, в качестве примера, но не ограничения, изображена общая схема выполнения этапов способа 1000, представляющего собой исполняемый процессором или процессорами компьютерного устройства способ преобразования структурированного массива данных, содержащего, по меньшей мере, информационные объекты оцифрованного документа, являющиеся отдельными блоками информационного контента оцифрованного документа, представляющие собой текстовые информационные объекты, и/или представляющие собой визуальные информационные объекты, и/или представляющие собой текстово-визуальные информационные объекты; способ характеризуется: выполнением этапа 1001 формирования первой структуры данных, на котором формируют первую структуру данных, содержащую элементы первой структуры данных, представляющие собой смысловые части информационных объектов оцифрованного документа, а также идентификационные данные таких смысловых частей, представляющие собой значения таких смысловых частей и порядковые номера таких смысловых частей в оцифрованном документе; выполнением этапа 1002 формирования базы данных системных признаков смысловых частей, на котором выявляют системные признаки содержащихся в первой структуре данных смысловых частей, представляющие собой форматные системные характеристики таких смысловых частей и функциональные системные характеристики таких смысловых частей, а также значения соответствующих упомянутых системных характеристик, для выявления смысловых частей со структурными системными признаками, и/или для выявления смысловых частей с логическими системными признаками, и/или для выявления смысловых частей с информационными системными признаками, и/или для выявления смысловых частей с реквизитными системными признаками; и формируют из таких выявленных системных признаков базу данных системных признаков смысловых частей; выполнением этапа 1003 формирования второй структуры данных, на котором формируют вторую структуру данных, содержащую элементы второй структуры данных, представляющие собой интегрированные смысловые части информационных объектов оцифрованного документа, представляющие собой сгруппированные содержащиеся в первой структуре данных смысловые части с совпадающими системными признаками или сгруппированные содержащиеся в первой структуре данных смысловые части с уникальными системными признаками, а также содержащую идентификационные данные интегрированных смысловых частей, представляющие собой неповторяющиеся разновидности упомянутых смысловых частей с совпадающими системными признаками или упомянутых смысловых частей с уникальными системными признаками, значения упомянутых смысловых частей с совпадающими системными признаками или упомянутых смысловых частей с уникальными системными признаками, и порядковые номера в оцифрованном документе упомянутых смысловых частей с совпадающими системными признаками или упомянутых смысловых частей с уникальными системными признаками, причем такие упомянутые смысловые части с совпадающими системными признаками или такие упомянутые смысловые части с уникальными системными признаками составляют упомянутые интегрированные смысловые части; выполнением этапа 1004 формирования третьей структуры данных, на котором формируют третью структуру данных, содержащую в качестве элементов третьей структуры данных лингвистические конструкции, представляющие собой содержащиеся во второй структуре данных интегрированные смысловые части информационных объектов оцифрованного документа, причем такие интегрированные смысловые части имеют системные признаки текстовых логических смысловых частей, а также содержащую идентификационные данные лингвистических конструкций, представляющие собой значения лингвистических конструкций и порядковые номера лингвистических конструкций в оцифрованном документе, причем лингвистическими конструкциями в оцифрованном документе являются одни из следующих лингвистических конструкций или комбинация из следующих лингвистических конструкций: обычные лингвистические конструкции третьей структуры данных, являющиеся лингвистическими предложениями, особые лингвистические конструкции третьей структуры данных, являющиеся списками или рубриками перечисления, реконструируемые лингвистические конструкции третьей структуры данных, являющиеся таблицами, содержащими, по меньшей мере, две строки и два столбца, причем, по меньшей мере, одна строка содержит заголовки столбцов и/или, соответственно, по меньшей мере, один столбец содержит заголовки строк; выполнением этапа 1005 формирования четвертой структуры данных, на котором формируют четвертую структуру данных, содержащую в качестве элементов четвертой структуры данных лингвистические предложения четвертой структуры данных, сформированные из элементов третьей структуры данных и представляющие собой либо лингвистические предложения, являющиеся обычными лингвистическими конструкциями третьей структуры данных, либо лингвистические предложения, полученные посредством преобразования особых лингвистических конструкций третьей структуры данных, либо лингвистические предложения, полученные посредством воссоздания из реконструируемых лингвистических конструкций третьей структуры данных; причем четвертая структура данных включает также идентификационные данные лингвистических предложений четвертой структуры данных, представляющие собой значения лингвистических предложений четвертой структуры данных и порядковые номера лингвистических предложений четвертой структуры данных в четвертой структуре данных; выполнением этапа 1006 формирования пятой структуры данных, на котором формируют пятую структуру данных, содержащую в качестве элементов пятой структуры данных текстовые элементы лингвистических предложений четвертой структуры данных, а также идентификационные данные текстовых элементов лингвистических предложений четвертой структуры данных, представляющие собой значения соответствующих текстовых элементов соответствующих лингвистических предложений четвертой структуры данных и порядковые номера соответствующих текстовых элементов в соответствующих лингвистических предложениях четвертой структуры данных; выполнением этапа 1007 формирования базы данных лингво-логическо-предметных признаков, на котором выявляют лингвистические, логические и предметные признаки текстовых элементов лингвистических предложений четвертой структуры данных и формируют из выявленных признаков базу данных лингво-логическо-предметных признаков; выполнением этапа 1008 формирования шестой структуры данных, на котором формируют шестую структуру данных, содержащую элементы шестой структуры данных, представляющие собой компоненты простого суждения, которые представляют собой компоненты соответствующих простых суждений, причем простые суждения являются простыми суждениями соответствующих лингвистических предложений четвертой структуры данных, а также содержащую идентификационные данные упомянутых компонентов простого суждения, представляющие собой для каждого соответствующего компонента простого суждения из шестой структуры данных вид такого соответствующего компонента простого суждения, значение такого соответствующего компонента простого суждения и порядковый номер такого соответствующего компонента простого суждения в соответствующем лингвистическом предложении; выполнением этапа 1009 формирования седьмой структуры данных, на котором формируют седьмую структуру данных, содержащую элементы седьмой структуры данных, представляющие собой простые суждения соответствующих лингвистических предложений четвертой структуры данных, а также содержащую идентификационные данные таких простых суждений, представляющие собой значения соответствующих простых суждений и порядковые номера соответствующих простых суждений в соответствующих лингвистических предложениях четвертой структуры данных; выполнением этапа 1010 формирования восьмой структуры данных, на котором формируют восьмую структуру данных, содержащую элементы восьмой структуры данных, представляющие собой итоговые суждения соответствующих лингвистических предложений четвертой структуры данных, сформированные из упомянутых простых суждений соответствующих лингвистических предложений четвертой структуры данных, а также содержащую идентификационные данные итоговых суждений, представляющие собой значения итоговых суждений и порядковые номера итоговых суждений в восьмой структуре данных; выполнением этапа 1011 формирования девятой структуры данных, на котором формируют девятую структуру данных, содержащую элементы девятой структуры данных, представляющие собой базовые конструкции предметной области, сформированные из данных, включающих данные упомянутой сформированной по результатам выполнения этапа 1008 шестой структуры данных, причем формирование базовых конструкций предметной области осуществляют на основании данных о формализованной модели базовой конструкции предметной области и данных о формализованной модели логической конструкции суждения, а также содержащую идентификационные данные базовых конструкций предметной области, представляющие собой значения базовых конструкций предметной области и порядковые номера базовых конструкций предметной области в девятой структуре данных; выполнением этапа 1012 формирования итоговой структуры данных, на котором формируют итоговую структуру данных, содержащую элементы итоговой структуры данных, представляющие собой целевые конструкции предметной области, сформированные из базовых конструкций предметной области, содержащихся в девятой структуре данных, причем формирование целевых конструкций предметной области осуществляют на основании данных о формализованной модели целевой конструкции предметной области, а также содержащую идентификационные данные целевых конструкций предметной области, представляющие собой значения целевых конструкций предметной области и порядковые номера целевых конструкций предметной области в итоговой структуре данных
[42] На фиг. 2, в качестве примера, но не ограничения, изображена общая схема выполнения этапов этапа 1001 формирования первой структуры данных 2. Этап 1001 характеризуется: выполнением этапа 10011 идентификации исходной структуры данных 1, на котором идентифицируют элементы 11 исходной структуры данных 1, представляющие собой информационные объекты 11 оцифрованного документа 1; выполнением этапа 10012 идентификации элементов 21 первой структуры данных 2, на котором идентифицируют элементы 21 первой структуры данных 2, представляющие собой смысловые части 21 информационных объектов 11 оцифрованного документа 1, а также идентификационные данные элементов 21 первой структуры данных 2, представляющие собой для каждой упомянутой смысловой части 21 значения 211 упомянутых смысловых частей 21 и порядковые номера 212 упомянутых смысловых частей 21 в оцифрованном документе 1, и формируют первую структуру данных 2.
[43] На фиг. 3, в качестве примера, но не ограничения, изображена общая структура исходной структуры данных 1 (исходного структурированного массива данных 1; оцифрованного документа 1), из которой формируются элементы первой структуры данных СМД. Предпочтительно, не ограничиваясь, источником данных для формирования исходного структурированного массива данных 1 (исходного СМД 1) является, в качестве примера, но не ограничения, оцифрованный документ (электронный документ), то есть документ, преобразованный из традиционной, присущей для него формы, в цифровую форму в виде электронного файла данных, пригодного для записи на электронные носители. Предпочтительно, не ограничиваясь, оцифрованный (электронный) документ - это системно организованное соединение отдельных блоков информационного контента (информационных объектов). При этом предпочтительно, не ограничиваясь, каждый отдельный информационный объект обладает смысловой и логической завершенностью. Упомянутые блоки информационного контента предназначены для различных целей, например, не ограничиваясь, для предоставления информации посредством восприятия текстовых образов, и/или для предоставления информации посредством восприятия визуальных образов, и/или для предоставления информации посредством восприятия текстово-визуальных образов.
[44] Предпочтительно, не ограничиваясь, исходная структура данных, характеризующая исходный СМД 1, содержит элементы 11, представляющие собой, по меньшей мере, информационные объекты 11 исходного структурированного массива данных 1 (оцифрованного документа 1). Предпочтительно, не ограничиваясь, информационные объекты 11 состоят из компонентов информационных объектов и могут содержать любое число упомянутых компонентов, в качестве примера, но не ограничения, отдельных строчных объектов, и/или списочных объектов, и/или табличных текстовых объектов, и/или визуальных объектов. При этом, например, не ограничиваясь, упомянутые компоненты предварительно формируют в информационных объектах 11 различными техническими методами и средствами, в качестве примера, но не ограничения, с помощью инструментов лингвистики (например, не ограничиваясь, несколько предложений объединяют в абзац с использованием известных из уровня техники или любых иных пригодных технических средств, которые далее подробно не описываются), либо, не ограничиваясь, с помощью известных из уровня техники или любых иных пригодных технических средств различных текстовых редакторов электронных документов, которые далее подробно не описываются (например, не ограничиваясь, отделяют одну информацию в документе от другой с помощью средств форматирования «табуляция» или «перевод строки», и тому подобные действия), при этом, не ограничиваясь, такое формирование упомянутых компонентов в информационных объектах 11 осуществляют, в том числе, не ограничиваясь, с использованием известных из уровня техники средств автоматизации, а также, не ограничиваясь, с использованием технологий машинного обучения, нейросетевых технологий. Предпочтительно, не ограничиваясь, компоненты информационных объектов выполняют роль технического инструмента для предоставления информации определенного типа. В качестве примера, но не ограничения, компоненты информационных объектов могут различаться по типу предоставляемой информации. Для предоставления информации посредством восприятия текстовых образов, например, не ограничиваясь, используют компоненты информационных объектов текстового типа, таких как, например, не ограничиваясь, таких как строчные объекты, и/или списочные объекты, и/или табличные текстовые объекты, и тому подобные текстовые объекты. Для предоставления информации посредством восприятия визуальных образов используют, например, не ограничиваясь, компоненты информационных объектов визуального типа, например, не ограничиваясь, таких как логотип, картинка, рисунок, рукописный текст, фото и тому подобные визуальные объекты. Например, не ограничиваясь, для предоставления информации посредством восприятия текстово-визуальных образов используют компоненты информационных объектов текстово-визуального типа, например, не ограничиваясь, состоящих из сочетаний упомянутых компонентов информационных объектов текстового и визуального типов. Предпочтительно, не ограничиваясь, в исходной структуре данных 1 элементы 11, в качестве примера, но не ограничения, могут именоваться как «ИО1», «ИО2», «ИО3», «ИОn», где n≥1 - порядковый номер элемента 11 в оцифрованном документе. Предпочтительно, не ограничиваясь, все перечисленные выше информационные объекты 11 оцифрованного документа 1 в исходной структуре данных представляют собой отдельные информационные объекты 11, заранее подготовленные и помещенные в исходную структуру данных 1 в виде структурированного массива отдельных информационных объектов 11 оцифрованного документа 1. При этом, не ограничиваясь, такие подготовительные действия могут осуществляться любым известным из уровня техники способом и, соответственно, далее не описываются. Предпочтительно, не ограничиваясь, идентификацию элементов 11 исходной структуры данных в ходе этапа 10011 производят путем выявления признаков информационного объекта оцифрованного документа. Таким признаком может являться, в качестве примера, но не ограничения, признак группирования последовательных компонентов информационных объектов в оцифрованном документе 1, которым может являться, не ограничиваясь, управляющий символ (тег, управляющая команда) «разделитель строк» («перевод строки», «разрыв строки»), и/или «табуляция». Как правило, с помощью таких управляющих символов все последовательные информационные объекты 11 обособляются с двух сторон. При этом, например, не ограничиваясь, у первого информационного объекта 11 в оцифрованном документе 1 нет такого признака до первого компонента информационного объекта, а у последнего информационного объекта 11 в оцифрованном документе 1 нет такого признака после последнего компонента информационного объекта. Идентифицированные указанными способами элементы 11 формируют элементы 11 исходной структуры данных СМД 1. Предпочтительно, не ограничиваясь, такие подготовительные действия могут осуществляться любым известным из уровня техники способом и, соответственно, далее не описываются. При этом, предпочтительно, не ограничиваясь, таким образом исходный структурированный массив данных 1 представляет собой массив информационных объектов оцифрованного (электронного) документа, состоящий из элементов 11 оцифрованного документа 1, идентифицированных на этапе 1011.
[45] На фиг. 4, в качестве примера, но не ограничения, изображена общая структура сформированной первой структуры данных 2 СМД. Предпочтительно, не ограничиваясь, первая структура данных содержит элементы 21 первой структуры данных, представляющие собой смысловые части (СЧ) 21 информационных объектов 11 оцифрованного документа 1 и идентификационные данные таких смысловых частей, представляющие собой значения 211 смысловых частей 21 и порядковые номера 212 смысловых частей 21 в оцифрованном документе 1. Каждая смысловая часть 21 информационного объекта 11 оцифрованного документа 1 представляет собой, в качестве примера, но не ограничения, отдельный информационный объект 11 или часть информационного объекта 11 с признаком однородности компонентов информационного объекта (КИО). В качестве примера, но не ограничения, признаком такой однородности КИО может быть принадлежность КИО отдельного информационного объекта 11 только к одному роду данных, например, не ограничиваясь, к строчным текстовым данным, или к списочным текстовым данным, или к табличным текстовым данным, или к визуальным данным. Значением 211 смысловой части 21 являются, в качестве примера, но не ограничения, набор букв, и/или набор слов, и/или набор цифр, и/или набор чисел, и/или набор знаков препинания, и/или набор иных знаков и символов, и/или таблица, а также, например, не ограничиваясь, логотип, и/или картинка, и/или рисунок, и/или рукописный текст, и/или фото и тому подобное, из которых состоит смысловая часть 21. Порядковым номером 212 смысловой части 21, в качестве примера, но не ограничения, является порядковый номер смысловой части 21 информационного объекта 11 в оцифрованном документе 1. В первой структуре данных элементы 21, в качестве примера, но не ограничения, могут именоваться как «СЧ1», «СЧ2», «СЧ3», «СЧn», где n≥1 - порядковый номер элемента в оцифрованном документе. Предпочтительно, не ограничиваясь, идентификацию элементов 21 первой структуры данных в ходе этапа 10012 производят путем анализа компонентов информационных объектов (КИО) для каждого информационного объекта 11 оцифрованного документа 1. Предпочтительно, не ограничиваясь, суть анализа состоит в том, чтобы проверить наличие в каждом отдельном информационном объекте 11 признаков однородности компонентов информационных объектов (КИО). В случае, если все КИО отдельного информационного объекта 11 принадлежат к одному роду данных, то из такого информационного объекта 11 формируют одну смысловую часть 21. В случае, если КИО отдельного информационного объекта 11 принадлежат к разным родам данных, то такие информационные объекты 11 разделяют на фрагменты. При этом, не ограничиваясь, из каждого фрагмента разделенного информационного объекта 11 формируют свою разделенную смысловую часть 21, кроме случая, когда в последовательных текстовых КИО любого рода имеется визуальный КИО. В этом случае такие визуальные КИО формируют вложенную визуальную смысловую часть 21, а фрагменты из текстовых КИО, разделенных визуальным КИО, объединяются вместе и формируют свою сборную смысловую часть 21. При этом, не ограничиваясь, в такой сборной смысловой части 21 вместо удаленной из нее вложенной визуальной смысловой части 21 формируют замещающий текст (например, не ограничиваясь, если вложенной визуальной смысловой частью 21 была картинка, то в качестве замещающего текста используют слово «КАРТИНКА»), поместив его в сборную смысловую часть 21 в том месте, откуда была исключена упомянутая вложенная визуальная смысловая часть 21, восстановив таким образом целостность последовательности текстового КИО отдельного информационного объекта 11, из которого сформирована сборная смысловая часть 21. Предпочтительно, не ограничиваясь, идентификацию значения 211 смысловой части 21 в ходе этапа 10012 производят путем регистрации содержания компонентов информационных объектов (набора букв, и/или набора слов, и/или набора цифр, и/или набора чисел, и/или набора знаков препинания, и/или иных знаков и символов, и/или таблицы, и/или логотипа, и/или картинки, и/или рисунка, и/или рукописного текста, и/или фото и тому подобного), из которых состоит смысловая часть 21. Предпочтительно, не ограничиваясь, идентификацию порядкового номера 212 смысловой части 21 первой структуры данных в ходе этапа 10012 производят путем расчета местоположения компонентов информационного объекта, из которых состоит смысловая часть 21, в оцифрованном документе 1. При этом, не ограничиваясь, поскольку количество элементов 21 может существенно превышать число элементов 11, то использование порядковых номеров элементов 11 подразумевает, например, не ограничиваясь, следующий порядок расчета, состоящий из двух этапов. На первом этапе для каждого элемента 21 получают предварительный номер вида «Х.1», в котором индекс «Х» указывает на номер элемента 11, из которого сформирован элемент 21. Если элемент 21 является разделенной смысловой частью 21, сборной смысловой частью 21 или вложенной визуальной смысловой частью 21, то для таких элементов 21 получают предварительный номер вида «Х.Y», в котором индекс «Х» указывает на номер элемента 11, из которого сформирован элемент 21, а индекс «Y» - на порядковый номер части разделенной, сборной или вложенной визуальной смысловой части 21 в последовательности компонентов информационного объекта, установленной на основании расчета положения первого КИО разделенной, сборной или вложенной визуальной смысловой части 21 в элементе 11. На втором этапе, полученная таким образом вложенная нумерация (например, не ограничиваясь: 1.1, 2.1, 2.2, 3.1, 4.1, 4.2, 4.3, 5.1) позволяет сформировать порядковые номера элементов 21 в оцифрованном документе 1, начиная с номера «1» у элемента с вложенным номером «1.1». Далее, не ограничиваясь, следующий порядковый номер получает элемент 21 либо с вложенным номером «1.2», либо, если такого нет - с вложенным номером «2.1». И так далее, до преобразования всех вложенных номеров в порядковые номера элемента 21 в оцифрованном документе 1. Предпочтительно, не ограничиваясь, такой анализ для идентификации и формирования элементов 21 может быть выполнен любым известным из уровня техники способом и, соответственно, подробно далее не описывается. Например, не ограничиваясь, такой анализ может быть выполнен традиционно специалистом-лингвистом, или же с помощью программного алгоритма лингвистического (синтаксического) процессора, или на основе традиционного программирования путем решения задач с помощью кодирования неизменяемых правил (IT-решение «по правилам»). Более того, при наличии достаточного количества примеров возможно выполнение такого анализа с помощью статистического процессора (нейросети, систем ИИ) посредством применения технологии обучения нейросети (систем ИИ).
[46] На фиг. 5, в качестве примера, но не ограничения, изображена общая схема выполнения этапов этапа 1002 формирования базы данных системных признаков 20 смысловых частей 21, на котором, предпочтительно, не ограничиваясь, выявляют системные признаки содержащихся в первой структуре данных 2 смысловых частей 21, представляющие собой форматные системные характеристики 213 таких смысловых частей 21 и функциональные системные характеристики 213 таких смысловых частей 21, а также значения 2131 соответствующих упомянутых системных характеристик 213, для выявления смысловых частей 21 со структурными системными признаками, и/или для выявления смысловых частей 21 с логическими системными признаками, и/или для выявления смысловых частей 21 с информационными системными признаками, и/или для выявления смысловых частей с реквизитными системными признаками; и формируют из таких выявленных системных признаков базу данных системных признаков 20 смысловых частей 21. Предпочтительно, не ограничиваясь, этап 1002 характеризуется: выполнением этапа 10021 формирования системных признаков смысловых частей 21, на котором для системного анализа для каждой смысловой части 21 информационных объектов 11 оцифрованного документа 1 предоставляют идентификационные данные упомянутой смысловой части 21 и получают системные характеристики 213 для всех упомянутых смысловых частей 21, а также значения 2131 упомянутых системных характеристик; выполнением этапа 10022 формирования базы данных системных признаков 20 смысловых частей 21, на котором формируют базу данных системных признаков смысловых частей 21 информационных объектов 11 оцифрованного документа 1, причем системным признаком упомянутой смысловой части 21 являются все упомянутые полученные для упомянутой смысловой части 21 системные характеристики 213, обладающие значениями 2131 системных характеристик 213.
[47] На фиг. 6, в качестве примера, но не ограничения, изображена общая структура сформированной базы данных системных признаков 20 (БДСП 20), являющейся БДСП 20 смысловых частей 21 информационных объектов 11 оцифрованного (электронного) документа 1. Предпочтительно, не ограничиваясь, системные характеристики 213 смысловых частей 21 информационных объектов 11 оцифрованного документа 1 содержат форматные характеристики и функциональные характеристики. При этом, предпочтительно, не ограничиваясь, совокупность значений 2131 всех системных характеристик 213 каждой смысловой части 21 информационных объектов 11 в оцифрованном документе 1 является отличительным системным признаком каждой смысловой части 21 информационных объектов 11 в оцифрованном документе 1. Форматные характеристики, предпочтительно, не ограничиваясь, указывают на форматные признаки смысловых частей 21 информационных объектов 11 оцифрованного документа 1, которые могут быть классифицированы, в качестве примера, но не ограничения, по уровню вложенности, например, как «род-вид-подвид». При этом, не ограничиваясь, форматный род упомянутых смысловых частей 21 предпочтительно имеет следующие значения: текстовый информационный объект документа, визуальный информационный объект документа; не ограничиваясь, форматный вид упомянутых смысловых частей 21 предпочтительно имеет следующие значения: строчный (машиночитаемый текст (слова, числа)), списочный (машиночитаемый текст (слова, числа)), табличный (машиночитаемый текст (слова, числа)), изобразительный (фото, рисунок, логотип, картинка), рукописный (не машиночитаемый текст (слова, числа)); не ограничиваясь, форматный подвид упомянутых смысловых частей 21 предпочтительно имеет следующие значения: обычная лингвистическая конструкция (лингвистическое предложение), особая лингвистическая конструкция (лингвистическая конструкция, сочетающая в себе элементы языковой конструкции, а также способ организации данных и (или) визуальные информационные объекты), реконструируемая лингвистическая конструкция (способ организации данных, который имеет логическую основу, на базе которой возможно воссоздать лингвистическую конструкцию, эквивалентную информации в системе организованных данных), нелингвистическая конструкция. Функциональные характеристики, предпочтительно, не ограничиваясь, указывают на множество функциональных признаков смысловых частей 21 информационных объектов 11 оцифрованного документа 1, среди которых можно выделить, в качестве примера, но не ограничения, следующие: признаки структурной иерархии документа (структурные системные признаки); признаки основной смысловой информации (логические системные признаки); признаки сопутствующей или технической информации (информационные системные признаки); признаки метаданных документа (реквизитные системные признаки). Не ограничиваясь, функциональные характеристики указывают на функциональную роль упомянутых смысловых частей 21, представляющих собой, в качестве примера, но не ограничения, следующие функциональные роли смысловых частей 21: структурная, то есть смысловая часть 21 со структурными системными признаками; логическая, то есть смысловая часть 21 с логическими системными признаками; информационная, то есть смысловая часть 21 с информационными системными признаками; реквизитная, то есть смысловая часть 21 с признаками метаданных документа (с реквизитными системными признаками).
[48] Формирование системных характеристик 213 и их значений 2131 для смысловых частей 21 информационных объектов 11 оцифрованного документа 1, предпочтительно, не ограничиваясь, производят на этапе 10021 путем комплексного структурно-лингвистического анализа каждой смысловой части 21 информационных объектов 11 оцифрованного документа 1, представляющего, в качестве примера, но не ограничения, анализ компонентов информационных объектов (КИО) информационного объекта 11, из которого сформирована смысловая часть 21, с точки зрения упомянутых системных признаков. По результатам системного анализа упомянутых КИО смысловой части 21, предпочтительно, не ограничиваясь, производится формирование системных характеристик 213 и их внесение на этапе 10022 в БДСП 20 в виде перечня системных характеристик 213 со значениями этих характеристик 2131. Например, но не ограничиваясь, для смысловой части 21 со значением 211 «Глава 1. Общие положения» системными признаками могут быть следующие системные характеристики 213 со значениями системных характеристик 2131: форматный род «текстовый КИО»; форматный вид «строчный машиночитаемый текст»; форматный подвид «обычная лингвистическая конструкция»; функциональные признаки «признаки структурной иерархии документа»; функциональная роль «структурная». Такой анализ может быть выполнен любым известным из уровня техники способом и, соответственно, подробно далее не описывается. Например, не ограничиваясь, такой анализ может быть выполнен традиционно специалистом-лингвистом, или же с помощью программного алгоритма лингвистического (синтаксического) процессора, или на основе традиционного программирования путем решения задач с помощью кодирования неизменяемых правил (IT-решение «по правилам»). Более того, при наличии достаточного количества примеров возможно выполнение такого анализа с помощью статистического процессора (нейросети, систем ИИ) посредством применения технологии обучения нейросети (систем ИИ). Предпочтительно, не ограничиваясь, на основании выявленных системных характеристик 213 смысловых частей 21 информационных объектов 11 оцифрованного документа 1 и их значений 2131 в итоге формируют базу данных системных признаков 20 (БДСП 20), являющуюся БДСП 20 смысловых частей 21 информационных объектов 11 оцифрованного документа 1. При этом системные характеристики 213 смысловых частей 21 информационных объектов 11 оцифрованного документа 1 и их значения 2131 формируют системные признаки упомянутых смысловых частей 21
[49] На фиг. 7, в качестве примера, но не ограничения, изображена общая схема выполнения этапов этапа 1003 формирования второй структуры данных 3 СМД. Предпочтительно, не ограничиваясь, этап 103 характеризуется: выполнением этапа 10031 идентификации и формирования элементов 31 второй структуры данных 3, на котором идентифицируют и формируют элементы 31 второй структуры данных 3, представляющие собой интегрированные смысловые части 31 информационных объектов 11 оцифрованного документа 1, и представляющие собой сгруппированные содержащиеся в первой структуре данных 2 смысловые части 21 с совпадающими системными признаками или сгруппированные содержащиеся в первой структуре данных 2 смысловые части 21 с уникальными системными признаками, а также идентификационные данные интегрированных смысловых частей 31, представляющие собой неповторяющиеся разновидности упомянутых смысловых частей 21 с совпадающими системными признаками или упомянутых смысловых частей 21 с уникальными системными признаками, значения упомянутых смысловых частей 21 с совпадающими системными признаками или упомянутых смысловых частей 21 с уникальными системными признаками, и порядковые номера в оцифрованном документе 1 упомянутых смысловых частей 21 с совпадающими системными признаками или упомянутых смысловых частей 21 с уникальными системными признаками, причем такие упомянутые смысловые части 21 с совпадающими системными признаками или такие упомянутые смысловые части 21 с уникальными системными признаками составляют упомянутые интегрированные смысловые части 31; выполнением этапа 10032 формирования второй структуры данных 3, на котором формируют вторую структуру данных 3 из идентифицированных и сформированных элементов 31 второй структуры данных 3 и их идентификационных данных.
[50] На фиг. 8, в качестве примера, но не ограничения, изображена общая структура сформированной второй структуры данных 3 СМД. Предпочтительно, не ограничиваясь, вторая структура данных 3 содержит элементы второй структуры данных 31, представляющие собой интегрированные смысловые части 31 оцифрованного (электронного) документа 1 и идентификационные данные интегрированных смысловых частей 31 оцифрованного (электронного) документа 1. Элементами 31 второй структуры данных 3 СМД являются интегрированные смысловые части 31 информационных объектов 11 оцифрованного документа 1 и идентификационные данные таких интегрированных смысловых частей 31, представляющие собой значения 311 интегрированных смысловых частей, порядковые номера 312 интегрированных смысловых частей и неповторяющиеся разновидности 313 интегрированных смысловых частей в оцифрованном документе 1. Интегрированными смысловыми частями 31 информационных объектов 11 оцифрованного документа 1, предпочтительно, не ограничиваясь, являются сгруппированные содержащиеся в первой структуре данных 2 смысловые части 21 с совпадающими системными признаками или смысловые части 21 с уникальными системными признаками. При этом, под системными признаками смысловых частей 21 понимаются системные характеристики 213 и их значения 2131, под уникальными системными признаками понимают такие системные признаки, которые встречаются в оцифрованном документе 1 только у одной смысловой части 21, под совпадающими системными признаками понимают такие системные признаки, которые встречаются в оцифрованном документе 1 как минимум у двух смысловых частей 21. В качестве примера, но не ограничения, системные признаки у элемента 31 могут быть такие: «Текстовый КИО. Табличный машиночитаемый текст. Реконструируемая лингвистическая конструкция. Признаки основной смысловой информации. Логическая функциональная роль». Предпочтительно, не ограничиваясь, значениями 311 интегрированных смысловых частей 31 являются, значения 211 смысловых частей 21 с совпадающими или с уникальными системными признаками, причем такие смысловые части 21 с совпадающими или с уникальными системными признаками составляют упомянутые интегрированные смысловые части 31. Предпочтительно, не ограничиваясь, порядковым номером 312 интегрированной смысловой части 31 являются, порядковые номера 212 смысловых частей 21 с совпадающими или с уникальными системными признаками, причем такие смысловые части 21 с совпадающими или с уникальными системными признаками составляют упомянутые интегрированные смысловые части 31. Во второй структуре данных 3 элементы 31 именуются без уникальных наименований и, в качестве примера, но не ограничения, могут именоваться как «ИСЧ1», «ИСЧ2», «ИСЧ3», ИСЧn», где n≥1- порядковый индекс элемента 31 в оцифрованном документе 1, начиная с «1» для каждого элемента 31 в оцифрованном документе 1. Предпочтительно, не ограничиваясь, неповторяющимися разновидностями 313 интегрированных смысловых частей 31 в оцифрованном документе 1 являются неповторяющиеся разновидности смысловых частей 21, из которых сформированы элементы 31. При этом под неповторяющимися разновидностями смысловых частей 21 понимают все уникальные системные признаки смысловых частей 21, содержащиеся в оцифрованном документе 1. В качестве примера, но не ограничения, неповторяющейся разновидностью 313 интегрированных смысловых частей 31 являются уникальные (если в элементе 31 содержится только один элемент 21) или совпадающие (если в элементе 31 содержится два и более элементов 21) системные признаки элементов 21, из которых сформированы элементы 31, а именно: «Текстовый КИО. Табличный машиночитаемый текст. Реконструируемая лингвистическая конструкция. Признаки основной смысловой информации. Логическая функциональная роль». Предпочтительно, не ограничиваясь, идентификацию элементов 31 второй структуры данных 3 СМД в рамках этапа 1031 производят путем сравнительного анализа значений 2131 системных характеристик 213 смысловых частей 21 информационных объектов 11 оцифрованного документа 1. При этом, в ходе идентификации элемента 31 одновременно идентифицируют порядковый номер 312 элемента 31 и неповторяющуюся разновидность 313 элемента 31. В качестве примера, но не ограничения порядок идентификации элементов 31, а также порядкового номера 312 элемента 31 и неповторяющуюся разновидность 313 элемента 31 может быть следующим. На первом этапе из списка элементов 21 первой структуры данных 2 выявляют все уникальные элементы 21, то есть такие элементы 21, которые имеют уникальные (неповторяющиеся) значения системных характеристик 2131. На втором этапе все выявленные уникальные элементы 21 признаются элементами 31 и нумеруются порядковыми номерами, начиная с «1», причем номер «1» получает такой элемент 21, который имеет минимальный порядковый номер 212, номер «2» получает такой элемент 21, который имеет порядковый номер 212 больше, чем у элемента 21, признанного элементом 31 с порядковым номером «1», но одновременно меньшим, чем у остальных уникальных элементов 21. И так далее, до тех пор, пока все уникальные элементы 21 не получат свой порядковый номер как признанные элементы 31. На третьем этапе среди элементов 21 первой структуры данных, которые еще не признаны элементами 31, производят поиск таких элементов 21, которые по своим системным признакам идентичны элементам 21, уже идентифицированным в качестве элементов 31 на втором этапе. Выявленные таким образом элементы 21 присоединяют к соответствующим элементам 31 (группе элементов 21 с системными признаками, идентичными системным признакам выявленного элемента 21), идентифицируя таким образом все элементы 21 первой структуры данных с тем или иным элементом 31, сформированным на втором этапе.
[51] Не ограничиваясь, идентификацию системных признаков элементов 21 при необходимости производят путем организации запроса в БДСП 20 и получения значений 2131 системных характеристик 213 смысловых частей 21 информационных объектов 11 оцифрованного документа 1. При этом, не ограничиваясь, как было описано ранее, системными признаками элемента 21 являются как минимум форматные и функциональные характеристики смысловых частей 21 информационных объектов 11 оцифрованного документа 1. Не ограничиваясь, идентификацию значений 311 элементов 31 производят после идентификации всех элементов 31 второй структуры данных, то есть после признания всех элементов 21 первой структуры данных 2 тем или иным идентифицированным элементом 31 (элементом 31 с тем или иным порядковым номером и с уникальными или с совпадающими системными признаками элементов 21, из которых состоит идентифицированный элемент 31). При этом, значениями 311 интегрированной смысловой части 31 будут являться значения 211 всех элементов 21, из которых состоит идентифицированный элемент 31 второй структуры данных 3. В качестве примера, но не ограничения определение порядковых номеров 312 элементов 31 второй структуры данных может быть продемонстрировано следующим образом. На первом этапе для элемента 31, в составе которого содержится смысловая часть 21 с минимальным значением порядкового номера 212, будет установлен порядковый номер «1». На втором этапе в оставшихся непронумерованных элементах 31 находят такой элемент 31, в составе которого содержится смысловая часть 21 с порядковым номером 212 большим, чем у элемента 31 с порядковым номером «1», но меньшим, чем у других элементов 31, порядковый номер которых пока не идентифицирован. Такой элемент 31 получает порядковый номер «2». На третьем этапе анализ, описанный на втором этапе проводится заново для установления элемента 31 с порядковым номером «3» и так далее до тех пор, пока число оставшихся непронумерованных элементов 31 второй структуры данных документа не будет равно «1». Тогда последний непронумерованный элемент 31 получит порядковый номер, равный максимальному установленному порядковому номеру у пронумерованных элементов 31 плюс «1». Такой сравнительный анализ для идентификации и формирования элементов 31 может быть выполнен любым известным из уровня техники способом и, соответственно, подробно далее не описывается. Например, не ограничиваясь, такой анализ может быть выполнен традиционно специалистом-лингвистом, или же с помощью программного алгоритма лингвистического (синтаксического) процессора, или на основе традиционного программирования путем решения задач с помощью кодирования неизменяемых правил (IT-решение «по правилам»). Более того, при наличии достаточного количества примеров возможно выполнение такого анализа с помощью статистического процессора (нейросети, систем ИИ) посредством применения технологии обучения нейросети (систем ИИ).
[52] На фиг. 9, в качестве примера, но не ограничения, изображена общая схема выполнения этапов этапа 1004 формирования третьей структуры данных 4 СМД. Этап 1004 характеризуется: выполнением этапа 10041 идентификации и формирования элементов 41 третьей структуры данных 4, на котором идентифицируют и формируют элементы 41 третьей структуры данных 4, представляющие собой лингвистические конструкции 41, представляющие собой содержащиеся во второй структуре данных 3 интегрированные смысловые части 31 информационных объектов 11 оцифрованного документа 1, причем такие интегрированные смысловые части 31 имеют системные признаки текстовых логических смысловых частей, а также содержащую идентификационные данные лингвистических конструкций 41, представляющие собой значения 411 лингвистических конструкций 41 и порядковые номера 412 лингвистических конструкций 41 в оцифрованном документе 1, причем лингвистическими конструкциями 41 в оцифрованном документе 1 являются одни из следующих лингвистических конструкций 41 или комбинация из следующих лингвистических конструкций 41: обычные лингвистические конструкции 41 третьей структуры данных 4, являющиеся лингвистическими предложениями, особые лингвистические конструкции 41 третьей структуры данных 4, являющиеся списками или рубриками перечисления, реконструируемые лингвистические конструкции 41 третьей структуры данных 4, являющиеся таблицами, содержащими, по меньшей мере, две строки и два столбца, причем, по меньшей мере, одна строка содержит заголовки столбцов и, соответственно, по меньшей мере, один столбец содержит заголовки строк; выполнением этапа 10042 формирования третьей структуры данных 4, на котором формируют третью структуру данных 4 из идентифицированных и сформированных на этапе 10041 элементов 41 третьей структуры данных 4 и их идентификационных данных.
[53] На фиг. 10, в качестве примера, но не ограничения, изображена общая структура сформированной третьей структуры данных 4 СМД. Третья структура данных 4 содержит элементы 41 третьей структуры данных 4, представляющие собой лингвистические конструкции 41 и идентификационные данные лингвистических конструкций 41, представляющие собой значения 411 лингвистических конструкций 41, и порядковые номера 412 лингвистических конструкций 41 в оцифрованном документе 1. Предпочтительно, не ограничиваясь, элементами 41 третьей структуры данных 4 СМД являются лингвистические конструкции 41, причем под лингвистическими конструкциями 41 понимают интегрированные смысловые части 31 оцифрованного (электронного) документа 1, содержащиеся во второй структуре данных 3, с системными признаками текстовых логических смысловых частей (тексто-логические интегрированные смысловые части 31). Тексто-логические интегрированные смысловые части, в качестве примера, но не ограничения, могут обладать следующими системными признаками текстовых логических смысловых частей: значениями 2131 системных характеристик 213 смысловых частей 21, составляющих элемент 31: «Текстовый КИО. Списочный машиночитаемый текст. Особая лингвистическая конструкция. Признаки основной смысловой информации. Логическая функциональная роль». Предпочтительно, не ограничиваясь, значение 411 лингвистических конструкций 41 идентично значению тексто-логических интегрированных смысловых частей (интегрированных смысловых частей 31 информационных объектов 11 оцифрованного документа 1, содержащихся во второй структуре данных 3, и имеющих системные признаки текстовых логических смысловых частей). Предпочтительно, не ограничиваясь, порядковым номером 412 лингвистических конструкций 41 является порядковый номер тексто-логической интегрированной смысловой части в оцифрованном документе 1.
[54] Предпочтительно, не ограничиваясь, идентификацию и формирование элемента 41 третьей структуры данных 4 СМД в рамках этапа 10041 производят путем сравнительного анализа значений 2131 системных характеристик 213 смысловых частей 21 информационных объектов 11 оцифрованного документа 1, входящих в элементы 31 второй структуры данных 3. Объектом сравнения в значениях 2131 системных характеристиках 21 являются формат и функциональные роли смысловых частей 21. При этом, не ограничиваясь, все элементы 21, входящие в элемент 31 имеют одинаковые формат и функциональные роли. Поэтому, для проведения сравнительного анализа элемента 31 достаточно провести сравнительный анализ одного элемента 21, входящего в элемент 31. В случае, если значения системных характеристик в анализируемого элемента 21 будут содержать «Текстовой формат» и «Логическая функциональная роль», то анализируемый элемент 31, в состав которого входит анализируемый элемент 21, признается тексто-логической интегрированной смысловой частью и идентифицируется как элемент 41 (лингвистическая конструкция) и пополняет третью структуру 3 СМД. Предпочтительно, не ограничиваясь, идентификацию системных признаков элементов 21 при необходимости производят путем организации запроса в БДСП 10, формируемую в рамках этапа 1003, состоящего из идентификационных данных смысловых частей 21, и получения значений 2131 системных характеристик 213 смысловых частей 21 информационных объектов 11 оцифрованного документа 1. При этом, как было описано ранее, системными признаками элемента 21 являются как минимум форматные и функциональные характеристики смысловых частей 21 информационных объектов 11 оцифрованного документа 1. Предпочтительно, не ограничиваясь, значение 411 каждого элемента 41 (лингвистической конструкции) является идентичным значению 311 интегрированной смысловой части 31, которая признана тексто-логической интегрированной смысловой частью и идентифицирована как элемент 41 (лингвистическая конструкция).
[55] В структуре данных элементы 41, в качестве примера, но не ограничения, могут именоваться как «ЛК1», «ЛК2», «ЛК3», «ЛКn», где n≥1- порядковый номер 412 элемента 41 в оцифрованном документе 1. В качестве примера, но не ограничения определение порядковых номеров 412 элементов 41 третей структуры данных 4 может быть продемонстрировано следующим образом. На первом этапе для элемента 41, сформированного из интегрированной смысловой части 31 с минимальным значением порядкового номера 312, будет установлен порядковый номер «1». На втором этапе в оставшихся непронумерованных элементах 41 находят такой элемент 41, сформированный из интегрированной смысловой части 31 с порядковым номером 312 большим, чем у элемента 41 с порядковым номером «1», но меньшим, чем у других элементов 41, порядковый номер которых пока не идентифицирован. Такой элемент 41 получает порядковый номер «2». На третьем этапе анализ, описанный на втором этапе, проводится заново для установления элемента 41 с порядковым номером «3» и так далее до тех пор, пока число оставшихся непронумерованных элементов 41 второй структуры данных документа не будет равно «1». Тогда последний непронумерованный элемент 41 получит порядковый номер, равный максимальному установленному порядковому номеру у пронумерованных элементов 41 плюс «1». Такой сравнительный анализ для идентификации и формирования элементов 41 может быть выполнен любым известным из уровня техники способом и, соответственно, подробно далее не описывается. Например, не ограничиваясь, такой анализ может быть выполнен традиционно специалистом-лингвистом, или же с помощью программного алгоритма лингвистического (синтаксического) процессора, или на основе традиционного программирования путем решения задач с помощью кодирования неизменяемых правил (IT-решение «по правилам»). Более того, при наличии достаточного количества примеров возможно выполнение такого анализа с помощью статистического процессора (нейросети, систем ИИ) посредством применения технологии обучения нейросети (систем ИИ). Формирование третьей структуры данных 4 СМД в ходе этапа 10042 производят путем объединения в одной структуре данных элементов 41 третьей структуры данных 4, а также их идентификационных данных по известным из уровня техники принципам и способам, которые, соответственно далее подробно не описываются.
[56] На фиг. 11, в качестве примера, но не ограничения, изображена общая схема выполнения этапов этапа 1005 формирования четвертой структуры данных 5 СМД. Предпочтительно, не ограничиваясь, этап 1005 характеризуется: выполнением этапа 10051 идентификации и формирования первых элементов 51 четвертой структуры данных 5, на котором идентифицируют и формируют первые элементы 51 четвертой структуры данных 5, а также идентификационные данные первых элементов 51 четвертой структуры данных 5, представляющие собой для каждого первого элемента четвертой структуры данных 5 значение 511 первого элемента 51 четвертой структуры данных 5 и порядковые номера 512 первого элемента 51 четвертой структуры данных 5 в четвертой структуре данных 5; причем первыми элементами 51 четвертой структуры данных 5 являются лингвистические предложения, сформированные из элементов 41 третьей структуры данных 4, содержащих обычные лингвистические конструкции 41, посредством отождествления лингвистических предложений четвертой структуры данных 5 с обычными лингвистическими конструкциями 41 третьей структуры данных 4; выполнением этапа 10052 идентификации и формирования вторых элементов 52 четвертой структуры данных 5, на котором идентифицируют и формируют вторые элементы 52 четвертой структуры данных 5, а также идентификационные данные вторых элементов 52 четвертой структуры данных 5, представляющие собой для каждого второго элемента 52 четвертой структуры данных 5 значение 521 второго элемента 52 четвертой структуры данных 5 и порядковые номера 522 второго элемента 52 четвертой структуры данных 5 в четвертой структуре данных 5; причем вторым элементом 52 четвертой структуры данных 5 являются лингвистические предложения, сформированные из элементов 41 третьей структуры данных 4, содержащих особые лингвистические конструкции 41, посредством преобразования особых лингвистических конструкций 41 в лингвистические предложения четвертой структуры данных 5; причем особой лингвистической конструкцией 41 может являться список или рубрика перечисления; выполнением этапа 10053 идентификации и формирования третьих элементов 53 четвертой структуры данных 5, на котором идентифицируют и формируют третьи элементы 53 четвертой структуры данных 5, а также идентификационные данные третьих элементов 53 четвертой структуры данных 5, представляющие собой для каждого третьего элемента 53 четвертой структуры данных 5 значение 531 третьего элемента 53 четвертой структуры данных 5 и порядковые номера 532 третьего элемента 53 четвертой структуры данных 5 в четвертой структуре данных 5; причем третьим элементом 53 четвертой структуры данных 5 являются лингвистические предложения, сформированные из элементов 41 третьей структуры данных 4, содержащих реконструируемые лингвистические конструкции 41, посредством воссоздания из данных, содержащихся в реконструируемых лингвистических конструкциях 41 отдельных лингвистических предложений четвертой структуры данных 5; причем реконструируемыми лингвистическими конструкциями являются таблицы, обладающие признаками логической основы организации данных; выполнением этапа 10054 формирования четвертой структуры данных 5, на котором формируют четвертую структуру данных 5 из первых элементов 51 четвертой структуры данных 5, вторых элементов 52 четвертой структуры данных 5, третьих элементов 53 четвертой структуры данных 5 и их идентификационных данных.
[57] На фиг. 12, в качестве примера, но не ограничения, изображена общая структура сформированной четвертой структуры данных 5. Предпочтительно, не ограничиваясь, четвертая структура данных 5 (четвертая СД 5) содержит первый элемент 51 четвертой СД 5, второй элемент 52 четвертой СД 5 и третий элемент 53 четвертой СД 5, представляющие собой лингвистические предложения четвертой структуры данных 5 и идентификационные данные лингвистических предложений в четвертой структуре данных 5, представляющие собой: для первого элемента 51 четвертой СД 5 , в качестве примера, но не ограничения, значения 511 первого элемента 51 четвертой СД 5 и порядковые номера 512 первого элемента 51 четвертой СД 5 в четвертой СД 5; для второго элемента 52 четвертой СД 5, в качестве примера, но не ограничения, значения 521 второго элемента 52 четвертой СД 5 и порядковые номера 522 второго элемента 52 четвертой СД 5 в четвертой СД 5; для третьего элемента 53 четвертой СД 5, в качестве примера, но не ограничения, значения 531 третьего элемента 53 четвертой СД 5 и порядковые номера 532 третьего элемента 53 четвертой СД 5 в четвертой СД 5. Предпочтительно, не ограничиваясь, элементы 51, 52, 53 четвертой структуры данных 5 представляют собой лингвистические предложения, сформированные из различных лингвистических конструкций 41, содержащихся в третьей структуре данных 4. Предпочтительно, не ограничиваясь, лингвистические предложения четвертой СД 5, отождествляемые с обычной лингвистической конструкцией 41, представляют собой элементы 51 четвертой структуры данных 5. При этом, не ограничиваясь, обычной лингвистической конструкцией 41 считается синтаксически связанная группа слов, то есть лингвистическое предложение. Предпочтительно, не ограничиваясь, лингвистические предложения, сформированные посредством преобразования особых лингвистических конструкций 41 в лингвистические предложения, представляют собой элементы 52 четвертой структуры данных 5. При этом, не ограничиваясь, особой лингвистической конструкцией 41 считается лингвистическая конструкция 41, в которой сочетаются признаки обычной лингвистической конструкции 41 (синтаксически связанной группы слов, лингвистического предложения) и системы организации данных (список, таблица из одной строки или столбца), представляющие на практике, в виде примера, но не ограничения, рубрику перечислений. Предпочтительно, не ограничиваясь, лингвистические предложения, полученные посредством воссоздания из содержащихся в реконструируемых лингвистических конструкциях 41 данных отдельных лингвистических предложений, представляют собой элементы 53 четвертой структуры данных 5. Причем, не ограничиваясь, реконструируемыми лингвистическими конструкциями 41 являются таблицы, обладающие признаками логической основы организации данных. Не ограничиваясь, к таким признакам для таблиц относят, как правило, наличие в таблице как минимум двух строк и двух столбцов. При этом, как минимум, одна строка и/или один столбец должны содержать не данные, а наименование данных в строках и/или в столбцах (заголовки строк и/или, соответственно, заголовки столбцов). Подобные таблицы обладают признаками организации данных, которые можно описать следующими логическими формулами: «ЕСЛИ <…> , ТО <…>», или «(ЕСЛИ <…> И, ЕСЛИ <…>), ТО <…>». В качестве примера, но не ограничения, для формирования элемента 51 значения системных характеристик 2131 у элементов 21, составляющих элемент 41, могут быть такие: «Текстовый КИО. Строчный машиночитаемый текст. Обычная лингвистическая конструкция. Признаки основной смысловой информации. Логическая функциональная роль». В качестве примера, но не ограничения, для формирования элемента 52 значения системных характеристик 2131 у элементов 21, составляющих элемент 41, могут быть такие: «Текстовый КИО. Списочный машиночитаемый текст. Особая лингвистическая конструкция. Признаки основной смысловой информации. Логическая функциональная роль». В качестве примера, но не ограничения, для формирования элемента 53 значения системных характеристик 2131 у элементов 21, составляющих элемент 41, могут быть такие: «Текстовый КИО. Табличный машиночитаемый текст. Реконструируемая лингвистическая конструкция. Признаки основной смысловой информации. Логическая функциональная роль».
[58] В четвертой структуре данных 5 элементы 51, в качестве примера, но не ограничения, могут именоваться как «ЛПх1», «ЛПх2», «ЛПх3», «ЛПxn», где х - порядковый номер смысловой части 41 в третьей структуре данных 4, в которой содержится обычная лингвистическая конструкция 41, отождествленная с лингвистическим предложением 51, а n≥1 - порядковый номер элемента 51 (лингвистического предложения, отождествленного с обычной лингвистической конструкцией 41) в такой смысловой части 41, начиная с «1». В четвертой структуре данных 5 элементы 52, в качестве примера, но не ограничения, могут именоваться как «ЛПх1», «ЛПх2», «ЛПх3», «ЛПxn», где х - порядковый номер смысловой части 41 в третьей структуре данных 4, в которой содержится особая лингвистическая конструкция 41, из которой сформировано лингвистическое предложение 52, а n≥1 - порядковый номер элемента 52 (лингвистического предложения 52, сформированного из особой лингвистической конструкции 41) в такой смысловой части 41, начиная с «1». В четвертой структуре данных 5 элементы 53, в качестве примера, но не ограничения, могут именоваться как «ЛПх1», «ЛПх2», «ЛПх3», «ЛПxn», где х - порядковый номер смысловой части 41 в третьей структуре данных 4, в которой содержится реконструируемая лингвистическая конструкция 41, из которой воссоздано лингвистическое предложение 53, а n≥1 - порядковый номер элемента 53 (лингвистического предложения 53, воссозданного из данных реконструируемой лингвистической конструкции 41) в такой смысловой части 41, начиная с «1». Предпочтительно, не ограничиваясь, поскольку нумерацию всех лингвистических предложений 51, 52, 53 четвертой структуры данных 5 производят одну по всем лингвистическим предложениям 51, 52, 53 четвертой структуры данных 5, вне зависимости от того первым, вторым или третьим элементом четвертой структуры данных 5 является отдельное лингвистическое предложение 51, 52, 53, то на основании установленных предварительных порядковых номеров форматов «xn» устанавливают порядковые номера всех лингвистических предложений 51, 52, 53 четвертой структуры данных 5 в четвертой структуре данных 5 в формате «ЛП1», «ЛП2», «ЛП3», «ЛПy», где y - порядковый номер элемента 51, 52, 53 четвертой структуры данных 5 в четвертой структуре данных 5. При этом, не ограничиваясь, наименьший номер получают такие лингвистические предложения 51, 52, 53 четвертой структуры данных 5, которые имеют наименьшие значения предварительного порядкового номера в формате «xn». При установлении порядкового номера индекс «х» считают основным номером, а индекс «n» - дополнительным. Наименьший порядковый номер элемента 51, 52, 53 четвертой структуры данных 5 получает такой элемент 51, 52, 53 четвертой структуры данных 5, у которого индекс «x» наименьший, а при равенстве данного индекса у нескольких элементов 51, 52, 53 четвертой структуры данных 5 наименьший порядковый номер получает элемент 51, 52, 53 четвертой структуры данных 5 с наименьшим значением индекса «n» в предварительном порядковом номере. Предпочтительно, не ограничиваясь, идентификацию и формирование элементов 51 четвертой структуры данных в рамках этапа 10051 производят путем выявления в значениях 511 элемента 51 четвертой структуры данных 5 признаков окончания лингвистического предложения и признаков начала лингвистического предложения. Такие признаки формируются и хранятся в специальной пользовательской базе данных (ПБД) и представляют собой список символов текста (текстовых элементов), наличие которых в обычных лингвистических конструкциях 41 третьей структуры данных 4 является признаком начала или окончания лингвистического предложения. В качестве примера, но не ограничения, символами (текстовыми элементами), являющимися признаками начала предложения могут быть: слово (число) с заглавной буквы; первое слово (число) в смысловой части и тому подобное. В качестве примера, но не ограничения, символами (текстовыми элементами), являющимися признаком окончания предложения могут быть: знаки препинания (точка, точка с запятой) с последующим за ним пробелом; последнее слово (число, знак препинания) в смысловой части и тому подобное.
[59] Предпочтительно, не ограничиваясь, для идентификации элементов 51 выявляют такие элементы 41, которые по значениям 2131 системных характеристик 213 смысловых частей 21, входящих в элемент 41, соответствуют упомянутым требованиям к первому элементу 51 четвертой структуры данных 5. Далее в соответствующих упомянутым требованиям элементах 41 выявляются признаки окончания лингвистического предложения и признаки начала лингвистического предложения. По результатам выявления признаков окончания лингвистического предложения и признаков начала лингвистического предложения элемент 41 разделяется на элементы 51, представляющие собой лингвистические предложения 51, содержащиеся в элементе 41. Такой анализ элементов 41 для идентификации и формирования элементов 51 может быть выполнен любым известным из уровня техники способом и, соответственно, подробно далее не описывается. Например, не ограничиваясь, такой анализ может быть выполнен традиционно специалистом-лингвистом, или же с помощью программного алгоритма лингвистического (синтаксического) процессора, или на основе традиционного программирования путем решения задач с помощью кодирования неизменяемых правил (IT-решение «по правилам»). Более того, при наличии достаточного количества примеров возможно выполнение такого анализа с помощью статистического процессора (нейросети, систем ИИ) посредством применения технологии обучения нейросети (систем ИИ). Предпочтительно, не ограничиваясь, при этом идентификацию системных характеристик смысловых частей, составляющих элементы 41 третьей структуры данных 4 СМД и их значений при необходимости производят путем организации запроса в Базу данных системных признаков 20 (БДСП 20), формируемую в рамках этапа 1003 состоящего из идентификационных данных смысловых частей, составляющих элемент 41, и получения значений 2131 системных характеристик 213 смысловых частей 21 информационных объектов 11 оцифрованного документа 1, из которых состоит элемент 41. При этом, как было описано ранее, системными признаками элемента 51 являются как минимум упомянутые значения 2131 форматных и функциональных характеристик 213 смысловых частей 21 информационных объектов 11 оцифрованного документа 1, из которых состоят элементы 41, которые соответствуют требованиям системных признаков элементов 51.
[60] Предпочтительно, не ограничиваясь, идентификацию и формирование элементов 52 четвертой структуры данных в рамках этапа 10052 производят путем выявления в значениях 521 элемента 52 четвертой структуры данных 5 признаков первой части сборного лингвистического предложения и признаков второй части сборного лингвистического предложения. Такие признаки формируются и хранятся в специальной пользовательской базе данных (ПБД) и представляют собой список символов текста (текстовых элементов), наличие которых в электронном текстовом массиве данных (массиве логических данных), состоящем из особых лингвистических конструкций, является признаком первой и второй части сборного лингвистического предложения. В качестве примера, но не ограничения, символами (текстовыми элементами), являющимися признаками начала первой части сборного предложения могут быть: слово (число) с заглавной буквы; первое слово (число) в смысловой части и тому подобное В качестве примера, но не ограничения, символами (текстовыми элементами), являющимися признаками окончания первой части сборного предложения могут быть: знак препинания (двоеточие) с последующим за ним пробелом или символом «перевод строки». В качестве примера, но не ограничения, символами (текстовыми элементами), являющимися признаками начала второй части сборного предложения могут быть: слово (число) со строчной буквы; предшествующий символ - знак препинания (двоеточие или точка с запятой). В качестве примера, но не ограничения, символами (текстовыми элементами), являющимися признаками окончания второй части сборного предложения могут быть: знак препинания (точка с запятой или точка) с последующим за ним пробелом или символом «перевод строки». Практический пример формирования сборных лингвистических предложений из элементов 41, представляющих собой список или рубрику перечисления можно продемонстрировать на следующем примере. Если рубрика перечисления (элемент 41) имеет следующий текст: «Для осуществления приемки-передачи товара покупатель обязан предоставить: чек об уплате товара; доверенность от покупателя; документ, подтверждающий личность доверенного лица», то из него могут быть сформированы следующие элементы 52: «Для осуществления приемки-передачи товара покупатель обязан предоставить чек об уплате товара»; «Для осуществления приемки-передачи товара покупатель обязан предоставить доверенность от покупателя»; «Для осуществления приемки-передачи товара покупатель обязан предоставить документ, подтверждающий личность доверенного лица». Предпочтительно, не ограничиваясь, для идентификации элементов 52 выявляют такие элементы 41, которые по значениям 2131 системных характеристик 213 смысловых частей 21, входящих в элемент 41 соответствуют упомянутым требованиям ко второму элементу 52 четвертой структуры данных 5. Далее, в соответствующих упомянутым требованиям элементах 41 выявляются признаки начала первой части сборного лингвистического предложения и признаки окончания первой части сборного лингвистического предложения, а также признаки начала второй части сборного лингвистического предложения и признаки окончания второй части сборного лингвистического предложения. По результатам выявления всех упомянутых признаков для идентификации элементов 52 элемент 41 разделяется вначале на части элементов 52, из которых формируются элементы 52, представляющие собой сборные лингвистические предложения, содержащиеся в элементе 41. Такой анализ элементов 41 для идентификации и формирования элементов 52 может быть выполнен любым известным из уровня техники способом и, соответственно, подробно далее не описывается. Например, не ограничиваясь, такой анализ может быть выполнен традиционно специалистом-лингвистом, или же с помощью программного алгоритма лингвистического (синтаксического) процессора, или на основе традиционного программирования путем решения задач с помощью кодирования неизменяемых правил (IT-решение «по правилам»). Более того, при наличии достаточного количества примеров возможно выполнение такого анализа с помощью статистического процессора (нейросети, систем ИИ) посредством применения технологии обучения нейросети (систем ИИ). Предпочтительно, не ограничиваясь, идентификацию системных характеристик 213 смысловых частей 21, составляющих элементы 41 третьей структуры данных 4 СМД и их значений при необходимости производят путем организации запроса в базу данных системных признаков 20 (БДСП 20), формируемую в рамках этапа 1003, состоящего из идентификационных данных смысловых частей 21, составляющих элемент 41, и получения значений 2131 системных характеристик 213 смысловых частей 21 информационных объектов 11 оцифрованного документа 1, из которых состоит элемент 41. При этом, как было описано ранее, системными признаками элемента 52 являются как минимум упомянутые значения 2131 форматных и функциональных характеристик 213 смысловых частей 21 информационных объектов 11 оцифрованного документа 1, из которых состоят элементы 41, которые соответствуют требованиям системных признаков элементов 52.
[61] Предпочтительно, не ограничиваясь, идентификацию и формирование элемента 53 четвертой структуры данных в рамках этапа 10053 производят путем выявления в значениях 531 элемента 53 четвертой структуры данных 5 СМД признаков первой части воссозданного лингвистического предложения и признаков второй части воссозданного лингвистического предложения. Такие признаки формируются и хранятся в специальной пользовательской базе данных (ПБД) и представляют собой список символов кода электронной страницы (текстово-табличных символов), наличие которых в электронном текстовом массиве данных (массиве логических данных), состоящем из реконструируемых лингвистических конструкций, является признаком первой и второй части реконструируемого лингвистического предложения. В качестве примера, но не ограничения, символами (текстово-табличными символами), являющимися признаками наименования таблицы могут быть: текстовая строка над таблицей; ячейка первой строки таблицы, содержащая текст, соответствует по ширине всем ячейкам во второй строке; и тому подобное В качестве примера, но не ограничения, символами (текстово-табличными символами), являющимися признаками наименований полей (столбцов) таблицы могут быть: символы, указывающие на число полей первой строки таблицы более одного; символы, указывающие на число полей второй строки таблицы более одного (при наличии первой строки наименования таблицы); символы, указывающие на наименование полей таблицы, расположенных на нескольких строках, и тому подобное. В качестве примера, но не ограничения, символами (текстово-табличными символами), являющимися признаками наименований строк таблицы могут быть: символы, указывающие на число строк таблицы; символы, указывающие на число строк таблицы, в которых содержится наименование полей таблицы; символы, указывающие на число строк таблицы, в которых содержится наименование строк таблицы, и тому подобное. В качестве примера, но не ограничения, символами (текстово-табличными символами), являющимися признаками значений таблицы могут быть: символы, указывающие на ячейки таблицы, не относящихся ни к наименованию таблицы, ни к наименованию полей (столбцов) или строк таблицы, и тому подобное.
[62] Практический пример формирования воссозданных лингвистических предложений из элементов 41, представляющих собой таблицу данных, можно продемонстрировать на следующем примере. Допустим, что таблица №1 (элемент 41, содержащий данные, имеющие следующие значения системных признаков смысловых частей - «Табличный машиночитаемый текст. Реконструируемая лингвистическая конструкция») имеет следующий вид (таблица №1):
[63] Таблица №1:
        
            
            
                
                
                
                
              
            
          
        
[64] Тогда, воссозданные лингвистические предложения 53 могут быть следующими: «Если метод обработки есть черновое обтачивание, то шероховатость должна быть от 160 до 80 мкм»; «Если метод обработки есть черновое обтачивание, то квалитет должен быть от 14 до 12»; «Если метод обработки есть черновое обтачивание, то припуск на сторону должен быть от 1,5 до 3,5 мкм»; «Если метод обработки есть чистовое обтачивание, то шероховатость должна быть от 160 до 80 мкм»; «Если метод обработки есть чистовое обтачивание, то квалитет должен быть от 14 до 12»; «Если метод обработки есть чистовое обтачивание, то припуск на сторону должен быть от 1,5 до 3,5 мкм»; «Если метод обработки есть тонкое обтачивание, то шероховатость должна быть от 160 до 80 мкм»; «Если метод обработки есть тонкое обтачивание, то квалитет должен быть от 14 до 12»; «Если метод обработки есть тонкое обтачивание, то припуск на сторону должен быть от 1,5 до 3,5 мкм». Предпочтительно, не ограничиваясь, для идентификации элементов 53 выявляют такие элементы 41, которые по значениям 2131 системных характеристик 213 смысловых частей 21, входящих в элемент 41 соответствуют упомянутым требованиям к третьему элементу 53 четвертой структуры данных 5. Далее в соответствующих упомянутым требованиям элементах 41 выявляются признаки наименования таблицы, признаки наименований полей (столбцов) таблицы, а также признаки наименований строк таблицы и признаки значений таблицы. По результатам выявления всех упомянутых признаков для идентификации элементов 53 элемент 41 разделяется вначале на части элементов 53, из которых формируются элементы 53, представляющие собой воссозданные лингвистические предложения 53, содержащиеся в элементе 41. Такой анализ элементов 41 для идентификации и формирования элементов 53 может быть выполнен любым известным из уровня техники способом и, соответственно, подробно далее не описывается. Например, не ограничиваясь, такой анализ может быть выполнен традиционно специалистом-лингвистом, или же с помощью программного алгоритма лингвистического (синтаксического) процессора, или на основе традиционного программирования путем решения задач с помощью кодирования неизменяемых правил (IT-решение «по правилам»). Более того, при наличии достаточного количества примеров возможно выполнение такого анализа с помощью статистического процессора (нейросети, систем ИИ) посредством применения технологии обучения нейросети (систем ИИ). Предпочтительно, не ограничиваясь, идентификацию системных характеристик 213 смысловых частей 21, составляющих элементы 41 третьей структуры данных 4 СМД и их значений при необходимости производят путем организации запроса в базу данных системных признаков 20 (БДСП 20), формируемую в рамках этапа 1003, состоящего из идентификационных данных смысловых частей, составляющих элемент 41, и получения значений 2131 системных характеристик 213 смысловых частей 21 информационных объектов 11 оцифрованного документа 1, из которых состоит элемент 41 третьей СД СМД. При этом, как было описано ранее, системными признаками элемента 53 являются как минимум упомянутые значения 2131 форматных и функциональных характеристик 213 смысловых частей 21 информационного объекта 11 оцифрованного документа 1, из которых состоят элементы 41, которые соответствуют требованиям системных признаков элементов 53.
[65] Предпочтительно, не ограничиваясь, формирование четвертой структуры данных 5 в ходе этапа 10054 производят путем объединения в одной структуре данных элементов 51, 52, 53 четвертой структуры данных 5, а также их идентификационных данных по известным из уровня техники принципам и способам, которые, соответственно далее подробно не описываются.
[66] На фиг. 13, в качестве примера, но не ограничения, изображена общая схема выполнения этапов этапа 1006 формирования пятой структуры данных 6. Предпочтительно, не ограничиваясь, этап 1006 характеризуется: выполнением этапа 1061 идентификации элементов 61 пятой структуры данных 6, на котором идентифицируют элементы 61 пятой структуры данных 6, а также идентификационные данные элементов 61 пятой структуры данных 6, представляющие собой значения 611 элементов 61 пятой структуры данных 6 и порядковые номера 612 элементов 61 пятой структуры данных 6 в соответствующем лингвистическом предложении 51, 52, 53 четвертой структуры данных 5, при этом такие лингвистические предложения 51, 52, 53 содержатся в лингвистических конструкциях 41 третьей структуры данных 4; причем элементами 61 пятой структуры данных 6 являются текстовые элементы 61 лингвистического предложения 51, 52, 53 четвертой структуры данных 5; выполнением этапа 10062 формирования пятой структуры данных 6, на котором формируют пятую структуру данных 6 из идентифицированных элементов 61 пятой структуры данных 6 и их идентификационных данных.
[67] На фиг. 14, в качестве примера, но не ограничения, изображена общая структура сформированной пятой структуры данных 6. Пятая структура данных 6 (пятая СД 6) содержит элементы 61 пятой СД 6, представляющие собой текстовые элементы 61 лингвистических предложений 51, 52, 53 четвертой структуры данных 5, содержащихся в лингвистических конструкциях 41 третьей структуры данных 4 СМД и идентификационные данные текстовых элементов 61 лингвистических предложений 51, 52, 53 четвертой структуры данных 5, содержащихся в лингвистических конструкциях 41 третьей структуры данных 4 СМД, представляющие собой в качестве примера, но не ограничения: значения 611 текстовых элементов 61 в лингвистических предложениях 51, 52, 53 четвертой структуры данных 5; порядковые номера 612 текстовых элементов 61 в лингвистических предложениях 51, 52, 53 четвертой структуры данных 5. Предпочтительно, не ограничиваясь, текстовые элементы 61 лингвистических предложений 51, 52, 53 четвертой структуры данных 5 как элементы 61 пятой структуры данных 6 представляют собой различные обособленные объекты соответствующего лингвистического предложения 51, 52, 53, в качестве примера, но не ограничения: текстовые элементы первого вида (первичные текстовые элементы), представляющие собой в качестве примера, но не ограничения, слова, числа, цифры, индексы (конструкции из цифр и(или) букв и(или) знаков), знаки препинания и тому подобное, при этом, упомянутые объекты лингвистического предложения обособляются в предложении с помощью пробелов, за исключением знаков препинания, которые как минимум с одной стороны (до знака препинания) не имеют пробела; текстовые элементы второго вида (сложные текстовые элементы), представляющие собой в качестве примера, но не ограничения, словоформы или группы слов, являющиеся одним объектом в соответствии с правилами морфологии (сложная словоформа или морфоомоним). Например, слова «в», «соответствии» и «с» представляют собой несколько первичных ТЭ, хотя при этом они же (группа слов) являются одним сложным текстовым элементом «в соответствии с». На практике пользователь самостоятельно заранее устанавливает критерии для текстовых элементов, уточняя интересующий его вид текстовых элементов лингвистического предложения. Предпочтительно, не ограничиваясь, значением 611 текстового элемента 61 является набор всех символов (букв, цифр, символов, знаков препинания, пробелов), из которых состоит элемент 61 в лингвистическом предложении 51, 52, 53. Предпочтительно, не ограничиваясь, порядковым номером 612 текстового элемента 61 является порядковый номер 612 текстового элемента 61 в лингвистическом предложении 51, 52, 53 четвертой структуры данных 5. В структуре данных элементы 61 в качестве примера, но не ограничения, могут именоваться как «ТЭ1.х», «ТЭ2.х», «ТЭ3.х» «ТЭn.x», где n≥1 - порядковый номер текстового элемента 61 в лингвистическом предложении 51, 52, 53 четвертой структуры данных 5, а x≥1 - соответствующий порядковый номер 512, 522, 532 лингвистического предложения 51, 52, 53 в четвертой структуре данных.
[68] Предпочтительно, не ограничиваясь, идентификацию и формирование текстовых элементов 61 пятой структуры данных 6 в ходе этапа 10061 производят путем анализа текста и выявления (выделения) отдельных текстовых элементов 61 согласно их виду и описанию, которое должно быть известно заранее. Например, но не ограничиваясь, такой анализ может производиться путем выделения в предложении слов, чисел или индексов, разделенных друг от друга пробелом, а также знаков препинания, которые присоединены к упомянутым словам, числам и индексам. При этом предпочтительно, чтобы последний знак препинания в предложении не учитывался и не рассматривался в качестве текстового элемента 61 лингвистического предложения 51 четвертой структуры данных 5. Предпочтительно, не ограничиваясь, при идентификации текстовых элементов 61, представляющих собой сложные текстовые элементы 61 в случае, если заранее был установлен такой вид текстовых элементов 61, производят запрос в отдельные базы данных (например, не ограничиваясь, в подключаемый электронный морфологический словарь) для подтверждения состава сложного текстового элемента 61 с целью его дальнейшей идентификации как текстового элемента 61 в лингвистическом предложении 51 четвертой структуры данных 5. Такой анализ лингвистических предложений 51 четвертой структуры данных 5 для идентификации и формирования текстовых элементов 61 может быть выполнен любым известным из уровня техники способом и, соответственно, подробно далее не описывается. Например, не ограничиваясь, такой комплексный анализ может быть выполнен традиционно специалистом-лингвистом, или же с помощью программного алгоритма лингвистического (синтаксического) процессора, или же на основе традиционного программирования путем решения задач с помощью кодирования неизменяемых правил (IT-решение «по правилам»). Более того, при наличии достаточного количества примеров возможно выполнение такого анализа с помощью статистического процессора (нейросети, систем ИИ) посредством применения технологии обучения нейросети (систем ИИ). Предпочтительно, не ограничиваясь, формирование пятой структуры данных в ходе этапа 10062 производят путем объединения в одной структуре данных элементов 61 пятой структуры данных 6, а также их идентификационных данных по известным из уровня техники принципам и способам, которые, соответственно далее подробно не описываются.
[69] На фиг. 15, в качестве примера, но не ограничения, изображена общая схема выполнения этапов этапа 1007 формирования базы данных лингво-логическо-предметных признаков 30 (БДЛЛПП 30), представляющей собой базу данных лингвистических, логических и предметных признаков текстовых элементов 61 лингвистических предложений 51, 52, 53 содержащихся в лингвистических конструкциях 41 третьей структуры данных 4. Предпочтительно, не ограничиваясь, этап 1007 характеризуется: выполнением этапа 10071 формирования первой части лингво-логическо-предметных признаков текстовых элементов 61 лингвистических предложений 51, 52, 53 четвертой структуры данных 5, на котором для лингвистического анализа текстовых элементов 61, содержащихся в пятой структуре данных 6 и классифицированных как слово, предоставляют идентификационные данные таких текстовых элементов 61 и получают лингвистические характеристики таких текстовых элементов 61, а также значения упомянутых лингвистических характеристик; выполнением этапа 10072 формирования второй части лингво-логическо-предметных признаков текстовых элементов 61 лингвистических предложений 51, 52, 53 четвертой структуры данных 5, на котором для логического анализа текстовых элементов 61, содержащихся в пятой структуре данных 6 и классифицированных как слово, предоставляют идентификационные данные таких текстовых элементов 61, а также лингвистические характеристики таких текстовых элементов 61 вместе с упомянутыми значениями лингвистических характеристик, и получают логические характеристики таких текстовых элементов 61 каждого лингвистического предложения 51, 52, 53, а также значения упомянутых логических характеристик; выполнением этапа 10073 формирования третьей части лингво-логическо-предметных признаков текстовых элементов 61 лингвистических предложений 51, 52, 53 четвертой структуры данных 5, на котором для предметного анализа текстовых элементов 61, содержащихся в пятой структуре данных 6 и классифицированных как слово, предоставляют идентификационные данные таких текстовых элементов 61, а также лингвистические характеристики таких текстовых элементов 61 вместе с упомянутыми значениями лингвистических характеристик и предоставляют логические характеристики таких текстовых элементов 61, а также значения упомянутых логических характеристик, и получают характеристики таких текстовых элементов 61 в предметной области, являющиеся предметными характеристиками, а также значения упомянутых предметных характеристик; выполнением этапа 10074 формирования базы данных лингво-логическо-предметных признаков 20, на котором формируют базу данных лингво-логическо-предметных признаков 30 текстовых элементов 61 лингвистического предложения 51, 52, 53 четвертой структуры данных 5, при этом лингво-логическо-предметными признаками текстовых элементов 61 лингвистического предложения 51, 52, 53 четвертой структуры данных 5 являются полученные для каждого текстового элемента 61 в ходе этапов 10071, 10072 и 10073 упомянутые лингвистические характеристики, упомянутые логические характеристики и упомянутые предметные характеристики, обладающие соответственно упомянутыми значениями лингвистических характеристик, упомянутыми значениями логических характеристик и упомянутыми значениями предметных характеристик.
[70] На фиг. 16, в качестве примера, но не ограничения, изображена общая структура сформированной базы данных лингво-логическо-предметных признаков 30 (БДЛЛПП 30), являющейся базой данных лингво-логическо-предметных признаков 30 текстовых элементов 61 лингвистического предложения 51 четвертой структуры данных 5. Предпочтительно, не ограничиваясь, практическим назначением БДЛЛПП 30 является формирование двух взаимосвязанных групп характеристик: лингво-логических и логически-предметных характеристик. Предпочтительно, не ограничиваясь, первая группа (лингво-логические характеристики) необходима для выделения из лингвистического предложения 51, 52, 53 логических конструкций (итоговых суждений, простых суждений, элементов простых суждений (понятий, признаков понятий, образов)) для преобразования лингвистического предложения в логические конструкции, представляющие собой в качестве примера, но не ограничения, простые суждения, итоговые суждения. Вторая группа (логически-предметные характеристики) необходима для формирования предметно-ориентированной структурированной информации путем корреляции логических объектов упомянутых логических конструкций с предметными объектами предметных конструкций - объектами и конструкциями, принятыми в конкретной предметной области и установленными в формализованной модели элементов конструкции предметной области. В качестве примера, но не ограничения, такой предметной областью может быть юридическая наука (право). В этом случае коррелируемой предметной конструкцией будет формализованная модель структурной части правовой нормы (гипотезы, диспозиции или санкции), а предметными объектами - элементы формализованной модели структурной части правовой нормы (элементы ФМСЧПН), которыми могут быть в качестве примера, но не ограничения, субъект правоотношений, объект правоотношений, содержание правоотношений, и тому подобное.
[71] Предпочтительно, не ограничиваясь, первая часть лингво-логическо-предметных признаков 613 текстовых элементов 61 лингвистического предложения 51, 52, 53 четвертой структуры данных 5 содержит лингвистические характеристики - морфологические, синтаксические и семантические характеристики. При этом, не ограничиваясь, совокупность значений всех лингвистических характеристик текстового элемента является для каждого текстового элемента 61 лингвистического предложения 51, 52, 53 четвертой структуры данных 5 его отличительным (уникальным) лингвистическим признаком в лингвистическом предложении 51, 52, 53 четвертой структуры данных 5. Морфологические характеристики предпочтительно указывают на морфологические признаки текстовых элементов 61 лингвистического предложения 51 четвертой структуры данных, которые могут быть классифицированы, в качестве примера, но не ограничения, по уровню вложенности (род-вид-подвид). При этом морфологическими родами текстовых элементов 61 лингвистического предложения 51, 52, 53 четвертой структуры данных 5 предпочтительно являются слово, цифра, знаки препинания, иные знаки; морфологическими видами - часть речи (для слов), вид цифры (арабская, римская), вид знака препинания (точка, запятая и тому подобное), вид иного знака; морфологическими подвидами - род, число, падеж частей речи и тому подобное для слов, а также число, двоичный код, индекс и тому подобное для цифр. Синтаксические характеристики предпочтительно указывают на множество синтаксических признаков текстовых элементов 61 лингвистического предложения 51, 52, 53 четвертой структуры данных 5, среди которых можно выделить, в качестве примера, но не ограничения, следующие синтаксические признаки текстовых элементов 61 лингвистического предложения 51, 52, 53 четвертой структуры данных 5: синтаксическая роль (сказуемое, подлежащее и тому подобное); синтаксический родитель (синтаксически главное слово); синтаксические потомки (синтаксически подчиненные слова); синтаксическая сочинительная связь (наличие иного текстового элемента, имеющего ту же синтаксическую роль и того же синтаксического родителя). Семантические характеристики предпочтительно указывают на семантические признаки текстовых элементов 61 лингвистического предложения 51, 52, 53 четвертой структуры данных 5, среди которых можно выделить, в качестве примера, но не ограничения, следующие семантические характеристики текстовых элементов 61 лингвистического предложения 51, 52, 53 четвертой структуры данных 5: семантическая группа (группа слов, которые можно отнести к одному классу, роду, виду или подвиду предметов или действий окружающего мира при совпадении признаков упомянутых классов, родов, видов или подвидов), семантический статус (смысловое значение слова или группы слов в рамках словосочетания, которым называется некий мыслимый образ (предмет или действие) - например, но не ограничиваясь, мыслимый образ «отсутствие продавца в месте нахождения потребителя» состоит из двух элементов верхнего уровня (терминов): первого - «отсутствие продавца», и второго - «месте нахождения потребителя», у которых имеются следующие семантические статусы: у первого - главный (определяет смысл термина), у второго - дополнительный (уточняет определенный ранее смысл главного термина)).
[72] Предпочтительно, не ограничиваясь, вторая часть лингво-логическо-предметных характеристик 614 текстовых элементов 61 лингвистического предложения 51, 52, 53 четвертой структуры данных 5 содержит логические характеристики. При этом совокупность значений всех логических характеристик текстового элемента является для каждого текстового элемента 61 лингвистического предложения 51, 52, 53 четвертой структуры данных 5 его отличительным (уникальным) логическим признаком в лингвистическом предложении 51, 52, 53 четвертой структуры данных. Логические характеристики предпочтительно указывают на логические признаки текстовых элементов текстовых элементов лингвистического предложения 51, 52, 53 четвертой структуры данных 5, среди которых можно выделить, в качестве примера, но не ограничения, следующие логические характеристики текстовых элементов 61 лингвистического предложения 51, 52, 53 четвертой структуры данных 5: логические роли каждого слова, являющегося текстовым элементом 61 в лингвистическом предложении 51, 52, 53 четвертой структуры данных 5. Под логической ролью слова понимается логическая позиция слова в логических сущностях (логических объектах) предложения, среди которых можно выделить, в качестве примера, но не ограничения, следующие логические сущности (логические объекты): понятие, признак понятия, термин (часть образа), образ (элемент простого суждения), простое суждение, сложное суждение. Выявление логической роли слова в самых простых логических объектах (понятие и признак понятия) не зависит от вида логической конструкции суждения, и представляет собой метку (индекс), который указывает на то, чем является данное слово в указанных простых логических объектах. Например, слово «закон» всегда есть логический объект «понятие», а слово «федеральный» есть логический объект «признак понятия». Выявление логической роли слова в более сложных (составных) логических объектах (например, термин и образ) зависит от формализованной модели логической конструкции суждения (ФМЛКС), в привязке к элементам которой (к логическим объектам формализованной модели логической конструкции суждения) и будет установлена логическая роль слова.
[73] Предпочтительно, не ограничиваясь, необходимым условием для формирования лингво-логических признаков является наличие в лингвистическом и логическом массивах данных коррелируемых объектов (объектов, допустимых для сравнения). Вопрос о допустимости сравнения текстового элемента 61 предложения 51, 52, 53 с логическими объектами можно решить на основании анализа сопоставимости логических объектов ФМЛКС с текстовыми элементами 61 предложения 51, 52, 53. Такой анализ показывает, что если текстовые элементы могут являться такими логическими объектами как «признак понятия» (например, слово «установленный»), то отдельные текстовые элементы предложения никак не соотносятся с логическими объектами, такими как «понятие», выраженными через группу первичных текстовых элементов 61 (например, «нарушение прав потребителей»). А поскольку, элементом (логическим объектом) ФМЛКС может быть не только понятие с признаком (например, «установленное нарушение прав потребителей» - группа из четырех первичных текстовых элементов), но и значительно большая конструкция из синтаксически связанных слов (например, логический объект «субъект» может иметь следующий лингвистический вид: «обязанности исполнять в пределах своих полномочий решения судьи о проведении оперативно-розыскных мероприятий»), то можно сделать вывод о недопустимости сравнения текстовых элементов предложения с логическими объектами. Предпочтительно, не ограничиваясь, лингвистическим объектом предложения, который может быть сопоставим с логическим объектом ФМЛКС, может быть синтаксическая единица (СЕ). Синтаксическая единица - это словоформа или словосочетание (синтаксически связанная группа слов). Гибкий формат синтаксической единицы позволяет ей соответствовать любым логическим объектам, составляющим ФМЛКС. Таким образом, выявляемые актуальные лингво-логические характеристики с практической точки зрения важны не столько для описания отдельных текстовых элементов 61, сколько для актуальных синтаксических единиц (актуальных СЕ), которые состоят из одного или нескольких текстовых элементов 61 предложения 51, 52, 53. Актуальные СЕ - это актуальный перечень синтаксических единиц, коррелируемых с актуальными логическими объектами актуальной ФМЛКС. Актуальные СЕ и актуальная ФМЛКС устанавливаются предварительно и записываются в первую пользовательскую базу данных (первую ПБД), являющуюся таким образом базой данных актуальных синтаксических единиц (актуальных СЕ), актуальных логических объектов (актуальных ЛогО) и актуальной ФМЛКС, включая таблицу корреляции актуальных СЕ и актуальных ЛогО.
[74] Предпочтительно, не ограничиваясь, третья часть лингво-логическо-предметных характеристик 615 текстовых элементов 61 лингвистического предложения 51, 52, 53 четвертой структуры данных 5 содержит предметные характеристики. При этом совокупность значений всех предметных характеристик текстового элемента является для каждого текстового элемента 61 лингвистического предложения 51, 52, 53 четвертой структуры данных 5 его отличительным (уникальным) предметным признаком в лингвистическом предложении 51, 52, 53. Предметные характеристики предпочтительно указывают на предметные признаки текстовых элементов 61 лингвистического предложения 51, 52, 53 четвертой структуры данных 5, среди которых можно выделить, в качестве примера, но не ограничения, следующие предметные характеристики текстовых элементов 61 лингвистического предложения 51, 52, 53 четвертой структуры данных 5, в качестве примера, но не ограничения, в предметной области права: правовые роли каждого слова, являющегося текстовым элементом 61 (коррелированной с отдельной актуальной СЕ или частью актуальной СЕ), в лингвистическом предложении 51, 52, 53 четвертой структуры данных 5. Под правовой ролью слова понимается правовая позиция слова в правовых сущностях (правовых объектах) предложения, среди которых можно выделить, в качестве примера, но не ограничения, следующие правовые сущности (правовые объекты): правовое понятие, признак правового понятия, правовой термин, субъект правоотношений, объект правоотношений, элемент содержания правоотношений, гипотеза, диспозиция, санкция (структурная часть правовой нормы), правовая норма. Выявление правовой роли слова в самых простых правовых объектах (правовое понятие и признак правового понятия) не зависит от вида правовой конструкции, и представляет собой метку (индекс), который указывает на то, чем является данное слово в указанных простых правовых объектах. Например, слово «закон» всегда есть правовой объект «объект правоотношений», а слово «федеральный» есть признак правового объект «признак объекта правоотношений». Выявление правовой роли слова в более сложных (составных) правовых объектах (например, в гипотезе, диспозиции или санкции) зависит от формализованной модели структурной части правовой нормы, в привязке к элементам которой (к правовым объектам формализованной модели логической конструкции суждения) и будет установлена правовая роль слова.
[75] Предпочтительно, не ограничиваясь, необходимым условием для формирования логико-предметных признаков является наличие в логическом и предметном массивах данных коррелируемых объектов (объектов, допустимых для сравнения). Если в качестве примера, но не ограничения, под предметной областью иметь в виду предметную область права, то тогда вопрос о допустимости сравнения сравниваемых объектов можно рассмотреть не умозрительно, а практически. Практический вопрос о возможности сравнения логических объектов предложения с правовыми объектами можно решить на основании результатов научных исследований в данной предметной области. Из открытых источников достоверно известно, что правоведы обоснованно полагают, что с точки зрения логики любая правовая норма представляет собой суждение. А юридическая и логическая конструкции правовой нормы получают свое отражение в специфической форме языковой конструкции, в которой лингвистика играет роль юридико-технического инструмента. В тексте нормативного акта любое суждение выражается в форме повествовательного предложения. При этом, не ограничиваясь, логическая структура суждения соответствует грамматической структуре сложноподчиненного предложения. По своему смыслу грамматическая структура предложения совпадает с юридической структурой нормы права. В настоящее время теория нормы права в полной мере позволяет считать любую правовую норму суждением и подтверждает факт наличия взаимосвязей и единства нормы права как единства юридической, логической и грамматической конструкций. Таким образом, взаимосвязи юридической и логической конструкций являются основанием для наличия взаимосвязей (корреляции) элементов юридической и логической конструкций. Иными словами, логические объекты логических конструкций и правовые объекты юридических конструкций являются объектами, допустимыми для сравнения. При этом результатом такого сравнения является корреляция (соотнесение) конкретных правовых объектов с конкретными логическими объектами. Такая корреляция становится практически возможной при наличии формализованных моделей (правовой и логической), содержащей коррелируемые объекты. Приоритетной формализованной моделью является правовая (предметная) формализованная модель (формализованной модели структурной части правовой нормы), поскольку количество и вид объектов (элементов) правовой (предметной) формализованной модели задает уровень детализации и глубину структурирования логической формализованной модели (формализованной модели логической конструкции суждения). Актуальная формализованная модель базовой конструкции предметной области (ФМБКПО) устанавливается предварительно и записывается во вторую пользовательскую базу данных (вторую ПБД), являющуюся таким образом базой данных актуальных базовых предметных объектов (актуальных БПО) и ФМБКПО, включая таблицу корреляции актуальных БПО и актуальных логических объектов (актуальных ЛогО).
[76] Предпочтительно, не ограничиваясь, формирование первой части лингво-логическо-предметных характеристик - лингвистических характеристик 613 и их значений 6131 - для текстовых элементов 61 каждого лингвистического предложения 51, 52, 53 четвертой структуры данных 5 предпочтительно производят на этапе 10071 путем первого комплексного анализа каждого текстового элемента 61 лингвистического предложения 51, 52, 53 четвертой структуры данных 5, представляющего собой анализ упомянутых текстовых элементов 61, в качестве примера, но не ограничения например, анализ на основе местонахождения текстового элемента в структуре предложения, его значения, вида, классификации его мыслимого образа и анализа его связей с другими текстовыми элементами в предложении, а также информации из первой ПБД об актуальных СЕ. По результатам первого комплексного анализа предпочтительно производится формирование лингвистических характеристик 613 и их внесение на этапе 10074 в БДЛЛПП 30 в виде перечня лингвистических характеристик 613 со значениями этих характеристик 6131. Например, но не ограничиваясь, одной из лингвистических характеристик 613 может быть «синтаксическая роль» текстовых элементов 61 лингвистического предложения 51, 52, 53 четвертой структуры данных 5, со значением данной лингвистической характеристики, например «подлежащее», а также может быть «синтаксическая роль» актуальной СЕ, состоящей как из одного текстового элемента 61 лингвистического предложения 51, 52, 53 четвертой структуры данных 5, так и из группы упомянутых текстовых элементов 61, со значением данной лингвистической характеристики, например, «обстоятельство места». Такой анализ может быть выполнен любым известным из уровня техники способом и, соответственно, подробно далее не описывается. Например, не ограничиваясь, такой комплексный анализ может быть выполнен традиционно специалистом-лингвистом, или же с помощью программного алгоритма лингвистического (синтаксического) процессора, или же на основе традиционного программирования путем решения задач с помощью кодирования неизменяемых правил (IT-решение «по правилам»). Более того, при наличии достаточного количества примеров возможно выполнение такого анализа с помощью статистического процессора (нейросети, систем ИИ) посредством применения технологии обучения нейросети (систем ИИ).
[77] Предпочтительно, не ограничиваясь, формирование второй части лингво-логическо-предметных характеристик - логических характеристик 614 и их значений 6141 - для текстовых элементов 61 каждого лингвистического предложения 51, 52, 53 четвертой структуры данных 5 предпочтительно производят на этапе 10072 путем второго комплексного анализа каждого текстового элемента 61 лингвистического предложения 51, 52, 53 четвертой структуры данных 5, а также каждой актуальной СЕ, представляющего в качестве примера, но не ограничения анализ упомянутых текстовых элементов 61 (либо нескольких упомянутых текстовых элементов 61, составляющих актуальную СЕ) на основе местонахождения упомянутого текстового элемента 61 (группы упомянутых текстовых элементов 61) в структуре предложения, его значения, вида, классификации его мыслимого образа и анализа его связей с другими текстовыми элементами в предложении, а также анализа выявленных лингвистических характеристик 613 и их значений 6131, а также информации из первой ПБД об актуальных СЕ, коррелируемых с актуальными ЛогО, установленными в ФМЛКС. Не ограничиваясь, по результатам второго комплексного анализа предпочтительно производится формирование логических характеристик 614 текстовых элементов 61 лингвистического предложения 51, 52, 53 четвертой структуры данных 5 и их внесение на этапе 10074 в БДЛЛПП 30 в виде перечня логических характеристик 614 со значениями этих характеристик 6141. Например, но не ограничиваясь, одной из логических характеристик 614 упомянутого текстового элемента 61 может быть «логическая роль» упомянутого текстового элемента 61 со значением данной логической характеристики «признак понятия», либо одной из логических характеристик 614 группы упомянутых текстовых элементов 61 (актуальной СЕ) может быть «логическая роль» группы упомянутых текстовых элементов 61 (актуальной СЕ), со значением данной логической характеристики - «субъект суждения». Такой анализ может быть выполнен любым известным из уровня техники способом и, соответственно, подробно далее не описывается. Например, не ограничиваясь, такой комплексный анализ может быть выполнен традиционно специалистом-лингвистом, или же с помощью программного алгоритма лингвистического (синтаксического) процессора, или же на основе традиционного программирования путем решения задач с помощью кодирования неизменяемых правил (IT-решение «по правилам»). Более того, при наличии достаточного количества примеров возможно выполнение такого анализа с помощью статистического процессора (нейросети, систем ИИ) посредством применения технологии обучения нейросети (систем ИИ).
[78] Предпочтительно, не ограничиваясь, формирование третьей части лингво-логическо-предметных характеристик - предметных характеристик 615 и их значений 6151 - для текстовых элементов 61 каждого лингвистического предложения 51, 52, 53 четвертой структуры данных 5 предпочтительно производят на этапе 10073 путем третьего комплексного анализа каждого текстового элемента 61 лингвистического предложения 51, 52, 53 четвертой структуры данных 5, а также каждого актуального ЛогО, анализ представляет собой, в качестве примера, но не ограничения, анализ упомянутых текстовых элементов 61 (либо нескольких упомянутых текстовых элементов 61), составляющих актуальный ЛогО на основе логических характеристик 614 и их значений 6141, его связей с другими логическими объектами в предложении, а также информации из первой ПБД об актуальных ЛогО, коррелируемых с предметными объектами, установленными в ФМБКПО, включая таблицу корреляции актуальных БПО и актуальных ЛогО. Предпочтительно, не ограничиваясь, по результатам третьего комплексного анализа предпочтительно производится формирование предметных характеристик 615 текстовых элементов 61 лингвистического предложения 51, 52, 53 четвертой структуры данных 5 и их внесение на этапе 10074 в БДЛЛПП 30 в виде перечня предметных характеристик 615 со значениями этих характеристик 6151. Например, но не ограничиваясь, одной из предметных характеристик 615 упомянутого текстового элемента 61 в предметной области права (юриспруденции) может быть «правовая роль» упомянутого текстового элемента 61 со значением данной предметной характеристики 6151 «субъект правоотношений». Такой анализ может быть выполнен любым известным из уровня техники способом и, соответственно, подробно далее не описывается. Например, не ограничиваясь, такой комплексный анализ может быть выполнен традиционно специалистом-лингвистом, или же с помощью программного алгоритма лингвистического (синтаксического) процессора, или же на основе традиционного программирования путем решения задач с помощью кодирования неизменяемых правил (IT-решение «по правилам»). Более того, при наличии достаточного количества примеров возможно выполнение такого анализа с помощью статистического процессора (нейросети, систем ИИ) посредством применения технологии обучения нейросети (систем ИИ).
[79] Предпочтительно, не ограничиваясь, на основании выявленных первой части лингво-логическо-предметных характеристик 613 текстовых элементов 61 лингвистических предложений 51, 52, 53 четвертой структуры данных 5 и их значений 6131, второй части лингво-логическо-предметных характеристик 614 текстовых элементов 61 лингвистических предложений 51, 52, 53 четвертой структуры данных 5 и их значений 6141, а также третьей части лингво-логическо-предметных характеристик 614 текстовых элементов 61 лингвистических предложений 51, 52, 53 четвертой структуры данных 5 и их значений 6141 в итоге формируют базу данных лингво-логическо-предметных признаков 20, являющуюся БДЛЛПП 30 текстовых элементов 61 лингвистических предложений 51, 52, 53 четвертой структуры данных 5. При этом первая часть лингво-логическо-предметных характеристик 613 текстовых элементов 61 лингвистических предложений 51, 52, 53 четвертой структуры данных 5 и их значения 6131 формируют уникальные лингвистические признаки текстовых элементов 61 лингвистических предложений 51, 52, 53 четвертой структуры данных 5, вторая часть лингво-логическо-предметных характеристик 614 текстовых элементов 61 лингвистических предложений 51, 52, 53 четвертой структуры данных 5 и их значения 6141 формируют уникальные логические признаки текстовых элементов 61 лингвистических предложений 51, 52, 53 четвертой структуры данных 5, а третья часть лингво-логических характеристик 615 текстовых элементов 61 лингвистических предложений 51, 52, 53 четвертой структуры данных 5 и их значения 6151 формируют уникальные предметные признаки текстовых элементов 61 лингвистических предложений 51, 52, 53 четвертой структуры данных 5.
[80] На фиг. 17, в качестве примера, но не ограничения, изображена общая схема выполнения этапов этапа 1008 формирования шестой структуры данных 7. Предпочтительно, не ограничиваясь, этап 1008 характеризуется: выполнением этапа 1081, формирования элементов 71 шестой структуры данных 7, на котором на основании сведений, содержащихся в базе данных лингво-логическо-предметных признаков 20, пятой структуре данных 6, а также на основании данных из первой пользовательской базы данных, содержащей данные об актуальных синтаксических единицах и актуальных логических объектах, а также об актуальной формализованной модели логической конструкции суждения, идентифицируют и формируют элементы 71 шестой структуры данных 7, являющиеся компонентами простого суждения 71 соответствующих лингвистических предложений 51, 52, 53 четвертой структуры данных 5, а также идентификационные данные упомянутых компонентов простого суждения 71, представляющие собой для каждого упомянутого компонента простого суждения 71 вид 71.1, 71.х такого соответствующего компонента простого суждения 71, значение 711 такого соответствующего компонента простого суждения 71 и порядковый номер 712 такого соответствующего компонента простого суждения 71 в соответствующем лингвистическом предложении 51, 52, 53 четвертой структуры данных 5; выполнением этапа 10082 формирования шестой структуры данных 7, на котором формируют шестую структуру данных 7 из упомянутых компонентов простого суждения 71 и их идентификационных данных. Причем компонентами простых суждений 71 являются компоненты соответствующих простых суждений, причем простые суждения являются простыми суждениями соответствующих лингвистических предложений 51, 52, 53 четвертой структуры данных 5.
[81] На фиг. 18, в качестве примера, но не ограничения, изображена общая структура сформированной шестой структуры данных 7. Предпочтительно, не ограничиваясь, шестая структура данных 7 (шестая СД 7) содержит элементы 71 шестой структуры данных, представляющие собой компоненты простого суждения 71 каждого простого суждения каждого лингвистического предложения 51, 52, 53 четвертой структуры данных 5 и идентификационные данные упомянутых компонентов простого суждения 71, представляющие собой, по меньшей мере, вид 71.1, 71.Х упомянутых компонентов простого суждения 71, значения 711 упомянутых компонентов простого суждения 71, порядковые номера 712 упомянутых компонентов простого суждения 71 соответствующего лингвистического предложения 51, 52, 53 четвертой структуры данных 5, составляющих такие компоненты простого суждения 71 лингвистического предложения 51, 52, 53 четвертой структуры данных 5. Предпочтительно, не ограничиваясь, компоненты простого суждения 71 лингвистического предложения 51, 52, 53 четвертой структуры данных 5 представляют собой элементы простого суждения. Предпочтительно, согласно теории логики, простые суждения, представляют собой набор структурных элементов простого суждения, с помощью которых утверждается или опровергается нечто о предмете суждения. При этом, предпочтительно, основными структурными элементами простого суждения являются субъект и предикат. Предпочтительно, согласно теории логики, субъектом простого суждения признается понятие, выражающее предмет суждения, то есть это то, о чем говорится в данном простом суждении. Предпочтительно, предикатом простого суждения, согласно теории логики, признается то, что утверждается или отрицается о предмете суждения (о субъекте простого суждения). Например, не ограничиваясь, простое предложение «Уполномоченный продавец обязан передать покупателю товар после его оплаты» содержит структурный элемент простого суждения «субъект», имеющий значение «уполномоченный продавец», а также структурный элемент простого суждения «предикат», имеющий значение «обязан передать покупателю товар после его оплаты». При этом, предпочтительно, структурные элементы простых суждений состоят из понятий, которые могут иметь признаки понятий. Например, не ограничиваясь, элемент простого суждения «субъект», имеющий значение «уполномоченный продавец» состоит из понятия «продавец» и признака этого понятия «уполномоченный». Предпочтительно, не ограничиваясь, для практических целей, связанных с настоящим преобразованием структурированного массива данных, являющегося оцифрованным документом 1, выделение в лингвистических предложениях 51, 52, 53 простых суждений, у которых имеется всего два структурных элемента («субъект» и «предикат») не представляет интереса, поскольку основной задачей логической формализации лингвистических предложений 51, 52, 53 четвертой структуры данных 5 является формирование таких формализованных объектов - компонентов простого суждения 71 - которые сами по себе (исходя прежде всего из вида компонента простого суждения 71) поясняют логическую роль таких формализованных объектов (понятия, понятия с признаком, либо группа понятий и признаков понятий, представляющих собой логический образ элемента простого суждения) и их смысловую функцию в простом суждении, исходя из практических задач, которые необходимо решить путем формализации объектов с актуальными смысловыми функциями. Например, не ограничиваясь, в предметной области права необходимо формализовать правовые нормы, содержащиеся в предложениях нормативных актов. Для этого, предпочтительно, не ограничиваясь, специалисты предметной области права создают формализованную модель структурной части правовой нормы (ФМСЧПН), представляющую собой формализованную модель гипотезы, диспозиции или санкции правовой нормы. В такой ФМСЧПН содержатся элементы, которые обладают уникальными смысловыми функциями предметной области права, например, не ограничиваясь, следующие элементы ФМСЧПН: юридические правила и юридические факты (события и обстоятельства, влияющие на практические применение юридического правила). При этом, предпочтительно, юридическое правило состоит из субэлементов (вложенных элементов), представляющих собой субъект правоотношений, объект правоотношений и содержание правоотношений. Причем, предпочтительно, субэлемент содержание правоотношений состоит также из субэлементов (вложенных элементов), а именно - из способа регулирования, влияющих объектов и дефиниенса (определяющего выражения, раскрывающего смысл определяемого понятия или термина либо устанавливающего значение понятия или термина, что означает на практике иное наименование субъекта или объекта правоотношений, либо определение субъекта или объекта правоотношений). Таким образом, предпочтительно, исходя из практической задачи и сформированной для ее решения упомянутой формализованной модели, определяются количество и виды элементов упомянутой формализованной модели (элементов, не содержащих субэлементы и субэлементов). При этом, предпочтительно, каждый элемент такой формализованной модели обладает уникальными смысловыми функциями предметной области, представляя собой актуальные элементы такой формализованной модели. Предпочтительно, такая актуальная формализованная модель является ориентиром для формирования актуальной формализованной модели простого суждения (формализованной модели логической конструкции суждения), и в таком простом суждении структурный элемент «предикат» должен быть разделен на такое число субэлементов, которое, как минимум, равно количеству актуальных элементов формализованной модели предметной области минус один - поскольку среди актуальных элементов формализованной модели предметной области обязательно присутствует один актуальный элемент, который соответствует (коррелирует к) структурному элементу «субъект». При этом, предпочтительно, такая актуальная формализованная модель простого суждения (формализованная модель логической конструкции суждения) содержит актуальные элементы простого суждения с актуальными смысловыми функциями.
[82] В качестве примера, но не ограничения, в таблице №2 продемонстрированы логические роли и смысловые функции структурных элементов простых суждений (логических объектов) предложения «Уполномоченный продавец обязан передать покупателю товар после его оплаты» без учета решения практической задачи и актуальной формализованной модели предметной области.
[83] Таблица №2:
        
            
            
                
                
                
              
            
          
        
[84] Таким образом, предпочтительно, приведенный пример показывает, что простое суждение имеет минимальное количество элементов простого суждения равное двум (субъект, предикат). При этом, предпочтительно, максимальное количество элементов простого суждения зависит исключительно от актуальной формализованной модели простого суждения. В качестве примера, но не ограничения, в таблице №3 продемонстрированы логические роли и смысловые функции актуальных элементов простых суждений (логических объектов) предложения «Уполномоченный продавец обязан передать покупателю товар после его оплаты» с учетом решения практической задачи и с учетом актуальной формализованной модели логической конструкции суждения и актуальной формализованной модели предметной области.
[85] Таблица №3:
        
            
            
                
                
                
                
                
                
                
                
                
              
            
          
        
[86] Таким образом, предпочтительно, компонентами простого суждения 71 лингвистического предложения 51, 52, 53 четвертой структуры данных 5 являются все элементы простого суждения, установленные в актуальной формализованной модели простого суждения (формализованной модели логической конструкции суждения), причем такая актуальная формализованная модель простого суждения содержится в первой пользовательской базе данных (первой ПБД). Предпочтительно, не ограничиваясь, информация о том, какие текстовые элементы 61 лингвистического предложения 51, 52, 53 четвертой структуры данных 5 составляют отдельные компоненты простого суждения 71 лингвистического предложения 51, 52, 53 четвертой структуры данных 5, содержится в базе данных лингво-логическо-предметных признаков 30 (БДЛЛПП 30), сформированной в ходе этапа 1007. Причем, предпочтительно, вид упомянутых компонентов простого суждения 71 и способ корреляции (соотнесения) актуальных логических объектов также содержится в БДЛЛПП 20.
[87] Предпочтительно, не ограничиваясь, компоненты простого суждения 71 (КПС 71) могут быть как минимум двух видов - первые КПС 71.1 и вторые КПС 71.х. предпочтительно, не ограничиваясь, количество вторых КПС 71.х будет соответствовать числу элементов простого суждения в модели простого суждения (формализованной модели логической конструкции суждения). При этом, не ограничиваясь, первым КПС 71.1 (элементом «1» в актуальной формализованной модели логической конструкции суждения) всегда будет субъект. При идентификации вторых КПС 71.х каждый идентифицированный КПС 71.х получит такое значение индекса «x», которое будет соответствовать порядковому номеру элемента простого суждения, представленному в актуальной формализованной модели логической конструкции суждения. Предпочтительно, не ограничиваясь, значениями 711 компонентов простого суждения 71 лингвистических предложений 51, 52, 53 четвертой структуры данных являются значения 711 компонентов простого суждения 71 всех видов (первые КПС 71.1 и вторые КПС 71.х.), которые составляют компонент простого суждения 71. При этом, предпочтительно, под значением 711 компонентов простого суждения 71 имеются в виду значения 711.1 и 711.х всех компонентов простого суждения 71.1 и 71.х, идентифицированных в лингвистическом предложении 51, 52, 53. Предпочтительно, не ограничиваясь, порядковым номером 712 компонента простого суждения 71 являются порядковые номера 712 компонентов простого суждения 71 в лингвистическом предложении 51, 52, 53 четвертой структуры данных 5. В шестой структуре данных 7 элементы 71, в качестве примера, но не ограничения, могут именоваться как «КПС1», КПС2», «КПС3» «КПСn», где n≥1 - порядковый номер компонента простого суждения 71 в лингвистическом предложении 51, 52, 53 четвертой структуры данных 5. При этом, не ограничиваясь, первый по порядку компонент простого суждения 71 в лингвистическом предложении 51, 52, 53 получает порядковый номер «1», следующий получает порядковый номер «2», и так далее до последнего компонента простого суждения в лингвистическом предложении 51, 52, 53, который получает последний по счету порядковый номер. Причем, предпочтительно, последовательность компонентов простого суждения 71 в лингвистическом предложении 51, 52, 53 определяется порядковым номером первого текстового элемента 61, из которого сформирована лингвистическая конструкция 41, которая является источником данных для формирования лингвистического предложения 51, 52, 53. Иными словами, предпочтительно, последовательность компонентов, исходя из порядкового номера его первого текстового элемента, может быть не вида «1-2-3-4» и так далее, а, например, не ограничиваясь, вида «3-7-11-12-14-20» и так далее, то есть на основании номеров первых текстовых элементов 61 компонентов простого суждения 71 в лингвистическом предложении 51, 52, 53 четвертой структуры данных 5. При этом, предпочтительно, под значениями 712 компонентов простого суждения 71 имеются в виду значения 712.1 и 712.х всех компонентов простого суждения 71.1 и 71.х, идентифицированных в лингвистическом предложении 51, 52, 53 четвертой структуры данных 5. Предпочтительно, не ограничиваясь, при этом различные виды 71.1, 71.х компонентов простого суждения 71 лингвистического предложения 51, 52, 53 четвертой структуры данных 5 идентифицируют и формируют на основании данных из базы данных лингво-логическо-предметных признаков 30 (БДЛЛПП 30), содержащей, как информацию о видах элементов простого суждения, так и информацию о содержании отдельных элементов простого суждения (то есть, из каких текстовых элементов 61 состоит каждый компонент простого суждения 71 в лингвистическом предложении 51, 52, 53 четвертой структуры данных 5). Предпочтительно, не ограничиваясь, идентификацию и формирование компонентов простого суждения 71 лингвистического предложения 51, 52, 53 четвертой структуры данных 5 в ходе этапа 10081 производят путем комплексного лингво-логического анализа элементов 61 пятой структуры данных 6 - упомянутых текстовых элементов 61 и их идентификационных данных. Такой комплексный анализ текстовых элементов 61 лингвистического предложения 51, 52, 53 четвертой структуры данных 5 производится с помощью сведений о текстовых элементах 61 из сформированной БДЛЛПП 20, а также на основании данных актуальной формализованной модели логической конструкции суждения (ФМЛКС). При этом, предпочтительно, актуальная формализованная модель логической конструкции суждения содержит, как минимум, два вида компонентов - первый КПС 71.1 и второй КПС 71.х. Таким образом, предпочтительно, формализованной моделью логической конструкции суждения считается такая система описания простого суждения, которая имеет не менее чем два упомянутых компонента. Целью упомянутого комплексного анализа является выявление в лингвистическом предложении всех компонентов простого суждения, установленных формализованной моделью логической конструкции суждения. Предпочтительно, не ограничиваясь, идентификация и формирование компонентов простого суждения 71 шестой структуры данных 7 в ходе этапа 10081 производится итеративно. Количество шагов этапа 10081 зависит от используемой актуальной формализованной модели логической конструкции суждения. Предпочтительно, не ограничиваясь, упомянутая модель содержит установленное число видов элементов простого суждения, и в соответствии с этим количеством видов определяется количество шагов этапа 10081, поскольку в рамках одного шага возможны идентификация одного вида элемента простого суждения и формирование только одного вида компонента простого суждения 71. При этом, не ограничиваясь, поскольку формализованная модель логической конструкции суждения минимально может содержать не менее двух компонентов, минимальное число шагов также будет равняться двум. В качестве примера, но не ограничения, в таблице №4 приведен пример идентификации и формирования компонентов простого суждения 71 в лингвистическом предложении «Уполномоченный продавец обязан передать покупателю товар после его оплаты» в соответствии с восьмиэлементной актуальной формализованной моделью логической конструкции суждения, указанной в таблице №4.
[88] Таблица №4:
        
/
Шага
            
            
                
                
                
                
                
                
                
                
                
              
            
          
        
[89] Предпочтительно, не ограничиваясь, именование актуальных элементов формализованной модели простого суждения, идентификацию актуальных элементов формализованной модели простого суждения в лингвистическом предложении, идентификацию вида КПС 71, идентификацию значения КПС 71 при необходимости производят путем организации запроса в базу данных лингво-логическо-предметных признаков 30 (БДЛЛПП 30) текстовых элементов 61 лингвистических предложений 51, 52, 53 четвертой структуры данных 5, формируемую в рамках этапа 1007, состоящего из идентификационных данных текстовых элементов 61 лингвистического предложения 51, 52, 53 четвертой структуры данных 5, и получения перечня элементов актуальной формализованной модели простого суждения, а также информацию по каждому текстовому элементу 61 и о том, в какие элементы простого суждения входят упомянутые текстовые элементы 61. Предпочтительно, не ограничиваясь, такие идентификация и формирование элементов КПС 71 могут быть выполнены любым известным из уровня техники способом и, соответственно, подробно далее не описывается. Например, не ограничиваясь, такой комплексный анализ может быть выполнен традиционно специалистом-лингвистом, или же с помощью программного алгоритма лингвистического (синтаксического) процессора, или же на основе традиционного программирования путем решения задач с помощью кодирования неизменяемых правил (IT-решение «по правилам»). Более того, при наличии достаточного количества примеров возможно выполнение такого анализа с помощью статистического процессора (нейросети, систем ИИ) посредством применения технологии обучения нейросети (систем ИИ).
[90] Предпочтительно, не ограничиваясь, формирование шестой структуры данных 7 СМД в ходе этапа 10082 производят путем объединения в одной структуре данных элементов 71 (КПС 71) шестой структуры данных 7, а также их идентификационных данных по известным из уровня техники принципам и способам, которые, соответственно далее подробно не описываются.
[91] На фиг. 19, в качестве примера, но не ограничения, изображена общая схема выполнения этапов этапа 1009 формирования седьмой структуры данных 8. Предпочтительно, не ограничиваясь, этап 1009 характеризуется: выполнением этапа 10091 формирования элементов 81 седьмой структуры данных 8, на котором на основании сведений, содержащихся в базе данных лингво-логическо-предметных признаков 30 и шестой структуре данных 7, из сформированных компонентов простых суждений 71 в соответствии с актуальной формализованной моделью логической конструкции суждения формируют элементы 81 седьмой структуры данных 8, являющиеся простыми суждениями 81, а также идентификационные данные простых суждений 81, представляющие собой значения 811 простых суждений и порядковые номера 812 простых суждений в лингвистических предложениях 51, 52, 53 четвертой структуры данных 5; выполнением этапа 10092 формирования седьмой структуры данных 8, на котором формируют седьмую структуру данных 8 из сформированных простых суждений 81 и их идентификационных данных.
[92] На фиг. 20, в качестве примера, но не ограничения, изображена общая структура сформированной седьмой структуры данных 8. Предпочтительно, не ограничиваясь, седьмая структура данных 8 (седьмая СД 8) содержит элементы 81 седьмой структуры данных 8, представляющие собой простые суждения 81 каждого лингвистического предложения 51, 52, 53 четвертой структуры данных 5 и идентификационные данные упомянутых простых суждений 81, представляющие собой в качестве примера, но не ограничения значения 811 упомянутых простых суждений 81, порядковые номера 812 простых суждений 81 в соответствующем лингвистическом предложении 51, 52, 53 четвертой структуры данных 5.
[93] Предпочтительно, не ограничиваясь, простые суждения 81 лингвистического предложения 51, 52, 53 четвертой структуры данных 5 представляют собой совокупность элементов простого суждения. Предпочтительно, такие элементы простого суждения 81, согласно теории логики, представляют собой структурные элементы простого суждения - субъект и предикат. При этом, предпочтительно, субъектом именуется предмет, о котором что-либо утверждается или опровергается в простом суждении, а предикатом - то, о чем говорится в данном простом суждении. При этом, предпочтительно, с практической точки зрения элементом простого суждения 81 являются субъект и какое-то число субэлементов (вложенных элементов) предиката, причем такая разбивка предиката на субэлементы обоснована исключительно практическими целями в рамках решения актуальной задачи. Решение актуальных задач обуславливает актуальные модели логической конструкции суждения, в которых содержатся актуальные элементы простого суждения 81, на основании которых на этапе 1008 идентифицируют и формируют компоненты простого суждения 71 лингвистического предложения 51, 52, 53 четвертой структуры данных 5. Предпочтительно, не ограничиваясь, простое суждение 81 представляет собой первичную логическую конструкцию мышления с помощью которой формируется и передается мысль о том, что нечто (предикат суждения) утверждается или опровергается о предмете суждения (субъект суждения). Предпочтительно, с лингвистической точки зрения простые суждения 81 - это простые предложения, либо упрощенные простые предложения. При этом, предпочтительно, возможны различные варианты простых предложений, которые могут считаться простыми суждениями 81, например, но не ограничиваясь данным примером, можно привести следующие виды простых предложений: простые предложения в изначальном, непреобразованном виде; а также простые предложения в преобразованном (упрощенном) виде, например, не ограничиваясь: без причастных или деепричастных оборотов, которые сами формируют упрощенные простые предложения, являющиеся влияющими простыми суждениями; без однородностей (обезоднородненные, без рядов однородных членов, что приводит к формированию однородных упрощенных простых предложений); без вставок (без текста в скобках); без условных именований (без текста в кавычках); без обстоятельств (условий); и тому подобные, включая сочетания вышеуказанных и неуказанных видов. Предпочтительно, не ограничиваясь, простые суждения 81, с точки зрения наличия синтаксических связей между словами предложения, содержащими упомянутые простые суждения 81, могут являться как главными простыми суждения, так и влияющими простыми суждениями.
[94] Предпочтительно, не ограничиваясь, простые суждения 81 лингвистического предложения 51, 52, 53 четвертой структуры данных 5 имеют идентификационные данные: значение 811 простого суждения 81 и порядковый номер 812 простого суждения 81. Предпочтительно, не ограничиваясь, значением 811 простого суждения 81 является совокупность значений текстовых элементов 61 всех компонентов простого суждения 71, составляющих простое суждение 81 лингвистического предложения 51, 52, 53 четвертой структуры данных. Предпочтительно, не ограничиваясь, порядковым номером 812 простого суждения 81 является порядковый номер простого суждения 81 в лингвистическом предложении 51 четвертой структуры данных. В структуре данных элементы 81 в качестве примера, но не ограничения могут именоваться как «ПС1», «ПС2», «ПС3», «ПСn», где n≥1 - порядковый номер простого суждения 81 в лингвистическом предложении 51, 52, 53 четвертой структуры данных 5. Предпочтительно, не ограничиваясь, формирование простых суждений 81 лингвистического предложения 51 четвертой структуры данных 5 в ходе этапа 10091 производят на основании сформированных на этапе 1008 компонентов простого суждения 71 в лингвистическом предложении 51, 52, 53 четвертой структуры данных 5 путем объединения упомянутых компонентов простого суждения 71 согласно актуальной формализованной модели логической конструкции суждения и с учетом сведений из базы данных лингво-логическо-предметных признаков 30 текстовых элементов 61 о наличии синтаксических связей между текстовым элементами 61, входящими в различные компоненты простого суждения 71. Неограничивающий пример формирования простого суждения 81 лингвистического предложения 51, 52, 53 четвертой структуры данных приведен в таблице №5 (сноска под символом «*» означает эллипсис).
[95] Таблица №5:
        
            
            
                
                
                
                
                
                
              
            
          
        
[96] Предпочтительно, не ограничиваясь, идентификацию значения 811 простого суждения 81 лингвистического предложения 51, 52, 53 четвертой структуры данных 5 в ходе этапа 10091 производят путем отождествления значения 811 простого суждения 81 со значениями 711 всех компонентов простого суждения 71, формирующих данное простое суждение 81. Предпочтительно, не ограничиваясь, идентификацию порядковых номеров 812 простого суждения 81 лингвистического предложения 51, 52, 53 четвертой структуры данных 5 в ходе этапа 10091 производят путем сравнения порядковых номеров каждого простого суждения 81 лингвистического предложения 51, 52, 53 четвертой структуры данных 5 с порядковыми номерами других простых суждений 81 того же лингвистического предложения 51, 52, 53 четвертой структуры данных 5. Предпочтительно, не ограничиваясь, такое простое суждение 81, у которого компонент простого суждения 71 с минимальным порядковым номером, будет иметь порядковый номер «1». Если же таких простых суждений 81 окажется больше, чем одно, то у таких простых суждений 81 следует проверять следующий компонент простого суждения 71, у которого порядковый номер - следующий по порядку возрастания, при этом, не ограничиваясь, такое простое суждение 81 получает в итоге порядковый номер «1». Предпочтительно, не ограничиваясь, следующие по порядку порядковые номера устанавливаются по таким же правилам, при этом, не ограничиваясь, в упомянутом сравнении уже не участвуют простые суждения 81, получившие порядковый номер 812. Такие идентификация и формирование элементов 81 седьмой структуры данных 8 могут быть выполнены любым известным из уровня техники способом и, соответственно, подробно далее не описываются. Например, не ограничиваясь, такой комплексный анализ может быть выполнен традиционно специалистом-лингвистом, или же с помощью программного алгоритма лингвистического (синтаксического) процессора, или же на основе традиционного программирования путем решения задач с помощью кодирования неизменяемых правил (IT-решение «по правилам»). Более того, при наличии достаточного количества примеров возможно выполнение такого анализа с помощью статистического процессора (нейросети, систем ИИ) посредством применения технологии обучения нейросети (систем ИИ).
[97] Предпочтительно, не ограничиваясь, формирование седьмой структуры данных 8 в ходе этапа 10092 производят путем объединения в одной структуре данных элементов 81 седьмой структуры данных 8 и их идентификационных данных по известным из уровня техники принципам и способам, которые, соответственно далее подробно не описываются.
[98] На фиг. 21, в качестве примера, но не ограничения, изображена общая схема выполнения этапов этапа 1010 формирования восьмой структуры данных 9. Предпочтительно, не ограничиваясь, этап 1010 характеризуется: выполнением этапа 10101 формирования элементов 91 восьмой структуры данных 9, на котором на основании сведений, содержащихся в базе данных лингво-логическо-предметных признаков 30 и в седьмой структуре данных 8, а также в соответствии с актуальной формализованной моделью логической конструкции суждения идентифицируют и формируют элементы 91 восьмой структуры данных 9, являющиеся итоговыми суждениями 91 соответствующих лингвистических предложений 51, 52, 53 четвертой структуры данных 5, а также идентификационные данные итоговых суждений 91, представляющие собой значения 911 итоговых суждений 911 и порядковые номера 912 итоговых суждений 91 в восьмой структуре данных 9; выполнением этапа 10102 формирования восьмой структуры данных 9, на котором формируют восьмую структуру данных 9 из идентифицированных итоговых суждений 91 и их идентификационных данных.
[99] На фиг. 22, в качестве примера, но не ограничения, изображена общая структура сформированной восьмой структуры данных 9. Предпочтительно, не ограничиваясь, восьмая структура данных 9 (восьмая СД 9) содержит элементы 91 восьмой структуры данных 9, представляющие собой итоговые суждения 91 каждого лингвистического предложения 51, 52, 53 четвертой структуры данных 5 и идентификационные данные упомянутых итоговых суждений 91, представляющие собой, в качестве примера, но не ограничения, значения 911 упомянутых итоговых суждений 91 и порядковые номера 912 упомянутых итоговых суждений 91 в восьмой структуре данных 9. Предпочтительно, не ограничиваясь, итоговые суждения 91 лингвистического предложения 51, 52, 53 четвертой структуры данных 5 представляют собой с точки зрения причинно-следственных связей обусловленные суждения и/или безусловные суждения. Безусловные суждения - это такие утверждения или опровержения о предмете суждения, которые не подразумевают наличие каких-либо условий данного утверждения или опровержения. Иными словами, не предпочтительно, если суждение имеет признак безусловное суждения, то, значит, оно имеет форму простого суждения. Предпочтительно, такое единственное простое суждение в составе итогового суждения 91 является главным простым суждением (правилом). Предпочтительно, обусловленные суждения, наоборот, подразумевают наличие некого условия или совокупности условий, при выполнении которых утверждения или опровержения о предмете суждения являются актуальными или истинными. Предпочтительно, любое обусловленное суждение имеет форму сложного суждения, то есть группы простых суждений, элементы которых связаны друг с другом подчинительной синтаксической связью. При этом, предпочтительно, простое суждение, элементы которого не содержат слов, имеющих роль синтаксического потомка (подчиненного слова в паре слов с подчинительной синтаксической связью), является главным простым суждением (правилом), а простое суждение, элементы которого содержат слово или слова, имеющие роль синтаксического потомка являются влияющим простым суждением (обусловленностью).
[100] Предпочтительно, не ограничиваясь, на основании факта наличия безусловных и обусловленных суждений итоговые суждения 91 могут состоять из простых суждений 81 двух видов - первых простых суждений 81.1 (ППС 81.1), к которым относятся главные простые суждения (правила), и вторых простых суждений 81.Y (ВПС 81.Y) (где Y≥2 - порядковый индекс ВПС 81.Y в составе итогового суждения 91), к которым относятся влияющие простые суждения (обусловленности). Причем оба вида простых суждений 81 (ППС 81.1 и ВПС 81.Y) формируют на этапе 1009 из компонентов простого суждения 71. При этом, предпочтительно, безусловные суждения содержат только одно ППС 81.1, а обусловленные суждения содержат одно ППС 81.1, но также дополнительно и одно или несколько ВПС 81.Y. Предпочтительно, порядковый индекс «Y» ВПС 81.Y в составе итогового суждения 91 определяется порядковым номером 612 текстового элемента 61 в элементе итогового суждения 91 ВПС 81.Y, имеющем роль синтаксического потомка. Предпочтительно, элемент итогового суждения 91 ВПС 81.Y, имеющий роль синтаксического потомка с минимальным порядковым номером 612 текстового элемента 61 среди всех элементов итогового суждения 91 ВПС 81.Y одного обусловленного суждения получает индекс «2» (то есть ВПС 81.2). Предпочтительно, далее по такому же принципу нумеруются оставшиеся непронумерованные элементы ВПС 81.Y того же итогового суждения 91, получая далее порядковые индексы «Y» равные «3», «4» и так далее. В качестве примера, но не ограничения, можно продемонстрировать первые и вторые простые суждения в лингвистическом предложении 51, 52, 53. Например, не ограничиваясь, лингвистическое предложение «Полиция незамедлительно приходит на помощь каждому, кто нуждается в ее защите от преступных и иных противоправных посягательств» содержит следующие простые суждения 81: «Полиция незамедлительно приходит на помощь каждому»; «Кто нуждается в ее защите от преступных посягательств»; «Кто нуждается в ее защите от иных противоправных посягательств»; из простых суждений 81 вышеупомянутого лингвистического предложения формируются два сложных суждения; при этом синтаксическим родителем - главным текстовым элементом 61 в паре текстовых элементов 61 с подчинительной синтаксической связью - является текстовый элемент 61 «каждому», а синтаксическим потомком является текстовый элемент 61 «кто»; при этом, соответственно, первым простым суждением 81.1 (ППС 81.1.) является простое суждение «Полиция незамедлительно приходит на помощь каждому»; «Кто нуждается в ее защите от преступных посягательств», а вторыми простыми суждениями являются простое суждение 81.2 (ВПС 81.2) «Кто нуждается в ее защите от преступных посягательств» и второе простое суждение 81.3 (ВПС 81.3) «Кто нуждается в ее защите от иных противоправных посягательств». Предпочтительно, таким образом получают два итоговых суждения 91, являющихся по составу элементов сложным суждением. Одно итоговое суждение 91, являющееся сложным суждением, состоит из ППС 81.1 и ВПС 81.2 («Полиция незамедлительно приходит на помощь каждому кто нуждается в ее защите от преступных посягательств»), а другое итоговое суждение 91, также являющееся сложным суждением, состоит из ППС 81.1 и ВПС 81.3 («Полиция незамедлительно приходит на помощь каждому кто нуждается в ее защите от иных противоправных посягательств»).
[101] Предпочтительно, не ограничиваясь, итоговые суждения 91 лингвистического предложения представляют собой, с точки зрения взаимосвязанности правил суждения, независимые правила суждений и взаимозависимые правила суждений; при этом независимые правила суждений содержат одно ППС 81.1, а взаимозависимые правила суждений содержат два или более ППС 81.1. Предпочтительно, взаимозависимые правила суждений формируются на основе признаков зависимости простых суждений, установленных в требованиях по формированию суждений для актуальной формализованной модели логической конструкции суждения, содержащихся во второй пользовательской базе данных. В качестве примера, но не ограничения, такие требования могут касаться наличия между отдельными ППС 81.1 сочинительной связи вида логического «И». Не ограничиваясь, такая связь указывает на взаимозависимость таких правил суждения, либо, иными словами, на искажение сути суждения при использовании отдельных правил суждения, являющихся взаимозависимыми правилами суждений. Предпочтительно, наличие «взаимозависимых правил» можно продемонстрировать, в качестве примера, но не ограничения, в итоговых суждениях 91 следующего предложения: «Превышение установленной скорости движения транспортного средства на величину более 20, но не более 40 километров в час влечет наложение административного штрафа в размере пятисот рублей». Данное предложение содержит два простых суждения: «Превышение установленной скорости движения транспортного средства на величину более 20 километров в час влечет наложение административного штрафа в размере пятисот рублей»; и «Превышение установленной скорости движения транспортного средства на величину не более 40 километров в час влечет наложение административного штрафа в размере пятисот рублей». При этом, не ограничиваясь, использование лингвистического инструмента, определяющего границы чего-либо («от…до»; «более…, но не более»; «менее…, но не менее»; «с…по»; и тому подобных) говорит о взаимосвязанности и неразрывности формируемых простых суждений, основанных на логическом «И». Предпочтительно, таким образом, указанные в таком примере два простых суждения являются взаимозависимыми суждениями и с точки зрения итоговых суждений 91 представляют собой одно итоговое суждение 91. Другим примером, но не ограничением, выявления между ППС 81.1. сочинительной связи вида логического «И» является наличие в предложении деепричастного оборота, когда деепричастие является синтаксическим потомком слова из ППС 81.1. Например, в предложении «Водитель должен вести транспортное средство со скоростью, не превышающей установленного ограничения, учитывая при этом интенсивность движения» идентифицируют три простых суждения 81: «Водитель должен вести транспортное средство со скоростью»; «Водитель учитывая при этом интенсивность движения»; «Скоростью, не превышающей установленного ограничения». При этом, предпочтительно, простые суждения «Водитель должен вести транспортное средство со скоростью» и «Водитель учитывая при этом интенсивность движения» являются взаимозависимыми суждениями, а простое суждение «Скоростью, не превышающей установленного ограничения» является обусловленностью простого суждения «Водитель должен вести транспортное средство со скоростью».
[102] Предпочтительно, не ограничиваясь, значением 911 итогового суждения 91 являются значения 811 простых суждений 81, из которых сформировано итоговое суждение 91. При этом значениями 811 простых суждений 81 является значение 811.1 первого простого сужения (ППС 81.1.) и значения 811.Y вторых простых суждений (ВПС 81.Y), из которых сформировано итоговое суждение 91. Предпочтительно, не ограничиваясь, порядковым номером 912 итогового суждения 91 являются порядковые номера итогового суждения 91 в восьмой структуре данных 9. В структуре данных итоговые суждения 91, в качестве примера, но не ограничения, могут именоваться как «ИС1», «ИС2», «ИС3», «ИСn», где n≥1 - порядковый номер элемента 91 в восьмой структуре данных 9. Предпочтительно, не ограничиваясь, присвоение порядковых номеров 912 итоговым суждениям 91 лингвистического предложения 51, 52, 53 четвертой структуры данных 5 производят следующим образом: порядковый номер «1» получает итоговое суждение 91, сформированное из лингвистического предложения 51, 52, 53 с порядковым номером «1» и состоящее из простого суждения 81 с порядковым номером «1». Предпочтительно, если в лингвистическом предложении 51, 52, 53 с порядковым номером «1» простое суждение 81 с порядковым номером «1» принадлежит к обусловленному суждению, то порядковый номер «1» получает такое итоговое суждение 91, которое имеет минимальное число вторых простых суждений 81.Y с минимальным порядковым номером 811 простого суждения 81. Предпочтительно, порядковый номер «2» получает такое итоговое суждение 91, в котором элементы итогового суждения 91 ВПС 81.Y имеют больший порядковый номер простого суждения 81, чем в итоговом суждении 91 с порядковым номером «1», или, если таких же вторых простых суждений 81.Y нет, то такое итоговое суждение 91, в котором элементы итогового суждения 91 ППС 81.1 имеют больший порядковый номер простого суждения 81, чем в итоговом суждении 91 с порядковым номером «1». Предпочтительно, такое же правило распространяется и далее на определение порядковых номеров 912 всех элементов 91 восьмой структуры данных 9. Предпочтительно, не ограничиваясь, в случае, когда ППС 81.1 итогового суждения 91 представляет собой группу взаимосвязанных правил суждения, то нумерация отдельных простых суждений, входящих в группу взаимосвязанных правил суждения не производят, поскольку эти простые суждения уже имеют уникальные порядковые номера, как простое суждение 81.
[103] Предпочтительно, не ограничиваясь, идентификацию и формирование итоговых суждений 91 восьмой структуры данных 9 производят в ходе этапа 10101 итеративно. На первом шаге этапа 10101 производят идентификацию правил итоговых суждений 91 (первых простых суждений 81.1). На втором шаге этапа 10101 производят идентификацию обусловленностей итоговых суждений 91 (вторых простых суждений 81.Y) для идентифицированных правил итоговых суждений 91. На третьем шаге этапа 10101 производится объединение идентифицированных правил итоговых суждений 91 и обусловленностей итоговых суждений 91 для формирования итоговых суждений 91. Предпочтительно, не ограничиваясь, идентификацию правил итоговых суждений 91 (первых простых суждений 81.1) на первом шаге этапа 10101 производят путем третьего комплексного анализа элементов 81 седьмой структуры данных 8 - простых суждений 81 и их идентификационных данных. Такой анализ простых суждений 81 производится с помощью сведений о текстовых элементах 61 и с помощью сведений из сформированной БДЛЛПП 20, а также с учетом требований к простому суждению 81, как к простому суждению первого вида, то есть, к простому суждению, компоненты которого не содержат текстовых элементов, являющихся синтаксическими потомками. Предпочтительно, целью упомянутого третьего комплексного анализа является выявление среди элементов 81 седьмой структуры данных 8 таких простых суждений 81, которые соответствуют требованиям к первому простому суждению 81.1. Предпочтительно, не ограничиваясь, идентификацию обусловленностей итоговых суждений 91 (вторых простых суждений 81.Y) на втором шаге этапа 10101 производят путем четвертого комплексного анализа элементов 81 седьмой структуры данных 8 - простых суждений 81 и их идентификационных данных. Предпочтительно, не ограничиваясь, такой анализ простых суждений 81 производится с помощью сведений о текстовых элементах 61 и с помощью сведений из сформированной БДЛЛПП 20, а также с учетом требований к простому суждению 81, как к простому суждению второго вида, то есть к простому суждению, компоненты которого содержат текстовые элементы, являющиеся синтаксическими потомками. Предпочтительно, целью упомянутого четвертого комплексного анализа является выявление для каждого идентифицированного первого простого суждения 81.1 среди элементов 81 седьмой структуры данных 8 таких простых суждений 81, которые соответствуют требованиям ко второму простому суждению 81.Y. Предпочтительно, не ограничиваясь, объединение идентифицированных правил итоговых суждений 91 (первых простых суждений 81.1) и обусловленностей итоговых суждений 91 (вторых простых суждений 81.Y) для формирования итоговых суждений 91 на третьем шаге этапа 10101 производят путем пятого комплексного анализа идентифицированных правил суждений 91 и обусловленностей итоговых суждений 91 и их идентификационных данных. Предпочтительно, не ограничиваясь, такой анализ производится с помощью сведений о текстовых элементах 61 и с помощью сведений из сформированной БДЛЛПП 20, а также с учетом требований к сборке итоговых суждений 91 из первых и вторых простых суждений. Предпочтительно, целью упомянутого пятого комплексного анализа является идентификация и формирование элементов 91 восьмой структуры данных 9. В качестве примера, но не ограничения, требования к формированию итоговых суждений 91 из первых и вторых простых суждений содержат, как минимум, следующие условия: если для первого простого суждения 81.1 не идентифицировано ни одного второго простого суждения 81.Y, то итоговое суждение 91 формируется только из одного простого суждения 81 - ППС 81.1; если для первого простого суждения 81.1 идентифицировано одно второе простое суждение 81.Y, то итоговое суждение 91 формируется из двух простых суждений 81 - из ППС 81.1 и ВПС 81.Y; если для первого простого суждения 81.1 идентифицировано более чем одно второе простое суждение 81.Y, то для формирования итогового суждения 91 необходимо установить синтаксические подчинительные связи между идентифицированными вторыми простыми суждениями 81.Y, после чего необходимо сформировать итоговое суждение 91 из первого простого суждения 81.1 и вторых простых суждений, имеющих между собой подчинительную синтаксическую связь; не ограничиваясь, в результате может быть реализован один из трех вариантов формирования итогового суждения 91: по первому варианту, при котором все идентифицированные вторые простые суждения 81.Y будут иметь между собой подчинительную синтаксическую связь, будет сформирован один элемент 91 из простых суждений 81 - из ППС 81.1 и всех ВПС 81.Y, расположенных в последовательности подчинительных синтаксических связей между собой в соответствии с порядковым номером индекса «Y»; по второму варианту, при котором все идентифицированные вторые простые суждения 81.Y не будут иметь между собой непрерывную подчинительную синтаксическую связь, будет сформировано столько элементов 91 из ВПС 81.Y, сколько вторых простых суждений 81.Y будут иметь одного и того же синтаксического потомка; по третьему варианту, при котором, если часть идентифицированных вторых простых суждений 81.Y будут иметь между собой непрерывную подчинительную синтаксическую связь, а часть идентифицированных вторых простых суждений 81.Y не будут иметь между собой непрерывную подчинительную синтаксическую связь, то будет сформировано такое число элементов 91, которое соответствует правилам формирования суждений по первому и второму вариантам. В качестве примера, но не ограничения, может быть рассмотрено следующее предложение: «Полиция обязана обеспечить каждому гражданину возможность ознакомления с документами и материалами, непосредственно затрагивающими его права и свободы, если иное не установлено федеральным законом». Из рассматриваемого предложения сформированы следующие простые суждения 81 (ПС 81) с маркировками отдельных текстовых элементов 61 (слов) их синтаксическими ролями (СРn - синтаксический родитель и СПn - синтаксический потомок, где n≥1 - порядковый номер синтаксического родителя или синтаксического потомка в данном примере), определяющими синтаксическую подчинительную связь между простыми суждениями рассматриваемого предложения (таблица №6):
[104] Таблица №6:
        
            
            
                
                
                
                
                
                
                
                
              
            
          
        
[105] В ходе первого шага этапа 10101 идентифицированы первые простые суждения 81.1 (ППС 81.1) (таблица №7):
[106] Таблица №7:
        
            
            
                
                
                
              
            
          
        
[107] В ходе второго шага этапа 10101 для идентифицированных первых простых суждений 81.1 идентифицированы все связанные с ними синтаксической подчинительной связью вторые простые суждения 81.Y (ВПС 81.Y) (таблица №8):
[108] Таблица №8:
        
            
            
                
                
                
                
                
                
                
              
            
          
        
[109] В ходе третьего шага этапа 10101 для формирования итоговых суждений 91 на основе каждого первого простого суждения 81.1 устанавливают вариант формирования итогового суждения 91. Для обоих первых простых суждений 81.1 установлено, что, во-первых, все вторые простые суждения 81.Y между собой не имеют никакой синтаксической подчинительной связи, а, во-вторых, два вторых простых суждения - ВПС 81.3 и ВПС 81.4 для ППС 81.1 с порядковым номером «1»; ВПС 81.5 и ВПС 81.6 для ППС 81.1 с порядковым номером «2» - имеют одного синтаксического потомка: СП2 - у ВПС 81.3 и ВПС 81.4 для ППС 81.1 с порядковым номером «1»; СП3 - у ВПС 81.5 и ВПС 81.6 для ППС 81.1 с порядковым номером «2»). В связи с этим, на основе каждого первого простого суждения 81.1 с порядковыми номерами «1» и «2» формируют по два итоговых суждения 91 (ИС 91) (таблица №9):
[110] Таблица №9:
        
            
            
                
                
                
                
                
                
                
                
                
              
            
          
        
[111] Предпочтительно, такие идентификация и формирование элементов 91 восьмой структуры данных 9 могут быть выполнены любым известным из уровня техники способом и, соответственно, подробно далее не описывается. Например, не ограничиваясь, такой комплексный анализ может быть выполнен традиционно специалистом-лингвистом, или же с помощью программного алгоритма лингвистического (синтаксического) процессора, или же на основе традиционного программирования путем решения задач с помощью кодирования неизменяемых правил (IT-решение «по правилам»). Более того, при наличии достаточного количества примеров возможно выполнение такого анализа с помощью статистического процессора (нейросети, систем ИИ) посредством применения технологии обучения нейросети (систем ИИ).
[112] Предпочтительно, не ограничиваясь, формирование восьмой структуры данных 9 в ходе этапа 10102 производят путем объединения в одной структуре данных элементов 91 восьмой структуры данных 9 СМД, а также их идентификационных данных по известным из уровня техники принципам и способам, которые, соответственно далее подробно не описываются.
[113] На фиг. 23, в качестве примера, но не ограничения, изображена общая схема выполнения этапов этапа 1011 формирования девятой структуры данных 10. Предпочтительно, не ограничиваясь, этап 1011 характеризуется: выполнением этапа 10111, формирования элементов 92 девятой структуры данных 10, на котором на основании сведений, содержащихся в базе данных лингво-логическо-предметных признаков 30, во второй пользовательской базе данных, в шестой структуре данных 7, в седьмой структуре данных 8 и в восьмой структуре данных 9, а также в соответствии с актуальной формализованной моделью базовой конструкции предметной области идентифицируют и формируют элементы 92 девятой структуры данных 10, являющиеся базовыми конструкциями предметной области 92, а также идентификационные данные базовых конструкций предметной области 92, представляющие собой значения 921 базовых конструкций предметной области и порядковые номера 922 базовых конструкций предметной области в девятой структуре данных 10; выполнением этапа 10112 формирования девятой структуры данных 10, на котором формируют девятую структуру данных 10 из идентифицированных базовых конструкций предметной области 92 и их идентификационных данных.
[114] На фиг. 24, в качестве примера, но не ограничения, изображена общая структура сформированной девятой структуры данных 10. Предпочтительно, не ограничиваясь, девятая структура данных 10 (девятая СД 10) содержит элементы 92 девятой структуры данных 10, представляющие собой базовые конструкции предметной области 92 (БКПО 92) каждого лингвистического предложения 51, 52, 53 четвертой структуры данных 5 и идентификационные данные упомянутых БКПО 92, представляющие собой в качестве примера, но не ограничения значения 921 упомянутых БКПО 92 и порядковые номера 922 упомянутых БКПО 92 в девятой структуре данных 10. Предпочтительно, не ограничиваясь, базовые конструкции предметной области 92 лингвистического предложения 51, 52, 53 четвертой структуры 5 данных представляют собой с логической точки зрения итоговые суждения. Иными словами, если восьмая СД 9, содержащая элементы 91, являющиеся итоговыми суждениями 91, является исключительно логической конструкцией безотносительно области, то девятая СД 10, содержащая элементы 92, являющиеся базовыми конструкциями предметной области 92, является уже логической конструкцией предметной области. При этом, предпочтительно, как исключительно логическая конструкция безотносительно области, так и логическая конструкция предметной области с логической точки зрения состоят из обусловленных и/или безусловных суждений. Предпочтительно, разница между исключительно логической конструкцией безотносительно области и логической конструкцией предметной области состоит с логической точки зрения в том, что элементами простых суждений в исключительно логической конструкции безотносительно области являются компоненты простого суждения 71, содержащие логические объекты, установленные в актуальной формализованной модели логической конструкции суждения (ФМЛКС), а элементами простых суждений в логической конструкции предметной области являются компоненты базовой предметной конструкции 72 (КБПК 72), содержащие базовые предметные объекты, установленные в актуальной формализованной модели базовой конструкции предметной области (ФМБКПО). При этом элементы 71 в ФМЛКС могут быть идентичны, либо не идентичны элементам 72 в ФМБКПО. Правила преобразования элементов 71 в элементы 72 устанавливают в таблице корреляции логических и предметных объектов, содержащейся во второй пользовательской базе данных. При этом также, то есть по тем же правилам, как из компонентов простого суждения 71 формируют первые простые суждения 81.1 и вторые простые суждения 81.Y исключительно логической конструкцией безотносительно области, из компонентов базовой предметной конструкции 72 формируют первые простые суждения 82.1 логической конструкции предметной области (первые базовые предметные конструкции 82.1) и вторые простые суждения 82.Y логической конструкции предметной области (вторые базовые предметные конструкции 82.Y). При этом первая базовая предметная конструкция 82.1 и вторые базовые предметные конструкции 82.Y являются базовыми предметными конструкциями 82 соответствующих БКПО 92.
[115] Предпочтительно, не ограничиваясь, из первых базовых предметных конструкций 82.1 и вторых базовых предметных конструкций 82.Y, формируют базовую конструкцию предметной области 92, эквивалентную итоговому суждению 91 по составу и содержанию простых суждений, содержащихся в итоговом суждении 91, делая это аналогичным образом, как при формировании итогового суждения 91 из первых простых суждений 81.1 и вторых простых суждений 81.Y, процесс которого подробно описан со ссылкой на этап 1010.
[116] Предпочтительно, не ограничиваясь, базовые конструкции предметной области 92 лингвистического предложения 51, 52, 53 четвертой структуры данных 5, состоящие из элементов двух видов - элементов 82.1 и элементов 82.Y - имеют идентификационные данные БКПО 92: в качестве примера, но не ограничения, значения 921 БКПО, состоящие из значений 821.1 элементов 82.1 и значений 821.Y элементов 82.Y, и порядкового номера 922 БКПО 92 в девятой структуре данных 10.
[117] Предпочтительно, не ограничиваясь, значениями 921 БКПО 92 являются значения 821 базовых предметных конструкций 82, из которых сформирована эта БКПО 92. При этом значениями 821 базовых предметных конструкций 82 являются соответствующие значения 821.1 первой базовой предметной конструкции 82.1 и значения 821.Y вторых базовых предметных конструкций 82.Y, из которых сформирована БКПО 92.
[118] Предпочтительно, не ограничиваясь, порядковыми номерами 922 БКПО 92 являются порядковые номера БКПО 92 в девятой структуре данных 10. В структуре данных БКПО 92, в качестве примера, но не ограничения, могут именоваться как «БКПО1», «БКПО1», «БКПО3», «БКПОn», где n≥1 - порядковый номер элемента БКПО 92 в девятой структуре данных 10. При этом, предпочтительно, порядковая нумерация элементов 92 в девятой структуре данных 10 полностью соответствует порядковой нумерации элементов 91 в восьмой структуре данных 9.
[119] Предпочтительно, не ограничиваясь, идентификацию и формирование элементов 92 девятой структуры данных 10 производят в ходе этапа 10111 пошагово. На первом шаге этапа 10111 производят идентификацию и формирование компонентов базовой предметной конструкции 72 (КБПК 72) из элементов КПС 71 шестой структуры данных 7. На втором шаге этапа 10111 производят формирование базовых предметных конструкций 82 из элементов КБПК 72. На третьем шаге этапа 10111 производят идентификацию первых базовых предметных конструкций 82.1 и производят идентификацию вторых базовых предметных конструкций 82.Y. На четвертом шаге этапа 10111 производят объединение идентифицированных первых базовых предметных конструкций 82.1 и вторых базовых предметных конструкций 82.Y для формирования БКПО 92 девятой структуры данных 10.
[120] Предпочтительно, не ограничиваясь, идентификацию и формирование КБПК 72 на первом шаге этапа 10111 производят на основании данных из таблицы корреляции актуальных базовых предметных объектов (актуальных БПО) и актуальных логических объектов (актуальных ЛогО), содержащейся во второй пользовательской базе данных (второй ПБД). При этом логическими объектами являются КПС 71, а базовыми предметными объектами - КБПК 72. Предпочтительно, не ограничиваясь, по составу элементы КБПК 72 могут представлять собой один или несколько КПС 71; при этом точный состав каждого КБПК 72 уникального наименования устанавливается в таблице корреляции актуальных БПО и актуальных ЛогО. Предпочтительно, не ограничиваясь, формирование базовых предметных конструкций 82, на втором шаге этапа 10111 производят из КПК 72 аналогичным образом, как производят формирование простых суждений 81 из компонентов простых суждений 71, процесс которого подробно описан со ссылкой на этап 1009. Предпочтительно, не ограничиваясь, идентификацию первых базовых предметных конструкций 82.1 и вторых базовых предметных конструкций 82.Y на третьем шаге этапа 10111 производят аналогично идентификации правил итоговых суждений 91 (первых простых суждений 81.1) и обусловленностей итоговых суждений 91 (вторых простых суждений 81.Y), процесс идентификации которых подробно описан со ссылкой на этап 1010. Предпочтительно, не ограничиваясь, объединение идентифицированных первых базовых предметных конструкций 82.1 и вторых базовых предметных конструкций 82.Y для формирования базовых конструкций предметной области 92 и их идентификационных данных на четвертом шаге этапа 10111 производят аналогичным образом, как производят формирование итоговых суждений 91 и их идентификационных данных, процесс которого подробно описан со ссылкой на этап 1010.
[121] В качестве примера, но не ограничения, для предметной области права суждение может быть соотнесено с базовой предметной конструкцией «структурная часть правовой нормы», а именно в качестве примера, но не ограничения, с диспозицией (то есть с правилом, которое необходимо соблюдать), санкцией (то есть, правилом, которое определяет меру ответственности за нарушение правил) или гипотезой (то есть, обусловленностью правила, отражающего какое-либо предварительное действие, ситуацию или состояние). Данные правовые объекты - гипотеза, диспозиция, санкция - содержатся, в том числе, в простых предложениях нормативных актов. Для преобразования суждения в предметной области права необходимо создать формализованную модель базовой конструкции предметной области - формализованную модель структурной части правовой нормы (ФМСЧПН). В рамках профессиональной дискуссии может быть сформулировано некоторое количество различных ФМСЧПН. Для формирования девятой структуры данных 10 СМД необходимо создать актуальную ФМСЧПН, а также таблицу корреляции элементов актуальной формализованной модели логической конструкции суждения (ФМЛКС) с элементами актуальной формализованной модели структурной части правовой нормы. При этом, не ограничиваясь, специалистам в данной области техники должна быть очевидна жесткая связь между логическим простым суждением и частью правовой нормы (гипотезой, диспозицией, санкцией), что в качестве примера, но не ограничения продемонстрировано в следующих примерах в рамках некоторых сформированных исключительно для примера формализованной моделью логической конструкции суждения, формализованной моделью структурной части правовой нормы и таблицей корреляции. В качестве примера, но не ограничения, рассмотрено следующее предложение нормативного акта - закона «О полиции»: «При обращении к гражданину сотрудник полиции обязан в случае применения к нему мер, ограничивающих его права и свободы, разъяснить ему причины и основания применения таких мер, а также возникающие в связи с этим права и обязанности гражданина». В качестве примера, но не ограничения, актуальная формализованная модель логической конструкции суждения может содержать следующие элементы простого суждения - компоненты простого суждения 71 (таблица №10):
[122] Таблица №10:
        
            
            
                
                
                
                
              
            
          
        
[123] В качестве примера, но не ограничения, актуальная формализованная модель структурной части правовой нормы может содержать следующие элементы - компоненты базовой предметной конструкции 72 (КБКП 72) (таблицы №11 и №12):
[124] Таблица №11:
        
            
            
                
                
                
                
                
              
            
          
        
[125] Таблица №12:
        
            
            
                
                
                
                
                
                
              
            
          
        
[126] В качестве примера, но не ограничения, на этапе 1010 была сформирована восьмая СД 9, представляющая собой итоговые суждения 91 рассматриваемого предложения (таблица №13):
[127] Таблица №13:
        
            
            
                
                
                
                
                
                
                
                
                
                
                
                
                
                
                
                
                
                
                
                
                
                
                
                
                
                
                
                
                
                
                
                
                
              
            
          
        
[128] В качестве примера, но не ограничения, на этапе 1011 была сформирована десятая СД 10, представляющая собой базовую конструкцию предметной области, являющаяся в предметной области права формализованной моделью структурной части правовой нормы (таблицы №14 и № 15):
[129] Таблица №14:
        
            
            
                
                
                
                
                
                
                
                
                
                
                
                
                
                
                
                
                
                
                
                
                
                
              
            
          
        
[130] Таблица №15:
        
            
            
                
                
                
                
                
                
                
                
                
                
                
                
                
                
                
                
                
                
                
                
                
                
                
              
            
          
        
[131] Предпочтительно, не ограничиваясь, такие идентификация и формирование элементов 92 девятой СД 10 могут быть выполнены любым известным из уровня техники способом и, соответственно, подробно далее не описываются. Например, не ограничиваясь, такие идентификация и формирование могут быть выполнены традиционно специалистом-юристом, или же на основе традиционного программирования путем решения задач с помощью кодирования неизменяемых правил (IT-решение «по правилам») с использованием программного алгоритма лингвистического (синтаксического) процессора. Более того, при наличии достаточного количества примеров возможно выполнение такого анализа с помощью статистического процессора (нейросети, систем ИИ) посредством применения технологии обучения нейросети (систем ИИ).
[132] Предпочтительно, не ограничиваясь, формирование девятой структуры данных 10 в ходе этапа 10112 производят путем объединения в одной структуре данных элементов 92 девятой структуры данных 10, а также их идентификационных данных по известным из уровня техники принципам и способам, которые, соответственно далее подробно не описываются.
[133] На фиг. 25, в качестве примера, но не ограничения, изображена общая схема выполнения этапов этапа 1012 формирования итоговой структуры данных 12. Предпочтительно, не ограничиваясь, этап 1012 характеризуется: выполнением этапа 10121 формирования элементов 93 итоговой структуры данных 12, на котором на основании сведений, содержащихся в третьей пользовательской базе данных и в девятой структуре данных 10, а также в соответствии с актуальной формализованной моделью целевой конструкции предметной области идентифицируют и формируют элементы 93 итоговой структуры данных 12, являющиеся целевыми конструкциями предметной области 93, а также идентификационные данные целевых конструкций предметной области 93, представляющие собой: значения 931 целевых конструкций предметной области 93, и порядковые номера 932 целевых конструкций предметной области 93 в итоговой структуре данных 12; выполнением этапа 10122 формирования итоговой структуры данных 12, на котором формируют итоговую структуру данных 12 из идентифицированных целевых конструкций предметной области 93 и их идентификационных данных.
[134] На фиг. 26, в качестве примера, но не ограничения, изображена общая структура сформированной итоговой структуры данных 12. Предпочтительно, не ограничиваясь, итоговая структура данных 12 (итоговая СД 12) содержит элементы 93 итоговой структуры данных 12, представляющие собой целевые конструкции предметной области 93 (ЦКПО 93) каждого лингвистического предложения 51, 52, 53 четвертой структуры данных 5 и идентификационные данные упомянутых целевых конструкций предметной области 93, представляющие собой в качестве примера, но не ограничения значения 931 упомянутых элементов 93 и порядковые номера 932 упомянутых элементов 93 в итоговой структуре данных 12.
[135] Предпочтительно, не ограничиваясь, целевые конструкции предметной области 93 (ЦКПО 93) лингвистического предложения 51, 52, 53 четвертой структуры данных 5 представляют собой одноэлементные, многоэлементные или смешанные конструкции. Предпочтительно, одноэлементные конструкции - это такие элементы 93 итоговой структуры данных 12, которые фактически идентичны элементам 92 девятой структуры данных 10 - базовым конструкциям предметной области 92 (БКПО 92); иными словами, вид (состав элементов) целевой конструкции предметной области 93 у одноэлементных конструкций совпадает с видом (составом элементов) базовой конструкцией предметной области 92. При этом, предпочтительно, все идентифицированные элементы ЦКПО 93 имеют одинаковые уникальные функциональные наименования.
[136] Предпочтительно, не ограничиваясь, многоэлементные конструкции, подразумевают наличие как минимум двух элементов ЦКПО 93 различных уникальных функциональных наименований, а также выполнение условий, при которых отдельные БКПО 92 идентифицируют как элементы ЦКПО 93 различных уникальных функциональных наименований, а также выполнения правил объединения идентифицированных БКПО 92 различных уникальных функциональных наименований в многоэлементную конструкцию. Предпочтительно, не ограничиваясь, смешанные конструкции подразумевают наличие в ЦКПО 93 как одноэлементных конструкций, так и многоэлементных конструкций.
[137] Предпочтительно, не ограничиваясь, в связи с наличием вышеописанных видов конструкций элементов 93 (одноэлементные, многоэлементные, смешанные конструкции), целевые конструкции предметной области 93 могут состоять из БКПО 92 двух видов - главная БКПО 92.1 и дополнительные БКПО 92.Y; при этом одноэлементные конструкции содержат только одну главную БКПО 92.1, а многоэлементные конструкции содержат одну главную БКПО 92.1, но, также содержат дополнительно еще и одну или несколько дополнительных БКПО 92.Y, где Y≥2 - порядковый индекс БКПО 92 уникального наименования в составе ЦКПО 93.
[138] В качестве примера, но не ограничения, можно продемонстрировать главные БКПО 92.1 и дополнительные БКПО 92.Y в предметной области права; при этом необходимо пояснить, что в предметной области права целевой конструкцией предметной области 93 (ЦКПО 93), в качестве примера, но не ограничения, может быть конструкция правовой нормы. В отличии от состава структурных элементов правовой нормы (гипотеза, диспозиция, санкция) состав элементов правовой нормы (конструкция правовой нормы) является дискуссионным вопросом в юридическом сообществе. Существуют множество концепций, касающихся состава правовых норм, среди которых можно выделить следующие основные группы по конструкциям (составу) правовой нормы: правовые нормы, регулирующие правоотношения в повседневной жизни, представляющие собой двухэлементные конструкции, состоящие, как минимум, из структурных частей правовой нормы «диспозиция» и «санкция»; правовые нормы, устанавливающие нормативные определения отдельным субъектам или объектам правоотношений, представляющие собой одноэлементные конструкции, состоящие, как минимум, из структурной части правовой нормы «диспозиция»; правовые нормы, устанавливающие принципы, гарантии, декларации, представляющие собой одноэлементные конструкции, состоящие, как минимум, из структурной части правовой нормы «диспозиция»; правовые нормы, имеющие одноэлементную или двухэлементную конструкцию, и содержащие структурную часть правовой нормы, обосновывающую диспозицию, причем такая диспозиция представляет собой результат или последствие исполнения правил и/или условий, установленных в иных нормативных правилах, подтверждающих для диспозиции статус актуальной (действующей и допустимой) для ее применения в конкретной отрасли (институте, субинституте) права, на базе конкретных правовых принципов, гарантий и деклараций, в конкретных правовых обстоятельствах, на конкретных территориях, в конкретный временной период. Такие иные нормативные правила будут являться для упомянутых диспозиций их неотъемлемой структурной частью - гипотезой. При этом количество таких гипотез может не ограничиваться одной, а представлять собой конструкцию гипотез, среди которых актуальность диспозиции будут обосновывать не одна, а несколько гипотез. Кроме этого, в такой конструкции гипотез могут присутствовать не только гипотезы, обосновывающие актуальность диспозиции, но и гипотезы, обосновывающие актуальность гипотез, входящих в конструкцию гипотез. Предпочтительно, не ограничиваясь, таким образом ЦКПО 93 включает элементы 92.1 и 92.Y девятой структуры данных 10.
[139] Предпочтительно, не ограничиваясь, целевые конструкции предметной области 93 лингвистического предложения 51, 52, 53 четвертой структуры данных 5, состоящие из элементов 92 двух видов - 92.1 и 92.Y, имеют идентификационные данные ЦКПО 93: в качестве примера, но не ограничения, значения 931 ЦКПО 93, состоящие из значений 921.1 и 921.Y элементов 92.1 и 92.Y, и порядковые номера 932 ЦКПО 93, являющиеся порядковыми номерами 932 ЦКПО 93 в итоговой структуре данных 12.
[140] Предпочтительно, не ограничиваясь, значениями 931 ЦКПО 93 являются значения 921.1 и 921.Y соответствующих элементов 92.1 и 92.Y соответствующей БКПО 92 девятой структуры данных 10, из которых сформирована соответствующая ЦКПО 93.
[141] Предпочтительно, не ограничиваясь, порядковыми номерами 932 ЦКПО 93 являются порядковые номера 932 ЦКПО 93 в итоговой структуре данных 12. В структуре данных ЦКПО 93 в качестве примера, но не ограничения каждый элемент 93 может именоваться как «ЦКПО1», «ЦКПО2», «ЦКПО3», «ЦКПОn», где n≥1 - порядковый номер элемента ЦКПО 93 в итоговой структуре данных 12. Предпочтительно, не ограничиваясь, порядковую нумерацию элементов 93 в массиве целевых конструкций предметной области лингвистического предложения 51, 52, 53 четвертой структуры данных 5 производят следующим образом: порядковый номер «1» получает ЦКПО 93, сформированная из лингвистического предложения 51, 52, 53 с порядковым номером «1», состоящая из БКПО 92 с порядковым номером «1»; если же в лингвистическом предложении 51, 52, 53 с порядковым номером «1» элемент 92 с порядковым номером «1» относится к дополнительному БКПО 92 (92.Y), то порядковый номер «1» получает такая ЦКПО 93, которая имеет минимальное число БКПО 92.Y с минимальным порядковым номером; порядковый номер «2» получает такая ЦКПО 93, в которой элементы БКПО 92.Y имеют больший порядковый номер БКПО 92.Y, чем в ЦКПО 93 с порядковым номером «1», или, если таких же БКПО 92.Y нет, то такая ЦКПО 93, в которой элементы БКПО 92.1 имеют больший порядковый номер БКПО 92.1, чем в ЦКПО 93 с порядковым номером «1»; и так далее по такому же принципу нумеруются порядковым номером все элементы 93 итоговой структуры данных 12 СМД.
[142] Предпочтительно, не ограничиваясь, идентификацию и формирование ЦКПО 93 итоговой структуры данных производят в ходе этапа 10121 пошагово. На первом шаге этапа 10121 производят идентификацию главных БКПО 92.1 ЦКПО 93. На втором шаге этапа 10121 производят идентификацию дополнительных БКПО 92.Y ЦКПО 93 для идентифицированных элементов БКПО 92.1 многоэлементных конструкций ЦКПО 93. На третьем шаге этапа 10121 производится объединение идентифицированных главных БКПО 92.1 ЦКПО 93 и дополнительных БКПО 92.Y ЦКПО 93 (если такие были идентифицированы для соответствующих БКПО 92.1) для формирования ЦКПО 93 лингвистического предложения 51, 52, 53 четвертой структуры данных 5.
[143] Предпочтительно, не ограничиваясь, идентификацию главных БКПО 92.1 ЦКПО 93 на первом шаге этапа 10121 производят путем шестого комплексного анализа элементов девятой структуры данных 10 СМД - БКПО 92 и их идентификационных данных; такой анализ БКПО 92 производится с помощью сведений о текстовых элементах 61 и с помощью сведений из сформированной БДЛЛПП 30, а также с учетом требований к БКПО 92 как к главной БКПО 92.1, получаемых, например, не ограничиваясь, из данных таблицы корреляции базовых конструкций предметной области девятой СД 10 и актуальных элементов целевых конструкций предметной области, содержащихся в формализованной модели целевой конструкции предметной области (ФМЦКПО); целью упомянутого шестого комплексного анализа является выявление среди элементов 92 девятой структуры данных 10 таких БКПО 92, которые соответствуют требованиям к главным БКПО 92.1 ЦКПО 93.
[144] Предпочтительно, не ограничиваясь, идентификацию дополнительных БКПО 92.Y ЦКПО 93 на втором шаге этапа 10121 производят путем седьмого комплексного анализа элементов девятой структуры данных 10 СМД - БКПО 92 и их идентификационных данных; такой анализ БКПО 92 производится с помощью сведений о текстовых элементах 61 и с помощью сведений из сформированной БДЛЛПП 30, а также с учетом требований к БКПО 92, как к дополнительной БКПО 92.Y, получаемых, например, не ограничиваясь, из данных таблицы корреляции базовых конструкций предметной области девятой СД 10 и актуальных элементов целевых конструкций предметной области, содержащихся в ФМЦКПО; целью упомянутого седьмого комплексного анализа является выявление среди элементов девятой структуры данных 10 таких БКПО 92, которые соответствуют требованиям к дополнительным БКПО 92.Y ЦКПО 93.
[145] Предпочтительно, не ограничиваясь, объединение идентифицированных главных БКПО 92.1 ЦКПО 93 и дополнительных БКПО 92.Y ЦКПО 93 для формирования ЦКПО 93 на третьем шаге этапа 10121 производят путем восьмого комплексного анализа идентифицированных главных БКПО 92.1 ЦКПО 93 и дополнительных БКПО 92.Y ЦКПО 93 и их идентификационных данных; такой анализ производится с помощью сведений о текстовых элементах 61 и с помощью сведений из сформированной БДЛЛПП 30, а также с учетом требований к формированию ЦКПО 93 из главных БКПО 92.1 и дополнительных БКПО 92.Y, содержащихся в ФМЦКПО; целью упомянутого восьмого комплексного анализа является идентификация и формирование ЦКПО 93 лингвистического предложения 51, 52, 53 четвертой структуры данных 5. В качестве примера, но не ограничения, требования к формированию ЦКПО 93 из главных БКПО 92.1 и дополнительных БКПО 92.Y содержат, как минимум, следующие условия: если для главной БКПО 92.1 не идентифицировано ни одного дополнительного БКПО 92.Y, то ЦКПО 93 формируется только из одного элемента ЦКПО 93 - из БКПО 92.1; если для главной БКПО 92.1 идентифицирована одна дополнительная БКПО 92.Y, то ЦКПО 93 формируется из двух элементов ЦКПО 93 - из главной БКПО 92.1 и БКПО 92.Y; если для главной БКПО 92.1 идентифицирована более, чем одна дополнительная БКПО 92.Y, то для формирования ЦКПО 93 необходимо установить уникальное наименование дополнительной БКПО 92.Y, после чего необходимо сформировать ЦКПО 93 из главной БКПО 92.1 и дополнительных БКПО 92.Y, имеющих уникальное наименование, в соответствии с требованиями формирования ЦКПО 93 на основании формализованной модели целевой конструкции предметной области (ФМЦКПО). В качестве примера, но не ограничения, могут быть рассмотрены следующие предложения, на основе которых можно продемонстрировать этап формирования ЦКПО 93: первое: «Водитель должен вести транспортное средство со скоростью, не превышающей установленного ограничения, учитывая при этом интенсивность движения и состояние транспортного средства»; второе: «Превышение установленной скорости движения транспортного средства на величину более 20, но не более 40 километров в час влечет наложение административного штрафа в размере пятисот рублей».
[146] Из рассматриваемого первого предложения на этапе 1010 сформированы следующие итоговые суждения 91 (таблица №16):
[147] Таблица №16:
        
            
            
                
                
                
                
                
                
                
                
                
                
                
              
            
          
        
[148] Из рассматриваемого второго предложения на этапе 1010 сформированы следующие итоговые суждения 91 (таблица №17):
[149] Таблица №17:
        
            
            
                
                
                
                
                
                
                
              
            
          
        
[150] Из рассматриваемого первого предложения на этапе 1011 сформированы следующие базовые конструкции предметной области 92, представляющие собой в предметной области права структурные части правовых норм (таблицы №18 и №19):
[151] Таблица №18:
        
ПС 81
            
            
                
                
                
                
                
                
                
                
                
                
              
            
          
        
[152] Таблица №19:
        
ПС 81
            
            
                
                
                
                
                
                
                
                
                
                
                
              
            
          
        
[153] Из рассматриваемого второго предложения на этапе 1011 сформированы следующие БКПО 92, представляющие собой в предметной области права структурные части правовых норм (таблицы №20 и №21):
[154] Таблица №20:
        
ПС 81
            
            
                
                
                
                
                
                
                
                
              
            
          
        
[155] Таблица №21:
        
ПС 81
            
            
                
                
                
                
                
                
                
                
                
              
            
          
        
[156] Из рассматриваемых первого и второго предложений на этапе 1012 сформированы следующие ЦКПО 93, представляющие собой в предметной области права правовые нормы, представляющие собой, согласно формализованной модели целевой конструкции предметной области, двухэлементные конструкции правовой нормы, состоящие из структурных частей правовой нормы «диспозиция» и «санкция» (таблицы №22, №23, №24, №25):
[157] Таблица №22:
        
ПС 81
            
            
                
                
                
                
                
                
                
                
                
                
                
              
            
          
        
[158] Таблица №23:
        
ПС 81
            
            
                
                
                
                
                
                
                
                
                
                
                
                
              
            
          
        
[159] Таблица №24:
        
            
            
                
                
                
                
                
                
                
                
                
              
            
          
        
[160] Таблица №25
        
            
            
                
                
                
                
                
                
                
                
                
                
              
            
          
        
[161] Такие идентификация и формирование ЦКПО 93 итоговой СД 12 могут быть выполнены любым известным из уровня техники способом и, соответственно, подробно далее не описывается. Например, не ограничиваясь, такие идентификация и формирование могут быть выполнены традиционно специалистом-юристом, или же на основе традиционного программирования путем решения задач с помощью кодирования неизменяемых правил (IT-решение «по правилам») с использованием программного алгоритма лингвистического (синтаксического) процессора. Более того, при наличии достаточного количества примеров возможно выполнение такого анализа с помощью статистического процессора (нейросети, систем ИИ) посредством применения технологии обучения нейросети (систем ИИ).
[162] Предпочтительно, не ограничиваясь, формирование итоговой структуры данных 12 в ходе этапа 10122 производят путем объединения в одной структуре данных элементов 93 (ЦКПО 93) итоговой структуры данных 12, а также их идентификационных данных по известным из уровня техники принципам и способам, которые, соответственно далее подробно не описываются.
[163] На фиг. 27, в качестве примера, но не ограничения, проиллюстрирована примерная схема системы 2000 преобразования структурированного массива данных, которая в предпочтительном варианте реализации содержит, по меньшей мере, одно или более компьютерных устройств 2001 преобразования структурированного массива данных, содержащих, по меньшей мере, один или более процессоров 20011 и память 20012. Упомянутые устройства 2001 преобразования структурированного массива данных могут представлять собой, но не ограничиваться: персональный компьютер, портативный компьютер, планшетный компьютер, карманный компьютер, смартфон, фаблет и тому подобное. Память (машиночитаемый носитель данных) 20012 устройства 2001 преобразования структурированного массива данных, содержит код программы, который при выполнении побуждает упомянутые один или более процессоры 20011 упомянутого устройства 2001 выполнять действия описанных ранее способов преобразования структурированного массива данных. В некоторых случаях компьютерное устройство 2001 может представлять собой серверное компьютерное устройство, связанное с пользовательским компьютерным устройством, выполненным с возможностью передачи серверному компьютерному устройству 2001 команды или команд, побуждающих процессор или процессоры 20011 серверного компьютерного устройства выполнять код программы, который при выполнении процессором или процессорами серверного компьютерного устройства 20011 побуждает процессор или процессоры 20011 серверного компьютерного устройства выполнять действия какого-либо из описанных ранее способов преобразования структурированного массива данных. Пользовательское компьютерное устройство 2002 может представлять собой, но не ограничиваться: персональный компьютер, портативный компьютер, планшетный компьютер, карманный компьютер, смартфон, фаблет, тонкий клиент и тому подобное. Пользовательское компьютерное устройство 2002 может быть связано с серверным компьютерным устройством 2001 посредством проводного или беспроводного соединения. Упомянутая память 20012 компьютерного устройства 2001 (серверного компьютерного устройства 2001) содержит подлежащие преобразованию один или несколько структурированных массивов данных, содержащих, по меньшей мере, лингвистическое предложение, а также может содержать любую из описанных ранее структур данных для какого-либо из описанных ранее способов преобразования структурированного массива данных. Более того, подлежащие преобразованию один или несколько структурированных массивов данных, пользовательские базы данных, другие базы данных, модели и таблицы данных, другие данные могут являться загружаемыми и храниться, в частности, в базе данных 2003 системы преобразования структурированного массива данных. В качестве примера, но не ограничения, машиночитаемый носитель данных (память 20012) может включать в себя оперативную память (RAM); постоянное запоминающее устройство (ROM); электрически-стираемое программируемое постоянное запоминающее устройство (EEPROM); флэш-память или другие технологии памяти; CDROM, цифровой универсальный диск (DVD) или другие оптические или голографические носители данных; магнитные кассеты, магнитную пленку, запоминающее устройство на магнитных дисках или другие магнитные запоминающие устройства, несущие волны или другой носитель данных, который может быть использован для кодирования требуемой информации, и к которому может быть осуществлен доступ посредством устройства 2001. Память включает в себя носитель данных на основе запоминающего устройства компьютера в форме энергозависимой или энергонезависимой памяти, или их комбинации. Примерные аппаратные устройства включают в себя твердотельную память, накопители на жестких дисках, накопители на оптических дисках и так далее. В памяти хранится примерная среда, в которой при помощи компьютерных команд или кодов, хранящихся в памяти устройства, может быть осуществлена процедура преобразования структурированного массива данных. Устройство содержит один или более процессоров 20011, которые предназначены для выполнения компьютерных команд или кодов, хранящихся в памяти устройства с целью обеспечения выполнения процедуры преобразования структурированного массива данных. Компьютерные команды или коды, хранящиеся в памяти, предназначены для выполнения преобразования структурированного массива данных. Система 2000 также может включать в себя базу данных (БД) 2003. БД 2003 может представлять собой, но не ограничиваясь: иерархическую БД, сетевую БД, реляционную БД, объектную БД, объектно-ориентированную БД, объектно-реляционную БД, пространственную БД, комбинацию перечисленных двух и более БД, и тому подобное. БД 2003 хранит данные в памяти, которая может представлять собой, но не ограничиваясь: постоянное запоминающее устройство (ROM), электрически-стираемое программируемое постоянное запоминающее устройство (EEPROM), флэш-память, CDROM, цифровой универсальный диск (DVD) или другие оптические или голографические носители данных; магнитные кассеты, магнитную пленку, запоминающее устройство на магнитных дисках или другие магнитные запоминающие устройства, несущие волны или другой носитель данных, который может быть использован для хранения требуемой информации, и к которому может быть осуществлен доступ посредством устройства 2001 преобразования структурированного массива данных. БД 2003 служит для хранения данных, представляющих собой, по меньшей мере, команды для выполнения этапов описанных ранее способов преобразования структурированного массива данных; подлежащие преобразованию один или несколько структурированных массивов данных, содержащих, по меньшей мере, лингвистическое предложение, или одну из описанных ранее исходных для какого-либо способа преобразования структур данных, которые могут быть загружены в память 20012 устройства 2001 преобразования структурированного массива данных; и других данных, необходимых для функционирования системы. Примерная система 2000 преобразования структурированного массива данных дополнительно может содержать серверное компьютерное устройство 2001, которое помимо описанных ранее функций, сохраняет и содействует манипуляции компьютерными командами или кодами, ранее описанными в данном документе, которые, соответственно, дополнительно не описываются. Серверное компьютерное устройство 2001, помимо описанных ранее функций, может обеспечивает регулирование обменом данных в системе 2000 преобразования структурированного массива данных, а также обеспечивает обработку данных при условии подключения к нему одного или более чем одного пользовательских компьютерных устройств 2002. В этом случае все вычислительные мощности, необходимые для обеспечения выполнения процедуры преобразования структурированного массива данных, расположены на серверном компьютерном устройстве 2001. Система 2000 так же может содержать одну или более сетей 2004 передачи данных. Сети 2004 передачи данных могут включать в себя, но не ограничиваться, одну или более локальных сетей (LAN) и/или глобальных сетей (WAN), или могут представлять собой информационно-телекоммуникационную сеть Интернет, или Интранет, или виртуальную частную сеть (VPN), или их комбинацию, и тому подобное. Серверное компьютерное устройство 2001 также имеет возможность обеспечивать виртуальную вычислительную среду (Virtual Machine) для обеспечения взаимодействия между пользовательским компьютерным устройством 2002 и БД 2003. Сеть 2004 служит для обеспечения взаимодействия между компьютерным устройством 2001, базой данных 2003 и пользовательским компьютерным устройством 2002 системы 2000 преобразования структурированного массива данных. При этом пользовательское компьютерное устройство 2002 может быть связано с серверным компьютерным устройством 2001 напрямую, используя известные из уровня техники проводные и беспроводные способы и методы связи, которые, соответственно, далее не подробно не описываются. Упомянутые устройства 2001, 2002, в качестве примера, но не ограничения, могут быть снабжены устройствами ввода-вывода (i/o), пригодными для предоставления пользователю результатов выполнения тех или иных описанных ранее этапов какого-либо из заявленных способов, описанных со ссылкой на фиг. 1-26.
[164] Настоящее описание осуществления заявленного изобретения демонстрирует лишь частные варианты осуществления и не ограничивает иные варианты реализации заявленного изобретения, поскольку возможные иные альтернативные варианты осуществления заявленного изобретения, не выходящие за пределы объема информации, изложенной в настоящей заявке, должны быть очевидными для специалиста в данной области техники, имеющим обычную квалификацию, на которого рассчитано заявленное изобретение.
 
		
		 
		
		 
		
		 
		
		 
		
		 
		
		 
		
		 
		
		 
		
		 
		
		 
		
		 
		
		 
		
		 
		
		 
		
         
         
            Изобретение относится к области вычислительной техники. Технический результат заключается в повышении эффективности обработки оцифрованных документов для последующей индексации его элементов, их обработки и проведения поисков с их использованием. Технический результат достигается за счет выполнения этапа формирования девятой структуры данных, на котором формируют девятую структуру данных, содержащую элементы девятой структуры данных, представляющие собой базовые конструкции предметной области, сформированные из данных, включающих данные упомянутой сформированной по результатам выполнения этапа шестой структуры данных, причем формирование базовых конструкций предметной области осуществляют на основании данных о формализованной модели базовой конструкции предметной области и данных о формализованной модели логической конструкции суждения, а также содержащую идентификационные данные базовых конструкций предметной области, представляющие собой значения базовых конструкций предметной области и порядковые номера базовых конструкций предметной области в девятой структуре данных; и выполнения этапа формирования итоговой структуры данных, на котором формируют итоговую структуру данных, содержащую элементы итоговой структуры данных, представляющие собой целевые конструкции предметной области. 9 з.п. ф-лы, 27 ил., 25 табл.
1. Исполняемый процессором или процессорами компьютерного устройства способ преобразования структурированного массива данных, содержащего, по меньшей мере, информационные объекты оцифрованного документа, являющиеся отдельными блоками информационного контента оцифрованного документа, представляющие собой текстовые информационные объекты или представляющие собой комбинацию текстовых информационных объектов и визуальных информационных объектов; способ характеризуется:
выполнением этапа 1001 формирования первой структуры данных, на котором формируют первую структуру данных, содержащую элементы первой структуры данных, представляющие собой смысловые части информационных объектов оцифрованного документа, а также идентификационные данные таких смысловых частей, представляющие собой значения таких смысловых частей и порядковые номера таких смысловых частей в оцифрованном документе;
выполнением этапа 1002 формирования базы данных системных признаков смысловых частей, на котором выявляют системные признаки содержащихся в первой структуре данных смысловых частей, представляющие собой форматные системные характеристики таких смысловых частей и функциональные системные характеристики таких смысловых частей, а также значения соответствующих упомянутых системных характеристик, для выявления смысловых частей со структурными системными признаками, и/или для выявления смысловых частей с логическими системными признаками, и/или для выявления смысловых частей с информационными системными признаками, и/или для выявления смысловых частей с реквизитными системными признаками; и формируют из таких выявленных системных признаков базу данных системных признаков смысловых частей;
выполнением этапа 1003 формирования второй структуры данных, на котором формируют вторую структуру данных, содержащую элементы второй структуры данных, представляющие собой интегрированные смысловые части информационных объектов оцифрованного документа, представляющие собой сгруппированные содержащиеся в первой структуре данных смысловые части с совпадающими системными признаками или сгруппированные содержащиеся в первой структуре данных смысловые части с уникальными системными признаками, а также содержащую идентификационные данные интегрированных смысловых частей, представляющие собой неповторяющиеся разновидности упомянутых смысловых частей с совпадающими системными признаками или упомянутых смысловых частей с уникальными системными признаками, значения упомянутых смысловых частей с совпадающими системными признаками или упомянутых смысловых частей с уникальными системными признаками, и порядковые номера в оцифрованном документе упомянутых смысловых частей с совпадающими системными признаками или упомянутых смысловых частей с уникальными системными признаками, причем такие упомянутые смысловые части с совпадающими системными признаками или такие упомянутые смысловые части с уникальными системными признаками составляют упомянутые интегрированные смысловые части;
выполнением этапа 1004 формирования третьей структуры данных, на котором формируют третью структуру данных, содержащую в качестве элементов третьей структуры данных лингвистические конструкции, представляющие собой содержащиеся во второй структуре данных интегрированные смысловые части информационных объектов оцифрованного документа, причем такие интегрированные смысловые части имеют системные признаки текстовых логических смысловых частей, а также содержащую идентификационные данные лингвистических конструкций, представляющие собой значения лингвистических конструкций и порядковые номера лингвистических конструкций в оцифрованном документе, причем лингвистическими конструкциями в оцифрованном документе являются одни из следующих лингвистических конструкций или комбинация из следующих лингвистических конструкций: обычные лингвистические конструкции третьей структуры данных, являющиеся лингвистическими предложениями, особые лингвистические конструкции третьей структуры данных, являющиеся списками или рубриками перечисления, реконструируемые лингвистические конструкции третьей структуры данных, являющиеся таблицами, содержащими, по меньшей мере две строки и два столбца, причем, по меньшей мере одна строка содержит заголовки столбцов и/или, соответственно, по меньшей мере один столбец содержит заголовки строк;
выполнением этапа 1005 формирования четвертой структуры данных, на котором формируют четвертую структуру данных, содержащую в качестве элементов четвертой структуры данных лингвистические предложения четвертой структуры данных, сформированные из элементов третьей структуры данных и представляющие собой либо лингвистические предложения, являющиеся обычными лингвистическими конструкциями третьей структуры данных, либо лингвистические предложения, полученные посредством преобразования особых лингвистических конструкций третьей структуры данных, либо лингвистические предложения, полученные посредством воссоздания из реконструируемых лингвистических конструкций третьей структуры данных; причем четвертая структура данных включает также идентификационные данные лингвистических предложений четвертой структуры данных, представляющие собой значения лингвистических предложений четвертой структуры данных и порядковые номера лингвистических предложений четвертой структуры данных в четвертой структуре данных;
выполнением этапа 1006 формирования пятой структуры данных, характеризующегося:
выполнением этапа 1061 идентификации элементов пятой структуры данных, на котором идентифицируют элементы пятой структуры данных, представляющие собой текстовые элементы лингвистических предложений четвертой структуры данных, а также идентифицируют идентификационные данные текстовых элементов лингвистических предложений четвертой структуры данных, представляющие собой значения соответствующих текстовых элементов соответствующих лингвистических предложений четвертой структуры данных и порядковые номера соответствующих текстовых элементов в соответствующих лингвистических предложениях четвертой структуры данных;
выполнением этапа 1062 формирования пятой структуры данных, на котором формируют пятую структуру данных из идентифицированных элементов пятой структуры данных и их идентификационных данных; и способ характеризуется:
выполнением этапа 1007 формирования базы данных лингво-логическо-предметных признаков, на котором выявляют лингвистические, логические и предметные признаки текстовых элементов лингвистических предложений четвертой структуры данных и формируют из выявленных признаков базу данных лингво-логическо-предметных признаков;
выполнением этапа 1008 формирования шестой структуры данных, на котором формируют шестую структуру данных, содержащую элементы шестой структуры данных, представляющие собой компоненты простого суждения, которые представляют собой компоненты соответствующих простых суждений, причем простые суждения являются простыми суждениями соответствующих лингвистических предложений четвертой структуры данных, а также содержащую идентификационные данные упомянутых компонентов простого суждения, представляющие собой для каждого соответствующего компонента простого суждения из шестой структуры данных вид такого соответствующего компонента простого суждения, значение такого соответствующего компонента простого суждения и порядковый номер такого соответствующего компонента простого суждения в соответствующем лингвистическом предложении;
выполнением этапа 1009 формирования седьмой структуры данных, на котором формируют седьмую структуру данных, содержащую элементы седьмой структуры данных, представляющие собой простые суждения соответствующих лингвистических предложений четвертой структуры данных, а также содержащую идентификационные данные таких простых суждений, представляющие собой значения соответствующих простых суждений и порядковые номера соответствующих простых суждений в соответствующих лингвистических предложениях четвертой структуры данных;
выполнением этапа 1010 формирования восьмой структуры данных, на котором формируют восьмую структуру данных, содержащую элементы восьмой структуры данных, представляющие собой итоговые суждения соответствующих лингвистических предложений четвертой структуры данных, сформированные из упомянутых простых суждений соответствующих лингвистических предложений четвертой структуры данных, а также содержащую идентификационные данные итоговых суждений, представляющие собой значения итоговых суждений и порядковые номера итоговых суждений в восьмой структуре данных;
выполнением этапа 1011 формирования девятой структуры данных, на котором формируют девятую структуру данных, содержащую элементы девятой структуры данных, представляющие собой базовые конструкции предметной области, сформированные из данных, включающих данные упомянутой сформированной по результатам выполнения этапа 1008 шестой структуры данных, причем формирование базовых конструкций предметной области осуществляют на основании данных о формализованной модели базовой конструкции предметной области и данных о формализованной модели логической конструкции суждения, а также содержащую идентификационные данные базовых конструкций предметной области, представляющие собой значения базовых конструкций предметной области и порядковые номера базовых конструкций предметной области в девятой структуре данных;
выполнением этапа 1012 формирования итоговой структуры данных, на котором формируют итоговую структуру данных, содержащую элементы итоговой структуры данных, представляющие собой целевые конструкции предметной области, сформированные из базовых конструкций предметной области, содержащихся в девятой структуре данных, причем формирование целевых конструкций предметной области осуществляют на основании данных о формализованной модели целевой конструкции предметной области, а также содержащую идентификационные данные целевых конструкций предметной области, представляющие собой значения целевых конструкций предметной области и порядковые номера целевых конструкций предметной области в итоговой структуре данных.
2. Способ по п. 1, характеризующийся тем, что этап 1003 характеризуется:
выполнением этапа 10031 идентификации и формирования элементов второй структуры данных, на котором идентифицируют и формируют элементы второй структуры данных, представляющие собой интегрированные смысловые части информационных объектов оцифрованного документа и представляющие собой сгруппированные содержащиеся в первой структуре данных смысловые части с совпадающими системными признаками или сгруппированные содержащиеся в первой структуре данных смысловые части с уникальными системными признаками, а также идентификационные данные интегрированных смысловых частей, представляющие собой неповторяющиеся разновидности упомянутых смысловых частей с совпадающими системными признаками или упомянутых смысловых частей с уникальными системными признаками, значения упомянутых смысловых частей с совпадающими системными признаками или упомянутых смысловых частей с уникальными системными признаками и порядковые номера в оцифрованном документе упомянутых смысловых частей с совпадающими системными признаками или упомянутых смысловых частей с уникальными системными признаками, причем такие упомянутые смысловые части с совпадающими системными признаками или такие упомянутые смысловые части с уникальными системными признаками составляют упомянутые интегрированные смысловые части;
выполнением этапа 10032 формирования второй структуры данных, на котором формируют вторую структуру данных из идентифицированных и сформированных элементов второй структуры данных и их идентификационных данных.
3. Способ по п. 1, характеризующийся тем, что этап 1004 характеризуется:
выполнением этапа 10041 идентификации и формирования элементов третьей структуры данных, на котором идентифицируют и формируют элементы третьей структуры данных, представляющие собой лингвистические конструкции, представляющие собой содержащиеся во второй структуре данных интегрированные смысловые части информационных объектов оцифрованного документа, причем такие интегрированные смысловые части имеют системные признаки текстовых логических смысловых частей, а также содержащую идентификационные данные лингвистических конструкций, представляющие собой значения лингвистических конструкций и порядковые номера лингвистических конструкций в оцифрованном документе, причем лингвистическими конструкциями в оцифрованном документе являются одни из следующих лингвистических конструкций или комбинация из следующих лингвистических конструкций: обычные лингвистические конструкции третьей структуры данных, являющиеся лингвистическими предложениями, особые лингвистические конструкции третьей структуры данных, являющиеся списками или рубриками перечисления, реконструируемые лингвистические конструкции третьей структуры данных, являющиеся таблицами, содержащими, по меньшей мере две строки и два столбца, причем, по меньшей мере одна строка содержит заголовки столбцов и/или, соответственно, по меньшей мере один столбец содержит заголовки строк;
выполнением этапа 10042 формирования третьей структуры данных, на котором формируют третью структуру данных из идентифицированных и сформированных на этапе 10041 элементов третьей структуры данных и их идентификационных данных.
4. Способ по п. 1, характеризующийся тем, что этап 1005 характеризуется:
выполнением этапа 10051 идентификации и формирования первых элементов четвертой структуры данных, на котором идентифицируют и формируют первые элементы четвертой структуры данных, а также идентификационные данные первых элементов четвертой структуры данных, представляющие собой для каждого первого элемента четвертой структуры данных значение первого элемента четвертой структуры данных и порядковые номера первого элемента четвертой структуры данных в четвертой структуре данных; причем первыми элементами четвертой структуры данных являются лингвистические предложения, сформированные из элементов третьей структуры данных, содержащих обычные лингвистические конструкции, посредством отождествления лингвистических предложений четвертой структуры данных с обычными лингвистическими конструкциями третьей структуры данных;
выполнением этапа 10052 идентификации и формирования вторых элементов четвертой структуры данных, на котором идентифицируют и формируют вторые элементы четвертой структуры данных, а также идентификационные данные вторых элементов четвертой структуры данных, представляющие собой для каждого второго элемента четвертой структуры данных значение второго элемента четвертой структуры данных и порядковые номера второго элемента четвертой структуры данных в четвертой структуре данных; причем вторым элементом четвертой структуры данных являются лингвистические предложения, сформированные из элементов третьей структуры данных, содержащих особые лингвистические конструкции, посредством преобразования особых лингвистических конструкций в лингвистические предложения четвертой структуры данных;
выполнением этапа 10053 идентификации и формирования третьих элементов четвертой структуры данных, на котором идентифицируют и формируют третьи элементы четвертой структуры данных, а также идентификационные данные третьих элементов четвертой структуры данных, представляющие собой для каждого третьего элемента четвертой структуры данных значение третьего элемента четвертой структуры данных и порядковые номера третьего элемента четвертой структуры данных в четвертой структуре данных; причем третьим элементом четвертой структуры данных являются лингвистические предложения, сформированные из элементов третьей структуры данных, содержащих реконструируемые лингвистические конструкции, посредством воссоздания из данных, содержащихся в реконструируемых лингвистических конструкциях, отдельных лингвистических предложений четвертой структуры данных;
выполнением этапа 10054 формирования четвертой структуры данных, на котором формируют четвертую структуру данных из первых элементов четвертой структуры данных, вторых элементов четвертой структуры данных, третьих элементов четвертой структуры данных и их идентификационных данных.
5. Способ по п. 1, характеризующийся тем, что этап 1007 характеризуется:
выполнением этапа 10071 формирования первой части лингво-логическо-предметных признаков текстовых элементов лингвистических предложений четвертой структуры данных, на котором для лингвистического анализа текстовых элементов, содержащихся в пятой структуре данных и классифицированных как слово, предоставляют идентификационные данные таких текстовых элементов и получают лингвистические характеристики таких текстовых элементов, а также значения упомянутых лингвистических характеристик;
выполнением этапа 10072 формирования второй части лингво-логическо-предметных признаков текстовых элементов лингвистических предложений четвертой структуры данных, на котором для логического анализа текстовых элементов, содержащихся в пятой структуре данных и классифицированных как слово, предоставляют идентификационные данные таких текстовых элементов, а также лингвистические характеристики таких текстовых элементов вместе с упомянутыми значениями лингвистических характеристик и получают логические характеристики таких текстовых элементов каждого лингвистического предложения, а также значения упомянутых логических характеристик;
выполнением этапа 10073 формирования третьей части лингво-логическо-предметных признаков текстовых элементов лингвистических предложений четвертой структуры данных, на котором для предметного анализа текстовых элементов, содержащихся в пятой структуре данных и классифицированных как слово, предоставляют идентификационные данные таких текстовых элементов, а также лингвистические характеристики таких текстовых элементов вместе с упомянутыми значениями лингвистических характеристик, и предоставляют логические характеристики таких текстовых элементов, а также значения упомянутых логических характеристик, и получают характеристики таких текстовых элементов в предметной области, являющиеся предметными характеристиками, а также значения упомянутых предметных характеристик;
выполнением этапа 10074 формирования базы данных лингво-логическо-предметных признаков, на котором формируют базу данных лингво-логическо-предметных признаков текстовых элементов лингвистических предложений четвертой структуры данных, при этом лингво-логическо-предметными признаками текстовых элементов лингвистических предложений четвертой структуры данных являются полученные для каждого текстового элемента в ходе этапов 10071, 10072 и 10073 упомянутые лингвистические характеристики, упомянутые логические характеристики и упомянутые предметные характеристики, обладающие соответственно упомянутыми значениями лингвистических характеристик, упомянутыми значениями логических характеристик и упомянутыми значениями предметных характеристик.
6. Способ по п. 1, характеризующийся тем, что этап 1008 характеризуется:
выполнением этапа 10081 формирования элементов шестой структуры данных, на котором на основании сведений, содержащихся в базе данных лингво-логическо-предметных признаков, пятой структуре данных, а также на основании данных из первой пользовательской базы данных, содержащей данные об актуальных синтаксических единицах и актуальных логических объектах, а также об актуальной формализованной модели логической конструкции суждения, идентифицируют и формируют элементы шестой структуры данных, являющиеся компонентами простого суждения соответствующих лингвистических предложений четвертой структуры данных, а также идентификационные данные упомянутых компонентов простого суждения, представляющие собой для каждого упомянутого компонента простого суждения вид такого соответствующего компонента простого суждения, значение такого соответствующего компонента простого суждения и порядковый номер такого соответствующего компонента простого суждения в соответствующем лингвистическом предложении четвертой структуры данных;
выполнением этапа 10082 формирования шестой структуры данных, на котором формируют шестую структуру данных из упомянутых компонентов простого суждения и их идентификационных данных.
7. Способ по п. 1, характеризующийся тем, что этап 1009 характеризуется:
выполнением этапа 10091 формирования элементов седьмой структуры данных, на котором на основании сведений, содержащихся в базе данных лингво-логическо-предметных признаков и шестой структуре данных, из сформированных компонентов простых суждений в соответствии с актуальной формализованной моделью логической конструкции суждения формируют элементы седьмой структуры данных, являющиеся простыми суждениями, а также идентификационные данные простых суждений, представляющие собой значения соответствующих простых суждений и порядковые номера соответствующих простых суждений в соответствующих лингвистических предложениях четвертой структуры данных;
выполнением этапа 10092 формирования седьмой структуры данных, на котором формируют седьмую структуру данных из упомянутых простых суждений и их идентификационных данных.
8. Способ по п. 1, характеризующийся тем, что этап 1010 характеризуется:
выполнением этапа 10101 формирования элементов восьмой структуры данных, на котором на основании сведений, содержащихся в базе данных лингво-логическо-предметных признаков и в седьмой структуре данных, а также в соответствии с актуальной формализованной моделью логической конструкции суждения идентифицируют и формируют элементы восьмой структуры данных, являющиеся итоговыми суждениями соответствующих лингвистических предложений четвертой структуры данных, а также идентификационные данные итоговых суждений, представляющие собой значения итоговых суждений и порядковые номера итоговых суждений в восьмой структуре данных;
выполнением этапа 10102 формирования восьмой структуры данных, на котором формируют восьмую структуру данных из упомянутых итоговых суждений и их идентификационных данных.
9. Способ по п. 1, характеризующийся тем, что этап 1011 характеризуется:
выполнением этапа 10111 формирования элементов девятой структуры данных, на котором на основании сведений, содержащихся в базе данных лингво-логическо-предметных признаков, во второй пользовательской базе данных, в шестой структуре данных, а также в соответствии с актуальной формализованной моделью базовой конструкции предметной области и актуальной формализованной моделью логической конструкции суждения идентифицируют и формируют элементы девятой структуры данных, являющиеся базовыми конструкциями предметной области, а также идентификационные данные базовых конструкций предметной области, представляющие собой значения базовых конструкций предметной области и порядковые номера базовых конструкций предметной области в девятой структуре данных;
выполнением этапа 10112 формирования девятой структуры данных, на котором формируют девятую структуру данных из упомянутых базовых конструкций предметной области и их идентификационных данных.
10. Способ по п. 1, характеризующийся тем, что этап 1012 характеризуется:
выполнением этапа 10121 формирования элементов итоговой структуры данных, на котором на основании сведений, содержащихся в третьей пользовательской базе данных и в девятой структуре данных, а также в соответствии с актуальной формализованной моделью целевой конструкции предметной области идентифицируют и формируют элементы итоговой структуры данных, являющиеся целевыми конструкциями предметной области, а также идентификационные данные целевых конструкций предметной области, представляющие собой значения целевых конструкций предметной области и порядковые номера целевых конструкций предметной области в итоговой структуре данных;
выполнением этапа 10122 формирования итоговой структуры данных, на котором формируют итоговую структуру данных из упомянутых целевых конструкций предметной области и их идентификационных данных.
| Станок для придания концам круглых радиаторных трубок шестигранного сечения | 1924 | 
 | SU2019A1 | 
| Способ регенерирования сульфо-кислот, употребленных при гидролизе жиров | 1924 | 
 | SU2021A1 | 
| Электромагнитный прерыватель | 1924 | 
 | SU2023A1 | 
| Способ восстановления спиралей из вольфрамовой проволоки для электрических ламп накаливания, наполненных газом | 1924 | 
 | SU2020A1 | 
| СПОСОБ ПРЕОБРАЗОВАНИЯ СТРУКТУРИРОВАННОГО МАССИВА ДАННЫХ | 2019 | 
 | RU2713568C1 | 
Авторы
Даты
2025-05-26—Публикация
2024-06-29—Подача