ВИБРО-АКУСТИЧЕСКОЕ УСТРОЙСТВО Российский патент 2025 года по МПК A61G7/00 A61H23/00 A01K47/06 

Описание патента на изобретение RU2840697C1

Изобретение относится к области медицины, в частности к устройствам для проведения лечебно-оздоровительных процедур над пчелиными семьями и выполнения массажа, релаксации, улучшения кровообращения и снятия мышечного напряжения, для установки в сооружениях «Апидомик» и лечебно-оздоровительных комплексах [A01K47/06, A01K49/00].

Из уровня техники известен УЛЕЙ С ПРИГОДНЫМ ДЛЯ ДЫХАНИЯ ВОЗДУХОМ ИЗ УЛЬЕВ [CN 107280893 A, опубл. 24.10.2017], включающий помещение, снабженное ульевыми газогенераторными устройствами, каждое из ульевых газогенераторных устройств включает в себя улей, каждый из ульев используется для разведения пчел, каждый из ульев соединен с газоотводным устройством, каждый из ульев и улей газоотводное устройство снабжено соединением на противопчелиной сетке, корпус помещения дополнительно снабжен устройством для нагрева и испарения биомиметического ульевого газа, устройство для нагрева и испарения биомиметического ульевого газа содержит емкость для пчелиных продуктов и нагреватель, расположенный в нижней части емкости для пчелиных продуктов, емкость для пчелиных продуктов снабжена выпускным отверстием для воздуха выполненная с возможностью размещения пчелиных продуктов.

Недостатком данного улья с пригодным для дыхания воздухом из ульев является то, что отсутствуют газоанализаторы, анализирующие содержание углекислого газа в помещении, за счет чего при повышении содержания углекислого газа вызванное деятельностью пчел может привести к вялости, снизить работоспособность, концентрацию внимания, возникнет сонливость и слабость и, как следствие, увеличивает время восстановления человека.

Также из уровня техники известно АПИТЕРАПЕВТИЧЕСКОЕ УСТРОЙСТВО [CN 213639350 U, опубл. 09.07.2021], включающее корпус, внутри которого расположена кабина для направления пчел, направляющая кабина и кабина для приема пчел, внутри которой расположена кабина для сбора пчел, кабина для направления пчел снабжена направляющим портом для пчел, который соединен с направляющей кабиной, входное отверстие для пчел выполнено напротив выходного отверстия для пчел в верхней части кабины для приема пчел, в направляющей кабине расположена направляющая труба, которая соединена с кабиной для сбора пчел.

Недостатком данного апитерапевтического устройства является то, что устройство имеет конструкцию с множеством компонентов, что может затруднить его использование и обслуживание и, в свою очередь, увеличить общее время проведения процедур апитерапии, а также в устройстве отсутствует контроль за процессом взаимодействия с пчелами, что может привести к задержкам в терапии или даже к негативным последствиям и, как следствие, увеличивает время восстановления человека.

Наиболее близким по технической сущности является ДОМ ПЧЕЛОТЕРАПИИ [EE 01420 U1, опубл. 15.02.2018], состоящий из пчелиных ульев и лечебной комнаты с откидными кроватями, имеющей две боковые стенки и две торцевые стенки, крышу, окно, дверь, отличающийся тем, ульи расположены под лежанками, отделены друг от друга перегородками и содержатся в камерах под деревянно-щитовой изоляционной панелью лежанок, которая покрыта металлической сеткой с вентиляционными отверстиями, дополнительные вентиляционные отверстия выполнены в боковой стенке лежанки, при этом к боковой стенке лежанки прикреплен ингалятор с ингаляционной маской.

Основной технической проблемой прототипа является то, что конструкция с деревянно-щитовой изоляцией ограничивает эффективность вентиляции и контроля температуры и, как следствие, увеличивает время восстановления человека.

Задачей изобретения является устранение недостатков прототипа.

Технический результат изобретения заключается в сокращении времени восстановления человека.

Технический результат достигается за счет того, что вибро-акустическое устройство, содержащее основание, изголовье, изножье, царги, мембрану, летки, прилетные доски, нижнюю вентиляцию, смонтированную под прилетными досками, верхнюю вентиляцию с герметичной заслонкой, при этом выполнено с возможностью издавать звук с частотой от 60 до 1200 Гц, интенсивностью до 40 дБ, выполнено с возможностью работать в вибро-акустическом и акустическом режимах, мембрана выполнена толщиной от 3 до 10 мм с возможностью установки накладок, в основании выполнены камеры с сетчатым дном разделенные перегородками с возможностью размещения пчелиных семей, в камерах смонтированы газоанализаторы выполненные с возможностью активировать механизм закрывания герметичных заслонок верхней вентиляции и герметизировать камеры при достижении содержания углекислого газа более 0,25% в камерах, пчелиные семьи размещены в камерах на холодный занос.

В частности, мембрана выполнена из титана, или майлара, или целлюлозы.

В частности, мембрана выполнена с возможностью установки накладок высотой до 120 мм.

В частности, в основании выполнены три равных камеры.

В частности, на основании выполнены пазы для ульевой рамки глубиной 10-12 мм, высотой 10-12 мм.

В частности, на основании выполнены пазы для мембраны глубиной 10-12 мм, высотой 10-12 мм.

Краткое описание чертежей.

На фиг. 1 показан вид сверху вибро-акустического устройства без мембраны.

На фиг. 2 показан вид снизу вибро-акустического устройства.

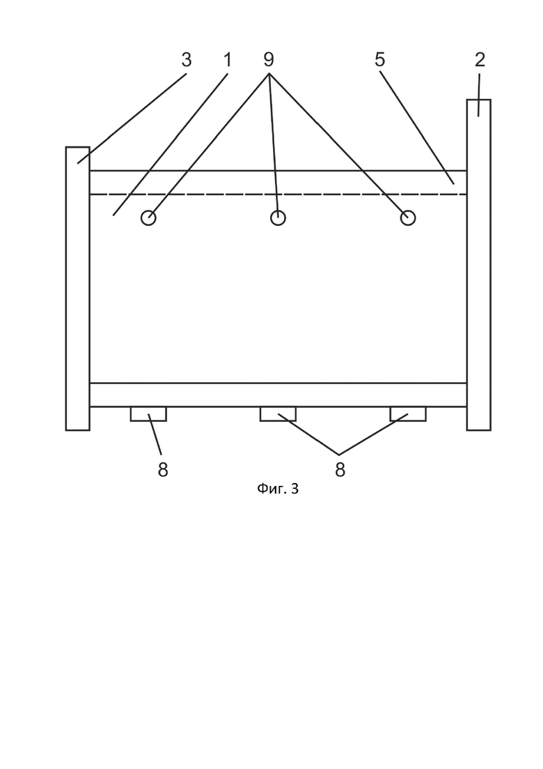
На фиг. 3 показан вид спереди вибро-акустического устройства.

На фиг. 4 показан вид сзади вибро-акустического устройства.

На фиг. 5 показано сечение А-А вибро-акустического устройства.

На фигурах обозначено: 1 - основание, 2 - изголовье, 3 - изножье, 4 - царги, 5 - мембрана, 6 - летки, 7 - прилетные доски, 8 - нижняя вентиляция, 9 - верхняя вентиляция, 10 - камеры, 11 - сетчатое дно, 12 - перегородки, 13 - пазы для ульевой рамки, 14 - пазы для мембраны.

Осуществление изобретения

Вибро-акустическое устройство предназначено для терапии и оздоровления, выполняет функции массажа, релаксации, улучшения кровообращения и снятия мышечного напряжения. Вибрации, создаваемые устройством, способствуют расслаблению мышц, улучшению лимфотока и обмена веществ, а также имеют благоприятное воздействие на нервную систему. Вибро-акустическое устройство устанавливается в сооружениях «Апидомик» и лечебно-оздоровительных комплексах. Вибро-акустическое устройство применяется в физиотерапии, реабилитации и для общего повышения уровня комфорта, также его используют в spa-процедурах и для домашнего использования, чтобы снизить уровень стресса и достичь более глубокого состояния релаксации.

Вибро-акустическое устройство содержит основание 1, изголовье 2, изножье 3, царги 4, мембрану 5, летки 6, прилетные доски 7, нижнюю вентиляцию 8 смонтированную под прилетными досками 7, верхнюю вентиляцию 9 с герметичными заслонками (фиг. 1-5).

Вибро-акустическое устройство выполнено с возможностью издавать звук с частотой от 60 до 1200 Гц, интенсивностью до 40 дБ, выполнено с возможностью работать в вибро-акустическом и акустическом режимах. Вибро-акустический режим при нахождении человека на мембране 5 без накладок, а акустический режим при установленных на мембране 5 накладках или при нахождении рядом с устройством.

На основании 1 разъемным соединением, закреплены изголовье 2, изножье 3, царги 4, прилетные доски 7, нижняя вентиляция 9, например, винтовым или болтовым соединением.

Мембрана 5 выполнена толщиной от 3 до 10 мм с возможностью установки накладок (на фигурах не показано). Мембрана 5 может быть выполнена, например, из титана или майлара или целлюлозы. Мембрана 5 выполнена с возможностью установки накладок высотой до 120 мм. Накладки на мембрану 5 устанавливаются с помощью разъемных соединений, например, с помощью винтового или болтового соединения. Полезная лечебно-оздоровительная площадь мембраны 5 составляет не менее 0,8 м2.

В основании 1 выполнены камеры 10 с сетчатым дном 11 разделенные перегородками 12 с возможностью размещения пчелиных семей. В основании 4 выполнены три равных камеры 10. Сетчатое дно 11 смонтировано неразъемным соединением, например, с помощью клееного или клепанного соединения и выполнено с возможностью не допустить попадания пчел в нижнюю вентиляцию 8. Вентиляция камер 10 выполнена с помощью нижней вентиляции 8 соединенной с внешней средой.

В камерах 10 смонтированы разъемным соединением газоанализаторы (на фигурах не показано), например, с помощью винтового или болтового соединения, выполненные с возможностью активировать механизм закрывания герметичных заслонок верхней вентиляции 9 и герметизировать камеры 10 при достижении содержания углекислого газа более 0,25% в камерах 10. Пчелиные семьи размещены в камерах 10 на холодный занос. Под холодным заносом понимается метод размещения ульевых рамок в камеры 10, при котором ульевые рамки располагают перпендикулярно царгам 4.

Микроклимат в пчелиной семье регулярно переменчив, поэтому внутри пчелиной семьи изменяется концентрация углекислого газа, которая составляет от 0,03% до 10%. При Увеличение концентрации углекислого газа происходит при увеличении потребления кислорода, которое происходит при следующих причинах.

1. Повышение температуры в камерах 10 может увеличить активность пчел, что, в свою очередь, приводит к большему потреблению кислорода.

2. Большое количество пчел в ульевой рамки, особенно в период зимовки или во время всплесков активности, требует большего объема кислорода для дыхания.

3. В период, когда пчелы активно выводят расплод, увеличивается метаболическая активность, что также может приводить к повышенному потреблению кислорода.

4. Погодные условия, наличие вредителей или заболеваний также могут повлиять на общий уровень активности пчел и их потребление кислорода.

5. Наличие определенных препаратов, используемых для борьбы с болезнями или паразитами, может вызывать повышенное дыхание пчел и, как следствие, потребление кислорода.

При перечисленных процессах в пчелиной семье уровень углекислого газа повышается до более 0,25%, а для организма человека допустимое содержание углекислого газа в воздухе более 0,25%. Таким образом, герметизация верхней вентиляции 9 посредством герметичных заслонок обеспечивает безопасное нахождение человека.

Верхняя вентиляция 9 выполнена с возможностью обеспечения доступа к воздуху, выделяемому пчелами и обогащения воздуха пчелиными ароматическими веществами, а также для герметизации камер 10.

Летки 6 выполнены с возможностью обеспечения доступа пчел к ульевым рамкам и связи с внешней средой.

Прилетные доски 7 выполнены длиной 40-60 мм и смонтированы над нижней вентиляцией 8. Прилетные доски 7 выполнены с возможностью облегчить посадку груженой нектаром пчелы, а также для обеспечения безопасности входа пчелами.

На основании 1 выполнены пазы для ульевой рамки 13 глубиной 10-12 мм, высотой 10-12 мм. На основании 1 выполнены пазы для мембраны 14 глубиной 10-12 мм, высотой 10-12 мм.

Вибро-акустическое устройство выполнено с возможностью издавать звук с частотой от 60 до 1200 Гц, что позволяет создавать расслабляющую атмосферу, которая способствует снижению уровня стресса и тревожности, создавая ощущение стабильности и комфорта, и, как следствие, сокращается время восстановления человека. При частоте менее 60 Гц звук может вызывать неприятные физические ощущения, такие как головокружение, утомление и даже чувство дискомфорта, особенно у чувствительных людей, а также могут отвлекать или угнетать, мешая пациентам сосредоточиться на отдыхе и релаксации, и, как следствие, увеличивается время восстановления человека. При частоте более 1200 Гц звуки вызывают чувство перегруженности и раздражительности, взаимодействие с такими частотами может приводить к когнитивной усталости и снижению внимания, что мешает процессу расслабления, и, как следствие, увеличивается время восстановления человека.

Вибро-акустическое устройство выполнено с возможностью издевать звук интенсивностью до 40 дБ, что способствует созданию спокойной и расслабляющей атмосферы, способной снизить уровень стресса и тревожности, а также помогает пациентам достичь состояния умиротворения, звуки в данном диапазоне воспринимаются как более мягкие и приятные, что создает комфортные условия для отдыха и улучшает общее впечатление от процедуры, и, как следствие, сокращается время восстановления человека. При интенсивности более 40 дБ звук вызовет стресс и тревожность, что пагубно скажется на состоянии расслабления и умиротворения, а также создаст дополнительное физическое напряжение, дискомфорт и боль в ушах, что будет отвлекать от процесса расслабления, и, как следствие, увеличивается время восстановления человека.

Вибро-акустическое устройство выполнено с возможностью работать в вибро-акустическом и акустическом режимах, вибро-акустический режим позволяет создавать комплексные вибрации, которые могут оказывать дополнительное воздействие на тело, что способствует улучшению циркуляции крови, уменьшению напряженности и стимуляции рецепторов, что, в свою очередь, помогает в быстром восстановлении психоэмоционального состояния, а акустический режим предоставляет более привычное звуковое воздействие, которое может быть аналогично сеансам звуковой терапии, улучшающей общее состояние организма, при это возможность выбора режима позволяет пользователю адаптировать устройство к своим индивидуальным требованиям и предпочтениям, например, в зависимости от состояния или настроения можно переключаться между расслабляющим акустическим режимом и более активным вибро-акустическим, сочетание обоих режимов используется для глубокого расслабления и медитации, что приводит к снижению уровня тревожности и стресса, улучшению настроения и общего состояния, и, как следствие, сокращается время восстановления человека.

Мембрана 5 выполнена толщиной от 3 до 10 мм, что позволяет обеспечивать сбалансированные акустические характеристики, способствуя передаче звуковых волн без значительных искажений, что особенно важно для создания нужного вибрационного воздействия, которое может быть эффективно использовано для терапии, а также обладает достаточной гибкостью для снижения механических нагрузок, прочностью, что делает её устойчивой к внешним воздействиям и механическим повреждениям увеличивая срок службы устройства и позволяет настраивать диапазон частот, что позволяет использовать устройство как в акустическом, так и в вибро-акустическом режимах, для достижения желаемого терапевтического эффекта при работе с пользователями, и, как следствие, сокращается время восстановления человека. При выполнении мембраны 5 толщиной менее 3 мм, мембрана 5 может воспринимать вибрации и шумы из окружающей среды, что может негативно повлиять на качество акустического воздействия, а также ограничить диапазон частот, которые может издавать устройство, снижая его терапевтическую эффективность, и, как следствие, увеличивается время восстановления человека. При выполнении мембраны 5 толщиной более 10 мм, будет менее чувствительна к изменениям в звуковом окружении, что приведет к снижению качества акустического маршрута и ухудшению отклика на вибрационные сигналы, а также будет требовать большей энергии для генерации необходимой амплитуды колебаний, что снизит общую эффективность устройства, и, как следствие, увеличивается время восстановления человека.

Мембрана 5 выполнена с возможностью установки накладок, таким образом, позволяет пользователю адаптировать устройство под свои специфические потребности и предпочтения, что особенно полезно для людей с различными психоэмоциональными состояниями, а разные акустические свойства могут создать нужный эффект и модифицировать резонансные свойства мембраны, что позволяет настраивать частоты и глубину звука для достижения желаемых терапевтических эффектов и оптимизации воздействия на пользователя, и, как следствие, сокращается время восстановления человека.

В основании 1 выполнены камеры 10 с сетчатым дном 11 разделенные перегородками 12 с возможностью размещения пчелиных семей, таким образом, сетчатое дно 11 обеспечивает вентиляцию в камерах 10, что улучшает профилактику переувлажнения и развития болезней у пчел и способствует созданию более здоровой среды для пчиных семей, что важно для их продуктивности и стрессоустойчивости, разделение камер 10 с перегородками 12 позволяет контролировать микроклимат, такие как температура и влажность, что критически важно для здоровья пчел, так как разные семьи имеют разные потребности, а также данная конструкция упрощает доступ для осмотра пчелиных семей и проведения необходимых мероприятий, например, кормления, лечения или контроля за состоянием семей, что повышает эффективность ухода за пчелами и способствовует оптимальному распределению звуковых волн и вибраций от вибро-акустического устройства, создавая более эффективную терапевтическую среду, и, как следствие, сокращается время восстановления человека.

В камерах 10 смонтированы газоанализаторы выполненные с возможностью активировать механизм закрывания герметичных заслонок верхней вентиляции 9 и герметизировать камеры 10 при достижении содержания углекислого газа более 0,25% в камерах 10, таким образом, позволяет постоянно анализировать уровень углекислого газа в атмосфере камер 10, что важно для поддержания оптимального микроклимата для пчелиных семей, и помогает предотвратить стресс и заболевания, вызванные плохими условиями содержания, а также не допустить повышения уровня углекислого газа вдыхаемого человеком за счет герметизации верхней вентиляции 9, так как при повышении содержания углекислого газа вызванное деятельностью пчел может привести к вялости, снизить работоспособность, концентрацию внимания, возникнет сонливость и слабость, оптимизация вентиляционных параметров снижает энергозатраты на поддержание микроклимата и повысить общую энергоэффективность устройства, и, как следствие, сокращается время восстановления человека.

Пчелиные семьи размещены в камерах 10 на холодный занос, таким образом, облегчает операцию по замене, добавлению или извлечению ульевых рамок и позволяет пчеловоду быстрее и проще выполнять необходимые манипуляции, снижая время, затрачиваемое на обслуживание ульевых рамок, а также холодный занос позволяет более эффективно использовать пространство в камерах 10, путем увеличения количества пчел в условиях ограниченного объема в камер 10, тем самым повышая производительность и управление пчелиными семьями, что повышает общую энергоэффективность устройства, и, как следствие, сокращается время восстановления человека.

Вибро-акустическое устройство используют следующим образом.

Вибро-акустическое устройство устанавливают в сооружениях «Апидомик» или лечебно-оздоровительных комплексах. Перед проведением сеансов лечебно-оздоровительных процедур вибро-акустическое устройство заселяют пчелиными семьями. После чего человек без одежды размещается на мембране 5, тем самым принимает вибро-акустические колебания. В ходе лечебно-оздоровительных процедур человек может размещаться как лежа, так и сидя непосредственно на мембране 5, вибро-акустические процедуры проводят от 10 до 20 минут, один раз в сутки, курсом от 10 до 15 дней.

При размещении человека на расстоянии более 100 мм от вибро-акустического устройства или с использованием накладок на мембране 5 проводят акустическую терапию в течении от 1 до 3 часов или времени полноценного сна, один раз в сутки, курсом от 10 до 15 дней.

В ходе лечебно-оздоровительных процедур человек вдыхает пчелиный воздух поступающей из верхней вентиляции 9, если уровень углекислого газа в камерах 10 не превышает 0,25%. При достижении содержания углекислого газа более 0,25% в камерах 10 срабатывает газоанализатор, который подает сигнал управления на срабатывание, что может быть реализовано посредством, например, с помощью реле, активации механизма закрывания герметичных заслонок верхней вентиляции 9 и камеры 10 герметизируются и углекислый газ из камер 10 не поступает в помещение, где установлено устройство. После того, как содержание углекислого газа становится менее 0,25% в камерах, сигнал управления снимается и под действием силы тяжести заслонки верхней вентиляции 9 открываются.

Примеры реализации вибро-акустического устройства

Первым примером реализации является вибро-акустическое устройство, содержащее основание 1, изголовье 2, изножье 3, царги 4, мембрану 5, летки 6, прилетные доски 7, нижнюю вентиляцию 8, смонтированную под прилетными досками 7, верхнюю вентиляцию 9, при этом устройство выполнено с возможностью издавать звук с частотой 60 Гц, интенсивностью до 40 дБ, выполнено с возможностью работать в вибро-акустическом и акустическом режимах, мембрана 5 выполнена толщиной 3 мм с возможностью установки накладок, в основании 1 выполнены камеры 10 с сетчатым дном 11, разделенные перегородками 12 с возможностью размещения пчелиных семей, в камерах 10 смонтированы газоанализаторы, выполненные с возможностью срабатывания при достижении содержания углекислого газа более 0,25% в атмосфере и герметизирующие верхнюю вентиляцию 9, камеры 10 выполнены с возможностью холодного заноса ульевых рамок.

Вторым примером реализации является вибро-акустическое устройство, содержащее основание 1, изголовье 2, изножье 3, царги 4, мембрану 5, летки 6, прилетные доски 7, нижнюю вентиляцию 8, смонтированную под прилетными досками 7, верхнюю вентиляцию 9, при этом устройство выполнено с возможностью издавать звук с частотой 600 Гц, интенсивностью до 40 дБ, выполнено с возможностью работать в вибро-акустическом и акустическом режимах, мембрана 5 выполнена толщиной 7 мм с возможностью установки накладок, в основании 1 выполнены камеры 10 с сетчатым дном 11, разделенные перегородками 12 с возможностью размещения пчелиных семей, в камерах 10 смонтированы газоанализаторы, выполненные с возможностью срабатывания при достижении содержания углекислого газа более 0,25% в атмосфере и герметизирующие верхнюю вентиляцию 9, камеры 10 выполнены с возможностью холодного заноса ульевых рамок.

Третьим примером реализации является вибро-акустическое устройство, содержащее основание 1, изголовье 2, изножье 3, царги 4, мембрану 5, летки 6, прилетные доски 7, нижнюю вентиляцию 8, смонтированную под прилетными досками 7, верхнюю вентиляцию 9, при этом устройство выполнено с возможностью издавать звук с частотой 1200 Гц, интенсивностью до 40 дБ, выполнено с возможностью работать в вибро-акустическом и акустическом режимах, мембрана 5 выполнена толщиной 10 мм с возможностью установки накладок, в основании 1 выполнены камеры 10 с сетчатым дном 11, разделенные перегородками 12 с возможностью размещения пчелиных семей, в камерах 10 смонтированы газоанализаторы, выполненные с возможностью срабатывания при достижении содержания углекислого газа более 0,25% в атмосфере и герметизирующие верхнюю вентиляцию 9, камеры 10 выполнены с возможностью холодного заноса ульевых рамок.

На основании технического результата провели сравнительный анализ заявленного изобретения с аналогами и прототипом. Анализ включал в себя сравнение времени восстановления 100 человек с нарушением психоэмоционального состояния, то есть с переживаниями по отношению к самому себе, к другим людям и к окружающему миру, влияющие на деятельность, поведение и поступки. В ходе анализа проводились психодиагностические тесты, выполненные из опросника с вариантами ответа, в результате которых проверяли самочувствие, активность, настроение и уровень стрессоустойчивости, результаты которых фиксировались в процентах, чем выше процент, тем более высокие показатели, свидетельствующие о здоровом состоянии. До анализа у испытуемых оценка психоэмоционального состояния составляла 40-45%. Время восстановления фиксировали по достижению психоэмоционального состояния 80%. По результатам анализа у CN 107280893 A было отмечено, что время восстановления психоэмоционального состояния составило 60 дней, у CN 213639350 U было отмечено, что время восстановления составило психоэмоционального состояния 50 дней, у EE 01420 U1 было отмечено, что время восстановления психоэмоционального состояния составило 40 дней, а у заявленного изобретения по результатам анализа было отмечено, что время восстановления психоэмоционального состояния составило 30 дней. Среди наиболее часто встречающихся причин людей, участвующих в анализе, обеспечивающем сокращение времени восстановления человека, было отмечено следующее: яркие впечатления от нахождения пчелиных семей в непосредственной близости пребывания, удобство размещения, приятные ощущения и наличие аудиокомфорта благодаря тому, что пчелиный улей разделен на три части. Дополнительно повышается безопасность пребывания за счет герметизации камер 10 от пчелиных семей, а связь с внешней средой обеспечивается за счет нижней вентиляции 8.

Таким образом, заявленное изобретение сокращает время восстановления человека в сравнении с аналогами и прототипом на 20-25%.

Похожие патенты RU2840697C1

название год авторы номер документа
ПЕРЕДВИЖНОЙ ПАВИЛЬОН КРУГЛОГОДИЧНОГО СОДЕРЖАНИЯ ПЧЕЛ 1992
  • Черепахин Георгий Иванович
RU2038769C1
ШКАФНОЙ МНОГОМОДУЛЬНЫЙ УЛЕЙ 1997
  • Курченков Михаил Петрович
RU2160530C2
ОМШАНИК УНИВЕРСАЛЬНЫЙ 2012
  • Ившуков Алексей Константинович
  • Наумов Андрей Алексеевич
  • Наумов Егор Алексеевич
RU2512550C1
УЛЕЙ МНОГОФУНКЦИОНАЛЬНЫЙ 2006
  • Александров Анатолий Александрович
RU2337537C2
Улей Головина В.А. 1979
  • Головин Валентин Андреевич
SU929031A1
Воздушная подушка Черепахина Г.И. для улья 1991
  • Черепахин Георгий Иванович
SU1793868A3
Улей 1991
  • Пентегов Николай Александрович
  • Пентегов Александр Николаевич
  • Пентегов Андрей Николаевич
SU1793867A3
РАЗБОРНЫЙ ПЕРЕНОСНОЙ УЛЕЙ 2004
  • Смирнов Н.Н.
RU2263447C1
СЕКЦИОННО-МОДУЛЬНЫЙ УЛЕЙ И МОДУЛЬ УЛЬЯ С ГЛУХИМ ОСНОВАНИЕМ 2015
  • Максимов Владимир Николаевич
RU2619237C2
СЕКЦИОННО-МОДУЛЬНЫЙ УЛЕЙ 2015
  • Максимов Владимир Николаевич
RU2592118C1

Иллюстрации к изобретению RU 2 840 697 C1

Реферат патента 2025 года ВИБРО-АКУСТИЧЕСКОЕ УСТРОЙСТВО

Изобретение относится к медицинской технике, а именно к вибро-акустическому устройству. Устройство содержит основание, изголовье, изножье, царги, летки, нижнюю и верхнюю вентиляции. Устройство включает мембрану толщиной от 3 до 10 мм, выполненную с возможностью установки накладок и размещения человека без одежды, прилетные доски и выполнено с возможностью издавать звук с частотой от 60 до 1200 Гц, интенсивностью до 40 дБ и с возможностью работать в вибро-акустическом и акустическом режимах. Нижняя вентиляция смонтирована под прилетными досками, а верхняя вентиляция выполнена с герметичными заслонками. В основании выполнены камеры с сетчатым дном, выполненным с возможностью недопущения попадания пчел в нижнюю вентиляцию, разделенные перегородками с возможностью размещения пчелиных семей. В камерах с сетчатым дном смонтированы газоанализаторы, выполненные с возможностью активировать механизм закрывания герметичных заслонок верхней вентиляции и герметизировать камеры с сетчатым дном при достижении содержания углекислого газа более 0,25% в камерах с сетчатым дном. Пчелиные семьи размещены в камерах с сетчатым дном на холодный занос. Технический результат изобретения заключается в сокращении времени восстановления человека. 5 з.п. ф-лы, 5 ил.

Формула изобретения RU 2 840 697 C1

1. Вибро-акустическое устройство, содержащее основание, изголовье, изножье, царги, летки, нижнюю и верхнюю вентиляции, отличающееся тем, что содержит мембрану толщиной от 3 до 10 мм, выполненную с возможностью установки накладок и размещения человека без одежды, прилетные доски и выполнено с возможностью издавать звук с частотой от 60 до 1200 Гц, интенсивностью до 40 дБ и с возможностью работать в вибро-акустическом и акустическом режимах; при этом нижняя вентиляция смонтирована под прилетными досками, а верхняя вентиляция выполнена с герметичными заслонками; в основании выполнены камеры с сетчатым дном, выполненным с возможностью недопущения попадания пчел в нижнюю вентиляцию, разделенные перегородками с возможностью размещения пчелиных семей; в камерах с сетчатым дном смонтированы газоанализаторы, выполненные с возможностью активировать механизм закрывания герметичных заслонок верхней вентиляции и герметизировать камеры с сетчатым дном при достижении содержания углекислого газа более 0,25% в камерах с сетчатым дном, причем пчелиные семьи размещены в камерах с сетчатым дном на холодный занос.

2. Вибро-акустическое устройство по п. 1, отличающееся тем, что мембрана выполнена из титана, или майлара, или целлюлозы.

3. Вибро-акустическое устройство по п. 1, отличающееся тем, что мембрана выполнена с возможностью установки накладок высотой до 120 мм.

4. Вибро-акустическое устройство по п. 1, отличающееся тем, что в основании выполнены три равных камеры.

5. Вибро-акустическое устройство по п. 1, отличающееся тем, что на основании выполнены пазы для ульевой рамки глубиной 10-12 мм, высотой 10-12 мм.

6. Вибро-акустическое устройство по п. 1, отличающееся тем, что на основании выполнены пазы для мембраны глубиной 10-12 мм, высотой 10-12 мм.

Документы, цитированные в отчете о поиске Патент 2025 года RU2840697C1

Способ окисления алкоголей 1915
  • Маковецкий А.Е.
  • Яновский В.В.
SU1420A1
Штамп для радиальной формовки зубьев шестерен и других подобных деталей 1958
  • Протопопов О.В.
  • Савин А.М.
SU116746A1
РАБОЧАЯ КЛЕТЬ ПРОКАТНОГО СТАНА•я СOCLCOi03lЦАТЫ1ТНО-ТЕ?;нм'-!:'--^ ^Btib^:iiv-''•"11 0
  • С. Сиушев, В. В. Романов Л. Д. Пескин
SU173689A1
"Кто их поймет, этих пчел
Доброе утро
Прибор для промывания газов 1922
  • Блаженнов И.В.
SU20A1
Землянкина Ж.А
Способ гальванического снятия позолоты с серебряных изделий без заметного изменения их формы 1923
  • Бердников М.И.
SU12A1

RU 2 840 697 C1

Авторы

Урмаков Андриан Николаевич

Даты

2025-05-27Публикация

2024-10-21Подача