Устройство для проращивания зерна Российский патент 2025 года по МПК A01C1/02 

Описание патента на изобретение RU2840809C1

Устройство для проращивания зерна относится к сельскому хозяйству и пищевой промышленности, и предназначено для механизации процесса проращивания зерна на витаминный корм для животных и птиц.

Известно устройство для проращивания зерна [RU 109634 U1, А01С 1/00(2006.01), 27.10.2011], устройство состоит из емкости для зерна, емкость выполнена с перфорированными стенками и днищем, и с равными по размеру наружными отгибами по ее периметру в верхней части и на днище, а днище емкости снабжено выступом, расположенным под ее отгибом, размеры которого по высоте и по периметру обеспечивают фиксированную установку емкостей одна на другую, при этом отгиб, выполненный на днище емкости соприкасается с отгибом, выполненным в верхней части емкости. Размеры отверстий в стенках и днище не превышают размеры отдельной зерновки. Высота выступа составляет не менее 1/5 высоты емкости, а длина выступа меньше длины передней стенки емкости на толщину стенки емкости. Емкость выполнена из материала не подверженного окислению.

Недостатком данного устройства для проращивания зерна является ручное раскладывание пророщенного зерна, что приводит к снижению производительности.

Известна гидропонная установка для выращивания зеленой кормовой массы [RU 132679 U1, A01G 31/02(2006.01), 27.09.2013], установка выполнена в виде стоек, соединенных между собой полками. На полках размещены поддоны-растильни для проращивания зерна, с нижней стороны полок закреплены люминесцентные лампы. Поддоны расположены с уклоном, позволяющим свободному стеканию поливного раствора по трубам из вышестоящего поддона в нижестоящий поддон. В нижней части устройства расположена емкость для сбора раствора, которая соединена трубопроводом с растворным узлом, расположенным на верхней полке установки. Кроме того, установка снабжена фильтром и насосом, а поддоны - сливными воронками с сеткой. Включатели света, насоса и акустического поля располагаются на панели управления. Управление гидропонной установкой может осуществляться в ручном или автоматическом режиме с использованием таймера включения.

Недостатками данной установки является увлажнение зерна погружением в воду, что приводит к подгниванию зерна и ростков. Ручное раскладывание зерна приводит к снижению производительности установки.

Известно устройство для проращивания зерна [RU 2472330 С2, А01С 1/00(2006.01), 20.01.2013], устройство выполнено из рамы, мотора-редуктора, теплового реле, катушки, рамки, маховика, емкости, ванны, насоса, подающего шланга, сливного шланга, крана, трубы, Г-образной стрелы, нижних тросов, верхних тросов, центрального троса, скобы, двух шкивов, барботера, кольца, подпружиненной пластины, пульта управления, реле времени, измерителя-регулятора, датчика температуры, концевых выключателей (кнопочного и рычажного типов), трубчатого электронагревателя (ТЭНа), светового индикатора, четырехполюсного выключателя, однополюсного выключателя, двух тумблеров и двух контакторов, катушек, контактов.

Недостатками данной установки является низкая производительность и сложная конструкция.

Известна технологическая линия непрерывного проращивания зерна [RU 2787703 C1, А01С 1/00(2006.01), 11.01.2023], технологическая линия состоит из загрузочного бункера, распределительного шнека, ленточного транспортера, электропривода, трубопровода с форсунками.

Недостатками представленной технологической линии являются провисание ленты транспортера при его загрузке зерном, высокая металлоемкость установки, связанная с большим числом поддерживающих роликов.

Задача изобретения - механизация процесса раскладывания зерна для проращивания за счет применения подвижного бункера с зерном, увеличение равномерности распределения зерна за счет использования дозатора, увлажнение зерна во время проращивания за счет использования трубопровода с форсунками, освещения зерна во время проращивания за счет использования фитоламп.

Сущность изобретения заключается в том, что для реализации указанной задачи предлагается устройство для проращивания зерна, состоящее из: загрузочного бункера, шнека, электродвигателя, ременной передачи, стола, ограждений, опор, направляющих, перемычек, малых опор, тросов, продольной рамы, колес, поперечной рамы, моторов-редукторов, бункера, фитоламп, трубопровода, форсунок, дозатора, направляющей горловины.

При этом устройство для проращивания зерна состоит из загрузочного бункера, шнека, стола. Для возможности вращения шнека предусмотрен мотор-редуктор с ременной передачей. Стол выполнен для возможности проращивания зерна. Стол установлен неподвижно, при этом на столе выполнены ограждения. С двух сторон стола установлены опоры, на которых смонтированы направляющие, которые соединены перемычками. Направляющие установлены горизонтально. На направляющие при помощи колес установлена продольная рама, которая выполнена с возможностью перемещения. Для возможности передвижения продольной рамы предусмотрен мотор-редуктор. На продольную раму при помощи колес установлена поперечная рама, которая выполнена с возможностью перемещения. Для возможности передвижения поперечной рамы предусмотрен мотор-редуктор. На поперечной раме установлен бункер. В нижней части бункера установлен дозатор. Для возможности осуществления вращения дозатора предусмотрен электродвигатель. В нижней части дозатора установлена направляющая горловина. Над направляющими на перемычках установлены малые опоры, на которых на тросах установлены фитолампы. В нижней части опор установлен трубопровод, на котором выполнены форсунки. Форсунки предназначены для возможности осуществления увлажнения зерна во время его проращивания.

Принцип работы устройства для проращивания зерна будет понятным из следующего описания и прилагаемых чертежей.

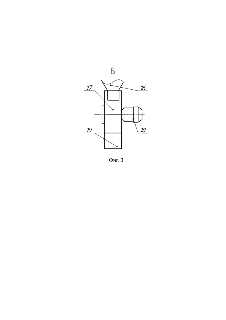
На фиг. 1 приведен общий вид устройства для проращивания зерна. На фиг. 2 представлены форсунки для орошения зерна во время проращивания. На фиг. 3 представлен дозатор с электродвигателем.

При этом устройство для проращивания зерна состоит из загрузочного бункера 1 (Фиг. 1), шнека 2. Для возможности вращения шнека 2 предусмотрен мотор-редуктор 3 с ременной передачей 4. Стол 5 выполнен для возможности проращивания зерна. По периметру стола 5 установлено ограждение 6 (Фиг. 1, 2), которое предназначено для исключения возможности рассыпания зерна. С двух сторон стола 5 (Фиг. 1) установлены опоры 7 (Фиг. 1, 2), на которых смонтированы направляющие 8 (Фиг. 1), которые соединены перемычками 9. Направляющие 8 установлены горизонтально. На направляющие 8 при помощи колес 10 установлена продольная рама 11, которая выполнена с возможностью перемещения. Для возможности перемещения продольной рамы 11 предусмотрен мотор-редуктор 12. На продольную раму 11 при помощи колес 13 установлена поперечная рама 14, которая выполнена с возможностью перемещения. Для возможности перемещения поперечной рамы 14 предусмотрен мотор-редуктор 15. На поперечной раме 14 установлен бункер 16 (Фиг. 1, 3). В нижней части бункера 16 установлен дозатор 17. Для возможности осуществления вращения дозатора 17 предусмотрен электродвигатель 18 (Фиг. 3). В нижней части дозатора 17 (Фиг. 1, 3) установлена направляющая горловина 19. Над направляющими 8 (Фиг. 1) на перемычках 9 установлены малые опоры 20, на которых на тросах 21 установлены фитолампы 22. В нижней части опор 7 (Фиг. 1, 2) установлен трубопровод 23, на котором выполнены форсунки 24 (Фиг. 2). Форсунки 24 предназначены для возможности осуществления увлажнения зерна во время его проращивания на столе 5 (Фиг. 1).

Устройство для проращивания зерна работает следующим образом. В загрузочный бункер 1 (Фиг. 1) подают зерно, затем включают мотор-редуктор 3 и при помощи ременной передачи 4 вращают шнек 2, которым подают зерно из загрузочного бункера 1 в бункер 16 (Фиг. 1, 3). После осуществления загрузки бункера 16 выключают мотор-редуктор 3 (Фиг. 1). Затем включают мотор-редуктор 15 и при помощи колес 13 перемещают поперечную раму 14 из крайнего левого положения в крайнее правое положение поперек стола 5. Одновременно включают электродвигатель 18 (Фиг. 3), которым вращают дозатор 17 (Фиг. 1, 3) и подают зерно через направляющую горловину 19 необходимым слоем на стол 5 (Фиг. 1). Затем выключают мотор-редуктор 15 и включают мотор-редуктор 12 и перемещают продольную раму 11 на 20 см вперед при помощи колес 10 по направляющим 8. Затем выключают мотор-редуктор 12 и включают мотор-редуктор 15 и при помощи колес 13 перемещают поперечную раму 14 из крайнего правого положения в крайнее левое положение поперек стола 5. Затем выключают мотор-редуктор 15 и включают мотор-редуктор 12 и перемещают продольную раму 11 на 20 см вперед при помощи колес 10 по направляющим 8. Затем повторяют последовательность действий до тех пор пока не распределят зерно по всему столу 5. Затем подают воду в трубопровод 23 (Фиг. 1, 2) и через форсунки 24 (Фиг. 2) на зерно, которое расположено на столе 5 (Фиг. 1). Таким образом, увлажняют зерно на протяжении 5 минут. Затем прекращают подачу воды из форсунок 24 (Фиг. 2). Увлажнение осуществляют через каждые 240 минут на протяжении 5 минут. После начала процесса проращивания на протяжении 2 суток выполняют только увлажнение. На третьи сутки вместе с увлажнением включают фитолампы 22 (Фиг. 1). Фитолампы включают на 480-600 минут. Затем выключают на 600-620 минут. Продолжительность проращивания зерна с применением фитоламп составляет 3 суток. Общая продолжительность проращивания зерна составляет 5 суток.

Устройство для проращивания зерна обеспечивает механизацию процесса раскладывания зерна для проращивания за счет применения подвижного бункера с зерном, увеличение равномерности распределения зерна за счет использования дозатора, увлажнение зерна во время проращивания за счет использования трубопровода с форсунками, освещения зерна во время проращивания за счет использования фитоламп.

Источники информации

1. RU 109634 U1, А01С 1/00(2006.01), 27.10.2011. Устройство для проращивания зерна / В.В. Кокшаров - 2011122452/13, Заявлено 02.06.2011; Опубл. 27.10.2011.

2. RU 132679 U1, A01G 31/02(2006.01), 27.09.2013. Гидропонная установка для выращивания зеленой кормовой массы / М.Л. Гордиевских, Е.И. Столбовая, О.С. Пензина - 2013122435/13, Заявлено 15.05.2013: Опубл. 27.09.2013.

3. RU 2472330 С2, А01С 1/00 (2006.01), 20.01.2013. Способ проращивания зерна и устройство для его осуществления / С.А. Булавин, С.В. Вендин, Ю.В. Саенко и др. - 2011109467/13, Заявлено 14.03.2011; Опубл. 20.01.2013.

4. RU 2787703 C1, А01С 1/00 (2006.01), 10.01.2023. Технологическая линия непрерывного проращивания зерна / С.В. Вендин, Ю.В. Саенко, М.С. Широков и др. - 2022104652, Заявлено 21.02.2022; Опубл. 10.01.2023.

Похожие патенты RU2840809C1

название год авторы номер документа
Технологическая линия для проращивания семян 2023
  • Кузьмина Ольга Сергеевна
  • Котлярова Екатерина Геннадьевна
  • Крюков Александр Николаевич
  • Акинчин Александр Владимирович
  • Лукинов Дмитрий Алексеевич
RU2804134C1
Шнековый погрузчик с электрофизической обработкой семян 2024
  • Страхов Владимир Юрьевич
  • Малахов Александр Николаевич
  • Саенко Юрий Васильевич
RU2840808C1
Технологическая линия для проращивания зерна 2022
  • Вендин Сергей Владимирович
  • Страхов Владимир Юрьевич
  • Саенко Юрий Васильевич
  • Широков Михаил Сергеевич
RU2782612C1
Технологическая линия для проращивания семян 2022
  • Кузьмина Ольга Сергеевна
  • Ковалёва Елена Владимировна
  • Крюков Александр Николаевич
  • Акинчин Александр Владимирович
  • Тетерядченко Алексей Иванович
RU2787183C1
Конвейерная установка для проращивания зерна 2018
  • Вендин Сергей Владимирович
  • Саенко Юрий Васильевич
  • Походня Григорий Семёнович
  • Страхов Владимир Юрьевич
RU2698138C1
Устройство для ультрафиолетовой обработки зерна перед проращиванием 2020
  • Вендин Сергей Владимирович
  • Саенко Юрий Васильевич
  • Страхов Владимир Юрьевич
  • Широков Михаил Сергеевич
RU2749099C1
Конвейер для проращивания зерна 2017
  • Вендин Сергей Владимирович
  • Саенко Юрий Васильевич
  • Саенко Сергей Васильевич
RU2642511C1
Технологическая линия непрерывного проращивания зерна 2022
  • Вендин Сергей Владимирович
  • Саенко Юрий Васильевич
  • Широков Михаил Сергеевич
  • Страхов Владимир Юрьевич
  • Мартынов Евгений Алексеевич
RU2787703C1
Установка для проращивания зерна 2024
  • Саенко Юрий Васильевич
  • Походня Григорий Семёнович
  • Косов Александр Владимирович
  • Казаков Константин Владимирович
RU2830904C1
КОНВЕЙЕР ДЛЯ ПРОРАЩИВАНИЯ ЗЕРНА 2010
  • Булавин Станислав Антонович
  • Саенко Юрий Васильевич
  • Головин Алексей Валентинович
RU2444881C1

Иллюстрации к изобретению RU 2 840 809 C1

Реферат патента 2025 года Устройство для проращивания зерна

Изобретение относится к сельскому хозяйству. Предложено устройство для проращивания зерна, состоящее из загрузочного бункера, шнека, стола выполненного для возможности проращивания зерна. По периметру стола установлено ограждение, с двух сторон стола установлены опоры, на которых смонтированы направляющие, которые соединены перемычками, направляющие установлены горизонтально. На направляющие при помощи колес установлена продольная рама, которая выполнена с возможностью перемещения, на продольную раму при помощи колес установлена поперечная рама, которая выполнена с возможностью перемещения. На поперечной раме установлен бункер, в нижней части которого установлен дозатор, в нижней части дозатора установлена направляющая горловина. Над направляющими на перемычках установлены малые опоры, на которых на тросах установлены фитолампы, в нижней части опор установлен трубопровод, на котором выполнены форсунки. Устройство обеспечивает проращивание зерна. 3 ил.

Формула изобретения RU 2 840 809 C1

Устройство для проращивания зерна, состоящее из загрузочного бункера, шнека, для возможности вращения шнека предусмотрен мотор-редуктор с ременной передачей, стола, выполненного для возможности проращивания зерна, по периметру стола установлено ограждение, которое предназначено для исключения возможности рассыпания зерна, с двух сторон стола установлены опоры, на которых смонтированы направляющие, которые соединены перемычками, направляющие установлены горизонтально, на направляющие при помощи колес установлена продольная рама, которая выполнена с возможностью перемещения, для возможности перемещения продольной рамы предусмотрен мотор-редуктор, на продольную раму при помощи колес установлена поперечная рама, которая выполнена с возможностью перемещения, для возможности перемещения поперечной рамы предусмотрен мотор-редуктор, на поперечной раме установлен бункер, в нижней части бункера установлен дозатор, для возможности осуществления вращения дозатора предусмотрен электродвигатель, в нижней части дозатора установлена направляющая горловина, над направляющими на перемычках установлены малые опоры, на которых на тросах установлены фитолампы, в нижней части опор установлен трубопровод, на котором выполнены форсунки, форсунки предназначены для возможности осуществления увлажнения зерна во время его проращивания на столе.

Документы, цитированные в отчете о поиске Патент 2025 года RU2840809C1

Технологическая линия непрерывного проращивания зерна 2022
  • Вендин Сергей Владимирович
  • Саенко Юрий Васильевич
  • Широков Михаил Сергеевич
  • Страхов Владимир Юрьевич
  • Мартынов Евгений Алексеевич
RU2787703C1
Установка для проращивания зерна 2020
  • Вендин Сергей Владимирович
  • Саенко Юрий Васильевич
  • Походня Григорий Семёнович
  • Широков Михаил Сергеевич
  • Путиенко Константин Николаевич
  • Страхов Владимир Юрьевич
RU2741111C1
KR 101724580 B1, 07.04.2017
US 6363656 B1, 02.04.2002.

RU 2 840 809 C1

Авторы

Саенко Юрий Васильевич

Страхов Владимир Юрьевич

Путиенко Константин Николаевич

Ракитянский Иван Николаевич

Даты

2025-05-28Публикация

2024-11-08Подача