ВКЛЮЧЕНИЕ ПОСРЕДСТВОМ ССЫЛКИ
[0001] Предварительная патентная заявка США №62/773,948, поданная 30 ноября 2019 года, полностью включена в настоящий документ посредством ссылки для всех целей.
Уровень техники
Область техники
[0002] Несколько вариантов реализации, описанных в настоящем документе, относятся к узлу и электрическому соединению радиочастотных (РЧ) конфигураций высокой мощности и высокой эффективности для комплексного измерения напряжения, тока и мощности, калибровки и внутреннего контроля ультразвуковых преобразователей. Различные варианты реализации, описанные в этой заявке, направлены на электрические устройства и системы, выполненные с возможностью генерации, наблюдения и доставки РЧ сигналов, на которых основаны неинвазивные процедуры, основанные на ультразвуковой энергии. Несколько вариантов реализации, например, относятся к неинвазивным процедурам, основанным на энергии, для повышения эффективности дерматологических (например, косметических) ультразвуковых процедур.
Описание предшествующего уровня техники
[0003] В прошлом ультразвук использовали как в диагностических, так и в терапевтических целях. Ультразвуковая визуализация и терапия были описаны для различных медицинских применений, включая дерматологию. Также были описаны косметические процедуры с помощью ультразвука.
Раскрытие сущности изобретения
[0004] В нескольких вариантах реализации, описанных в настоящем документе, обеспечены системы и способы, которые преодолевают определенные недостатки применения ультразвука в лечебных целях, включая, например, избыточную дисперсию, появление ошибок и снижение эффективности и действенности лечения. В некоторых вариантах реализации описаны несколько улучшений, которые снижают гармоники сигнала, которые могут создавать помехи для передачи команд управления, подаваемых на ультразвуковой преобразователь. Эти снижения (например, посредством технологий наблюдения и калибровки) могут в конечном итоге снижать нежелательную вариабельность при использовании разных ультразвуковых частот, мощностей и/или глубин, таким образом повышая общую эффективность и эффективность ультразвуковой терапии.
[0005] В нескольких вариантах реализации обеспечены системы управления с высоким КПД для направления электропитания, напряжения, тока и РЧ сигналов на один или большее количество преобразователей, содержащихся в системах ультразвуковой терапии, описанных в этой заявке. РЧ модуль может содержать электронные устройства, подсистемы и/или узлы, интегрированные в один или большее количество узлов печатных плат.
[0006] В нескольких вариантах реализации плата ультразвуковой терапии содержит систему обеспечения питания для мониторинга при помощи высокоинтенсивного сфокусированного ультразвука (HIFU), который включает измерение подачи питания, и калибровочную систему для обеспечения точных фазочувствительных измерений мощности электрического привода на преобразователь высокоинтенсивного сфокусированного ультразвука. В нескольких вариантах реализации плата ультразвуковой терапии содержит переключаемый усилитель мощности HIFU, содержащий один или большее количество высокопроизводительных транзисторов, таких как III-V полупроводники (например, III-V сложные полупроводники, сочетающие элементы группы III (например, Ga, In, Al) с элементами группы V (например, N, As, Sb, P), такой как полевые транзисторы на нитриде галлия (GaN), арсениде галлия (GaAs), антимониде галлия (GaSb), фосфиде индия (InP), арсениде индия (InAs), антимониде индия (InSb), арсениде индия-галлия (InGaAs), антимониде алюминия (AlSb), арсениде алюминия-галлия (AlGaAs), нитриде алюминия-галлия (AlGaN) и т.д.), при этом усилитель мощности для радиочастотный (РЧ) терапии использует любой из III-V полевых транзисторов (например, на нитриде галлия (GaN) и т.д. и трансформатора питания (например, трансформатор Гванеллы или трансформатор другого типа) для подачи РЧ энергии высокой мощности на преобразователь высокоинтенсивного сфокусированного ультразвука. В нескольких вариантах реализации описаны GaN транзисторы, хотя могут быть использованы другие предусмотренные варианты реализации, такие как любой один, два, три или большее количество из GaN, GaAs, GaSb, InP, InAs, InSb, InGaAs, AlSb, AlGaAs и/или AlGaN транзисторов. В различных вариантах реализации один или большее количество III-V полупроводников не используют, например, исключены. В некоторых вариантах реализации любой один или большее количество из GaN, GaAs, GaSb, InP, InAs, InSb, InGaAs, AlSb, AlGaAs и/или AlGaN не используют. В нескольких вариантах реализации плата ультразвуковой терапии содержит систему и способы прогнозирования выходной мощности в произвольную нагрузку HIFU преобразователя, при этом системы для использования калибровочной информации хранятся с усилителем мощности и с преобразователем для прогнозирования выходной мощности, которая будет доставлена на преобразователь усилителем до применения терапии. В нескольких вариантах реализации система ультразвуковой терапии содержит резистивные компоненты для измерения тока и напряжения, демодулятор, выполненный с возможностью работы на произвольных частотах, фазосдвигающую схему устранения гармоник и/или автокалибровочную компенсирующую схему с двумя портами.
[0007] В некоторых вариантах реализации предложены системы и способы, которые успешно повышают безопасность, результативность и/или эффективность эстетического эффекта с использованием направленного и прецизионного ультразвука для получения видимого и эффективного дерматологического (например, косметического) результата с помощью термического способа посредством ультразвуковой терапии с получением одной или большего количества фокусных зон для выполнения различных процедур обработки и/или визуализации. Различные варианты реализации платы ультразвуковой терапии могут содержать множество различных систем мониторинга состояния здоровья, выполненных с возможностью обеспечения безопасности пациента во время работы. Дополнительно, в этой заявке также предусмотрены системы и способы, выполненные с возможностью подавления и/или снижения гармоник в выводе электрического сигнала из платы ультразвуковой терапии для обеспечения безопасности пациента.
[0008] В различных вариантах реализации изобретение обеспечивает одно или большее количество преимуществ, таких как, например, снижение времени обработки и/или количества ошибок, создание уникальных шаблонов нагрева, эффективное использование множества каналов для достижения большей мощности, возможность обработки области на двух или большем количестве глубин при одинаковых или разных уровнях мощности (например, термическая коагуляция, абляция, фокусная зона мгновенного некроза и другая дефокусированная энергия или другие сочетания), при необходимости, одновременная или последовательная обработка на разных глубинах (например, на глубинах ниже поверхности кожи на 1,5 мм, 3 мм и/или 4,5 мм в точках термической коагуляции одновременно или в перекрывающихся или последовательных периодах времени); и/или обработка с одновременным применением одной, двух или большего количества точек, линеарных или линейных фокусов, например, на разных глубинах ниже области или на расстоянии друг от друга. Несколько вариантов реализации, описанных в настоящем документе, относящихся к дерматологическим или недерматологическим применениям, являются особенно преимущественными, так как они включают одно, несколько или все из следующих преимуществ: ультразвуковые процедуры с узкой полосой частот на нескольких глубинах с более эффективными процедурами, включая одно или большее количество из следующего (i) более быстрое время обработки, (ii) уменьшение боли во время обработки, (iii) уменьшение боли после обработки, (iv) меньшее время восстановления, (v) более эффективная обработка, (vi) более высокая удовлетворенность клиентов, (vii) меньшие затраты энергии для выполнения обработки и/или (viii) большая область обработки по фокусным областям. В некоторых вариантах реализации преимущества включают модуляцию эффективной амплитуды, задействующей преобразователь, сигналом, задействующим полевой транзистор, который генерируют путем сравнения синусоидального выходного сигнала схемы прямого синтеза цифровых данных с напряжением постоянного тока.
[0009] В нескольких вариантах реализации электронные устройства, подсистемы и/или узлы РЧ модуля могут быть выполнены с возможностью генерации и подачи приблизительно от 0,1 Вт до 200 Вт (например, приблизительно 20-100 Вт) РЧ мощности с высокой эффективностью по диапазону частот от 1 МГц до 20 МГц (например, приблизительно 1 МГц, 1,75 МГц, 1,75-12 МГц, 4-12 МГц, 4 МГц, 7 МГц, 10 МГц, 12 МГц) на указанный один или большее количество ультразвуковых преобразователей. В частности, РЧ модуль может содержать усилитель мощности, содержащий III-V полевые транзисторы (например, на нитриде галлия (GaN), GaAs, GaSb, InP, InAs, InSb, InGaAs, AlSb, AlGaAs и/или AlGaN) для генерации одного или большего количества узкополосных РЧ сигналов с частотой от 1,0 МГц до 12,0 МГц с высоким КПД (например, больше или равно 75%, 50% - 90%, 95%, 99% или любому значению в этом диапазоне). Дополнительно, РЧ модуль может содержать систему измерения мощности, выполненную с возможностью наблюдения за амплитудой и фазой указанного одного или большего количества РЧ сигналов, сгенерированных III-V полевыми транзисторами (например, GaN или другими). Кроме того, системы и способы оценки количества электропитания, которое будет доставлено указанным одним или большим количеством ультразвуковых преобразователей при соединении с приводной системой, содержат усилитель мощности III-V, содержащий полевые транзисторы (например, GaN или другие). В нескольких вариантах реализации описаны GaN транзисторы, хотя в других предусмотренных вариантах реализации может быть использован любой из GaN, GaAs, GaSb, InP, InAs, InSb, InGaAs, AlSb, AlGaAs и/или AlGaN транзисторов.
[0010] В различных вариантах реализации система ультразвуковой обработки содержит ультразвуковой зонд, содержащий преобразователь для ультразвуковой терапии, выполненный с возможностью применения ультразвуковой терапии к ткани; и систему электропитания, выполненную с возможностью подачи электропитания на преобразователь для ультразвуковой терапии, причем система электропитания содержит усилитель мощности и схему; при этом усилитель мощности содержит по меньшей мере один полупроводниковый транзистор, причем полупроводниковый транзистор представляет собой полевой транзистор, причем полевой транзистор выполнен с возможностью работы с КПД по меньшей мере 75% на радиочастоте (РЧ) в диапазоне между 200 кГц и 20 МГц. В одном варианте реализации полупроводниковый транзистор содержит III-V соединение. В одном варианте реализации полупроводниковый транзистор содержит нитрид галлия (GaN).
[0011] В одном варианте реализации усилитель мощности содержит конструкцию переключаемого усилителя, содержащую по меньшей мере полупроводник и схему, выполненную с возможностью генерации цифровых форм волны для приведения в действие полупроводника для приведения в действие преобразователя для ультразвуковой терапии. В одном варианте реализации усилитель мощности содержит: конструкцию переключаемого усилителя, содержащую по меньшей мере один полупроводник, при этом в одном варианте реализации каждый полупроводник содержит множество затворов (в другом варианте реализации каждый полевой транзистор на нитриде галлия не содержит множества затворов); и схему, выполненную с возможностью генерации цифровых форм волны для приведения в действие полупроводников для приведения в действие преобразователя для ультразвуковой терапии. В одном варианте реализации усилитель мощности содержит: конструкцию переключаемого усилителя, содержащую по меньшей мере один полевой транзистор на нитриде галлия, при этом в одном варианте реализации каждый полевой транзистор на нитриде галлия содержит множество затворов (в другом варианте реализации каждый полевой транзистор на нитриде галлия не содержит множества затворов); и схему, выполненную с возможностью генерации цифровых форм волны для приведения в действие множества затворов полевых транзисторов на нитриде галлия для приведения в действие преобразователя для ультразвуковой терапии, который в одном варианте реализации представляет собой пьезоэлектрический преобразователь для ультразвуковой терапии. В одном варианте реализации сигнал, приводящий в действие полевой транзистор, генерируют путем сравнения вывода синусоидальной схемы прямого синтеза цифровых данных с напряжением постоянного тока. В одном варианте реализации система содержит сигнал, приводящий в действие полевой транзистор, генерируемый путем сравнения синусоидального выходного сигнала схемы прямого синтеза цифровых данных с напряжением постоянного тока, выполненный с возможностью модуляции эффективной амплитуды, приводящей в действие преобразователь. Выходная мощность находится в диапазоне от 5 Вт до 50 Вт или от 30 Вт до 100 Вт в одном варианте реализации. В одном варианте реализации схема содержит четыре транзистора, выполненных в конфигурации Н-образного моста. В одном варианте реализации схема содержит четыре транзистора на нитриде галлия, выполненных в конфигурации Н-образного моста. В одном варианте реализации схема содержит два транзистора, выполненных в полумостовой конфигурации. В одном варианте реализации схема содержит два транзистора на нитриде галлия, выполненных в полумостовой конфигурации. В одном варианте реализации приводной сигнал затвора имеет переменный рабочий цикл, используемый для управления гармоническим составом и мощностью выходного сигнала. В одном варианте реализации усилитель-преобразователь мощности подает электропитание на мощность радиочастотного выходного сигнала с КПД более 75%. В одном варианте реализации напряжение, подаваемое на усилитель мощности, модулируют с использованием переключаемого преобразователя постоянного тока, который снижает фиксированный ввод высокого напряжения до более низкого подаваемого напряжения. В одном варианте реализации система содержит два или большее количество усилителей мощности, при этом один усилитель мощности выполнен с возможностью приведения в действие при одном пьезоэлектрическом преобразовательном элементе преобразователя высокоинтенсивного сфокусированного ультразвука. В одном варианте реализации преобразователь высокоинтенсивного сфокусированного ультразвука выполнен с возможностью приведения в действие отдельным усилителем мощности. В одном варианте реализации преобразователь высокоинтенсивного сфокусированного ультразвука содержит множество пьезоэлектрических элементов преобразования, причем каждый из множества пьезоэлектрических элементов преобразования выполнен с возможностью приведения в действие отдельным усилителем мощности. В одном варианте реализации усилитель мощности выполнен с возможностью выдачи вывода на двух или большем количестве разных амплитуд. В одном варианте реализации усилитель мощности выполнен с возможностью выдачи вывода на двух или большем количестве разных фаз. В одном варианте реализации усилитель выполнен с возможностью выдачи вывода на двух или большем количестве разных частот. В одном варианте реализации управление фазой и частотой осуществляется посредством цифрового генератора прямого синтеза. В одном варианте реализации система выполнена с возможностью приведения в действие преобразователей с сопротивлением в диапазоне от 20 Ом до 120 Ом и фазовым углом от +45 градусов до -45 градусов.
[0012] В одном варианте реализации усилитель мощности содержит: конфигурацию переключаемого усилителя, содержащую по меньшей мере один полевой транзистор; и схему, выполненную с возможностью генерации цифровых форм волны для приведения в действие множества затворов полевых транзисторов для приведения в действие пьезоэлектрического ультразвукового преобразователя; при этом схема содержит четыре транзистора, расположенных в конфигурации Н-образного моста.
[0013] В одном варианте реализации усилитель мощности содержит конфигурацию переключаемого усилителя, содержащую по меньшей мере один полевой транзистор; и схему, выполненную с возможностью генерации цифровых форм волны для приведения в действие множества затворов полевых транзисторов для приведения в действие пьезоэлектрического ультразвукового преобразователя; при этом сигнал, приводящий в действие полевой транзистор, генерируют путем сравнения вывода синусоидальной схемы прямого синтеза цифровых данных с напряжением постоянного тока; при этом выходная мощность находится в диапазоне от 30 Вт до 100 Вт; при этом схема содержит четыре транзистора, расположенных в конфигурации Н-образного моста.
[0014] В одном варианте реализации полупроводник представляет собой нитрид галлия, при этом усилитель мощности содержит конфигурацию переключаемого усилителя, содержащую по меньшей мере один полевой транзистор на нитриде галлия, при этом каждый полевой транзистор на нитриде галлия содержит множество затворов; и схему, выполненную с возможностью генерации цифровых форм волны для приведения в действие множества затворов полевых транзисторов на нитриде галлия для приведения в действие пьезоэлектрического ультразвукового преобразователя; при этом сигнал, приводящий в действие полевой транзистор, генерируют путем сравнения вывода синусоидальной схемы прямого синтеза цифровых данных с напряжением постоянного тока; при этом выходная мощность находится в диапазоне от 30 Вт до 100 Вт; при этом схема содержит четыре транзистора на нитриде галлия, расположенных в конфигурации Н-образного моста; при этом приводной сигнал затвора имеет переменный рабочий цикл, который используют для управления гармоническим составом и мощностью в выходном сигнале; при этом усилитель-преобразователь мощности подает электропитание на мощность радиочастотного выходного сигнала с КПД более 75%; при этом напряжение, подаваемое на усилитель мощности, модулируют с использованием переключаемого преобразователя постоянного тока, который снижает фиксированный ввод высокого напряжения до более низкого подаваемого напряжения; содержащий два или большее количество усилителей мощности, причем один усилитель мощности выполнен с возможностью приведения в действие при одном пьезоэлектрическом преобразовательном элементе преобразователя высокоинтенсивного сфокусированного ультразвука; при этом усилитель мощности выполнен с возможностью выдачи вывода на двух или большем количестве разных амплитуд; при этом усилитель мощности выполнен с возможностью выдачи вывода на двух или большем количестве разных фаз; при этом управление фазой и частотой осуществляется посредством цифрового генератора прямого синтеза; при этом система выполнена с возможностью приведения в действие преобразователей с сопротивлением в диапазоне от 20 Ом до 120 Ом и фазовым углом от +45 градусов до -45 градусов.
[0015] В различных вариантах реализации усилитель мощности для приведения в действие преобразователей высокоинтенсивного ультразвука содержит: конфигурацию переключаемого усилителя, содержащую по меньшей мере один полевой транзистор; и схему, выполненную с возможностью генерации цифровых форм волны для приведения в действие указанного по меньшей мере одного полевого транзистора. В различных вариантах реализации усилитель мощности для преобразователей высокоинтенсивного ультразвука содержит: конфигурацию переключаемого усилителя, содержащую по меньшей мере один полевой транзистор на нитриде галлия; и схему, выполненную с возможностью генерации цифровых форм волны для приведения в действие указанного по меньшей мере одного полевого транзистора на нитриде галлия.
[0016] В различных вариантах реализации усилитель мощности для приведения в действие преобразователя высокоинтенсивного ультразвука содержит: конфигурацию переключаемого усилителя, содержащую по меньшей мере один полевой транзистор на нитриде галлия, при этом каждый полевой транзистор на нитриде галлия содержит множество затворов; и схему, выполненную с возможностью генерации цифровых форм волны для приведения в действие множества затворов полевых транзисторов на нитриде галлия для приведения в действие пьезоэлектрического ультразвукового преобразователя. В одном варианте реализации усилитель мощности для приведения в действие преобразователей высокоинтенсивного ультразвука содержит конфигурацию переключаемого усилителя, содержащую множество полевых транзисторов на нитриде галлия, и схему, выполненную с возможностью генерации цифровых форм волны для приведения в действие множества полевых преобразователей на нитриде галлия для приведения в действие пьезоэлектрического ультразвукового преобразователя.
[0017] В различных вариантах реализации усилитель мощности содержит один или большее количество следующих признаков: усилитель мощности выполнен с возможностью выдачи вывода на двух или большем количестве разных амплитуд, при этом усилитель мощности выполнен с возможностью выдачи вывода на двух или большем количестве разных фаз. В одном варианте реализации усилитель мощности выполнен с возможностью выдачи вывода на двух или большем количестве разных частот.
[0018] В различных вариантах реализации предложен способ управления электропитанием в ультразвуковой системе для подачи требуемого количества сфокусированной акустической мощности ультразвуковым преобразователем, причем способ включает: обеспечение системы управления электропитанием, содержащей схему, содержащую микропроцессор системы управления, и справочную таблицу (СТ) системы управления; обеспечение ультразвукового преобразователя, содержащего контроллер преобразователя, микропроцессор преобразователя и СТ преобразователя; определение посредством микропроцессора преобразователя, из СТ преобразователя, количества электропитания, подаваемого для нагрузки, эквивалентной требуемому количеству акустической мощности, доставляемой на ткань ультразвуковым преобразователем; определение при помощи микропроцессора системы управления, из СТ системы управления, амплитуды электрического сигнала, выводимого усилителем мощности системы электропитания, которая доставит эквивалентное количество электропитания, подаваемого для нагрузки; и настройку по меньшей мере одного параметра вывода системы электропитания, определенной амплитуды вывода электрического сигнала. В различных вариантах реализации нагрузка находится в диапазоне от 10 до 100 Ом или от 20 до 120 Ом (например, 10-40, 40-80, 80-120, а также перекрывающиеся диапазоны в пределах этих значений), обеспечивая возможность более широкого диапазона значений сопротивления преобразователя, что может происходить во время фазирования/фокусирования преобразователей. В одном варианте реализации нагрузка составляет 50 Ом.
[0019] В различных вариантах реализации система ультразвуковой обработки содержит: ультразвуковой зонд, содержащий корпус, содержащий пьезоэлектрически активный преобразователь для ультразвуковой терапии, выполненный с возможностью фокусирования акустических ультразвуковых волн на глубине от корпуса в фокусной зоне в ткани; систему электропитания, выполненную с возможностью подачи электропитания на преобразователь для ультразвуковой терапии, причем система электропитания содержит усилитель мощности; и систему измерения электрической мощности, выполненную с возможностью наблюдения выходной электрической мощности из выходного сигнала от усилителя мощности, при этом система измерения электрической мощности содержит: резистивную схему измерения тока, выполненную с возможностью наблюдения электрического тока, выводимого усилителем мощности; и резистивную схему измерения напряжения, выполненную с возможностью наблюдения электрического напряжения, выводимого усилителем мощности, и при этом система измерения электрической мощности выполнена с возможностью наблюдения выходной электрической мощности из усилителя мощности в диапазоне частот, охватывающем по меньшей мере две октавы для преобразователя для ультразвуковой терапии.
[0020] В различных вариантах реализации система для измерения радиочастотного (РЧ) электрического тока и напряжения приводной схемы в системе высокоинтенсивного сфокусированного ультразвука содержит: резистор измерения тока, установленный последовательно с нагрузкой; резисторную схему измерения шунтового напряжения, установленную параллельно нагрузке; и схему наблюдения выходного напряжения и тока электропитания (демодуляторная схема IQ) с локальным тактовым генератором, синхронизированным по фазе и частоте с сигналом, приводящим в действие усилитель мощности, и выполненную с возможностью демодуляции выходного сигнала на несущей частоте ниже приводной частоты ультразвука.
[0021] В одном варианте реализации система измерения выполнена с возможностью осуществления нескольких измерений на разных относительных фазовых сдвигах между локальным генератором и усилителем мощности. В одном варианте реализации локальный тактовый генератор генерируют из цифрового генератора прямого синтеза с независимым управлением. В одном варианте реализации система измерения выполнена с возможностью осуществления нескольких измерений на разных частотах локального генератора. В одном варианте реализации количество измерений фазы равно шести. В одном варианте реализации обеспечена система, использующая систему измерения для модификации приводного сигнала затвора, чтобы обеспечивать требуемый гармонический состав в выходном сигнале.
[0022] В различных вариантах реализации способ определения количества измерений надлежащим образом измеряет гармоники путем оценки количества гармоник самой низкой частоты в полосе пропускания, которые превышают порог шума системы. В одном варианте реализации обеспечен способ вычисления сложных гармонических компонентов форм волны напряжения и тока путем образования линейного сочетания нескольких измерений.
[0023] В различных вариантах реализации способ калибровки преобразователей высокоинтенсивного ультразвука включает: калибровку акустической выходной мощности, подаваемой преобразователем на приводную конфигурацию, соответствующей электропитанию, подаваемому приводом в одну или большее количество эталонных нагрузок для приводной конфигурации, причем калибровочная информация хранится преобразователем; калибровку конфигурации электропривода относительно электропитания, подаваемого в одну или большее количество эталонных нагрузок, причем калибровочная информация хранится приводом; и вычисление при помощи процессора приводной конфигурации для достижения требуемой акустической выходной мощности, которая использует калибровочную информацию преобразователя для определения уровня мощности в одну или большее количество эталонных нагрузок для настройки требуемой акустической мощности, и которая использует калибровочную информацию привода для определения конфигурации привода для требуемого уровня акустической выходной мощности в эталонную нагрузку.
[0024] В одном варианте реализации калибровочная информация преобразователя также содержит электропитание, подаваемое преобразователем на каждом уровне акустической мощности, причем хранящаяся информация о мощности содержит компонент сложной мощности или компонент реальной мощности. В одном варианте реализации динамические измерения электропитания, подаваемого от привода, осуществляют во время инсонификации ткани и подтверждают в сравнении с электропитанием, хранящимся в калибровке преобразователя для требуемого уровня акустической мощности.
[0025] В различных вариантах реализации обеспечен способ настройки высокоинтенсивных сфокусированных ультразвуковых преобразователей путем перестройки частоты при измерении коэффициента стоячей волны по напряжению на приводе и выбора рабочей частоты, которая сводит к минимуму коэффициент стоячей волны по напряжению.
[0026] В одном варианте реализации акустическую выходную мощность генерируют путем осуществления измерений с использованием баланса сил. В одном варианте реализации калибровка преобразователя хранится в качестве справочной таблицы на энергонезависимой микросхеме памяти внутри преобразователя. В одном варианте реализации по меньшей мере одно из напряжения или тока, измеренного на приводе, регулируют при помощи матрицы передачи, определяющей четырехполюсник между выходом приводной схемы терапии и преобразователем. В одном варианте реализации калибровочная информация хранится в справочной таблице (СП). В одном варианте реализации целевое электрическое напряжение вычисляют из калибровочной информации и требуемой акустической мощности, заданной в клинике, путем интерполяции значений в одной или большем количестве справочных таблиц. В одном варианте реализации хранение в калибровочной информации преобразователя пороговых значений электрической мощности на каждом уровне акустической мощности определяет допустимый диапазон электрической приводной мощности для достижения допустимого диапазона акустической выходной мощности.
[0027] В различных вариантах реализации обеспечена система для подтверждения нахождения динамически измеренной электрической мощности в пределах указанного диапазона, включающего динамическое измерение электропитания, доставленного приводом, и сравнение этого электропитания с пороговыми значениями, хранящимися в преобразователе. В одном варианте реализации матрицу передачи узла излучателя и кабеля, которая может быть взаимозаменяемой между преобразователями и приводами, хранят на энергонезависимой микросхеме памяти внутри узла излучателя и кабеля.
[0028] В различных вариантах реализации обеспечен способ динамического регулирования электропитания путем: измерения электропитания, подаваемого от привода; сравнения измеренного электропитания с требуемым электропитанием, определенным из калибровочной информации, и регулирования приводной конфигурации для снижения ошибки между требуемым и измеренным электропитанием.
[0029] В различных вариантах реализации обеспечен способ динамического регулирования электропитания путем: измерения электрического сопротивления нагрузки и вычисления сопротивления преобразователя на основании известных значений сопротивления других компонентов системы; вычисления требуемого электропитания от привода для поддержания такого же количества рассеянной мощности по реальному сопротивлению преобразователя; и регулирования конфигурации привода для соответствия электропитанию, требуемому для снижения ошибки между требуемым и измеренным электропитанием. В одном варианте реализации мощность динамически регулируют при проведении терапии.
[0030] В одном варианте реализации калибровочная информация преобразователя также содержит электропитание, подаваемое на преобразователь на каждом уровне акустической мощности, причем хранящаяся информация о мощности содержит компонент сложной мощности или компонент реальной мощности; при этом динамические измерения электропитания, подаваемого от привода, осуществляют во время инсонификации ткани и сверяют с электропитанием, хранящимся в калибровке преобразователя для требуемого уровня акустической мощности.
[0031] В одном варианте реализации калибровочная информация преобразователя также содержит электропитание, подаваемое на преобразователь на каждом уровне акустической мощности, причем хранящаяся информация о мощности содержит компонент сложной мощности или компонент реальной мощности; при этом динамические измерения электропитания, подаваемого от привода, осуществляют во время инсонификации ткани и сверяют с электропитанием, хранящимся в калибровке преобразователя для требуемого уровня акустической мощности; при этом акустическую выходную мощность генерируют путем осуществления измерений с использованием баланса сил; при этом калибровку преобразователя хранят в качестве справочной таблицы на энергонезависимой микросхеме памяти внутри преобразователя; при этом по меньшей мере одно из напряжения или тока, измеренного на приводе, регулируют с использованием матрицы передачи, определяющей четырехполюсник между выходом приводной схемы терапии и преобразователем; при этом калибровочную информацию хранят в справочной таблице (СТ); при этом целевое электрическое напряжение вычисляют из калибровочной информации и требуемой акустической мощности, заданной в клинике, путем интерполяции значений в одной или большем количестве справочных таблиц.
[0032] В различных вариантах реализации обеспечен способ обнаружения качества акустического контакта высокоинтенсивного сфокусированного ультразвукового преобразователя через поверхность кожи путем измерения количества энергии обратного отражения, включающий: измерение количества энергии обратного отражения при помощи датчика преобразователя терапии; измерение расстояния между пьезоэлектрической чашей преобразователя терапии и контактной поверхностью; измерение первого измерения электропитания до возникновения отражения от контактной поверхности; измерение второго измерения электропитания после возникновения отражения от контактной поверхности; и вычисление значения разности для определения количества энергии обратного отражения.
[0033] В одном варианте реализации количество энергии обратного отражения измеряют посредством дополнительного преобразователя, не используемого для терапии. В одном варианте реализации после вычисления измерения в электропитании (направленного вперед минус в обратном направлении), терапия временно останавливается до прохождения достаточного количества времени для исключения отражения от контактной поверхности, обнаруживаемого дополнительным преобразователем или преобразователем терапии. В одном варианте реализации привод терапии повторно взаимодействует с преобразователем терапии и возбуждает его после падения отражаемой энергии ниже порогового значения. В одном варианте реализации преобразователь высокоинтенсивного ультразвука содержит матричный преобразователь с несколькими элементами, а калибровочная информация хранится для каждого элемента в матрице.
[0034] В одном варианте реализации приводы расположены в консоли системы, и преобразователи являются взаимозаменяемыми между консолями системы. В одном варианте реализации преобразователи являются взаимозаменяемыми между излучателями, а излучатели являются взаимозаменяемыми между консолями.
[0035] В различных вариантах реализации обеспечен способ калибровки высокоинтенсивных сфокусированных ультразвуковых преобразователей, включающий: моделирование привода в качестве источника эквивалентной схемы Тевенина с напряжением источника и сопротивлением источника, зависимыми от частоты, и хранение калибровочной информации, содержащей напряжение источника и сопротивление источника, в приводе, измерение и хранение сопротивления преобразователя в калибровочной информации о преобразователе, и вычисление электропитания, которое будет доставлено приводом на преобразователь с использованием напряжения источника и сопротивления источника, хранящегося в калибровке привода, в сопротивление нагрузки, хранящееся в калибровке преобразователя, и обработку совмещенной системы в качестве цепи делителя напряжения.
[0036] В различных вариантах реализации способ измерения сопротивления преобразователя включает: калибровку привода с использованием одного или большего количества известных эталонных значений сопротивления; измерение сопротивления преобразователя на одной или большем количестве частот и одной или большем количестве амплитуд; фиксацию измеренного преобразователя к резонансному контуру для вычисления таких параметров преобразователя, как фиксированная емкость, коэффициент связи и сопротивление излучения; использование характеристики для определения возраста преобразователя, функциональной пригодности и требуемых амплитуды и фазы.
[0037] В одном варианте реализации между преобразователем и целевой областью обработки находится фиксированное расстояние. В одном варианте реализации луч терапии временно перемещают на необработанную область для определения количества обратного рассеяния от области обработки с использованием разностного способа.
[0038] В различных вариантах реализации система ультразвуковой обработки содержит ультразвуковой зонд, содержащий преобразователь для ультразвуковой терапии, выполненный с возможностью применения ультразвуковой терапии к ткани; и систему электропитания, выполненную с возможностью подачи электропитания на преобразователь для ультразвуковой терапии, причем система электропитания содержит усилитель мощности и схему; при этом усилитель мощности содержит по меньшей мере один III-V полупроводниковый силовой транзистор, выполненный с возможностью работы с КПД по меньшей мере 75% на радиочастоте (РЧ) в диапазоне между 200 кГц и 20 МГц.
[0039] В одном варианте реализации указанный по меньшей мере один III-V полупроводниковый силовой транзистор выбран из группы, состоящей из: GaN, GaAs, GaSb, InP, InAs, InSb, InGaAs, AlSb, AlGaAs и AlGaN. В одном варианте реализации указанный по меньшей мере один III-V полупроводниковый силовой транзистор представляет собой нитрид галлия. В одном варианте реализации указанный по меньшей мере один III-V полупроводниковый силовой транзистор не является одним из GaN, GaAs, GaSb, InP, InAs, InSb, InGaAs, AlSb, AlGaAs и AlGaN. В одном варианте реализации усилитель мощности содержит конфигурацию переключаемого усилителя, содержащую множество III-V полупроводниковых силовых транзисторов; и схему, выполненную с возможностью генерации цифровых форм волны для приведения в действие множества III-V полупроводниковых силовых транзисторов для приведения в действие пьезоэлектрического ультразвукового преобразователя. В одном варианте реализации сигнал, приводящий в действие силовой транзистор, генерируют путем сравнения вывода синусоидальной схемы прямого синтеза цифровых данных с напряжением постоянного тока. В одном варианте реализации выходная мощность находится в диапазоне от 30 Вт до 100 Вт. В одном варианте реализации выходная мощность находится в диапазоне от 5 Вт до 50 Вт. В одном варианте реализации схема содержит четыре силовых транзистора, расположенных в конфигурации Н-образного моста. В одном варианте реализации приводной сигнал затвора имеет переменный рабочий цикл, используемый для управления гармоническим составом и мощностью выходного сигнала. В одном варианте реализации усилитель-преобразователь мощности подает электропитание на мощность радиочастотного выходного сигнала с КПД более 75%. В одном варианте реализации напряжение, подаваемое на усилитель мощности, модулируют с использованием переключаемого преобразователя постоянного тока, который снижает фиксированный ввод высокого напряжения до более низкого подаваемого напряжения. В одном варианте реализации система содержит два или большее количество усилителей мощности, при этом один усилитель мощности выполнен с возможностью приведения в действие одного пьезоэлектрического элемента преобразования преобразователя высокоинтенсивного сфокусированного ультразвука. В одном варианте реализации усилитель мощности выполнен с возможностью выдачи вывода на двух или большем количестве разных амплитуд. В одном варианте реализации усилитель мощности выполнен с возможностью выдачи вывода на двух или большем количестве разных фаз. В одном варианте реализации управление фазой и частотой осуществляется посредством цифрового генератора прямого синтеза. В одном варианте реализации система выполнена с возможностью приведения в действие преобразователей с сопротивлением в диапазоне от 20 Ом до 120 Ом и фазовым углом от +45 градусов до -45 градусов.
[0040] В различных вариантах реализации усилитель мощности для приведения в действие преобразователей высокоинтенсивного сфокусированного ультразвука содержит конфигурацию переключаемого усилителя, содержащую по меньшей мере один III-V полупроводниковый транзистор питания; и схему, выполненную с возможностью генерации цифровых форм волны для приведения в действие указанного по меньшей мере одного III-V полупроводникового силового транзистора.
[0041] В различных вариантах реализации устройство с множеством усилителей мощности для приведения в действие преобразователей высокоинтенсивного ультразвука содержит конфигурацию переключаемого усилителя, содержащую множество III-V полупроводниковых силовых транзисторов; и схему, выполненную с возможностью генерации цифровых форм волны для приведения в действие множества III-V полупроводниковых силовых транзисторов для приведения в действие пьезоэлектрического ультразвукового преобразователя.
[0042] В одном варианте реализации III-V полупроводниковый силовой транзистор является полевым транзистором на нитриде галлия. В одном варианте реализации усилитель мощности выполнен с возможностью выдачи вывода на двух или большем количестве разных амплитуд, и/или усилитель мощности выполнен с возможностью выдачи вывода на двух или большем количестве разных фаз.
[0043] В различных вариантах реализации предложен способ управления электропитанием в ультразвуковой системе для подачи требуемого количества сфокусированной акустической мощности ультразвуковым преобразователем, причем способ включает обеспечение системы управления электропитанием, содержащей схему, содержащую микропроцессор системы управления, и справочную таблицу (СТ) системы управления; обеспечение ультразвукового преобразователя, содержащего контроллер преобразователя, микропроцессор преобразователя и СТ преобразователя; определение посредством микропроцессора преобразователя, из СТ преобразователя, количества электропитания, подаваемого для нагрузки, эквивалентной требуемому количеству акустической мощности, доставляемой на ткань ультразвуковым преобразователем; определение при помощи микропроцессора системы управления, из СТ системы управления, амплитуды электрического сигнала, выводимого из усилителя мощности системы электропитания, которая доставит эквивалентное количество электропитания, подаваемого для нагрузки; и настройку по меньшей мере одного параметра вывода системы электропитания, определенной амплитуды вывода электрического сигнала, причем нагрузка составляет в диапазоне от 20 до 120 Ом. В одном варианте реализации нагрузка составляет 50 Ом.
[0044] В различных вариантах реализации система ультразвуковой обработки содержит ультразвуковой зонд, содержащий корпус, содержащий пьезоэлектрически активный преобразователь для ультразвуковой терапии, выполненный с возможностью фокусирования акустических ультразвуковых волн на глубине от корпуса в фокусной зоне в ткани; систему электропитания, выполненную с возможностью подачи электропитания на преобразователь для ультразвуковой терапии, причем система электропитания содержит усилитель мощности; и систему измерения электрической мощности, выполненную с возможностью наблюдения выходной электрической мощности из выходного сигнала от усилителя мощности, при этом система измерения электрической мощности содержит резистивную схему измерения тока, выполненную с возможностью наблюдения электрического тока, выводимого усилителем мощности; и резистивную схему измерения напряжения, выполненную с возможностью наблюдения электрического напряжения, выводимого усилителем мощности, и при этом система измерения электрической мощности выполнена с возможностью наблюдения выходной электрической мощности из усилителя мощности в диапазоне частот, охватывающем по меньшей мере две октавы для преобразователя для ультразвуковой терапии.
[0045] В различных вариантах реализации система для измерения радиочастотного (РЧ) электрического тока и напряжения приводной схемы в системе высокоинтенсивного сфокусированного ультразвука содержит резистор измерения тока, установленный последовательно с нагрузкой; резисторную схему измерения шунтового напряжения, установленную параллельно нагрузке; и схему наблюдения выходного напряжения и тока электропитания (демодуляторная схема IQ) с локальным тактовым генератором, синхронизированным по фазе и частоте с сигналом, приводящим в действие усилитель мощности, и выполненную с возможностью демодуляции выходного сигнала на несущей частоте ниже приводной частоты ультразвука.
[0046] В одном варианте реализации система измерения выполнена с возможностью осуществления нескольких измерений на разных относительных фазовых сдвигах между локальным генератором и усилителем мощности. В одном варианте реализации локальный тактовый генератор генерируют из цифрового генератора прямого синтеза с независимым управлением. В одном варианте реализации количество измерений фазы равно шести. В одном варианте реализации измерительная система выполнена с возможностью модификации приводного сигнала затвора, чтобы обеспечивать требуемый гармонический состав в выходном сигнале. В одном варианте реализации способ определения количества измерений выполнен с возможностью надлежащим образом измерять гармоники путем оценки количества гармоник самой низкой частоты в полосе пропускания, которые превышают порог шума системы.
[0047] В различных вариантах реализации система ультразвуковой обработки имеет один или большее количество признаков, описанных в описании. В различных вариантах реализации усилитель мощности для приведения в действие преобразователя высокоинтенсивного ультразвука имеет один или большее количество признаков, описанных в описании. В различных вариантах реализации способ управления электропитанием в ультразвуковой системе имеет один или большее количество признаков, описанных в описании. В различных вариантах реализации система для измерения радиочастотного (РЧ) электрического тока и напряжения приводной схемы в системе высокоинтенсивного сфокусированного ультразвука имеет один или большее количество признаков, описанных в описании. В различных вариантах реализации способ калибровки преобразователя высокоинтенсивного ультразвука имеет один или большее количество признаков, описанных в описании. В различных вариантах реализации способ обнаружения качества акустической связи высокоинтенсивного сфокусированного ультразвукового преобразователя через поверхность кожи имеет один или большее количество признаков, описанных в описании.
[0048] Кроме того, области применения будут очевидными из описания, приведенного в настоящем документе. Следует понимать, что описание и конкретные примеры предназначены исключительно для иллюстрации и не предназначены для ограничения объема раскрытых в данном документе вариантов реализации. В некоторых вариантах реализации система содержит различные признаки, которые присутствуют в виде отдельных признаков (в отличие от множества признаков). Например, многие признаки или компоненты представлены в альтернативных вариантах реализации. В различных вариантах реализации система содержит, по существу состоит или состоит из одного, двух, трех или большего количества вариантов реализации любых признаков или компонентов, описанных в настоящем документе. В некоторых вариантах реализации признак или компонент не включен и может быть исключен из конкретного пункта формулы изобретения, в результате чего система не будет включать такой признак или компонент.
КРАТКОЕ ОПИСАНИЕ ЧЕРТЕЖЕЙ
[0049] Чертежи, описанные в данном документе, предназначены исключительно для иллюстративных целей и не предназначены для какого-либо ограничения объема настоящего изобретения. Варианты реализации настоящего изобретения станут более понятными из подробного описания и прилагаемых чертежей, на которых:
[0050] На ФИГ. 1А представлена схематическая иллюстрация ультразвуковой системы согласно различным вариантам реализации настоящего изобретения.
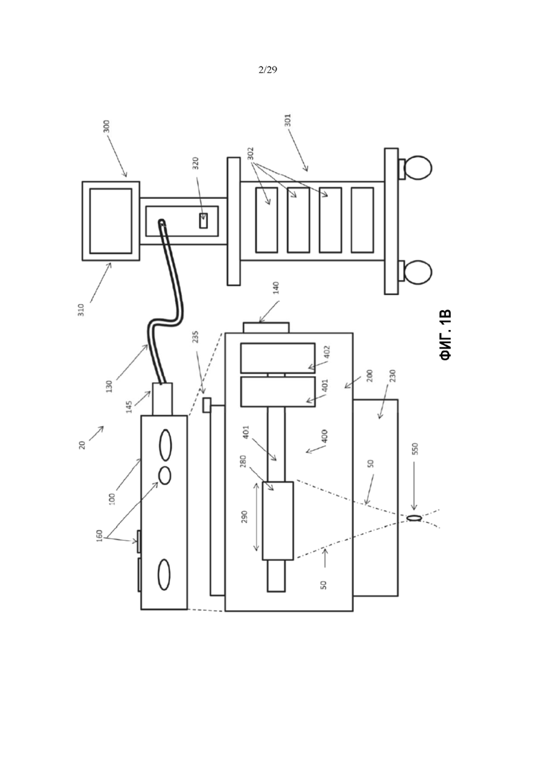
[0051] На ФИГ. 1B представлена схематическая иллюстрация ультразвуковой системы согласно различным вариантам реализации настоящего изобретения.
[0052] На ФИГ. 1C представлена схематическая иллюстрация ультразвуковой системы согласно различным вариантам реализации настоящего изобретения.
[0053] На ФИГ. 2 представлена схематическая иллюстрация ультразвуковой системы, взаимодействующей с представляющей интерес областью согласно различным вариантам реализации настоящего изобретения.
[0054] На ФИГ. 3 представлена блок схема варианта реализации модуля радиочастотной (РЧ) терапии (Т), содержащего приводную подсистему, выполненную с возможностью генерации РЧ сигналов с требуемой РЧ мощностью и в пределах требуемого диапазона частот для приведения ультразвукового преобразователя в действие.
[0055] На ФИГ. 4 представлен вариант реализации трансформатора в линии передачи, выполненного с возможностью преобразования сбалансированного вывода Н-образного моста на источник относительно земли и функционирования в качестве ступени согласования сопротивления от GaN полевого транзистора низкого сопротивления к сопротивлению, выраженному одним или большим количеством ультразвуковых преобразователей. В одном варианте реализации трансформатор в линии передачи выполнен с возможностью повышения сопротивления источника, обнаруживаемого ультразвуковым преобразователем при приведении в действии GaN полевым транзистором, к сопротивлению, выражаемому одним или большим количеством ультразвуковых преобразователей.
[0056] На ФИГ. 5A представлен вариант реализации топологии конфигурации Н-образного моста. На ФИГ. 5B и 5C представлено функционирование Н-образного моста в двух разных конфигурациях.
[0057] На ФИГ. 6 представлен приводной сигнал, сгенерированный Н-образным мостом при установке рабочего цикла положительной части формы волны и отрицательной части формы волны на 0,3 в соответствии с различными вариантами реализации настоящего изобретения.
[0058] На ФИГ. 7 представлена вариация амплитуды более высоких гармоник нечетного порядка для разных рабочих циклов положительной части формы волы и отрицательной формы волны в соответствии с различными вариантами реализации настоящего изобретения.
[0059] На ФИГ. 8A - 8D представлен сигнал, выданный из варианта реализации усилителя мощности, использующего конфигурацию Н-образного моста при 2,0 МГц, 4,0 МГц, 7,0 МГц и 12,0 МГц, соответственно, в соответствии с различными вариантами реализации настоящего изобретения.
[0060] На ФИГ. 9 представлено упрощенное схематическое изображение схемы компаратора, используемой для генерации двух приводных форм волны, которые смещены на 180 градусов по фазе друг от друга в соответствии с различными вариантами реализации настоящего изобретения.
[0061] На ФИГ. 10 представлено графическое изображение двух приводных форм волны, генерируемых схемой по ФИГ. 9.
[0062] На ФИГ. 11A представлена упрощенная принципиальная электрическая схема переключаемого усилителя мощности, содержащего Н-образный мост, образованный из четырех (4) GaN полевых транзисторов, приводящего в действие сбалансированную сторону 1:9 трансформатора Гванеллы в линии передачи, в соответствии с различными вариантами реализации настоящего изобретения.
[0063] На ФИГ. 11B представлен вариант реализации защитной схемы, содержащейся в различных вариантах реализации переключаемого усилителя мощности, в соответствии с различными вариантами реализации настоящего изобретения.
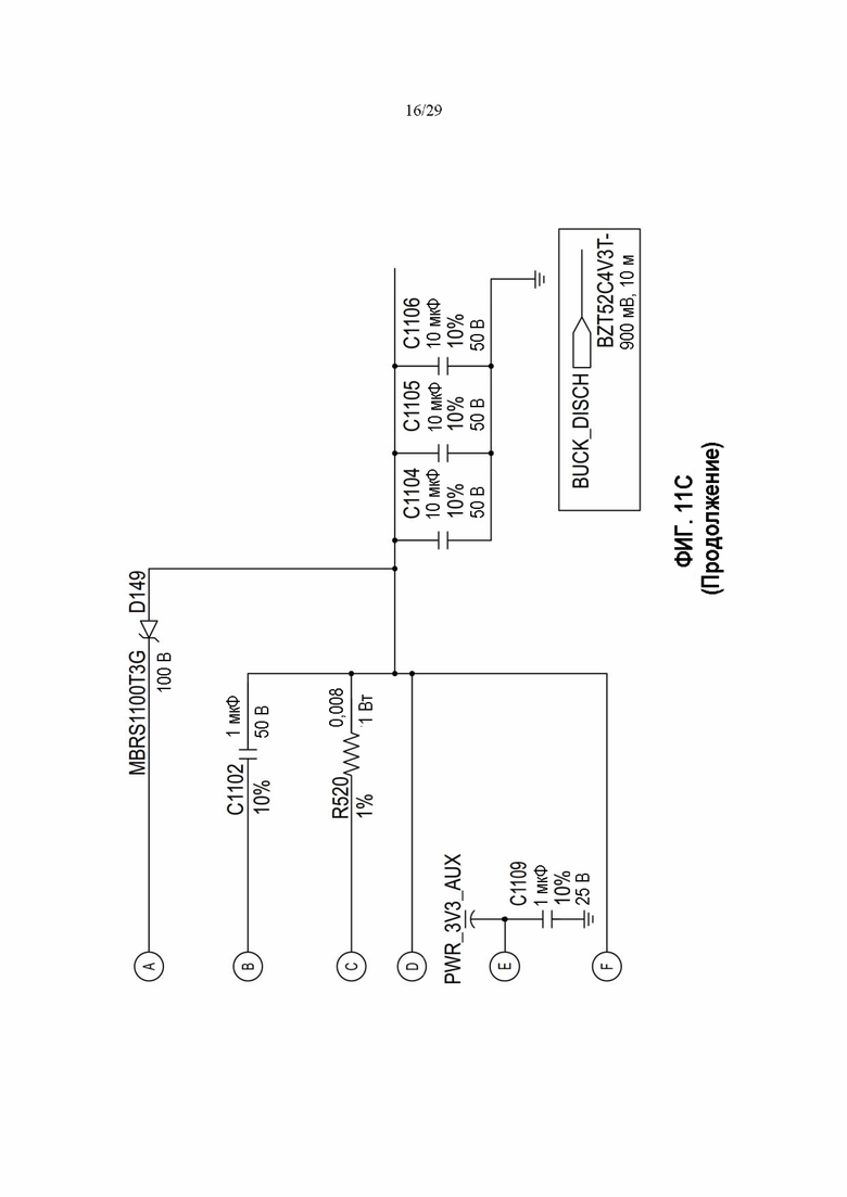
[0064] На ФИГ. 11C представлен вариант реализации управляемого напряжением понижающего преобразователя в соответствии с различными вариантами реализации настоящего изобретения.
[0065] На ФИГ. 12 представлена схема дифференциального измерения, содержащая широкополосные малосигнальные РЧ преобразователи в соответствии с различными вариантами реализации настоящего изобретения.
[0066] На ФИГ. 13 представлен вариант реализации схемы измерения мощности, выполненной с возможностью измерения РЧ сигнала, выдаваемого от варианта реализации усилителя мощности в соответствии с различными вариантами реализации настоящего изобретения.
[0067] На ФИГ. 14 представлена блок схема IQ демодулятора в соответствии с различными вариантами реализации настоящего изобретения.
[0068] На ФИГ. 15 представлены два внутренних генератора, сгенерированные вариантом реализации IQ демодулятора.
[0069] На ФИГ. 16 представлено выполнение схемой умножения РЧ сигнала на прямоугольную волну с максимальным значением 1 и минимальным значением -1 в соответствии с различными вариантами реализации настоящего изобретения.
[0070] На ФИГ. 17 представлена I- и Q-демодуляция синусоидального сигнала в соответствии с различными вариантами реализации настоящего изобретения.
[0071] На ФИГ. 18A представлена осциллограмма вывода из варианта реализации усилителя мощности в нагрузку 50 Ом, работающего с рабочей частотой приблизительно 12,0 МГц. На ФИГ. 18B представлена осциллограмма вывода из варианта реализации усилителя мощности в нагрузку 50 Ом, работающего с рабочей частотой приблизительно 1,75 МГц в соответствии с различными вариантами реализации настоящего изобретения. В различных вариантах реализации бортовая калибровка позволяет системе модифицировать приводную схему на основании рабочих условий (температуры) или износа устройства без необходимости заводской калибровки.
[0072] На ФИГ. 19A и 19B представлена величина быстрого преобразования Фурье (FFT) РЧ сигнала на низкочастотном конце полосы пропускания (нормализованной до основной частоты 1) и величина быстрого преобразования Фурье (FFT) прямоугольной волны в соответствии с различными вариантами реализации настоящего изобретения.
[0073] На ФИГ. 20 представлена схема подавления гармоник с использованием сдвинутых по фазе тактовых сигналов в соответствии с различными вариантами реализации настоящего изобретения.
[0074] На ФИГ. 21 представлены выходные сигналы от варианта реализации демодулятора в соответствии с различными вариантами реализации настоящего изобретения.
[0075] На ФИГ. 22A - 22C представлены примеры воссоздания РЧ сигнала на трех разных частотах, выводимых из усилителя мощности в соответствии с различными вариантами реализации настоящего изобретения.
[0076] На ФИГ. 23A схематически представлены различные механизмы, влияющие на распространение РЧ сигнала (например, потеря РЧ сигнала, которая может уменьшать мощность вывода РЧ сигнала, измерение фазы и т.д.) от варианта реализации усилителя мощности, подаваемого на ультразвуковой преобразователь. На ФИГ. 23B представлен эквивалентный четырехполюсник, учитывающий различные механизмы распространения РЧ сигнала (например, потеря, изменение фазы и т.д.) в соответствии с различными вариантами реализации настоящего изобретения.
[0077] На ФИГ. 24 представлен вариант реализации системы измерения мощности, содержащий эквивалентный четырехполюсник, учитывающий различные механизмы распространения РЧ сигнала (например, потеря, изменение фазы и т.д.) в соответствии с различными вариантами реализации настоящего изобретения. В одном варианте реализации четырехполюсник не обязательно подразумевает «потерю», и некоторые компоненты могут просто вносить, например, изменение фазы.
Осуществление изобретения
[0078] Нижеследующее описание содержит примеры вариантов реализации и не предназначено для ограничения настоящего изобретения или его идей, применения или использования. Следует понимать, что на всех чертежах соответствующие номера позиций обозначают одинаковые или соответствующие части и признаки. Описание конкретных примеров, указанных в различных вариантах реализации настоящего изобретения, предназначено исключительно для иллюстрации и не предназначено для ограничения объема раскрытого в настоящем документе изобретения. Кроме того, перечисление множества вариантов реализации, имеющих указанные признаки, не предполагает исключения других вариантов реализации, имеющих дополнительные признаки, или других вариантов реализации, включающих различные сочетания указанных признаков. Кроме того, признаки в одном варианте реализации (например, на одной фигуре) могут быть объединены с описаниями (и фигурами) других вариантов реализации.
[0079] В настоящем документе описаны несколько вариантов реализации для новых и инновационных систем и способов, которые обеспечивают элементы управления с высоким КПД для направления электропитания, напряжения, тока и радиочастотных (РЧ) сигналов на одну или большее количество систем на основе сфокусированной энергии. В различных вариантах реализации система управления содержит электронные устройства, подсистемы и/или узлы, интегрированные в один или большее количество узлов печатных плат. Архитектура, схемы, моделирование, конфигурация, реализация и подтверждение системы направлены на улучшения для обеспечения электропитания, напряжения и тока с высокой эффективностью для направления систем ультразвуковой терапии. В различных вариантах реализации основанная на энергии система содержит взаимозаменяемые компоненты (например, консоль, излучатель, модули зонда преобразователя и т.д.), калиброванные для эффективного и успешного функционирования и связи друг с другом для обеспечения желаемого результата обработки. Эффективное и успешное фокусирование ультразвука на конкретных расстояниях от ультразвукового преобразователя улучшаются путем уменьшения отклонения, погрешности и гармоник, которые могут препятствовать оптимальной производительности. В некоторых вариантах реализации обеспечены дерматологические применения (включая, например, косметические и некосметические дерматологические применения). В других вариантах реализации обеспечены недерматологические применения (такие как, например, ортопедические, неврологические, кардиологические и т.д.).
Обзор системы ультразвуковой терапии
[0080] Со ссылкой на иллюстрации, представленные на ФИГ. 1А, 1В и 1С, различные варианты реализации системы 20 ультразвуковой терапии включают ручной щуп (например, излучатель) 100, модуль (например, модуль преобразователя, картридж, зонд) 200 и контроллер (например, консоль) 300. В некоторых вариантах реализации тележка 301 обеспечивает мобильность и/или позиционирование системы 20 и может содержать колеса, поверхности для выполнения записей или размещения компонентов и/или отсеки 302 (например, ящики, контейнеры, полки и т.д.), например, для хранения или организации компонентов. В различных вариантах реализации контроллер 300 может быть приспособлен для и/или выполнен с возможностью работы с ручным щупом 100 и модулем 200, а также обеспечения общих функциональных возможностей ультразвуковой системы 20. В различных вариантах реализации несколько контроллеров 300, 300', 300'' и т.д. могут быть приспособлены для и/или выполнены с возможностью работы с несколькими ручными щупами 100, 100', 100'' и т.д. и/или несколькими модулями 200, 200', 200'' и т.д. В различных вариантах реализации контроллер 300 может включать системный процессор и различные аналоговые и/или цифровые логические схемы управления, например, один или большее количество микроконтроллеров, микропроцессоров, программируемых пользователем вентильных матриц, компьютерных плат и связанных с ними компонентов, включая предустановленное программное обеспечение и управляющее программное обеспечение, которые могут быть способны взаимодействовать с пользовательскими элементами управления и интерфейсными схемами, а также со схемами ввода/вывода и системами для осуществления связи, отображения, сопряжения, хранения, протоколирования и других применимых функций. Системное программное обеспечение, запущенное в системном процессе, может быть адаптировано для и/или выполнено с возможностью управления всеми параметрами инициализации, синхронизации, задания уровня, контроля, контроля безопасности и остальных функций ультразвуковой системы для достижения заданных пользователем целей обработки. Кроме того, контроллер 300 может содержать различные модули ввода/вывода, такие как выключатели, кнопки и т.д., которые также могут быть соответствующим образом адаптированы для и/или выполнены с возможностью управления работой ультразвуковой системы 20. На ФИГ. 2 представлена схематическая иллюстрация ультразвуковой системы 20, взаимодействующей с представляющей интерес областью 10 (не показана) пациента 500 (с поверхностью 501 кожи, эпидермальным слоем 502, дермальным слоем 503, жировым слоем 505, поверхностной мышечно-апоневротической системой 507 (здесь и далее в настоящем документе «SMAS 507») и мышечным слоем 509).
Обзор ультразвукового контроллера
[0081] Как описано в настоящем документе, в различных вариантах реализации контроллер 300 может быть адаптирован для и/или выполнен с возможностью включения, например, микропроцессора с программным обеспечением и устройств ввода/вывода, систем и устройств для управления электронным и/или механическим сканированием и/или мультиплексированием преобразователей и/или мультиплексированием модулей преобразователя, системы для подачи энергии, систем для контроля, систем для определения пространственного положения зонда и/или преобразователей и/или мультиплексирования модулей преобразователя, и/или систем для обработки данных пользовательского ввода и записи результатов обработки, среди прочих. В различных вариантах реализации контроллер 300 может быть выполнен с возможностью подачи радиочастотной (РЧ) мощности для приведения в действие указанного одного или большего количества ультразвуковых преобразователей. В различных вариантах реализации контроллер 300 может содержать модуль РЧ терапии (РЧТ), содержащий электронные устройства и/или электронные подсистемы, выполненные с возможностью генерации РЧ мощности в требуемом диапазоне РЧ мощности и в требуемом диапазоне частот, которые могут приводить в действие указанный один или большее количество ультразвуковых преобразователей. Модуль РЧТ может содержать узел печатной платы (ПП), содержащий подсистемы для доставки и контроля РЧ сигналов, приводящих в действие указанный один или большее количество ультразвуковых преобразователей. Узел ПП может содержать еще один или большее количество генераторов РЧ сигналов, один или большее количество РЧ усилителей мощности, один или большее количество осцилляторов, одно или большее количество устройств для контроля температуры, одно или большее количество устройств для контроля мощности, один или большее количество источников электропитания, одну или большее количество схем синхронизации и/или другие электронные компоненты, выполненные с возможностью генерации РЧ сигналов в требуемом диапазоне мощности и в пределах требуемого диапазона частот, системы, выполненные с возможностью мощность РЧ сигнала, и/или калибровочные системы, выполненные с возможностью прогноза РЧ мощности, которая будет доставлена на указанный один или большее количество ультразвуковых преобразователей.
[0082] На ФИГ. 3 представлена блок схема варианта реализации модуля РЧТ, содержащего приводную подсистему 3000, выполненную с возможностью генерации РЧ сигналов с требуемой РЧ мощностью и в пределах требуемого диапазона частот для приведения в действие ультразвукового преобразователя. В одном варианте реализации модуль РЧТ может содержать восемь (8) приводных подсистем, выполненных с возможностью генерации восьми (8) РЧ сигналов с требуемой РЧ мощностью и в пределах требуемого диапазона частот для приведения в действие восьми (8) ультразвуковых преобразователей. В других вариантах реализации количество приводных подсистем модуля РЧТ может быть меньше восьми (например, 7, 6, 5, 4, 3, 2, 1) или больше восьми (например, 9, 10, 11, 12, 13, 15, 20 или более).
[0083] Приводная подсистема 3000 содержит усилитель мощности (PA) 3001, генерирующий выходной РЧ сигнал с требуемой частотой и фазой и имеющий требуемое количество РЧ мощности. Приводная подсистема 3000 может дополнительно содержать систему 3011 подачи электропитания, выполненную с возможностью подачи электропитания на усилитель 3001 мощности. Сгенерированный РЧ сигнал может быть направлен на бортовую 50 Ω нагрузку 3003 для диагностики и калибровки или на внешний соединитель 3005, соединенный с ручным щупом 100 и/или ультразвуковым преобразователем модуля 200. Приводная подсистема 3000 дополнительно содержит систему 3007 измерения мощности, контролирующую выходную электрическую мощность из усилителя мощности на ультразвуковой преобразователь. Система 3007 измерения мощности может быть выполнена с возможностью семплирования комплексного напряжения по выходному соединителю 3005 и тока, поступающего в него. В различных вариантах реализации IQ демодулятор представляет собой схему контроля выходного электропитания и тока. Система 3007 измерения мощности содержит IQ демодулятор, демодулирующий РЧ сигнал до основной полосы частот с использованием синхронизирующего тактового сигнала. Это может способствовать контролю фазы РЧ мощности, выводимой из выходного соединителя 3005, в реальном времени и с высоким разрешением, и/или способствовать оценке тепловой дозы, доставляемой пациенту.
[0084] Некоторые варианты реализации модуля РЧТ, содержащие множество приводных подсистем 3000, могут быть выполнены с возможностью обеспечения приводных сигналов с фазовой автоподстройкой с управляемой частотой и фазой на множество приводных подсистем 3000. Например, схема 3010 распределения тактовых сигналов, содержащая три 4-канальные интегральные схемы (ИС) цифрового генератора динамического синтеза (DDS), может быть использована для обеспечения приводных сигналов с фазовой автоподстройкой с управляемой частотой и фазой. Два из трех цифровых генераторов динамического синтеза могут подавать приводные сигналы на усилитель 3001 мощности множества приводных подсистем 3000, а третий цифровой генератор динамического синтеза подает эталонные тактовые сигналы на интегральные схемы демодулятора в системе 3007 измерения мощности для синхронизированной демодуляции.
[0085] Так как правильная работа модуля РЧТ важна для безопасности пациента, модуль РЧТ может содержать множество различных систем мониторинга состояния здоровья, выполненных с возможностью обеспечения правильной работы модуля РЧТ. Например, модуль РЧТ может содержать одно или большее количество устройств 3009 контроля температуры, осуществляющих контроль температуры на различных участках модуля РЧТ. В одном варианте реализации модуля РЧТ указанное одно или большее количество устройств контроля температуры могут быть выполнены с возможностью контроля температуры на тридцати двух (32) разных участках вокруг модуля РЧТ. В различных вариантах реализации указанное одно или большее количество устройств 3009 контроля температуры могут быть выполнены с возможностью приема измерений температуры от одного или большего количества датчиков, расположенных на различных участках модуля РЧТ. Модуль РЧТ может содержать одно или большее количество устройств 3013 контроля подачи электропитания для контроля напряжения и/или тока, подаваемого на усилитель 3001 мощности системой 3011 подачи электропитания. В некоторых вариантах реализации модуль РЧТ может содержать устройство 3015 предела регулируемого тока (ICTRL), управляющее максимальной подачей тока, подаваемой на усилитель 3001 мощности. Модуль РЧТ может содержать устройства 3017 контроля реле, выполненные с возможностью удостоверения в переключении различных реле (например, реле 3018) при команде переключения. Устройства контроля могут быть обеспечены для контроля тока и/или напряжения для различных источников низкого напряжения, а также для включения/отключения элементов управления и разрядных схем.
[0086] Модуль РЧТ может содержать контроллер 3019 модуля платы (BMC), обеспечивающий интерфейс связи с контроллером (RTC) системы реального времени и возможность принимать данные от системы 3007 измерения мощности, бортовых систем мониторинга состояния здоровья и систем контроля подачи электропитания. Контроллер 3019 модуля платы может быть выполнен с возможностью генерации ошибок при обнаружении ошибочных измерений системы мониторинга состояния здоровья. Эти ошибки могут быть переданы в отчете на контроллер реального времени и протоколированы на бортовом электрически перепрограммируемом ПЗУ. Контроллер 3019 модуля платы может быть запрограммирован через подложку 3021 JTAG или посредством интерфейса JTAG на контроллер реального времени.
[0087] Модуль РЧТ может быть выполнен с возможностью соединения задней панели контроллера 300 через соединитель последовательной шины периферии PCI Express. Управление усилителем 3001 мощности может быть осуществлено непосредственно через контроллер реального времени или через этот соединитель последовательной шины периферии PCI Express. Контроллер реального времени управляет амплитудой каждого канала и, посредством управления цифровыми генераторами динамического синтеза, частотой и фазой. Интегральные схемы на плате питаются источниками электропитания понижающего преобразователя постоянного тока и регуляторов малого падения напряжения, которые работают на основном источнике электропитания 24 вольт постоянного тока. В различных вариантах реализации отдельный источник электропитания 39 вольт постоянного тока может быть предоставлен для подачи электропитания на усилитель мощности. Этот отдельный источник электропитания может быть включен и выключен отдельно в различных вариантах реализации. Ниже будут более подробно описаны различные инновационные аспекты различных компонентов, схем и/или подсистем модуля РЧТ.
Усилитель мощности
[0088] Различные варианты реализации усилителя мощности, предусмотренные в этой заявке, могут быть выполнены с возможностью предоставления до 100 Вт РЧ мощности с высоким КПД в пределах диапазона от 1,0 МГц до 12,0 МГц. Например, различные варианты реализации усилителя мощности, содержащиеся в модуле РЧТ, могут быть выполнены с возможностью предоставления выходной РЧ мощности в диапазоне от приблизительно 1 Вт до приблизительно 10 Вт, от приблизительно 5 Вт до приблизительно 15 Вт, от приблизительно 10 Вт до приблизительно 20 Вт, от приблизительно 25 Вт до приблизительно 35 Вт, от приблизительно 30 Вт до приблизительно 40 Вт, от приблизительно 35 Вт до приблизительно 45 Вт, от приблизительно 40 Вт до приблизительно 50 Вт, от приблизительно 45 Вт до приблизительно 55 Вт, от приблизительно 50 Вт до приблизительно 60 Вт, от приблизительно 55 Вт до приблизительно 65 Вт, от приблизительно 60 Вт до приблизительно 70 Вт, от приблизительно 65 Вт до приблизительно 75 Вт, от приблизительно 70 Вт до приблизительно 80 Вт, от приблизительно 75 Вт до приблизительно 85 Вт, от приблизительно 80 Вт до приблизительно 90 Вт, от приблизительно 85 Вт до приблизительно 95 Вт, от приблизительно 90 Вт до приблизительно 100 Вт, или любой выходной РЧ мощности в любом диапазоне/поддиапазоне, определенном любыми из этих значений в пределах диапазона частот от 1,0 МГц до 12,0 МГц. В некоторых вариантах реализации усилитель мощности может быть выполнен с возможностью обеспечения выходной РЧ мощности более приблизительно 100 Вт.
[0089] Различные варианты реализации усилителя 3001 мощности, содержащиеся в модуле РЧТ, могут быть выполнены с возможностью работы в широком диапазоне настройки частоты. Например, различные варианты реализации усилителя мощности могут быть выполнены с возможностью обеспечения до 100 Вт выходной РЧ мощности в пределах диапазона частот, охватывающем по меньшей мере 2 октавы. Например, усилитель мощности может быть выполнен с возможностью обеспечения выходной РЧ мощности в любом диапазоне/поддиапазоне, определенном значениями от приблизительно 1 Вт до приблизительно 100 Вт в широком диапазоне частот от приблизительно 1,0 МГц до приблизительно 5 МГц, от приблизительно 2,5 МГц (например, 2,0 МГц, 2,2 МГц, 2,4 МГц, 2,6 МГц, 2,8 МГц, 3,0 МГц) до приблизительно 7,5 МГц (например, 7,0 МГц, 7,2 МГц, 7,4 МГц, 7,6 МГц, 7,8 МГц, 8,0 МГц), от приблизительно 3,0 МГц (например, 2,5 МГц, 2,7 МГц, 2,9 МГц, 3,1 МГц, 3,3 МГц, 3,5 МГц) до приблизительно 9,0 МГц (например, 8,0 МГц, 8,2 МГц, 8,4 МГц, 8,6 МГц, 8,8 МГц, 9,0 МГц), от приблизительно 3,5 МГц до приблизительно 10,5 МГц, от приблизительно 4,0 МГц до приблизительно 8,0 МГц, от приблизительно 5,0 МГц до приблизительно 10,0 МГц, от приблизительно 4,0 МГц до приблизительно 12,0 МГц, от приблизительно 6,0 МГц до приблизительно 12,0 МГц или в любом диапазоне/поддиапазоне частот, определенном любыми из этих значений частоты. В различных вариантах реализации усилитель мощности может быть выполнен с возможностью работы с КПД по меньшей мере 75% на разных частотах в диапазоне/поддиапазоне частот, определенном значениями от приблизительно 1,0 МГц до приблизительно 12,0 МГц.
[0090] Различные варианты реализации усилителя 3001 мощности, содержащегося в модуле РЧТ, могут быть выполнены с возможностью обеспечения надежной работы путем предотвращения состояний короткого замыкания и незамкнутой цепи. Различные варианты реализации усилителя мощности, содержащегося в модуле РЧТ, могут быть оптимизированы для приведения в действие 50 Ω нагрузок. Различные варианты реализации усилителя мощности, содержащиеся в модуле РЧТ, могут быть выполнены с возможностью приведения в действие нагрузок с сопротивлением, имеющим величину от приблизительно 20 Ω до приблизительно 200 Ω, и фазой от приблизительно -60 градусов до приблизительно 60 градусов. Например, различные варианты реализации усилителя мощности могут быть выполнены с возможностью приведения в действие преобразователей с сопротивлением в диапазоне от 20 Ω до 120 Ω и фазовым углом от +45 градусов до - 45 градусов.
Полевые транзисторы из полупроводникового материала (например, нитрид галлия)
[0091] Для усилителя 3001 мощности является желательным достижение КПД мощности больше, чем приблизительно 75% в диапазоне рабочих частот от 1,0 МГц до 12,0 МГц. Соответственно, различные варианты реализации усилителя 3001 мощности могут иметь переключаемую конфигурацию. Переключаемые усилители могут быть классифицированы как резонансные устройства с переключателем нулевого напряжения (например, класс E) или как устройства без переключателя нулевого напряжения (например, класс D). Во многих описанных в этой заявке вариантах реализации усилителя 3001 мощности, которые выполнены с возможностью работы в диапазоне частот от 1,0 МГц до 12,0 МГц, использована нерезонантная конфигурация переключаемого усилителя. Один вариант реализации переключаемого усилителя содержит переключательную схему и фильтр нижних частот. Вывод из переключаемого усилителя представляет собой прямоугольную волну. После прохождения через фильтр нижних частот прямоугольная волна становится более синусоидальной в связи с удалением гармоник над частотой отсечки фильтра нижних частот. Большинство обычных полевых транзисторов (ПТ) со структурой металл-оксид-полупроводник (МОС), содержащих кремний, могут быть выполнены без возможности достижения КПД мощности больше, чем 75% в требуемом диапазоне рабочих частот от 1,0 МГц до 12,0 МГц. Однако электронные устройства (например, транзисторы и/или полевые транзисторы), содержащие транзисторы с высоким КПД, такие как III-V полупроводниковые материалы (например, III-V сложные полупроводники, полученные путем сочетания элементов группы III (например, Al, Ga, In) с элементами группы V (например, N, P, As, Sb), такие как нитрид галлия (GaN), арсенид галлия (GaAs), антимонид галлия (GaSb), фосфид индия (InP), арсенид индия (InAs), антимонид индия (InSb), арсенид индия-галлия (InGaAs), антимонид алюминия (AlSb), арсенид алюминия-галлия (AlGaAs), нитриде алюминия-галлия (AlGaN), и т.д.), имеют выходную емкость и время переключения при данном рабочем напряжении, которые на порядок ниже выходной емкости кремниевых полевых транзисторов со структурой металл-оксид-полупроводник. В нескольких вариантах реализации описаны GaN транзисторы, хотя в других предусмотренных вариантах реализации может быть использован любой из GaN, GaAs, GaSb, InP, InAs, InSb, InGaAs, AlSb, AlGaAs и/или AlGaN транзисторов. В одном варианте реализации используется только один полупроводник. Соответственно, GaN полевые транзисторы выполнены с возможностью достижения КПД мощности, превышающей приблизительно 75% в диапазоне частот между приблизительно диапазоном частот от 1,0 МГц до 12,0 МГц. GaN полевые транзисторы содержат тонкий слой GaN, образованный на кремниевой подложке. GaN полевые транзисторы могут иметь несколько преимуществ, без ограничения включая (i) высокую диэлектрическую прочность, которая может быть обусловлена тем, что GaN является широкозонным полупроводником; (ii) высокую рабочую температуру, которая может быть обусловлена тем, что GaN является широкозонным полупроводником и/или имеет высокий потенциальный барьер; (iii) высокую плотность тока, которая может быть обусловлена высокой подвижностью электронов; (iv) высокую скорость переключения, которая может быть обусловлена высокой скоростью насыщения электрического поля и высокой подвижностью электронов; (v) низкое сопротивление во включенном состоянии по сравнению с традиционными кремниевыми (Si) устройствами, которое может быть обусловлено высокой подвижностью электронов; и (vi) низкую емкость по сравнению с традиционными Si устройствами, которая также может быть обусловлена высокой подвижностью электронов. Например, полевые транзисторы, выполненные из GaN, могут характеризоваться входной и выходной емкостью, приблизительно в десять (10) раз меньшей для такой же допустимой нагрузки по току, что и кремниевые полевые транзисторы. Этот признак может позволять GaN полевым транзисторам эффективно функционировать на значительно более высоких частотах, чем кремниевые полевые транзисторы. Таким образом, GaN полевые транзисторы могут быть выполнены с возможностью достижения КПД мощности, превышающих приблизительно 75% в переключаемом РЧ усилителе в пределах требуемого диапазона рабочих частот от 1,0 МГц до 12,0 МГц.
Трансформатор в линии передачи
[0092] GaN полевые транзисторы могут иметь низкое выходное сопротивление (например, менее 100 mΩ). Модуль РЧТ, содержащий GaN полевые транзисторы, выполнен с возможностью приведения в действие одного или большего количества ультразвуковых преобразователей, обеспечивающих сопротивление величиной от 20 Ω до 200 Ω (например, сопротивление 50 Ω) на модуль РЧТ. В различных вариантах реализации модуля РЧТ трансформатор в линии передачи используют для обеспечения соответствия входного сопротивления GaN полевого транзистора и сопротивления, обеспечиваемого указанным одним или большим количеством ультразвуковых преобразователей. На ФИГ. 4 представлен вариант реализации трансформатора в линии передачи, выполненного с возможностью использования для обеспечения соответствия сопротивления GaN полевого транзистора и сопротивления, обеспечиваемого указанным одним или большим количеством ультразвуковых преобразователей. Вариант реализации трансформатора в линии передачи, показанный на ФИГ. 4, представляет собой трансформатор в линии передачи по типу трансформатора Гванеллы с коэффициентом сопротивления 4:1. Трансформатор в линии передачи содержит совокупность синфазных дросселей 4001a, 4001b, 4001c и 4001d, соединенных параллельно со стороны низкого сопротивления (например, стороны, обращенной к GaN полевому транзистору 4005) и последовательно со стороны с высоким сопротивлением (например, стороны, обращенной к нагрузке 4003). Синфазные дроссели 4001a - 4001d могут содержать провода, намотанные на ферритовый сердечник. Положительный ток 2I, выходящий из усилителя 3001 мощности и имеющий выходное напряжение Vg, разветвляется на ток I через синфазный дроссель 4001d и ток I через синфазный дроссель 4001b. Синфазные дроссели выполнены с возможностью обеспечения возможности прохождения только дифференциальных сигналов. Соответственно, положительный ток в синфазном дросселе 4001b создает отрицательный ток -I в синфазном дросселе 4001a, который возвращает ток в синфазный дроссель 4001d. Так как ток 2I выходит в левую сторону трансформатора в линии передачи, а ток I проходит через нагрузку 4003, в соответствии с сохранением энергии, напряжение по нагрузке 4003 должно быть 2Vg. Это базовый принцип работы трансформатора Гванеллы в линии передачи.
[0093] Вариант реализации трансформатора Гванеллы в линии передачи, показанный на ФИГ. 4, обеспечивает 2:1 отношение витков обмоток трансформатора, что приводит к коэффициенту сопротивления 4:1. Более высокий коэффициент сопротивления может быть достигнут путем добавления синфазных дросселей в параллельной конфигурации на левой стороне и в последовательной конфигурации на правой стороне. Кроме того, нет необходимости в расположении синфазных дросселей на разных сердечниках. При условии надлежащего внимания к направлению обмотки, чтобы синфазные магнитные поля от разных пар обмотки не подавляли друг друга, обмотки могут быть намотаны на один сердечник. Различные варианты реализации усилителя 3001 мощности содержат трансформатор Гванеллы в линии передачи с тремя (3) парами обмоток на одном ферритовом сердечнике Amidon FT-87A-43. Три (3) пары обмоток могут содержать бифиляры, которые могут преимущественно сводить к минимуму или снижать паразитные элементы. Дополнительно, каждая пара бифиляров может обеспечивать большое синфазное сопротивление и малое дифференциальное сопротивление. Такой вариант реализации трансформатора Гванеллы в линии передачи может обеспечивать коэффициент сопротивления 9:1, который преобразует выходное сопротивление 50 Ω в сопротивление 5,6 Ω на транзисторах. Путем трансформации номинального сопротивления 50 Ω нагрузки до 5,6 Ω на стороне, обращенной к GaN полевому транзистору, вариант реализации трансформатора Гванеллы в линии передачи может обеспечивать нагрузку, которую GaN полевые транзисторы могут приводить в действие более эффективно, чем непосредственно 50 Ω нагрузку. Это может быть обусловлено квадратическим увеличением потерь заряда выходной емкости, происходящим с повышением напряжения. Кроме того, путем повышения выходного напряжения вариант реализации трансформатора Гванеллы в линии передачи может обеспечивать возможность больших выходных напряжений, превышающих 200 напряжения пика, генерируемых источником низкого напряжения (например, номинально 39 вольт постоянного тока).
[0094] Кроме того, путем обеспечения сбалансированной или несбалансированной трансформации, трансформатор Гванеллы в линии передачи может обеспечивать возможность использования сбалансированного Н-образного моста для приведения в действие ультразвукового преобразователя сигналом относительно земли. Конфигурация сбалансированного Н-образного моста обеспечивает эффективное удвоение приводного напряжения и устраняет гармоники четного порядка из выходной формы волны благодаря симметрии моста слева направо. Конфигурация сбалансированного привода Н-образного моста более подробно описана ниже.
Привод Н-образного моста
[0095] Различные варианты реализации усилителя 3001 мощности, содержащего GaN полевые транзисторы, могут приводиться в действие приводом Н-образного моста. Топология конфигурации Н-образного моста представлена на ФИГ. 5A. Н-образный мост функционирует путем расположения нагрузки 5003 на средней точке между первой парой полевых транзисторов 5001a и 5001b и второй парой полевых транзисторов 5001c и 5001d. Диагонально противоположные полевые транзисторы (например, 5001a и 5001d или 5001b и 5001c) на мосту выполнены с возможностью переключения в одинаковое состояние. В первой конфигурации переключения полевые транзисторы 5001a и 5001d выполнены с возможностью нахождения в закрытой конфигурации, а полевые транзисторы 5001b и 5001c выполнены с возможностью нахождения в открытой конфигурации, как показано на ФИГ. 3B. В первой конфигурации переключения ток проходит через нагрузку 5003 слева направо. Во второй конфигурации переключения полевые транзисторы 5001b и 5001c выполнены с возможностью нахождения в закрытой конфигурации, а полевые транзисторы 5001a и 5001d выполнены с возможностью нахождения в открытой конфигурации, как показано на ФИГ. 3C. Во второй конфигурации переключения ток проходит через нагрузку 5003 справа налево. Благодаря симметрии конфигурации Н-образного моста слева направо отрицательная часть сигнала может иметь по существу такую же форму, что и положительная часть сигнала. Это свойство может преимущественно подавлять гармоники четного порядка в сигнале, оставляя только гармоники нечетного порядка.
[0096] Конфигурация привода Н-образного моста оптимизирована для достижения среднего КПД мощности больше, чем приблизительно 75%, в диапазоне частот от приблизительно 1,0 МГц до 12,0 МГц. Например, средний КПД мощности, обеспечиваемый различными вариантами реализации усилителя 3001 мощности, содержащего GaN полевой транзистор, может быть больше чем приблизительно 80%, больше чем приблизительно 85%, больше чем приблизительно 90%, больше чем приблизительно 95% и/или меньше чем приблизительно 100% в диапазоне частот от приблизительно 1,0 МГц до 12,0 МГц. Оптимизированная конфигурация Н-образного моста может быть выполнена с возможностью достижения пикового КПД мощности больше чем приблизительно 85% в диапазоне частот от приблизительно 1,0 МГц до 12,0 МГц. Например, средний КПД мощности, достигаемый различными вариантами реализации усилителя 3001 мощности, содержащего GaN полевой транзистор, может быть больше чем приблизительно 90%, больше чем приблизительно 95% и/или меньше чем приблизительно 100% в диапазоне частот от приблизительно 1,0 МГц до 12,0 МГц.
[0097] Функциональное требование системы 20 ультразвуковой терапии, описанной в настоящем документе, состоит в обеспечении выходного сигнала, который сразу является узкополосным, но может функционировать на любой частоте в пределах широкого диапазона, охватывающего по меньшей мере 2 октавы (например, охватывающего по меньшей мере 3 - 4 октавы). Например, система 20 ультразвуковой терапии, описанная в настоящем документе, может быть выполнена с возможностью обеспечения выходного сигнала на основной частоте ƒ0, имеющей значение в диапазоне частот от 1,0 МГц до 12,0 МГц и имеющей полосу частот (например, полосу частот 3-дБ) выходного сигнала. Без привязки к какой-либо конкретной теории, вывод из привода Н-образного моста представляет собой отфильтрованную прямоугольную волну, которая содержит компонент сигнала на основной частоте ƒ0 и компоненты на гармониках более высокого порядка. Гармоники более высокого порядка могут искажать РЧ сигнал, выводимый из усилителя 3001 мощности и/или также влиять на точность измерения РЧ мощности выходного РЧ сигнала. Дополнительно, если бы указанный один или большее количество ультразвуковых преобразователей приводились в действие сигналом, содержащим гармоники, то излучение звука могло бы также содержать гармоники. Вследствие частотной зависимости поглощения ультразвука тканью, это может приводить к нагреванию в проксимальном направлении к целевому фокусу, вероятно, представляя опасность для пациента. Кроме того, гармоники на частотах, превышающих 30 МГц, могут представлять риск для генерации эмиссионных излучений, превышающих пределы, предусмотренные в основах безопасности и рабочих характеристиках медицинского оборудования.
[0098] Соответственно, желательно уменьшить амплитуду гармоник более высокого порядка в сигнале, выводимом из привода Н-образного моста, ниже порогового значения. Один подход к уменьшению амплитуды гармоник более высокого порядка в сигнале, выводимом из привода Н-образного моста, может включать обеспечение фильтра нижних частот для удаления гармоник более высокого порядка. Однако обеспечение фильтра нижних частот, который отфильтровывает гармоники более высокого порядка для более низких значений частоты ƒ0 (например, от 1,0 МГц до приблизительно 6,0 МГц), может приводить к уменьшению амплитуды выходного РЧ сигнала, основная частота ƒ0 которого превышает частоту отсечки фильтра нижних частот. Соответственно, для обеспечения возможности эффективной работы усилителя 3001 мощности по всему диапазону частот от 1,0 МГц до 12,0 МГц, частота отсечки фильтра нижних частот должна превышать приблизительно 12,0 МГц, например, составлять 16,0 МГц. Однако фильтр нижних частот с частотой отсечки, превышающей приблизительно 12,0 МГц, выполнен без возможности уменьшения амплитуды гармоник более высокого порядка для более низких значений частоты ƒ0 (например, от 1,0 МГц до приблизительно 6,0 МГц). Соответственно, если усилитель 3001 мощности выполнен с возможностью работы на основной частоте ƒ0, имеющей значение от приблизительно 1,0 МГц до приблизительно 6,0 МГц, в полосе пропускания могут присутствовать несколько гармоник более высокого порядка.
[0099] Как описано ранее, конфигурация Н-образного моста использует формы волны, симметричные при инверсии (при которой отрицательная часть формы волны выглядит как положительная часть формы волны), для устранения более высоких гармоник четного порядка (например, сигналы с 2ƒ0, 4ƒ0, 6ƒ0 или другими более высокими гармониками четного порядка). Для подавления более высоких гармоник нечетного порядка (например, сигналы с 3ƒ0, 5ƒ0, 7ƒ0 или другими более высокими гармониками нечетного порядка) конфигурация Н-образного моста использует уникальную схему приводного сигнала, в которой рабочий цикл положительной части формы волны и отрицательной части формы волны выбирают для подавления более высоких гармоник нечетного порядка. На ФИГ. 6 представлен приводной сигнал, сгенерированный Н-образным мостом при установке рабочего цикла положительной части формы волны и отрицательной части формы волны на 0,3. На ФИГ. 7 представлена вариация амплитуды более высоких гармоник нечетного порядка для разных рабочих циклов положительной части формы волы и отрицательной формы волны в соответствии с различными вариантами реализации настоящего изобретения. В соответствии с ФИГ. 7 следует понимать, что основная мощность увеличивается с повышением рабочего цикла, достигая пикового значения на 50% рабочего цикла. Соответственно, рабочий цикл могут использовать для модуляции выходной мощности на основной частоте. Также, следует отметить в связи с ФИГ. 7, что разные гармоники достигают своего минимального значения на разных значениях рабочего цикла. Соответственно, при необходимости подавления конкретной гармоники, существует одно или большее количество значений рабочего цикла, для которых эта гармоника сильно подавлена. Кроме того, на значении 0,333 рабочего цикла обеспечивается подавление 3 и 9 гармоники. Это полезно, так как 3 гармоника является гармоникой самой нижней, но не нулевой частоты, и поэтому имеет вероятность быть наименее подавленной фильтром нижних частот. Соответственно, выбор значения рабочего цикла приблизительно 0,3 может преимущественно подавлять гармонику 3 порядка в цифровом сигнале. Без какой-либо потери общности, рабочий цикл положительной и отрицательной частей формы волны выбирают, чтобы иметь такое же значение для подавления гармоник четного порядка. Также, в связи с ФИГ. 7 следует отметить, что минимальный общий гармонический состав наблюдается при значении 0,386 рабочего цикла. В дополнение к управлению рабочим циклом положительной части формы волны и отрицательной части формы волны, выдаваемых из Н-образного моста для подавления более высоких гармоник нечетного порядка, может быть обеспечен фильтр нижних частот, частота отсечки которого больше или равна приблизительно 80% максимальной частоты работы усилителя мощности, для подавления более высоких гармоник нечетного порядка. Например, в различных вариантах реализации системы ультразвуковой терапии, выполненной с возможностью работы на максимально высокой частоте 12,0 МГц, может быть использован фильтр нижних частот, частота отсечки которого больше или равна приблизительно 12,0 МГц (например, от приблизительно 10 МГц до приблизительно 16,0 МГц), для удаления более высоких гармоник нечетного порядка с частотой, превышающей частоту отсечки.
[0100] Рассмотрим вариант реализации системы ультразвуковой терапии, выполненный с возможностью работы в диапазоне частот от приблизительно 1,0 МГц до приблизительно 12,0 МГц. Дополнительно следует отметить, что GaN полевые транзисторы в усилителе мощности, содержащемся в таком варианте реализации системы ультразвуковой терапии, приводят в действие посредством привода Н-образного моста, в котором рабочий цикл положительной части формы волны и отрицательной части формы волны выбирают для подавления гармоники 3 порядка (например, приблизительное значение 0,33 рабочего цикла). Также следует отметить, что усилитель мощности содержит фильтр нижних частот (например, фильтр Чебышева 5 порядка с пульсацией 0,1 дБ) с частотой отсечки приблизительно 16 МГц. На ФИГ. 8A - 8D представлен сигнал, выданный из такого варианта реализации усилителя мощности при 2,0 МГц, 4,0 МГц, 7,0 МГц и 12,0 МГц. На ФИГ. 8A - 8D, ссылочные позиции 8001a, 8003a, 8005a и 8007a обозначают выходной сигнал до фильтра нижних частот, а ссылочные позиции 8001b, 8003b, 8005b и 8007b обозначают выходной сигнал после фильтра нижних частот. Следует отметить, что выходной сигнал после фильтра нижних частот на ФИГ. 8A является искаженным от синусоидальной формы, что указывает на то, что фильтр нижних частот пропускает некоторые более высокие гармоники нечетного порядка в полосе пропускания на частоте 2,0 МГц. Добавление более высоких гармоник нечетного порядка значительно уменьшается на частоте 4,0 МГц, о чем свидетельствует почти синусоидальный сигнал, выводимый после фильтра нижних частот на ФИГ. 8B. На частоте 7,0 МГц и 12,0 МГц более высокие гармоники нечетного порядка почти устранены, о чем свидетельствует синусоидальная природа сигнала, выводимого после фильтра нижних частот.
[0101] Соответственно, различные варианты реализации привода Н-образного моста, выполненного с возможностью приведения в действие GaN полевых транзисторов усилителя 3001 мощности, выполнены с возможностью работы на рабочем цикле, подавляющем гармоники 3 порядка, и имеет фильтр нижних частот с частотой отсечки, выполненной с возможностью подавления более высоких гармоник нечетного порядка с частотой, превышающей приблизительно 12,0 МГц.
[0102] Приводной сигнал Н-образного моста генерируют из аналогового сравнения между сигнала постоянного тока, установленного цифро-аналоговым преобразователем (ЦАП), и пары сдвинутых по фазе синусоидальных сигналов от сбалансированной дифференциальной выходной ступени цифрового генератора прямого синтеза (DDS). На ФИГ. 9 представлено упрощенное схематическое изображение схемы компаратора, используемой для генерации двух приводных форм волны. На ФИГ. 9, батарея 9001 представляет собой источник постоянного напряжения, и преобразователь 9003 обеспечивает сбалансированный сигнал.
[0103] На ФИГ. 10 представлено графическое изображение приводных сигналов Н-образного моста, нанесенные на один график с формой 10001a волны, изображающей форму волны, обеспечиваемую совпадающей по фазе синусоидальной волной, и 10001b, изображающей форму волны, обеспечиваемую сдвинутой по фазе синусоидальной волной. Два приводных сигнала, представленные формами 10001a и 10001b волны имеют задержку на 180 градусов.
[0104] Преимущество конфигурации Н-образного моста, представленной схемой на ФИГ. 9 заключается в том, что она может обеспечивать удобный механизм для модуляции рабочего цикла привода затвора путем изменения значения сигнала постоянного тока, который соответствует выводу из батареи 9001. В модуле РЧТ этот сигнал постоянного тока управляется 12-битным ЦАП и может модулировать рабочий цикл от 0% до 50%. Как описано ниже, управление рабочим циклом обеспечивает ряд преимуществ, без ограничения включая регулирование уровня мощности основной частоты и подавление амплитуды гармоник более высокого порядка. Дополнительно, установка рабочего цикла привода затвор на значение 0% или 100% может обеспечивать удобный способ предотвращения выключения полевых транзисторов Н-образного моста во время ТТК для измерения чувствительности к коэффициенту стоячей волны по напряжению (VSWR). Дополнительно, установка рабочего цикла привода затвор на значение 0% или 100% может обеспечивать механизм для отключения неиспользуемых каналов по время испытаний.
Защитная схема
[0105] На ФИГ. 11A представлена упрощенная принципиальная электрическая схема переключаемого усилителя 3001 мощности, содержащего Н-образный мост, образованный из четырех (4) GaN полевых транзисторов 11001a, 11001b, 11001c и 11001d, приводящего в действие сбалансированную сторону 1:9 трансформатора 11003 Гванеллы в линии передачи. GaN полевые транзисторы могут быть подвержены повреждениям от индуктивных перепадов вследствие их относительно хрупких изолирующих слоев канала затвора и малого диапазона напряжения разрушения. Соответственно, защитная схема, содержащая параллельный 5,6 В диод 11005 Зенера и быстродействующий диод 11007 Шоттки на затворах 11001c и 11001d полевых транзисторов стороны высокого напряжения Н-образного моста, может исключать превышение пороговым напряжением включения VGS 5,6 В на положительной стороне, а также исключать опускание затвора более чем на 0,3 В ниже источника на отрицательной стороне. Вариант реализации такой защитной схемы показан на ФИГ. 11B. Такая защитная схема может защищать GaN полевые транзисторы от индуктивных перепадов, и скачки (или разрядов) короткого замыкания, превышающие 20 А, могут выдерживаться на протяжении более 1 мс (например, 2 мс, 5 мс, 10 мс или больше). Например, диод 11007 Шоттки может обеспечивать, чтобы в случае индуктивного перепада, который генерирует отрицательное значение VGS, напряжение затвора оставалось привязанным к напряжению источника. В некоторых вариантах реализации без наличия диода 11007 Шоттки перепады тока, превышающие 8 А (что может происходить в случае короткого замыкания), могут вызывать неисправность GaN полевых транзисторов.
Управление амплитудой
[0106] Различные варианты реализации усилителя 3001 мощности могут содержать управляемый напряжением понижающий преобразователь для обеспечения управления амплитудой. Вариант реализации управляемого напряжением понижающего преобразователя показан на ФИГ. 11C. Управляемый напряжением понижающий преобразователь может быть также именован управляемым обратной связью понижающим преобразователем. Управление амплитудой может быть осуществлено путем введения тока в суммирующий узел управляемого напряжением понижающего преобразователя, придающего выводу управляемого напряжением понижающего преобразователя ступенчатую модуляцию и/или модуляцию с узкой полосой пропускания (например, меньше или равно приблизительно 3 кГц). В одном варианте реализации используемая система использует дискретные изменения амплитуды. В одном варианте реализации дискретные изменения амплитуды важны для управления электропитания для любых случаев применения режима терапии/режима визуализации. Вывод, модулированный с узкой полосой пропускания, из управляемого напряжением понижающего преобразователя подается на Н-образный мост, который обеспечивает модуляцию с узкой полосой пропускания РЧ мощности, выдаваемой из усилителя мощности. Без потери общности, вывод, модулированный с узкой полосой пропускания, из управляемого напряжением понижающего преобразователя может изменять приводное напряжение, подаваемое на полевые транзисторы, что может изменять напряжение, подаваемое на нагрузку при нахождении полевых транзисторов стороны высокого напряжения во включенном состоянии. Это более подробно описано далее.
[0107] В одном варианте реализации вывод Н-образного моста модулируют путем изменения напряжения, подаваемого на стоке полевых транзисторов со стороны высокого напряжения, подаваемого на нагрузку при нахождении полевых транзисторов стороны высокого напряжения во включенном состоянии. В одном варианте реализации вывод Н-образного моста модулируют путем изменения напряжения, подаваемого на стоке полевых транзисторов со стороны высокого напряжения, подаваемого на нагрузку при нахождении полевых транзисторов стороны высокого напряжения в закрытом состоянии. В некоторых вариантах реализации это напряжение генерируют как вывод из понижающего напряжение понижающего преобразователя постоянного тока, выполненного с возможностью эффективного понижения напряжения из источника высокого напряжения. Выходное напряжение понижающего преобразователя управляется рабочим циклом и частотой событий переключения. Некоторые варианты реализации базовой схемы понижающего преобразователя содержат контур обратной связи, в котором вывод измеряют и сравнивают с пороговым значением. При падении вывода ниже порогового значения понижающий преобразователь изменяет свое поведение переключения для подачи большей мощности на нагрузку. В некоторых вариантах реализации усилителей мощности, в которых использованы понижающие преобразователи для задания выходной амплитуды, выводом понижающего преобразователя управляют путем введения тока в суммирующий вход контур обратной связи. При подаче большего количества тока на суммирующий узел, обеспечивается подача меньшего количества тока выходом понижающего преобразователя, в результате чего обеспечивается падение выходного напряжения. И наоборот, при подаче меньшего количества тока на суммирующий узел, обеспечивается подача большего количества тока выходом понижающего преобразователя, в результате чего обеспечивается повышение выходного напряжения. Напряжение на выходе понижающего преобразователя может увеличиваться до превышения порогового значения напряжением на суммирующем узле.
Система измерения мощности
[0108] Как описаны ранее, различные варианты реализации модуля РЧТ, описанные в настоящем документе, содержат систему 3007 измерения мощности, выполненную с возможностью контроля электропитания, подаваемого из усилителя 3001 мощности на один или большее количество ультразвуковых преобразователей. В различных вариантах реализации система 3007 измерения мощности может быть выполнена с возможностью измерения мощности РЧ сигнала, выдаваемого из усилителя мощности в разных приводных подсистемах 3000 модуля РЧТ. Дополнительно, система 3007 измерения мощности может быть также выполнена с возможностью измерения относительной фазы между РЧ сигналом, выдаваемым из усилителя 3001 мощности разных приводных подсистем 3000.
[0109] Система 3007 измерения мощности может быть выполнена как конфигурация печатной платы (ПП) с высокой плотностью. Конфигурация ПП может быть выполнена так, чтобы иметь малый размер и/или низкое рассеяние тепла. Различные варианты реализации системы 3007 измерения мощности могут быть выполнены с возможностью измерения мощности РЧ сигнала, выдаваемого из усилителя 3001 мощности, доставляемого на широкий диапазон сопротивления Z нагрузки с величиной |Z| от 20 Ω до 200 Ω и фазовым углом ∠Z от -60° до 60°. Например, различные варианты реализации системы 3007 измерения мощности могут быть выполнены с возможностью измерения мощности РЧ сигнала, выдаваемого из усилителя 3001 мощности, доставляемого на широкий диапазон сопротивления Z нагрузки с величиной |Z| от 20 Ω до 120 Ω и фазой ∠Z от +45 градусов до - 45 градусов. Различные варианты реализации системы 3007 измерения мощности могут быть выполнены с возможностью измерения мощности РЧ сигнала, выдаваемого из усилителя мощности в разных приводных подсистемах 3000 с точностью приблизительно ±0,5 дБ. Различные варианты реализации системы 3007 измерения мощности могут быть выполнены с возможностью измерения мощности РЧ сигнала, выдаваемого из усилителя мощности в разных приводных подсистемах 3000 с точностью приблизительно ±0,5 дБ даже при наличии значительного вклада в мощность РЧ сигнала от гармоник более высокого порядка. Различные варианты реализации системы 3007 измерения мощности могут быть выполнены с возможностью работы в пределах широкого диапазона частот. Например, система 3007 измерения мощности может быть выполнена с возможностью работы в пределах по меньшей мере такого же диапазона частот, что и усилитель 3001 мощности. Например, система 3007 измерения мощности может быть выполнена с возможностью работы в пределах широкого диапазона частот от приблизительно 1,0 МГц до приблизительно 12,0 МГц.
[0110] Различные варианты реализации системы 3007 измерения мощности могут содержать резистивные компоненты для измерения тока и напряжения. Например, в различных вариантах реализации системы 3007 измерения мощности могут использоваться малосигнальные преобразователи для подавления синфазного сигнала. Использование резистивных компонентов для измерения тока и напряжения может иметь несколько преимуществ по сравнению с магнитными устройствами (например, РЧ направленные соединители, РЧ циркуляторы и другие магнитные устройства), более широко используемыми для наблюдения РЧ мощностью, без ограничения включая меньшей размер цепи, более низкую стоимость, более низкое рассеяние тепла и/или повышенную устойчивость к помехам.
[0111] Хотя эффекты паразитной реактивности могут быть значительными в резистивных компонентах для измерения тока и напряжения, большинство эффектов паразитной реактивности могут быть откалиброваны и удалены из измерений. Система 3007 измерения мощности может содержать схему дифференциального измерения, содержащую широкополосные малосигнальные РЧ преобразователи, как показано на ФИГ. 12. Схема дифференциального измерения может устранять крупные синфазные компоненты из сигнала и может преимущественно изолировать схемы измерения от резистора 12001 измерения тока. Схема дифференциального измерения может обеспечивать устойчивость к помехам, возникающим от емкостного и магнитного соединения между компонентами системы 3007 измерения мощности и компонентами усилителя 3001 мощности. В частности, магнитные поля, излучаемые от трансформатора питания, и паразитная взаимная емкость и индукция на ПП могут соединяться с вводами усилителя. Эти помехи являются синфазными и генерируют почти идентичные соединения на двух входах дифференциального усилителя. Соответственно, использование дифференциального усилителя может преимущественно отнимать/удалять синфазные соединения на двух входах дифференциального усилителя, при этом усиливая дифференциальный сигнал тока или напряжения.
[0112] Система 3007 измерения мощности содержит гетеродинный IQ демодулятор (например, демодулятор AD8333, производимый компанией Analog Devices). В различных вариантах реализации модуля РЧТ каждая приводная подсистема 3000 может содержать гетеродинный IQ демодулятор, выполненный с возможностью приема семплированных форм волны тока и напряжения части РЧ сигнала, выводимого из усилителя мощности, содержащегося в указанной приводной подсистеме 3000.
[0113] На ФИГ. 13 показан вариант реализации системы 3007 измерения мощности. Как показано на ФИГ. 13, часть вывода из усилителя 3001 мощности измерена резистивными компонентами для измерения тока и напряжения, расположенными на схеме дифференциального измерения, показанной на блоке 13003. Вывод от резистивных компонентов для измерения тока и напряжения на блоке 13003 вводят в гетеродинный IQ демодулятор 13000. Гетеродинный IQ демодулятор 13000 содержит локальный тактовый генератор (LO) 13001; элементы 13005a и 13005b демодуляции тока; элементы 13005c и 13005d демодуляции напряжения; фильтрующие элементы 13007a, 13007b, 13007c и 13007d; а также аналогово-цифровые преобразователи (АЦП) 13009a, 13009b, 13009c и 13009d. Гетеродинный IQ демодулятор 13000 выполнен с возможностью работы на произвольных частотах.
[0114] Гетеродинный IQ демодулятор 13000 может обеспечивать измерения величины и фазы РЧ сигнала, выводимого от усилителя 3001 мощности. Гетеродинный IQ демодулятор 13000 может быть выполнен с возможностью осуществления измерений на основной полосе частот, на которой измерения могут быть защищены от помех. Гетеродинный IQ демодулятор 13000 может содержать АЦП с высокой битовой глубиной и частотой дискретизации, которые потенциально могут снизить стоимость, повысить точность и обеспечить возможность мультиплексирования разных РЧ каналов. Фильтры нижних частот IQ демодулятора 13000 могут обеспечивать возможность узкополосной фильтрации, которая может быть независимой от частоты РЧ сигнала, который может охватывать широкий диапазон частот.
[0115] На ФИГ. 14 представлена блок схема IQ демодулятора AD8333, производимого компанией ANALOG DEVICES. IQ демодулятор 13000 выполнен с возможностью смешивания семплированных форм волны тока и напряжения до основной полосы частот, чтобы обеспечить возможность их оцифровки посредством аналогово-цифрового преобразователя с высоким разрешением (например, АЦП 13009a-13009d). IQ демодулятор может быть выполнен с возможностью демодулировать входной сигнал фазочувствительным образом, чтобы обеспечивать возможность надежного воспроизведения фазы РЧ сигнала относительно эталонного тактового сигнала в качестве фазы аналитического сигнала, действительные и мнимые компоненты которого представляют собой два вывода IQ демодулятора в узкополосном пределе.
[0116] IQ демодулятор 13000 представляет собой двухканальное устройство, принимающее два входных РЧ сигнала и ввод от локального тактового генератора (LO) 13001. Для демодуляции до основной полосы частот, локальный тактовый генератор 13001 находится на частоте, в четыре (4) раза превышающей РЧ сигналы. Например, если усилитель 3001 мощности работает на частоте
со значением от 1,0 МГц до 12,0 МГц, то частота локального тактового генератора 13001 составляет 4
.
[0117] IQ демодулятор 13000 использует ввод от локального тактового генератора 13001 для генерации двух внутренних локальных тактовых генераторов, работающих на
. Первый внутренний генератор может быть именован как I тактовый сигнал, а второй внутренний генератор может быть именован как Q тактовый сигнал. В одном варианте реализации два внутренних локальных тактовых генератора могут быть получены путем оцифрования локального тактового генератора и его использования для запуска двух логических схем деления на четыре, каждая из которых запускается через каждые четыре фронта импульса входного локального тактового генератора, но с Q тактовым сигналом, отстающим на один цикл входного локального тактового генератора относительно I тактового сигнала.
[0118] На ФИГ. 15 представлены два внутренних генератора, сгенерированные вариантом реализации демодулятора 13000. На ФИГ. 15 форма 15001 волны показывает сигнал, выводимый от усилителя 3001 мощности, форма 15003 волны показывает вывод локального тактового генератора 13001, форма 15005 волны показывает I тактовый сигнал и форма 15007 волны показывает Q тактовый сигнал. I тактовый сигнал и Q тактовые сигналы могут быть использованы для демодуляции и воспроизведения воссоздания сигнала, выдаваемого от усилителя 13000 мощности, как описано далее.
[0119] Демодулятор функционирует путем обеспечения (посредством I и Q тактовых сигналов) контроля над тем, является ли усилитель мощности 3001, усиливающий РЧ сигнал, инвертирующим или нет. Эта операция эквивалентна умножению РЧ сигнала, выводимого от усилителя 3001 мощности, на прямоугольную волну, имеющую максимальное значение 1 и минимальное значение -1, как показано на ФИГ. 16.
[0120] Эта операция образует два выходных сигнала, один для I тактового сигнала и другой для Q тактового сигнала. Для синусоидального сигнал, совпадающего по фазе с I тактовым сигналом, смешивание с I тактовым сигналом образует сигнал с положительным средним значением. С другой стороны, смешивание с Q тактовым сигналом образует сигнал со средним значением, равным нулю. На ФИГ. 17 показана I и Q демодуляция синусоидального сигнала. На ФИГ. 17 сигнал 17001 является выводом синусоидального сигнала, смешанного с I тактовым сигналом, а 17003 является выводом синусоидального сигнала, смешанного с Q тактовым сигналом.
[0121] Средние значения смешанных сигналов просто являются значениями их основной полосы частот и могут быть извлечены посредством фильтрации нижних частот. В случае узкополосного сигнала, такого как синусоида, вывод I и Q представляют собой действительную и мнимую части аналитического сигнала, чья фаза
является разностью фаз между входным РЧ сигналом и локальным генератором, а его величина
пропорциональна амплитуде РЧ сигнала.
[0122] IQ демодулятор использует фазосдвигающую схему подавления гармоник, которая обеспечивает возможность измерения величины и фазы компонента основной частоты при наличии гармоник более высокого порядка. В фазосдвигающей схеме подавления гармоник гетеродинный локальный тактовый генератор 13001 является дискретно сдвинутым по фазе относительно РЧ сигнала, выводимого из усилителя 3001 мощности, для обеспечения набора фазозависимых IQ образцов локального генератора. Образцы воссоздают в основную и гармоническую мощность при помощи линейной инверсии. Это более подробно описано далее.
[0123] Как описано ранее, усилитель 3001 мощности выполнен с возможностью работы в широком диапазоне частот, охватывающем по меньшей мере две (2) октавы. Например, как описано ранее, усилитель 3001 мощности выполнен с возможностью работы в широком диапазоне частот от приблизительно 1,0 МГц до приблизительно 12,0 МГц. Для обеспечения возможности широкополосного функционирования усилителя 3001 мощности фильтр нижних частот может иметь частоту отсечки, которая больше или равна приблизительно 16 МГц. Соответственно, гармоники более высокого порядка более низких рабочих частот (например, рабочие частоты от приблизительно 1,0 МГц до приблизительно 6 МГц) будут находиться в полосе пропускания фильтра нижних частот и, следовательно, не могут быть отфильтрованы без воздействия на ширину диапазона частот усилителя 3001 мощности. В качестве примера этого, на ФИГ. 18A представлена осциллограмма вывода из усилителя 3001 мощности в нагрузку 10 - 100 Ом (например, 25 Ом, 50 Ом, 75 Ом), работающую на рабочей частоте приблизительно 1,0 МГц, а на ФИГ. 18B представлена осциллограмма вывода из усилителя 3001 мощности в нагрузку 50 Ом на рабочей частоте приблизительно 12,0 МГц. Процессы 18001a и 18001b представляют выходную форму волны на двух рабочих частотах, соответственно. При 12,0 МГц все гармоники более высокого порядка находятся над частотой отсечки (например, 16 МГц) фильтра нижних частот, и поэтому выходная форма волны представляет собой явную синусоиду. Однако, при 1,0 МГц некоторые из гармоник находятся в полосе пропускания, и поэтому форма волны не является синусоидальной. Наличие гармоник более высокого порядка может влиять на точность измерения амплитуды и фазы выходного РЧ сигнала, как описано более подробно далее.
[0124] Из-за наличия гармоник, вывод из усилителя 3001 мощности не может считаться узкополосным. Вместо этого, вывод из усилителя 3001 мощности состоит из суммы нескольких узкополосных сигналов с частотами, отцентрированными на гармониках n×Ω0, где n является целым числом, а Ω0 является основной частотой.
[0125] Соответственно, РЧ сигнал на выводе усилителя 3001 мощности может быть описан как разложение Фурье, как представлено уравнением (1) далее:
где An и Bn представляют совпадающий по фазе и совпадающий по модулю компоненты каждой из гармоник сигнала.
[0126] Как будет более подробно описано далее, схема управления электропитанием, выполненная с возможностью измерения амплитуды и фазы РЧ сигнала, выводимого из усилителя мощности, содержит IQ демодулятор. Не полагаясь на какую-либо конкретную теорию, действие IQ демодулятора можно рассматривать как умножение РЧ вывода из усилителя 3001 мощности на прямоугольную волну с последующим фильтрованием нижних частот. Прямоугольная волна содержит компонент сигнала на основной частоте и компоненты сигнала на гармониках основной частоты, и может быть описана как разложение Фурье, описываемое следующим уравнением (2):
[0127] Когда РЧ вывод из усилителя 3001 мощности и сигнал прямоугольной волны содержат гармонический компонент, умножение будет смешивать гармонический компонент до основной полосы частот, т.е. разностная частота будет равна 0 Гц. На ФИГ. 19 представлена величина быстрого преобразования Фурье (FFT) РЧ сигнала на низкочастотном конце полосы пропускания (нормализованной до основной частоты 1 МГц) и величина быстрого преобразования Фурье (FFT) прямоугольной волны. На ФИГ. 19 форма 19001 волны показывает быстрое преобразование Фурье РЧ сигнала, а форма 19003 волны показывает волны быстрое преобразование Фурье прямоугольной волны. В связи с ФИГ. 19 следует отметить присутствие основной, пятой и седьмой гармоник РЧ сигнала. Прямоугольная волна имеет значительные компоненты на всех гармониках нечетного порядка. Гармоники, на которых прямоугольная волна и РЧ сигнал имеют ненулевую величину быстрого преобразования Фурье, будут вносить вклад в измеренный сигнал основной полосы частот.
[0128] Можно считать, что IQ демодулятор схемы обеспечения электропитания содержит I и Q локальные генераторы. Вывод из I и Q локальных генераторов может считаться как прямоугольные волны. Соответственно, вывод из I и Q локальных генераторов может быть разложен в ряд Фурье, как показано в уравнениях (3a) и (3b).
где уравнение для q(t) получено путем смещения i(t) на четверть цикла, т.е. путем замены t на
в уравнении (3a).
[0129] После смешивания и фильтрования нижних частот, гармоники в I и Q локальных генераторах и РЧ сигнале будут вносить вклад в I и Q сигналы основной полосы частот, как представлено в уравнениях (4a) - (4d).
[0130] Соответственно, сигналы основной полосы частот зависят не только от амплитуды Фурье на основной частоте, но также и от всех ненулевых гармоник нечетного порядка в РЧ сигнале.
[0131] Поэтому при наличии гармоник, измеренные значения I и Q могут не возвращать правильное значение фазы или амплитуды. Кроме того, из-за гармоник, измеренная амплитуда сигнала может зависеть от фазы между I и Q локальными генераторами и РЧ сигналом. Это может привносить систематическую ошибку, которая может меняться при изменении задержек формирования луча. Задержки формирования луча могут содержать фазовые задержки, привносимые между разными каналами для получения желаемого фокусирующего эффекта от многоэлементного преобразователя. Например, ошибка, ассоциируемая с этим эффектом, может достигать 6% в амплитуде для напряжения и тока, и +/-3 градусов для фазы. Это может приводить к существенной неточности в измеренном напряжении и/или фазе.
[0132] Например, один способ уменьшения неточностей в измеренном напряжении и/или фазе выходного РЧ сигнала из усилителя 3001 мощности включает коррекцию амплитуд и фаз части РЧ сигнала, выводимого из усилителя 3001 мощности, принимаемой схемой 3007 обеспечения электропитания, для удаления эффекта гармоник. Амплитуды и фазы части РЧ сигнала, выводимого из усилителя 3001 мощности, принимаемой схемой 3007 обеспечения электропитания, корректируют путем получения I и Q данных на нескольких сдвигах фазы I и Q тактовых сигналов относительно части РЧ сигнала, выводимого из усилителя 3001 мощности, принимаемой схемой 3007 обеспечения электропитания. Совокупности I и Q данных, измеренных на N разных сдвигах фазы, достаточно для вычленения вкладов первых N гармоник, но некоторые измерения могут быть полезны для получения лучших оценок гармоник при наличии шума. Во многих вариантах реализации эффект гармоник может быть снижен до уровня ниже порога шума системы при измерении шести (6) разных сдвигов фаз.
[0133] Соответственно, один способ снижения эффекта гармоники включает измерение I и Q данных для фаз внутренних I и Q тактовых сигналов под углами 0°, 15°, 30°, 45°, 60° и 75° относительно части РЧ сигнала выводимого из усилителя 3001 мощности, принимаемой схемой 3007 обеспечения электропитания. В некоторых вариантах реализации входной локальный тактовый генератор (LO), содержащийся в схеме 3007 обеспечения электропитания, может иметь частоту, приблизительно в четыре (4) раза превышающую частоту внутренних генераторов. Соответственно, фазы для входного локального тактового генератора могут в четыре раза превышать фазы I и Q тактовых сигналов. Например, фазы для входного локального тактового генератора могут находиться под углами 0°, 60°, 120°, 180°, 240° и 300° относительно части РЧ сигнала, выводимого из усилителя 3001 мощности, принимаемой на схеме 3007 обеспечения электропитания, при значениях фаз I и Q тактовых сигналов 0°, 15°, 30°, 45°, 60° и 75° относительно части РЧ сигнала, выводимого из усилителя 3001 мощности, принимаемой на схеме 3007 обеспечения электропитания.
[0134] На ФИГ. 20 представлены шесть (6) совокупностей с фазовым сдвигом I и Q тактовых сигналов, которые используют для демодуляции несинусоидального приводного сигнала в соответствии с описанными ранее способами. После смешивания, демодулятор выводит двенадцать (12) сигналов, которые могут быть использованы для воссоздания РЧ сигнала, выводимого из усилителя 3001 мощности, как показано на ФИГ. 21.
[0135] Зависимость между измеренными значениями I и Q на этих разных фазах и правильными амплитудами Фурье сигнала на каждой гармонике является линейной, и поэтому амплитуды Фурье РЧ входного сигнала могут быть получены из измеренных образцов I и Q на шести фазах посредством матричного умножения.
[0136] Так как I и Q являются квадратурными составляющими, если образцы I взяты на совокупности 6 фаз, равномерно распределенных в диапазоне от 0° до 75° с шагом 15° (например, 0°, 15°, 30°, 45°, 60°, 75°), то образцы Q будут смещены по фазе от образцов I на 90°. Например, образцы Q будут находиться под углом 90°, 105°, 120°, 135°, 150°, 165°.
[0137] Применяя симметрию инверсии сигнала, сигнал, выводимый из усилителя 3001 мощности может быть описан следующим уравнением (5).
где,
представялет период. Полный период сигнала может быть выражен в точки зрения сдвинутых по фазе сигналов I и Q как:
где In представляет образец I с фазовым сдвигом n°, а Qn представляет образец Q с фазовым сдвигом n°. Следует отметить, что вследствие симметрии инверсии Q180 эквивалентно Q0.
[0138] Соответственно, шесть (6) фаз в диапазоне от 0° до 180° являются подходящими для воссоздания РЧ сигнала, выводимого из усилителя 3001 мощности.
[0139] В соответствии с симметрией инверсии только нечетные компоненты Фурье будут ненулевыми. Таким образом, первая, третья, пятая, седьмая, девятая и одиннадцатая гармоники будут ненулевыми. Таким образом, для воссоздания РЧ сигнала, выводимого из усилителя 3001 мощности, вычисляют коэффициенты дискретного преобразования Фурье (ДПФ) для ненулевых нечетных гармоник. Согласно одному способу воссоздания РЧ сигнала, выводимого из усилителя 3001 мощности, определяют матрицу
, которая отображает двенадцать (12) измеренных образцов I и Q в зависимости от действительной и мнимой частей ДПФ РЧ сигнала, выводимого из усилителя 3001 мощности, при помощи следующего уравнения (6).
[0140] В уравнении (6), где An представляет сложный коэффициент Фурье n гармоники.
[0141] Элементы матрицы
могут быть получены путем применения уравнений (3a) и (3b) для каждого значений фазы. Таким образом, элементы матрицы
могут быть получены из следующих уравнений (7a) и (7b):
где индекс k имеет значения 1, 3, 5, 7, 9 и 11, и при этом m представляет индекс фазы со значениями 0, 1, 2, 3, 4, 5, 6, 7, 8, 9, 10 и 11. Таким образом, полное матричное уравнение (6) может быть переписано, как указано в следующем уравнении (8):
[0142] Во многих вариантах реализации матрица
может быть предварительно вычислена и жестко кодирована в контроллер модуля платы (BMC) 3019, так как она зависит только от выбранных фаз и порядков гармоники.
[0143] После получения компонентов An Фурье, их могут использовать для воссоздания формы волны в соответствии со следующим уравнением (9):
[0144] На ФИГ. 22A - 22C представлены примеры воссоздания РЧ сигнала на трех разных частотах, выводимых из усилителя 3001 мощности схемой обеспечения электропитания, путем уменьшения вклада от гармоник более высокого порядка, описанных в настоящем документе. На ФИГ. 22A представлено воссоздание РЧ сигнала с частотой 1,0 МГц. На ФИГ. 22B представлено воссоздание РЧ сигнала с частотой 2,0 МГц. На ФИГ. 22C представлено воссоздание РЧ сигнала с частотой 3,0 МГц. Со ссылкой на ФИГ. 22A форма 22001a волны представляет собой форму волны, воссозданную с использованием уравнения (9), а форма 22003a волны представляет собой вывод из дифференциального зонда осциллографа, который осуществлял измерение сигнала, вводимого в демодулятор. Со ссылкой на ФИГ. 22B форма 22001b волны представляет собой форму волны, воссозданную с использованием уравнения (9), а форма 22003b волны представляет собой вывод из дифференциального зонда осциллографа, который осуществлял измерение сигнала, вводимого в демодулятор. Со ссылкой на ФИГ. 22C форма 22001c волны представляет собой форму волны, воссозданную с использованием уравнения (9), а форма 22003c волны представляет собой вывод из дифференциального зонда осциллографа, который осуществлял измерение сигнала, вводимого в демодулятор. В связи с ФИГ. 22A - 22C следует отметить, что воссозданные формы волны точно соответствуют измеренным формам волны.
[0145] Описанные ранее варианты реализации способов сдвига нескольких фаз, используемых схемой обеспечения электропитания для воссоздания РЧ сигнала, выводимого из усилителя 3001 мощности, могут снижать требование к частоте работы требования к локальному тактовому генератору. В традиционный способах рабочая частота локального тактового генератора, использующего традиционный способ, заключается в функционировании на частоте, соответствующей второй, третьей, четвертой, пятой, шестой или более высоким гармоническим частотам. В таких традиционных способах затем устанавливают частоту генератора для демодулятора на значение, приблизительно в четыре (4) раза превышающее гармоническую частоту, на которой работает локальный тактовый генератор. Эта установка может повышать сложность схем, шум и/или стоимость. Способ сдвига нескольких фаз, описанный в настоящем документе, может быть применен к гармоническим частотам более высокого порядка без увеличения рабочей частоты локального тактового генератора и/или внесения любых других изменений в электронное устройство.
Коррекция ошибок в измерениях, полученных системой измерения мощности
[0146] В различных вариантах реализации РЧ мощность, доставляемая на ультразвуковой преобразователь 200, может отличаться от РЧ мощности, выводимой из усилителя 3001 мощности, в соответствии с измерением системой 3007 измерения мощности. Разность между РЧ мощностью, доставляемой на ультразвуковой преобразователь 200, и РЧ выходной мощностью, измеренной системой 3007 измерения мощности, может быть обусловлена одним или большим количеством из следующего (i) ошибки вследствие эффектов паразитной реактивности на схемной плате модуля РЧТ; (ii) ошибки вследствие эффектов паразитной реактивности в резисторах измерения тока и напряжения, используемых в системе 3007 измерения мощности; (iii) отклонения от номинального усиления в IQ демодуляторе системы 3007 измерения мощности и/или усилителя 3001 мощности; (iv) вносимая потеря в преобразователях, используемых в системе 3007 измерения мощности; (v) нежелательные эффекты сопротивления-трансформации в проводах, соединяющих модуль РЧТ и ультразвуковой преобразователь; и/или (vi) ошибки фазы между измерениями напряжения и тока в IQ демодуляторе. На ФИГ. 23A представлены разные источники ошибок, которые могут вызывать разность между РЧ мощностью, доставляемой на ультразвуковой преобразователь 200, и РЧ выходной мощностью, измеренной системой 3007 измерения мощности. На ФИГ. 23A отклонения от номинальной мощности в IQ демодуляторе и усилителе показаны в блоке 23001, ошибки, вызванные эффектами паразитной реактивности, в резисторе измерения тока, компонентах измерения напряжения и ПП показаны в блоках 23003 и 23005, а ошибки, вызванные нежелательными проводными эффектами, показаны в блоке 23007. Разные источники ошибок могут быть смоделированы эквивалентным четырехполюсником 23009, расположенным между усилителем 3001 мощности и ультразвуковым преобразователем 200, как показано на ФИГ. 23B.
[0147] Для уменьшения разности между РЧ мощностью, доставляемой на ультразвуковой преобразователь 200, и РЧ выходной мощностью, измеряемой системой 3007 измерения мощности, система 3007 измерения мощности может содержать самокалибрующийся компенсирующий модуль 24001 четырехполюсника, как показано на ФИГ. 24, который захватывает разные источники ошибки, описанные ранее, которые приводят к разности между РЧ мощностью, доставляемой на ультразвуковой преобразователь 200, и РЧ выходной мощностью, измеренной системой 3007 измерения мощности.
[0148] Для коррекции различных ошибок параметры четырехполюсника компенсирующего модуля 24001 четырехполюсника получают с использованием следующего подхода. РЧ сигнал подают на совокупность N сопротивлений ZL,N с известной нагрузкой в диапазоне сопротивления с величиной |Z| от 20 Ω до 200 Ω и фазой ∠Z от -60° до 60°. N сопротивлений с известной нагрузкой присоединены к порту 2 четырехполюсника, а система 3007 измерения мощности присоединена к порту 1 четырехполюсника. Напряжение V2,N по каждой нагрузке ZL,N на порте 2 измеряют (например, при помощи осциллографа), при этом одновременно измеряя напряжение V1,N и ток I1,N посредством системы 3007 измерения мощности на порте 1. Осуществляют подбор методом наименьших квадратов для получения параметров четырехполюсника из значений напряжения V1,N и тока I1,N, измеренных системой измерения мощности на порте 1, и напряжения V2,N по каждой нагрузке ZL,N, а также соответствующий ток I2,N, полученный из соотношения V2,N и ZL,N для каждой из известных N нагрузок. Последовательность математических операций осуществляют для определения совокупности оцененных комплексных параметров четырехполюсника, который сводит к минимуму расхождение между измерениями, полученными системой 3007 измерения мощности, и измеренными значениями напряжения по известным значениям сопротивления.
[0149] При получении параметров четырехполюсника с совокупностью N известных нагрузок, охватывающей целевой диапазон рабочего сопротивления, результирующие значения параметров четырехполюсника могут быть надежными и прогнозирующими сопротивления, которые лежат за пределами совокупности N сопротивлений, используемой для получения оценок. Так как параметры четырехполюсника могут быть зависящими от частот количествами, вычисление осуществляют на каждой частоте, для которой требуется проведение коррекции. Если измерения напряжения и сопротивления часто семплированы по частоте, линейная интерполяция параметров четырехполюсника может быть использована для получения точных оценок значений на частотах между семплируемыми частотами. Например, измерение определенного количества частот между 32 и 256, охватывающих рабочий диапазон частот от 1,0 МГц до 12,0 МГц, может обеспечивать сглаженные функции, подходящие для точной линейной интерполяции. В различных вариантах реализации модуль РЧТ может содержать калибровочную интегральную схему (ИС) электрически перепрограммируемого ПЗУ, в которой хранятся параметры четырехполюсника. Сохраненные параметры четырехполюсника могут быть использованы для коррекции измерений, полученных системой 3007 измерения мощности, для уменьшения разности между РЧ мощностью, доставленной на ультразвуковой преобразователь 200, и РЧ выходной мощностью, измеренной системой 3007 измерения мощности. В различных вариантах реализации множество N откалиброванных значений сопротивления ZL могут быть больше или равны 4.
Системы и способы прогнозирования выходной мощности, доставляемой ультразвуковым преобразователем
[0150] В различных вариантах реализации может быть преимущественным прогнозирование количества акустической мощности, которое будет доставлено до включения усилителя. Прогнозирование количества акустической мощности, которое будет доставлено до включения усилителя, может быть трудновыполнимой задачей в системах, в которых усилитель мощности не выделен для использования с конкретным преобразователем. Например, во многих вариантах реализации терапевтической системы разные усилители мощности могут быть использованы взаимозаменяемо с разными преобразователями. Дополнительно, во многих вариантах реализации терапевтической системы, преобразователи могут требовать замены более часто, чем приводные подсистемы. В таких вариантах реализации усилитель мощности могут использовать для приведения в действие разных преобразователей во время их замены и/или обновления.
[0151] Соответственно, некоторые желательные требования для систем и способов прогнозирования выходной мощности могут включать следующие (i) прогнозирование доставляемого электропитания с ошибкой менее 0,3 дБ; (ii) любой преобразователь может быть соединен с любым усилителем мощности, и мощность, доставляемая преобразователем находится в пределах допустимой погрешности заданной мощности; и (iii) мощность, доставляемая преобразователем находится в пределах допустимой погрешности заданной мощности для широкого диапазона значений сопротивления преобразователя.
[0152] В различных системах и способах прогнозирования мощности отдельные калибровочные измерения могут храниться в преобразователе и усилителе мощности. На основании калибровочных измерений, хранящихся в усилителе мощности и ультразвуковом преобразователе, РЧ мощность, выводимая усилителем мощности, может быть выбрана для вывода РЧ сигнала с требуемой выходной мощностью, которая будет доставлять требуемую акустическую энергию при подаче на ультразвуковой преобразователь. Это применение подразумевает два разных способа прогнозирования. Первый способ предполагает низкую вариабельность в выходном сопротивлении усилителя мощности. Второй способ не содержит предположений, но требует более сложных этапов калибровки.
Приведенный в качестве примера способ 1
[0153] Согласно первому способу, ультразвуковой преобразователь выполнен с возможностью доступа к первой справочной таблице (СТ), в которой хранится соответствие между акустической мощностью, выводимой ультразвуковым преобразователем, и электропитанием, доставляемым в 50 Ω нагрузку с идентичными настройками амплитуды. Первая СТ может быть сгенерирована во время заводской калибровки ультразвукового преобразователя посредством эталонного усилителя мощности. Первая СТ может храниться в ультразвуковом преобразователе.
[0154] Усилитель мощности в приводной подсистеме 3000 модуля РЧТ выполнен с возможностью доступа ко второй СТ, которая хранит соответствие между амплитудой РЧ сигнала, выводимого из усилителя мощности, и мощностью в 50 Ω нагрузку, полученное во время заводской калибровки усилителя мощности. Вторая СТ может храниться в усилителе мощности, приводной подсистеме 3000 или модуле РЧТ.
Приведенный в качестве примера способ 2
[0155] Согласно второму способу, первую справочную таблицу (СТ), содержащую соответствие между сопротивлением и КПД электроакустический преобразования, генерируют во время заводской калибровки ультразвукового преобразователя. Первая СТ может храниться в ультразвуковом преобразователе.
[0156] Генерируют вторую СТ, содержащую выходное сопротивление усилителя мощности и напряжение источника эквивалентной схемы Тевенина в качестве зависимости от настройки амплитуды. Вторая СТ может храниться в усилителе мощности, приводной подсистеме 3000 или модуле РЧТ.
[0157] Электронная вычислительная система может быть выполнена с возможностью вычисления электропитания в сопротивление нагрузки преобразователя, которое требуется для генерации требуемой акустической мощности. Электронная вычислительная система может быть также выполнена с возможностью вычисления настройки амплитуды для усилителя мощности, которая будет выводить электропитание, генерирующее требуемую акустическую мощность.
Система калибровки и обеспечения питания
[0158] Преобразователи, используемые для высокоинтенсивного сфокусированного ультразвука (HIFU), часто проявляют допуск в своей резонансной частоте. Например, допуск по резонансной частоте среди большого количества изготовленных преобразователей может составлять +/7%. Резонансная частота преобразователя может также меняться по мере износа преобразователя и в зависимости от температуры. Для обеспечения приведения в действие преобразователя на его резонансной частоте, частоту приводного сигнала могут проводить по диапазону частот, который содержит резонансную частоту, одновременно осуществляя измерение отраженной мощности или сопротивления преобразователя. Близость к центральной частоте может быть определена путем нахождения частоты, которая уменьшает/сводит к минимуму отклонение фазы сопротивления от нуля, уменьшает/сводит к минимуму или увеличивает/максимально увеличивает амплитуду сопротивления, уменьшает/сводит к минимуму коэффициент стоячей волны по напряжению, уменьшает/сводит к минимуму отраженную мощность или сводит к минимуму коэффициент отражения. В различных вариантах реализации диапазон перестройки частоты может быть установлен на +/-100 кГц приблизительно на номинальной резонансной частоте, при этом осуществляя наблюдение коэффициента стоячей волны по напряжению на каждой частоте и выбирая частоту, на которой коэффициент стоячей волны по напряжению имеет наименьшее или минимальное значение.
[0159] Так как сопротивление преобразователя, наблюдаемое на фиксированной частоте, может меняться при изменении резонансной частоты вследствие, например, износа и/или температуры, возможность динамического регулирования мощности для компенсации этих изменений является желательной. В некоторых вариантах реализации измерения обеспечения электропитания могут быть использованы для измерения электрической мощности, доставляемой на преобразователь, сравнения электрической мощности с требуемой электрической мощностью и регулирования амплитуды привода или приводной частоты, чтобы уменьшать ошибку между измеренной и требуемой мощностью.
[0160] В некоторых вариантах реализации система обеспечения питания может быть использована для измерения сопротивления нагрузки. Известные знания о сопротивлении других системных компонентов, расположенных между системой обеспечения питания и преобразователем, могут быть использованы для преобразования измерений обеспечения питания посредством четырехполюсника, представляющего собой систему для определения сопротивления со стороны преобразователя. В некоторых вариантах реализации сопротивление преобразователя, полученное таким образом, могут использовать для определения электропитания, необходимого для достижения требуемой акустической мощности от преобразователя. В некоторых вариантах реализации измерение сопротивления преобразователя, полученное по время осуществления терапии, может быть использовано для регулирования приводной амплитуды, чтобы достигать доставки требуемого электропитания на преобразователь и, следовательно, требуемой акустической мощности, выводимой из преобразователя.
[0161] Терапевтическая эффективность высокоинтенсивного сфокусированного ультразвука (HIFU) может зависеть от наличия акустически прозрачного контакта между преобразователем и обрабатываемой тканью. Обычно, этот контакт может быть достигнут путем использования геля, расположенного между преобразователем и кожей. Однако ненадлежащее размещение преобразователя в геле или пузыри в геле могут приводить к плохому контакту. Таким образом, является желательным измерение качества контакта до начала осуществления терапии и наблюдение качества контакта на протяжении обработки. Характеристика ткани, с которой образован хороший контакт, заключается в том, что поверхность взаимодействия между тканью и контактной средой создает малую способность отражения ультразвуковой энергии. Например, ультразвуковой преобразователь с хорошим контактом отражает менее 5% мощности падающего излучения на ткань, поверхность взаимодействия с гелем.
[0162] В некоторых вариантах реализации наблюдение качества контакта осуществляют во время осуществления терапии путем наблюдения уровня отраженной ультразвуковой энергии. Для обеспечения осевого разрешения расположения нарушения в контакте используют ультразвук для наблюдения отражаемой энергии, которая может иметь импульсный, а не постоянный характер. Использование импульсной формы волны позволяет измерять расстояние от преобразователя до отражающей поверхности. В некоторых вариантах реализации терапевтический преобразователь могут использовать в эхоимпульсном режиме в качестве датчика для обнаружения отражения контакта. В других вариантах реализации терапевтический преобразователь могут использовать для возбуждения контактного материала, а дополнительный преобразователь могут использовать для измерения отраженного сигнала. В некоторых вариантах реализации отражение от эталонной поверхности в канале доставки питания могут использовать как эталон амплитуды, и отражение от контактной поверхности сравнивают с ним для обнаружения того, является ли контакт приемлемым. В некоторых вариантах реализации система может прекращать осуществление терапии до тех пор, пока отраженная мощность не будет ниже допустимого порога.
[0163] В некоторых вариантах реализации откалиброванная система обеспечения питания может быть использована для измерения сопротивления преобразователя. Измеренное сопротивление подходит для модели сопротивления преобразователя. В некоторых вариантах реализации модель сопротивления преобразователя может представлять собой модель схемы, такую как, например, модель Баттерворта-Ван Дайка. В некоторых вариантах реализации модель сопротивления преобразователя может быть моделью линии передачи, такой как модель Кримхолца, Лиидома и Маттеи (КЛМ). В некоторых вариантах реализации модель сопротивления преобразователя может содержать фиксированную емкость, коэффициент связи и сопротивление излучения в качестве параметров. В некоторых вариантах реализации изменения в параметрах модели могут указывать на изменения в характеристиках преобразователей вследствие износа. Соответственно, изменения в параметрах модели могут быть использованы для отслеживания износа или температуры преобразователя с течением времени. В некоторых вариантах реализации параметры модели могут быть использованы в качестве критерия пригодности. В некоторых вариантах реализации изменения в параметрах модели могут использовать для оценки требуемой приводной мощности для получения требуемой акустической мощности.
Дополнительный обзор системы
[0164] В некоторых вариантах реализации консоль 300 содержит систему связи (например, Wi-Fi, Bluetooth, модем и т.д. для связи с другим участником, производителем, поставщиком, поставщиком услуг, Интернетом и/или облаком. В некоторых вариантах реализации тележка 301 имеет источник питания, например, силовое соединение с батареей и/или один или больше количество кабелей для подключения питания, связи (например, Ethernet) к системе 20. В некоторых вариантах реализации система 20 содержит тележку 301. В некоторых вариантах реализации система 20 не содержит тележки 301. Ручной щуп 100 может быть соединен с контроллером 300 посредством интерфейса 130, который может представлять собой проводной или беспроводной интерфейс. Интерфейс 130 может быть соединен с ручным щупом 100 с помощью соединителя 145. Дальний конец интерфейса 130 может быть соединен с соединителем контроллера на схеме 345 (не показана). В одном варианте реализации интерфейс 130 может передавать регулируемую мощность от контроллера 300 на ручной щуп 100. В варианте реализации система 20 имеет множество каналов визуализации (например, 8 каналов) для сверхчеткой HD (высокое разрешение) визуализации подкожных структур с целью улучшения визуализации. В одном варианте реализации система 20 содержит множество каналов терапии (например, 8 каналов) и прецизионный двигатель с линейным приводом, который удваивает точность обработки при увеличении скорости (например, на 25%, 40%, 50%, 60%, 75%, 100% или более). В совокупности эти функции обеспечивают одну из наиболее универсальных системных платформ в данной области техники и основу для беспрецедентных возможностей в будущем.
[0165] Контроллер 300 может быть подключен к одному или большему количеству интерактивных графических дисплеев 310, которые могут включать сенсорный монитор и графический пользовательский интерфейс (GUI), который позволяет пользователю взаимодействовать с ультразвуковой системой 20. В одном варианте реализации применяют второй, меньший и более мобильный дисплей, который позволяет пользователю удобно выполнять позиционирование и просматривать экран обработки. В одном варианте реализации применяют второй дисплей, который позволяет пользователю системы просматривать экран обработки (например, на стене, на мобильном устройстве, большом экране, удаленном экране). В одном варианте реализации графический дисплей 310 включает сенсорный интерфейс 315 (не показан). В различных вариантах реализации дисплей 310 позволяет устанавливать и отображает эксплуатационный режим, включая состояние активации оборудования, параметры обработки, системные сообщения и подсказки, а также ультразвуковые изображения. В различных вариантах реализации контроллер 300 может быть адаптирован и/или выполнен с возможностью включения, например, микропроцессора с программным обеспечением и устройств ввода/вывода, систем и устройств для управления электронным и/или механическим сканированием и/или мультиплексированием преобразователей и/или мультиплексированием модулей преобразователя, системы для подачи энергии, систем для контроля, систем для определения пространственного положения зонда и/или преобразователей и/или мультиплексирования модулей преобразователя, и/или систем для обработки данных пользовательского ввода и записи результатов обработки, среди прочих.
[0166] В одном варианте реализации ручной щуп 100 содержит один или большее количество активируемых пальцем контроллеров или выключателей, например, 150 и 160. В различных вариантах реализации один или большее количество контроллеров 160 термической обработки (например, выключатель, кнопка) активируют и/или прекращают обработку. В различных вариантах реализации один или большее количество контроллеров 150 визуализации (например, выключатель, кнопка) активируют и/или прекращают визуализацию. В одном варианте реализации ручной щуп 100 может содержать съемный модуль 200. В других вариантах реализации модуль 200 может быть несъемным. В различных вариантах реализации модуль 200 может быть механически соединен с ручным щупом 100 с помощью защелки или соединителя 140. В различных вариантах реализации для обеспечения соединения модуля 200 с ручным щупом 100 может быть использована соединительная направляющая 235 или множество соединительных направляющих 235. Модуль 200 может содержать один или большее количество ультразвуковых преобразователей 280. В некоторых вариантах реализации ультразвуковой преобразователь 280 содержит один или большее количество ультразвуковых элементов. Модуль 200 может содержать один или большее количество ультразвуковых элементов. Ручной щуп 100 может содержать модули только для визуализации, модули только для обработки, модули для визуализации и обработки и т.п. В различных вариантах реализации ультразвуковой преобразователь 280 может быть выполнен с возможностью перемещения в одном или большем количестве направлений 290 внутри модуля 200. Преобразователь 280 соединен с механизмом 400 движения. В различных вариантах реализации механизм движения содержит ноль, один или большее количество подшипников, валов, стержней, винтов, ходовых винтов 401, датчиков 402 положения (например, оптический датчик для измерения положения преобразователя 280), двигателей 403 (например, шаговый двигатель) для обеспечения точного и повторяемого перемещения преобразователя 280 внутри модуля 200. В различных вариантах реализации модуль 200 может содержать преобразователь 280, который может излучать энергию посредством акустически прозрачного элемента 230. В одном варианте реализации модуль 300 управления может быть соединен с ручным щупом 100 посредством интерфейса 130, а графический пользовательский интерфейс 310 может быть адаптирован и/или выполнен с возможностью управления модулем 200. В одном варианте реализации модуль 300 управления может обеспечивать питание ручного щупа 100. В одном варианте реализации ручной щуп 100 может содержать источник питания. В одном варианте реализации выключатель 150 может быть адаптирован и/или выполнен с возможностью управления функцией визуализации ткани, а выключатель 160 может быть адаптирован и/или выполнен с возможностью управления функцией обработки ткани. В различных вариантах реализации подачу излучаемой энергии 50 с подходящей глубиной фокусировки, распределением, синхронизацией и уровнем энергии обеспечивают с помощью модуля 200 за счет функционирования (управляемого с помощью системы 300 управления) преобразователя 280 для достижения требуемого терапевтического эффекта в зоне 550 термической коагуляции.
[0167] В одном варианте реализации модуль 200 может быть соединен с ручным щупом 100. Модуль 200 выполнен с возможностью излучения и приема энергии, например, ультразвуковой энергии. Модуль 200 может быть электронным способом соединен с ручным щупом 100, и такое соединение может включать интерфейс, сообщающийся с контроллером 300. В одном варианте реализации соединительная направляющая 235 может быть адаптирована и/или выполнена с возможностью обеспечения электронной связи между модулем 200 и ручным щупом 100. Модуль 200 может содержать различные конфигурации зонда и/или преобразователя. Например, модуль 200 может быть адаптирован и/или выполнен с возможностью присоединения комбинированного двухрежимного преобразователя для визуализации/терапии, соединенных или совместно установленных преобразователей для визуализации/терапии, отдельных зондов для терапии и визуализации и т.п. В одном варианте реализации, если модуль 200 вставлен в ручной щуп 100 или присоединен к нему, контроллер 300 автоматически обнаруживает его и обновляет изображение на интерактивном графическом дисплее 310.
[0168] В некоторых вариантах реализации ключ 320 доступа (например, защитный USB-накопитель, ключ) съемно соединен с системой 20 для обеспечения возможности функционирования системы 20. В различных вариантах реализации ключ доступа запрограммирован для конкретного клиента и выполняет множество функций, включая обеспечение безопасности системы, доступ к руководствам по выполнению обработки и функциональным возможностям для конкретных стран и регионов, обновление программного обеспечения, передачу служебных журналов и/или передачу разрешения на передачу очередного пакета данных и/или хранение данных. В различных вариантах реализации система 20 имеет подключение к Интернету и/или данным. В одном варианте реализации подключение обеспечивает способ передачи данных между поставщиком данных системы 20 и клиентом. В различных вариантах реализации данные включают разрешения на передачу очередного пакета данных, обновления программного обеспечения и служебные журналы. Возможности подключения разделены в соответствии с различными реализациями моделей, основанными на том, как консоль пользователя подключена к Интернету. В одном варианте реализации соединение в соответствии с моделью «Отключенная» включает консоль, которая отключена от Интернета, и клиент не имеет доступа в Интернет. Передачу разрешения на передачу очередного пакета данных и обновления программного обеспечения осуществляют, переслав клиенту ключ(и) доступа (например, USB-накопители). В одном варианте реализации соединение в соответствии с моделью «Полуподключенная» включает консоль, которая отключена от Интернета, но клиент имеет доступ в Интернет. Передачу разрешения на передачу очередного пакета данных, обновления программного обеспечения и передачу служебного журнала осуществляют с использованием персонального компьютера, смартфона или другого вычислительного устройства клиента в сочетании с ключом доступа к системе для передачи данных. В одном варианте реализации соединение в соответствии с моделью «Полностью подключенная» предполагает беспроводное подключение консоли к Интернету с использованием Wi-Fi, модема сотовой связи, Bluetooth или другого протокола. Передачу разрешения на передачу очередного пакета данных, обновления программного обеспечения и передачу служебного журнала осуществляют непосредственно между консолью и облаком. В различных вариантах реализации система 20 соединяется с сетевым порталом для оптимизированного управления запасами, покупки лечения по запросу и обзора бизнес-аналитики для продвижения бизнеса по эстетической терапии клиентов на следующий уровень.
[0169] На ФИГ. 2 представлена схематическая иллюстрация ультразвуковой системы 20, взаимодействующей с представляющей интерес областью 10. В различных вариантах реализации ткань под кожей или даже на поверхности кожи, например, эпидермис, дерму, гиподерму, фасцию и поверхностную мышечно-апоневротическую систему («SMAS») и/или мышцы неинвазивно обрабатывают с применением ультразвуковой энергии. Ткань также может включать кровеносные сосуды и/или нервы. Ультразвуковая энергия может быть сфокусированной, не сфокусированной или дефокусированной и может быть применена к представляющей интерес области, содержащей по меньшей мере одно из эпидермиса, дермы, гиподермы, фасции и SMAS для достижения терапевтического эффекта. В различных вариантах реализации слои ткани представляющей интерес области 10 могут находиться в любой части тела пациента. В одном варианте реализации слои ткани находятся в области головы и лица пациента. Участок поперечного сечения ткани представляющей интерес области 10 включает поверхность 501 кожи, эпидермальный слой 502, дермальный слой 503, жировой слой 505, поверхностную мышечно-апоневротическую систему 507 (далее «SMAS 507») и мышечный слой 509. Кроме того, ткань может включать гиподерму 504, которая может включать любую ткань под дермальным слоем 503. Комбинация этих слоев в целом может упоминаться как подкожная ткань 510. Кроме того, на ФИГ. 2 показана зона 525 обработки, которая находится ниже поверхности 501. В одном варианте реализации поверхность 501 может представлять собой поверхность кожи пациента 500. Хотя в данном случае в качестве примера может быть использован вариант реализации, относящийся к терапии в слое ткани, данная система может быть применена для любой ткани тела. В различных вариантах реализации система и/или способы могут быть использованы на ткани (без ограничения включая одно или сочетание из мышц, фасции, SMAS, дермы, эпидермиса, жира, жировых клеток, целлюлита, который можно назвать гиноидной липодистрофией (например, женская гиноидная липодистрофия без ямки)), коллагене, коже, кровеносных сосудах лица, шеи, головы, рук, ног или любого другого места на теле или в теле (включая полости тела). В различных вариантах реализации достигается уменьшение целлюлита (например, женской гиноидной липодистрофии без ямки) на 2%, 5%, 10%, 15%, 20%, 25%, 30%, 40%, 50%, 75%, 80%, 90%, 95%, включая любые промежуточные диапазоны.
[0170] Со ссылкой на ФИГ. 2, вариант реализации ультразвуковой системы 20 содержит ручной щуп 100, модуль 200 и контроллер 300. В одном варианте реализации модуль 200 содержит преобразователь 280. Преобразователь 280 различных вариантов реализации ультразвуковой системы 20 может быть приспособлен для и/или выполнен с возможностью обработки ткани на определенной глубине фокусировки, которая представляет собой расстояние между преобразователем 280 и целевой тканью для обработки. В одном варианте реализации глубина фокусировки может являться фиксированной для данного преобразователя 280. В одном варианте реализации глубина фокусировки является переменной для данного преобразователя 280. В одном варианте реализации преобразователь 280 выполнен с возможностью одновременной обработки на нескольких глубинах под поверхностью кожи (например, 1,5 мм, 3,0 мм, 4,5 мм или других глубинах).
[0171] Как описано выше, модуль 200 может содержать преобразователь, который может излучать энергию посредством акустически прозрачного элемента 230. В одном варианте реализации преобразователь 280 может иметь расстояние смещения, которое представляет собой расстояние между преобразователем 280 и поверхностью акустически прозрачного элемента 230. В одном варианте реализации глубина фокусировки преобразователя 280 представляет собой фиксированное расстояние от преобразователя. В одном варианте реализации преобразователь 280 может иметь фиксированное расстояние смещения от преобразователя до акустически прозрачного элемента 230. В одном варианте реализации акустически прозрачный элемент 230 адаптирован для и/или выполнен с возможностью находиться в некотором положении на модуле 200 или ультразвуковой системе 20 для контактирования с поверхностью 501 кожи. В различных вариантах реализации глубина фокусировки превышает расстояние смещения на величину, соответствующую обработке в целевой области, расположенной на глубине ткани под поверхностью 501 кожи. В различных вариантах реализации, когда ультразвуковая система 20 физически контактирует с поверхностью 501 кожи, глубина ткани представляет собой расстояние между акустически прозрачным элементом 230 и целевой областью, измеренное как расстояние от участка ручного щупа 100 или поверхности модуля 200, которая контактирует с кожей (с применением акустического контактного геля, среды и т.д. или без них), и глубина в ткани от точки контакта с поверхностью кожи до целевой области. В одном варианте реализации глубина фокусировки может соответствовать сумме расстояния смещения (измеренного до поверхности акустически прозрачного элемента 230, контактирующего с контактной средой и/или кожей 501) в дополнение к глубине ткани под поверхностью 501 кожи до целевой области. В различных вариантах реализации акустически прозрачный элемент 230 не используют.
[0172] Контактные компоненты могут включать различные вещества, материалы и/или устройства для улучшения взаимодействия преобразователя 280 или модуля 200 с представляющей интерес областью. Например, контактные компоненты могут содержать систему обеспечения акустического контакта, адаптированную для и/или выполненную с возможностью обеспечения акустического контакта для передачи ультразвуковой энергии и сигналов. Система обеспечения акустического контакта с возможными соединениями, такими как коллекторы, может быть использована для передачи звука в представляющую интерес область и обеспечивает фокусировку с помощью заполненной жидкостью или текучей средой линзы. Контактная система может обеспечивать такую передачу за счет использования одной или большего количества контактных сред, включающих воздух, газы, воду, жидкости, текучие среды, гели, твердые частицы, негелеобразные веществе и/или любое их сочетание или любую другую среду, которая позволяет передавать сигналы между преобразователем 280 и представляющей интерес областью. В одном варианте реализации внутри преобразователя обеспечивают одну или большее количество контактных сред. В одном варианте реализации заполненный текучей средой модуль 200 содержит внутри корпуса одну или большее количество контактных сред. В одном варианте реализации заполненный текучей средой модуль 200 содержит одну или большее количество контактных сред внутри герметичного корпуса, который выполнен с возможностью отделения от сухой части ультразвукового устройства. В различных вариантах реализации контактную среду используют для передачи ультразвуковой энергии между одним или большим количеством устройств и тканями с эффективностью передачи 100%, 99% или более, 98% или более, 95% или более, 90% или более, 80% или более, 75% или более, 60% или более, 50% или более, 40% или более, 30% или более, 25% или более, 20% или более, 10% или более и/или 5% или более.
[0173] В различных вариантах реализации преобразователь 280 выполнен с возможностью визуализации и обработки представляющей интерес области при любых подходящих значениях глубины ткани. В одном варианте реализации модуль 280 преобразователя выполнен с возможностью обеспечения акустической энергии в диапазоне приблизительно 1 Вт или меньше, от приблизительно 1 Вт до приблизительно 100 Вт и более приблизительно 100 Вт, например, 200 Вт, 300 Вт, 400 Вт, 500 Вт. В одном варианте реализации модуль 280 преобразователя выполнен с возможностью обеспечения акустической энергии с частотой приблизительно 1 МГц или меньше, от приблизительно 1 МГц до приблизительно 10 МГц (например, 3 МГц, 4 МГц, 4,5 МГц, 7 МГц, 10 МГц) и более чем приблизительно 10 МГц. В одном варианте реализации модуль 200 имеет глубину фокусировки для обработки на глубине ткани приблизительно на 4,5 мм ниже поверхности 501 кожи. В одном варианте реализации модуль 200 имеет глубину фокусировки для обработки на глубине ткани приблизительно на 3 мм ниже поверхности 501 кожи. В одном варианте реализации модуль 200 имеет глубину фокусировки для обработки на глубине ткани приблизительно на 1,5 мм ниже поверхности 501 кожи. Некоторые не предполагающие ограничения варианты реализации преобразователей 280 или модулей 200 могут быть адаптированы для и/или выполнены с возможностью подачи ультразвуковой энергии на глубину ткани 1,5 мм, 3 мм, 4,5 мм, 6 мм, 7 мм, менее 3 мм, от 3 мм до 4,5 мм, от 4,5 мм до 6 мм, более 4,5 мм, более 6 мм и т.д. и в любом месте в диапазоне 0-3 мм, 0-4,5 мм, 0-6 мм, 0-25 мм, 0-100 мм и т.д., а также на любое промежуточное значение глубины. В одном варианте реализации ультразвуковая система 20 содержит два или большее количество модулей 280 преобразователя. Например, первый модуль преобразователя может осуществлять обработку на первой глубине ткани (например, приблизительно 4,5 мм), второй модуль преобразователя может осуществлять обработку на второй глубине ткани (например, приблизительно 3 мм), а третий модуль преобразователя может осуществлять обработку на третьей глубине ткани (например, приблизительно 1,5-2 мм). В одном варианте реализации по меньшей мере некоторые или все модули преобразователя могут быть адаптированы для и/или выполнены с возможностью выполнения обработки по существу на одинаковой глубине.
[0174] В различных вариантах реализации изменение количества местоположений точек фокусировки (например, при глубине ткани) для ультразвуковой процедуры может быть предпочтительным, поскольку это позволяет осуществлять обработку ткани пациента на разных глубинах ткани, даже если глубина фокусировки преобразователя 280 является фиксированной. Это может обеспечить синергетические эффекты и максимизировать клинические результаты одного сеанса обработки. Например, обработка на нескольких глубинах под одной областью поверхности позволяет обеспечить обработку большего общего объема ткани, что приводит к усиленному образованию коллагена и укреплению. Кроме того, обработка на разных глубинах воздействует на различные типы ткани, таким образом обеспечивая различные клинические эффекты, которые вместе обеспечивают улучшенный общий косметический результат. Например, поверхностная обработка может уменьшить видимость морщин, а более глубокая обработка может привести к образованию большего количества коллагена. Аналогичным образом, обработка в разных местах на одинаковой глубине или разных глубинах может улучшить обработку.
[0175] Хотя обработка разных мест на теле пациента в течение одного сеанса может быть предпочтительной в некоторых вариантах реализации, последовательная обработка с течением времени может быть целесообразной в других вариантах реализации. Например, лечение пациента могут осуществлять, выполняя обработку под одной и той же областью поверхности на одинаковой глубине в один момент времени, на второй глубине во второй момент времени и т.д. В различных вариантах реализации время может иметь порядок наносекунд, микросекунд, миллисекунд, секунд, минут, часов, дней, недель, месяцев или других периодов времени. Новый коллаген, образованный при первой обработке, может быть более чувствительным к последующим обработкам, которые могут потребоваться для некоторых показаний. Альтернативно, обработка на нескольких глубинах под одной и той же областью поверхности в течение одного сеанса может быть предпочтительной, поскольку обработка на одной глубине может синергически усиливать или дополнять обработку на другой глубине (например, из-за повышения кровотока, стимуляции факторов роста, гормональной стимуляции и т.д.). В нескольких вариантах реализации различные модули преобразователя обеспечивают обработку на разных глубинах. В одном варианте реализации один модуль преобразователя могут регулировать или им могут управлять для установки на различные значения глубины. Для системы с одним модулем могут быть использованы функции безопасности, которые сводят к минимуму риск выбора неправильной глубины.
[0176] В некоторых вариантах реализации предложен способ обработки нижней области лица и шеи (например, подподбородочной области). В некоторых вариантах реализации предложен способ обработки (например, смягчения) подбородочно-губных складок. В других вариантах реализации предложен способ обработки области глаза (например, малярных мешков, лечения дряблости подглазничной области). Устранения дряблости верхнего века, а также окологлазничных складок и текстур достигают с применением некоторых вариантов реализации путем выполнения обработки на разных глубинах. При обработке в разных местах в течение одного сеанса обработки могут быть достигнуты оптимальные клинические эффекты (например, смягчение, укрепление). В некоторых вариантах реализации описанные в настоящем документе способы обработки представляют собой неинвазивные косметические процедуры. В некоторых вариантах реализации эти способы могут быть использованы в сочетании с инвазивными процедурами, такими как хирургические подтяжки кожи лица или липосакция, когда требуется укрепление кожи. В различных вариантах реализации эти способы могут быть применены в отношении любой части тела.
[0177] В одном варианте реализации модуль 200 преобразователя позволяет выполнять последовательную обработку на фиксированной глубине на уровне поверхности кожи или ниже него. В одном варианте реализации модуль преобразователя позволяет выполнять последовательную обработку на одной, двух или большем количестве различных или фиксированных глубинах ниже дермального слоя. В некоторых вариантах реализации модуль преобразователя содержит механизм перемещения, адаптированный для и/или выполненный с возможностью осуществления непосредственной ультразвуковой обработки в виде последовательности отдельных термальных поражений (в дальнейшем в этом документе «точки термической коагуляции» или «ТТК») с фиксированной глубиной фокусировки. В одном варианте реализации последовательность отдельных ТТК имеет интервал обработки в диапазоне от приблизительно 0,01 мм до приблизительно 25 мм (например, 1 мм, 1,5 мм, 2 мм, 2,5 мм, 3 мм, 5 мм, 10 мм, 20 мм и любые диапазоны значений между ними) с изменением вобуляции с интервалом 1-50% (например, 1%, 5%, 10%, 15%, 20%, 25%, 30%, 35%, 40% , 45%, 50% и любой диапазон между указанными значениями). Например, интервал может составлять 1,1 мм или менее, 1,5 мм или более, от приблизительно 1,1 мм до приблизительно 1,5 мм и т.д. В одном варианте реализации отдельные ТТК являются дискретными. В одном варианте реализации отдельные ТТК перекрываются. В одном варианте реализации механизм перемещения адаптирован и/или выполнен с возможностью программирования для обеспечения переменного интервала между отдельными ТТК. В одном варианте реализации указанная вобуляция может быть адаптирована для и/или настроена с возможностью обеспечения переменного интервала между отдельными ТТК. В некоторых вариантах реализации модуль преобразователя содержит механизм перемещения, адаптированный и/или выполненный с возможностью направления ультразвуковой обработки в последовательности таким образом, чтобы ТТК были сформированы в линейные или по существу линейные последовательности, разделенные на расстояние обработки. Например, модуль преобразователя может быть адаптирован и/или выполнен с возможностью формирования ТТК вдоль первой линейной последовательности и второй линейной последовательности, отделенной на расстояние обработки от первой линейной последовательности. В одном варианте реализации расстояние обработки между соседними линейными последовательностями отдельных ТТК находится в диапазоне от приблизительно 0,01 мм до приблизительно 25 мм. В одном варианте реализации расстояние обработки между соседними линейными последовательностями отдельных ТТК находится в диапазоне от приблизительно 0,01 мм до приблизительно 50 мм. Например, расстояние обработки может составлять 2 мм или менее, 3 мм или более, от приблизительно 2 мм до приблизительно 3 мм и т.д. В некоторых вариантах реализации модуль преобразователя может содержать один или несколько механизмов 400 перемещения, адаптированных для и/или выполненных с возможностью управления ультразвуковой обработкой в последовательности таким образом, чтобы обеспечивать формирование ТТК в линейных или по существу линейных последовательностях отдельных термальных поражений, отделенных расстоянием обработки от других линейных последовательностей. В одном варианте реализации обработку осуществляют в первом направлении 290 (например, с продвижением вперед). В одном варианте реализации обработку осуществляют в направлении, противоположном первому направлению 290 (например, с продвижением назад). В одном варианте реализации обработку осуществляют как в первом направлении 290, так и в направлении, противоположном первому направлению (например, с продвижением вперед и назад). В одном варианте реализации применяют одинаковое или по существу одинаковое расстояние обработки, разделяющее линейные или по существу линейные последовательности ТТК. В одном варианте реализации расстояние обработки, разделяющее линейные или по существу линейные последовательности ТТК, является разным или по существу разным для различных соседних пар линейных последовательностей ТТК.
[0178] В одном варианте реализации предоставлены первый и второй съемные модули преобразователей. В одном варианте реализации каждый из первого и второго модулей преобразователей адаптирован для и/или выполнен с возможностью как ультразвуковой визуализации, так и ультразвуковой обработки. В одном варианте реализации модуль преобразователя адаптирован для и/или выполнен с возможностью только обработки. В одном варианте реализации преобразователь для визуализации может быть прикреплен к ручке зонда или ручного щупа. Первый и второй модули преобразователей адаптированы для и/или выполнены с возможностью взаимозаменяемого присоединения к ручному щупу. Первый модуль преобразователя адаптирован для и/или выполнен с возможностью осуществления ультразвуковой терапии в отношении первого слоя ткани, а второй модуль преобразователя адаптирован для и/или выполнен с возможностью осуществления ультразвуковой терапии в отношении второго слоя ткани. Второй слой ткани находится на глубине, отличной от глубины первого слоя ткани.
[0179] В различных вариантах реализации для достижения требуемого терапевтического эффекта контролируемого термического повреждения для обработки по меньшей мере одного из слоя 502 эпидермиса, слоя 503 дермы, жирового слоя 505, слоя 507 SMAS, мышечного слоя 509 и/или гиподермы 504, модуль 200 обеспечивает подачу излучаемой энергии с подходящей глубиной фокусировки, распределением, синхронизацией и уровнем энергии посредством контролируемого управления с помощью системы 300 управления. В различных вариантах реализации излучаемая энергия может быть сфокусирована на глубине, которая соответствует глубине для обработки мышцы. В различных вариантах реализации глубина может соответствовать любой ткани, слою ткани, коже, эпидермису, дерме, гиподерме, жиру, SMAS, мышце, кровеносному сосуду, нерву или другой ткани. Во время эксплуатации модуль 200 и/или преобразователь 280 также могут сканировать механическим и/или электронным способом вдоль поверхности 501 для обработки большей области. До, во время и после подачи ультразвуковой энергии 50 по меньшей мере в одно из слоя 502 эпидермиса, слоя 503 дермы, гиподермы 504, жирового слоя 505, слоя 507 SMAS и/или мышечного слоя 509 могут обеспечивать контроль области обработки и окружающих структур для планирования и оценки результатов и/или обеспечения обратной связи на контроллер 300 и пользователю посредством графического интерфейса 310.
[0180] В одном варианте реализации ультразвуковая система 20 генерирует ультразвуковую энергию, которая направлена и сфокусирована ниже поверхности 501. Эта управляемая и сфокусированная ультразвуковая энергия 50 создает точку или зону (ТТК) 550 термической коагуляции. В одном варианте реализации ультразвуковая энергия 50 создает полость в подкожной ткани 510. В различных вариантах реализации излучаемая энергия 50 воздействует на ткань, расположенную ниже поверхности 501, а именно разрезает, отсекает, коагулирует, осуществляет микроудаление, обрабатывает и/или создает ТТК 550 на участке 10 ткани ниже поверхности 501 при заданной глубине фокусировки. В одном варианте реализации во время последовательной обработки преобразователь 280 выполнен с возможностью перемещения в направлении, обозначенном стрелкой, обозначенной 290, с определенными интервалами для создания множества зон обработки, каждая из которых принимает излучаемую энергию 50 с созданием одной или большего количества ТТК 550. В одном варианте реализации ТКК могут быть расположены ортогонально направлению движения преобразователя 280. В некоторых вариантах реализации ориентация расположенных на расстоянии друг от друга ТКК может быть выбрана под любым углом 0-180 градусов относительно стрелки 290. В некоторых вариантах реализации ориентация расположенных на расстоянии друг от друга ТКК может быть выбрана под любым углом 0-180 градусов в зависимости от ориентации поляризованных областей на преобразователе 280.
[0181] В различных вариантах реализации модули преобразователей могут содержать один или большее количество элементов преобразования. Элементы преобразования могут содержать пьезоэлектрически активный материал, такой как цирконат-титанат свинца (PZT) или любой другой пьезоэлектрически активный материал, такой как пьезоэлектрическая керамика, кристалл, пластмасса и/или композиционные материалы, а также ниобат лития, титанат свинца, титанат бария и/или метаниобат свинца. В различных вариантах реализации в дополнение к пьезоэлектрически активному материалу или вместо него модули преобразователей могут содержать любые другие материалы, адаптированные для и/или выполненные с возможностью генерации излучения и/или акустической энергии. В различных вариантах реализации модули преобразователя могут быть адаптированы для и/или выполнены с возможностью работы на разных частотах и с разными глубинами обработки. Свойства преобразователя могут определяться внешним диаметром («OD») и фокусным расстоянием (FL). В одном варианте реализации преобразователь может быть адаптирован и/или выполнен с OD=19 мм и FL=15 мм. В других вариантах реализации могут быть использованы другие подходящие значения OD и FL, например, OD менее приблизительно 19 мм, более приблизительно 19 мм и т.д., а FL менее приблизительно 15 мм, более приблизительно 15 мм и т.д. Модули преобразователей могут быть адаптированы для и/или выполнены с возможностью применения ультразвуковой энергии на разных значениях глубины целевой ткани. Как описано выше, в некоторых вариантах реализации модули преобразователя содержат механизмы перемещения, адаптированные и/или выполненные с возможностью направления ультразвуковой обработки в линейной или по существу линейной последовательности отдельных ТТК с интервалом обработки между отдельными ТТК. Например, интервал обработки может составлять приблизительно 1,1 мм, 1,5 мм и т.д. В некоторых вариантах реализации модули преобразователей также могут содержать механизмы перемещения, адаптированные для и/или выполненные с возможностью направления ультразвуковой обработки в последовательности таким образом, чтобы обеспечивать формирование ТТК в линейных или по существу линейных последовательностях, разделенных интервалом обработки. Например, модуль преобразователя может быть адаптирован для и/или выполнен с возможностью формирования ТТК вдоль первой линейной последовательности и второй линейной последовательности, отделенной интервалом обработки от приблизительно 2 мм до 3 мм от первой линейной последовательности. В одном варианте реализации пользователь может вручную перемещать модули преобразователей по поверхности области обработки таким образом, чтобы образовывать смежные линейные последовательности ТТК. В одном варианте реализации механизм перемещения выполнен с возможностью автоматического перемещения модулей преобразователей по поверхности области обработки с образованием смежных линейных последовательностей ТТК.
[0182] Различные варианты реализации относятся к устройствам или способам управления подачей энергии к целевой области (такой, как ткань). В различных вариантах реализации различные формы энергии могут включать акустическую, ультразвуковую, световую, лазерную, радиочастотную (РЧ), микроволновую, электромагнитную, радиационную, тепловую, криогенную, электронно-лучевую, основанную на фотонах, магнитную, магнитно-резонансную и/или другие формы энергии. Различные варианты реализации относятся к устройствам или способам расщепления луча ультразвуковой энергии на множество лучей. В различных вариантах реализации устройства или способы могут быть использованы для изменения доставки ультразвуковой акустической энергии в любых процедурах, таких как, но без ограничений, ультразвуковая терапия, ультразвуковая диагностика, ультразвуковая сварка, любое применение, включающее передачу механических волн к объекту, и другие процедуры. Как правило, при ультразвуковой терапии эффект на ткани достигается путем концентрирования акустической энергии с использованием способов фокусировки из апертуры. В некоторых случаях высокоинтенсивный сфокусированный ультразвук (HIFU) используют таким образом в терапевтических целях. В одном варианте реализации эффект на ткани, обеспечиваемый посредством применения ультразвуковой терапии на определенной глубине, может именоваться созданием точки термической коагуляции (ТТК). В некоторых вариантах реализации зона может включать одну точку. В некоторых вариантах реализации зона представляет собой линию, плоскость, имеет сферическую, эллиптическую, кубическую или другую одно-, двух- или трехмерную форму. Именно благодаря созданию ТТК в конкретных местах обеспечивается возможность проведения термической и/или механической абляции ткани неинвазивно или дистанционно. В некоторых вариантах реализации ультразвуковая обработка не включает образования полостей и/или создания ударной волны. В некоторых вариантах реализации ультразвуковая обработка включает образование полостей и/или создание ударной волны.
[0183] В одном варианте реализации ТТК могут быть созданы в виде линейной или по существу линейной, изогнутой или по существу изогнутой зоны или последовательности, в которой каждая отдельная ТТК отделена от соседней ТТК интервалом обработки. В одном варианте реализации в области обработки может быть создано множество последовательностей ТТК. Например, ТТК могут быть сформированы вдоль первой последовательности и второй последовательности, отделенной на расстояние обработки от первой последовательности. Хотя обработку с применением ультразвуковой терапии могут осуществлять путем создания отдельных ТТК в виде последовательности и последовательностей отдельных ТТК, может быть желательным уменьшить время обработки и соответствующий риск возникновения боли и/или дискомфорта, испытываемых пациентом. Время терапии может быть уменьшено за счет одновременного, почти одновременного или последовательного формирования множества ТТК. В некоторых вариантах реализации время обработки может быть уменьшено на 10%, 20%, 25%, 30%, 35%, 40%, 45%, 50%, 55%, 60%, 65%, 70%, 75%, 80% или более путем создания множества ТТК.
[0184] Например, в некоторых не предполагающих ограничения вариантах реализации системы питания преобразователей могут быть выполнены с возможностью фокусирования на глубину ткани 0,5 мм, 1,0 мм, 1,5 мм, 2 мм, 3 мм, 4,5 мм, 6 мм, менее 3 мм, от 0,5 мм до 5 мм, от 1,5 мм до 4,5 мм, более 4,5 мм, более 6 мм и любое значение в диапазонах 0,1 мм - 3 мм, 0,1 мм - 4,5 мм, 0,1 мм - 25 мм, 0,1 мм - 100 мм и любые промежуточные значения глубины (например, 6 мм, 10 мм, 13 мм, 15 мм). В некоторых вариантах реализации ткань обрабатывают на глубине ниже поверхности кожи, при этом поверхность кожи не повреждают. Напротив, терапевтический эффект, достигаемый на глубине ниже поверхности кожи, обеспечивает косметическое улучшение внешнего вида поверхности кожи. В других вариантах реализации поверхность кожи обрабатывают с помощью ультразвука (например, на глубине менее 0,5 мм).
[0185] Одним из преимуществ механизма движения является то, что он выполнен с возможностью обеспечить более эффективное, точное и безошибочное использование ультразвукового преобразователя для целей визуализации и/или терапии. Одно из преимуществ механизма движения этого типа по сравнению с обычными фиксированными массивами из множества преобразователей, зафиксированными в пространстве в корпусе, состоит в том, что фиксированные массивы расположены на фиксированном расстоянии друг от друга. В одном варианте реализации модуль преобразователя выполнен с возможностью обеспечения акустической мощности ультразвуковой терапии в диапазоне от приблизительно 1 Вт до приблизительно 100 Вт (например, 3-30 Вт, 7-30 Вт, 21-33 Вт) и частоты от приблизительно 1 МГц до приблизительно 10 МГц для термического нагрева ткани с целью обеспечения коагуляции. В одном варианте реализации модуль преобразователя выполнен с возможностью обеспечения акустической мощности ультразвуковой терапии в диапазоне от приблизительно 1 Вт до приблизительно 500 Вт для максимальной или средней энергии (например, 3-30 Вт, 7-30 Вт, 21-33 Вт, 100 Вт, 220 Вт или более) и частоты от приблизительно 1 МГц до приблизительно 12 МГц для термического нагрева ткани с целью обеспечения коагуляции. В некоторых вариантах реализации обеспечивают мгновенную энергию. В некоторых вариантах реализации обеспечивают среднюю энергию. В одном варианте реализации акустическая мощность может находиться в пределах диапазона от 1 Вт до приблизительно 100 Вт в диапазоне частот от приблизительно 1 МГц до приблизительно 12 МГц (например, 1 МГц, 3 МГц, 4 МГц, 4,5 МГц, 7 МГц, 10 МГц, 2-12 МГц) или от приблизительно 10 Вт до приблизительно 50 Вт в диапазоне частот от приблизительно 3 МГц до приблизительно 8 МГц (например, 3 МГц, 4 МГц, 4,5 МГц, 7 МГц). В одном варианте реализации акустическая мощность может находиться в диапазоне от 1 Вт до приблизительно 500 Вт в диапазоне частот от приблизительно 1 МГц до приблизительно 12 МГц (например, 1 МГц, 4 МГц, 7 МГц, 10 МГц, 2-12 МГц) или от приблизительно 10 Вт до приблизительно 220 Вт в диапазоне частот от приблизительно 3 МГц до приблизительно 8 МГц или от 3 МГц до 10 МГц. В одном варианте реализации акустическая мощность и частоты составляют приблизительно 40 Вт при частоте приблизительно 4,3 МГц и приблизительно 30 Вт при приблизительно 7,5 МГц (например, 7,0 МГц, 7,2 МГц, 7,4 МГц, 7,6 МГц, 7,8 МГц, 8,0 МГц). Акустическая энергия, создаваемая этой акустической мощностью, может составлять от приблизительно 0,01 джоулей («Дж») до приблизительно 10 Дж (например, 0,25 Дж, 0,45 Дж, 0,5 Дж, 1,0 Дж, 1,05 Дж, 1,20 Дж, 1,25 Дж, 1,50 Дж, 4 Дж, 6 Дж, 8 Дж, 9 Дж) или от приблизительно 2 Дж до приблизительно 5 Дж. Акустическая энергия, создаваемая этой акустической мощностью, может составлять от приблизительно 0,01 Дж до приблизительно 60000 Дж (например, при объемном нагреве, для коррекции фигуры, подподбородочного жира, живота и/или боков, рук, внутренней части бедра, наружной части бедра, ягодиц, брюшной дряблости, целлюлита), приблизительно 10 Дж или от приблизительно 2 Дж до приблизительно 5 Дж. В одном варианте реализации акустическая энергия находится в диапазоне меньше, чем приблизительно 3 Дж (например, 0,25 Дж, 0,45 Дж, 0,5 Дж, 1,0 Дж, 1,05 Дж, 1,20 Дж, 1,25 Дж, 1,50 Дж, 2,0 Дж, 2,5 Дж). В различных вариантах реализации интенсивность мощности обработки составляет от 10 кВт/см2 до 100 кВт/см2, от 15 кВт/см2 до 70 кВт/см2, от 10 кВт/см2 до 15 кВт/см2, от 15 Вт/см2 до 20 кВт/см2, от 17 кВт/см2 до 40 кВт/см2, от 15 кВт/см2 до 50 кВт/см2, 20 кВт/см2 до 40 кВт/см2, от 15 кВт/см2 до 35 кВт/см2, от 15 кВт/см2 до 25 кВт/см2, от 25 кВт/см2 до 70 кВт/см2 и/или от 40 кВт/см2 до 80 кВт/см2.
[0186] В некоторых из вариантов реализации, описанных в данном документе, процедура является полностью косметической, а не медицинской. Например, в одном варианте реализации описанные в данном документе способы не обязательно должен выполнять врач, а их можно выполнить в косметическом салоне или другом эстетическом учреждении. В некоторых вариантах реализации система может быть использована для неинвазивной косметической обработки кожи. В нескольких вариантах реализации предложены системы и способы с использованием направленного и прецизионного ультразвука с помощью термического способа посредством одного луча ультразвуковой терапии или посредством расщепления луча ультразвуковой терапии на два, три, четыре или большее количество одновременно существующих фокусных зон для выполнения различных процедур обработки и/или визуализации. В некоторых вариантах реализации ультразвук используют для диагностических и/или терапевтических целей в области медицины, без ограничения включая дерматологию.
[0187] В различных вариантах реализации ультразвуковую визуализацию применяют для обеспечения достаточного акустического контакта во время осуществления обработки при ультразвуковой терапии. В различных вариантах реализации ультразвуковую визуализацию применяют для предотвращения обработки в нежелательной области на теле, такой как кость или имплантат. В отличие от света, звук нуждается в среде для распространения. В одном варианте реализации система ультразвуковой обработки передает ультразвуковую энергию акустическим способом от преобразователя к телу через акустическое окно с использованием геля. В этом варианте реализации гель представляет собой среду, которая имитирует свойства акустического сопротивления ткани, таким образом, чтобы обеспечить эффективную передачу энергии от устройства к ткани. К сожалению, наличие каких-либо карманов воздуха между преобразователем и тканью делает невозможным обеспечение надлежащей связи в некоторых ситуациях, и, таким образом, это может привести к недостаточной передаче энергии ультразвуковой терапии. Ультразвуковая визуализация позволяет проверить эту передачу. Недостаточная передача может проявляться в виде затененных областей или вертикальных полос на ультразвуковых изображениях или полностью темного изображения. Даже при наличии достаточной передачи, ткани или объекты, такие как кость или имплантат, могут вызывать проблемы, поскольку эти объекты могут иметь акустическое сопротивление и характеристики поглощения, отличные от тех же параметров мягких тканей (например, кожи, мышцы). Вследствие этого наличие объектов (таких как кость или имплантат) между устройством и целевым фокусом терапии может привести к значительному отражению и вероятности нагревания на меньшей глубине, чем предполагалось. Объекты (например, кость и т.д.), расположенные недалеко от фокуса, также могут вызывать проблемы, поскольку объект отражает и легко поглощает ультразвук от мягких тканей. Отраженная энергия может привести к непреднамеренному увеличению энергии, которая уже имеется в фокусе терапии, вызывая более сильное увеличение температуры, чем предполагалось. Поглощенная костью энергия может вызвать нагрев или дискомфорт в кости.
[0188] В различных вариантах реализации изобретение позволяет улучшить характеристики безопасности, повысить эффективность выполнения операции, обеспечивает аспект безопасности и эффективности для устройств объемного нагрева (например, ленточная обработка, зона обработки с линейным фокусом, цилиндрическая фокальная линия, плоскость и/или объем и т.д.) для коррекции тела, подподбородочного жира, живота и/или боков, рук, внутренней части бедра, наружной части бедра, ягодиц, дряблости, брюшной дряблости и т.д., обеспечивает качественную и/или количественную оценку связи, обеспечивает смешение изображения (изображений) с высоким разрешением с изображением (изображениями) связи, используется для оценки внеплоскостных препятствий, расположенных после фокуса (например, кости, кишечника, имплантатов), и/или может быть использовано для уменьшения потребности в эквивалентных навыках специалиста по ультразвуковой эхографии.
[0189] В некоторых раскрытых в настоящем документе вариантах реализации неинвазивные ультразвуковые системы выполнены с возможностью использования для достижения одного или большего количество из следующих благоприятных эстетических и/или косметических улучшающих эффектов: подтяжки кожи лица, подтяжки бровей, подтяжки подбородка, обработки кожи вокруг глаз (например, малярных мешков, лечения подглазничной дряблости кожи), сокращения количества морщин, сокращения количества жира (например, обработки жира, относящегося к жировой ткани, и/или целлюлита), лечения целлюлита (который также называют гиноидной липодистрофией) (например, женской гиноидной липодистрофии с ямкой или без ямки), улучшения кожи в области «декольте» (например, верхней части грудной клетки), подтяжки ягодиц (например, укрепления ягодиц), укрепления кожи (например, лечения дряблости для укрепления кожи лица или тела, например, лица, шеи, груди, рук, бедер, живота, ягодиц и т.д.), уменьшения рубцов, обработки ожога, удаления татуировки, удаления вен, уменьшения вен, обработки потовой железы, лечения чрезмерного потоотделения, удаления веснушек, лечения угревой сыпи и уменьшения прыщей. В одном варианте реализации зона термической коагуляции направлена на ткань, находящуюся под кожей, например, поверхностную мышечно-апоневротическую систему (superficial muscular aponeurotic system, «SMAS»), и обеспечивается другая расфокусированная энергия на поверхности кожи. В различных вариантах реализации ультразвуковая система выполнена с возможностью фокусировки ультразвука для создания локализованного механического движения в тканях и клетках с целью достижения локализованного нагрева для коагуляции, абляции ткани и/или для механического разрушения клеточной мембраны. В различных вариантах реализации ультразвуковая система выполнена с возможностью лифтинга надбровной дуги (например, брови). В различных вариантах реализации ультразвуковая система выполнена с возможностью лифтинга для подтяжки дряблой ткани, например, подподбородочной (расположенной под подбородком) ткани и ткани шеи. В различных вариантах реализации ультразвуковая система выполнена с возможностью улучшения линий и морщин в области декольте. В различных вариантах реализации ультразвуковая система выполнена с возможностью уменьшения количества жира. В различных вариантах реализации ультразвуковая система выполнена с возможностью снижения вероятности появления целлюлита. В различных вариантах реализации ткань под кожей или даже на поверхности кожи, например, эпидермис, дерму, фасцию, мышцу, жир, поверхностную мышечно-апоневротическую систему (superficial muscular aponeurotic system, «SMAS»), неинвазивно обрабатывают с применением ультразвуковой энергии. Ультразвуковая энергия может быть сфокусирована в одной или большем количестве точек и/или зона обработки, может быть расфокусированной и/или дефокусированной и может быть применена к представляющей интерес области, содержащей по меньшей мере одно из эпидермиса, дермы, гиподермы, фасции, мышцы, жира, целлюлита и SMAS, для достижения косметического и/или терапевтического эффекта. В различных вариантах реализации системы и/или способы обеспечивают неинвазивную дерматологическую обработку ткани путем термической обработки, коагулирования, абляции и/или укрепления. В одном варианте реализации достигается снижение количества жира. В различных вариантах реализации уменьшение целлюлита (например, гиноидной липодистрофии с ямкой или без ямки) или же улучшение одной или большего количества характеристик (таких как ямки, узелковые уплотнения, вид «апельсиновой корки» и т.д.) достигает приблизительно 10-20%, 20-40%, 40-60%, 60-80% или более (также перекрывая указанные диапазоны) по сравнению, например, с необработанной тканью. В одном варианте реализации обрабатывают область «декольте». В некоторых вариантах реализации в течение одного сеанса обработки достигают двух, трех или большего количества полезных эффектов, и они могут быть достигнуты одновременно.
[0190] Различные варианты реализации настоящего изобретения устраняют потенциальные проблемы, вызванные применением ультразвуковой терапии. В различных вариантах реализации достигается уменьшение времени осуществления формирования ТТК для обеспечения требуемой косметической и/или терапевтической обработки целевой ткани для требуемого клинического способа. В различных вариантах реализации целевая ткань без ограничения представляет собой любое из кожи, век, ресницы, брови, слезного мясца, «гусиных лапок» (морщин в углах глаз), морщин, глаза, носа, рта (например, носогубной складки, окологубных морщин), языка, зубов, десен, ушей, мозга, сердца, легких, ребер, живота (например, при брюшной дряблости), желудка, печени, почек, матки, груди, влагалища, простаты, яичек, желез, щитовидных желез, внутренних органов, волос, мышцы, кости, связок, хряща, жира, жира (labuli), жировой ткани, подкожной ткани, имплантированной ткани, имплантированного органа, лимфоидной ткани, опухоли, кисты, абсцесса, части нерва или любого их сочетания.
[0191] Различные варианты реализации устройств для ультразвуковой обработки и/или визуализации описаны в заявке на патент США №12/996,616, опубликованной в виде публикации США №2011-0112405 А1 от 12 мая 2011 года, которая представляет собой национальную фазу в США согласно 35 U.S.C. параграф 371 международной заявки PCT/US 2009/046475, поданной 5 июня 2009 года и опубликованной на английском языке 10 декабря 2009 года, которая испрашивает преимущество приоритета по предварительной заявке США №61/059,477, поданной 6 июня 2008 года, причем каждый из указанных документов полностью включен в настоящее описание посредством ссылки. Различные варианты реализации устройств для ультразвуковой обработки и/или визуализации описаны в заявке США №14/193,234, которая опубликована в публикации США №2014/0257145 от 11 сентября 2014 года, которая полностью включена в настоящее описание посредством ссылки. Различные варианты реализации устройств для ультразвуковой обработки и/или визуализации описаны в международной заявке PCT/US 15/25581, которая была опубликована как WO 2015/160708 22 октября 2015 года с национальной фазой в виде заявки США №15/302,436, которая опубликована в виде публикации США №2017/0028227 от 2 февраля 2017 года, причем каждый из указанных документов полностью включен в настоящее описание посредством ссылки. Различные варианты реализации устройств для ультразвуковой обработки и/или визуализации описаны в международной заявке PCT/US 17/046703, которая опубликована как WO 2018/035012 от 22 февраля 2018 года с национальной фазой в виде заявки США 15/562,384, каждая из которых полностью включена в настоящий документ посредством ссылки.
[0192] Некоторые описанные в настоящем документе варианты реализации и примеры являются примерами и не предназначены для ограничения описания полного объема устройств, систем и способов этих вариантов реализации. Эквивалентные изменения, модификации и вариации некоторых вариантов реализации, материалов, композиций и способов могут быть осуществлены в пределах объема вариантов реализации, описанных в настоящем документе, по существу с аналогичными результатами. Модификации, эквиваленты и альтернативы, которые находятся в пределах сущности и объема различных описанных в настоящем документе вариантов реализации и прилагаемой формулы изобретения включены в настоящее описание.
[0193] Любые описанные в настоящем документе способы не требуют обязательного выполнения в указанном порядке. Раскрытые в настоящем документе способы включают определенные действия, предпринимаемые практиком; однако они также могут включать любую стороннюю касающуюся этих действий инструкцию в явно выраженной форме или подразумеваемым образом. Например, такие действия, как «соединение модуля преобразователя с ультразвуковым зондом» включают «инструктирование в отношении соединения модуля преобразователя с ультразвуковым зондом». Диапазоны, раскрытые в настоящем документе, также включают любые перекрывающиеся диапазоны, поддиапазоны, указанные значения и их сочетания. Такие выражения, как «вплоть до», «по меньшей мере», «более чем», «менее чем», «между» и т.п., включают указанное число. Числа, которым предшествуют такие термины, как «около» или «приблизительно», включают указанные числа. Например, «около 25 мм» включает «25 мм». Названия и заголовки предоставлены для удобства и не ограничивают заявляемый объект изобретения.
Группа изобретений относится к медицине. Предложены варианты реализации, улучшающие эффективность ультразвука, например, посредством высокого КПД, систем измерения сигнала, калибровки и обеспечения с радиочастотным (РЧ) приводом системы управления, выполненным с возможностью приведения в действие одного или большего количества сфокусированных ультразвуковых преобразователей. РЧ привод может содержать один или большее количество усилителей мощности, содержащих один или большее количество III-V полупроводников, (например, нитрид галлия GaN, GaAs, GaSb, InP, InAs, InSb, InGaAs, AlSb, AlGaAs и/или AlGaN) полевых транзисторов для эффективного обеспечения высокой мощности с четкими узкополосными РЧ сигналами по широкому диапазону частот. РЧ привод может содержать систему измерения мощности и/или калибровки для наблюдения амплитуды и фазы РЧ сигнала, выводимого из усилителя мощности, и оценки количества РЧ мощности, доставленной на ультразвуковые преобразователи. Применение данной группы изобретений позволит повысить эффективность дерматологических (например, косметических) ультразвуковых процедур. 4 н. и 39 з.п. ф-лы, 24 ил.
1. Система для неинвазивной ультразвуковой обработки, содержащая:
ультразвуковой зонд, содержащий преобразователь для ультразвуковой терапии, выполненный с возможностью применения ультразвуковой терапии к ткани; и
систему электропитания, выполненную с возможностью подачи электропитания на преобразователь для ультразвуковой терапии, причём система электропитания содержит усилитель мощности и схему;
причем усилитель мощности содержит по меньшей мере один полупроводниковый транзистор,
при этом указанный по меньшей мере один полупроводниковый транзистор представляет собой полевой транзистор,
при этом полевой транзистор выполнен с возможностью работы с КПД по меньшей мере 75% на радиочастоте (РЧ) в диапазоне от 200 кГц до 20 МГц.
2. Система по п. 1, в которой полупроводниковый транзистор содержит III-V соединение.
3. Система по п. 1, в которой полупроводниковый транзистор содержит нитрид галлия (GaN).
4. Система по п. 1, в которой усилитель мощности содержит:
конфигурацию переключаемого усилителя, содержащую полевой транзистор; и
схему, выполненную с возможностью генерации цифровых форм волны для приведения в действие по меньшей мере одного затвора полевого транзистора для приведения в действие преобразователя для ультразвуковой терапии, причем преобразователь для ультразвуковой терапии представляет собой пьезоэлектрический ультразвуковой преобразователь;
причем схема содержит четыре транзистора, выполненных в конфигурации Н-образного моста.
5. Система по п. 1,
в которой усилитель мощности содержит:
конфигурацию переключаемого усилителя, содержащую по меньшей мере один полевой транзистор; и
схему, выполненную с возможностью генерации цифровых форм волны для приведения в действие по меньшей мере одного затвора полевого транзистора для приведения в действие преобразователя для ультразвуковой терапии, причем преобразователь для ультразвуковой терапии представляет собой пьезоэлектрический ультразвуковой преобразователь;
при этом сигнал, приводящий в действие полевой транзистор, генерируют путём сравнения вывода синусоидальной схемы прямого синтеза цифровых данных с напряжением постоянного тока;
при этом выходная мощность находится в диапазоне от 0,1 Вт до 100 Вт;
при этом схема содержит четыре транзистора, выполненных в конфигурации Н-образного моста.
6. Система по п. 1,
в которой полупроводник представляет собой нитрид галлия,
при этом усилитель мощности содержит:
конфигурацию переключаемого усилителя, содержащую по меньшей мере один полевой транзистор на нитриде галлия, при этом каждый полевой транзистор на нитриде галлия содержит по меньшей мере один затвор; и
схему, выполненную с возможностью генерации цифровых форм волны для приведения в действие указанного по меньшей мере одного затвора полевых транзисторов на нитриде галлия для приведения в действие преобразователя для ультразвуковой терапии, причем преобразователь для ультразвуковой терапии представляет собой пьезоэлектрический ультразвуковой преобразователь;
причем сигнал, приводящий в действие полевой транзистор, генерируют путём сравнения вывода синусоидальной схемы прямого синтеза цифровых данных с напряжением постоянного тока;
при этом выходная мощность находится в диапазоне от 0,1 Вт до 100 Вт;
при этом схема содержит четыре транзистора на нитриде галлия, выполненных в конфигурации Н-образного моста;
при этом приводной сигнал затвора имеет переменный рабочий цикл, используемый для управления гармоническим составом и мощностью выходного сигнала;
при этом усилитель-преобразователь мощности подаёт электропитание на мощность радиочастотного выходного сигнала с КПД более 75%;
при этом напряжение, подаваемое на усилитель мощности, модулируют с использованием переключаемого преобразователя постоянного тока, который снижает фиксированный ввод высокого напряжения до более низкого подаваемого напряжения;
содержащая два или большее количество усилителей мощности, при этом один усилитель мощности выполнен с возможностью приведения в действие при одном пьезоэлектрическом преобразовательном элементе преобразователя высокоинтенсивного сфокусированного ультразвука;
при этом усилитель мощности выполнен с возможностью выдачи вывода на двух или большем количестве разных амплитуд;
при этом усилитель мощности выполнен с возможностью выдачи вывода на двух или большем количестве разных фаз;
при этом управление фазой и частотой осуществляется посредством цифрового генератора прямого синтеза;
при этом система выполнена с возможностью приведения в действие преобразователя для ультразвуковой терапии с сопротивлением в диапазоне от 20 Ом до 120 Ом и фазовым углом от +45 градусов до -45 градусов.
7. Система по п. 1, в которой усилитель мощности содержит:
конфигурацию переключаемого усилителя, содержащую по меньшей мере один полупроводник; и
схему, выполненную с возможностью генерации цифровых форм волны для приведения в действие полупроводника для приведения в действие преобразователя для ультразвуковой терапии.
8. Система по п. 1, в которой сигнал, приводящий в действие полевой транзистор, генерируют путём сравнения вывода синусоидальной схемы прямого синтеза цифровых данных с напряжением постоянного тока.
9. Система по п. 1, в которой выходная мощность находится в диапазоне от 0,1 Вт до 100 Вт.
10. Система по п. 1, в которой выходная мощность находится в диапазоне от 5 Вт до 50 Вт.
11. Система по п. 1, в которой схема содержит четыре транзистора, выполненных в конфигурации Н-образного моста.
12. Система по любому из пп. 1-3 и 7-11, в которой схема содержит два транзистора, выполненных в полумостовой конфигурации.
13. Система по любому из пп. 1-3 и 7-11, в которой приводной сигнал затвора имеет переменный рабочий цикл, используемый для управления гармоническим составом и мощностью выходного сигнала.
14. Система по любому из пп. 1-3 и 7-11, в которой усилитель-преобразователь мощности подаёт электропитание на мощность радиочастотного выходного сигнала с КПД более 75%.
15. Система по любому из пп. 1-3 и 7-11, в которой напряжение, подаваемое на усилитель мощности, модулируют с использованием переключаемого преобразователя постоянного тока, который снижает фиксированный ввод высокого напряжения до более низкого подаваемого напряжения.
16. Система по любому из пп. 1-3 и 7-11, содержащая два или большее количество усилителей мощности, при этом один усилитель мощности выполнен с возможностью приведения в действие при одном пьезоэлектрическом преобразовательном элементе преобразователя высокоинтенсивного сфокусированного ультразвука.
17. Система по любому из пп. 1-3 и 7-11, в которой преобразователь ультразвука выполнен с возможностью приведения в действие отдельным усилителем мощности.
18. Система по любому из пп. 1-3 и 7-11, в которой усилитель мощности выполнен с возможностью выдачи вывода на двух или большем количестве разных амплитуд.
19. Система по любому из пп. 1-3 и 7-11, в которой усилитель мощности выполнен с возможностью выдачи вывода на двух или большем количестве разных фаз.
20. Система по любому из пп. 1-3 и 7-11, в которой указанный усилитель выполнен с возможностью выдачи вывода на двух или большем количестве разных частот.
21. Система по любому из пп. 1-3 и 7-11, в которой управление фазой и частотой осуществляется посредством цифрового генератора прямого синтеза.
22. Система по любому из пп. 1-3 и 7-11, выполненная с возможностью приведения в действие преобразователей с сопротивлением в диапазоне от 20 Ом до 120 Ом и фазовым углом от +45 градусов до -45 градусов.
23. Система для неинвазивной ультразвуковой обработки, содержащая:
ультразвуковой зонд, содержащий корпус, вмещающий пьезоэлектрически активный преобразователь для ультразвуковой терапии, выполненный с возможностью фокусирования акустических ультразвуковых волн на глубине от корпуса в фокусной зоне в ткани;
систему электропитания, выполненную с возможностью подачи электропитания на преобразователь для ультразвуковой терапии, причём система электропитания содержит усилитель мощности; и
систему измерения электрической мощности, выполненную с возможностью наблюдения электрической выходной мощности от выходного сигнала из усилителя мощности,
при этом система измерения электрической мощности содержит:
резистивную схему измерения тока, выполненную с возможностью наблюдения электрического тока, выводимого из усилителя мощности; и
резистивную схему измерения напряжения, выполненную с возможностью наблюдения электрического напряжения, выводимого из усилителя мощности, и
при этом система измерения электрической мощности выполнена с возможностью наблюдения выходной электрической мощности из усилителя мощности в диапазоне частот, охватывающем по меньшей мере две октавы для преобразователя для ультразвуковой терапии.
24. Система для неинвазивной ультразвуковой обработки, содержащая:
ультразвуковой зонд, содержащий преобразователь для ультразвуковой терапии, выполненный с возможностью применения ультразвуковой терапии к ткани; и
систему электропитания, выполненную с возможностью подачи электропитания на преобразователь для ультразвуковой терапии, причём система электропитания содержит усилитель мощности и схему;
при этом усилитель мощности содержит по меньшей мере один III-V полупроводниковый силовой транзистор, выполненный с возможностью работы с КПД по меньшей мере 75% на радиочастоте (РЧ) в диапазоне между 200 кГц и 20 МГц.
25. Система по п. 24, в которой указанный по меньшей мере один III-V полупроводниковый силовой транзистор выбран из группы, состоящей из: GaN, GaAs, GaSb, InP, InAs, InSb, InGaAs, AlSb, AlGaAs и AlGaN.
26. Система по п. 24, в которой указанный по меньшей мере один III-V полупроводниковый силовой транзистор представляет собой нитрид галлия.
27. Система по п. 24, в которой указанный по меньшей мере один III-V полупроводниковый силовой транзистор не является одним из GaN, GaAs, GaSb, InP, InAs, InSb, InGaAs, AlSb, AlGaAs и AlGaN.
28. Система по п. 24, в которой усилитель мощности содержит:
конфигурацию переключаемого усилителя, содержащую III-V полупроводниковых силовых транзисторов; и
схему, выполненную с возможностью генерации цифровых форм волны для приведения в действие III-V полупроводниковых силовых транзисторов для приведения в действие пьезоэлектрического ультразвукового преобразователя.
29. Система по п. 24, в которой сигнал, приводящий в действие силовой транзистор, генерируют путём сравнения вывода синусоидальной схемы прямого синтеза цифровых данных с напряжением постоянного тока.
30. Система по п. 24, в которой выходная мощность находится в диапазоне от 0,1 Вт до 100 Вт.
31. Система по п. 24, в которой выходная мощность находится в диапазоне от 5 Вт до 50 Вт.
32. Система по любому из пп. 24-31, в которой схема содержит четыре силовых транзистора, выполненных в конфигурации Н-образного моста.
33. Система по любому из пп. 24-31, в которой приводной сигнал затвора имеет переменный рабочий цикл, используемый для управления гармоническим составом и мощностью выходного сигнала.
34. Система по любому из пп. 24-31, в которой усилитель-преобразователь мощности подаёт электропитание на мощность радиочастотного выходного сигнала с КПД более 75%.
35. Система по любому из пп. 24-31, в которой напряжение, подаваемое на усилитель мощности, модулируют с использованием переключаемого преобразователя постоянного тока, который снижает фиксированный ввод высокого напряжения до более низкого подаваемого напряжения.
36. Система по любому из пп. 24-31, содержащая два или большее количество усилителей мощности, при этом один усилитель мощности выполнен с возможностью приведения в действие одного пьезоэлектрического преобразовательного элемента преобразователя высокоинтенсивного сфокусированного ультразвука.
37. Система по любому из пп. 24-31, в которой усилитель мощности выполнен с возможностью выдачи вывода на двух или большем количестве разных амплитуд.
38. Система по любому из пп. 24-31, в которой усилитель мощности выполнен с возможностью выдачи вывода на двух или большем количестве разных фаз.
39. Система по любому из пп. 24-31, в которой управление фазой и частотой осуществляется посредством цифрового генератора прямого синтеза.
40. Система по любому из пп. 24-31, выполненная с возможностью приведения в действие преобразователей с сопротивлением в диапазоне от 20 Ом до 120 Ом и фазовым углом от +45 градусов до -45 градусов.
41. Система для неинвазивной ультразвуковой обработки, содержащая:
ультразвуковой зонд, содержащий корпус, вмещающий пьезоэлектрически активный преобразователь для ультразвуковой терапии, выполненный с возможностью фокусирования акустических ультразвуковых волн на глубине от корпуса в фокусной зоне в ткани;
систему электропитания, выполненную с возможностью подачи электропитания на преобразователь для ультразвуковой терапии, причём система электропитания содержит усилитель мощности; и
систему измерения электрической мощности, выполненную с возможностью наблюдения электрической выходной мощности от выходного сигнала из усилителя мощности,
причем усилитель мощности содержит по меньшей мере один полупроводниковый транзистор,
при этом указанный по меньшей мере один полупроводниковый транзистор представляет собой полевой транзистор,
при этом система измерения электрической мощности содержит:
резистивную схему измерения тока, выполненную с возможностью наблюдения электрического тока, выводимого из усилителя мощности; и
при этом система измерения электрической мощности выполнена с возможностью наблюдения выходной электрической мощности из усилителя мощности в диапазоне частот, охватывающем по меньшей мере две октавы для преобразователя для ультразвуковой терапии.
42. Система по п. 41, в которой система измерения электрической мощности выполнена с возможностью изменения приводного сигнала по меньшей мере одного затвора полевого транзистора путем изменения значения сигнала постоянного тока, который соответствует выводу из батареи, чтобы достигать требуемого гармонического состава в выходном сигнале.
43. Система по п. 42, выполненная с возможностью измерения гармоник путём определения количества гармоник самой низкой частоты в полосе пропускания, которые превышают порог шума системы.
| US 20170209202 A1, 27.07.2017 | |||
| WO 2018035012 A1, 22.02.2018 | |||
| WO 2015030268 A1, 05.03.2015 | |||
| US 20050007879 A1, 13.01.2005. |
Авторы
Даты
2025-05-28—Публикация
2019-11-25—Подача