Изобретение относится к области авиационной техники, в частности к обеспечению устойчивости работы компрессоров газотурбинных двигателей (ГТД) в составе силовых установок летательных аппаратов и может быть использовано в других областях промышленности.
Известны внешние факторы, влияющие на устойчивость работы компрессора газотурбинного двигателя в составе силовых установок в эксплуатации, это факторы неравномерности потока как по давлению, так и по температуре на его входе, факторы повышения давления и уменьшения расхода воздуха со стороны сопла, в свою очередь выраженные в виде значений факторных параметров как-то:
и др. (Ю.Н. Нечаев, P.M. Федоров, Теория авиационных газотурбинных двигателей. Часть I. Москва, Машиностроение, 1977 г., стр. 155-166).
Известен способ получения напорных характеристик и границы устойчивости отдельного компрессора в наземных условиях на стенде и определения запасов устойчивой работы компрессора газотурбинного двигателя с помощью параметра ΔКу, при отсутствии воздействия внешних факторов, путем изменения степени сжатия компрессора 71к при одновременном уменьшении коэффициента расхода q(λ) на его входе с помощью дросселя 2 (Ю.Н. Нечаев, P.M. Федоров, Теория авиационных газотурбинных двигателей, Часть I. Москва, Машиностроение, 1977 г., стр. 114-118, рис. 4.1, стр. 152-155).
Недостатком указанного способа является отсутствие возможности определения запасов устойчивой работы компрессора газотурбинного двигателя в условиях эксплуатации в составе силовых установок летательных аппаратов при наличии всех возможных внешних факторов, влияющих на его устойчивость.
Известен способ определения границы устойчивой работы газотурбинного двигателя по двум факторным параметрам - окружной неравномерности потока Δσо и среднеквадратичному отклонению интенсивности турбулентных пульсаций ε на входе газотурбинного двигателя и расчета по полученным значениям критической величины суммарной неоднородности потока Wкр на границе по формуле
(Н.Х. Ремеев, Аэродинамика воздухозаборников сверхзвуковых самолетов, издание ЦАГИ, 2002 г., стр. 14).
Недостаток известного способа заключается в его ограниченных возможностях, связанных с учетом только двух влияющих факторных параметров, что делает невозможным достаточно точно оценить саму границу устойчивой работы газотурбинного двигателя в условиях эксплуатации в составе силовых установок летательных аппаратов, в том числе, и его запасы при наличии других внешних факторных параметров, влияющих на его устойчивость, например, при наличии факторного параметра радиальной неравномерности потока в сечении на входе в двигатель.
Прототипом является способ определения границы устойчивой работы газотурбинного двигателя (патент Российской Федерации №2409768, авторы Рыбко В.А., Аксянов В.У., Тихомиров А.С., ФГУП « ММПП «САЛЮТ», 2009 г.).
Прототип имеет существенные признаки:
- способ определяет границу устойчивости работы двигателя по трем влияющим на устойчивость работы компрессора газотурбинного двигателя факторным параметрам, объединенным в суммарный параметр
где
- критическая величина факторного параметра окружной неравномерности потока; εкр - критическая величина факторного параметра среднеквадратичного отклонения интенсивности турбулентных пульсаций;
- разность величин факторного параметра радиальной неравномерности потока критической на границе и максимальной в эксплуатации 
- применение способа предусмотрено только для двигателей, соединяемых с входом самолета через переходной элемент в форме диффузора с углом раскрытия не более 6°.
Недостатком способа является существенная ограниченность его применения в эксплуатации газотурбинных двигателей. Используемая как факторный параметр разность величин радиальной неравномерности потока критической на границе и максимальной в эксплуатации
ограничена в условиях эксплуатации, поскольку на границе срыва в условиях полета при
эта величина равна нулю и, тем самым, не учитывает в суммарном параметре W фактор влияния радиальной неравномерности на границу устойчивости, что противоречит экспериментальным данным при потере устойчивости, когда факторный параметр окружной неравномерности потока Δσо=0, а факторный параметр радиальной неравномерности потока
Кроме того, отсутствует учет вклада каждого отдельного факторного параметра в значение параметра W. По этой причине согласно представленному графику в описании патента №2409768 на фиг. 3 разброс значений параметра на границе устойчивости превышает 2% на отдельных режимах работы по N пр, что делает невозможным определение достоверного и однозначного запаса устойчивой работы компрессора газотурбинного двигателя при воздействии внешних факторов.
Технический результат, на достижение которого направлено изобретение, заключается:
- в повышении точности и однозначности определения запасов устойчивой работы компрессора газотурбинного двигателя при воздействии внешних факторов;
- в расширении области использования и более универсальном применении способа при неограниченном числе факторных параметров, влияющих на устойчивость работы компрессора.
Указанный технический результат достигается тем, что в способе определения запасов устойчивой работы компрессора газотурбинного двигателя при воздействии внешних факторов, предусматривающем определение n-го количества внешних факторных параметров в эксплуатации и воспроизведение в стендовых экспериментах каждого факторного параметра, влияющего на устойчивость работы компрессора газотурбинного двигателя отдельно или в комплексе, измерение и вычисление значений факторных параметров, проводят n-е количество экспериментов на наземных или летающих стендах, равное числу факторных параметров, с применением в экспериментах различных схем имитирующих устройств и выполнением в каждом эксперименте срыва работы компрессора газотурбинного двигателя на рассматриваемых режимах работы компрессора с целью получения n комбинаций значений факторных параметров на границе потери его устойчивости. По результатам экспериментов для каждого режима работы компрессора газотурбинного двигателя, присущего его срыву и определяемого приведенной частотой вращения ротора компрессора Nпp гр, формируют систему из n линейных уравнений, состоящих из комплексного параметра устойчивости компрессора газотурбинного двигателя на приведенной границе, принятой за норму W∑гp пр в левой части уравнения, а в правой - из суммы произведений числовых значений каждого факторного параметра, полученного по результатам т-го варианта эксперимента при срыве работы компрессора газотурбинного двигателя, на соответствующие неизвестные на этом этапе весовые коэффициенты k1, k2, k3, k4…kn:
где Фnn - значение n-го факторного параметра в отдельном n-м эксперименте с вариантом схемы имитирующего устройства при срыве работы компрессора газотурбинного двигателя;
k1, k2, k3, k4, …kn - весовые коэффициенты влияния каждого факторного параметра;
- выбираемое как нормируемое значение комплексного параметра устойчивости компрессора газотурбинного двигателя на приведенной границе при его срыве.
После решения системы уравнений определяют весовые коэффициенты k1, k2, k3, k4, …kn в условиях конкретного режима работы компрессора, которые используют в итоге для формирования комплексного параметра устойчивости в условиях эксплуатации для соответствующего режима работы по приведенной частоте вращения ротора компрессора N пр
,
где
- измеряемые в эксплуатации 1, 2, 3, 4, …n-е факторные параметры. Расчет запасов устойчивой работы компрессора газотурбинного двигателя на отдельно взятом режиме его работы при воздействии внешних факторов осуществляют по формуле
Как известно, на устойчивость работы компрессора газотурбинных двигателей в составе силовых установок летательных аппаратов влияет множество факторов, которые оцениваются одним или несколькими факторными параметрами, в свою очередь определяемых путем отдельных исследований. Так, со стороны воздухозаборника на входе в компрессор формируется возмущенный поток воздуха, неравномерный как по температуре, так и по давлению. Этот поток характеризуется несколькими факторными параметрами, как-то: окружная неравномерность полного давления
радиальная неравномерность полного давления
пульсации полного давления ε, неравномерность температуры ΔT* и др. Со стороны сопла на устойчивость работы компрессора газотурбинных двигателей влияют факторы «внутренних» возмущений: открытие створок перепуска, изменение расхода воздуха путем регулирования проходной площади сечения сопла, изменение степени сжатия компрессора πk и др., которые могут определяться такими факторными параметрами, как положение рабочей точки на характеристике компрессора - отношение степени сжатия к коэффициенту расхода воздуха на входе в компрессор πk/q(λ) или производной этого отношения
и др.
Каждый фактор и определяющие его факторные параметры по-разному влияют на положение границы устойчивости на характеристике компрессора (Ю.Н. Нечаев, P.M. Федоров, Теория авиационных газотурбинных двигателей, Часть I, Москва, Машиностроение, 1977 г., стр. 161, рис. 4.37, стр. 168, рис. 4.40). Неучет этого факта приводит к неточности и неоднозначности известных суммарных параметров, составленных из этих факторных параметров, таких как суммарная неоднородность потока Wгp на границе устойчивости работы компрессора газотурбинных двигателей (фиг. 2 и 3 прототипа - патента №2409768) и др.
Учет смещения границ устойчивости на характеристике компрессора от воздействия каждого конкретного факторного параметра путем сведения их к единой приведенной границе, предварительно выбранной в качестве нормы, с помощью весовых коэффициентов k1, k2, k3, k4, …kn, определенных специальным образом в условиях одного и того же явления - срыва работы компрессора, использование тех же весовых коэффициентов для формирования комплексного параметра устойчивости W∑экспл. и приведение значений факторных параметров в условиях эксплуатации ГТД в составе силовой установки в единую систему координат с приведенной нормируемой границей является существенным признаком способа определения запасов устойчивой работы компрессора газотурбинного двигателя при воздействии внешних факторов.
Краткое описание чертежей.
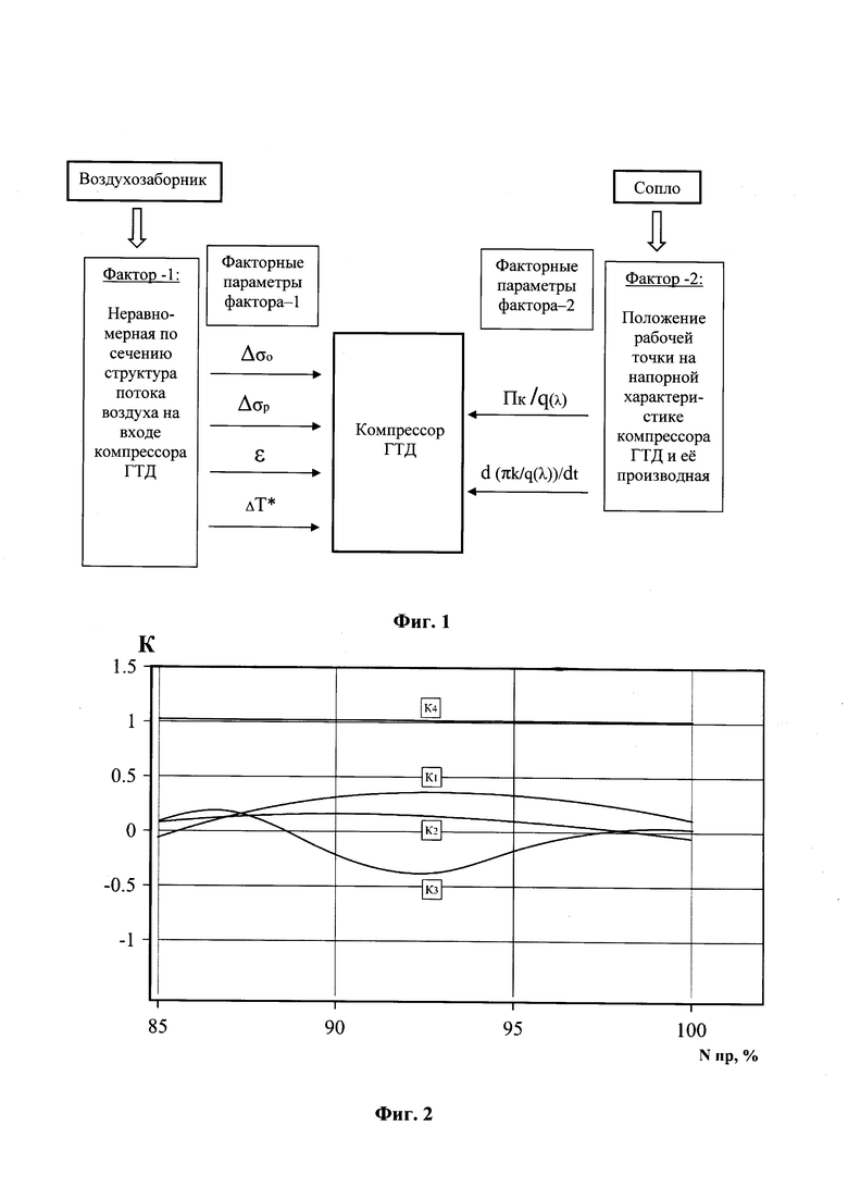
На фиг. 1 представлены некоторые, основные из множества, факторы и их параметры, влияющие на запасы устойчивости работы компрессора ГТД в составе силовой установки в эксплуатации.
На фиг. 2 представлен график весовых коэффициентов для 4-х факторных параметров, полученных путем решения системы уравнений, для формирования комплексного параметра устойчивости W∑экспл. и приведения значений факторных параметров в единую систему координат с приведенной нормируемой границей устойчивости работы компрессора ГТД в составе силовой установки в эксплуатации в зависимости от приведенной частоты вращения ротора компрессора N пр.
На фиг. З приведена нормированная граница устойчивости работы компрессора ГТД в зависимости от приведенной частоты вращения ротора компрессора N пр.
На фиг. 4 представлены значения комплексного параметра устойчивости
полученные в условиях эксплуатации при воздействии внешних факторов, определяемых 4-мя факторными параметрами в зависимости от приведенной частоты вращения ротора компрессора N пр.
На фиг. 5 представлены запасы устойчивости работы компрессора ГТД в составе силовой установки в эксплуатации ΔW∑ при воздействии внешних факторов, определяемых 4-мя факторными параметрами на различных режимах работы, по приведенной частоте вращения ротора компрессора N пр.
Обозначения на фигурах.
- окружная неравномерность полного давления потока;
- радиальная неравномерность полного давления потока;
ε - пульсации полного давления потока;
ΔT* - неравномерность температуры потока;
πk - степень сжатия компрессора;
q(λ) - коэффициент расхода воздуха на входе в компрессор;
- значения комплексного параметра устойчивости на приведенной границе, выбранной в качестве нормы;
- значения комплексного параметра устойчивости в условиях эксплуатации;
ΔW∑ - запас устойчивой работы компрессора газотурбинного двигателя;
N пр - приведенная частота вращения ротора компрессора.
Способ реализуется по этапам следующим образом.
Этап 1. Определяется число n факторных параметров, влияющих в определенных условиях эксплуатации на устойчивость работы компрессора ГТД.
Этап 2. Выбирается n различных схем имитирующих устройств для выполнения n экспериментов со срывом работы компрессора газотурбинного двигателя на различных режимах работы компрессора с целью получения n комбинаций значений факторных параметров на границе потери его устойчивости. Этап 3. Выбираются значения комплексного параметра устойчивости на приведенной нормируемой границе устойчивости работы компрессора ГТД при каждой приведенной частоте вращения ротора компрессора N пр. Этап 4. Формируется система из n линейных уравнений, состоящих из значений комплексного параметра устойчивости компрессора газотурбинного двигателя на приведенной границе, принятой за норму W∑rp пр, в левой части уравнения, а в правой - из суммы произведений числовых значений каждого факторного параметра, полученных по результатам n-го варианта схемы имитации в эксперименте при срыве работы компрессора газотурбинного двигателя, с соответствующими неизвестными весовыми коэффициентами влияния k1, k2, k3, k4, …kn.
Этап 5. Формируется комплексный параметр устойчивости в условиях эксплуатации для каждого режима работы по приведенной частоте вращения ротора компрессора N пp
Пример выполнения способа.
На 1-м этапе в конкретных условиях эксплуатации компрессора ГТД, согласно блок-схеме (фиг. 1), например, при отсутствии влияния на устойчивость неравномерности температуры ΔT* и темпа изменения положения рабочей точки компрессора в виде производной
выбирается четыре факторных параметра
влияющих на устойчивость работы конкретного компрессора газотурбинного двигателя.
На 2-м этапе выбирается четыре схемы имитаторов, позволяющие изменять значения каждого из 4-х факторных параметров на границе срыва работы ГТД на отдельных режимах по приведенной частоте вращения ротора компрессора Nпр. Так, например, для имитации 3-х факторных параметров
и ε выбраны 3 варианта конфигурации стенда для испытаний авиационного двигателя, представленного в патенте Российской Федерации №2641187, авторы: Рыбко В.А., Крутяков С.С., Потапов А.Ю., Захаров Н.Н, АО «НПЦГ «САЛЮТ», 2017 г., а именно, с 3-мя вариантами расположения интерцептора на 3-х различных расстояниях от входа в двигатель L.
Для имитации 4-го факторного параметра πk/q(λ), влияющего в условиях эксплуатации на устойчивость работы конкретного компрессора газотурбинного двигателя, выбрана схема, представленная в работе «Теория авиационных газотурбинных двигателей», Ю.Н. Нечаев, P.M. Федоров, Часть I, Москва, Машиностроение, 1977 г., стр. 115, рис. 4.1. В этой схеме имитатора значения 3-х первых факторных параметров
и ε равны нулю.
На 3-м этапе в представленном примере значения комплексного параметра устойчивости на приведенной границе устойчивости работы компрессора ГТД, принятой за норму
(фиг. 2), выбраны в соответствии с условием: k1, k2, k3=0, k4=1.
На 4-м этапе система из 4-х линейных уравнений, состоящих из комплексного параметра устойчивости компрессора газотурбинного двигателя на приведенной границе, принятой за норму
при Nпp=85%, определяется следующим образом:
Для других значений Nпр, W∑rp пр выбираются в соответствии с графиком на фиг. 2, и для каждого значения формируются системы из 4-х линейных уравнений аналогичным образом. После решения систем уравнений определяются весовые коэффициенты влияния k1, k2, k3, k4. на соответствующих приведенных частотах вращения ротора компрессора Nпр (фиг. 3).
В представленном примере при влиянии в условиях эксплуатации на устойчивость работы конкретного компрессора ГТД 4-х факторных параметров комплексный параметр устойчивости имеет вид для режима работы по приведенной частоте вращения ротора компрессора N пр=90%
Аналогично определяются значения комплексного параметра устойчивости для других значений приведенных частот вращения ротора компрессора N пр в условиях эксплуатации (фиг. 4).
На окончательном этапе 5 выполняется расчет запасов устойчивой работы компрессора газотурбинного двигателя при воздействии внешних факторов по формуле
В представленном примере (фиг. 5) запасы устойчивой работы компрессора газотурбинного двигателя при воздействии внешних факторов в виде 4-х факторных параметров положительны и достаточны на всех режимах работы ГТД в составе силовых установок летательных аппаратов в наземных условиях и в полетах.
| название | год | авторы | номер документа |
|---|---|---|---|
| ГАЗОТУРБИННЫЙ ДВИГАТЕЛЬ. СПОСОБ ИСПЫТАНИЯ ГАЗОТУРБИННОГО ДВИГАТЕЛЯ (ВАРИАНТЫ). СПОСОБ ПРОИЗВОДСТВА ГАЗОТУРБИННОГО ДВИГАТЕЛЯ. СПОСОБ ДОВОДКИ ГАЗОТУРБИННОГО ДВИГАТЕЛЯ. СПОСОБ ПРОМЫШЛЕННОГО ПРОИЗВОДСТВА ГАЗОТУРБИННЫХ ДВИГАТЕЛЕЙ. СПОСОБ ЭКСПЛУАТАЦИИ ГАЗОТУРБИННОГО ДВИГАТЕЛЯ | 2011 |
|
RU2481565C1 |
| СПОСОБ ДОВОДКИ ОПЫТНОГО ГАЗОТУРБИННОГО ДВИГАТЕЛЯ | 2013 |
|
RU2544634C1 |
| СПОСОБ СЕРИЙНОГО ПРОИЗВОДСТВА ГАЗОТУРБИННОГО ДВИГАТЕЛЯ И ГАЗОТУРБИННЫЙ ДВИГАТЕЛЬ, ВЫПОЛНЕННЫЙ ЭТИМ СПОСОБОМ | 2013 |
|
RU2555935C2 |
| СПОСОБ ПАРАМЕТРИЧЕСКОЙ ДИАГНОСТИКИ КОМПРЕССОРА ГАЗОТУРБИННОГО ДВИГАТЕЛЯ | 2010 |
|
RU2446386C1 |
| СПОСОБ ДОВОДКИ ОПЫТНОГО ГАЗОТУРБИННОГО ДВИГАТЕЛЯ | 2013 |
|
RU2544686C1 |
| СПОСОБ ЭКСПЛУАТАЦИИ ГАЗОТУРБИННОГО ДВИГАТЕЛЯ И ГАЗОТУРБИННЫЙ ДВИГАТЕЛЬ, ЭКСПЛУАТИРУЕМЫЙ ЭТИМ СПОСОБОМ | 2013 |
|
RU2544632C1 |
| ГАЗОТУРБИННЫЙ ДВИГАТЕЛЬ | 2013 |
|
RU2545110C1 |
| ГАЗОТУРБИННЫЙ ДВИГАТЕЛЬ | 2013 |
|
RU2556090C2 |
| СПОСОБ ДИАГНОСТИКИ НЕУСТОЙЧИВОЙ РАБОТЫ КОМПРЕССОРА ГАЗОТУРБИННОГО ДВИГАТЕЛЯ НА ЗАПУСКЕ | 2006 |
|
RU2316678C1 |
| СПОСОБ ОПРЕДЕЛЕНИЯ ЗАПАСА ГАЗОДИНАМИЧЕСКОЙ УСТОЙЧИВОСТИ ГАЗОТУРБИННОГО ДВИГАТЕЛЯ | 2007 |
|
RU2352913C1 |
Изобретение относится к области авиационной техники, в частности к обеспечению устойчивости работы компрессоров газотурбинных двигателей (ГТД) в составе силовых установок летательных аппаратов и может быть использовано в других областях промышленности. Способ определения запасов устойчивой работы компрессора газотурбинного двигателя при воздействии внешних факторов предусматривает определение n-го количества внешних факторных параметров в эксплуатации и воспроизведение в условиях стендовых экспериментов каждого факторного параметра, влияющего на устойчивость работы компрессора газотурбинного двигателя отдельно или в комплексе, измерение и вычисление значений факторных параметров. При этом при испытаниях двигателя проводят n-е количество экспериментов на наземных или летающих стендах, равное числу факторных параметров, с применением в экспериментах различных схем имитирующих устройств и выполнением в каждом эксперименте срыва работы компрессора газотурбинного двигателя на рассматриваемых режимах работы компрессора, определяемых приведенной частотой вращения ротора компрессора Nпр гр, обеспечивая получение n комбинаций значений факторных параметров на границе потери его устойчивости; формируют систему из n линейных уравнений, состоящих из значений комплексного параметра устойчивости компрессора газотурбинного двигателя W∑rp пр на принятой за норму приведенной границе в левой части уравнения, а в правой - из суммы произведений числовых значений каждого факторного параметра, полученного по результатам n-го эксперимента при срыве работы компрессора газотурбинного двигателя, и соответствующих неизвестных на этом этапе весовых коэффициентов, в результате решения которой определяют весовые коэффициенты k1, k2, k3, k4…kn, используемые для формирования комплексного параметра устойчивости WΣэкспл в условиях эксплуатации при соответствующем режиме работы компрессора
где Ф1 экспл., Ф2 экспл., Ф3 экспл.., Ф4 экспл…….. Фn экспл - 1, 2, 3, 4,….n-е факторные параметры и для расчета запасов устойчивой работы компрессора газотурбинного двигателя при воздействии внешних факторов Δ WΣ=(1- WΣэкспл / WΣгр пр)*100%. 5 ил.
Способ определения запасов устойчивой работы компрессора газотурбинного двигателя при воздействии внешних факторов, предусматривающий определение n-го количества внешних факторных параметров в эксплуатации и воспроизведение в условиях стендовых экспериментов каждого факторного параметра, влияющего на устойчивость работы компрессора газотурбинного двигателя отдельно или в комплексе, измерение и вычисление значений факторных параметров, отличающийся тем, что при испытаниях двигателя проводят n-е количество экспериментов на наземных или летающих стендах, равное числу факторных параметров, с применением в экспериментах различных схем имитирующих устройств и выполнением в каждом эксперименте срыва работы компрессора газотурбинного двигателя на рассматриваемых режимах работы компрессора, определяемых приведенной частотой вращения ротора компрессора Nпp гр, обеспечивая получение n комбинаций значений факторных параметров на границе потери его устойчивости; формируют систему из n линейных уравнений, состоящих из значений комплексного параметра устойчивости компрессора газотурбинного двигателя
на принятой за норму приведенной границе в левой части уравнения, а в правой - из суммы произведений числовых значений каждого факторного параметра, полученного по результатам n-го эксперимента при срыве работы компрессора газотурбинного двигателя, и соответствующих неизвестных на этом этапе весовых коэффициентов, а именно
,
где Фnn - значение n-го факторного параметра в отдельном n-м эксперименте с вариантом схемы имитирующего устройства при срыве работы компрессора газотурбинного двигателя;
k1, k2, k3, k4, … kn - весовые коэффициенты влияния каждого факторного параметра,
в результате решения которой определяют весовые коэффициенты k1, k2, k6, k4…kn, используемые для формирования комплексного параметра устойчивости
в условиях эксплуатации при соответствующем режиме работы компрессора
где
эксплуатационные факторные параметры,
и далее выполняется расчет запасов устойчивой работы компрессора газотурбинного двигателя при воздействии внешних факторов по формуле
| УСТРОЙСТВО ДЛЯ ОПРЕДЕЛЕНИЯ ХАРАКТЕРИСТИК И ГРАНИЦЫ УСТОЙЧИВОЙ РАБОТЫ КОМПРЕССОРА В СИСТЕМЕ ГАЗОТУРБИННОГО ДВИГАТЕЛЯ (ГТД) | 2005 |
|
RU2297612C2 |
| СПОСОБ ОПРЕДЕЛЕНИЯ ГРАНИЦЫ УСТОЙЧИВОЙ РАБОТЫ ГАЗОТУРБИННОГО ДВИГАТЕЛЯ | 2009 |
|
RU2409768C1 |
| СПОСОБ ЗАЩИТЫ КОМПРЕССОРА ПРИ НЕУСТОЙЧИВОЙ РАБОТЕ ГАЗОТУРБИННОГО ДВИГАТЕЛЯ | 2003 |
|
RU2255247C1 |
| US 4976588 A1, 11.12.1990. | |||
Авторы
Даты
2025-05-30—Публикация
2024-07-11—Подача