Изобретение относится к области строительства, в частности к защитным ограждениям.
По патенту RU 160941 известна стойка тросового барьерного ограждения, имеющая фигурный Н-образный (двутавровый) профиль и усиленные приливами Т-образные открытые пазы, представляющие собой горизонтальный паз для установки троса, выполненный заодно с вертикальным пазом для установки фиксирующей крышки, при этом, каждая фиксирующая крышка содержит паз встречный пазу для установки троса на стойках, крышки могут закрепляться при помощи защелок, выполненных на их поверхности, или фиксироваться посредством винтов.
Недостатками известного устройства являются:
- известная стойка предназначена для тросового ограждения и ее затруднительно использовать для ограждений, секции которой выполнены из сетки, состоящей из горизонтальных и вертикальных стержней или жил, поскольку форма и взаиморасположение пазов на стойке предполагают подбор сетки с конкретным шагом ячеек, а так же не позволяют компенсировать погрешности шага горизонтальных стержней или жил сетки;
- известную стойка сложна в изготовлении, поскольку пазы могут выполнять свою функцию, только если они усилены приливами, соединенными ребрами жесткости с противоположной полкой двутавра, при этом приливы должны быть выполнены заодно с двутавром, а такая конструкция может быть изготовлена только способом литья. При иных способах установки приливов не будет обеспечиваться прочность их соединения с двутавром;
- сложность монтажа ограждения с использованием известной стойки, поскольку присутствует необходимость фиксации крышек посредством винтов, при этом, возможность фиксации крышек при помощи защелок в материалах заявки не раскрыта и, исходя из переставленной на чертежах формы крышек представляется сомнительной.
Наиболее конструктивно близкой к заявленному техническому решению является известное по патенту RU 193681 устройство защитного сетчатого ограждения, содержащее несущие стойки для установки по длине ограждаемого участка и закрепленную на стойках с помощью узлов крепления ограждающую сетку, где узел крепления имеет внутренний паз, в котором размещена жила ограждающей сетки, и состоит из внутреннего элемента, размещенного в выполненном в несущей стойке продольном пазу, и прижимного элемента, установленного на внутреннем элементе посредством фиксирующих элементов, при этом несущие стойки и элементы узла крепления выполнены из композитного материала.
Известное устройство защитного сетчатого ограждения позволяет исключить необходимость в подборе сетки с конкретным шагом ячеек, однако недостатками известного защитного сетчатого ограждения являются сложность конструкции узлов крепления, состоящих из внешнего и внутреннего элементов; сложность процесса сборки ограждения.
Задачей заявленного изобретения является создание простого и надежного устройства ограждения с использованием ограждающей сетки с разным шагом ячеек и возможностью компенсировать погрешности шага горизонтальных стержней или жил сетки.
Техническим результатом заявленного изобретения является упрощение конструкции; увеличение скорости и упрощение процесса сборки ограждения.
Технический результат достигается тем, что у ограждения, содержащего несущие стойки, выполненные в виде трубчатого профиля для установки по длине ограждаемого участка, и закрепленную на стойках с помощью узлов крепления ограждающую сетку, согласно изобретению, каждый узел крепления состоит из горизонтального выреза, прорезающего лицевую стенку, выполненного заодно с Г-образными вырезами на двух боковых стенках несущей стойки с образованием единого фигурного выреза, и фиксирующего элемента, выполненного в виде П-образного профиля с горизонтальным вырезом и зубцами-зацепами, выполненными с возможностью сцепления с опорными канавками и/или выступом на боковых стенках несущей стойки.
Выполнение узлов крепления сетки к несущим стойкам в виде фигурного выреза и П-образного фиксирующего элемента значительно упрощает конструкцию, поскольку исключается использование отдельных разъемных узлов крепления, а сетка, установленная в вертикальную часть Г-образных вырезов, имеет необходимую степень свободы смещения вверх-вниз, что компенсирует погрешности шага горизонтальных стержней или жил сетки, при этом сетка фиксируется элементом из П-образного профиля, сцепляемого с опорными канавками и/или выступом на боковых стенках несущей стойки, что обеспечивает поджатие сетки внутри выреза и исключает ее колебания. Выполнение узлов крепления сетки к несущим стойкам, согласно изобретения, позволяет увеличить скорость и упростить процесс монтажа ограждения, поскольку отсутствует необходимость отдельной установки и сборки отдельных разъемных узлов крепления.
Заявителем изготовлен и собран опытный образец заявленного ограждения. При этом, монтаж пяти секций ограждения, с установкой на опорные подставки, занял не более 10-ти минут. Сетка из композитного материала надежно и без смещений фиксировалась на несущих стойках. Демонтаж ограждения так же занял не более 10-ти минут.
Сущность заявленного изобретения поясняется рисунками:
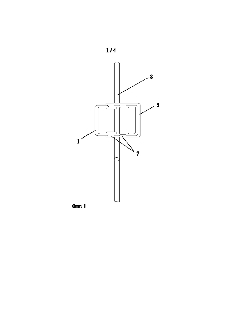
На фиг. 1 показан вид сверху в разрезе на фиксирующий элемент, установленный на опорную стойку;
На фиг. 2 показан в аксонометрии вид на опорную стойку с установленной в нее сеткой без фиксирующих элементов;
На фиг. 3 показан в аксонометрии вид на фиксирующий элемент в процессе установки на опорную стойку;
На фиг. 4 показан в аксонометрии вид на фиксирующий элемент, установленный на опорную стойку.
Ограждение содержит несущие стойки 1, выполненные в виде трубчатого профиля, с опорными канавками и/или выступом 2 на боковых стенках несущих стоек 1, узлы крепления в виде фигурного выреза 3 с Г-образными вырезами 4 на двух боковых стенках несущих стоек 1, фиксирующих элементов 5, выполненных в виде П-образного профиля с горизонтальным вырезом 6 и зубцами-зацепами 7.
Несущие стойки и фиксирующие элементы могут быть выполнены из алюминиевого или стального профиля. В качестве сетки может использоваться как металлическая, так и композитная сета, нарезанная секциями под длину пролетов ограждения или рулонная.
Несущие стойки 1 устанавливают на опорные подставки или в подготовленные ямки с последующим бетонированием (на чертежах не показано). Устанавливают ограждающую сетку 8 в фигурные вырезы 2 несущих стоек 1. Для этого горизонтальные жилы или стержни сетки 8 совмещают с горизонтальными вырезами на лицевых стенках опорных стоек 1 и надавливают. После того, как жилы или стержни сетки 8 утоплены в горизонтальные вырезы до упора, сетку опускают вниз, при этом горизонтальные жилы или стержни сетки 8 устанавливаются в вертикальные части Г-образных вырезов 4 на двух боковых стенках каждой несущей стойки 1. После того как сетка 8 установлена в фигурные вырезы 3, поверх фигурных вырезов 3 на стойки 1 устанавливают фиксирующие элементы 5 таким образом, что соответствующая горизонтальная жила или стержень сетки 1 размещается внутри горизонтального выреза 6 фиксирующего элемента 5, фиксирующие элементы 5 сцепляются с вертикальными опорными канавками и/или выступом 2 на боковых стенках несущей стойки 1 зубцами-зацепами 7. Вертикальные опорные канавки и/или выступ 2 выполнены, преимущественно, по всей длине боковых стенок несущих стоек 1. Фигурные вырезы 3 на несущих стойках 1 выполняются с шагом, соответствующим шагу горизонтальных жил или стержней сетки 8. Количество узлов крепления может быть любым.
При повреждении фиксирующего элемента достаточно отцепить его зубцы-зацепы от опорных канавок и/или выступов на боковых стенках несущей стойки и заменить его на новый, без демонтажа других фиксирующих элементов или секций сетки. Вследствие простоты установки и снятия фиксирующих элементов так же легко можно заменить поврежденную секцию сетки. Таким образом, заявленное изобретение обеспечивает высокую ремонтопригодность конструкции, вследствие простоты замены узлов крепления, целых несущих стоек или участков сетки без демонтажа всего ограждения.
| название | год | авторы | номер документа |
|---|---|---|---|
| СИСТЕМА СТРОИТЕЛЬНЫХ СВЕТОПРОЗРАЧНЫХ ОГРАЖДАЮЩИХ КОНСТРУКЦИЙ | 2015 |
|
RU2599243C1 |
| СИСТЕМА КРЕПЛЕНИЯ ПАНЕЛЕЙ | 2018 |
|
RU2684541C1 |
| Защитное ограждение сооружения | 1986 |
|
SU1392236A1 |
| УСТРОЙСТВО КРЕПЛЕНИЯ ОБЛИЦОВОЧНОЙ ПАНЕЛИ | 2021 |
|
RU2811360C2 |
| КРОНШТЕЙН СИСТЕМЫ ОБЛИЦОВКИ ЗДАНИЙ И ПОМЕЩЕНИЙ | 2017 |
|
RU2641143C1 |
| СИСТЕМА ОБЛИЦОВКИ С ВОЗМОЖНОСТЬЮ УСТАНОВКИ ВСТРОЕННОГО ОСВЕЩЕНИЯ И ПРОФИЛЬ ДЛЯ СИСТЕМЫ | 2021 |
|
RU2772855C1 |
| Комплект строительных профилей для сооружения каркасной конструкции здания или сооружения и каркасная конструкция здания или сооружения с использованием комплекта строительных профилей | 2017 |
|
RU2663857C1 |
| Устройство ограждения транспортерной линии | 2021 |
|
RU2788767C1 |
| ВОДОСТОЧНЫЙ ЖЕЛОБ, ПРЕИМУЩЕСТВЕННО, ДЛЯ ТЕПЛИЦ | 1995 |
|
RU2073778C1 |
| НАВЕСНАЯ СИСТЕМА ОБЛИЦОВКИ ЗДАНИЙ И ПОМЕЩЕНИЙ, В ТОМ ЧИСЛЕ ДЛЯ СОЗДАНИЯ ПЕРЕГОРОДОК | 2016 |
|
RU2641140C1 |
Изобретение относится к области строительства, в частности к защитным ограждениям. Техническим результатом заявленного изобретения является упрощение конструкции; увеличение скорости и упрощение процесса сборки ограждения. Технический результат достигается тем, что ограждение содержит несущие стойки, выполненные в виде трубчатого профиля для установки по длине ограждаемого участка, и закрепленную на стойках с помощью узлов крепления ограждающую сетку, при этом каждый узел крепления состоит из горизонтального выреза, прорезающего лицевую стенку, выполненного заодно с Г-образными вырезами на двух боковых стенках несущей стойки с образованием единого фигурного выреза, и фиксирующего элемента, выполненного в виде П-образного профиля с горизонтальным вырезом и зубцами-зацепами, выполненными с возможностью сцепления с опорными канавками и/или выступом на боковых стенках несущей стойки. 4 ил.
Ограждение, содержащее несущие стойки, выполненные в виде трубчатого профиля для установки по длине ограждаемого участка, и закрепленную на стойках с помощью узлов крепления ограждающую сетку, отличающееся тем, что каждый узел крепления состоит из горизонтального выреза, прорезающего лицевую стенку несущей стойки, выполненного заодно с Г-образными вырезами на двух боковых стенках несущей стойки с образованием единого фигурного выреза, и фиксирующего элемента, выполненного в виде П-образного профиля с горизонтальным вырезом и зубцами-зацепами, выполненными с возможностью сцепления с опорными канавками и/или выступом на боковых стенках несущей стойки.
| БОБИНОДЕРЖАТЕЛЬ К ПРИЕМНОМУ МЕХАНИЗМУ ПРЯДИЛЬНОЙ МАШИНЫ | 0 |
|
SU193681A1 |
| ОГРАЖДЕНИЕ | 2007 |
|
RU2333327C1 |
| МАГНЕТРОН | 1935 |
|
SU46636A1 |
| Дешифратор | 1959 |
|
SU131781A1 |
| СПОСОБ ПОЛУЧЕНИЯ ПРОСТЫХ ПОЛИЭФИРОВ α-ОКСИМЕТИЛ-β-ОКСИ(ОКСО)-ПРОПИЛ-АНГИДРИДО-ЯНТАРНОЙ КИСЛОТЫ (ППЭАЯК) | 1999 |
|
RU2170239C2 |
Авторы
Даты
2025-05-30—Публикация
2024-12-06—Подача