Область техники, к которой относится изобретение
[0001] Настоящее изобретение, в общем, относится к области подводной добычи газа. В частности, оно относится к подводной обработке газа с целью его экспортирования на морские или береговые объекты.
Уровень техники
[0002] В существующих схемах экспортирование газа из подводных промысловых месторождений, и в частности из газоконденсатных месторождений, осуществляется частично по длинным трубам, соединяющим промысловые месторождения с наземными объектами.
[0003] Используемые на практике установки по экспортированию газа обычно не включают в себя какие-либо установки по обработке. Добытый газ обычно экспортируется по трубе без предварительной обработки (за исключением добавления химикатов для предотвращения твердых отложений, ограничения коррозии и т.д.). Также известны публикации WO 2015/181386, WO 2016/192813 и WO 2014/079515, относящиеся к установкам для экспортирования газа, содержащим, в частности, модуль охлаждения, в который подается смесь газ/жидкость, поступающая непосредственно с газовых месторождений, и модуль разделения газа/жидкости, обеспечивающий разделение газа и жидкости для их транспортирования на наземные объекты по специально предназначенным экспортирующим трубопроводам.
[0004] Этот тип установки подвержен различным проблемам, которые необходимо решить. Одной из основных проблем является скопление жидкости, которое может возникнуть в нижних точках трубы экспортирующего газопровода. Эта проблема возникает, когда скорость газа становится недостаточной, чтобы увлекать жидкость, и вызывает закупорку потоков в трубопроводе экспортирования газа. Другая проблема заключается в обеспечении того, чтобы давление экспортируемого газа всегда оставалось достаточным для обеспечения эффективного экспортирования на наземные объекты. Также важно ограничить или даже предотвратить образование твердых отложений (гидратов, парафинов и т.д.) в экспортирующем газопроводе.
Сущность изобретения
[0005] Таким образом, основная цель настоящего изобретения состоит в том, чтобы предложить подводную технологическую установку, которая позволит преодолеть вышеуказанные проблемы.
[0006] Эта цель достигается благодаря установке для обработки газа из подводного промыслового газового месторождения, содержащей:
- модуль охлаждения, выполненный с возможностью получения смеси газ/жидкость, поступающей непосредственно из по меньшей мере одного подводного газового месторождения, для охлаждения газа до температуры, обеспечивающей возможность конденсации тяжелых углеводородов и воды, присутствующих в смеси; и
- модуль разделения газа/жидкости, выполненный с возможностью получения смеси газ/жидкость, поступающей из модуля охлаждения, и подачи обработанного газа в трубопровод экспортирования газа, а жидкости - в трубопровод экспортирования жидкости;
- и причем, в соответствии с изобретением, модуль разделения газа/жидкости содержит сепаратор газа/жидкости и коалесцирующий фильтр-сепаратор, соединенные последовательно, при этом сепаратор газа/жидкости имеет выход для газа, соединенный с входом коалесцирующего фильтра-сепаратора, и выход для жидкости, соединенный с трубопроводом экспортирования жидкости, при этом коалесцирующий фильтр-сепаратор имеет выход для газа, соединенный с трубопроводом экспортирования газа, и выход для жидкости, соединенный с трубопроводом экспортирования жидкости.
[0007] Установка для обработки газа в соответствии с настоящим изобретением примечательна, в частности, тем, что ее модуль разделения газа/жидкости содержит сепаратор газа/жидкости, установленный последовательно с коалесцирующий фильтром-сепаратором, что обеспечивает высокую эффективность разделения. В более общем смысле, установка согласно изобретению основана на снижении точки росы смеси газ/жидкость за счет объединения модуля охлаждения и высокопроизводительного модуля разделения газа/жидкости, что может обеспечить возможность пассивного экспортирования газа (т.е. без необходимости в компрессоре). Таким образом, такая установка находит особенно выгодное применение на газовых месторождениях, расположенных на большой глубине и вдали от берега. Кроме того, понижение точки росы смеси газ/жидкость осуществляется до уровня, обеспечивающего возможность последующего экспортирования газа, который полностью (или почти полностью) остается в газовой фазе на протяжении всего экспортирования.
[0008] В частности, модуль охлаждения в установке согласно изобретению обеспечивает возможность конденсации тяжелых углеводородов и воды, присутствующих в смеси газ/жидкость, которые обычно конденсируются в трубопроводе экспортирования газа. Охлаждение также происходит при температуре ниже той, которая достигается газом в экспортирующем газопроводе.
[0009] Модуль охлаждения может содержать пассивный теплообменник или активный теплообменник. В этом случае он может дополнительно содержать клапан с эффектом Джоуля-Томсона или турбодетандер, установленный ниже по потоку от теплообменника.
[0010] Сепаратор газа/жидкости модуля разделения газа/жидкости может представлять собой гравитационный сепаратор, циклонный сепаратор или центробежный сепаратор.
[0011] Предпочтительно, модуль разделения газа/жидкости дополнительно содержит блок предварительной обработки газа, расположенный между сепаратором газа/жидкости и коалесцирующим фильтром-сепаратором, для удаления твердых частиц, которые могут быть захвачены газом, и для снижения содержания жидкости перед коалесцирующим фильтром-сепаратором с целью продления срока службы коалесцирующего фильтра-сепаратора.
[0012] Коалесцирующий фильтр-сепаратор может быть интегрирован в сепаратор газа/жидкости.
[0013] Трубопровод экспортирования газа, в качестве преимущества, может быть свободным от средств сжатия газа.
[0014] Что касается трубопровода экспортирования жидкости, то он, предпочтительно, может быть оснащен средствами перекачки жидкости.
[0015] Предпочтительно, модуль разделения газа/жидкости содержит два коалесцирующих фильтра-сепаратора, установленных параллельно, чтобы обеспечить резервирование в случае проблемы с одним из сепараторов, а также обеспечить непрерывность технологического процесса на этапах технического обслуживания коалесцирующих фильтров.
[0016] Также предпочтительно, установка дополнительно содержит средства для впрыскивания ингибитора гидратообразования выше по потоку от модулем охлаждения и/или средства для впрыскивания ингибитора парафина выше по потоку от модулем охлаждения. Эти средства впрыскивания позволяют ограничить или даже предотвратить образование твердых отложений (гидратов, парафинов и т.п.) в установке, а также в трубопроводах экспортирования газа и жидкости.
[0017] Соответственно, изобретение также относится к способу подводной обработки газа из подводного промыслового месторождения газа, последовательно включающему в себя:
- этап охлаждения смеси газ/жидкость, поступающей непосредственно из по меньшей мере одного подводного промыслового месторождения газа, чтобы сконденсировать тяжелые углеводороды и воду и довести смесь газ/жидкость до температуры ниже, чем температура газа в трубопроводе экспортирования газа; и
- этап подводного разделения газа/жидкости для подачи обработанного газа в трубопровод экспортирования газа, а жидкости - в трубопровод экспортирования жидкости; и в котором
- этап разделения газа/жидкости включает в себя первую стадию разделения газа/жидкости, за которой непосредственно следует вторая стадия разделения газа/жидкости за счет коалесценции, чтобы снизить точку росы обработанного газа до уровня, обеспечивающего возможность его экспортирования в монофазной форме.
[0018] Изобретение также относится к применению способа, как раскрыто выше, к газоконденсатному месторождению, разрабатываемому в настоящее время, или к газоконденсатному месторождению, которое еще не разрабатывается.
Краткое описание чертежей
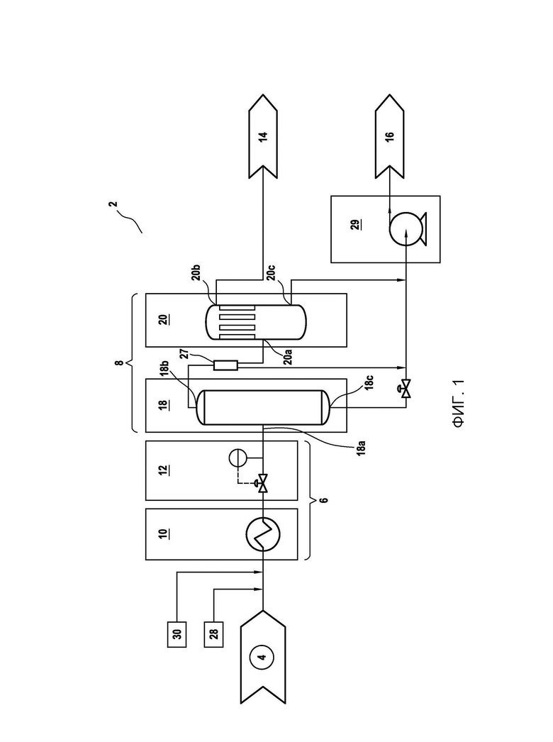
[0019] На фиг. 1 представлен схематический вид подводной установки для обработки газа согласно изобретению.
[0020] На фиг. 2 представлен схематический вид примера коалесцирующего фильтра-сепаратора установки согласно изобретению.
Раскрытие вариантов осуществления
[0021] Изобретение относится к подводной обработке газа из подводного месторождения газа. Оно находит предпочтительное (но не ограниченное) применение на подводных газоконденсатных месторождениях, расположенных на больших глубинах и вдали от берега.
[0022] На фиг. 1 показан пример подводной установки 2 для обработки газа согласно изобретению, снабжаемой одним или более подводными промысловыми месторождениями 4 газа.
[0023] Как правило, такая установка 2 для обработки газа содержит модуль 6 охлаждения, в который подается смесь газ/жидкость, поступающая непосредственно из подводного газового месторождения (месторождений) 4, и модуль 8 разделения газа/жидкости, в который подается смесь газ/жидкость, поступающая из модуля охлаждения.
[0024] В частности, модуль 6 охлаждения имеет функцию охлаждения смеси газ/жидкость, чтобы довести ее до температуры, обеспечивающей возможность конденсации тяжелых углеводородов и воды, присутствующих в смеси (и которые обычно конденсируются далее по потоку в трубопроводе для экспорта газа).
[0025] С этой целью модуль 6 охлаждения из примерного варианта осуществления, показанного на фиг. 1, содержит пассивный теплообменник 10, вход которого непосредственно соединен с выходом устьевых сооружений газового подводного месторождения (месторождений) 4, и клапан 12 с эффектом Джоуля-Томсона, расположенный на выходе из пассивного теплообменника 10.
[0026] Клапаном 12 с эффектом Джоуля-Томсона управляют так, чтобы получать постоянное и заданное давление на выходе из трубопровода экспортирования газа (обычно клапаном такого типа управляют для поддержания определенной температуры на выходе клапана). Зная особенности трубопровода экспортирования газа, можно управлять давлением после клапана с эффектом Джоуля-Томсона. При этом за счет обеспечения определенного уровня давления газа на выходе из экспортного газопровода обеспечивается максимальная температура на выходе клапана 12 с эффектом Джоуля-Томсона.
[0027] Альтернативно пассивному теплообменнику, можно предусмотреть активный теплообменник, опционально связанный с клапаном с эффектом Джоуля-Томсона ниже по потоку. Таким активным теплообменником может быть теплообменник жидкость/газ с перекачкой забортной воды, теплообменник газ/газ с повторным использованием холодного газа на выходе из станции, теплообменник с теплоносителем в виде текучей среды и холодильным контуром и т.д.
[0028] Альтернативно клапану с эффектом Джоуля-Томсона, можно предусмотреть турбодетандер, установленный ниже по потоку от пассивного теплообменника (или ниже по потоку от активного теплообменника, если применимо).
[0029] Модуль 8 разделения газа/жидкости принимает на вход охлажденную смесь газ/жидкость, поступающую из модуля охлаждения, и подает как обработанный газ в трубопровод 14 экспортирования газа, так и жидкость в трубопровод 16 экспортирования жидкости.
[0030] Согласно изобретению, модуль 8 разделения газа/жидкости содержит сепаратор 18 газа/жидкости и коалесцирующий фильтр-сепаратор 20, соединенные последовательно.
[0031] Более конкретно, сепаратор 18 газа/жидкости имеет вход 18а для смеси газа/жидкости, соединенный с выходом модуля 6 охлаждения, выход 18b для газа, соединенный с входом коалесцирующего фильтра-сепаратора 20, и выход 18 с для жидкости, соединенный с трубопроводом 16 экспортирования жидкости.
[0032] Что касается коалесцирующего фильтра-сепаратора 20, то он имеет вход 20а, соединенный с выходом 18b для газа сепаратора 18 газа/жидкости, выход 20b для газа, соединенный с трубопроводом 14 экспортирования газа и, по меньшей мере, выход 20 с, соединенный с трубопроводом 16 экспортирования жидкости 16.
[0033] Сепаратор газа/жидкости 18 модуля разделения газа/жидкости может быть сепаратором гравитационного типа, сепаратором циклонного типа или даже сепаратором центробежного типа. Например, можно использовать вертикальный сепаратор с множеством труб.
[0034] Теперь со ссылкой на фиг. 2 будет описан пример конструкции коалесцирующего фильтра-сепаратора 20.
[0035] Как известно, коалесценция представляет собой действие, при котором происходит слияние мелких капель жидкости смеси газ/жидкость, создаваемых турбулентностью внутри сепаратора, с образованием более крупных капель. Это явление обеспечивает лучшее гравитационное отделение жидкости во время прохождения через сепаратор.
[0036] В примерном варианте осуществления, показанном на фиг. 2, вход 20а коалесцирующего фильтра-сепаратора 20 расположен в нижней части сепаратора, выход 20b для газа расположен в верхней части сепаратора, при этом предусмотрены два выхода для жидкости, а именно: выход 20 с-1 в нижней части и выход 20 с-2 в промежуточной части.
[0037] Насыщенный каплями жидкости газ, поступающий внутрь сепаратора через вход 20а, подвергается первой фазе гравитационного разделения в нижней части 22 сепаратора. Часть жидкости, образующейся в результате этого разделения, выводится через выход 20 с-1 для жидкости в нижней части.
[0038] Смесь газ/жидкость затем поднимается к верхней части 24 сепаратора, проходя через один или более фильтрующих картриджей 26, внутри которых капли жидкости сливаются с образованием более крупных капель. Образовавшиеся таким образом капли жидкости падают и накапливаются внизу верхней части 24 сепаратора, откуда они выводятся через промежуточный выход 20 с-2. Что касается газа, освобожденного от этих капель жидкости, то он уходит вверх через выход 20b для газа.
[0039] Следует отметить, что коалесцирующий фильтр-сепаратор может представлять собой устройство, отдельное от сепаратора газа/жидкости, поскольку оно может быть интегрировано с ним.
[0040] Следует также отметить, что модуль разделения газа/жидкости может предпочтительно содержать два коалесцирующих фильтра-сепаратора, установленных параллельно, чтобы обеспечить резервирование в случае поломки.
[0041] Предпочтительно, модуль 8 разделения газа/жидкости дополнительно содержит блок 27 предварительной обработки газа, расположенный между сепаратором 18 газа/жидкости и коалесцирующим фильтром-сепаратором 20, для удаления твердых частиц, которые могут быть захвачены газом и уменьшения содержания жидкости перед коалесцирующим фильтром-сепаратором.
[0042] Также предпочтительно, трубопровод 16 экспортирования жидкости снабжен средством перекачки жидкости, как правило, подводным насосом 29.
[0043] И наоборот, установка согласно изобретению может позволить избежать необходимости прибегать к средствам сжатия газа для трубопровода 14 экспортирования газа.
[0044] Более предпочтительно, установка дополнительно содержит средства 28 для впрыскивания ингибитора гидратообразования выше по потоку от модуля 6 охлаждения. Аналогично установка может также содержать средства 30 для впрыскивания ингибитора парафина выше по потоку от модуля охлаждения.
| название | год | авторы | номер документа | 
|---|---|---|---|
| СПОСОБ ПОЛУЧЕНИЯ КСЕНОНОВОГО КОНЦЕНТРАТА ИЗ ПРИРОДНОГО ГОРЮЧЕГО ГАЗА, ПРОДУКТОВ ЕГО ПЕРЕРАБОТКИ, ВКЛЮЧАЯ ТЕХНОГЕННЫЕ ОТХОДЯЩИЕ ГАЗЫ, И УСТРОЙСТВО ДЛЯ ЕГО РЕАЛИЗАЦИИ (ВАРИАНТЫ) | 2010 | 
 | RU2466086C2 | 
| СПОСОБ ПОДГОТОВКИ УГЛЕВОДОРОДНОГО ГАЗА К ТРАНСПОРТУ | 2014 | 
 | RU2555909C1 | 
| СПОСОБ ПОДГОТОВКИ УГЛЕВОДОРОДНОГО ГАЗА К ТРАНСПОРТУ | 2014 | 
 | RU2557880C1 | 
| СПОСОБ ПОДГОТОВКИ УГЛЕВОДОРОДНОГО ГАЗА К ТРАНСПОРТУ "ОПТИМЕТ" | 1999 | 
 | RU2175882C2 | 
| СПОСОБ ПОДГОТОВКИ УГЛЕВОДОРОДНОГО ГАЗА К ТРАНСПОРТУ | 2015 | 
 | RU2599157C1 | 
| СПОСОБ ПОДГОТОВКИ УГЛЕВОДОРОДНОГО ГАЗА К ТРАНСПОРТУ | 2005 | 
 | RU2294430C1 | 
| СПОСОБ ПОДГОТОВКИ УГЛЕВОДОРОДНОГО ГАЗА К ТРАНСПОРТУ | 2004 | 
 | RU2294429C2 | 
| СПОСОБ ПРОМЫСЛОВОЙ ПОДГОТОВКИ ПРОДУКЦИИ ГАЗОКОНДЕНСАТНЫХ ЗАЛЕЖЕЙ С ИСПОЛЬЗОВАНИЕМ В КАЧЕСТВЕ ХЛАДАГЕНТА НЕСТАБИЛЬНОГО ГАЗОВОГО КОНДЕНСАТА И УСТАНОВКА ДЛЯ ЕГО ОСУЩЕСТВЛЕНИЯ | 2012 | 
 | RU2493898C1 | 
| СПОСОБ ПОДГОТОВКИ УГЛЕВОДОРОДНОГО ГАЗА К ТРАНСПОРТУ | 2015 | 
 | RU2600141C1 | 
| СПОСОБ СБОРА И ПОДГОТОВКИ ГАЗОКОНДЕНСАТНОЙ СМЕСИ К ТРАНСПОРТУ ПРИ РАЗРАБОТКЕ ГАЗОКОНДЕНСАТНЫХ МЕСТОРОЖДЕНИЙ С ВЫСОКИМ ПЛАСТОВЫМ ДАВЛЕНИЕМ (ВАРИАНТЫ) | 2000 |  | RU2173203C1 | 
 
		
		 
		
         
         
            Изобретение относится к подводной установке (2) для обработки газа из подводного промыслового месторождения газа. Установка содержит: модуль (6) охлаждения, выполненный с возможностью получения смеси газ/жидкость, поступающей непосредственно из по меньшей мере одного подводного газового месторождения (4), для охлаждения газа до температуры, обеспечивающей возможность конденсации тяжелых углеводородов и воды, присутствующих в смеси; и модуль (8) разделения газа/жидкости, выполненный с возможностью получения смеси газ/жидкость, поступающей из модуля (6) охлаждения, и подачи обработанного газа в трубопровод (14) экспортирования газа, а жидкости - в трубопровод (16) экспортирования жидкости. Установка характеризуется тем, что модуль (8) разделения газа/жидкости содержит сепаратор (18) газа/жидкости и коалесцирующий фильтр-сепаратор (20), соединенные последовательно, при этом сепаратор газа/жидкости имеет выход (18b) для газа, соединенный с входом (20а) коалесцирующего фильтра-сепаратора, и выход (18 с) для жидкости, соединенный с трубопроводом (16) экспортирования жидкости, при этом коалесцирующий фильтр-сепаратор имеет выход (20b) для газа, соединенный с трубопроводом экспортирования газа, и выход (20 с) для жидкости, соединенный с трубопроводом экспортирования жидкости. Также изобретение относится к способу подводной обработки газа и применению способа. Использование предлагаемого изобретения позволяет исключить проблему скопления жидкости в нижних точках трубы, также позволяет поддерживать давление и предотвратить образование твердых отложений. 4 н. и 10 з.п. ф-лы, 2 ил.
1. Подводная установка (2) для обработки газа из подводного промыслового месторождения газа, содержащая:
- модуль (6) охлаждения, выполненный с возможностью получения смеси газ/жидкость, поступающей непосредственно из по меньшей мере одного подводного газового месторождения (4), для охлаждения газа до температуры, обеспечивающей возможность конденсации тяжелых углеводородов и воды, присутствующих в смеси; и
- модуль (8) разделения газа/жидкости, выполненный с возможностью получения смеси газ/жидкость, поступающей из модуля (6) охлаждения, и подачи обработанного газа в трубопровод (14) экспортирования газа, а жидкости - в трубопровод (16) экспортирования жидкости;
отличающаяся тем, что модуль (8) разделения газа/жидкости содержит сепаратор (18) газа/жидкости и коалесцирующий фильтр-сепаратор (20), соединенные последовательно, при этом сепаратор газа/жидкости имеет выход (18b) для газа, соединенный с входом (20а) коалесцирующего фильтра-сепаратора, и выход (18 с) для жидкости, соединенный с трубопроводом (16) экспортирования жидкости, при этом коалесцирующий фильтр-сепаратор имеет выход (20b) для газа, соединенный с трубопроводом экспортирования газа, и выход (20 с) для жидкости, соединенный с трубопроводом экспортирования жидкости.
2. Установка по п. 1, в которой модуль (6) охлаждения содержит пассивный теплообменник (10) или активный теплообменник.
3. Установка по п. 2, в которой модуль охлаждения дополнительно содержит клапан (12) с эффектом Джоуля-Томсона или турбодетандер, установленный ниже по потоку от теплообменника (10).
4. Установка по любому из пп. 1-3, в которой сепаратор (18) газа/жидкости модуля разделения газа/жидкости представляет собой гравитационный сепаратор, или циклонный сепаратор, или центробежный сепаратор.
5. Установка по любому из пп. 1-4, в которой модуль (8) разделения газа/жидкости дополнительно содержит блок (27) предварительной обработки газа, расположенный между сепаратором (18) газа/жидкости и коалесцирующим фильтром-сепаратором (20), для удаления твердых частиц, которые могут быть захвачены газом, и для снижения содержания жидкости перед коалесцирующим фильтром-сепаратором.
6. Установка по любому из пп. 1-5, в которой коалесцирующий фильтр-сепаратор интегрирован в сепаратор газа/жидкости.
7. Установка по любому из пп. 1-6, в которой трубопровод (14) экспортирования газа свободен от средств сжатия газа.
8. Установка по любому из пп. 1-7, в которой трубопровод (16) экспортирования жидкости оснащен средствами (29) перекачки жидкости.
9. Установка по любому из пп. 1-8, в которой модуль разделения газа/жидкости содержит два коалесцирующих фильтра-сепаратора, установленных параллельно.
10. Установка по любому из пп. 1-9, дополнительно содержащая средства (28) для впрыскивания ингибитора гидратообразования выше по потоку от модуля (6) охлаждения.
11. Установка по любому из пп. 1-10, дополнительно содержащая средства (30) для впрыскивания ингибитора парафина выше по потоку от модуля (6) охлаждения.
12. Способ подводной обработки газа из подводного месторождения газа, последовательно включающий в себя:
- этап охлаждения смеси газ/жидкость, поступающей непосредственно из по меньшей мере одного подводного промыслового месторождения (4) газа, чтобы сконденсировать тяжелые углеводороды и воду и довести смесь газ/жидкость до температуры ниже, чем температура газа в трубопроводе экспортирования газа; и
- этап подводного разделения газа/жидкости для подачи обработанного газа в трубопровод экспортирования газа, а жидкости - в трубопровод экспортирования жидкости;
отличающийся тем, что этап разделения газа/жидкости включает в себя первую стадию разделения газа/жидкости, за которой непосредственно следует вторая стадия разделения газа/жидкости за счет коалесценции, чтобы снизить точку росы обработанного газа до уровня, обеспечивающего возможность его экспортирования в монофазной форме.
13. Применение способа по п. 12 к газоконденсатному месторождению, разрабатываемому в настоящее время.
14. Применение способа по п. 12 к еще не разрабатываемому газоконденсатному месторождению.
| US 2019381423 А1, 19.12.2019 | |||
| ЕР 3202482 А1, 09.08.2017 | |||
| US 6251168 B1, 26.06.2001 | |||
| US 2009139403 A1, 04.06.2009 | |||
| УНИВЕРСАЛЬНЫЙ СПОСОБ РАЗДЕЛЕНИЯ И СЖИЖЕНИЯ ГАЗА (ВАРИАНТЫ) И УСТРОЙСТВО ДЛЯ ЕГО ОСУЩЕСТВЛЕНИЯ | 2005 | 
 | RU2272228C1 | 
| ПОДВОДНАЯ УСТАНОВКА ДЛЯ РАЗДЕЛЕНИЯ ПОЛУЧЕННОЙ ИЗ ПОДВОДНОЙ СКВАЖИНЫ СМЕСИ (ВАРИАНТЫ) И СПОСОБ РАЗДЕЛЕНИЯ ПОЛУЧЕННОЙ ИЗ ПОДВОДНОЙ СКВАЖИНЫ СМЕСИ В ПОДВОДНОЙ УСТАНОВКЕ | 2011 | 
 | RU2562290C2 | 
Авторы
Даты
2025-06-05—Публикация
2022-09-14—Подача