ФИЛЬТР И ФИЛЬТРОЭЛЕМЕНТ Российский патент 2025 года по МПК B01D29/11 B01D29/23 B01D33/52 E21B43/08 

Описание патента на изобретение RU2841522C1

Изобретение относится к области машиностроения, в частности к фильтроэлементам, используемым в составе фильтров для очистки жидких и газообразных сред.

Известен фильтр для скважинного применения, который включает в себя полый корпус фильтра, включающий фильтрующий материал и перфорированный сепаратор, который окружает корпус фильтра и пластически деформируется радиально внутрь по направлению к внешней периферии корпуса фильтра таким образом, что внешняя периферия корпуса фильтра может соприкасаться с внутренней периферией корпуса фильтра по всей окружности корпуса фильтра без превышения максимально допустимого удлинения корпуса фильтра (по патенту US6382318, МПК Е21В 43/04, опубл. 07.05.02).

Недостатком данного фильтра является то, что фильтрующие слои выполнены одинаковыми и при эксплуатации фильтра основную работу по задерживанию частиц выполняет только один наружный слой, у которого также отсутствует способность фильтра к регенерации.

Известен расширяемый фильтрующий узел для внутрискважинного использования, включающий базовую трубу, имеющую внутреннюю поверхность, продольную ось и множество отверстий; по меньшей мере один фильтрующий слой, установленный над указанной базовой трубой, фильтрующий слой отжигается для облегчения последующего расширения в скважине (по патенту US6607032, МПК Е21В 43/08, опубл. 19.08.03).

Недостатком данного фильтра является отсутствие возможности самоочистки фильтрующего узла в ходе эксплуатации.

Известен разборный скважинный фильтр, который содержит несущий каркас, выполненный из перфорированной трубы. На трубе между двумя упорами установлены фильтрующие элементы. Каждый фильтрующий элемент выполнен из проволочного материала, запрессованного в перфорированные корпуса, которые установлены на перфорированной трубе с зазором, выполняющим роль внутреннего дренажного слоя. Соседние корпуса частично входят друг в друга за счет того, что одна из сторон корпуса выполнена с кольцевой впадиной, наружный диаметр которой равен или меньше внутреннего диаметра другой стороны корпуса (по патенту RU2348795, МПК Е21В 43/08, опубл. 10.03.09).

Недостатком данной конструкции является то, что в процессе работы фильтр с фильтрующими элементами из прессованного проволочного материала изначально не обладает заданной тонкостью фильтрации из-за особенностей технологии изготовления и достигает ее, когда частично забивается, что требует периодической промывки или замены.

Наиболее близким техническим решением является фильтроэлемент, который включает в себя несущий каркас, фильтрующий экран, состоящий из по меньшей мере двух слоев, а именно имеет защитный каркас и дренажные слои, выполненные либо снаружи фильтрующего экрана, либо между его слоями. Фильтрующий экран находится в упруго растянутом состоянии. На основе указанного фильтроэлемента может быть выполнен и фильтр в целом (по патенту RU2703038, МПК Е21В 43/08, опубл. 15.10.19).

В известном фильтроэлементе реализуется возможность самоочистки фильтра за счет того, что фильтрующий экран находится в упруго растянутом состоянии. При прекращении протекания среды через фильтроэлемент фильтрующий экран, дополнительно растянутый разницей давления, создаваемой его сопротивлением, возвращается в исходное состояние, обеспечивая очистку от задержанных на фильтрующем экране частиц. Однако, предварительное упругое растяжение фильтрующего экрана, выполненного из проволочной сетки, негативно сказывается на тонкости фильтрации. При предварительном растяжении фильтрующего экрана расстояние между волокнами фильтра увеличивается, что негативно сказывается на тонкости фильтрации, так как в изначально фильтр будет пропускать частицы большего размера.

Технический результат, достигаемый при использовании предлагаемого изобретения, заключается в обеспечении возможности самоочищения фильтроэлемента в процессе работы при обеспечении и сохранении заданной тонкости фильтрации.

Указанный технический результат достигается тем, что фильтроэлемент содержит полый внутри и замкнутый в поперечном сечении проницаемый несущий каркас, поверх которого установлен фильтрующий экран, закрытый сверху защитным каркасом, и отличается тем, что несущий каркас выполнен из упругого материала, фильтрующий экран представляет собой рукав из упругого фильтровального материала с заданной тонкостью фильтрации, при этом периметр фильтрующего экрана в поперечном сечении меньше периметра несущего каркаса на 2-5%.

Также технический результат достигается тем, что фильтр содержит концевые детали, жестко соединенные между собой, и по меньшей мере один фильтроэлемент, который включает в себя полый внутри и замкнутый в поперечном сечении проницаемый несущий каркас, поверх которого установлен фильтрующий экран, закрытый сверху защитным каркасом, и отличается тем, что в фильтроэлементе несущий каркас выполнен из упругого материала, фильтрующий экран представляет собой рукав из упругого фильтровального материала с заданной тонкостью фильтрации, при этом периметр фильтрующего экрана в поперечном сечении меньше периметра несущего каркаса на 2-5%.

Кроме того, несущий каркас может быть выполнен из проволочно-проницаемого, сетчатого материала или других проницаемых структур.

Кроме того, фильтровальный материал с заданной тонкостью фильтрации может обладать гидрофобными, олеофобными свойствами, коррозионной стойкостью, теплостойкостью до 600°С.

Предлагаемое изобретение поясняется следующими чертежами:

Фиг. 1 - фильтроэлемент, общий вид с разрезом;

Фиг. 2 - фильтроэлемент, поперечное сечение;

Фиг. 3, 4 - работа фильтроэлемента;

Фиг. 5 - фильтр с фильтроэлементом, продольное сечение;

Фиг. 6 - зависимость среднего значения перепада давления от расхода воздуха;

Фиг. 7 - зависимость среднего значения перепада давления от продолжительности испытания;

Фиг. 8 - зависимость среднего значения коэффициента фильтрации от гранулометрического состава загрязнителя.

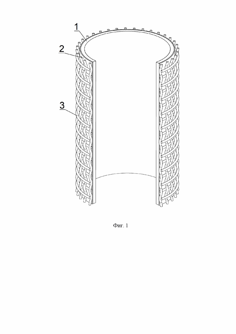
Фильтроэлемент (фиг. 1, 2) содержит полый внутри и замкнутый в поперечном сечении проницаемый несущий каркас 1, фильтрующий экран 2 и защитный каркас 3.

Несущий каркас 1 выполняется из проволочно-проницаемого, сетчатого или любого другого упругого материала.

Фильтрующий экран 2 представляет собой рукав из упругого фильтровального материала с заданной тонкостью фильтрации. Таким материалом может быть, например, полифениленсульфид, политетрафторэтилен (фторопласт-4), полиэстр, полиамид (арамид), а также ткани из базальта (кремнезёма), стекловолокна и др.

Защитный каркас 3 выполняется из металлической сетки, перфорированной трубы или любого другого материала, обеспечивающего защиту фильтрующего экрана 2 от повреждений и прохождение фильтруемой среды.

В поперечном сечении фильтроэлемент может иметь форму круга, эллипса, многоугольника или любую другую замкнутую форму.

Периметр фильтрующего экрана в поперечном сечении меньше периметра несущего каркаса на 2-5%. Выбор данного диапазона обусловлен упругими свойствами материалов, из которых изготавливаются несущий каркас 1 и фильтрующий экран 2. Несущий каркас 1 имеет величину упругого удлинения (сжатия) до 2%, а фильтровальные ткани, из которых выполняется фильтрующий экран 2, - 5-9%.

Фильтрующий экран 2 благодаря тому, что его периметр меньше периметра несущего каркаса 1 находится в упруго растянутом состоянии. Во время работы при прохождении фильтруемой среды через фильтроэлемент (фиг. 3), на поверхности фильтрующего экрана 2 создается перепад давления за счет его гидравлического сопротивления, которое увеличивается по мере загрязнения фильтра. При этом фильтрующий экран 2 вместе с упругим несущим каркасом 1 прогибается по направлению потока. Для очистки фильтроэлемента необходимо остановить поток среды, за счет своих упругих свойств предварительно растянутый фильтрующий экран 2 и несущий каркас 1 вернутся в первоначальное положение (фиг. 4). При этом произойдет удаление частиц 4 с поверхности фильтрующего экрана 2.

Предложенный фильтроэлемент может быть использован в составе фильтров, например, скважинных фильтров (фиг. 5) с требуемой (заданной) тонкостью фильтрации (от 2 мкм), используемых для фильтрации пластовой жидкости от механических примесей. Изображенный на фиг. 5 скважинный фильтр состоит из концевых деталей - головки 5 и основания 6, жестко соединенных трубой 7, и фильтроэлементов 8, предпочтительно цилиндрической формы.

Для подтверждения преимуществ заявленного фильтроэлемента были проведены сравнительные испытания на регенерацию (самоочистку) с фильтроэлементами, выполненными из проницаемого проволочного материала (ППМ) и из проволочной сетки. В испытаниях на газовой среде (воздух) участвовали:

1) фильтроэлемент 1 из ППМ, материал 12Х18Н10Т, тонкость фильтрации 100 мкм;

2) фильтроэлемент 2 из сетки С160 ГОСТ 3187-76, тонкость фильтрации 70-95 мкм;

3) фильтроэлемент 3 согласно заявленному изобретению, с номинальной тонкостью фильтрации 100 мкм.

В качестве загрязнителя использовался электрокорунд 25А F150 ГОСТ 3647-80.

Были получены следующие результаты:

- максимальный средний перепад давления, при расходе воздуха 9 м3/ч: фильтроэлемента 1 - 104,3 Па, фильтроэлемента 2 - 125 Па, фильтроэлемента 3 - 40,5 Па. Зависимость среднего значения перепада давления от расхода воздуха показана на фиг. 6;

- максимальный средний перепад давления, при расходе воздуха 9 м3/ч и общей продолжительности испытаний: фильтроэлемента 1 - 511,1 Па, фильтроэлемента 2 - 492,1 Па, фильтроэлемента 3 - 77,6 Па. Зависимость среднего значения перепада давления от продолжительности испытания показана на фиг. 7;

- среднее значение номинальной тонкости фильтрации: фильтроэлемента 1 - более 125 мкм, фильтроэлемента 2 - 75 мкм, фильтроэлемента 3 - 90 мкм. Зависимость среднего значения коэффициента фильтрации от гранулометрического состава загрязнителя показана на фиг. 8;

- степень регенерации: фильтроэлемента 1 - 86,8%, фильтроэлемента 2 - 87,5%, фильтроэлемента 3 - 89,18%.

Как видно из полученных результатов испытаний, фильтроэлемент, согласно заявленному изобретению, обладает наилучшей способностью к самоочищению (регенерации) и при этом обладает наименьшим гидравлическим сопротивлением и сохраняет номинальную тонкость фильтрации в течение продолжительного времени.

Предложенная конструкция фильтроэлемента обеспечивает растяжение фильтрующего экрана только в одном направлении, перпендикулярным продольной оси фильтроэлемента. В результате чего размер пор фильтровального материала в продольном направлении не меняется при его растяжении, обеспечивая заданную тонкость фильтрации. В тоже время растяжение фильтровального материала позволяет реализовать возможность самоочищения фильтроэлемента в процессе работы.

Гидрофобные и олеофобные свойства, коррозионная стойкость и теплостойкость до 600°С фильтровального материала способствуют сохранению его свойств и лучшей очистке в течение всего срока эксплуатации фильтроэлемента.

Таким образом, решения, описанные в изобретении, позволяют обеспечить возможность самоочищения фильтроэлемента в процессе работы при сохранении заданной тонкости фильтрации и способствуют достижению технического результата.

Похожие патенты RU2841522C1

название год авторы номер документа
ФИЛЬТРУЮЩИЙ МОДУЛЬ (ВАРИАНТЫ) 2019
  • Пятов Иван Соломонович
  • Кирпичев Владимир Юрьевич
  • Корчагин Андрей Николаевич
  • Радлевич Андрей Вадимович
RU2705682C1
ФИЛЬТР И ФИЛЬТРОЭЛЕМЕНТ 2018
  • Пятов Иван Соломонович
  • Карелина Светлана Александровна
  • Ивановский Владимир Николаевич
  • Булат Андрей Владимирович
  • Кирпичев Владимир Юрьевич
  • Корчагин Андрей Николаевич
RU2703038C1
ФИЛЬТРОЭЛЕМЕНТ ДЛЯ ФИЛЬТРАЦИИ ЖИДКОСТИ 2020
  • Пятов Иван Соломонович
  • Ладанов Сергей Викторович
  • Воробьева Лариса Владимировна
  • Радлевич Андрей Вадимович
  • Кирпичев Юрий Владимирович
  • Тимошенко Виктор Геннадьевич
  • Петраченкова Алла Алексеевна
  • Трухина Мария Васильевна
RU2763134C1
БЛОК ФИЛЬТРУЮЩИЙ 2020
  • Пятов Иван Соломонович
  • Кирпичев Юрий Владимирович
  • Корчагин Андрей Николаевич
  • Воробьева Лариса Владимировна
  • Радлевич Андрей Вадимович
RU2739655C1
ПРОНИЦАЕМАЯ МАТРИЦА ДЛЯ ИНФРАКРАСНОЙ ГОРЕЛКИ И СПОСОБ ЕЁ ИЗГОТОВЛЕНИЯ 2022
  • Пятов Иван Соломонович
  • Радлевич Андрей Вадимович
  • Корчагин Андрей Николаевич
  • Беляевский Александр
  • Козлов Александр
RU2784251C1
ФИЛЬТРОЭЛЕМЕНТ И СПОСОБ ЕГО ИЗГОТОВЛЕНИЯ 2020
  • Пятов Иван Соломонович
  • Кирпичев Юрий Владимирович
  • Корчагин Андрей Николаевич
  • Воробьева Лариса Владимировна
RU2734972C1
РЕГЕНЕРИРУЕМЫЙ УЛАВЛИВАТЕЛЬ ШЛАМА ДЛЯ ЗАЩИТЫ ПОГРУЖНОГО НАСОСНОГО ОБОРУДОВАНИЯ ОТ ОСАЖДЕНИЯ ЗАГРЯЗНЯЮЩИХ ЧАСТИЦ И СПОСОБ ЗАЩИТЫ ОТ ОСАЖДЕНИЯ ЗАГРЯЗНЯЮЩИХ ЧАСТИЦ 2021
  • Пятов Иван Соломонович
  • Кирпичев Юрий Владимирович
  • Радлевич Андрей Вадимович
  • Воробьева Лариса Владимировна
  • Ладанов Сергей Викторович
RU2781103C1
УСТАНОВКА ЭЛЕКТРОЦЕНТРОБЕЖНОГО НАСОСА 2020
  • Пятов Иван Соломонович
  • Ладанов Сергей Викторович
  • Кирпичев Юрий Владимирович
  • Воробьева Лариса Владимировна
  • Радлевич Андрей Вадимович
  • Тимошенко Виктор Геннадьевич
RU2743265C1
СКВАЖИННЫЙ НАСОС 2007
  • Аптыкаев Геннадий Алексеевич
  • Пятов Иван Соломонович
  • Лысенко Виктор Михайлович
RU2353813C1
ФИЛЬТРУЮЩИЙ МОДУЛЬ 2014
  • Пятов Иван Соломонович
  • Тотанов Александр Сергеевич
  • Шевкун Александр Михайлович
  • Донченко Алексей Михайлович
  • Кирпичев Юрий Владимирович
  • Воробьева Лариса Владимировна
RU2551596C1

Иллюстрации к изобретению RU 2 841 522 C1

Реферат патента 2025 года ФИЛЬТР И ФИЛЬТРОЭЛЕМЕНТ

Изобретение относится к области машиностроения, в частности к фильтроэлементам, используемых в составе фильтров для очистки жидких и газообразных сред. Изобретение касается фильтроэлемента и фильтра. Фильтроэлемент содержит полый внутри и замкнутый в поперечном сечении проницаемый несущий каркас из упругого материала, поверх которого установлен фильтрующий экран, закрытый сверху защитным каркасом, при этом фильтрующий экран представляет собой рукав из упругого фильтровального материала с заданной тонкостью фильтрации, периметр фильтрующего экрана в поперечном сечении меньше периметра несущего каркаса на 2-5%, фильтрующий экран растянут в направлении перпендикулярном продольной оси фильтроэлемента. Фильтр содержит концевые детали, жестко соединенные между собой, и по меньшей мере один указанный фильтроэлемент. Технический результат - обеспечение возможности самоочищения фильтроэлемента в процессе работы при обеспечении и сохранении заданной тонкости фильтрации. 2 н. и 10 з.п. ф-лы., 8 ил.

Формула изобретения RU 2 841 522 C1

1. Фильтроэлемент, содержащий полый внутри и замкнутый в поперечном сечении проницаемый несущий каркас из упругого материала, поверх которого установлен фильтрующий экран, закрытый сверху защитным каркасом, отличающийся тем, что фильтрующий экран представляет собой рукав из упругого фильтровального материала с заданной тонкостью фильтрации, периметр фильтрующего экрана в поперечном сечении меньше периметра несущего каркаса на 2-5%, при этом фильтрующий экран растянут в направлении перпендикулярном продольной оси фильтроэлемента.

2. Фильтроэлемент по п. 1, отличающийся тем, что несущий каркас выполнен из упругого пористого материала.

3. Фильтроэлемент по п. 1, отличающийся тем, что несущий каркас выполнен из упругого сетчатого материала.

4. Фильтроэлемент по п. 1, отличающийся тем, что фильтровальный материал с заданной тонкостью фильтрации обладает гидрофобными и олеофобными свойствами.

5. Фильтроэлемент по п. 1, отличающийся тем, что фильтровальный материал с заданной тонкостью фильтрации обладает коррозионной стойкостью.

6. Фильтроэлемент по п. 1, отличающийся тем, что фильтровальный материал с заданной тонкостью фильтрации обладает теплостойкостью до 600°С.

7. Фильтр, содержащий концевые детали, жестко соединенные между собой, и по меньшей мере один фильтроэлемент, который включает в себя полый внутри и замкнутый в поперечном сечении проницаемый несущий каркас из упругого материала, поверх которого установлен фильтрующий экран, закрытый сверху защитным каркасом, отличающийся тем, что фильтрующий экран представляет собой рукав из упругого фильтровального материала с заданной тонкостью фильтрации, периметр фильтрующего экрана в поперечном сечении меньше периметра несущего каркаса на 2-5%, при этом фильтрующий экран растянут в направлении перпендикулярном продольной оси фильтроэлемента.

8. Фильтр по п. 7, отличающийся тем, что несущий каркас фильтроэлемента выполнен из упругого пористого материала.

9. Фильтр по п. 7, отличающийся тем, что несущий каркас фильтроэлемента выполнен из упругого сетчатого материала.

10. Фильтр по п. 7, отличающийся тем, что фильтровальный материал с заданной тонкостью фильтрации фильтроэлемента обладает гидрофобными и олеофобными свойствами.

11. Фильтр по п. 7, отличающийся тем, что фильтровальный материал с заданной тонкостью фильтрации фильтроэлемента обладает коррозионной стойкостью.

12. Фильтр по п. 7, отличающийся тем, что фильтровальный материал с заданной тонкостью фильтрации фильтроэлемента обладает теплостойкостью до 600°С.

Документы, цитированные в отчете о поиске Патент 2025 года RU2841522C1

Приспособление, обнаруживающее покушение открыть замок 1910
  • Назаров П.И.
SU332A1
ФИЛЬТРУЮЩИЙ МОДУЛЬ (ВАРИАНТЫ) 2019
  • Пятов Иван Соломонович
  • Кирпичев Владимир Юрьевич
  • Корчагин Андрей Николаевич
  • Радлевич Андрей Вадимович
RU2705682C1
ФИЛЬТР И ФИЛЬТРОЭЛЕМЕНТ 2018
  • Пятов Иван Соломонович
  • Карелина Светлана Александровна
  • Ивановский Владимир Николаевич
  • Булат Андрей Владимирович
  • Кирпичев Владимир Юрьевич
  • Корчагин Андрей Николаевич
RU2703038C1
РЕГЕНЕРИРУЕМЫЙ УЛАВЛИВАТЕЛЬ ШЛАМА ДЛЯ ЗАЩИТЫ ПОГРУЖНОГО НАСОСНОГО ОБОРУДОВАНИЯ ОТ ОСАЖДЕНИЯ ЗАГРЯЗНЯЮЩИХ ЧАСТИЦ И СПОСОБ ЗАЩИТЫ ОТ ОСАЖДЕНИЯ ЗАГРЯЗНЯЮЩИХ ЧАСТИЦ 2021
  • Пятов Иван Соломонович
  • Кирпичев Юрий Владимирович
  • Радлевич Андрей Вадимович
  • Воробьева Лариса Владимировна
  • Ладанов Сергей Викторович
RU2781103C1
Паровая машина тендем 1934
  • Бак В.Б.
SU40366A1
Приспособление для уплотнения шеек сетчатых цилиндров в сгустителях, ловушках, папп- и тому подобных машинах 1931
  • А. Пауль Вюнше
SU42512A1

RU 2 841 522 C1

Авторы

Пятов Иван Соломонович

Радлевич Андрей Вадимович

Затевалова Светлана Геннадьевна

Корчагин Андрей Николаевич

Даты

2025-06-09Публикация

2024-10-17Подача