Изобретение относится к светоизлучающим устройствам, которые могут быть использованы, например, в электронных устройствах, таких как бытовые приборы, стереоаппаратура, изделия для передачи данных, для клавишной панели специализированных дисплеев. Кроме того, его можно применять в медицинских инструментах и в осветительных изделиях.
Известно светоизлучающее устройство, содержащее: по меньшей мере, один светодиод, выполненный с возможностью излучения света; и люминофор, выполненный с возможностью изменения длины волны света, причем люминофор по существу покрывает по меньшей мере участок светодиода; при этом люминофор содержит алюминат, содержащий свинец и/или медь, силикат, содержащий свинец и/или медь, антимонат, содержащий свинец и/или медь, германат, содержащий свинец и/или медь, германат-силикат, содержащий свинец и/или медь, фосфат, содержащий свинец и/или медь, или любую их комбинацию (патент RU 2359352, МПК H01L 33/00, 2009 год).
Однако известное светоизлучающее устройство имеет ряд недостатков, а именно, наряду с достаточно сложной конструкцией, наличие в спектре излучения широкой красной полосы с полушириной до 200 нм ухудшает чистоту красного света, кроме того, сдвиг максимума полосы красного излучения происходит только при варьировании разных составов люминофора.
Таким образом, перед авторами стояла задача разработать светоизлучающее устройство простой конструкции, обеспечивающее улучшение чистоты красного света и возможность плавного сдвига максимума полосы красного излучения без изменения состава люминофора.
Поставленная задача решена в предлагаемой конструкции светоизлучающего устройства, содержащего светодиод, выполненный с возможностью контактирования с источником питания, люминофор на основе силиката, выполненный с возможностью изменения длины волны света и покрывающий участок поверхности светодиода, в котором на выходное отверстие лазерного светодиода, покрытое оптически прозрачным скотчем, равномерно нанесен порошок ап-конверсионного люминофора состава Sr2Y(8-х-y)YbxErySi6O26 (x = 0.05-1.0, y = 0.01-0.20) из расчета 5-10 мг/см2, изолированный от внешней среды оптически прозрачным скотчем.
В настоящее время из патентной и научно-технической литературы не известно светоизлучающее устройство, в конструкции которого совмещены лазерный светодиод и ап-конверсионный люминофор на основе сложного силиката.
Как показали исследования, проведенные автором, работа предлагаемого светоизлучающего устройства обеспечивает высокую степень чистоты красного света и плавный сдвиг максимума полосы красного излучения без изменения состава люминофора, что объясняется свойствами используемого в конструкции ап-люминофора (RU 2626020), которые были выявлены авторами. Так, изменение значений длин волн красного излучения предлагаемого люминофора при возбуждении его лазером с длиной волны 980 нм наблюдается при изменении мощности (P) возбуждающего излучения в интервале 20-99 мВт. Из-за изменения мощности накачки происходит изменение населенностей уровня 4F9/2 ионов Er3+ с участием фононов кристаллической решетки люминофора, которое вызывает сдвиг полосы красного излучения и вариации интенсивности свечения. Анализ спектров ап-конверсионной фотолюминесценции показал, что при выходе за пределы мощности 20-99 мВт сдвига длины волны красного излучения не происходит из-за уменьшения числа фононов, участвующих в процессе возбуждения уровня 4F9/2 ионов Er3+. Из фиг.1 видно, что при изменении мощности лазерной накачки от 99 до 20 мВт происходит сдвиг полосы свечения перехода 4F9/2 → 4I15/2 с максимумом от 677 до 617 нм.
На фиг. 1 представлены характерные спектры ап-конверсии люминофора Sr2Y6.8Yb1Er0.2Si6O26 при различной мощности возбуждения.
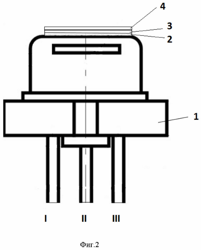
На фиг. 2 показан в разрезе вид сбоку предлагаемого устройства. Устройство содержит лазерный светодиод (1), оснащенный тремя ножками I, II, III, предназначенными для подключения к источнику тока и управления (регулировать или ограничивать) током лазера; выходное отверстие лазерного светодиода (1) покрыто клейкой стороной оптически прозрачного скотча (2), на противоположную сторону скотча равномерно нанесен порошок ап-конверсионного люминофора (3) состава Sr2Y(8-х-y)YbxErySi6O26 (x = 0.05-1.0, y = 0.01-0.20) из расчета 5-10 мг/см2, изолированный от внешней среды оптически прозрачным скотчем (4).
Предлагаемое светоизлучающее устройство работает следующим образом. К ножкам I и III лазерного светодиода подключается минус и плюс источника питания 3 вольта. В качестве источника питания постоянного тока используется драйвер (марка LDTC). Ножка II является нерабочей. При включении источника питания излучение лазера (980 нм) возбуждает ап-конверсионный люминофор, который излучает красное свечение. При изменении тока драйвера можно изменять мощность диода. В результате изменения мощности от 99 до 20 мВт происходит сдвиг полосы красного излучения с максимумом от 677 до 617 нм.
Таким образом, автором предлагается светоизлучающее устройство простой конструкции, обеспечивающее улучшение чистоты красного света и возможность плавного сдвига максимума полосы красного излучения без изменения состава люминофора.
| название | год | авторы | номер документа |
|---|---|---|---|
| ЛЮМИНЕСЦИРУЮЩАЯ НАНОСТЕКЛОКЕРАМИКА | 2014 |
|
RU2579056C1 |
| Сложный силикат редкоземельных элементов | 2024 |
|
RU2832831C1 |
| СЛОЖНЫЙ СИЛИКАТ РЕДКОЗЕМЕЛЬНЫХ ЭЛЕМЕНТОВ В НАНОАМОРФНОМ СОСТОЯНИИ | 2016 |
|
RU2626020C1 |
| Сложный германат редкоземельных элементов | 2024 |
|
RU2839387C1 |
| ЛЮМИНОФОР ДЛЯ СВЕТОДИОДОВ БЕЛОГО СВЕЧЕНИЯ | 2012 |
|
RU2549388C2 |
| СВЕТОДИОДНЫЙ ИСТОЧНИК БЕЛОГО СВЕТА С КОМБИНИРОВАННЫМ УДАЛЕННЫМ ФОТОЛЮМИНЕСЦЕНТНЫМ КОНВЕРТЕРОМ | 2011 |
|
RU2502917C2 |
| Ап-конверсионно люминесцирующая наностеклокерамика | 2017 |
|
RU2661946C1 |
| СВЕТОДИОДНЫЙ ИСТОЧНИК БЕЛОГО СВЕТА С БИОЛОГИЧЕСКИ АДЕКВАТНЫМ СПЕКТРОМ ИЗЛУЧЕНИЯ | 2019 |
|
RU2693632C1 |
| СПОСОБ ПОЛУЧЕНИЯ ОКСИДНЫХ АП-КОНВЕРСИОННЫХ ЛЮМИНОФОРОВ | 2020 |
|
RU2753700C1 |
| СВЕТОИЗЛУЧАЮЩЕЕ УСТРОЙСТВО | 2005 |
|
RU2359362C2 |
Изобретение относится к светоизлучающим устройствам, которые могут быть использованы, например, в электронных устройствах, таких как бытовые приборы, стереоаппаратура, изделия для передачи данных, для клавишной панели специализированных дисплеев, а также в медицинских инструментах и в осветительных изделиях. Заявленное светоизлучающее устройство содержит светодиод, выполненный с возможностью контактирования с источником питания, люминофор на основе силиката, выполненный с возможностью изменения длины волны света, и покрывающий участок поверхности светодиода. При этом на выходное отверстие лазерного светодиода, покрытое оптически прозрачным скотчем, нанесен порошок ап-конверсионного люминофора состава Sr2Y(8-х-y)YbxErySi6O26 (x = 0.05-1.0, y = 0.01-0.20) из расчета 5-10 мг/см2, изолированный от внешней среды оптически прозрачным скотчем. Технический результат - упрощение конструкции, обеспечивающее улучшение чистоты красного света и возможность плавного сдвига максимума полосы красного излучения без изменения состава люминофора. 2 ил.
Светоизлучающее устройство, содержащее светодиод, выполненный с возможностью контактирования с источником питания, люминофор на основе силиката, выполненный с возможностью изменения длины волны света и покрывающий участок поверхности светодиода, отличающийся тем, что на выходное отверстие лазерного светодиода, покрытое оптически прозрачным скотчем, нанесен порошок ап-конверсионного люминофора состава Sr2Y(8-х-y)YbxЕrySi6O26 (x = 0.05‒1.0, y = 0.01‒0.20) из расчета 5-10 мг/см2, изолированный от внешней среды оптически прозрачным скотчем.
| СВЕТОИЗЛУЧАЮЩЕЕ УСТРОЙСТВО | 2005 |
|
RU2359362C2 |
| СЛОЖНЫЙ СИЛИКАТ РЕДКОЗЕМЕЛЬНЫХ ЭЛЕМЕНТОВ В НАНОАМОРФНОМ СОСТОЯНИИ | 2016 |
|
RU2626020C1 |
| СВЕТОИЗЛУЧАЮЩЕЕ УСТРОЙСТВО, ИМЕЮЩЕЕ СИЛИКАТНЫЕ ЛЮМИНОФОРЫ С МОДИФИЦИРОВАННОЙ ПОВЕРХНОСТЬЮ | 2011 |
|
RU2569167C2 |
| ОПТИЧЕСКИ АКТИВНАЯ КОМПОЗИЦИЯ И СВЕТОИЗЛУЧАЮЩЕЕ КОМБИНИРОВАННОЕ УСТРОЙСТВО НА ЕЕ ОСНОВЕ | 2006 |
|
RU2425433C2 |
| CN 104966773 B, 09.03.2018 | |||
| US 5966393 A, 12.10.1999. | |||
Авторы
Даты
2023-08-01—Публикация
2023-04-18—Подача