Техническое решение относится к горному делу, в частности к оборудованию по предупреждению взрывов пылевоздушных смесей в угольных шахтах, опасных по газу и пыли, и предназначено для нанесения инертной пыли на почву, борта и кровлю горных выработок механизированным способом.
Известен осланцеватель горных выработок (патент РФ на полезную модель №177773, кл. E21F 5/10, дата публикации 12.03.2018, бюл. 8), включающий бункер объемом 5 м3, установленный на опорах, с расположенным в нижней части шнеком, нагнетательный вентилятор, установленный на плите, камеру смешивания, прикрепленную с противоположной стороны к бункеру при помощи фланца, к нижней части которой прикреплен патрубок с рукавом, пульт управления, расположенный на площадке торцевой стенки бункера, при этом рукав дополнительно оснащен лепестковым клапаном, а камера смешивания - обратным.
Общими признаками аналога с заявляемым устройством являются: бункер, камера смешивания инертной каменной пыли с воздухом, фланец, нагнетательный вентилятор, проушины для подвески осланцевателя на монорельс и опоры бункера (приспособления к транспортировке).
Недостатками известного технического решения являются необходимость доставки инертной каменной пыли в камеру смешивания с воздухом шнеком, приводимым в действие гидромотором, а также малый срок службы шнека вследствие абразивного износа транспортируемым материалом. Регулирование содержания пыли в воздушном потоке требует взаимосогласованного изменения скорости вращения шнека и скорости нагнетательного вентилятора. Инертная каменная пыль на стенки горной выработки наносится через рукав, что требует присутствия оператора в зоне высокой запыленности. Результатом является сложность конструкции осланцевателя, подверженность абразивному износу вращающихся деталей и наличие ручного труда при осланцевании, влекущего вредность для здоровья оператора. Следствием является низкая эффективность процесса осланцевания горных выработок.
Наиболее близким по технической сущности и совокупности существенных признаков к заявляемому техническому решению (прототипом) является устройство для осланцевания горных выработок (патент РФ на изобретение №2729084, кл. E21F 5/10, дата публикации 04.08.2020, бюл. 22), включающее бункер, по меньшей мере два разбрасывателя и по меньшей мере два окна в стенке бункера, соединяющие внутренний объем бункера с разбрасывателями, каждый из разбрасывателей представляет собой центробежный воздушный компрессор, подвод которого соединен с окном в стенке бункера, а конец напорного патрубка соединен с камерой угловой формы, которая ограничена верхней стенкой, наружной стенкой, нижней стенкой, внутренней стенкой, причем верхняя и наружная стенки камеры выполнены в виде конфузора, заканчивающегося угловой щелью, оснащенной рассекателем потока.
Общими признаками прототипа с заявляемым устройством являются бункер, образованный продольными и торцевыми вертикальными стенками, стенки соединены между собой соседними боковыми краями, крышка сверху бункера, вертикальные стенки снизу связаны с соответствующими им по длине наклонными стенками, зауженными книзу и соединенными между собой соседними боковыми краями, нижние края наклонных стенок соединены с горизонтальным дном бункера, фланец, вентилятор, камера смешивания инертной каменной пыли с воздухом, конфузор, грузовые петли на вертикальных стенках бункера и полозья (приспособления к транспортировке).
Недостатком данного устройства является перемещение инертной каменной пыли к ее разбрасывателям сначала продольным шнеком, а затем поперечным шнеком, каждый из которых приводится в действие гидроприводом. Механическая транспортировка инертной каменной пыли из бункера, а также выброс ее лопатками центробежных воздушных компрессоров обусловливают износ поверхностей, которые входят в контакт с этой пылью и требуют периодического ремонта или замены деталей. Указанные узлы увеличивают стоимость и усложняют обслуживание устройства. Для управления процессом осланцевания горных выработок, изменения концентрации указанной пыли в потоке воздуха и его скорости от оператора требуется взаимосогласованное управление скоростями вращения продольного шнека, поперечного шнека и двух воздушных компрессоров.
Отмеченные недостатки усложняют конструкцию устройства для осланцевания горных выработок и процесс его эксплуатации. При осланцевании горных выработок различного сечения и протяженности возникают трудности с управлением скоростью и концентрацией пылевоздушного потока. Отмеченные недостатки снижают эффективность осланцевания горных выработок.
Проблемой, на разрешение которой направлено техническое решение, является повышение эффективности осланцевания горных выработок за счет совершенствования конструкции устройства, упрощения процесса его эксплуатации, а также повышения управляемости скоростью и концентрацией пылевоздушной струи.
Проблема решается тем, что в устройстве для осланцевания горных выработок, содержащем бункер, образованный продольными и торцевыми вертикальными стенками, соединенными соседними боковыми краями, сверху имеющий крышку, при этом указанные вертикальные стенки снизу связаны с соответствующими им по длине наклонными стенками, зауженными книзу и соединенными между собой соседними боковыми краями, а нижними краями - с горизонтальным дном бункера, а также содержащем фланец, вентилятор, камеру смешивания инертной каменной пыли с воздухом, конфузор и приспособленное к транспортировке, согласно техническому решению камера смешивания выполнена в виде короба с горизонтальным днищем и вертикальными стенками, присоединенными к нижним краям вертикальных стенок бункера, при этом в торцевой стенке короба изготовлено входное отверстие, над которым в вертикальной стенке бункера выполнено нагнетательное окно, оборудованное шиберной задвижкой, а с внешней стороны короба, к торцевым стенкам его и бункера, прикреплен фланец с вентилятором, при этом фланец имеет диаметр, перекрывающий входное отверстие короба и нагнетательное окно бункера, причем в противоположной стенке короба выполнено выходное отверстие, к которому с внешней стороны присоединен конфузор, при этом наклонные стенки бункера выполнены под углом к его дну 45-50°, а в дне бункера выполнены по меньшей мере три разгрузочных окна, перекрытые снизу шиберной заслонкой с выпускными окнами, соответствующими по форме, размеру и удалению друг от друга указанным разгрузочным окнам бункера, при этом выпускные окна шиберной заслонки снизу, наполовину их длины со стороны вентилятора, прикрыты обтекателями, а шиберная заслонка выполнена с возможностью продольного перемещения для совмещения разгрузочных и выпускных окон, при этом в углах пересечения продольных стенок короба с продольными наклонными стенками бункера с обеих его сторон установлены по меньшей мере по три дефлектора в виде пластин треугольной формы, которые выполнены с наклоном к дну бункера в сторону конфузора, причем площадь пластин увеличивается по мере удаления места их установки от вентилятора, а удаление Г днища короба от дна бункера рассчитывается по выражению:
Г=tgα[(А-Д)/2], мм,
где α - угол естественного откоса инертной каменной пыли, град.,
А - ширина бункера, мм,
Д - диаметр разгрузочного окна в дне бункера, мм.
Технический результат, полученный от предложенного решения, заключается в совершенствовании конструкции и условий эксплуатации устройства по осланцеванию горных выработок вследствие отсутствия в нем гидро- или электромеханических приводов. Предложенная регулировка размера разгрузочных окон бункера перемещением шиберной заслонки, оборудование выпускных окон шиберной заслонки обтекателями, установка в пристенных каналах наклонных треугольных дефлекторов, пригрузка инертной каменной пыли нагнетаемым в бункер воздушным потоком, оптимизация удаления днища короба от дна бункера, наряду с регулируемой краном на штуцере частотой вращения рабочего колеса вентилятора открывают значительные возможности по управлению концентрацией и скоростью пылевоздушной струи, направляемой на почву, борта и кровлю горной выработки. Отсутствие контакта деталей вентилятора с инертной каменной пылью определяет длительный срок службы устройства. Вытянутая форма короба создает длинную камеру смешивания инертной каменной пыли с воздухом, что способствует насыщению воздушного потока пылевидным материалом.
Кроме того, целесообразно разгрузочные окна в дне бункера и выпускные окна в шиберной заслонке выполнить круглыми.
Круглая форма выпускных окон обеспечивает и высокую пропускную способность, и прочность конструкции шиберной заслонки, уменьшая размеры зон ослабления металлической полосы при вырезании отверстий. Разгрузочные окна дна бункера выполняются согласованными по форме выпускным окнам.
Целесообразно также обтекатели установить по ближним к вентилятору полуокружностям выпускных окон шиберной заслонки, выполнить обтекатели в форме четверти сферы диаметром, равным диаметру указанных окон, и обратить их выпуклыми сторонами к вентилятору.
Обтекатели предлагаемой формы накрывают выпускные окна наполовину диаметра со стороны вентилятора. Выпуклая форма обтекателей сохраняет выпускную площадь окон и не препятствует высыпанию пыли из бункера. Наклонные стенки обтекателей направляют поток воздуха от вентилятора к днищу короба и препятствуют задуванию воздуха в разгрузочные окна. Образующиеся за такими обтекателями области разрежения воздуха способствуют эжектированию инертной каменной пыли из разгрузочных окон.
Кроме того, целесообразно к вертикальным стенкам бункера прикрепить грузовые петли, а к днищу короба - полозья.
Снабжение бункера грузовыми петлями и короба полозьями приспосабливает устройство к транспортировке, а именно к перевозке по монорельсу, а при его отсутствии к перемещению по почве горной выработки.
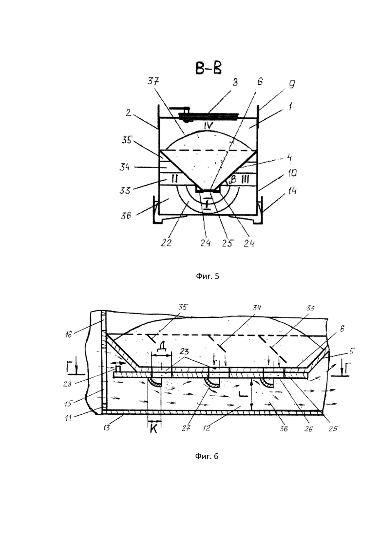
Устройство для осланцевания горных выработок поясняется следующими графическими материалами. На фиг. 1 приведен вид на устройство сбоку. На фиг. 2 приведен разрез Б-Б на фиг. 1. На фиг. 3 приведен вид на устройство сверху. На фиг. 4 приведен разрез А-А на фиг. 2. На фиг. 5 приведен разрез В-В на фиг. 1 и 3. На фиг. 6 приведен вертикальный продольный разрез дна бункера с шиберной заслонкой. На фиг. 7 приведена шиберная заслонка в разрезе Г-Г на фиг. 6. На фиг. 8 приведена схема к расчету оптимального удаления Г днища короба от дна бункера.
Устройство содержит бункер 1 (фиг. 2, 5, 8), выполненный в верхней части из вертикальных продольных 2 и торцевых 3 стенок (фиг. 1, 2, 3, 5), соединенных соседними боковыми краями. Нижняя часть бункера 1 выполнена из соответствующих по длине вертикальным 2 и 3 стенкам наклонных продольных 4 и торцевых 5 стенок (фиг. 2, 4, 6, 8). При этом наклонные продольные 4 и торцевые 5 стенки заужены книзу и соединены между собой боковыми краями, так, что образуют грани перевернутой вытянутой усеченной пирамиды. Нижними краями наклонные продольные 4 и торцевые 5 стенки соединены с горизонтальным дном 6 (фиг. 2, 5, 6). Вертикальные стенки 2 и 3 сверху соединены с перекрытием 7, имеющим загрузочное окно с крышкой 8 (фиг. 1, 3, 4, 5). Крышка 8 оборудована уплотнением для обеспечения герметичности бункера 1.
К вертикальным продольным стенкам 2 бункера 1 присоединены грузовые петли 9 (фиг. 1, 5), которые служат для подвески устройства на монорельс с применением известных строповочных средств и приспосабливают устройство к транспортировке, например по обводненной горной выработке.
К нижним краям вертикальных продольных 2 и торцевых 3 стенок бункера 1 присоединены верхние края продольных 10 и торцевых 11 вертикальных стенок короба 12 (фиг. 1, 4, 5, 6, 8), имеющего горизонтальное днище 13 (фиг. 1, 6, 8). При этом горизонтальное днище 13 короба 12 отстоит от горизонтального дна 6 бункера 1 на удаление Г. К днищу 13 короба 12 снизу присоединены полозья 14 (фиг. 1, 3, 5).
В одной из торцевых стенок 11 короба 12 изготовлено входное отверстие 15 (фиг. 3, 4, 6) круглой или прямоугольной формы. Над входным отверстием 15 короба 12 в вертикальной торцевой 3 стенке бункера 1 выполнено нагнетательное окно 16 (фиг. 4, 6), оборудованное шиберной задвижкой 17 выдвижного или поворотного типа с ручкой управления 18 (фиг. 1, 4). С внешней стороны короба 12 к торцевым 11 и 3 стенкам короба и бункера 1 прикреплен фланец 19 с присоединенным к нему нагнетательным осевым вентилятором 20 (фиг. 1, 3, 4) предпочтительно с пневмоприводом. Возможен также гидравлический или электрический привод вентилятора 20. Для подключения к шахтовой пневмосети вентилятор 20 имеет штуцер 21 с краном (фиг. 1, 2). Фланец 19 выполнен диаметром, перекрывающим входное отверстие 15 короба 12 и нагнетательное окно 16 бункера 1.
В противоположной торцевой 11 стенке короба 12 изготовлено выходное отверстие, к которому с внешней стороны короба 12 прикреплен конфузор 22 (фиг. 1, 2, 5). Конфузор 22 выполнен в форме усеченного конуса или усеченной пирамиды.
Наклонные продольные 4 и торцевые 5 стенки бункера 1 выполнены с одинаковым углом наклона β к дну 6, равным 45-50°. В дне 6 бункера 1 изготовлены по меньшей мере три разгрузочных окна 23 (фиг. 2, 6, 8), перекрытые снизу перемещаемой по полозьям 24 шиберной заслонкой 25 (фиг. 1, 5, 6, 7). В шиберной заслонке 25 выполнены выпускные окна 26 (фиг. 1, 2, 6, 7). Выпускные окна 26 соответствуют по форме и размеру разгрузочным окнам 23 в дне 6 бункера 1. Выпускные окна 26 разнесены между собой на такие же расстояния, что и разгрузочные окна 23 в дне 6 бункера 1. Разгрузочные окна 23 в дне 6 бункера 1 и выпускные окна 26 в шиберной заслонке 25 выполнены предпочтительно круглой, а также могут быть и прямоугольной формы.
Выпускные окна 26 шиберной заслонки 25 со стороны днища 13 короба 12 оборудованы обтекателями 27 (фиг. 1, 6, 7). Обтекатели 27 могут быть изготовлены в форме прямоугольных пластин, установленных по ближнему к вентилятору 20 краю выпускных окон 26 и прикрывающих их наполовину.
При изготовлении выпускных окон 26 шиберной заслонки 25 круглыми, обтекатели 27 целесообразно устанавливать по ближним к вентилятору 20 полуокружностям выпускных окон 26 (фиг. 6, 7). При этом целесообразно выполнение обтекателей 27 в форме четверти сферы диаметром, равным диаметру Д выпускных окон 26 шиберной заслонки 25 (фиг. 6, 7). Выпуклой стороной обтекатели 27 направлены к вентилятору 20. Обтекатели 27 имеют ширину К, равную 1/2Д, и прикрывают выпускные окна 26 снизу наполовину диаметра Д со стороны вентилятора 20. При этом выпускные окна 26 благодаря выпуклой форме обтекателей 27 не теряют своих проходных размеров.
Шиберная заслонка 25 посредством пальца 28 соединена с приводным рычагом 29 (фиг. 1, 2, 4). Палец 28 входит в прорезь (не показана) приводного рычага 29, что обеспечивает подвижность соединению. Один конец приводного рычага 29 посредством шарнира 30 присоединен внутри короба 12 к продольной стенке 10 (фиг. 4). Другой конец приводного рычага 29 выступает из противоположной продольной стенки короба 12 наружу через горизонтальную прорезь 31 с уплотнением (фиг. 1). Выступающий конец приводного рычага 29 оборудован рукояткой 32 (фиг. 2, 3, 4) для удобства его перемещения.
В углах пересечения продольных стенок 10 короба 12 с наклонными продольными стенками 4 бункера 1 с обеих его сторон изготовлены по меньшей мере по три дефлектора 33, 34, 35 (фиг. 1, 2, 6) в виде пластин треугольной формы. Пластины установлены под углом
равным 30-50° к дну 6 бункера 1, с наклоном в сторону конфузора 22. Площадь пластин увеличивается по мере удаления места их установки от вентилятора 20. Дефлектор 33 имеет площадь больше, чем дефлектор 34, который больше по площади дефлектора 35.
Днище 13 короба 12 выполнено на удалении Г от дна 6 бункера 1, рассчитываемом по выражению:
Г=tgα[(А-Д)/2], мм,
где α - угол естественного откоса инертной каменной пыли 37, град.,
А - ширина бункера 1, мм,
Д - диаметр разгрузочного окна 23 в дне 6 бункера 1, мм.
Вертикальные 10 и 11 стенки короба 12, его днище 13, наклонные стенки 4 и 5 бункера 1 и его дно 6 образуют камеру 36 смешивания (фиг. 5, 6, 8) инертной каменной пыли 37, высыпающейся из бункера 1, с воздухом вентилятора 20 на пути перемещения потока к конфузору 22. Высота В камеры 36 смешивания (фиг. 8) определяется удалением Г днища 13 короба 12 от дна 6 бункера 1, образующим междонный канал I (фиг. 1, 5, 8), и углом откоса β наклонных стенок 4 и 5 бункера 1 (фиг. 5).
Обоснование удаления Г днища 13 короба 12 от дна 6 бункера 1.
Исходя из условия максимизации емкости бункера 1 устройства с целью уменьшения количества его остановок для загрузки оператором инертной каменной пыли 37 (фиг. 1, 5, 8), а также из условия максимизации ее концентрации в исходящем пылевоздушном потоке для эффективного осланцевания горной выработки, необходимо обеспечить наибольшую площадь поперечного сечения насыпи 38 инертной каменной пыли 37 под бункером 1 при заданных габаритах А и Б устройства и диаметре Д разгрузочного окна 23 (фиг. 8). Насыпь 38 инертной каменной пыли 37 в междонном канале I под бункером 1 представляет собой в поперечном сечении равнобедренную трапецию.
Из условия обеспечения высокой концентрации инертной каменной пыли 37 в пылевоздушной струе 39 (фиг. 1, 3) при верхнем основании трапеции, равном диаметру Д разгрузочного окна 23, нижнем основании Е, равном ширине А короба 12, наклоне боковых сторон насыпи 38 под углом α естественного откоса инертной каменной пыли 37 (порядка 40°), удаление Г (или высота междонного канала I) определяется по вышеприведенному выражению. При рассчитанном по нему значении Г трапеция имеет максимальную ширину Е, равную ширине А бункера 1. Увеличение Г сверх рассчитанного значения ведет к нежелательному уменьшению глубины бункера 1 и его емкости в установленных габаритах устройства. Уменьшение Г по сравнению с рассчитанным значением влечет уменьшение площади поперечного сечения насыпи 38 и снижение содержания пыли в выдуваемой из устройства пылевоздушной струе 39.
Заявленное устройство для осланцевания горных выработок работает следующим образом. Устройство доставляется к месту осланцевания при помощи грузовых петель 9 и устанавливается полозьями 14 на почву горной выработки по направлению движения шахтной вентиляционной струи. Вентилятор 20 через штуцер 21 с краном подключается высоконапорным шлангом (не показан) к общешахтной пневмосети. Через крышку 8 окна в перекрытии 7 бункер 1 заполняется инертной каменной пылью 37. Затем вентилятор 20 включается и подает воздух через входное отверстие 15 в короб 12. Шиберная заслонка 25 посредством рукоятки 32 приводного рычага 29 передвигается и ее выпускные окна 26 совмещаются с разгрузочными окнами 23 в дне 6 бункера 1.
Инертная каменная пыль 37, высыпающаяся под действием силы тяжести из бункера 1 через разгрузочные окна 23 и выпускные окна 26 в междонный канал I, подхватывается воздушным потоком и перемещается вдоль короба 12. Из короба 12 кинетической энергией воздуха инертная каменная пыль 37 через конфузор 20 выбрасывается в горную выработку на осланцовываемый участок в виде пылевоздушной струи 39. Скорость воздушного потока вентилятора 20 регулируется оператором посредством крана на штуцере 21.
Дефлекторы 33, 34, 35 обеспечивают направленное прижатие воздушных потоков в пристенных каналах II и III (фиг. 1, 5) к потоку в междонном канале I. Дефлекторы 33, 34, 35 преграждают путь и препятствуют прямому и «холостому» перемещению воздуха через пристенные каналы II и III к конфузору 22 и в горную выработку. Установка дефлекторов 33, 34, 35 под углом
к дну 6 бункера 1 способствует эффективному отклонению (без существенного возрастания сопротивления движению) воздушного потока на пути от вентилятора 20 по пристенным каналам II и III к днищу 13 короба 12. Благодаря увеличивающимся размерам дефлекторы 33, 34, 35 направляют разные по высоте слои потока воздуха от вентилятора 20 в пристенных каналах II и III в зону выгрузки инертной каменной пыли 37 из бункера 1.
Установкой дефлекторов 33, 34, 35 в каналах II и III, их наклоном и возрастающей по направлению движения воздуха площадью достигается повышение концентрации пылевых частиц в пылевоздушной струе 39, выносимой через конфузор 22. Дополнительное регулирование концентрации инертной каменной пыли 37 в пылевоздушной струе 39 осуществляется изменением степени открытия разгрузочных окон 23 шиберной заслонкой 25 посредством перемещения рукоятки 32 приводного рычага 29.
Для лучшего опорожнения бункера 1 от сыпучего материала его наклонные продольные 4 и торцевые 5 стенки выполняются под углом β к дну 6 бункера, превышающим угол α естественного откоса инертной каменной пыли 37, составляющий порядка 40°. Предпочтительный угол β наклона стенок составляет 45-50°, что препятствует скоплению инертной каменной пыли 37 в бункере 1. Большие значения угла β наклонных стенок 4 и 5 ведут к нежелательному уменьшению емкости бункера 1.
После уменьшения количества инертной каменной пыли 37 в бункере 1, а также в случае установки устройства на неровной поверхности, выгрузка из бункера 1 затрудняется и замедляется. В этих условиях открытием шиберной задвижкой 17 нагнетательного окна 16 обеспечивается подача воздушного потока по каналу IV (фиг. 1, 5) в бункер 1. В верхней части бункера 1 создается повышенное давление воздуха, инертная каменная пыль 37 прижимается к дну 6 бункера 1, чем активизируется ее выгрузка в камеру 36 смешивания.
Установка обтекателей 27 в форме четверти сферы по ближним к вентилятору 20 полуокружностям выпускных окон 26 шиберной заслонки 25 выпуклой стороной в сторону вентилятора 20 способствует обтеканию выпускных окон 26 воздухом (показано стрелками на фиг. 1 и 6) и предотвращает его задувание в бункер 1. За обтекателями 27 образуются зоны разрежения воздуха и происходит эжектирование инертной каменной пыли 37 из бункера 1 в короб 12. Благодаря обтекателям 27 улучшается наполнение воздуха в канале I инертной каменной пылью 37. Концентрация инертного материала в пылевоздушной смеси, подаваемой на почву, борта и кровлю горной выработки, возрастает, обеспечивая повышение эффективности процесса осланцевания.
После завершения порции инертной каменной пыли 37 в бункере 1 он может быть дозаправлен без остановки вентилятора 20 через крышку 6 после закрытия разгрузочных окон 23 и нагнетательного окна 16 шиберной заслонкой 25 и шиберной задвижкой 17, соответственно.
Плавное изменение размера разгрузочных окон 23 бункера 1, оборудование выпускных окон 26 шиберной заслонки 25 обтекателями 27 в форме четверти сферы, установка в пристенных каналах II и III наклонных дефлекторов 33, 34, 35, пригрузка инертной каменной пыли 37 нагнетаемым в бункер 1 воздухом по каналу IV, оптимизация удаления Г днища 13 короба 12 от дна 6 бункера 1, наряду с регулируемой краном на штуцере 21 частотой вращения рабочего колеса вентилятора 20, открывают значительные возможности по управлению скоростью и концентрацией пылевоздушной струи 39, направляемой на поверхности горной выработки. Предложенная совокупность усовершенствований обеспечивает повышение эффективности осланцевания горных выработок.
В устройстве отсутствуют процессы с механическим или гидравлическим приводом от каких-либо двигателей. Перемещение инертной каменной пыли 37 в устройстве происходит под действием силы тяжести и энергии сжатого воздуха из пневмосети шахты, поток которого трансформируется через вентилятор 20. Упрощение конструкции повышает надежность работы устройства. Отсутствие контакта деталей вентилятора 20 с инертной каменной пылью 37 определяет длительный срок службы устройства.
Герметичность бункера благодаря перекрытию 7 и уплотнению крышки 8 создает условия для повышения давления в его верхней части при открытии шиберной задвижкой 17 нагнетательного окна 16 для лучшей выгрузки инертной каменной пыли 37 в короб 12.
Вытянутая форма короба 12 создает длинную камеру смешивания 36 инертной каменной пыли 37 с воздухом, что способствует насыщению потока дисперсным материалом. Оборудование устройства грузовыми петлями 9 и полозьями 14 приспосабливает его к транспортировке.
Таким образом, предлагаемое устройство решает техническую проблему повышения эффективности осланцевания горных выработок и обеспечивает заявленный технический результат в части совершенствования конструкции устройства, упрощения процесса его эксплуатации, а также повышения управляемости скоростью и концентрацией пылевоздушной струи 39, следствием чего является повышение производительности при требуемом качестве осланцевания.
| название | год | авторы | номер документа |
|---|---|---|---|
| УСТРОЙСТВО ДЛЯ ОСЛАНЦЕВАНИЯ ГОРНЫХ ВЫРАБОТОК | 2019 |
|
RU2729084C1 |
| ФИЛЬТР РУКАВНЫЙ ДЛЯ ТРЕХСТУПЕНЧАТОЙ ОЧИСТКИ ВОЗДУХА ОТ МЕХАНИЧЕСКИХ ПРИМЕСЕЙ | 2006 |
|
RU2336930C2 |
| УСТРОЙСТВО ОСЛАНЦЕВАНИЯ | 2011 |
|
RU2544189C1 |
| ЗЕРНОХРАНИЛИЩЕ | 2005 |
|
RU2301518C1 |
| Устройство для осланцевания горных выработок | 1982 |
|
SU1097806A1 |
| ПНЕВМАТИЧЕСКИЙ КЛАССИФИКАТОР | 2010 |
|
RU2451564C2 |
| ШАХТНАЯ АЭРОЖЁЛОБНАЯ СУШИЛКА | 2015 |
|
RU2589894C1 |
| СУШИЛЬНАЯ УСТАНОВКА С ИНЕРТНОЙ НАСАДКОЙ | 2006 |
|
RU2320240C1 |
| СУШИЛЬНАЯ УСТАНОВКА С ИНЕРТНОЙ НАСАДКОЙ | 2007 |
|
RU2329746C1 |
| Пневматический классификатор | 1990 |
|
SU1731297A1 |
Изобретение относится к горному делу, к оборудованию по предупреждению взрывов пылевоздушных смесей в угольных шахтах, опасных по газу и пыли, и предназначено для нанесения инертной пыли на почву, борта и кровлю горных выработок механизированным способом. Техническим результатом является совершенствование конструкции устройства, упрощение процесса его эксплуатации, а также повышение управляемости скоростью и концентрацией пылевоздушной струи. Устройство включает бункер, образованный продольными и торцевыми вертикальными стенками, соединенными соседними боковыми краями, сверху имеющий крышку. Указанные вертикальные стенки снизу связаны с соответствующими им по длине наклонными стенками, зауженными книзу и соединенными между собой соседними боковыми краями, а нижними краями - с горизонтальным дном бункера. Устройство также содержит фланец, вентилятор, камеру смешивания инертной каменной пыли с воздухом, конфузор и приспособлено к транспортировке. Камера смешивания выполнена в виде короба с горизонтальным днищем и вертикальными стенками, присоединенными к нижним краям вертикальных стенок бункера. В торцевой стенке короба изготовлено входное отверстие, над которым в вертикальной стенке бункера выполнено нагнетательное окно, оборудованное шиберной задвижкой. С внешней стороны короба, к торцевым стенкам его и бункера, прикреплен фланец с вентилятором. Фланец имеет диаметр, перекрывающий входное отверстие короба и нагнетательное окно бункера. В противоположной стенке короба выполнено выходное отверстие, к которому с внешней стороны присоединен конфузор. Наклонные стенки бункера выполнены под углом к его дну 45-50°. В дне бункера выполнены по меньшей мере три разгрузочных окна, перекрытые снизу шиберной заслонкой с выпускными окнами, соответствующими по форме, размеру и удалению друг от друга указанным разгрузочным окнам бункера. Выпускные окна шиберной заслонки снизу, наполовину их длины со стороны вентилятора, прикрыты обтекателями. Шиберная заслонка выполнена с возможностью продольного перемещения для совмещения разгрузочных и выпускных окон. В углах пересечения продольных стенок короба с продольными наклонными стенками бункера с обеих его сторон установлены по меньшей мере по три дефлектора в виде пластин треугольной формы. Пластины выполнены с наклоном к дну бункера в сторону конфузора, причем площадь пластин увеличивается по мере удаления места их установки от вентилятора. 3 з.п. ф-лы, 8 ил.
1. Устройство для осланцевания горных выработок, содержащее бункер, образованный продольными и торцевыми вертикальными стенками, соединенными соседними боковыми краями, сверху имеющий крышку, при этом указанные вертикальные стенки снизу связаны с соответствующими им по длине наклонными стенками, зауженными книзу и соединенными между собой соседними боковыми краями, а нижними краями - с горизонтальным дном бункера, а также содержащее фланец, вентилятор, камеру смешивания инертной каменной пыли с воздухом, конфузор и приспособленное к транспортировке, отличающееся тем, что камера смешивания выполнена в виде короба с горизонтальным днищем и вертикальными стенками, присоединенными к нижним краям вертикальных стенок бункера, при этом в торцевой стенке короба изготовлено входное отверстие, над которым в вертикальной стенке бункера выполнено нагнетательное окно, оборудованное шиберной задвижкой, а с внешней стороны короба, к торцевым стенкам его и бункера, прикреплен фланец с вентилятором, при этом фланец имеет диаметр, перекрывающий входное отверстие короба и нагнетательное окно бункера, причем в противоположной стенке короба выполнено выходное отверстие, к которому с внешней стороны присоединен конфузор, при этом наклонные стенки бункера выполнены под углом к его дну 45-50°, а в дне бункера выполнены по меньшей мере три разгрузочных окна, перекрытые снизу шиберной заслонкой с выпускными окнами, соответствующими по форме, размеру и удалению друг от друга указанным разгрузочным окнам бункера, при этом выпускные окна шиберной заслонки снизу, наполовину их длины со стороны вентилятора, прикрыты обтекателями, а шиберная заслонка выполнена с возможностью продольного перемещения для совмещения разгрузочных и выпускных окон, при этом в углах пересечения продольных стенок короба с продольными наклонными стенками бункера с обеих его сторон установлены по меньшей мере по три дефлектора в виде пластин треугольной формы, которые выполнены с наклоном к дну бункера в сторону конфузора, причем площадь пластин увеличивается по мере удаления места их установки от вентилятора, а удаление Г днища короба от дна бункера рассчитывается по выражению:
Г=tgα[(А-Д)/2], мм,
где α - угол естественного откоса инертной каменной пыли, град.,
А - ширина бункера, мм,
Д - диаметр разгрузочного окна в дне бункера, мм.
2. Устройство по п. 1, отличающееся тем, что разгрузочные окна в дне бункера и выпускные окна в шиберной заслонке выполнены круглыми.
3. Устройство по п. 2, отличающееся тем, что обтекатели установлены по ближним к вентилятору полуокружностям выпускных окон шиберной заслонки, выполнены в форме четверти сферы диаметром, равным диаметру указанных окон, и обращены выпуклыми сторонами к вентилятору.
4. Устройство по пп. 1-3, отличающееся тем, что к вертикальным стенкам бункера прикреплены грузовые петли, а к днищу короба - полозья.
| УСТРОЙСТВО ДЛЯ ОСЛАНЦЕВАНИЯ ГОРНЫХ ВЫРАБОТОК | 2019 |
|
RU2729084C1 |
| НАСОСНАЯ УСТАНОВКА | 0 |
|
SU177773A1 |
| АППАРАТ ДЛЯ ОСЛАНЦЕВАНИЯ ПОДЗЕМНЫХ ВЫРАБОТОК | 1932 |
|
SU38088A1 |
| Устройство для осланцевания горных выработок | 1982 |
|
SU1097806A1 |
| CN 110454213 A, 15.11.2019 | |||
| US 4805702 A, 21.02.1989 | |||
| US 4510883 A, 16.04.1985 | |||
| US 8584974 B2, 19.11.2013. | |||
Авторы
Даты
2024-11-25—Публикация
2024-06-04—Подача