Изобретение относится к области авиастроения, а именно к съемному оборудованию в виде навесных и подвесных контейнеров (гондол), предназначенных для размещения внутри них блоков аппаратуры, и может применяться на различных летательных аппаратах, в том числе вертолетах.
Известна гондола (CN 207133425 U, GO1S 7/481; G01S 7/495; опубл. 23.03.2018), которая состоит из демпфирующего устройства крепления, контейнера и функционального оборудования, находящегося в контейнере. Контейнер гондолы (в форме усеченного цилиндра) состоит из платформы с расположенными на ней формообразующими шпангоутами и съемной обшивки, демонтаж которой обеспечивает доступ к оборудованию внутри. Блоки оборудования располагаются в отсеках контейнера между шпангоутами на специальных креплениях для каждого блока.
Известна гондола (CN 106043721 A, B64D 47/08; GO1S 17/89, опубл. 26.10.2016), в которой кронштейн подвески в верхней части гондолы соединен с несущей рамой вертолета авиационными болтами и надежно закреплен авиационными самоконтрящимися гайками. Лазерный сканер, цифровая камера и инерциальный навигационный модуль гондолы жестко и неподвижно связаны через сенсорную несущую конструкцию.
Известен подвесной контейнер для летательного аппарата наиболее близкий к заявляемому техническому решению (RU 2739018 C1, В64С 7/02, B64D 9/00, опубл. 21.12.2020), который содержит кронштейн с узлами крепления, на котором установлены обтекатели с замками. Сверху на плите предусмотрен фиксатор, каждый обтекатель состоит из оболочки, на вырезе которой закреплена накладка жесткости. При этом оболочка снабжена поясом с отверстиями под штыри в кольце, на котором установлены замки и прокладка.
Элементы конструкции, представленные в аналогах, имеют ограниченную область применения, т.к. предназначены для решения конкретной задачи.
Раскрытие изобретения
Технической проблемой, решаемой заявляемой полезной моделью, является создание конструктивно-силовой структуры контейнера, обеспечивающей надежное крепление блоков аппаратуры, обеспечение ее обслуживания и монтажа жгутов. Так же конструкция обеспечивает установку гондолы на вертолет, позволяет выдержать необходимую точность угловых размеров для размещения блоков аппаратуры по всем трем осям за счет установки центрального корпуса, путем выполнения стыковочных отверстий в силовых фитингах, которые составляют часть силовых шпангоутов. Стыковочные отверстия выполнены совместно в консоли крыла и соответствуют элементам крепления.
Технический результат заключается в обеспечении жесткого крепления блоков аппаратуры внутри гондолы при применении во всех расчетных случаях и компенсация перегрузок на всех режимах полета вертолета, обеспечение работы встроенной системы подъема грузов за счет размещения вала лебедки внутри центрального корпуса гондолы, что позволяет осуществить передачу усилия и крутящего момента на встроенную систему подъема грузов, установленную внутри крыла вертолета.
Для достижения технического результат предлагается гондола летательного аппарата для размещения блоков аппаратуры, содержащая корпус центральный 35 с обтекателями, причем, корпус центральный 35 состоит из шпангоута переднего 30, шпангоута заднего 31, которые соединены между собой с помощью стрингеров 89, закрепленных по контуру корпуса центрального 35, который закрыт снаружи обшивкой 14 и крышками 4, причем на шпангоутах переднем 30 и заднем 31 закреплены поперечно расположенные ребра 76, соединенные боковыми зашивками 94,
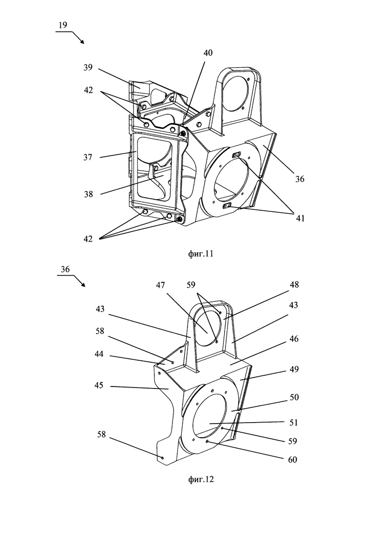
на открытой стороне корпуса центрального 35 закреплена балка 33, сверху и снизу над ней расположены проемы 29, закрытые крышками 4, к шпангоутам переднему 30 и заднему 31 присоединены кронштейны составные 19, которые включают соединенные между собой кронштейн передний 36, кронштейн боковой 37, кронштейн нижний 38, кронштейн задний 39, кронштейн верхний 40,
кронштейн передний 36 представляет собой форму короба со стенкой передней 49, стенками боковыми 45, площадкой верхней 46 с наращенной конструкцией в виде бортика 48, снабженного по контуру обечайкой 43 и имеющего отверстие 47, а также ребром 44, имеющим форму трапеции и соединяющим стенку боковую 45 с обечайкой 43, стенка передняя 49 соединена с двух сторон со стенками боковыми 45 и снабжена усилением 50 по контуру центрального отверстия 51, выполненного в стенке передней 49,
кронштейн задний 39 содержит стенку 56, в которой выполнены отверстия 57, 58, 86, сбоку на кронштейне заднем 39 установлена стенка 54,
кронштейн верхний 40 содержит площадку 85, имеющую в основании форму разностороннего пятиугольника с отверстием 88, сверху по контуру расположены бортики 65, 67, 68, в которых выполнены отверстия 58, причем бортики 66, 69 соединяют бортик 65 с бортиками 67, 68 соответственно,
кронштейн боковой 37 содержит стенку 70 с бортиком 73, расположенным под углом, и с бортиком 71, снабженным усилениями 72, в центре стенки 70 выполнено отверстие 74, причем бортики 71, 73 соединены между собой ребрами 75,
в корпусе центральном 35 установлен вал 77, содержащий трубу 80, на которой с одной стороны закреплен наконечник 79, а с другой стороны установлен механизм поджатая 78, который содержит втулку 81, в отверстие которой вставлен болт 83, к которому с внешней стороны закреплен шестигранник 84, снабженный внутренним отверстием.
При этом корпус центральный 35 имеет круглое сечение.
Кроме того, с задней стороны гондолы 2 на шпангоуте переднем 30 закреплен фитинг передний 18, а на шпангоуте заднем 31 закреплен фитинг задний 15.
При этом на внешней боковой стороне балки 33 выполнено отверстие 20 и закреплен фланец 7.
Кроме того, наконечник 79 вала 77 установлен с возможностью вращения через отверстие 16 с отбортовкой, которое выполнено с обратной стороны корпуса центрального 35, другой стороной вал 77 закреплен на фланце 7, установленном на балке 33.
При этом детали кронштейнов составных 19 выполнены из алюминиевого сплава методом фрезерования на станках с числовым программным управлением и соединены между собой с помощью винтов 42 через отверстия 58 с последующим стопорением самоконтрящимися гайками.
Таким образом достигается технический результат.
Достигается жесткое крепление блоков аппаратуры внутри гондолы и компенсация перегрузок на всех режимах полета вертолета, что повышает надежность установки блоков аппаратуры за счет применения на вертолете предлагаемой гондолы 2 с размещенными на ней зеркальными кронштейнами составными 19, закрытыми обтекателями 34 спереди и сзади, за счет наличия центрального корпуса 35, который состоит из параллельно расположенных шпангоута переднего 30 и шпангоута заднего 31, которые имеют круглую форму и соединены между собой по контуру стрингерами 89, зашитыми обшивкой 14, при этом на лицевой стороне центрального корпуса 35 имеются два отверстия 29 для размещения блоков аппаратуры, закрытые съемными крышками 4.
В полете вертолета возникающие нагрузки воспринимаются обтекателями 34 и кронштейнами составными 19, затем распределяются на шпангоут передний 30 и задний 31, распределяются на фитинг передний 18 и фитинг задний 15 и компенсируются за счет деталей кронштейнов составных 19 и за счет жесткой конструктивно-силовой схемы корпуса центрального 35 и всей конструкции в сборе.
В случае использования системы подъема грузов при установленной гондоле 2 на крыле 1 используют вал 77, при этом наконечник 79 выступает за пределы корпуса центрального 35 через отверстие 16 и входит в ответную часть на консоли крыла 1. Вал 77 передает усилие и крутящий момент на систему подъема грузов, установленную внутри крыла 1. Механизм поджатая 78 позволяет установить наружную съемную рукоятку, которая имеет шестигранную поверхность и позволяет вручную вращать вал 77. Это в целом расширяет область применения предлагаемой гондолы 2.
Таким образом, за счет предлагаемой конструктивно-силовой схемы корпуса центрального 35 достигается необходимая жесткость и прочность всей конструкции в сборе, что позволяет установить и обеспечить работоспособность системы подъема грузов.
Краткое описание чертежей
Сущность предлагаемой полезной модели поясняется чертежами:
На фиг. 1 - расположение гондолы, общий вид 3/4;
На фиг. 2 -гондола, общий вид 3/4;
На фиг. 3 - гондола, вид спереди;
На фиг. 4 - гондола, вид сбоку;
На фиг. 5 - гондола, вид сверху;
На фиг. 6 - гондола, вид сзади;
На фиг. 7 - силовая конструкция без обтекателей, вид спереди;
На фиг. 8 - обтекатель, вид спереди;
На фиг. 9 - центральный корпус, общий вид 3/4;
На фиг. 10 - шпангоут задний, общий вид;
На фиг. 11 - сборный кронштейн, общий вид 3/4;
На фиг. 12 - кронштейн передний, общий вид 3/4;
На фиг. 13 - кронштейн задний, общий вид 3/4;
На фиг. 14 - кронштейн нижний, общий вид 3/4;
На фиг. 15 - кронштейн верхний, общий вид 3/4;
На фиг. 16 - кронштейн боковой, общий вид 3/4;
На фиг. 17 - центральный корпус, сечение А-А на фиг. 3;
На фиг. 18 - вал, сечение.
Осуществление изобретения
Гондола 2 закреплена на консоли крыла 1 летательного аппарата, например, вертолета, и состоит из корпуса центрального 35, выполняющего функцию силового каркаса, обтекателя 8 и двух съемных композитных обтекателей 34 (фиг. 1, 2, 4, 5, 6).
Корпус центральный 35 выполнен сложной геометрической формы, имеет круглое сечение и состоит из шпангоута переднего 30, шпангоута заднего 31, которые соединены между собой с помощью стрингеров 89, закрепленных по контуру корпуса центрального 35, закрытых снаружи обшивкой 14 (фиг. 2, 9, 17).
На круглых шпангоутах передних 30 и задних 31 закреплены поперечно расположенные ребра 76, соединенные боковыми зашивками 94, и в сборе являются основными несущими элементами (фиг. 9, 10). С задней стороны гондолы 2 на шпангоуте переднем 30 расположен фитинг передний 18, а шпангоуте заднем 31 расположен фитинг задний 15 соответственно (фиг. 6). На внешней поверхности корпуса центрального 35 установлены швартовочные узлы 3. Так же по контуру спереди и сзади установлено по четыре замка стяжных 9.
На открытой стороне корпуса центрального 35, которая не закрыта обшивкой, закреплена балка 33, имеющая П-образное сечение и соединяющая шпангоут передний 30 и шпангоут задний 31 совместно со стрингерами 89 (фиг. 9). Сверху и снизу над ней расположены проемы 29, предназначенные для установки блоков аппаратуры по направляющим 32 внутри гондолы 2. Проемы 29 закрыты съемными крышками 4, повторяющими контур боковой части корпуса центрального 35.
На внешней боковой стороне балки 33 выполнено отверстие 20 для установки габаритного огня, а также закреплен фланец 7, являющийся ограничителем при выполнении работ с внешней системой подъема грузов (не показано). За фланцем 7 в середине корпуса центрального 35 расположен вал 77 (фиг. 9, 17), состоящий из трубы 80, на которой с одной стороны закреплен наконечник 79, а с другой стороны установлен механизм поджатая 78 (фиг. 17, 18).
Механизм поджатая 78 состоит из втулки 81, имеющей внутри пространство для обеспечения хода болта 83, через отверстие в шайбе 82, которая жестко зафиксирована в корпусе втулки 81. Так же к болту 83 с внешнего торца закреплен шестигранник 84 с резьбовым отверстием внутри, который поджимает пружину 95 при установке наружной съемной рукоятки (не показано), которая имеет шестигранную поверхность и позволяет вручную вращать вал 77. За счет шестигранной поверхности рукоятка контактирует с втулкой 81 вала 77, и происходит его вращение. Вал 77 передает усилие и крутящий момент на встроенную систему подъема грузов (не показано), установленную внутри крыла 1.
Наконечник 79 вала 77 установлен с возможностью вращения через отверстие 16 с отбортовкой, которое выполнено с обратной стороны корпуса центрального 35. Другой стороной вал 77 закреплен на фланце 7, установленном на балке 33. Таким образом, реализуется функционирование встроенной системы подъема груза при установленной на крыле 1 гондоле 2, которая закрывает доступ к механизму штатной встроенной системы подъема грузов, который применяют в других модификациях.
С обратной стороны корпуса центрального 35 расположен фиксатор 17 для обеспечения точности установки гондолы по тангажу и одновременно служащий проводником металлизации (фиг. 6). Спереди и сзади корпуса центрального 35 по контуру шпангоутов переднего 30 и заднего 31 установлено по пять штырей 21, необходимых для правильной установки обтекателей 34 и обеспечения защелкивания замков стяжных 9 (фиг. 7). Так же шпангоуты передний 30 и задний 31 являются формообразующими элементами, на которых закреплены обтекатели 34 (фиг. 5).
К шпангоутам переднему 30 и заднему 31 присоединены кронштейны составные 19, предназначенные для установки блоков аппаратуры и выполненные таким образом, чтобы обеспечить необходимые углы их установки (фиг. 7). Кронштейны составные 19 состоят из кронштейна переднего 36, кронштейна бокового 37, кронштейна нижнего 38, кронштейна заднего 39, кронштейна верхнего 40, которые соединены между собой винтами 42 с помощью отверстий 58 и последующим стопорением самоконтрящимися гайками (не показаны) (фиг. 11,12). Все детали кронштейнов составных 19 выполнены из алюминиевого сплава методом фрезерования на станках с числовым программным управлением.
Кронштейн передний 36 предназначен для крепления блоков аппаратуры внутри гондолы 2 (фиг. 12). Кронштейн передний 36 представляет собой форму короба со стенкой передней 49, фигурными стенками боковыми 45, площадкой верхней 46 без задней стенки, но с наращенной конструкцией в виде бортика 48, имеющего отверстие 47 и усиленного по контуру обечайкой 43, которая имеет расширение в основании, а также ребром 44, имеющим форму трапеции и соединяющим стенку боковую 45 с обечайкой 43. Для обеспечения жесткости и прочности конструкции, стенка передняя 49 соединена с двух сторон со стенками боковыми 45, выполненных с плавной подрезкой, и снабжена усилением 50 по контуру центрального отверстия 51, выполненного стенке передней 49 и необходимого для размещения оптической части блоков аппаратуры, которые закрепляют через отверстия 59 на бортике 48 и на стенке передней 49. В усилении 50 выполнены отверстия 60 под установку штифтов 41 для точного позиционирования блоков аппаратуры.
Кронштейн задний 39 входит в конструктивно-силовую схему кронштейна составного 19, имеет сложную геометрическую форму (фиг. 13). Кронштейн задний 39 содержит стенку 56, в которой выполнены отверстия 57, 86 для снижения веса и отверстия 58 для крепления к деталям кронштейна составного 19.
В стенке 56 выполнены фигурные вырезы верхний 53 и нижний 55, и сверху размещено ухо 52 с отверстием. А сбоку на стенке 56 расположена стенка 54 для стыковки с корпусом центральным 35 (фиг. 13).
Кронштейн нижний 38 содержит площадку 61 с отверстием 62 прямоугольной формы со скругленными углами (фиг. 14). В верхней части расположен бортик верхний 63 с плавной подрезкой и с двумя отверстиями 58. Бортик 65 соединен с площадкой 61 при помощи двух ребер жесткости 87, имеющих треугольную форму. В нижней части по контуру площадка 61 снабжена двумя примыкающими бортиками нижними 64 с отверстиями 58, которые необходимы для обеспечения крепления к кронштейну переднему 36, кронштейну заднему 39 и кронштейну боковому 37.
Кронштейн верхний 40 содержит площадку 85, имеющую в основании форму разностороннего пятиугольника с отверстием 88 (фиг. 15). Сверху по контуру расположены бортики 65, 67, 68, необходимые для обеспечения крепления к кронштейну переднему 36, кронштейну заднему 39 и кронштейну боковому 37 при помощи отверстий 58. Бортики 66, 69 соединяют бортик 65 с бортиками 67, 68. При этом бортики 65, 66, 67, 69 имеют в центре фигурные вырезы для снижения веса конструкции.
Кронштейн боковой 37 имеет в основании стенку 70 с бортиком 73, расположенным под углом, и с бортиком 71, имеющим местные усиления 72 (фиг. 16). В центре стенки 70 выполнено прямоугольное отверстие 74 со скругленными углами. Также бортики 71, 73 соединены между собой ребрами 75. В кронштейне боковом 37 так же выполнены отверстия 58 для соединения с кронштейном передним 36, кронштейном верхним 40 и кронштейном нижним 38.
Вышеупомянутые кронштейны 36, 37, 38, 39, 40 выполнены из алюминиевого сплава методом фрезерования на станке с числовым программным управлением. При этом выполненные в них отверстия 57,62,74,88 соответственно, вырезы верхний 53 и нижний 55 в стенке 56 предназначены для снижения веса конструкции.
Обтекатели 34 устанавливаются спереди и сзади корпуса центрального 35, надеваются на штыри 21 корпуса центрального 35 и фиксируются замками стяжными 9 с помощью крюков 28 (фиг. 3, 4, 8). Каждый обтекатель 34 выполнен из композитного материала и имеет сложную геометрическую форму, в основании которой круглое сечение, по которому расположен пояс-окантовка 92 из прессованного профиля, на котором наклеено резиновое уплотнение 91 для герметизации соединения (фиг. 8). В крайней части обтекатель 34 имеет усеченную форму, образованную стенкой 24, имеющей отверстие, которое закрыто легкосъемной крышкой защитной 6, и стенкой 25, имеющей отверстие со стеклом защитным 5, усиленное окантовкой 26 и закрепленное винтами 27. Между собой скошенные стенки 25 и 24 соединены горизонтальной площадкой 23 и боковой стенкой 22 (фиг. 6, 8).
Обтекатель 8 имеет сложную геометрическую форму и повторяет сечение стыковочной поверхности на консоли крыла 1 вертолета (фиг. 6). Обтекатель 8 состоит из трех частей: обшивка передняя 10, обшивка центральная 11 и обшивка задняя 12. Все элементы выполнены из алюминиевого сплава, соединены заклепочным швом с помощью заклепок 13 и имеют закрепленное по контуру уплотнение 90 для препятствования проникновению жидкости между гондолой 2 и крылом 1 (фиг. 5, 6).
Монтаж осуществляют следующим образом.
Установка гондолы 2 на консоль крыла 1 производится на доработанный фланец путем совмещения фиксатора 17 на фитинге переднем 18 шпангоута переднего 30 корпуса центрального 35 и соответствующего отверстия в консоли крыла 1. Гондола 2 фиксируется при помощи четырех болтов 93, устанавливаемых в отверстия (не показаны) на консоли крыла 1 и ответные отверстия (не показаны) на фитинге переднем 18 и фитинге заднем 15. Доступ к крепежу болтов 93 обеспечивается при снятых обтекателях 8. Стопорение болтов 93 осуществляется при помощи анкерных гаек (не показаны) на консоли крыла 1. Далее устанавливают обтекатели 8.
Обтекатели 34 надеваются на корпус центральный 35 таким образом, чтобы штыри 21 на шпангоутах переднем 30 и заднем 31 попали в ответные отверстия (не показаны) в поясе-окантовке 92 обтекателей 34, при этом уплотнения 91 обтекателей 34 должно прилегать к шпангоутам переднему 30 и заднему 31. После чего петли замков стяжных 9 накидывают на крюки 28, приклепанные к обтекателям 34, и замки стяжные 9 закрывают.
Для обеспечения защиты блоков аппаратуры от пыли и погодных осадков устанавливают съемные крышки защитные 4, 6, которые перед полетом демонтируют.
Устройство работает следующим образом.
В полете вертолета возникающие нагрузки воспринимаются обтекателями 34 и кронштейнами составными 19, затем распределяются на шпангоут передний 30 и задний 31, распределяются на фитинг передний 18 и фитинг задний 15 и компенсируются за счет деталей кронштейнов составных 19 и за счет жесткой конструктивно-силовой схемы корпуса центрального 35 и всей конструкции в сборе.
Корпус центральный 35 выполняет функцию силового каркаса, т.к. воспринимает нагрузку от веса блоков аппаратуры, а также весовую и аэродинамическую нагрузку от композитных обтекателей 34.
При этом корпус центральный 35 воспринимает и поглощает нагрузки с помощью шпангоутов переднего 30 и заднего 31 в горизонтальной плоскости, а с помощью стрингеров 89 и балки 33 в вертикальной плоскости. За счет совокупности элементов конструкции достигается достаточная жесткость, обеспечивающая защиту от вибрационных и других нагрузок для корректной работоспособности блоков аппаратуры. Обтекатели 8, 34 защищают блоки аппаратуры от внешних воздействующих факторов и от атмосферных осадков.
Таким образом достигается возможность жесткого закрепления гондолы 2 на консоль крыла 1, обеспечивается влагозащищенность гондолы 2, снижение веса агрегата без потери прочности и надежности за счет применения на вертолете предлагаемой гондолы 2 с размещенными на ней зеркальными кронштейнами составными 19, закрытыми обтекателями 34 спереди и сзади, за счет наличия центрального корпуса 35, который состоит из параллельно расположенных шпангоута переднего 30 и шпангоута заднего 31, которые имеют круглую форму и соединены между собой по контуру стрингерами 89, зашитыми обшивкой 14, при этом на лицевой стороне центрального корпуса 35 имеются два отверстия 29 для размещения блоков аппаратуры, закрытые съемными крышками 4.
Кроме того, за счет быстросъемности и модульности предложенной конструкции достигаются высокие эксплуатационные характеристики в части сокращения времени монтажа или демонтажа конструкции.
В случае использования системы подъема грузов при установленной гондоле 2 на крыле 1 используют вал 77, при этом наконечник 79 выступает за пределы корпуса центрального 35 через отверстие 16 и входит в ответную часть на консоли крыла 1. Механизм поджатая 78 позволяет установить наружную съемную рукоятку (не показано), которая имеет шестигранную поверхность и позволяет вручную вращать вал 77. Это в целом расширяет область применения предлагаемой гондолы 2.
Таким образом, за счет предлагаемой конструктивно-силовой схемы корпуса центрального 35 достигается необходимая жесткость и прочность всей конструкции в сборе, что позволяет установить и обеспечить работоспособность системы подъема грузов.
| название | год | авторы | номер документа |
|---|---|---|---|
| ПОДВЕСНОЙ КОНТЕЙНЕР ДЛЯ ЛЕТАТЕЛЬНОГО АППАРАТА | 2020 |
|
RU2739018C1 |
| МНОГОЦЕЛЕВОЙ ВЫСОКОМАНЕВРЕННЫЙ СВЕРХЗВУКОВОЙ САМОЛЕТ, ЕГО АГРЕГАТЫ ПЛАНЕРА, ОБОРУДОВАНИЕ И СИСТЕМЫ | 1996 |
|
RU2207968C2 |
| УСОВЕРШЕНСТВОВАННЫЕ ПИЛОНЫ КРЕПЛЕНИЯ РЕАКТИВНЫХ ДВИГАТЕЛЕЙ | 2016 |
|
RU2729129C2 |
| БЕСПИЛОТНЫЙ ЛЕТАТЕЛЬНЫЙ АППАРАТ, БЛОК ВИДЕОАППАРАТУРЫ ДЛЯ НЕГО И КАТАПУЛЬТА (ВАРИАНТЫ) ДЛЯ ЕГО ЗАПУСКА | 2010 |
|
RU2466909C2 |
| ЦЕНТРАЛЬНАЯ ЧАСТЬ ФЮЗЕЛЯЖА И БИМС | 2010 |
|
RU2443599C1 |
| МОДУЛЬНЫЕ САМОЛЕТЫ-ВЕРТОЛЕТЫ ДЛЯ КОМПЛЕКСОВ АРКТИЧЕСКИХ РАКЕТНО-АВИАЦИОННЫХ | 2020 |
|
RU2743311C1 |
| ПИЛОН ПОДВЕСКИ ДВИГАТЕЛЯ К КРЫЛУ | 2006 |
|
RU2338668C2 |
| МОДУЛЬНЫЕ САМОЛЕТЫ-ВЕРТОЛЕТЫ ДЛЯ СИСТЕМ КОРАБЕЛЬНО-АВИАЦИОННЫХ РАКЕТНЫХ | 2020 |
|
RU2748042C1 |
| Пассажирский самолёт с аварийно-спасательными модулями и комбинированной силовой установкой | 2022 |
|
RU2781717C1 |
| СИСТЕМА ЗАПУСКА И ТРАНСПОРТИРОВАНИЯ ПОЛЕЗНОЙ НАГРУЗКИ | 1999 |
|
RU2233772C2 |
Изобретение относится к размещению блоков аппаратуры на вертолете. Гондола летательного аппарата для размещения блоков аппаратуры содержит корпус центральный (35) с обтекателями. Корпус центральный (35) состоит из шпангоута переднего (30), шпангоута заднего (31), которые соединены между собой с помощью стрингеров, закрепленных по контуру корпуса центрального (35), который закрыт снаружи обшивкой (14) и крышками. На шпангоутах переднем (30) и заднем (31) закреплены поперечно расположенные ребра (76), соединенные боковыми зашивками (94). На открытой стороне корпуса центрального (35) закреплена балка (33), сверху и снизу над ней расположены проемы (29), закрытые крышками. К шпангоутам переднему (30) и заднему (31) присоединены кронштейны составные, которые включают соединенные между собой кронштейн передний, кронштейн боковой, кронштейн нижний, кронштейн задний, кронштейн верхний. В корпусе центральном (35) установлен вал (77), содержащий трубу, на которой с одной стороны закреплен наконечник, а с другой стороны установлен механизм поджатия. Достигается жесткое крепление блоков аппаратуры внутри гондолы, компенсация вибрационных нагрузок на всех режимах полета вертолета, что повышает надежность установки блока аппаратуры. 5 з.п. ф-лы, 18 ил.
1. Гондола летательного аппарата для размещения блоков аппаратуры, содержащая корпус центральный (35) с обтекателями, отличающаяся тем, что
корпус центральный (35) состоит из шпангоута переднего (30), шпангоута заднего (31), которые соединены между собой с помощью стрингеров (89), закрепленных по контуру корпуса центрального (35), который закрыт снаружи обшивкой (14) и крышками (4), причем на шпангоутах переднем (30) и заднем (31) закреплены поперечно расположенные ребра (76), соединенные боковыми зашивками (94),
на открытой стороне корпуса центрального (35) закреплена балка (33), сверху и снизу над ней расположены проемы (29), закрытые крышками (4),
к шпангоутам переднему (30) и заднему (31) присоединены кронштейны составные (19), которые включают соединенные между собой кронштейн передний (36), кронштейн боковой (37), кронштейн нижний (38), кронштейн задний (39), кронштейн верхний (40),
кронштейн передний (36) представляет собой форму короба со стенкой передней (49), стенками боковыми (45), площадкой верхней (46) с наращенной конструкцией в виде бортика (48), снабженного по контуру обечайкой (43) и имеющего отверстие (47), а также ребром (44), имеющим форму трапеции и соединяющим стенку боковую (45) с обечайкой (43), стенка передняя (49) соединена с двух сторон со стенками боковыми (45) и снабжена усилением (50) по контуру центрального отверстия (51), выполненного в стенке передней (49),
кронштейн задний (39) содержит стенку (56), в которой выполнены отверстия (57, 58, 86), сбоку на кронштейне заднем (39) установлена стенка (54),
кронштейн верхний (40) содержит площадку (85), имеющую в основании форму разностороннего пятиугольника с отверстием (88), сверху по контуру расположены бортики (65, 67, 68), в которых выполнены отверстия (58), причем бортики (66, 69) соединяют бортик (65) с бортиками (67, 68) соответственно,
кронштейн боковой (37) содержит стенку (70) с бортиком (73), расположенным под углом, и с бортиком (71), снабженным усилениями (72),
в центре стенки (70) выполнено отверстие (74), причем бортики (71, 73) соединены между собой ребрами (75),
в корпусе центральном (35) установлен вал (77), содержащий трубу (80), на которой с одной стороны закреплен наконечник (79), а с другой стороны установлен механизм поджатия (78), который содержит втулку (81), в отверстие которой вставлен болт (83), к которому с внешней стороны закреплен шестигранник (84), снабженный внутренним отверстием.
2. Гондола летательного аппарата для размещения блоков аппаратуры по п. 1, отличающаяся тем, что корпус центральный (35) имеет круглое сечение.
3. Гондола летательного аппарата для размещения блоков аппаратуры по п. 1 или 2, отличающаяся тем, что с задней стороны гондолы (2) на шпангоуте переднем (30) закреплен фитинг передний (18), а на шпангоуте заднем (31) закреплен фитинг задний (15).
4. Гондола летательного аппарата для размещения блоков аппаратуры по любому из пп. 1-3, отличающаяся тем, что на внешней боковой стороне балки (33) выполнено отверстие (20) и закреплен фланец (7).
5. Гондола летательного аппарата для размещения блоков аппаратуры по любому из пп. 1-4, отличающаяся тем, что наконечник (79) вала (77) установлен с возможностью вращения через отверстие (16) с отбортовкой, которое выполнено с обратной стороны корпуса центрального (35), другой стороной вал (77) закреплен на фланце (7), установленном на балке (33).
6. Гондола летательного аппарата для размещения блоков аппаратуры по любому из пп. 1-5, отличающаяся тем, что детали кронштейнов составных (19) выполнены из алюминиевого сплава методом фрезерования на станках с числовым программным управлением и соединены между собой с помощью винтов (42) через отверстия (58) с последующим стопорением самоконтрящимися гайками.
| ПОДВЕСНОЙ КОНТЕЙНЕР ДЛЯ ЛЕТАТЕЛЬНОГО АППАРАТА | 2020 |
|
RU2739018C1 |
| ДИРИЖАБЛЬ ДАЛЬНЕГО РАДИОЛОКАЦИОННОГО ОБНАРУЖЕНИЯ | 2015 |
|
RU2604914C2 |
| ВИБРАЦИОННЫЙ ОДНОМАССНЫЙ КОНВЕЙЕР | 1967 |
|
SU222930A1 |
| CN 207133425 U, 23.03.2018 | |||
| CN 106043721 A, 26.10.2016. | |||
Авторы
Даты
2024-12-13—Публикация
2024-06-13—Подача