В настоящей заявке испрашивается преимущество предварительной заявки на патент США US62773747, поданной 30.11.18, и европейской заявки на патент EP19206591.0, поданной 31.10.19, содержание которых включено в настоящий документ посредством ссылки.
ОБЛАСТЬ ТЕХНИКИ
Аспекты настоящего раскрытия в целом относятся к технологии бритья и, в частности, бритвенной системе и связанным с ней способам. В некоторых вариантах реализации кассеты для бритья согласно настоящему изобретению включают в себя один или более держателей лезвия, имеющих один или более оптических признаков, выполненных с возможностью, помимо прочего, информирования пользователя о предполагаемом использовании кассеты и/или о том, когда кассету следует заменить. Также обсуждается бритвенный узел и комплект деталей.
УРОВЕНЬ ТЕХНИКИ
Бритвы обычно включают в себя рукоятку и кассету, прикрепляемую к одному концу рукоятки с возможностью снятия. Кассета включает по меньшей мере одно лезвие для срезания волос. Пользователь держит рукоятку и неоднократно перемещает лезвие по области тела, которую нужно обрить, чтобы срезать волоски в этой области. Для увлажнения и защиты кожи пользователя во время бритья часто может использоваться смазывающий материал. Недостаточная или неправильная смазка, несоответствующие тип лезвия или угол лезвия, тупые или долго использовавшиеся лезвия и/или неправильная техника бритья могут привести к нежелательному раздражению кожи и/или царапинам и порезам.
Раскрытие сущности изобретения
Согласно одному аспекту обеспечена кассета для бритвы. Кассета содержит по меньшей мере одно лезвие и первый держатель лезвия, выполненный с возможностью прикрепления по меньшей мере одного лезвия к кассете. Первый держатель лезвия включает в себя первый участок, второй участок и третий участок, причем первый оптический признак обеспечен на одном или более из первого участка, второго участка и третьего участка. Первый оптический признак выбран из одного или более из цвета, покрытия, текстуры, перфорации, прозрачности держателя лезвия, источника излучения света, выступа и наклейки.
Согласно одному варианту реализации по меньшей мере одно лезвие прикреплено к поверхности, противоположной обращенной к коже поверхности третьего участка первого держателя лезвия.
Согласно одному варианту реализации по меньшей мере одно лезвие обеспечено в корпусе кассеты, частично открытое через отверстие в корпусе, так что первый оптический признак также частично открыт через указанное отверстие.
Согласно одному варианту реализации первый оптический признак отсутствует на лезвии.
Согласно одному варианту реализации первый оптический признак обеспечен по меньшей мере на части первого участка, второго участка и третьего участка первого держателя лезвия.
Согласно одному варианту реализации по меньшей мере одно лезвие соединено с третьим участком первого держателя лезвия, и первый оптический признак включает в себя источник излучения света, расположенный внутри держателя лезвия, причем свет излучается через прозрачный участок по меньшей мере третьего участка держателя лезвия.
Согласно одному варианту реализации первый участок и третий участок по существу прямые, а второй участок согнут под углом и соединяет первый участок с третьим участком.
Согласно одному варианту реализации первый оптический признак включает в себя первый слой и второй слой, расположенный на первом слое, при этом первый слой включает в себя первый цвет, второй слой включает в себя второй цвет, и второй слой выполнен с возможностью постепенного удаления во время использования бритвы.
Согласно одному варианту реализации первый держатель лезвия включает в себя обращенную к коже поверхность и поверхность, противоположную обращенной к коже поверхности, при этом по меньшей мере одно лезвие прикреплено к поверхности, противоположной обращенной к коже поверхности.
Согласно одному варианту реализации третий участок первого держателя лезвия содержит обращенную к коже поверхность держателя лезвия.
Согласно одному варианту реализации первый оптический признак представляет собой покрытие, содержащее состав с термочувствительной краской.
Согласно одному варианту реализации первый оптический признак представляет собой термохромный участок, выполненный с возможностью изменения цвета в зависимости от температуры первого держателя лезвия в соответствии с первой температурной реакцией состава с термочувствительной краской.
Согласно одному варианту реализации состав с термочувствительной краской выполнен с возможностью изменения цвета, когда температура участка первого держателя лезвия находится в диапазоне от 25°С до 60°С, более конкретно от 30°С до 40°С и наиболее конкретно составляет 35°С.
Согласно одному варианту реализации состав с термочувствительной краской выполнен с возможностью изменения цвета, когда температура участка первого держателя лезвия находится в диапазоне от 20°С до 45°С, более конкретно от 32°С до 42°С и наиболее конкретно от 35°С до 39°С.
Согласно одному варианту реализации первый оптический признак проходит в продольном направлении вдоль держателя лезвия, при этом первый оптический признак разделен в продольном направлении по меньшей мере на первый и второй подучастки, причем первый подучасток выполнен с возможностью отображения цвета, отличающегося от цвета второго подучастка, в зависимости от температуры держателя лезвия.
Согласно одному варианту реализации состав с термочувствительной краской содержит одно или более из следующего: лейкокраситель, проявитель и первая реакционная среда.
Согласно одному варианту реализации второй подучасток первого оптического признака содержит дополнительный состав с термочувствительной краской, содержащий одно или более из следующего: лейкокраситель, проявитель и вторая реакционная среда, причем вторая реакционная среда имеет температуру плавления, которая выше или ниже температуры плавления первой реакционной среды.
Согласно одному варианту реализации первая реакционная среда выбрана из группы, включающей -метилпальмитат, 1,2-октандиол, декановую кислоту, н-октадекан, 7-пентадеканон, диметилсебацинат, 1-додеканол, 4-изопропилбензиловый спирт, н-октадекан, этилстеарат, октадецил-3,3-дифенилпропаноат, стеарилбензоат, додеканофенон.
Согласно одному варианту реализации первый оптический признак выполнен с возможностью изменения внешнего вида на основе предыдущего или текущего состояния использования кассеты.
Согласно одному варианту реализации первый оптический признак выполнен с возможностью обратимого или постоянного изменения цвета на основе изменения температуры участка первого держателя лезвия.
Согласно одному варианту реализации первый оптический признак по меньшей мере частично выполнен с возможностью обратимого или постоянного изменения цвета, когда он подвергается воздействию проточной воды.
Согласно одному варианту реализации первый оптический признак по меньшей мере частично содержит покрытие из полидиацетилена.
Согласно одному варианту реализации первый оптический признак содержит покрытие, которое выполнено с возможностью истирания кожей пользователя во время использования кассеты, чтобы таким образом отображать пользователю, что кассета была использована.
Согласно одному варианту реализации первый оптический признак представляет собой маркированный лазером участок или содержит его.
Согласно одному варианту реализации первый оптический признак содержит сочетание (i) маркированного лазером участка держателя лезвия и (ii) водорастворимого покрытия, нанесенного поверх маркированного лазером участка.
Согласно одному варианту реализации первый оптический признак содержит сочетание (i) маркированного лазером участка держателя лезвия и (ii) истираемого покрытия, нанесенного поверх маркированного лазером участка.
Согласно одному варианту реализации кассета также содержит множество держателей лезвия. По меньшей мере второй держатель лезвия из множества держателей лезвия также содержит второе лезвие, прикрепленное к внутренней поверхности второго держателя лезвия, которая при использовании обращена от поверхности бритья. Второй держатель лезвия содержит второй оптический признак, расположенный на участке наружной поверхности по меньшей мере одного держателя лезвия, которая при использовании обращена к поверхности бритья.
Согласно одному варианту реализации второй оптический признак содержит второй термохромный участок, выполненный с возможностью изменения цвета в зависимости от температуры второго держателя лезвия.
Эффект состоит в том, что включение термохромного участка во множество держателей лезвия позволяет держателю лезвия действовать в качестве непосредственно видимого индикатора, имеющего прямой тепловой контакт с термохромным участком и лезвием бритвы. Поскольку термохромный участок находится в прямом тепловом контакте с лезвием бритвы, термохромный участок сообщает температуру лезвия бритвы или точку перехода температуры лезвия бритвы более точно и/или с меньшей задержкой по времени.
Согласно одному варианту реализации второй оптический признак содержит одно или более из цвета, покрытия, текстуры, перфорации, прозрачности держателя лезвия, источника излучения света, наклейки и участка с лазерной маркировкой.
Эффект состоит в том, что кассета для бритвы может содержать более одного термохромного участка (термочувствительной краски), каждый из которых меняет цвет при разных температурах.
Согласно одному варианту реализации второй держатель лезвия также содержит третий оптический признак, расположенный на участке наружной поверхности второго держателя лезвия, которая при использовании обращена к поверхности бритья, отличающемся от участка второго держателя лезвия, содержащего второй термохромный участок.
Эффект заключается в том, что кассета для бритвы может обеспечивать обратную связь с пользователем относительно множества или диапазона температур воды.
Согласно одному варианту реализации третий оптический признак представляет собой третий термохромный участок, выполненный с возможностью изменения цвета в зависимости от температуры второго держателя лезвия в соответствии с третьей температурной реакцией третьего термохромного участка.
Эффект состоит в том, что кассета для бритвы может обеспечивать обратную связь с пользователем на основе различных цветов, касающихся множества или диапазона температур воды, используемых для ополаскивания лезвия бритвы, и/или температуры самого лезвия бритвы.
Согласно одному варианту реализации вторая температурная реакция второго термохромного участка отличается от третьей температурной реакции третьего термохромного участка.
Согласно одному варианту реализации второй термохромный участок выполнен с возможностью отображения второго цвета, когда второй держатель лезвия имеет начальную температуру, и отображения дополнительного цвета, когда второй держатель лезвия имеет последующую температуру.
Согласно одному варианту реализации второй термохромный участок выполнен с возможностью изменения цвета, когда температура участка второго держателя лезвия находится в диапазоне от 20°С до 45°С, более конкретно от 32°С до 42°С и наиболее конкретно от 35°С до 39°С.
Эффект заключается в том, что бритва в соответствии с первым аспектом может быть выполнена с возможностью изменения цвета, когда вода для ополаскивания, проходящая через кассету для бритвы, достигает температуры, которую пользователи предпочитают для приятного влажного бритья.
Согласно одному варианту реализации второй термохромный участок проходит в продольном направлении вдоль второго держателя лезвия, при этом второй термохромный участок разделен в продольном направлении по меньшей мере на первый и второй подучастки, причем первый подучасток выполнен с возможностью отображения цвета, отличающегося от цвета второго подучастка, в зависимости от температуры второго держателя лезвия.
Эффект состоит в том, что температуру бритвенных лезвий кассеты для бритвы можно более интуитивно отслеживать в диапазоне температур с использованием диапазона цветов.
Согласно одному варианту реализации второй термохромный участок содержит состав с термочувствительной краской, содержащий одно или более из следующего: лейкокраситель, проявитель и первая реакционная среда.
Согласно одному варианту реализации второй термохромный участок содержит состав с термочувствительной краской, содержащий одно или более из следующего: лейкокраситель, проявитель и вторая реакционная среда, при этом вторая реакционная среда имеет температуру плавления, которая выше или ниже, чем температура плавления первой реакционной среды.
Эффект заключается в том, что температура перехода цвета может быть точно и эффективно связана с интересующими температурами.
Согласно одному варианту реализации первая реакционная среда выбрана из группы, включающей -метилпальмитат, 1,2-октандиол, декановую кислоту, н-октадекан, 7-пентадеканон, диметилсебацинат, 1-додеканол, 4-изопропилбензиловый спирт, н-октадекан, этилстеарат, октадецил-3,3-дифенилпропаноат, стеарилбензоат, додеканофенон.
Согласно одному варианту реализации второй оптический признак включает в себя первый слой и второй слой, расположенный на первом слое, при этом первый слой включает в себя второй цвет, второй слой включает в себя третий цвет, причем второй слой выполнен с возможностью постепенного удаления во время использования кассеты.
В одном варианте реализации реакционная среда представляет собой воск или производное воска.
Согласно одному варианту реализации второй держатель лезвия включает в себя первый участок, второй участок и третий участок, при этом первый участок виден через заднюю часть рамки кассеты, а второй оптический признак обеспечен на одном или более из первого участка, второго участка или третьего участка.
Согласно второму аспекту предложен способ изготовления кассеты для бритвы. Способ включает:
- получение держателя лезвия, выполненного с возможностью прикрепления лезвия к кассете для бритвы;
- нанесение первого оптического признака на одно или более из первого участка, второго участка и/или третьего участка держателя лезвия, при этом первый оптический признак выбирают из одного или более из цвета, покрытия, текстуры, перфорации, прозрачности держателя лезвия, источника излучения света, выступа и наклейки;
- прикрепление лезвия к держателю лезвия; и
- прикрепление держателя лезвия к кассете для бритвы.
Согласно одному варианту реализации способа оптический признак наносят на поверхность, которая противоположна обращенной к коже поверхности, третьего участка держателя лезвия.
Согласно одному варианту реализации способа по меньшей мере одно лезвие обеспечено в корпусе кассеты, частично открытое через отверстие в корпусе, так что оптический признак также частично открыт через указанное отверстие.
Согласно одному варианту реализации способа также обеспечено по меньшей мере частичное обеспечение держателя лезвия покрытием, содержащим состав с термочувствительной краской.
Согласно одному варианту реализации способа состав с термочувствительной краской содержит одно или более из следующего: лейкокраситель, проявитель и первая реакционная среда.
Согласно одному варианту реализации способа первую реакционную среду выбирают из группы, содержащей -метилпальмитат, 1,2-октандиол, декановую кислоту, н-октадекан, 7-пентадеканон, диметилсебацинат, 1-додеканол, 4-изопропилбензиловый спирт, н-октадекан, этилстеарат, октадецил-3,3-дифенилпропаноат, стеарилбензоат, додеканофенон.
Согласно одному варианту реализации способа также обеспечено нанесение по меньшей мере на участок держателя лезвия оптического признака, выполненного с возможностью обратимого или постоянного изменения цвета, когда он подвергается воздействию проточной воды, и, более конкретно, оптического признака, по меньшей мере частично содержащего покрытие из полидиацетилена.
Согласно одному варианту реализации способа также обеспечена лазерная маркировка участка держателя лезвия.
Согласно одному варианту реализации способа также обеспечено:
- получение множества держателей лезвия, при этом второй держатель лезвия из множества держателей лезвия также содержит лезвие, прикрепленное к внутренней поверхности держателя лезвия, которая обращена от поверхности бритья, причем второй держатель лезвия содержит второй оптический признак, расположенный на участке наружной поверхности второго держателя лезвия, которая обращена к поверхности бритья, и
- обеспечение второго оптического признака на втором держателе лезвия в качестве второго термохромного участка, выполненного с возможностью изменения цвета в зависимости от температуры второго держателя лезвия в соответствии с температурной реакцией второго термохромного участка.
Согласно третьему аспекту обеспечен бритвенный узел, содержащий:
- рукоятку бритвы;
- кассету для бритвы согласно первому аспекту или вариантам его реализации. Кассета для бритвы
либо прикреплена рассоединяемым способом к рукоятке бритвы посредством поворотного или неповоротного соединения, образованного как единое целое с рукояткой бритвы посредством неповоротного соединения, либо выполнена как единое целое с рукояткой бритвенного прибора посредством поворотного соединения.
Согласно четвертому аспекту обеспечен комплект деталей, содержащий:
- держатель кассет для бритвы, содержащий множество кассет для бритвы согласно первому аспекту или вариантам его реализации и, в случае необходимости, рукоятку бритвы.
Дополнительные варианты реализации представлены в нижеследующем подробном описании и на сопроводительных чертежах, кратко описанных ниже.
КРАТКОЕ ОПИСАНИЕ ЧЕРТЕЖЕЙ
Сопроводительные чертежи, которые включены в данное раскрытие и составляют его часть, иллюстрируют различные приведенные для примера варианты реализации и вместе с описанием служат для объяснения принципов настоящего изобретения.
Аспекты настоящего раскрытия могут быть реализованы в соединении с вариантами реализации, показанными на сопроводительных чертежах. Эти чертежи показывают различные аспекты настоящего раскрытия, и, где это уместно, ссылочные позиции, обозначающие одинаковые конструкции, компоненты, материалы и/или элементы на разных чертежах, указаны аналогичным образом. Понятно, что предполагаются различные сочетания структур, компонентов и/или элементов, отличные от конкретно показанных, которые все находятся в пределах объема охраны настоящего изобретения. Ниже описаны множество аспектов и вариантов реализации. Специалистам в данной области техники понятно, что признаки конкретного аспекта или варианта реализации могут использоваться в сочетании с признаками любого или всех других аспектов или вариантов реализации, описанных в настоящем раскрытии.
На ФИГ. 1 показана приведенная для примера бритва в соответствии с аспектами настоящего изобретения;
На ФИГ. 2 показан вид сбоку приведенного для примера держателя лезвия, поддерживающего лезвие, согласно аспектам настоящего изобретения;
На ФИГ. 3 показаны виды в перспективе множества кассет для использования с приведенной для примера бритвой;
На ФИГ. 4 показан вид сверху приведенной для примера кассеты, причем держатели лезвия кассеты включают в себя один или более оптических признаков, воспринимаемых невооруженным глазом пользователя, в соответствии с аспектами настоящего изобретения;
На ФИГ. 5 показан вид в перспективе держателя лезвия, обеспечивающего оптический признак, согласно аспектам настоящего изобретения;
На ФИГ. 6 показан вид в перспективе держателя лезвия, обеспечивающего другой оптический признак, согласно аспектам настоящего изобретения;
На ФИГ. 7 показан вид в перспективе держателя лезвия, обеспечивающего еще один оптический признак, согласно аспектам настоящего изобретения;
На ФИГ. 8 показан вид в перспективе кассеты, обеспечивающей оптический признак и/или систему крепления для крышки лезвия согласно аспектам настоящего изобретения;
На ФИГ. 9 показан вид сбоку держателя лезвия, обеспечивающего оптический признак с характеристиками защиты кожи согласно аспектам настоящего изобретения;
На ФИГ. 10A показан вид в перспективе упаковки для бритвы с идентифицирующими характеристиками в соответствии с аспектами настоящего изобретения;
На ФИГ. 10B показан вид спереди упаковки для бритвы с идентифицирующими характеристиками в соответствии с аспектами настоящего изобретения; и
На ФИГ. 11 показаны виды сбоку множества держателей лезвия, иллюстрирующие различные местоположения приведенного для примера оптического признака в соответствии с аспектами настоящего изобретения.
На ФИГ. 12 показан вид в перспективе еще одного примера бритвенного узла.
На ФИГ. 13 показан поэлементный вид в перспективе узла кассеты для бритвы в соответствии с одним примером.
На ФИГ. 14 схематически показан вид сбоку участка узла кассеты для бритвы в соответствии с одним примером.
На ФИГ. 15 схематически показан вид сбоку режущего элемента.
На ФИГ. 16a и 16b показаны виды в перспективе участка режущего элемента в соответствии с примерами.
На ФИГ. 17 схематически показан вид спереди кассеты для бритвы, показывающий приведенное для примера расположение термохромных участков на режущих элементах в соответствии с одним примером.
На ФИГ. 18 схематически показаны виды альтернативных подходов к размещению термохромных участков на режущих элементах в соответствии с одним примером.
На ФИГ. 19 показан вид сзади в перспективе кассеты для бритвы, показывающий приведенное для примера расположение термохромных участков на задней стороне режущих элементов в соответствии с одним примером.
На ФИГ. 20 показан способ изготовления кассеты для бритвы в соответствии с одним примером.
ОСУЩЕСТВЛЕНИЕ ИЗОБРЕТЕНИЯ
Как предшествующее общее описание, так и последующее подробное описание приведены для примера, являются только пояснительными и не ограничивают заявленные признаки. Используемые в данном случае термины «содержит», «содержащий» или их другие варианты предназначены для охвата неисключительного включения, так что процесс, способ, изделие или устройство, которые содержат список элементов, не включают только указанные элементы, но могут включать другие элементы, не перечисленные явно или не присущие такому процессу, способу, изделию или устройству. Кроме того, термин «приведены для примера» используется в данном случае в смысле «примера», а не «идеала». Следует отметить, что все числовые значения, раскрытые или заявленные в данном документе (включая все раскрытые значения, пределы и диапазоны), могут иметь отклонение на +/-10% (если не указано иное изменение) от раскрытого числового значения. Кроме того, в формуле изобретения значения, пределы и/или диапазоны означают значение, предел и/или диапазон +/-10%.
Ниже подробно описано и показано на сопроводительных чертежах настоящее изобретение со ссылкой на его иллюстративные аспекты. На чертежах по возможности одни и те же ссылочные позиции используются для обозначения одинаковых или подобных частей.
Дополнительные цели и преимущества раскрытых аспектов будут частично изложены в нижеследующем описании, а частично будут очевидны из описания или могут быть изучены при практическом использовании вариантов реализации. Следует понимать, что как предшествующее общее описание, так и последующее подробное описание приведены для примера, являются только пояснительными и не ограничивают формулу изобретения.
Варианты реализации настоящего изобретения могут способствовать улучшению привычек бритья путем создания более эффективного и приятного сеанса бритья для множества пользователей путем информирования пользователя о предполагаемом использовании кассеты, например, о том, предназначена ли кассета для конкретного пользователя, и/или о конкретной области тела, для которой предназначена данная кассета, и/или рекомендации пользователю, когда заменять кассету.
На ФИГ. 1 показана приведенная для примера бритва 10. Бритва 10 может включать в себя рукоятку 12 и кассету 14, прикрепленную к ней рассоединяемым способом. Кассета 14 может включать в себя одно или более лезвий 16, и каждое лезвие 16 может быть прикреплено к держателю 18 лезвия, как показано на ФИГ. 2.
Как показано на ФИГ. 2, держатель 18 лезвия может включать в себя первый (или нижний) участок 20, который может быть по существу прямым, второй (или промежуточный, или изогнутый) участок 22, который может быть согнут под углом θ, и третий (или верхний) участок 24, который также может быть по существу прямым. Угол второго участка 22 может быть любым углом от приблизительно 0° до приблизительно 180° или от приблизительно 45° до приблизительно 135°, или от приблизительно 90° до приблизительно 120°. В результате третий участок 24 может проходить под углом θ от приблизительно 120° до приблизительно 160° относительно первого участка 20. В конкретном примере угол второго участка может составлять 68°.
Третий участок 24 может включать обращенную к коже поверхность 24a. Согласно приведенному для примера варианту реализации лезвие 16 может быть прикреплено к третьему участку 24 держателя 18 лезвия в плоскости, параллельной продольной оси третьего участка 24. Более конкретно, как показано на ФИГ. 2, лезвие 16 может быть прикреплено к поверхности 24b, которая находится напротив обращенной к коже поверхности 24a третьего участка 24. В приведенном для примера варианте реализации перед первым использованием кассеты 14 лезвие 16 проходит дальше, чем третий участок 24 держателя 18 лезвия, так что держатель 18 лезвия во время первого использования либо не контактирует с кожей пользователя, либо контактирует в минимальной степени. Держатель 18 лезвия может быть изготовлен из смолы, металла и/или другого материала, который известен в данной области техники в настоящее время или будет разработан позже. Альтернативно разные части держателя 18 лезвия могут быть изготовлены из различных материалов. Кроме того, один или более из первого участка 18, второго участка 20 и третьего участка 22 могут быть гибкими для обеспечения возможности перемещения при контакте с кожей пользователя. Альтернативно или дополнительно лезвие 16 может быть прикреплено к обращенной к коже поверхности 24a третьего участка 24 таким образом, что по меньшей мере участок обращенной к коже поверхности 24a остается открытым для пользователя.
Как показано на ФИГ. 11, держатель 18 лезвия может иметь различные оптические признаки 11, включая, помимо прочего, цвета, текстуры, наклейки, перфорацию, буквы, логотипы и/или формы, которые могут обеспечивать идентификационные характеристики и/или информацию, относящуюся к кассете 14 или ее лезвиям 16. Несмотря на то, что кассета 14 может включать в себя множество держателей 18 лезвия, для простоты понимания рассматривается вариант реализации с одним держателем 18 лезвия и одним лезвием 16, если не указано иное. Следует понимать, что один или более оптических признаков 11, нанесенных на держатель 18 лезвия, могут быть нанесены на все или некоторые из держателей 18 лезвия в кассете 14. Эти различные признаки 11 могут способствовать информированию пользователя о том, подходит ли, помимо прочего, конкретная кассета для желаемого бритья. Например, поскольку лезвия 16 в различных кассетах 14 могут иметь разные характеристики, например, форму или угол лезвия в зависимости от типа волос, подрезаемых во время бритья, идентификация держателей 18 лезвия может информировать пользователя о том, что конкретная кассета лучше всего подходит для определенного типа кожи или для бритья определенной части тела. Кроме того, согласно некоторым вариантам реализации оптический признак 11 не предусмотрен на лезвиях 16. Дополнительно или альтернативно оптический признак 11 может быть предусмотрен по меньшей мере на участке по меньшей мере одного из лезвий 16.
Согласно одному варианту реализации один или более держателей 18 лезвия могут быть частично или полностью покрыты одним или более оптическими признаками 11, такими как, например, текстура, цветное покрытие/краска, визуально различимые адгезивы, геометрические фигуры и/или перфорация.
Как, в частности, показано на ФИГ. 3, например, один или более держателей 18 лезвия могут быть частично или полностью покрыты одной или более цветными красками или покрытиями. Например, один или более держателей 18 лезвия могут быть снабжены одной, двумя, тремя или более визуально различимыми красками или покрытиями различного цвета. В некоторых вариантах реализации предполагается, что слой первой цветной краски или покрытия нанесен на первый участок держателя 18 лезвия, а слой второй цветной краски или покрытия нанесен на второй участок держателя 18 лезвия, при этом второй участок находится рядом с первым участком или на расстоянии от него.
Дополнительно или альтернативно одиночный участок держателя 18 (или весь держатель) лезвия может быть снабжен несколькими слоями цветных красок/покрытий. Иными словами, единственный держатель 18 лезвия может включать в себя первый слой 30 первой цветной краски, расположенной на поверхности (например, поверхности 24a) держателя 18 лезвия и контактирующей с ней.
Кроме того, в некоторых вариантах реализации второй слой 32 второй краски другого цвета может быть расположен на слое 30 первой цветной краски или поверх него. В некоторых вариантах реализации предполагается, что второй слой 32 второй цветной краски может по меньшей мере частично (или полностью) покрывать слой 30 первой цветной краски, тем самым скрывая первую цветную краску от поля зрения пользователя.
Второй слой 32 второй цветной краски может быть выполнен с возможностью растворения, разложения или иного удаления во время использования кассеты 14. Например, предполагается, что каждый раз, когда кассета 14 подвергается воздействию воды, средств для бритья, температуры тела или кожи пользователя, например, во время сеанса бритья, участок (например, толщина) второго слоя 32 второй цветной краски может быть удален с верхней части первого слоя 30 первой цветной краски. Таким образом, когда второй слой 32 второй цветной краски изнашивается (например, из-за использования), первый слой 30 первой цветной краски может быть открыт пользователю.
В некоторых примерах первый слой 30 первой цветной краски также может быть выполнен с возможностью растворения, разложения или иного удаления во время использования кассеты 14. Однако специалистам в данной области техники понятно, что второй слой 32 второй цветной краски может быть выполнен с возможностью растворения, разложения или иного удаления со скоростью, которая выше скорости удаления первого слоя 30 первой цветной краски.
Таким образом, в варианте реализации, показанном на ФИГ. 3, пользователь может получить новую кассету 14, имеющую держатели 18 лезвия, которые окрашены, например, в оранжевый цвет. После заданного количества сеансов бритья или отдельных бреющих движений слой краски оранжевого цвета может быть удален, тем самым открывая поверхность держателя 18 лезвия или, если такое предусмотрено, краски другого цвета, например, белого. Это изменение цвета (например, удаление оранжевого цвета с держателей 18 лезвия) может сообщать пользователю любую подходящую информацию, включая, помимо прочего, информацию о том, что срок службы кассеты закончился или подходит к концу. В результате цветная краска (краски) на держателе 18 лезвия может быть выполнена таким образом, что может функционировать в качестве индикатора затупления лезвия. Т.е. количество второго слоя 32, остающегося поверх первого слоя 30, может соответствовать остроте лезвий 16 в кассете 18.
В некоторых вариантах реализации предполагается, что скорость удаления второго слоя 32 может увеличиваться (например, экспоненциально или линейно) по мере уменьшения остроты лезвий 16. Т.е. специалистам в данной области техники понятно, что контакт между держателями 18 лезвия и кожей пользователя может усиливаться по мере затупления лезвий 16, тем самым увеличивая величину трения, прикладываемого к держателям 18 лезвия, что, в свою очередь, может привести к увеличению скорости удаления второго слоя 32 второй цветной краски.
Несмотря на то, что вариант реализации, показанный на ФИГ. 3, описан на примере использования двух слоев красок/покрытий разного цвета, специалистам в данной области техники понятно, что принципы настоящего изобретения предполагают любое подходящее количество слоев красок/покрытий разного цвета. Более того, первый слой 30 и второй слой 32 могут иметь любую подходящую толщину. В некоторых вариантах реализации толщина второго слоя 32 может быть такой же, как и толщина первого слоя 30, или может отличаться от нее.
Как указано выше, некоторые варианты реализации настоящего раскрытия предполагают, что один или более держателей 18 лезвия могут быть частично покрыты первым слоем 30 первой цветной краски. Затем второй слой 30 второй цветной краски может быть нанесен поверх первого слоя 30 и на участки держателя 18 лезвия, не покрытые первым слоем 30. В совокупности различные участки части первого слоя 30 могут образовывать узор, текст или другую графический элемент, выполненный с возможностью передачи информации пользователю. Таким образом, когда второй слой 32 изнашивается, может возникать отдельный узор первого слоя 30 и второго слоя 32. Например, этот узор может представлять собой фразу или другой опознавательный знак, указывающий на то, что кассету 14 следует заменить.
Например, второй слой 32 может быть синего цвета, а когда второй слой 32 истирается, первый слой 30 может открываться и показывать желтый или оранжевый цвет. Альтернативно или дополнительно в качестве первого слоя 30 может быть нанесен один цвет, например оранжевый или розовый, с нанесенным на него последующим вторым слоем 32 или без него.
Альтернативно или дополнительно узор или изображение могут быть нанесены в качестве первого слоя 30 на держатель 18 лезвия. Например, узор может быть символом, представляющим товарный знак или другое маркетинговое средство, как показано на ФИГ. 4. Таким образом, когда второй слой 32 изнашивается, пользователь может наблюдать маркетинговые значки, и ему может быть предложено или иным образом дано напоминание о покупке кассет определенной марки.
Как описано выше, оптические признаки 11 обычно не наносят на лезвие 16. Однако в некоторых вариантах реализации участок лезвия 16 может содержать оптические признаки 11, например, для обеспечения непрерывности изображения, такого как, помимо прочего, товарный знак или маркетинговое изображение.
Один или более участков держателя 18 лезвия дополнительно или альтернативно могут быть покрыты термочувствительным красителем 34, как показано на ФИГ. 5. Специалистам в данной области техники понятно, что термочувствительный краситель 34 может быть выполнен с возможностью изменения цвета или обеспечения другой воспринимаемой характеристики под воздействием различных температур. В данном примере термочувствительный краситель 34 может быть выполнен с возможностью информирования пользователя о температуре воды, используемой для бритья. Например, термочувствительный краситель 34 может изменять цвет, когда вода находится в удовлетворительном для бритья диапазоне температур, о чем свидетельствуют различные цвета термочувствительного красителя 34 на держателе 18 лезвия, например красный цвет 34a указывает на то, что вода достаточно теплая, а синий цвет 34b указывает на то, что вода недостаточно теплая для бритья.
Согласно приведенным для примера вариантам реализации удовлетворительная температура воды для бритья составляет приблизительно 25-60°C или приблизительно 30-40°C, или приблизительно 35°C. Когда температура воды находится в этом диапазоне, термочувствительный краситель 34 на держателе 18 лезвия может измениться с первого цвета (например, красного 34a), указывающего на неудовлетворительные условия бритья, на второй цвет (например, синий 34b), указывающий на удовлетворительные условия бритья.
В некоторых примерах термочувствительный краситель 34 не является исключительным элементом, но может быть объединен с первым слоем 30 и вторым слоем 32 для предоставления пользователю множества характеристик бритвы 10. Например, термочувствительный краситель 34 может быть нанесен вдоль наружного края держателя 18 лезвия, в то время как узор, образованный первым слоем 30 и вторым слоем 32, может быть нанесен в пределах границы, образованной термочувствительным красителем 34. Таким образом, пользователь может быть проинформирован как об удовлетворительных условиях бритья, так и о том, когда следует заменить кассету 14. Также понятно, что конкретные узоры этим не ограничиваются.
Согласно еще одному варианту реализации термочувствительный краситель 34 может быть заменен и/или объединен с покрытием из материала, который указывает информацию о коже пользователя, такую как, помимо прочего, уровень pH кожи. Эта информация может дополнительно помочь пользователю в достижении оптимального бритья, например, путем кондиционирования кожи с помощью применения различных средств для бритья.
Как показано на ФИГ. 6, держатель 18 лезвия может включать в себя один или более светопрозрачных участков 36. Держатель 18 лезвия также может включать в себя источник излучения света (не показан), такой как светоизлучающий диод (LED), предусмотренный в нем или иным образом расположенный внутри кассеты 15. При активации светодиод может освещать светопрозрачный участок 36 держателя 18 лезвия. Таким образом, пользователь может использовать бритву 10 в условиях отсутствия света или при слабом освещении. Кроме того, в некоторых вариантах реализации одно или более из кассеты 14, лезвий 16 и/или держателя 18 лезвия могут включать в себя флуоресцентное покрытие, выполненное с возможностью улучшения их видимости в условиях слабой освещенности.
Светодиод может излучать свет любого цвета, например, в маркетинговых целях. Например, цвет может быть цветом, связанным с кассетой 14 конкретного товарного знака. Дополнительно или альтернативно светодиод может излучать свет одного или более цветов, связанных с праздничным периодом или страной, в которой продается кассета. Следует понимать, что цвет (цвета) светодиода не ограничен. Кроме того, источник излучения света может быть выполнен с возможностью излучения света с бактерицидными характеристиками, такого как, например, коротковолновый ультрафиолетовый свет (т.е. свет УФ-С). Понятно, что с держателем 18 лезвия можно использовать любой бактерицидный источник или источник излучения света. Также понятно, что светопрозрачный участок 36 может быть полупрозрачным и/или может не проходить по всему держателю 18 лезвия. Кроме того, светопрозрачный участок 36 может быть объединен с другими идентифицирующими характеристиками кассеты, описанной в данном документе, такими как, например, первый слой 30 и второй слой 32, и/или термочувствительный краситель 34.
Согласно еще одному варианту реализации держатель 18 лезвия (например, поверхность 24a) может включать текстурированную поверхность 38, как показано на ФИГ. 7. Текстурированная поверхность 38 может обеспечивать обработку кожи во время бритья, такую как отшелушивание, гидрофобность, низкое трение и/или выполнять массаж ткани. Например, текстурированная поверхность 38 может быть узором, выгравированным на держателе 18 лезвия, вследствие чего указанный узор способствует отшелушиванию и/или массажу ткани. Узор может служить дополнительным целям, например, указывать конкретную марку кассеты для маркетинга.
Следует понимать, что текстурированная поверхность 38 не ограничивается гравировкой, но может быть выполнена с использованием любого способа, известного в данной области техники, такого как, помимо прочего, литье под давлением. Текстурированная поверхность 38 также может быть образована отдельно в виде листа с узором, выполненным на нем, а лист может быть нанесен на желаемые области держателя 18 лезвия, например, с помощью адгезива. Как описано выше, текстурированная поверхность 38 может быть объединена с другими идентифицирующими характеристиками кассеты, описанной здесь, такими как, например, первый слой 30 и второй слой 32, термочувствительный краситель 34 и/или светопрозрачный участок 36. Более того, в некоторых случаях текстурированная поверхность 38 может включать в себя один или более лосьонов, лубрикантов и/или терапевтических агентов, выполненных с возможностью, например, помощи во время сеанса бритья. Например, текстурированная поверхность 38 может быть пропитана одним или более смазывающими гранулами (не показаны), выполненными с возможностью элюирования лубрикантов при прохождении по коже пользователя.
На ФИГ. 8 показана кассета 14 согласно одному варианту реализации, выполненная с возможностью взаимодействия с крышкой 19 лезвия. В частности, один или более держателей 18 лезвия могут быть выполнены магнитными посредством включения магнитного покрытия 40 или магнитного сердечника (не показан), заключенного в капсулу из смолы или пластика. Кроме того, крышка 19 лезвия также может иметь магнитные свойства, например, посредством магнитного покрытия, магнитного сердечника и/или одного или более магнитных материалов, которыми пропитана крышка 19 лезвия.
Например, крышка 19 лезвия может быть изготовлена из стали или наполненного пластика, полностью или частично покрытого/снабженного магнитными частицами. В результате, таким образом, крышка 19 лезвия может быть выполнена с возможностью рассоединяемого крепления к кассете 14 в предусмотренном положении стыковочной зоны, выполненном с возможностью, например, защиты лезвий 16 от пользователя.
Дополнительно или альтернативно магнитные характеристики кассеты 14 и/или крышки 19 лезвия могут быть использованы для удерживания кассеты 14 и/или бритвы 10, например, на держателе бритвы (не показан). Держатель бритвы может быть жестко закреплен, например, на стене ванной комнаты и может быть выполнен с возможностью удерживания бритвы 10 в удобном месте.
Как показано на ФИГ. 9, держатель 18 лезвия может включать в себя цветное резиновое или гелеобразное покрытие 42, выполненное с возможностью, например, растягивания кожи пользователя во время бреющего движения. Покрытие 42 может способствовать уменьшению определенных ощущений дискомфорта, связанных с бритьем, таких как, помимо прочего, уменьшение неровностей кожи. Покрытие 42 может включать в себя первый слой 30 и второй слой 32, нанесенные на него в виде конкретного узора, например, рифлений для облегчения смывания и ухода за кожей. Как описано выше, во время бритья второй слой 32 может стираться из-за трения, чтобы сделать видимым для пользователя узор, указывающий, например, на необходимость замены кассеты 14. Участки покрытия 42 также могут быть термохромными или могут быть покрыты термочувствительным красителем 34 для указания пользователю, что температура воды является достаточной для бритья.
Альтернативно или дополнительно участки покрытия 42 могут быть частично или полностью светопрозрачными, чтобы свет мог проникать сквозь них. Это позволяет светодиоду или другому источнику излучения света, связанному с держателем 18 лезвия, проходить через светопрозрачный участок 36 и покрытие 42. Кроме того, покрытие 42 может включать в себя текстурированную поверхность 38 для массажа и/или отшелушивания кожи пользователя.
Следует понимать, что любое из покрытий, расцветок и/или текстур, описанных в настоящем документе, может быть выполнено как единое целое с держателем 18 лезвия или может быть нанесено на поверхность держателя 18 лезвия в виде краски, наклейки или любым другим способом, известным в данной области техники. Кроме того, несмотря на то, что цвета, покрытия и другие характеристики, связанные с держателем 18 лезвия, могут указывать на пригодную для использования кассету 14, эти характеристики никоим образом не предназначены для ограничения использования кассеты 14.
Например, цвета или узоры, связанные с держателем 18 лезвия, могут указывать на то, что конкретная кассета лучше подходит для использования представителем определенного пола (например, синий цвет может указывать на то, что кассета предназначена для использования мужчинами, а розовый цвет может указывать на то, что кассета предназначена для использования женщинами), на определенной области тела (например, круглая отметка может указывать на то, что кассета предназначена для использования на лице, а узор из линий может указывать на то, что кассета предназначена для использования на ноге), и/или на конкретный тип чувствительности кожи (например, красный цвет может указывать на то, что кассета включает в себя лезвия, выполненные для гладкого бритья, а желтый цвет может указывать, что кассета включает в себя лезвия, выполненные для чувствительной кожи).
Эти характеристики предназначены просто для информирования пользователя о том, что лезвия 16 могут быть выполнены из определенного материала и/или расположены под определенным углом, который больше подходит для одного способа использования, чем для другого. Тем не менее, пользователь не ограничивается этими характеристиками и может использовать любую кассету 14, подходящую для использования с бритвой 10.
Согласно еще одному варианту реализации цвета и/или узоры, связанные с держателем 18 лезвия и, в более общем смысле, кассетами 14, могут указывать на конкретный процесс изготовления и/или характеристики кассеты 14, тем самым улучшая контроль качества и логистику, облегчая проверку качества кассеты 14 или размещения кассеты 14 в магазинах.
В частности, могут использоваться различные цветовые сочетания для способствования такому согласованию держателя лезвия и подузлов лезвия при изготовлении кассет. В результате прослеживаемость и контроль качества могут быть улучшены за счет визуального воздействия узла «лезвие/держатель лезвия», необходимого для конкретной линейки продуктов.
Цвета и/или узоры, связанные с кассетой 14, могут помочь пользователю перед использованием кассеты 14 с бритвой 10. Например, пользователи могут идентифицировать товарный знак или конкретную кассету 14 по цветам и/или узорам, связанным с этой кассетой 14, что упрощает для пользователя покупку кассеты 14 и может привести к увеличению объема продаж.
Например, как показано на ФИГ. 10A и 10B, кассета 14 с прикрепленной к ней рукояткой 12 или без нее может быть предоставлен в упаковке 50, имеющей прозрачное окно 50a. Оптические признаки 11, такие как первый слой 30, могут помочь пользователю легко идентифицировать приобретаемую кассету 14.
Дополнительно или альтернативно держатель 18 лезвия может включать одно или несколько покрытий для улучшения свойств кассеты 14 и/или лезвий 16. Например, держатель 18 лезвия может включать гидрофобное покрытие, такое как тефлон™, которое может улучшать возможность промывания, антикоррозионную защиту и/или свойства гладкости кассеты 14, а также потенциально снижать трение во время использования кассеты 14.
Держатель 18 лезвия также может включать в себя микронаноструктурированную основу или покрытия, такие как лазерное структурирование или импринт-литографию, для улучшения гидрофобных, антифрикционных и/или визуальных свойств кассеты 14.
Следует понимать, что любое из покрытий, расцветок или материалов, связанных с держателем 18 лезвия, может быть антимикробным/антибактериальным. Дополнительно или в качестве альтернативы описанные здесь оптические признаки 11 можно объединять со вспомогательными средствами для бритья. Например, оптические признаки 11 могут быть покрытием или могут включать в себя покрытие, которое впитывает воду и смазывает кожу пользователя во время бритья.
Также понятно, что оптические признаки 11 могут быть предусмотрены вдоль любого из первого участка 20, второго участка 22 и/или третьего участка 24, как показано на ФИГ. 11, в зависимости от желаемого эффекта оптических признаков 11 и/или характеристик оптических признаков 11 (например, второй слой 32 может быть обеспечен только на третьем участке 24, где кожа контактирует с держателем 18 лезвия, поскольку второй слой 32 может быть предназначен для его удаления трением во время использования.)
Кроме того, держатель 18 лезвия может быть изготовлен из пластика, стекла, металла и/или композитного материала и с встроенными дополнительными материалами (например, армирован волокнами) или без них. Понятно, что материал должен выбираться на основании, например, желаемого эффекта оптического признака 11, прозрачности материала, удобства использования, доступности и/или стоимости, промываемости и/или долговечности. Указанный материал также может обеспечивать дополнительную функциональность держателя 18 лезвия, например, гибкость, которая может обеспечивать более комфортное бритье.
Кроме того, следует понимать, что держателю 18 лезвия может быть придана различная форма. Например, держателю 18 лезвия сначала можно придать желаемую форму и нанести на него оптические признаки 11. Альтернативно держатель 18 лезвия может иметь оптические признаки 11, нанесенные на него перед приданием держателю 18 желаемой формы. В некоторых вариантах реализации держатели 18 лезвия и/или оптические признаки могут быть образованы посредством процесса точной штамповки или «чеканки.»
В одном варианте реализации держатель 18 лезвия также может включать в себя микронаноструктурированную основу или покрытия, такие как лазерное структурирование или импринт-литография, для улучшения гидрофильных свойств кассеты 14.
В одном варианте реализации текстурированная поверхность 38 образована с использованием литографии или структурирования поверхности.
В одном варианте реализации держатель 18 лезвия может иметь различные оптические признаки 11, содержащие один или более выступов.
Выступы могут быть объемными (3D) рельефами любого типа, которые могут располагаться на наружной поверхности держателя лезвия и проходить от поверхности держателя лезвия. Согласно различным вариантам реализации указанные выступы могут проходить от поверхности держателя лезвия в соответствии с осью, по существу перпендикулярной плоскости, по касательной пересекающей наружную поверхность держателя лезвия.
Согласно различным вариантам реализации указанные выступы могут быть сплошными объектами, которые могут быть нанесены, например, как печатные объекты с помощью способов печати на наружной поверхности держателя лезвия. Осаждение сплошных объектов на наружной поверхности держателя лезвия позволяет указанным сплошным объектам действовать не только в качестве оптических признаков, но также, например, сводить к минимуму сопротивление перемещения лезвия по коже и увеличивать скольжение во время бритья. Согласно различным вариантам реализации указанные выступы могут обеспечивать несколько графических визуальных элементов, поскольку один или более выступов могут иметь одинаковый размер, вариант размеров, любую форму, а выступы также могут содержать букву, логотип или другие графические элементы.
Согласно различным вариантам реализации указанные выступы могут быть активными элементами, которые разрушаются во время использования. Таким образом, указанные выступы обеспечивают визуальный сигнал для пользователя о состоянии бритвенной головки, улучшая процесс бритья за счет смазки и/или скольжения. Согласно различным вариантам реализации указанные выступы могут действовать в качестве индикаторов износа и скользящих элементов, перенося на себе наружное покрытие, которое разрушается во время бритья из-за истирания, возникающего при повторяющихся движениях бритья. Таким образом, когда покрытие выступа удалено, пользователь извещен о том, что указанную кассету, возможно, необходимо заменить. В некоторых примерах указанные выступы могут действовать в качестве индикаторов износа и смазочных элементов, будучи изготовленными из смазочных композиций, содержащих водорастворимые и/или водонерастворимые компоненты и/или их сочетание, и/или мыла и смесей на основе мыла. Примеры составов выступов, действующих в качестве смазочных элементов, известны, например, из WO2019/020823. Согласно различным вариантам реализации указанные выступы могут действовать в качестве оптических элементов, а также в качестве дополнительных точки контакта кожи с верхней поверхностью кассеты. Таким образом, указанные выступы способствуют более плавному процессу бритья, так как выпуклость кожи уменьшается, а кромки лезвия контактируют с кожей с меньшей агрессивностью.
В одном варианте реализации держатель 18 лезвия может включать в себя первый (или нижний) участок 20, который может быть по существу прямым, второй (или промежуточный, или изогнутый) участок 22, который может быть искривлен или согнут под углом θ. Такие лезвия также известны как «изогнутые лезвия».
Ниже описан еще один пример кассеты для бритвы согласно первому аспекту, представляющей конкретный пример реализации оптического признака, обеспечиваемого составом с термочувствительной краской.
Кассеты для бритвы (также известные как кассеты для безопасной бритвы или кассеты для бритвы) постоянно или с возможностью рассоединения прикреплены к рукоятке бритвы, которая при использовании ориентирована в направлении бритья. Кассеты для бритвы обычно содержат один или более режущих элементов, каждый из которых поддерживает лезвие, установленное перпендикулярно направлению бритья. Кассеты для бритвы также обычно снабжены защитой (на передней продольной стороне кассеты для бритвы в направлении бритья) и колпачком (на задней продольной стороне кассеты для бритвы в направлении бритья). При использовании пользователь держит рукоятку бритвы, ориентированную в направлении бритья, и приводит кассету для бритвы в контакт с участком кожи, определяющим поверхность бритья.
Обычно плоскость бритья определяется касательной линией, пересекающей первую и вторую точки контакта с кожей, например, режущих кромок бритвенной головки. Проще говоря, плоскость бритья может быть аппроксимирована как плоскость, пересекающая множество линий между наивысшими точками на контактирующей с кожей поверхности кассеты для бритвы, например, ровная плоскость между верхней частью защиты и верхней частью колпачка бритвенной головки. Перемещение рукоятки бритвы заставляет лезвия кассеты для бритвы перемещаться по поверхности бритья (коже) пользователя в направлении бритья, так что плоскость бритья перемещается по поверхности бритья в направлении бритья, позволяя лезвиям удалять нежелательные волосы. Температура воды, используемой для ополаскивания кассеты для бритвы, может влиять на ощущения комфорта пользователя и эффективность бритья.
На ФИГ. 12 представлен вид в перспективе бритвенного узла 10 (также обозначаемого как бритва) в соответствии с примером, имеющим механизм отсоединения кассеты. Бритвенный узел 10 содержит лезвия 16a-d, которые не приводятся в действие двигателем. Бритвенный узел 10 содержит рукоятку 12, проходящую в направлении H рукоятки между ближним участком 4 и дальним участком 6 рукоятки 12. Кассета для бритвы 14 установлена на дальнем участке 6 рукоятки 12. Кассета для бритвы 14 будет представлена более подробно после обсуждения бритвенного узла 10.
Установка кассеты для бритвы 14 на дальний участок 6 рукоятки 12, как показано на чертеже, осуществляется с помощью поворотного несущего элемента 8, позволяющего изменять систему координат рукоятки 12 относительно системы координат кассеты для бритвы 14, чтобы таким образом обеспечивать возможность изменять угол наклона кассеты для бритвы относительно кожи пользователя и адаптировать его к изменениям во время использования.
В частности, кассета для бритвы 14 поворачивается относительно рукоятки 12 вокруг продольной оси L кассеты для бритвы 14 при его использовании. Указанный шарнирный поворот позволяет пользователю, например, адаптироваться к контурам тела. Продольная ось L кассеты для бритвы 14 по существу перпендикулярна направлению бритья, проходящему вдоль рукоятки 12. Другой пример соединительного механизма для соединения кассеты для бритвы 14 с рукояткой 12 приведен в документе WO2006/027018 A1. Альтернативой является кассета для бритвы 14, которая может поворачиваться относительно второй оси вращения (оси качания), по существу перпендикулярной оси L.
Согласно различным вариантам реализации поворотный несущий элемент 8 может отсутствовать (не показано), а рукоятка 12 может быть выполнена как неотъемлемая часть держателя кассеты для бритвы 14. В одном примере поворотный несущий элемент 8 также может содержать механизм 5a, 5b освобождения, обеспечивающий быстрое извлечение израсходованной кассеты для бритвы из рукоятки 12, или может быть заменен указанным механизмом освобождения.
В одном примере рукоятка 12 и держатель кассеты для бритвы 14 выполнены за одно целое с поворотным несущим элементом (не показан), таким как пластиковый пружинный элемент.
Присоединение кассеты для бритвы к рукоятке 12 не ограничивается только приведенным выше примером, в котором кассета для бритвы должна быть прикреплена с возможностью отсоединения к рукоятке 12 бритвы посредством поворотного соединения. Согласно различным вариантам реализации кассеты для бритвы прикреплена к рукоятке 12 бритвы с возможностью отсоединения посредством неповоротного соединения. Согласно различным вариантам реализации кассета для бритвы выполнена монолитно с рукояткой 12 бритвы, т.е. кассета для бритвы выполнена за одно целое с рукояткой бритвы посредством неповоротного соединения. Согласно различным вариантам реализации кассета для бритвы выполнена за одно целое с рукояткой бритвы посредством поворотного соединения.
В одном примере рукоятка 12 снабжена рукояткой 9 для захвата, выполненной из резины или подобного резине материала для улучшения трения при захвате. В одном примере рукоятка 12 снабжена упором 7 для большого пальца, чтобы пользователь мог более надежно захватывать рукоятку 12.
Фраза «верхняя часть держателя лезвия» для целей данного описания означает сторону держателя 18 лезвия кассеты для бритвы, которая является ближайшей к поверхности бритья пользователя, когда используется кассета для бритвы. При использовании кассеты для бритвы с такими установленными в верхней части режущими элементами агрессивное бритье может привести к повышенному количеству царапин и порезов и к усиленному чувству раздражения, поскольку на поверхность бритья опираются исключительно режущие кромки 43a-d лезвий на держателе 18. Это обеспечивает для кожи относительно небольшую поверхность опоры во время бритья и вызывает повышенную степень «выпирания» поверхности бритья (кожи) в зазоры между лезвиями.
Трудно измерить комфортную температуру воды для бритья с использованием обычных кассет для бритвы.
Согласно дополнительному примеру предоставлена кассета для бритвы 14. Указанная кассета содержит множество держателей 18 лезвия, при этом по меньшей мере один держатель лезвия также содержит лезвие 16, прикрепленное к внутренней поверхности 66 по меньшей мере одного держателя 18 лезвия, которая обращена от поверхности бритья. По меньшей мере один держатель 18 лезвия содержит первый оптический признак 11, расположенный на участке наружной поверхности по меньшей мере одного держателя лезвия, которая обращена к поверхности бритья. Первый оптический признак 11 представляет собой первый термохромный участок 74, выполненный с возможностью изменения цвета в зависимости от температуры по меньшей мере одного держателя 18 лезвия в соответствии с первой температурной реакцией первого термохромного участка.
На ФИГ. 13 показан частичный поэлементный вид в перспективе узла кассеты для бритвы в соответствии с дополнительным примером. Выражение «частичный поэлементный вид в перспективе» означает, что некоторые второстепенные компоненты кассеты 14 для бритвы не показаны на поэлементном виде в целях ясности чертежа.
Направление S бритья обозначено на ФИГ. 13 и 14 стрелкой S. При использовании кассета 14 для бритвы контактирует с поверхностью бритья (не показана на ФИГ. 2) и перемещается по поверхности бритья в направлении стрелки S.
Рамка 21 может быть частично или полностью изготовлена из синтетических материалов, таких как пластик, смола или эластомеры. Рамка 21 содержит платформенный элемент (не показан), выполненный с возможностью соединения с рукояткой 12 бритвы 10 либо за одно целое, либо посредством соединительного механизма, такого как поворотный несущий элемент 8, или посредством соединительного элемента (не показан).
Защитный элемент 23 предусмотрен в качестве по существу продольного края кассеты 14 для бритвы. При использовании защитный элемент 23 расположен на передней продольной стороне 40, является первым участком кассеты 14 для бритвы и, таким образом, является первым участком кассеты 14 для бритвы, контактирующим с неотрезанными волосами. Сторона кассеты 14 для бритвы, противоположная передней продольной стороне 40 кассеты 14 для бритвы и противоположная направлению бритья, является задней продольной стороной 41 кассеты 14 для бритвы. Таким образом, задняя продольная сторона 41 является последним участком кассеты 14 для бритвы, контактирующим с поверхностью бритья при использовании.
Следует отметить, что термины «передняя продольная сторона 40» и «задняя продольная сторона 41» используются для обозначения конкретных местоположений на кассете 14 для бритвы и не подразумевают и не требуют отсутствия или наличия конкретного признака. Например, защитный элемент 23 в одном примере может быть расположен на «передней продольной стороне 40», а в другом примере подрезающее лезвие может быть расположено на «задней продольной стороне 41», но не обязательно, чтобы эти местоположения содержали указанные признаки.
Защитный элемент 23, описанный в примере, содержит эластомерный элемент (не показан на ФИГ. 13). В одном примере эластомерный элемент содержит одно или более ребер, проходящих в продольном направлении параллельно защитному элементу 23 и по существу перпендикулярно направлению бритья. Одним из назначений такого эластомерного элемента является, например, натяжение кожи перед срезанием волос.
Кассета 14 для бритвы в вариантах реализации также может содержать колпачковый элемент (продольный задний узел 49) на задней продольной стороне 41 или рядом с ней. Наличие колпачкового элемента (продольного заднего узла 49) не является обязательным.
Кассета 14 для бритвы также содержит группу режущих элементов 29, размещенных в секции 31 приема лезвия в рамке 21. Группа режущих элементов 29 содержит множество режущих элементов 28a-d. Группа режущих элементов 29 продольно расположена в рамке 21 параллельно направлению SH бритья, так что при использовании лезвия режущих элементов 28a-d контактируют с поверхностью бритья и срезают волосы, присутствующие на поверхности бритья, в то время как кассета 14 для бритвы перемещается по поверхности бритья в направлении S. Конкретная конструкция группы режущих элементов 29 подробно описана ниже.
В одном примере режущий элемент 28 содержит продольный держатель 18 лезвия, выполненный из заготовки, которая была согнута до соответствующего угла атаки, и продольное лезвие 16, которое прочно соединено с продольным держателем лезвия. Способ соединения может быть, например, лазерной точечной сваркой или адгезивным соединением.
В одном примере режущий элемент 28 представляет собой образованное за одно целое «изогнутое лезвие», содержащее секцию продольного держателя 18 лезвия и секцию продольного лезвия 16, которые выполнены из одной и той же заготовки материала, обычно металла. Однако специалисту в данной области техники понятно, что «изогнутое лезвие» имеет обращенный к коже участок, на котором может быть расположен оптический признак 11.
В частности, по меньшей мере один держатель 18a лезвия содержит первый оптический признак 11 в качестве термохромного участка 74a. Ниже подробно описано точное расположение термохромного участка 74a на держателе 18a лезвия. Поскольку термохромный участок 74a находится в прямом тепловом контакте с металлом держателя 18a лезвия, и поскольку держатель 18a лезвия находится в прямом тепловом контакте с металлом лезвия 16, рассмотренная в данном случае компоновка обеспечивает точную и быструю визуальную обратную связь относительно температуры лезвия 16 для пользователя кассеты 14 для бритвы.
В одном примере кассета для бритвы снабжена тремя режущими элементами. Например, кассета 14 для бритвы снабжена четырьмя режущими элементами 28. Например, кассета 14 для бритвы снабжена пятью режущими элементами 28. Например, кассета 14 для бритвы снабжена шестью режущими элементами 28. В одном примере кассета 14 для бритвы снабжена семью или более режущими элементами 28. Необязательно, чтобы все или несколько держателей 18 лезвий режущих элементов 28 были снабжены термохромным участком 74.
Группа режущих элементов 29 определяет множество по существу параллельных промежутков между лезвиями. Количество промежутков между лезвиями на единицу меньше количества режущих элементов. Рамка 21 также содержит первый фиксатор 26 и второй фиксатор 27, выполненные с возможностью удерживания лезвий 16a-d бритвы в корпусе кассеты 14 для бритвы. Рамка 21 также содержит первый боковой участок 15 и второй боковой участок 17. Когда кассета 14 для бритвы находится в собранном состоянии, первый и второй боковые участки 15, 17 выполнены так, что жестко ограничивают продольные концы защитного элемента 23 и группу режущих элементов 29. Первый боковой фиксатор 26 и второй фиксатор 27 могут содержать, например, пластик, эластомер или металлический материал и, кроме того, могут иметь форму, отличную от показанной на чертеже.
Несмотря на то, что это не показано на чертеже, поворотный несущий элемент 8 может быть предусмотрен, например, на стороне кассеты 14 для бритвы, выполненной с возможностью соединения с поворотной рукояткой 12. Такой поворотный несущий элемент 8, описанный в примере, содержит два или более подшипников скольжения, выполненных с возможностью соединения с поворотным несущим элементом 8 рукоятки 12, несмотря на то, что могут использоваться множество других конструкций поворотного подшипника.
Режущие элементы, содержащиеся в группе режущих элементов 29, расположены в кассете для бритвы таким образом, что две режущие кромки 43, размещенные соответственно на двух самых передних (ближайших к передней стороне кассеты для бритвы) режущих элементах группы режущих элементов 29, определяют передний промежуток между лезвиями, который находится ближе всего к передней продольной стороне 40 кассеты 14 для бритвы. Промежутки между лезвиями могут быть постоянными или могут изменяться между лезвиями.
Каждый режущий элемент в группе режущих элементов 29 содержит продольный держатель 18 лезвия. Продольное лезвие 16 установлено на держателе 18 лезвия. Режущая кромка 43 режущего элемента 28a-d ориентирована вперед в направлении S бритья. Держатель 18 лезвия режущего элемента 28a-d представляет собой удлиненную изогнутую деталь из жесткого материала. Например, держатель 18 лезвия выполнен из металла, например, нержавеющей стали.
Каждый режущий элемент в группе режущих элементов 29, например, упруго установлен в секции 31 для приема лезвия кассеты 14 для бритвы. Секция 31 для приема лезвия содержит продольное пространство в кассете 14 для бритвы, размер которого соответствует группе режущих элементов 29. По меньшей мере один режущий элемент из группы режущих элементов 29, вплоть до всех режущих элементов в группе режущих элементов 29 может быть упруго установлен в секции 31 для приема лезвия. В примере на ФИГ. 2 поперечные внутренние стороны рамки 21 содержат множество удерживающих пазов 44. Каждый удерживающий паз 44 на поперечных внутренних сторонах выполнен с возможностью приема и удерживания одной стороны держателя 18 лезвия режущего элемента группы режущих элементов 29, так что режущие элементы группы режущих элементов 29 удерживаются в секции 31 для приема лезвия по существу с параллельным промежутком между лезвиями. Следовательно, на каждой поперечной внутренней стороне рамки 21 предусмотрено столько удерживающих пазов 44, сколько имеется держателей 18 лезвия.
Между секцией 31 для приема лезвия и рукояткой 12 (например, в части, примыкающей к соединению рукоятки 12) согласно различным вариантам реализации предусмотрены один или более поперечных элементов 35, которые выполнены за одно целое с рамкой 21. Поперечные элементы 35 могут содержать множество направляющих 46 держателя лезвия, выполненных в виде множества выступов, выровненных с удерживающим пазом 44 на поперечных внутренних сторонах рамки 21. Направляющие 46 держателя лезвия предназначены для регулирования параллельного промежутка между лезвиями в продольном направлении.
В одном варианте (показанном на ФИГ. 13 и 14) расстояние между держателями 18 лезвия постепенно уменьшается от передней продольной стороны 40 к задней продольной стороне 41 бритвы 14 для создания изменяемого промежутка между лезвиями (inter-blade span, IBS). Одним из альтернативных способов достижения такой компоновки является постепенное уменьшение расстояния между удерживающими пазами 44, обеспеченными на поперечных внутренних сторонах в поперечном направлении (от y до -y) кассеты 14 для бритвы. Позиционирование и/или ширина направляющих 46 для держателя лезвия соразмерно регулируется таким образом, что в группе межлезвийных промежутков IBS промежутки между режущими кромками 43 режущих элементов 28a-d являются параллельными друг другу. Альтернативно расстояние между последующими лезвиями может быть одинаковым в направлении P-Q.
Кассета 14 для бритвы, показанная на ФИГ. 13, содержит четыре упругих пальца 48a-d, расположенных под первым фиксатором 26. Кассета 14 для бритвы содержит четыре упругих пальца 48e-h, расположенных под вторым фиксатором 27, которые в поперечном направлении выровнены с четырьмя упругими пальцами 48a-d под первым фиксатором 26.
В сумме имеются восемь упругих пальцев 48, каждый из которых прикладывает силу смещения к соответствующим режущим элементам группы режущих элементов 29 в направлении к поверхности бритья, так что указанные режущие элементы группы режущих элементов 29 после сборки находятся в исходном положении. В исходном положении режущие кромки 43 лезвий 16 на каждом боковом конце лезвий 16 рядом с первым и вторым фиксаторами 26, 27 упираются, например, в соответствующие стопорные участки. В одном примере стопорные участки могут быть первым и вторым фиксаторами 26, 27.
Соответственно, исходное положение режущих элементов 28a-d четко определено, что обеспечивает высокую точность бритья. Разумеется, проиллюстрированное устройство смещения имеет множество вариаций. Например, на одном или более поперечных элементов 35 могут быть обеспечены еще множество упругих пальцев 48. В упрощенной конструкции кассеты для бритвы (например, для недорогих одноразовых бритв) упругие пальцы 48 могут отсутствовать. Специалисту в данной области техники понятно, что количество обеспечиваемых упругих пальцев 48 связано с количеством режущих элементов 28a-d в группе режущих элементов 29, и может быть обеспечено меньше или больше восьми упругих пальцев 48.
На ФИГ. 14 схематически показан вид сбоку части узла кассеты для бритвы, показанной на ФИГ. 13, взятый вдоль поперечной оси PQ, показанной пунктирной линией на ФИГ. 13. Где это возможно, одинаковые элементы обозначены одинаковыми ссылочными позициями.
В дополнение к признакам, показанным на частичном поэлементном виде на ФИГ. 13, на ФИГ. 14 также показан продольный задний узел 49 (колпачковый элемент), который в некоторых примерах может быть включен в качестве части кассеты 14 для бритвы, но это не существенно.
В частности, опциональный продольный задний узел 49 согласно различным вариантам реализации содержит опциональный продольный элемент 51 для ухода за кожей (например, смазывающую полоску) для нанесения состава, такого как смазочный состав, на поверхность бритья после того, как режущие кромки 43 лезвий 16a-d пройдут по поверхности бритья.
Опциональный продольный задний узел 49 согласно различным вариантам реализации содержит продольное подрезающее лезвие 53, расположенное на задней продольной стороне 41 кассеты 14 для бритвы. Подрезающее лезвие 53 может использоваться, например, для стрижки волос, которые трудно достать с помощью лезвий 16 группы режущих элементов 29, таких как лишние носовые волосы. В одном примере подрезающее лезвие 53 проходит только в пропорции продольного направления продольного заднего узла 49, составляющей, например, до трех четвертых, до половины или до одной четвертой.
Как показано на чертеже, подрезающее лезвие 53 установлено на держателе 54 подрезающего лезвия. Узел подрезающего лезвия 53, установленного на держателе 54 подрезающего лезвия, в одном примере идентичен конструкции секции 31 для приема лезвия, держателя 18 лезвия и лезвия 16, содержащихся в группе режущих элементов 29, для уменьшения неоправданного разнообразия деталей. Альтернативно подрезающее лезвие 53 и держатель 54 подрезающего лезвия имеют конструкцию, отличающуюся от конструкции секции 31 для приема лезвия, держателя 18 лезвия и лезвия 16, содержащихся в группе режущих элементов 29.
В одном из примеров дополнительный продольный задний узел 49 содержит съемную крышку 52 в качестве средства безопасности и для сохранения остроты подрезающего лезвия 53, когда оно не используется.
Подобно рамке 21 бритвы, опциональный продольный задний узел 49 и/или съемная крышка 52 могут быть выполнены из пластика или материала на основе смолы. В одном примере продольный задний узел 49 выполнен за одно целое с рамкой 21. Например, продольный задний узел 49 приклеен или, например, прикреплен ультразвуковой сваркой к рамке 21. В одном примере кассета 14 для бритвы обеспечена без продольного заднего узла 49, так что задний край рамки 21 в направлении бритья является задней продольной стороной 41 кассеты 14 для бритвы. В варианте реализации, в котором кассета 14 для бритвы содержит продольный задний узел 49, задняя продольная сторона 41 продольного заднего узла 49 в направлении бритья считается задним краем рамки 21 в направлении бритья.
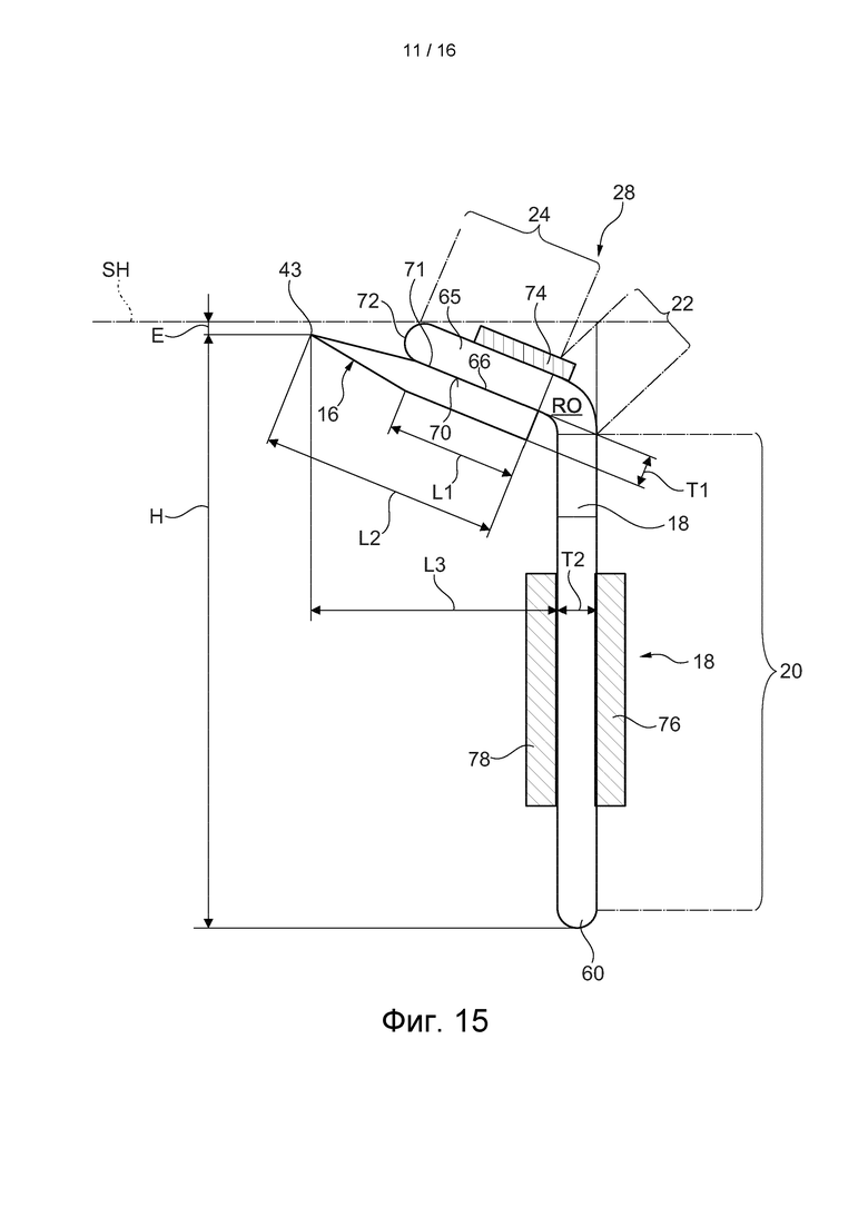
На ФИГ. 15 схематически показан альтернативный вид сбоку режущего элемента 28, содержащего термохромный участок.
Участок 71 для установки лезвия расположен на внутренней поверхности 66 соответствующего держателя 18 лезвия, который при использовании обращен от поверхности бритья. Режущая кромка 43 проходит вперед из передней части держателя 18 лезвия.
Противоположная сторона держателя 18 лезвия содержит наружную поверхность, которая при использовании обращена к поверхности бритья, или коже пользователя. Альтернативно она называется верхней стороной держателя 18 лезвия. Первый оптический признак 11 обеспечен на верхней стороне держателя 18 лезвия в качестве первого термохромного участка 74. Как описано ниже, первый термохромный участок 74 может быть расположен множеством различных способов на верхней стороне держателя 18 лезвия.
Следовательно, при использовании первый термохромный участок 74 является видимым, когда пользователь наблюдает переднюю часть кассеты 14 для бритвы. Альтернативно или комбинации оптический признак 11 может быть обеспечен на втором участке 76 держателя 18 лезвия. Альтернативно или в сочетании оптический признак может быть обеспечен на третьем участке 78 держателя 18 лезвия. Альтернативно или в сочетании оптический признак может быть обеспечен на поверхности переднего конца 72, и этот оптический признак может быть достаточно заметным для пользователя, особенно когда держатель 18 лезвия является толстым. Когда оптический признак обеспечен в виде второго термохромного участка 76 или третьего термохромного участка 78 держателя 18 лезвия, оптический признак не виден с передней стороны кассеты 14 для бритвы. Однако множество кассет для бритвы имеют открытую рамку 21, чтобы вода могла легко стекать во время полоскания. Эффект открытой рамки 21 заключается в том, что задняя часть держателя 18 лезвия видна, когда пользователь держит кассету 14 для бритвы так, что передняя часть кассеты 14 для бритвы обращена от пользователя.
Соответственно, оптический признак 11 (термохромный участок 74) обеспечивает возможность получения обратной связи относительно температуры держателей 18 лезвия кассеты 14 для бритвы с передней стороны кассеты 14 для бритвы. В одном примере, поскольку разные пользователи могут промывать кассету 14 для бритвы спереди или сзади, дополнительные термохромные участки 76 или 78 могут быть обеспечены на участках по меньшей мере одного держателя 18 лезвия, которые видны через заднюю часть открытой рамки 21.
Держатель 18 лезвия имеет значительную толщину. Например, держатель 18 лезвия имеет толщину в диапазоне от 0,12 мм до 0,3 мм, в частности, в диапазоне от 0,12 мм до 0,21 мм и более конкретно в диапазоне от 0,135 мм до 0,185 мм, более конкретно в диапазоне от 0,155 мм до 0,185 мм, в частности, в диапазоне от 0,145 мм до 0,17 мм, в частности, в диапазоне от 0,155 мм до 0,17 мм и наиболее конкретно 0,15 мм.
В одном примере каждый держатель 18 лезвия из группы режущих элементов 29 идентичен другим и имеет одинаковую толщину T2 и одинаковый угол A наклона. В данном случае режущая кромка 43 и промежуток между лезвиями являются идентичными.
Несмотря на то, что выше описана кассета 14 для бритвы с четырьмя лезвиями 16a-d, настоящее описание также включает кассету 14 для бритвы, содержащую три лезвия или более четырех лезвий.
Соответственно, каждый из держателей 18a-d лезвия содержит закругленный передний конец 72, который выполнен так, что при использовании контактирует с поверхностью бритья в дополнение к режущим кромкам 43 лезвий 16a-d, тем самым снижая давление в точке контакта каждой режущей кромки с поверхностью бритья. Таким образом, давление в точках контакта режущей кромки может быть уменьшено.
Как обсуждалось выше, держатель 18 лезвия может быть изготовлен из плоской металлической заготовки, которую сгибают перед соединением сваркой лезвия 16 с внутренней поверхностью 66 держателя 18 лезвия. Таким образом, режущий элемент 28 содержит лезвие 16 (лезвие бритвы).
Лезвие 16 в своем плоском участке имеет толщину T1 примерно 0,1 мм (например, от 0,04 мм до 0,11 мм, в частности, примерно 0,074 мм). Общая длина L2 лезвия 16 между режущей кромкой 43 лезвия 16 и противоположным задним краем лезвия 16 составляет примерно 1 мм (например, от 0,8 мм до 1,3 мм). Участок лезвия 16, который контактирует с внутренней поверхностью 66 держателя лезвия, которая при использовании обращена от поверхности бритья, имеет длину L1, которая составляет примерно 0,49 мм +/- 0,1 мм, в частности, между 0,49 мм +/-0,1 мм и 0,77 мм +/-0,1 мм. Таким образом обеспечивается хорошее удерживание лезвия на нижней стороне держателя 18 лезвия (внутренней поверхности держателя 18 лезвия).
В одном примере высота H режущего элемента 28 составляет от 1,72 мм до 2,8 мм, в частности, от 2,53 мм до 2,63, в частности, 2,58188 мм или 2,58 мм.
В одном примере передний конец 72 держателя 18 лезвия закруглен или скошен для улучшения характеристик скольжения режущего элемента.
В одном примере лезвие 16 может быть расположено на внутренней поверхности 66 держателя 18 лезвия, чтобы регулировать обнажение E режущей кромки 43 в положительную или отрицательную сторону относительно поверхности бритья. Обнажением является мера того, насколько далеко режущая кромка 43 лезвия 16 выступает выше или опущена ниже конца 72 держателя 18 лезвия.
Например, лезвие 16 может быть расположено так, что его обнажение относительно поверхности бритья находится в диапазоне от -80 мкм до +80 мкм, более предпочтительно обнажение составляет примерно -75 мкм, -65 мкм, -60 мкм, -55 мкм, -50 мкм, -45 мкм, -40 мкм, -35 мкм, -30 мкм, -25 мкм, -20 мкм, -15 мкм, -10 мкм, -5 мкм, 0 мкм, 5 мкм, 10 мкм, 15 мкм, 20 мкм, 25 мкм, 30 мкм, 35 мкм, 40 мкм, 45 мкм, 50 мкм, 55 мкм, 60 мкм, 65 мкм, 70 мкм или 75 мкм.
Длина L3 режущего элемента 28 между режущей кромкой 43 и наружной поверхностью нижнего участка держателя 18 лезвия составляет примерно 1,0 мм, в частности, 1,17 мм (например, от 0,8 мм до 1,6 мм).
Лезвие 16 прикреплено к внутренней поверхности 66 держателя лезвия любым известным способом, например, точечной лазерной сваркой. Предпочтительно лезвие 16 прикреплено к внутренней поверхности 66 держателя лезвия множеством точечных сварных швов (например, от десяти до шестнадцати точечных сварных швов), распределенных по продольному размеру держателя 18 лезвия. Каждый из точечных сварных швов может быть выполнен на внутренней поверхности 70 лезвия 16. Альтернативно каждый из точечных сварных швов может быть выполнен на наружной поверхности держателя 68 лезвия или с использованием сочетания обоих приведенных выше местоположений.
На ФИГ. 16a показан вид в перспективе участка режущего элемента 28 в соответствии с одним примером. Одинаковые элементы, показанные на ФИГ. 15, имеют одинаковые ссылочные номера. Верхняя сторона 65 держателя 18 лезвия обеспечивает установочный участок для первого термохромного участка 74. Как показано на чертеже, первый термохромный участок 74 представляет собой непрерывную полосу, нанесенную на верхнюю сторону 65 держателя 18 лезвия, или может быть разделен на подучастки.
Обычно лезвие устанавливается на наружной поверхности держателя 18 лезвия, так что при использовании ни один участок держателя 18 лезвия не контактирует с поверхностью бритья.
Следует отметить, что в настоящих аспектах и вариантах реализации участок 71, предназначенный для установки лезвия, держателя 18 лезвия расположен на внутренней поверхности соответствующего держателя 18 лезвия, которая при использовании обращена от поверхности бритья, а лезвие прикреплено к участку 71, предназначенному для установки лезвия, как показано на ФИГ. 15.
Согласно настоящему подходу лезвие 16 устанавливается на внутренней поверхности соответствующего держателя 18 лезвия и выступает из-под указанной внутренней поверхности, определяя режущую кромку до межлезвийного промежутка между режущей кромкой 43 лезвия и концом держателя 18 лезвия, по направлению к поверхности бритья. При использовании, когда режущий элемент 28 контактирует с поверхностью бритья, режущая кромка 43 лезвия 16 и конец держателя 18 лезвия одновременно контактируют с поверхностью бритья, что приводит к уменьшению силы, прилагаемой к поверхности бритья, например, одиночной режущей кромкой 43.
Иными словами, положение лезвия 16 на держателе 18 лезвия, когда режущий элемент 28a-d установлен в кассету 14 для бритвы, определяется тем фактом, что воображаемая касательная, проходящая от поверхности лезвия 16, которая обращена по направлению от поверхности бритья (такой как кожа пользователя во время бритья), не проходит через какую-либо точку держателя 18 лезвия, на котором установлено лезвие 16.
Дополнительное определение положения лезвия 16 на опоре 18 лезвия состоит в том, что, когда режущий элемент 28a-d установлен в кассете 14 для бритвы, воображаемая касательная, проходящая от участка лезвия 16, контактирующего с участком 71, предназначенным для установки лезвия, который обращен к поверхности бритья, проходит через держатель 18 лезвия, на котором установлено лезвие 16.
Дополнительный эффект заключается в том, что обеспечение лезвия 16, висящего «под» держателем 18 лезвия, как показано, в частности, на ФИГ. 4, приводит к тому, что верхняя сторона 65 держателя 18 лезвия доступна для обеспечения визуальной обратной связи с пользователем. В различных вариантах реализации это может быть простой напечатанный логотип или цветной блок. Верхняя сторона 65 держателя 18 лезвия (и в случае необходимости также второй участок 76 и третий участок 78 держателя 18 лезвия) обеспечивает прямой контакт термохромного участка с металлическим материалом держателя 18 лезвия. Тепловая энергия, соответствующая фактической температуре держателя 18 лезвия, может передаваться непосредственно термохромному участку 74 и может быть отображена для пользователя, чтобы предоставлять пользователю более точную обратную связь о температуре держателя 18 лезвия и, следовательно, лезвия 16, установленного на держателе 18 лезвия (при условии, что потери проводимости между металлом, составляющим лезвие 16, и держателем 18 лезвия являются минимальными). Этот подход более точен, чем, например, предоставление минимального оптического признака 11 для обеспечения оптической обратной связи относительно температуры кассеты для бритвы, например, в рамке 21, как это предусмотрено в уровне техники.
В различных вариантах реализации изобретения термохромный участок находится в прямом контакте с металлическим материалом держателя 18 лезвия, и благодаря использованию конструкции типа «висящее лезвие» участок верхней стороны 65 держателя 18 лезвия является достаточно широким для размещения на нем участка или полоски термохромного участка 74, которые могут быть хорошо видны пользователю кассеты 14 для бритвы.
Согласно второму аспекту предложен способ изготовления кассеты для бритвы.
Способ включает:
- получение на этапе 80 держателя 18 лезвия, выполненного с возможностью прикрепления лезвия 16 к кассете для бритвы;
- нанесение на этапе 82 первого оптического признака 11 на один или более из первого участка, второго участка и/или третьего участка держателя лезвия, при этом первый оптический признак выбирают из одного или более из цвета, покрытия, текстуры, перфорации, прозрачности держателя лезвия, источника излучения света, выступа и наклейки;
- прикрепление на этапе 84 лезвия к держателю лезвия; и
- прикрепление на этапе 86 держателя лезвия к кассете для бритвы.
Порядок, в котором первый оптический признак 11 наносят на один или более из первого участка, второго участка и/или третьего участка держателя лезвия, не является существенным и может быть определен до прикрепления лезвия 16 к держателю лезвия или после него. Кроме того, первый оптический признак 11 может быть нанесен на держатель 18 лезвия после прикрепления держателя лезвия к кассете для бритвы.
На ФИГ. 20 показан способ изготовления кассеты для бритвы в соответствии с примером. В примерах лезвие прикрепляют к держателю лезвия или закрепляют на нем, а затем держатель лезвия закрепляют на кассете или прикрепляют к ней.
В различных примерах первый оптический признак 11 (например, состав с термочувствительной краской, гидрохромный состав и/или цветное покрытие) может быть нанесен в качестве покрытия на держатель лезвия в соответствии с любым из стандартных методов, используемых для нанесения красок или покрытий, таких как нанесение кистью, валиком, с использованием обычного воздушного распылителя или безвоздушного распылителя. В некоторых примерах в качестве дополнительного этапа после нанесения покрытия из термочувствительной краски также может применяться отверждение, если состав с термочувствительной краской требует отверждения для обеспечения затвердевания.
В различных примерах нанесение покрытия осуществляют после прикрепления лезвия к держателю. В некоторых примерах первый оптический признак 11 (например, состав с термочувствительной краской, гидрохромный состав и/или цветное покрытие), образованный в качестве покрытия, может быть нанесен до прикрепления лезвия к держателю лезвия. Первый оптический признак 11 может быть нанесен, например, в качестве покрытия на держатель лезвия, если он имеет форму плоской проволоки (т.е. когда он является заготовкой). Затем заготовку держателя лезвия, несущую первый оптический признак 11, подвергают дальнейшим этапам изготовления, включая штамповку, гибку, сварку и обрезку, перед прикреплением лезвия 16 бритвы, например, с помощью точечной лазерной сварки.
Термохромные индикаторы
В описанных выше вариантах реализации оптический признак 11 предоставлен в виде одного или более участков держателя 18 лезвия, покрытых термочувствительным красителем 34, как показано на ФИГ. 5, и ниже будут обсуждаться химические вещества и схемы покрытия для обеспечения такого оптического признака 11.
Термохромный участок может быть обеспечен на держателе 18 лезвия кассеты 14 для бритвы путем нанесения покрытия из состава с термочувствительной краской на держатель 18 лезвия. В конфигурации держателя 18 лезвия, имеющей лезвие, установленное на стороне держателя 18 лезвия (опорного элемента), которая обращена в направлении от кожи пользователя бритвы (когда используется кассета), на поверхности держателя 18 лезвия, которая обращена к коже пользователя бритвы (когда используется кассета 14), доступно большое пространство. Это пространство (на одном или более держателей 18a-d лезвия) может использоваться в качестве установочного участка для оптических признаков 11 в целом, поскольку участок 18 лезвия (опорный элемент), освобожденный при удалении лезвия 16 из стороны держателя 18 лезвия, которая обращена к коже пользователя кассеты для бритвы (которая используется), хорошо виден пользователю. В частности, освободившееся пространство на участке держателя 18 лезвия, который обращен к коже пользователя бритвы (когда используется кассета 14), подходит для нанесения покрытия из химической краски.
Для достижения стабильной температуры в бытовых системах водоснабжения часто требуется период времени до десяти секунд, при этом желаемая температура для бритья может быть превышена. Обеспечение множества термочувствительных красок, реагирующих на разные температуры, может указывать пользователю на то, что температура воды изменяется во время влажного бритья и может превысить температуру, при которой пользователь первоначально начал бритье.
Оптический признак 11 (оптические индикаторы), образованный первым термохромным участком, в различных примерах обеспечен составом с термочувствительной краской, нанесенным на держатель 18 лезвия режущего элемента 28. Примером состава с термочувствительной краской является смесь цветопроявляющего органического соединения (соединения A), проявителя цвета (соединения B) и регулятора температуры изменения цвета (соединения C). Регулятор температуры изменения цвета действует в качестве реакционной среды для обратимого обмена электронами между соединением A и соединением B. В некоторых примерах соединение C может быть воском.
В других примерах оптический признак 11 (оптические индикаторы), образованный первым термохромным участком, может представлять собой жидкие кристаллы, такие как сложные эфиры холестерина, в частности, олеат холестерина/(Z)-октадец-9-еноат, или производные фенилового эфира сложных фениловых эфиров 4-(2-метилбутил) фенола.
В настоящем описании примером проявляющего цвет органического соединения является лейкокраситель (соединение A). В качестве альтернативы лейкокраситель можно рассматривать как электронодонорное соединение. Проявитель цвета (соединение B) действует в качестве электроноакцепторного соединения.
В различных примерах соединения A, B и C заключены в микрокапсулы. Затем указанные микрокапсулы могут быть смешаны с красителями (например, термостойкими красителями) для создания термочувствительной краски.
В одном из вариантов реализации термочувствительная краска является невидимой при начальной температуре, но после повышения температуры цвет отображается в необратимой реакции перехода. Такая функциональность может быть полезна, например, в области одноразовых бритв для демонстрации того, что кассета 14 для бритвы уже использовался один раз (из-за необратимого характера перехода).
В одном варианте реализации термочувствительная краска отображает цвет при начальной температуре и после повышения температуры становится невидимой, когда температура превышает первый порог. Когда температура падает, термочувствительная краска может снова отображать цвет, если температура падает ниже второго порогового значения (которое в различных вариантах реализации может быть таким же, как и первое пороговое значение, или отличаться от него).
В одном варианте реализации термочувствительная краска отображает первый цвет при начальной температуре и после повышения температуры переходит к отображению второго цвета, когда температура превышает первый порог. Когда температура падает, термочувствительная краска может снова отображать первый цвет, если температура падает ниже второго порогового значения (которое в разных вариантах реализации может быть таким же, как и первое пороговое значение, или отличаться от него).
В одном варианте реализации термочувствительная краска невидима при начальной температуре, но после повышения температуры переходит к отображению первого цвета, если температура превышает первый порог. Когда температура падает, термочувствительная краска снова становится невидимой, если температура падает ниже второго порогового значения (которое в разных вариантах реализации может быть таким же, как и первое пороговое значение, или отличаться от него).
Действие термочувствительной краски можно обосновать соединением C. Температура плавления соединения C определяет температуру, при которой термочувствительная краска выполняет переход цвета. В некоторых примерах изменение температуры приводит к обратимому окрашиванию. В других примерах изменение температуры приводит к необратимому обесцвечиванию краски.
Исследования показали, что рекомендуемые температуры для приятного ощущения при бритье находятся в диапазоне от 20°С до 45°С, в частности, от 32°С до 42°С и, в частности, от 35°С до 39°С.
В одном варианте реализации первый термохромный участок выполнен с возможностью изменения цвета, когда температура участка по меньшей мере одного держателя 18 лезвия находится в диапазоне от 20°С до 45°С, более конкретно от 32°С до 42°С, и наиболее конкретно от 35°С до 39°С. В этом варианте реализации, когда температура держателя 18 лезвия снижается, исходный цвет термохромного участка появляется снова.
В одном варианте реализации кассета 14 содержит первый термохромный участок, выполненный с возможностью осуществления необратимого изменения цвета при температуре выше первого значения.
В одном варианте реализации обеспечена кассета 14, в которой первый оптический признак 11 представляет собой покрытие, нанесенное по меньшей мере на один держатель 18 лезвия, содержащий термохромный участок.
Специалисту в данной области техники понятно, что можно использовать множество различных термочувствительных красителей или красок в зависимости от конструктивных требований. В различных вариантах реализации изобретения лейкокраситель (соединение A) может быть выбран из группы, включающей N-ациллейкометиленовый синий краситель и его производные соединения, фторановые красители, диарилфталидные соединения, дифенилметановые соединения, спиропирановые соединения и их сочетания.
Более конкретно, соединение A может быть одним любым или смесью любых из следующего: 3-(4-диэтиламино-2-этоксифенил)-3-(1-этил-2-метилиндол-3-ил)-4-азафталид (Синий 63, номер CAS: 69898-40-4), 2'-(дибензиламино)-6'-(диэтиламино) флуоран (номер CAS: 34372-72-0), N, N-диметил-4-[2-[2- (октилокси)фенил]-6-фенил-4-пиридинил]бензоламин (желтый CK37, номер CAS: 144190-25-0), 7-(4-диэтиламино-2-гексилоксифенил)-7- (1-этил -2-метил-1H-индол-3-ил)-7H-фуро [3,4-b] пиридин-5-он (Синий 203, номер CAS: 98660-18-5), 2-(2,4-диметилфениламино)-3-метил-6-диэтиламинофлуран (Black 15, номер CAS: 36431-22-8), 3,3-бис-(1-бутил-2-метилиндол-3-ил)-3H-изобензофуран-1-он (Красный 40, номер CAS: 50292-91-6). Также могут применяться другие соединения, используемые в качестве соединения A.
Соединение B (проявитель цвета) может быть выбрано из группы, состоящей из бисфенолов, алкокси-п-гидроксибензоатов, 3,4,5-тригидроксибензойной кислоты и их сложных алкиловых эфиров (также известных как сложные эфиры галловой кислоты), таких как додецилгаллат, мочевина, дифенилмочевина и родственные соединения, такие как Pergafast 201, 1,2,3-триазолы, 4-гидроксикумарин и их смеси.
Более конкретно, соединение B может быть любым из следующих: 2,2-бис (4-гидрокси-3-метилфенил) пропан (бисфенол C, номер CAS: 79-97-0), 4-гексил-1,3-дигидроксибензол (4-гексилрезорцин, номер CAS: 136-77-6), 4,4'-циклогексилиденбисфенол (BPZ, номер CAS: 843-55-0), 4,4'-(гексафторизопропилиден)дифенол (бисфенол AF, номер CAS: 1478-61-1), 4,4'-(1-фенилэтилиден)бисфенол (номер CAS: 1571-75-1), 2,2'-дигидроксибифенил (номер CAS: 1806-29-7), 4,4'-(1,4-фенилендиизопропилиден) бисфенол (номер CAS: 2167-51-3), 1,1-бис (4-гидрокси-3-метилфенил)циклогексан (номер CAS: 2362-14-3), 9,9-бис (4-гидроксифенил)флуорен (номер CAS: 3236-71-3), 4,4'-(1,3-фенилендиизопропилиден) бисфенол (номер CAS: 13595-25-0), 1,1,1-трис(4-гидроксифенил)этан (номер CAS: 27955-94-8), 4,4'-(2-этилгексилиден)дифенол (номер CAS: 74462-02-5), α, α, α'-трис(4-гидроксифенил)-1-этил-4-изопропилбензол (номер CAS: 110726-28-8) и их смеси.
Соединение C выбрано для изменения цвета в диапазонах температур, перечисленных выше. Таким образом, соединение C может быть выбрано из списка соединений, которые имеют температуры плавления в диапазоне от 25°С до 45°С.
Соединение C может быть выбрано из следующих семейств соединений. Например, соединение C может быть выбрано из семейства моно- и полиспиртов, включающего 1-додеканол, 2-тридеканол, 1-тетрадеканол, 1-пентадеканол, 1-гексадеканол, 2-(4-метоксифенил)этанол, 4-изопропилбензиловый спирт, 1,2-октандиол, 1,9-нонандиол, 2,2-ди-н-бутил-1,3-пропандиол. Например, соединение C может быть выбрано из семейства алкиловых и ариловых эфиров, включающего этилпальмитат, 2-гидрокситилсалицилат, диметилсебацинат, 2-фенилэтилфенилацетат, триэтилметантрикарбоксилат, дибензилкарбонат, моноэтиловый эфир адипиновой кислоты, диметил-1,10-декандикарбонат, метилпальмитат, метил-п-толуат, этил-2-фуроат, этилстеарат, бензилциннамат, метил-3,4-диметилбензоат, диметилитаконат, метилстеарат, метил-3,5-диметоксибензоат, фенилсалицилат, этил-4- (бензилокси) бензоат, этил-3,4-диметоксибензоат, этилванилат, дибензилсукцинат, 1-нафтилацетат, диэтилтерефталат, холестерилолеат, метил 2-бензилоксибензоат, метилэйкозаноат, метил 2-гидрокси-4-метоксибензоат, 4-пентилсибензоат, 4-пентилсибензоат 3,3-дифенилпропаноат, стеарилбензоат. Например, соединение C может быть выбрано из семейства алкил- и арилкетонов, включающего 4'-метоксипропиофенон, 2-тридеканон, 7-пентадеканон, 5-гексадеканон, 7-гексадеканон, 2-пентадеканон, 4-гептадеканон, 3,4-диметилбензофенон, додеканофенон. Например, соединение C может быть выбрано из линейного и разветвленного семейства алканов, включающего N-гептадекан, N-октадекан, N-нонадекан, N-эйкозан, N-генейкозан, N-докозан. Например, соединение C может быть выбрано из семейства алкильных и ароматических карбоновых кислот, включающего ундекановую кислоту, 8-фенилоктановую кислоту, эруковую кислоту, декановую кислоту, додекановую кислоту.
В частности, соединение C может быть выбрано из группы, включающей этилпальмитат, диметилсебацинат, метилпальмитат, метил-п-толуат, этилстеарат, метил-3,4-диметилбензоат, диметилитаконат, метилстеарат, метилэйкозаноат, 2-тридеканол, 1-додеканол, 4-изопропилбензиловый спирт, 2-(4-метоксифенил) этанол, 1,2-октандиол, 1-тетрадеканол, 2,2-ди-н-бутил-1,3-пропандиол, 1-пентадеканол, ундекановую кислоту, эруковую кислоту, декановую кислоту, додекановую кислоту, N-октадекан, N-нонадекан, N-эйкозан, N-генейкозан, N-докозан, 2-тридеканон, 7-пентадеканон, 5-гексадеканон, 7-гексадеканон, 2-пентадеканон, 4 -гептадеканон, 3,4-диметилбензофенон, октадецил-3,3-дифенилпропаноат, 2-фенилэтилфенилацетат. Более конкретно, соединение C выбрано из группы, включающей метилпальмитат, 1,2-октандиол, декановую кислоту, н-октадекан, 7-пентадеканон, диметилсебацинат, 1-додеканол, 4-изопропилбензиловый спирт, н-октадекан, этилстеарат, октадецил 3,3-дифенилпропаноат, стеарилбензоат, додеканофенон.
Например, соединение C может быть выбрано из группы, состоящей из метилпальмитата, 1,2-октандиола, декановой кислоты, н-октадекана, 7-пентадеканона, которые меняют цвет при температуре в диапазоне от 28°С до 34°С.
Например, соединение C может быть выбрано из группы диметилсебацината, 1-додеканола, 4-изопропилбензилового спирта, н-октадекана, которые меняют цвет при температуре в диапазоне от 25°С до 30°С; или конкретно при температуре в диапазоне от 25°С до 28°С.
Например, соединение C может быть этилстеаратом, который меняет цвет при температуре 34°С.
Например, соединение C может быть метилпальмитатом, который меняет цвет при температуре в диапазоне от 31°С до 35°С.
Например, соединение C может быть октадецил-3,3-дифенилпропаноатом, который меняет цвет при температуре 32°С.
Например, соединение C может быть метилстеаратом, который меняет цвет при температуре 40°С.
Например, соединение C может быть стеарилбензоатом, который меняет цвет при температуре в диапазоне от 42°С до 46°С.
Например, соединение C может быть додеканофеноном, который меняет цвет при температуре в диапазоне от 44°С до 46°С.
Более конкретно, соединение C может быть выбрано из группы, состоящей из н-эйкозана, 5-гексадеканона, 7-гексадеканона, 2,4-диметилбензилового спирта, 1-тетрадеканола, метил-3,4-диметилбензоата, диметилитаконата, которые меняют цвет при температуре в диапазоне от 36°С до 38°С.
Специалисту в данной области техники понятно, что приведенные выше примеры не являются ограничивающими, и другие формы термочувствительных красок могут использоваться для обеспечения визуальной обратной связи относительно температуры первого оптического признака 11 на держателе 18 лезвия, обсуждаемого в данном случае.
В некоторых примерах кассета 14 для бритвы может содержать множество термочувствительных красок. Первая термочувствительная краска содержит первую реакционную среду в виде соединения С. Вторая термочувствительная краска содержит вторую реакционную среду в виде соединения С, которое отличается от реакционной среды, включенной в первую термочувствительную краску. Например, вторая термочувствительная краска содержит реакционную среду, имеющую более высокую или более низкую температуру плавления, чем реакционная среда в первой термочувствительной краске.
В некоторых примерах первая реакционная среда может быть выбрана из группы, включающей этилпальмитат, диметилсебацинат, метилпальмитат, метил-п-толуат, этилстеарат, метил-3,4-диметилбензоат, диметилитаконат, метилстеарат, метилэйкозаноат, 2-тридеканол, 1-додеканол, 4-изопропилбензиловый спирт, 2-(4-метоксифенил) этанол, 1,2-октандиол, 1-тетрадеканол, 2,2-ди-н-бутил-1,3-пропандиол, 1-пентадеканол, ундекановую кислоту, эруковую кислоту, декановую кислоту, додекановую кислоту, N-октадекан, N-нонадекан, N-эйкозан, N-генейкозан, N-докозан, 2-тридеканон, 7-пентадеканон, 5-гексадеканон, 7-гексадеканон, 2-пентадеканон, 4-гептадеканон, 3,4-диметилбензофенон, октадецил-3,3-дифенилпропаноат, 2-фенилэтилфенилацетат. В частности, первая реакционная среда может быть выбрана из группы, включающей метилпальмитат, 1,2-октандиол, декановую кислоту, н-октадекан, 7-пентадеканон, диметилсебацинат, 1-додеканол, 4-изопропилбензиловый спирт, н-октадекан, этил стеарат, октадецил-3,3-дифенилпропаноат, стеарилбензоат, додеканофенон.
В некоторых примерах термохромный участок может содержать смесь различных термочувствительных красок, имеющих множество температурных реакций.
В некоторых примерах реакционная среда в виде соединения C, которое плавится при температурах выше оптимальной для бритья, включает 1,2-октандиол, этилстеарат, которые меняют цвет при температурах выше 34°С.
Показательные примеры реакционной среды в виде соединения C, плавящегося при температурах ниже оптимальной для бритья, включают диметилсебацинат, 1-додеканол, 4-изопропилбензиловый спирт, н-октадекан (изменяющие цвет при температуре в диапазоне от 25°С до 30°С), а также диметилсебацинат, 1-додеканол, 4-изопропилбензиловый спирт, н-октадекан (изменяющие цвет при температуре в диапазоне от 25°С до 28°С).
В одном примере первый состав с термочувствительной краской меняет цвет при температуре в диапазоне от 30°С до 34°С, позволяя пользователю визуально воспринимать цвет, отличающийся от исходного цвета держателя 18 лезвия. Когда температура воды повышается или остается холодной, пользователь может видеть второй сигнал о том, что температура слишком высокая или низкая. Этот второй визуальный сигнал достигается другим изменением цвета по сравнению с первым изменением цвета, достигаемым за счет использования другой термочувствительной краски, содержащей реакционную среду в виде соединения C, которое плавится при более высокой или более низкой температуре, чем температура в диапазоне от 30°С до 34°С, в сочетании с другим красителем.
В одном примере изменение цвета происходит в течение нескольких секунд, в частности, в пределах от 0,01 сек до 10 сек, более конкретно в пределах от 0,1 сек до 5 сек, после воздействия водного раствора при оптимальной температуре бритья.
Например, первый термохромный участок 74 на держателе 18 лезвия в кассете 14 для бритвы может показывать изменение цвета в течение 2 сек, или в течение 1 сек, или в течение 0,5 сек после воздействия при оптимальной температуре бритья или выше.
В одном варианте реализации первый оптический признак 11 представляет собой первый термохромный участок, выполненный с возможностью изменения цвета в зависимости от температуры по меньшей мере одного держателя 18 лезвия. Следовательно, первый термохромный участок 74 проходит вдоль всей верхней стороны 65 одного держателя 18 лезвия кассеты 14для бритвы. В одном примере первый термохромный участок 74 может быть обеспечен как участок, проходящий наполовину, на одну треть или на одну четверть вдоль верхней стороны 65 одного держателя 18 лезвия.
На ФИГ. 5, рассмотренном выше, показан альтернативный вариант, в котором термочувствительный краситель 34 может изменять цвет, когда вода находится в диапазоне удовлетворительных температур для бритья, показываемых различными цветами термочувствительного красителя 34 на держателе 18 лезвия, например, красным цветом 34a, указывающим на то, что вода является достаточно теплой, или синим цветом 34b, указывающим на то, что вода недостаточно теплая для бритья.
На ФИГ. 17 схематически представлен вид спереди кассеты 14 для бритвы, показывающий приведенное для примера расположение термохромных участков 74a-74e на режущих элементах 28a-d в соответствии с примером. Кассета 14 для бритвы, показанная на ФИГ. 17, содержит пять лезвий. Однако специалисту в данной области техники понятно, что настоящая технология в случае необходимости применима к кассетам для бритвы, имеющим одно, два, три, четыре, пять или более лезвий и соответствующие держатели fa-d лезвия.
Термохромные участки 74a-e обеспечены на верхних сторонах 65 держателей 18a-d лезвия в кассете 14 для бритвы, показанной на ФИГ. 6. Дополнительное пространство на верхних сторонах 65 держателей лезвия, обеспечиваемое соответствующими лезвиями, прикрепленными к соответствующим внутренним поверхностям держателей лезвия, обеспечивает свободное пространство на виде спереди кассеты 14 для бритвы, тем самым обеспечивая отображение удобочитаемого набора термохромных участков 74a-e пользователю.
На ФИГ. 18 схематически показаны виды альтернативных подходов к размещению термохромных участков на режущих элементах в соответствии с одним примером.
На ФИГ. 18a) схематически показан вид множества термохромных участков 74a-74e, каждый из которых нанесен на верхнюю сторону 65 соответствующих держателей лезвия (не показаны). В этом случае каждый из термохромных участков 74a-74e имеет возрастающие температуры перехода. В левой части ФИГ. 18a) показано расположение термохромных участков 74a-74e при низкой температуре бритья. В правой части ФИГ. 18a) показаны термохромные участки при приемлемой температуре бритья. Таким образом, окраска расположения термохромных участков 74a-74e ведет себя как гистограмма в поперечном направлении кассеты 14 для бритвы. В одном варианте реализации каждый термохромный участок 74a-74e имеет одинаковый цвет. В одном варианте реализации каждый термохромный участок 74a-74e отображает постепенно меняющийся цвет (например, от синего до красного для указания изменения от холодного к горячему).
На ФИГ. 18b) схематически показан вид верхней стороны 65 одиночного держателя 18 лезвия, содержащего первый термохромный участок 74a и второй термохромный участок 74b. При повышении температуры пигментация первого и второго термохромных участков «переключается» слева направо, показывая, что бритва имеет правильную температуру.
На ФИГ. 18c) показан продольный вариант расположения, показанного на ФИГ. 18a), в котором три термохромных участка 74a-74c функционируют в качестве продольной гистограммы при повышении температуры. Разумеется, это предполагает равномерный нагрев держателя 18 лезвия. Разумеется, если происходит неравномерный нагрев держателя 18 лезвия (например, когда бритва долго остается неподвижной при полоскании под горячей струей воды), такое продольное расположение множества термохромных участков может помочь пользователю в выравнивании температуры всего набора лезвий по всему продольному размеру.
Согласно одному варианту реализации первый термохромный участок проходит в продольном направлении вдоль по меньшей мере одного держателя 18 лезвия, и при этом первый термохромный участок разделен в продольном направлении по меньшей мере на первый и второй подучастки, при этом первый подучасток выполнен с возможностью отображения цвета, отличающегося от второго подучастка, в зависимости от температуры по меньшей мере одного держателя 18 лезвия. Подучасток может рассматриваться как один из термохромных участков 74a, 74b и/или 74c, как показано на ФИГ. 7b) или 7c). Иными словами, подучасток термохромного участка представляет собой сегмент, отделенный от термохромного участка.
На ФИГ. 18d) показан первый термохромный участок 74a, который распределен по пяти наборам верхних сторон 65 держателей 18 лезвия в виде крестообразного логотипа (термохромные участки могут быть представлены в виде любого логотипа или графического изображения). Таким образом, может отображаться предупреждающий знак, когда кассета 14 для бритвы достигает небезопасной температуры. Альтернативно может отображаться логотип производителя, когда кассета 14 для бритвы достигает безопасной температуры.
Для специалиста в данной области техники могут быть очевидны множество других вариантов и расположений термохромных участков 74 на держателях 18 лезвия кассеты 14 для бритвы, а вышеприведенное обсуждение предназначено для иллюстрации примеров.
В одном варианте реализации первый оптический признак 11 включает в себя первый слой и второй слой, расположенный на первом слое, при этом первый слой включает в себя первый цвет, второй слой включает в себя второй цвет, и второй слой выполнен с возможностью постепенного удаления во время использования бритвы. Таким образом, второй слой представляет собой материал или соединение, которое может постепенно разрушаться при использовании. Например, второй слой может быть таким материалом, как воск, который постепенно тает и удаляется струей теплой воды для полоскания, чтобы, таким образом, проявился цвет первого слоя. Альтернативно или в сочетании второй слой можно постепенно удаляться за счет трения во время бритья.
На ФИГ. 19 представлен вид в перспективе сзади кассеты 14 для бритвы, показывающий приведенное для примера расположение термохромных участков на задней стороне режущих элементов в соответствии с примером. Как обсуждалось выше в разделе, касающемся ФИГ. 15, не обязательно, чтобы термохромный участок был полностью распределен на верхней стороне 65 держателя 18 лезвия. Например, второй термохромный участок 76 и/или третий термохромный участок 78 могут быть обеспечены на одной или более сторонах держателя 18 лезвия.
Как можно видеть на перспективном виде на ФИГ. 19, кассета 14 для бритвы с рамкой 21 «открытой архитектуры» обеспечивает хороший обзор задней части держателей 18 лезвия. Соответственно, обеспечение второго и/или третьего термохромных участков на сторонах держателя 18 лезвия может увеличить объем информации, доступной пользователю кассеты 14 для бритвы.
Согласно одному варианту реализации первый термохромный участок выполнен с возможностью отображения цветового градиента в продольном направлении по меньшей мере одного держателя 18 лезвия, и цветовой градиент изменяется в продольном направлении в зависимости от температуры по меньшей мере одного держателя 18 лезвия.
Соответственно, смесь красителей и реакционных сред в краске, нанесенной на термохромный участок, изменяется в продольном направлении, когда краску наносят, например, на верхнюю поверхность 65 держателя 18 лезвия. Эффект заключается в том, что когда держатель 18 лезвия поддерживается при постоянной температуре, отображается цветовой градиент, изменяющийся между первым и вторым цветом в продольном направлении держателя 18 лезвия. Когда температура держателя 18 лезвия увеличивается, цветовой градиент может перемещаться вдоль держателя 18 лезвия в продольном направлении.
Согласно одному варианту реализации первый оптический признак 11 на лезвии не предусмотрен.
Согласно одному варианту реализации первый оптический признак 11 предусмотрен на первом держателе 18a лезвия из множества держателей 18a-d лезвия, а второй оптический признак предусмотрен на втором держателе 18 лезвия из множества держателей 18a-d лезвия.
Согласно одному варианту реализации первый и второй оптические признаки предусмотрены на одном и том же держателе 18 лезвия из множества держателей 18a-d лезвия.
Согласно одному варианту реализации один и тот же держатель 18 лезвия содержит разрушаемый перекрывающий участок между первым и вторым оптическими признаками.
Гидрохромные индикаторы
В случае необходимости или дополнительно оптический признак 11 содержит гидрохромный участок (гидрохромный признак).
Гидрохромные признаки могут использоваться в качестве эстетических признаков или могут использоваться в качестве узорного индикатора, который может обеспечивать видимый узор, указывающий на состояние компонента, несущего гидрохромный признак. Гидрохромным признаком является признак, который изменяет цвет под воздействием воды или водяного пара. Например, после заданного количества использований кассеты для бритвы (например, от 1 до 20 использований, более конкретно от 2 до 10 использований) наличие узора может указывать на необходимость замены данной кассеты для бритвы. Альтернативно можно использовать гидрохромный признак для отображения того, что произошло повреждение кассеты для бритвы, и необходима замена.
В различных примерах гидрохромный материал может быть дополнительно или альтернативно нанесен на внутреннюю поверхность по меньшей мере одного держателя лезвия, которая при использовании обращена в направлении от поверхности бритья, при этом по меньшей мере один держатель 18 лезвия содержит первый оптический признак 11, расположенный на участке наружной поверхности по меньшей мере одного держателя 18 лезвия, которая при использовании обращена к поверхности бритья. Кассеты для бритвы, имеющие «открытую архитектуру», позволяют видеть внутреннюю поверхность по меньшей мере одного держателя лезвия через рамочный элемент кассеты со стороны кассеты для бритвы, противоположной стороне, которая контактирует с пользователем во время бритья. Следовательно, в случае необходимости задняя сторона держателей лезвия может использоваться в качестве дополнительной поверхности для обеспечения признака, обеспечивающего термохромную и/или гидрохромную индикацию для пользователя.
В различных примерах гидрохромный материал может быть нанесен в качестве покрытия на участок наружной поверхности по меньшей мере одного держателя 18 лезвия, которая при использовании обращена к поверхности бритья.
Альтернативно или в сочетании гидрохромный материал может быть нанесен в виде одного или множества слоев на участок наружной поверхности держателя 18 лезвия.
В приведенном для примера варианте реализации первая открытая поверхность наружной поверхности держателя 18 лезвия может содержать термохромное покрытие, действующее в качестве термохромного индикатора. Вторая поверхность, расположенная между первой открытой поверхностью и поверхностью держателя 18 лезвия, может быть гидрохромным материалом. В этом случае, если термохромное покрытие истерто или повреждено, гидрохромное покрытие изменяет цвет и указывает на это состояние.
В приведенном для примера варианте реализации гидрохромное покрытие может быть нанесено непосредственно на наружную поверхность держателя 18 лезвия без покрывающего слоя, чтобы указывать степень воздействия воды на поверхность держателя 18 лезвия.
В приведенном для примера варианте реализации используется множество гидрохромных материалов для обеспечения множества соответствующих отличительных слоев, которые при контакте с водой окрашиваются в разные цвета.
Примером гидрохромного материала является полидиацетилен.
Лазерная маркировка
В одном примере первый оптический признак 11 обеспечен в качестве участка с лазерной маркировкой. Например, маркировка на одном или более держателей 18 лезвия может быть желательной для обеспечения полезных и хорошо видимых пользователю маркировок/знаков.
В одном варианте реализации первый оптический признак 11 обеспечен в виде лазерной маркировки на участке наружной поверхности держателя 18 лезвия, которая при использовании обращена к поверхности бритья.
В одном примере наружные поверхности всех держателей 18 лезвия бритвы отмечены одинаковым узором.
В одном примере наружные поверхности каждого держателя 18 лезвия бритвы помечены последовательными составными полосами логотипа или изображения, так что весь логотип может отображаться пользователю с использованием обращенного к коже участка кассеты 14 для бритвы.
В одном примере лазерная маркировка наносится на заготовку держателя лезвия в виде проекции узора, так что после сгибания заготовки держателя лезвия для образования держателя 18 лезвия указанный узор принимает заданную форму лазерной маркировки.
В одном примере лазерную маркировку наносят на ранее согнутую заготовку держателя лезвия (т.е. на весь держатель лезвия).
В одном примере наружная поверхность держателя 18 лезвия, которая при использовании обращена к поверхности бритья, снабжена значками или текстом, передающим конкретное сообщение.
В одном примере наружная поверхность держателя 18 лезвия, которая при использовании обращена к поверхности бритья, сначала обеспечена оптическим признаком, содержащим лазерную маркировку, а затем покрыта водорастворимым покрытием. Таким образом, первоначально кассета 14 для бритвы будет казаться пользователю нормальной, но после определенного количества использований кассеты 14 для бритвы водорастворимое покрытие истощается и удаляется, обнажая маркированный лазером слой оптического признака, который может содержать сообщение, побуждающее пользователя заменить кассету 14 для бритвы. Соответственно, водорастворимое покрытие должно соответствовать прочности лезвия.
Преимущественно лазерная гравировка обеспечивает повышенную универсальность процесса и позволяет достичь относительно высоких скоростей обработки. Процесс лазерной гравировки может обеспечить участки держателя 18 лезвия произвольным и быстро изменяемым сообщением или логотипом, или может обеспечить возможность отличать разные типы бритв друг от друга.
Способ изготовления, включающий этап лазерной гравировки, позволяет выполнять лазерную гравировку до или после придания держателю 18 лезвия угловой формы. Обеспечена система иммобилизации для иммобилизации участка непрерывной металлической полоски, размещенной перед установкой для изготовления лезвия. Блок лазерной гравировки, содержащий зеркальный гальванометр, обеспечен перед установкой для изготовления лезвия. Цель системы иммобилизации состоит в обездвиживании непрерывной металлической полоски, чтобы блок лазерной гравировки мог создать узор или сообщение на указанной непрерывной металлической полоске.
Как видно из чертежей и текста, представленных выше, а также из приведенных ниже примеров, предполагается множество вариантов реализации. Эти варианты реализации подробно описаны в следующих утверждениях, поддерживаемых подробным описанием:
A1. Кассета для бритвы, содержащая:
по меньшей мере одно лезвие; и
держатель лезвия, выполненный с возможностью прикрепления по меньшей мере одного лезвия к кассете,
при этом указанный держатель лезвия включает в себя первый участок, второй участок и третий участок часть, причем оптический признак обеспечен на одном или более из первого участка, второго участка и третьего участка, и
при этом признак выбран из одного или более из цвета, покрытия, текстуры, перфорации, прозрачности держателя лезвия, источника излучения света и наклейки.
A2. Кассета по варианту реализации A1, в которой по меньшей мере одно лезвие прикреплено к поверхности, противоположной обращенной к коже поверхности третьего участка держателя лезвия.
A3. Кассета по варианту реализации A2, в которой по меньшей мере одно лезвие обеспечено в корпусе кассеты, частично открытое через отверстие в указанном корпусе, так что оптический признак также частично открыт через указанное отверстие.
A4. Кассета по любому из вариантов реализации А1-А3, в которой оптический признак не обеспечен на лезвии.
A5. Кассета по любому из вариантов реализации А1-А4, в которой оптический признак обеспечен по меньшей мере на части первого участка, второго участка и третьего участка.
A6. Кассета по любому из вариантов реализации А1-А5, в которой лезвие соединено с третьим участком держателя лезвия, а оптический признак включает в себя источник излучения света, расположенный внутри держателя лезвия, при этом свет излучается через прозрачный участок по меньшей мере третьего участка держателя лезвия.
A7. Кассета по любому из вариантов реализации А1-А6, в которой первый участок и третий участок по существу прямые, а второй участок согнут под углом и соединяет первый участок с третьим участком.
A8. Кассета по любому из вариантов реализации А1-А7, в которой оптический признак включает в себя первый слой и второй слой, расположенный на первом слое, при этом первый слой включает в себя первый цвет, второй слой включает в себя второй цвет, и второй слой выполнен с возможностью постепенного удаления во время использования бритвы.
A9. Кассета по любому из вариантов реализации А1-А8, в которой держатель лезвия включает в себя обращенную к коже поверхность и поверхность, противоположную обращенной к коже поверхности, при этом по меньшей мере одно лезвие прикреплено к поверхности, противоположной обращенной к коже поверхности.
A10. Способ изготовления кассеты по любому из вариантов реализации A1-A9, согласно которому кассеты включает в себя множество держателей лезвия, на которых установлено множество соответствующих лезвий, при этом способ включает:
обеспечение оптического признака по меньшей мере на одном держателе лезвия кассеты, при этом оптический признак включает в себя первый слой и второй слой, причем первый слой включает в себя первый цвет, второй слой включает в себя второй цвет, при этом второй слой выполнен с возможностью постепенного удаления во время использования бритвы.
A11. Способ по варианту реализации A10, согласно которому оптический признак также включает в себя светоизлучающий элемент.
Следующие утверждения определяют альтернативный аспект, также поддерживаемый подробным описанием, приведенным выше:
B1. Кассета для бритвы, содержащая:
- множество держателей лезвия, при этом по меньшей мере один держатель лезвия также содержит лезвие, прикрепленное к внутренней поверхности по меньшей мере одного держателя лезвия, которая при использовании обращена от поверхности бритья, при этом по меньшей мере один держатель лезвия содержит первый оптический признак, расположенный на участке наружной поверхности по меньшей мере одного держателя лезвия, которая при использовании обращена к поверхности для бритья; и
при этом первый оптический признак представляет собой первый термохромный участок, выполненный с возможностью изменения цвета в зависимости от температуры по меньшей мере одного держателя лезвия в соответствии с первой температурной реакцией первого термохромного участка.
B2. Кассета по утверждению B1,
в которой множество держателей лезвия содержит второй держатель лезвия, причем второй держатель лезвия содержит второй оптический признак, расположенный на участке наружной поверхности второго держателя лезвия, которая при использовании обращена к поверхности бритья,
причем второй оптический признак представляет собой второй термохромный участок, выполненный с возможностью изменения цвета в зависимости от температуры второго держателя лезвия в соответствии с второй температурной реакцией второго термохромного участка.
B3. Кассета по одному из утверждений B1 или B2,
в которой по меньшей мере один держатель лезвия также содержит дополнительный оптический признак, расположенный на участке наружной поверхности по меньшей мере одного держателя лезвия, которая при использовании обращена к поверхности бритья, отличающемся от участка по меньшей мере одного держателя лезвия, содержащего первый термохромный участок,
при этом дополнительный оптический признак представляет собой дополнительный термохромный участок, выполненный с возможностью изменения цвета в зависимости от температуры по меньшей мере одного держателя лезвия в соответствии с дополнительной температурной реакцией дополнительного термохромного участка.
B4. Кассета по одному из предыдущих утверждений,
в которой первая температурная реакция первого термохромного участка отличается от второй температурной реакцией второго термохромного участка и/или отличается от дополнительной температурной реакции дополнительного термохромного участка.
B5. Кассета по одному из предыдущих пунктов,
в которой первый термохромный участок выполнен с возможностью отображения первого цвета, когда по меньшей мере один держатель лезвия имеет первую температуру, и отображения второго цвета, когда по меньшей мере один держатель лезвия имеет вторую температуру.
B6. Кассета по одному из утверждений B1-B5,
в которой первый термохромный участок выполнен с возможностью изменения цвета, когда температура участка по меньшей мере одного держателя лезвия находится в диапазоне от 20°С до 45°С, более конкретно от 32°С до 42°С и наиболее конкретно от 35°С до 39°С.
B7. Кассета по одному из утверждений B1-B6,
в которой первый термохромный участок проходит в продольном направлении вдоль по меньшей мере одного держателя лезвия, причем первый термохромный участок разделен в продольном направлении по меньшей мере на первый и второй подучастки, при этом первый подучасток выполнен с возможностью отображения цвета, отличного от цвета второго подучастка, на основании температуры по меньшей мере одного держателя лезвия.
B8. Кассета по одному из предыдущих утверждений,
в которой первый термохромный участок содержит состав с термочувствительной краской, содержащий одно или более из следующего: лейкокраситель, проявитель и первая реакционная среда.
B9. Кассета по одному из утверждений B2-B8,
в которой второй термохромный участок содержит состав с термочувствительной краской, содержащий одно или более из следующего: лейкокраситель, проявитель и вторая реакционная среда, причем вторая реакционная среда имеет температуру плавления, которая выше или ниже температуры плавления первой реакционной среды.
B10. Кассета по одному из утверждений B8 или B9,
в которой первая реакционная среда выбрана из группы, содержащей -метилпальмитат, 1,2-октандиол, декановую кислоту, н-октадекан, 7-пентадеканон, диметилсебацинат, 1-додеканол, 4-изопропилбензиловый спирт, н-октадекан, этилстеарат, октадецил 3,3-дифенилпропаноат, стеарилбензоат, додеканофенон.
B11. Кассета по одному из предыдущих утверждений, в которой первый оптический признак включает в себя первый слой и второй слой, расположенный на первом слое, при этом первый слой включает в себя первый цвет, второй слой включает в себя второй цвет, и второй слой выполнен с возможностью постепенного удаления во время использования кассеты.
B12. Кассета по одному из предыдущих утверждений, в которой по меньшей мере один держатель лезвия включает в себя первый участок, второй участок и третий участок, при этом третий участок виден через заднюю часть рамки кассеты, а первый оптический признак обеспечен на одном или более из первого участка, второго участка или третьего участка.
B13. Способ изготовления кассеты для бритвы, включающий:
- получение множества держателей лезвия, при этом по меньшей мере один держатель лезвия также содержит лезвие, прикрепленное к внутренней поверхности держателя лезвия, которая обращена от поверхности бритья, причем по меньшей мере один держатель лезвия содержит первый оптический признак, расположенный на участке наружной поверхности по меньшей мере одного держателя лезвия, которая обращена к поверхности бритья, и
- обеспечение первого оптического признака по меньшей мере на одном держателе лезвия, содержащем первый термохромный участок, выполненный с возможностью изменения цвета на основе температуры по меньшей мере одного держателя лезвия в соответствии с первой температурной реакцией первого термохромного участка.
B14. Бритвенный узел, содержащий:
- рукоятку бритвы;
- кассету для бритвы по одному из утверждений B1-B12, причем указанная кассета для бритвы
либо прикреплена рассоединяемым способом к рукоятке бритвы посредством поворотного или неповоротного соединения, образованного как единое целое с рукояткой бритвы посредством неповоротного соединения, либо выполнена как единое целое с рукояткой бритвы посредством поворотного соединения.
B15. Комплект деталей, содержащий:
- держатель кассет для бритвы, содержащий множество касет для бритвы согласно одному из утверждений B1-B12 и, в случае необходимости, рукоятку бритвы.
Множество признаков и преимуществ настоящего изобретения являются очевидными из подробного описания, и, таким образом, приложенная формула изобретения предназначена для охвата всех таких признаков и преимуществ настоящего изобретения, которые попадают в определение принципа и объем охраны настоящего изобретения. Кроме того, поскольку специалистам в данной области техники очевидны множество модификаций и изменений, нежелательно ограничивать настоящее изобретение точной конструкцией и работой, показанными и описанными выше, и, соответственно, могут быть использованы все подходящие модификации и эквиваленты, попадающие в объем охраны настоящего изобретения.
Более того, специалистам в данной области техники понятно, что концепция, на которой основано это раскрытие, может быть легко использована в качестве основы для разработки других конструкций, способов и систем для достижения нескольких целей настоящего раскрытия. Соответственно, формулу изобретения не следует рассматривать как ограниченную приведенным выше описанием.
Технические и научные термины, используемые в данном документе, имеют то же значение, которое обычно понимается специалистом в данной области техники, к которой относится это раскрытие, если явно не указано иное. Используемые здесь формы единственного числа включают ссылки на множество, если контекст явно не диктует иное. Таким образом, например, ссылка на «датчик» может включать в себя множество таких датчиков, а ссылка на указанный датчик» может включать в себя ссылку на один или более датчиков и их эквиваленты, известные специалистам в данной области техники, и т.п.
Приведенное выше описание является иллюстративным и не предназначено для ограничения. Специалист в данной области техники может внести многочисленные модификации и/или изменения, не выходя за рамки общего объема охраны настоящего раскрытия. Например, как уже было описано, представленные выше варианты реализации (и/или их аспекты) могут использоваться в сочетании друг с другом.
Кроме того, части описанных выше вариантов реализации могут быть удалены без выхода за рамки объема охраны настоящего раскрытия. Кроме того, могут быть сделаны модификации, чтобы адаптировать конкретную ситуацию или материал к принципам различных вариантов реализации без выхода за пределы их объема охраны. Множество других вариантов реализации также будут очевидны специалистам в данной области техники после ознакомления с приведенным выше описанием.ССЫЛОЧНЫЕ НОМЕРА
S - Направление бритья
SH - Плоскость бритья
L - Продольное направление
IBS - межлезвийный промежуток
RO - внутренний радиус кривизны
T1 - Толщина лезвия бритвы
T2 - Толщина держателя лезвия
θ - Угол
4 - ближний участок
5a, 5b - механизм освобождения
6 - дальний участок
8 - поворотный несущий элемент
9 - рукоятка для захвата
10 - бритва
11 - оптический признак
12 - рукоятка
14 - кассета (кассета для бритвы)
15 - первый боковой участок
16a-d - лезвие
17 - второй боковой участок
18a-d - держатель лезвия (опорный элемент)
19 - крышка лезвия
20 - первый участок держателя 18 лезвия
21 - рамка
22 - второй участок держателя 18 лезвия
23 - защитный элемент
24 - третий участок держателя 18 лезвия
24a - обращенная к коже поверхность
24b - поверхность, противоположная поверхности, обращенной к коже
26 - первый фиксатор
27 - второй фиксатор
28a-d - режущий элемент
29 - группа режущих элементов
30 - первый слой цветной краски
32 - второй слой цветной краски
31a-d - секция приема лезвия
32 - второй слой цветной краски
34 - термочувствительный краситель
34a - первый цвет
34b - второй цвет
35 - поперечный элемент
36 - светопрозрачный участок
38 - текстурированная поверхность
40 - передняя продольная сторона
41 - задняя продольная сторона
42 - резиновое или гелеобразное покрытие
43a-d - режущая кромка
44a-d - удерживающие пазы
46 - направляющая держателя лезвия
48a-d - упругий палец
49 - продольный задний узел
50 - упаковка
50a - прозрачное окно
51 - продольный элемент ухода за кожей
52 - съемная крышка
53 - подрезающее лезвие
54 - держатель подрезающего лезвия
60 - нижний участок держателя лезвия
62 - радиус изгиба
64 - скругленная выемка
65 - верхняя сторона элемента держателя лезвия
66 - внутренняя поверхность держателя лезвия
68 - наружная поверхность держателя лезвия
70 - внутренняя поверхность лезвия
71 - участок для установки лезвия
72 - скругленный передний конец держателя лезвия
74 - первый термохромный участок
76 - второй термохромный участок
78 - третий термохромный участок
80 - получение держателя лезвия
82 - нанесение первого оптического признака
84 - прикрепление лезвия
86 - прикрепление держателя лезвия
| название | год | авторы | номер документа |
|---|---|---|---|
| БРИТВЕННЫЙ КАРТРИДЖ | 2020 |
|
RU2822647C1 |
| КАРТРИДЖ ДЛЯ БРИТВЫ | 2020 |
|
RU2815775C2 |
| РЕЖУЩИЙ ЭЛЕМЕНТ ДЛЯ БРИТВЕННЫХ ПРИБОРОВ С МНОЖЕСТВОМ ЛЕЗВИЙ, КОТОРЫЕ ИМЕЮТ УЗКУЮ ПЛАТФОРМУ ДЛЯ СПОСОБСТВОВАНИЯ ОПОЛАСКИВАНИЮ/ПРИКРЕПЛЕННОЕ СВАРКОЙ ЛЕЗВИЕ НА ДЕРЖАТЕЛЕ С УЗКИМ ПЛАТФОРМЕННЫМ УЧАСТКОМ | 2021 |
|
RU2825740C1 |
| БРИТВА С ПОДВИЖНОЙ БРЕЮЩЕЙ ГОЛОВКОЙ | 2001 |
|
RU2269410C2 |
| БРИТВЕННАЯ ГОЛОВКА С УВЕЛИЧЕННЫМ МЕЖЛЕЗВИЙНЫМ РАССТОЯНИЕМ | 2020 |
|
RU2804498C2 |
| РУКОЯТКА ДЛЯ БРИТВЫ, ОБЕСПЕЧИВАЮЩАЯ ВОЗМОЖНОСТЬ ВРАЩАТЕЛЬНОГО ДВИЖЕНИЯ КАРТРИДЖА | 2018 |
|
RU2753231C2 |
| ЛЕЗВИЙНЫЙ БЛОК И БЕЗОПАСНАЯ БРИТВА, СОДЕРЖАЩАЯ ТАКОЙ БЛОК | 2006 |
|
RU2388591C1 |
| БРИТВА СО ЗВУКОВЫМ СИГНАЛИЗАТОРОМ ПЕРВОГО ИСПОЛЬЗОВАНИЯ | 1998 |
|
RU2193964C2 |
| ПОКРЫТИЕ ЛЕЗВИЯ БРИТВЫ | 2015 |
|
RU2693974C2 |
| БРИТВЕННОЕ ЛЕЗВИЕ, БРИТВЕННЫЙ КАРТРИДЖ И СПОСОБ ИЗГОТОВЛЕНИЯ БРИТВЕННОГО ЛЕЗВИЯ | 2012 |
|
RU2630092C2 |
Изобретение относится к области устройств для бритья. Кассета для бритвы содержит по меньшей мере одно лезвие и первый держатель лезвия, выполненный с возможностью прикрепления по меньшей мере одного лезвия к кассете. Первый держатель лезвия включает в себя первый, второй и третий участки. Первый оптический признак обеспечен на одном или более из первого участка, второго участка и третьего участка. Первый оптический признак выбран из одного или более из цвета, покрытия, текстуры, перфорации, прозрачности держателя лезвия, источника излучения света, выступа и наклейки. По меньшей мере одно лезвие прикреплено к поверхности, которая противоположна обращенной к коже поверхности третьего участка первого держателя лезвия. Изобретение также относится к способу изготовления кассеты для бритвы, бритвенному узлу и набору для бритья. Техническим результатом изобретения является улучшение качества бритья. 4 н. и 45 з.п. ф-лы, 20 ил.
1. Кассета (14) для бритвы, содержащая:
- по меньшей мере одно лезвие (16); и
- первый держатель (18) лезвия, выполненный с возможностью прикрепления по меньшей мере одного лезвия к кассете,
при этом указанный первый держатель лезвия включает в себя первый участок (20), второй участок (22) и третий участок (24), причем первый оптический признак (11) обеспечен на одном или более из первого участка, второго участка и третьего участка, и
при этом первый оптический признак выбран из одного или более из цвета, покрытия, текстуры, перфорации, прозрачности держателя лезвия, источника излучения света, выступа и наклейки, и
в которой по меньшей мере одно лезвие (16) прикреплено к поверхности (24b), которая противоположна обращенной к коже поверхности (24a) третьего участка первого держателя (18) лезвия.
2. Кассета (14) по п. 1, в которой по меньшей мере одно лезвие (16) обеспечено в корпусе кассеты, частично открытое через отверстие в корпусе, так что первый оптический признак (11) также частично открыт через указанное отверстие.
3. Кассета (14) по п. 1 или 2, в которой первый оптический признак (11) отсутствует на лезвии (16).
4. Кассета (14) по одному из пп. 1-3, в которой первый оптический признак (11) обеспечен по меньшей мере на части первого участка (20), второго участка (22) и третьего участка (24).
5. Кассета (14) по одному из пп. 1-4, в которой по меньшей мере одно лезвие (16) соединено с третьим участком (24) первого держателя (18) лезвия, а первый оптический признак (11) включает в себя источник излучения света, расположенный внутри держателя лезвия, при этом свет излучается через прозрачный участок по меньшей мере третьего участка держателя лезвия.
6. Кассета (14) по одному из пп. 1-5, в которой первый участок (20) и третий участок (24) прямые, а второй участок согнут под углом (θ) и соединяет первый участок с третьим участком.
7. Кассета (14) по одному из пп. 1-6, в которой первый оптический признак (11) включает в себя первый слой (30) и второй слой (32), расположенный на первом слое, причем первый слой включает в себя первый цвет, второй слой включает в себя второй цвет, и второй слой выполнен с возможностью постепенного удаления во время использования бритвы.
8. Кассета (14) по одному из пп. 1-7, в которой первый держатель (18) лезвия включает в себя обращенную к коже поверхность (24a) и поверхность (24b), противоположную обращенной к коже поверхности, при этом по меньшей мере одно лезвие (16) прикреплено к поверхности, противоположной обращенной к коже поверхности.
9. Кассета (14) по п. 8, в которой третий участок (24) первого держателя (18) лезвия содержит обращенную к коже поверхность первого держателя лезвия.
10. Кассета (14) по одному из пп. 1-9, в которой первый оптический признак (11) представляет собой покрытие, содержащее состав с термочувствительной краской.
11. Кассета (14) по п. 10, в которой первый оптический признак (11) представляет собой термохромный участок, выполненный с возможностью изменения цвета в зависимости от температуры первого держателя (18) лезвия в соответствии с первой температурной реакцией состава с термочувствительной краской.
12. Кассета (14) по п. 10 или 11, в которой состав с термочувствительной краской выполнен с возможностью изменения цвета, когда температура участка первого держателя (18) лезвия находится в диапазоне от 25°С до 60°С, более конкретно в диапазоне от 30°С до 40°С и наиболее конкретно составляет 35°С.
13. Кассета (14) по п. 10 или 11, в которой состав с термочувствительной краской выполнен с возможностью изменения цвета, когда температура участка первого держателя (18) лезвия находится в диапазоне от 20°С до 45°С, более конкретно от 32°С до 42°С и наиболее конкретно от 35°С до 39°С.
14. Кассета (14) по одному из пп. 10-13, в которой первый оптический признак (11) проходит в продольном направлении вдоль первого держателя (18) лезвия, причем первый оптический признак разделен в продольном направлении по меньшей мере на первый и второй подучастки, при этом первый подучасток (74a) выполнен с возможностью отображения цвета, отличного от цвета второго подучастка (74b) в зависимости от температуры первого держателя лезвия.
15. Кассета (14) по одному из пп. 10-14, в которой состав с термочувствительной краской содержит одно или более из следующего: лейкокраситель, проявитель и первая реакционная среда.
16. Кассета (14) по п. 15, в которой второй подучасток первого оптического признака (11) содержит дополнительный состав с термочувствительной краской, содержащий одно или более из следующего: лейкокраситель, проявитель и вторая реакционная среда, при этом вторая реакционная среда имеет температуру плавления, которая выше или ниже температуры плавления первой реакционной среды.
17. Кассета (14) по п. 15 или 16, в которой первая реакционная среда выбрана из группы, содержащей метилпальмитат, 1,2-октандиол, декановую кислоту, н-октадекан, 7-пентадеканон, диметилсебацинат, 1-додеканол, 4-изопропилбензиловый спирт, этилстеарат, октадецил 3,3-дифенилпропаноат, стеарилбензоат, додеканофенон.
18. Кассета (14) по одному из пп. 1-17, в которой первый оптический признак (11) выполнен с возможностью изменения внешнего вида на основе предыдущего или текущего состояния использования кассеты.
19. Кассета (14) по одному из пп. 1-18, в которой первый оптический признак (11) выполнен с возможностью обратимого или постоянного изменения цвета на основе изменения температуры участка первого держателя (18) лезвия.
20. Кассета (14) по одному из пп. 1-19, в которой первый оптический признак (11) по меньшей мере частично выполнен с возможностью обратимого или постоянного изменения цвета, когда он подвергается воздействию проточной воды.
21. Кассета (14) по одному из пп. 1-20, в которой первый оптический признак (11) по меньшей мере частично содержит покрытие из полидиацетилена.
22. Кассета (14) по одному из пп. 1-21, в которой первый оптический признак (11) содержит покрытие, которое выполнено с возможностью истирания кожей пользователя во время использования кассеты, чтобы таким образом показать пользователю, что кассета была использована.
23. Кассета (14) по одному из пп. 1-4, в которой первый оптический признак (11) представляет собой текстуру, образованную лазерным текстурированием, и выполнен в виде маркированного лазером участка или содержит его.
24. Кассета (14) по одному из пп. 1-4, в которой первый оптический признак (11) содержит сочетание (i) текстуры в виде маркированного лазером участка держателя (18) лезвия и (ii) водорастворимого покрытия, нанесенного поверх маркированного лазером участка.
25. Кассета (14) по одному из пп. 1-4, в которой первый оптический признак (11) содержит сочетание (i) текстуры в виде маркированного лазером участка держателя (18) лезвия и (ii) истираемого покрытия, нанесенного поверх маркированного лазером участка.
26. Кассета (14) по одному из пп. 1-25, также содержащая:
- держатели (18a-d) лезвия, при этом по меньшей мере второй держатель (18b) лезвия из указанных держателей лезвия также содержит второе лезвие (16b), прикрепленное к внутренней поверхности второго держателя лезвия, которая при использовании обращена от поверхности бритья, причем второй держатель лезвия содержит второй оптический признак, расположенный на участке наружной поверхности по меньшей мере одного держателя (18) лезвия, которая при использовании обращена к поверхности бритья.
27. Кассета (14) по п. 26, в которой второй оптический признак содержит второй термохромный участок, выполненный с возможностью изменения цвета в зависимости от температуры второго держателя лезвия.
28. Кассета (14) по п. 26, в которой второй оптический признак содержит одно или более из цвета, покрытия, текстуры, перфорации, прозрачности держателя (18) лезвия, источника излучения света, наклейки и маркированного лазером участка.
29. Кассета (14) по одному из пп. 26-28, в которой второй держатель (18b) лезвия также содержит третий оптический признак, расположенный на участке наружной поверхности второго держателя лезвия, которая при использовании обращена к поверхности бритья, отличающемся от участка второго держателя лезвия, содержащего второй термохромный участок; и при этом третий оптический признак представляет собой третий термохромный участок, выполненный с возможностью изменения цвета в зависимости от температуры второго держателя лезвия в соответствии с третьей температурной реакцией третьего термохромного участка.
30. Кассета (14) по одному из пп. 26-29, в которой вторая температурная реакция второго термохромного участка отличается от третьей температурной реакции третьего термохромного участка.
31. Кассета (14) по одному из пп. 26-30, в которой второй термохромный участок выполнен с возможностью отображения второго цвета, когда второй держатель (18b) лезвия имеет начальную температуру, и отображения дополнительного цвета, когда второй держатель лезвия имеет последующую температуру.
32. Кассета (14) по одному из пп. 26-31, в которой второй термохромный участок выполнен с возможностью изменения цвета, когда температура участка второго держателя лезвия находится в диапазоне от 20°С до 45°С, более конкретно от 32°С до 42°С и наиболее конкретно от 35°С до 39°С.
33. Кассета (14) по одному из пп. 26-32, в которой второй термохромный участок проходит в продольном направлении вдоль второго держателя лезвия, при этом второй термохромный участок разделен в продольном направлении по меньшей мере на первый и второй подучастки, причем первый подучасток выполнен с возможностью отображения цвета, отличного от цвета второго подучастка, на основании температуры второго держателя лезвия.
34. Кассета (14) по одному из пп. 26-33, в которой второй термохромный участок содержит состав с термочувствительной краской, содержащий одно или более из следующего: лейкокраситель, проявитель и первая реакционная среда.
35. Кассета (14) по одному из пп. 27-34, в которой второй термохромный участок содержит состав с термочувствительной краской, содержащий одно или более из следующего: лейкокраситель, проявитель и вторая реакционная среда, причем вторая реакционная среда имеет температуру плавления, которая выше или ниже температуры плавления первой реакционной среды.
36. Кассета (14) по одному из пп. 33-35, в которой первая реакционная среда выбрана из группы, содержащей метилпальмитат, 1,2-октандиол, декановую кислоту, н-октадекан, 7-пентадеканон, диметилсебацинат, 1-додеканол, 4-изопропилбензиловый спирт, этилстеарат, октадецил 3,3-дифенилпропаноат, стеарилбензоат, додеканофенон.
37. Кассета (14) по одному из пп. 26-36, в которой второй оптический признак включает в себя первый слой и второй слой, расположенный на первом слое, при этом первый слой включает в себя второй цвет, второй слой включает в себя третий цвет и второй слой выполнен с возможностью постепенного удаления во время использования кассеты.
38. Кассета (14) по одному из пп. 26-37, в которой второй держатель лезвия включает в себя первый участок (20), второй участок (22) и третий участок (24), при этом первый участок виден через заднюю часть рамки кассеты, а второй оптический признак обеспечен на одном или более из первого участка, второго участка или третьего участка.
39. Способ изготовления кассеты для бритвы, включающий:
- получение (80) держателя лезвия, выполненного с возможностью прикрепления лезвия (16) к кассете для бритвы;
- нанесение (82) первого оптического признака (11) на один или более из первого участка, второго участка и/или третьего участка держателя лезвия, при этом первый оптический признак выбирают из одного или более из цвета, покрытия, текстуры, перфорации, прозрачности держателя лезвия, источника излучения света и наклейки;
- прикрепление (84) лезвия к держателю лезвия; и
- прикрепление (86) держателя лезвия к кассете для бритвы.
40. Способ по п. 39, отличающийся тем, что первый оптический признак (11) наносят на обращенную к коже поверхность третьего участка держателя лезвия.
41. Способ по п. 39 или 40, отличающийся тем, что по меньшей мере одно лезвие обеспечено в корпусе кассеты, частично открытое через отверстие в корпусе, так что первый оптический признак (11) также частично открыт через указанное отверстие.
42. Способ по одному из пп. 39-41, также включающий:
- по меньшей мере частичное нанесение на держатель лезвия покрытия, содержащего состав с термочувствительной краской.
43. Способ по п. 41 или 42, отличающийся тем, что состав с термочувствительной краской содержит одно или более из следующего: лейкокраситель, проявитель и первая реакционная среда.
44. Способ по п. 43, отличающийся тем, что первую реакционную среду выбирают из группы, содержащей метилпальмитат, 1,2-октандиол, декановую кислоту, н-октадекан, 7- пентадеканон, диметилсебацинат, 1-додеканол, 4-изопропилбензиловый спирт, этилстеарат, октадецил 3,3-дифенилпропаноат, стеарилбензоат, додеканофенон.
45. Способ по одному из пп. 39-44, также включающий:
- нанесение по меньшей мере на участок держателя лезвия первого оптического признака (11), выполненного с возможностью обратимого или постоянного изменения цвета, когда он подвергается воздействию проточной воды, и, более конкретно, первого оптического признака (11), по меньшей мере частично содержащего покрытие из полидиацетилена.
46. Способ по одному из пп. 39-45, также включающий:
- лазерную маркировку участка держателя лезвия.
47. Способ по одному из пп. 39-46, также включающий:
- получение держателей лезвия, при этом второй держатель лезвия из указанных держателей лезвия также содержит лезвие, прикрепленное к внутренней поверхности держателя лезвия, которая обращена от поверхности бритья, причем второй держатель лезвия содержит второй оптический признак, расположенный на участке наружной поверхности второго держателя лезвия, которая обращена к поверхности бритья, и
- обеспечение второго оптического признака на втором держателе лезвия в качестве второго термохромного участка, выполненного с возможностью изменения цвета в зависимости от температуры второго держателя лезвия в соответствии с температурной реакцией второго термохромного участка.
48. Бритвенный узел (10), содержащий:
- рукоятку (12) бритвы;
- кассету (14) для бритвы по одному из пп. 1-38, причем указанная кассета для бритвы либо прикреплена рассоединяемым способом к рукоятке бритвы посредством поворотного или неповоротного соединения, образованного как единое целое с рукояткой бритвы посредством неповоротного соединения, либо выполнена как единое целое с рукояткой бритвы посредством поворотного соединения.
49. Набор для бритья, содержащий:
- держатель кассет для бритвы, содержащий кассеты (14) для бритвы по одному из пп. 1-38 и рукоятку (12) бритвы.
| Изложница с суживающимся книзу сечением и с вертикально перемещающимся днищем | 1924 |
|
SU2012A1 |
| КОМПЛЕКТ БРИТВЕННЫХ КАРТРИДЖЕЙ | 2008 |
|
RU2424108C2 |
| EP 3357653 A1, 08.08.2018 | |||
| Способ приготовления лака | 1924 |
|
SU2011A1 |
| Способ обработки целлюлозных материалов, с целью тонкого измельчения или переведения в коллоидальный раствор | 1923 |
|
SU2005A1 |
Авторы
Даты
2024-12-19—Публикация
2019-11-29—Подача