ИЗДЕЛИЕ, ГЕНЕРИРУЮЩЕЕ АЭРОЗОЛЬ, C ДВОЙНЫМ ПОЛЫМ ТРУБЧАТЫМ СЕГМЕНТОМ Российский патент 2024 года по МПК A24D1/20 

Описание патента на изобретение RU2832164C1

Настоящее изобретение относится к изделию, генерирующему аэрозоль, содержащему субстрат, генерирующий аэрозоль, и приспособленному для получения вдыхаемого аэрозоля при нагреве.

Изделия, генерирующие аэрозоль, в которых субстрат, генерирующий аэрозоль, такой как табакосодержащий субстрат, нагревают, а не сжигают, известны в данной области техники. Обычно в таких нагреваемых курительных изделиях аэрозоль генерируется посредством передачи тепла от источника тепла к физически отдельному субстрату, генерирующему аэрозоль, или материалу, который может быть расположен в контакте с источником тепла, внутри, вокруг него или дальше по ходу потока относительно него. Во время использования изделия, генерирующего аэрозоль, летучие соединения высвобождаются из субстрата, генерирующего аэрозоль, путем передачи тепла от источника тепла и захватываются воздухом, втягиваемым через изделие, генерирующее аэрозоль. По мере охлаждения высвобождаемых соединений они конденсируются с образованием аэрозоля.

В ряде документов известного уровня техники раскрыты устройства, генерирующие аэрозоль, для потребления изделий, генерирующих аэрозоль. Такие устройства включают в себя, например, электрически нагреваемые устройства, генерирующие аэрозоль, в которых аэрозоль генерируется путем передачи тепла от одного или более электрических элементов-нагревателей устройства, генерирующего аэрозоль, к субстрату, генерирующему аэрозоль, нагреваемого изделия, генерирующего аэрозоль. Например, были предложены электрически нагреваемые устройства, генерирующие аэрозоль, которые содержат внутреннюю нагревательную пластину, которая приспособлена для вставки в субстрат, генерирующий аэрозоль. В качестве альтернативы в документе WO 2015/176898 были предложены индукционно нагреваемые изделия, генерирующие аэрозоль, содержащие субстрат, генерирующий аэрозоль, и токоприемник, расположенный внутри субстрата, генерирующего аэрозоль.

Изделия, генерирующие аэрозоль, в которых табакосодержащий субстрат нагревают, а не сжигают, создают ряд проблем, которые не возникали с обычными курительными изделиями. Во-первых, табакосодержащие субстраты, как правило, нагревают до значительно более низких температур по сравнению с температурами, достигаемыми фронтом горения в обычной сигарете. Это может повлиять на высвобождение никотина из табакосодержащего субстрата и доставку никотина потребителю. В то же время, если температуру нагрева повышают при попытке повышения доставки никотина, то генерируемый аэрозоль, как правило, необходимо охладить в большей степени и быстрее, прежде чем он достигнет потребителя. Однако технические решения, которые широко используются для охлаждения основного потока дыма в обычных курительных изделиях, такие как обеспечение сегмента высокоэффективной фильтрации на мундштучном конце сигареты, могут иметь нежелательные эффекты на изделие, генерирующее аэрозоль, в котором табакосодержащий субстрат нагревают, а не сжигают, так как они могут уменьшить доставку никотина. Во-вторых, по существу ощущается необходимость в изделиях, генерирующих аэрозоль, которые легко использовать и которые имеют улучшенную практичность.

Следовательно, было бы желательно предоставить новое и улучшенное изделие, генерирующее аэрозоль, приспособленное для достижения по меньшей мере одного из желаемых результатов, описанных выше. Кроме того, было бы желательно предоставить такое изделие, генерирующее аэрозоль, которое можно было бы изготавливать эффективно и с высокой скоростью, предпочтительно с удовлетворительным RTD и низкой изменчивостью RTD от одного изделия к другому.

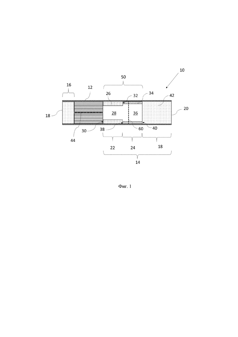
Настоящее изобретение относится к изделию, генерирующему аэрозоль, содержащему стержень субстрата, генерирующего аэрозоль. Изделие, генерирующее аэрозоль, может содержать расположенную дальше по ходу потока секцию в местоположении дальше по ходу потока от стержня субстрата, генерирующего аэрозоль. Расположенная дальше по ходу потока секция может содержать опорный элемент, расположенный непосредственно дальше по ходу потока относительно стержня, генерирующего субстрат, причем опорный элемент находится в продольном выравнивании со стержнем и содержит первый полый трубчатый сегмент, имеющий внутренний диаметр (DFTS). Расположенная дальше по ходу потока секция может дополнительно содержать элемент, охлаждающий аэрозоль, расположенный непосредственно дальше по ходу потока относительно опорного элемента, причем элемент, охлаждающий аэрозоль, находится в продольном выравнивании со стержнем и опорным элементом, и содержит второй полый трубчатый сегмент, имеющий внутренний диаметр (DSTS). Изделие, генерирующее аэрозоль, может содержать зону вентиляции в местоположении вдоль второго полого трубчатого сегмента. Внутренний диаметр (DSTS) второго полого трубчатого сегмента может быть больше, чем внутренний диаметр (DFTS) первого полого трубчатого сегмента. Соотношение между внутренним диаметром (DSTS) второго полого трубчатого сегмента и внутренним диаметром (DFTS) первого полого трубчатого сегмента может быть по меньшей мере приблизительно 1,25.

Согласно настоящему изобретению предусмотрено изделие, генерирующее аэрозоль, содержащее: стержень субстрата, генерирующего аэрозоль; и расположенную дальше по ходу потока секцию в местоположении дальше по ходу потока относительно стержня субстрата, генерирующего аэрозоль. Расположенная дальше по ходу потока секция содержит: опорный элемент, расположенный непосредственно дальше по ходу потока относительно стержня субстрата, генерирующего аэрозоль, причем опорный элемент находится в продольном выравнивании со стержнем и содержит первый полый трубчатый сегмент, имеющий внутренний диаметр (DFTS); и элемент, охлаждающий аэрозоль, расположенный непосредственно дальше по ходу потока относительно опорного элемента и находящийся в продольном выравнивании со стержнем и опорным элементом. Элемент, охлаждающий аэрозоль, содержит второй полый трубчатый сегмент, имеющий внутренний диаметр (DSTS). Изделие, генерирующее аэрозоль, дополнительно содержит зону вентиляции в местоположении вдоль второго полого трубчатого сегмента. Внутренний диаметр (DSTS) второго полого трубчатого сегмента больше, чем внутренний диаметр (DFTS) первого полого трубчатого сегмента, соотношение между внутренним диаметром (DSTS) второго полого трубчатого сегмента и внутренним диаметром (DFTS) первого полого трубчатого сегмента составляет по меньшей мере 1,25.

Обеспечение вентилируемой полости дальше по ходу потока относительно стержня субстрата, генерирующего аэрозоль, обеспечивает несколько потенциальных технических преимуществ.

Не ограничиваясь теорией, авторы настоящего изобретения считают, что внутренний диаметр первого полого трубчатого сегмента, определяющего опорный элемент, следует выбирать с целью обеспечения, с одной стороны, того, чтобы он мог способствовать удержанию стержня субстрата, генерирующего аэрозоль, на месте внутри изделия, и, с другой стороны, чтобы он не вносил существенного вклада в общее RTD изделия, генерирующего аэрозоль. Кроме того, авторы настоящего изобретения убеждены, что внутренний диаметр второго полого трубчатого сегмента, определяющего элемент, охлаждающий аэрозоль, следует выбирать таким образом, чтобы способствовать усиленной нуклеации и минимизировать воздействие на общее RTD изделия, генерирующего аэрозоль, в то же время не ставя под угрозу структурное сопротивление и жесткость изделия, генерирующего аэрозоль, в целом. С учетом вышеизложенного, авторы настоящего изобретения прежде всего обнаружили, что элемент, охлаждающий аэрозоль, содержит вентилируемый полый трубчатый сегмент, как кратко описано выше, обеспечивает особенно эффективное охлаждение аэрозоля. Таким образом, удовлетворительного охлаждения аэрозоля можно достичь даже посредством относительно короткого охлаждающего элемента. Это является особенно желательным, так как гарантирует, что может быть обеспечено изделие, генерирующее аэрозоль, в котором табакосодержащий субстрат нагревают, а не сжигают, которое объединяет удовлетворительную доставку аэрозоля (никотина) с эффективным охлаждением аэрозоля до температур, которые являются желательными для потребителя.

Во-вторых, авторы настоящего изобретения неожиданно обнаружили, что такое быстрое охлаждение летучих соединений, высвобожденных при нагреве субстрата, генерирующего аэрозоль, способствует улучшенной нуклеации частиц аэрозоля до такой степени, что благоприятный эффект улучшенной нуклеации способен значительно противодействовать менее желательным эффектам разбавления.

Кроме того, авторы настоящего изобретения обнаружили, что изменение внутреннего диаметра, идущего от первого полого трубчатого сегмента ко второму полому трубчатому сегменту, таково, что аэрозоль, перемещающийся вдоль полой промежуточной секции изделия, генерирующего аэрозоль, подвергается контролируемому расширению, и поток аэрозоля замедляется. Не ограничиваясь теорией, подразумевается, что это приводит к тому, что частицы аэрозоля больше времени находятся в охлаждающем элементе и медленнее продвигаются к расположенному дальше по ходу потока конца изделия и сегменту мундштука, где один такой элемент образует часть изделия. В результате появляется больше времени для отвода тепла к периферийной стенке элемента, охлаждающего аэрозоль, и для смешивания потока аэрозоля с поступающим потоком воздуха вентиляции, так что потребителю доставляется более однородная смесь.

Наконец, авторы настоящего изобретения обнаружили, что изделия, генерирующие аэрозоль в соответствии с настоящим изобретением, предоставляют аэрозоль, который потребители воспринимают как имеющий опознаваемую округлость.

В соответствии с настоящим изобретением предусмотрено изделие, генерирующее аэрозоль, для генерирования вдыхаемого аэрозоля при нагреве. Изделие, генерирующее аэрозоль, содержит стержень субстрата, генерирующего аэрозоль.

Термин «изделие, генерирующее аэрозоль» используется в данном документе для обозначения изделия, в котором субстрат, генерирующий аэрозоль, нагревается для получения и доставки вдыхаемого аэрозоля потребителю. В контексте данного документа термин «субстрат, генерирующий аэрозоль» обозначает субстрат, способный высвобождать летучие соединения при нагреве для генерирования аэрозоля.

Обычная сигарета поджигается, когда пользователь подносит пламя к одному концу сигареты и втягивает воздух через другой конец. Локализованное тепло, обеспечиваемое пламенем и кислородом в воздухе, втягиваемом через сигарету, является причиной возгорания конца сигареты, и обусловленное этим горение генерирует вдыхаемый дым. Для сравнения, в нагреваемых изделиях, генерирующих аэрозоль, аэрозоль генерируется в результате нагрева субстрата, генерирующего аромат, такого как табак. Известные нагреваемые изделия, генерирующие аэрозоль, включают, например, электрически нагреваемые изделия, генерирующие аэрозоль, и изделия, генерирующие аэрозоль, в которых аэрозоль генерируется путем передачи тепла от горючего тепловыделяющего элемента или источника тепла к физически отдельному материалу, образующему аэрозоль. Например, изделия, генерирующие аэрозоль, согласно настоящему изобретению находят конкретное применение в системах, генерирующих аэрозоль, содержащих электрически нагреваемое устройство, генерирующее аэрозоль, имеющее внутреннюю пластину-нагреватель, которая приспособлена для вставки в стержень субстрата, генерирующего аэрозоль. Изделия, генерирующие аэрозоль, такого типа описаны в известном уровне техники, например, в документе ЕР 0822670.

В контексте данного документа термин «устройство, генерирующее аэрозоль» относится к устройству, содержащему элемент-нагреватель, который взаимодействует с субстратом, генерирующим аэрозоль, изделия, генерирующего аэрозоль, для генерирования аэрозоля.

В контексте данного документа применительно к настоящему изобретению термин «стержень» используется для описания по существу цилиндрического элемента с по существу круглым, овальным или эллиптическим поперечным сечением.

В контексте данного документа термин «продольный» относится к направлению, соответствующему главной продольной оси изделия, генерирующего аэрозоль, которая проходит между расположенным раньше по ходу потока и расположенным дальше по ходу потока концами изделия, генерирующего аэрозоль. В контексте данного документа термины «раньше по ходу потока» и «дальше по ходу потока» описывают относительные положения элементов или частей элементов изделия, генерирующего аэрозоль, по отношению к направлению, в котором аэрозоль транспортируется через изделие, генерирующее аэрозоль, во время использования.

Во время использования воздух втягивается через изделие, генерирующее аэрозоль, в продольном направлении. Термин «поперечный» относится к направлению, которое перпендикулярно продольной оси. Любая ссылка на «сечение» изделия, генерирующего аэрозоль, или компонента изделия, генерирующего аэрозоль, относится к поперечному сечению, если не указано иное.

Термин «длина» обозначает размер компонента изделия, генерирующего аэрозоль, в продольном направлении. Например, его можно использовать для обозначения размера стержня или удлиненных трубчатых элементов в продольном направлении.

Субстрат, генерирующий аэрозоль, может представлять собой твердый субстрат, генерирующий аэрозоль.

В определенных предпочтительных вариантах осуществления, субстрат, генерирующий аэрозоль, содержит гомогенизированный растительный материал, предпочтительно гомогенизированный табачный материал.

В контексте данного документа термин «гомогенизированный растительный материал» охватывает любой растительный материал, образованный путем агломерирования частиц растения. Например, листы или полотна гомогенизированного табачного материала для субстратов, генерирующих аэрозоль, согласно настоящему изобретению могут быть образованы путем агломерирования частиц табачного материала, полученных за счет истирания в порошок, измельчения или помола растительного материала и необязательно одной или более из пластинок табачного листа и жилок табачного листа. Гомогенизированный растительный материал может быть получен посредством процессов литья, экструзии, изготовления бумаги или любыми другими подходящими способами, известными в данной области техники.

Гомогенизированный растительный материал может быть предоставлен в любой подходящей форме. Например, гомогенизированный растительный материал может быть в форме одного или более листов. В контексте данного документа применительно к настоящему изобретению термин «лист» описывает слоистый элемент, имеющий ширину и длину, которые по существу больше, чем его толщина.

Альтернативно или дополнительно гомогенизированный растительный материал может быть в форме множества шариков или гранул.

Альтернативно или дополнительно гомогенизированный растительный материал может быть в форме множества нитей, полосок или кусочков. В контексте данного документа термин «нить» описывает удлиненный элемент материала, длина которого существенно превышает его ширину и толщину. Термин «нить» следует рассматривать, как охватывающий полоски, кусочки и любой другой гомогенизированный растительный материал, имеющий аналогичную форму. Нити гомогенизированного растительного материала могут быть образованы из листа гомогенизированного растительного материала, например, посредством разрезания, или разделения на кусочки, или других способов, например, посредством способа экструзии.

В некоторых вариантах осуществления нити могут быть образованы in situ внутри субстрата, генерирующего аэрозоль, в результате разделения или расщепления листа гомогенизированного растительного материала во время образования субстрата, генерирующего аэрозоль, например, в результате гофрирования. Нити гомогенизированного растительного материала внутри субстрата, генерирующего аэрозоль, могут быть отделены друг от друга. Альтернативно каждая нить гомогенизированного растительного материала внутри субстрата, генерирующего аэрозоль, может быть по меньшей мере частично соединена со смежной нитью или нитями вдоль длины нитей. Например, смежные нити могут быть соединены посредством одного или более волокон. Это может происходить, например, если нити были образованы в результате разделения листа гомогенизированного растительного материала во время получения субстрата, генерирующего аэрозоль, как описано выше.

Предпочтительно субстрат, генерирующий аэрозоль, предоставлен в форме одного или более листов гомогенизированного растительного материала. В различных вариантах осуществления настоящего изобретения один или более листов гомогенизированного растительного материала могут быть получены в результате процесса литья. В различных вариантах осуществления настоящего изобретения один или более листов гомогенизированного растительного материала могут быть получены в результате процесса производства бумаги. Каждый из одного или более листов, как описано в данном документе, по отдельности может иметь толщину от приблизительно 100 микрометров до 600 микрометров, предпочтительно от 150 микрометров до 300 микрометров и наиболее предпочтительно от 200 микрометров до 250 микрометров. Отдельная толщина относится к толщине отдельного листа, тогда как совокупная толщина относится к общей толщине всех листов, которые составляют субстрат, генерирующий аэрозоль. Например, если субстрат, генерирующий аэрозоль, образован из двух отдельных листов, то совокупная толщина представляет собой сумму толщин двух отдельных листов или измеренную толщину двух листов, когда два листа уложены друг на друга в субстрате, генерирующем аэрозоль.

Каждый из одного или более листов, как описано в данном документе, может отдельно иметь граммаж от приблизительно 100 грамм на квадратный метр до приблизительно 300 грамм на квадратный метр.

Каждый из одного или более листов, как описано в данном документе, может отдельно иметь плотность от приблизительно 0,3 грамм на кубический сантиметр до приблизительно 1,3 грамм на кубический сантиметр и предпочтительно от приблизительно 0,7 грамм на кубический сантиметр до приблизительно 1,0 грамм на кубический сантиметр.

В вариантах осуществления настоящего изобретения, в которых субстрат, генерирующий аэрозоль, содержит один или более листов гомогенизированного растительного материала, листы предпочтительно представлены в форме одного или более собранных листов. В контексте данного документа термин «собранный» используется для описания листа гомогенизированного растительного материала, который свернут, согнут или иным образом сжат или сужен в направлении, по существу поперечном цилиндрической оси заглушки или стержня.

Один или более листов гомогенизированного растительного материала могут быть собраны в поперечном направлении относительно его продольной оси и окружены оберткой с образованием непрерывного стержня или заглушки.

Один или более листов гомогенизированного растительного материала могут быть преимущественно гофрированы или подобным образом обработаны. В контексте данного документа термин «гофрированный» обозначает лист, имеющий несколько по существу параллельных складок или гофров. Альтернативно или в дополнение к гофрированию один или более листов гомогенизированного растительного материала могут быть выполнены конгревным тиснением, выполнены блинтовым тиснением, перфорированы или иным образом деформированы для обеспечения текстуры на одной или обеих сторонах листа.

Предпочтительно каждый лист гомогенизированного растительного материала может быть гофрирован таким образом, что они имеют множество складок или гофров, по существу параллельных цилиндрической оси заглушки. Эта обработка преимущественно облегчает собирание гофрированного листа гомогенизированного растительного материала для образования заглушки. Предпочтительно может быть собран один или более листов гомогенизированного растительного материала. Следует понимать, что гофрированные листы гомогенизированного растительного материала альтернативно или дополнительно могут иметь множество по существу параллельных складок или гофров, расположенных под острым или тупым углом к цилиндрической оси заглушки. Лист может быть гофрирован до такой степени, что целостность листа нарушается на множестве параллельных складок или гофров, что обуславливает отделение материала и приводит к образованию кусочков, нитей или полосок гомогенизированного растительного материала.

Альтернативно один или более листов гомогенизированного растительного материала могут быть разрезаны на нити, как упомянуто выше. В таких вариантах осуществления субстрат, генерирующий аэрозоль, содержит множество нитей гомогенизированного растительного материала. Нити могут использоваться для образования заглушки. Как правило, ширина таких нитей составляет приблизительно 5 миллиметров, или приблизительно 4 миллиметра, или приблизительно 3 миллиметра, или приблизительно 2 миллиметра или меньше. Длина нитей может быть больше приблизительно 5 миллиметров, от приблизительно 5 миллиметров до приблизительно 15 миллиметров, от приблизительно 8 миллиметров до приблизительно 12 миллиметров или приблизительно 12 миллиметров. Предпочтительно нити имеют по существу одинаковую длину друг относительно друга. Длина нитей может быть определена процессом изготовления, в котором стержень разрезают на более короткие заглушки, и длина нитей соответствует длине заглушки. Нити могут быть хрупкими, что может приводить к разрыву, особенно во время перемещения. В таких случаях длина некоторых нитей может быть меньше длины заглушки.

Множество нитей предпочтительно проходят по существу в продольном направлении вдоль длины субстрата, генерирующего аэрозоль, выровненной с продольной осью. Предпочтительно множество нитей, таким образом, выровнены по существу параллельно друг другу.

Гомогенизированный растительный материал может содержать вплоть до приблизительно 95 процентов по весу частиц растений в пересчете на сухой вес. Предпочтительно гомогенизированный растительный материал содержит вплоть до приблизительно 90 процентов по весу частиц растений, более предпочтительно вплоть до приблизительно 80 процентов по весу частиц растений, более предпочтительно вплоть до приблизительно 70 процентов по весу частиц растений, более предпочтительно вплоть до приблизительно 60 процентов по весу частиц растений, более предпочтительно вплоть до приблизительно 50 процентов по весу частиц растений в пересчете на сухой вес.

Например, гомогенизированный растительный материал может содержать от приблизительно 2,5 процента до приблизительно 95 процентов по весу частиц растений, или от приблизительно 5 процентов до приблизительно 90 процентов по весу частиц растений, или от приблизительно 10 процентов до приблизительно 80 процентов по весу частиц растений, или от приблизительно 15 процентов до приблизительно 70 процентов по весу частиц растений, или от приблизительно 20 процентов до приблизительно 60 процентов по весу частиц растений, или от приблизительно 30 процентов до приблизительно 50 процентов по весу частиц растений в пересчете на сухой вес.

В определенных вариантах осуществления настоящего изобретения гомогенизированный растительный материал представляет собой гомогенизированный табачный материал, содержащий частицы табака. Листы гомогенизированного табачного материала для использования в таких вариантах осуществления настоящего изобретения могут иметь содержание табака по меньшей мере приблизительно 40 процентов по весу в пересчете на сухой вес, более предпочтительно по меньшей мере приблизительно 50 процентов по весу в пересчете на сухой вес, более предпочтительно по меньшей мере приблизительно 70 процентов по весу в пересчете на сухой вес и наиболее предпочтительно по меньшей мере приблизительно 90 процентов по весу в пересчете на сухой вес.

В отношении настоящего изобретения термин «частицы табака» описывает частицы любого растения, принадлежащего к роду Nicotiana. Термин «частицы табака» охватывает измельченные или порошкообразные пластинки табачного листа, измельченные или порошкообразные стебли табачного листа, табачную пыль, табачную мелочь и другие побочные продукты табака в виде частиц, образующиеся во время обработки, перемещения и отгрузки табака. В предпочтительном варианте осуществления частицы табака по существу все получены из пластинок табачного листа. Для сравнения, отделенный никотин и соли никотина представляют собой соединения, полученные из табака, но не считающиеся частицами табака для целей настоящего изобретения и не включенные в процентное содержание растительного материала в виде частиц.

Частицы табака могут быть получены из одной или более разновидностей растений табака. Любой тип табака может использоваться в смеси. Примеры типов табака, которые могут использоваться, включают, но без ограничения, табак солнечной сушки, табак трубоогневой сушки, табак Берли, табак Мэриленд, табак восточного типа, табак Вирджиния и другие специальные виды табака.

Трубоогневая сушка - это способ сушки табака, который особенно широко используется с видами табака Вирджиния. Во время процесса трубоогневой сушки нагретый воздух циркулирует через плотно уложенный табак. Во время первой стадии листья табака желтеют и вянут. Во время второй стадии пластинки листьев полностью высыхают. Во время третьей стадии стебли листьев полностью высыхают.

Табак Берли играет важную роль во многих табачных смесях. Табак Берли имеет узнаваемый привкус и аромат, а также имеет способность поглощать большие количества соуса.

Табак восточного типа имеет небольшие листья и ярко выраженные ароматические качества. Однако табак восточного типа имеет более мягкий привкус, чем, например, табак Берли. Следовательно, по существу табак восточного типа используется в относительно небольших долях в табачных смесях.

Кастури, Мадуро и Ятим - это подтипы табака солнечной сушки, которые могут использоваться. Предпочтительно табак Кастури и табак трубоогневой сушки могут использоваться в смеси для получения частиц табака. Соответственно, частицы табака в растительном материале в виде частиц могут содержать смесь табака Кастури и табака трубоогневой сушки.

Частицы табака могут иметь содержание никотина по меньшей мере приблизительно 2,5 процента по весу в пересчете на сухой вес. Более предпочтительно частицы табака могут иметь содержание никотина по меньшей мере приблизительно 3 процента, еще более предпочтительно по меньшей мере приблизительно 3,2 процента, еще более предпочтительно по меньшей мере приблизительно 3,5 процента, наиболее предпочтительно по меньшей мере приблизительно 4 процента по весу в пересчете на сухой вес.

В определенных других вариантах осуществления настоящего изобретения гомогенизированный растительный материал содержит частицы табака в сочетании с частицами нетабачного растительного ароматизирующего вещества. Предпочтительно частицы нетабачного растительного ароматизирующего вещества выбирают из одного или более из: частиц имбиря, частиц эвкалипта, частиц аниса и частиц аниса звездчатого. Предпочтительно в таких вариантах осуществления гомогенизированный растительный материал содержит по меньшей мере приблизительно 2,5 процента по весу частиц нетабачного растительного ароматизирующего вещества в пересчете на сухой вес, причем остальная часть частиц растений представляет собой частицы табака. Предпочтительно гомогенизированный растительный материал содержит по меньшей мере приблизительно 4 процента по весу частиц нетабачного растительного ароматизирующего вещества, более предпочтительно по меньшей мере приблизительно 6 процентов по весу частиц нетабачного растительного ароматизирующего вещества, более предпочтительно по меньшей мере приблизительно 8 процентов по весу частиц нетабачного растительного ароматизирующего вещества и более предпочтительно по меньшей мере приблизительно 10 процентов по весу частиц нетабачного растительного ароматизирующего вещества в пересчете на сухой вес. Предпочтительно гомогенизированный растительный материал содержит вплоть до приблизительно 20 процентов по весу частиц нетабачного растительного ароматизирующего вещества, более предпочтительно вплоть до приблизительно 18 процентов по весу частиц нетабачного растительного ароматизирующего вещества, более предпочтительно вплоть до приблизительно 16 процентов по весу частиц нетабачного растительного ароматизирующего вещества.

Весовое соотношение частиц нетабачного растительного ароматизирующего вещества и частиц табака в растительном материале в виде частиц, образующем гомогенизированный растительный материал, может варьировать в зависимости от желаемых характеристик привкуса и состава аэрозоля, полученного из субстрата, генерирующего аэрозоль, во время использования. Предпочтительно гомогенизированный растительный материал содержит по меньшей мере весовое соотношение 1:30 частиц нетабачного растительного ароматизирующего вещества к частицам табака, более предпочтительно по меньшей мере весовое соотношение 1:20 частиц нетабачного растительного ароматизирующего вещества к частицам табака, более предпочтительно по меньшей мере весовое соотношение 1:10 частиц нетабачного растительного ароматизирующего вещества к частицам табака и наиболее предпочтительно по меньшей мере весовое соотношение 1:5 частиц нетабачного растительного ароматизирующего вещества к частицам табака в пересчете на сухой вес.

Альтернативно или дополнительно к включению частиц табака в гомогенизированный растительный материал субстрата, генерирующего аэрозоль, согласно настоящему изобретению, гомогенизированный растительный материал может содержать частицы конопли. Термин «частицы конопли» относится к частицам растения конопли, таким как виды Cannabis sativa, Cannabis indica и Cannabis ruderalis.

Гомогенизированный растительный материал предпочтительно содержит не более 95 процентов по весу растительного материала в виде частиц в пересчете на сухой вес. Таким образом, растительный материал в виде частиц, как правило, объединяют с одним или более другими компонентами для образования гомогенизированного растительного материала.

Гомогенизированный растительный материал может дополнительно содержать связующее для изменения механических свойств растительного материала в виде частиц, причем связующее включают в гомогенизированный растительный материал во время изготовления, как описано в данном документе. Подходящие экзогенные связующие известны специалисту в области техники и включают, но без ограничения: камеди, такие как, например, гуаровая камедь, ксантановая камедь, аравийская камедь и камедь рожкового дерева; целлюлозные связующие, такие как, например, гидроксипропилцеллюлоза, карбоксиметилцеллюлоза, гидроксиэтилцеллюлоза, метилцеллюлоза и этилцеллюлоза; полисахариды, такие как, например, крахмалы, органические кислоты, такие как альгиновая кислота, соли оснований, сопряженных с органическими кислотами, такие как альгинат натрия, агар и пектины; и их комбинации. Предпочтительно связующее содержит гуаровую камедь.

Связующее может присутствовать в количестве от приблизительно 1 процента до приблизительно 10 процентов по весу в пересчете на сухой вес гомогенизированного растительного материала, предпочтительно в количестве от приблизительно 2 процентов до приблизительно 5 процентов по весу в пересчете на сухой вес гомогенизированного растительного материала.

Альтернативно или дополнительно гомогенизированный растительный материал может дополнительно содержать один или более липидов, способствующих диффузионной способности летучих компонентов (например, веществ для образования аэрозоля, гингеролов и никотина), при этом липид включают в гомогенизированный растительный материал во время изготовления, как описано в данном документе. Липиды, подходящие для включения в гомогенизированный растительный материал, включают, но без ограничения: среднецепочечные триглицериды, масло какао, пальмовое масло, пальмоядровое масло, масло манго, масло из семян масляного дерева, соевое масло, хлопковое масло, кокосовое масло, гидрогенизированное кокосовое масло, канделильский воск, карнаубский воск, шеллак, воск из подсолнечника, подсолнечное масло, воск из рисовых отрубей и Revel A; и их комбинации.

Альтернативно или дополнительно гомогенизированный растительный материал может дополнительно содержать модификатор pH.

Альтернативно или дополнительно гомогенизированный растительный материал может дополнительно содержать волокна для изменения механических свойств гомогенизированного растительного материала, причем волокна включают в гомогенизированный растительный материал во время изготовления, как описано в данном документе. Подходящие экзогенные волокна для включения в гомогенизированный растительный материал известны в данной области техники и включают волокна, образованные из нетабачного материала и неимбирного материала, включая, но без ограничения: целлюлозные волокна; волокна древесины мягких пород; волокна древесины твердых пород; джутовые волокна и их комбинации. Также могут быть добавлены экзогенные волокна, полученные из табака и/или имбиря. Любые волокна, добавленные в гомогенизированный растительный материал, не считаются образующими часть «растительного материала в виде частиц», как определено выше. Перед включением в гомогенизированный растительный материал волокна могут быть обработаны подходящими способами, известными в данной области техники, включая, но без ограничения: механическое превращение в волокнистую массу; очистку; химическое превращение в волокнистую массу; отбеливание; сульфатное превращение в волокнистую массу; и их комбинации. Волокно, как правило, имеет длину, превышающую его ширину.

Подходящие волокна, как правило, имеют значения длины больше 400 микрометров и меньше или равные 4 миллиметрам, предпочтительно в диапазоне от 0,7 миллиметра до 4 миллиметров. Предпочтительно волокна присутствуют в количестве от приблизительно 2 процентов до приблизительно 15 процентов по весу, наиболее предпочтительно на уровне приблизительно 4 процентов по весу в пересчете на сухой вес субстрата.

Альтернативно или дополнительно гомогенизированный растительный материал может дополнительно содержать одно или более веществ для образования аэрозоля. После испарения вещество для образования аэрозоля может переносить другие испаренные соединения, высвобожденные из субстрата, генерирующего аэрозоль, при нагреве, такие как никотин и ароматизаторы, в аэрозоль. Вещества для образования аэрозоля, подходящие для включения в гомогенизированный растительный материал, известны в данной области техники и включают, но без ограничения: многоатомные спирты, такие как триэтиленгликоль, пропиленгликоль, 1,3-бутандиол и глицерол; сложные эфиры многоатомных спиртов, такие как глицерол моно-, ди- или триацетат; и алифатические сложные эфиры моно-, ди- или поликарбоновых кислот, такие как диметилдодекандиоат и диметилтетрадекандиоат.

Гомогенизированный растительный материал может иметь содержание вещества для образования аэрозоля от приблизительно 5 процентов до приблизительно 30 процентов по весу в пересчете на сухой вес, например, от приблизительно 10 процентов до приблизительно 25 процентов по весу в пересчете на сухой вес или от приблизительно 15 процентов до приблизительно 20 процентов по весу в пересчете на сухой вес.

Например, если субстрат предназначен для использования в изделии, генерирующем аэрозоль, для электрической системы, генерирующей аэрозоль, имеющей нагревательный элемент, он может предпочтительно предусматривать содержание вещества для образования аэрозоля от приблизительно 5 процентов до приблизительно 30 процентов по весу в пересчете на сухой вес. Если субстрат предназначен для использования в изделии, генерирующем аэрозоль, для электрической системы, генерирующей аэрозоль, имеющей нагревательный элемент, вещество для образования аэрозоля предпочтительно представляет собой глицерол.

В других вариантах осуществления гомогенизированный растительный материал может иметь содержание вещества для образования аэрозоля от приблизительно 1 процента до приблизительно 5 процентов по весу в пересчете на сухой вес. Например, если субстрат предназначен для использования в изделии, генерирующем аэрозоль, в котором вещество для образования аэрозоля удерживается в резервуаре, отдельном от субстрата, субстрат может иметь содержание вещества для образования аэрозоля больше 1 процента и меньше приблизительно 5 процентов. В таких вариантах осуществления вещество для образования аэрозоля испаряется при нагреве, и поток вещества для образования аэрозоля контактирует с субстратом, генерирующим аэрозоль, для захвата ароматизирующих веществ из субстрата, генерирующего аэрозоль, в аэрозоле.

В других вариантах осуществления гомогенизированный растительный материал может иметь содержание вещества для образования аэрозоля от приблизительно 30 процентов по весу до приблизительно 45 процентов по весу. Этот относительно высокий уровень вещества для образования аэрозоля особенно подходит для субстратов, генерирующих аэрозоль, которые предназначены для нагрева при температуре менее 275 градусов Цельсия. В таких вариантах осуществления гомогенизированный растительный материал предпочтительно дополнительно содержит от приблизительно 2 процентов по весу до приблизительно 10 процентов по весу простого эфира целлюлозы в пересчете на сухой вес и от приблизительно 5 процентов по весу до приблизительно 50 процентов по весу дополнительной целлюлозы в пересчете на сухой вес. Было обнаружено, что использование комбинации простого эфира целлюлозы и дополнительной целлюлозы обеспечивает особенно эффективную доставку аэрозоля при использовании в субстрате, генерирующем аэрозоль, имеющем содержание вещества для образования аэрозоля от 30 процентов по весу до 45 процентов по весу.

Подходящие простые эфиры целлюлозы включают, но без ограничения, метилцеллюлозу, гидроксипропилметилцеллюлозу, этилцеллюлозу, гидроксиэтилцеллюлозу, гидроксипропилцеллюлозу, этилгидроксиэтилцеллюлозу и карбоксиметилцеллюлозу (CMC). В особенно предпочтительных вариантах осуществления простой эфир целлюлозы представляет собой карбоксиметилцеллюлозу.

В контексте данного документа термин «дополнительная целлюлоза» охватывает любой целлюлозный материал, введенный в гомогенизированный растительный материал, который не получают из частиц растений, не являющихся табаком, или частиц табака, обеспеченных в гомогенизированном растительном материале. Следовательно, дополнительную целлюлозу вводят в гомогенизированный растительный материал в дополнение к нетабачному растительному материал или табачному материалу как источник целлюлозы, отделенный и отличающийся от любой целлюлозы, в сущности обеспеченной в частицах растений, не являющихся табаком, или частицах табака. Дополнительную целлюлозу, как правило, получают из растения, отличающегося от частиц растений, не являющихся табаком, или частиц табака. Предпочтительно дополнительная целлюлоза имеет форму инертного целлюлозного материала, который является инертным для органов чувств и, следовательно, не оказывает значительного влияния на органолептические характеристики аэрозоля, генерируемого из субстрата, генерирующего аэрозоль. Например, дополнительная целлюлоза предпочтительно представляет собой материал без вкуса и запаха.

Дополнительная целлюлоза может содержать порошок целлюлозы, целлюлозные волокна или их комбинацию.

Вещество для образования аэрозоля может действовать как увлажнитель в субстрате, генерирующем аэрозоль.

Обертка, окружающая стержень гомогенизированного растительного материала, может быть бумажной оберткой или небумажной оберткой. Бумажные обертки, подходящие для использования в конкретных вариантах осуществления настоящего изобретения, известны в данной области техники и включают, но без ограничения: виды сигаретной бумаги; и фицеллы фильтра. Небумажные обертки, подходящие для использования в конкретных вариантах осуществления настоящего изобретения, известны в данной области техники и включают, но без ограничения, листы гомогенизированных табачных материалов. В определенных предпочтительных вариантах осуществления обертка может быть образована из ламинированного материала, содержащего множество слоев. Предпочтительно обертка образована из алюминиевого многослойного листа. Использование многослойного листа, содержащего алюминий, преимущественно предотвращает горение субстрата, генерирующего аэрозоль, в случае если субстрат, генерирующий аэрозоль, поджигают вместо нагревания назначенным образом.

В определенных предпочтительных вариантах осуществления настоящего изобретения субстрат, генерирующий аэрозоль, содержит гелевую композицию, которая содержит алкалоидное соединение, или каннабиноидное соединение, или как алкалоидное соединение, так и каннабиноидное соединение. В особенно предпочтительных вариантах осуществления субстрат, генерирующий аэрозоль, содержит гелевую композицию, которая содержит никотин.

Предпочтительно гелевая композиция содержит алкалоидное соединение, или каннабиноидное соединение, или как алкалоидное соединение, так и каннабиноидное соединение; вещество для образования аэрозоля; и по меньшей мере одно гелеобразующее средство. Предпочтительно по меньшей мере одно гелеобразующее средство образует твердую среду, и глицерол распределяют в твердой среде, причем алкалоид или каннабиноид распределяют в глицероле. Предпочтительно гелевая композиция представляет собой стабильную гелевую фазу.

Преимущественно стабильная гелевая композиция, содержащая никотин, обеспечивает предсказуемую форму композиции при хранении или транспортировке от производства к потребителю. Стабильная гелевая композиция, содержащая никотин, фактически сохраняет свою форму. Стабильная гелевая композиция, содержащая никотин, фактически не высвобождает жидкую фазу при хранении или транспортировке от производства к потребителю. Стабильная гелевая композиция, содержащая никотин, может обеспечивать простую расходуемую конструкцию. Данный расходный материал может быть разработан без содержания жидкости, таким образом, может быть предусмотрен более широкий диапазон материалов и конструкций контейнера.

Гелевая композиция, описанная в данном документе, может быть объединена с устройством, генерирующим аэрозоль, для доставки никотинового аэрозоля в легкие при скоростях вдыхания или потока воздуха, которые находятся в пределах скоростей вдыхания или потока воздуха в обычном режиме курения. Устройство, генерирующее аэрозоль, может непрерывно нагревать гелевую композицию. Потребитель может делать несколько вдохов или «затяжек», где каждая «затяжка» доставляет определенное количество никотинового аэрозоля. Гелевая композиция может быть способна доставлять аэрозоль с высоким содержанием никотина/с низким общим содержанием твердых частиц (TPM) потребителю при нагреве, предпочтительно непрерывным образом.

Фраза «стабильная гелевая фаза» или «стабильный гель» относится к гелю, который по существу сохраняет свою форму и массу под воздействием различных условий окружающей среды. Стабильный гель может фактически не высвобождать (выделять влагу) или поглощать воду при воздействии стандартной температуры и давления при изменении относительной влажности от приблизительно 10 процентов до приблизительно 60 процентов. Например, стабильный гель может по существу сохранять свою форму и массу при воздействии стандартных температуры и давления при изменении относительной влажности от приблизительно 10 процентов до приблизительно 60 процентов.

Гелевая композиция содержит алкалоидное соединение, или каннабиноидное соединение, или как алкалоидное соединение, так и каннабиноидное соединение. Гелевая композиция может содержать один или более алкалоидов. Гелевая композиция может содержать один или более каннабиноидов. Гелевая композиция может содержать комбинацию одного или более алкалоидов и одного или более каннабиноидов.

Термин «алкалоидное соединение» относится к любому из класса встречающихся в природе органических соединений, которые содержат один или более основных атомов азота. Как правило, алкалоид содержит по меньшей мере один атом азота в структуре по типу амина. Этот или другой атом азота в молекуле алкалоидного соединения может быть активным в качестве основания в кислотно-основных реакциях. Большая часть алкалоидных соединений имеют один или более атомов азота как часть циклической системы, такой как, например, гетероциклическое кольцо. В природе алкалоидные соединения обнаруживаются главным образом в растениях и являются особенно распространенными в определенных семействах цветущих растений. Однако некоторые алкалоидные соединения содержатся у видов животных и грибков. В настоящем изобретении термин «алкалоидное соединение» относится как к полученным в природе алкалоидным соединениям, так и синтетически изготовляемым алкалоидным соединениям.

Гелевая композиция может предпочтительно содержать алкалоидное соединение, выбранное из группы, состоящей из никотина, анатабина и их комбинаций.

Предпочтительно гелевая композиция содержит никотин.

Термин «никотин» относится к никотину и производным никотина, таким как чистый никотин, никотиновые соли и т. п.

Термин «каннабиноидное соединение» относится к любому из класса встречающихся в природе соединений, которые содержатся в частях растения конопли, а именно виды Cannabis sativa, Cannabis indica и Cannabis ruderalis. Каннабиноидные соединения особенно сконцентрированы в головках женских цветков. Каннабиноидные соединения, встречающиеся в природе в растении конопли, включают каннабидиол (CBD) и тетрагидроканнабинол (THC). В настоящем изобретении термин «каннабиноидные соединения» используется для описания как полученных в природе каннабиноидных соединений, так и синтетически изготовленных каннабиноидных соединений.

Гель может содержать каннабиноидное соединение, выбранное из группы, состоящей из каннабидиола (CBD), тетрагидроканнабинола (THC), тетрагидроканнабиноловой кислоты (THCA), каннабидиоловой кислоты (CBDA), каннабинола (CBN), каннабигерола (CBG), каннабихромена (CBC), каннабициклола (CBL), каннабиварина (CBV), тетрагидроканнабиварина (THCV), каннабидиварина (CBDV), каннабихромеварина (CBCV), каннабигероварина (CBGV), простого монометилового эфира каннабигерола (CBGM), каннабиельсоина (CBE), каннабицитрана (CBT) и их комбинаций.

Гелевая композиция может предпочтительно содержать каннабиноидное соединение, выбранное из группы, состоящей из каннабидиола (CBD), THC (тетрагидроканнабинола) и их комбинаций.

Гель может предпочтительно содержать каннабидиол (CBD).

Гелевая композиция может содержать никотин и каннабидиол (CBD).

Гелевая композиция может содержать никотин, каннабидиол (CBD) и THC (тетрагидроканнабинол).

Гелевая композиция предпочтительно содержит от приблизительно 0,5 процента по весу до приблизительно 10 процентов по весу алкалоидного соединения, или от приблизительно 0,5 процента по весу до приблизительно 10 процентов по весу каннабиноидного соединения, или как алкалоидное соединение, так и каннабиноидное соединение в общем количестве от приблизительно 0,5 процента по весу до приблизительно 10 процентов по весу. Гелевая композиция может содержать от приблизительно 0,5 процента по весу до приблизительно 5 процентов по весу алкалоидного соединения, или от приблизительно 0,5 процента по весу до приблизительно 5 процентов по весу каннабиноидного соединения, или как алкалоидное соединение, так и каннабиноидное соединение в общем количестве от приблизительно 0,5 процента по весу до приблизительно 5 процентов по весу. Предпочтительно гелевая композиция содержит от приблизительно 1 процента по весу до приблизительно 3 процентов по весу алкалоидного соединения, или от приблизительно 1 процента по весу до приблизительно 3 процентов по весу каннабиноидного соединения, или как алкалоидное соединение, так и каннабиноидное соединение в общем количестве от приблизительно 1 процента по весу до приблизительно 3 процентов по весу. Гелевая композиция может предпочтительно содержать от приблизительно 1,5 процента по весу до приблизительно 2,5 процента по весу алкалоидного соединения, или от приблизительно 1,5 процента по весу до приблизительно 2,5 процента по весу каннабиноидного соединения, или как алкалоидное соединение, так и каннабиноидное соединение в общем количестве от приблизительно 1,5 процента по весу до приблизительно 2,5 процента по весу. Гелевая композиция может предпочтительно содержать приблизительно 2 процента по весу алкалоидного соединения, или приблизительно 2 процента по весу каннабиноидного соединения, или как алкалоидное соединение, так и каннабиноидное соединение в общем количестве приблизительно 2 процента по весу. Компонент алкалоидного соединения гелевого состава может быть наиболее летучим компонентом гелевого состава. В некоторых аспектах вода может представлять собой наиболее летучий компонент гелевого состава, и компонент алкалоидного соединения гелевого состава может представлять собой второй наиболее летучий компонент гелевого состава. Компонент каннабиноидного соединения гелевого состава может быть наиболее летучим компонентом гелевого состава. В некоторых аспектах вода может представлять собой наиболее летучий компонент гелевого состава, и компонент алкалоидного соединения гелевого состава может представлять собой второй наиболее летучий компонент гелевого состава.

Предпочтительно никотин содержится в гелевых композициях. Никотин может быть добавлен в композицию в виде свободного основания или в виде соли. Гелевая композиция содержит от приблизительно 0,5 процента по весу до приблизительно 10 процентов по весу никотина или от приблизительно 0,5 процента по весу до приблизительно 5 процентов по весу никотина. Предпочтительно гелевая композиция содержит от приблизительно 1 процента по весу до приблизительно 3 процентов по весу никотина, или от приблизительно 1,5 процента по весу до приблизительно 2,5 процента по весу никотина, или приблизительно 2 процента по весу никотина. Никотиновый компонент гелевого состава может быть наиболее летучим компонентом гелевого состава. В некоторых аспектах вода может представлять собой наиболее летучий компонент гелевого состава, и никотиновый компонент гелевого состава может представлять собой второй наиболее летучий компонент гелевого состава.

Гелевая композиция содержит вещество для образования аэрозоля. В идеале вещество для образования аэрозоля по существу устойчиво к термическому разложению при рабочей температуре связанного устройства, генерирующего аэрозоль. Подходящие вещества для образования аэрозоля включают, но без ограничения: многоатомные спирты, такие как триэтиленгликоль, 1,3-бутандиол и глицерин; сложные эфиры многоатомных спиртов, такие как моно-, ди- или триацетат глицерола; и алифатические сложные эфиры моно-, ди- или поликарбоновых кислот, такие как диметилдодекандиоат и диметилтетрадекандиоат. Многоатомные спирты или их смеси могут представлять собой одно или более из следующего: триэтиленгликоль, 1,3-бутандиол и глицерин (глицерол или пропан-1,2,3-триол) или полиэтиленгликоль. Вещество для образования аэрозоля предпочтительно представляет собой глицерол.

Гелевая композиция может содержать большую часть вещества для образования аэрозоля. Гелевая композиция может содержать смесь воды и вещества для образования аэрозоля, причем вещество для образования аэрозоля образует большую часть (по весу) гелевой композиции. Вещество для образования аэрозоля может образовывать по меньшей мере приблизительно 50 процентов по весу гелевой композиции. Вещество для образования аэрозоля может образовывать по меньшей мере приблизительно 60 процентов по весу, или по меньшей мере приблизительно 65 процентов по весу, или по меньшей мере приблизительно 70 процентов по весу гелевой композиции. Вещество для образования аэрозоля может образовывать от приблизительно 70 процентов по весу до приблизительно 80 процентов по весу гелевой композиции. Вещество для образования аэрозоля может образовывать от приблизительно 70 процентов по весу до приблизительно 75 процентов по весу гелевой композиции.

Гелевая композиция может содержать большую часть глицерола. Гелевая композиция может содержать смесь воды и глицерола, где глицерол образует большую часть (по весу) гелевой композиции. Глицерол может образовывать по меньшей мере приблизительно 50 процентов по весу гелевой композиции. Глицерол может образовывать по меньшей мере приблизительно 60 процентов по весу, или по меньшей мере приблизительно 65 процентов по весу, или по меньшей мере приблизительно 70 процентов по весу гелевой композиции. Глицерол может образовывать от приблизительно 70 процентов по весу до приблизительно 80 процентов по весу гелевой композиции. Глицерол может образовывать от приблизительно 70 процентов по весу до приблизительно 75 процентов по весу гелевой композиции.

Гелевая композиция предпочтительно содержит по меньшей мере одно гелеобразующее средство. Предпочтительно гелевая композиция содержит общее количество гелеобразующих средств в диапазоне от приблизительно 0,4 процента по весу до приблизительно 10 процентов по весу. Более предпочтительно композиция содержит гелеобразующие средства в диапазоне от приблизительно 0,5 процента по весу до приблизительно 8 процентов по весу. Более предпочтительно композиция содержит гелеобразующие средства в диапазоне от приблизительно 1 процента по весу до приблизительно 6 процентов по весу. Более предпочтительно композиция содержит гелеобразующие средства в диапазоне от приблизительно 2 процентов по весу до приблизительно 4 процентов по весу. Более предпочтительно композиция содержит гелеобразующие средства в диапазоне от приблизительно 2 процентов по весу до приблизительно 3 процентов по весу.

Термин «гелеобразующее средство» относится к соединению, которое при однородном добавлении в смесь 50 процентов по весу воды/50 процентов по весу глицерола в количестве приблизительно 0,3 процента по весу образует твердую среду или опорную матрицу, приводящую к образованию геля. Гелеобразующие средства содержат, но без ограничения, гелеобразующие средства, обеспечивающие сшивание посредством водородных связей, и гелеобразующие средства, обеспечивающие сшивание посредством ионных связей.

Гелеобразующее средство может включать один или более биополимеров. Биополимеры могут быть образованы из полисахаридов.

Биополимеры включают, например, геллановые камеди (природная, геллановая камедь с низким содержанием ацила, геллановые камеди с высоким содержанием ацила, при этом предпочтительной является геллановая камедь с низким содержанием ацила), ксантановую камедь, альгинаты (альгиновую кислоту), агар, гуаровую камедь и т. п. Композиция может предпочтительно включать ксантановую камедь. Композиция может включать два биополимера. Композиция может включать три биополимера. Композиция может включать два биополимера в фактически равных значениях веса. Композиция может включать три биополимера в фактически равных значениях веса.

Предпочтительно гелевая композиция содержит по меньшей мере приблизительно 0,2 процента по весу гелеобразующего средства, обеспечивающего сшивание посредством водородных связей. Альтернативно или дополнительно гелевая композиция предпочтительно содержит по меньшей мере приблизительно 0,2 процента по весу гелеобразующего средства, обеспечивающего сшивание посредством ионных связей. Наиболее предпочтительно гелевая композиция содержит по меньшей мере приблизительно 0,2 процента по весу гелеобразующего средства, обеспечивающего сшивание посредством водородных связей, и по меньшей мере приблизительно 0,2 процента по весу гелеобразующего средства, обеспечивающего сшивание посредством ионных связей. Гелевая композиция может содержать от приблизительно 0,5 процента по весу до приблизительно 3 процентов по весу гелеобразующего средства, обеспечивающего сшивание посредством водородных связей, и от приблизительно 0,5 процента по весу до приблизительно 3 процентов по весу гелеобразующего средства, обеспечивающего сшивание посредством ионных связей, или от приблизительно 1 процента по весу до приблизительно 2 процентов по весу гелеобразующего средства, обеспечивающего сшивание посредством водородных связей, и от приблизительно 1 процента по весу до приблизительно 2 процентов по весу гелеобразующего средства, обеспечивающего сшивание посредством ионных связей. Гелеобразующее средство, обеспечивающее сшивание посредством водородных связей, и гелеобразующее средство, обеспечивающее сшивание посредством ионных связей, могут присутствовать в гелевой композиции в по существу равных количествах по весу.

Термин «гелеобразующее средство, обеспечивающее сшивание посредством водородных связей» относится к гелеобразующему средству, которое образует нековалентные сшивающие связи или физические сшивающие связи посредством образования водородных связей. Водородное связывание представляет собой тип электростатического притяжения диполь-диполь между молекулами, а не ковалентного соединения с атомом водорода. В результате создается сила притяжения между атомом водорода, ковалентно связанным с очень электроотрицательным атомом, например, атомом N, O или F, и другим очень электроотрицательным атомом.

Гелеобразующее средство, обеспечивающее сшивание посредством водородных связей, может содержать одно или более из галактоманнана, желатина, агарозы, или конжаковой камеди, или агара. Гелеобразующее средство, обеспечивающее сшивание посредством водородных связей, может предпочтительно содержать агар.

Гелевая композиция предпочтительно содержит гелеобразующее средство, обеспечивающее сшивание посредством водородных связей, в диапазоне от приблизительно 0,3 процента по весу до приблизительно 5 процентов по весу. Предпочтительно композиция содержит гелеобразующее средство, обеспечивающее сшивание посредством водородных связей, в диапазоне от приблизительно 0,5 процента по весу до приблизительно 3 процентов по весу. Предпочтительно композиция содержит гелеобразующее средство, обеспечивающее сшивание посредством водородных связей, в диапазоне от приблизительно 1 процента по весу до приблизительно 2 процентов по весу.

Гелевая композиция может содержать галактоманнан в диапазоне от приблизительно 0,2 процента по весу до приблизительно 5 процентов по весу. Предпочтительно галактоманнан может находиться в диапазоне от приблизительно 0,5 процента по весу до приблизительно 3 процентов по весу. Предпочтительно галактоманнан может находиться в диапазоне от приблизительно 0,5 процента по весу до приблизительно 2 процентов по весу. Предпочтительно галактоманнан может находиться в диапазоне от приблизительно 1 процента по весу до приблизительно 2 процентов по весу.

Гелевая композиция может содержать желатин в диапазоне от приблизительно 0,2 процента по весу до приблизительно 5 процентов по весу. Предпочтительно желатин может находиться в диапазоне от приблизительно 0,5 процента по весу до приблизительно 3 процентов по весу. Предпочтительно желатин может находиться в диапазоне от приблизительно 0,5 процента по весу до приблизительно 2 процентов по весу. Предпочтительно желатин может находиться в диапазоне от приблизительно 1 процента по весу до приблизительно 2 процентов по весу.

Гелевая композиция может содержать агарозу в диапазоне от приблизительно 0,2 процента по весу до приблизительно 5 процентов по весу. Предпочтительно агароза может находиться в диапазоне от приблизительно 0,5 процента по весу до приблизительно 3 процентов по весу. Предпочтительно агароза может находиться в диапазоне от приблизительно 0,5 процента по весу до приблизительно 2 процентов по весу. Предпочтительно агароза может находиться в диапазоне от приблизительно 1 процента по весу до приблизительно 2 процентов по весу.

Гелевая композиция может содержать конжаковую камедь в диапазоне от приблизительно 0,2 процента по весу до приблизительно 5 процентов по весу. Предпочтительно конжаковая камедь может находиться в диапазоне от приблизительно 0,5 процента по весу до приблизительно 3 процентов по весу. Предпочтительно конжаковая камедь может находиться в диапазоне от приблизительно 0,5 процента по весу до приблизительно 2 процентов по весу. Предпочтительно конжаковая камедь может находиться в диапазоне от приблизительно 1 процента по весу до приблизительно 2 процентов по весу.

Гелевая композиция может содержать агар в диапазоне от приблизительно 0,2 процента по весу до приблизительно 5 процентов по весу. Предпочтительно агар может находиться в диапазоне от приблизительно 0,5 процента по весу до приблизительно 3 процентов по весу. Предпочтительно агар может находиться в диапазоне от приблизительно 0,5 процента по весу до приблизительно 2 процентов по весу. Предпочтительно агар может находиться в диапазоне от приблизительно 1 процента по весу до приблизительно 2 процентов по весу.

Термин «гелеобразующее средство, обеспечивающее сшивание посредством ионных связей» относится к гелеобразующему средству, которое образует нековалентные сшивающие связи или физические сшивающие связи посредством образования ионных связей. Сшивание посредством ионных связей включает связывание полимерных цепей с помощью нековалентных взаимодействий. Сшитая сеть образуется, если многовалентные молекулы противоположных зарядов электростатически притягиваются друг к другу, что приводит к образованию сшитой полимерной сети.

Гелеобразующее средство, обеспечивающее сшивание посредством ионных связей, может содержать геллан с низким содержанием ацила, пектин, каппа-каррагинан, йота-каррагинан или альгинат. Гелеобразующее средство, обеспечивающее сшивание посредством ионных связей, может предпочтительно содержать геллан с низким содержанием ацила.

Гелевая композиция может содержать гелеобразующее средство, обеспечивающее сшивание посредством ионных связей, в диапазоне от приблизительно 0,3 процента по весу до приблизительно 5 процентов по весу. Предпочтительно композиция содержит гелеобразующее средство, обеспечивающее сшивание посредством ионных связей, в диапазоне от приблизительно 0,5 процента по весу до приблизительно 3 процентов по весу. Предпочтительно композиция содержит гелеобразующее средство, обеспечивающее сшивание посредством ионных связей, в диапазоне от приблизительно 1 процента по весу до приблизительно 2 процентов по весу.

Гелевая композиция может содержать геллан с низким содержанием ацила в диапазоне от приблизительно 0,2 процента по весу до приблизительно 5 процентов по весу. Предпочтительно геллан с низким содержанием ацила может находиться в диапазоне от приблизительно 0,5 процента по весу до приблизительно 3 процентов по весу. Предпочтительно геллан с низким содержанием ацила может находиться в диапазоне от приблизительно 0,5 процента по весу до приблизительно 2 процентов по весу. Предпочтительно геллан с низким содержанием ацила может находиться в диапазоне от приблизительно 1 процента по весу до приблизительно 2 процентов по весу.

Гелевая композиция может содержать пектин в диапазоне от приблизительно 0,2 процента по весу до приблизительно 5 процентов по весу. Предпочтительно пектин может находиться в диапазоне от приблизительно 0,5 процента по весу до приблизительно 3 процентов по весу. Предпочтительно пектин может находиться в диапазоне от приблизительно 0,5 процента по весу до приблизительно 2 процентов по весу. Предпочтительно пектин может находиться в диапазоне от приблизительно 1 процента по весу до приблизительно 2 процентов по весу.

Гелевая композиция может содержать каппа-каррагинан в диапазоне от приблизительно 0,2 процента по весу до приблизительно 5 процентов по весу. Предпочтительно каппа-каррагинан может находиться в диапазоне от приблизительно 0,5 процента по весу до приблизительно 3 процентов по весу. Предпочтительно каппа-каррагинан может находиться в диапазоне от приблизительно 0,5 процента по весу до приблизительно 2 процентов по весу. Предпочтительно каппа-каррагинан может находиться в диапазоне от приблизительно 1 процента по весу до приблизительно 2 процентов по весу.

Гелевая композиция может содержать йота-каррагинан в диапазоне от приблизительно 0,2 процента по весу до приблизительно 5 процентов по весу. Предпочтительно йота-каррагинан может находиться в диапазоне от приблизительно 0,5 процента по весу до приблизительно 3 процентов по весу. Предпочтительно йота-каррагинан может находиться в диапазоне от приблизительно 0,5 процента по весу до приблизительно 2 процентов по весу. Предпочтительно йота-каррагинан может находиться в диапазоне от приблизительно 1 процента по весу до приблизительно 2 процентов по весу.

Гелевая композиция может содержать альгинат в диапазоне от приблизительно 0,2 процента по весу до приблизительно 5 процентов по весу. Предпочтительно альгинат может находиться в диапазоне от приблизительно 0,5 процента по весу до приблизительно 3 процентов по весу. Предпочтительно альгинат может находиться в диапазоне от приблизительно 0,5 процента по весу до приблизительно 2 процентов по весу. Предпочтительно альгинат может находиться в диапазоне от приблизительно 1 процента по весу до приблизительно 2 процентов по весу.

Гелевая композиция может содержать гелеобразующее средство, обеспечивающее сшивание посредством водородных связей, и гелеобразующее средство, обеспечивающее сшивание посредством ионных связей, в соотношении от приблизительно 3:1 до приблизительно 1:3. Предпочтительно гелевая композиция может содержать гелеобразующее средство, обеспечивающее сшивание посредством водородных связей, и гелеобразующее средство, обеспечивающее сшивание посредством ионных связей, в соотношении от приблизительно 2:1 до приблизительно 1:2. Предпочтительно гелевая композиция может содержать гелеобразующее средство, обеспечивающее сшивание посредством водородных связей, и гелеобразующее средство, обеспечивающее сшивание посредством ионных связей, в соотношении приблизительно 1:1.

Гелевая композиция может дополнительно содержать средство для увеличения вязкости. Средство для увеличения вязкости в сочетании с гелеобразующим средством, обеспечивающим сшивание посредством водородных связей, и гелеобразующим средством, обеспечивающим сшивание посредством ионных связей, по-видимому, неожиданно поддерживает твердую среду и сохраняет гелевую композицию, даже если гелевая композиция содержит высокий уровень глицерола.

Термин «средство для увеличения вязкости» относится к соединению, которое при однородном добавлении в смесь 50 процентов по весу воды/50 процентов по весу глицерола с температурой 25°C в количестве 0,3 процента по весу увеличивает вязкость, не приводя к образованию геля, при этом смесь остается или сохраняется жидкой. Предпочтительно средство для увеличения вязкости относится к соединению, которое при однородном добавлении в смесь 50 процентов по весу воды/50 процентов по весу глицерола с температурой 25°C в количестве 0,3 процента по весу увеличивает вязкость до по меньшей мере 50 сП, предпочтительно по меньшей мере 200 сП, предпочтительно по меньшей мере 500 сП, предпочтительно по меньшей мере 1000 сП при скорости сдвига 0,1 с-1, не приводя к образованию геля, при этом смесь остается или сохраняется жидкой. Предпочтительно средство для увеличения вязкости относится к соединению, которое при однородном добавлении в смесь 50 процентов по весу воды/50 процентов по весу глицерола с температурой 25°C в количестве 0,3 процента по весу увеличивает вязкость в по меньшей мере 2 раза, или по меньшей мере 5 раз, или по меньшей мере 10 раз, или по меньшей мере 100 раз, чем перед добавлением, при скорости сдвига 0,1 с-1, не приводя к образованию геля, при этом смесь остается или сохраняется жидкой.

Значения вязкости, приведенные в данном документе, можно измерять с помощью вискозиметра Brookfield RVT, вращающего вал дискового типа RV#2 при 25°C на скорости 6 оборотов в минуту (об/мин).

Гелевая композиция предпочтительно содержит средство для увеличения вязкости в диапазоне от приблизительно 0,2 процента по весу до приблизительно 5 процентов по весу. Предпочтительно композиция содержит средство для увеличения вязкости в диапазоне от приблизительно 0,5 процента по весу до приблизительно 3 процентов по весу. Предпочтительно композиция содержит средство для увеличения вязкости в диапазоне от приблизительно 0,5 процента по весу до приблизительно 2 процентов по весу. Предпочтительно композиция содержит средство для увеличения вязкости в диапазоне от приблизительно 1 процента по весу до приблизительно 2 процентов по весу.

Средство для увеличения вязкости может содержать одно или более из ксантановой камеди, карбоксиметилцеллюлозы, микрокристаллической целлюлозы, метилцеллюлозы, аравийской камеди, гуаровой камеди, лямбда-каррагинана или крахмала. Средство для увеличения вязкости может предпочтительно содержать ксантановую камедь.

Гелевая композиция может содержать ксантановую камедь в диапазоне от приблизительно 0,2 процента по весу до приблизительно 5 процентов по весу. Предпочтительно ксантановая камедь может находиться в диапазоне от приблизительно 0,5 процента по весу до приблизительно 3 процентов по весу. Предпочтительно ксантановая камедь может находиться в диапазоне от приблизительно 0,5 процента по весу до приблизительно 2 процентов по весу. Предпочтительно ксантановая камедь может находиться в диапазоне от приблизительно 1 процента по весу до приблизительно 2 процентов по весу.

Гелевая композиция может содержать карбоксиметилцеллюлозу в диапазоне от приблизительно 0,2 процента по весу до приблизительно 5 процентов по весу. Предпочтительно карбоксиметилцеллюлоза может находиться в диапазоне от приблизительно 0,5 процента по весу до приблизительно 3 процентов по весу. Предпочтительно карбоксиметилцеллюлоза может находиться в диапазоне от приблизительно 0,5 процента по весу до приблизительно 2 процентов по весу. Предпочтительно карбоксиметилцеллюлоза может находиться в диапазоне от приблизительно 1 процента по весу до приблизительно 2 процентов по весу.

Гелевая композиция может содержать микрокристаллическую целлюлозу в диапазоне от приблизительно 0,2 процента по весу до приблизительно 5 процентов по весу. Предпочтительно микрокристаллическая целлюлоза может находиться в диапазоне от приблизительно 0,5 процента по весу до приблизительно 3 процентов по весу. Предпочтительно микрокристаллическая целлюлоза может находиться в диапазоне от приблизительно 0,5 процента по весу до приблизительно 2 процентов по весу. Предпочтительно микрокристаллическая целлюлоза может находиться в диапазоне от приблизительно 1 процента по весу до приблизительно 2 процентов по весу.

Гелевая композиция может содержать метилцеллюлозу в диапазоне от приблизительно 0,2 процента по весу до приблизительно 5 процентов по весу. Предпочтительно метилцеллюлоза может находиться в диапазоне от приблизительно 0,5 процента по весу до приблизительно 3 процентов по весу. Предпочтительно метилцеллюлоза может находиться в диапазоне от приблизительно 0,5 процента по весу до приблизительно 2 процентов по весу. Предпочтительно метилцеллюлоза может находиться в диапазоне от приблизительно 1 процента по весу до приблизительно 2 процентов по весу.

Гелевая композиция может содержать аравийскую камедь в диапазоне от приблизительно 0,2 процента по весу до приблизительно 5 процентов по весу. Предпочтительно аравийская камедь может находиться в диапазоне от приблизительно 0,5 процента по весу до приблизительно 3 процентов по весу. Предпочтительно аравийская камедь может находиться в диапазоне от приблизительно 0,5 процента по весу до приблизительно 2 процентов по весу. Предпочтительно аравийская камедь может находиться в диапазоне от приблизительно 1 процента по весу до приблизительно 2 процентов по весу.

Гелевая композиция может содержать гуаровую камедь в диапазоне от приблизительно 0,2 процента по весу до приблизительно 5 процентов по весу. Предпочтительно гуаровая камедь может находиться в диапазоне от приблизительно 0,5 процента по весу до приблизительно 3 процентов по весу. Предпочтительно гуаровая камедь может находиться в диапазоне от приблизительно 0,5 процента по весу до приблизительно 2 процентов по весу. Предпочтительно гуаровая камедь может находиться в диапазоне от приблизительно 1 процента по весу до приблизительно 2 процентов по весу.

Гелевая композиция может содержать лямбда-каррагинан в диапазоне от приблизительно 0,2 процента по весу до приблизительно 5 процентов по весу. Предпочтительно лямбда-каррагинан может находиться в диапазоне от приблизительно 0,5 процента по весу до приблизительно 3 процентов по весу. Предпочтительно лямбда-каррагинан может находиться в диапазоне от приблизительно 0,5 процента по весу до приблизительно 2 процентов по весу. Предпочтительно лямбда-каррагинан может находиться в диапазоне от приблизительно 1 процента по весу до приблизительно 2 процентов по весу.

Гелевая композиция может содержать крахмал в диапазоне от приблизительно 0,2 процента по весу до приблизительно 5 процентов по весу. Предпочтительно крахмал может находиться в диапазоне от приблизительно 0,5 процента по весу до приблизительно 3 процентов по весу. Предпочтительно крахмал может находиться в диапазоне от приблизительно 0,5 процента по весу до приблизительно 2 процентов по весу. Предпочтительно крахмал может находиться в диапазоне от приблизительно 1 процента по весу до приблизительно 2 процентов по весу.

Гелевая композиция может дополнительно содержать двухвалентный катион. Предпочтительно двухвалентный катион содержит ионы кальция, такие как лактат кальция в растворе. Двухвалентные катионы (такие как ионы кальция) могут способствовать гелеобразованию композиций, которые содержат гелеобразующие средства, такие как, например, гелеобразующее средство, обеспечивающее сшивание посредством ионных связей. Ионный эффект может способствовать гелеобразованию. Двухвалентный катион может присутствовать в гелевой композиции в диапазоне от приблизительно 0,1 до приблизительно 1 процента по весу или в количестве приблизительно 0,5 процента по весу.

Гелевая композиция может дополнительно содержать кислоту. Кислота может включать карбоновую кислоту. Карбоновая кислота может содержать кетоновую группу. Предпочтительно карбоновая кислота может содержать кетоновую группу, имеющую менее чем приблизительно 10 атомов углерода, или менее чем приблизительно 6 атомов углерода, или менее чем приблизительно 4 атома углерода, такую как левулиновая кислота или молочная кислота. Предпочтительно эта карбоновая кислота имеет три атома углерода (например, молочная кислота). Молочная кислота неожиданно улучшает стабильность гелевой композиции даже по сравнению с подобными карбоновыми кислотами. Карбоновая кислота может способствовать гелеобразованию. Карбоновая кислота может снижать изменение концентрации алкалоидного соединения, или концентрации каннабиноидного соединения, или концентрации как алкалоидного соединения, так и каннабиноидного соединения внутри гелевой композиции во время хранения. Карбоновая кислота может снижать изменение концентрации никотина внутри гелевой композиции во время хранения.

Гелевая композиция может содержать карбоновую кислоту в диапазоне от приблизительно 0,1 процента по весу до приблизительно 5 процентов по весу. Предпочтительно карбоновая кислота может находиться в диапазоне от приблизительно 0,5 процента по весу до приблизительно 3 процентов по весу. Предпочтительно карбоновая кислота может находиться в диапазоне от приблизительно 0,5 процента по весу до приблизительно 2 процентов по весу. Предпочтительно карбоновая кислота может находиться в диапазоне от приблизительно 1 процента по весу до приблизительно 2 процентов по весу.

Гелевая композиция может содержать молочную кислоту в диапазоне от приблизительно 0,1 процента по весу до приблизительно 5 процентов по весу. Предпочтительно молочная кислота может находиться в диапазоне от приблизительно 0,5 процента по весу до приблизительно 3 процентов по весу. Предпочтительно молочная кислота может находиться в диапазоне от приблизительно 0,5 процента по весу до приблизительно 2 процентов по весу. Предпочтительно молочная кислота может находиться в диапазоне от приблизительно 1 процента по весу до приблизительно 2 процентов по весу.

Гелевая композиция может содержать левулиновую кислоту в диапазоне от приблизительно 0,1 процента по весу до приблизительно 5 процентов по весу. Предпочтительно левулиновая кислота может находиться в диапазоне от приблизительно 0,5 процента по весу до приблизительно 3 процентов по весу. Предпочтительно левулиновая кислота может находиться в диапазоне от приблизительно 0,5 процента по весу до приблизительно 2 процентов по весу. Предпочтительно левулиновая кислота может находиться в диапазоне от приблизительно 1 процента по весу до приблизительно 2 процентов по весу.

Гелевая композиция предпочтительно содержит некоторое количество воды. Гелевая композиция более стабильна, если композиция содержит некоторое количество воды. Предпочтительно гелевая композиция содержит по меньшей мере приблизительно 1 процент по весу, или по меньшей мере приблизительно 2 процента по весу, или по меньшей мере приблизительно 5 процентов по весу воды. Предпочтительно гелевая композиция содержит по меньшей мере приблизительно 10 процентов по весу или по меньшей мере приблизительно 15 процентов по весу воды.

Предпочтительно гелевая композиция содержит от приблизительно 8 процентов по весу до приблизительно 32 процентов по весу воды. Предпочтительно гелевая композиция содержит от приблизительно 15 процентов по весу до приблизительно 25 процентов по весу воды. Предпочтительно гелевая композиция содержит от приблизительно 18 процентов по весу до приблизительно 22 процентов по весу воды. Предпочтительно гелевая композиция содержит приблизительно 20 процентов по весу воды.

Предпочтительно субстрат, генерирующий аэрозоль, содержит от приблизительно 150 мг до приблизительно 350 мг гелевой композиции.

Предпочтительно субстрат, генерирующий аэрозоль, содержит пористую среду, заполненную гелевой композицией. Преимущества пористой среды, заполненной гелевой композицией, заключаются в том, что гелевая композиция удерживается внутри пористой среды, и это может способствовать изготовлению, хранению или транспортировке гелевой композиции. Это может помогать в поддержании желаемой формы гелевой композиции, особенно во время изготовления, транспортировки или использования.

Пористая среда может представлять собой любой подходящий пористый материал, способный держать в себе или удерживать гелевую композицию. В идеале пористая среда может обеспечивать возможность перемещения гелевой композиции внутри нее. В конкретных вариантах осуществления пористая среда содержит натуральные материалы, синтетические, или полусинтетические, или их комбинацию. В конкретных вариантах осуществления пористая среда содержит листовой материал, пеноматериал или волокна, например, разрыхленные волокна, или их комбинацию. В конкретных вариантах осуществления пористая среда содержит тканый, нетканый или экструдированный материал или их комбинации. Предпочтительно пористая среда содержит хлопок, бумагу, вискозу, PLA, или ацетат целлюлозы, или их комбинации. Предпочтительно пористая среда содержит листовой материал, например, хлопок или ацетат целлюлозы. В особенно предпочтительном варианте осуществления пористая среда содержит лист, изготовленный из хлопковых волокон.

Пористая среда, используемая в настоящем изобретении, может быть гофрированной или расщепленной. В предпочтительных вариантах осуществления пористая среда является гофрированной. В альтернативных вариантах осуществления пористая среда содержит расщепленную пористую среду. Процесс гофрирования или расщепления может быть осуществлен перед заполнением гелевой композицией или после него.

Гофрирование листового материала имеет преимущество, заключающееся в улучшении структуры для обеспечения проходов через структуру. Проходы через гофрированный листовой материал оказывают содействие в заполнении гелем, удерживании геля, а также для того, чтобы текучая среда проходила через гофрированный листовой материал. Следовательно, существуют преимущества использования гофрированного листового материала в качестве пористой среды.

Расщепление обеспечивает высокое соотношение площади поверхности и объема для среды, которая таким образом способна легко поглощать гель.

В конкретных вариантах осуществления листовой материал представляет собой композитный материал. Предпочтительно листовой материал является пористым. Листовой материал может способствовать изготовлению трубчатого элемента, содержащего гель. Листовой материал может способствовать введению активного вещества в трубчатый элемент, содержащий гель. Листовой материал может помочь стабилизировать структуру трубчатого элемента, содержащего гель. Листовой материал может содействовать транспортировке или хранению геля. Использование листового материала позволяет или обеспечивает добавление структуры пористой среде, например, путем гофрирования листового материала.

Пористая среда может представлять собой нить. Нить может содержать, например, хлопок, бумагу или ацетатный штранг. Нить может также быть заполнена гелем, как любая другая пористая среда. Преимущество использования нити в качестве пористой среды заключается в том, что она может способствовать легкому изготовлению.

Нить может быть заполнена гелем любыми известными средствами. Нить может быть просто покрыта гелем, или нить может быть пропитана гелем. При изготовлении нити могут быть пропитаны гелем и отправлены на хранение готовыми к использованию для включения в сборку трубчатого элемента.

Пористая среда, заполненная гелевой композицией, предпочтительно обеспечена внутри трубчатого элемента, который образует часть изделия, генерирующего аэрозоль. Термин «трубчатый элемент» используется для описания компонента, подходящего для использования в изделии, генерирующем аэрозоль. В идеале трубчатый элемент может быть больше по продольной длине, чем по ширине, но не обязательно, поскольку он может быть одной частью многокомпонентного элемента, который в идеале будет больше по своей продольной длине, чем по своей ширине. Как правило, трубчатый элемент является цилиндрическим, но не обязательно. Например, трубчатый элемент может иметь овальное, многоугольное, например, треугольное или прямоугольное, или произвольное поперечное сечение.

Трубчатый элемент предпочтительно содержит первый продольный проход. Трубчатый элемент предпочтительно образован из обертки, которая определяет первый продольный проход. Обертка предпочтительно является водостойкой оберткой. Это свойство водостойкости обертки можно получить с использованием водостойкого материала или посредством обработки материала обертки. Это может быть достигнуто путем обработки одной стороны или обеих сторон обертки. Наличие водостойкости поможет не потерять структуру, прочность или жесткость. Это может также оказывать содействие в предотвращении утечек геля или жидкости, особенно при использовании гелей текучей структуры.

Предпочтительно в тех вариантах осуществления, в которых стержень субстрата, генерирующего аэрозоль, содержит гелевую композицию, как описано выше, расположенная дальше по ходу потока секция изделия, генерирующего аэрозоль, содержит элемент, охлаждающий аэрозоль, имеющий длину менее 10 миллиметров. Было обнаружено, что использование относительно короткого элемента, охлаждающего аэрозоль, в сочетании с гелевой композицией оптимизирует доставку аэрозоля потребителю. Дополнительные подробности об обеспечении элементов, охлаждающих аэрозоль, будут предоставлены ниже.

Варианты осуществления настоящего изобретения, в которых стержень субстрата, генерирующего аэрозоль, содержит гелевую композицию, как описано выше, предпочтительно содержат расположенный раньше по ходу потока элемент, расположенный раньше по ходу потока относительно стержня субстрата, генерирующего аэрозоль. В этом случае расположенный раньше по ходу потока элемент преимущественно предотвращает физический контакт с гелевой композицией. Расположенный раньше по ходу потока элемент может также преимущественно компенсировать любое потенциальное уменьшение RTD, например, по причине испарения гелевой композиции при нагреве стержня субстрата, генерирующего аэрозоль, во время использования. Дополнительные подробности об обеспечении одного такого расположенного раньше по ходу потока элемента будут описаны ниже.

Предпочтительно в изделии, генерирующем аэрозоль, в соответствии с настоящим изобретением токоприемник расположен внутри стержня субстрата, генерирующего аэрозоль, и находится в тепловом контакте с субстратом, генерирующим аэрозоль. Предпочтительно токоприемник является удлиненным токоприемником. Еще более предпочтительно удлиненный токоприемник расположен по существу продольно внутри стержня субстрата, генерирующего аэрозоль.

В контексте данного документа применительно к настоящему изобретению термин «токоприемник» относится к материалу, который может преобразовывать электромагнитную энергию в тепло. При размещении внутри флуктуационного электромагнитного поля вихревые токи, индуцированные в токоприемнике, вызывают нагрев токоприемника. Поскольку удлиненный токоприемник размещен в тепловом контакте с субстратом, генерирующим аэрозоль, субстрат, генерирующий аэрозоль, нагревается токоприемником.

При использовании для описания токоприемника термин «удлиненный» означает, что токоприемник имеет размер по длине, который больше, чем его размер по ширине или его размер по толщине, например, в два раза больше, чем его размер по ширине или его размер по толщине.

Токоприемник предпочтительно расположен по существу продольно внутри стержня. Это означает, что размер по длине удлиненного токоприемника расположен приблизительно параллельно продольному направлению стержня, например, в диапазоне плюс-минус 10 градусов параллельно продольному направлению стержня. В предпочтительных вариантах осуществления удлиненный токоприемник может быть расположен в радиально центральном положении внутри стержня и проходит вдоль продольной оси стержня.

Предпочтительно токоприемник проходит на все расстояние до расположенного дальше по ходу потока конца стержня изделия, генерирующего аэрозоль. В некоторых вариантах осуществления токоприемник может проходить на все расстояние до расположенного раньше по ходу потока конца стержня изделия, генерирующего аэрозоль. В особенно предпочтительных вариантах осуществления токоприемник имеет по существу ту же длину, что и стержень субстрата, генерирующего аэрозоль, и проходит от расположенного раньше по ходу потока конца стержня к расположенному дальше по ходу потока концу стержня.

Токоприемник предпочтительно выполнен в форме штыря, стержня, полоски или пластины.

Токоприемник предпочтительно имеет длину от приблизительно 5 миллиметров до приблизительно 15 миллиметров, например, от приблизительно 6 миллиметров до приблизительно 12 миллиметров, или от приблизительно 8 миллиметров до приблизительно 10 миллиметров.

Соотношение между длиной токоприемника и общей длиной субстрата изделия, генерирующего аэрозоль, может составлять от приблизительно 0,2 до приблизительно 0,35.

Предпочтительно соотношение между длиной токоприемника и общей длиной субстрата изделия, генерирующего аэрозоль, составляет по меньшей мере приблизительно 0,22, более предпочтительно по меньшей мере приблизительно 0,24, еще более предпочтительно по меньшей мере приблизительно 0,26. Соотношение между длиной токоприемника и общей длиной субстрата изделия, генерирующего аэрозоль, составляет предпочтительно менее приблизительно 0,34, более предпочтительно менее приблизительно 0,32, еще более предпочтительно менее приблизительно 0,3.

В некоторых вариантах осуществления соотношение между длиной токоприемника и общей длиной субстрата изделия, генерирующего аэрозоль, составляет предпочтительно от приблизительно 0,22 до приблизительно 0,34, более предпочтительно от приблизительно 0,24 до приблизительно 0,34, еще более предпочтительно от приблизительно 0,26 до приблизительно 0,34. В других вариантах осуществления соотношение между длиной токоприемника и общей длиной субстрата изделия, генерирующего аэрозоль, составляет предпочтительно от приблизительно 0,22 до приблизительно 0,32, более предпочтительно от приблизительно 0,24 до приблизительно 0,32, еще более предпочтительно от приблизительно 0,26 до приблизительно 0,32. В дополнительных вариантах осуществления соотношение между длиной токоприемника и общей длиной субстрата изделия, генерирующего аэрозоль, составляет предпочтительно от приблизительно 0,22 до приблизительно 0,3, более предпочтительно от приблизительно 0,24 до приблизительно 0,3, еще более предпочтительно от приблизительно 0,26 до приблизительно 0,3.

В особенно предпочтительном варианте осуществления соотношение между длиной токоприемника и общей длиной субстрата изделия, генерирующего аэрозоль, составляет приблизительно 0,27.

Токоприемник предпочтительно имеет ширину от приблизительно 1 миллиметра до приблизительно 5 миллиметров.

Токоприемник может по существу иметь толщину от приблизительно 0,01 миллиметра до приблизительно 2 миллиметров, например, от приблизительно 0,5 миллиметра до приблизительно 2 миллиметров. В некоторых вариантах осуществления токоприемник предпочтительно имеет толщину от приблизительно 10 микрометров до приблизительно 500 микрометров, более предпочтительно от приблизительно 10 микрометров до приблизительно 100 микрометров.

Если токоприемник имеет постоянное поперечное сечение, например, круглое поперечное сечение, он имеет предпочтительную ширину или диаметр от приблизительно 1 миллиметра до приблизительно 5 миллиметров.

Если токоприемник имеет форму полоски или пластины, то полоска или пластина предпочтительно имеет прямоугольную форму с шириной предпочтительно от приблизительно 2 миллиметров до приблизительно 8 миллиметров, более предпочтительно от приблизительно 3 миллиметров до приблизительно 5 миллиметров. В качестве примера, токоприемник в форме полоски или пластины может иметь ширину приблизительно 4 миллиметра.

Если токоприемник имеет форму полоски или пластины, то полоска или пластина предпочтительно имеет прямоугольную форму и толщину от приблизительно 0,03 миллиметра до приблизительно 0,15 миллиметра, более предпочтительно от приблизительно 0,05 миллиметра до приблизительно 0,09 миллиметра. В качестве примера, токоприемник в форме полоски или пластины может иметь толщину приблизительно 0,07 миллиметра.

В предпочтительном варианте осуществления удлиненный токоприемник (в форме полоски или пластины предпочтительно имеет прямоугольную форму и) имеет толщину от приблизительно 55 микрометров до приблизительно 65 микрометров.

Более предпочтительно удлиненный токоприемник имеет толщину от приблизительно 57 микрометров до приблизительно 63 микрометров. Еще более предпочтительно удлиненный токоприемник имеет толщину от приблизительно 58 микрометров до приблизительно 62 микрометров. В особенно предпочтительном варианте осуществления удлиненный токоприемник имеет толщину приблизительно 60 микрометров.

Не ограничиваясь теорией, авторы настоящего изобретения считают, что в целом на выбор заданной толщины для токоприемника также влияют ограничения, установленные выбранной длиной и шириной токоприемника, а также ограничения, установленные геометрией и размерами стержня субстрата, генерирующего аэрозоль. В качестве примера, длину токоприемника предпочтительно выбирают так, чтобы она совпадала с длиной стержня субстрата, генерирующего аэрозоль. Ширину токоприемника следует предпочтительно выбирать так, чтобы предотвращать смещение токоприемника внутри субстрата, одновременно обеспечивая возможность легкой вставки во время изготовления.

Авторы настоящего изобретения обнаружили, что в изделии, генерирующем аэрозоль, в котором токоприемник, имеющий толщину в диапазоне, описанном выше, обеспечен для индукционной подачи тепла во время использования, преимущественно возможно генерировать и распределять тепло по субстрату, генерирующему аэрозоль, особенно эффективно и оптимально. Не ограничиваясь теорией, авторы настоящего изобретения убеждены, что это происходит потому, что один такой токоприемник приспособлен для обеспечения оптимального генерирования тепла и передачи тепла благодаря площади поверхности токоприемника и индукционному питанию. Для сравнения, более тонкий токоприемник может быть слишком легко деформировать, и он может не поддерживать желаемую форму и ориентацию внутри стержня субстрата, генерирующего аэрозоль, во время изготовления изделия, генерирующего аэрозоль, что может привести к менее однородному и менее точно настроенному распределению тепла во время использования. В то же время, более толстый токоприемник может быть сложнее разрезать до нужной длины с точностью и постоянством, и это может также повлиять на то, как точно токоприемник может быть обеспечен в продольном выравнивании внутри стержня субстрата, генерирующего аэрозоль, таким образом также потенциально оказывая влияние на однородность распределения тепла внутри стержня. Эти преимущественные эффекты особенно ощутимы, когда токоприемник проходит на все расстояние до расположенного дальше по ходу потока конца стержня изделия, генерирующего аэрозоль. Считается, что причиной этого является то, что сопротивление затяжке (RTD) дальше по ходу потока относительно токоприемника можно таким образом минимизировать, так как нет субстрата, генерирующего аэрозоль, внутри стержня в местоположении дальше по ходу потока относительно токоприемника, который мог бы способствовать RTD. Это достигается особенно эффективно в некоторых предпочтительных вариантах осуществления, которые будут описаны более подробно ниже, при этом изделие, генерирующее аэрозоль, содержит расположенную дальше по ходу потока секцию, содержащую полую промежуточную секцию. Одна такая полая промежуточная секция по существу не способствует общему RTD изделия, генерирующего аэрозоль, и не вступает в непосредственный контакт с расположенным дальше по ходу потока концом токоприемника.

Не ограничиваясь теорией, авторы настоящего изобретения считают, что расположенная дальше всего по ходу потока часть стержня субстрата, генерирующего аэрозоль, может действовать, до определенной степени, как фильтр относительно расположенных намного раньше по ходу потока частей стержня субстрата, генерирующего аэрозоль. Таким образом, авторы настоящего изобретения убеждены, что желательно иметь возможность однородно нагревать также расположенную дальше всего по ходу потока часть стержня субстрата, генерирующего аэрозоль, для активного включения ее в высвобождение летучих соединений аэрозоля и способствования общим генерированию и доставке аэрозоля, и любой возможный эффект фильтрации, который может препятствовать доставке аэрозоля потребителю, надежно устраняется высвобождением летучих соединений аэрозоля по всему субстрату, генерирующему аэрозоль.

Предпочтительно удлиненный токоприемник имеет длину, которая равна или меньше длины субстрата, генерирующего аэрозоль. Предпочтительно удлиненный токоприемник имеет такую же длину, что и субстрат, генерирующий аэрозоль.

Токоприемник может быть образован из любого материала, который может быть индукционно нагрет до температуры, достаточной для генерирования аэрозоля из субстрата, генерирующего аэрозоль. Предпочтительные токоприемники содержат металл или углерод.

Предпочтительный токоприемник может содержать ферромагнитный материал, например, ферромагнитный сплав, ферритное железо или ферромагнитную сталь, или нержавеющую сталь, или состоять из них. Подходящий токоприемник может быть выполнен из алюминия или содержать его. Предпочтительные токоприемники могут быть образованы из нержавеющих сталей серии 400, например, нержавеющей стали марки 410, или марки 420, или марки 430. Разные материалы будут рассеивать разные количества энергии, когда они расположены внутри электромагнитных полей, имеющих подобные значения частоты и напряженности поля.

Таким образом, все параметры токоприемника, такие как тип материала, длина, ширина и толщина, могут быть изменены для обеспечения желаемого рассеивания мощности внутри известного электромагнитного поля. Предпочтительные токоприемники могут быть нагреты до температуры свыше 250 градусов Цельсия.

Подходящие токоприемники могут содержать неметаллический сердечник с металлическим слоем, расположенным на неметаллическом сердечнике, например, с металлическими дорожками, образованными на поверхности керамического сердечника. Токоприемник может иметь защитный внешний слой, например, защитный керамический слой или защитный стеклянный слой, охватывающий токоприемник. Токоприемник может содержать защитное покрытие, образованное из стекла, керамики или инертного металла, образованное поверх сердечника токоприемного материала.

Токоприемник расположен в тепловом контакте с субстратом, генерирующим аэрозоль. Таким образом, при нагреве токоприемника нагревается субстрат, генерирующий аэрозоль, и образуется аэрозоль. Предпочтительно токоприемник расположен в непосредственном физическом контакте с субстратом, генерирующим аэрозоль, например, внутри субстрата, генерирующего аэрозоль.

Токоприемник может представлять собой токоприемник, состоящий из нескольких материалов, и может содержать первый токоприемный материал и второй токоприемный материал. Первый токоприемный материал расположен в непосредственном физическом контакте со вторым токоприемным материалом. Второй токоприемный материал предпочтительно имеет температуру Кюри, которая ниже 500 градусов Цельсия. Первый токоприемный материал предпочтительно используют, главным образом, для нагрева токоприемника, когда токоприемник помещен во флуктуационное электромагнитное поле. Может быть использован любой подходящий материал. Например, первый токоприемный материал может представлять собой алюминий или может представлять собой черный металл, такой как нержавеющая сталь. Второй токоприемный материал предпочтительно используют, главным образом, для указания на то, что токоприемник достиг конкретной температуры, причем эта температура является температурой Кюри второго токоприемного материала. Температура Кюри второго токоприемного материала может быть использована для регулирования температуры всего токоприемника во время работы. Таким образом, температура Кюри второго токоприемного материала должна быть ниже точки воспламенения субстрата, генерирующего аэрозоль. Подходящие материалы для второго токоприемного материала могут включать никель и определенные сплавы никеля.

За счет предоставления токоприемника, имеющего по меньшей мере первый и второй токоприемные материалы, при этом либо второй токоприемный материал имеет температуру Кюри, а первый токоприемный материал не имеет температуру Кюри, либо первый и второй токоприемные материалы имеют первую и вторую температуры Кюри, отличные друг от друга, обеспечивается возможность разделения нагрева субстрата, генерирующего аэрозоль, и регулирования температуры нагрева. Первый токоприемный материал предпочтительно является магнитным материалом, имеющим температуру Кюри, которая выше 500 градусов Цельсия. С точки зрения эффективности нагрева желательно, чтобы температура Кюри первого токоприемного материала превышала любую максимальную температуру, до которой должен иметь возможность нагреваться токоприемник. Вторая температура Кюри может быть предпочтительно выбрана так, чтобы быть ниже 400 градусов Цельсия, предпочтительно ниже 380 градусов Цельсия или ниже 360 градусов Цельсия. Предпочтительно второй токоприемный материал представляет собой магнитный материал, выбранный таким образом, что он имеет вторую температуру Кюри, которая по существу совпадает с требуемой максимальной температурой нагрева. То есть предпочтительно, чтобы вторая температура Кюри была приблизительно такой же, как температура, до которой должен быть нагрет токоприемник, чтобы генерировать аэрозоль из субстрата, генерирующего аэрозоль. Вторая температура Кюри может, например, находиться в пределах диапазона от 200 градусов Цельсия до 400 градусов Цельсия или от 250 градусов Цельсия до 360 градусов Цельсия. Вторая температура Кюри второго токоприемного материала может, например, быть выбрана такой, что, при нагреве токоприемником, находящимся при температуре, равной второй температуре Кюри, общая средняя температура субстрата, генерирующего аэрозоль, не превышает 240 градусов Цельсия.

В соответствии с настоящим изобретением изделие, генерирующее аэрозоль, содержит расположенную дальше по ходу потока секцию в местоположении дальше по ходу потока относительно стержня субстрата, генерирующего аэрозоль.

Более подробно, расположенная дальше по ходу потока секция содержит промежуточную полую секцию, содержащую элемент, охлаждающий аэрозоль, расположенный в выравнивании со стержнем субстрата, генерирующего аэрозоль, и дальше по ходу потока относительно него. Дополнительно промежуточная полая секция расположенной дальше по ходу потока секции дополнительно содержит опорный элемент, расположенный непосредственно дальше по ходу потока относительно стержня субстрата, генерирующего аэрозоль, и элемент, охлаждающий аэрозоль, находится между опорным элементом и расположенным дальше по ходу потока концом (или мундштучным концом) изделия, генерирующего аэрозоль. Более подробно, элемент, охлаждающий аэрозоль, может быть расположен непосредственно дальше по ходу потока относительно опорного элемента. В некоторых предпочтительных вариантах осуществления элемент, охлаждающий аэрозоль, может примыкать к опорному элементу. Расположенная дальше по ходу потока секция может необязательно содержать один или более расположенных дальше по ходу потока элементов на верхней части опорного элемента и элемента, охлаждающего аэрозоль, в местоположении дальше по ходу потока относительно промежуточной полой секции.

Опорный элемент содержит первый полый трубчатый сегмент, имеющий внутренний диаметр (DFTS). Элемент, охлаждающий аэрозоль, содержит второй полый трубчатый сегмент, имеющий внутренний диаметр (DSTS).

В контексте данного документа термин «полый трубчатый сегмент» используется для обозначения по существу удлиненного элемента, определяющего просвет или проход для потока воздуха вдоль его продольной оси. В частности, термин «трубчатый» будет далее использоваться со ссылкой на трубчатый элемент, имеющий по существу цилиндрическое поперечное сечение и определяющий по меньшей мере один канал для потока воздуха, устанавливающий непрерывное сообщение по текучей среде между расположенным раньше по ходу потока концом трубчатого элемента и расположенным дальше по ходу потока концом трубчатого элемента. Однако следует понимать, что могут быть возможны альтернативные геометрии (например, альтернативные формы поперечного сечения) трубчатого элемента.

В контексте настоящего изобретения полый трубчатый сегмент обеспечивает канал для неограниченного потока. Это означает, что полый трубчатый сегмент обеспечивает незначительный уровень сопротивления затяжке (RTD). Следовательно, канал для потока должен быть свободен от любых компонентов, которые могут ограничить поток воздуха в продольном направлении. Предпочтительно канал для потока является по существу пустым.

При использовании для описания опорного элемента или элемента, охлаждающего аэрозоль, термин «удлиненный» означает, что опорный элемент или элемент, охлаждающий аэрозоль, имеет размер по длине, который больше, чем его размер по ширине или его размер по диаметру, например, в два или более раз больше, чем его размер по ширине или его размер по диаметру.

В местоположении вдоль второго полого трубчатого сегмента элемента, охлаждающего аэрозоль, предусмотрена зона вентиляции.

Авторы настоящего изобретения обнаружили, что удовлетворительного охлаждения потока аэрозоля, генерируемого при нагреве субстрата, генерирующего аэрозоль, и втягиваемого через один такой элемент, охлаждающий аэрозоль, достигают за счет обеспечения зоны вентиляции в местоположении вдоль второго полого трубчатого сегмента. Кроме того, авторы настоящего изобретения обнаружили, что, как будет более подробно описано ниже, за счет расположения зоны вентиляции в точно определенном местоположении вдоль длины элемента, охлаждающего аэрозоль, и за счет предпочтительно использования второго полого трубчатого сегмента, имеющего заданную толщину периферийной стенки или внутренний объем, может быть возможно противодействовать эффектам увеличенного разбавления аэрозоля, вызываемого впуском вентиляционного воздуха в изделие.

Не ограничиваясь теорией, предполагается, что, поскольку температура потока аэрозоля быстро снижается при введении вентиляционного воздуха по мере перемещения аэрозоля к мундштучному сегменту, причем вентиляционный воздух впускается в поток аэрозоля в местоположении, относительно близком к расположенному раньше по ходу потока концу элемента, охлаждающего аэрозоль (то есть достаточно близком к токоприемнику, проходящему внутри стержня субстрата, генерирующего аэрозоль, который во время использования является источником тепла), достигается резкое охлаждение потока аэрозоля, что оказывает благоприятное воздействие на конденсацию и нуклеацию частиц аэрозоля. Соответственно, общее соотношение фазы аэрозоля в виде частиц к газовой фазе аэрозоля может быть улучшено по сравнению с существующими невентилируемыми изделиями, генерирующими аэрозоль.

В то же время сохранение относительно небольшой толщины периферийной стенки полого трубчатого элемента гарантирует, что общий внутренний объем полого трубчатого элемента, который становится доступным для того, чтобы в аэрозоле начался процесс нуклеации сразу после того, как компоненты аэрозоля покинут стержень субстрата, генерирующего аэрозоль, и площадь поверхности поперечного сечения полого трубчатого сегмента фактически максимально увеличиваются, при этом одновременно обеспечивается, что полый трубчатый сегмент имеет достаточную структурную прочность для предотвращения сжатия изделия, генерирующего аэрозоль, а также для обеспечения некоторой опоры для стержня субстрата, генерирующего аэрозоль, и что RTD полого трубчатого сегмента сводится к минимуму. Понятно, что большие значения площади поверхности поперечного сечения полости полого трубчатого сегмента связаны с уменьшением скорости потока аэрозоля, перемещающегося вдоль изделия, генерирующего аэрозоль, что, как ожидается, также благоприятствует нуклеации аэрозоля. Кроме того, при использовании полого трубчатого сегмента, имеющего относительно небольшую толщину, оказалось, что можно по существу предотвратить диффузию вентиляционного воздуха до его вхождения в контакт и смешивания с потоком аэрозоля, что, как понимают, также способствует явлениям нуклеации. На практике, за счет обеспечения более контролируемо локализованного охлаждения потока испаренных соединений можно усилить влияние охлаждения на образование новых частиц аэрозоля.

Элемент, охлаждающий аэрозоль, предпочтительно имеет наружный диаметр, который приблизительно равен наружному диаметру стержня субстрата, генерирующего аэрозоль, и наружному диаметру изделия, генерирующего аэрозоль.

Элемент, охлаждающий аэрозоль, может иметь наружный диаметр от 5 миллиметров до 12 миллиметров, например, от 5 миллиметров до 10 миллиметров или от 6 миллиметров до 8 миллиметров. В предпочтительном варианте осуществления элемент, охлаждающий аэрозоль, имеет внешний диаметр 7,2 миллиметра плюс-минус 10 процентов.

Предпочтительно второй полый трубчатый сегмент элемента, охлаждающего аэрозоль, имеет внутренний диаметр по меньшей мере приблизительно 1,5 миллиметра. Более предпочтительно второй полый трубчатый сегмент элемента, охлаждающего аэрозоль, имеет внутренний диаметр по меньшей мере приблизительно 2 миллиметра. Еще более предпочтительно второй полый трубчатый сегмент элемента, охлаждающего аэрозоль, имеет внутренний диаметр по меньшей мере приблизительно 2,5 миллиметра. В особенно предпочтительных вариантах осуществления, второй полый трубчатый сегмент элемента, охлаждающего аэрозоль, имеет внутренний диаметр по меньшей мере приблизительно 3 миллиметра.

Периферийная стенка второго трубчатого сегмента элемента, охлаждающего аэрозоль, может иметь толщину стенки менее приблизительно 2,5 миллиметра, предпочтительно менее приблизительно 1,5 миллиметра, более предпочтительно менее приблизительно 1250 микрометров, еще более предпочтительно менее приблизительно 1000 микрометров. В особенно предпочтительных вариантах осуществления периферийная стенка второго полого трубчатого сегмента элемента, охлаждающего аэрозоль, имеет толщину менее приблизительно 900 микрометров, предпочтительно менее приблизительно 800 микрометров.

В одном варианте осуществления периферийная стенка второго полого трубчатого сегмента элемента, охлаждающего аэрозоль, имеет толщину приблизительно 2 миллиметра.

Элемент, охлаждающий аэрозоль, может иметь длину от 5 миллиметров до 15 миллиметров.

Предпочтительно элемент, охлаждающий аэрозоль, имеет длину по меньшей мере приблизительно 6 миллиметров, более предпочтительно по меньшей мере приблизительно 7 миллиметров.

В предпочтительных вариантах осуществления элемент, охлаждающий аэрозоль, имеет длину менее приблизительно 12 миллиметров, более предпочтительно менее приблизительно 10 миллиметров.

В некоторых вариантах осуществления элемент, охлаждающий аэрозоль, имеет длину от приблизительно 5 миллиметров до приблизительно 15 миллиметров, предпочтительно от приблизительно 6 миллиметров до приблизительно 15 миллиметров, более предпочтительно от приблизительно 7 миллиметров до приблизительно 15 миллиметров. В других вариантах осуществления элемент, охлаждающий аэрозоль, имеет длину от приблизительно 5 миллиметров до приблизительно 12 миллиметров, предпочтительно от приблизительно 6 миллиметров до приблизительно 12 миллиметров, более предпочтительно от приблизительно 7 миллиметров до приблизительно 12 миллиметров. В дополнительных вариантах осуществления элемент, охлаждающий аэрозоль, имеет длину от приблизительно 5 миллиметров до приблизительно 10 миллиметров, предпочтительно от приблизительно 6 миллиметров до приблизительно 10 миллиметров, более предпочтительно от приблизительно 7 миллиметров до приблизительно 10 миллиметров.

В особенно предпочтительных вариантах осуществления настоящего изобретения элемент, охлаждающий аэрозоль, имеет длину менее 10 миллиметров. Например, в одном особенно предпочтительном варианте осуществления элемент, охлаждающий аэрозоль, имеет длину 8 миллиметров. Следовательно, в таких вариантах осуществления элемент, охлаждающий аэрозоль, имеет относительно малую длину по сравнению с элементами, охлаждающими аэрозоль, изделий, генерирующих аэрозоль, известного уровня техники. Уменьшение длины элемента, охлаждающего аэрозоль, возможно благодаря оптимизированной эффективности полого трубчатого сегмента, образующего элемент, охлаждающий аэрозоль, при охлаждении и нуклеации аэрозоля. Уменьшение длины элемента, охлаждающего аэрозоль, преимущественно уменьшает риск деформации изделия, генерирующего аэрозоль, благодаря сжатию во время использования, так как элемент, охлаждающий аэрозоль, как правило, имеет меньшее сопротивление деформации, чем мундштук. Кроме того, уменьшение длины элемента, охлаждающего аэрозоль, может обеспечить низкую себестоимость для производителя, так как стоимость полого трубчатого сегмента, как правило, выше за единицу длины, чем стоимость других элементов, таких как мундштучный элемент.

Соотношение между длиной элемента, охлаждающего аэрозоль, и длиной стержня субстрата, генерирующего аэрозоль, может составлять от приблизительно 0,25 до приблизительно 1.

Предпочтительно соотношение между длиной элемента, охлаждающего аэрозоль, и длиной стержня субстрата, генерирующего аэрозоль, составляет по меньшей мере приблизительно 0,3, более предпочтительно по меньшей мере приблизительно 0,4, еще более предпочтительно по меньшей мере приблизительно 0,5. В предпочтительных вариантах осуществления соотношение между длиной элемента, охлаждающего аэрозоль, и длиной стержня субстрата, генерирующего аэрозоль, составляет менее приблизительно 0,9, более предпочтительно менее приблизительно 0,8, еще более предпочтительно менее приблизительно 0,7.

В некоторых вариантах осуществления соотношение между длиной элемента, охлаждающего аэрозоль, и длиной стержня субстрата, генерирующего аэрозоль, составляет от приблизительно 0,3 до приблизительно 0,9, предпочтительно от приблизительно 0,4 до приблизительно 0,9, более предпочтительно от приблизительно 0,5 до приблизительно 0,9. В других вариантах осуществления соотношение между длиной элемента, охлаждающего аэрозоль, и длиной стержня субстрата, генерирующего аэрозоль, составляет от приблизительно 0,3 до приблизительно 0,8, предпочтительно от приблизительно 0,4 до приблизительно 0,8, более предпочтительно от приблизительно 0,5 до приблизительно 0,8. В дополнительных вариантах осуществления соотношение между длиной элемента, охлаждающего аэрозоль, и длиной стержня субстрата, генерирующего аэрозоль, составляет от приблизительно 0,3 до приблизительно 0,7, предпочтительно от приблизительно 0,4 до приблизительно 0,7, более предпочтительно от приблизительно 0,5 до приблизительно 0,7.

В особенно предпочтительных вариантах осуществления соотношение между длиной элемента, охлаждающего аэрозоль, и длиной стержня субстрата, генерирующего аэрозоль, составляет приблизительно 0,66.

Соотношение между длиной элемента, охлаждающего аэрозоль, и общей длиной субстрата изделия, генерирующего аэрозоль, может составлять от приблизительно 0,125 до приблизительно 0,375.

Предпочтительно соотношение между длиной элемента, охлаждающего аэрозоль, и общей длиной субстрата изделия, генерирующего аэрозоль, составляет по меньшей мере приблизительно 0,13, более предпочтительно по меньшей мере приблизительно 0,14, еще более предпочтительно по меньшей мере приблизительно 0,15. Соотношение между длиной элемента, охлаждающего аэрозоль, и общей длиной субстрата изделия, генерирующего аэрозоль, составляет предпочтительно менее приблизительно 0,3, более предпочтительно менее приблизительно 0,25, еще более предпочтительно менее приблизительно 0,20.

В некоторых вариантах осуществления соотношение между длиной элемента, охлаждающего аэрозоль, и общей длиной субстрата изделия, генерирующего аэрозоль, составляет предпочтительно от приблизительно 0,13 до приблизительно 0,3, более предпочтительно от приблизительно 0,14 до приблизительно 0,3, еще более предпочтительно от приблизительно 0,15 до приблизительно 0,3. В других вариантах осуществления соотношение между длиной элемента, охлаждающего аэрозоль, и общей длиной субстрата изделия, генерирующего аэрозоль, составляет предпочтительно от приблизительно 0,13 до приблизительно 0,25, более предпочтительно от приблизительно 0,14 до приблизительно 0,25, еще более предпочтительно от приблизительно 0,15 до приблизительно 0,25. В дополнительных вариантах осуществления соотношение между длиной элемента, охлаждающего аэрозоль, и общей длиной субстрата изделия, генерирующего аэрозоль, составляет предпочтительно от приблизительно 0,13 до приблизительно 0,2, более предпочтительно от приблизительно 0,14 до приблизительно 0,2, еще более предпочтительно от приблизительно 0,15 до приблизительно 0,2.

В особенно предпочтительном варианте осуществления соотношение между длиной элемента, охлаждающего аэрозоль, и общей длиной субстрата изделия, генерирующего аэрозоль, составляет приблизительно 0,18.

Предпочтительно длина мундштучного элемента на по меньшей мере 1 миллиметр больше, чем длина элемента, охлаждающего аэрозоль, более предпочтительно на по меньшей мере 2 миллиметра больше, чем длина элемента, охлаждающего аэрозоль, более предпочтительно на по меньшей мере 3 миллиметра больше, чем длина элемента, охлаждающего аэрозоль. Уменьшение длины элемента, охлаждающего аэрозоль, как описано выше, может преимущественно позволить увеличивать длину других элементов изделия, генерирующего аэрозоль, таких как мундштучный элемент. Потенциальные технические преимущества обеспечения относительно длинного мундштучного элемента описаны выше.

Предпочтительно в изделиях, генерирующих аэрозоль, в соответствии с настоящем изобретением элемент, охлаждающий аэрозоль, имеет среднюю радиальную твердость по меньшей мере приблизительно 80 процентов, более предпочтительно по меньшей мере приблизительно 85 процентов, еще более предпочтительно по меньшей мере приблизительно 90 процентов. Следовательно, элемент, охлаждающий аэрозоль, способен обеспечивать желаемый уровень твердости изделию, генерирующему аэрозоль.

При желании радиальную твердость элемента, охлаждающего аэрозоль, изделий, генерирующих аэрозоль, в соответствии с настоящим изобретением можно дополнительно увеличить посредством окружения элемента, охлаждающего аэрозоль, жесткой фицеллой, например, фицеллой, имеющей основную массу по меньшей мере приблизительно 80 грамм на квадратный метр (г/м2), или по меньшей мере приблизительно 100 г/м2, или по меньшей мере приблизительно 110 г/м2.

В контексте настоящего документа термин «радиальная твердость» относится к сопротивлению сжатию в направлении, поперечном продольной оси опорного элемента. Радиальную твердость изделия, генерирующего аэрозоль, вокруг опорного элемента можно определить путем приложения нагрузки вдоль изделия в местоположении опорного элемента поперечно продольной оси изделия и измерения средних (усредненных) сжатых диаметров изделий. Радиальную твердость определяют следующим образом:

где DS - это исходный (несжатый) диаметр, а Dd - это сжатый диаметр после приложения установленной нагрузки в течение установленного периода времени. Чем тверже материал, тем ближе твердость к 100 процентам.

Чтобы определить твердость некоторой части (такой как опорный элемент, обеспеченный в форме полого трубчатого сегмента) аэрозольного изделия, изделия, генерирующие аэрозоль, следует выровнять параллельно в плоскости, и одну и ту же часть каждого изделия, генерирующего аэрозоль, которая подлежит испытанию, следует подвергнуть действию установленной нагрузки в течение установленного периода времени. Это испытание проводят с использованием известного денсиметрического устройства DD60A (изготавливаемого и производимого на рынок компанией Heinr Borgwaldt Gmbh, Германия), оснащенного измерительной головкой для изделий, генерирующих аэрозоль, таких как сигареты, и контейнером для изделия, генерирующего аэрозоль.

Нагрузку прилагают при помощи двух цилиндрических валов для приложения нагрузки, которые пересекают диаметр всех изделий, генерирующих аэрозоль, одновременно. Согласно стандартному методу проведения испытания для этого измерительного прибора испытание следует проводить так, чтобы между изделиями, генерирующими аэрозоль, и цилиндрическими валами для приложения нагрузки возникало двадцать точек контакта. В некоторых случаях подлежащие испытанию полые трубчатые сегменты могут быть достаточно длинными, чтобы только десять изделий, генерирующих аэрозоль, требовалось для образования двадцати точек контакта, и при этом каждое курительное изделие контактировало с обоими валами для приложения нагрузки (потому что они достаточно длинные, чтобы проходить между валами). В других случаях, если опорные элементы слишком короткие, чтобы добиться этого, для образования двадцати точек контакта следует использовать двадцать изделий, генерирующих аэрозоль, и при этом каждое изделие, генерирующее аэрозоль, контактирует только с одним из валов для приложения нагрузки, что дополнительно рассмотрено ниже.

Два дополнительных стационарных цилиндрических вала расположены под изделиями, генерирующими аэрозоль, чтобы поддерживать изделия, генерирующие аэрозоль, и противодействовать нагрузке, прилагаемой каждым из цилиндрических валов для приложения нагрузки.

При стандартном для такого приспособления режиме работы общую нагрузку в 2 кг прилагают в течение 20 секунд. По истечении 20 секунд (и когда к курительным изделиям продолжают прилагать нагрузку) определяют понижение цилиндрических валов для приложения нагрузки, и затем используют это значение для вычисления твердости согласно приведенному выше уравнению. Температуру поддерживают в районе 22 градусов Цельсия ± 2 градуса. Описанное выше испытание называют испытанием DD60A. Стандартный способ измерения твердости фильтра осуществляют, когда изделие, генерирующее аэрозоль, не израсходовано. Дополнительную информацию относительно измерения средней радиальной твердости можно найти, например, в опубликованной публикации заявки на патент США № 2016/0128378.

Элемент, охлаждающий аэрозоль, может быть образован из любого подходящего материала или комбинации материалов. Например, элемент, охлаждающий аэрозоль, может быть образован из одного или более материалов, выбранных из группы, состоящей из: ацетата целлюлозы; картона; гофрированной бумаги, такой как гофрированная теплостойкая бумага или гофрированная пергаментная бумага; и полимерных материалов, таких как полиэтилен низкой плотности (LDPE). Другие подходящие материалы включают волокна полигидроксиалканоата (PHA).

В предпочтительном варианте осуществления элемент, охлаждающий аэрозоль, образован из ацетата целлюлозы.

Зона вентиляции содержит множество перфорационных отверстий сквозь периферийную стенку элемента, охлаждающего аэрозоль. Предпочтительно зона вентиляции содержит по меньшей мере один кольцевой ряд перфорационных отверстий. В некоторых вариантах осуществления зона вентиляции может содержать два кольцевых ряда перфорационных отверстий. Например, перфорационные отверстия могут быть образованы на производственной линии в процессе изготовления изделия, генерирующего аэрозоль. Предпочтительно каждый кольцевой ряд перфорационных отверстий содержит от 8 до 30 перфорационных отверстий.

Если изделие, генерирующее аэрозоль, содержит объединяющую заглушку для прикрепления элемента, охлаждающего аэрозоль, к одному или более из других компонентов изделия, генерирующего аэрозоль, зона вентиляции предпочтительно содержит по меньшей мере один соответствующий кольцевой ряд перфорационных отверстий, обеспеченных сквозь часть объединяющей фицеллы. Они также могут быть образованы на производственной линии в процессе изготовления курительного изделия. Предпочтительно кольцевой ряд или кольцевые ряды перфорационных отверстий, обеспеченных сквозь часть объединяющей фицеллы, по существу находятся в выравнивании с рядом или рядами перфорационных отверстий сквозь периферийную стенку элемента, охлаждающего аэрозоль.

Если изделие, генерирующее аэрозоль, содержит полосу ободковой бумаги для прикрепления элемента, охлаждающего аэрозоль, к мундштучному элементу изделия, генерирующего аэрозоль, при этом полоса ободковой бумаги проходит над кольцевым рядом или кольцевыми рядами перфорационных отверстий в периферийной стенке элемента, охлаждающего аэрозоль, то зона вентиляции предпочтительно содержит по меньшей мере один соответствующий кольцевой ряд перфорационных отверстий, обеспеченных сквозь полосу ободковой бумаги. Они также могут быть образованы на производственной линии в процессе изготовления курительного изделия. Предпочтительно кольцевой ряд или кольцевые ряды перфорационных отверстий, обеспеченных сквозь полосу ободковой бумаги, по существу находятся в выравнивании с рядом или рядами перфорационных отверстий сквозь периферийную стенку элемента, охлаждающего аэрозоль.

В некоторых вариантах осуществления расстояние между зоной вентиляции и расположенным раньше по ходу потока концом полого трубчатого сегмента элемента, охлаждающего аэрозоль, составляет по меньшей мере приблизительно 1 миллиметр. Предпочтительно расстояние между зоной вентиляции и расположенным раньше по ходу потока концом полого трубчатого сегмента элемента, охлаждающего аэрозоль, составляет по меньшей мере приблизительно 2 миллиметра. Более предпочтительно расстояние между зоной вентиляции и расположенным раньше по ходу потока концом полого трубчатого сегмента элемента, охлаждающего аэрозоль, составляет по меньшей мере приблизительно 3 миллиметра.

В некоторых вариантах осуществления расстояние между зоной вентиляции и расположенным раньше по ходу потока концом полого трубчатого сегмента элемента, охлаждающего аэрозоль, составляет приблизительно 6 миллиметров или меньше. Предпочтительно расстояние между зоной вентиляции и расположенным раньше по ходу потока концом полого трубчатого сегмента элемента, охлаждающего аэрозоль, составляет приблизительно 5 миллиметров или меньше. Более предпочтительно расстояние между зоной вентиляции и расположенным раньше по ходу потока концом полого трубчатого сегмента элемента, охлаждающего аэрозоль, составляет приблизительно 4 миллиметра или меньше.

В некоторых вариантах осуществления расстояние между зоной вентиляции и расположенным раньше по ходу потока концом полого трубчатого сегмента элемента, охлаждающего аэрозоль, составляет от приблизительно 1 миллиметра до приблизительно 6 миллиметров, предпочтительно от приблизительно 1 миллиметра до приблизительно 5 миллиметров, более предпочтительно от приблизительно 1 миллиметра до приблизительно 4 миллиметров. В других вариантах осуществления расстояние между зоной вентиляции и расположенным раньше по ходу потока концом полого трубчатого сегмента элемента, охлаждающего аэрозоль, составляет от приблизительно 2 миллиметров до приблизительно 6 миллиметров, предпочтительно от приблизительно 2 миллиметров до приблизительно 5 миллиметров, более предпочтительно от приблизительно 2 миллиметров до приблизительно 4 миллиметров. В дополнительных вариантах осуществления расстояние между зоной вентиляции и расположенным раньше по ходу потока концом полого трубчатого сегмента элемента, охлаждающего аэрозоль, составляет от приблизительно 3 миллиметров до приблизительно 6 миллиметров, предпочтительно от приблизительно 3 миллиметров до приблизительно 5 миллиметров, более предпочтительно от приблизительно 3 миллиметров до приблизительно 4 миллиметров.

Расстояние между зоной вентиляции и мундштучным концом изделия, генерирующего аэрозоль, составляет предпочтительно по меньшей мере приблизительно 10 миллиметров. Более предпочтительно расстояние между зоной вентиляции и мундштучным концом изделия, генерирующего аэрозоль, составляет по меньшей мере приблизительно 12 миллиметров. Еще более предпочтительно расстояние между зоной вентиляции и мундштучным концом изделия, генерирующего аэрозоль, составляет по меньшей мере приблизительно 16 миллиметров.

Расстояние между зоной вентиляции и мундштучным концом изделия, генерирующего аэрозоль, составляет предпочтительно приблизительно 26 миллиметров или меньше. Более предпочтительно расстояние между зоной вентиляции и мундштучным концом изделия, генерирующего аэрозоль, составляет приблизительно 24 миллиметра или меньше. Еще более предпочтительно расстояние между зоной вентиляции и мундштучным концом изделия, генерирующего аэрозоль, составляет приблизительно 22 миллиметра или меньше. В особенно предпочтительных вариантах осуществления расстояние между зоной вентиляции и мундштучным концом изделия, генерирующего аэрозоль, составляет приблизительно 20 миллиметров или меньше.

В некоторых вариантах осуществления расстояние между зоной вентиляции и мундштучным концом изделия, генерирующего аэрозоль, составляет от приблизительно 10 миллиметров до приблизительно 26 миллиметров, предпочтительно от приблизительно 10 миллиметров до приблизительно 24 миллиметров, более предпочтительно от приблизительно 10 миллиметров до приблизительно 22 миллиметров, еще более предпочтительно от приблизительно 10 миллиметров до приблизительно 20 миллиметров. В других вариантах осуществления расстояние между зоной вентиляции и мундштучным концом изделия, генерирующего аэрозоль, составляет от приблизительно 12 миллиметров до приблизительно 26 миллиметров, предпочтительно от приблизительно 12 миллиметров до приблизительно 24 миллиметров, более предпочтительно от приблизительно 12 миллиметров до приблизительно 22 миллиметров, еще более предпочтительно от приблизительно 12 миллиметров до приблизительно 20 миллиметров. В дополнительных вариантах осуществления расстояние между зоной вентиляции и мундштучным концом изделия, генерирующего аэрозоль, составляет от приблизительно 14 миллиметров до приблизительно 26 миллиметров, предпочтительно от приблизительно 14 миллиметров до приблизительно 24 миллиметров, более предпочтительно от приблизительно 14 миллиметров до приблизительно 22 миллиметров, еще более предпочтительно от приблизительно 14 миллиметров до приблизительно 20 миллиметров. В еще одних дополнительных вариантах осуществления расстояние между зоной вентиляции и мундштучным концом изделия, генерирующего аэрозоль, составляет от приблизительно 16 миллиметров до приблизительно 26 миллиметров, предпочтительно от приблизительно 16 миллиметров до приблизительно 24 миллиметров, более предпочтительно от приблизительно 16 миллиметров до приблизительно 22 миллиметров, еще более предпочтительно от приблизительно 16 миллиметров до приблизительно 20 миллиметров.

Расстояние между зоной вентиляции и расположенным раньше по ходу потока концом расположенной дальше по ходу потока секции составляет предпочтительно по меньшей мере приблизительно 6 миллиметров. Более предпочтительно расстояние между зоной вентиляции и расположенным раньше по ходу потока концом расположенной дальше по ходу потока секции составляет по меньшей мере приблизительно 8 миллиметров. Еще более предпочтительно расстояние между зоной вентиляции и расположенным раньше по ходу потока концом расположенной дальше по ходу потока секции составляет по меньшей мере приблизительно 10 миллиметров.

Расстояние между зоной вентиляции и расположенным раньше по ходу потока концом расположенной дальше по ходу потока секции составляет предпочтительно приблизительно 20 миллиметров или меньше. Более предпочтительно расстояние между зоной вентиляции и расположенным раньше по ходу потока концом расположенной дальше по ходу потока секции составляет приблизительно 18 миллиметров или меньше. Еще более предпочтительно расстояние между зоной вентиляции и расположенным раньше по ходу потока концом расположенной дальше по ходу потока секции составляет приблизительно 16 миллиметров или меньше.

В некоторых вариантах осуществления расстояние между зоной вентиляции и расположенным раньше по ходу потока концом расположенной дальше по ходу потока секции составляет предпочтительно от приблизительно 6 миллиметров до приблизительно 20 миллиметров, более предпочтительно от приблизительно 8 миллиметров до приблизительно 20 миллиметров, еще более предпочтительно от приблизительно 10 миллиметров до приблизительно 20 миллиметров. В других вариантах осуществления расстояние между зоной вентиляции и расположенным раньше по ходу потока концом расположенной дальше по ходу потока секции составляет предпочтительно от приблизительно 6 миллиметров до приблизительно 18 миллиметров, более предпочтительно от приблизительно 8 миллиметров до приблизительно 18 миллиметров, еще более предпочтительно от приблизительно 10 миллиметров до приблизительно 18 миллиметров. В дополнительных вариантах осуществления расстояние между зоной вентиляции и расположенным раньше по ходу потока концом расположенной дальше по ходу потока секции составляет предпочтительно от приблизительно 6 миллиметров до приблизительно 16 миллиметров, более предпочтительно от приблизительно 8 миллиметров до приблизительно 16 миллиметров, еще более предпочтительно от приблизительно 10 миллиметров до приблизительно 16 миллиметров.

Расстояние между зоной вентиляции и расположенным дальше по ходу потока концом токоприемника составляет предпочтительно по меньшей мере приблизительно 6 миллиметров. Более предпочтительно расстояние между зоной вентиляции и расположенным дальше по ходу потока концом токоприемника составляет по меньшей мере приблизительно 8 миллиметров. Еще более предпочтительно расстояние между зоной вентиляции и расположенным дальше по ходу потока концом токоприемника составляет по меньшей мере приблизительно 10 миллиметров.

Расстояние между зоной вентиляции и расположенным дальше по ходу потока концом токоприемника составляет предпочтительно приблизительно 20 миллиметров или меньше. Более предпочтительно расстояние между зоной вентиляции и расположенным дальше по ходу потока концом токоприемника составляет приблизительно 18 миллиметров или меньше. Еще более предпочтительно расстояние между зоной вентиляции и расположенным дальше по ходу потока концом токоприемника составляет приблизительно 16 миллиметров или меньше.

В некоторых вариантах осуществления расстояние между зоной вентиляции и расположенным дальше по ходу потока концом токоприемника составляет предпочтительно от приблизительно 6 миллиметров до приблизительно 20 миллиметров, более предпочтительно от приблизительно 8 миллиметров до приблизительно 20 миллиметров, еще более предпочтительно от приблизительно 10 миллиметров до приблизительно 20 миллиметров. В других вариантах осуществления расстояние между зоной вентиляции и расположенным дальше по ходу потока концом токоприемника составляет предпочтительно от приблизительно 6 миллиметров до приблизительно 18 миллиметров, более предпочтительно от приблизительно 8 миллиметров до приблизительно 18 миллиметров, еще более предпочтительно от приблизительно 10 миллиметров до приблизительно 18 миллиметров. В дополнительных вариантах осуществления расстояние между зоной вентиляции и расположенным дальше по ходу потока концом токоприемника составляет предпочтительно от приблизительно 6 миллиметров до приблизительно 16 миллиметров, более предпочтительно от приблизительно 8 миллиметров до приблизительно 16 миллиметров, еще более предпочтительно от приблизительно 10 миллиметров до приблизительно 16 миллиметров.

Изделие, генерирующее аэрозоль, в соответствии с настоящим изобретением может иметь уровень вентиляции по меньшей мере приблизительно 5 процентов.

Термин «уровень вентиляции» используется по всему настоящему описанию для обозначения объемного соотношения между потоком воздуха, впущенным в изделие, генерирующее аэрозоль, через зону вентиляции (поток вентиляционного воздуха), и суммой потока воздуха, содержащего аэрозоль, и потока вентиляционного воздуха. Чем выше уровень вентиляции, тем больше разбавление потока аэрозоля, доставляемого потребителю.

Уровень вентиляции изделия, генерирующего аэрозоль, может обычно составлять по меньшей мере приблизительно 10 процентов, предпочтительно по меньшей мере приблизительно 15 процентов, более предпочтительно по меньшей мере приблизительно 20 процентов.

В предпочтительных вариантах осуществления уровень вентиляции изделия, генерирующего аэрозоль, составляет по меньшей мере приблизительно 25 процентов.

Изделие, генерирующее аэрозоль, предпочтительно имеет уровень вентиляции менее приблизительно 60 процентов.

Изделие, генерирующее аэрозоль, в соответствии с настоящим изобретением предпочтительно имеет уровень вентиляции приблизительно 45 процентов или меньше. Более предпочтительно изделие, генерирующее аэрозоль, в соответствии с настоящим изобретением имеет уровень вентиляции приблизительно 40 процентов или меньше, еще более предпочтительно приблизительно 35 процентов или меньше.

В особенно предпочтительных вариантах осуществления изделие, генерирующее аэрозоль, имеет уровень вентиляции приблизительно 30 процентов.

В некоторых вариантах осуществления изделие, генерирующее аэрозоль, имеет уровень вентиляции от приблизительно 20 процентов до приблизительно 60 процентов, предпочтительно от приблизительно 20 процентов до приблизительно 45 процентов, более предпочтительно от приблизительно 20 процентов до приблизительно 40 процентов. В других вариантах осуществления изделие, генерирующее аэрозоль, имеет уровень вентиляции от приблизительно 25 процентов до приблизительно 60 процентов, предпочтительно от приблизительно 25 процентов до приблизительно 45 процентов, более предпочтительно от приблизительно 25 процентов до приблизительно 40 процентов. В дополнительных вариантах осуществления изделие, генерирующее аэрозоль, имеет уровень вентиляции от приблизительно 30 процентов до приблизительно 60 процентов, предпочтительно от приблизительно 30 процентов до приблизительно 45 процентов, более предпочтительно от приблизительно 30 процентов до приблизительно 40 процентов.

В особенно предпочтительных вариантах осуществления изделие, генерирующее аэрозоль, имеет уровень вентиляции от приблизительно 28 процентов до приблизительно 42 процентов. В некоторых особенно предпочтительных вариантах осуществления изделие, генерирующее аэрозоль, имеет уровень вентиляции приблизительно 30 процентов.

Не ограничиваясь теорией, авторы настоящего изобретения обнаружили, что перепад температуры, вызванный впуском более холодного внешнего воздуха в полый трубчатый сегмент через зону вентиляции, может оказывать преимущественный эффект на нуклеацию и рост частиц аэрозоля.

Образование аэрозоля из газообразной смеси, содержащей различные химические соединения, зависит от тонкого взаимодействия нуклеации, испарения и конденсации, а также слияния капель, с одновременным учетом изменений в концентрации пара, температуре и полях скоростей. Так называемая классическая теория нуклеации основана на предположении, что доля молекул в газовой фазе является достаточно большой для того, чтобы они оставались сцепленными в течение длительного времени с достаточной вероятностью (например, с вероятностью пятьдесят на пятьдесят). Эти молекулы представляют некоторого рода критические пороговые молекулярные кластеры среди короткоживущих молекулярных агрегатов, и это означает, что, в целом, молекулярные кластеры меньшего размера в газовой фазе с большей вероятностью распадаются достаточно быстро, тогда как кластеры большего размера, в целом, с большей вероятностью растут. Такой критический кластер отождествляют с ключевым ядром нуклеации, из которого ожидается рост капель вследствие конденсации молекул из пара. Предполагается, что первичные капли, которые только что образовались, появляются с определенным исходным диаметром, а затем могут вырастать на несколько порядков величины. Это упрощается и может ускоряться за счет быстрого охлаждения окружающего пара, которое вызывает конденсацию. Так, это помогает учесть, что испарение и конденсация являются двумя сторонами одного механизма, а именно массопереноса между газом и жидкостью. Тогда как испарение относится к чистому массопереносу из жидких капель в газовую фазу, конденсация представляет собой чистый массоперенос из газовой фазы в фазу капель. Испарение (или конденсация) будет вызывать уменьшение объема (или рост) капель, но не будет изменять количество капель.

В данном сценарии, который может дополнительно усложняться явлениями слияния капель, температура и скорость охлаждения могут играть важную роль в определении отклика системы. В целом, разные скорости охлаждения могут приводить к значительно отличающемуся поведению во времени в том, что касается образования жидкой фазы (капель), поскольку процесс нуклеации обычно является нелинейным. Не ограничиваясь теорией, предполагается что, охлаждение может вызывать быстрое уменьшение числовой концентрации капель, за которым следует сильное кратковременное увеличение их роста (всплеск нуклеации). Данный всплеск нуклеации может оказаться более значительным при менее высоких температурах. Кроме того, может оказаться, что более высокие скорости охлаждения могут способствовать более раннему началу нуклеации. Для сравнения, уменьшение скорости охлаждения может оказывать благоприятный эффект на конечный размер, которого в конечном итоге достигают капли аэрозоля.

Таким образом, быстрое охлаждение, вызванное впуском внешнего воздуха в полый трубчатый сегмент через зону вентиляции, может быть благоприятно использовано для способствования нуклеации и росту капель аэрозоля. Однако в то же время непосредственным недостатком впуска внешнего воздуха в полый трубчатый сегмент является разбавление струи аэрозоля, доставляемой потребителю.

Авторы настоящего изобретения неожиданно обнаружили как благоприятный эффект улучшенной нуклеации, обеспеченной быстрым охлаждением, вызванным введением вентиляционного воздуха в изделие, способен значительно противодействовать менее желательным эффектам разбавления. По существу, удовлетворительные значения доставки аэрозоля согласованно достигаются изделиями, генерирующими аэрозоль, в соответствии с настоящим изобретением.

Авторы настоящего изобретения также неожиданно обнаружили, что влияние разбавления на аэрозоль, которое можно оценить путем измерения, в частности, влияние на доставку вещества для образования аэрозоля (такого как глицерол, содержащийся в субстрате, генерирующем аэрозоль) преимущественно сводится к минимуму, когда уровень вентиляции находится в пределах диапазонов, описанных выше. В частности, было обнаружено, что уровни вентиляции от 25 процентов до 50 процентов, и еще более предпочтительно от 28 до 42 процентов приводят к особенно удовлетворительным значениям доставки глицерина. В то же время, длительность нуклеации и, следовательно, доставка никотина и вещества для образования аэрозоля (например, глицерола) улучшаются.

Это является особенно преимущественным для «коротких» изделий, генерирующих аэрозоль, таких как изделия, в которых длина стержня субстрата, генерирующего аэрозоль, составляет менее приблизительно 40 миллиметров, предпочтительно менее 25 миллиметров, еще более предпочтительно менее 20 миллиметров, или в которых общая длина изделия, генерирующего аэрозоль, составляет менее приблизительно 70 миллиметров, предпочтительно менее приблизительно 60 миллиметров, еще более предпочтительно менее 50 миллиметров. Следует понимать, что в таких изделиях, генерирующих аэрозоль, имеется мало времени и пространства для образования аэрозоля и для того, чтобы сделать фазу аэрозоля в виде частиц доступной для доставки потребителю.

Кроме того, поскольку вентилируемый полый трубчатый сегмент по существу не влияет на общее RTD изделия, генерирующего аэрозоль, в изделиях, генерирующих аэрозоль, в соответствии с настоящим изобретением общее RTD изделия можно преимущественно точно регулировать путем регулировки длины и плотности стержня субстрата, генерирующего аэрозоль, или длины и необязательно длины и плотности сегмента фильтрующего материала, образующего часть мундштука, или длины и плотности сегмента фильтрующего материала, обеспеченного раньше по ходу потока относительно субстрата, генерирующего аэрозоль, и токоприемника. Таким образом, изделия, генерирующие аэрозоль, которые имеют заданное RTD, можно изготавливать качественно и с большей точностью, так что для потребителя можно обеспечить удовлетворительные уровни RTD даже в присутствии вентиляции.

Как описано выше, промежуточная полая секция изделий, генерирующих аэрозоль, согласно настоящему изобретению дополнительно содержит опорный элемент, расположенный в выравнивании со стержнем субстрата, генерирующего аэрозоль, и дальше по ходу потока относительно него. В частности, опорный элемент может быть размещен непосредственно дальше по ходу потока относительно стержня субстрата, генерирующего аэрозоль, и может примыкать к стержню субстрата, генерирующего аэрозоль.

Опорный элемент может быть образован из любого подходящего материала или комбинации материалов. Например, опорный элемент может быть образован из одного или более материалов, выбранных из группы, состоящей из: ацетата целлюлозы; картона; гофрированной бумаги, такой как гофрированная теплостойкая бумага или гофрированная пергаментная бумага; и полимерных материалов, таких как полиэтилен низкой плотности (LDPE). В предпочтительном варианте осуществления опорный элемент образован из ацетата целлюлозы. Другие подходящие материалы включают волокна полигидроксиалканоата (PHA).

В предпочтительном варианте осуществления опорный элемент содержит полую ацетилцеллюлозную трубку в качестве первого трубчатого сегмента.

Опорный элемент расположен по существу в выравнивании со стержнем. Это означает, что размер по длине опорного элемента расположен приблизительно параллельно продольному направлению стержня и изделия, например, в диапазоне плюс-минус 10 градусов параллельно продольному направлению стержня. В предпочтительных вариантах осуществления опорный элемент проходит вдоль продольной оси стержня.

Опорный элемент предпочтительно имеет наружный диаметр, который приблизительно равен наружному диаметру стержня субстрата, генерирующего аэрозоль, и наружному диаметру изделия, генерирующего аэрозоль.

Опорный элемент может иметь наружный диаметр от 5 миллиметров до 12 миллиметров, например, от 5 миллиметров до 10 миллиметров или от 6 миллиметров до 8 миллиметров. В предпочтительном варианте осуществления опорный элемент имеет наружный диаметр 7,2 миллиметра плюс-минус 10 процентов.

Периферийная стенка опорного элемента может иметь толщину по меньшей мере 1 миллиметр, предпочтительно по меньшей мере приблизительно 1,5 миллиметра, более предпочтительно по меньшей мере приблизительно 2 миллиметра.

Внутренний диаметр первого полого трубчатого сегмента опорного элемента предпочтительно составляет по меньшей мере приблизительно 1 миллиметр. Более предпочтительно, внутренний диаметр первого полого трубчатого сегмента опорного элемента составляет по меньшей мере приблизительно 1,2 миллиметра. Даже более предпочтительно внутренний диаметр полого трубчатого сегмента опорного элемента составляет по меньшей мере приблизительно 1,5 миллиметра. В особенно предпочтительных вариантах осуществления внутренний диаметр первого полого трубчатого сегмента опорного элемента составляет по меньшей мере приблизительно 1,7 миллиметра.

В предпочтительных вариантах осуществления внутренний диаметр первого полого трубчатого сегмента опорного элемента составляет по меньшей мере приблизительно 1,9 миллиметра.

Опорный элемент может иметь длину от приблизительно 5 миллиметров до приблизительно 15 миллиметров.

Предпочтительно опорный элемент имеет длину по меньшей мере приблизительно 6 миллиметров, более предпочтительно по меньшей мере приблизительно 7 миллиметров.

В предпочтительных вариантах осуществления опорный элемент имеет длину менее приблизительно 12 миллиметров, более предпочтительно менее приблизительно 10 миллиметров.

В некоторых вариантах осуществления опорный элемент имеет длину от приблизительно 5 миллиметров до приблизительно 15 миллиметров, более предпочтительно от приблизительно 6 миллиметров до приблизительно 15 миллиметров, более предпочтительно от приблизительно 7 миллиметров до приблизительно 15 миллиметров. В других вариантах осуществления опорный элемент имеет длину от приблизительно 5 миллиметров до приблизительно 12 миллиметров, предпочтительно от приблизительно 6 миллиметров до приблизительно 12 миллиметров, более предпочтительно от приблизительно 7 миллиметров до приблизительно 12 миллиметров. В дополнительных вариантах осуществления опорный элемент имеет длину от приблизительно 5 миллиметров до приблизительно 10 миллиметров, предпочтительно от приблизительно 6 миллиметров до приблизительно 10 миллиметров, более предпочтительно от приблизительно 7 миллиметров до приблизительно 10 миллиметров.

В предпочтительном варианте осуществления опорный элемент имеет длину приблизительно 8 миллиметров.

Предпочтительно, общая длина промежуточной полой секции составляет не более приблизительно 18 миллиметров, более предпочтительно не более приблизительно 17 миллиметров, еще более предпочтительно не более 16 миллиметров.

Соотношение между длиной опорного элемента и длиной стержня субстрата, генерирующего аэрозоль, может составлять от приблизительно 0,25 до приблизительно 1.

Предпочтительно соотношение между длиной опорного элемента и длиной стержня субстрата, генерирующего аэрозоль, составляет по меньшей мере приблизительно 0,3, более предпочтительно по меньшей мере приблизительно 0,4, еще более предпочтительно по меньшей мере приблизительно 0,5. В предпочтительных вариантах осуществления соотношение между длиной опорного элемента и длиной стержня субстрата, генерирующего аэрозоль, составляет менее приблизительно 0,9, более предпочтительно менее приблизительно 0,8, еще более предпочтительно менее приблизительно 0,7.

В некоторых вариантах осуществления соотношение между длиной опорного элемента и длиной стержня субстрата, генерирующего аэрозоль, составляет от приблизительно 0,3 до приблизительно 0,9, предпочтительно от приблизительно 0,4 до приблизительно 0,9, более предпочтительно от приблизительно 0,5 до приблизительно 0,9. В других вариантах осуществления соотношение между длиной опорного элемента и длиной стержня субстрата, генерирующего аэрозоль, составляет от приблизительно 0,3 до приблизительно 0,8, предпочтительно от приблизительно 0,4 до приблизительно 0,8, более предпочтительно от приблизительно 0,5 до приблизительно 0,8. В дополнительных вариантах осуществления соотношение между длиной опорного элемента и длиной стержня субстрата, генерирующего аэрозоль, составляет от приблизительно 0,3 до приблизительно 0,7, предпочтительно от приблизительно 0,4 до приблизительно 0,7, более предпочтительно от приблизительно 0,5 до приблизительно 0,7.

В особенно предпочтительных вариантах осуществления соотношение между длиной опорного элемента и длиной стержня субстрата, генерирующего аэрозоль, составляет приблизительно 0,66.

Соотношение между длиной опорного элемента и общей длиной субстрата изделия, генерирующего аэрозоль, может составлять от приблизительно 0,125 до приблизительно 0,375.

Предпочтительно соотношение между длиной опорного элемента и общей длиной субстрата изделия, генерирующего аэрозоль, составляет по меньшей мере приблизительно 0,13, более предпочтительно по меньшей мере приблизительно 0,14, еще более предпочтительно по меньшей мере приблизительно 0,15. Соотношение между длиной опорного элемента и общей длиной субстрата изделия, генерирующего аэрозоль, составляет предпочтительно менее приблизительно 0,3, более предпочтительно менее приблизительно 0,25, еще более предпочтительно менее приблизительно 0,20.

В некоторых вариантах осуществления соотношение между длиной опорного элемента и общей длиной субстрата изделия, генерирующего аэрозоль, составляет предпочтительно от приблизительно 0,13 до приблизительно 0,3, более предпочтительно от приблизительно 0,14 до приблизительно 0,3, еще более предпочтительно от приблизительно 0,15 до приблизительно 0,3. В других вариантах осуществления соотношение между длиной опорного элемента и общей длиной субстрата изделия, генерирующего аэрозоль, составляет предпочтительно от приблизительно 0,13 до приблизительно 0,25, более предпочтительно от приблизительно 0,14 до приблизительно 0,25, еще более предпочтительно от приблизительно 0,15 до приблизительно 0,25. В дополнительных вариантах осуществления соотношение между длиной опорного элемента и общей длиной субстрата изделия, генерирующего аэрозоль, составляет предпочтительно от приблизительно 0,13 до приблизительно 0,2, более предпочтительно от приблизительно 0,14 до приблизительно 0,2, еще более предпочтительно от приблизительно 0,15 до приблизительно 0,2.

В особенно предпочтительном варианте осуществления соотношение между длиной опорного элемента и общей длиной субстрата изделия, генерирующего аэрозоль, составляет приблизительно 0,18.

Предпочтительно в изделиях, генерирующих аэрозоль, в соответствии с настоящем изобретением опорный элемент имеет среднюю радиальную твердость по меньшей мере приблизительно 80 процентов, более предпочтительно по меньшей мере приблизительно 85 процентов, еще более предпочтительно по меньшей мере приблизительно 90 процентов. Следовательно, опорный элемент способен обеспечивать желаемый уровень твердости изделию, генерирующему аэрозоль.

При желании радиальную твердость опорного элемента изделий, генерирующих аэрозоль, в соответствии с настоящим изобретением можно дополнительно увеличить посредством окружения опорного элемента жесткой фицеллой, например, фицеллой, имеющей основную массу по меньшей мере приблизительно 80 грамм на квадратный метр (г/м2), или по меньшей мере приблизительно 100 г/м2, или по меньшей мере приблизительно 110 г/м2.

Во время вставки изделия, генерирующего аэрозоль, в соответствии с настоящим изобретением в устройство, генерирующее аэрозоль, для нагрева субстрата, генерирующего аэрозоль, от пользователя может потребоваться приложение некоторого усилия для преодоления сопротивления субстрата, генерирующего аэрозоль, изделия, генерирующего аэрозоль, для вставки. Это может повреждать одно или оба из изделия, генерирующего аэрозоль, и устройства, генерирующего аэрозоль. Дополнительно приложение усилия при введении изделия, генерирующего аэрозоль, в устройство, генерирующее аэрозоль, может смещать субстрат, генерирующий аэрозоль, внутри изделия, генерирующего аэрозоль. Это может приводить к неправильному выравниванию нагревательного элемента устройства, генерирующего аэрозоль, с токоприемником, обеспеченным внутри субстрата, генерирующего аэрозоль, что может приводить к неравномерному и неэффективному нагреву субстрата, генерирующего аэрозоль, изделия, генерирующего аэрозоль. Опорный элемент преимущественно выполнен с возможностью сопротивления перемещению субстрата, генерирующего аэрозоль, дальше по ходу потока во время вставки изделия в устройство, генерирующее аэрозоль.

Предпочтительно полый трубчатый сегмент опорного элемента приспособлен для генерирования RTD от приблизительно 0 миллиметров вод. ст (приблизительно 0 Па) до приблизительно 20 миллиметров вод. ст (приблизительно 100 Па), более предпочтительно между приблизительно 0 миллиметров вод. ст (приблизительно 0 Па) до приблизительно 10 миллиметров вод. ст (приблизительно 100 Па). Опорный элемент, таким образом, предпочтительно не вносит вклада в общее RTD изделия, генерирующего аэрозоль.

Как кратко описано выше, соотношение между внутренним диаметром (DSTS) второго трубчатого сегмента и внутренним диаметром (DFTS) первого трубчатого сегмента составляет по меньшей мере приблизительно 1,25.

Более предпочтительно соотношение между внутренним диаметром (DSTS) второго полого трубчатого сегмента и внутренним диаметром (DFTS) первого полого трубчатого сегмента составляет предпочтительно по меньшей мере приблизительно 1,3. Еще более предпочтительно соотношение между внутренним диаметром (DSTS) второго полого трубчатого сегмента и внутренним диаметром (DFTS) первого полого трубчатого сегмента составляет предпочтительно по меньшей мере приблизительно 1,4. В особенно предпочтительных вариантах осуществления соотношение между внутренним диаметром (DSTS) второго полого трубчатого сегмента и внутренним диаметром (DFTS) первого полого трубчатого сегмента составляет по меньшей мере приблизительно 1,5, более предпочтительно по меньшей мере приблизительно 1,6.

Соотношение между внутренним диаметром (DSTS) второго полого трубчатого сегмента и внутренним диаметром (DFTS) первого полого трубчатого сегмента составляет предпочтительно приблизительно 2,5 или меньше. Более предпочтительно соотношение между внутренним диаметром (DSTS) второго полого трубчатого сегмента и внутренним диаметром (DFTS) первого полого трубчатого сегмента составляет предпочтительно приблизительно 2,25 или меньше. Еще более предпочтительно соотношение между внутренним диаметром (DSTS) второго полого трубчатого сегмента и внутренним диаметром (DFTS) первого полого трубчатого сегмента составляет предпочтительно приблизительно 2 или меньше.

В некоторых вариантах осуществления соотношение между внутренним диаметром (DSTS) второго полого трубчатого сегмента и внутренним диаметром (DFTS) первого полого трубчатого сегмента составляет от приблизительно 1,25 до приблизительно 2,5. Предпочтительно соотношение между внутренним диаметром (DSTS) второго полого трубчатого сегмента и внутренним диаметром (DFTS) первого полого трубчатого сегмента составляет от приблизительно 1,3 до приблизительно 2,5. Более предпочтительно соотношение между внутренним диаметром (DSTS) второго полого трубчатого сегмента и внутренним диаметром (DFTS) первого полого трубчатого сегмента составляет от приблизительно 1,4 до приблизительно 2,5. В особенно предпочтительных вариантах осуществления соотношение между внутренним диаметром (DSTS) второго полого трубчатого сегмента и внутренним диаметром (DFTS) первого полого трубчатого сегмента составляет от приблизительно 1,5 до приблизительно 2,5.

В других вариантах осуществления соотношение между внутренним диаметром (DSTS) второго полого трубчатого сегмента и внутренним диаметром (DFTS) первого полого трубчатого сегмента составляет от приблизительно 1,25 до приблизительно 2,25. Предпочтительно соотношение между внутренним диаметром (DSTS) второго полого трубчатого сегмента и внутренним диаметром (DFTS) первого полого трубчатого сегмента составляет от приблизительно 1,3 до приблизительно 2,25. Более предпочтительно соотношение между внутренним диаметром (DSTS) второго полого трубчатого сегмента и внутренним диаметром (DFTS) первого полого трубчатого сегмента составляет от приблизительно 1,4 до приблизительно 2,25. В особенно предпочтительных вариантах осуществления соотношение между внутренним диаметром (DSTS) второго полого трубчатого сегмента и внутренним диаметром (DFTS) первого полого трубчатого сегмента составляет от приблизительно 1,5 до приблизительно 2,25.

В дополнительных вариантах осуществления соотношение между внутренним диаметром (DSTS) второго полого трубчатого сегмента и внутренним диаметром (DFTS) первого полого трубчатого сегмента составляет от приблизительно 1,25 до приблизительно 2. Предпочтительно соотношение между внутренним диаметром (DSTS) второго полого трубчатого сегмента и внутренним диаметром (DFTS) первого полого трубчатого сегмента составляет от приблизительно 1,3 до приблизительно 2. Более предпочтительно соотношение между внутренним диаметром (DSTS) второго полого трубчатого сегмента и внутренним диаметром (DFTS) первого полого трубчатого сегмента составляет от приблизительно 1,4 до приблизительно 2. В особенно предпочтительных вариантах осуществления соотношение между внутренним диаметром (DSTS) второго полого трубчатого сегмента и внутренним диаметром (DFTS) первого полого трубчатого сегмента составляет от приблизительно 1,5 до приблизительно 2.

В тех вариантах осуществления, в которых изделие дополнительно содержит удлиненный токоприемник, расположенный продольно внутри субстрата, генерирующего аэрозоль, как описано ниже, соотношение между внутренним диаметром (DFTS) первого полого трубчатого сегмента и шириной токоприемника составляет предпочтительно по меньшей мере приблизительно 0,2. Более предпочтительно соотношение между внутренним диаметром (DFTS) первого полого трубчатого сегмента и шириной токоприемника составляет по меньшей мере приблизительно 0,3. Еще более предпочтительно соотношение между внутренним диаметром (DFTS) первого полого трубчатого сегмента и шириной токоприемника составляет по меньшей мере приблизительно 0,4.

Дополнительно, или в качестве альтернативы, соотношение между внутренним диаметром (DSTS) второго полого трубчатого сегмента и шириной токоприемника составляет предпочтительно по меньшей мере приблизительно 0,2. Более предпочтительно соотношение между внутренним диаметром (DSTS) второго полого трубчатого сегмента и шириной токоприемника составляет по меньшей мере приблизительно 0,5. Еще более предпочтительно соотношение между внутренним диаметром (DSTS) второго полого трубчатого сегмента и шириной токоприемника составляет по меньшей мере приблизительно 0,8.

Предпочтительно соотношение между объемом полости первого полого трубчатого сегмента и объемом полости второго полого трубчатого сегмента составляет по меньшей мере приблизительно 0,1. Более предпочтительно соотношение между объемом полости первого полого трубчатого сегмента и объемом полости второго полого трубчатого сегмента составляет по меньшей мере приблизительно 0,2. Еще более предпочтительно соотношение между объемом полости первого полого трубчатого сегмента и объемом полости второго полого трубчатого сегмента составляет по меньшей мере приблизительно 0,3.

Соотношение между объемом полости первого полого трубчатого сегмента и объемом полости второго полого трубчатого сегмента предпочтительно меньше или равно приблизительно 0,9. Более предпочтительно соотношение между объемом полости первого полого трубчатого сегмента и объемом полости второго полого трубчатого сегмента предпочтительно меньше или равно приблизительно 0,7. Еще более предпочтительно соотношение между объемом полости первого полого трубчатого сегмента и объемом полости второго полого трубчатого сегмента предпочтительно меньше или равно приблизительно 0,5.

В некоторых вариантах осуществления изделие, генерирующее аэрозоль, может дополнительно содержать дополнительный охлаждающий элемент, определяющий множество проходящих в продольном направлении каналов, чтобы сделать высокую удельную поверхность доступной для теплового обмена. Другими словами, один такой дополнительный охлаждающий элемент приспособлен для функционирования по существу как теплообменник. Множество проходящих в продольном направлении каналов могут быть определены листовым материалом, который был сложен складками, собран или согнут для образования каналов. Множество проходящих в продольном направлении каналов могут быть определены одним листом, который был сложен складками, собран или согнут для образования нескольких каналов. Лист может также быть гофрирован перед складыванием складками, собиранием или сгибанием. Альтернативно множество проходящих в продольном направлении каналов могут быть определены несколькими листами, которые были гофрированы, сложены складками, собраны или согнуты для образования нескольких каналов. В некоторых вариантах осуществления множество проходящих в продольном направлении каналов могут быть определены несколькими листами, которые были гофрированы, сложены складками, собраны или согнуты вместе, то есть по два или более листа, которые вводят в перекрывающее расположение и затем гофрируют, складывают складками, собирают или сгибают как один. В контексте данного документа термин «лист» обозначает слоистый элемент, имеющий ширину и длину, существенно превышающие его толщину.

В контексте данного документа термин «продольное направление» относится к направлению, проходящему вдоль или параллельно оси цилиндра стержня. В контексте данного документа термин «гофрированный» обозначает лист, имеющий множество по существу параллельных складок или гофров. Предпочтительно, когда изделие, генерирующее аэрозоль, собрано, по существу параллельные складки или гофры проходят в продольном направлении относительно стержня. В контексте данного документа термины «собранный», «сложенный» или «согнутый» означают, что лист материала свернут, согнут или иным образом сжат или сужен по существу в поперечном направлении относительно оси цилиндра стержня. Лист может быть гофрирован перед собранием, складыванием складками или сгибанием. Лист может быть собран, сложен складками или согнут без предварительного гофрирования.

Один такой дополнительный охлаждающий элемент может иметь общую площадь поверхности от приблизительно 300 квадратных миллиметров на миллиметр длины до приблизительно 1000 квадратных миллиметров на миллиметр длины.

Дополнительный охлаждающий элемент предпочтительно оказывает малое сопротивление прохождению воздуха через дополнительный охлаждающий элемент. Предпочтительно дополнительный охлаждающий элемент по существу не влияет на сопротивление затяжке изделия, генерирующего аэрозоль. Для достижения этого предпочтительно, чтобы пористость в продольном направлении составляла более 50 процентов, и чтобы путь потока воздуха через дополнительный охлаждающий элемент был относительно свободным. Продольная пористость дополнительного охлаждающего элемента может быть определена соотношением площади поперечного сечения материала, образующего дополнительный охлаждающий элемент, и внутренней площади поперечного сечения изделия, генерирующего аэрозоль, в части, содержащей дополнительный охлаждающий элемент.

Дополнительный охлаждающий элемент предпочтительно содержит листовой материал, выбранный из группы, включающей металлическую фольгу, лист полимерного материала и по существу непористую бумагу или картон. В некоторых вариантах осуществления элемент, охлаждающий аэрозоль, может содержать листовой материал, выбранный из группы, состоящей из полиэтилена (PE), полипропилена (PP), поливинилхлорида (PVC), полиэтилентерефталата (PET), полимолочной кислоты (PLA), ацетата целлюлозы (CA) и алюминиевой фольги. В особенно предпочтительном варианте осуществления дополнительный охлаждающий элемент содержит лист из PLA.

Расположенная дальше по ходу потока секция изделия, генерирующего аэрозоль, согласно настоящему изобретению предпочтительно содержит мундштучный элемент. Мундштучный элемент предпочтительно размещен на расположенном дальше по ходу потока конце или мундштучном конце изделия, генерирующего аэрозоль. Мундштучный элемент предпочтительно содержит по меньшей мере один фильтрующий сегмент мундштука для фильтрации аэрозоля, генерируемого из субстрата, генерирующего аэрозоль. Например, мундштучный элемент может содержать один или более сегментов волокнистого фильтрующего материала. Подходящие волокнистые фильтрующие материалы будут известны специалисту в данной области техники. Особенно предпочтительно по меньшей мере один фильтрующий сегмент мундштука содержит ацетатцеллюлозный фильтрующий сегмент, образованный из ацетатцеллюлозного штранга.

В определенных предпочтительных вариантах осуществления мундштучный элемент состоит из одного фильтрующего сегмента мундштука. В альтернативных вариантах осуществления мундштучный элемент содержит два или более фильтрующих сегментов мундштука, соосно выровненных друг с другом с примыканием конец к концу.

В определенных вариантах осуществления настоящего изобретения расположенная дальше по ходу потока секция может содержать полость мундштучного конца на расположенном дальше по ходу потока конце, расположенном дальше по ходу потока относительно мундштучного элемента, как описано выше. Полость мундштучного конца может быть определена полым трубчатым элементом, предоставленным на расположенном дальше по ходу потока конце мундштука. Альтернативно полость мундштучного конца может быть определена наружной оберткой мундштучного элемента, при этом наружная обертка проходит в направлении дальше по ходу потока от мундштучного элемента.

Мундштучный элемент может необязательно содержать ароматизатор, который может быть предоставлен в любой подходящей форме. Например, мундштучный элемент может содержать одну или более капсул, шариков или гранул ароматизатора или одну или более нитей или волокон, наполненных ароматизирующим веществом.

В изделии, генерирующем аэрозоль, в соответствии с настоящим изобретением мундштучный элемент образует часть расположенной дальше по ходу потока секции и, следовательно, размещен дальше по ходу потока относительно стержня субстрата, генерирующего аэрозоль.

В определенных предпочтительных вариантах осуществления расположенная дальше по ходу потока секция изделия, генерирующего аэрозоль, дополнительно содержит опорный элемент, размещенный непосредственно дальше по ходу потока относительно стержня субстрата, генерирующего аэрозоль. Мундштучный элемент предпочтительно размещен дальше по ходу потока относительно опорного элемента. Предпочтительно расположенная дальше по ходу потока секция дополнительно содержит элемент, охлаждающий аэрозоль, размещенный непосредственно дальше по ходу потока относительно опорного элемента. Мундштучный элемент предпочтительно размещен дальше по ходу потока относительно как опорного элемента, так и элемента, охлаждающего аэрозоль. Особенно предпочтительно мундштучный элемент размещен непосредственно дальше по ходу потока относительно элемента, охлаждающего аэрозоль. В качестве примера, мундштучный элемент может примыкать к расположенному дальше по ходу потока концу элемента, охлаждающего аэрозоль.

Предпочтительно мундштучный элемент имеет низкую эффективность фильтрации частиц.

Предпочтительно мундштук образован из сегмента волокнистого фильтрующего материала.

Предпочтительно мундштучный элемент окружен фицеллой. Предпочтительно мундштучный элемент не вентилируется, так что воздух не попадает в изделие, генерирующее аэрозоль, вдоль мундштучного элемента.

Мундштучный элемент предпочтительно соединен с одним или более смежными расположенными раньше по ходу потока компонентами изделия, генерирующего аэрозоль, посредством ободковой обертки.

Предпочтительно мундштучный элемент имеет RTD меньше приблизительно 25 миллиметров вод. ст. Более предпочтительно мундштучный элемент имеет RTD меньше приблизительно 20 миллиметров вод. ст. Еще более предпочтительно мундштучный элемент имеет RTD меньше приблизительно 15 миллиметров вод. ст.

Значения RTD от приблизительно 10 миллиметров вод. ст. до приблизительно 15 миллиметров вод. ст. являются особенно предпочтительными, поскольку ожидается, что мундштучный элемент, имеющий одно такое значение RTD, которое вносит минимальный вклад в общее RTD изделия, генерирующего аэрозоль, по существу не оказывает фильтрующего действия на аэрозоль, доставляемый потребителю.

Мундштучный элемент предпочтительно имеет наружный диаметр, который приблизительно равен наружному диаметру изделия, генерирующего аэрозоль. Мундштучный элемент может иметь внешний диаметр от приблизительно 5 миллиметров до приблизительно 10 миллиметров или от приблизительно 6 миллиметров до приблизительно 8 миллиметров. В предпочтительном варианте осуществления мундштучный элемент имеет внешний диаметр приблизительно 7,2 миллиметра.

Мундштучный элемент предпочтительно имеет длину по меньшей мере приблизительно 5 миллиметров, более предпочтительно по меньшей мере приблизительно 8 миллиметров, более предпочтительно по меньшей мере приблизительно 10 миллиметров. Альтернативно или дополнительно мундштучный элемент предпочтительно имеет длину меньше приблизительно 25 миллиметров, более предпочтительно меньше приблизительно 20 миллиметров, более предпочтительно меньше приблизительно 15 миллиметров.

В некоторых вариантах осуществления мундштучный элемент предпочтительно имеет длину от приблизительно 5 миллиметров до приблизительно 25 миллиметров, более предпочтительно от приблизительно 8 миллиметров до приблизительно 25 миллиметров, еще более предпочтительно от приблизительно 10 миллиметров до приблизительно 25 миллиметров. В других вариантах осуществления мундштучный элемент предпочтительно имеет длину от приблизительно 5 миллиметров до приблизительно 10 миллиметров, более предпочтительно от приблизительно 8 миллиметров до приблизительно 20 миллиметров, еще более предпочтительно от приблизительно 10 миллиметров до приблизительно 20 миллиметров. В дополнительных вариантах осуществления мундштучный элемент предпочтительно имеет длину от приблизительно 5 миллиметров до приблизительно 15 миллиметров, более предпочтительно от приблизительно 8 миллиметров до приблизительно 15 миллиметров, еще более предпочтительно от приблизительно 10 миллиметров до приблизительно 15 миллиметров.

Например, мундштучный элемент может иметь длину от приблизительно 5 миллиметров до приблизительно 25 миллиметров, или от приблизительно 8 миллиметров до приблизительно 20 миллиметров, или от приблизительно 10 миллиметров до приблизительно 15 миллиметров. В предпочтительном варианте осуществления мундштучный элемент имеет длину приблизительно 12 миллиметров.

В определенных предпочтительных вариантах осуществления настоящего изобретения мундштучный элемент имеет длину по меньшей мере 10 миллиметров. Следовательно, в таких вариантах осуществления мундштучный элемент является относительно длинным по сравнению с мундштучным элементом, предусмотренным в изделиях предшествующего уровня техники. Предоставление относительно длинного мундштучного элемента в изделиях, генерирующих аэрозоль, согласно настоящему изобретению может обеспечить несколько преимуществ для потребителя. Мундштучный элемент обычно более устойчив к деформации или лучше приспособлен для восстановления своей первоначальной формы после деформации, чем другие элементы, которые могут быть предусмотрены дальше по ходу потока относительно стержня субстрата, генерирующего аэрозоль, такие как элемент, охлаждающий аэрозоль, или опорный элемент. Следовательно, увеличение длины мундштучного элемента обеспечивает улучшенный захват потребителем и облегчает вставку изделия, генерирующего аэрозоль, в нагревательное устройство. Можно дополнительно использовать более длинный мундштук для обеспечения более высокого уровня фильтрации и удаления нежелательных составляющих аэрозоля, таких как фенолы, чтобы можно было доставлять аэрозоль более высокого качества. Кроме того, использование более длинного мундштучного элемента позволяет получить более сложный мундштук, поскольку остается больше пространства для включения таких компонентов мундштука, как капсулы, нити и ограничители.

В особенно предпочтительных вариантах осуществления настоящего изобретения мундштук, имеющий длину по меньшей мере 10 миллиметров, объединен с относительно коротким элементом, охлаждающим аэрозоль, например, элементом, охлаждающим аэрозоль, имеющим длину меньше 10 миллиметров. Было обнаружено, что это объединение обеспечивает более жесткий мундштук, который снижает риск деформации элемента, охлаждающего аэрозоль, во время использования и способствует более эффективному выполнению затяжки потребителем.

Соотношение между длиной мундштучного элемента и длиной стержня субстрата, генерирующего аэрозоль, может составлять от приблизительно 0,5 до приблизительно 1,5.

Предпочтительно соотношение между длиной мундштучного элемента и длиной стержня субстрата, генерирующего аэрозоль, составляет по меньшей мере приблизительно 0,6, более предпочтительно по меньшей мере приблизительно 0,7, еще более предпочтительно по меньшей мере приблизительно 0,8. В предпочтительных вариантах осуществления соотношение между длиной мундштучного элемента и длиной стержня субстрата, генерирующего аэрозоль, меньше приблизительно 1,4, более предпочтительно меньше приблизительно 1,3, еще более предпочтительно меньше приблизительно 1,2.

В некоторых вариантах осуществления соотношение между длиной мундштучного элемента и длиной стержня субстрата, генерирующего аэрозоль, составляет от приблизительно 0,6 до приблизительно 1,4, предпочтительно от приблизительно 0,7 до приблизительно 1,4, более предпочтительно от приблизительно 0,8 до приблизительно 1,4. В других вариантах осуществления соотношение между длиной мундштучного элемента и длиной стержня субстрата, генерирующего аэрозоль, составляет от приблизительно 0,6 до приблизительно 1,3, предпочтительно от приблизительно 0,7 до приблизительно 1,3, более предпочтительно от приблизительно 0,8 до приблизительно 1,3. В дополнительных вариантах осуществления соотношение между длиной мундштучного элемента и длиной стержня субстрата, генерирующего аэрозоль, составляет от приблизительно 0,6 до приблизительно 1,2, предпочтительно от приблизительно 0,7 до приблизительно 1,2, более предпочтительно от приблизительно 0,8 до приблизительно 1,2.

В особенно предпочтительных вариантах осуществления соотношение между длиной мундштучного элемента и длиной стержня субстрата, генерирующего аэрозоль, составляет приблизительно 1.

Соотношение между длиной мундштучного элемента и общей длиной субстрата изделия, генерирующего аэрозоль, может составлять от приблизительно 0,2 до приблизительно 0,35.

Предпочтительно соотношение между длиной мундштучного элемента и общей длиной субстрата изделия, генерирующего аэрозоль, составляет по меньшей мере приблизительно 0,22, более предпочтительно по меньшей мере приблизительно 0,24, еще более предпочтительно по меньшей мере приблизительно 0,26. Соотношение между длиной мундштучного элемента и общей длиной субстрата изделия, генерирующего аэрозоль, предпочтительно меньше приблизительно 0,34, более предпочтительно меньше приблизительно 0,32, еще более предпочтительно меньше приблизительно 0,3.

В некоторых вариантах осуществления соотношение между длиной мундштучного элемента и общей длиной субстрата изделия, генерирующего аэрозоль, составляет предпочтительно от приблизительно 0,22 до приблизительно 0,34, более предпочтительно от приблизительно 0,24 до приблизительно 0,34, еще более предпочтительно от приблизительно 0,26 до приблизительно 0,34. В других вариантах осуществления соотношение между длиной мундштучного элемента и общей длиной субстрата изделия, генерирующего аэрозоль, составляет предпочтительно от приблизительно 0,22 до приблизительно 0,32, более предпочтительно от приблизительно 0,24 до приблизительно 0,32, еще более предпочтительно от приблизительно 0,26 до приблизительно 0,32. В дополнительных вариантах осуществления соотношение между длиной мундштучного элемента и общей длиной субстрата изделия, генерирующего аэрозоль, составляет предпочтительно от приблизительно 0,22 до приблизительно 0,3, более предпочтительно от приблизительно 0,24 до приблизительно 0,3, еще более предпочтительно от приблизительно 0,26 до приблизительно 0,3.

В особенно предпочтительном варианте осуществления соотношение между длиной мундштучного элемента и общей длиной субстрата изделия, генерирующего аэрозоль, составляет приблизительно 0,27.

Согласно настоящему изобретению изделие, генерирующее аэрозоль, дополнительно содержит расположенную раньше по ходу потока секцию в местоположении раньше по ходу потока относительно стержня субстрата, генерирующего аэрозоль. Расположенная раньше по ходу потока секция может содержать один или более расположенных раньше по ходу потока элементов. В частности, расположенная раньше по ходу потока секция содержит расположенный раньше по ходу потока элемент, размещенный непосредственно раньше по ходу потока относительно стержня субстрата, генерирующего аэрозоль.

Расположенный раньше по ходу потока элемент преимущественно предотвращает прямой физический контакт с расположенным раньше по ходу потока концом субстрата, генерирующего аэрозоль. В частности, когда субстрат, генерирующий аэрозоль, содержит токоприемный элемент, расположенный раньше по ходу потока элемент может предотвращать прямой физический контакт с расположенным раньше по ходу потока концом токоприемного элемента. Это помогает предотвратить смещение или деформацию токоприемного элемента во время обработки или транспортировки изделия, генерирующего аэрозоль. Это, в свою очередь, помогает сохранить форму и положение токоприемного элемента. Кроме того, наличие расположенного раньше по ходу потока элемента помогает предотвратить любую потерю субстрата, что может быть преимущественно, например, если субстрат содержит растительный материал в виде частиц.

Расположенный раньше по ходу потока элемент может также придавать улучшенный внешний вид расположенному раньше по ходу потока концу изделия, генерирующего аэрозоль. Кроме того, при желании расположенный раньше по ходу потока элемент может использоваться для предоставления информации об изделии, генерирующем аэрозоль, такой как информация о марке, вкусе, содержании или сведения об устройстве, генерирующем аэрозоль, для использования с которым предназначено изделие.

Расположенный раньше по ходу потока элемент может представлять собой пористый элемент в виде заглушки. Предпочтительно пористый элемент в виде заглушки не изменяет сопротивление затяжке изделия, генерирующего аэрозоль. Предпочтительно расположенный раньше по ходу потока элемент имеет пористость по меньшей мере приблизительно 50 процентов в продольном направлении изделия, генерирующего аэрозоль. Более предпочтительно расположенный раньше по ходу потока элемент имеет пористость от приблизительно 50 процентов до приблизительно 90 процентов в продольном направлении. Пористость расположенного раньше по ходу потока элемента в продольном направлении определена соотношением площади поперечного сечения материала, образующего расположенный раньше по ходу потока элемент, и внутренней площади поперечного сечения изделия, генерирующего аэрозоль, в положении расположенного раньше по ходу потока элемента.

Расположенный раньше по ходу потока элемент может быть выполнен из пористого материала или может содержать множество отверстий. Это может быть достигнуто, например, с помощью лазерной перфорации. Предпочтительно множество отверстий однородно распределены по поперечному сечению расположенного раньше по ходу потока элемента.

Пористость или проницаемость расположенного раньше по ходу потока элемента можно преимущественно варьировать, чтобы обеспечить желаемое общее сопротивление затяжке изделия, генерирующего аэрозоль.

Предпочтительно RTD расположенного раньше по ходу потока элемента составляет по меньшей мере приблизительно 5 миллиметров вод. ст. Более предпочтительно RTD расположенного раньше по ходу потока элемента составляет по меньшей мере приблизительно 10 миллиметров вод. ст. Еще более предпочтительно RTD расположенного раньше по ходу потока элемента составляет по меньшей мере приблизительно 15 миллиметров вод. ст. В особенно предпочтительных вариантах осуществления RTD расположенного раньше по ходу потока элемента составляет по меньшей мере приблизительно 20 миллиметров вод. ст.

RTD расположенного раньше по ходу потока элемента меньше или равно приблизительно 80 миллиметрам вод. ст. Более предпочтительно RTD расположенного раньше по ходу потока элемента меньше или равно приблизительно 60 миллиметрам вод. ст. Еще более предпочтительно RTD расположенного раньше по ходу потока элемента меньше или равно приблизительно 40 миллиметрам вод. ст.

В некоторых вариантах осуществления RTD расположенного раньше по ходу потока элемента составляет от приблизительно 5 миллиметров вод. ст. до приблизительно 80 миллиметров вод. ст., предпочтительно от приблизительно 10 миллиметров вод. ст. до приблизительно 80 миллиметров вод. ст., более предпочтительно от приблизительно 15 миллиметров вод. ст. до приблизительно 80 миллиметров вод. ст., еще более предпочтительно от приблизительно 20 миллиметров вод. ст. до приблизительно 80 миллиметров вод. ст. В других вариантах осуществления RTD расположенного раньше по ходу потока элемента составляет от приблизительно 5 миллиметров вод. ст. до приблизительно 60 миллиметров вод. ст., предпочтительно от приблизительно 10 миллиметров вод. ст. до приблизительно 60 миллиметров вод. ст., более предпочтительно от приблизительно 15 миллиметров вод. ст. до приблизительно 60 миллиметров вод. ст., еще более предпочтительно от приблизительно 20 миллиметров вод. ст. до приблизительно 60 миллиметров вод. ст. В дополнительных вариантах осуществления RTD расположенного раньше по ходу потока элемента составляет от приблизительно 5 миллиметров вод. ст. до приблизительно 40 миллиметров вод. ст., предпочтительно от приблизительно 10 миллиметров вод. ст. до приблизительно 40 миллиметров вод. ст., более предпочтительно от приблизительно 15 миллиметров вод. ст. до приблизительно 40 миллиметров вод. ст., еще более предпочтительно от приблизительно 20 миллиметров вод. ст. до приблизительно 40 миллиметров вод. ст.

В альтернативных вариантах осуществления расположенный раньше по ходу потока элемент может быть образован из непроницаемого для воздуха материала. В таких вариантах осуществления изделие, генерирующее аэрозоль, может быть выполнено таким образом, чтобы воздух протекал в стержень субстрата, генерирующего аэрозоль, через подходящие вентиляционные средства, предусмотренные в обертке.

Расположенный раньше по ходу потока элемент может быть выполнен из любого материала, подходящего для использования в изделии, генерирующем аэрозоль. Расположенный раньше по ходу потока элемент может быть изготовлен, например, из того же материала, который используется для одного из других компонентов изделия, генерирующего аэрозоль, например, мундштука, охлаждающего элемента или опорного элемента. Подходящие материалы для образования расположенного раньше по ходу потока элемента включают фильтрующие материалы, керамику, полимерный материал, ацетат целлюлозы, картон, цеолит или субстрат, генерирующий аэрозоль. Предпочтительно расположенный раньше по ходу потока элемент образован из заглушки из ацетата целлюлозы.

Предпочтительно расположенный раньше по ходу потока элемент образован из термостойкого материала. Например, предпочтительно расположенный раньше по ходу потока элемент образован из материала, выдерживающего температуры вплоть до 350 градусов Цельсия. Это гарантирует, что расположенный раньше по ходу потока элемент не подвергается неблагоприятному влиянию нагревательных средств для нагрева субстрата, генерирующего аэрозоль.

Предпочтительно расположенный раньше по ходу потока элемент имеет диаметр, который приблизительно равен диаметру изделия, генерирующего аэрозоль.

Предпочтительно расположенный раньше по ходу потока элемент имеет длину от приблизительно 1 миллиметра до приблизительно 10 миллиметров, более предпочтительно от приблизительно 3 миллиметров до приблизительно 8 миллиметров, более предпочтительно от приблизительно 4 миллиметров до приблизительно 6 миллиметров. В особенно предпочтительном варианте осуществления расположенный раньше по ходу потока элемент имеет длину приблизительно 5 миллиметров. Длину расположенного раньше по ходу потока элемента можно преимущественно варьировать, чтобы обеспечить желаемую общую длину изделия, генерирующего аэрозоль. Например, если желательно уменьшить длину одного из других компонентов изделия, генерирующего аэрозоль, длину расположенного раньше по ходу потока элемента можно увеличить, чтобы сохранить общую длину изделия на том же уровне.

Расположенный раньше по ходу потока элемент предпочтительно имеет по существу однородную структуру. Например, расположенный раньше по ходу потока элемент может иметь по существу однородные текстуру и внешний вид. Расположенный раньше по ходу потока элемент может, например, иметь непрерывную ровную поверхность по всему своему поперечному сечению. Расположенный раньше по ходу потока элемент может, например, не иметь распознаваемых симметрий.

Расположенный раньше по ходу потока элемент предпочтительно окружен оберткой. Обертка, окружающая расположенный раньше по ходу потока элемент, представляет собой предпочтительно жесткую фицеллу, например, фицеллу, имеющую основную массу по меньшей мере приблизительно 80 грамм на квадратный метр (г/м2), или по меньшей мере приблизительно 100 г/м2, или по меньшей мере приблизительно 110 г/м2. Это обеспечивает структурную жесткость расположенному раньше по ходу потока элементу.

Изделие, генерирующее аэрозоль, может иметь длину от приблизительно 35 миллиметров до приблизительно 100 миллиметров.

Предпочтительно общая длина изделия, генерирующего аэрозоль, согласно настоящему изобретению составляет по меньшей мере приблизительно 38 миллиметров. Более предпочтительно общая длина изделия, генерирующего аэрозоль, согласно настоящему изобретению составляет по меньшей мере приблизительно 40 миллиметров. Еще более предпочтительно общая длина изделия, генерирующего аэрозоль, согласно настоящему изобретению составляет по меньшей мере приблизительно 42 миллиметра.

Общая длина изделия, генерирующего аэрозоль, в соответствии с настоящим изобретением предпочтительно меньше или равна 70 миллиметрам. Более предпочтительно общая длина изделия, генерирующего аэрозоль, в соответствии с настоящим изобретением предпочтительно меньше или равна 60 миллиметрам. Еще более предпочтительно общая длина изделия, генерирующего аэрозоль, в соответствии с настоящим изобретением предпочтительно меньше или равна 50 миллиметрам.

В некоторых вариантах осуществления общая длина изделия, генерирующего аэрозоль, составляет предпочтительно от приблизительно 38 миллиметров до приблизительно 70 миллиметров, более предпочтительно от приблизительно 40 миллиметров до приблизительно 70 миллиметров, еще более предпочтительно от приблизительно 42 миллиметров до приблизительно 70 миллиметров. В других вариантах осуществления общая длина изделия, генерирующего аэрозоль, составляет предпочтительно от приблизительно 38 миллиметров до приблизительно 60 миллиметров, более предпочтительно от приблизительно 40 миллиметров до приблизительно 60 миллиметров, еще более предпочтительно от приблизительно 42 миллиметров до приблизительно 60 миллиметров. В дополнительных вариантах осуществления общая длина изделия, генерирующего аэрозоль, составляет предпочтительно от приблизительно 38 миллиметров до приблизительно 50 миллиметров, более предпочтительно от приблизительно 40 миллиметров до приблизительно 50 миллиметров, еще более предпочтительно от приблизительно 42 миллиметров до приблизительно 50 миллиметров. В примерном варианте осуществления общая длина изделия, генерирующего аэрозоль, составляет приблизительно 45 миллиметров.

Изделие, генерирующее аэрозоль, имеет внешний диаметр по меньшей мере 5 миллиметров. Предпочтительно изделие, генерирующее аэрозоль, имеет внешний диаметр по меньшей мере 6 миллиметров. Более предпочтительно изделие, генерирующее аэрозоль, имеет внешний диаметр по меньшей мере 7 миллиметров.

Предпочтительно изделие, генерирующее аэрозоль, имеет внешний диаметр, который меньше или равен приблизительно 12 миллиметрам. Более предпочтительно изделие, генерирующее аэрозоль, имеет внешний диаметр, который меньше или равен приблизительно 10 миллиметрам. Еще более предпочтительно изделие, генерирующее аэрозоль, имеет внешний диаметр, который меньше или равен приблизительно 8 миллиметрам.

В некоторых вариантах осуществления изделие, генерирующее аэрозоль, имеет внешний диаметр от приблизительно 5 миллиметров до приблизительно 12 миллиметров, предпочтительно от приблизительно 6 миллиметров до приблизительно 12 миллиметров, более предпочтительно от приблизительно 7 миллиметров до приблизительно 12 миллиметров. В других вариантах осуществления изделие, генерирующее аэрозоль, имеет внешний диаметр от приблизительно 5 миллиметров до приблизительно 10 миллиметров, предпочтительно от приблизительно 6 миллиметров до приблизительно 10 миллиметров, более предпочтительно от приблизительно 7 миллиметров до приблизительно 10 миллиметров. В дополнительных вариантах осуществления изделие, генерирующее аэрозоль, имеет внешний диаметр от приблизительно 5 миллиметров до приблизительно 8 миллиметров, предпочтительно от приблизительно 6 миллиметров до приблизительно 8 миллиметров, более предпочтительно от приблизительно 7 миллиметров до приблизительно 8 миллиметров.

В определенных предпочтительных вариантах осуществления настоящего изобретения диаметр (DME) изделия, генерирующего аэрозоль, на мундштучном конце (предпочтительно) больше диаметра (DDE) изделия, генерирующего аэрозоль, на дальнем конце. Более подробно, соотношение (DME/DDE) между диаметром изделия, генерирующего аэрозоль, на мундштучном конце и диаметром изделия, генерирующего аэрозоль, на дальнем конце составляет (предпочтительно) по меньшей мере приблизительно 1,005.

Предпочтительно соотношение (DME/DDE) между диаметром изделия, генерирующего аэрозоль, на мундштучном конце и диаметром изделия, генерирующего аэрозоль, на дальнем конце составляет (предпочтительно) по меньшей мере приблизительно 1,01. Более предпочтительно соотношение (DME/DDE) между диаметром изделия, генерирующего аэрозоль, на мундштучном конце и диаметром изделия, генерирующего аэрозоль, на дальнем конце составляет по меньшей мере приблизительно 1,02. Еще более предпочтительно соотношение (DME/DDE) между диаметром изделия, генерирующего аэрозоль, на мундштучном конце и диаметром изделия, генерирующего аэрозоль, на дальнем конце составляет по меньшей мере приблизительно 1,05.

Соотношение (DME/DDE) между диаметром изделия, генерирующего аэрозоль, на мундштучном конце и диаметром изделия, генерирующего аэрозоль, на дальнем конце предпочтительно меньше или равно приблизительно 1,30. Более предпочтительно соотношение (DME/DDE) между диаметром изделия, генерирующего аэрозоль, на мундштучном конце и диаметром изделия, генерирующего аэрозоль, на дальнем конце меньше или равно приблизительно 1,25. Еще более предпочтительно соотношение (DME/DDE) между диаметром изделия, генерирующего аэрозоль, на мундштучном конце и диаметром изделия, генерирующего аэрозоль, на дальнем конце меньше или равно приблизительно 1,20. В особенно предпочтительных вариантах осуществления соотношение (DME/DDE) между диаметром изделия, генерирующего аэрозоль, на мундштучном конце и диаметром изделия, генерирующего аэрозоль, на дальнем конце меньше или равно 1,15 или 1,10.

В некоторых предпочтительных вариантах осуществления соотношение (DME/DDE) между диаметром изделия, генерирующего аэрозоль, на мундштучном конце и диаметром изделия, генерирующего аэрозоль, на дальнем конце составляет от приблизительно 1,01 до 1,30, более предпочтительно от 1,02 до 1,30, еще более предпочтительно от 1,05 до 1,30.

В других вариантах осуществления соотношение (DME/DDE) между диаметром изделия, генерирующего аэрозоль, на мундштучном конце и диаметром изделия, генерирующего аэрозоль, на дальнем конце составляет от приблизительно 1,01 до 1,25, более предпочтительно от 1,02 до 1,25, еще более предпочтительно от 1,05 до 1,25. В дополнительных вариантах осуществления соотношение (DME/DDE) между диаметром изделия, генерирующего аэрозоль, на мундштучном конце и диаметром изделия, генерирующего аэрозоль, на дальнем конце составляет от приблизительно 1,01 до 1,20, более предпочтительно от 1,02 до 1,20, еще более предпочтительно от 1,05 до 1,20. В еще одних дополнительных вариантах осуществления соотношение (DME/DDE) между диаметром изделия, генерирующего аэрозоль, на мундштучном конце и диаметром изделия, генерирующего аэрозоль, на дальнем конце составляет от приблизительно 1,01 до 1,15, более предпочтительно от 1,02 до 1,15, еще более предпочтительно от 1,05 до 1,15.

В качестве примера, внешний диаметр изделия может быть по существу постоянным на дальней части изделия, проходящей от дальнего конца изделия, генерирующего аэрозоль, на по меньшей мере приблизительно 5 миллиметров или по меньшей мере приблизительно 10 миллиметров. В качестве альтернативы, внешний диаметр изделия может сужаться на дальней части изделия, проходящей от дальнего конца на по меньшей мере приблизительно 5 миллиметров или по меньшей мере приблизительно 10 миллиметров.

В определенных предпочтительных вариантах осуществления настоящего изобретения элементы изделия, генерирующего аэрозоль, как описано выше, скомпонованы таким образом, что центр массы изделия, генерирующего аэрозоль, находится на по меньшей мере приблизительно 60 процентах пути вдоль длины изделия, генерирующего аэрозоль, от расположенного дальше по ходу потока конца. Более предпочтительно элементы изделия, генерирующего аэрозоль, скомпонованы таким образом, что центр массы изделия, генерирующего аэрозоль, находится на по меньшей мере приблизительно 62 процентах пути вдоль длины изделия, генерирующего аэрозоль, от расположенного дальше по ходу потока конца, более предпочтительно на по меньшей мере приблизительно 65 процентах пути вдоль длины изделия, генерирующего аэрозоль, от расположенного дальше по ходу потока конца.

Предпочтительно центр массы находится не более чем приблизительно на 70 процентах пути вдоль длины изделия, генерирующего аэрозоль, от расположенного дальше по ходу потока конца.

Обеспечение компоновки элементов, при которой центр массы находится ближе к расположенному раньше по ходу потока концу, чем к расположенному дальше по ходу потока концу, приводит к тому, что изделие, генерирующее аэрозоль, имеет весовой дисбаланс с более тяжелым расположенным раньше по ходу потока концом. Этот весовой дисбаланс может преимущественно обеспечивать тактильную обратную связь с потребителем, чтобы он мог различать расположенный раньше по ходу потока и расположенный дальше по ходу потока концы, чтобы правильный конец можно было вставить в устройство, генерирующее аэрозоль. Это может быть особенно полезным, когда предусмотрен расположенный раньше по ходу потока элемент, вследствие чего расположенный раньше по ходу потока и расположенный дальше по ходу потока концы изделия, генерирующего аэрозоль, визуально похожи друг на друга.

В вариантах осуществления изделий, генерирующих аэрозоль, в соответствии с настоящим изобретением, где присутствуют оба из элемента, охлаждающего аэрозоль, и опорного элемента, они предпочтительно обернуты вместе в объединенную обертку. Объединенная обертка окружает элемент, охлаждающий аэрозоль, и опорный элемент, но не окружает еще дальше по ходу потока, например, мундштучный элемент.

В этих вариантах осуществления элемент, охлаждающий аэрозоль, и опорный элемент объединены перед окружением объединенной оберткой, перед тем как они дополнительно объединены с мундштучным сегментом.

С точки зрения изготовления это выгодно, поскольку позволяет собирать более короткие изделия, генерирующие аэрозоль.

В общем, могут возникнуть трудности с обработкой отдельных элементов, длина которых меньше их диаметра. Например, для элементов с диаметром 7 миллиметров длина приблизительно 7 миллиметров представляет пороговое значение, близко к которому предпочтительно не приближаться. Однако элемент, охлаждающий аэрозоль, размером 10 миллиметров может быть объединен с парой опорных элементов размером 7 миллиметров с каждой стороны (и, возможно, с другими элементами, такими как стержень субстрата, генерирующего аэрозоль, и т. д.) для получения полого сегмента размером 24 миллиметра, который затем разрезается на две промежуточные полые секции размером 12 миллиметров.

В особенно предпочтительных вариантах осуществления другие компоненты изделия, генерирующего аэрозоль, по отдельности окружены своей собственной оберткой. Другими словами, все из расположенного раньше по ходу потока элемента, стержня субстрата, генерирующего аэрозоль, опорного элемента и элемента, охлаждающего аэрозоль, обернуты по отдельности. Опорный элемент и элемент, охлаждающий аэрозоль, объединены для образования промежуточной полой секции. Это достигается путем обертывания опорного элемента и элемента, охлаждающего аэрозоль, с помощью объединенной обертки. Расположенный раньше по ходу потока элемент, стержень субстрата, генерирующего аэрозоль, и промежуточная полая секция затем объединяются вместе с наружной оберткой. Соответственно, они объединены с мундштучным элементом, который имеет свою собственную обертку, с помощью ободковой бумаги.

Предпочтительно по меньшей мере один из компонентов изделия, генерирующего аэрозоль, обернут в гидрофобную обертку.

Термин «гидрофобная» относится к поверхности, проявляющей водоотталкивающие свойства. Одним применяемым способом определения этого показателя является измерение краевого угла смачивания водой. «Краевой угол смачивания водой» представляет собой угол, обычно измеряемый посредством жидкости, где граница раздела жидкость/пар соприкасается с твердой поверхностью. В количественном выражении он означает смачиваемость твердой поверхности жидкостью согласно уравнению Юнга. Гидрофобность или краевой угол смачивания водой могут быть определены посредством использования способа испытания TAPPI T558, и результат представляют в виде краевого угла смачивания на границе раздела, выражаемого в «градусах», который может находиться в диапазоне от приблизительно нуля до приблизительно 180 градусов.

В предпочтительных вариантах осуществления гидрофобная обертка представляет собой обертку, содержащую бумажный слой, имеющий краевой угол смачивания водой, составляющий приблизительно 30 градусов или больше, и предпочтительно приблизительно 35 градусов или больше, или приблизительно 40 градусов или больше, или приблизительно 45 градусов или больше.

В качестве примера бумажный слой может содержать PVOH (поливиниловый спирт) или кремний. PVOH может быть нанесен на бумажный слой в качестве поверхностного покрытия, или бумажный слой может предусматривать поверхностную обработку, предусматривающую PVOH или кремний.

В особенно предпочтительном варианте осуществления изделие, генерирующее аэрозоль, в соответствии с настоящим изобретением содержит в линейной последовательной компоновке расположенный раньше по ходу потока элемент, стержень субстрата, генерирующего аэрозоль, размещенный непосредственно дальше по ходу потока относительно расположенного раньше по ходу потока элемента, опорный элемент, размещенный непосредственно дальше по ходу потока относительно стержня субстрата, генерирующего аэрозоль, элемент, охлаждающий аэрозоль, размещенный непосредственно дальше по ходу потока относительно опорного элемента, мундштучный элемент, размещенный непосредственно дальше по ходу потока относительно элемента, охлаждающего аэрозоль, и наружную обертку, окружающую расположенный раньше по ходу потока элемент, опорный элемент, элемент, охлаждающий аэрозоль, и мундштучный элемент.

Более подробно, стержень субстрата, генерирующего аэрозоль, может примыкать к расположенному раньше по ходу потока элементу. Опорный элемент может примыкать к стержню субстрата, генерирующего аэрозоль. Элемент, охлаждающий аэрозоль, может примыкать к опорному элементу. Мундштучный элемент может примыкать к элементу, охлаждающему аэрозоль.

Изделие, генерирующее аэрозоль, имеет по существу цилиндрическую форму и наружный диаметр приблизительно 7,25 миллиметра.

Расположенный раньше по ходу потока элемент имеет длину приблизительно 5 миллиметров, стержень изделия, генерирующего аэрозоль, имеет длину приблизительно 12 миллиметров, опорный элемент имеет длину приблизительно 8 миллиметров, мундштучный элемент имеет длину приблизительно 12 миллиметров. Таким образом, общая длина изделия, генерирующего аэрозоль, составляет приблизительно 45 миллиметров.

Расположенный раньше по ходу потока элемент имеет форму заглушки из ацетата целлюлозы, которая обернута в жесткую обертку.

Изделие, генерирующее аэрозоль, содержит удлиненный токоприемник, размещенный по существу продольно внутри стержня субстрата, генерирующего аэрозоль, и находится в тепловом контакте с субстратом, генерирующим аэрозоль. Токоприемник имеет форму полоски или пластины, имеет длину, по существу равную длине стержня субстрата, генерирующего аэрозоль, и толщину приблизительно 60 микрометров.

Опорный элемент имеет форму полой ацетатцеллюлозной трубки и имеет внутренний диаметр приблизительно 1,9 миллиметра. Таким образом, толщина периферийной стенки опорного элемента составляет приблизительно 2,675 миллиметра.

Элемент, охлаждающий аэрозоль, имеет форму более тонкой полой ацетатцеллюлозной трубки и имеет внутренний диаметр приблизительно 3,25 миллиметра. Таким образом, толщина периферийной стенки элемента, охлаждающего аэрозоль, составляет приблизительно 2 миллиметра.

Мундштук имеет форму фильтрующего сегмента из ацетата целлюлозы низкой плотности.

Стержень субстрата, генерирующего аэрозоль, содержит по меньшей мере один из типов субстрата, генерирующего аэрозоль, описанных выше, например, гомогенизированный табак, гелевый состав или гомогенизированный растительный материал, содержащий частицы растения, отличного от табака.

Далее настоящее изобретение будет дополнительно описано со ссылкой на изображение согласно сопроводительной фиг. 1, на котором показан схематический вид сбоку в разрезе изделия, генерирующего аэрозоль, в соответствии с настоящим изобретением.

Изделие 10, генерирующее аэрозоль, показанное на фиг. 1, содержит стержень 12 субстрата 12, генерирующего аэрозоль, и расположенную дальше по ходу потока секцию 14 в местоположении дальше по ходу потока относительно стержня 12 субстрата, генерирующего аэрозоль. Кроме того, изделие 10, генерирующее аэрозоль, содержит расположенную раньше по ходу потока секцию 16 в местоположении раньше по ходу потока относительно стержня 12 субстрата, генерирующего аэрозоль. Таким образом, изделие 10, генерирующее аэрозоль, проходит от расположенного раньше по ходу потока или дальнего конца 18 до расположенного дальше по ходу потока или мундштучного конца 20.

Изделие, генерирующее аэрозоль, имеет общую длину приблизительно 45 миллиметров.

Расположенная дальше по ходу потока секция 14 содержит опорный элемент 22, размещенный непосредственно дальше по ходу потока относительно стержня 12 субстрата, генерирующего аэрозоль, причем опорный элемент 22 находится в продольном выравнивании со стержнем 12. В варианте осуществления по фиг. 1 расположенный раньше по ходу потока конец опорного элемента 18 примыкает к расположенному дальше по ходу потока концу стержня 12 субстрата, генерирующего аэрозоль. Дополнительно расположенная дальше по ходу потока секция 14 содержит элемент 24, охлаждающий аэрозоль, размещенный непосредственно дальше по ходу потока относительно опорного элемента 22, причем элемент 24, охлаждающий аэрозоль, находится в продольном выравнивании со стержнем 12 и опорным элементом 22. В варианте осуществления по фиг. 1 расположенный раньше по ходу потока конец элемента 24, охлаждающего аэрозоль, примыкает к расположенному дальше по ходу потока концу опорного элемента 22.

Как будет понятно из следующего описания, опорный элемент 22 и элемент 24, охлаждающий аэрозоль, вместе определяют промежуточную полую секцию 50 изделия 10, генерирующего аэрозоль. В целом промежуточная полая секция 50 не вносит существенного вклада в общее RTD изделия, генерирующего аэрозоль. RTD промежуточной полой секции 26 в целом составляет по существу 0 миллиметров вод. ст.

Опорный элемент 22 содержит первый полый трубчатый сегмент 26. Первый полый трубчатый сегмент 26 предоставлен в форме полой цилиндрической трубки, выполненной из ацетата целлюлозы. Первый полый трубчатый сегмент 26 определяет внутреннюю полость 28, которая проходит на все расстояние от расположенного раньше по ходу потока конца 30 первого полого трубчатого сегмента до расположенного дальше по ходу потока конца 32 первого полого трубчатого сегмента 20. Внутренняя полость 28 является по существу пустой, и поэтому возможен по существу неограниченный поток воздуха вдоль внутренней полости 28. Первый полый трубчатый сегмент 26 и, как следствие, опорный элемент 22 не вносят существенного вклада в общее RTD изделия 10, генерирующего аэрозоль. Более подробно, RTD первого полого трубчатого сегмента 26 (которое представляет собой по сути RTD опорного элемента 22) составляет по существу 0 миллиметров вод. ст.

Первый полый трубчатый сегмент 26 имеет длину приблизительно 8 миллиметров, внешний диаметр приблизительно 7,25 миллиметра и внутренний диаметр (DFTS) приблизительно 1,9 миллиметра. Таким образом, толщина периферийной стенки первого полого трубчатого сегмента 26 составляет приблизительно 2,67 миллиметра.

Элемент 24, охлаждающий аэрозоль, содержит второй полый трубчатый сегмент 34. Второй полый трубчатый сегмент 34 предоставлен в форме полой цилиндрической трубки, выполненной из ацетата целлюлозы. Второй полый трубчатый сегмент 34 определяет внутреннюю полость 36, которая проходит на все расстояние от расположенного раньше по ходу потока конца 38 второго полого трубчатого сегмента до расположенного дальше по ходу потока конца 40 второго полого трубчатого сегмента 34. Внутренняя полость 36 является по существу пустой, и поэтому возможен по существу неограниченный поток воздуха вдоль внутренней полости 36. Второй полый трубчатый сегмент 28 и, как следствие, элемент 24, охлаждающий аэрозоль, не вносят существенного вклада в общее RTD изделия 10, генерирующего аэрозоль. Более подробно, RTD второго полого трубчатого сегмента 34 (которое представляет собой по сути RTD элемента 24, охлаждающего аэрозоль) составляет по существу 0 миллиметров вод. ст.

Второй полый трубчатый сегмент 34 имеет длину приблизительно 8 миллиметров, внешний диаметр приблизительно 7,25 миллиметра и внутренний диаметр (DSTS) приблизительно 3,25 миллиметра. Таким образом, толщина периферийной стенки второго полого трубчатого сегмента 34 составляет приблизительно 2 миллиметра. Таким образом, соотношение между внутренним диаметром (DFTS) первого полого трубчатого сегмента 26 и внутренним диаметром (DSTS) второго полого трубчатого сегмента 34 составляет приблизительно 0,75.

Изделие 10, генерирующее аэрозоль, содержит зону 60 вентиляции, предоставленную в местоположении вдоль второго полого трубчатого сегмента 34. Более подробно, зона вентиляции предоставлена на расстоянии приблизительно 2 миллиметров от расположенного раньше по ходу потока конца второго полого трубчатого сегмента 34. Уровень вентиляции изделия 10, генерирующего аэрозоль, составляет приблизительно 25 процентов.

В варианте осуществления по фиг. 1, расположенная дальше по ходу потока секция 14 дополнительно содержит мундштучный элемент 42 в местоположении дальше по ходу потока относительно промежуточной полой секции 50. Более подробно, мундштучный элемент 42 размещен непосредственно дальше по ходу потока относительно элемента 24, охлаждающего аэрозоль. Как показано на изображении по фиг. 1, расположенный раньше по ходу потока конец мундштучного элемента 42 примыкает к расположенному дальше по ходу потока концу 40 элемента 18, охлаждающего аэрозоль.

Мундштучный элемент 42 предоставлен в форме цилиндрической заглушки из ацетата целлюлозы низкой плотности.

Мундштучный элемент 42 имеет длину приблизительно 12 миллиметров и внешний диаметр приблизительно 7,25 миллиметра. RTD мундштучного элемента 42 составляет приблизительно 12 миллиметров вод. ст.

Стержень 12 содержит субстрат, генерирующий аэрозоль, одного из типов, описанных выше.

Стержень 12 субстрата, генерирующего аэрозоль, имеет внешний диаметр приблизительно 7,25 миллиметра и длину приблизительно 12 миллиметров.

Изделие 10, генерирующее аэрозоль, дополнительно содержит удлиненный токоприемник 44 внутри стержня 12 субстрата, генерирующего аэрозоль. Более подробно, токоприемник 44 размещен по существу продольно внутри субстрата, генерирующего аэрозоль, таким образом, чтобы быть приблизительно параллельным продольному направлению стержня 12. Как показано на изображении по фиг. 1, токоприемник 44 размещен в радиально центральном положении внутри стержня и проходит фактически вдоль продольной оси стержня 12.

Токоприемник 44 проходит на все расстояние от расположенного раньше по ходу потока конца до расположенного дальше по ходу потока конца стержня 12. В действительности токоприемник 44 имеет по существу такую же длину, как и стержень 12 субстрата, генерирующего аэрозоль.

В варианте осуществления по фиг. 1 токоприемник 44 предоставлен в форме полоски и имеет длину приблизительно 12 миллиметров, толщину приблизительно 60 микрометров и ширину приблизительно 4 миллиметра. Расположенная раньше по ходу потока секция 16 содержит расположенный раньше по ходу потока элемент 46, размещенный непосредственно раньше по ходу потока относительно стержня 12 субстрата, генерирующего аэрозоль, причем расположенный раньше по ходу потока элемент 46 находится в продольном выравнивании со стержнем 12. В варианте осуществления по фиг. 1 расположенный дальше по ходу потока конец расположенного раньше по ходу потока элемента 46 примыкает к расположенному раньше по ходу потока концу стержня 12 субстрата, генерирующего аэрозоль. Это преимущественно предотвращает смещение токоприемника 44. Кроме того, это гарантирует, что потребитель не сможет случайно коснуться нагретого токоприемника 44 после использования.

Расположенный раньше по ходу потока элемент 46 предоставлен в форме цилиндрической заглушки из ацетата целлюлозы, которая окружена жесткой оберткой. Расположенный раньше по ходу потока элемент 46 имеет длину приблизительно 5 миллиметров. RTD расположенного раньше по ходу потока элемента 46 составляет приблизительно 30 миллиметров вод. ст.

Похожие патенты RU2832164C1

название год авторы номер документа
ВЕНТИЛИРУЕМОЕ ИЗДЕЛИЕ, ГЕНЕРИРУЮЩЕЕ АЭРОЗОЛЬ, С РАСПОЛОЖЕННЫМ РАНЬШЕ ПО ХОДУ ПОТОКА ПОРИСТЫМ СЕГМЕНТОМ 2021
  • Бертольдо, Массимилиано
  • Лхаоу, Эюб
  • Монтанари, Эдоардо
  • Ютюрри, Жером
  • Несовиц, Милица
RU2825849C1
ВЕНТИЛИРУЕМОЕ ИЗДЕЛИЕ, ГЕНЕРИРУЮЩЕЕ АЭРОЗОЛЬ, С ИНДУКЦИОННЫМ НАГРЕВОМ 2021
  • Кантьери, Фабио
  • Д`Амбра, Джанпаоло
  • Несовиц, Милица
  • Ютюрри, Жером
RU2830729C1
ИЗДЕЛИЕ, ГЕНЕРИРУЮЩЕЕ АЭРОЗОЛЬ, ИМЕЮЩЕЕ НОВУЮ КОНФИГУРАЦИЮ 2021
  • Монтанари, Эдоардо
  • Несовиц, Милица
  • Орсолини, Паола
  • Ютюрри, Жером
RU2824481C1
ИЗДЕЛИЕ, ГЕНЕРИРУЮЩЕЕ АЭРОЗОЛЬ, С УЛУЧШЕННОЙ КОНФИГУРАЦИЕЙ 2021
  • Д'Амбра, Джанпаоло
  • Несовиц, Милица
  • Ютюрри, Жером
RU2827954C1
ГЕНЕРИРУЮЩЕЕ АЭРОЗОЛЬ ИЗДЕЛИЕ С УДЛИНЕННЫМ ТОКОПРИЕМНИКОМ 2021
  • Бертольдо, Массимилиано
  • Несовиц, Милица
  • Престиа, Иван
  • Россолл, Андреас Михаэль
  • Шмидт, Йоханн Фридрих
  • Стура, Энрико
RU2831259C1
ИЗДЕЛИЕ, ГЕНЕРИРУЮЩЕЕ АЭРОЗОЛЬ, С ЗАДАННЫМ НАПРАВЛЕНИЕМ ВСТАВКИ 2021
  • Несовиц, Милица
RU2832586C1
ИЗДЕЛИЕ, ГЕНЕРИРУЮЩЕЕ АЭРОЗОЛЬ, СОДЕРЖАЩЕЕ СУБСТРАТ С ГЕЛЕВОЙ КОМПОЗИЦИЕЙ 2021
  • Д`Амбра, Джанпаоло
  • Несовиц, Милица
  • Орсолини, Паола
  • Ютюрри, Жером
RU2826034C1
ИЗДЕЛИЕ, ГЕНЕРИРУЮЩЕЕ АЭРОЗОЛЬ, СОДЕРЖАЩЕЕ РАСПОЛОЖЕННЫЙ ВЫШЕ ПО ХОДУ ПОТОКА ЭЛЕМЕНТ 2021
  • Бертольдо, Массимилиано
  • Д'Амбра, Джанпаоло
  • Монтанари, Эдоардо
  • Орсолини, Паола
  • Престиа, Иван
RU2826137C1
ИЗДЕЛИЕ, ГЕНЕРИРУЮЩЕЕ АЭРОЗОЛЬ, СИСТЕМА, ГЕНЕРИРУЮЩАЯ АЭРОЗОЛЬ И СОДЕРЖАЩАЯ ТАКОЕ ИЗДЕЛИЕ, А ТАКЖЕ СПОСОБ ИЗГОТОВЛЕНИЯ ИЗДЕЛИЯ, ГЕНЕРИРУЮЩЕГО АЭРОЗОЛЬ 2021
  • Жордий, Ив
  • Папакириллоу, Стефанос
RU2837824C1
СИСТЕМА, ГЕНЕРИРУЮЩАЯ АЭРОЗОЛЬ, ИЗДЕЛИЕ, ГЕНЕРИРУЮЩЕЕ АЭРОЗОЛЬ, ДЛЯ ТАКОЙ СИСТЕМЫ, А ТАКЖЕ СПОСОБ ИЗГОТОВЛЕНИЯ ИЗДЕЛИЯ, ГЕНЕРИРУЮЩЕГО АЭРОЗОЛЬ 2021
  • Папакириллоу, Стефанос
RU2837828C1

Иллюстрации к изобретению RU 2 832 164 C1

Реферат патента 2024 года ИЗДЕЛИЕ, ГЕНЕРИРУЮЩЕЕ АЭРОЗОЛЬ, C ДВОЙНЫМ ПОЛЫМ ТРУБЧАТЫМ СЕГМЕНТОМ

Изобретение относится к генерирующим аэрозоль изделиям. Устройство содержит стержень субстрата, генерирующего аэрозоль, расположенную дальше по ходу потока секцию в местоположении дальше по ходу потока относительно стержня субстрата. Секция содержит опорный элемент, расположенный непосредственно дальше по ходу потока относительно стержня. Опорный элемент находится в продольном выравнивании со стержнем и содержит первый полый трубчатый сегмент, имеющий внутренний диаметр, элемент, охлаждающий аэрозоль, расположенный непосредственно дальше по ходу потока относительно опорного элемента и находящийся в продольном выравнивании с опорным элементом и стержнем. Элемент, охлаждающий аэрозоль, содержит второй полый трубчатый сегмент, имеющий внутренний диаметр. Зона вентиляции находится в местоположении вдоль второго полого трубчатого сегмента. Внутренний диаметр второго полого трубчатого сегмента больше, чем внутренний диаметр первого полого трубчатого сегмента, соотношение между внутренним диаметром второго полого трубчатого сегмента и внутренним диаметром первого полого трубчатого сегмента составляет по меньшей мере 1,25. Обеспечивается быстрота и эффективность изготовления, низкая изменчивость сопротивления затяжке, сохранение сенсорных ощущений за счет стабильной доставки никотина. 14 з.п. ф-лы, 1 ил.

Формула изобретения RU 2 832 164 C1

1. Изделие, генерирующее аэрозоль, для получения вдыхаемого аэрозоля при нагреве, содержащее:

стержень субстрата, генерирующего аэрозоль; и

расположенную дальше по ходу потока секцию в местоположении дальше по ходу потока относительно стержня субстрата, генерирующего аэрозоль, при этом расположенная дальше по ходу потока секция содержит:

опорный элемент, расположенный непосредственно дальше по ходу потока относительно стержня субстрата, генерирующего аэрозоль, причем опорный элемент находится в продольном выравнивании со стержнем и содержит первый полый трубчатый сегмент, имеющий внутренний диаметр (DFTS);

элемент, охлаждающий аэрозоль, расположенный непосредственно дальше по ходу потока относительно опорного элемента и находящийся в продольном выравнивании с опорным элементом и стержнем субстрата, генерирующего аэрозоль, причем элемент, охлаждающий аэрозоль, содержит второй полый трубчатый сегмент, имеющий внутренний диаметр (DSTS);

причем изделие, генерирующее аэрозоль, содержит зону вентиляции в местоположении вдоль второго полого трубчатого сегмента, и

причем внутренний диаметр (DSTS) второго полого трубчатого сегмента больше, чем внутренний диаметр (DFTS) первого полого трубчатого сегмента, соотношение между внутренним диаметром (DSTS) второго полого трубчатого сегмента и внутренним диаметром (DFTS) первого полого трубчатого сегмента составляет по меньшей мере 1,25.

2. Изделие, генерирующее аэрозоль, по п. 1, отличающееся тем, что соотношение между внутренним диаметром (DSTS) второго полого трубчатого сегмента и внутренним диаметром (DFTS) первого полого трубчатого сегмента составляет по меньшей мере 1,5.

3. Изделие, генерирующее аэрозоль, по п. 1 или 2, отличающееся тем, что внутренний диаметр (DFTS) первого полого трубчатого сегмента составляет по меньшей мере 1,2 миллиметра.

4. Изделие, генерирующее аэрозоль, по любому из предыдущих пунктов, отличающееся тем, что внутренний диаметр (DSTS) второго полого трубчатого сегмента составляет по меньшей мере 2,5 миллиметра.

5. Изделие, генерирующее аэрозоль, по любому из предыдущих пунктов, отличающееся тем, что первый полый трубчатый сегмент имеет длину от 6 миллиметров до 12 миллиметров.

6. Изделие, генерирующее аэрозоль, по любому из предыдущих пунктов, отличающееся тем, что второй полый трубчатый сегмент имеет длину от 5 миллиметров до 10 миллиметров.

7. Изделие, генерирующее аэрозоль, по любому из предыдущих пунктов, отличающееся тем, что толщина периферийной стенки первого полого трубчатого сегмента составляет по меньшей мере 1 миллиметр.

8. Изделие, генерирующее аэрозоль, по любому из предыдущих пунктов, отличающееся тем, что толщина периферийной стенки второго полого трубчатого сегмента составляет менее 2,5 миллиметра.

9. Изделие, генерирующее аэрозоль, по любому из предыдущих пунктов, отличающееся тем, что изделие дополнительно содержит удлиненный токоприемник, расположенный продольно внутри субстрата, генерирующего аэрозоль.

10. Изделие, генерирующее аэрозоль, по п. 9, отличающееся тем, что токоприемник проходит на все расстояние до расположенного дальше по ходу потока конца стержня субстрата, генерирующего аэрозоль.

11. Изделие, генерирующее аэрозоль, по п. 9 или 10, отличающееся тем, что соотношение между внутренним диаметром (DFTS) первого полого трубчатого сегмента и шириной токоприемника составляет по меньшей мере 0,2.

12. Изделие, генерирующее аэрозоль, по пп. 9-11, отличающееся тем, что соотношение между внутренним диаметром (DSTS) второго полого трубчатого сегмента и шириной токоприемника составляет по меньшей мере 0,2.

13. Изделие, генерирующее аэрозоль, по любому из предыдущих пунктов, отличающееся тем, что соотношение между объемом полости первого полого трубчатого сегмента и объемом полости второго полого трубчатого сегмента составляет от 0,1 до 0,9.

14. Изделие, генерирующее аэрозоль, по любому из предыдущих пунктов, отличающееся тем, что RTD опорного элемента составляет менее 10 миллиметров вод. ст.

15. Изделие, генерирующее аэрозоль, по любому из предыдущих пунктов, отличающееся тем, что RTD элемента, охлаждающего аэрозоль, составляет менее 10 миллиметров вод. ст.

Документы, цитированные в отчете о поиске Патент 2024 года RU2832164C1

Устройство для формирования пространственного спирального поля 2015
  • Юнг Борис Николаевич
  • Багрянцев Валерий Николаевич
  • Пак Олег Игоревич
  • Бондарь Анатолий Владимирович
  • Гумовский Александр Николаевич
RU2609821C1
СИГАРЕТА 2005
  • Пыжов Андрей Иванович
  • Шведов Сергей Александрович
  • Тимченко Павел Владимирович
RU2295267C1
УЗЕЛ С КУРИТЕЛЬНЫМ ИЗДЕЛИЕМ И ПРИКРЕПЛЯЕМОЙ К НЕМУ ТРУБКОЙ 2016
  • Жордий Ив
  • Делалоие Сесилия Линдхольм
  • Гранжан Эмерик
RU2700960C2
EP 3075269 A2, 05.10.2016
Устройство для закрепления лыж на раме мотоциклов и велосипедов взамен переднего колеса 1924
  • Шапошников Н.П.
SU2015A1

RU 2 832 164 C1

Авторы

Д'Амбра, Джанпаоло

Монтанари, Эдоардо

Несовиц, Милица

Ютюрри, Жером

Даты

2024-12-20Публикация

2021-02-24Подача