Настоящее изобретение относится к изделию, генерирующему аэрозоль, содержащему субстрат, генерирующий аэрозоль, и приспособленному для получения вдыхаемого аэрозоля при нагреве.
Изделия, генерирующие аэрозоль, в которых субстрат, генерирующий аэрозоль, такой как табакосодержащий субстрат, нагревают, а не сжигают, известны в данной области техники.
В обычной сигарете потребитель подносит пламя к дальнему концу сигареты, одновременно втягивая воздух через ближний конец. Тепло, выделяемое пламенем локально и кислород в воздухе, втягивающемся через сигарету, вызывает воспламенение дальнего конца сигареты, а при сгорании табачного стержня и окружающей обертки образуется вдыхаемый дым. Для сравнения, в нагреваемых изделиях, генерирующих аэрозоль, аэрозоль генерируется путем более щадящей передачи тепла от источника тепла к физически отдельному субстрату, генерирующему аэрозоль, или материалу, который может быть расположен в контакте с источником тепла, внутри, вокруг него или дальше по ходу потока относительно него. Во время использования изделия, генерирующего аэрозоль, летучие соединения высвобождаются из субстрата, генерирующего аэрозоль, путем передачи тепла от источника тепла и захватываются воздухом, втягиваемым через изделие, генерирующее аэрозоль. По мере охлаждения высвобождаемых соединений они конденсируются с образованием аэрозоля.
В ряде документов известного уровня техники раскрыты устройства, генерирующие аэрозоль, для потребления изделий, генерирующих аэрозоль. Такие устройства включают в себя, например, электрически нагреваемые устройства, генерирующие аэрозоль, в которых аэрозоль генерируется путем передачи тепла от одного или более электрических элементов-нагревателей устройства, генерирующего аэрозоль, к субстрату, генерирующему аэрозоль, нагреваемого изделия, генерирующего аэрозоль. Например, были предложены электрически нагреваемые устройства, генерирующие аэрозоль, которые содержат внутреннюю нагревательную пластину, которая приспособлена для вставки в субстрат, генерирующий аэрозоль. В качестве альтернативы также были предложены индукционно нагреваемые изделия, генерирующие аэрозоль, содержащие субстрат, генерирующий аэрозоль, и токоприемник, расположенный внутри субстрата, генерирующего аэрозоль.
Изделия, генерирующие аэрозоль, в которых табакосодержащий субстрат нагревают, а не сжигают, создают ряд проблем, которые не возникали с обычными курительными изделиями. Табакосодержащие субстраты, как правило, нагревают до значительно более низких температур по сравнению с температурами, достигаемыми фронтом горения в обычной сигарете. Однако температуры нагрева не могут быть слишком низкими, так как это может повлиять на высвобождение никотина из табакосодержащего субстрата и доставку никотина потребителю. Кроме того, для увеличения эффективности передачи тепла, как правило, желательно, чтобы источник тепла располагался как можно ближе к субстрату, генерирующему аэрозоль, и предпочтительно контактировал с ним.
Следовательно, в существующих изделиях, генерирующих аэрозоль, предназначенных для нагрева с помощью пластины-нагревателя, вставленной в субстрат, генерирующий аэрозоль, или с помощью токоприемника, расположенного внутри субстрата, генерирующего аэрозоль, субстрат, генерирующий аэрозоль, обычно окружен оберткой, объединяющей бумажный слой с металлической фольгой, такой как алюминиевая фольга. Таким образом, металлический слой, расположенный между субстратом, генерирующим аэрозоль, и бумажной оберткой, действует как тепловой экран и предотвращает подгорание или обугливание бумажной обертки во время использования.
Это желательно, поскольку повышает безопасность использования изделия, генерирующего аэрозоль, и предотвращает доставку продуктов сгорания бумаги или продуктов пиролиза бумаги потребителю во время использования. Однако включение одного такого металлического экрана делает процесс изготовления более сложным и дорогостоящим и может привести к увеличению воздействия изделия, генерирующего аэрозоль, на окружающую среду, когда его утилизируют после использования. Кроме того, поскольку первоначальное визуальное воздействие изделия, генерирующего аэрозоль, по существу сохраняется во время использования, может быть трудно определить, эффективно ли использовалось изделие, генерирующее аэрозоль, или нет.
Соответственно, было бы желательно предоставить новое и улучшенное изделие, генерирующее аэрозоль, которое легче утилизировать, и которое оказывает меньшее воздействие на окружающую среду, и в то же время приспособлено для предотвращения подгорания или обугливания изделия во время использования. Во-вторых, как правило, ощущается необходимость в новом и улучшенном изделии, генерирующем аэрозоль, которое по существу предотвращает неправильное использование изделия, так что изделие может быть правильно использовано только в устройстве, генерирующем аэрозоль, приспособленном для нагрева субстрата, генерирующего аэрозоль, а не использовано в качестве обычной сигареты. Кроме того, было бы желательно предоставить одно такое изделие, генерирующее аэрозоль, которое может быть изготовлено эффективно и с высокой скоростью, предпочтительно без необходимости в значительной модификации существующего устройства.
Следовательно, было бы желательно предоставить новое и улучшенное изделие, генерирующее аэрозоль, приспособленное для достижения по меньшей мере одного из желаемых результатов, описанных выше.
Настоящее изобретение относится к изделию, генерирующему аэрозоль, для получения вдыхаемого аэрозоля при нагреве, причем изделие, генерирующее аэрозоль, содержит стержень субстрата, генерирующий аэрозоль, проходящий от ближнего конца стержня к дальнему концу стержня, расположенному раньше по ходу потока относительно ближнего конца стержня. Субстрат, генерирующий аэрозоль, может содержать по меньшей мере вещество для образования аэрозоля. Изделие, генерирующее аэрозоль, может содержать расположенную дальше по ходу потока секцию в местоположении дальше по ходу потока относительно стержня субстрата, генерирующего аэрозоль. Изделие, генерирующее аэрозоль, может содержать обертку, окружающую по меньшей мере стержень субстрата, генерирующего аэрозоль. Обертка может содержать основной материал для обертывания, имеющий основной вес. По меньшей мере обработанная часть обертки, проходящая между ближним концом стержня и дальним концом стержня, может содержать препятствующую воспламенению композицию, содержащую одно или более препятствующих воспламенению соединений, так что обработанная часть обертки имеет общий основной вес, превышающий основной вес основного материала для обертывания. Обработанная часть может проходить на по меньшей мере приблизительно 80 процентов площади внешней поверхности стержня субстрата, генерирующего аэрозоль.
Согласно настоящему изобретению предусмотрено изделие, генерирующее аэрозоль, для получения вдыхаемого аэрозоля при нагреве, причем изделие, генерирующее аэрозоль, содержит: стержень субстрата, генерирующего аэрозоль, проходящий от ближнего конца стержня к дальнему концу стержня, расположенному раньше по ходу потока относительно ближнего конца стержня; расположенную дальше по ходу потока секцию в местоположении дальше по ходу потока относительно стержня субстрата, генерирующего аэрозоль, и обертку, окружающую по меньшей мере стержень субстрата, генерирующего аэрозоль, причем обертка содержит основной материал для обертывания, имеющий основной вес. По меньшей мере обработанная часть обертки, проходящая между ближним концом стержня и дальним концом стержня, содержит препятствующую воспламенению композицию, содержащую одно или более препятствующих воспламенению соединений, так что обработанная часть обертки имеет общий основной вес, превышающий основной вес основного материала для обертывания. Обработанная часть проходит на по меньшей мере приблизительно 80 процентов площади внешней поверхности стержня субстрата, генерирующего аэрозоль.
Настоящее изобретение дополнительно относится к способу изготовления изделия, генерирующего аэрозоль, для генерирования вдыхаемого аэрозоля при нагреве. Способ может включать этап предоставления непрерывного стержня субстрата, генерирующего аэрозоль. Способ может включать дополнительный этап окружения непрерывного стержня субстрата, генерирующего аэрозоль, оберткой, причем обертка содержит основной материал для обертывания, имеющий основной сухой вес. Кроме того, способ может включать этап обработки по меньшей мере части обертки с помощью препятствующей воспламенению композиции, содержащей одно или более соединений так, чтобы предоставить обработанную часть обертки, имеющую общий основной сухой вес, превышающий основной сухой вес материала для обертывания. Кроме того, способ может включать этап разрезания обработанного обернутого непрерывного стержня субстрата, генерирующего аэрозоль, на отдельные стержни, причем каждый отдельный стержень проходит от ближнего конца отдельного стержня к дальнему концу отдельного стержня, расположенному раньше по ходу потока относительно ближнего конца отдельного стержня так, чтобы обработанная часть отдельного стержня проходила на по меньшей мере приблизительно 80 процентов площади внешней поверхности отдельного стержня.
Согласно настоящему изобретению, дополнительно предоставлен способ изготовления изделия, генерирующего аэрозоль, для генерирования вдыхаемого аэрозоля при нагреве, причем способ включает: предоставление непрерывного стержня субстрата, генерирующего аэрозоль, с оберткой, причем обертка содержит основной материал для обертывания, имеющий основной вес; обработку по меньшей мере части обертки с препятствующей воспламенению композицией, содержащей одно или более соединений так, чтобы предоставить обработанную часть обертки, имеющую общий основной сухой вес, превышающий основной сухой вес материала для обертывания; разрезание обработанного обернутого непрерывного стержня субстрата, генерирующего аэрозоль, на отдельные стержни, причем каждый отдельный стержень проходит от ближнего конца отдельного стержня к дальнему концу отдельного стержня, расположенному раньше по ходу потока относительно ближнего конца отдельного стержня так, чтобы обработанная часть отдельного стержня проходила на по меньшей мере приблизительно 80 процентов площади внешней поверхности отдельного стержня.
Настоящее изобретение также относится к системе, генерирующей аэрозоль, содержащей электрическое устройство, генерирующее аэрозоль, и изделие, генерирующее аэрозоль, как указано выше. Устройство, генерирующее аэрозоль, может содержать средство для нагрева стержня субстрата, генерирующего аэрозоль, до температуры, достаточной для генерирования аэрозоля из субстрата, генерирующего аэрозоль.
Согласно настоящему изобретению, дополнительно предоставлена система, генерирующая аэрозоль, содержащая электрическое устройство, генерирующее аэрозоль, и изделие, генерирующее аэрозоль, как описано выше, причем устройство, генерирующее аэрозоль, содержит средство для нагрева стержня субстрата, генерирующего аэрозоль, до температуры, достаточной для генерирования аэрозоля из субстрата, генерирующего аэрозоль.
Как кратко описано выше, в настоящем изобретении предусмотрено изделие, генерирующее аэрозоль, для получения вдыхаемого аэрозоля при нагреве, причем изделие содержит стержень субстрата, генерирующего аэрозоль, проходящий от ближнего конца стержня к дальнему концу стержня, расположенному раньше по ходу потока относительно ближнего конца стержня и расположенную дальше по ходу потока секцию в местоположении дальше по ходу потока относительно стержня субстрата, генерирующего аэрозоль. Более подробно, настоящее изобретение предусматривает изделие, генерирующее аэрозоль, для получения вдыхаемого аэрозоля при нагреве при температуре от приблизительно 100 градусов Цельсия до приблизительно 800 градусов Цельсия, предпочтительно от приблизительно 150 градусов Цельсия до приблизительно 500 градусов Цельсия, более предпочтительно от приблизительно 200 градусов Цельсия до приблизительно 300 градусов Цельсия.
Эти температуры значительно ниже, чем температуры, достигаемые в обычной сигарете при сгорании табакосодержащего субстрата, и еще более значительно ниже, чем температуры, достигаемые коммерчески доступными зажигалками, которые могут находиться в диапазоне от приблизительно 1000 градусов Цельсия до 2000 градусов Цельсия и даже выше.
Кроме того, изделие, генерирующее аэрозоль, содержит обертку, окружающую по меньшей мере стержень субстрата, генерирующего аэрозоль, причем обертка содержит основной материал для обертывания, имеющий основной вес. В отличие от существующих изделий, генерирующих аэрозоль, по меньшей мере обработанная часть обертки, проходящая между ближним концом стержня и дальним концом стержня, содержит препятствующую воспламенению композицию, содержащую одно или более препятствующих воспламенению соединений. Таким образом, обработанная часть обертки имеет общий основной вес, превышающий основной вес основного материала для обертывания. Обработанная часть проходит на по меньшей мере приблизительно 80 процентов площади внешней поверхности стержня субстрата, генерирующего аэрозоль.
Авторы настоящего изобретения обнаружили, что путем окружения субстрата, генерирующего аэрозоль, оберткой, при этом обработанная часть обертки содержит препятствующую воспламенению композицию, причем обработанная часть проходит по большей части площади внешней поверхности стержня субстрата, генерирующего аэрозоль, преимущественно можно предотвратить обугливание или подгорание обертки и нижележащего субстрата, генерирующего аэрозоль, при нагреве во время использования. Другими словами, преимущественно можно существенно предотвратить сгорание и пиролиз компонентов изделии, генерирующих аэрозоль, в соответствии с настоящим изобретением.
В изделиях, генерирующих аэрозоль, в соответствии с настоящим изобретением, это желательно достигается без необходимости включения дополнительного слоя металлической фольги или другого теплозащитного материала в изделие, генерирующее аэрозоль. Это упрощает производственный процесс и может, таким образом, снизить производственные затраты. Также становится легче утилизировать изделие, генерирующее аэрозоль, в соответствии с настоящим изобретением, поскольку нет необходимости отделять и извлекать ценный перерабатываемый материал, такой как, например, алюминиевая фольга, при выбрасывании использованного изделия, генерирующего аэрозоль. Кроме того, авторы настоящего изобретения обнаружили, что путем окружения субстрата, генерирующего аэрозоль, с помощью обертки, как описано выше, когда субстрат, генерирующий аэрозоль, во время использования подвергался воздействию температур в диапазоне от приблизительно 100 градусов Цельсия до приблизительно 800 градусов Цельсия, изделие, генерирующее аэрозоль, выглядит значительно обесцвеченным, поверхность обертки становится темно-коричневой или черноватой.
Соответственно, потребитель может сразу определить, использовалось ли ранее изделие, генерирующее аэрозоль, и следует ли его выбросить.
Регулируя количество препятствующих воспламенению соединений в обертке (например, в расчете количества на квадратный метр площади поверхности обработанной части), степень, до которой поверхность обертки обрабатывают препятствующей воспламенению композицией в пределах вышеописанных диапазонов, а также состав препятствующей воспламенению композиции (то есть характер препятствующего воспламенению соединения или соединений), можно выгодно улучшить препятствующие воспламенению свойства обертки и изделия, генерирующего аэрозоль, в целом.
Таким образом, в настоящем изобретении предусмотрено улучшенное изделие, генерирующее аэрозоль, которое способно по существу предотвращать подгорание и обугливание субстрата, генерирующего аэрозоль, и обертки во время использования. Это связано с тем, что путем предоставления одного или более препятствующих воспламенению соединений на обертке или внутри обертки или и того, и другого, можно по существу предотвратить то, чтобы тепло, подаваемое на изделие для генерирования аэрозоля, вызывало пиролиз или сгорание основного материала обертки.
Изделия, генерирующие аэрозоль, в соответствии с настоящим изобретением преимущественно легко утилизируют и оказывают пониженное воздействие на окружающую среду, поскольку нет необходимости в том, чтобы изделия содержали слой металлической фольги, как это обычно бывает в существующих изделиях, генерирующих аэрозоль.
Кроме того, изделие, генерирующее аэрозоль, в соответствии с настоящим изобретением имеет дополнительное преимущество, заключающееся в том, что его можно правильно использовать только по назначению, то есть в сочетании с устройством, приспособленным для нагрева субстрата, генерирующего аэрозоль. Фактически в отличие от обычной сигареты, изделие, генерирующее аэрозоль, в соответствии с настоящим изобретением по существу не может воспламеняться и не способно поддерживать горение, как обычная сигарета.
В соответствии с настоящим изобретением предусмотрено изделие, генерирующее аэрозоль, для генерирования вдыхаемого аэрозоля при нагреве.
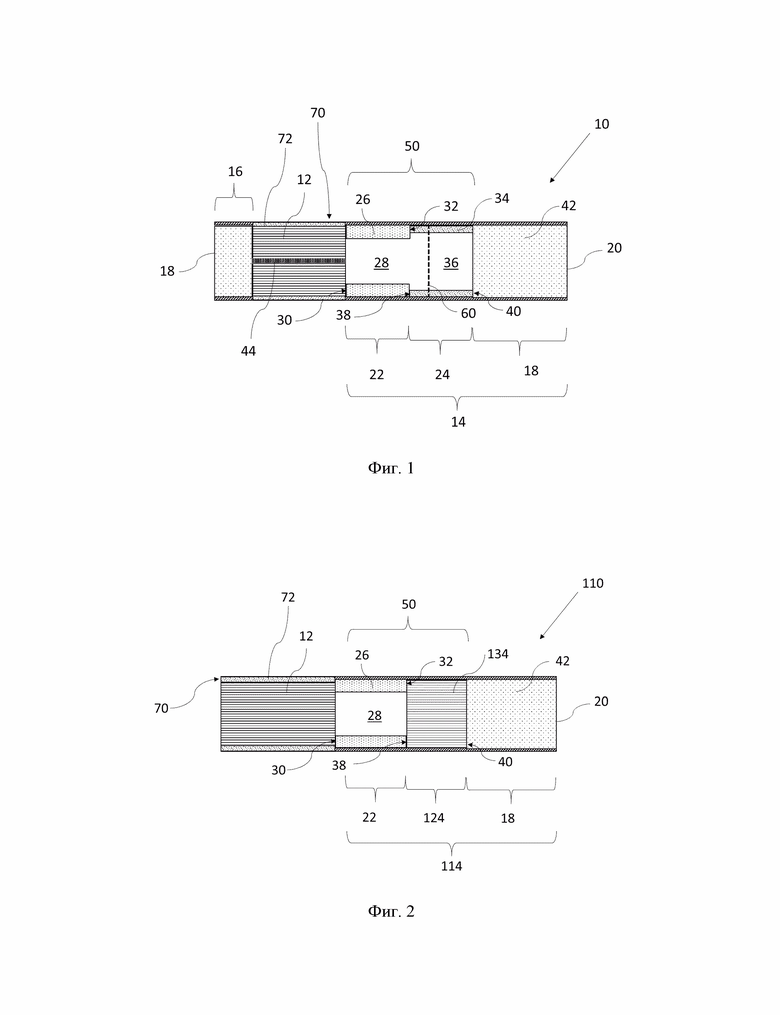
Термин «изделие, генерирующее аэрозоль» используется в данном документе для обозначения изделия, в котором субстрат, генерирующий аэрозоль, нагревается для получения и доставки вдыхаемого аэрозоля потребителю. В контексте данного документа термин «субстрат, генерирующий аэрозоль» обозначает субстрат, способный высвобождать летучие соединения при нагреве для генерирования аэрозоля.
Обычная сигарета поджигается, когда пользователь подносит пламя к одному концу сигареты и втягивает воздух через другой конец. Локализованное тепло, обеспечиваемое пламенем и кислородом в воздухе, втягиваемом через сигарету, является причиной возгорания конца сигареты, и обусловленное этим горение генерирует вдыхаемый дым. Для сравнения, в нагреваемых изделиях, генерирующих аэрозоль, аэрозоль генерируется в результате нагрева субстрата, генерирующего аромат, такого как табак. Известные нагреваемые изделия, генерирующие аэрозоль, включают, например, электрически нагреваемые изделия, генерирующие аэрозоль, и изделия, генерирующие аэрозоль, в которых аэрозоль генерируется путем передачи тепла от горючего тепловыделяющего элемента или источника тепла к физически отдельному материалу, образующему аэрозоль. Например, изделия, генерирующие аэрозоль, согласно настоящему изобретению находят конкретное применение в системах, генерирующих аэрозоль, содержащих электрически нагреваемое устройство, генерирующее аэрозоль, имеющее внутреннюю пластину-нагреватель, которая приспособлена для вставки в стержень субстрата, генерирующего аэрозоль. Изделия, генерирующие аэрозоль, такого типа описаны в известном уровне техники, например, в документе ЕР 0822670.
В контексте данного документа термин «устройство, генерирующее аэрозоль» относится к устройству, содержащему элемент-нагреватель, который взаимодействует с субстратом, генерирующим аэрозоль, изделия, генерирующего аэрозоль, для генерирования аэрозоля.
В контексте данного документа применительно к настоящему изобретению термин «стержень» используется для описания по существу цилиндрического элемента с по существу круглым, овальным или эллиптическим поперечным сечением.
В контексте данного документа термин «продольный» относится к направлению, соответствующему главной продольной оси изделия, генерирующего аэрозоль, которая проходит между расположенным раньше по ходу потока и расположенным дальше по ходу потока концами изделия, генерирующего аэрозоль. В контексте данного документа термины «раньше по ходу потока» и «дальше по ходу потока» описывают относительные положения элементов или частей элементов изделия, генерирующего аэрозоль, по отношению к направлению, в котором аэрозоль транспортируется через изделие, генерирующее аэрозоль, во время использования.
Во время использования воздух втягивается через изделие, генерирующее аэрозоль, в продольном направлении. Термин «поперечный» относится к направлению, которое перпендикулярно продольной оси. Любая ссылка на «сечение» изделия, генерирующего аэрозоль, или компонента изделия, генерирующего аэрозоль, относится к поперечному сечению, если не указано иное.
Термин «длина» обозначает размер компонента изделия, генерирующего аэрозоль, в продольном направлении. Например, его можно использовать для обозначения размера стержня или продолговатых трубчатых элементов в продольном направлении.
Изделие, генерирующее аэрозоль, в соответствии с настоящим изобретением содержит стержень субстрата, генерирующего аэрозоль. Стержень субстрата, генерирующего аэрозоль, проходит от ближнего конца стержня к дальнему концу стержня, расположенному раньше по ходу потока относительно ближнего конца стержня. Кроме того, изделие, генерирующее аэрозоль, содержит расположенную дальше по ходу потока секцию в местоположении дальше по ходу потока относительно стержня субстрата, генерирующего аэрозоль.
В изделиях, генерирующих аэрозоль, в соответствии с настоящим изобретением по меньшей мере стержень субстрата, генерирующего аэрозоль, окружен оберткой. Это означает, что в изделиях, генерирующих аэрозоль, в соответствии с настоящим изобретением та же самая обертка, окружающая стержень субстрата, генерирующего аэрозоль, может также окружать по меньшей мере часть расположенной дальше по ходу потока секции или по меньшей мере часть необязательного дополнительного компонента изделия, генерирующего аэрозоль, предусмотренного в местоположении раньше по ходу потока относительно стержня субстрата, генерирующего аэрозоль, или и то, и другое.
Изделие, генерирующее аэрозоль, может иметь общую длину от приблизительно 35 миллиметров до приблизительно 100 миллиметров.
Предпочтительно общая длина изделия, генерирующего аэрозоль, согласно настоящему изобретению составляет по меньшей мере приблизительно 38 миллиметров. Более предпочтительно общая длина изделия, генерирующего аэрозоль, согласно настоящему изобретению составляет по меньшей мере приблизительно 40 миллиметров. Еще более предпочтительно общая длина изделия, генерирующего аэрозоль, согласно настоящему изобретению составляет по меньшей мере приблизительно 42 миллиметра.
В некоторых вариантах осуществления общая длина изделия, генерирующего аэрозоль, в соответствии с настоящим изобретением предпочтительно меньше или равна 80 миллиметрам. Более предпочтительно общая длина изделия, генерирующего аэрозоль, в соответствии с настоящим изобретением меньше или равна 70 миллиметрам. Еще более предпочтительно общая длина изделия, генерирующего аэрозоль, в соответствии с настоящим изобретением предпочтительно меньше или равна 60 миллиметрам. Наиболее предпочтительно общая длина изделия, генерирующего аэрозоль, в соответствии с настоящим изобретением предпочтительно меньше или равна 50 миллиметрам.
В предпочтительных вариантах осуществления общая длина изделия, генерирующего аэрозоль, составляет от приблизительно 38 миллиметров до приблизительно 70 миллиметров, более предпочтительно от приблизительно 40 миллиметров до приблизительно 70 миллиметров, еще более предпочтительно от приблизительно 42 миллиметров до приблизительно 70 миллиметров. В других вариантах осуществления общая длина изделия, генерирующего аэрозоль, составляет предпочтительно от приблизительно 38 миллиметров до приблизительно 60 миллиметров, более предпочтительно от приблизительно 40 миллиметров до приблизительно 60 миллиметров, еще более предпочтительно от приблизительно 42 миллиметров до приблизительно 60 миллиметров. В дополнительных вариантах осуществления общая длина изделия, генерирующего аэрозоль, составляет предпочтительно от приблизительно 38 миллиметров до приблизительно 50 миллиметров, более предпочтительно от приблизительно 40 миллиметров до приблизительно 50 миллиметров, еще более предпочтительно от приблизительно 42 миллиметров до приблизительно 50 миллиметров. В иллюстративном варианте осуществления общая длина изделия, генерирующего аэрозоль, составляет приблизительно 45 миллиметров.
В других вариантах осуществления общая длина изделия, генерирующего аэрозоль, в соответствии с настоящим изобретением, составляет предпочтительно по меньшей мере приблизительно 40 миллиметров, более предпочтительно приблизительно 50 миллиметров, еще более предпочтительно приблизительно 60 миллиметров. В этих вариантах осуществления общая длина изделия, генерирующего аэрозоль, предпочтительно меньше или равна приблизительно 95 миллиметрам, более предпочтительно меньше или равна приблизительно 90 миллиметрам, еще более предпочтительно меньше или равна приблизительно 85 миллиметрам, наиболее предпочтительно меньше или равна приблизительно 80 миллиметрам.
В предпочтительных вариантах осуществления общая длина изделия, генерирующего аэрозоль, составляет от приблизительно 40 миллиметров до приблизительно 95 миллиметров, предпочтительно от приблизительно 40 миллиметров до приблизительно 90 миллиметров, более предпочтительно от приблизительно 40 миллиметров до приблизительно 85 миллиметров, еще более предпочтительно от приблизительно 40 миллиметров до приблизительно 80 миллиметров. В других вариантах осуществления общая длина изделия, генерирующего аэрозоль, составляет от приблизительно 50 миллиметров до приблизительно 95 миллиметров, предпочтительно от приблизительно 50 миллиметров до приблизительно 90 миллиметров, более предпочтительно от приблизительно 50 миллиметров до приблизительно 85 миллиметров, еще более предпочтительно от приблизительно 50 миллиметров до приблизительно 80 миллиметров. В дополнительных вариантах осуществления общая длина изделия, генерирующего аэрозоль, составляет от приблизительно 60 миллиметров до приблизительно 95 миллиметров, предпочтительно от приблизительно 60 миллиметров до приблизительно 90 миллиметров, более предпочтительно от приблизительно 60 миллиметров до приблизительно 85 миллиметров, еще более предпочтительно от приблизительно 60 миллиметров до приблизительно 80 миллиметров. В еще одних дополнительных вариантах осуществления общая длина изделия, генерирующего аэрозоль, составляет от приблизительно 70 миллиметров до приблизительно 95 миллиметров, предпочтительно от приблизительно 70 миллиметров до приблизительно 90 миллиметров, более предпочтительно от приблизительно 70 миллиметров до приблизительно 85 миллиметров, еще более предпочтительно от приблизительно 70 миллиметров до приблизительно 80 миллиметров. В иллюстративном варианте осуществления общая длина изделия, генерирующего аэрозоль, составляет приблизительно 75 миллиметров.
Изделие, генерирующее аэрозоль, в соответствии с настоящим изобретением может иметь внешний диаметр по меньшей мере 4 миллиметра. Предпочтительно изделие, генерирующее аэрозоль, имеет внешний диаметр по меньшей мере 5 миллиметров. Более предпочтительно изделие, генерирующее аэрозоль, имеет внешний диаметр по меньшей мере 6 миллиметров. Еще более предпочтительно изделие, генерирующее аэрозоль, имеет внешний диаметр по меньшей мере 7 миллиметров.
Предпочтительно изделие, генерирующее аэрозоль, имеет внешний диаметр, который меньше или равен приблизительно 12 миллиметрам. Более предпочтительно изделие, генерирующее аэрозоль, имеет внешний диаметр, который меньше или равен приблизительно 10 миллиметрам. Еще более предпочтительно изделие, генерирующее аэрозоль, имеет внешний диаметр, который меньше или равен приблизительно 8 миллиметрам.
В некоторых вариантах осуществления изделие, генерирующее аэрозоль, имеет внешний диаметр от приблизительно 4 миллиметров до приблизительно 12 миллиметров, предпочтительно от приблизительно 5 миллиметров до приблизительно 12 миллиметров, более предпочтительно от приблизительно 6 миллиметров до приблизительно 12 миллиметров, еще более предпочтительно от приблизительно 7 миллиметров до приблизительно 12 миллиметров. В других вариантах осуществления изделие, генерирующее аэрозоль, имеет внешний диаметр от приблизительно 4 миллиметров до приблизительно 10 миллиметров, предпочтительно от приблизительно 5 миллиметров до приблизительно 10 миллиметров, более предпочтительно от приблизительно 6 миллиметров до приблизительно 10 миллиметров, еще более предпочтительно от приблизительно 7 миллиметров до приблизительно 10 миллиметров. В дополнительных вариантах осуществления изделие, генерирующее аэрозоль, имеет внешний диаметр от приблизительно 4 миллиметров до приблизительно 8 миллиметров, предпочтительно от приблизительно 5 миллиметров до приблизительно 8 миллиметров, более предпочтительно от приблизительно 6 миллиметров до приблизительно 8 миллиметров, еще более предпочтительно от приблизительно 7 миллиметров до приблизительно 8 миллиметров.
Стержень субстрата, генерирующего аэрозоль, может иметь длину от приблизительно 5 миллиметров до приблизительно 100 мм.
В некоторых вариантах осуществления стержень субстрата, генерирующего аэрозоль, предпочтительно имеет длину по меньшей мере приблизительно 6 миллиметров, более предпочтительно по меньшей мере приблизительно 7 миллиметров. В этих вариантах осуществления стержень субстрата, генерирующего аэрозоль, может иметь длину, которая меньше чем приблизительно 90 миллиметров, и предпочтительно имеет длину, которая меньше чем приблизительно 70 миллиметров, более предпочтительно меньше чем приблизительно 65 миллиметров, еще более предпочтительно меньше чем приблизительно 50 миллиметров, наиболее предпочтительно меньше чем приблизительно 40 миллиметров. В особенно предпочтительных вариантах осуществления стержень субстрата, генерирующего аэрозоль, имеет длину менее приблизительно 35 миллиметров, более предпочтительно менее 25 миллиметров, еще более предпочтительно менее приблизительно 20 миллиметров. В одном варианте осуществления стержень субстрата, генерирующего аэрозоль, может иметь длину приблизительно 10 миллиметров. В предпочтительном варианте осуществления стержень субстрата, генерирующего аэрозоль, имеет длину приблизительно 12 миллиметров. Это может быть объединено с общей длиной изделия, генерирующего аэрозоль, приблизительно 4 5 миллиметров.
В других вариантах осуществления стержень субстрата, генерирующего аэрозоль, предпочтительно имеет длину по меньшей мере приблизительно 10 миллиметров, более предпочтительно по меньшей мере приблизительно 20 миллиметров, еще более предпочтительно по меньшей мере приблизительно 30 миллиметров. В этих вариантах осуществления длина стержня субстрата, генерирующего аэрозоль, предпочтительно меньше или равна приблизительно 60 миллиметрам, более предпочтительно меньше или равна 50 миллиметрам, еще более предпочтительно меньше или равна приблизительно 40 миллиметрам.
В предпочтительных вариантах осуществления длина стержня субстрата, генерирующего аэрозоль, составляет от приблизительно 10 миллиметров до приблизительно 60 миллиметров, предпочтительно от приблизительно 20 миллиметров до приблизительно 60 миллиметров, более предпочтительно от приблизительно 30 миллиметров до приблизительно 60 миллиметров. В других вариантах осуществления длина стержня субстрата, генерирующего аэрозоль, составляет от приблизительно 10 миллиметров до приблизительно 50 миллиметров, предпочтительно от приблизительно 20 миллиметров до приблизительно 50 миллиметров, более предпочтительно от приблизительно 30 миллиметров до приблизительно 50 миллиметров. В дополнительных вариантах осуществления длина стержня субстрата, генерирующего аэрозоль, составляет от приблизительно 10 миллиметров до приблизительно 40 миллиметров, предпочтительно от приблизительно 20 миллиметров до приблизительно 40 миллиметров, более предпочтительно от приблизительно 40 миллиметров до приблизительно 60 миллиметров. В иллюстративном варианте осуществления длина стержня субстрата, генерирующего аэрозоль, составляет приблизительно 35 миллиметров. Это может быть объединено с общей длиной изделия, генерирующего аэрозоль, приблизительно 75 миллиметров.
Предпочтительно стержень субстрата, генерирующего аэрозоль, имеет по существу равномерное поперечное сечение вдоль длины стержня. Особенно предпочтительно стержень субстрата, генерирующего аэрозоль, имеет по существу круглое поперечное сечение.
В изделиях, генерирующих аэрозоль, в соответствии с настоящим изобретением, плотность субстрата, генерирующего аэрозоль, предпочтительно превышает приблизительно 300 миллиграмм на кубический сантиметр. Как используется в настоящем документе, со ссылкой на субстрат, генерирующий аэрозоль, изделий, генерирующих аэрозоль, в соответствии с настоящим изобретением, термин «плотность» относится к «кажущейся плотности» или «объемной плотности» субстрата, и равен общей массе основной части субстрата, генерирующего аэрозоль, данного объема, которая представляет собой массу гомогенизированного растительного материала, вещество для образования аэрозоля и т.д. или массу гелевой композиции данного объема, разделенную на указанный данный объем стержня субстрата, генерирующего аэрозоль.
Соответственно, например, плотность субстрата, генерирующего аэрозоль, определяет массу части гомогенизированного табачного материала указанного объема и эффективность упаковывания данной площади поверхности гомогенизированного табачного материала. Плотность гомогенизированного табачного материала обычно в значительной степени определена типом процесса, используемого для его изготовления. Из уровня техники известно несколько способов восстановления для получения гомогенизированных табачных материалов. Они включают без ограничения процессы бумажного производства, типа описанного, например, в US 5724998 А; процессы литья, типа, описанного, например, в US 5724998 А; процессы восстановления тестообразной массы, типа описанного, например, в US 3894544 А; и процессы экструзии, типа описанного, например, в GB 983928 А.
Обычно плотности гомогенизированных табачных материалов, полученных процессами экструзии и процессами восстановления тестообразной массы, выше, чем плотности гомогенизированных табачных материалов, полученных процессами литья. Плотности гомогенизированных табачных материалов, полученных процессами экструзии, могут быть выше, чем плотности гомогенизированных табачных материалов, полученных процессами восстановления тестообразной массы.
В качестве примера плотность субстрата, генерирующего аэрозоль, составляет по меньшей мере приблизительно 310 миллиграмм на кубический сантиметр или по меньшей мере приблизительно 320 миллиграмм на кубический сантиметр, или по меньшей мере приблизительно 330 миллиграмм на кубический сантиметр.
В некоторых вариантах осуществления плотность субстрата, генерирующего аэрозоль, составляет предпочтительно по меньшей мере приблизительно 350 миллиграмм на кубический сантиметр. Более предпочтительно плотность субстрата, генерирующего аэрозоль, составляет по меньшей мере приблизительно 400 миллиграмм на кубический сантиметр. Еще более предпочтительно плотность субстрата, генерирующего аэрозоль, составляет по меньшей мере приблизительно 4 50 миллиграмм на кубический сантиметр. В особенно предпочтительных вариантах осуществления плотность субстрата, генерирующего аэрозоль, составляет по меньшей мере приблизительно 500 миллиграмм на кубический сантиметр. Предпочтительно плотность субстрата, генерирующего аэрозоль, меньше или равна приблизительно 1000 миллиграммам на кубический сантиметр, более предпочтительно меньше или равна приблизительно 900 миллиграммам на кубический сантиметр, еще более предпочтительно меньше или равна приблизительно 800 миллиграммам на кубический сантиметр. В качестве примера плотность субстрата, генерирующего аэрозоль, может составлять от приблизительно 350 миллиграмм на кубический сантиметр до приблизительно 1000 миллиграмм на кубический сантиметр, предпочтительно от приблизительно 400 миллиграмм на кубический сантиметр до приблизительно 1000 миллиграмм на кубический сантиметр, более предпочтительно от приблизительно 450 миллиграмм на кубический сантиметр до приблизительно 1000 миллиграмм на кубический сантиметр, еще более предпочтительно от приблизительно 500 миллиграмм на кубический сантиметр до приблизительно 1000 миллиграмм на кубический сантиметр. В качестве другого примера плотность субстрата, генерирующего аэрозоль, может составлять от приблизительно 350 миллиграмм на кубический сантиметр до приблизительно 900 миллиграмм на кубический сантиметр, предпочтительно от приблизительно 400 миллиграмм на кубический сантиметр до приблизительно 900 миллиграмм на кубический сантиметр, более предпочтительно от приблизительно 450 миллиграмм на кубический сантиметр до приблизительно 900 миллиграмм на кубический сантиметр, еще более предпочтительно от приблизительно 500 миллиграмм на кубический сантиметр до приблизительно 900 миллиграмм на кубический сантиметр. В качестве дополнительного примера плотность субстрата, генерирующего аэрозоль, может составлять от приблизительно 350 миллиграмм на кубический сантиметр до приблизительно 800 миллиграмм на кубический сантиметр, предпочтительно от приблизительно 400 миллиграмм на кубический сантиметр до приблизительно 800 миллиграмм на кубический сантиметр, более предпочтительно от приблизительно 450 миллиграмм на кубический сантиметр до приблизительно 800 миллиграмм на кубический сантиметр, еще более предпочтительно от приблизительно 500 миллиграмм на кубический сантиметр до приблизительно 800 миллиграмм на кубический сантиметр.
В других вариантах осуществления плотность субстрата, генерирующего аэрозоль, составляет по меньшей мере приблизительно 600 миллиграмм на кубический сантиметр, предпочтительно по меньшей мере приблизительно 700 миллиграмм на кубический сантиметр, более предпочтительно по меньшей мере приблизительно 800 миллиграмм на кубический сантиметр, еще более предпочтительно по меньшей мере приблизительно 900 миллиграмм на кубический сантиметр. В некоторых особенно предпочтительных вариантах осуществления плотность субстрата, генерирующего аэрозоль, составляет по меньшей мере приблизительно 1 грамм на кубический сантиметр, предпочтительно по меньшей мере приблизительно 1,1 грамма на кубический сантиметр, более предпочтительно по меньшей мере приблизительно 1,2 грамма на кубический сантиметр, еще более предпочтительно по меньшей мере приблизительно 1,3 грамма на кубический сантиметр. Предпочтительно плотность субстрата, генерирующего аэрозоль, меньше или равна приблизительно 2,0 грамма на кубический сантиметр, более предпочтительно меньше или равна приблизительно 1,9 грамма на кубический сантиметр, еще более предпочтительно меньше или равна 1,8 грамма на кубический сантиметр. В предпочтительных вариантах осуществления плотность субстрата, генерирующего аэрозоль, меньше или равна приблизительно 1,7 грамма на кубический сантиметр, более предпочтительно меньше или равна приблизительно 1,6 грамма на кубический сантиметр, еще более предпочтительно меньше или равна приблизительно 1,5 грамма на кубический сантиметр.
В качестве примера плотность субстрата, генерирующего аэрозоль, составляет от приблизительно 1 грамма на кубический сантиметр до приблизительно 1,7 грамма на кубический сантиметр, предпочтительно от приблизительно 1,1 грамма на кубический сантиметр до приблизительно 1,7 грамма на кубический сантиметр, более предпочтительно от приблизительно 1,2 грамма на кубический сантиметр до приблизительно 1,7 грамма на кубический сантиметр, еще более предпочтительно от приблизительно 1,3 грамма на кубический сантиметр до приблизительно 1,7 грамма на кубический сантиметр. В качестве другого примера плотность субстрата, генерирующего аэрозоль, составляет от приблизительно 1 грамма на кубический сантиметр до приблизительно 1,6 грамма на кубический сантиметр, предпочтительно от приблизительно 1,1 грамма на кубический сантиметр до приблизительно 1,6 грамма на кубический сантиметр, более предпочтительно от приблизительно 1,2 грамма на кубический сантиметр до приблизительно 1,6 грамма на кубический сантиметр, еще более предпочтительно от приблизительно 1,3 грамма на кубический сантиметр до приблизительно 1,6 грамма на кубический сантиметр. В качестве дополнительного примера плотность субстрата, генерирующего аэрозоль, составляет от приблизительно 1 грамма на кубический сантиметр до приблизительно 1,5 грамма на кубический сантиметр, предпочтительно от приблизительно 1,1 грамма на кубический сантиметр до приблизительно 1,5 грамма на кубический сантиметр, более предпочтительно от приблизительно 1,2 грамма на кубический сантиметр до приблизительно 1,5 грамма на кубический сантиметр, еще более предпочтительно от приблизительно 1,3 грамма на кубический сантиметр до приблизительно 1,5 грамма на кубический сантиметр.
Субстрат, генерирующий аэрозоль, может представлять собой твердый субстрат, генерирующий аэрозоль.
В определенных предпочтительных вариантах осуществления, субстрат, генерирующий аэрозоль, содержит гомогенизированный растительный материал, предпочтительно гомогенизированный табачный материал.
В контексте данного документа термин «гомогенизированный растительный материал» охватывает любой растительный материал, образованный путем агломерирования частиц растения. Например, листы или полотна гомогенизированного табачного материала для субстратов, генерирующих аэрозоль, согласно настоящему изобретению могут быть образованы путем агломерирования частиц табачного материала, полученных за счет истирания в порошок, измельчения или помола растительного материала и необязательно одной или более из пластинок табачного листа и жилок табачного листа. Гомогенизированный растительный материал может быть получен посредством процессов литья, экструзии, изготовления бумаги или любыми другими подходящими способами, известными в данной области техники.
Гомогенизированный растительный материал может быть предоставлен в любой подходящей форме. Например, гомогенизированный растительный материал может быть в форме одного или более листов. В контексте данного документа применительно к настоящему изобретению термин «лист» описывает слоистый элемент, имеющий ширину и длину, которые по существу больше, чем его толщина.
Альтернативно или дополнительно гомогенизированный растительный материал может быть в форме множества шариков или гранул.
Альтернативно или дополнительно гомогенизированный растительный материал может быть в форме множества нитей, полосок или кусочков. В контексте данного документа термин «нить» описывает продолговатый элемент материала, длина которого существенно превышает его ширину и толщину. Термин «нить» следует рассматривать, как охватывающий полоски, кусочки и любой другой гомогенизированный растительный материал, имеющий аналогичную форму. Нити гомогенизированного растительного материала могут быть образованы из листа гомогенизированного растительного материала, например, посредством разрезания, или разделения на кусочки, или других способов, например, посредством способа экструзии.
В некоторых вариантах осуществления нити могут быть образованы in situ внутри субстрата, генерирующего аэрозоль, в результате разделения или расщепления листа гомогенизированного растительного материала во время образования субстрата, генерирующего аэрозоль, например, в результате гофрирования. Нити гомогенизированного растительного материала внутри субстрата, генерирующего аэрозоль, могут быть отделены друг от друга. Альтернативно каждая нить гомогенизированного растительного материала внутри субстрата, генерирующего аэрозоль, может быть по меньшей мере частично соединена со смежной нитью или нитями вдоль длины нитей. Например, смежные нити могут быть соединены посредством одного или более волокон. Это может происходить, например, если нити были образованы в результате разделения листа гомогенизированного растительного материала во время получения субстрата, генерирующего аэрозоль, как описано выше.
Предпочтительно субстрат, генерирующий аэрозоль, предоставлен в форме одного или более листов гомогенизированного растительного материала. В различных вариантах осуществления настоящего изобретения один или более листов гомогенизированного растительного материала могут быть получены в результате процесса литья. В различных вариантах осуществления настоящего изобретения один или более листов гомогенизированного растительного материала могут быть получены в результате процесса производства бумаги. Каждый из одного или более листов, как описано в данном документе, по отдельности может иметь толщину от приблизительно 100 микрометров до 600 микрометров, предпочтительно от 150 микрометров до 300 микрометров и наиболее предпочтительно от 200 микрометров до 250 микрометров. Отдельная толщина относится к толщине отдельного листа, тогда как совокупная толщина относится к общей толщине всех листов, которые составляют субстрат, генерирующий аэрозоль. Например, если субстрат, генерирующий аэрозоль, образован из двух отдельных листов, то совокупная толщина представляет собой сумму толщин двух отдельных листов или измеренную толщину двух листов, когда два листа уложены друг на друга в субстрате, генерирующем аэрозоль.
Каждый из одного или более листов, как описано в данном документе, может отдельно иметь граммаж от приблизительно 100 г/м2 до приблизительно 300 г/м2.
Каждый из одного или более листов, как описано в данном документе, по отдельности может иметь плотность от приблизительно 0,3 г/см3 до приблизительно 1,3 г/см3 и предпочтительно от приблизительно 0,7 г/см3 до приблизительно 1,0 г/см3.
В вариантах осуществления настоящего изобретения, в которых субстрат, генерирующий аэрозоль, содержит один или более листов гомогенизированного растительного материала, листы предпочтительно представлены в форме одного или более собранных листов. В контексте данного документа термин «собранный» используется для описания листа гомогенизированного растительного материала, который свернут, согнут или иным образом сжат или сужен в направлении, по существу поперечном цилиндрической оси штранга или стержня.
Один или более листов гомогенизированного растительного материала могут быть собраны в поперечном направлении относительно его продольной оси и окружены оберткой с образованием непрерывного стержня или заглушки.
Один или более листов гомогенизированного растительного материала могут быть преимущественно гофрированы или подобным образом обработаны. В контексте данного документа термин «гофрированный» обозначает лист, имеющий множество по существу параллельных складок или гофров. Альтернативно или в дополнение к гофрированию один или более листов гомогенизированного растительного материала могут быть выполнены конгревным тиснением, выполнены блинтовым тиснением, перфорированы или иным образом деформированы для обеспечения текстуры на одной или обеих сторонах листа.
Предпочтительно каждый лист гомогенизированного растительного материала может быть гофрирован таким образом, что они имеют множество складок или гофров, по существу параллельных цилиндрической оси заглушки. Эта обработка преимущественно облегчает собирание гофрированного листа гомогенизированного растительного материала для образования заглушки. Предпочтительно может быть собран один или более листов гомогенизированного растительного материала. Следует понимать, что гофрированные листы гомогенизированного растительного материала альтернативно или дополнительно могут иметь множество по существу параллельных складок или гофров, расположенных под острым или тупым углом к цилиндрической оси заглушки. Лист может быть гофрирован до такой степени, что целостность листа нарушается на множестве параллельных складок или гофров, что обуславливает отделение материала и приводит к образованию кусочков, нитей или полосок гомогенизированного растительного материала.
Альтернативно один или более листов гомогенизированного растительного материала могут быть разрезаны на нити, как упомянуто выше. В таких вариантах осуществления субстрат, генерирующий аэрозоль, содержит множество нитей гомогенизированного растительного материала. Нити могут использоваться для образования заглушки. Как правило, ширина таких нитей составляет приблизительно 5 миллиметров, или приблизительно 4 миллиметра, или приблизительно 3 миллиметра, или приблизительно 2 миллиметра или меньше. Длина нитей может быть больше приблизительно 5 миллиметров, от приблизительно 5 миллиметров до приблизительно 15 миллиметров, от приблизительно 8 миллиметров до приблизительно 12 миллиметров или приблизительно 12 миллиметров. Предпочтительно нити имеют по существу одинаковую длину друг относительно друга. Длина нитей может быть определена процессом изготовления, в котором стержень разрезают на более короткие заглушки, и длина нитей соответствует длине заглушки. Нити могут быть хрупкими, что может приводить к разрыву, особенно во время перемещения. В таких случаях длина некоторых нитей может быть меньше длины заглушки.
Множество нитей предпочтительно проходят по существу в продольном направлении вдоль длины субстрата, генерирующего аэрозоль, выровненной с продольной осью. Предпочтительно множество нитей, таким образом, выровнены по существу параллельно друг другу.
Гомогенизированный растительный материал может содержать вплоть до приблизительно 95 процентов по весу частиц растений в пересчете на сухой вес. Предпочтительно гомогенизированный растительный материал содержит вплоть до приблизительно 90 процентов по весу частиц растений, более предпочтительно вплоть до приблизительно 80 процентов по весу частиц растений, более предпочтительно вплоть до приблизительно 70 процентов по весу частиц растений, более предпочтительно вплоть до приблизительно 60 процентов по весу частиц растений, более предпочтительно вплоть до приблизительно 50 процентов по весу частиц растений в пересчете на сухой вес.
Например, гомогенизированный растительный материал может содержать от приблизительно 2,5 процента до приблизительно 95 процентов по весу частиц растений, или от приблизительно 5 процентов до приблизительно 90 процентов по весу частиц растений, или от приблизительно 10 процентов до приблизительно 80 процентов по весу частиц растений, или от приблизительно 15 процентов до приблизительно 70 процентов по весу частиц растений, или от приблизительно 20 процентов до приблизительно 60 процентов по весу частиц растений, или от приблизительно 30 процентов до приблизительно 50 процентов по весу частиц растений в пересчете на сухой вес.
В определенных вариантах осуществления настоящего изобретения гомогенизированный растительный материал представляет собой гомогенизированный табачный материал, содержащий частицы табака. Листы гомогенизированного табачного материала для использования в таких вариантах осуществления настоящего изобретения могут иметь содержание табака по меньшей мере приблизительно 40 процентов по весу в пересчете на сухой вес, более предпочтительно по меньшей мере приблизительно 50 процентов по весу в пересчете на сухой вес, более предпочтительно по меньшей мере приблизительно 70 процентов по весу в пересчете на сухой вес и наиболее предпочтительно по меньшей мере приблизительно 90 процентов по весу в пересчете на сухой вес.
В отношении настоящего изобретения термин «частицы табака» описывает частицы любого растения, принадлежащего к роду Nicotiana. Термин «частицы табака» охватывает измельченные или порошкообразные пластинки табачного листа, измельченные или порошкообразные стебли табачного листа, табачную пыль, табачную мелочь и другие побочные продукты табака в виде частиц, образующиеся во время обработки, перемещения и отгрузки табака. В предпочтительном варианте осуществления частицы табака по существу все получены из пластинок табачного листа. Для сравнения, отделенный никотин и соли никотина представляют собой соединения, полученные из табака, но не считающиеся частицами табака для целей настоящего изобретения и не включенные в процентное содержание растительного материала в виде частиц.
Частицы табака могут быть получены из одной или более разновидностей растений табака. Любой тип табака может использоваться в смеси. Примеры типов табака, которые могут использоваться, включают, но без ограничения, табак солнечной сушки, табак трубоогневой сушки, табак Берли, табак Мэриленд, табак восточного типа, табак Вирджиния и другие специальные виды табака.
Трубоогневая сушка - это способ сушки табака, который особенно широко используется с видами табака Вирджиния. Во время процесса трубоогневой сушки нагретый воздух циркулирует через плотно уложенный табак. Во время первой стадии листья табака желтеют и вянут. Во время второй стадии пластинки листьев полностью высыхают. Во время третьей стадии стебли листьев полностью высыхают.
Табак Берли играет важную роль во многих табачных смесях. Табак Берли имеет узнаваемый привкус и аромат, а также имеет способность поглощать большие количества соуса.
Табак восточного типа имеет небольшие листья и ярко выраженные ароматические качества. Однако табак восточного типа имеет более мягкий привкус, чем, например, табак Берли. Следовательно, по существу табак восточного типа используется в относительно небольших долях в табачных смесях.
Кастури, Мадуро и Ятим - это подтипы табака солнечной сушки, которые могут использоваться. Предпочтительно табак Кастури и табак трубоогневой сушки могут использоваться в смеси для получения частиц табака. Соответственно, частицы табака в растительном материале в виде частиц могут содержать смесь табака Кастури и табака трубоогневой сушки.
Частицы табака могут иметь содержание никотина по меньшей мере приблизительно 2,5 процента по весу в пересчете на сухой вес. Более предпочтительно частицы табака могут иметь содержание никотина по меньшей мере приблизительно 3 процента, еще более предпочтительно по меньшей мере приблизительно 3,2 процента, еще более предпочтительно по меньшей мере приблизительно 3,5 процента, наиболее предпочтительно по меньшей мере приблизительно 4 процента по весу в пересчете на сухой вес.
В определенных других вариантах осуществления настоящего изобретения гомогенизированный растительный материал содержит частицы табака в сочетании с частицами нетабачного растительного ароматизирующего вещества. Предпочтительно частицы нетабачного растительного ароматизирующего вещества выбирают из одного или более из: частиц имбиря, частиц эвкалипта, частиц аниса и частиц аниса звездчатого. Предпочтительно в таких вариантах осуществления гомогенизированный растительный материал содержит по меньшей мере приблизительно 2,5 процента по весу частиц нетабачного растительного ароматизирующего вещества в пересчете на сухой вес, причем остальная часть частиц растений представляет собой частицы табака. Предпочтительно гомогенизированный растительный материал содержит по меньшей мере приблизительно 4 процента по весу частиц нетабачного растительного ароматизирующего вещества, более предпочтительно по меньшей мере приблизительно 6 процентов по весу частиц нетабачного растительного ароматизирующего вещества, более предпочтительно по меньшей мере приблизительно 8 процентов по весу частиц нетабачного растительного ароматизирующего вещества и более предпочтительно по меньшей мере приблизительно 10 процентов по весу частиц нетабачного растительного ароматизирующего вещества в пересчете на сухой вес. Предпочтительно гомогенизированный растительный материал содержит вплоть до приблизительно 20 процентов по весу частиц нетабачного растительного ароматизирующего вещества, более предпочтительно вплоть до приблизительно 18 процентов по весу частиц нетабачного растительного ароматизирующего вещества, более предпочтительно вплоть до приблизительно 16 процентов по весу частиц нетабачного растительного ароматизирующего вещества.
Весовое соотношение частиц нетабачного растительного ароматизирующего вещества и частиц табака в растительном материале в виде частиц, образующем гомогенизированный растительный материал, может варьировать в зависимости от желаемых характеристик привкуса и состава аэрозоля, полученного из субстрата, генерирующего аэрозоль, во время использования. Предпочтительно гомогенизированный растительный материал содержит по меньшей мере весовое соотношение 1:30 частиц нетабачного растительного ароматизирующего вещества к частицам табака, более предпочтительно по меньшей мере весовое соотношение 1:20 частиц нетабачного растительного ароматизирующего вещества к частицам табака, более предпочтительно по меньшей мере весовое соотношение 1:10 частиц нетабачного растительного ароматизирующего вещества к частицам табака и наиболее предпочтительно по меньшей мере весовое соотношение 1:5 частиц нетабачного растительного ароматизирующего вещества к частицам табака в пересчете на сухой вес.
Альтернативно или дополнительно к включению частиц табака в гомогенизированный растительный материал субстрата, генерирующего аэрозоль, согласно настоящему изобретению, гомогенизированный растительный материал может содержать частицы конопли. Термин «частицы конопли» относится к частицам растения конопли, например, видов Cannabis sativa, Cannabis indica, и Cannabis ruderalis.
Гомогенизированный растительный материал предпочтительно содержит не более 95 процентов по весу растительного материала в виде частиц в пересчете на сухой вес. Таким образом, растительный материал в виде частиц, как правило, объединяют с одним или более другими компонентами для образования гомогенизированного растительного материала.
Гомогенизированный растительный материал может дополнительно содержать связующее для изменения механических свойств растительного материала в виде частиц, причем связующее включают в гомогенизированный растительный материал во время изготовления, как описано в данном документе. Подходящие экзогенные связующие известны специалисту в области техники и включают, но без ограничения: камеди, такие как, например, гуаровая камедь, ксантановая камедь, аравийская камедь и камедь рожкового дерева; целлюлозные связующие, такие как, например, гидроксипропилцеллюлоза, карбоксиметилцеллюлоза, гидроксиэтилцеллюлоза, метилцеллюлоза и этилцеллюлозв; полисахариды, такие как, например, крахмалы, органические кислоты, такие как альгиновая кислота, соли оснований, сопряженных с органическими кислотами, такие как альгинат натрия, агар и пектины; и их комбинации. Предпочтительно связующее содержит гуаровую камедь.
Связующее может присутствовать в количестве от приблизительно 1 процента до приблизительно 10 процентов по весу в пересчете на сухой вес гомогенизированного растительного материала, предпочтительно в количестве от приблизительно 2 процентов до приблизительно 5 процентов по весу в пересчете на сухой вес гомогенизированного растительного материала.
Альтернативно или дополнительно гомогенизированный растительный материал может дополнительно содержать один или более липидов, способствующих диффузионной способности летучих компонентов (например, веществ для образования аэрозоля, гингеролов и никотина), при этом липид включают в гомогенизированный растительный материал во время изготовления, как описано в данном документе. Липиды, подходящие для включения в гомогенизированный растительный материал, включают, но без ограничения: среднецепочечные триглицериды, масло какао, пальмовое масло, пальмоядровое масло, масло манго, масло из семян масляного дерева, соевое масло, хлопковое масло, кокосовое масло, гидрогенизированное кокосовое масло, канделильский воск, карнаубский воск, шеллак, воск из подсолнечника, подсолнечное масло, воск из рисовых отрубей и Revel А; и их комбинации.
Альтернативно или дополнительно гомогенизированный растительный материал может дополнительно содержать модификатор рН.
Альтернативно или дополнительно гомогенизированный растительный материал может дополнительно содержать волокна для изменения механических свойств гомогенизированного растительного материала, причем волокна включают в гомогенизированный растительный материал во время изготовления, как описано в данном документе. Экзогенные волокна, подходящие для включения в гомогенизированный растительный материал, известны в данной области техники и включают волокна, образованные из материала, не являющегося табаком, и материала, не являющегося имбирем, включая, без ограничения: целлюлозные волокна; волокна древесины мягких пород; волокна древесины твердых пород; джутовые волокна и их комбинации. Также могут быть добавлены экзогенные волокна, полученные из табака и/или имбиря. Любые волокна, добавленные в гомогенизированный растительный материал, не считаются образующими часть «растительного материала в виде частиц», как определено выше. Перед включением в гомогенизированный растительный материал волокна могут быть обработаны подходящими способами, известными в данной области техники, включая, но без ограничения: механическое превращение в волокнистую массу; очистку; химическое превращение в волокнистую массу; отбеливание; сульфатное превращение в волокнистую массу; и их комбинации. Волокно, как правило, имеет длину, превышающую его ширину.
Подходящие волокна, как правило, имеют значения длины больше 400 микрометров и меньше или равные 4 миллиметрам, предпочтительно в диапазоне от 0,7 миллиметра до 4 миллиметров. Предпочтительно волокна присутствуют в количестве от приблизительно 2 процентов до приблизительно 15 процентов по весу, наиболее предпочтительно на уровне приблизительно 4 процентов по весу в пересчете на сухой вес субстрата.
Альтернативно или дополнительно гомогенизированный растительный материал может дополнительно содержать одно или более веществ для образования аэрозоля. После испарения вещество для образования аэрозоля может переносить другие испаренные соединения, высвобожденные из субстрата, генерирующего аэрозоль, при нагреве, такие как никотин и ароматизаторы, в аэрозоль. Вещества для образования аэрозоля, подходящие для включения в гомогенизированный растительный материал, известны в данной области техники и включают, но без ограничения: многоатомные спирты, такие как триэтиленгликоль, пропиленгликоль, 1,3-бутандиол и глицерол; сложные эфиры многоатомных спиртов, такие как глицерол моно-, ди- или триацетат; и алифатические сложные эфиры моно-, ди- или поликарбоновых кислот, такие как диметилдодекандиоат и диметилтетрадекандиоат.
Гомогенизированный растительный материал может иметь содержание вещества для образования аэрозоля от приблизительно 5 процентов до приблизительно 30 процентов по весу в пересчете на сухой вес, например, от приблизительно 10 процентов до приблизительно 25 процентов по весу в пересчете на сухой вес или от приблизительно 15 процентов до приблизительно 20 процентов по весу в пересчете на сухой вес.
Например, если субстрат предназначен для использования в изделии, генерирующем аэрозоль, для электрической системы, генерирующей аэрозоль, имеющей нагревательный элемент, он может предпочтительно предусматривать содержание вещества для образования аэрозоля от приблизительно 5 процентов до приблизительно 30 процентов по весу в пересчете на сухой вес. Если субстрат предназначен для использования в изделии, генерирующем аэрозоль, для электрической системы, генерирующей аэрозоль, имеющей нагревательный элемент, вещество для образования аэрозоля предпочтительно представляет собой глицерол.
В других вариантах осуществления гомогенизированный растительный материал может иметь содержание вещества для образования аэрозоля от приблизительно 1 процента до приблизительно 5 процентов по весу в пересчете на сухой вес. Например, если субстрат предназначен для использования в изделии, генерирующем аэрозоль, в котором вещество для образования аэрозоля удерживается в резервуаре, отдельном от субстрата, субстрат может иметь содержание вещества для образования аэрозоля больше 1 процента и меньше приблизительно 5 процентов. В таких вариантах осуществления вещество для образования аэрозоля испаряется при нагреве, и поток вещества для образования аэрозоля контактирует с субстратом, генерирующим аэрозоль, для захвата ароматизирующих веществ из субстрата, генерирующего аэрозоль, в аэрозоле.
В других вариантах осуществления гомогенизированный растительный материал может иметь содержание вещества для образования аэрозоля от приблизительно 30 процентов по весу до приблизительно 45 процентов по весу. Этот относительно высокий уровень вещества для образования аэрозоля особенно подходит для субстратов, генерирующих аэрозоль, которые предназначены для нагрева при температуре менее 275 градусов Цельсия. В таких вариантах осуществления гомогенизированный растительный материал предпочтительно дополнительно содержит от приблизительно 2 процентов по весу до приблизительно 10 процентов по весу простого эфира целлюлозы в пересчете на сухой вес и от приблизительно 5 процентов по весу до приблизительно 50 процентов по весу дополнительной целлюлозы в пересчете на сухой вес. Было обнаружено, что использование комбинации простого эфира целлюлозы и дополнительной целлюлозы обеспечивает особенно эффективную доставку аэрозоля при использовании в субстрате, генерирующем аэрозоль, имеющем содержание вещества для образования аэрозоля от 30 процентов по весу до 45 процентов по весу.
Подходящие простые эфиры целлюлозы включают, но без ограничения, метилцеллюлозу, гидроксипропилметилцеллюлозу, этилцеллюлозу, гидроксиэтилцеллюлозу, гидроксипропилцеллюлозу, этилгидроксиэтилцеллюлозу и карбоксиметилцеллюлозу (CMC). В особенно предпочтительных вариантах осуществления простой эфир целлюлозы представляет собой карбоксиметилцеллюлозу.
В контексте данного документа термин «дополнительная целлюлоза» охватывает любой целлюлозный материал, введенный в гомогенизированный растительный материал, который не получают из частиц растений, не являющихся табаком, или частиц табака, обеспеченных в гомогенизированном растительном материале. Следовательно, дополнительную целлюлозу вводят в гомогенизированный растительный материал в дополнение к нетабачному растительному материал или табачному материалу как источник целлюлозы, отделенный и отличающийся от любой целлюлозы, в сущности обеспеченной в частицах растений, не являющихся табаком, или частицах табака. Дополнительную целлюлозу, как правило, получают из растения, отличающегося от частиц растений, не являющихся табаком, или частиц табака. Предпочтительно дополнительная целлюлоза имеет форму инертного целлюлозного материала, который является инертным для органов чувств и, следовательно, не оказывает значительного влияния на органолептические характеристики аэрозоля, генерируемого из субстрата, генерирующего аэрозоль. Например, дополнительная целлюлоза предпочтительно представляет собой материал без вкуса и запаха.
Дополнительная целлюлоза может содержать порошок целлюлозы, целлюлозные волокна или их комбинацию.
Вещество для образования аэрозоля может действовать как увлажнитель в субстрате, генерирующем аэрозоль.
В определенных предпочтительных вариантах осуществления настоящего изобретения субстрат, генерирующий аэрозоль, содержит гелевую композицию, которая содержит алкалоидное соединение, или каннабиноидное соединение, или как алкалоидное соединение, так и каннабиноидное соединение. В особенно предпочтительных вариантах осуществления субстрат, генерирующий аэрозоль, содержит гелевую композицию, которая содержит никотин.
Предпочтительно гелевая композиция содержит алкалоидное соединение, или каннабиноидное соединение, или как алкалоидное соединение, так и каннабиноидное соединение; вещество для образования аэрозоля; и по меньшей мере одно гелеобразующее средство. Предпочтительно по меньшей мере одно гелеобразующее средство образует твердую среду, и глицерол распределяют в твердой среде, причем алкалоид или каннабиноид распределяют в глицероле. Предпочтительно гелевая композиция представляет собой стабильную гелевую фазу.
Преимущественно стабильная гелевая композиция, содержащая никотин, обеспечивает предсказуемую форму композиции при хранении или транспортировке от производства к потребителю. Стабильная гелевая композиция, содержащая никотин, фактически сохраняет свою форму. Стабильная гелевая композиция, содержащая никотин, фактически не высвобождает жидкую фазу при хранении или транспортировке от производства к потребителю. Стабильная гелевая композиция, содержащая никотин, может обеспечивать простую расходуемую конструкцию. Данный расходный материал может быть разработан без содержания жидкости, таким образом, может быть предусмотрен более широкий диапазон материалов и конструкций контейнера.
Гелевая композиция, описанная в данном документе, может быть объединена с устройством, генерирующим аэрозоль, для доставки никотинового аэрозоля в легкие при скоростях вдыхания или потока воздуха, которые находятся в пределах скоростей вдыхания или потока воздуха в обычном режиме курения. Устройство, генерирующее аэрозоль, может непрерывно нагревать гелевую композицию. Потребитель может делать несколько вдохов или «затяжек», где каждая «затяжка» доставляет определенное количество никотинового аэрозоля. Гелевая композиция может быть способна доставлять аэрозоль с высоким содержанием никотина/с низким общим содержанием твердых частиц (ТРМ) потребителю при нагреве, предпочтительно непрерывным образом.
Фраза «стабильная гелевая фаза» или «стабильный гель» относится к гелю, который по существу сохраняет свою форму и массу под воздействием различных условий окружающей среды. Стабильный гель может фактически не высвобождать (выделять влагу) или поглощать воду при воздействии стандартной температуры и давления при изменении относительной влажности от приблизительно 10 процентов до приблизительно 60 процентов. Например, стабильный гель может по существу сохранять свою форму и массу при воздействии стандартных температуры и давления при изменении относительной влажности от приблизительно 10 процентов до приблизительно 60 процентов.
Гелевая композиция содержит алкалоидное соединение, или каннабиноидное соединение, или как алкалоидное соединение, так и каннабиноидное соединение. Гелевая композиция может содержать один или более алкалоидов. Гелевая композиция может содержать один или более каннабиноидов. Гелевая композиция может содержать комбинацию одного или более алкалоидов и одного или более каннабиноидов.
Термин «алкалоидное соединение» относится к любому из класса встречающихся в природе органических соединений, которые содержат один или более основных атомов азота. Как правило, алкалоид содержит по меньшей мере один атом азота в структуре по типу амина. Этот или другой атом азота в молекуле алкалоидного соединения может быть активным в качестве основания в кислотно-основных реакциях. Большая часть алкалоидных соединений имеют один или более атомов азота как часть циклической системы, такой как, например, гетероциклическое кольцо. В природе алкалоидные соединения обнаруживаются главным образом в растениях и являются особенно распространенными в определенных семействах цветущих растений. Однако некоторые алкалоидные соединения содержатся у видов животных и грибков. В настоящем изобретении термин «алкалоидное соединение» относится как к полученным в природе алкалоидным соединениям, так и синтетически изготовляемым алкалоидным соединениям.
Гелевая композиция может предпочтительно содержать алкалоидное соединение, выбранное из группы, состоящей из никотина, анатабина и их комбинаций.
Предпочтительно гелевая композиция содержит никотин.
Термин «никотин» относится к никотину и производным никотина, таким как чистый никотин, никотиновые соли и т.п.
Термин «каннабиноидное соединение» относится к любому из класса встречающихся в природе соединений, которые содержатся в частях растения конопли, а именно виды Cannabis sativa, Cannabis indica и Cannabis ruderalis. Каннабиноидные соединения особенно сконцентрированы в головках женских цветков. Каннабиноидные соединения, встречающиеся в природе в растении конопли, включают каннабидиол (CBD) и тетрагидроканнабинол (ТНС). В настоящем изобретении термин «каннабиноидные соединения» используется для описания как полученных в природе каннабиноидных соединений, так и синтетически изготовленных каннабиноидных соединений.
Гель может содержать каннабиноидное соединение, выбранное из группы, состоящей из каннабидиола (CBD), тетрагидроканнабинола (ТНС), тетрагидроканнабиноловой кислоты (ТНСА), каннабидиоловой кислоты (CBDA), каннабинола (CBN), каннабигерола (CBG), каннабихромена (СВС), каннабициклола (CBL), каннабиварина (CBV), тетрагидроканнабиварина (THCV), каннабидиварина (CBDV), каннабихромеварина (CBCV), каннабигероварина (CBGV), простого монометилового эфира каннабигерола (CBGM), каннабиельсоина (СБЕ), каннабицитрана (СВТ) и их комбинаций.
Гелевая композиция может предпочтительно содержать каннабиноидное соединение, выбранное из группы, состоящей из каннабидиола (CBD), ТНС (тетрагидроканнабинола) и их комбинаций.
Гель может предпочтительно содержать каннабидиол (CBD).
Гелевая композиция может содержать никотин и каннабидиол (CBD).
Гелевая композиция может содержать никотин, каннабидиол (CBD) и ТНС (тетрагидроканнабинол).
Гелевая композиция предпочтительно содержит от приблизительно 0,5 процента по весу до приблизительно 10 процентов по весу алкалоидного соединения, или от приблизительно 0,5 процента по весу до приблизительно 10 процентов по весу каннабиноидного соединения, или как алкалоидное соединение, так и каннабиноидное соединение в общем количестве от приблизительно 0,5 процента по весу до приблизительно 10 процентов по весу. Гелевая композиция может содержать от приблизительно 0,5 процента по весу до приблизительно 5 процентов по весу алкалоидного соединения, или от приблизительно 0,5 процента по весу до приблизительно 5 процентов по весу каннабиноидного соединения, или как алкалоидное соединение, так и каннабиноидное соединение в общем количестве от приблизительно 0,5 процента по весу до приблизительно 5 процентов по весу. Предпочтительно гелевая композиция содержит от приблизительно 1 процента по весу до приблизительно 3 процентов по весу алкалоидного соединения, или от приблизительно 1 процента по весу до приблизительно 3 процентов по весу каннабиноидного соединения, или как алкалоидное соединение, так и каннабиноидное соединение в общем количестве от приблизительно 1 процента по весу до приблизительно 3 процентов по весу. Гелевая композиция может предпочтительно содержать от приблизительно 1,5 процента по весу до приблизительно 2,5 процента по весу алкалоидного соединения, или от приблизительно 1,5 процента по весу до приблизительно 2,5 процента по весу каннабиноидного соединения, или как алкалоидное соединение, так и каннабиноидное соединение в общем количестве от приблизительно 1,5 процента по весу до приблизительно 2,5 процента по весу. Гелевая композиция может предпочтительно содержать приблизительно 2 процента по весу алкалоидного соединения, или приблизительно 2 процента по весу каннабиноидного соединения, или как алкалоидное соединение, так и каннабиноидное соединение в общем количестве приблизительно 2 процента по весу. Компонент алкалоидного соединения гелевого состава может быть наиболее летучим компонентом гелевого состава. В некоторых аспектах вода может представлять собой наиболее летучий компонент гелевого состава, и компонент алкалоидного соединения гелевого состава может представлять собой второй наиболее летучий компонент гелевого состава. Компонент каннабиноидного соединения гелевого состава может быть наиболее летучим компонентом гелевого состава. В некоторых аспектах вода может представлять собой наиболее летучий компонент гелевого состава, и компонент алкалоидного соединения гелевого состава может представлять собой второй наиболее летучий компонент гелевого состава.
Предпочтительно никотин содержится в гелевых композициях. Никотин может быть добавлен в композицию в виде свободного основания или в виде соли. Гелевая композиция содержит от приблизительно 0,5 процента по весу до приблизительно 10 процентов по весу никотина или от приблизительно 0,5 процента по весу до приблизительно 5 процентов по весу никотина. Предпочтительно гелевая композиция содержит от приблизительно 1 процента по весу до приблизительно 3 процентов по весу никотина, или от приблизительно 1,5 процента по весу до приблизительно 2,5 процента по весу никотина, или приблизительно 2 процента по весу никотина. Никотиновый компонент гелевого состава может быть наиболее летучим компонентом гелевого состава. В некоторых аспектах вода может представлять собой наиболее летучий компонент гелевого состава, и никотиновый компонент гелевого состава может представлять собой второй наиболее летучий компонент гелевого состава.
Гелевая композиция содержит вещество для образования аэрозоля. В идеале вещество для образования аэрозоля по существу устойчиво к термическому разложению при рабочей температуре связанного устройства, генерирующего аэрозоль. Подходящие вещества для образования аэрозоля включают, но без ограничения: многоатомные спирты, такие как триэтиленгликоль, 1,3-бутандиол и глицерин; сложные эфиры многоатомных спиртов, такие как моно-, ди- или триацетат глицерола; и алифатические сложные эфиры моно-, ди- или поликарбоновых кислот, такие как диметилдодекандиоат и диметилтетрадекандиоат. Многоатомные спирты или их смеси могут представлять собой одно или более из следующего: триэтиленгликоль, 1,3-бутандиол и глицерин (глицерол или пропан-1,2,3-триол) или полиэтиленгликоль. Вещество для образования аэрозоля предпочтительно представляет собой глицерол.
Гелевая композиция может содержать большую часть вещества для образования аэрозоля. Гелевая композиция может содержать смесь воды и вещества для образования аэрозоля, причем вещество для образования аэрозоля образует большую часть (по весу) гелевой композиции. Вещество для образования аэрозоля может образовывать по меньшей мере приблизительно 50 процентов по весу гелевой композиции. Вещество для образования аэрозоля может образовывать по меньшей мере приблизительно 60 процентов по весу, или по меньшей мере приблизительно 65 процентов по весу, или по меньшей мере приблизительно 70 процентов по весу гелевой композиции. Вещество для образования аэрозоля может образовывать от приблизительно 70 процентов по весу до приблизительно 80 процентов по весу гелевой композиции. Вещество для образования аэрозоля может образовывать от приблизительно 70 процентов по весу до приблизительно 75 процентов по весу гелевой композиции.
Гелевая композиция может содержать большую часть глицерола. Гелевая композиция может содержать смесь воды и глицерола, где глицерол образует большую часть (по весу) гелевой композиции. Глицерол может образовывать по меньшей мере приблизительно 50 процентов по весу гелевой композиции. Глицерол может образовывать по меньшей мере приблизительно 60 процентов по весу, или по меньшей мере приблизительно 65 процентов по весу, или по меньшей мере приблизительно 70 процентов по весу гелевой композиции. Глицерол может образовывать от приблизительно 70 процентов по весу до приблизительно 80 процентов по весу гелевой композиции. Глицерол может образовывать от приблизительно 70 процентов по весу до приблизительно 75 процентов по весу гелевой композиции.
Гелевая композиция предпочтительно содержит по меньшей мере одно гелеобразующее средство. Предпочтительно гелевая композиция содержит общее количество гелеобразующих средств в диапазоне от приблизительно 0,4 процента по весу до приблизительно 10 процентов по весу. Более предпочтительно композиция содержит гелеобразующие средства в диапазоне от приблизительно 0,5 процента по весу до приблизительно 8 процентов по весу. Более предпочтительно композиция содержит гелеобразующие средства в диапазоне от приблизительно 1 процента по весу до приблизительно 6 процентов по весу. Более предпочтительно композиция содержит гелеобразующие средства в диапазоне от приблизительно 2 процентов по весу до приблизительно 4 процентов по весу. Более предпочтительно композиция содержит гелеобразующие средства в диапазоне от приблизительно 2 процентов по весу до приблизительно 3 процентов по весу.
Термин «гелеобразующее средство» относится к соединению, которое при однородном добавлении в смесь 50 процентов по весу воды/50 процентов по весу глицерола в количестве приблизительно 0,3 процента по весу образует твердую среду или опорную матрицу, приводящую к образованию геля. Гелеобразующие средства содержат, но без ограничения, гелеобразующие средства, обеспечивающие сшивание посредством водородных связей, и гелеобразующие средства, обеспечивающие сшивание посредством ионных связей.
Гелеобразующее средство может включать один или более биополимеров. Биополимеры могут быть образованы из полисахаридов.
Биополимеры включают, например, геллановые камеди (природная, геллановая камедь с низким содержанием ацила, геллановые камеди с высоким содержанием ацила, при этом предпочтительной является геллановая камедь с низким содержанием ацила), ксантановую камедь, альгинаты (альгиновую кислоту), агар, гуаровую камедь и т.п.Композиция может предпочтительно включать ксантановую камедь. Композиция может включать два биополимера. Композиция может включать три биополимера. Композиция может включать два биополимера в фактически равных значениях веса. Композиция может включать три биополимера в фактически равных значениях веса.
Предпочтительно гелевая композиция содержит по меньшей мере приблизительно 0,2 процента по весу гелеобразующего средства, обеспечивающего сшивание посредством водородных связей. Альтернативно или дополнительно гелевая композиция предпочтительно содержит по меньшей мере приблизительно 0,2 процента по весу гелеобразующего средства, обеспечивающего сшивание посредством ионных связей. Наиболее предпочтительно гелевая композиция содержит по меньшей мере приблизительно 0,2 процента по весу гелеобразующего средства, обеспечивающего сшивание посредством водородных связей, и по меньшей мере приблизительно 0,2 процента по весу гелеобразующего средства, обеспечивающего сшивание посредством ионных связей. Гелевая композиция может содержать от приблизительно 0,5 процента по весу до приблизительно 3 процентов по весу гелеобразующего средства, обеспечивающего сшивание посредством водородных связей, и от приблизительно 0,5 процента по весу до приблизительно 3 процентов по весу гелеобразующего средства, обеспечивающего сшивание посредством ионных связей, или от приблизительно 1 процента по весу до приблизительно 2 процентов по весу гелеобразующего средства, обеспечивающего сшивание посредством водородных связей, и от приблизительно 1 процента по весу до приблизительно 2 процентов по весу гелеобразующего средства, обеспечивающего сшивание посредством ионных связей. Гелеобразующее средство, обеспечивающее сшивание посредством водородных связей, и гелеобразующее средство, обеспечивающее сшивание посредством ионных связей, могут присутствовать в гелевой композиции в по существу равных количествах по весу.
Термин «гелеобразующее средство, обеспечивающее сшивание посредством водородных связей» относится к гелеобразующему средству, которое образует нековалентные сшивающие связи или физические сшивающие связи посредством образования водородных связей. Водородное связывание представляет собой тип электростатического притяжения диполь-диполь между молекулами, а не ковалентного соединения с атомом водорода. В результате создается сила притяжения между атомом водорода, ковалентно связанным с очень электроотрицательным атомом, например, атомом N, О или F, и другим очень электроотрицательным атомом.
Гелеобразующее средство, обеспечивающее сшивание посредством водородных связей, может содержать одно или более из галактоманнана, желатина, агарозы, или конжаковой камеди, или агара. Гелеобразующее средство, обеспечивающее сшивание посредством водородных связей, может предпочтительно содержать агар.
Гелевая композиция предпочтительно содержит гелеобразующее средство, обеспечивающее сшивание посредством водородных связей, в диапазоне от приблизительно 0,3 процента по весу до приблизительно 5 процентов по весу. Предпочтительно композиция содержит гелеобразующее средство, обеспечивающее сшивание посредством водородных связей, в диапазоне от приблизительно 0,5 процента по весу до приблизительно 3 процентов по весу. Предпочтительно композиция содержит гелеобразующее средство, обеспечивающее сшивание посредством водородных связей, в диапазоне от приблизительно 1 процента по весу до приблизительно 2 процентов по весу.
Гелевая композиция может содержать галактоманнан в диапазоне от приблизительно 0,2 процента по весу до приблизительно 5 процентов по весу. Предпочтительно галактоманнан может находиться в диапазоне от приблизительно 0,5 процента по весу до приблизительно 3 процентов по весу. Предпочтительно галактоманнан может находиться в диапазоне от приблизительно 0,5 процента по весу до приблизительно 2 процентов по весу. Предпочтительно галактоманнан может находиться в диапазоне от приблизительно 1 процента по весу до приблизительно 2 процентов по весу.
Гелевая композиция может содержать желатин в диапазоне от приблизительно 0,2 процента по весу до приблизительно 5 процентов по весу. Предпочтительно желатин может находиться в диапазоне от приблизительно 0,5 процента по весу до приблизительно 3 процентов по весу. Предпочтительно желатин может находиться в диапазоне от приблизительно 0,5 процента по весу до приблизительно 2 процентов по весу. Предпочтительно желатин может находиться в диапазоне от приблизительно 1 процента по весу до приблизительно 2 процентов по весу.
Гелевая композиция может содержать агарозу в диапазоне от приблизительно 0,2 процента по весу до приблизительно 5 процентов по весу. Предпочтительно агароза может находиться в диапазоне от приблизительно 0,5 процента по весу до приблизительно 3 процентов по весу. Предпочтительно агароза может находиться в диапазоне от приблизительно 0,5 процента по весу до приблизительно 2 процентов по весу. Предпочтительно агароза может находиться в диапазоне от приблизительно 1 процента по весу до приблизительно 2 процентов по весу.
Гелевая композиция может содержать конжаковую камедь в диапазоне от приблизительно 0,2 процента по весу до приблизительно 5 процентов по весу. Предпочтительно конжаковая камедь может находиться в диапазоне от приблизительно 0,5 процента по весу до приблизительно 3 процентов по весу. Предпочтительно конжаковая камедь может находиться в диапазоне от приблизительно 0,5 процента по весу до приблизительно 2 процентов по весу. Предпочтительно конжаковая камедь может находиться в диапазоне от приблизительно 1 процента по весу до приблизительно 2 процентов по весу.
Гелевая композиция может содержать агар в диапазоне от приблизительно 0,2 процента по весу до приблизительно 5 процентов по весу. Предпочтительно агар может находиться в диапазоне от приблизительно 0,5 процента по весу до приблизительно 3 процентов по весу. Предпочтительно агар может находиться в диапазоне от приблизительно 0,5 процента по весу до приблизительно 2 процентов по весу. Предпочтительно агар может находиться в диапазоне от приблизительно 1 процента по весу до приблизительно 2 процентов по весу.
Термин «гелеобразующее средство, обеспечивающее сшивание посредством ионных связей» относится к гелеобразующему средству, которое образует нековалентные сшивающие связи или физические сшивающие связи посредством образования ионных связей. Сшивание посредством ионных связей включает связывание полимерных цепей с помощью нековалентных взаимодействий. Сшитая сеть образуется, если многовалентные молекулы противоположных зарядов электростатически притягиваются друг к другу, что приводит к образованию сшитой полимерной сети.
Гелеобразующее средство, обеспечивающее сшивание посредством ионных связей, может содержать геллан с низким содержанием ацила, пектин, каппа-каррагинан, йота-каррагинан или альгинат. Гелеобразующее средство, обеспечивающее сшивание посредством ионных связей, может предпочтительно содержать геллан с низким содержанием ацила.
Гелевая композиция может содержать гелеобразующее средство, обеспечивающее сшивание посредством ионных связей, в диапазоне от приблизительно 0,3 процента по весу до приблизительно 5 процентов по весу. Предпочтительно композиция содержит гелеобразующее средство, обеспечивающее сшивание посредством ионных связей, в диапазоне от приблизительно 0,5 процента по весу до приблизительно 3 процентов по весу. Предпочтительно композиция содержит гелеобразующее средство, обеспечивающее сшивание посредством ионных связей, в диапазоне от приблизительно 1 процента по весу до приблизительно 2 процентов по весу.
Гелевая композиция может содержать геллан с низким содержанием ацила в диапазоне от приблизительно 0,2 процента по весу до приблизительно 5 процентов по весу. Предпочтительно геллан с низким содержанием ацила может находиться в диапазоне от приблизительно 0,5 процента по весу до приблизительно 3 процентов по весу. Предпочтительно геллан с низким содержанием ацила может находиться в диапазоне от приблизительно 0,5 процента по весу до приблизительно 2 процентов по весу. Предпочтительно геллан с низким содержанием ацила может находиться в диапазоне от приблизительно 1 процента по весу до приблизительно 2 процентов по весу.
Гелевая композиция может содержать пектин в диапазоне от приблизительно 0,2 процента по весу до приблизительно 5 процентов по весу. Предпочтительно пектин может находиться в диапазоне от приблизительно 0,5 процента по весу до приблизительно 3 процентов по весу. Предпочтительно пектин может находиться в диапазоне от приблизительно 0,5 процента по весу до приблизительно 2 процентов по весу. Предпочтительно пектин может находиться в диапазоне от приблизительно 1 процента по весу до приблизительно 2 процентов по весу.
Гелевая композиция может содержать каппа-каррагинан в диапазоне от приблизительно 0,2 процента по весу до приблизительно 5 процентов по весу. Предпочтительно каппа- каррагинан может находиться в диапазоне от приблизительно 0,5 процента по весу до приблизительно 3 процентов по весу. Предпочтительно каппа-каррагинан может находиться в диапазоне от приблизительно 0,5 процента по весу до приблизительно 2 процентов по весу. Предпочтительно каппа-каррагинан может находиться в диапазоне от приблизительно 1 процента по весу до приблизительно 2 процентов по весу.
Гелевая композиция может содержать йота-каррагинан в диапазоне от приблизительно 0,2 процента по весу до приблизительно 5 процентов по весу. Предпочтительно йота-каррагинан может находиться в диапазоне от приблизительно 0,5 процента по весу до приблизительно 3 процентов по весу. Предпочтительно йота-каррагинан может находиться в диапазоне от приблизительно 0,5 процента по весу до приблизительно 2 процентов по весу. Предпочтительно йота-каррагинан может находиться в диапазоне от приблизительно 1 процента по весу до приблизительно 2 процентов по весу.
Гелевая композиция может содержать альгинат в диапазоне от приблизительно 0,2 процента по весу до приблизительно 5 процентов по весу. Предпочтительно альгинат может находиться в диапазоне от приблизительно 0,5 процента по весу до приблизительно 3 процентов по весу. Предпочтительно альгинат может находиться в диапазоне от приблизительно 0,5 процента по весу до приблизительно 2 процентов по весу. Предпочтительно альгинат может находиться в диапазоне от приблизительно 1 процента по весу до приблизительно 2 процентов по весу.
Гелевая композиция может содержать гелеобразующее средство, обеспечивающее сшивание посредством водородных связей, и гелеобразующее средство, обеспечивающее сшивание посредством ионных связей, в соотношении от приблизительно 3:1 до приблизительно 1:3. Предпочтительно гелевая композиция может содержать гелеобразующее средство, обеспечивающее сшивание посредством водородных связей, и гелеобразующее средство, обеспечивающее сшивание посредством ионных связей, в соотношении от приблизительно 2:1 до приблизительно 1:2. Предпочтительно гелевая композиция может содержать гелеобразующее средство, обеспечивающее сшивание посредством водородных связей, и гелеобразующее средство, обеспечивающее сшивание посредством ионных связей, в соотношении приблизительно 1:1.
Гелевая композиция может дополнительно содержать средство для увеличения вязкости. Средство для увеличения вязкости в сочетании с гелеобразующим средством, обеспечивающим сшивание посредством водородных связей, и гелеобразующим средством, обеспечивающим сшивание посредством ионных связей, по-видимому, неожиданно поддерживает твердую среду и сохраняет гелевую композицию, даже если гелевая композиция содержит высокий уровень глицерола.
Термин «средство для увеличения вязкости» относится к соединению, которое при однородном добавлении в смесь 50 процентов по весу воды/50 процентов по весу глицерола с температурой 25°С в количестве 0,3 процента по весу увеличивает вязкость, не приводя к образованию геля, при этом смесь остается или сохраняется жидкой. Предпочтительно средство для увеличения вязкости относится к соединению, которое при однородном добавлении в смесь 50 процентов по весу воды/50 процентов по весу глицерола с температурой 25°С в количестве 0,3 процента по весу увеличивает вязкость до по меньшей мере 50 сП, предпочтительно по меньшей мере 200 сП, предпочтительно по меньшей мере 500 сП, предпочтительно по меньшей мере 1000 сП при скорости сдвига 0,1 с-1, не приводя к образованию геля, при этом смесь остается или сохраняется жидкой. Предпочтительно средство для увеличения вязкости относится к соединению, которое при однородном добавлении в смесь 50 процентов по весу воды/50 процентов по весу глицерола с температурой 25°С в количестве 0,3 процента по весу увеличивает вязкость в по меньшей мере 2 раза, или по меньшей мере 5 раз, или по меньшей мере 10 раз, или по меньшей мере 100 раз, чем перед добавлением, при скорости сдвига 0,1 с-1, не приводя к образованию геля, при этом смесь остается или сохраняется жидкой.
Значения вязкости, приведенные в данном документе, можно измерять с помощью вискозиметра Brookfield RVT, вращающего вал дискового типа RV#2 при 25°С на скорости 6 оборотов в минуту (об/мин).
Гелевая композиция предпочтительно содержит средство для увеличения вязкости в диапазоне от приблизительно 0,2 процента по весу до приблизительно 5 процентов по весу. Предпочтительно композиция содержит средство для увеличения вязкости в диапазоне от приблизительно 0,5 процента по весу до приблизительно 3 процентов по весу. Предпочтительно композиция содержит средство для увеличения вязкости в диапазоне от приблизительно 0,5 процента по весу до приблизительно 2 процентов по весу. Предпочтительно композиция содержит средство для увеличения вязкости в диапазоне от приблизительно 1 процента по весу до приблизительно 2 процентов по весу.
Средство для увеличения вязкости может содержать одно или более из ксантановой камеди, карбоксиметилцеллюлозы, микрокристаллической целлюлозы, метилцеллюлозы, аравийской камеди, гуаровой камеди, лямбда-каррагинана или крахмала. Средство для увеличения вязкости может предпочтительно содержать ксантановую камедь.
Гелевая композиция может содержать ксантановую камедь в диапазоне от приблизительно 0,2 процента по весу до приблизительно 5 процентов по весу. Предпочтительно ксантановая камедь может находиться в диапазоне от приблизительно 0,5 процента по весу до приблизительно 3 процентов по весу. Предпочтительно ксантановая камедь может находиться в диапазоне от приблизительно 0,5 процента по весу до приблизительно 2 процентов по весу. Предпочтительно ксантановая камедь может находиться в диапазоне от приблизительно 1 процента по весу до приблизительно 2 процентов по весу.
Гелевая композиция может содержать карбоксиметилцеллюлозу в диапазоне от приблизительно 0,2 процента по весу до приблизительно 5 процентов по весу. Предпочтительно карбоксиметилцеллюлоза может находиться в диапазоне от приблизительно 0,5 процента по весу до приблизительно 3 процентов по весу. Предпочтительно карбоксиметилцеллюлоза может находиться в диапазоне от приблизительно 0,5 процента по весу до приблизительно 2 процентов по весу. Предпочтительно карбоксиметилцеллюлоза может находиться в диапазоне от приблизительно 1 процента по весу до приблизительно 2 процентов по весу.
Гелевая композиция может содержать микрокристаллическую целлюлозу в диапазоне от приблизительно 0,2 процента по весу до приблизительно 5 процентов по весу. Предпочтительно микрокристаллическая целлюлоза может находиться в диапазоне от приблизительно 0,5 процента по весу до приблизительно 3 процентов по весу. Предпочтительно микрокристаллическая целлюлоза может находиться в диапазоне от приблизительно 0,5 процента по весу до приблизительно 2 процентов по весу. Предпочтительно микрокристаллическая целлюлоза может находиться в диапазоне от приблизительно 1 процента по весу до приблизительно 2 процентов по весу.
Гелевая композиция может содержать метилцеллюлозу в диапазоне от приблизительно 0,2 процента по весу до приблизительно 5 процентов по весу. Предпочтительно метилцеллюлоза может находиться в диапазоне от приблизительно 0,5 процента по весу до приблизительно 3 процентов по весу. Предпочтительно метилцеллюлоза может находиться в диапазоне от приблизительно 0,5 процента по весу до приблизительно 2 процентов по весу. Предпочтительно метилцеллюлоза может находиться в диапазоне от приблизительно 1 процента по весу до приблизительно 2 процентов по весу.
Гелевая композиция может содержать аравийскую камедь в диапазоне от приблизительно 0,2 процента по весу до приблизительно 5 процентов по весу. Предпочтительно аравийская камедь может находиться в диапазоне от приблизительно 0,5 процента по весу до приблизительно 3 процентов по весу. Предпочтительно аравийская камедь может находиться в диапазоне от приблизительно 0,5 процента по весу до приблизительно 2 процентов по весу. Предпочтительно аравийская камедь может находиться в диапазоне от приблизительно 1 процента по весу до приблизительно 2 процентов по весу.
Гелевая композиция может содержать гуаровую камедь в диапазоне от приблизительно 0,2 процента по весу до приблизительно 5 процентов по весу. Предпочтительно гуаровая камедь может находиться в диапазоне от приблизительно 0,5 процента по весу до приблизительно 3 процентов по весу. Предпочтительно гуаровая камедь может находиться в диапазоне от приблизительно 0,5 процента по весу до приблизительно 2 процентов по весу. Предпочтительно гуаровая камедь может находиться в диапазоне от приблизительно 1 процента по весу до приблизительно 2 процентов по весу.
Гелевая композиция может содержать лямбда-каррагинан в диапазоне от приблизительно 0,2 процента по весу до приблизительно 5 процентов по весу. Предпочтительно лямбда-каррагинан может находиться в диапазоне от приблизительно 0,5 процента по весу до приблизительно 3 процентов по весу. Предпочтительно лямбда-каррагинан может находиться в диапазоне от приблизительно 0,5 процента по весу до приблизительно 2 процентов по весу. Предпочтительно лямбда-каррагинан может находиться в диапазоне от приблизительно 1 процента по весу до приблизительно 2 процентов по весу.
Гелевая композиция может содержать крахмал в диапазоне от приблизительно 0,2 процента по весу до приблизительно 5 процентов по весу. Предпочтительно крахмал может находиться в диапазоне от приблизительно 0,5 процента по весу до приблизительно 3 процентов по весу. Предпочтительно крахмал может находиться в диапазоне от приблизительно 0,5 процента по весу до приблизительно 2 процентов по весу. Предпочтительно крахмал может находиться в диапазоне от приблизительно 1 процента по весу до приблизительно 2 процентов по весу.
Гелевая композиция может дополнительно содержать двухвалентный катион. Предпочтительно двухвалентный катион содержит ионы кальция, такие как лактат кальция в растворе. Двухвалентные катионы (такие как ионы кальция) могут способствовать гелеобразованию композиций, которые содержат гелеобразующие средства, такие как, например, гелеобразующее средство, обеспечивающее сшивание посредством ионных связей. Ионный эффект может способствовать гелеобразованию. Двухвалентный катион может присутствовать в гелевой композиции в диапазоне от приблизительно 0,1 до приблизительно 1 процента по весу или в количестве приблизительно 0,5 процента по весу.
Гелевая композиция может дополнительно содержать кислоту. Кислота может включать карбоновую кислоту. Карбоновая кислота может содержать кетоновую группу. Предпочтительно карбоновая кислота может содержать кетоновую группу, имеющую менее чем приблизительно 10 атомов углерода, или менее чем приблизительно 6 атомов углерода, или менее чем приблизительно 4 атома углерода, такую как левулиновая кислота или молочная кислота. Предпочтительно эта карбоновая кислота имеет три атома углерода (например, молочная кислота). Молочная кислота неожиданно улучшает стабильность гелевой композиции даже по сравнению с подобными карбоновыми кислотами. Карбоновая кислота может способствовать гелеобразованию. Карбоновая кислота может снижать изменение концентрации алкалоидного соединения, или концентрации каннабиноидного соединения, или концентрации как алкалоидного соединения, так и каннабиноидного соединения внутри гелевой композиции во время хранения. Карбоновая кислота может снижать изменение концентрации никотина внутри гелевой композиции во время хранения.
Гелевая композиция может содержать карбоновую кислоту в диапазоне от приблизительно 0,1 процента по весу до приблизительно 5 процентов по весу. Предпочтительно карбоновая кислота может находиться в диапазоне от приблизительно 0,5 процента по весу до приблизительно 3 процентов по весу. Предпочтительно карбоновая кислота может находиться в диапазоне от приблизительно 0,5 процента по весу до приблизительно 2 процентов по весу. Предпочтительно карбоновая кислота может находиться в диапазоне от приблизительно 1 процента по весу до приблизительно 2 процентов по весу.
Гелевая композиция может содержать молочную кислоту в диапазоне от приблизительно 0,1 процента по весу до приблизительно 5 процентов по весу. Предпочтительно молочная кислота может находиться в диапазоне от приблизительно 0,5 процента по весу до приблизительно 3 процентов по весу. Предпочтительно молочная кислота может находиться в диапазоне от приблизительно 0,5 процента по весу до приблизительно 2 процентов по весу. Предпочтительно молочная кислота может находиться в диапазоне от приблизительно 1 процента по весу до приблизительно 2 процентов по весу.
Гелевая композиция может содержать левулиновую кислоту в диапазоне от приблизительно 0,1 процента по весу до приблизительно 5 процентов по весу. Предпочтительно левулиновая кислота может находиться в диапазоне от приблизительно 0,5 процента по весу до приблизительно 3 процентов по весу. Предпочтительно левулиновая кислота может находиться в диапазоне от приблизительно 0,5 процента по весу до приблизительно 2 процентов по весу. Предпочтительно левулиновая кислота может находиться в диапазоне от приблизительно 1 процента по весу до приблизительно 2 процентов по весу.
Гелевая композиция предпочтительно содержит некоторое количество воды. Гелевая композиция более стабильна, если композиция содержит некоторое количество воды. Предпочтительно гелевая композиция содержит по меньшей мере приблизительно 1 процент по весу, или по меньшей мере приблизительно 2 процента по весу, или по меньшей мере приблизительно 5 процентов по весу воды. Предпочтительно гелевая композиция содержит по меньшей мере приблизительно 10 процентов по весу или по меньшей мере приблизительно 15 процентов по весу воды.
Предпочтительно гелевая композиция содержит от приблизительно 8 процентов по весу до приблизительно 32 процентов по весу воды. Предпочтительно гелевая композиция содержит от приблизительно 15 процентов по весу до приблизительно 25 процентов по весу воды. Предпочтительно гелевая композиция содержит от приблизительно 18 процентов по весу до приблизительно 22 процентов по весу воды. Предпочтительно гелевая композиция содержит приблизительно 20 процентов по весу воды.
Предпочтительно субстрат, генерирующий аэрозоль, содержит от приблизительно 150 мг до приблизительно 350 мг гелевой композиции.
Предпочтительно субстрат, генерирующий аэрозоль, содержит пористую среду, заполненную гелевой композицией. Преимущества пористой среды, заполненной гелевой композицией, заключаются в том, что гелевая композиция удерживается внутри пористой среды, и это может способствовать изготовлению, хранению или транспортировке гелевой композиции. Это может помогать в поддержании желаемой формы гелевой композиции, особенно во время изготовления, транспортировки или использования.
Пористая среда может представлять собой любой подходящий пористый материал, способный держать в себе или удерживать гелевую композицию. В идеале пористая среда может обеспечивать возможность перемещения гелевой композиции внутри нее. В конкретных вариантах осуществления пористая среда содержит натуральные материалы, синтетические, или полусинтетические, или их комбинацию. В конкретных вариантах осуществления пористая среда содержит листовой материал, пеноматериал или волокна, например, разрыхленные волокна, или их комбинацию. В конкретных вариантах осуществления пористая среда содержит тканый, нетканый или экструдированный материал или их комбинации. Предпочтительно пористая среда содержит хлопок, бумагу, вискозу, PLA, или ацетат целлюлозы, или их комбинации. Предпочтительно пористая среда содержит листовой материал, например, хлопок или ацетат целлюлозы. В особенно предпочтительном варианте осуществления пористая среда содержит лист, изготовленный из хлопковых волокон.
Пористая среда, используемая в настоящем изобретении, может быть гофрированной или расщепленной. В предпочтительных вариантах осуществления пористая среда является гофрированной. В альтернативных вариантах осуществления пористая среда содержит расщепленную пористую среду. Процесс гофрирования или расщепления может быть осуществлен перед заполнением гелевой композицией или после него.
Гофрирование листового материала имеет преимущество, заключающееся в улучшении структуры для обеспечения проходов через структуру. Проходы через гофрированный листовой материал оказывают содействие в заполнении гелем, удерживании геля, а также для того, чтобы текучая среда проходила через гофрированный листовой материал. Следовательно, существуют преимущества использования гофрированного листового материала в качестве пористой среды.
Расщепление обеспечивает высокое соотношение площади поверхности и объема для среды, которая таким образом способна легко поглощать гель.
В конкретных вариантах осуществления листовой материал представляет собой композитный материал. Предпочтительно листовой материал является пористым. Листовой материал может способствовать изготовлению трубчатого элемента, содержащего гель. Листовой материал может способствовать введению активного вещества в трубчатый элемент, содержащий гель. Листовой материал может помочь стабилизировать структуру трубчатого элемента, содержащего гель. Листовой материал может содействовать транспортировке или хранению геля. Использование листового материала позволяет или обеспечивает добавление структуры пористой среде, например, путем гофрирования листового материала.
Пористая среда может представлять собой нить. Нить может содержать, например, хлопок, бумагу или ацетатный штранг. Нить может также быть заполнена гелем, как любая другая пористая среда. Преимущество использования нити в качестве пористой среды заключается в том, что она может способствовать легкому изготовлению.
Нить может быть заполнена гелем любыми известными средствами. Нить может быть просто покрыта гелем, или нить может быть пропитана гелем. При изготовлении нити могут быть пропитаны гелем и отправлены на хранение готовыми к использованию для включения в сборку трубчатого элемента.
Пористая среда, заполненная гелевой композицией, предпочтительно обеспечена внутри трубчатого элемента, который образует часть изделия, генерирующего аэрозоль. Термин «трубчатый элемент» используется для описания компонента, подходящего для использования в изделии, генерирующем аэрозоль. В идеале трубчатый элемент может быть больше по продольной длине, чем по ширине, но не обязательно, поскольку он может быть одной частью многокомпонентного элемента, который в идеале будет больше по своей продольной длине, чем по своей ширине. Как правило, трубчатый элемент является цилиндрическим, но не обязательно. Например, трубчатый элемент может иметь овальное, многоугольное, например, треугольное или прямоугольное, или произвольное поперечное сечение.
Трубчатый элемент предпочтительно содержит первый продольный проход. Трубчатый элемент предпочтительно образован из обертки, которая определяет первый продольный проход. Обертка предпочтительно является водостойкой оберткой. Это свойство водостойкости обертки можно получить с использованием водостойкого материала или посредством обработки материала обертки. Это может быть достигнуто путем обработки одной стороны или обеих сторон обертки. Наличие водостойкости поможет не потерять структуру, прочность или жесткость. Это может также оказывать содействие в предотвращении утечек геля или жидкости, особенно при использовании гелей текучей структуры.
В некоторых вариантах осуществления стержень субстрата, генерирующего аэрозоль, дополнительно содержит токоприемный элемент, расположенный внутри субстрата, генерирующего аэрозоль. На практике в некоторых вариантах осуществления изделия, генерирующего аэрозоль, в соответствии с настоящим изобретением токоприемный элемент, такой как, например, продолговатый токоприемник, расположен по существу на стержне субстрата, генерирующего аэрозоль, таким образом, что токоприемный элемент находится в тепловом контакте с субстратом, генерирующим аэрозоль.
В контексте данного документа применительно к настоящему изобретению термин «токоприемник» относится к материалу, который может преобразовывать электромагнитную энергию в тепло. При размещении внутри флуктуационного электромагнитного поля вихревые токи, индуцированные в токоприемнике, вызывают нагрев токоприемника. Поскольку продолговатый токоприемник размещен в тепловом контакте с субстратом, генерирующим аэрозоль, субстрат, генерирующий аэрозоль, нагревается токоприемником.
Предпочтительно токоприемный элемент выполнен в форме продолговатого токоприемника. При использовании для описания токоприемника термин «продолговатый» означает, что токоприемник имеет размер по длине, который больше, чем его размер по ширине или его размер по толщине, например, в два раза больше, чем его размер по ширине или его размер по толщине.
Продолговатый токоприемник предпочтительно расположен по существу в продольном направлении внутри стержня. Это означает, что размер по длине продолговатого токоприемника расположен приблизительно параллельно продольному направлению стержня, например, в диапазоне плюс-минус 10 градусов параллельно продольному направлению стержня. В предпочтительных вариантах осуществления продолговатый токоприемник может быть расположен в радиально центральном положении внутри стержня и проходит вдоль продольной оси стержня.
Предпочтительно продолговатый токоприемник проходит на все расстояние до расположенного дальше по ходу потока конца стержня изделия, генерирующего аэрозоль. В некоторых вариантах осуществления токоприемник может проходить на все расстояние до расположенного раньше по ходу потока конца стержня изделия, генерирующего аэрозоль. В особенно предпочтительных вариантах осуществления токоприемник имеет по существу ту же длину, что и стержень субстрата, генерирующего аэрозоль, и проходит от расположенного раньше по ходу потока конца стержня к расположенному дальше по ходу потока концу стержня.
Токоприемник предпочтительно выполнен в форме штыря, стержня, полоски или пластины.
Токоприемник предпочтительно имеет длину от приблизительно 5 миллиметров до приблизительно 15 миллиметров, например, от приблизительно 6 миллиметров до приблизительно 12 миллиметров, или от приблизительно 8 миллиметров до приблизительно 10 миллиметров.
Соотношение между длиной токоприемника и общей длиной изделия, генерирующего аэрозоль, может составлять от приблизительно 0,2 до приблизительно 0,35.
В некоторых вариантах осуществления соотношение между длиной токоприемника и общей длиной изделия, генерирующего аэрозоль, составляет по меньшей мере приблизительно 0,22, более предпочтительно по меньшей мере приблизительно 0,24, еще более предпочтительно по меньшей мере приблизительно 0,26. Соотношение между длиной токоприемника и общей длиной изделия, генерирующего аэрозоль, составляет предпочтительно менее приблизительно 0,34, более предпочтительно менее приблизительно 0,32, еще более предпочтительно менее приблизительно 0,3. В других вариантах осуществления соотношение между длиной токоприемника и общей длиной изделия, генерирующего аэрозоль, составляет предпочтительно от приблизительно 0,22 до приблизительно 0,34, более предпочтительно от приблизительно 0,24 до приблизительно 0,34, еще более предпочтительно от приблизительно 0,26 до приблизительно 0,34. В дополнительных вариантах осуществления соотношение между длиной токоприемника и общей длиной изделия, генерирующего аэрозоль, составляет предпочтительно от приблизительно 0,22 до приблизительно 0,32, более предпочтительно от приблизительно 0,24 до приблизительно 0,32, еще более предпочтительно от приблизительно 0,26 до приблизительно 0,32. В еще одних дополнительных вариантах осуществления соотношение между длиной токоприемника и общей длиной изделия, генерирующего аэрозоль, составляет предпочтительно от приблизительно 0,22 до приблизительно 0,3, более предпочтительно от приблизительно 0,24 до приблизительно 0,3, еще более предпочтительно от приблизительно 0,26 до приблизительно 0,3.
В особенно предпочтительном варианте осуществления соотношение между длиной токоприемника и общей длиной изделия, генерирующего аэрозоль, составляет приблизительно 0,27.
Токоприемник предпочтительно имеет ширину от приблизительно 1 миллиметра до приблизительно 5 миллиметров.
Токоприемник может по существу иметь толщину от приблизительно 0,01 миллиметра до приблизительно 2 миллиметров, например, от приблизительно 0,5 миллиметра до приблизительно 2 миллиметров. В некоторых вариантах осуществления токоприемник предпочтительно имеет толщину от приблизительно 10 микрометров до приблизительно 500 микрометров, более предпочтительно от приблизительно 10 микрометров до приблизительно 100 микрометров.
Если токоприемник имеет постоянное поперечное сечение, например, круглое поперечное сечение, он имеет предпочтительную ширину или диаметр от приблизительно 1 миллиметра до приблизительно 5 миллиметров.
Если токоприемник имеет форму полоски или пластины, то полоска или пластина предпочтительно имеет прямоугольную форму с шириной предпочтительно от приблизительно 2 миллиметров до приблизительно 8 миллиметров, более предпочтительно от приблизительно 3 миллиметров до приблизительно 5 миллиметров. В качестве примера, токоприемник в форме полоски или пластины может иметь ширину приблизительно 4 миллиметра.
Если токоприемник имеет форму полоски или пластины, то полоска или пластина предпочтительно имеет прямоугольную форму и толщину от приблизительно 0,03 миллиметра до приблизительно 0,15 миллиметра, более предпочтительно от приблизительно 0,05 миллиметра до приблизительно 0,0 9 миллиметра. В качестве примера, токоприемник в форме полоски или пластины может иметь толщину приблизительно 0,07 миллиметра.
В предпочтительном варианте осуществления продолговатый токоприемник предусмотрен в форме полоски или пластины, предпочтительно имеет прямоугольную форму и имеет толщину от приблизительно 55 микрометров до приблизительно 65 микрометров.
Более предпочтительно продолговатый токоприемник имеет толщину от приблизительно 57 микрометров до приблизительно 63 микрометров. Еще более предпочтительно продолговатый токоприемник имеет толщину от приблизительно 58 микрометров до приблизительно 62 микрометров. В особенно предпочтительном варианте осуществления продолговатый токоприемник имеет толщину приблизительно 60 микрометров.
Не ограничиваясь теорией, авторы настоящего изобретения считают, что в целом на выбор заданной толщины для токоприемника также влияют ограничения, установленные выбранной длиной и шириной токоприемника, а также ограничения, установленные геометрией и размерами стержня субстрата, генерирующего аэрозоль. В качестве примера, длину токоприемника предпочтительно выбирают так, чтобы она совпадала с длиной стержня субстрата, генерирующего аэрозоль. Ширину токоприемника следует предпочтительно выбирать так, чтобы предотвращать смещение токоприемника внутри субстрата, одновременно обеспечивая возможность легкой вставки во время изготовления.
Авторы настоящего изобретения обнаружили, что в изделии, генерирующем аэрозоль, в котором токоприемник, имеющий толщину в диапазоне, описанном выше, обеспечен для индукционной подачи тепла во время использования, преимущественно возможно генерировать и распределять тепло по субстрату, генерирующему аэрозоль, особенно эффективно и оптимально. Не ограничиваясь теорией, авторы настоящего изобретения убеждены, что это происходит потому, что один такой токоприемник приспособлен для обеспечения оптимального генерирования тепла и передачи тепла благодаря площади поверхности токоприемника и индукционному питанию. Для сравнения, более тонкий токоприемник может быть слишком легко деформировать, и он может не поддерживать желаемую форму и ориентацию внутри стержня субстрата, генерирующего аэрозоль, во время изготовления изделия, генерирующего аэрозоль, что может привести к менее однородному и менее точно настроенному распределению тепла во время использования. В то же время, более толстый токоприемник может быть сложнее разрезать до нужной длины с точностью и постоянством, и это может также повлиять на то, как точно токоприемник может быть обеспечен в продольном выравнивании внутри стержня субстрата, генерирующего аэрозоль, таким образом также потенциально оказывая влияние на однородность распределения тепла внутри стержня. Эти преимущественные эффекты особенно ощутимы, когда токоприемник проходит на все расстояние до расположенного дальше по ходу потока конца стержня изделия, генерирующего аэрозоль. Считается, что причиной этого является то, что сопротивление затяжке (RTD) дальше по ходу потока относительно токоприемника можно таким образом минимизировать, так как нет субстрата, генерирующего аэрозоль, внутри стержня в местоположении дальше по ходу потока относительно токоприемника, который мог бы способствовать RTD. Это достигается особенно эффективно в вариантах осуществления, где изделие, генерирующее аэрозоль, содержит расположенную дальше по ходу потока секцию, содержащую полую промежуточную секцию. Одна такая полая промежуточная секция по существу не способствует общему RTD изделия, генерирующего аэрозоль, и не вступает в непосредственный контакт с расположенным дальше по ходу потока концом токоприемника.
Не ограничиваясь теорией, авторы настоящего изобретения считают, что расположенная дальше всего по ходу потока часть стержня субстрата, генерирующего аэрозоль, может действовать, до определенной степени, как фильтр относительно расположенных намного раньше по ходу потока частей стержня субстрата, генерирующего аэрозоль. Таким образом, авторы настоящего изобретения убеждены, что желательно иметь возможность однородно нагревать также расположенную дальше всего по ходу потока часть стержня субстрата, генерирующего аэрозоль, для активного включения ее в высвобождение летучих соединений аэрозоля и способствования общим генерированию и доставке аэрозоля, и любой возможный эффект фильтрации, который может препятствовать доставке аэрозоля потребителю, надежно устраняется высвобождением летучих соединений аэрозоля по всему субстрату, генерирующему аэрозоль.
Предпочтительно продолговатый токоприемник имеет длину, которая равна или меньше длины субстрата, генерирующего аэрозоль. Предпочтительно продолговатый токоприемник имеет такую же длину, что и субстрат, генерирующий аэрозоль.
Токоприемник может быть образован из любого материала, который может быть индукционно нагрет до температуры, достаточной для генерирования аэрозоля из субстрата, генерирующего аэрозоль. Предпочтительные токоприемники содержат металл или углерод.
Предпочтительный токоприемник может содержать ферромагнитный материал, например, ферромагнитный сплав, ферритное железо или ферромагнитную сталь, или нержавеющую сталь, или состоять из них. Подходящий токоприемник может быть выполнен из алюминия или содержать его. Предпочтительные токоприемники могут быть образованы из нержавеющих сталей серии 400, например, нержавеющей стали марки 410, или марки 420, или марки 430. Разные материалы будут рассеивать разные количества энергии, когда они расположены внутри электромагнитных полей, имеющих подобные значения частоты и напряженности поля.
Таким образом, все параметры токоприемника, такие как тип материала, длина, ширина и толщина, могут быть изменены для обеспечения желаемого рассеивания мощности внутри известного электромагнитного поля. Предпочтительные токоприемники могут быть нагреты до температуры свыше 250 градусов Цельсия.
Подходящие токоприемники могут содержать неметаллический сердечник с металлическим слоем, расположенным на неметаллическом сердечнике, например, с металлическими дорожками, образованными на поверхности керамического сердечника. Токоприемник может иметь защитный внешний слой, например, защитный керамический слой или защитный стеклянный слой, охватывающий токоприемник. Токоприемник может содержать защитное покрытие, образованное из стекла, керамики или инертного металла, образованное поверх сердечника токоприемного материала.
Токоприемник расположен в тепловом контакте с субстратом, генерирующим аэрозоль. Таким образом, при нагреве токоприемника нагревается субстрат, генерирующий аэрозоль, и образуется аэрозоль. Предпочтительно токоприемник расположен в непосредственном физическом контакте с субстратом, генерирующим аэрозоль, например, внутри субстрата, генерирующего аэрозоль.
Токоприемник может представлять собой токоприемник, состоящий из нескольких материалов, и может содержать первый токоприемный материал и второй токоприемный материал. Первый токоприемный материал расположен в непосредственном физическом контакте со вторым токоприемным материалом. Второй токоприемный материал предпочтительно имеет температуру Кюри, которая ниже 500 градусов Цельсия. Первый токоприемный материал предпочтительно используют, главным образом, для нагрева токоприемника, когда токоприемник помещен во флуктуационное электромагнитное поле. Может быть использован любой подходящий материал. Например, первый токоприемный материал может представлять собой алюминий или может представлять собой черный металл, такой как нержавеющая сталь. Второй токоприемный материал предпочтительно используют, главным образом, для указания на то, что токоприемник достиг конкретной температуры, причем эта температура является температурой Кюри второго токоприемного материала. Температура Кюри второго токоприемного материала может быть использована для регулирования температуры всего токоприемника во время работы. Таким образом, температура Кюри второго токоприемного материала должна быть ниже точки воспламенения субстрата, генерирующего аэрозоль. Подходящие материалы для второго токоприемного материала могут включать никель и определенные сплавы никеля.
За счет предоставления токоприемника, имеющего по меньшей мере первый и второй токоприемные материалы, при этом либо второй токоприемный материал имеет температуру Кюри, а первый токоприемный материал не имеет температуру Кюри, либо первый и второй токоприемные материалы имеют первую и вторую температуры Кюри, отличные друг от друга, обеспечивается возможность разделения нагрева субстрата, генерирующего аэрозоль, и регулирования температуры нагрева. Первый токоприемный материал предпочтительно является магнитным материалом, имеющим температуру Кюри, которая выше 500 градусов Цельсия. С точки зрения эффективности нагрева желательно, чтобы температура Кюри первого токоприемного материала превышала любую максимальную температуру, до которой должен иметь возможность нагреваться токоприемник. Вторая температура Кюри может быть предпочтительно выбрана так, чтобы быть ниже 400 градусов Цельсия, предпочтительно ниже 380 градусов Цельсия или ниже 360 градусов Цельсия. Предпочтительно второй токоприемный материал представляет собой магнитный материал, выбранный таким образом, что он имеет вторую температуру Кюри, которая по существу совпадает с требуемой максимальной температурой нагрева. То есть предпочтительно, чтобы вторая температура Кюри была приблизительно такой же, как температура, до которой должен быть нагрет токоприемник, чтобы генерировать аэрозоль из субстрата, генерирующего аэрозоль. Вторая температура Кюри может, например, находиться в пределах диапазона от 200 градусов Цельсия до 400 градусов Цельсия или от 250 градусов Цельсия до 360 градусов Цельсия. Вторая температура Кюри второго токоприемного материала может, например, быть выбрана такой, что, при нагреве токоприемником, находящимся при температуре, равной второй температуре Кюри, общая средняя температура субстрата, генерирующего аэрозоль, не превышает 240 градусов Цельсия.
Как кратко описано выше, в изделиях, генерирующих аэрозоль, в соответствии с настоящим изобретением обертка, окружающая по меньшей мере стержень субстрата, генерирующего аэрозоль, содержит основной материал для обертывания, имеющий основной вес. По меньшей мере обработанная часть обертки, проходящая между ближним концом стержня и дальним концом стержня, содержит препятствующую воспламенению композицию, содержащую одно или более препятствующих воспламенению соединений, так что обработанная часть обертки имеет общий основной вес, превышающий основной вес основного материала для обертывания. На практике обертка, окружающая по меньшей мере стержень субстрата, генерирующего аэрозоль, содержит основной материал для обертывания, и на основной материал для обертывания нанесена препятствующая воспламенению композиция, или основной материал для обертывания пропитан препятствующей воспламенению композицией, или и то, и другое. Обработанная часть проходит на по меньшей мере приблизительно 80 процентов площади внешней поверхности стержня субстрата, генерирующего аэрозоль.
Как используется в настоящем документе, термин «препятствующая воспламенению композиция» обозначает композицию, содержащую одно или более препятствующих воспламенению соединении.
Термин «препятствующие воспламенению соединения» используется в настоящем документе для описания химических соединений, которые при добавлении к субстрату или другому включению в него, например, бумажные или пластмассовые соединения, обеспечивают субстрату различную степень защиты от воспламеняемости. На практике препятствующие воспламенению соединения могут быть активированы присутствием источника воспламенения и приспособлены для предотвращения или замедления дальнейшего развития воспламенения с помощью множества различных физических и химических механизмов.
Препятствующая воспламенению композиция, как правило, может дополнительно содержать одно или более не препятствующих воспламенению соединений, то есть одно или более соединений, таких как растворитель, вспомогательное вещество, наполнитель, которые не вносят активного вклада в обеспечение защиты субстрата от воспламенения, но используются для облегчения нанесения препятствующего воспламенению соединения или соединений на обертку или в нее, или и того, и другого.
Некоторые из не препятствующих воспламенению соединений препятствующей воспламенению композиции, такие как растворители, являются летучими и могут испаряться с обертки при высыхании после нанесения препятствующей воспламенению композиции на основной материал для обертывания или в него, или и то, и другое. Соответственно, хотя такие не препятствующие воспламенению соединения являются частью состава препятствующей воспламенению композиции, они могут больше не присутствовать или их можно обнаружить только в незначительных количествах в обертке изделия, генерирующего аэрозоль, в соответствии с изобретением.
Для включения препятствующей воспламенению композиции в обертку на бумажной или полимерной основе, препятствующая воспламенению композиция может быть добавлена к волокнистой массе или полимерной смеси во время процесса изготовления обертки или добавлена к обертке на более позднем этапе с помощью процесса нанесения, основанного на прессовании по размерам, распылении, печати, нанесении покрытия и т.д. Препятствующая воспламенению композиция может быть нанесена, например, в качестве слоя покрытия, на одну сторону обертки или на обе стороны обертки.
Известен ряд подходящих препятствующих воспламенению соединений. Некоторые препятствующие воспламенению соединения, такие как минеральные препятствующие воспламенению соединения, в основном действуют как добавочные препятствующие воспламенению соединения и химически не связываются с окружающей системой. Большинство галогенорганических и фосфорорганических соединений также не вступают в постоянную реакцию с присоединением к окружающей среде. Реактивные препятствующие воспламенению соединения, такие как определенные негалогенированные продукты, являются реактивными в том смысле, что они интегрируются в окружающую систему без потери своей препятствующей воспламенению эффективности. Это делает эти материалы преимущественно неэмиссионными в окружающую среду.
Основной материал для обертывания обертки, окружающей по меньшей мере стержень субстрата, генерирующего аэрозоль, может быть бумажным основным материалом для обертывания или небумажным основным материалом для обертывания. В предпочтительных вариантах осуществления основной материал для обертывания обертки, окружающей по меньшей мере стержень субстрата, генерирующего аэрозоль, содержит бумагу. Бумажные основные материалы для обертывания, подходящие для использования в конкретных вариантах осуществления настоящего изобретения, известны в данной области техники и включают, но без ограничения: виды сигаретной бумаги и фицеллы фильтра. Небумажные основные материалы для обертывания, подходящие для использования в конкретных вариантах осуществления настоящего изобретения известны в данной области техники и включают, но без ограничения, листы гомогенизированных табачных материалов и листы определенных полимерных материалов. В определенных вариантах осуществления основной материал для обертывания может быть образован из ламинированного материала, содержащего множество слоев.
В качестве примера основной вес основного материала для обертывания может составлять по меньшей мере приблизительно 20 грамм на квадратный метр. Предпочтительно основной вес основного материала для обертывания составляет по меньшей мере приблизительно 25 грамм на квадратный метр. Более предпочтительно основной вес основного материала для обертывания составляет по меньшей мере приблизительно 30 грамм на квадратный метр. Еще более предпочтительно основной вес основного материала для обертывания составляет по меньшей мере приблизительно 40 грамм на квадратный метр или по меньшей мере приблизительно 50 грамм на квадратный метр. В некоторых вариантах осуществления основной вес основного материала для обертывания составляет по меньшей мере приблизительно 70 грамм на квадратный метр.
Основной вес основного материала для обертывания может составлять вплоть до приблизительно 220 грамм на квадратный метр. Предпочтительно основной вес основного материала для обертывания меньше или равен приблизительно 200 граммам на квадратный метр. Более предпочтительно основной вес основного материала для обертывания меньше или равен приблизительно 180 граммам на квадратный метр. Еще более предпочтительно основной вес основного материала для обертывания меньше или равен приблизительно 160 граммам на квадратный метр.
В предпочтительных вариантах осуществления основной вес основного материала для обертывания меньше или равен приблизительно 150 граммам на квадратный метр, предпочтительно меньше или равен приблизительно 140 граммам на квадратный метр, еще более предпочтительно меньше или равен приблизительно 130 граммам на квадратный метр, наиболее предпочтительно меньше или равен приблизительно 120 граммам на квадратный метр.
В некоторых вариантах осуществления основной вес основного материала для обертывания может составлять от приблизительно 30 грамм на квадратный метр до приблизительно 220 грамм на квадратный метр, предпочтительно от приблизительно 40 грамм на квадратный метр до приблизительно 220 грамм на квадратный метр, более предпочтительно от приблизительно 50 грамм на квадратный метр до приблизительно 220 грамм на квадратный метр, еще более предпочтительно от приблизительно 60 грамм на квадратный метр до приблизительно 220 грамм на квадратный метр. В других вариантах осуществления основной вес основного материала для обертывания может составлять от приблизительно 30 грамм на квадратный метр до приблизительно 200 грамм на квадратный метр, предпочтительно от приблизительно 40 грамм на квадратный метр до приблизительно 200 грамм на квадратный метр, более предпочтительно от приблизительно 50 грамм на квадратный метр до приблизительно 200 грамм на квадратный метр, еще более предпочтительно от приблизительно 60 грамм на квадратный метр до приблизительно 200 грамм на квадратный метр. В дополнительных вариантах осуществления основной вес основного материала для обертывания может составлять от приблизительно 30 грамм на квадратный метр до приблизительно 180 грамм на квадратный метр, предпочтительно от приблизительно 40 грамм на квадратный метр до приблизительно 180 грамм на квадратный метр, более предпочтительно от приблизительно 50 грамм на квадратный метр до приблизительно 180 грамм на квадратный метр, еще более предпочтительно от приблизительно 60 грамм на квадратный метр до приблизительно 180 грамм на квадратный метр. В еще других вариантах осуществления основной вес основного материала для обертывания может составлять от приблизительно 30 грамм на квадратный метр до приблизительно 160 грамм на квадратный метр, предпочтительно от приблизительно 40 грамм на квадратный метр до приблизительно 160 грамм на квадратный метр, более предпочтительно от приблизительно 50 грамм на квадратный метр до приблизительно 160 грамм на квадратный метр, еще более предпочтительно от приблизительно 60 грамм на квадратный метр до приблизительно 160 грамм на квадратный метр.
В особенно предпочтительных вариантах осуществления основной вес основного материала для обертывания может составлять от приблизительно 70 грамм на квадратный метр до приблизительно 110 грамм на квадратный метр, и более предпочтительно от приблизительно 80 грамм на квадратный метр до приблизительно 110 грамм на квадратный метр. В еще более предпочтительных вариантах осуществления основной вес основного материала для обертывания может составлять от приблизительно 70 грамм на квадратный метр до приблизительно 100 грамм на квадратный метр, и еще более предпочтительно от приблизительно 80 грамм на квадратный метр до приблизительно 100 грамм на квадратный метр.
В других вариантах осуществления основной вес основного материала для обертывания может составлять от приблизительно 20 грамм на квадратный метр до приблизительно 120 грамм на квадратный метр, предпочтительно от приблизительно 25 грамм на квадратный метр до приблизительно 120 грамм на квадратный метр, более предпочтительно от приблизительно 30 грамм до приблизительно 120 грамм на квадратный метр, еще более предпочтительно от приблизительно 40 грамм на квадратный метр до приблизительно 120 грамм на квадратный метр, наиболее предпочтительно от приблизительно 50 грамм на квадратный метр до приблизительно 120 грамм на квадратный метр. В дополнительных вариантах осуществления основной вес основного материала для обертывания может составлять от приблизительно 20 грамм на квадратный метр до приблизительно 100 грамм на квадратный метр, предпочтительно от приблизительно 25 грамм на квадратный метр до приблизительно 100 грамм на квадратный метр, более предпочтительно от приблизительно 30 грамм до приблизительно 100 грамм на квадратный метр, еще более предпочтительно от приблизительно 40 грамм на квадратный метр до приблизительно 100 грамм на квадратный метр, наиболее предпочтительно от приблизительно 50 грамм на квадратный метр до приблизительно 100 грамм на квадратный метр. В еще одних дополнительных вариантах осуществления основной вес основного материала для обертывания может составлять от приблизительно 20 грамм на квадратный метр до приблизительно 80 грамм на квадратный метр, предпочтительно от приблизительно 25 грамм на квадратный метр до приблизительно 80 грамм на квадратный метр, более предпочтительно от приблизительно 30 грамм до приблизительно 80 грамм на квадратный метр, еще более предпочтительно от приблизительно 40 грамм на квадратный метр до приблизительно 8 0 грамм на квадратный метр, наиболее предпочтительно от приблизительно 50 грамм на квадратный метр до приблизительно 8 0 грамм на квадратный метр. В альтернативных вариантах осуществления основной вес основного материала для обертывания может составлять от приблизительно 20 грамм на квадратный метр до приблизительно 70 грамм на квадратный метр, предпочтительно от приблизительно 25 грамм на квадратный метр до приблизительно 70 грамм на квадратный метр, более предпочтительно от приблизительно 30 грамм до приблизительно 70 грамм на квадратный метр, еще более предпочтительно от приблизительно 40 грамм на квадратный метр до приблизительно 70 грамм на квадратный метр, наиболее предпочтительно от приблизительно 50 грамм на квадратный метр до приблизительно 70 грамм на квадратный метр.
В других вариантах осуществления основной вес основного материала для обертывания может составлять от приблизительно 20 грамм на квадратный метр до приблизительно 50 грамм на квадратный метр, предпочтительно от приблизительно 25 грамм на квадратный метр до приблизительно 50 грамм на квадратный метр, более предпочтительно от приблизительно 30 грамм до приблизительно 50 грамм на квадратный метр, еще более предпочтительно от приблизительно 40 грамм на квадратный метр до приблизительно 50 грамм на квадратный метр.
Обертка, окружающая по меньшей мере стержень субстрата, генерирующего аэрозоль имеет общий основной сухой вес, который представляет собой сумму основного веса основного материала для обертывания и веса компонентов препятствующей воспламенению композиции, которые присутствуют на поверхности основного материала для обертывания или внутри основного материала для обертывания, или и того, и другого. Вес компонентов препятствующей воспламенению композиции, присутствующих на обертке или в ней, представляет собой сумму общего веса препятствующего воспламенению соединения или соединений и веса любых остаточных не препятствующих воспламенению соединений. В контексте настоящего изобретения вес компонентов препятствующей воспламенению композиции также выражается в граммах компонентов на квадратный метр основного материала для обертывания.
Соотношение общего веса препятствующего воспламенению соединения (препятствующих воспламенению соединений) к общему основному сухому весу обертки можно рассматривать как показатель концентрации препятствующего воспламенению соединения (препятствующих воспламенению соединений) в обертке.
В изделиях, генерирующих аэрозоль, в соответствии с настоящим изобретением соотношение общего веса препятствующего воспламенению соединения (препятствующих воспламенению соединений) к общему основному сухому весу обертки может составлять по меньшей мере приблизительно 0,02. Предпочтительно соотношение общего веса препятствующего воспламенению соединения (препятствующих воспламенению соединений) к общему основному сухому весу обертки составляет по меньшей мере приблизительно 0,03. Более предпочтительно соотношение общего веса препятствующего воспламенению соединения (препятствующих воспламенению соединений) к общему основному сухому весу обертки составляет по меньшей мере приблизительно 0,04. Еще более предпочтительно соотношение общего веса препятствующего воспламенению соединения (препятствующих воспламенению соединений) к общему основному сухому весу обертки составляет по меньшей мере приблизительно 0,05.
Предпочтительно соотношение общего веса препятствующего воспламенению соединения (препятствующих воспламенению соединений) к общему основному сухому весу обертки меньше или равно приблизительно 0,20. Более предпочтительно соотношение общего веса препятствующего воспламенению соединения (препятствующих воспламенению соединений) к общему основному сухому весу обертки меньше или равно приблизительно 0,15. Еще более предпочтительно соотношение общего веса препятствующего воспламенению соединения (препятствующих воспламенению соединений) к общему основному сухому весу обертки меньше или равно приблизительно 0,10.
В некоторых вариантах осуществления соотношение общего веса препятствующего воспламенению соединения (препятствующих воспламенению соединений) к общему основному сухому весу обертки может составлять от приблизительно 0,02 до приблизительно 0,20, предпочтительно от приблизительно 0,03 до приблизительно 0,20, более предпочтительно от приблизительно 0,04 до приблизительно 0,20, еще более предпочтительно от приблизительно 0,05 до приблизительно 0,20. В других вариантах осуществления соотношение общего веса препятствующего воспламенению соединения (препятствующих воспламенению соединений) к общему основному сухому весу обертки может составлять от приблизительно 0,02 до приблизительно 0,15, предпочтительно от приблизительно 0,03 до приблизительно 0,15, более предпочтительно от приблизительно 0,04 до приблизительно 0,15, еще более предпочтительно от приблизительно 0,05 до приблизительно 0,15. В дополнительных вариантах осуществления соотношение общего веса препятствующего воспламенению соединения (препятствующих воспламенению соединений) к общему основному сухому весу обертки может составлять от приблизительно 0,02 до приблизительно 0,10, предпочтительно от приблизительно 0,03 до приблизительно 0,10, более предпочтительно от приблизительно 0,04 до приблизительно 0,10, еще более предпочтительно от приблизительно 0,05 до приблизительно 0,10.
В изделии, генерирующем аэрозоль, в соответствии с настоящим изобретением препятствующая воспламенению композиция предусмотрена в обработанной части обертки. Это означает, что препятствующая воспламенению композиция была нанесена на или в соответствующую часть основного материала для обертывания или и то, и другое. Таким образом, в обработанной части обертка имеет общий основной сухой вес, который больше, чем основной сухой вес основного материала для обертывания.
Как кратко описано выше, обработанная часть обертки проходит на по меньшей мере приблизительно 80 процентов площади внешней поверхности стержня субстрата, генерирующего аэрозоль. Предпочтительно обработанная часть обертки проходит на по меньшей мере приблизительно 85 процентов площади внешней поверхности стержня субстрата, генерирующего аэрозоль. Более предпочтительно обработанная часть обертки проходит на по меньшей мере приблизительно 90 процентов площади внешней поверхности стержня субстрата, генерирующего аэрозоль. Еще более предпочтительно обработанная часть обертки проходит на по меньшей мере приблизительно 95 процентов площади внешней поверхности стержня субстрата, генерирующего аэрозоль. Наиболее предпочтительно обработанная часть обертки проходит на по существу всю площадь внешней поверхности стержня субстрата, генерирующего аэрозоль.
Длина обработанной площади может составлять по меньшей мере приблизительно 75 процентов длины стержня субстрата, генерирующего аэрозоль. Предпочтительно длина обработанной площади составляет по меньшей мере приблизительно 80 процентов длины стержня субстрата, генерирующего аэрозоль. Более предпочтительно длина обработанной площади составляет по меньшей мере приблизительно 85 процентов длины стержня субстрата, генерирующего аэрозоль. Еще более предпочтительно длина обработанной площади составляет по меньшей мере приблизительно 90 процентов длины стержня субстрата, генерирующего аэрозоль. Наиболее предпочтительно длина обработанной площади составляет по меньшей мере приблизительно 95 процентов длины стержня субстрата, генерирующего аэрозоль.
В особенно предпочтительных вариантах осуществления длина обработанной площади по существу равна длине стержня субстрата, генерирующего аэрозоль.
По меньшей мере приблизительно 10 грамм препятствующей воспламенению композиции может быть нанесено на обработанную часть на квадратный метр площади поверхности обработанной части. Предпочтительно по меньшей мере приблизительно 12 грамм препятствующей воспламенению композиции нанесено на обработанную часть на квадратный метр площади поверхности обработанной части. Более предпочтительно по меньшей мере приблизительно 14 грамм препятствующей воспламенению композиции нанесено на обработанную часть на квадратный метр площади поверхности обработанной части. Еще более предпочтительно по меньшей мере приблизительно 16 грамм препятствующей воспламенению композиции нанесено на обработанную часть на квадратный метр площади поверхности обработанной части. В особенно предпочтительных вариантах осуществления по меньшей мере приблизительно 18 грамм или по меньшей мере приблизительно 20 грамм препятствующей воспламенению композиции нанесено на обработанную часть на квадратный метр площади поверхности обработанной части.
Предпочтительно менее или равное приблизительно 35 граммам препятствующей воспламенению композиции нанесено на обработанную часть на квадратный метр площади поверхности обработанной части. Более предпочтительно менее или равное приблизительно 30 граммам препятствующей воспламенению композиции нанесено на обработанную часть на квадратный метр площади поверхности обработанной части. Еще более предпочтительно менее или равное приблизительно 25 граммам препятствующей воспламенению композиции нанесено на обработанную часть на квадратный метр площади поверхности обработанной части.
В некоторых вариантах осуществления от приблизительно 10 грамм до приблизительно 35 грамм препятствующей воспламенению композиции нанесено на обработанную часть на квадратный метр площади поверхности обработанной части. Предпочтительно от приблизительно 12 грамм до приблизительно 35 грамм препятствующей воспламенению композиции нанесено на обработанную часть на квадратный метр площади поверхности обработанной части. Более предпочтительно от приблизительно 14 грамм до приблизительно 35 грамм препятствующей воспламенению композиции нанесено на обработанную часть на квадратный метр площади поверхности обработанной части. Еще более предпочтительно от приблизительно 16 грамм до приблизительно 35 грамм препятствующей воспламенению композиции нанесено на обработанную часть на квадратный метр площади поверхности обработанной части. В особенно предпочтительных вариантах осуществления от приблизительно 18 грамм до приблизительно 35 грамм или от приблизительно 20 грамм до приблизительно 35 грамм препятствующей воспламенению композиции нанесено на обработанную часть на квадратный метр площади поверхности обработанной части.
В других вариантах осуществления от приблизительно 10 грамм до приблизительно 30 грамм препятствующей воспламенению композиции нанесено на обработанную часть на квадратный метр площади поверхности обработанной части. Предпочтительно от приблизительно 12 грамм до приблизительно 30 грамм препятствующей воспламенению композиции нанесено на обработанную часть на квадратный метр площади поверхности обработанной части. Более предпочтительно от приблизительно 14 грамм до приблизительно 30 грамм препятствующей воспламенению композиции нанесено на обработанную часть на квадратный метр площади поверхности обработанной части. Еще более предпочтительно от приблизительно 16 грамм до приблизительно 30 грамм препятствующей воспламенению композиции нанесено на обработанную часть на квадратный метр площади поверхности обработанной части. В особенно предпочтительных вариантах осуществления от приблизительно 18 грамм до приблизительно 30 грамм или от приблизительно 20 грамм до приблизительно 30 грамм препятствующей воспламенению композиции нанесено на обработанную часть на квадратный метр площади поверхности обработанной части.
В дополнительных вариантах осуществления от приблизительно 10 грамм до приблизительно 25 грамм препятствующей воспламенению композиции нанесено на обработанную часть на квадратный метр площади поверхности обработанной части. Предпочтительно от приблизительно 12 грамм до приблизительно 25 грамм препятствующей воспламенению композиции нанесено на обработанную часть на квадратный метр площади поверхности обработанной части. Более предпочтительно от приблизительно 14 грамм до приблизительно 25 грамм препятствующей воспламенению композиции нанесено на обработанную часть на квадратный метр площади поверхности обработанной части. Еще более предпочтительно от приблизительно 16 грамм до приблизительно 25 грамм препятствующей воспламенению композиции нанесено на обработанную часть на квадратный метр площади поверхности обработанной части. В особенно предпочтительных вариантах осуществления от приблизительно 18 грамм до приблизительно 25 грамм или от приблизительно 20 грамм до приблизительно 25 грамм препятствующей воспламенению композиции нанесено на обработанную часть на квадратный метр площади поверхности обработанной части.
Обработанная часть обертки может содержать по меньшей мере приблизительно 0,1 грамма препятствующего воспламенению соединения или соединений на квадратный метр площади поверхности обработанной части. Предпочтительно обработанная часть обертки содержит по меньшей мере приблизительно 0,5 грамма препятствующего воспламенению соединения или соединений на квадратный метр площади поверхности обработанной части. Более предпочтительно обработанная часть обертки содержит по меньшей мере приблизительно 1,0 грамма препятствующего воспламенению соединения или соединений на квадратный метр площади поверхности обработанной части. Еще более предпочтительно обработанная часть обертки содержит по меньшей мере приблизительно 2,0 грамма препятствующего воспламенению соединения или соединений на квадратный метр площади поверхности обработанной части. В особенно предпочтительных вариантах осуществления обработанная часть обертки содержит по меньшей мере приблизительно 3,0 грамма препятствующего воспламенению соединения или соединений на квадратный метр площади поверхности обработанной части или по меньшей мере приблизительно 4,0 грамма препятствующего воспламенению соединения или соединений на квадратный метр площади поверхности обработанной части или по меньшей мере приблизительно 5,0 грамма препятствующего воспламенению соединения или соединений на квадратный метр площади поверхности обработанной части.
Предпочтительно обработанная часть обертки содержит менее или равное приблизительно 12 граммам препятствующего воспламенению соединения или соединений на квадратный метр площади поверхности обработанной части. Более предпочтительно обработанная часть обертки содержит менее или равное приблизительно 10 граммам препятствующего воспламенению соединения или соединений на квадратный метр площади поверхности обработанной части. Еще более предпочтительно обработанная часть обертки содержит менее или равное приблизительно 8 граммам препятствующего воспламенению соединения или соединений на квадратный метр площади поверхности обработанной части.
В некоторых вариантах осуществления обработанная часть обертки содержит от приблизительно 0,5 грамма до приблизительно 12 грамм препятствующего воспламенению соединения или соединений на квадратный метр площади поверхности обработанной части, предпочтительно от приблизительно 1,0 грамма до приблизительно 12 грамм препятствующего воспламенению соединения или соединений на квадратный метр площади поверхности обработанной части, более предпочтительно от приблизительно 2,0 грамма до приблизительно 12 грамм препятствующего воспламенению соединения или соединений на квадратный метр площади поверхности обработанной части, еще более предпочтительно от приблизительно 3,0 грамма до приблизительно 12 грамм препятствующего воспламенению соединения или соединении на квадратный метр площади поверхности обработанной части.
В других вариантах осуществления обработанная часть обертки содержит от приблизительно 0,5 грамма до приблизительно 10 грамм препятствующего воспламенению соединения или соединений на квадратный метр площади поверхности обработанной части, предпочтительно от приблизительно 1,0 грамма до приблизительно 10 грамм препятствующего воспламенению соединения или соединений на квадратный метр площади поверхности обработанной части, более предпочтительно от приблизительно 2,0 грамма до приблизительно 10 грамм препятствующего воспламенению соединения или соединений на квадратный метр площади поверхности обработанной части, еще более предпочтительно от приблизительно 3,0 грамма до приблизительно 120 грамм препятствующего воспламенению соединения или соединений на квадратный метр площади поверхности обработанной части.
В дополнительных вариантах осуществления обработанная часть обертки содержит от приблизительно 0,5 грамма до приблизительно 8 грамм препятствующего воспламенению соединения или соединений на квадратный метр площади поверхности обработанной части, предпочтительно от приблизительно 1,0 грамма до приблизительно 12 грамм препятствующего воспламенению соединения или соединений на квадратный метр площади поверхности обработанной части, более предпочтительно от приблизительно 2,0 грамма до приблизительно 8 грамм препятствующего воспламенению соединения или соединений на квадратный метр площади поверхности обработанной части, еще более предпочтительно от приблизительно 3,0 грамма до приблизительно 8 грамм препятствующего воспламенению соединения или соединений на квадратный метр площади поверхности обработанной части.
В изделиях, генерирующих аэрозоль, в соответствии с настоящим изобретением содержание препятствующего воспламенению соединения или соединений в обработанной части предпочтительно таково, что при нагреве изделия, генерирующего аэрозоль, при 500 градусах Цельсия с использованием резистивно нагреваемой катушки в течение по меньшей мере 5 секунд, предпочтительно в течение 30 секунд, изделие, генерирующее аэрозоль, не воспламеняется. Термин «не воспламеняется» используется в настоящем документе для обозначения, в частности, того, что горение обертки, окружающей субстрат, генерирующий аэрозоль, не инициируется, и пламя не обнаружено.
Предпочтительно изделия, генерирующие аэрозоль, в соответствии с настоящим изобретением не воспламеняются, когда их подвергают режиму интенсивного прокуривания Министерства здравоохранения Канады, который включает этап предварительного зажигания с использованием резистивно нагреваемой катушки, и в режиме затяжки, где объем одной затяжки составляет 55 миллилитров и продолжительность 2 секунды каждые 30 секунд при 100 процентном блокировании зоны вентиляции на изделии, генерирующем аэрозоль (при наличии). Дополнительные подробности о параметрах «курения» и стандартных условиях испытания приведены в ISO 3308:2000 (Обычная аналитическая машина для курения сигарет - Определения и стандартные условия).
В некоторых вариантах осуществления обертка содержит основной материал для обертывания, и при этом слой, содержащий препятствующее воспламенению соединение или соединения, обеспечен на поверхности основного материала для обертывания, обращенной к субстрату, генерирующему аэрозоль. В других вариантах осуществления обертка содержит основной материал для обертывания, и при этом слой, содержащий препятствующее воспламенению соединение или соединения, обеспечен на поверхности основного материала для обертывания, обращенной в сторону от субстрата, генерирующего аэрозоль. В дополнительных вариантах осуществления обертка содержит основной материал для обертывания и слои, содержащие препятствующие воспламенению соединения или соединения, обеспеченные на обеих поверхностях основного материала для обертывания.
Ряд подходящих препятствующих воспламенению соединений будут известны специалисту в данной области техники. В частности, известны и были раскрыты несколько препятствующих воспламенению соединений и составов, пригодных для обработки целлюлозных материалов, и могут найти применение в изготовлении оберток для изделий, генерирующих аэрозоль, в соответствии с настоящим изобретением.
В некоторых вариантах осуществления препятствующая воспламенению композиция содержит полимер и смешанную соль на основе по меньшей мере одной моно-, ди- и/или трикарбоновой кислоты, по меньшей мере одной полифосфорной, пирофосфорной и/или фосфорной кислоты, и гидроксид или соль щелочного или щелочноземельного металла, где по меньшей мере одна моно-, ди- и/или трикарбоновая кислота и гидроксид или соль образуют карбоксилат, а по меньшей мере одна полифосфорная, пирофосфорная и/или фосфорная кислота и гидроксид или соль образуют фосфат.
Предпочтительно в таких вариантах осуществления препятствующая воспламенению композиция дополнительно содержит карбонат щелочного или щелочноземельного металла.
В других вариантах осуществления препятствующая воспламенению композиция содержит целлюлозу, модифицированную по меньшей мере одной С10-жирной кислотой или жирной кислотой с большим количеством атомов углерода, жирной кислотой таллового масла (TOFA), фосфорилированным льняным маслом, фосфорилированным дальше по потоку кукурузным маслом. Предпочтительно выбирают по меньшей мере одну С10-жирную кислоту или жирную кислоту с большим количеством атомов углерода из группы, состоящей из каприновой кислоты, миристиновой кислоты, пальмитиновой кислоты и их комбинаций.
Как кратко описано выше, изделие, генерирующее аэрозоль, настоящего изобретения дополнительно содержит расположенную дальше по ходу потока секцию в местоположении дальше по ходу потока относительно стержня субстрата, генерирующего аэрозоль. Расположенная дальше по ходу потока секция может содержать один или более расположенных дальше по ходу потока элементов.
Согласно настоящему изобретению расположенная дальше по ходу потока секция изделия, генерирующего аэрозоль, может содержать, в частности, мундштучный элемент, расположенный дальше по ходу потока относительно стержня субстрата, генерирующего аэрозоль, и в продольном выравнивании со стержнем субстрата, генерирующего аэрозоль.
Мундштучный элемент предпочтительно расположен на расположенном дальше по ходу потока конце или мундштучном конце изделия, генерирующего аэрозоль, и проходит на все расстояние до мундштучного конца изделия, генерирующего аэрозоль.
Мундштучный элемент предпочтительно содержит по меньшей мере один фильтрующий сегмент мундштука из волокнистого фильтрующего материала для фильтрации аэрозоля, генерируемого из субстрата, генерирующего аэрозоль. Подходящие волокнистые фильтрующие материалы будут известны специалисту в данной области техники. Особенно предпочтительно по меньшей мере один фильтрующий сегмент мундштука содержит ацетатцеллюлозный фильтрующий сегмент, образованный из ацетатцеллюлозного штранга.
В определенных предпочтительных вариантах осуществления мундштучный элемент состоит из одного фильтрующего сегмента мундштука. В альтернативных вариантах осуществления мундштучный элемент содержит два или более фильтрующих сегментов мундштука, соосно выровненных друг с другом с примыканием конец к концу.
В определенных вариантах осуществления настоящего изобретения расположенная дальше по ходу потока секция может содержать полость мундштучного конца на расположенном дальше по ходу потока конце, расположенном дальше по ходу потока относительно мундштучного элемента, как описано выше. Полость мундштучного конца может быть определена полым трубчатым элементом, предоставленным на расположенном дальше по ходу потока конце мундштука. Альтернативно полость мундштучного конца может быть определена наружной оберткой мундштучного элемента, при этом наружная обертка проходит в направлении дальше по ходу потока от мундштучного элемента.
Мундштучный элемент может необязательно содержать ароматизатор, который может быть предоставлен в любой подходящей форме. Например, мундштучный элемент может содержать одну или более капсул, шариков или гранул ароматизатора или одну или более нитей или волокон, наполненных ароматизирующим веществом.
В определенных предпочтительных вариантах осуществления расположенная дальше по ходу потока секция изделия, генерирующего аэрозоль, дополнительно содержит опорный элемент, размещенный непосредственно дальше по ходу потока относительно стержня субстрата, генерирующего аэрозоль. Мундштучный элемент предпочтительно размещен дальше по ходу потока относительно опорного элемента.
Опорный элемент может быть образован из любого подходящего материала или комбинации материалов. Например, опорный элемент может быть образован из одного или более материалов, выбранных из группы, состоящей из: ацетата целлюлозы; картона; гофрированной бумаги, такой как гофрированная теплостойкая бумага или гофрированная пергаментная бумага; и полимерных материалов, таких как полиэтилен низкой плотности (LDPE). В предпочтительном варианте осуществления опорный элемент образован из ацетата целлюлозы. Другие подходящие материалы включают волокна полигидроксиалканоата (РНА).
Опорный элемент может содержать первый полый трубчатый сегмент. В предпочтительном варианте осуществления опорный элемент содержит полую ацетатцеллюлозную трубку.
Опорный элемент расположен по существу в выравнивании со стержнем. Это означает, что размер по длине опорного элемента расположен приблизительно параллельно продольному направлению стержня и изделия, например, в диапазоне плюс-минус 10 градусов параллельно продольному направлению стержня. В предпочтительных вариантах осуществления опорный элемент проходит вдоль продольной оси стержня.
Опорный элемент предпочтительно имеет наружный диаметр, который приблизительно равен наружному диаметру стержня субстрата, генерирующего аэрозоль, и наружному диаметру изделия, генерирующего аэрозоль.
Периферийная стенка опорного элемента может иметь толщину по меньшей мере 1 миллиметр, предпочтительно по меньшей мере приблизительно 1,5 миллиметра, более предпочтительно по меньшей мере приблизительно 2 миллиметра.
Опорный элемент может иметь длину от приблизительно 5 миллиметров до приблизительно 15 миллиметров.
Предпочтительно опорный элемент имеет длину по меньшей мере приблизительно 6 миллиметров, более предпочтительно по меньшей мере приблизительно 7 миллиметров.
В предпочтительных вариантах осуществления опорный элемент имеет длину менее приблизительно 12 миллиметров, более предпочтительно менее приблизительно 10 миллиметров.
В некоторых вариантах осуществления опорный элемент имеет длину от приблизительно 5 миллиметров до приблизительно 15 миллиметров, более предпочтительно от приблизительно 6 миллиметров до приблизительно 15 миллиметров, более предпочтительно от приблизительно 7 миллиметров до приблизительно 15 миллиметров. В других вариантах осуществления опорный элемент имеет длину от приблизительно 5 миллиметров до приблизительно 12 миллиметров, предпочтительно от приблизительно 6 миллиметров до приблизительно 12 миллиметров, более предпочтительно от приблизительно 7 миллиметров до приблизительно 12 миллиметров. В дополнительных вариантах осуществления опорный элемент имеет длину от приблизительно 5 миллиметров до приблизительно 10 миллиметров, предпочтительно от приблизительно 6 миллиметров до приблизительно 10 миллиметров, более предпочтительно от приблизительно 7 миллиметров до приблизительно 10 миллиметров.
В предпочтительном варианте осуществления опорный элемент имеет длину приблизительно 8 миллиметров.
В некоторых вариантах осуществления расположенная дальше по ходу потока секция дополнительно содержит элемент, охлаждающий аэрозоль, размещенный непосредственно дальше по ходу потока относительно опорного элемента. Мундштучный элемент предпочтительно размещен дальше по ходу потока относительно как опорного элемента, так и элемента, охлаждающего аэрозоль. Особенно предпочтительно мундштучный элемент размещен непосредственно дальше по ходу потока относительно элемента, охлаждающего аэрозоль. В качестве примера, мундштучный элемент может примыкать к расположенному дальше по ходу потока концу элемента, охлаждающего аэрозоль.
Элемент, охлаждающий аэрозоль, расположен по существу в выравнивании со стержнем. Это означает, что размер по длине элемента, охлаждающего аэрозоль, расположен приблизительно параллельно продольному направлению стержня и изделия, например, в диапазоне плюс-минус 10 градусов параллельно продольному направлению стержня. В предпочтительных вариантах осуществления элемент, охлаждающий аэрозоль, проходит вдоль продольной оси стержня.
Элемент, охлаждающий аэрозоль, предпочтительно имеет наружный диаметр, который приблизительно равен наружному диаметру стержня субстрата, генерирующего аэрозоль, и наружному диаметру изделия, генерирующего аэрозоль.
В некоторых вариантах осуществления элемент, охлаждающий аэрозоль, выполнен в виде полого трубчатого сегмента, который определяет полость, проходящую на все расстояние от расположенного раньше по ходу потока конца элемента, охлаждающего аэрозоль, до расположенного дальше по ходу потока конца элемента, охлаждающего аэрозоль, и зона вентиляции обеспечена в местоположении вдоль полого трубчатого сегмента.
В контексте данного документа термин «полый трубчатый сегмент» используется для обозначения по существу продолговатого элемента, определяющего просвет или проход для потока воздуха вдоль его продольной оси. В частности, термин «трубчатый» будет далее использоваться со ссылкой на трубчатый элемент, имеющий по существу цилиндрическое поперечное сечение и определяющий по меньшей мере один канал для потока воздуха, устанавливающий непрерывное сообщение по текучей среде между расположенным раньше по ходу потока концом трубчатого элемента и расположенным дальше по ходу потока концом трубчатого элемента. Однако следует понимать, что могут быть возможны альтернативные геометрии (например, альтернативные формы поперечного сечения) трубчатого элемента.
Полый трубчатый сегмент предусматривает канал для неограниченного потока. Это означает, что полый трубчатый сегмент обеспечивает незначительный уровень сопротивления затяжке (RTD). Следовательно, канал для потока должен быть свободен от любых компонентов, которые могут ограничить поток воздуха в продольном направлении. Предпочтительно канал для потока является по существу пустым.
При использовании для описания элемента, охлаждающего аэрозоль, термин «продолговатый» означает, что элемент, охлаждающий аэрозоль, имеет размер по длине, который больше, чем его размер по ширине или его размер по диаметру, например, в два раза или более превышает его размер по ширине или его размер по диаметру.
Периферийная стенка элемента, охлаждающего аэрозоль, может иметь толщину менее приблизительно 2,5 миллиметра, предпочтительно менее приблизительно 1,5 миллиметра, более предпочтительно менее приблизительно 1250 микрометров, еще более предпочтительно менее приблизительно 1000 микрометров. В особенно предпочтительных вариантах осуществления периферийная стенка элемента, охлаждающего аэрозоль, имеет толщину менее приблизительно 900 микрометров, предпочтительно менее приблизительно 800 микрометров.
Элемент, охлаждающий аэрозоль, может иметь длину от 5 миллиметров до 15 миллиметров.
Предпочтительно элемент, охлаждающий аэрозоль, имеет длину по меньшей мере приблизительно 6 миллиметров, более предпочтительно по меньшей мере приблизительно 7 миллиметров.
В предпочтительных вариантах осуществления элемент, охлаждающий аэрозоль, имеет длину менее приблизительно 12 миллиметров, более предпочтительно менее приблизительно 10 миллиметров.
В некоторых вариантах осуществления элемент, охлаждающий аэрозоль, имеет длину от приблизительно 5 миллиметров до приблизительно 15 миллиметров, предпочтительно от приблизительно 6 миллиметров до приблизительно 15 миллиметров, более предпочтительно от приблизительно 7 миллиметров до приблизительно 15 миллиметров. В других вариантах осуществления элемент, охлаждающий аэрозоль, имеет длину от приблизительно 5 миллиметров до приблизительно 12 миллиметров, предпочтительно от приблизительно 6 миллиметров до приблизительно 12 миллиметров, более предпочтительно от приблизительно 7 миллиметров до приблизительно 12 миллиметров. В дополнительных вариантах осуществления элемент, охлаждающий аэрозоль, имеет длину от приблизительно 5 миллиметров до приблизительно 10 миллиметров, предпочтительно от приблизительно 6 миллиметров до приблизительно 10 миллиметров, более предпочтительно от приблизительно 7 миллиметров до приблизительно 10 миллиметров.
В особенно предпочтительных вариантах осуществления настоящего изобретения элемент, охлаждающий аэрозоль, имеет длину менее 10 миллиметров. Например, в одном особенно предпочтительном варианте осуществления элемент, охлаждающий аэрозоль, имеет длину 8 миллиметров. Следовательно, в таких вариантах осуществления элемент, охлаждающий аэрозоль, имеет относительно малую длину по сравнению с элементами, охлаждающими аэрозоль, изделий, генерирующих аэрозоль, известного уровня техники. Уменьшение длины элемента, охлаждающего аэрозоль, возможно благодаря оптимизированной эффективности полого трубчатого сегмента, образующего элемент, охлаждающий аэрозоль, при охлаждении и нуклеации аэрозоля. Уменьшение длины элемента, охлаждающего аэрозоль, преимущественно уменьшает риск деформации изделия, генерирующего аэрозоль, благодаря сжатию во время использования, так как элемент, охлаждающий аэрозоль, как правило, имеет меньшее сопротивление деформации, чем мундштук. Кроме того, уменьшение длины элемента, охлаждающего аэрозоль, может обеспечить низкую себестоимость для производителя, так как стоимость полого трубчатого сегмента, как правило, выше за единицу длины, чем стоимость других элементов, таких как мундштучный элемент.
Соотношение между длиной элемента, охлаждающего аэрозоль, и длиной стержня субстрата, генерирующего аэрозоль, может составлять от приблизительно 0,25 до приблизительно 1.
Элемент, охлаждающий аэрозоль, может быть образован из любого подходящего материала или комбинации материалов. Например, элемент, охлаждающий аэрозоль, может быть образован из одного или более материалов, выбранных из группы, состоящей из: ацетата целлюлозы; картона; гофрированной бумаги, такой как гофрированная теплостойкая бумага или гофрированная пергаментная бумага; и полимерных материалов, таких как полиэтилен низкой плотности (LDPE). Другие подходящие материалы включают волокна полигидроксиалканоата (РНА).
В предпочтительном варианте осуществления элемент, охлаждающий аэрозоль, образован из ацетата целлюлозы.
Зона вентиляции содержит множество перфорационных отверстий сквозь периферийную стенку элемента, охлаждающего аэрозоль. Предпочтительно зона вентиляции содержит по меньшей мере один кольцевой ряд перфорационных отверстий. В некоторых вариантах осуществления зона вентиляции может содержать два кольцевых ряда перфорационных отверстий. Например, перфорационные отверстия могут быть образованы на производственной линии в процессе изготовления изделия, генерирующего аэрозоль. Предпочтительно каждый кольцевой ряд перфорационных отверстий содержит от 8 до 30 перфорационных отверстий.
Изделие, генерирующее аэрозоль, в соответствии с настоящим изобретением может иметь уровень вентиляции по меньшей мере приблизительно 5 процентов.
Термин «уровень вентиляции» используется по всему настоящему описанию для обозначения объемного соотношения между потоком воздуха, впущенным в изделие, генерирующее аэрозоль, через зону вентиляции (поток вентиляционного воздуха), и суммой потока воздуха, содержащего аэрозоль, и потока вентиляционного воздуха. Чем выше уровень вентиляции, тем больше разбавление потока аэрозоля, доставляемого потребителю.
Предпочтительно изделие, генерирующее аэрозоль, в соответствии с настоящим изобретением может иметь уровень вентиляции по меньшей мере приблизительно 10 процентов, более предпочтительно по меньшей мере приблизительно 15 процентов, еще более предпочтительно по меньшей мере приблизительно 20 процентов. В особенно предпочтительных вариантах осуществления изделие, генерирующее аэрозоль, в соответствии с настоящим изобретением имеет уровень вентиляции по меньшей мере приблизительно 25 процентов. Не ограничиваясь теорией, авторы настоящего изобретения обнаружили, что перепад температуры, вызванный впуском более холодного внешнего воздуха в полый трубчатый сегмент через зону вентиляции, может оказывать преимущественный эффект на нуклеацию и рост частиц аэрозоля.
Быстрое охлаждение, вызванное впуском внешнего воздуха в полый трубчатый сегмент через вентиляционную зону, может быть благоприятно использовано для способствования нуклеации и росту капель аэрозоля. Однако в то же время непосредственным недостатком впуска внешнего воздуха в полый трубчатый сегмент является разбавление струи аэрозоля, доставляемой потребителю. Авторы настоящего изобретения неожиданно обнаружили, что влияние разбавления на аэрозоль, которое можно оценить путем измерения, в частности, влияние на доставку вещества для образования аэрозоля (такого как глицерол, содержащийся в субстрате, генерирующем аэрозоль) преимущественно сводится к минимуму, когда уровень вентиляции находится в пределах диапазонов, описанных выше.
В некоторых вариантах осуществления изделие, генерирующее аэрозоль, может дополнительно содержать дополнительный охлаждающий элемент, определяющий множество проходящих в продольном направлении каналов, чтобы сделать высокую удельную поверхность доступной для теплового обмена. Другими словами, один такой дополнительный охлаждающий элемент приспособлен для функционирования по существу как теплообменник. Множество проходящих в продольном направлении каналов могут быть определены листовым материалом, который был сложен складками, собран или согнут для образования каналов. Множество проходящих в продольном направлении каналов могут быть определены одним листом, который был сложен складками, собран или согнут для образования нескольких каналов. Лист может также быть гофрирован перед складыванием складками, собиранием или сгибанием. Альтернативно множество проходящих в продольном направлении каналов могут быть определены несколькими листами, которые были гофрированы, сложены складками, собраны или согнуты для образования нескольких каналов. В некоторых вариантах осуществления множество проходящих в продольном направлении каналов могут быть определены несколькими листами, которые были гофрированы, сложены складками, собраны или согнуты вместе, то есть по два или более листа, которые вводят в перекрывающее расположение и затем гофрируют, складывают складками, собирают или сгибают как один. В контексте данного документа термин «лист» обозначает слоистый элемент, имеющий ширину и длину, существенно превышающие его толщину.
В других вариантах осуществления элемент, охлаждающий аэрозоль, может быть предусмотрен в виде одного такого охлаждающего элемента, содержащего множество проходящих в продольном направлении каналов.
Один такой дополнительный охлаждающий элемент определяет и может иметь общую площадь поверхности от приблизительно 300 квадратных миллиметров на миллиметр длины до приблизительно 1000 квадратных миллиметров на миллиметр длины.
Дополнительный охлаждающий элемент предпочтительно содержит листовой материал, выбранный из группы, включающей металлическую фольгу, лист полимерного материала и по существу непористую бумагу или картон. В некоторых вариантах осуществления элемент, охлаждающий аэрозоль, может содержать листовой материал, выбранный из группы, состоящей из полиэтилена (РЕ), полипропилена (РР), поливинилхлорида (PVC), полиэтилентерефталата (PET), полимолочной кислоты (PLA), ацетата целлюлозы (СА) и алюминиевой фольги. В особенно предпочтительном варианте осуществления дополнительный охлаждающий элемент содержит лист из PLA.
Изделие, генерирующее аэрозоль, может дополнительно содержать расположенную выше по ходу потока секцию в местоположении выше по ходу потока относительно стержня субстрата, генерирующего аэрозоль. Расположенная раньше по ходу потока секция может содержать один или более расположенных раньше по ходу потока элементов. В некоторых вариантах осуществления расположенная раньше по ходу потока секция может содержать расположенный раньше по ходу потока элемент, расположенный непосредственно раньше по ходу потока относительно стержня субстрата, генерирующего аэрозоль.
Изделие, генерирующее аэрозоль, настоящего изобретения предпочтительно содержит расположенный раньше по ходу потока элемент, размещенный раньше по ходу потока относительно субстрата, генерирующего аэрозоль, и смежно с ним, при этом расположенная раньше по ходу потока секция содержит по меньшей мере один расположенный раньше по ходу потока элемент. Расположенный раньше по ходу потока элемент преимущественно предотвращает прямой физический контакт с расположенным раньше по ходу потока концом субстрата, генерирующего аэрозоль. В частности, когда субстрат, генерирующий аэрозоль, содержит токоприемный элемент, расположенный раньше по ходу потока элемент может предотвращать прямой физический контакт с расположенным раньше по ходу потока концом токоприемного элемента. Это помогает предотвратить смещение или деформацию токоприемного элемента во время обработки или транспортировки изделия, генерирующего аэрозоль. Это, в свою очередь, помогает сохранить форму и положение токоприемного элемента. Кроме того, наличие элемента, расположенного раньше по ходу потока, помогает предотвратить любую потерю субстрата.
Расположенный раньше по ходу потока элемент может также придавать улучшенный внешний вид расположенному раньше по ходу потока концу изделия, генерирующего аэрозоль. Кроме того, при желании расположенный раньше по ходу потока элемент может использоваться для предоставления информации об изделии, генерирующем аэрозоль, такой как информация о марке, вкусе, содержании или сведения об устройстве, генерирующем аэрозоль, для использования с которым предназначено изделие.
Расположенный раньше по ходу потока элемент может представлять собой пористый элемент в виде штранга. Предпочтительно пористый элемент в виде штранга не изменяет сопротивление затяжке изделия, генерирующего аэрозоль. Предпочтительно расположенный раньше по ходу потока элемент имеет пористость по меньшей мере приблизительно 50 процентов в продольном направлении изделия, генерирующего аэрозоль. Более предпочтительно расположенный раньше по ходу потока элемент имеет пористость от приблизительно 50 процентов до приблизительно 90 процентов в продольном направлении. Пористость расположенного раньше по ходу потока элемента в продольном направлении определена соотношением площади поперечного сечения материала, образующего расположенный раньше по ходу потока элемент, и внутренней площади поперечного сечения изделия, генерирующего аэрозоль, в положении расположенного раньше по ходу потока элемента.
Расположенный раньше по ходу потока элемент может быть выполнен из пористого материала или может содержать множество отверстий. Это может быть достигнуто, например, с помощью лазерной перфорации. Предпочтительно множество отверстий однородно распределены по поперечному сечению расположенного раньше по ходу потока элемента.
Пористость или проницаемость расположенного раньше по ходу потока элемента можно преимущественно варьировать, чтобы обеспечить желаемое общее сопротивление затяжке изделия, генерирующего аэрозоль.
Предпочтительно RTD расположенного раньше по ходу потока элемента составляет по меньшей мере приблизительно 5 миллиметров вод. ст. Более предпочтительно RTD расположенного раньше по ходу потока элемента составляет по меньшей мере приблизительно 10 миллиметров вод. ст. Еще более предпочтительно RTD расположенного раньше по ходу потока элемента составляет по меньшей мере приблизительно 15 миллиметров вод. ст. В особенно предпочтительных вариантах осуществления RTD расположенного раньше по ходу потока элемента составляет по меньшей мере приблизительно 20 миллиметров вод. ст.
RTD расположенного раньше по ходу потока элемента предпочтительно меньше или равно приблизительно 80 миллиметрам вод. ст. Более предпочтительно RTD расположенного раньше по ходу потока элемента меньше или равно приблизительно 60 миллиметрам вод. ст. Еще более предпочтительно RTD расположенного раньше по ходу потока элемента меньше или равно приблизительно 40 миллиметрам вод. ст.
В альтернативных вариантах осуществления расположенный раньше по ходу потока элемент может быть образован из непроницаемого для воздуха материала. В таких вариантах осуществления изделие, генерирующее аэрозоль, может быть выполнено таким образом, чтобы воздух протекал в стержень субстрата, генерирующего аэрозоль, через подходящие вентиляционные средства, предусмотренные в обертке.
Расположенный раньше по ходу потока элемент может быть выполнен из любого материала, подходящего для использования в изделии, генерирующем аэрозоль. Расположенный раньше по ходу потока элемент может быть изготовлен, например, из того же материала, который используется для одного из других компонентов изделия, генерирующего аэрозоль, например, мундштука, охлаждающего элемента или опорного элемента. Подходящие материалы для образования расположенного раньше по ходу потока элемента включают фильтрующие материалы, керамику, полимерный материал, ацетат целлюлозы, картон, цеолит или субстрат, генерирующий аэрозоль. Предпочтительно расположенный раньше по ходу потока элемент образован из штранга из ацетата целлюлозы.
Предпочтительно расположенный раньше по ходу потока элемент образован из термостойкого материала. Например, предпочтительно расположенный раньше по ходу потока элемент образован из материала, выдерживающего температуры вплоть до 350 градусов Цельсия. Это гарантирует, что расположенный раньше по ходу потока элемент не подвергается неблагоприятному влиянию нагревательных средств для нагрева субстрата, генерирующего аэрозоль.
Предпочтительно расположенный раньше по ходу потока элемент имеет диаметр, который приблизительно равен диаметру изделия, генерирующего аэрозоль.
Предпочтительно расположенный раньше по ходу потока элемент имеет длину от приблизительно 1 миллиметра до приблизительно 10 миллиметров, более предпочтительно от приблизительно 3 миллиметров до приблизительно 8 миллиметров, более предпочтительно от приблизительно 4 миллиметров до приблизительно 6 миллиметров. В особенно предпочтительном варианте осуществления расположенный раньше по ходу потока элемент имеет длину приблизительно 5 миллиметров. Длину расположенного раньше по ходу потока элемента можно преимущественно варьировать, чтобы обеспечить желаемую общую длину изделия, генерирующего аэрозоль. Например, если желательно уменьшить длину одного из других компонентов изделия, генерирующего аэрозоль, длину расположенного раньше по ходу потока элемента можно увеличить, чтобы сохранить общую длину изделия на том же уровне.
Расположенный раньше по ходу потока элемент предпочтительно окружен оберткой. Обертка, окружающая расположенный раньше по ходу потока элемент, представляет собой предпочтительно жесткую фицеллу, например, фицеллу, имеющую основную массу по меньшей мере приблизительно 80 грамм на квадратный метр (г/кв. м), или по меньшей мере приблизительно 100 г/кв. м, или по меньшей мере приблизительно 110 г/кв. м. Это обеспечивает структурную жесткость расположенному раньше по ходу потока элементу.
Предпочтительно в изделии, генерирующем аэрозоль, в соответствии с настоящим изобретением обертка не содержит металл. Как используется в настоящем документе со ссылкой на настоящее изобретение термин «металл» обозначает содержание металлов в степени окисления 0, то есть содержание металлов в обертке в виде элементов в свободной форме. Таким образом, содержание металлов, таких как, например, щелочные металлы или щелочноземельные металлы, которые могут присутствовать в ионной форме или быть связанными с другим элементом в одном или более препятствующих воспламенению соединениях препятствующей воспламенению композиции, не может быть охвачено термином «металл», как используется в настоящем документе.
Другими словами, обертка изделия, генерирующего аэрозоль, в соответствии с настоящим изобретением предпочтительно не содержит никакого металла со степенью окисления 0.
Таким образом, изделия, генерирующие аэрозоль, в соответствии с настоящим изобретением преимущественно не содержат металлическую фольгу, действующую в качестве элементов теплового экранирования. В частности, субстрат, генерирующий аэрозоль, не окружен одним таким элементом теплового экранирования из металлической фольги.
Изделия, генерирующие аэрозоль, в соответствии с настоящим изобретением, как описано выше, могут быть изготовлены способом, включающим первый этап предоставления непрерывного стержня субстрата, генерирующего аэрозоль. Один такой способ включает второй этап окружения непрерывного стержня субстрата, генерирующего аэрозоль, оберткой, причем обертка содержит основной материал для обертывания, имеющий основной сухой вес. Способ дополнительно включает третий этап обработки по меньшей мере части обертки с помощью препятствующей воспламенению композиции, содержащей одно или более соединений так, чтобы предоставить обработанную часть обертки, имеющую общий основной сухой вес, превышающий основной сухой вес материала для обертывания. Кроме того, способ включает четвертый этап разрезания оберточного непрерывного стержня субстрата, генерирующего аэрозоль, на отдельные стержни, причем каждый отдельный стержень проходит от ближнего конца отдельного стержня к дальнему концу отдельного стержня, расположенному раньше по ходу потока относительно ближнего конца отдельного стержня. В каждом отдельном стержне обработанная часть обертки проходит на по меньшей мере приблизительно 80 процентов площади внешней поверхности отдельного стержня.
Препятствующая воспламенению композиция может быть нанесена по меньшей мере на одну сторону основного материала для обертывания обертки с помощью процесса нанесения, основанного на прессовании по размерам, распылении, печати или нанесении покрытия.
Изделие, генерирующее аэрозоль, в соответствии с настоящим изобретением находит применение, в частности, в системе, генерирующей аэрозоль, содержащей изделие, генерирующее аэрозоль и электрическое устройство, генерирующее аэрозоль, при этом устройство, генерирующее аэрозоль, содержит нагреватель и продолговатую нагревательную камеру, выполненную с возможностью размещения изделия, генерирующего аэрозоль, таким образом, чтобы субстрат, генерирующий аэрозоль, нагревался в нагревательной камере.
В некоторых вариантах осуществления нагреватель может быть приспособлен для вставки в субстрат, генерирующий аэрозоль, изделия, когда изделие размещено в нагревательной камере. В качестве примера нагреватель может быть выполнен в виде нагревательного стержня или штыря.
В других вариантах осуществления нагреватель может содержать по существу цилиндрический продолговатый нагревательный элемент, а нагревательная камера расположена вокруг окружной продольной поверхности нагревателя. Соответственно во время использования тепловая энергия, подаваемая нагревателем, проходит в радиальном направлении наружу от поверхности нагревателя в нагревательную камеру и изделие, генерирующее аэрозоль. Однако в качестве альтернативы могут быть использованы другие формы и конфигурации нагревателя и нагревательной камеры. Нагреватель может содержать множество отдельных нагревательных элементов, при этом различные нагревательные элементы выполнены с возможностью управления независимо друг от друга таким образом, что разные элементы могут быть активированы в разные моменты времени для нагрева изделия, генерирующего аэрозоль. В качестве примера нагреватель может содержать множество выровненных по оси нагревательных элементов, которые обеспечивают несколько независимых зон нагрева вдоль длины нагревателя. Каждый нагревательный элемент может иметь длину, значительно меньшую, чем общая длина нагревателя. Таким образом, когда один отдельный нагревательный элемент активирован, он подает тепловую энергию на часть субстрата, генерирующего аэрозоль, расположенную в радиальном направлении вблизи нагревательного элемента, без существенного нагрева остальной части субстрата, генерирующего аэрозоль. Таким образом, разные секции субстрата, генерирующего аэрозоль, могут нагреваться независимо и в разные моменты времени.
В качестве альтернативы или дополнительно, нагреватель может содержать множество продолговатых проходящих в продольном направлении нагревательных элементов в разных местах вокруг продольной оси нагревателя. Таким образом, когда один отдельный нагревательный элемент активирован, он подает тепловую энергию на продольную часть субстрата, генерирующего аэрозоль, лежащую по существу параллельно и смежно с нагревательным элементом. Такая конфигурация также обеспечивает возможность независимого нагрева субстрата, генерирующего аэрозоль, в различных частях.
В некоторых из этих вариантов осуществления, содержащих нагревательный элемент, расположенный в периферийном местоположении относительно нагревательной камеры, система, генерирующая аэрозоль, может дополнительно содержать изоляционное средство, размещенное между нагревательной камерой и наружной частью устройства для уменьшения потери тепла из нагретого субстрата, генерирующего аэрозоль.
В дополнительных вариантах осуществления изделие, генерирующее аэрозоль, содержит токоприемник, размещенный внутри субстрата, генерирующего аэрозоль, причем токоприемник находится в тепловом контакте с субстратом, генерирующим аэрозоль, и нагреватель выполнен в виде индукционного нагревательного устройства, содержащего одну или более индукционных катушек. Электромагнитная энергия, выделяемая индукционными катушками, поглощается токоприемником и преобразуется в тепло, которое затем передается субстрату, генерирующему аэрозоль, главным образом за счет проводимости.
Таким образом, согласно первому объекту настоящего изобретения создано изделие, генерирующее аэрозоль, для получения вдыхаемого аэрозоля при нагреве, при этом изделие, генерирующее аэрозоль, содержит:
стержень субстрата, генерирующего аэрозоль, проходящий от ближнего конца стержня к дальнему концу стержня, расположенному раньше по ходу потока относительно ближнего конца стержня;
расположенную дальше по ходу потока секцию в местоположении дальше по ходу потока относительно стержня субстрата, генерирующего аэрозоль; и
обертку, окружающую по меньшей мере стержень субстрата, генерирующего аэрозоль, причем обертка содержит основной материал для обертывания, имеющий основной вес;
при этом по меньшей мере обработанная часть обертки, проходящая между ближним концом стержня и дальним концом стержня, содержит препятствующую воспламенению композицию, содержащую одно или более препятствующих воспламенению соединений, так что обработанная часть обертки имеет общий основной вес, превышающий основной вес основного материала для обертывания;
причем обработанная часть проходит на по меньшей мере 90 процентов площади внешней поверхности стержня субстрата, генерирующего аэрозоль.
Предпочтительно, длина обработанной части составляет по меньшей мере 90 процентов длины стержня субстрата, генерирующего аэрозоль.
Предпочтительно, обработанная часть проходит по всей площади внешней поверхности стержня субстрата, генерирующего аэрозоль.
Предпочтительно, соотношение общего веса одного или более препятствующих воспламенению соединений и общего основного веса обертки может составлять по меньшей мере 0,02.
Предпочтительно, обработанная часть содержит по меньшей мере 10 грамм препятствующего воспламенению соединения на квадратный метр площади поверхности обработанной части.
Предпочтительно, обработанная часть содержит по меньшей мере 0,1 грамма препятствующего воспламенению соединения или соединений на квадратный метр площади поверхности обработанной части.
Предпочтительно, обработанная часть содержит 35 грамм или меньше препятствующего воспламенению соединения на квадратный метр площади поверхности обработанной части.
Предпочтительно, основной вес основного материала для обертывания составляет по меньшей мере 20 грамм на квадратный метр.
Предпочтительно, основной вес основного материала для обертывания меньше или равен 40 грамм на квадратный метр.
Предпочтительно, обертка содержит слой, содержащий препятствующее воспламенению соединение или соединения, обеспеченные на поверхности основного материала для обертывания, обращенной к субстрату, генерирующему аэрозоль, поверхности основного материала для обертывания, обращенной в сторону от субстрата, генерирующего аэрозоль, или на обеих из них.
Предпочтительно, препятствующая воспламенению композиция содержит полимер и смешанную соль на основе по меньшей мере одной моно-, ди- и/или трикарбоновой кислоты, по меньшей мере одной полифосфорной, пирофосфорной и/или фосфорной кислоты, и гидроксид или соль щелочного или щелочноземельного металла, причем по меньшей мере одна моно-, ди- и/или трикарбоновая кислота и гидроксид или соль образуют карбоксилат, а по меньшей мере одна полифосфорная, пирофосфорная и/или фосфорная кислота и гидроксид или соль образуют фосфат.
Предпочтительно, препятствующая воспламенению композиция дополнительно содержит карбонат щелочного или щелочноземельного металла.
Предпочтительно, препятствующая воспламенению композиция содержит целлюлозу, модифицированную по меньшей мере одной С10 жирной кислотой или жирной кислотой с большим количеством атомов углерода, жирной кислотой таллового масла (TOFA), фосфорилированным льняным маслом, фосфорилированным дальше по ходу потока кукурузным маслом.
Предпочтительно, стержень субстрата, генерирующего аэрозоль, имеет длину менее 40 миллиметров и содержание вещества для образования аэрозоля по меньшей мере 10 процентов в пересчете на сухой вес.
Предпочтительно, стержень субстрата, генерирующего аэрозоль, содержит собранный лист гомогенизированного табачного материала или гелевую композицию, причем гелевая композиция содержит по меньшей мере одно гелеобразующее средство, по меньшей мере одно из алкалоидного соединения и каннабиноидного соединения и вещество для образования аэрозоля.
Предпочтительно, стержень субстрата, генерирующего аэрозоль, дополнительно содержит токоприемный элемент, расположенный внутри субстрата, генерирующего аэрозоль.
Предпочтительно, содержание препятствующего воспламенению соединения или соединений в обработанной части является таким, что при нагреве изделия, генерирующего аэрозоль, до 500 градусов Цельсия с использованием резистивно нагреваемой катушки в течение по меньшей мере 5 секунд, предпочтительно в течение 30 секунд, изделие, генерирующее аэрозоль, не воспламеняется.
Согласно второму объекту настоящего изобретения создана система, генерирующая аэрозоль и содержащая электрическое устройство, генерирующее аэрозоль, и вышеописанное изделие, генерирующее аэрозоль, при этом устройство, генерирующее аэрозоль, содержит средство для нагрева стержня субстрата, генерирующего аэрозоль, до температуры, достаточной для генерирования аэрозоля из субстрата, генерирующего аэрозоль.
Согласно третьему объекту настоящего изобретения создан способ изготовления изделия, генерирующего аэрозоль, для генерирования вдыхаемого аэрозоля при нагреве, при этом способ включает:
предоставление непрерывного стержня субстрата, генерирующего аэрозоль;
окружение непрерывного стержня субстрата, генерирующего аэрозоль, оберткой, причем обертка содержит основной материал для обертывания, имеющий основной вес;
обработку по меньшей мере части обертки препятствующей воспламенению композицией, содержащей одно или более соединений так, чтобы предоставить обработанную часть обертки, имеющую общий основной сухой вес, превышающий основной сухой вес материала для обертывания;
разрезание обработанного обернутого непрерывного стержня субстрата, генерирующего аэрозоль, на отдельные стержни, причем каждый отдельный стержень проходит от ближнего конца отдельного стержня к дальнему концу отдельного стержня, расположенному раньше по ходу потока относительно ближнего конца отдельного стержня так, чтобы обработанная часть проходила на по меньшей мере 90 процентов площади внешней поверхности отдельного стержня.
Предпочтительно, слой препятствующей воспламенению композиции наносят на по меньшей мере одну сторону основного материала для обертывания с помощью процесса нанесения, основанного на прессовании по размерам, распылении, печати или нанесении покрытия.
Далее изобретение будет дополнительно описано со ссылкой на прилагаемые чертежи, на которых:
Фиг. 1 - схематический вид сбоку в сечении изделия, генерирующего аэрозоль, в соответствии с вариантом осуществления настоящего изобретения; и
Фиг. 2 - схематический вид сбоку в сечении еще одного изделия, генерирующего аэрозоль, в соответствии с другим вариантом осуществления настоящего изобретения.
Изделие 10, генерирующее аэрозоль, показанное на фиг. 1, содержит стержень 12 субстрата 12, генерирующего аэрозоль, и расположенную дальше по ходу потока секцию 14 в местоположении дальше по ходу потока относительно стержня 12 субстрата, генерирующего аэрозоль. Кроме того, изделие 10, генерирующее аэрозоль, содержит расположенную раньше по ходу потока секцию 16 в местоположении раньше по ходу потока относительно стержня 12 субстрата, генерирующего аэрозоль. Таким образом, изделие 10, генерирующее аэрозоль, проходит от расположенного раньше по ходу потока или дальнего конца 18 до расположенного дальше по ходу потока или мундштучного конца 20.
Изделие, генерирующее аэрозоль, имеет общую длину приблизительно 4 5 миллиметров.
Расположенная дальше по ходу потока секция 14 содержит опорный элемент 22, размещенный непосредственно дальше по ходу потока относительно стержня 12 субстрата, генерирующего аэрозоль, причем опорный элемент 22 находится в продольном выравнивании со стержнем 12. В варианте осуществления по фиг. 1 расположенный раньше по ходу потока конец опорного элемента 18 примыкает к расположенному дальше по ходу потока концу стержня 12 субстрата, генерирующего аэрозоль. Дополнительно расположенная дальше по ходу потока секция 14 содержит элемент 24, охлаждающий аэрозоль, размещенный непосредственно дальше по ходу потока относительно опорного элемента 22, причем элемент 24, охлаждающий аэрозоль, находится в продольном выравнивании со стержнем 12 и опорным элементом 22. В варианте осуществления по фиг. 1 расположенный раньше по ходу потока конец элемента 24, охлаждающего аэрозоль, примыкает к расположенному дальше по ходу потока концу опорного элемента 22. В варианте осуществления по фиг. 1 опорный элемент 22 и элемент 24, охлаждающий аэрозоль, вместе определяют промежуточную полую секцию 50 изделия 10, генерирующего аэрозоль.
Опорный элемент 22 содержит первый полый трубчатый сегмент 26. Первый полый трубчатый сегмент 2 6 предоставлен в форме полой цилиндрической трубки, выполненной из ацетата целлюлозы. Первый полый трубчатый сегмент 2 6 определяет внутреннюю полость 28, которая проходит на все расстояние от расположенного раньше по ходу потока конца 30 первого полого трубчатого сегмента до расположенного дальше по ходу потока конца 32 первого полого трубчатого сегмента 20. Внутренняя полость 28 является по существу пустой, и поэтому возможен по существу неограниченный поток воздуха вдоль внутренней полости 28.
Первый полый трубчатый сегмент 2 6 имеет длину приблизительно 8 миллиметров, внешний диаметр приблизительно 7,25 миллиметра и внутренний диаметр приблизительно 1,9 миллиметра. Таким образом, толщина периферийной стенки первого полого трубчатого сегмента 26 составляет приблизительно 2,67 миллиметра.
Элемент 24, охлаждающий аэрозоль, содержит второй полый трубчатый сегмент 34. Второй полый трубчатый сегмент 34 предоставлен в форме полой цилиндрической трубки, выполненной из ацетата целлюлозы. Второй полый трубчатый сегмент 34 определяет внутреннюю полость 36, которая проходит на все расстояние от расположенного раньше по ходу потока конца 38 второго полого трубчатого сегмента до расположенного дальше по ходу потока конца 40 второго полого трубчатого сегмента 34. Внутренняя полость 36 является по существу пустой, и поэтому возможен по существу неограниченный поток воздуха вдоль внутренней полости 36.
Второй полый трубчатый сегмент 34 имеет длину приблизительно 8 миллиметров, внешний диаметр приблизительно 7,25 миллиметра и внутренний диаметр приблизительно 3,25 миллиметра. Таким образом, толщина периферийной стенки второго полого трубчатого сегмента 34 составляет приблизительно 2 миллиметра. Таким образом, соотношение между внутренним диаметром первого полого трубчатого сегмента 26 и внутренним диаметром второго полого трубчатого сегмента 34 составляет приблизительно 0,75.
Изделие 10, генерирующее аэрозоль, содержит зону 60 вентиляции, предоставленную в местоположении вдоль второго полого трубчатого сегмента 34. Более подробно, зона вентиляции предоставлена на расстоянии приблизительно 2 миллиметров от расположенного раньше по ходу потока конца второго полого трубчатого сегмента 34. Уровень вентиляции изделия 10, генерирующего аэрозоль, составляет приблизительно 25 процентов.
В варианте осуществления по фиг. 1, расположенная дальше по ходу потока секция 14 дополнительно содержит мундштучный элемент 42 в местоположении дальше по ходу потока относительно промежуточной полой секции 50. Более подробно, мундштучный элемент 42 размещен непосредственно дальше по ходу потока относительно элемента 24, охлаждающего аэрозоль. Как показано на изображении по фиг. 1, расположенный раньше по ходу потока конец мундштучного элемента 42 примыкает к расположенному дальше по ходу потока концу 40 элемента 18, охлаждающего аэрозоль.
Мундштучный элемент 4 2 предоставлен в форме цилиндрического штранга из ацетата целлюлозы низкой плотности. Мундштучный элемент 42 имеет длину приблизительно 12 миллиметров и внешний диаметр приблизительно 7,25 миллиметра.
Стержень 12 содержит субстрат, генерирующий аэрозоль, одного из типов, описанных выше. Плотность субстрата, генерирующего аэрозоль, составляет приблизительно 600 миллиграмм на кубический сантиметр.
Стержень 12 субстрата, генерирующего аэрозоль, имеет внешний диаметр приблизительно 7,25 миллиметра и длину приблизительно 12 миллиметров.
Изделие 10, генерирующее аэрозоль, дополнительно содержит продолговатый токоприемник 44 внутри стержня 12 субстрата, генерирующего аэрозоль. Более подробно, токоприемник 44 размещен по существу продольно внутри субстрата, генерирующего аэрозоль, таким образом, чтобы быть приблизительно параллельным продольному направлению стержня 12. Как показано на изображении по фиг. 1, токоприемник 44 размещен в радиально центральном положении внутри стержня и проходит фактически вдоль продольной оси стержня 12. Более подробно, токоприемник 44 находится в тепловом контакте с субстратом, генерирующим аэрозоль. Токоприемник 44 проходит на все расстояние от расположенного раньше по ходу потока конца до расположенного дальше по ходу потока конца стержня 12. В действительности токоприемник 44 имеет по существу такую же длину, как и стержень 12 субстрата, генерирующего аэрозоль.
В варианте осуществления по фиг. 1 токоприемник 44 предоставлен в форме полоски и имеет длину приблизительно 12 миллиметров, толщину приблизительно 60 микрометров и ширину приблизительно 4 миллиметра.
Расположенная раньше по ходу потока секция 16 содержит расположенный раньше по ходу потока элемент 46, размещенный непосредственно раньше по ходу потока относительно стержня 12 субстрата, генерирующего аэрозоль, причем расположенный раньше по ходу потока элемент 46 находится в продольном выравнивании со стержнем 12. В варианте осуществления по фиг. 1 расположенный дальше по ходу потока конец расположенного раньше по ходу потока элемента 46 примыкает к расположенному раньше по ходу потока концу стержня 12 субстрата, генерирующего аэрозоль. Это преимущественно предотвращает смещение токоприемника 44. Кроме того, это гарантирует, что потребитель не сможет случайно коснуться нагретого токоприемника 44 после использования.
Расположенный раньше по ходу потока элемент 46 предоставлен в форме цилиндрического штранга из ацетата целлюлозы, которая окружена жесткой оберткой. Расположенный раньше по ходу потока элемент 46 имеет длину приблизительно 5 миллиметров. RTD расположенного раньше по ходу потока элемента 46 составляет приблизительно 30 миллиметров вод. ст.
Как показано на изображении по фиг. 1, изделие 10, генерирующее аэрозоль, дополнительно содержит обертку 70, окружающую стержень 12 субстрата, генерирующего аэрозоль. Обертка 70 содержит основной материал для обертывания, имеющий основной вес приблизительно 90 грамм на квадратный метр. Кроме того, обертка 70 содержит препятствующую воспламенению композицию, содержащую одно или более препятствующих воспламенению соединений.
Более подробно, препятствующая воспламенению композиция предусмотрена по меньшей мере в обработанной части 72 обертки, проходящей между ближним концом и дальним концом стержня 12 субстрата, генерирующего аэрозоль. Обработанная часть 72 содержит приблизительно 3,5 грамма одного или более препятствующих воспламенению соединений на квадратный метр площади поверхности обработанной части 72. Таким образом, обработанная часть 72 обертки 70 имеет общий основной вес, превышающий основной вес основного материала для обертывания. В варианте осуществления по фиг. 1 обработанная часть 72 имеет длину, по существу соответствующую длине стержня 12 субстрата, генерирующего аэрозоль, и проходит по существу по всей площади внешней поверхности стержня 12 субстрата, генерирующего аэрозоль.
Изделие 110, генерирующее аэрозоль, показанное на фиг. 2, имеет ряд общих черт с изделием 10, генерирующим аэрозоль, по фиг. 1, и будет описано ниже в отношении своих отличий от изделия 10, генерирующего аэрозоль.
Как показано на фиг. 2, изделие 110, генерирующее аэрозоль, содержит стержень 12 субстрата 12, генерирующего аэрозоль, и модифицированную расположенную дальше по ходу потока секцию 114 в местоположении дальше по ходу потока относительно стержня 12 субстрата, генерирующего аэрозоль. Кроме того, изделие 110, генерирующее аэрозоль, не содержит расположенную раньше по ходу потока секцию.
Как и расположенная дальше по ходу потока секция 14 изделия 10, генерирующего аэрозоль, модифицированная расположенная дальше по ходу потока секция 114 изделия 110, генерирующего аэрозоль, содержит опорный элемент 22, размещенный непосредственно дальше по ходу потока относительно стержня 12 субстрата, генерирующего аэрозоль, причем опорный элемент 22 находится в продольном выравнивании со стержнем 12, при этом расположенный раньше по ходу потока конец опорного элемента 22 примыкает к расположенному дальше по ходу потока концу стержня 12 субстрата, генерирующего аэрозоль.
Кроме того, модифицированная расположенная дальше по ходу потока секция 114 содержит элемент 124, охлаждающий аэрозоль, размещенный непосредственно дальше по ходу потока относительно опорного элемента 22, причем элемент 124, охлаждающий аэрозоль, находится в продольном выравнивании со стержнем 12 и опорным элементом 22. Более подробно, расположенный раньше по ходу потока конец элемента 124, охлаждающего аэрозоль, примыкает к расположенному дальше по ходу потока концу опорного элемента 22.
В отличие от расположенной дальше по ходу потока секции 14 изделия 10, генерирующего аэрозоль, элемент 124, охлаждающий аэрозоль, модифицированной расположенной дальше по ходу потока секции 114 содержит множество проходящих в продольном направлении каналов, которые обеспечивают низкое или по существу нулевое сопротивление прохождению воздуха через стержень. Более подробно, элемент 124, охлаждающий аэрозоль, образован из предпочтительно непористого листового материала, выбранного из группы, включающей металлическую фольгу, лист полимерного материала и по существу непористую бумагу или картон. В частности, в варианте осуществления, изображенном на фиг. 2, элемент 124, охлаждающий аэрозоль, предусмотрен в виде гофрированного и собранного листа полимолочной кислоты (PLA). Элемент 124, охлаждающий аэрозоль, имеет длину приблизительно 8 миллиметров и внешний диаметр приблизительно 7,25 миллиметра.
Аналогично варианту осуществления по фиг. 1, изделие 110, генерирующее аэрозоль, по фиг. 2 дополнительно содержит обертку 70, окружающую стержень 12 субстрата, генерирующего аэрозоль. Обертка 70 содержит основной материал для обертывания, имеющий основной вес приблизительно 90 грамм на квадратный метр. Кроме того, обертка 70 содержит препятствующую воспламенению композицию, содержащую одно или более препятствующих воспламенению соединений.
Более подробно, препятствующая воспламенению композиция предусмотрена по меньшей мере в обработанной части 72 обертки, проходящей между ближним концом и дальним концом стержня 12 субстрата, генерирующего аэрозоль. Обработанная часть 72 содержит приблизительно 3,5 грамма одного или более препятствующих воспламенению соединений на квадратный метр площади поверхности обработанной части 72. Таким образом, обработанная часть 72 обертки 70 имеет общий основной вес, превышающий основной вес основного материала для обертывания. В варианте осуществления по фиг. 1 обработанная часть 72 имеет длину, по существу соответствующую длине стержня 12 субстрата, генерирующего аэрозоль, и проходит по существу по всей площади внешней поверхности стержня 12 субстрата, генерирующего аэрозоль.
Группа изобретений относится к изделию, генерирующему аэрозоль, системе, генерирующей аэрозоль и содержащей такое изделие, а также способу изготовления изделия, генерирующего аэрозоль. Изделие (10; 110), генерирующее аэрозоль, содержит: стержень (12) субстрата, генерирующего аэрозоль, проходящий от ближнего конца стержня к дальнему концу стержня, расположенному раньше по ходу потока относительно ближнего конца стержня; расположенную дальше по ходу потока секцию (14) в местоположении дальше по ходу потока относительно стержня (12) субстрата, генерирующего аэрозоль, и обертку (70), окружающую по меньшей мере стержень (12) субстрата, генерирующего аэрозоль, причем обертка (70) содержит основной материал для обертывания, имеющий основной вес. По меньшей мере обработанная часть (72) обертки (70), проходящая между ближним концом стержня и дальним концом стержня, содержит препятствующую воспламенению композицию, содержащую одно или более препятствующих воспламенению соединений. Таким образом, обработанная часть (72) обертки (70) имеет общий основной вес, превышающий основной вес основного материала для обертывания. Обработанная часть (72) проходит на по меньшей мере 90 процентов площади внешней поверхности стержня субстрата, генерирующего аэрозоль. Обеспечивается предотвращение обугливания/выжигания при нагревании обертки и нижележащего образующего аэрозоль субстрата, и, как следствие, повышение доставки аэрозоля при нагревании изделия. 3 н. и 17 з.п. ф-лы, 2 ил.
1. Изделие, генерирующее аэрозоль, для получения вдыхаемого аэрозоля при нагреве, при этом изделие, генерирующее аэрозоль, содержит стержень субстрата, генерирующего аэрозоль, проходящий от ближнего конца стержня к дальнему концу стержня, расположенному раньше по ходу потока относительно ближнего конца стержня, расположенную дальше по ходу потока секцию в местоположении дальше по ходу потока относительно стержня субстрата, генерирующего аэрозоль, и обертку, окружающую по меньшей мере стержень субстрата, генерирующего аэрозоль, причем обертка содержит основной материал для обертывания, имеющий основной вес, при этом по меньшей мере обработанная часть обертки, проходящая между ближним концом стержня и дальним концом стержня, содержит препятствующую воспламенению композицию, содержащую одно или более препятствующих воспламенению соединений так, что обработанная часть обертки имеет общий основной вес, превышающий основной вес основного материала для обертывания, причем обработанная часть проходит на по меньшей мере 90 процентов площади внешней поверхности стержня субстрата, генерирующего аэрозоль.
2. Изделие, генерирующее аэрозоль, по п. 1, в котором длина обработанной части составляет по меньшей мере 90 процентов длины стержня субстрата, генерирующего аэрозоль.
3. Изделие, генерирующее аэрозоль, по п. 1 или 2, в котором обработанная часть проходит по всей площади внешней поверхности стержня субстрата, генерирующего аэрозоль.
4. Изделие, генерирующее аэрозоль, по любому из предыдущих пунктов, в котором соотношение общего веса одного или более препятствующих воспламенению соединений и общего основного веса обертки может составлять по меньшей мере 0,02.
5. Изделие, генерирующее аэрозоль, по любому из предыдущих пунктов, в котором обработанная часть содержит по меньшей мере 10 грамм препятствующего воспламенению соединения на квадратный метр площади поверхности обработанной части.
6. Изделие, генерирующее аэрозоль, по любому из пп. 1-4, в котором обработанная часть содержит по меньшей мере 0,1 грамма препятствующего воспламенению соединения или соединений на квадратный метр площади поверхности обработанной части.
7. Изделие, генерирующее аэрозоль, по любому из предыдущих пунктов, в котором обработанная часть содержит 35 грамм или меньше препятствующего воспламенению соединения на квадратный метр площади поверхности обработанной части.
8. Изделие, генерирующее аэрозоль, по любому из предыдущих пунктов, в котором основной вес основного материала для обертывания составляет по меньшей мере 20 грамм на квадратный метр.
9. Изделие, генерирующее аэрозоль, по любому из предыдущих пунктов, в котором основной вес основного материала для обертывания меньше или равен 40 грамм на квадратный метр.
10. Изделие, генерирующее аэрозоль, по любому из предыдущих пунктов, в котором обертка содержит слой, содержащий препятствующее воспламенению соединение или соединения, обеспеченные на поверхности основного материала для обертывания, обращенной к субстрату, генерирующему аэрозоль, поверхности основного материала для обертывания, обращенной в сторону от субстрата, генерирующего аэрозоль, или на обеих из них.
11. Изделие, генерирующее аэрозоль, по любому из предыдущих пунктов, в котором препятствующая воспламенению композиция содержит полимер и смешанную соль на основе по меньшей мере одной моно-, ди- и/или трикарбоновой кислоты, по меньшей мере одной полифосфорной, пирофосфорной и/или фосфорной кислоты, и гидроксид или соль щелочного или щелочноземельного металла, причем по меньшей мере одна моно-, ди- и/или трикарбоновая кислота и гидроксид или соль образуют карбоксилат, а по меньшей мере одна полифосфорная, пирофосфорная и/или фосфорная кислота и гидроксид или соль образуют фосфат.
12. Изделие, генерирующее аэрозоль, по п. 11, в котором препятствующая воспламенению композиция дополнительно содержит карбонат щелочного или щелочноземельного металла.
13. Изделие, генерирующее аэрозоль, по любому из пп. 1-10, в котором препятствующая воспламенению композиция содержит целлюлозу, модифицированную по меньшей мере одной С10 жирной кислотой или жирной кислотой с большим количеством атомов углерода, жирной кислотой таллового масла (TOFA), фосфорилированным льняным маслом, фосфорилированным дальше по ходу потока кукурузным маслом.
14. Изделие, генерирующее аэрозоль, по любому из предыдущих пунктов, в котором стержень субстрата, генерирующего аэрозоль, имеет длину менее 40 миллиметров и содержание вещества для образования аэрозоля по меньшей мере 10 процентов в пересчете на сухой вес.
15. Изделие, генерирующее аэрозоль, по любому из предыдущих пунктов, в котором стержень субстрата, генерирующего аэрозоль, содержит собранный лист гомогенизированного табачного материала или гелевую композицию, причем гелевая композиция содержит по меньшей мере одно гелеобразующее средство, по меньшей мере одно из алкалоидного соединения и каннабиноидного соединения и вещество для образования аэрозоля.
16. Изделие, генерирующее аэрозоль, по любому из предыдущих пунктов, в котором стержень субстрата, генерирующего аэрозоль, дополнительно содержит токоприемный элемент, расположенный внутри субстрата, генерирующего аэрозоль.
17. Изделие, генерирующее аэрозоль, по любому из предыдущих пунктов, в котором содержание препятствующего воспламенению соединения или соединений в обработанной части является таким, что при нагреве изделия, генерирующего аэрозоль, до 500 градусов Цельсия с использованием резистивно-нагреваемой катушки в течение по меньшей мере 5 секунд, предпочтительно в течение 30 секунд, изделие, генерирующее аэрозоль, не воспламеняется.
18. Система, генерирующая аэрозоль и содержащая электрическое устройство, генерирующее аэрозоль, и изделие, генерирующее аэрозоль, по любому из пп. 1-17, при этом устройство, генерирующее аэрозоль, содержит средство для нагрева стержня субстрата, генерирующего аэрозоль, до температуры, достаточной для генерирования аэрозоля из субстрата, генерирующего аэрозоль.
19. Способ изготовления изделия, генерирующего аэрозоль, для генерирования вдыхаемого аэрозоля при нагреве, при этом способ включает: предоставление непрерывного стержня субстрата, генерирующего аэрозоль; окружение непрерывного стержня субстрата, генерирующего аэрозоль, оберткой, причем обертка содержит основной материал для обертывания, имеющий основной вес; обработку по меньшей мере части обертки препятствующей воспламенению композицией, содержащей одно или более соединений так, чтобы предоставить обработанную часть обертки, имеющую общий основной сухой вес, превышающий основной сухой вес материала для обертывания; разрезание обработанного обернутого непрерывного стержня субстрата, генерирующего аэрозоль, на отдельные стержни, причем каждый отдельный стержень проходит от ближнего конца отдельного стержня к дальнему концу отдельного стержня, расположенному раньше по ходу потока относительно ближнего конца отдельного стержня так, чтобы обработанная часть проходила на по меньшей мере 90 процентов площади внешней поверхности отдельного стержня.
20. Способ по п. 19, при котором слой препятствующей воспламенению композиции наносят на по меньшей мере одну сторону основного материала для обертывания с помощью процесса нанесения, основанного на прессовании по размерам, распылении, печати или нанесении покрытия.
| US 4044778 A, 30.08.1977 | |||
| EP 1867782 A1, 19.12.2017 | |||
| КУРИТЕЛЬНЫЕ ИЗДЕЛИЯ, ИМЕЮЩИЕ ПОНИЖЕННУЮ СПОСОБНОСТЬ К ПОДЖИГАНИЮ | 2014 |
|
RU2652960C2 |
| СИГАРЕТНАЯ БУМАГА, ПОКРЫТАЯ ПОКРЫВАЮЩИМИ МАТЕРИАЛАМИ ДЛЯ НИЗКОЙ СКЛОННОСТИ К ВОСПЛАМЕНЕНИЮ, И ПОЖАРОБЕЗОПАСНАЯ СИГАРЕТА, СОДЕРЖАЩАЯ ТАКУЮ БУМАГУ | 2009 |
|
RU2464919C2 |
| CN 102333461 A, 25.01.2012. | |||
Авторы
Даты
2025-04-07—Публикация
2021-05-18—Подача