ОБЛАСТЬ ТЕХНИКИ
[0001] Настоящее раскрытие относится к области технологий бортовых устройств для выработки сильной магнитной энергии, и, в частности, к бортовому устройству для выработки сильной магнитной энергии.
УРОВЕНЬ ТЕХНИКИ
[0002] Бортовое устройство для выработки сильной магнитной энергии, представляет собой устройство, которое использует магнитное поле, генерируемое сильными магнитами, для выработки энергии. Его основные компоненты включают источник магнитного поля, механизм выработки электроэнергии, механическую систему передачи энергии, систему управления, систему накопления и распределения энергии и другое вспомогательное оборудование. Устройство может преобразовывать движение транспортного средства во вращение вала генератора, генерируя индуцированный ток за счет относительного перемещения между валом генератора и катушкой, система управления может регулировать ток источника магнитного поля для поддержания стабильности выходной мощности генератора; бортовое устройство для выработки сильной магнитной энергии, может широко использоваться в различных устройствах, требующих питания, таких как электромобили, гибридные электромобили, электровелосипеды, электрические мотоциклы и т.д., для обеспечения питания бортового устройства, и повышения выносливости и производительности транспортного средства.
[0003] Как раскрыто в патенте на полезную модель CN217002056U, озаглавленном “Система выработки электроэнергии, установленная на транспортном средстве”, и датой публикации является 19 июля 2022 года. Установленная на транспортном средстве система выработки электроэнергии включает в себя нижнюю пластину, которая снабжена демпфирующим устройством. Демпфирующее устройство снабжено выпрямительным устройством, устройством отвода тепла, устройством управления, батареей, устройством шумоглушения, двигателем и генератором, и между двигателем и генератором имеется передающий компонент, устройство шумоглушения соединено с двигателем, а нижняя часть пластина снабжена магнитным всасывающим элементом. Амортизатор расположен между амортизирующим устройством и нижней пластиной, а корпус оболочки расположен на нижней пластине. Выпрямительное устройство, генератор, устройство отвода тепла, аккумулятор и амортизирующее устройство расположены внутри корпуса, а часть отвода тепла расположена на корпусе корпуса. Вся системная структура этой полезной модели компактна и рациональна, что полностью отвечает требованиям портативности системы выработки электроэнергии, устанавливаемой на транспортном средстве, и обладает хорошими эффектами амортизации и отвода тепла.
[0004] Однако в вышеуказанных устройствах не установлена структура амортизации и буферизации. Однако из-за работы устройства для выработки сильной магнитной энергии, может возникнуть значительная вибрация, которая может повлиять на комфорт и безопасность вождения. Следовательно, необходимо установить амортизирующие механизмы к устройству для выработки сильной магнитной энергии.
СУЩНОСТЬ ИЗОБРЕТЕНИЯ
[0005] Цель настоящего изобретения состоит в том, чтобы предложить бортовое устройство для выработки сильной магнитной энергии, для решения проблем известного уровня техники.
[0006] Для достижения вышеуказанных целей в настоящем описании используется следующее техническое решение:
[0007] Бортовое устройство для выработки сильной магнитной энергии, которое включает в себя оборудование для выработки сильной магнитной энергии и установочное основание, устанавливаемое на кузове транспортного средства, и дополнительно включает в себя опорную пластину, неподвижно соединенную с оборудованием для выработки сильной магнитной энергии для поддержки и фиксации оборудования для выработки сильной магнитной энергии; гнездо, расположенное на опорной пластине; опорный стержень, вставленный в гнездо; нижнюю пластину, установленную на установочной основании месте; и пружина, неподвижно соединенная между нижней пластиной и опорной пластиной.
[0008] В варианте осуществления настоящего изобретения установочное основание снабжено зажимной пластиной, а нижняя пластина предусмотрена на зажимной пластине.
[0009] В варианте осуществления настоящего изобретения гнездо является эллиптическим, опорный стержень также является эллиптическим; и верхний конец опорного стержня выступает из гнезда.
[0010] В варианте осуществления настоящего изобретения верхний конец опорного стержня неподвижно соединен с резьбовой частью; резьбовая часть соединена с гайкой; гайка снабжена ободом, обод упирается в опорную пластину.
[0011] В варианте осуществления настоящего изобретения прижимная пластина снабжена уплотнительным цилиндром, уплотнительный цилиндр соединен с возможностью скольжения с поршневым блоком, поршневой блок неподвижно соединен с нижним концом опорного штока.
[0012] В варианте осуществления настоящего изобретения первая воздушная труба и вторая воздушная труба соответственно соединены с уплотнительным цилиндром.
[0013] В варианте осуществления настоящего изобретения место соединения между первой воздушной трубой и уплотнительным цилиндром находится в нижней части уплотнительного цилиндра, а место соединения между второй воздушной трубой и уплотнительным цилиндром находится в верхней части уплотнительного цилиндра.
[0014] В варианте осуществления настоящего изобретения нижняя пластина соответственно снабжена первым воздуховыпускным отверстием и вторым воздуховыпускным отверстием, соответственно, которые соединены с первой воздушной трубой и второй воздушной трубой, соответственно.
[0015] В варианте осуществления настоящего изобретения верхняя поверхность гайки снабжена зубчатым колесом; нижняя пластина снабжена ограничительной пластиной; ограничительная пластина прикреплена к краю опорной пластины, ограничительная пластина снабжена отверстием; верхняя сторона и нижняя сторона отверстия выполнена в виде криволинейной поверхности; наклонная пластина соединена с возможностью скольжения внутри отверстия, и наклонная пластина снабжена скользящей канавкой.
[0016] В варианте осуществления настоящего изобретения опорная пластина снабжена направляющей скольжения, направляющая скольжения снабжена установочной пластиной; установочная пластина снабжена резьбовым отверстием; резьбовое отверстие представляет собой резьбовое соединение со вставным стержнем; наклонная пластина скользит внутри установочной пластины; вставной стержень скользит внутри паза скольжения; ограничительная пластина снабжена приводной частью; установочная пластина неподвижно соединена с выходным концом приводной части, наклонная пластина неподвижно соединена с толкателем, который соответствует зубчатому колесу.
[0017] По сравнению с известным уровнем техники настоящее изобретение обеспечивает бортовое устройство для выработки сильной магнитной энергии, которое обладает следующими полезными эффектами:
1. Бортовое устройство для выработки сильной магнитной энергии, снабжено эллиптическим гнездом и опорным стержнем, которые позволяют оборудованию для выработки сильной магнитной энергии вибрировать только вверх и вниз; при взаимодействии с пружиной оно может эффективно поглощать и смягчать вибрацию, создаваемую оборудованием для выработки сильной магнитной энергии или вибрация, вызванная внешней силой, которые способствует повышению комфорта вождения.
2. Бортовое устройство для выработки сильной магнитной энергии, сжимает воздух на верхнем и нижнем концах уплотнительного цилиндра через поршневой блок, что позволяет первому воздуховыпускному отверстию и второму воздуховыпускному отверстию непрерывно подавать воздух к части рассеивания тепла оборудования для выработки сильной магнитной энергии, тем самым улучшая эффект рассеивания тепла от оборудования для выработки сильной магнитной энергии.
3. Благодаря взаимному взаимодействию наклонной пластины и ограничительной пластины бортовое устройство для выработки сильной магнитной энергии, позволяет толкателю вращать шестерню, когда оборудование для выработки для выработки сильной магнитной энергии вибрирует вверх и вниз, а затем затягивается гайка, предотвращая ее ослабление, и тем самым улучшая производительность. стабильность работы оборудования для выработки сильной магнитной энергии во время эксплуатации.
[0018] Не задействованные части бортового устройства для выработки сильной магнитной энергии, являются такими же, как и существующая технология, или могут быть реализованы с использованием существующей технологии. Настоящее раскрытие может уменьшить вибрацию, создаваемую устройством для выработки сильной магнитной энергии, иметь хороший эффект рассеивания тепла, предотвращать ослабление гайки и, таким образом, обеспечивать стабильность непрерывной работы оборудования для выработки сильной магнитной энергии.
КРАТКОЕ ОПИСАНИЕ ЧЕРТЕЖЕЙ
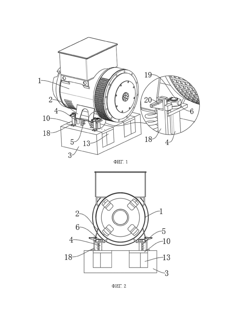
[0019] ФИГ. 1 - представляет собой принципиальную схему общей структуры бортового устройства для выработки сильной магнитной энергии, представленного в настоящем описании.
[0020] ФИГ. 2 - вид сбоку бортового устройства для выработки сильной магнитной энергии, представленного в настоящем описании.
[0021] ФИГ. 3 - представляет собой принципиальную схему конструкции внутри зажимной пластины бортового устройства для выработки сильной магнитной энергии, представленного в настоящем описании.
[0022] ФИГ. 4 - представляет собой увеличенную структурную принципиальную схему части А на фиг. 3 бортового устройства для выработки сильной магнитной энергии, представленного в настоящем описании.
[0023] ФИГ. 5 - представляет собой развернутый вид бортового устройства для выработки сильной магнитной энергии, представленного в настоящем описании.
[0024] ФИГ. 6 - представляет собой первую увеличенную структурную принципиальную схему части В на фиг. 5 бортового устройства для выработки сильной магнитной энергии, представленного в настоящем описании.
[0025] ФИГ. 7 - представляет собой второй развернутый вид бортового устройства для выработки сильной магнитной энергии, представленного в настоящем описании.
[0026] ФИГ. 8 - представляет собой увеличенную структурную принципиальную схему части C на фиг. 7 бортового устройства для выработки сильной магнитной энергии, представленного в настоящем описании.
[0027] ФИГ. 9 - представляет собой третий развернутый вид бортового устройства для выработки сильной магнитной энергии, представленного в настоящем описании.
[0028] ФИГ. 10 - представляет собой увеличенную структурную принципиальную схему части D на фиг. 9 бортового устройства для выработки сильной магнитной энергии, представленного в настоящем описании.
[0029] Цифровая ссылка: 1. Оборудование для выработки сильной магнитной энергии; 2. Опорная пластина; 3. Установочное основание; 4. Опорный стержень; 5. Пружина; 6. Гайка; 7. Уплотнительный цилиндр; 8. Первая воздушная труба; 9. Вторая воздушная труба; 10. Нижняя пластина; 11. Первое воздуховыпускное отверстие; 12. Второе воздуховыпускное отверстие; 13. Прижимная пластина; 14. Поршневой блок; 15. Резьбовая часть; 16. Гнездо; 17. Обод; 18. Ограничительная пластина; 19. Шестерня; 20. Наклонная пластина; 21. Скользящая канавка; 22. Толкатель; 23. Отверстие; 24. Криволинейная поверхность; 25. Приводная часть; 26. Направляющая скольжения; 27. Установочная пластина; 28. Вставной стержень; 29. Резьбовое отверстие.
ОПИСАНИЕ ОСУЩЕСТВЛЕНИЯ ИЗОБРЕТЕНИЯ
[0030] Нижеследующее обеспечит четкое и полное описание технического решения в вариантах осуществления настоящего изобретения в сочетании с чертежами. Очевидно, что описанные варианты осуществления являются лишь частью вариантов настоящего раскрытия, а не всеми из них.
[0031] В описании настоящего изобретения следует понимать, что термины “вверх”, “вниз”, “спереди”, “сзади”, “слева”, “справа”, “сверху”, “снизу”, “внутри”, “снаружи” и т.д. указывают, что соотношение ориентации или положения, основанное на соотношении ориентации или положения, показанном на чертежах, предназначено только для удобства описания настоящего раскрытия и упрощения описания, а не для указания или подразумевания того, что упомянутое устройство или компонент должны иметь определенную ориентацию, сконструированы и эксплуатируются в определенной ориентации, поэтому оно не может быть понято как ограничение настоящего раскрытия.
[0032] Вариант осуществления 1:
[0033] Ссылаясь на фиг. 1-10, бортовое устройство для выработки сильной магнитной энергии, включает в себя оборудование 1 для выработки сильной магнитной энергии и установочное основание 3, устанавливаемое на кузове транспортного средства, и дополнительно включает в себя опорную пластину 2, неподвижно соединенную с оборудованием 1 для выработки сильной магнитной энергии для поддержки и фиксации оборудования 1 для выработки сильной магнитной энергии; гнездо 16, расположенное на опорной пластине 2; опорный стержень 4, вставленный в гнездо 16; нижняя пластина 10, установленная на установочном основании 3; пружину 5 неподвижно соединена между нижней пластиной 10 и опорной пластиной 2.
[0034] В настоящем описании, когда пользователь использует бортовое устройство для выработки сильной магнитной энергии, оборудование 1 для выработки сильной магнитной энергии устанавливается на установочное основание 3, а опорная пластина 2 на оборудовании 1 для выработки сильной магнитной энергии устанавливается через опорный стержень 4. Опорный стержень 4 вставлен в гнездо 16 на опорной пластине 2; формы поперечного сечения гнезда 16 и опорного стержня 4 являются эллиптическими. Когда оборудование 1 для выработки сильной магнитной энергии подвергается вибрации во время работы, оборудование 1 для выработки сильной магнитной энергии не будет вращаться или трястись влево и вправо, а может только перемещаться вдоль опорного стержня 4, чтобы вибрировать вверх и вниз. Когда оборудование 1 для выработки сильной магнитной энергии вибрирует вверх и вниз вместе с опорным стержнем 4, пружина 5 поглощает энергию и буферизует оборудование 1 для выработки сильной магнитной энергии и обеспечивает буферную защиту оборудования 1 для выработки сильной магнитной энергии.
[0035] Вариант осуществления 2:
[0036] Ссылаясь на фиг. 1-10, бортовое устройство для выработки сильной магнитной энергии, включает в себя оборудование 1 для выработки сильной магнитной энергии и установочное основание 3 и, кроме того, включает в себя опорную пластину 2, неподвижно соединенную с оборудованием 1 для выработки сильной магнитной энергии для поддержки и фиксации оборудования 1 для выработки сильной магнитной энергии; гнездо 16, установленное на опорной пластине 2; опорный стержень 4, вставленный в гнездо 16; нижняя пластина 10, установленная на установочное основание 3; пружина 5 неподвижно соединена между нижней пластиной 10 и опорной пластиной 2; установочное основание 3 снабжено зажимной пластиной 13, а нижняя пластина 10 установлена на зажимной пластине 13; гнездо 16 имеет эллиптическую форму, и опорный стержень 4 также имеет эллиптическую форму; верхний конец опорный стержень 4 выступает из гнезда 16; верхний конец опорного стержня 4 неподвижно соединен с резьбовой частью 15; резьбовая часть неподвижно соединена с гайкой 6; гайка 6 снабжена ободом 17; обод 17 упирается в опорную пластину 2; зажимная пластина 13 снабжена уплотнительным цилиндром 7; уплотнительный цилиндр 7 соединен с возможностью скольжения с поршневым блоком 14; поршневой блок 14 неподвижно соединен с нижним концом опорного стержня 4; уплотнительный цилиндр 7 соответственно соединен с первой воздушной трубой 8 и второй воздушной трубой 9; положение соединения первой воздушной трубы 8 и уплотнительного цилиндра 7 находится в нижней части уплотнительного цилиндра 7, а место соединения второй воздушной трубы 9 и уплотнительного цилиндра 7 находится в верхней части уплотнительного цилиндра 7; нижняя пластина 10 соответственно снабжена первым воздуховыпускным отверстием 11 и вторым воздуховыпускным отверстием 12; первое воздуховыпускное отверстие 11 и второе воздуховыпускное отверстие 12 соединены с первой воздушной трубой 8 и второй воздушной трубой 9 соответственно.
[0037] В настоящем описании оборудование 1 для выработки сильной магнитной энергии установлено на установочное основание 3; опорная пластина 2 на оборудовании 1 для выработки сильной магнитной энергии установлена через опорный стержень 4. Гайка 6 и резьбовая часть 15 подобраны таким образом, чтобы фиксировать и соединять верхнюю часть опорного стержня 4 с опорной пластиной 2, а обод 17 плотно прикреплен к опорной пластине 2, дополнительно повышая прочность соединения между опорной пластиной 2 и опорным стержнем 4. Опорный стержень 4 вставлен в гнездо 16 на опорной пластине 2; формы поперечного сечения гнезда 16 и опорного стержня 4 являются эллиптическими. Когда оборудование 1 для выработки сильной магнитной энергии подвергается вибрации во время работы, оно не будет вращаться и может только перемещаться вдоль опорного стержня 4 при вибрации вверх и вниз.
[0038] Когда оборудование 1 для выработки сильной магнитной энергии вибрирует вверх и вниз вместе с опорным стержнем 4, пружина 5 поглощает энергию и амортизирует оборудование 1 для выработки сильной магнитной энергии.
[0039] В одном варианте осуществления, когда оборудование 1 для выработки сильной магнитной энергии вибрирует вверх и вниз, опорный стержень 4 заставляет поршневой блок 14 перемещаться взад и вперед внутри уплотнительного цилиндра 7, заставляя поршневой блок 14 сжимать воздух на обоих концах уплотнительного цилиндра 7. Из-за того, что диаметр первой воздушной трубы 8 и второй воздушной трубы 9 намного меньше диаметра уплотнительного цилиндра 7, когда поршневой блок 14 перемещается взад и вперед внутри уплотнительного цилиндра 7, уплотнительный цилиндр 7 подобен демпферу, который может замедлять вибрацию, вызываемую оборудование 1 для выработки сильной магнитной энергии.
[0040] В то же время поршневой блок 14, совершая возвратно-поступательное движение, сжимает воздух на верхнем и нижнем концах уплотнительного цилиндра 7. Воздух на верхнем и нижнем концах уплотнительного цилиндра 7 выпускается через первую воздушную трубу 8 и вторую воздушную трубу 9 и распыляется из первого воздуховыпускного отверстия 11 и второго воздуховыпускного отверстия 12 в точку отвода тепла оборудования 1 для выработки сильной магнитной энергии, которое может дополнительно усилить тепловыделение оборудования 1 для выработки сильной магнитной энергии. В то же время, когда поршневой блок 14 сжимает воздух на верхнем конце уплотнительного цилиндра 7, нижний конец уплотнительного цилиндра 7 поглощает воздух снаружи, и наоборот, кроме того, это приводит к тому, что воздух вблизи оборудования 1 для выработки сильной магнитной энергии образует циркулирующий поток, что приводит к хорошему эффекту рассеивания тепла.
[0041] Вариант осуществления 3:
[0042] Согласно фиг. 1-10, верхняя поверхность гайки 6 снабжена зубчатым колесом 19; нижняя пластина 10 снабжена ограничительной пластиной 18. Ограничительная пластина 18 прикреплена к краю опорной пластины 2; ограничительная пластина 18 снабжена отверстием 23; верхняя сторона и нижняя сторона отверстия 23 выполнены в виде криволинейной поверхности 24. Отверстие 23 соединено с возможностью скольжения с наклонной пластиной 20; наклонная пластина 20 снабжена скользящей канавкой 21; опорная пластина 2 снабжена направляющей 26 скольжения; направляющая 26 скольжения снабжена установочной пластиной 27. Установочная пластина 27 снабжена резьбовым отверстием 29, а резьбовое отверстие 29 представляет собой резьбовое соединение со вставным стержнем 28. Наклонная пластина 20 скользит внутри установочной пластины 27, а вставной стержень 28 скользит внутри скользящей канавки 21. Ограничительная пластина 18 снабжена приводной частью 25, а установочная пластина 27 неподвижно соединена с выходным концом приводной части 25. Наклонная пластина 20 неподвижно соединена с толкателем 22, который соответствует зубчатому колесу 19.
[0043] В настоящем описании, когда оборудование 1 для выработки сильной магнитной энергии вибрирует вверх и вниз с опорным стержнем 4, установочная пластина 27 приводит в движение наклонную пластину 20 для синхронной вибрации вверх и вниз с оборудованием 1 для выработки сильной магнитной энергии через вставной стержень 28. Благодаря буферизации и поглощению энергии пружиной 5 и уплотнительным цилиндром 7 амплитуда вибрации оборудования 1 для выработки сильной магнитной энергии относительно невелика. Форма наклонной пластины 20 подобна треугольной пластине, и обе стороны наклонной пластины 20 примыкают к криволинейной поверхности 24.
[0044] Когда наклонная пластина 20 следует за синхронной вибрацией оборудования 1 для выработки сильной магнитной энергии вверх и вниз, ограничительная пластина 18 не перемещается. Поскольку обе стороны наклонной пластины 20 упираются в криволинейную поверхность 24, когда наклонная пластина 20 перемещается вниз, криволинейная поверхность 24 упирается в обе стороны наклонной пластины 20, заставляя наклонную пластину 20 перемещаться в направлении гайки 6, в результате чего острый конец наклонной пластины 20 помещается в отверстие 23. Наклонная пластина 20 толкает толкающий стержень 22 для перемещения в направлении гайки 6, толкающий стержень 22 снабжен множеством фиксирующих зубьев на толкающем стержне 22, фиксирующие зубья упираются в шестерню 19, когда толкающий стержень 22 движется к гайке 6, фиксирующие зубья на толкающем стержне 22 толкатель 22 вращает шестерню 19, заставляя гайку 6 вращаться в направлении затяжки, предотвращая ослабление гайки 6 и дополнительно повышая стабильность оборудования 1 для выработки сильной магнитной энергии во время работы.
[0045] Приводная часть 25 представляет собой электрический толкатель. Когда наклонная пластина 20 перемещается вверх, приводная часть 25 толкает установочную пластину 27, заставляя ее скользить внутрь, заставляя толкатель 22 отходить от шестерни 19 и больше не прилегать к шестерне 19. При нажатии вниз верхней и нижней криволинейными поверхностями 24 наклонная пластина 20 возвращается в исходное положение. В это время приводная часть 25 управляет толкателем 22, чтобы снова установить шестерню 19, и на толкателе 22 имеется множество фиксирующих зубьев. Когда приводная часть 25 управляет толкателем 22 для установки шестерни 19, фиксирующий зуб всегда будет упираться в зубья шестерни 19. Отводя толкатель 22 от шестерни 19, можно предотвратить ослабление гайки 6 шестерней 19 при сбросе наклонной пластины 20.
[0046] Ограничительная пластина 18 прикреплена к опорной пластине 2 и оказывает ограничивающее воздействие на оборудование 1 для выработки сильной магнитной энергии. Он объединен с гнездом 16 и опорным стержнем 4 для предотвращения отклонения влево и вправо при вибрации оборудования 1 для выработки сильной магнитной энергии и гарантирует, что оборудование 1 для выработки сильной магнитной энергии может раскачиваться только вверх и вниз.
[0047] На установочной пластине 27 имеются два резьбовых отверстия 29, одно из которых проходит через конец установочной пластины 27, а другое выполнено на внутренней стороне установочной пластины 27. Головная и хвостовая части вставного стержня 28 снабжены резьбовой канавкой, и две резьбовые канавки совпадают с двумя резьбовыми отверстиями 29. Середина вставного стержня 28 гладкая, что является преимуществом для того, чтобы наклонная пластина 20 скользила по вставному стержню 28 через скользящую канавку 21.
[0048] В одном варианте осуществления, при установке оборудования 1 для выработки сильной магнитной энергии, после затягивания гайки 6 толкатель 22 прикрепляется к шестерне 19 на гайке 6. Отверстие направляющей 26 является съемным. При установке установочной пластины 27 в направляющую 26 скольжения наклонная пластина 20 помещается внутри установочной пластины 27. На установочное основание 3 и нижней пластине 10 имеется монтажная рейка. Ограничительная пластина 18 устанавливается через монтажную рейку, а затем фиксируется винтом. При установке ограничительной пластины 18 наклонная пластина 20 помещается в отверстие 23. После установки вставной стержень 28 вставляется в резьбовое отверстие 29, а вставной стержень 28 вставляется в скользящую канавку 21.
[0049] Вышеизложенное является лишь предпочтительной конкретной реализацией настоящего раскрытия, но объем защиты настоящего раскрытия этим не ограничивается. Любой специалист в области техники, знакомый с техническими аспектами в рамках раскрытой технологии, производящий эквивалентные замены или подстановки на основе технического решения и изобретательской концепции настоящего раскрытия, должен быть охвачен областью защиты настоящего раскрытия.
Изобретение относится к бортовым устройствам для выработки магнитной энергии. Технический результат - уменьшение вибрации, создаваемой устройством для выработки магнитной энергии, улучшение эффекта рассеивания тепла, обеспечение стабильности непрерывной работы оборудования для выработки магнитной энергии. Результат достигается конструкцией бортового устройства для выработки магнитной энергии, которое включает оборудование для выработки магнитной энергии, установочное основание, устанавливаемое на кузове транспортного средства, опорную пластину, неподвижно соединенную с оборудованием, эллиптическое гнездо, предусмотренное на опорной пластине, эллиптический опорный стержень, вставленный в гнездо, нижнюю пластину, закрепленную на установочном основании, пружину, неподвижно соединенную между нижней пластиной и опорной пластиной. Гнездо и опорный стержень имеют эллиптическую форму, опорный стержень неподвижно соединен с резьбовой частью, которая соединена с гайкой. Прижимная пластина снабжена уплотнительным цилиндром, соединенным с возможностью скольжения с поршневым блоком, уплотнительный цилиндр содержит первую и вторую воздушные трубы, соответственно соединенные с первым и вторым воздуховыпускными отверстиями, расположенными на нижней пластине. 7 з.п. ф-лы, 10 ил.
1. Бортовое устройство для выработки магнитной энергии, содержащее оборудование (1) для выработки магнитной энергии и установочное основание (3), устанавливаемое на кузове транспортного средства, при этом бортовое устройство для выработки магнитной энергии дополнительно содержит:
опорную пластину (2), неподвижно соединенную с оборудованием (1) для выработки магнитной энергии, для поддержки и фиксации оборудования (1) для выработки магнитной энергии;
прижимную пластину (13), расположенную на установочном основании (3);
эллиптическое гнездо (16), расположенное на опорной пластине (2);
эллиптический опорный стержень (4), неподвижно соединенный с резьбовой частью (15) и вставленный в гнездо (16);
гайку (6), навинченную на резьбовую часть (15), при этом верхняя поверхность гайки (6) снабжена шестерней (19);
нижнюю пластину (10), закрепленную на установочном основании (3) и снабженную ограничительной пластиной (18), при этом ограничительная пластина (18) снабжена отверстием (23);
пружину (5), неподвижно соединенную между нижней пластиной (10) и опорной пластиной (2);
наклонную пластину; при этом
наклонная пластина (20) соединена с возможностью скольжения внутри отверстия (23) и неподвижно соединена с толкателем (22), который соответствует шестерне (19),
прижимная пластина (13) снабжена уплотнительным цилиндром (7), который соединен с возможностью скольжения с поршневым блоком (14), при этом
уплотнительный цилиндр (7) содержит первую воздушную трубу (8) и вторую воздушную трубу (9), соединенные с первым воздуховыпускным отверстием (11) и вторым воздуховыпускным отверстием (12), расположенными на нижней пластине 10.
2. Бортовое устройство для выработки магнитной энергии по п.1, в котором нижняя пластина (10) расположена на прижимной пластине (13).
3. Бортовое устройство для выработки магнитной энергии по п.1, в котором верхний конец опорного стержня (4) выступает из гнезда (16).
4. Бортовое устройство для выработки магнитной энергии по п.1, в котором гайка (6) предусмотрена с ободом (17); обод (17) упирается в опорную пластину (2).
5. Бортовое устройство для выработки магнитной энергии по п.2, в котором поршневой блок (14) неподвижно соединен с нижним концом опорного стержня (4).
6. Бортовое устройство для выработки магнитной энергии по п.1, в котором место соединения первой воздушной трубы (8) и уплотнительного цилиндра (7) находится в нижней части уплотнительного цилиндра (7), а место соединения второй воздушной трубы (9) и уплотнительного цилиндра (7) находится в верхней части уплотнительного цилиндра (7).
7. Бортовое устройство для выработки магнитной энергии по п.1, в котором ограничительная пластина (18) прикреплена к краю опорной пластины (2); верхняя сторона и нижняя сторона отверстия (23) выполнены в виде криволинейной поверхности (24); наклонная пластина (20) снабжена скользящей канавкой (21).
8. Бортовое устройство для выработки магнитной энергии по п.7, в котором опорная пластина (2) снабжена направляющей (26) скольжения; направляющая (26) скольжения снабжена установочной пластиной (27); установочная пластина (27) снабжена резьбовым отверстие (29); резьбовое отверстие (29) представляет собой резьбовое соединение со вставным стержнем (28); наклонная пластина (20) скользит внутри установочной пластины (27); вставной стержень (28) скользит внутри скользящей канавки (21); ограничительная пластина (18) снабжена приводной частью (25); установочная пластина (27) неподвижно соединена с выходным концом приводной части (25).
| CN 217002056 U, 19.07.2022 | |||
| CN 213393329 U, 08.06.2021 | |||
| CN 218544979 U, 28.02.2023 | |||
| Машина для скручивания чайного листа | 1935 |
|
SU55909A1 |
| CN 111891048 A, 06.11.2020 | |||
| СИСТЕМА ВИБРОИЗОЛЯЦИИ ДЛЯ СУДОВЫХ ЭНЕРГЕТИЧЕСКИХ УСТАНОВОК | 2011 |
|
RU2526977C2 |
| ВИБРОИЗОЛЯТОР РЕССОРНЫЙ С ДЕМПФЕРОМ | 2017 |
|
RU2650338C1 |
Авторы
Даты
2024-12-23—Публикация
2023-12-01—Подача