Устройство относится к нефтяной и газовой промышленности и может быть использовано при строительстве нефтяных и газовых скважин на суше.
Устройство используют в качестве технологической оснастки буровой установки. Устройство является самостоятельным техническим устройством (приспособлением) и применяется на буровых установках при проведении технических и/или промежуточных операций при цементировании обсадных колонн (ОК).
Устройство предназначено для подвешивания, удержания на устье скважины и натяжения во время цементирования как технических (промежуточных) ОК, так и полностью собранных (эксплуатационных) ОК. Удержание и натяжение подвешенной колонны осуществляют во время цементирования. Величина натяжения контролируется с помощью измерительных приборов визуально на основании выданного технического задания.
Известно изобретение «Установка обсадной колонны с бурового судна», патент приоритет NL20202025237 30.03.2020, опубл.WO2021197915, МПКый:E21B19/10; E21B19/16; E21B21/01, содержащая буровую вышку, привод вертикального перемещения, приспособленный для обеспечения вертикального перемещения спуска обсадной колонны, опорный корпус, установленный на рабочей платформе и выполненный с возможностью съемного размещения в нем, устройство скольжения, выполненное с возможностью размещения или расположения в опорном корпусе для поддержки обсадной колонны и с возможностью манипулирования обсадными трубами. Однако предназначена для поддержки обсадной колонны при соединении следующей обсадной колонны с обсадной колонной при сборке и применяется для улучшения установки обсадной колонны в ствол подводной скважины с бурового судна. Приспособление выполнено с возможностью компенсировать качку при размещенном в опорном корпусе устройства отклонителя. Не решают задачу контроля величины натяжения, способ создания натяжения и его контроля.
Известно изобретение «Способ подвески обсадных колонн», патент RU 2169251, опубл.20.06.2001, МПК E21B 33/04 E21B 33/035, включающий установку опорной плиты путем срезания направления и кондуктора на расчетных высотах, установку на кондукторе корпуса колонной головки со стойками и опорной втулкой с упором последней в верхний торец направления и закрепление корпуса колонной головки на кондукторе, установку обсадной колонны на клиновую подвеску. Относится к нефтяной и газовой промышленности и может быть использовано при бурении нефтяных и газовых скважин на суше и морских скважин с надводным устьем. Подвеску ОК используют вместе с кондуктором, что требует посадки обсадной колонны на клиновую подвеску в виде клиньев с насечкой, размещенных между внутренней поверхностью колонного фланца и наружной поверхностью обсадной трубы. Решает задачу минимизации и рационального распределения осевых растягивающих напряжений по обсадной колонне, что предотвращает осевое перемещение колонного фланца при испытании, освоении и эксплуатации скважин, а также при проведении ремонтных работ. Позволяет обеспечить предотвращение осевого перемещения колонного фланца и обсадных колонн на устье при изменении температуры и давления в скважине. Однако требуется осуществить сложные технологические действия, обязательно используют кондуктор, а сам кондуктор и ОК удерживают на протяжении всего цементирования подвешенным на крюке талевой системы буровой установки. При этом недостатком способа являются: невозможность создания точного необходимого натяжения по всей длине спускаемой обсадной колонны, вероятность потери устойчивости кондуктора при возникающих температурных напряжениях и большом весе последующих обсадных колонн, возможность разрушения бандажной муфты при большом весе последующих обсадных колонн, сложность монтажа и металлоемкость оборудования.
В стандартном штатном варианте величину натяжения создают с помощью буровой лебедки. Удерживание ОК происходит также с помощью буровой лебедки, которая приводится от собственного дизельного или электрического привода. В случае выхода из строя источника питания как основного, так и аварийного во время цементирования будет считаться аварией. Кроме того, при использовании талевой системы при создании величины натяжения буровой лебедкой часто происходит нарушение цементного камня хвостовика у ОК вследствие недостаточно точного дозирования усилия натяжения.
При использовании известных талевых систем [В.В.Нескоромных, «Проектирование скважин на твердые и полезные ископаемые», раздел 4.3., учебное пособие, Институт горного дела, геологии и технологий, Красноярск СФУ, 2012 г.] буровой установки для натяжения и удержания обсадной колонны на устье скважины возникает риск неконтролируемого натяжения обсадной колонны и ненадежного удержания обсадной колонны на устье скважины талевой системой буровой установки в течении длительного времени, 24-48 часов. Также во время удержания обсадной колонны на устье скважины талевая система будет задействована и недоступна для других технологических операций.
Более того, при применении талевой системы буровой установки не обеспечивается точность дозирования силы натяжения обсадной колонны при цементировании «хвостовика» по сравнению с предложенным устройством, т.к. при остановке крюкоблока талевой системы присутствует его тормозной путь и упругая деформация талевого каната.
Также при применении талевой системы буровой установки не обеспечивается постоянная величина натяжения обсадной колонны на устье скважины с требуемой силой в сравнении с предложенным устройством. При длительной нагрузке тормозная система буровой лебедки не обеспечивает достаточно надежного фиксирования талевого каната от перемещения.
Предложенное устройство исключает недостатки указанных устройств.
Существует необходимость разгрузки обсадной колонны от внутренних напряжений в стенках колонны, возникающих в результате большого веса при подвесе обсадной колонны. Наряжение возникает в следствие того, что во время цементирования колонна подвергается деформации. При этом требуется с помощью устройства достичь необходимого контролируемого усилия натяжения обсадной колонны и также длительно удерживать обсадную колонну в подвешенном состоянии, обеспечивая ее контролируемое натяжение и отсутствие сдвигов при цементировании.
При этом в техническом задании рассчитывают контрольное усилие, которое требуется обеспечить за счет применяемой оснастки без применения талевой системы во время проведения цементирования.
Необходимо подвешивать и удерживать обсадную колонну на устье скважины на устройстве без использования талевой системы буровой установки во время проведения цементирования обсадной колонны, а также осуществлять контролируемое натяжение обсадной колонны на устье скважины на необходимую единицу измерения. Это позволяет надежно зафиксировать обсадную колонну на устье скважины от перемещений обсадной колонны в скважине и контролировать величину натяжения обсадной колонны на устье скважины в виде силы натяжения во все время цементирования и ожидания затвердевания цемента (ОЗЦ).
С помощью предложенного устройства достигается следующий технический результат:
- снятие нагрузки с силовых устройств талевой системы при работе с ОК при цементировании и ОЗЦ, что в свою очередь, как следствие, обеспечивает:
- минимизацию, до полного исключения, аварийных случаев отключения силовых устройств, таких как, буровая лебедка, тормозная система буровой лебедки, разгрузка силового верхнего привода во время цементирования ОК или при отключении электроэнергии как от основных источников, так и от вспомогательных источников;
- достижение контролируемой, регулируемой плавности натяжения ОК;
- минимизацию случаев повреждения цементного кольца при натяжении ОК;
- исключение осевых перемещений ОК при цементировании и ОЗЦ;
- сокращение технологических операций при подготовке и проведении цементирования;
- универсальное применение устройства при различных размерах обсадных колонн;
- снятие элеватора с ОК без дополнительных технологических операций.
Данный технический результат достигается за счет того, что устройство для подвешивания и удержания обсадной колонны на устье скважины без использования талевой системы буровой установки во время проведения цементирования выполнено в виде сварной конструкции, состоящей из: основания с монтажной плитой, снабженной упором для ориентации относительно оси скважины, подъемного стола с боковой фиксируемой поворотной частью, и сменными проставками под размер колонны, расположенные в подъемном столе устройства и выполненные с возможностью изменения проходного диаметра под обсадную колонну, двух гидроцилиндров, и регулируемых винтовых опор, снабженных каждая стопорными устройствами. Устройство является новым и данная конструкция ранее не применялась. В частных случаях исполнения конструкции устройство отличается тем, что подъемный стол размещают на основании, снабженном фитингами для подключения к гидравлической станции; Кроме того, подъемный стол может быть снабжен сменными кольцевыми проставками, состоящими из двух частей, образующих диаметр под размер колонны, а основание может быть снабжено упором в виде диаметральной проточки основания, установленного на роторе в устье скважины, с возможностью центрирования основания по оси скважины. В частном случае исполнения основание снабжено гидравлической аппаратурой, снабженной обвязкой для подключения к гидравлической станции управления устройством, например, гидравлическая аппаратура снабжена обвязкой в виде рукавов высокого давления (РВД) с быстроразъемным соединением (БРС) с резьбой G1/2. В наиболее часто используемом варианте исполнения гидроцилиндры выполнены с ходом штока от 0 до 500 мм, а на конструкции устройства установлен манометр с возможностью измерения силы натяжения и грузоподъемности. При этом гидроцилиндры подключены к внешней гидравлической станции с возможностью обеспечения синхронной работы гидроцилиндров посредством гидропределительной аппаратуры. В качестве стопорных устройств в частном исполнении регулируемые винтовые опоры снабжены каждая стопорными гайками. Для лучшего центрирования устройства относительно оси скважины основание снабжено проточкой диаметром, соответствующим опорной поверхности стола ротора. Фиксируемая поворотная часть подъемного стола выполнена, например, в виде боковой дверцы с фиксирующим пальцем.
Конструкция пояснена чертежами, которые не охватывают всех вариантов исполнения заявленного устройства.
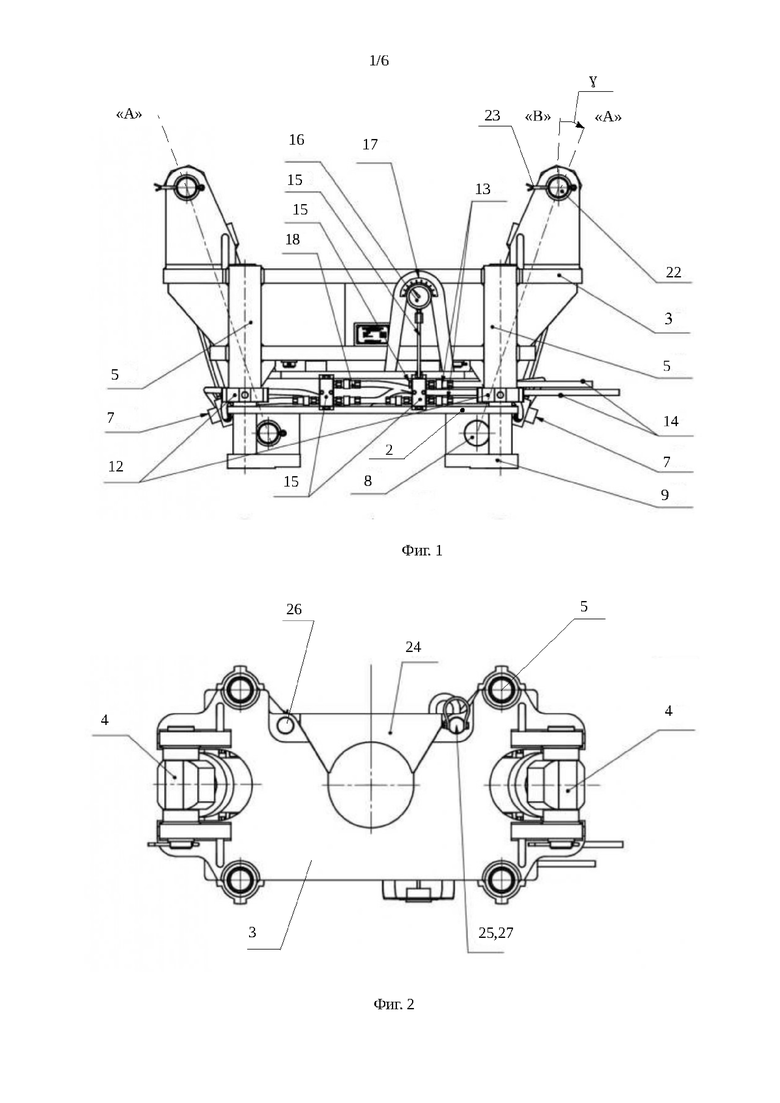
На Фиг. 1 - показан основной вид устройства;
На Фиг. 2 - показан вид сверху устройства;
На Фиг. 3 - показан основной вид устройства с разрезом по винтовым опорам и силовым элементам конструкции подъемного стола;
На Фиг. 4 - показан вид сверху устройства с поворотной частью монтажного стола в закрытом и открытом положении без диаметральных проставок;
На Фиг. 5 - показан вид сбоку устройства;
На Фиг. 6 - показана аксонометрия устройства с откинутой поворотной частью, вставленной в диаметральные проставки обсадной трубой и надетым на нее элеватором, подъемный стол опущен;
На Фиг. 7 - показана аксонометрия устройства с закрытой поворотной частью, вставленной в диаметральные проставки обсадной трубой и надетым на нее элеватором, подъемный стол поднят, винтовые опоры застопорены;
Основными узлами устройства являются: основание (1) с монтажной плитой (2), подъемный стол (3), гидроцилиндры (4) и винтовые опоры (5).
Основание (1) выполнено сварным, состоящим из двух силовых листов в виде силовой балки с ребрами жесткости, нижний из которых выполняет функцию монтажной плиты (2) для фитингов (6) под резьбу G1/2. На основании крепят гидроцилиндры (4) снабженные гидрозамками (7). Оси «А» гидроцилиндров (4) расположены под углом «γ» относительно вертикальной оси «В». Ось (8) нижней части каждого гидроцилиндра (4) закреплен на опоре (9) основания (1) таким образом, чтобы их оси «А» после монтажа опирались на венец (10) ротора (11) (показан условно), который установлен на устье скважины и показан условно на Фиг. 6 и7. Угол «γ» от вертикальной оси «В» может составлять от 0 до 30 градусов. Монтажная плита (2) основания (1) для лучшего центрирования устройства относительно оси шахты снабжено проточкой диаметром 1080 мм, что обусловлено наличием выступающих поверхностей на венце (10) ротора (11), которые могут быть использования для центрирования. Нижний конец каждой из четырех винтовых опор (5) жестко закреплен на основании (1), упирается в монтажную плиту (2) и снабжен стопорным элементом в виде стопорной гайки (12). На монтажной плите (2) расположены быстроразъемные соединения (БРС) (13), образующая вместе с рукавами высокого давления (РВД) (14) обвязку гидравлической аппаратуры (15). Гидравлическая аппаратура (15) снабжена манометром давления (16) в гидроцилиндрах (4) и указателем силы толкания (17). Подключение к внешней гидравлической станции управления устройством осуществляют посредством РВД (14) с БРС (13) G1/2, а сами гидроцилиндры синхронизируются между собой посредством гидро распределительной аппаратуры (18). Величина хода штока зависит от подобранной грузоподъемности устройства и составляет примерно 500 мм.
Подъемный стол (3) выполнен сварным, состоящим из двух силовых листов, жестко соединенных силовыми элементами, например, в виде шпилек (19). В подъемном столе (3) в нижнем и верхнем силовых листах отверстия (20) для свободного перемещения винтовых опор (5), установленных в основании (1). Длина резьбы рассчитана на величину подъема обсадной колонны (ОК) и составляет в частном случае от 100 до 600 мм. На верхнем силовом листе подъемного стола (3) предусмотрены крепежные элементы верхней части гидроцилидров (4), например в виде проушин, в отверстия (21) которых вставляются оси (22) гидроцилиндров (4) застопоренные, например, штифтами (23). Силовые листы основания (1) и подъемного стола (3) выполнены с выборкой «а», которая обеспечивает прохождение обсадной колонны (ОК). На верхнем силовом листе подъемного стола (3) размещен поворотный элемент (24), например, в виде дверцы с замком (25) закрепленной на петлях (26), которую стопорят пальцем (27). На верхнем силовом листе подъемного стола (3) крепят сменные проставки (28), диаметр которых рассчитан под размер колонны. Расположенные в подъемном столе (3) устройства проставки (28) выполнены с возможностью изменения проходного диаметра под различные типоразмеры обсадной колонны. Наличие комплекта сменных проставок (28) позволяет менять диаметр проходного отверстия в устройстве с возможностью размещения сверху обсадной колонны (29) элеватора (30).
Таким образом, при собранном устройстве и установленном на роторе (11) устья скважины возможно создать усилие толкания посредством гидроцилиндров (4). При этом подъемный стол (3) поднимает обсадную колонну, закрепленную на элеваторе (29). Под необходимый диаметр обсадной колонны подбирают сменные проставки (28). Манометр (16) показывает давление в гидроцилиндрах (4), при этом на указателе отмечены усилия в тс натяжения обсадной колонны. Для длительной выдержки обсадной колонны с необходимым усилием присутствуют винтовые опоры (5) со стопорными гайками (12), при этом с гидроцилиндров (4) снимается нагрузка. Подвод/отвод устройства к/от обсадной колонне осуществляется через открывающуюся дверцу (24), которая блокируется пальцем (27).
Монтаж устройства осуществляется следующим образом.
Стопорные гайки (12) винтовых опор (5) заворачивают вниз до упора. Задвинуть штока гидроцилиндров (4), опустить устройство до упора вниз. Открывают дверцу (24) вытащив палец (25). Заводя обсадную колонну в устройство через открытую дверцу (24) устанавливают устройство на опорную поверхность (10) стола ротора (11), при этом проточка в основании (1) устройства центрирует устройство на опорной поверхности (10) стола ротора (11) относительно центра скважины. Подбирают и устанавливают необходимые сменные проставки (28) по диаметру проходного отверстия для обсадной колонны. Закрывают дверцу (24), зафиксировать её пальцем (25). Опускают элеватор (30) с обсадной колонной (29) на сменные проставки (28) устройства.
Процесс подвешивания обсадной колонны осуществляют следующим образом.
Управляя подачей гидравлической жидкости в гидроцилиндры (4) устройства выполняют подъем устройства на необходимую величину. Величина усилия натяжения обсадной колонны (29) в тонна-силах отображается на шкале указателя силы толкания (17), при этом данную величину усилия F вычисляют исходя из показаний манометра давления (16) в гидроцилиндрах (4) по следующей формуле: F = (P*(S*2))/1000 [тc] где P - давление в гидравлической системе, 250 кг/см2 (исходя из фактических показаний манометра); S - площадь поршня одного гидроцилиндра, см2. Например, при показании манометра давления (16) 100кг/см2, усилие натяжения устройством составит 50,87 тс при площади поршня одного гидроцилиндра, равного 254,34 см2. Гидроцилиндры устройства рассчитывают исходя из технического задания. После достижения необходимого усилия натяжения обсадной колонны, а также при длительном удержании обсадной колонны в подвешенном состоянии снимают нагрузку с гидроцилиндров (4) устройства и задействуют винтовые опоры (5) устройства. Стопорные гайки (12) винтовых опор (5) поднимают вверх до упора. Для опускания подъемного стола (3) вниз создают давление в гидроцилиндрах (4) устройства вращая гайки (12) винтовых опор (5) до упора вниз.
Демонтаж производят в обратной последовательности при отсоединении РВД (14) устройства от внешней гидростанции посредством гидравлической аппаратуры (15), на присоединительные фитинги (6) устройства устанавливают защитные колпачки. В гидроцилиндрах (4) преимущественно используют рабочую жидкость - минеральное масло.
В приведенном примере рабочее давление гидроцилиндров (4) составляет 25 МПа. Тип и диаметр поршня для расчета требуемого тягового усилия гидроцилиндра рассчитывают по наличию на объекте собственной гидростанции с Р=25МПа.
Устройство работает следующим образом.
Устройство для подвешивания обсадной колонны, выполненное сварной металлоконструкцией, состоящей из основания (1) и подъемного стола (3), который поднимают двумя гидроцилиндрами (4) с рабочим давлением 25 МПа, при этом осуществляется синхронизация работы гидроцилиндров (4) посредством гидравлической аппаратуры (15) и гидрораспределительной аппаратуры (18). Укладывают две сменные проставки (28) для изменения диаметра проходного отверстия для обсадной колонны (29).Устройство устанавливается основанием (1) на опорную поверхность (10) стола ротора (11) или на центральную раму буровой площадки буровой установки на устье по центру оси скважины. Устройство подводится к центру оси скважины одновременно с подводом обсадной колонны через открытую дверцу (24) в устройство. В зависимости от установленного диаметра трубы обсадной колонны устанавливают проставки (28) на подъемное основание (3) соответствующие по диаметру. Элеватор (30) с обсадной колонной (29) устанавливают на подъемное основание (3) устройства. Дверцу (24) закрывают и фиксируют пальцем (27). Зафиксированная на элеваторе обсадная колонна на устройстве поднимается (натягивается) подъемным основанием (3) с помощью двух гидроцилиндров (4). Величину силы натяжения обсадной колонны определяют исходя из плана работ по спуску обсадной колонны или по расчетам собственного веса обсадных труб на длине эксплуатируемого участка обсадной колонны. Величина силы натяжения обсадной колонны на устройстве измеряется в тонна-силах.
Таким образом, осуществляют подвешивание и удержание обсадной колонны (29) на опорной поверхности (10) стола ротора (11) в устье скважины во время цементирования обсадной колонны. Операция является технологической операций в процессе строительства скважины.
Перед проведением цементирования обсадной колонны (29) прежде всего осуществляют натяжение обсадной колонны на устье скважины с определенным усилием, чтобы исключить результат влияния различных нагрузок действующих на обсадную колонну в скважине. При этом обсадные колонны подвергаются воздействию различных нагрузок, основными из которых являются: - осевые растягивающие нагрузки от веса колонны; - осевые сжимающие нагрузки от веса части колонны при ее посадке на уступы, башмак, забой; - динамические нагрузки, возникающие при неустановившемся движении колонны; - осевые статические нагрузки от избыточного давления и при изменении температуры; - избыточные наружные и внутренние давления в затрубном пространстве и внутри обсадной колонны; - изгибающие нагрузки из-за искривления колонны в результате потери устойчивости или при нахождении ее в искривленных участках ствола скважины; - при цементировании, когда закачка цементного раствора в обсадную колонну увеличивает растягивающую силу от веса жидкости. Пока происходит цементирование, затвердевание цемента труба-колонна может искривляться. Длина колонн от 3000 м до 7000 м.
Под воздействием нагрузок обсадная колонна отклоняется от вертикальной оси ствола скважины и происходит нарушение прямолинейности обсадных труб от оси ствола скважины. Во время цементирования обсадной колонны такие явления плохо влияют на качество образования кольца цементного камня в затрубном пространстве, так как во время затвердевания цементных и тампонажных смесей важно не допускать перемещений и отклонений обсадной колонны от оси ствола скважины.
Собранную и спущенную в скважину, при этом подвешенную в элеваторе (30) ОК (29), устанавливают вместе с элеватором (30) на стол устройства через открытую заранее боковую дверцу (24). Радиальная проточка в основании устройства выполняет функцию само центрирования относительно оси скважины с точностью +/- 3-5мм.
Размещение ОК на устройстве, обеспечивают без применения дополнительных выкладок, сухарей, плит и других технологических приспособлений. После установки на стол устройства обсадной колонны, штропы талевой системы (не показаны) освобождают от элеватора (30).
Натяжение ОК (29) выполняют после проведения цементирования башмака (башмачной трубы) и затвердевания цементного стакана. После натяжения ОК, устройство с выдвинутым подъемным столом (3) фиксируют механическими винтовыми опорами (5) на столе ротора. Фиксация устройства на винтовых опорах (5) исключает осевое перемещение обсадной колонны относительно оси скважины при проведении цементирования и ожидания затвердевания цемента (ОЗЦ). Величину натяжения определяют в соответствии с технологическими требованиями и расписанной программой спуска-цементирования ОК. Натяжение выполняют гидравлическими цилиндрами (4) и контролируют на манометре (16) с градуировкой в тонна/сил. Манометр установлен в видимой зоне конструкции устройства. Величина хода штоков гидроцилиндров - 0 … 500 мм. Максимальная грузоподъемность устройства - 120 тн/сил. Гидро распределительная аппаратура (ГРА) (18) обеспечивает равномерное распределение масла в цилиндры (4), что определяет их синхронный плавный ход.
При проведении цементирования, натяжения и ОЗЦ талевую систему, буровую лебедку и крюкоблок (Система Верхнего Привода условно не показана) освобождают посредством предложенного устройства от осевой нагрузки и в следствие этого они могут быть отсоединены и/или не применяться.
После полного цементирования и ОЗЦ, снимают нагрузку с подъемного стола (3) устройства, заводят штропы в элеватор (30) и освобождают элеватор от обсадной колонны.
Таким образом, не требуются какие либо подготовительные работы перед подвешиванием для цементирования, обсадная колонна устанавливается на устройство. Для натяжения устройством ОК сначала цементируется хвостовик ОК. После затвердевания зацементированного хвостовика определяют величину натяжения и с помощь устройства достигается величина натяжения. После создания требуемой величины натяжения -устройство фиксируется механически винтовыми опорами на заданной величине до окончания полного процесса цементирование-затвердевание. Данное устройство исключает аварийные случаи отключения силовых устройств, таких как, буровая лебедка, тормозная система буровой лебедки, разгрузка силового верхнего привода во время цементирования ОК или при отключении электроэнергии как от основных источников, так и от вспомогательных источников.
Данное устройство может применяться как при всем жизненном цикле буровой установки, так и на других однотипных установках. Например, когда буровая установка построит ( пробурит) скважину, для того чтобы она не обваливалась, туда спускают колонну(трубу) и цементируют ее.
Устройство обеспечивает контроль натяжения обсадной колонны, что улучшает качество образования кольца цементного камня в затрубном пространстве при проведении цементирования обсадной колонны (технологической операции в процессе строительства скважины).
Описываемое устройство позволяет надежно удерживать обсадную колонну элеватором на устье скважины, в результате не требуется использование талевой системы буровой установки. Не требуется применять регулировочных подкладок под элеватор для обеспечения опоры элеватора на стол ротора (центральную раму буровой площадки) и регулирует высоту подъема гидроцилиндрами.
Таким образом, обеспечена возможность подвешивания с необходимой расчетной нагрузкой обсадных колонн (всех или каждой части в отдельности) при цементировании ствола скважины без применения талевой системы; удержание в подвешенном состоянии обсадных колонн и обеспечение расчетного, контролируемого натяжения в растянутом состоянии обсадной колонны для предотвращения деформации колонн при возникающих линейных растяжениях и внешних воздействий на колонну в затрубном пространстве при ее большом весе. Осуществляется предотвращение осевого перемещения колонны на устье при изменении температуры и давления в скважине, при цементировании и ОЗЦ. А также устройство обеспечивает сокращение технологических операций при подготовке и проведении цементирования, ее универсальное применение при различных размерах обсадных колонн, снятие элеватора с ОК без дополнительных технологических операций.
| название | год | авторы | номер документа |
|---|---|---|---|
| МНОГОФУНКЦИОНАЛЬНАЯ МНОГОСТВОЛЬНАЯ БУРОВАЯ УСТАНОВКА | 2009 |
|
RU2507366C2 |
| СПОСОБ И УСТРОЙСТВО ДЛЯ ВЫПОЛНЕНИЯ ОПЕРАЦИЙ В СТВОЛЕ ПОДЗЕМНОЙ СКВАЖИНЫ ПОСРЕДСТВОМ ИСПОЛЬЗОВАНИЯ ГИБКИХ ОБСАДНЫХ ТРУБ | 2006 |
|
RU2378479C2 |
| Агрегат подъемный для ремонта скважин АПРС-32/40 | 2019 |
|
RU2712990C1 |
| БУРОВОЙ ПОЛ ДЛЯ БУРОВОЙ УСТАНОВКИ | 2015 |
|
RU2705686C2 |
| СПОСОБ КРЕПЛЕНИЯ СКВАЖИНЫ ОБСАДНОЙ КОЛОННОЙ | 1992 |
|
RU2054527C1 |
| УСТРОЙСТВО ДЛЯ ПОДВЕСКИ И ГЕРМЕТИЗАЦИИ ПОТАЙНОЙ ОБСАДНОЙ КОЛОННЫ | 2015 |
|
RU2584258C1 |
| Робототехнический комплекс для текущего и капитального ремонта скважин на единой базе | 2019 |
|
RU2736591C1 |
| КОМПЛЕКС ДЛЯ МЕХАНИЗАЦИИ СПУСКО-ПОДЪЕМНЫХ ОПЕРАЦИЙ ПРИ КАПИТАЛЬНОМ И ТЕКУЩЕМ РЕМОНТЕ СКВАЖИН | 2010 |
|
RU2444608C2 |
| Устройство для удержания колонны обсадных труб при цементировании | 1983 |
|
SU1122805A1 |
| СПОСОБ И УСТРОЙСТВО СПУСКА И ЦЕМЕНТИРОВАНИЯ ОБСАДНЫХ КОЛОНН | 2021 |
|
RU2765934C1 |
Устройство относится к нефтяной и газовой промышленности и может быть использовано при строительстве нефтяных и газовых скважин на суше. Устройство для подвешивания и удержания обсадной колонны на устье скважины во время проведения цементирования выполнено в виде сварной конструкции, состоящей из: основания с монтажной плитой, снабженного упором для ориентации относительно оси скважины, подъемного стола с боковой фиксируемой поворотной частью, и сменными проставками под размер колонны, расположенными в подъемном столе устройства и выполненными с возможностью изменения проходного диаметра под обсадную колонну, двух гидроцилиндров, и регулируемых винтовых опор, снабженных каждая стопорными устройствами. Нижние части гидроцилиндров и регулируемых винтовых опор закреплены на основании, верхние части гидроцилиндров закреплены на подъемном столе. В подъемном столе выполнены отверстия для свободного перемещения регулируемых винтовых опор. Стопорное устройство каждой регулируемой винтовой опоры выполнено с возможностью снятия нагрузки с гидроцилиндров и длительной выдержки обсадной колонны посредством восприятия нагрузки от нее на регулируемые винтовые опоры. Технический результат заключается в снятии нагрузки с силовых устройств талевой системы при работе с обсадной колонной при цементировании и ожидании затвердевания цемента. 11 з.п. ф-лы, 7 ил.
1. Устройство для подвешивания и удержания обсадной колонны на устье скважины во время проведения цементирования, выполненное в виде сварной конструкции, состоящей из: основания с монтажной плитой, снабженного упором для ориентации относительно оси скважины, подъемного стола с боковой фиксируемой поворотной частью, и сменными проставками под размер колонны, расположенными в подъемном столе устройства и выполненными с возможностью изменения проходного диаметра под обсадную колонну, двух гидроцилиндров, и регулируемых винтовых опор, снабженных каждая стопорными устройствами, при этом нижние части гидроцилиндров и регулируемых винтовых опор закреплены на основании, верхние части гидроцилиндров закреплены на подъемном столе, при этом в подъемном столе выполнены отверстия для свободного перемещения регулируемых винтовых опор, при этом стопорное устройство каждой регулируемой винтовой опоры выполнено с возможностью снятия нагрузки с гидроцилиндров и длительной выдержки обсадной колонны посредством восприятия нагрузки от нее на регулируемые винтовые опоры.
2. Устройство по п. 1, отличающееся тем, что подъемный стол размещен на основании, снабженном фитингами для подключения к гидравлической станции.
3. Устройство по п. 1, отличающееся тем, что подъемный стол снабжен сменными кольцевыми проставками, состоящими из двух частей, образующих диаметр под размер колонны.
4. Устройство по п. 1, отличающееся тем, что основание снабжено упором в виде диаметральной проточки основания, установленного на роторе в устье скважины, с возможностью центрирования основания по оси скважины.
5. Устройство по п. 1, отличающееся тем, что основание снабжено гидравлической аппаратурой, снабженной обвязкой для подключения к гидравлической станции управления устройством.
6. Устройство по п. 5, отличающееся тем, что гидравлическая аппаратура снабжена обвязкой в виде рукавов высокого давления (РВД) с быстроразъемным соединением (БРС) с резьбой G1/2.
7. Устройство по п. 1, отличающееся тем, что гидроцилиндры выполнены с ходом штока от 0 до 500 мм.
8. Устройство по п. 1, отличающееся тем, что фиксируемая поворотная часть подъемного стола выполнена в виде боковой дверцы с фиксирующим пальцем.
9. Устройство по п. 4, отличающееся тем, что основание снабжено диаметральной проточкой диаметром 1080 мм.
10. Устройство по п. 1, отличающееся тем, что на конструкции устройства установлен манометр с возможностью измерения силы натяжения и грузоподъемности.
11. Устройство по п. 1, отличающееся тем, что гидроцилиндры подключены к внешней гидравлической станции с возможностью обеспечения синхронной работы гидроцилиндров посредством гидрораспределительной аппаратуры.
12. Устройство по п. 1, отличающееся тем, что регулируемые винтовые опоры снабжены каждая стопорными гайками.
| СПОСОБ ПОДВЕСКИ ОБСАДНЫХ КОЛОНН | 1999 |
|
RU2169251C1 |
| СПОСОБ И УСТРОЙСТВО ДЛЯ ВЫПОЛНЕНИЯ ОПЕРАЦИЙ В СТВОЛЕ ПОДЗЕМНОЙ СКВАЖИНЫ ПОСРЕДСТВОМ ИСПОЛЬЗОВАНИЯ ГИБКИХ ОБСАДНЫХ ТРУБ | 2006 |
|
RU2378479C2 |
| Устройство для спуска секций обсадных колонн | 1978 |
|
SU713985A1 |
| WO 2021197915 A1, 07.10.2021 | |||
| US 20200284120 A1, 10.09.2020 | |||
| US 20180274321 A1, 27.09.2018 | |||
| US 20130087346 A1, 11.04.2013. | |||
Авторы
Даты
2024-12-23—Публикация
2024-05-06—Подача