Устройство для переработки диоксида углерода и водорода Российский патент 2024 года по МПК B64G1/48 B01J19/12 B01D53/32 C01B32/40 C01B32/50 C01B3/00 

Описание патента на изобретение RU2832460C1

Изобретение относится к области создания регенерационных физико-химических максимально замкнутых систем жизнеобеспечения экипажа космического аппарата длительного функционирования.

Изобретение может быть также использовано и в других специальных гермообъектах.

Известен общий подход к созданию замкнутой физико-химической системы жизнеобеспечения с подсистемой регенерации воздуха (Б.Г. Гришаенков. Регенерация и кондиционирование воздуха. Основы космической биологии и медицины. Под общ. ред. О.Г. Газенко и М. Кальвина. М: Наука, 1975. Т. 3, С. 70-121; А.С. Гузенберг. Регенерация и кондиционирование воздуха. Космическая биология и медицина. Под общ. ред. О.Г. Газенко, А.И. Григорьева и А.Е. Никогосяна, С.Р. Молера. М.: Наука, 1994. Т. 2, С. 252-296).

Известно техническое решение (RU 2500590 Регенерационная система жизнеобеспечения экипажа космического аппарата. Климарев С.И., Синяк Ю.Е., Гаврилов Л.И. и др. 2013. Также известно техническое решение RU 2809171. Система переработки диоксида углерода и водорода. Климарев С.И., Орлов О.И., Дьяченко А.И. 2023). В этих технических решениях предлагается использовать для переработки диоксида углерода и водорода тлеющий разряд и его комбинацию с СВЧ-разрядом.

Наиболее близким по технической сущности является устройство (плазмотрон) для формирования комбинированного дугового и СВЧ-разряда на смеси аргона и водорода в соотношении 80%/20% соответственно (СВЧ-генераторы плазмы: Физика, техника, применение / В.М. Батенин, И.И. Климовский, Г.В. Лысов, В.Н. Троицкий. М. Энергоатомиздат.1988. С. 118-124).

Для возбуждения комбинированного разряда использовался волноводный плазмотрон, располагавшийся на конце коаксиального плеча волноводно-коаксиального тройника, образованного прямоугольным волноводом с сечением 90×5 мм и коаксиальной линии с сечением 28×10 мм. Одно плечо прямоугольного волновода оканчивалось согласованной нагрузкой, через другое в тройник поступала СВЧ-мощность. Источником СВЧ-энергии служил магнетрон, генерировавший колебания на частоте 2,4 ГГц и позволявший плавно изменять вкладываемую в разряд мощность в диапазоне 0,15-2,5 кВт. Центральный проводник коаксиальной линии водоохлаждаемый, заканчивался съемным наконечником - электродом. Водоохлаждаемый металлический ограничитель диаметром 1,2 см со сменным наконечником служил в качестве второго электрода. Ток дуги в таком комбинированном разряде составлял 5 А, СВЧ-мощность - 0,36 кВт.

К недостаткам такого устройства относятся:

- высокий постоянный ток дуги, вызывающий эрозию металла электродов и попадания его в продукты реакции;

- громоздкость конструкции за счет наличия согласованной нагрузки на конце прямоугольного волновода;

- излишне высокая температура комбинированного разряда, превышающая необходимую для проведения процесса переработки диоксида углерода и водорода с получением в результате реакции оксида углерода и воды;

- высокие энергозатраты.

Техническим результатом предлагаемого изобретения является исключение использования высокого постоянного тока дуги, вызывающего эрозию металла электродов и попадание его в продукты реакции, исключение использования согласованной нагрузки, снижение температуры комбинированного разряда и энергозатрат.

Этот технический результат достигается тем, что в устройстве для переработки диоксида углерода и водорода, включающем СВЧ-генератор, прямоугольный волновод, коаксиальную линию с электродами для формирования разряда, разрядную трубку из радиопрозрачного материала, согласно изобретению используется прямоугольный волновод в виде тора с фланцами для подсоединения верхнего и нижнего плеча коаксиальной линии, напротив ввода СВЧ-энергии расположена разрядная зона с трубкой из радиопрозрачного материала, образованная верхним и нижним плечом коаксиальной линии; верхнее плечо коаксиальной линии предназначено для ввода плазмообразующей смеси газов, а нижнее - для закалки и вывода продуктов реакции; центральный проводник коаксиальной линии в зоне волновода имеет разрыв для формирования тлеющего разряда и снабжен водоохлаждаемыми вольфрамовыми электродами, при этом внутренний проводник верхнего плеча коаксиальной линии электрически изолирован от корпуса устройства с самостоятельным контуром охлаждения, а внутренний проводник нижнего плеча коаксиальной линии электрически связан с корпусом устройства; прямоугольный волновод тора имеет плавный переход от ввода СВЧ-энергии к разрядной зоне за счет равномерного симметричного снижения размера узких стенок прямоугольного волновода.

Изобретение поясняется следующей фигурой.

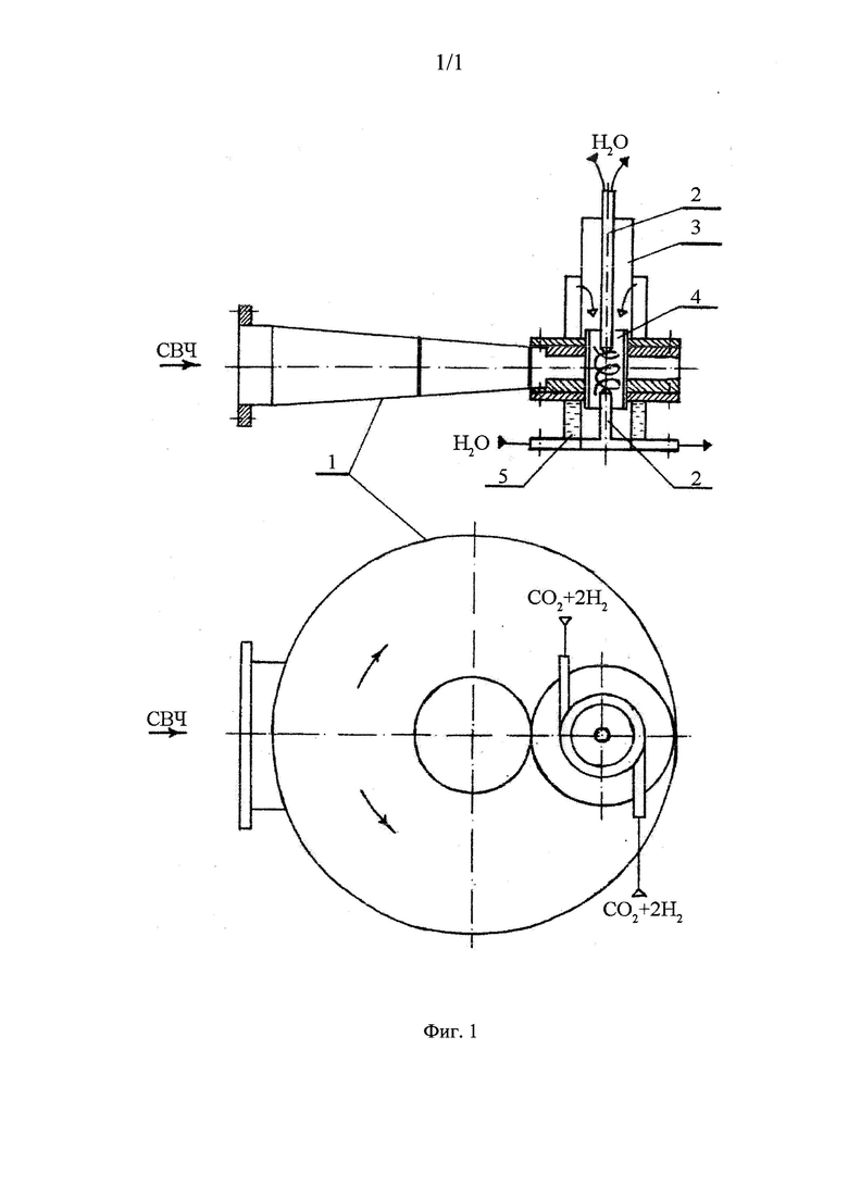
На фиг. 1 показана схема устройства для переработки диоксида углерода и водорода, где: 1 - прямоугольный волновод; 2 - внутренний проводник коаксиальной линии; 3 - верхнее плечо коаксиальной линии; 4 - газоразрядная трубка; 5 - нижнее плечо коаксиальной линии.

В основу конструкции устройства заложен принцип суперпозиции, по которому СВЧ-энергия подводится к газоразрядной трубке с противоположных сторон на двух равных по амплитуде когерентных волнах таким образом, что на оси трубки они синфазны, при этом значение напряженности поля на оси плазменного столба удваивается (СВЧ-генераторы плазмы: Физика, техника, применение / В.М. Батенин, И.И. Климовский, Г.В. Лысов, В.Н. Троицкий. М. Энергоатомиздат.1988. С. 166). В этом случае устройство может представлять собой тор, на оси которого напротив ввода СВЧ-энергии расположена разрядная зона с кварцевой трубкой.

В этом устройстве внутренний проводник 2 коаксиальной линии в зоне волновода 1 имеет разрыв и снабжен вольфрамовыми водоохлаждаемыми электродами, между которыми формируется тлеющий разряд, при этом внутренний проводник 2 верхнего плеча 3 коаксиальной линии изолирован от корпуса, а нижний - электрически связан с корпусом устройства. Внутренний проводник 2 верхнего плеча 3 коаксиальной линии имеет самостоятельный электрически изолированный контур охлаждения дистиллированной водой во избежание шунтирования тлеющего разряда по водопроводной воде.

Устройство для переработки диоксида углерода и водорода работает следующим образом: вначале подается дистиллированная охлаждающая вода во внутренний проводник 2 верхнего плеча 3 коаксиальной линии, затем подается водопроводная вода в нижнее плечо 5 коаксиальной линии, имеющей общий контур охлаждения с внутренним проводником 2 коаксиальной линии; после этого через верхнее плечо 3 коаксиальной линии через штуцеры тангенциально подается смесь диоксида углерода и водорода в соотношении 33,3%/66,6% соответственно; затем формируется тлеющий разряд в межэлектродном промежутке внутреннего проводника 2 коаксиальной линии; после этого по волноводу 1 к разрядной зоне подводится дополнительная СВЧ-мощность, которая накладывается на тлеющий разряд, образуя объемное комбинированное плазмообразование.

Пример осуществления работы устройства для переработки диоксида углерода и водорода в комбинированном тлеющем и СВЧ-разряде.

Устройство представляет собой тор диаметром 200 мм, прямоугольный волновод с исходным сечением 72×34 мм имеет плавный переход на сечение 72×10 мм за счет равномерного симметричного снижения размера узких стенок прямоугольного волновода. Межэлектродный промежуток внутреннего проводника коаксиальной линии имеет разрыв в зоне волновода и составляет ~30 мм в разрядной трубке из кварца с внутренним диаметром 22-23 мм.

В качестве СВЧ-генератора был применен магнетрон типа М105-1 с генерируемой мощностью ~0,8 кВт и воздушным охлаждением. Частота генератора 2,4 ГГц. Для формирования тлеющего разряда использовался регулируемый источник питания ИП 30-50 с интервалом значения тока 30-50 мА и напряжением 15,0 кВ, частота 400 Гц.

При токе тлеющего разряда 30 мА проявляется неустойчивость горения комбинированного разряда, а при токе 50 мА степень превращения диоксида углерода практически не повышается, поэтому было выбрано среднее значение тока тлеющего разряда 40 мА при формировании комбинированного разряда.

Экспериментальные данные по переработке диоксида углерода и водорода в комбинированном тлеющем и СВЧ-разряде сведены в таблицу 1.

Поглощенная в комбинированном разряде мощность определялась калориметрированием воды, охлаждающей элементы конструкции устройства и в холодильнике, подключенном к нижнему плечу коаксиальной линии 5 (условно не показан на Фиг. 1).

Степень превращения диоксида углерода определялась по следующему выражению:

с учетом

,

где а - степень превращения диоксида углерода, %; Vco2 вых - объем диоксида углерода на выходе из устройства, л; Vco2 вх - объем диоксида углерода на входе в устройство, л; Vн2 вх - объем водорода на входе в устройство, л; V вых - объем смеси газов на выходе из устройства, л; Vco2 непрореаг., Vн2 непрореаг. - объем непрореагировавшего диоксида углерода и водорода, л.

Таким способом удалось сформировать комбинированный тлеющий и СВЧ-разряд при атмосферном давлении с преобладанием в газовой смеси водорода (66,6%), при этом подводимая в комбинированный разряд мощность составляла для тлеющего разряда ~0,1 кВт, а СВЧ - ~0,8 кВт. Таким образом, при суммарной подводимой мощности ~0,9 кВт, суммарном расходе диоксида углерода и водорода 45 л/мин достигается максимальная степень превращения диоксида углерода 80% при поглощенной водой мощности в холодильнике 0,672 кВт, т.е. КПД составляет ~75%.

Использование устройства для переработки диоксида углерода и водорода до оксида углерода и воды в комбинированном тлеющем и СВЧ-разряде является новым техническим решением и применяется впервые.

В этом же едином устройстве можно перерабатывать диоксид углерода и водород только в тлеющем разряде при осесимметричной подаче исходных реагентов, что позволяет адаптивно использовать устройство в зависимости от количества членов экипажа космического аппарата, что также является новым техническим решением.

Таким образом, применение предлагаемого устройства позволяет:

- снизить ток электрической дуги до минимальных значений, соответствующих тлеющему разряду, (до 40 мА), что позволяет снизить эрозию металла электродов и попадания их в продукты реакции (воду);

- исключить использование согласованной нагрузки за счет оптимизации конструкции устройства в форме тора;

- за счет использования комбинированного тлеющего и СВЧ-разряда температура проведения процесса переработки диоксида углерода и водорода снизилась до оптимальной, что подтверждает высокая степень превращения диоксида углерода за один проход газовой смеси с водородом - 80% и КПД 75%;

- комбинация тлеющего и СВЧ-разряда позволяет снизить затраты энергии до минимального уровня для данного типа устройства.

Следует особо подчеркнуть, что при использовании только СВЧ-энергии разряд сформировать при концентрации водорода 30 и 60% даже при подводимой СВЧ-мощности до 5 кВт не удается (СВЧ-генераторы плазмы: Физика, техника, применение / В.М. Батенин, И.И. Климовский, Г.В. Лысов, В.Н. Троицкий. М. Энергоатомиздат.1988. С. 117).

Предложенное устройство для переработки диоксида углерода и водорода может быть использовано в системе (RU 2809171. Система переработки диоксида углерода и водорода. Климарев С.И., Орлов О.И., Дьяченко А.И. 2023) при создании, например, инопланетных баз.

Похожие патенты RU2832460C1

название год авторы номер документа
СВЧ ПЛАЗМЕННЫЙ КОНВЕРТОР 2013
  • Жерлицын Алексей Григорьевич
  • Шиян Владимир Петрович
  • Канаев Геннадий Григорьевич
RU2522636C1
УСТРОЙСТВО ДЛЯ ПЛАЗМОХИМИЧЕСКОЙ КОНВЕРСИИ УГЛЕВОДОРОДНОГО ГАЗА 2009
  • Жерлицын Алексей Григорьевич
  • Медведев Юрий Васильевич
  • Шиян Владимир Петрович
  • Королев Юрий Дмитриевич
  • Франц Олег Борисович
RU2393988C1
Плазмохимический реактор 2024
  • Жерлицын Алексей Григорьевич
  • Корженко Дмитрий Владимирович
  • Шиян Владимир Петрович
RU2834775C1
Способ и устройство для обеззараживания и нагрева жидкостей 2018
  • Климарев Сергей Иванович
  • Григорьев Анатолий Иванович
  • Синяк Юрий Емельянович
RU2694034C1
СПОСОБ ПОЛУЧЕНИЯ ВОДОРОДА ПРЯМЫМ ПИРОЛИЗОМ ПРИРОДНОГО ГАЗА И УСТРОЙСТВО ДЛЯ ЕГО ОСУЩЕСТВЛЕНИЯ 2023
  • Жерлицын Алексей Григорьевич
  • Жерлицын Андрей Алексеевич
  • Корженко Дмитрий Владимирович
  • Шиян Владимир Петрович
  • Смирнов Алексей Павлович
RU2825730C1
Стерилизатор воды непрерывного действия 2021
  • Климарев Сергей Иванович
  • Григорьев Анатолий Иванович
  • Дьяченко Александр Иванович
RU2779942C1
СВЧ-плазмотрон и способ генерации плазмы 2023
  • Берестенко Виктор Иванович
  • Любушкина Татьяна Александровна
  • Морозов Александр Олегович
  • Ахременко Борис Вадимович
  • Прокопенко Александр Валерьевич
RU2826447C1
Устройство для получения метано-водородного топлива из углеводородного газа 2020
  • Жерлицын Алексей Григорьевич
  • Корженко Дмитрий Владимирович
  • Маслов Алексей Станиславович
  • Негруль Владимир Вячеславович
  • Шиян Владимир Петрович
  • Ямкин Александр Владимирович
RU2755267C1
УСТРОЙСТВО ДЛЯ ПОЛУЧЕНИЯ УГЛЕРОДА И ВОДОРОДА ИЗ УГЛЕВОДОРОДНОГО ГАЗА 2008
  • Жерлицын Алексей Григорьевич
  • Шиян Владимир Петрович
  • Медведев Юрий Васильевич
RU2390493C1
СВЧ-ПЛАЗМОХИМИЧЕСКИЙ РЕАКТОР 2000
  • Леонтьев И.А.
  • Лысов Г.В.
  • Кудряшов О.Ю.
RU2225684C2

Иллюстрации к изобретению RU 2 832 460 C1

Реферат патента 2024 года Устройство для переработки диоксида углерода и водорода

Предлагаемое изобретение относится к области систем жизнеобеспечения экипажа космического аппарата, а также к устройствам для переработки диоксида углерода и водорода. Устройство содержит СВЧ-генератор, прямоугольный волновод в виде тора с фланцами для подсоединения верхнего и нижнего плеча коаксиальной линии, коаксиальную линию с электродами для формирования разряда, разрядную трубку из радиопрозрачного материала. Центральный проводник коаксиальной линии в зоне волновода имеет разрыв для формирования тлеющего разряда и снабжен водоохлаждаемыми вольфрамовыми электродами. Внутренний проводник верхнего плеча коаксиальной линии электрически изолирован от корпуса устройства с самостоятельным контуром охлаждения. Внутренний проводник нижнего плеча коаксиальной линии электрически связан с корпусом устройства. Прямоугольный волновод имеет плавный переход от ввода СВЧ-энергии к разрядной зоне за счет равномерного симметричного снижения размера узких стенок прямоугольного волновода. Достигается исключение использования высокого постоянного тока дуги, вызывающего эрозию металла электродов и попадание его в продукты реакции, исключение использования согласованной нагрузки, снижение температуры комбинированного разряда и энергозатрат. 1 табл., 1 ил.

Формула изобретения RU 2 832 460 C1

Устройство для переработки диоксида углерода и водорода, включающее СВЧ-генератор, прямоугольный волновод, коаксиальную линию с электродами для формирования разряда, разрядную трубку из радиопрозрачного материала, отличающееся тем, что в устройстве используется прямоугольный волновод в виде тора с фланцами для подсоединения верхнего и нижнего плеча коаксиальной линии, напротив ввода СВЧ-энергии расположена разрядная зона с трубкой из радиопрозрачного материала, образованная верхним и нижним плечом коаксиальной линии; верхнее плечо коаксиальной линии предназначено для ввода плазмообразующей смеси газов, а нижнее - для закалки и вывода продуктов реакции; центральный проводник коаксиальной линии в зоне волновода имеет разрыв для формирования тлеющего разряда и снабжен водоохлаждаемыми вольфрамовыми электродами, при этом внутренний проводник верхнего плеча коаксиальной линии электрически изолирован от корпуса устройства с самостоятельным контуром охлаждения, а внутренний проводник нижнего плеча коаксиальной линии электрически связан с корпусом устройства; прямоугольный волновод тора имеет плавный переход от ввода СВЧ-энергии к разрядной зоне за счет равномерного симметричного снижения размера узких стенок прямоугольного волновода.

Документы, цитированные в отчете о поиске Патент 2024 года RU2832460C1

Система переработки диоксида углерода и водорода 2023
  • Климарев Сергей Иванович
  • Орлов Олег Игоревич
  • Дьяченко Александр Иванович
RU2809171C1
СПОСОБ ПОЛУЧЕНИЯ УГЛЕРОДА ИЗ УГЛЕКИСЛОГО ГАЗА И УСТАНОВКА ДЛЯ ЕГО РЕАЛИЗАЦИИ 2022
  • Дзитоев Азамат Миронович
  • Горбушин Андрей Леонидович
  • Карнаух Александр Сергеевич
  • Карнаух Алексей Сергеевич
  • Херувимчик Евгений Александрович
RU2784721C1
Газохимическая установка производства водорода с кислородным сжиганием топлива и улавливанием диоксида углерода 2021
  • Киндра Владимир Олегович
  • Рогалев Андрей Николаевич
  • Комаров Иван Игоревич
  • Осипов Сергей Константинович
  • Злывко Ольга Владимировна
RU2772204C1
US 10297849 B2, 21.05.2019
СПОСОБ ПОЛУЧЕНИЯ КОНСЕРВОВ "РЫБНЫЕ КОТЛЕТЫ В ТОМАТНОМ СОУСЕ" 2011
  • Квасенков Олег Иванович
RU2459481C1

RU 2 832 460 C1

Авторы

Климарев Сергей Иванович

Дьяченко Александр Иванович

Даты

2024-12-24Публикация

2024-03-13Подача