Область техники
Устройство относится к авиационной технике, конкретно к воздухозаборникам.
Уровень техники
Основными элементами, увеличивающими подъемную силу крыла, являются регулируемые закрылки, предкрылки и неуправляемые законцовки. Предлагаются другие устройства и способы создания дополнительной подъемной силы, приводящие в том числе к сокращению длины пробега при взлете. Одни за счет совершенствования механизмом управления закрылками [1], с новыми конструктивными элементами, другие за счет воздействия на слои воздуха вблизи крыла. Так, в работе [2] предлагается распылять жидкий азот над фюзеляжем и крыльями для понижения над ними давления. Это требует дополнительного оборудования, что увеличивает вес летательного аппарата. В работе [3], предлагается устанавливать под крылом на передней его части щиток для регулирования набегающего воздушного потока с целью изменения давления над или под крылом в зависимости от угла атаки. Конструктивное вмешательство в важнейшую часть крыла, формирующую подъемную силу, требует глубоких исследований. Другим способом понижения давления над верхней поверхностью летательного аппарата является использование струи газа от двигателя [4] или от компрессора [5] для обдува верхней части крыла и фюзеляжа. Применение предлагаемых устройств значительно увеличит вес летательного аппарата. Есть варианты [6], [7] отсоса воздуха через отверстия в верхней поверхности крыла с последующей подачей его в воздухозаборник двигателя и сброса выходящих из двигателя газов под нижнюю поверхность крыла. Это сопряжено с ухудшением аэродинамических и прочностных характеристик крыла. В изобретении [8] предложено устройство, принятое за прототип, состоящее из системы жалюзи, распложенных в верхней части крыла. Часть из них соединена с воздуховодом, а вторая часть с соплом двигателя. Наличие жалюзи увеличивает аэродинамическое сопротивление самолета. При определенных углах атаки может нарушить снабжение двигателя необходимым количеством воздуха. Сложной и ответственной является система управления жалюзи и заслонками воздухозаборника. Создание простого и надежного устройства, увеличивающего подъемную силу летательного аппарата, является актуальной задачей.
Раскрытие изобретения
Технической проблемой, решаемой настоящим изобретением, является создание контура входного отверстия воздухозаборника, который при работе двигателя создает воздушные потоки вдоль верхней поверхности летательного аппарата, способствующие понижению давления над аппаратом и, соответственно, увеличению его подъемной силы, позволяющей сократить длину пробега при взлете или увеличить его грузоподъемность. Сущность изобретения заключается в том, что воздухозаборник двигателя летательного аппарата состоит из трубы, контур входного отверстия которой имеет наклон к плоскости перпендикулярной оси трубы больше угла атаки, допустимого для летательного аппарата, а выходное отверстие трубы совпадает или сопряжено с входным отверстием двигателя, контур входного отверстия размещается над верхней поверхностью летательного аппарата, нижняя часть контура входного отверстия - ближайшая к верхней поверхности летательного аппарата, имеет наименьшее удаление от входа в двигатель.
Есть вариант, что корпус воздухозаборника с помощью механизма перемещается вдоль двигателя.
В отличие от существующих решений, предлагаемое устройство обладает простой и надежной конструкцией на базе уже имеющейся части летательного аппарата.
Краткое описание чертежей.
На фиг. 1 представлен прототип устройства.
На фиг. 2 показан заявленный воздухозаборник с двигателями самолета.
На фиг. 3 показан вид сверху на самолет с двигателями, снабженными заявленным воздухозаборником.
На фиг. 4 показан вид летательного аппарата с воздухозаборником, сопряженным с двигателем.
На фиг. 5 показан вид сверху на летательный аппарат с воздухозаборниками, сопряженными с двигателями.
Осуществление изобретения
В качестве близкого аналога предлагаемого устройства на фиг. 1 представлен прототип устройства, реализующего способ создания пониженного давления над крылом самолета. Для этого на верхней плоскости основного крыла (1) самолета размещаются управляемые жалюзи (2) для регулирования потоком воздуха, пропускаемого через них и внутреннюю полость крыла в воздухозаборник (6) двигателя (5). Между внутренней полостью крыла и воздухозаборником двигателя установлена синхронизированная с жалюзи управляемая заслонка (7), которая плавно открывает поток воздуха из полости крыла с постепенным открытием жалюзи перед посадкой самолета. Перед взлетом эти действия производят в обратном порядке. В хвостовой части самолета располагаются задние крылья (3), а между основными и задними крыльями и ниже их по бокам самолета устанавливают два турбореактивных двигателя (5). В верхней части сопла двигателя, между воздушной полостью заднего крыла и соплом, под задним крылом установлена управляемая заслонка (4), синхронизированная с жалюзи (2). Выходящие через сопло газы за счет эжекции затягивают через жалюзи воздух с верхней плоскости заднего крыла. Жалюзи ухудшают аэродинамические свойства крыла на больших скоростях. Требуется дополнительное оборудование для регулирования потоками воздуха. Заслонки в воздухозаборнике и в сопловом блоке нарушают газодинамику потоков и ослабляют эффективность работы двигателя.
На фиг. 2 показан заявленный воздухозаборник с двигателями самолета. Один двигатель (5) находится в зоне киля (9), другой в районе крыла (1). Воздухозаборник (6) имеет форму трубы с контуром (12), как вариант, образованным сечением наклонной плоскости и трубы под углом ϕ к плоскости перпендикулярной оси трубы. В районе крыла двигатель (5) с воздухозаборником (6) установлен на опоре (11), расположенной на продолжении части крыла (10). Наклонный контур входного отверстия располагается над верхней поверхностью крыла. Наклонный контур воздухозаборника двигателя у киля располагается над фюзеляжем (8). Такая форма воздухозаборника уменьшает поступление воздуха с верхней зоны над двигателем и увеличивает долю воздуха из области вблизи верхней поверхности летательного аппарата. Это приводит к возникновению более интенсивных и на большей площади потоков воздуха вдоль крыла и фюзеляжа, что снижает давление над ними, увеличивая подъемную силу. С увеличением угла ϕ возрастает подъемная сила. Форма контура может быть другой, но он должен быть наклонным по отношению к оси двигателя. На больших скоростях выдвинутый вперед воздухозаборник может создавать дополнительное аэродинамическое сопротивление. Поэтому с помощью специального механизма по направляющим (на чертеже не показано) он сдвигается вдоль корпуса двигателя в сторону сопла. В настоящее время входное отверстие воздухозаборника делают с углом ϕ, равным или меньше угла атаки. Цель - снизить экранирование нижней частью воздухозаборника поступление воздуха к газотурбинному двигателю на участках взлета и посадки, которые происходят при положительных углах атаки. На фиг. 3 показан вид сверху на самолет с двигателями, снабженными заявленным воздухозаборником. На самолете установлены три двигателя (5) с воздухозаборниками (6). Два за крыльями (1) и один в киле (9).
Воздухозаборники располагаются над верхней поверхностью крыльев и фюзеляжа (8) самолета. Основанием для двигателя за крылом служит участок крыла (10), являющийся его продолжением. Двигатель размещается на опоре (11), позволяющей подбирать зазор между воздухозаборником и крылом. Размещение двигателя с воздухозаборником на крыле на большем расстоянии от корпуса более эффективно для понижения давления над крылом.
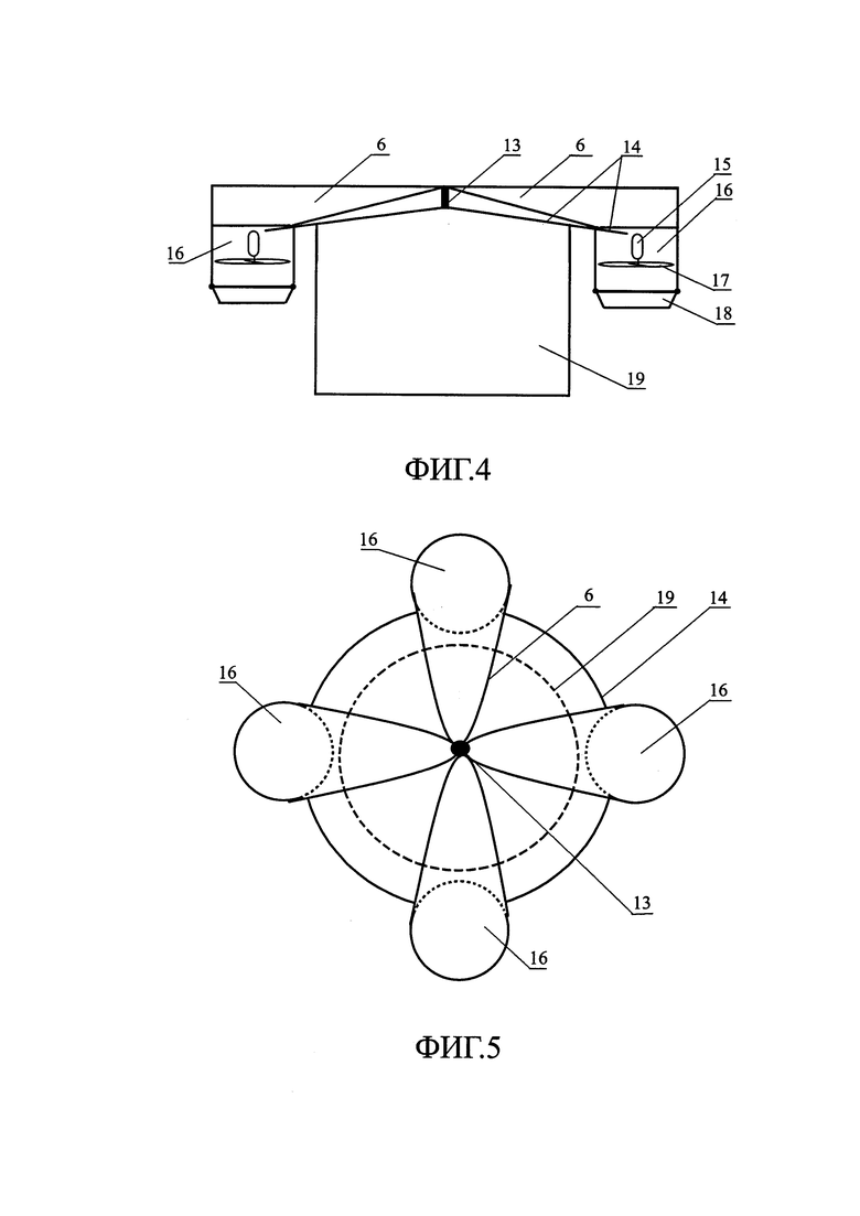
На фиг. 4 показан вид летательного аппарата с воздухозаборником, сопряженным с двигателем. Летательный аппарат, как вариант, состоит из грузового отсека (19), верхней поверхности (14) и вертикально расположенных электровентиляторных двигателей (16). Электродвигатель (15), вращая лопасти вентилятора (17), создает воздушный поток, который, проходя через поворотное сопло (18), создает подъемную силу. Над верхней поверхностью аппарата размещаются цилиндрические воздухозаборники (6) с наклонным контуром входного отверстия. В данном варианте ось воздухозаборника перпендикулярна оси двигателя. Края воздухозаборников крепятся стойкой (13) к верхней поверхности аппарата. Во время работы двигателей такая схема размещения воздухозаборников создает воздушные потоки вдоль верхней поверхности аппарата, что способствует созданию дополнительной подъемной силы.
На фиг. 5 показан вид сверху на летательный аппарат с воздухозаборниками, сопряженными с двигателями. На летательном аппарате вертикально установлены четыре электровентиляторных двигателя (16). Входное отверстие двигателя располагается на уровне верхней поверхности (14) аппарата. Воздух поступает к ним через четыре воздухозаборника (6) с наклонным контуром входного отверстия. Как и в случае с самолетом, за счет наклона контура входного отверстия воздухозаборника над поверхностью (14) рядом с воздухозаборником возникают воздушные потоки вдоль верхней поверхности аппарата, что снижает давление на эту поверхность. Наличие четырех воздухозаборников еще больше понижает давление воздуха на верхнюю поверхность, что способствует росту подъемной силы летательного аппарата и, соответственно, увеличению грузоподъемности.
Ссылки:
1. Патент RU 2438927, заявл. 06.08.2007, опубл. 01.10.2012, заявитель Шлипф Б. Увеличивающая подъемную силу крыла система для летательного аппарата.
2. Патент RU 2647363, заявл. 12.09.2016, опубл. 15.03.2018, заявители Шкилев В.Д., Коржавый А.П., Шкилев Д.В., Голиков А.С. Способ регулирования подъемной силы летательного аппарата.
3. Патент RU 2527628, заявл. 31.07.2012, опубл. 10.02.2014, заявитель Ильин А.В. Способ увеличения подъемной силы, преимущественно крыла летательного аппарата.
4. Патент RU 2670357, заявл. 07.03.2017, опубл. 22.10.2018, заявитель Сушенцев Б.Н. Способ увеличения подъемной силы крыла летательного аппарата от реактивной тяги двухконтурных турбореактивных двигателей со степенью двухконтурности более 2.
5. Патент RU 2620178, заявл. 14.06.2016, опубл. 23.05.2017, заявитель Бабицкий Б.С. Устройство увеличения подъемной силы самолета.
6. Патент RU 2240957, заявл. 08.01.2002, опубл. 20.09.2003, заявитель Письменный В.Л. Способ увеличения подъемной силы крыла.
7. Патент RU 2661005, заявл. 01.11.2016, опубл. 11.07.2018, заявители Шкилев В.Д. Голиков А.С. Коржавый А.П. Способ регулирования подъемной силы летательного аппарата.
8. Патент RU 2534480, заявл. 26.06.2013, опубл. 27.11.2014, заявитель Савченков B.C. Способ увеличения подъемной силы крыла самолета.
Изобретение относится к двигателям летательных аппаратов. Воздухозаборник (6) двигателя (5) летательного аппарата состоит из трубы (12), контур входного отверстия которой имеет наклон к плоскости перпендикулярной оси трубы (12) больше угла атаки, допустимого для летательного аппарата. Выходное отверстие трубы (12) совпадает или сопряжено с входным отверстием двигателя (5). Контур входного отверстия размещается над верхней поверхностью летательного аппарата. Нижняя часть контура входного отверстия - ближайшая к верхней поверхности летательного аппарата, имеет наименьшее удаление от входа в двигатель (5). Достигается повышение подъемной силы и сокращение длины пробега при взлете. 1 з.п. ф-лы, 5 ил.
1. Воздухозаборник двигателя летательного аппарата, состоящий из трубы, контур входного отверстия которой имеет наклон к плоскости перпендикулярной оси трубы больше угла атаки, допустимого для летательного аппарата, а выходное отверстие трубы совпадает или сопряжено с входным отверстием двигателя, контур входного отверстия размещается над верхней поверхностью летательного аппарата, нижняя часть контура входного отверстия - ближайшая к верхней поверхности летательного аппарата, имеет наименьшее удаление от входа в двигатель.
2. Воздухозаборник по п. 1, отличающийся тем, что корпус воздухозаборника с помощью механизма перемещается вдоль двигателя.
| СПОСОБ УВЕЛИЧЕНИЯ ПОДЪЁМНОЙ СИЛЫ КРЫЛА САМОЛЁТА | 2013 |
|
RU2534480C1 |
| Высокоскоростной беспилотный летательный аппарат | 2021 |
|
RU2787906C1 |
| СПОСОБ РАЗМЕЩЕНИЯ ДВИГАТЕЛЯ НА ЛЕТАТЕЛЬНОМ АППАРАТЕ ТИПА "ЛЕТАЮЩЕЕ КРЫЛО" | 2015 |
|
RU2605653C1 |
| US 11098650 B2, 24.08.2021. | |||
Авторы
Даты
2025-01-09—Публикация
2023-11-27—Подача