БИОРЕАКТОР И СПОСОБ МАСШТАБИРОВАНИЯ ПОЛУЧЕНИЯ КЛЕТОК Российский патент 2025 года по МПК C12M1/00 C12M1/12 

Описание патента на изобретение RU2833496C2

[0001] Согласно настоящей заявке испрашивается приоритет в соответствии с предварительной заявкой на выдачу патента США №62/743974, поданной 10 октября 2018 года, которая во всей своей полноте включена в настоящий документ посредством ссылки.

Предшествующий уровень техники настоящего изобретения

[0002] Получение биологических продуктов, в том числе клеток, белков, а также малых и больших химических молекул, становится все более популярным в производстве медицинских, пищевых, промышленных продуктов и продуктов других типов. Единообразие продукта и возможность увеличения масштаба производства, а также легкость адаптации производства к различным местоположениям и средовым условиям являются важными факторами для производства.

[0003] Биореакторы обеспечивают микроклимат для крупномасштабного получения клеток и для получения белков и других молекул из таких клеток. Для многих биореакторов необходимы большие капиталовложения, а также большое физическое пространство. Кроме того, среда в больших биореакторах может отличаться от микроклимата в камерах для выращивания в меньших масштабах и, как следствие, может приводить к формированию неоптимальных условий роста и продуцирования. Большой масштаб биореакторов также может затруднять исследование ростовых условий на уровне отдельных клеток. Это может приводить к формированию неоднородности популяций клеток, а также может влиять на качество, степень чистоты и выход биопродуктов, продуцируемых такими клетками.

Сущность настоящего изобретения

[0004] Настоящее изобретения относится к системам, компонентам и способам получения и поддержания клеток, а также получения и выделения клеток и продуктов, производимых такими клетками. С помощью представленных в настоящем документе систем, компонентов и способов можно решить вопросы, относящиеся к масштабу, затратам, эффективности и единообразия.

[0005] Согласно одному аспекту, настоящее изобретение относится к биореактору, имеющему ввод, выполненный с возможностью приема множества клеток; множество минимодулей, сообщающихся по текучей среде с вводом, причем минимодуль из множества минимодулей имеет структуру двойного гироида или структуру модифицированного двойного гироида, причем множество минимодулей связаны между собой по текучей среде с образованием по меньшей мере одного микроканала, выполненного с возможностью пропускать поток из множества клеток; и вывод, сообщающийся по текучей среде с множеством минимодулей, причем вывод выполнен с возможностью направления множества клеток или их производных по меньшей мере из одного микроканала.

[0006] В соответствии с некоторыми вариантами осуществления, минимодули соединены между собой таким образом, чтобы образовывались по меньшей мере два неперекрывающихся микроканала, каждый из которых имеет постоянную среднюю кривизну. В соответствии с некоторыми вариантами осуществления, первый микроканал по меньшей мере из двух неперекрывающихся микроканалов выполнен с возможностью протекания жидкой среды, и при этом второй микроканал по меньшей мере из двух неперекрывающихся микроканалов выполнен с возможностью протекания газового состава. В соответствии с некоторыми вариантами осуществления, по меньшей мере по двум неперекрывающимся микроканалам подают жидкость. В соответствии с некоторыми вариантами осуществления, по меньшей мере два неперекрывающихся микроканала разделены пористой мембраной. В соответствии с некоторыми вариантами осуществления, площадь первого микроканала эквивалентна площади второго микроканала, и причем площадь пористой мембраны представляет собой сумму площадей первого и второго микроканалов. В соответствии с некоторыми вариантами осуществления, множество минимодулей собраны в макроструктуру. В соответствии с некоторыми вариантами осуществления, макроструктура выбрана из группы, состоящей из пирамиды, полой пирамиды, ламеллярной пирамиды, ламеллы, шахматной структуры и бревенчатой структуры. В соответствии с некоторыми вариантами осуществления, множество минимодулей расположены слоями в макроструктуре, и причем слои выполнены так, чтобы скорость жидкой среды в каждом слое была по существу одинаковой. В соответствии с некоторыми вариантами осуществления, множество минимодулей расположены слоями в макроструктуре, и причем слои выполнены так, чтобы скорость жидкой среды в каждом слое варьировала среди различных слоев. В соответствии с некоторыми вариантами осуществления, жидкая среда, протекающая по меньшей мере по одному микроканалу, имеет скорость, превышающую скорость свободного падения клетки, переносимой потоком по меньшей мере по одному микроканалу. В соответствии с некоторыми вариантами осуществления, биореактор дополнительно содержит ввод для газа в основании макроструктуры и вывод для газа в верхней части макроструктуры. В соответствии с некоторыми вариантами осуществления, биореактор дополнительно содержит ввод для клеток в верхней части макроструктуры, выполненный с возможностью подачи множества клеток, и устройство для сбора клеток в основании макроструктуры, выполненное с возможностью сбора множества клеток. В соответствии с некоторыми вариантами осуществления, биореактор дополнительно содержит устройство для введения жидкой среды, выполненное с возможностью подачи потока жидкой среды в каждый слой множества минимодулей. В соответствии с некоторыми вариантами осуществления, объем жидкой среды, подаваемый устройством для подачи жидкой среды в каждый слой, поддерживает по существу постоянную плотность клеток в каждом из слоев. В соответствии с некоторыми вариантами осуществления, скорость жидкой среды через каждый минимодуль определяется скоростью деления клеток, так чтобы время прохождения клетками одного минимодуля или слоя минимодулей по существу было равно скорости деления клеток или пропорционально скорости деления клеток. В соответствии с некоторыми вариантами осуществления, биореактор соединен с модулем с контролируемой средой. В соответствии с некоторыми вариантами осуществления, биореактор соединен с модулем по типу клеточного чипа.

[0007] Согласно другому аспекту, настоящее изобретение относится к системам для получения клеток, содержащим первый модуль, содержащий клеточный чип, выполненный с возможностью содержания множества клеток; второй модуль, сообщающийся по текучей среде с первым модулем, причем второй модуль содержит биореактор с контролируемой средой, выполненный с возможностью (i) взаимодействия с клеточным чипом, (ii) направления подмножества клеток из множества клеток в различные сегменты, причем условия роста клеток в различных сегментах являются индивидуально конфигурируемыми, и (iii) периодического задания набора условий роста для множества клеток; и третий модуль, сообщающийся по текучей среде с первым модулем и вторым модулем, причем третий модуль содержит биореактор, выполненный с возможностью (i) взаимодействия со вторым модулем, (ii) получения подмножества клеток и (iii) создания копий подмножества клеток в наборе условий роста.

[0008] В соответствии с некоторыми вариантами осуществления, первый, второй и третий модули связаны друг с другом по текучей среде. В соответствии с некоторыми вариантами осуществления, система дополнительно содержит насос, соответствующий каждому модулю, причем насос выполнен с возможностью подачи жидкой среды с определенной скоростью потока или определенным давлением для соответствующего модуля. В соответствии с некоторыми вариантами осуществления, насос представляет собой поршневой насос, перистальтический насос или нагнетательный насос. В соответствии с некоторыми вариантами осуществления, система дополнительно содержит компонент, выбранный из группы, состоящей из блока для составления культуральных сред, электропоратора, резервуара, насоса, датчика пузырьков газа, отвода для пузырьков газа и их комбинаций. В соответствии с некоторыми вариантами осуществления, система дополнительно содержит по меньшей мере один датчик. В соответствии с некоторыми вариантами осуществления, по меньшей мере один датчик представляет собой встроенный датчик. В соответствии с некоторыми вариантами осуществления, по меньшей мере один датчик измеряет биологический параметр, физический параметр или химический параметр. В соответствии с некоторыми вариантами осуществления, биологический параметр выбран из группы, состоящей из скорости деления клеток, скорости роста клеток, ответа клеток на стресс, содержания белков в клетках, содержания углеводов в клетках, содержания жиров в клетках и содержания нуклеиновых кислот в клетках. В соответствии с некоторыми вариантами осуществления, физический параметр выбран из группы, состоящей из размера клеток, плотности клеток, скорости потока клеток, скорости потока жидкой среды, скорости смешивания, мутности, температуры и давления. В соответствии с некоторыми вариантами осуществления, химический параметр выбран из группы, состоящей из рН, состава жидкой среды, концентрации отдельного компонента жидкой среды, газового состава и концентрации газа, а также концентрации растворенного газа. В соответствии с некоторыми вариантами осуществления, система дополнительно содержит фотокамерное устройство. В соответствии с некоторыми вариантами осуществления, фотокамерное устройство выполнено с возможностью подсчета клеток, выходящих из вывода у биореактора с контролируемой средой или указанного биореактора. В соответствии с некоторыми вариантами осуществления, фотокамерное устройство выполнено с возможностью сбора информации по меньшей мере об одном дополнительном параметре, связанном с отдельными клетками, выходящими из вывода по меньшей мере у одного модуля биореактора, и причем такой биологический параметр представляет собой биологический, химический или физический признак клетки.

[0009] Согласно другому аспекту, настоящее изобретение относится к модулю по типу клеточного чипа, имеющему слоистую структуру, содержащую по меньшей мере один контур циркуляции жидкости; зону для удерживания клеток, сообщающуюся по текучей среде по меньшей мере с одним контуром циркуляции жидкости, причем зона для удерживания клеток содержит по меньшей мере один первый уловитель, выполненный с возможностью удерживать множество клеток; входное отверстие, сообщающееся по текучей среде со слоистой структурой и выполненное с возможностью введения жидкой среды в зону для удерживания клеток; и выходное отверстие, сообщающееся по текучей среде со слоистой структурой и выполненное с возможностью сбора отработанной и избыточной среды и клеток.

[0010] В соответствии с некоторыми вариантами осуществления, по меньшей мере один контур циркуляции жидкости выполнен с возможностью протекания по нему газа в зону для удерживания клеток. В соответствии с некоторыми вариантами осуществления, по меньшей мере один контур циркуляции жидкости выполнен с возможностью протекания по нему жидкой среды в зону для удерживания клеток. В соответствии с некоторыми вариантами осуществления, по меньшей мере один уловитель содержит всасывающий уловитель. В соответствии с некоторыми вариантами осуществления, по меньшей мере один уловитель содержит клапанный уловитель. В соответствии с некоторыми вариантами осуществления, зона для удерживания клеток дополнительно содержит второй уловитель. В соответствии с некоторыми вариантами осуществления, второй уловитель представляет собой переливный уловитель. В соответствии с некоторыми вариантами осуществления, по меньшей мере один уловитель и второй уловитель расположены последовательно друг за другом. В соответствии с некоторыми вариантами осуществления, зона для удерживания клеток содержит по меньшей мере один клапанный уловитель и два или более переливных уловителей. В соответствии с некоторыми вариантами осуществления, модуль по типу клеточного чипа дополнительно содержит одну или более клеток в режиме хранения. В соответствии с некоторыми вариантами осуществления, режим хранения выбран из клеток, которые высушены, лиофилизированы, заморожены или суспендированы в жидкости. В соответствии с некоторыми вариантами осуществления, модуль по типу клеточного чипа дополнительно содержит один или более физических барьеров для распределения клеток, переносимых потоком через модуль по типу клеточного чипа.

[0011] Согласно другому аспекту, настоящее изобретение относится к модулю биореактора с контролируемой средой, содержащему набор сегментов, причем сегмент в наборе сегментов содержит по меньшей мере два микроканала, выполненные с возможностью транспортировки по меньшей мере одной клетки из одного конца микроканала из числа по меньшей мере двух микроканалов в другой конец микроканала из числа по меньшей мере двух микроканалов, причем один конец микроканала выполнен с возможностью введения жидкой среды и по меньшей мере одной клетки, а другой конец микроканала выполнен с возможностью выведения жидкой среды и по меньшей мере одной клетки, и причем условия роста в данном наборе сегментов являются индивидуально конфигурируемыми.

[0012] В соответствии с некоторыми вариантами осуществления, первый сегмент и второй сегмент из набора сегментов расположены последовательно так, чтобы клетка проходила из микроканала первого сегмента в микроканал второго сегмента. В соответствии с некоторыми вариантами осуществления, микроканал первого сегмента разветвляется на выходном конце по меньшей мере на два микроканала из второго сегмента, причем данные по меньшей мере два микроканала расположены в параллельной конфигурации так, чтобы вывод клеток из первого сегмента входил в один по меньшей мере из двух микроканалов, а другой вывод клеток из первого сегмента входил в другой по меньшей мере из двух микроканалов. В соответствии с некоторыми вариантами осуществления, биореактор с контролируемой средой дополнительно содержит первый ввод, выполненный с возможностью подачи жидкой среды в набор сегментов. В соответствии с некоторыми вариантами осуществления, длина микроканала определяется скоростью деления клеток так, чтобы клетка не делилась ни одного раза, делилась один раз, два раза, три раза, четыре раза, пять раз или более пяти раз в ходе перехода из одного конца микроканала в другой конец микроканала. В соответствии с некоторыми вариантами осуществления, диаметр микроканала определяется размером клеток, скоростью перемешивания проходящей жидкости или их комбинацией. В соответствии с некоторыми вариантами осуществления, биореактор с контролируемой средой дополнительно содержит по меньшей мере один датчик для измерения параметра микроклимата клетки в биореакторе с контролируемой средой. В соответствии с некоторыми вариантами осуществления, биореактор с контролируемой средой дополнительно содержит контроллер, выполненный с возможностью изменения ввода в биореактор с контролируемой средой в ответ на результат измерения, полученный по меньшей мере от одного датчика. В соответствии с некоторыми вариантами осуществления, параметр выбран из группы, состоящей из биологического параметра, физического параметра и химического параметра. В соответствии с некоторыми вариантами осуществления, параметр выбран из группы, состоящей из содержания газа, концентрации газа, рН, оптической плотности и температуры. В соответствии с некоторыми вариантами осуществления, параметр выбран из группы, состоящей из скорости деления клеток, плотности клеток, ответа клеток на стресс или клеточного метаболита. В соответствии с некоторыми вариантами осуществления, биореактор с контролируемой средой дополнительно содержит камеру для сбора образцов на выходе из микроканала последнего сегмента в наборе сегментов. В соответствии с некоторыми вариантами осуществления, биореактор с контролируемой средой соединен с модулем по типу клеточного чипа.

[0013] Согласно другому аспекту, настоящее изобретение относится к способу выращивания и хранения клеток, предусматривающему инокуляцию модуля по типу клеточного чипа по меньшей мере одной клеткой, причем модуль по типу клеточного чипа имеет слоистую структуру по меньшей мере с одним контуром циркуляции жидкости, зону для удерживания клеток, сообщающуюся по текучей среде по меньшей мере с одним контуром циркуляции жидкости, входное отверстие, сообщающееся по текучей среде со слоистой структурой, и выходное отверстие, сообщающееся по текучей среде со слоистой структурой; подачу жидкой среды во ввод так, чтобы по меньшей мере одна клетка оставалась в первом уловителе зоны для удерживания клеток; инкубацию клеточного чипа в течение некоторого периода времени в условиях, достаточных для прохождения деления клеток так, чтобы поделившиеся клетки оставались в первом уловителе; после окончания периода времени деления клеток перевод клеток в режим хранения.

[0014] В соответствии с некоторыми вариантами осуществления, режим хранения выбран из группы, состоящей из сушки, лиофилизации, заморозки или суспендирования в жидкости. В соответствии с некоторыми вариантами осуществления, способ дополнительно предусматривает подачу новой жидкой среды во ввод и инкубацию клеточного чипа в течение некоторого периода времени в условиях, позволяющих происходить делению клеток, для реактивации деления клеток. В соответствии с некоторыми вариантами осуществления, за период деления клеток получают достаточное количество клеток, так чтобы достаточное количество клеток выходило из первого уловителя и входило во второй уловитель в модуле по типу клеточного чипа. В соответствии с некоторыми вариантами осуществления, клетки дополнительно инкубируют в течение второго периода времени для деления клеток, и причем за второй период времени получают достаточное количество клеток, так чтобы достаточное количество клеток выходило из второго уловителя и перетекало в вывод из модуля по типу клеточного чипа для сбора. В соответствии с некоторыми вариантами осуществления, клетки из вывода модуля по типу клеточного чипа вводят в связанный с ним модуль с контролируемой средой или модуль биореактора. В соответствии с некоторыми вариантами осуществления, второй уловитель представляет собой всасывающий уловитель или переливный уловитель. В соответствии с некоторыми вариантами осуществления, первый уловитель представляет собой клапанный уловитель или всасывающий уловитель.

[0015] Согласно другому аспекту, настоящее изобретение относится к способам выбора условий роста клеток, предусматривающим введение первой группы клеток в биореактор с контролируемой средой, содержащий набор сегментов, причем сегмент из набора сегментов может быть обособлено изменен; инкубацию первой группы клеток в первом заданном наборе условий роста в первом сегменте из набора сегментов; отслеживание первого параметра у первой группы клеток в первом сегменте; и изменение набора условий роста для создания второго набора условий роста во втором сегменте из набора сегментов в ответ на отслеживание первого параметра в первом сегменте.

[0016] В соответствии с некоторыми вариантами осуществления, первая группа клеток перемещается во второй сегмент, и при этом в первый сегмент вводят вторую группу клеток. В соответствии с некоторыми вариантами осуществления, в биореактор с контролируемой средой первую группу клеток вводят из модуля по типу клеточного чипа. В соответствии с некоторыми вариантами осуществления, реактор с контролируемой средой связан с модулем биореактора. В соответствии с некоторыми вариантами осуществления, в отношении биореактора применяют второй набор условий роста. В соответствии с некоторыми вариантами осуществления, скорость потока клеток из одного конца каждого сегмента в другой конец определяется скоростью деления клеток. В соответствии с некоторыми вариантами осуществления, клетки делятся один раз за период времени, за который клетки проходят из одного конца сегмента в другой конец сегмента. В соответствии с некоторыми вариантами осуществления, поток жидкой среды через каждый сегмент из набора сегментов является ламинарным потоком.

[0017] Согласно другому аспекту, настоящее изобретение относится к способам масштабирования получения клеток, предусматривающим введение множества клеток во ввод биореактора, причем биореактор содержит совокупность минимодулей со структурой двойного гироида или структурой модифицированного двойного гироида, причем минимодули расположены слоями в макроструктуре, имеющей ввод и вывод; введение потока жидкой среды в биореактор; подачу газового состава в биореактор; и сбор множества клеток из вывода; причем множество клеток проходит между минимодулями, и причем такое множество клеток проходит от конца на вводе макроструктуры до конца на выводе макроструктуры.

[0018] В соответствии с некоторыми вариантами осуществления, в ходе прохождения из одного слоя минимодулей в следующий слой минимодулей множество клеток делится в среднем один раз. В соответствии с некоторыми вариантами осуществления, количество жидкой среды, протекающей к каждому слою минимодулей, сохраняет по существу неизменную плотность клеток в каждом слое. В соответствии с некоторыми вариантами осуществления, скорость жидкой среды, протекающей через биореактор, превышает скорость свободного падения клеток. В соответствии с некоторыми вариантами осуществления, множество клеток вводят в биореактор из клеточного чипа или модуля с контролируемой средой. В соответствии с некоторыми вариантами осуществления, часть из множества клеток собирают из конца на выводе из макроструктуры. В соответствии с некоторыми вариантами осуществления, множество клеток продуцирует по меньшей мере один биопродукт, и причем такой биопродукт собирают из конца на выводе из макроструктуры. В соответствии с некоторыми вариантами осуществления, биопродукт выбран из группы, состоящей из малой молекулы, белка, антитела, большой макромолекулы и метаболита.

[0019] Согласно другому аспекту, настоящее изобретение относится к способам получения индивидуализированных клеток, предусматривающим введение клетки выбранного типа в модуль по типу клеточного чипа; выращивание клеток в модуле по типу клеточного чипа; перенос клеток из модуля по типу клеточного чипа в биореактор с контролируемой средой; и выбор по меньшей мере одного условия роста из первого набора условий роста в биореакторе с контролируемой средой для создания второго набора условий роста.

[0020] Согласно другому аспекту, настоящее изобретение относится к способам культивирования клеток, предусматривающим введение множества клеток в биореактор для культивирования адгезивных клеток, содержащий по меньшей мере один канал и микропористую мембрану; обеспечение по меньшей мере для части из множества клеток возможности прикрепиться к поверхности по меньшей мере одного канала так, чтобы по меньшей мере часть из множества клеток реплицировались на поверхности по меньшей мере одного канала с образованием прикрепленных клеток; пропускание потока жидкой среды по меньшей мере из одного канала через микропористую мембрану для (i) промывания прикрепленных клеток, (ii) открепления прикрепленных клеток с получением суспендированных клеток; (iii) промывания суспендированных клеток; и, необязательно, сбор суспендированных клеток.

[0021] В соответствии с некоторыми вариантами осуществления, по меньшей мере один канал содержит материал, подходящий для адгезии по меньшей мере части из множества клеток. В соответствии с некоторыми вариантами осуществления, способ дополнительно предусматривает пропускание потока дополнительной жидкой среды по меньшей мере по одному каналу для (i) подачи культуральной среды с целью обеспечения возможности роста и/или репликации по меньшей мере части из множества клеток, (ii) открепления прикрепленных клеток по меньшей мере от одного канала или (iii) пропускания потока суспендированных клеток по меньшей мере из одного канала в зону для сбора. В соответствии с некоторыми вариантами осуществления, биореактор для культивирования адгезивных клеток сообщается по текучей среде с модулем по типу клеточного чипа, и причем модуль по типу клеточного чипа подает множество клеток в биореактор для культивирования адгезивных клеток. В соответствии с некоторыми вариантами осуществления, биореактор для культивирования адгезивных клеток сообщается по текучей среде с биореактором, и причем биореактор для культивирования адгезивных клеток подает суспендированные клетки в биореактор. В соответствии с некоторыми вариантами осуществления, множество клеток выбрано из группы, состоящей из бактериальных клеток, грибковых клеток, дрожжевых клеток, эукариотических клеток, растительных клеток и водорослевых клеток. В соответствии с некоторыми вариантами осуществления, множество клеток представляют собой рекомбинантные клетки.

[0022] В соответствии с некоторыми вариантами осуществления, способ дополнительно предусматривает выращивание образца клеток выбранного типа в биореакторе со вторым набором условий роста. В соответствии с некоторыми вариантами осуществления, из биореактора собирают клетки выбранного типа или их часть. В соответствии с некоторыми вариантами осуществления, клетка выбранного типа представляет собой Т-клетку с химерным антигенным рецептором (CAR-T), стволовую клетку или дифференцированную клетку. В соответствии с некоторыми вариантами осуществления, клетка выбранного типа продуцирует по меньшей мере один биопродукт, и причем такой биопродукт собирают из биореактора.

[0023] Согласно другому аспекту, настоящее изобретение относится к системе, содержащей множество путей для протекания жидкостей, имеющих по существу постоянное поперечное сечение, причем первый путь для протекания жидкостей из множества путей для протекания жидкостей сообщается по текучей среде со вторым путем для протекания жидкостей из множества путей для протекания жидкостей для обеспечения для газа возможности протекать из первого пути для протекания жидкостей во второй путь для протекания жидкостей с по существу постоянной скоростью по первому пути для протекания жидкостей, и причем первый путь для протекания жидкостей выполнен с возможностью осуществления культивирования клеток.

[0024] В соответствии с некоторыми вариантами осуществления, множество путей для протекания жидкостей характеризуются структурой гироида, структурой двойного гироида, структурой модифицированного двойного гироида, пространственно периодической минимальной поверхностью или их комбинациями.

[0025] Согласно другому аспекту, настоящее изобретение относится к способам обработки множества клеток, предусматривающим: (а) обеспечение наличия биореактора, имеющего (i) ввод, (ii) множество минимодулей, сообщающихся по текучей среде с вводом, причем минимодуль из множества минимодулей имеют структуру двойного гироида или структуру модифицированного двойного гироида, причем множество минимодулей связаны друг с другом по текучей среде с образованием по меньшей мере одного микроканала; и (iii) вывод, сообщающийся по текучей среде с множеством минимодулей; и (b) направление множества клеток во ввод, при этом множество клеток или их производных направляют из ввода по меньшей мере по одному микроканалу к выводу.

[0026] В соответствии с некоторыми вариантами осуществления, биореактор содержит по меньшей мере два микроканала. В соответствии с некоторыми вариантами осуществления, по первому микроканалу по меньшей мере из двух микроканалов пропускают поток жидкой среды. В соответствии с некоторыми вариантами осуществления, по второму микроканалу по меньшей мере из двух микроканалов пропускают поток газового состава. В соответствии с некоторыми вариантами осуществления, по меньшей мере два микроканала разделены пористой мембраной. В соответствии с некоторыми вариантами осуществления, множество минимодулей собраны в макроструктуру.

[0027] В другом аспекте настоящее изобретение относится к способам, предусматривающим создание биореактора, содержащего ввод, выполненный с возможностью приема множества клеток; множество минимодулей, сообщающихся по текучей среде с вводом, причем минимодуль из множества минимодулей имеет структуру двойного гироида или структуру модифицированного двойного гироида, причем множество минимодулей связаны между собой по текучей среде с образованием по меньшей мере одного микроканала, выполненного с возможностью пропускать поток из множества клеток; и вывод, сообщающийся по текучей среде с множеством минимодулей, причем вывод выполнен с возможностью направления множества клеток или их производных по меньшей мере из одного микроканала.

[0028] В соответствии с некоторыми вариантами осуществления, биореактор создают с помощью трехмерной (3-D) печати множества минимодулей.

[0029] В соответствии с некоторыми вариантами осуществления, настоящее изобретение относится к системе для получения клеток, содержащей первый модуль, содержащий клеточный чип, выполненный с возможностью содержания множества клеток; второй модуль, представляющий собой биореактор с контролируемой средой выполненный с возможностью (i) взаимодействия с клеточным чипом, (ii) направления клеток из множества клеток в различные сегменты, причем условия роста клеток в различных сегментах могут быть обособлено изменены, и (iii) периодического задания набора условий роста для множества клеток; и третий модуль представляющий собой производственный биореактор, выполненный с возможностью (i) взаимодействия со вторым модулем, (ii) приема клеток и (iii) создания копий клеток в наборе условий роста.

[0030] В соответствии с некоторыми вариантами осуществления, первый, второй и третий модули системы функционально взаимосвязаны. В соответствии с некоторыми вариантами осуществления, система дополнительно содержит насос, соответствующий каждому модулю, причем насос подает жидкую среду с определенной скоростью потока или определенным давлением для соответствующего модуля. В соответствии с некоторыми вариантами осуществления, насос представляет собой поршневой насос, перистальтический насос или нагнетательный насос.

[0031] Настоящее изобретение также относится к таким системам, которые дополнительно содержат компонент, выбранный из группы, состоящей из блока для составления культуральных сред, электропоратора, резервуара, насоса, датчика пузырьков газа, отвода для пузырьков газа и их комбинаций. В соответствии с некоторыми вариантами осуществления, система также включает по меньшей мере один датчик, такой как встроенный датчик. В соответствии с некоторыми вариантами осуществления, по меньшей мере один датчик измеряет биологический параметр, физический параметр или химический параметр, куда могут относиться, например, биологический параметр, выбранный из группы, состоящей из скорости деления клеток, скорости роста клеток, ответа клеток на стресс, содержания белков в клетках, содержания углеводов в клетках, содержания жиров в клетках и содержания нуклеиновых кислот в клетках; физический параметр, выбранный из группы, состоящей из размера клеток, плотности клеток, скорости потока клеток, скорости потока жидкой среды, скорости смешивания, мутности, температуры и давления; химический параметр, выбранный из группы, состоящей из рН, состава жидкой среды, концентрации отдельного компонента жидкой среды, газового состава и концентрации газа, а также концентрации растворенного газа; и их комбинаций.

[0032] Настоящее изобретение относится к таким системам, которые дополнительно содержат фотокамерное устройство. В соответствии с некоторыми вариантами осуществления, фотокамерное устройство производит подсчет клеток, выходящих из вывода биореактора с контролируемой средой или производственного биореактора. В соответствии с некоторыми вариантами осуществления, фотокамерное устройство производит сбор информации по меньшей мере об одном дополнительном параметре, связанном с отдельными клетками, выходящими из вывода по меньшей мере у одного модуля биореактора, причем такой биологический параметр представляет собой биологический, химический или физический признак клетки.

[0033] Также настоящее изобретение, в соответствии с некоторыми вариантами осуществления, относится к модулю по типу клеточного чипа, содержащему зону для удерживания клеток, содержащей по меньшей мере один первый уловитель для удерживания клеток и необязательно по меньшей мере один второй уловитель для удержания клеток; входное отверстие, выполненное с возможностью введения жидкой среды в зону для удерживания клеток; и выходное отверстие, выполненное с возможностью сбора отработанной или избыточной среды и клеток. В соответствии с некоторыми вариантами осуществления, первый уловитель может представлять собой всасывающий уловитель, клапанный уловитель, переливный уловитель или их комбинацию. В соответствии с некоторыми вариантами осуществления, первый уловитель и второй уловитель расположены последовательно друг за другом. В соответствии с некоторыми вариантами осуществления, модуль по типу клеточного чипа включает по меньшей мере один клапанный уловитель и два или более переливных уловителей. В соответствии с некоторыми вариантами осуществления, модуль по типу клеточного чипа может включать один или более физических барьеров для распределения клеток, переносимых потоком через модуль.

[0034] В соответствии с некоторыми вариантами осуществления, модуль по типу клеточного чипа дополнительно содержит одну или более клеток в режиме хранения, которые могут представлять собой, например, клетки, которые высушены, лиофилизированы, заморожены или суспендированы в жидкости.

[0035] Настоящее изобретения, в соответствии с некоторыми вариантами осуществления, относится к модулю биореактора с контролируемой средой, содержащему набор сегментов, причем сегмент из набора сегментов содержит по меньшей мере один микроканал, выполненный с возможностью транспортировки клетки из одного конца микроканала в другой конец микроканала, и причем один конец микроканала выполнен с возможностью введения жидкой среды и по меньшей мере одной клетки, а другой конец микроканала выполнен с возможностью выведения жидкой среды и по меньшей мере одной клетки.

[0036] В соответствии с некоторыми вариантами осуществления биореактора с контролируемой средой, первый сегмент и второй сегмент расположены последовательно так, чтобы клетка проходила из одного из микроканалов первого сегмента в один из микроканалов второго сегмента. В соответствии с некоторыми вариантами осуществления, микроканал первого сегмента разветвляется на выходном конце по меньшей мере на два микроканала из второго сегмента, причем данные два микроканала расположены в параллельной конфигурации так, чтобы вывод клеток из первого сегмента входил в один по меньшей мере из двух микроканалов, а другой вывод клеток из первого сегмента входил в другой по меньшей мере из двух микроканалов.

[0037] В соответствии с некоторыми вариантами осуществления, биореактор с контролируемой средой дополнительно включает первый ввод, подходящих для подачи жидкой среды в сегменты. В соответствии с некоторыми вариантами осуществления, длина каждого микроканала в биореакторе с контролируемой средой определяется скоростью деления клеток так, чтобы клетка не делилась ни одного раза, делилась один раз, два раза, три раза, четыре раза, пять раз или более пяти раз в ходе их перехода из одного конца микроканала в другой конец микроканала. В соответствии с некоторыми вариантами осуществления, диаметр каждого микроканала определяется размером клеток, скоростью перемешивания проходящей жидкости или их комбинацией.

[0038] В соответствии с некоторыми вариантами осуществления, биореактор с контролируемой средой включает по меньшей мере один датчик для измерения параметра микроклимата клетки в биореакторе и, необязательно, контроллер для изменения ввода в биореактор в ответ на результат измерения, полученный по меньшей мере от одного датчика. В соответствии с некоторыми вариантами осуществления, датчик измеряет параметр, такой как биологический параметр, физический параметр и/или химический параметр, такой как содержание газа, концентрация газа, рН, оптическая плотность, температура, скорость деления клеток, плотность клеток, ответ клеток на стресс, клеточный метаболит или их комбинации.

[0039] В соответствии с некоторыми вариантами осуществления, биореактор с контролируемой средой включает камеру для сбора образцов на выходе из микроканалов последнего сегмента в наборе сегментов. В соответствии с некоторыми вариантами осуществления, биореактор с контролируемой средой соединен с модулем по типу клеточного чипа, таким как любой из описанных в настоящем документе модулей по типу клеточного чипа.

[0040] Настоящее изобретения, в соответствии с некоторыми вариантами осуществления, относится к производственному биореактору, содержащему множество минимодулей, причем каждый из множества минимодулей имеет форму или структуру двойного гироида, и причем множество минимодулей соединены друг с другом, образуя микроканалы. В соответствии с некоторыми вариантами осуществления, соединение минимодулей друг с другом создает два неперекрывающихся канала, каждый из которых имеет постоянную среднюю кривизну. В соответствии с некоторыми вариантами осуществления, по одному микроканалу производственного биореактора подают жидкую среду и при этом по второму микроканалу подают газовый состав. В соответствии с некоторыми вариантами осуществления, по обоим микроканалам подают жидкость. В соответствии с некоторыми вариантами осуществления, микроканалы разделены пористой мембраной. В соответствии с некоторыми вариантами осуществления, площадь первого микроканала эквивалентна площади второго микроканала, и причем площадь мембраны представляет собой сумму площадей первого и второго микроканалов.

[0041] В соответствии с некоторыми вариантами осуществления, производственный биореактор может включать минимодули, которые собраны в макроструктуру, которая может представлять собой, например, пирамиду, полую пирамиду, ламеллярную пирамиду, ламеллу, шахматную структуру или бревенчатую структуру. В соответствии с некоторыми вариантами осуществления, минимодули расположены уровнями в макроструктуре, и причем скорость жидкой среды на каждом уровне является по существу одинаковой. В соответствии с некоторыми вариантами осуществления, скорость жидкой среды варьирует по уровням. В соответствии с некоторыми вариантами осуществления, жидкая среда, протекающая по одному микроканалу, имеет скорость, превышающую скорость свободного падения клетки, переносимой потоком по одному микроканалу.

[0042] В соответствии с некоторыми вариантами осуществления, производственный биореактор включает ввод для газа в основании макроструктуры и вывод для газа в верхней части макроструктуры. В соответствии с некоторыми вариантами осуществления, в верхней части макроструктуры расположен ввод для клеток, а в основании макроструктуры - устройство для сбора клеток.

[0043] В соответствии с некоторыми вариантами осуществления, производственный биореактор включает устройства для ввода жидкой среды, причем жидкая среда протекает на каждом уровне минимодулей. В соответствии с некоторыми вариантами осуществления, объем жидкой среды, подаваемый устройством для подачи жидкой среды в каждый слой, поддерживает по существу постоянную плотность клеток в каждом из уровней. В соответствии с некоторыми вариантами осуществления, скорость жидкой среды через каждый минимодуль определяется скоростью деления клеток, так что время прохождения клетками одного минимодуля или уровня минимодулей по существу равна скорости деления клеток или пропорциональна скорости деления клеток.

[0044] В соответствии с некоторыми вариантами осуществления, производственный биореактор соединен с модулем с контролируемой средой, модулем по типу клеточного чипа или соединен с системой, которая включает как модуль по типу клеточного чипа, так и модуль с контролируемой средой. Настоящее изобретения, в соответствии с некоторыми вариантами осуществления, относится к системе, содержащей множество путей для протекания жидкостей, имеющих по существу постоянное поперечное сечение, причем первый путь для протекания жидкостей из множества путей для протекания жидкостей сообщается по текучей среде со вторым путем для протекания жидкостей из множества путей для протекания жидкостей для обеспечения для газа возможности протекать из первого пути для протекания жидкостей во второй путь для протекания жидкостей с по существу постоянной скоростью по первому пути для протекания жидкостей. В соответствии с некоторыми вариантами осуществления, множество путей для протекания жидкостей характеризуются формой или структурой гироида, модифицированной формой или структурой гироида, пространственно периодической минимальной поверхностью или их комбинациями.

[0045] Настоящее изобретения также относится к способам выращивания и хранения клеток, включающим инокуляцию модуля по типу клеточного чипа по меньшей мере одной клеткой; подачу жидкой среды во ввод для жидкости у клеточного чипа так, чтобы по меньшей мере одна клетка оставалась в первом уловителе; инкубацию клеточного чипа в течение периода в условиях, позволяющих происходить делению клеток, так чтобы поделившиеся клетки оставались в первом уловителе; и после окончания периода времени деления клеток перевод клеток в режим хранения. В соответствии с некоторыми вариантами осуществления, режим хранения выбран из группы, состоящей из сушки, лиофилизации, заморозки или суспендирования в жидкости. В соответствии с некоторыми вариантами осуществления, способ дополнительно включает подачу новой жидкой среды во ввод для жидкости у клеточного чипа и инкубацию клеточного чипа в течение некоторого периода времени в условиях, позволяющих происходить делению клеток, для реактивации деления клеток. В соответствии с некоторыми вариантами осуществления, за период деления клеток получают достаточное количество клеток, так чтобы достаточное количество клеток выходило из первого уловителя и входило во второй уловитель в модуле по типу клеточного чипа. В соответствии с некоторыми вариантами осуществления, клетки дополнительно инкубируют в течение второго периода времени деления клеток, и причем за второй период времени деления клеток получают достаточное количество клеток, так чтобы достаточное количество клеток выходило из второго уловителя и перетекало в вывод из клеточного чипа для сбора. В соответствии с некоторыми вариантами осуществления, клетки из вывода клеточного чипа вводят в связанный с ним модуль с контролируемой средой или модуль производственного биореактора. В соответствии с некоторыми вариантами осуществления способа, второй уловитель представляет собой всасывающий уловитель или переливный уловитель. В соответствии с некоторыми вариантами осуществления, первый уловитель представляет собой клапанный уловитель или всасывающий уловитель.

[0046] Настоящее изобретение относится к способам оптимизации микроклимата клетки, включающим введение первой группы клеток в биореактор с контролируемой средой, содержащий набор сегментов; инкубацию первой группы в первом микроклимате в первом сегменте; отслеживание первого параметра клеток в первом сегменте; и изменение первого микроклимата, создавая второй микроклимат в ответ на результат отслеживания первого параметра. В соответствии с некоторыми вариантами осуществления способов, первая группа клеток перемещается во второй сегмент, и при этом в первый сегмент вводят вторую группу клеток. В соответствии с некоторыми вариантами осуществления, в биореактор с контролируемой средой клетки вводят из модуля по типу клеточного чипа. В соответствии с некоторыми вариантами осуществления, реактор с контролируемой средой связан с модулем производственного биореактора. В соответствии с некоторыми вариантами осуществления способов, в производственном биореакторе создают второй микроклимат.

[0047] В соответствии с некоторыми вариантами осуществления способов, скорость потока клеток из одного конца каждого сегмента в другой конец определяется скоростью деления клеток. В соответствии с некоторыми вариантами осуществления, клетки делятся один раз за период времени, за который клетки проходят из одного конца сегмента в другой конец сегмента. В соответствии с некоторыми вариантами осуществления, поток жидкой среды через каждый сегмент является ламинарным потоком.

[0048] Настоящее изобретение также относится к способам масштабирования получения клеток, включающим введение клеток в производственный биореактор, причем производственный биореактор содержит совокупность минимодулей с формой или структурой двойного гироида, причем минимодули расположены уровнями в макроструктуре; введение потока жидкой среды в производственный биореактор; и подачу газового состава в производственный биореактор; причем клетки проходят между минимодулями; и причем клетки проходят из конца на вводе макроструктуры в конец на выводе макроструктуры. В соответствии с некоторыми вариантами осуществления способов, клетки в среднем делятся один раз за время перехода с одного уровня минимодулей на следующий уровень минимодулей. В соответствии с некоторыми вариантами осуществления, количество жидкой среды, протекающей к каждому уровню минимодулей, сохраняет по существу неизменную плотность клеток в каждом уровне. В соответствии с некоторыми вариантами осуществления, скорость жидкой среды, протекающей через производственный реактор, превышает скорость свободного падения клеток.

[0049] В соответствии с некоторыми вариантами осуществления способов по настоящему изобретению, клетки вводят в биореактор из клеточного чипа или модуля с контролируемой средой. В соответствии с некоторыми вариантами осуществления, часть клеток собирают на выходном конце макроструктуры. В соответствии с некоторыми вариантами осуществления, клетки продуцируют по меньшей мере один биопродукт, и причем данный биопродукт собирают из конца на выводе из макроструктуры, такой биопродукт как, например, малая молекула, белок, антитело, большая макромолекула, метаболит или их комбинации, продуцируемые клетками.

[0050] Настоящее изобретение относится к способам получения индивидуализированных клеток, включающим введение клетки выбранного типа в клеточный чип; выращивание клеток в клеточном чипе; перенос клеток из модуля по типу клеточного чипа в биореактор с контролируемой средой; и оптимизацию по меньшей мере одного параметра первого микроклимата клетки в биореакторе с контролируемой средой для создания второго микроклимата клетки. В соответствии с некоторыми вариантами осуществления, способ дополнительно включает выращивание образца клетки выбранного типа в производственном биореакторе со вторым микроклиматом клетки. В соответствии с некоторыми вариантами осуществления, клетки или их часть собирают из производственного биореактора. В соответствии с некоторыми вариантами осуществления, применяемые в способах клетки представляют собой CAR-T-клетки, стволовые клетки или дифференцированные клетки либо их комбинации. В соответствии с некоторыми вариантами осуществления, клетки продуцируют по меньшей мере один биопродукт, и причем такой биопродукт собирают из производственного биореактора.

[0051] Настоящее изобретение относится к способам выращивания клеток в описываемом в настоящем документе модуле по типу клеточного чипа. В соответствии с некоторыми вариантами осуществления, способ дополнительно включает перевод клеток в режим хранения. Настоящее изобретение относится к способам оптимизации условий микроклимата клетки, включающим выращивание клеток в описываемом в настоящем документе биореакторе с контролируемой средой и оптимизацию по меньшей мере одного параметра микроклимата клетки. Настоящее изобретение относится к способам выращивания клеток, включающим выращивание клеток в описываемом в настоящем документе производственном биореакторе. В соответствии с некоторыми вариантами осуществления, способ представляет собой способ крупномасштабного получения клеток. В соответствии с некоторыми вариантами осуществления способов выращивания и получения клеток, клетки выбирают из группы, состоящей из бактериальной клетки, грибковой клетки, растительной клетки, животной клетки, птичьей клетки, клетки млекопитающего, человеческой клетки и генетически модифицированной клетки. В соответствии с некоторыми вариантами осуществления, описываемые в настоящем документе системы, устройства и способы можно применять в условиях невесомости или в условиях микрогравитации, так чтобы выращивать клетки в условиях невесомости или микрогравитации.

[0052] Дополнительные аспекты и преимущества настоящего изобретения станут очевидны для специалистов в настоящей области техники из приведенного далее подробного описания, в котором показаны и описаны лишь иллюстративные варианты осуществления настоящего изобретения. Как будет понятно, настоящее изобретение включает другие и отличные варианты осуществления, и некоторые его детали допускают модификации в различных очевидных отношениях, при этом все они не приводят к отклонению от настоящего раскрытия. Следовательно, чертежи и описание следует рассматривать как иллюстративные по своей природе, а не как ограничивающие.

Включение по ссылке

[0053] Все публикации, патенты и заявки на выдачу патентов, упомянутые в настоящем описании, включены в настоящий документ посредством ссылки в той же степени, как если бы каждая отдельная публикация, патент или заявка на выдачу патента были конкретно и отдельно указаны как подлежащие включению посредством ссылки. В тех случаях, когда публикации и патенты или заявки на выдачу патентов, включенные посредством ссылки, противоречат раскрытию, содержащемуся в настоящем описании, подразумевается, что настоящее описание превалирует и/или имеет преимущественную силу над любым таким противоречащим материалом.

Краткое описание чертежей

[0054] Новые признаки настоящего изобретения подробно изложены в прилагаемой формуле изобретения. Лучшее понимание признаков и преимуществ настоящего изобретения будет получено при обращении к приведенному далее подробному описанию, в котором изложены иллюстративные варианты осуществления, в которых использованы идеи настоящего изобретения, и к сопроводительным чертежам (также в настоящем документе называемым «фигурами» и «фиг.»), где:

[0055] на фиг. 1 показан пример варианта осуществления системы с тремя модулями;

[0056] на фиг. 2А показан пример варианта осуществления модуля по типу клеточного чипа 201; на фиг. 2В показан пример варианта осуществления микроклимата клетки 205, контура 230 для среды в клеточном чипе и контура 250 для газа в клеточном чипе в виде отдельных «слоев» клеточного чипа; на фиг. 2С показан боковой профиль слоев клеточного чипа;

[0057] на фиг. 3A-3F представлены примеры вариантов осуществления уловителей клеток для применения с модулем по типу клеточного чипа; на фиг. 3А-3В показаны примеры вариантов осуществления клапанного уловителя; на фиг. 3C-3D показаны примеры вариантов осуществления переливного уловителя; и на фиг. 3E-3F показаны примеры вариантов осуществления всасывающего уловителя;

[0058] на фиг. 4А-4Е представлены примеры вариантов осуществления биореактора с контролируемой средой;

[0059] на фиг. 5 представлен пример варианта осуществления производственного биореактора;

[0060] на фиг. 6А-6С представлены примеры вариантов осуществления для макроструктур производственного биореактора;

[0061] на фиг. 7А показан пример варианта осуществления модифицированной формы или структуры двойного гироида и сборки в перекрывающиеся каналы, например, для применения в описываемом в настоящем документе производственном биореакторе; на фиг. 7В представлен пример собранных модифицированных форм или структур двойного гироида в две перекрывающиеся сети каналов; на фиг. 7С представлен пример кривизны, создаваемой сборкой модифицированных двойных гироидов в канал;

[0062] на фиг. 8 показана схема примеров способов выращивания клеток, хранения клеток, оптимизации микроклимата клетки и масштабирования получения клеток;

[0063] на фиг. 9A-9F показан пример схемы сборки минимодулей в макроструктуры; на фиг. 9А показан пример минимодуля; на фиг. 9В показан пример сборки минимодулей в представленную в качестве примера трехмерную матрицу; на фиг. 9С показан пример трехмерной матрицы; на фиг. 9D показан пример слоя трехмерной матрицы; на фиг. 9E-9F показан пример сборок, которые содержат множество трехмерных слоев;

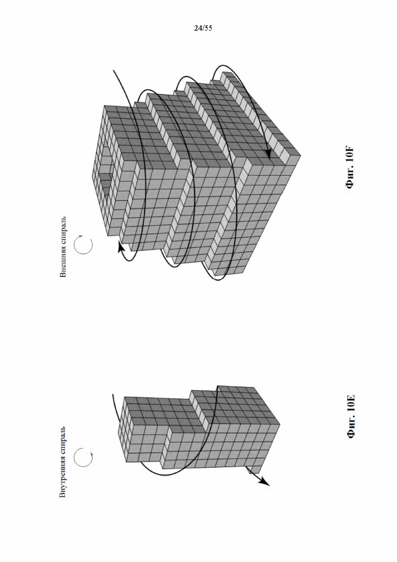
[0064] на фиг. 10A-10F показаны примеры сборки слоев различных форм, например, квадратных и квадратоподобных форм сборки;

[0065] на фиг. 11A-11F показаны примеры слоев модуля, соединенных с представленными в качестве примеров питающими контурами;

[0066] на фиг. 12 показан пример слоя в случае формы полой пирамиды;

[0067] на фиг. 13А и 13В представлен пример роста в случае формы полой пирамиды;

[0068] на фиг. 14 показан пример внешнего питающего контура в случае формы полой пирамиды;

[0069] на фиг. 15 показан пример ламеллярной макроструктуры;

[0070] на фиг. 16 показан пример ламеллярных макроструктур с питающими контурами;

[0071] на фиг. 17 показан пример макроструктуры;

[0072] на фиг. 18 показан пример структуры системы подачи и сбора;

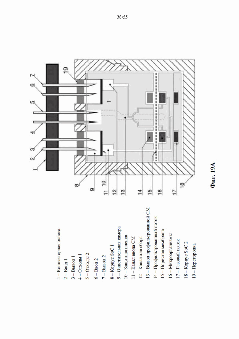
[0073] на фиг. 19А-19Е показан пример системы соединений; на фиг. 19А показан общий вид примера системы соединений, содержащей коннектор между модулем по типу клеточного чипа и источником жидкости; на фиг. 19В показан пример системы соединений с иглами для ввода и вывода; на фиг. 19С показан пример соединений, производимых с помощью представленной в качестве примера системы коннекторов; на фиг. 19D показан пример варианта осуществления системы соединений с иглами, проникающими в камеру в примере модуля по типу клеточного чипа; на фиг. 19Е показан пример системы соединений с иглами, проникающими во вторую камеру;

[0074] на фиг. 20 показан пример многослойного модуля для адгезивных клеток;

[0075] на фиг. 21А показан вариант осуществления слоевого модуля для адгезивных клеток; на фиг. 21В показан пример клеток, прикрепленной к слоистой структуре; на фиг. 21С показан пример трипсиновой промывки для открепления клеток; на фиг. 21D показан пример открепления клеток; на фиг. 21Е показан пример потока открепленных клеток;

[0076] на фиг. 22А показан вид в разрезе примера минимодуля; на фиг. 22В показан вид в разрезе примера минимодуля с увеличенным перемешиванием;

[0077] на фиг. 23А показан пример сборки из десяти минимодулей; на фиг. 23В показан пример сборки из десяти минимодулей с увеличенным перемешиванием;

[0078] на фиг. 24 показан пример конструкции биореактора с макроструктурой;

[0079] на фиг. 25А показан изометрический вид примера макроструктуры; на фиг. 25В показан пример напечатанной макроструктуры; на фиг. 25С показан пример напечатанной макроструктуры, выполненной из коммерческой смолы;

[0080] на фиг. 26А показан пример контура биореактора, насыщенного красителем; на фиг.26 В показан пример структуры двойного гироида, насыщенной красителем;

[0081] на фиг. 27 показан пример конструкции для примера штамма на чипе;

[0082] на фиг. 28 показан пример потока частиц в камере;

[0083] на фиг. 29 показан пример потока частиц с течением времени;

[0084] на фиг. 30А показан пример блока с контролируемой средой и с модулем для смешивания; на фиг. 30B-30D показан пример блоков с контролируемой средой, сформированных из полидиметилсилоксана;

[0085] на фиг. 31 показан газовый контур и культуральный контур для примера биореактора с контролируемой средой;

[0086] на фиг. 32 показан пример отпечатанного слоя для культивирования из системы с контролируемой средой;

[0087] на фиг. 33 показаны собранные слои из системы с контролируемой средой; и

[0088] на фиг. 34 показана компьютерная система, которая запрограммирована или иным образом сконфигурирована для реализации представленных в настоящем документе способов.

Подробное раскрытие настоящего изобретения

[0089] Несмотря на то, что в настоящем документе продемонстрированы и описаны различные варианты осуществления настоящего изобретения, специалистам в настоящей области техники будет очевидно, что такие варианты осуществления представлены лишь в качестве примера. Специалистам в настоящей области техники могут быть очевидны многочисленные вариации, изменения и замены без отступления от сути настоящего изобретения. Следует понимать, что можно использовать различные альтернативы описанным в настоящем документе вариантам осуществления настоящего изобретения.

[0090] Настоящее изобретения относится к системам, компонентам и способам получения и поддержания клеток, а также получения и выделения клеток и продуктов, производимых клетками. Представленные в настоящем документе системы, компоненты и способы обеспечивают широкие возможности для адаптации получения клеток различных типов, клеточного микроклимата различных типов и продуцируемых молекул различных типов. Системы, компоненты и способы также обеспечивают широкие возможности масштабирования. Например, описываемые в настоящем документе системы, компоненты и способы могут обеспечивать масштабирование производства без изменения или значительного изменения лабораторных условий выращивания.

[0091] В систему и компоненты по настоящему изобретению включены один или более биореакторов для выращивания клеток. Биореакторы имеют масштаб микробиореактора, так чтобы систему можно было сконструировать в качестве лабораторного биореактора с возможностью выращивания и получения клеток и/или клеточных продуктов как в малых, так и в больших количествах. Данные система и способы применения обладают преимуществом в отношении своей масштабируемости, гибкости и экономии ресурсов.

[0092] Используемый в настоящем документе термин «клеточный чип» или «модуль по типу клеточного чипа» обычно относится к устройству, подходящему для выращивания, культивирования и/или хранения клеток, которое может включать один или более каналов или других отверстий для ввода клеток, для подачи жидкой среды и других факторов микроклимата клетки и, необязательно одну или более структур для улавливания, содержания или направления потока клеток в среде для выращивания/культивирования клеточного чипа или его подсекций.

[0093] Используемый в настоящем документе термин «биореактор с контролируемой средой» обычно относится к устройству для выращивания клеток, которое позволяет производить многократное тестирование влияния одного или более условий микроклимата клетки на клетки одного или более типов. Реакторы с контролируемой средой могут иметь такие конструкции, чтобы микроклимат клетки в них и его влияние на клетки коррелировали с микроклиматом клетки и влиянием на масштабирование и получение клеток и биопродуктов. Реактор с контролируемой средой может включать один тестовый микроклимат или может состоять из множества сегментов, в которых можно тестировать одно или более условий микроклимата.

[0094] Используемый в настоящем документе термин «производственный биореактор» или «биореактор» обычно относится к биореакторному устройству, подходящему для масштабирования получения клеток и/или продуцируемых клетками продуктов. Производственный биореактор может включать один или более каналов или других отверстий для ввода клеток, для подачи жидкой среды, газового состава и других факторов микроклимата клетки, а также один или более каналов для сбора клеток и/или продуцируемых клетками продуктов.

[0095] Используемый в настоящем документе термин «блок для составления культуральных сред» обычно относится к компоненту или устройству для смешивания ингредиентов для применения в качестве культуральной среды для выращивания клеток.

[0096] Используемый в настоящем документе термин «уловитель» обычно относится к структуре для улавливания, содержания и/или направления потока клеток в физической зоне. К уловителям можно отнести без ограничения клапанные уловители, переливные уловители, всасывающие уловители и уловители по типу пористой мембраны, такие как без ограничения описанные в настоящем документе. В соответствии с некоторыми вариантами осуществления, размер уловителя определяется размером, объемом и/или диаметром клеток, так чтобы уловитель замедлял, препятствовал или предотвращал движение клеток из одного физического пространства в другое физическое пространство. В соответствии с некоторыми вариантами осуществления, способность уловителя замедлять, препятствовать или предотвращать движение клеток может снижаться или преодолеваться при увеличении количества или плотности клеток или при увеличении скорости потока клеток или жидкой среды.

[0097] Используемый в настоящем документе термин «минимодуль» обычно относится к сегменту производственного биореактора, который соединен с большей структурой и собран в большую структуру (например, макроструктуру или макроформу), составляющую по меньшей мере часть производственного биореактора или весь производственный биореактор.

[0098] Используемый в настоящем документе термин «гироид» обычно относится к связанной периодической минимальной поверхности, не имеющей прямых линий. Такая поверхность может иметь математически бесконечное количество связей. В некоторых примерах гироид представляет собой уникальный нетривиальный встроенный элемент ассоциированного семейства поверхностей P и D Шварца с углом ассоциации примерно 38,01°. Гироид может быть выполнен в виде одиночного гироида или двойного гироида. Двойной гироид может быть ориентирован и выполнен с возможностью конкретного применения в микроструйном устройстве. Двойной гироид может быть сформирован путем уравновешивания геометрических аспектов, относящихся к гидродинамическим характеристикам, наблюдаемым у минимодулей и макроструктур (например, макрофагов), таким как кристаллографическая структура двойных гироидов и пространственная группа. Гироид или двойной гироид могут быть реализованы в различных кристаллографических структурах.

[0099] Если термин «по меньшей мере», «более чем» или «больше или равно» предшествует первому числовому значению в серии из двух или более числовых значений, термин «по меньшей мере», «более чем» или «больше или равно» применим к каждому числовому значению в этой серии числовых значений. Например, больше или равно 1, 2 или 3 эквивалентно больше или равно 1, больше или равно 2 или больше или равно 3.

[0100] Если термин «не более чем», «менее чем» или «меньше или равно» предшествует первому числовому значению в серии из двух или более числовых значений, термин «не более чем», «менее чем» или «меньше или равно» применим к каждому числовому значению в этой серии числовых значений. Например, меньше или равно 3, 2 или 1 эквивалентно меньше или равно 3, меньше или равно 2 или меньше или равно 1.

Модули биореактора

[0101] Согласно одному аспекту, настоящее изобретение относится к системам и способам модульных и взаимосвязанных компонентов биореактора для получения клеток. Клетки могут представлять собой бактериальные клетки, грибковые клетки, дрожжевые клетки, эукариотические клетки, растительные клетки или водорослевые клетки. Клетки могут представлять собой рекомбинантные клетки. Модульная система может содержать первый модуль, второй модуль и третий модуль. Первый модуль может представлять собой клеточный чип, который выполнен с возможностью содержания множества клеток. Второй модуль может сообщаться по текучей среде с первым модулем и может представлять собой реактор с контролируемой средой. Реактор с контролируемой средой может быть выполнен с возможностью (i) взаимодействия с клеточным чипом, (ii) направления подмножества клеток из множества клеток в различные сегменты системы с контролируемой средой и (iii) периодического задания набора условий роста для множества клеток. Различные сегменты могут быть обособлено изменены. Третий модуль может сообщаться по текучей среде с первым и вторым модулями. Третий модуль может содержать биореактор, выполненный с возможностью (i) взаимодействия со вторым модулем, (ii) приема подмножества клеток и (iii) создания копий подмножества клеток в наборе условий роста. В соответствии с некоторыми вариантами осуществления, третий модуль может содержать биореактор и может сообщаться по текучей среде с модулем по типу клеточного чипа.

[0102] Представленные в настоящем документе системы, компоненты и способы являются модульными и могут быть взаимосвязаны. В соответствии с некоторыми вариантами осуществления, представленными в настоящем документе, система состоит из одного или более модулей, при этом каждый модуль включает по меньшей мере один биореактор. В соответствии с некоторыми вариантами осуществления, система содержит по меньшей мере один, два, три или более модулей. В соответствии с некоторыми вариантами осуществления, система включает более трех модулей. Каждый модуль выполнен с возможностью прохождения ламинарного потока жидкости (в том числе среды и/или растворителей) и, кроме того, в соответствии с некоторыми вариантами осуществления, ненаправленного потока клеток. В соответствии с некоторыми вариантами осуществления, один или более модулей выполнены с возможностью прохождения переходного потока или турбулентного потока жидкости (например, среды и/или растворителей).

[0103] В соответствии с некоторыми вариантами осуществления, система включает по меньшей мере 1, 2, 3 или более связанных друг с другом модулей. В соответствии с некоторыми вариантами осуществления, модули содержат один или более из модуля по типу клеточного чипа, модуля по типу биореактора с контролируемой средой и модуля по типу производственного биореактора. В соответствии с некоторыми вариантами осуществления, модуль по типу клеточного чипа связан (например, связан по текучей среде) с модулем по типу биореактора с контролируемой средой, например, клеточный чип подает клетки для первоначального засева реактора с контролируемой средой. В соответствии с некоторыми вариантами осуществления, модуль по типу клеточного чипа связан (например, связан по текучей среде) с производственным биореактором, например, клеточный чип подает клетки для первоначального засева производственного биореактора. В соответствии с некоторыми вариантами осуществления, биореактор с контролируемой средой связан (например, связан по текучей среде) с производственным биореактором, а клетки из биореактора с контролируемой средой переносятся потоком в производственный биореактор для увеличения их в масштабе. В соответствии с некоторыми вариантами осуществления, система связывает клеточный чип с биореактором с контролируемой средой и с производственным биореактором в последовательной конфигурации. В качестве альтернативы или дополнительно, система связывает клеточный чип с биореактором с контролируемой средой и с производственным биореактором в параллельной конфигурации. Клетки изначально можно вырастить в клеточном чипе, протестировать в отношении оптимальных условий микроклимата в биореакторе с контролируемой средой и масштабировать в количестве в производственном биореакторе.

[0104] В соответствии с некоторыми вариантами осуществления, система включает модуль, который представляет собой чип для удержания и хранения клеток (также называемый в настоящем документе клеточным чипом), в который вводят одну или более клеток и размножают их путем роста и деления клеток. Клеточный чип может представлять собой расходуемый предмет (например, его применяют один или более раз и выбрасывают). Клеточный чип может быть снабжен одним или более штаммами клеток. Клеточный чип может иметь вводный канал для пропускания потока жидкой среды и выводные каналы для пропускания потока отработанной среды и, необязательно, клеток для выхода из клеточного чипа. Клеточный чип может иметь по меньшей мере 1, 2, 3, 4, 5, 6, 8, 10 или более вводных каналов. Клеточный чип может иметь по меньшей мере приблизительно 1, 2, 3, 4, 5, 6, 8, 10 или более выводных каналов. Клеточный чип может иметь равное количество вводных и выводных каналов или может иметь различное количество вводных и выводных каналов. В каждом вводном канале может протекать один компонент (например, одна жидкая среда), или в каждом вводном канале может протекать иной компонент (например, жидкие среды иных типов). В выводных каналах могут протекать как отработанная или избыточная среда, так и поток с клетками. В качестве альтернативы или дополнительно, клетки можно отделить от потока среды и вывести из клеточного чипа по одному или более выводным каналам. Клеточный чип может включать по меньшей мере один механизм для улавливания клеток в модуле.

[0105] В соответствии с некоторыми вариантами осуществления, механизм для улавливания клеток представляет собой клапанный уловитель, который собирает клетки в уловителе по мере протекания клеток в уловителе с ламинарным потоком жидкой среды внутри клеточного чипа. Клапанные уловители могут предотвращать свободное протекание клеток внутри чипа, ограничивая их движение до экранированного пространства, не связанного с инерционными силами потока, при этом обеспечивая им надлежащий доступ к питательным веществам и газам. Клапанный уловитель может иметь инокуляционное отверстие для обеспечения возможности высевания клеток во внутреннее пространство клапанного уловителя. Клапанный уловитель может иметь один или более противопотоковых приспособлений, имеющих такую форму, которая позволяет им отделять внутри себя клетку от инерционных сил потока. Примеры форм или структур, которые можно использовать в качестве одного или более противопотоковых приспособлений, включают треугольник, квадрат, пятиугольник, шестиугольник, круг и их комбинации. Противопотоковые приспособления могут прерываться отверстиями, дающими доступ для газов и питательных веществ и обеспечивающими контролируемый выход клеток из клапанного уловителя. В соответствии с некоторыми вариантами осуществления, размеры отверстий превышают диаметр клеток в противопотоковых приспособлениях. В некоторых случаях размер отверстий в два раза превышает размер клетки в противопотоковом приспособлении. В некоторых случаях отверстия могут по меньшей мере в 2, 3, 4, 5, 7 или 10 раз превышать диаметр клетки в противопотоковых приспособлениях. В соответствии с некоторыми вариантами осуществления, отверстия равномерно распределены по форме или структуре противопотоковых приспособлений. В соответствии с некоторыми вариантами осуществления, отверстия расположены в соответствии с ожидаемым направлением и скоростью потока. В соответствии с некоторыми вариантами осуществления, отверстий может быть больше в количестве на второй половине стороны формы противопотокового приспособления, что учитывает общее направление потока. В соответствии с некоторыми вариантами осуществления, диаметр клапанного уловителя составляет от приблизительно 20 микрон до приблизительно 1000 микрон. В соответствии с некоторыми вариантами осуществления, диаметр клапанного уловителя составляет приблизительно более или равен 30 микронам, 40 микронам, 50 микронам, 60 микронам, 70 микронам, 80 микронам, 90 микронам, 100 микрон или более. В соответствии с некоторыми вариантами осуществления, диаметр клапанного уловителя составляет приблизительно 100 микрон, 200 микрон, 300 микрон, 400 микрон, 500 микрон, 600 микрон, 700 микрон, 800 микрон, 900 микрон, 1000 микрон или более. В соответствии с некоторыми вариантами осуществления, диаметр клапанного уловителя составляет менее или равен приблизительно 1000 микронам, 900 микронам, 800 микронам, 700 микронам, 600 микронам, 500 микронам, 400 микронам, 300 микронам, 200 микронам, 100 микронам, 90 микронам, 80 микронам, 70 микронам, 60 микронам, 50 микронам, 40 микронам, 30 микронам или менее.

[0106] В соответствии с некоторыми вариантами осуществления, механизм для улавливания клеток представляет собой уловитель переливного типа. Уловитель переливного типа: такие уловители могут предотвращать свободное протекание клеток внутри чипа, ограничивая их движение до экранированного пространства, путем создания для них физического препятствия выхода и путем использования инерционных сил потока для обеспечения их удержания, при этом обеспечивая им доступ к питательным веществам и газам. В соответствии с некоторыми вариантами осуществления, противопотоковые приспособления по типу переливного уловителя имеют одну или более стенок корпуса с каналами, которые расположены так, чтобы физически удерживать клетку в уловителе. В соответствии с некоторыми вариантами осуществления, стенки корпуса с каналами имеют отверстия между ними. В соответствии с некоторыми вариантами осуществления, отверстие по диаметру меньше диаметра находящихся внутри клеток. В соответствии с некоторыми вариантами осуществления, стенки корпуса с каналами не имеют никаких отверстий между ними. В соответствии с некоторыми вариантами осуществления, отверстие присутствует между верхней стенкой чипа и верхней частью стенок корпуса с каналами. В соответствии с некоторыми вариантами осуществления, отверстие между верхней частью стенки корпуса с каналами и верхней стенкой меньше диаметра находящейся внутри уловителя клетки. Если объем клеток превышает емкость клапанного уловителя, клетки уносятся потоком из уловителя. В соответствии с некоторыми вариантами осуществления, диаметр переливного уловителя составляет от приблизительно 50 микрон до приблизительно 2000 микрон. В соответствии с некоторыми вариантами осуществления, диаметр переливного уловителя превышает или равен приблизительно 180 микрон или 210 микрон. В соответствии с некоторыми вариантами осуществления, диаметр переливного уловителя меньше или равен приблизительно 210 микрон или 180 микрон. В соответствии с некоторыми вариантами осуществления, диаметр переливного уловителя превышает или равен приблизительно 50 микронам, 100 микронам, 150 микронам, 200 микронам, 250 микронам, 300 микронам, 350 микронам, 400 микронам, 450 микронам, 500 микронам, 600 микронам, 800 микронам, 1000 микронам, 1200 микронам, 1500 микронам, 2000 микронам или более. В соответствии с некоторыми вариантами осуществления, диаметр переливного уловителя меньше или равен приблизительно 2000 микронам, 1500 микронам, 1200 микронам, 1000 микронам, 800 микронам, 600 микронам, 500 микронам, 450 микронам, 400 микронам, 350 микронам, 300 микронам, 250 микронам, 200 микронам, 150 микронам, 100 микронам, 50 микронам или менее.

[0107] В соответствии с некоторыми вариантами осуществления, к уловителю клеток относится всасывающий уловитель. Всасывающий уловитель можно спроектировать путем вертикального отделения зоны жидкой среды от зоны роста клеток с помощью пористой мембраны. Всасывающий уловитель можно спроектировать таким, чтобы он имел одно или более отделений, куда вводят клетки и где клетки растут и делятся. Жидкая среда проходит через чип и может пройти через пористую мембрану в нижнюю зону, тогда как клетки остаются в верхней зоне из-за того, что размер поры меньше размера клеток. Движение жидкой среды от верхнего уровня к нижнему создает всасывающий эффект, который удерживает клетки внутри одного или более отделений. При достижении клетками в ходе деления определенного количества или плотности всасывающий эффект больше не удерживает все клетки в отделениях, и клетки могут уноситься потоком на верхний уровень и из отделения к выводному отверстию клеточного чипа. Всасывающий уловитель может иметь по меньшей мере 1, 2, 3, 4, 5, 6, 7, 8, 9, 10 или более отделений. В соответствии с некоторыми вариантами осуществления, применяемая пористая мембрана может варьироваться в зависимости от типа клеток. В соответствии с некоторыми вариантами осуществления, пористая мембрана может иметь размер пор, который меньше диаметра клетки. В соответствии с некоторыми вариантами осуществления, размер пор пористой мембраны может превышать или быть равным 0,22 микрона, 1 микрону, 3 микронам, 5 микронам, 7 микронам или более. В соответствии с некоторыми вариантами осуществления, размер пор меньше или равен приблизительно 7 микронам, 5 микронам, 3 микронам, 1 микрону, 0,22 микрона или менее. В соответствии с некоторыми вариантами осуществления, применяемая пористая мембрана имеет раздельные отверстия с конкретным выбранным размером пор; этого можно достичь путем реализации трековых методик. В соответствии с некоторыми вариантами осуществления, поры у пористой мембраны расположены случайным образом. В качестве альтернативы или дополнительно, поры могут быть просто расположены или структурированы по определенному образцу. В соответствии с некоторыми вариантами осуществления, материал, применяемых для пористых мембран, представляет собой высококачественные поликарбонатные пленки. В соответствии с некоторыми вариантами осуществления, материал, применяемый для пористых мембран, представляет собой полисульфон, полиэтилен, политетрафторэтилен, полипропилен, нитроцеллюлозу, наноцеллюлозу, нейлон, керамическую пену или углеродные нанотрубки.

[0108] В соответствии с некоторыми вариантами осуществления, механизм для улавливания клеток в клеточном чипе включает комбинацию различных типов уловителей, в том числе клапанные уловители, всасывающие уловители и переливные уловители. В соответствии с некоторыми вариантами осуществления, уловители различных типов расположены последовательно, с тем чтобы если клетки высвобождались из уловителя одного типа, то они перемещались с потоком в уловитель другого типа и улавливались в нем. В качестве альтернативы или дополнительно, уловители могут быть расположены в параллельной конфигурации. В соответствии с некоторыми вариантами осуществления, уловители расположены как в последовательной, так и в параллельной конфигурации. Количество и структуру уловителей можно адаптировать к типам клеток, а также к размеру и объему клеточного чипа и скорости потока жидкости в клеточном чипе. В соответствии с некоторыми вариантами осуществления, клеточный чип содержит более или равно 1, 2, 3, 4, 5, 10, 20, 50, 100 или более клапанных уловителей отдельно или в комбинации с одним или более переливными уловителями или в комбинации с одним или более всасывающими уловителями. В соответствии с некоторыми вариантами осуществления, клеточный чип содержит более или равно приблизительно 1, 2, 3, 4, 5, 10, 20, 50, 100, 250, 300, 400, 500, 1000 или более переливных уловителей отдельно или в комбинации с одним или более клапанными уловителями или одним или более всасывающими уловителями.

[0109] В соответствии с некоторыми вариантами осуществления, механизм для улавливания клеток представляет собой уловитель по типу пористой мембраны. Данный тип уловителя характеризуется потоком жидкой среды на верхней стороне пористой мембраны, а клетки вводят и выращивают в камере, расположенной под пористой мембраной. По мере того, как среда протекает в камеру с клетками, и по мере того, как увеличивается плотность клеток и клетки приближаются к мембране, клетки вытягиваются через поры мембраны в верхнюю зону среды, где затем клетки могут уноситься потоком жидкой среды, тем самым покидая уловитель. Размер пор мембраны в уловителе можно адаптировать к типу и размеру клеток. В соответствии с некоторыми вариантами осуществления, размер пор составляет от приблизительно 0,22 микрона до приблизительно 5 микрон. В соответствии с некоторыми вариантами осуществления, размер пор превышает или равен приблизительно 0,22 микрона, 1 микрону, 3 микронам, 5 микронам, 7 микронам, или более. В соответствии с некоторыми вариантами осуществления, размер пор меньше или равен приблизительно 7 микронам, 5 микронам, 3 микронам, 1 микрону, 0,22 микрона или менее. Размер и объем камер, расположенных под мембраной, можно адаптировать к типу и размеру клеток. Количество камер с клетками можно адаптировать для любой производительности. В соответствии с некоторыми вариантами осуществления, количество камер с клетками превышает или равно 1, 2, 3, 4, 5, 10, 25, 50, 100, 250, 500, 1000 или более.

[0110] В соответствии с некоторыми вариантами осуществления, после выращивания клеток в клеточном чипе клеточный чип сохраняет клетки, удерживаемые при помощи уловителя в нем, до последующего их использования. Клетки можно хранить при помощи различных подходов, в том числе, например, при помощи заморозки, сушки, лиофилизации или хранения в жидкой среде или жидкой среде, модифицированной так, чтобы было возможным хранение клеток при комнатной температуре или при других температурах.

[0111] В соответствии с некоторыми вариантами осуществления, система включает биореактор с контролируемой средой. Реактор с контролируемой средой может представлять собой расходуемый предмет (например, его применяют один или более раз и выбрасывают). В качестве альтернативы или дополнительно, реактор с контролируемой средой может не представлять собой расходуемый предмет. Модуль по типу биореактора с контролируемой средой состоит из набора сегментов, причем каждый сегмент имеет по меньшей мере один микроканал, пригодный для прохождения клетки из одного конца микроканала в другой конец микроканала. В соответствии с некоторыми вариантами осуществления, сегмент имеет два или более микроканала, которые функционируют параллельно друг другу, так чтобы клетка в одном микроканале не могла пройти в другой микроканал в пределах одного сегмента. В соответствии с некоторыми вариантами осуществления, сегмент имеет более или равно 2, 4, 8, 16, 32, 64, 128 или 2" параллельных микроканалов. Длина и диаметр микроканала можно адаптировать к типу клетки, размеру клетки и скорости прохождения клетки и жидкой среды в микроканале. В соответствии с некоторым вариантом осуществления, канал может иметь диаметр, превышающий или равный приблизительно 20 микронам, 50 микронам, 70 микронам, 120 микронам, 200 микронам, 600 микронам, 1500 микронам, 2000 микрон, и длину, которая равна или приблизительно равна 1 миллиметру, 2 миллиметрам, 4 миллиметрам, 10 миллиметрам, 22 миллиметрам, 40 миллиметрам, 120 миллиметрам, 200 миллиметрам или более. В соответствии с некоторыми вариантами осуществления, длину микроканала адаптируют к скорости деления клеток для клетки, проходящей через микроканал, так чтобы клетка делилась один раз в ходе прохождения от входа до выхода из микроканала. Диаметр каждого микроканала можно адаптировать к размеру клеток, скорости смешивания проходящей жидкости, скорости газообмена или их комбинации.

[0112] В соответствии с некоторыми вариантами осуществления, сегмент биореактора с контролируемой средой содержит две или более секций. Одна секция может содержать модуль для смешивания, а другая секция может содержать камеру для выращивания. Модуль для смешивания и камера для выращивания могут быть расположены в последовательной или параллельной конфигурации. В одном примере модуль для смешивания и камера для выращивания расположены в последовательной конфигурации. Модуль для смешивания может быть связан по текучей среде с более чем или равным 1, 2, 4, 6, 8, 10 или более вводными каналами. Вводные каналы могут включать канал, по которому протекает среда, газ и/или клетки. В одном примере модуль для смешивания связан по текучей среде с двумя вводными каналами так, чтобы по одному каналу подавалась среда, а по другому подавались клетки в модуль для смешивания. Среда и клетки могут смешиваться в модуле для смешивания. Модуль для смешивания может содержать прямой канал или может содержать канал со змеевидной или извилистой геометрией. Диаметр канала у модуля для смешивания может превышать или быть равным приблизительно 20, 50, 70, 120, 200, 600, 1500 или 2000 микронам, а длина равна или приблизительно равна 1, 2, 4, 10, 22, 40, 120, 200 миллиметрам. Модуль для смешивания может подавать смешанные клетки со средой в камеру для выращивания. Камера для выращивания может включать зону роста, которая увеличивает диаметр сегмента. Камера для выращивания может иметь диаметр, который превышает или равен 20, 50, 70, 120, 200, 600, 1500 или 2000 микронам, и длину, которая равна или приблизительно равна 1, 2, 4, 10, 22, 40, 120 или 200 миллиметрам.

[0113] В соответствии с некоторыми вариантами осуществления, биореактор с контролируемой средой имеет два или более сегментов, расположенных последовательно друг с другом, так чтобы клетка из микроканала одного сегмента проходила с потоком в микроканал следующего сегмента. В соответствии с некоторыми вариантами осуществления, микроканал из первого сегмента связан с двумя микроканалами во втором сегменте, расположенном последовательно с первым сегментом. Длину микроканала первого сегмента адаптируют так, чтобы клетка делилась не более одного раза в течение времени прохождения от входа до выхода из первого микроканала, и чтобы две клетки, полученные в результате такого деления, разделялись и переносили с потоком отдельно в два микроканала второго сегмента. Два микроканала второго сегмента могут быть расположены в параллельной конфигурации. В соответствии с некоторыми вариантами осуществления, микроканалы второго сегмента аналогичным образом последовательно связаны с микроканалами следующего сегмента. В соответствии с некоторыми вариантами осуществления, клетки не делятся во время прохождения по каждому микроканалу. В соответствии с другими вариантами осуществления, клетки могут делиться превышающее или равное 1, 2, 3, 4, 5 или более количество раз в течение периода, за который они проходят длину микроканала. Сегменты могут быть расположены последовательно в количестве, превышающем или равном 2, 3, 4, 5, 6, 7, 8, 9, 10 или более сегментов, при этом каждый сегмент содержит один или более микроканалов. Если микроканалы переходят от одного сегмента в следующий сегмент и разделяют делящиеся клетки по мере их прохождения из микроканалов одного сегмента в следующий, количество микроканалов может увеличиваться кратно 2n, где n = 1, 2, 3, 4, 5, 6 или более 6.

[0114] Биореактор с контролируемой средой может позволять проводить тестирование и измерение влияния различных условий микроклимата на клетку. Различные условия микроклимата могут включать изменения компонентов среды, рН, температуры, газового состава, газообмена, плотности клеток, потока клеток и/или скорости потока жидкой среды. В соответствии с некоторыми вариантами осуществления, биореактор с контролируемой средой имеет ввод в первый сегмент, по которому подают жидкую среду, которая протекает через первый сегмент в последующие сегменты, связанные последовательно и/или параллельно. Состав и/или скорость потока среды можно менять с течением времени или можно оставлять без изменений.

[0115] Биореактор с контролируемой средой может включать один или более датчиков и/или один или более пробоотборников. Датчики и/или пробоотборники можно применять для отслеживания клеточных ответов на изменения в микроклимате. В соответствии с некоторыми вариантами осуществления, один или более датчиков представляют собой встроенные датчики. В соответствии с некоторыми вариантами осуществления, датчики являются автономными и принимают отобранные образцы клеток, среды или их комбинацию. Датчик может измерять биологический, физический и/или химический параметр. Примеры параметров включают рН, скорость деления клеток, скорость роста клеток, плотность клеток, температуру, оптическую плотность, газовый состав и/или скорость газообмена. Примеры параметров также включают результаты профилирования, идентификацию отдельных молекул и количественное определение одного или более из клеточного метаболита, белка, нуклеиновой кислоты, липида, малой молекулы, или биологических молекул либо их комбинаций. В соответствии с некоторыми вариантами осуществления, датчик измеряет ответ клеток на стресс и клеточный метаболит в качестве ответа на изменение в микроклимате.

[0116] Реактор с контролируемой средой может дополнительно содержать один или более контроллеров. Контроллеры могут контролировать микроклимат клетки в одном или более сегментах биореактора с контролируемой средой. В соответствии с некоторыми вариантами осуществления, контроллер имеет связь с одним или более датчиками и/или получает информацию от них, которые имеют отношение к клеткам, микроклимату клетки или их комбинации в одном или более сегментах биореактора с контролируемой средой. Контроллер может вносить изменения в микроклимат клетки в ответ на информацию от одного или более датчиков. Примеры изменений включают скорость потока жидкой среды, концентрации компонентов жидкой среды, рН, температуру, концентрацию газа, содержание газа и плотность клеток.

[0117] В соответствии с некоторыми вариантами осуществления, система включает модуль производственного биореактора. Производственный биореактор обеспечивает микроклимат для масштабированного роста и получения клеток и/или биопродукта от клеток. Производственный биореактор характеризуется 3-D структурой, состоящей из множества минимодулей. Производственный биореактор может включать больше или равно 1, 2, 4, 6, 8, 10 или более минимодулей. Минимодули создают серию каналов и камер для роста и движения клеток, а также для протекания жидких сред, газов и биопродуктов. Минимодули производственного биореактора могут включать такие формы, как двойной гироид, модифицированный двойной гироид или любую форму, которую можно описать как пространственно периодическую минимальную поверхность (TPMS). Поверхность данного типа формирует решетчатую систему, которая может периодически расти по всем трем осям (X, Y, Z). TPMS может не иметь самопересечений и делит данный объем на два (или более) независимых подобъема. Самопересечение может включать поверхность с одним нормальным вектором на точку, определяющую поверхность. Если поверхность делит объем, в котором она описана, на два независимых и конгруэнтных подобъема, такая поверхность называется компенсированной поверхностью. TPMS описаны в контексте основного участка или асимметричного элемента, из которого можно построить всю поверхность с помощью элементов симметрии. Минимодули могут быть связаны по текучей среде (например, взаимосвязаны) друг с другом, так чтобы газы, среды и/или побочные продукты могли протекать из одного минимодуля в другой минимодуль.

[0118] В соответствии с некоторыми вариантами осуществления, минимодули у производственного биореактора могут включать форму двойного гироида или модифицированного двойного гироида. Двойной гироид (DG) может содержать два гироида и может включать два сросшихся неперекрывающихся домена. Модифицированный двойной гироид (DG) может включать два сросшихся неперекрывающихся домена, которые могут быть ограничены двумя поверхностями постоянной средней кривизны (CMC), разделенными матричной фазой. Структура модифицированного двойного гироида может включать незначительные модификации в связях немодифицированного двойного гироида с целью адаптации данной структуры к заданной макроструктуре или функции. Модификации могут включать блокировку части связей или пересечений (например, «раструбов»), изменение диаметра одного или обоих фазовых каналов структуры или полное или частичное устранение любого из фазовых каналов, присутствующих в структуре DG. DG или модифицированный DG может включать первую гироидную структуру, переплетенную со второй гироидной структурой. Два канала могут быть разделены пористой мембраной (матричной фазой). В матричную фазу могут диффундировать молекулы газа определенным образом, в основе чего может лежать, по меньшей мере отчасти, конкретное давление и конкретный газовый состав. Если радиусы микроканалов как для жидких, так и для газообразных компонентов равны, поверхность матричной фазы может быть равна их сумме. Две поверхности CMC создают два непрерывных канала, если несколько DG соединены между собой (например, пригнаны друг к другу). Такие два канала создают два неперекрывающихся канала для потока жидкой среды и/или газа. Пористая мембрана может обеспечивать поверхность, к которой могут прикрепляться клетки определенных типов и расти на ней. В соответствии с некоторыми вариантами осуществления, по одному каналу подают жидкую среду через весь производственный биореактор. В соответствии с некоторыми вариантами осуществления, по обоим каналам подают жидкость. В соответствии с некоторыми вариантами осуществления, по одному каналу подают жидкую среду, а по другому каналу подают газ в производственный биореактор. В соответствии с некоторыми вариантами осуществления, диаметр микроканала минимодулей может варьировать, если это необходимо для конкретных типов клеток, производственных требований и т.д. В соответствии с некоторыми вариантами осуществления, минимодули могут иметь правильную структуру кубической оболочки с длиной «L» на ее конце. L можно связать с диаметром развертки. В соответствии с некоторыми вариантами осуществления, L равна двум третям диаметра развертки микроканала, умноженным на квадратный корень из двух, умноженным на квадратный корень из трех. Общая поверхность и объем микроканалов, соответствующих жидкому компоненту, могут быть равны соответствующим размерам газообразного компонента, если радиус обоих компонентов одинаков в пределах минимодулей. В соответствии с некоторыми вариантами осуществления, радиус у компонентов может различаться. В соответствии с некоторыми вариантами осуществления, если оба радиуса равны, радиус микроканала не может превышать 0,7 радиуса развертки. Наиболее короткое расстояние между двумя минимодулями двух разных граней равно радиусу развертки, умноженному на квадратный корень из двух, минус прибавка радиуса канала каждого компонента.

[0119] В соответствии с некоторыми вариантами осуществления, площадь первого канала с DG эквивалентна площади второго канала в DG, и причем площадь матричной фазы равна сумме площади первого канал и площади второго канала.

[0120] Расстояние между матричной фазой, разделяющей каналы, и центром каждого канала является постоянным. Скорость протекания среды и газа через производственный модуль может определяться выбранным типом клетки и плотностью клеток, а также стрессовыми условиями, которые необходимо создавать на клетках. Скорость диффузии газа через матрицу в жидкую среду определяется газовым составом и давлением газа в газовом канале, образованном структурами, а также толщиной мембраны и материалом, выбранным для изготовления каналов и окружающих зон. Скорость потока газа и рабочее давление могут быть связаны с плотностью клеток в культуре. В соответствии с некоторыми вариантами осуществления, поток газа может быть равен объему газообразного компонента в минуту. В соответствии с некоторыми вариантами осуществления, поток газа превышает или равен приблизительно 2-, 3-, 5- или 10-кратному объему газообразного компонента в минуту. В соответствии с некоторыми вариантами осуществления, рабочее давление может варьировать от приблизительно 1 атмосферы (атм) до 5 атм. В соответствии с некоторыми вариантами осуществления, рабочее давление превышает или равно 1 атм, 2 атм, 3 атм, 4 атм, 5 атм или более.

[0121] Одним из преимуществ DG является ослабление гравитационных сил, которые в других структурах могут обеспечивать неравномерное воздействие среды и на газообмен. Такая форма создает трехмерные (3-D) ламинарные силы, так что изменение расстояния от любой клетки до структурной стенки усредняется, что обеспечивает более постоянное и равномерное воздействие на популяцию клеток. Кроме того, форма DG позволяет избежать застойных зон жидкости или газа, где поток может отсутствовать или может прерываться. Это позволяет использовать более высокую пропускную способность биореактора при более низких скоростях и приводит к более низкому сдвиговому напряжению, оказываемому на клетки. В соответствии с некоторыми вариантами осуществления, средняя скорость может превышать или быть равной приблизительно 1 микрон/секунда, 3 микрон/секунда, 5 микрон/секунда, 10 микрон/секунда, 15 микрон/секунда, 20 микрон/секунда, 50 микрон/секунда, 100 микрон/секунда, 200 микрон/секунда или более. DG-структуры обеспечивают лучшую диффузию сред и газов по сравнению с другими системами биореакторов. В соответствии с некоторыми вариантами осуществления, скорость жидкой среды, протекающей через канал в пределах DG, превышает скорость свободного падения клетки, переносимой потоком по тому же каналу.

[0122] DG-структуры обеспечивают увеличенную площадь поверхности во многих вариантах форм, и такая увеличенная площадь поверхности обеспечивает площадь поверхности для роста клеток, а также улучшения потока жидких сред, перемешивания и газообмена. Если L равна L1, поверхность каждого компонента можно описать как Y = 3258,6.ХЕ(-1), где Y обозначает квадратные миллиметры/микролитр, а X равен радиусу, определяемому посредством L1.

[0123] DG-структуры минимодуля объединяются в макроструктуру или макроформу, составляющую производственный биореактор. В соответствии с некоторыми вариантами осуществления, макроструктура представляет собой пирамиду. В соответствии с некоторыми вариантами осуществления, макроструктура представляет собой полую пирамиду, ламеллярную пирамиду, шахматную структуру или бревенчатую структуру. Макроструктуру и количество минимодулей в производственном биореакторе можно адаптировать к скорости деления клеток у подлежащих выращиванию клеток, а также для регулировки скорости жидких сред, газообмена и движения клеток через биореактор. Каждая макроструктура может давать различные возможности для взаимодействия с клетками, и ее можно выбрать с учетом конкретного процесса, который производственный биореактор должен простимулировать. Макроструктура пирамиды и полой пирамиды обеспечивают подходящий микроклимат для роста, при этом сохраняя постоянными значения скорости и плотности клеток. Более чувствительные штаммы со временем могут потребовать дополнительные вмешательства, в таком случае полые пирамиды могут обеспечить такую возможность. Ламеллярные пирамиды обеспечивают подходящий микроклимат для роста и развития, поддерживая постоянными как скорость, так и плотность, при этом обеспечивая полный доступ к каждой клетке в каждый момент времени, что делает возможными прямое вмешательство и прямую обработку. Шахматная и бревенчатая структуры также могут обеспечивать полный доступ к каждой клетке в каждый момент процесса, при этом позволяя контролировать за однородностью скорости и плотности. В соответствии с некоторыми вариантами осуществления, клетки вводят в верхней части макроструктуры, а в основании макроструктуры расположено устройство для сбора клеток.

[0124] Расположение DG-минимодулей в макроструктуре обеспечивает механизм для определения и оптимизации потока жидкой среды и газа в биореакторе. В соответствии с некоторыми вариантами осуществления, макроструктура состоит из слоев или уровней минимодулей. В соответствии с некоторыми вариантами осуществления, минимодули расположены уровнями или слоями, и скорость жидкой среды на каждом уровне является по существу одинаковой. В качестве альтернативы или дополнительно, скорость жидкой среды на каждом уровне или слое может варьировать. Например, скорость жидкой среды может увеличиваться или уменьшаться среди уровней и слоев. Скорость жидкой среды может варьировать от минимодуля к минимодулю или может быть по существу одинаковой среди минимодулей. В соответствии с некоторыми вариантами осуществления, производственный биореактор дополнительно содержит устройство ввода жидкой среды. Устройство для подачи жидкой среды может иметь структуру, обеспечивающую подачу жидкой среды на каждый уровень минимодулей в макроструктуре. В соответствии с некоторыми вариантами осуществления, объем жидкой среды, подаваемый в каждый слой, поддерживает по существу постоянную плотность клеток в каждом из уровней. Радиус микроканала может быть связан с радиусом клеток, плотностью клеток или с другими параметрами (например, нитчатыми структурами, организацией цепей и т.д.). В соответствии с некоторыми вариантами осуществления, плотность клеток может варьировать от 1×10б клеток/мл до 1×1012 клеток/мл. В соответствии с некоторыми вариантами осуществления, скорость жидкой среды через каждый минимодуль определяется скоростью деления клеток, так чтобы время прохождения клеткой одного минимодуля или уровня минимодулей было по существу равно скорости деления клеток или пропорционально скорости деления клеток, так чтобы клетка делилась превышающее или равное 1, 2, 3, 4, 5 или более 5 раз за время прохождения. В соответствии с некоторыми вариантами осуществления, первый уровень имеет х объем жидкой среды, так что при заданном количестве клеток плотность составляет X, а второй уровень имеет 2х объем жидкой среды, и в ходе прохождения клетками из первого уровня на второй уровень количество клеток удваивается (например, каждая клетка делится в среднем один раз), поэтому плотность на втором уровне остается X (т.е. постоянная плотность клеток среди уровней).

[0125] Дополнительную оптимизацию можно осуществить путем определения ожидаемого количества клеток в основании макроструктуры, т.е. в конце макроструктуры, куда клетки и/или биопродукт прибывают перед выходом из структуры через вывод в контейнер для сбора. Также можно определить ожидаемое количество клеток для разных уровней макроструктуры. Исходя из ожидаемого количества клеток в основании и на различных уровнях, поток газа и жидкой среды можно откорректировать для каждого уровня с целью компенсации возросших потребностей в газе и жидкой среде по мере увеличения количества клеток в результате деления клеток, перемещения клеток и скапливания клеток по мере их прохождения по биореактору в направлении основания данной структуры.

Подача жидкой среды

[0126] В соответствии с некоторыми вариантами осуществления, система включает один или более компонентов для подачи жидкой среды в один или более модулей. Компоненты могут включать одно или более из блока для составления культуральных сред, электропоратора или другого устройства для стерилизации, резервуара, насоса, датчика пузырьков и отвода для пузырьков газа. Блок для составления культуральных сред создает жидкую среду для одного или более модулей путем смешивания компонентов среды и воды, которые подходят для клеток, подлежащих выращиванию в данных модулях. Электропоратор может быть соединен с блоком для создания среды с целью очистки среды и обеспечения подачи стерильной исходной среды в один или более модулей для выращивания клеток. С целью детекции и удаления каких-либо пузырьков газа в жидкой среде, вводимой при создании или очистке среды, в систему можно включить датчик пузырьков и отвод для пузырьков газа.

[0127] Система также может включать один или более резервуаров для хранения резервной среды перед ее подачей в модуль. В соответствии с некоторыми вариантами осуществления, система включает по меньшей мере 2, 3, 4, 6, 8, 10 или более резервуаров. Резервуары можно заполнять асинхронно, так чтобы один резервуар заполнялся, пока другой, который уже полностью заполнен, использовался для подачи жидкой среды в один или более модулей. Разделение резервуаров таким образом является дополнительным преимуществом для изоляции в системе модулей для выращивания клеток от какой-либо связи с электрическим током. Наполняемый резервуар подвергается некоторому воздействию электрического тока, который может протекать от предшествующих компонентов, таких как электропоратор. Заполненный резервуар изолирован от потока электрического тока, поэтому он не может передавать ток компонентам и модулям, расположенным в цепи после него. В соответствии с некоторыми вариантами осуществления, объем резервуара можно связать с пропускной способностью производственного биореактора за время деления клетки, выбранной для данного процесса. В соответствии с некоторыми вариантами осуществления, можно установить несколько резервуаров параллельно и без связи друг с другом. В соответствии с некоторыми вариантами осуществления, можно установить несколько резервуаров последовательно.

[0128] Компоненты для подачи жидкой среды также могут иметь один или более датчиков. Датчики могут измерять параметры, в том числе рН и температуру среды. Датчик может представлять собой встроенный датчик, или он может быть присоединен к устройству для забора образцов, которое периодически забирает образцы среды из одного или более компонентов для подачи жидкой среды. Система подачи может подавать жидкую среду с различной скоростью, в зависимости от способа использования, масштаба и типа работы системы. В соответствии с некоторыми вариантами осуществления, при подаче жидкой среды может подаваться от приблизительно 100 микролитров до приблизительно 1000 литров за час в один или более последующих модулей. В соответствии с некоторыми вариантами осуществления, при подаче жидкой среды подается от приблизительно 0,5 литра до 1000 литров за час в один или более последующих модулей. В соответствии с некоторыми вариантами осуществления, при подаче жидкой среды подается от приблизительно 0,5 литра до 5 литров за час в один или более последующих модулей. В соответствии с некоторыми вариантами осуществления, при подаче жидкой среды подается от приблизительно 10 литров до 80 литров за час в один или более последующих модулей. В соответствии с некоторыми вариантами осуществления, при подаче жидкой среды подается от приблизительно 100 литров до 1000 литров за час в один или более последующих модулей.

[0129] К компонентам для подачи жидкой среды могут относиться один или более насосов для подачи потока среды из резервуара или блока для составления культуральных сред к последующему компоненту, такому как клеточный чип, биореактор с контролируемой средой или производственный биореактор. Система может включать больше или равно 1, 2, 3, 4, 6, 8, 10 или более насосов. Насосы могут быть насосами одного типа или могут быть насосами разных типов. Примеры насосов включают поршневой насос, перистальтический насос и нагнетательный насос. Система подачи жидкой среды выполнена с возможностью подачи однонаправленного потока к последующему компоненту. В соответствии с некоторыми вариантами осуществления, насос представляет собой поршневой насос, который применяют для подачи среды в клеточный чип. В соответствии с некоторыми вариантами осуществления, насос представляет собой поршневой насос, который применяют для подачи среды в биореактор с контролируемой средой. В соответствии с некоторыми вариантами осуществления, насос представляет собой перистальтический насос, применяемый для подачи среды в производственный биореактор. В соответствии с некоторыми вариантами осуществления, система включает три насоса: два поршневых насоса, снабжающих клеточный чип и реактор с контролируемой средой, и перистальтический насос, снабжающий производственный биореактор. Насосы могут работать синхронно или индивидуально. В соответствии с некоторыми вариантами осуществления, все три насоса работают синхронно. Один или более насосов подают среду с высокой степенью точности объема и скорости в последующие модули. В соответствии с некоторыми вариантами осуществления, точность находится в пределах 1, 2, 3, 4 или 5 нанолитров.

Подача газа и газовый состав

[0130] Система по настоящему изобретению совместима для применения с клетками, для которых необходим конкретный газовый состав, например клетки, для которых для роста и выживания необходим кислород. Материалы, используемые при создании модулей биореактора, могут включать стекло, акрил, коллаген, полидиметилсилоксан (PDMS), полиэтиленгликоль (PEGDA), поли(D,L-лактид) и другие биосовместимые полимеры, которые позволяют производить оксигенацию среды. В соответствии с некоторыми вариантами осуществления, система включает контроллер, который контролирует диффузию растворов кислорода и других газов в одном или более модулях. Газовый раствор составляют из чистых газообразных компонентов, например, из емкостей для хранения газа или других механизмов подачи, создавая раствор чистого газа или газовой смеси с различными концентрациями и различной скоростью потока. В качестве альтернативы или дополнительно, газовая смесь может быть представлена в виде очищенной воздушной смеси. Газовый раствор можно использовать для обеспечения аэрации микроклимата и контроля за рН, а также для введения в жидкую фазу углерода, азота, фосфора и серы. В соответствии с некоторыми вариантами осуществления, система имеет более одного газового контроллера или механизма, так чтобы в различные модули в системе можно было подавать различные газовые растворы.

Датчики и отслеживание микроклимата

[0131] В соответствии с некоторыми вариантами осуществления, один или более модулей биореактора связаны одним или более датчиками, которые отслеживают один или более признаков микроклимата. Датчики можно разместить в конкретных точках модуля или системы. Измерения производят на протяжении определенных временных рамок и в конкретные моменты времени, так чтобы датчик отслеживал конкретную группу клеток. В соответствии с некоторыми вариантами осуществления, один или более датчиков прослеживают признак для конкретной группы клеток по мере их продвижения через модуль биореактора. Датчик может запускать конкретную обработку в ответ на результат измерений с целью оптимизации условий для конкретной группы клеток. Примеры измерения и оптимизации признаков включают рН, разбавленный кислород, общий газовый состав, разбавление других газов, температура, плотность клеток, профиль Сахаров, транскриптомику и отслеживание целевых транскриптов, метаболомику и протеомику. В соответствии с некоторыми вариантами осуществления, данный признак измеряют по меньшей мере в 1, 2, 3, 4, 6, 8, 10 или более моментах времени. В соответствии с некоторыми вариантами осуществления, данный признак измеряют для конкретной группы клеток, и он может быть приурочен к моментам времени для отслеживания данной группы по мере ее продвижения через модуль биореактора и от модуля к модулю.

[0132] В соответствии с некоторыми вариантами осуществления, по меньшей мере один датчик измеряет такой параметр, как биологический параметр, физический параметр или химический параметр клеток внутри, при прохождении через, на входе и/или на выходе модуля биореактора. В соответствии с некоторыми вариантами осуществления, по меньшей мере один датчик измеряет такой параметр, как биологический параметр, физический параметр или химический параметр микроклимата клетки в модуле биореактора. Примеры биологических параметров включают скорость деления клеток, скорость роста клеток, ответ клеток на стресс, содержание белков в клетках, содержание углеводов в клетках, содержание жиров в клетках и содержание нуклеиновых кислот в клетках. Примеры физических параметров включают размер клеток, плотность клеток, скорость потока клеток, скорость потока жидкой среды, скорость перемешивания, мутность, температуру и давление. Примеры химических параметров включают рН, состав жидкой среды, концентрацию отдельных компонентов жидкой среды, газовый состав, концентрацию газа и состав растворенных газов.

[0133] В соответствии с некоторыми вариантами осуществления, система или модуль имеют связь с фотокамерным устройством. Камера отслеживает вывод по меньшей мере из одного модуля биореактора. Камера может собирать информацию о биохимическом, физическом или химическом признаке у вывода биореактора. В соответствии с некоторыми вариантами осуществления, фотокамерное устройство собирает такую информацию, как количество клеток, скорость движения клеток и плотность клеток. В соответствии с некоторыми вариантами осуществления, камера представляет собой камеру с инвертированным спектром, которая собирает информацию в диапазоне длин волн. В соответствии с некоторыми вариантами осуществления, фотокамерное устройство собирает информацию на выводе у двух или более модулей биореактора.

Способ применения

[0134] В соответствии с некоторыми вариантами осуществления настоящего изобретения, один или более модулей используют для получения клеток. На фиг.8 показан пример способа использования одного или более модулей для получения клеток. Клетки можно собирать через выводной канал модуля. В соответствии с некоторыми вариантами осуществления, клетки собирают в пределах модуля и хранят в модуле, например, как хранение клеток в модуле по типу клеточного чипа. В соответствии с некоторыми вариантами осуществления, один или более модулей используют для получения такого биопродукта из клеток, как малая молекула, белок, антитело, метаболит или другой продукт, продуцируемый клетками, которые выращивают в данном модуле. Биопродукт можно собирать через выводной канал модуля и отделять от растущих клеток, например, с помощью диффузии через пористую мембрану или с помощью фильтрации. В соответствии с некоторыми вариантами осуществления, биопродукт находится внутри клетки. Для сбора такого биопродукта собирают клетки, их лизируют, а затем биопродукт можно подвергнуть дополнительной очистке. В соответствии с некоторыми вариантами осуществления, биопродукт секретируется из клеток и может быть собран без сбора или лизирования клеток.

[0135] Модули биореактора и системы по настоящему изобретению можно использовать для получения клеток конкретных типов, и они также обладают широкими возможностями в использовании для выращивания ряда типов клеток. В соответствии с некоторыми вариантами осуществления, модуль по типу клеточного чипа используют для подачи клеток отдельного типа в биореактор с контролируемой средой, в производственный биореактор или в модуль с контролируемой средой, который последовательно связан с производственным модулем. Модуль по типу клеточного чипа позволяет получать индивидуализированные клетки и производить оптимизацию микроклимата.

[0136] Клеточный чип может осуществлять производство стволовых клеток и терапевтических средств на основе клеток других типов, в том числе аутологичное и аллогенное производство. Клеточный чип может осуществлять производство стволовых клеток и терапевтических средств на основе клеток других типов, в том числе аутологичное и аллогенное производство. В соответствии с некоторыми вариантами осуществления, можно осуществлять размножение Т-клеток, доставку генов в них или их активацию для персонализированного лечения Т-клетками с химерными антигенными рецепторами (CAR-Т). В соответствии с некоторыми вариантами осуществления, стволовые клетки могут быть недифференцированными, их можно выращивать и/или подвергать дифференцировке.

[0137] В соответствии с некоторыми вариантами осуществления, клетки, подлежащие выращиванию в системе, представляют собой прокариотические клетки, такие как бактериальные клетки. В соответствии с некоторыми вариантами осуществления, выращиваемые клетки представляют собой эукариотические клетки, такие как дрожжевые клетки, грибковые клетки, водорослевые клетки, растительные клетки, птичьи клетки или клетки млекопитающих. Клетки могут свободно плавать в культуре или могут быть адгезивными клетками, которые прикрепляются к одной или более поверхностям внутри биореактора. Клетки можно трансформировать или иным образом модифицировать методами инженерии для получения такого биопродукта, как гетерологичный белок, малая молекула или метаболит.

[0138] В соответствии с некоторыми вариантами осуществления, описываемые в настоящем документе системы, устройства и способы можно применять в условиях невесомости или в условиях микрогравитации, так чтобы выращивать клетки в условиях невесомости или микрогравитации.

Способы построения модулей биореактора

[0139] Системы, компоненты и модули по настоящему изобретению можно изготовить из различных материалов, и такие материалы можно адаптировать в зависимости от выращиваемых клеток и используемых факторов микроклимата клеток. В соответствии с некоторыми вариантами осуществления, компоненты и модули или их части изготавливают с помощью 3-D печати. Для печати можно использовать коммерчески доступные смолы и биосовместимые полимеры, отверждающиеся под действием ультрафиолета (UV). В соответствии с некоторыми вариантами осуществления, форму каждого минимодуля конструируют отдельно в виртуальной среде. В соответствии с некоторыми вариантами осуществления, компоненты и модули представлены коммерчески доступными компонентами, которые объединяют и собирают так, как описано в настоящем документе. В соответствии с некоторыми вариантами осуществления, применяемый биоматериал может включать в себя комбинацию из трех подкомпонентов: биосовместимого полимера, фото инициатора и поглотителя UV-излучения.

[0140] Устройства и системы по настоящему изобретению можно сформировать с помощью 3-D печати, такой как, например, стереолитография. В некоторых примерах компьютерную модель производства (САМ) или компьютерную модель схемы (CAD) устройства по настоящему изобретению передают в систему для 3-D печати, которая использует стереолитографию, предусматривающую наличие контейнера, содержащего смолу, содержащую фотоинициатор и один или более предшественников полимера. Для нанесения заранее запрограммированной схемы или структуры на поверхность контейнера, содержащего смолу, можно использовать ультрафиолетовый (UV) лазер. Смола может представлять собой фотополимер, который фотохимически затвердевает с образованием единого слоя при контакте с UV-лазером. В процессе производства можно слой за слоем добавлять дополнительную смолу и давать ей отвердеть. Стереолитографию можно применять для построения модулей с применением аддитивного нисходящего и восходящего подхода производства.

[0141] Альтернативные подходы по конструированию модулей реактора могут включать самосборку полимеров, например блок-сополимеров, с получением 3-D гироидных структур или субтрактивные методы изготовления. Субтрактивные методы изготовления могут включать химическое или механическое удаление абляционных материалов. Например, абляционные материалы могут образовываться при адгезивном изготовлении с помощью спекающего лазера. Абляционный материал можно заглубить, погрузить в биосовместимые полимеры или иным образом покрыть такими материалами. Абляционный материал затем можно растворить или механически удалить с получением 3-D гироидных структур из биосовместимых полимеров.

Получение индивидуализированных биореакторов и системы

[0142] Модули биореактора и системы по настоящему изобретению можно сконструировать и адаптировать под клетки конкретных типов и получение на выводе конкретного продукта. В частности, производственный биореактор можно сконструировать для конкретного и индивидуализированного применения. Можно подобрать объемы минимодулей, каналы внутри каждого минимодуля, количество уровней в минимодуле и их макроструктуру для создания микроклимата клетки (например, условий для роста) с целью достижения заданной плотности клеток, скорости деления клеток, сдвиговых усилий жидкости и с целью обеспечения выбора жидкой среды, жидкости для сбора биопродуктов (такой как растворители для выламывания и/или фракционирования клеточных компонентов), скорости потока жидкости, газового состава и скорости потока газов.

[0143] В соответствии с некоторыми вариантами осуществления, система включает механизм оптимизации модуля биореактора и микроклимата клетки в сочетании с одной или более клетками. Механизм оптимизации может предусматривать цикл работы с данными, в ходе которого получают информацию о микроклимате клетки (Е) и характеристиках клетки (В) от одного или более датчиков и камер в системе. Кроме того, в случае клеток, вводимых в систему, генетическая информация (G) в отношении типов клеток можно вводить в механизм оптимизации для обеспечения такой взаимосвязь, как G*E=В.

[0144] В соответствии с некоторыми вариантами осуществления, микроклимат клетки отличается по одному или более параметрам (таким как рН, компоненты жидкой среды, газовый состав, значения скорости потока) и информацию о микроклимате клетки собирают для каждого такого отличия (E1-En) и получаемых характеристик клетки при каждом отличии микроклимата (B1-Bn). В соответствии с некоторыми вариантами осуществления, вводимые клетки отличаются (например, имеют различную генетику, например, клетки, которые отличаются по скорости деления, потреблению питательных веществ, морфологии, стрессоустойчивости) и информацию для каждой из них собирают по каждому отличию клетки (G1-Gn) и получаемым характеристикам клетки при заданном микроклимате в биореакторе (B1-Bn). В соответствии с некоторыми вариантами осуществления, различия в микроклимате клетки и генетике клетки, а также в измеряемых характеристиках, используют так, что при большем отличии каждой клетки (G1-Gn) механизм оптимизации измеряет характеристику (B1-Bn) в более чем одном микроклимате клетки (E1п). Механизм оптимизации ранжирует, указывает или иным образом сравнивает связи G*E=В среди различных форм генетики клетки и микроклиматов клетки, выдавая информацию о совместимости, оптимизации и ранжировании различной генетики клетки при ряде тестируемых микроклиматах клетки. Таким образом, механизм оптимизации может оптимизировать производство, исходя из генетики клетки, микроклимата клетки или как первого, так и второго. Таким образом, механизм оптимизации может обеспечивать параметры для оптимизации производственного биореактора, в том числе конструирования индивидуализированного биореактора и индивидуализированных условий микроклимата клетки для клеток данного типа и результатов на выводе в процессе производства.

[0145] В соответствии с некоторыми вариантами осуществления, механизм оптимизации представляет собой компьютеризированное устройство. В соответствии с некоторыми вариантами осуществления, механизм оптимизации включает в себя алгоритм, который задействует данные, полученные по итогам одного отличия или одного набора отличий с образованием следующего отличия или набора отличий для тестирования. В соответствии с некоторыми вариантами осуществления, описываемые в настоящем документе системы, устройства и способы можно применять в условиях невесомости или в условиях микрогравитации, так чтобы выращивать клетки в условиях невесомости или микрогравитации.

Пример модуля биореактора и систем

[0146] Представленные в настоящем документе модули биореактора можно применять по отдельности или в комбинации для построения системы для получения, оптимизации и, в некоторых случаях, хранения клеток. В соответствии с некоторыми вариантами осуществления, описываемые в настоящем документе системы, устройства и способы можно применять в условиях невесомости или в условиях микрогравитации, так чтобы выращивать клетки в условиях невесомости или микрогравитации. Пример варианта осуществления 3-модульной системы показан на фиг. 1. В данном примере варианта осуществления, с системой соединены три биореактора: клеточный чип 200, биореактор 400 с контролируемой средой и производственный биореактор 800. Жидкую среду смешивают в блоке 101 для составления культуральных сред и перемещают для очистки в электропоратор 20. Электропоратор может включать охладитель 21 для доведения температуры жидкой среды до рабочей для системы температуры. Насос 40 перемещает жидкую среду из блока 101 для составления в электропоратор 20. Насос 50 подает поток среды через отвод 60 для пузырьков газа, что позволяет удалить пузырьки, образующиеся при электропорационной обработке, и датчик 70 пузырьков отслеживает протекающую среду в отношении надлежащего состояния отсутствия пузырьков. Затем среда достигает резервуара 30. В соответствии с некоторыми вариантами осуществления, резервуар 30 состоит из двух или более резервуаров, так что после заполнения первого резервуара 31 жидкую среду подают в модули биореактора, при этом заполняется второй резервуар 32. Каждый из модулей 200, 400 и 800 биореактора получает жидкую среду из резервуара при помощи соответственно насосов 100, 110 и 120. Газ подают в биореакторы с помощью системы 500 подачи газа, которая может содержать одно или более устройств хранения газа для каждого газообразного компонента. Система подачи газа может включать управляющее устройство для смешивания и регулировки газового состава и подачи потока газа в биореакторы, в том числе различных смесей и с различными скоростями потока отдельно в каждый модуль биореактора.

[0147] Система и биореакторы также могут включать определенные выводные приемники и устройства. Каждый биореактор, который включает ввод и проток для жидкой среды, также может включать устройства для отведения жидкости. Общий отвод 600 жидкости можно использовать для сбора отработанной жидкой среды из всех модулей биореактора. Аналогично, в случае каждого биореактора, который включает ввод и проток для газа, каждый отвод газа может собирать отработанный или выделенный клетками газовый состав. Общий отвод 550 газа можно использовать для сбора отводимого газа из всех модулей биореактора.

[0148] Можно включить один или более датчиков с использованием биореактора или в систему из множества биореакторов для отслеживания одного или более параметров, в том числе физического, биологического и химического параметров, а также их комбинации. Примеры датчиков, показанные на фиг.1, включают датчик 80 для слежения за блоком для составления культуральных сред, датчик 81 для слежения за электропоратором и датчик 82 для слежения за одним или более резервуарами. Дополнительный датчик 83 отслеживает вывод из модуля по типу клеточного чипа. Датчики 84 и 85 отслеживают вывод жидкости и газа соответственно из модуля с контролируемой средой. Аналогично, датчики 86 и 87 отслеживают вывод жидкости и газа соответственно из модуля производственного биореактора.

[0149] Система из одного или более биореакторов может дополнительно предусматривать связь между модулями биореактора. Как видно на примере системы на фиг.1, клеточный чип связан посредством соединения 280 с модулем с контролируемой средой и может подвергаться регуляции для обеспечения прохождения клеток из вывода из клеточного чипа к вводу в модуль с контролируемой средой. Коннектор 380 позволяет клеткам из вывода из модуля с контролируемой средой переноситься с потоком к вводу в модуль производственного биореактора. Коннектор 480 обеспечивает взаимную связь между выводом из производственного биореактора с коллектором 700 приемника или устройства для сбора. Коллектор 700 может собирать клетки, биопродукт или их комбинацию из производственного биореактора 800. В соответствии с некоторыми вариантами осуществления, коллектор 700 может включать фильтры, мембраны или другие блоки и/или модули для разделения, такого как отделение клеток от жидкой среды, отделение биопродукта от клеток и отделение клеточных компонентов или разделения клеточных компонентов.

[0150] На фиг. 2А показан пример микроклимата 205 клетки в модуле 201 по типу чипа. В данном примере клеточный чип включает клапанный уловитель 220, несколько всасывающих уловителей 240 и несколько переливных уловителей 260. На конце ввода находится отверстие 202 для ввода среды для подачи среды в микроклимат клетки. На противоположном конце (в направлении потока жидкой среды) находится отверстие 210 для сбора, предназначенное для сбора клеток, выращенных в модуле по типу клеточного чипа. Подробности примера контура 230 для среды у клеточного чипа 201 показан на фиг. 2В. Контур для среды может включать отверстие 231 для ввода среды, отверстие 233 для вывода среды и каналы 235 для подачи среды. Подробности примера контура 250 для газа у клеточного чипа 201 показан на фиг. 2В. Контур для газа может включать контур 251 для ввода газа, контур 253 для вывода газа и каналы 255 для распределения газа. На фиг. 2С показан вид сбоку клеточного чипа 201 с примером сборки контура 230 для среды, контура 250 для газа и микроклимата 205 клетки.

[0151] На фиг. 3A-3F показаны примеры уловителей для применения с модулем по типу клеточного чипа. Пример клапанного уловителя 221 схематически показан на фиг. 3А (вид сверху) и 3В (вид сбоку), показан рядом с отверстием 202 для ввода среды. Клапанный уловитель сконструирован из противопотоковых приспособлений 225, окружающих внутреннее пространство, данные приспособления 225 имеют отверстия 227 между ними, которые ограничивают поток 203 клеток из внутреннего пространства уловителя. В соответствии с некоторыми вариантами осуществления, отверстия 227 между приспособлениями 225 имеют размер, который в два раза превышает диаметр клеток, подлежащих выращиванию на клеточном чипе. В соответствии с некоторыми вариантами осуществления, отверстия 227 имеют размер, который превышает диаметр клеток, подлежащих выращиванию на клеточном чипе. Клетки можно инокулировать на чип и в клапанный уловитель 221 с использованием инокуляционного отверстия 223.

[0152] На фиг. 3С и 3D показан пример структуры переливного уловителя 240 на виде сверху (фиг. 3С) и сбоку (фиг. 3D). Уловители сконструированы из структур стенок 245 корпуса с каналами, расположенных так, чтобы они окружали внутреннее пространство с трех сторон, и в порядке, создающем отверстия 247 между секциями 246 стенок. Размер отверстий 247 можно адаптировать к клеткам, подлежащим выращиванию на чипе. В соответствии с некоторыми вариантами осуществления, отверстия 247 меньше в диаметре, чем живые клетки, но больше, чем диаметр мертвой клетки, с тем чтобы живые клетки 203 оставались заблокированными уловителями во внутреннем пространстве, сформированном стенками 245 корпуса с каналами, до тех пор, пока они не достигнут достаточного количества для перелива корпусной структуры, тогда как мертвые клетки проходили через отверстия 247 и не задерживались во внутреннем пространстве, сформированном из стенок 245 корпуса с каналами.

[0153] Пример всасывающего уловителя 260 показан на виде сверху и сбоку на фиг. 3Е и 3F. Уловитель имеет пористые области 262 и ограждающие микроклимат стенки 264. Пористая область сконструирована таким образом, чтобы размер клеток превышал размер пор.

[0154] На фиг. 4А-4Е изображены примеры модулей с контролируемой средой и их компонентов. На фиг. 4А изображен пример сегмента 405 с контролируемой средой. Пример сегмента включает канал 445, по которому клетки и связанный фактор микроклимата клеток переносятся с потоком в модуль 420 для смешивания, где жидкая среда из канала 443 смешивается с клетками, а после смешивания протекает в клеточную камеру 410 для роста клеток и, необязательно, измерения с помощью одного или более датчиков или одной или более камер. На фиг. 4В изображен пример микроклимата 401 клеток в модуле с контролируемой средой, который включает несколько сегментов, соединенных последовательно и параллельно, ввод 440 для клеток и вывод 460 для клеток из модуля с контролируемой средой. Каждый пример сегмента включает модуль для смешивания (например, 421, 422, 423) и клеточные камеры (например, 411, 412, 413). На фиг. 4С показан пример контура 470 для газа (вверху) для примера микроклимата 401 клетки с контролируемой средой (внизу). На фиг. 4D показан пример контура 480 для жидкой среды (вверху) с вводом среды и пример каналов 490 для ввода клеток (внизу). На фиг. 4Е показан пример наложения контура 480 для жидкой среды, контура 470 для газа и каналов 490 для ввода клеток на пример микроклимата 401 клетки с контролируемой средой для построения примера модуля 400 с контролируемой средой, показанного на виде сверху и сбоку.

[0155] На фиг. 5 изображен пример производственного биореактора 800, который включает инокуляционное отверстие 802 для ввода клеток в биореактор и структуру 804 для распределения клеток, при этом клетки переносятся потоком в биореактор и смешиваются с жидкой средой и другими компонентами микроклимата клетки. Ввод 820 жидкой среды позволяет вводить жидкую среду в производственный биореактор, которая затем распределяется по системе 822 подачи среды с помощью соединений для подачи среды (например, 824), а неиспользованная среда собирается 826. Газ входит во входное отверстие 810 для газа и распределяется по биореактору с помощью каналов 814 для газовой фазы и выводится через вывод 818 для газа. Клетки и/или продуцируемые клетками продукты можно собирать с помощью отверстия 870.

[0156] На фиг. 6А-6С изображены примеры макроструктур для применения с описываемыми в настоящем документе производственными биореакторами. На фиг. 6А показан пример макроструктуры 881 пирамиды и макроструктуры пирамиды, наложенной на систему 883 распределения среды. На фиг. 6В показаны примеры макроструктур 885 и 887 полых пирамид. На фиг. 6А показан пример макроструктуры 889 бревенчатого типа.

[0157] В соответствии с некоторыми вариантами осуществления, макроструктуры для производственных биореакторов состоят из минимодулей, каждый из которых может иметь заданную форму, такую как двойной гироид или модифицированный двойной гироид или модифицированный двойной гироид. На фиг. 7А показан пример варианта осуществления формы 841 модифицированного двойного гироида для применения при построении одного или более минимодулей для производственного биореактора. Как можно видеть в нижней части фигуры, минимодуль двойного гироида схематически представлен как блок 841 А, такой как показанный в макроструктурах на фиг. 6А-6С.Форма 841 модифицированного двойного гироида может включать фазы 842 и 844, которые при сборке, такой как изображенной на фиг. 7В, могут собираться в перекрывающиеся каналы 843 и 845. Кроме того, между фазами 842 и 844 расположено межмембранное пространство 846. На фиг. 7С показан пример развертки части примера канала 842, на которой виден постоянный диаметр на протяжении данного канала.

Сборка минимодулей в макроструктуры

[0158] Описываемые в настоящем документе минимодули можно собрать в макроструктуры, обеспечивающие целенаправленный контроль за потоком и распределением среды и газа. В соответствии с некоторыми вариантами осуществления, минимодуль представляет собой модифицированный двойной гироид (DG), который собран в макроструктуру, образующую производственный биореактор. На фиг. 9A-9F проиллюстрирована сборка, которая начинается с первого минимодуля (например, DG) и продолжается сборкой дополнительных минимодулей так, чтобы повторялась данная геометрия, с образованием трехмерной (3-D) матрицы, рост которой ограничен двумя из трех возможных измерений. Соединенные точки одного минимодуля с другим минимодулем называют «раструбом». Данную первую сборку связанных минимодулей, которые имеют идентичную ориентацию, называют «слоем». Слой может быть устроен, например, в виде ромбовидной формы, так чтобы, в соответствии с некоторыми вариантами осуществления, если в выбранных направлениях связать одинаковое число модулей, то получаемый в результате рост не будет пропорциональным, и в силу этого рост слоев будет неравномерным по отношению одного к другому. В соответствии с некоторыми вариантами осуществления, слой устроен в виде квадратной формы или такой, чтобы конечный рост был пропорциональным. На фиг. 9D-9F проиллюстрирован один пример варианта осуществления сборки и роста слоев.

[0159] На краях каждого слоя несоединенные раструбы минимодулей можно использовать для соединения слоя с другими функциональными частями, такими как ввод для потока среды или для газа и вывод отработанной среды, отработанного газа, а также вывод клеток или продуцируемого клетками биопродукта.

[0160] В соответствии с некоторыми вариантами осуществления, сборка слоев минимодулей («первая матрица») может быть совмещена со второй сборкой слоя минимодулей («второй матрицей»), в результате чего вторая матрица занимает свободные пространства, оставляемые первой матрицей, и посредством чего данные матрицы, которые занимают один и тот же объем, не имеют точек соприкосновения и сохраняют постоянное минимальное расстояние. Пример сборки двух матриц показан на фиг. 10A-10F. На фиг. 10А показан пример части двойного гироида, вписанного в куб. На фиг.10 В показан вид в перпендикулярном разрезе структуры с фиг. 10А. На фиг. 10С и 10D показан пример направления роста второго слоя по отношению к первому слою. На фиг. 10Е показан пример объема, вычитаемого из роста пирамиды и против часовой стрелки. На фиг. 10F показан пример направления часовой стрелке роста макроструктуры по вертикальной оси полой пирамиды.

[0161] В соответствии с некоторыми вариантами осуществления, минимодули собирают в макроструктуру полой пирамиды. Полая пирамида имеет объем полого центра и увеличивающееся поперечное сечение. При использовании макроструктуры полой пирамиды питающий контур может служить как внешним, так и внутренним периметрами. В случае конструкции полой пирамиды матрица имеет начальный слой, который соединен с распределителем и слоем, который, в свою очередь, соединяется с коллектором. Количество верхних раструбов начального слоя, как и нижних раструбов слоя, которые соединяются с коллектором, может принадлежать множеству М=2n. Таким образом обеспечивают, чтобы соединительные каналы, или древа, могли сбалансированным образом попарно разветвляться. Древо может быть дистрибутивной структурой (вводом) и сборкой (выводом) беспузырькового биореактора. Как на вводе, так и на выводе канал может переходить или разветвляться из одного канала на 2n каналов. Увеличение объема между слоями (это количество минимодулей, которое добавляют между одним слоем и следующим слоем в направлении потока) определяется биореактором и задается (i) чередующимся направлением роста между его краями внешнего периметра; и (ii) увеличением его внутреннего периметра (т.е. периметра внутреннего полого центра). Например, если N представляет собой число модулей на одном из краев внешнего периметра полой пирамиды, а n представляет собой число минимодулей, которое составляет один из краев внутреннего периметра полой пирамиды, тогда если в одном слое N=(8;8), то n=(4;4) (см. фиг. 12). Данная логика повторяется попеременно между внешними краями пирамиды в каждом слое в направлении по часовой стрелке (с учетом направления потока). В результате получают ступенчатую пирамиду, ступени которой образуют граненую спираль. Внутренний периметр также имеет спиральный рост, но с меньшей частотой, чем внешний периметр, и направление роста внутреннего периметра является противоположным направлению роста внешнего периметра (см. фиг. 13А и 13В). Взаимодействие между внутренними и внешними спиралями и направлением потока приводит к вихревому движению текущей среды внутри структуры полой пирамиды.

[0162] В соответствии с некоторыми вариантами осуществления, питающая система соединена с биореактором при помощи одного или более внутренних каналов. Вспомогательный канал питающего контура может окружать периметр одного или более слоев биореактора на эквивалентном расстоянии с каждой стороны данного слоя. Вспомогательные каналы могут присоединяться к одному или более раструбам минимодулей в качестве краев слоя. Пример набора связей показан на фиг. 11А - 11F.

[0163] В соответствии с некоторыми вариантами осуществления, питающий контур соединяется в 1, 2, 3, 4, 5, 6, 7, 8 или более 8 точках с биореактором. В соответствии с одним вариантом осуществления, питающий контур служит биореактором с макроструктурой полой пирамиды, и питающий контур имеет деление на 5 вспомогательных каналов. Один из этих вспомогательных каналов заходит внутрь внутреннего канала пирамиды, а остальные питающие вспомогательные каналы расположены параллельно краям каждого слоя (внешние каналы). Баланс давления и потока в питающем контуре поддерживают за счет пропорциональности внешнего и внутреннего каналов питающей системы. Пример питающего контура для формы полой пирамиды показан на фиг. 14.

[0164] В соответствии с некоторыми вариантами осуществления, макроструктура биореактора представляет собой ламеллу. В соответствии с некоторыми вариантами осуществления, питающая система соединена с биореактором при помощи одного или более внутренних каналов. Вспомогательный канал питающего контура может окружать периметр одного или более слоев биореактора на эквивалентном расстоянии с каждой стороны данного слоя. Вспомогательные каналы могут присоединяться к одному или более раструбам минимодулей в качестве краев слоя. Пример набора связей показан на фиг. 11А-11F.

[0165] В соответствии с некоторыми вариантами осуществления, в биореакторе использована ламеллярная макроструктура, состоящая из минимодулей, таких как DG. Ламеллярная макроструктура имеет лист постоянной толщины и увеличивающегося поперечного сечения, состоящий из минимодулей. Постоянная толщина листа обеспечивает равномерный доступ веществ из питающего контура. Увеличение объема между слоями (это количество модулей, которое добавляют между одним слоем и следующим слоев в направлении потока) определяется биореактором и задается чередующимся направлением роста между наиболее короткими краями листов (см., например, фиг. 15). В ламеллярной макроструктуре может быть один или более одного листа, например, 2, 3, 4, 5, 6, 7, 8 или более 8 листов, расположенных параллельно. Пространство между каждым листом можно использовать для размещения там питающего контура или его части, которая питает модули в листе (см., например, фиг. 16).

[0166] В соответствии с некоторыми вариантами осуществления, минимодули собраны в древовидно-шахматную макроструктуру, которая имеет по меньшей мере одну полую колонку с постоянным поперечным сечением, которая пересекает слои минимодулей в продольном направлении. В соответствии с некоторыми вариантами осуществления, древовидно-шахматная макроструктура имеет 1, 2, 3, 4 или более 4 таких колонок. Колонки можно использовать для создания зоны для транспортировки жидких сред и других веществ по каналам, которые следуют за продольной колонкой. Сбор отработанной среды, газа, клеток и биопродуктов можно производить на одной или более или всех внешних сторонах структуры за счет разницы давления между центром колонки и поверхностями. Пример древовидно-шахматной макроструктуры показан на фиг.17, а пример питающей и собирающей структуры показан на фиг. 18.

Системы соединений биореактора

[0167] Модули могут быть связаны, соединены или сообщены по текучей среде с помощью одной или более систем соединения. На фиг. 19А и 19В показан пример системы соединений, которая включает в себя коннектор между модулем по типу клеточного чипа и источником жидкости или модулем для сбора жидкости. Коннектор включает основу и набор игл, которые обеспечивают вход и выход жидкости и/или содержащей клетки жидкости. В соответствии с некоторыми вариантами осуществления, коннектор с помощью игл соединяется с первым модулем, таким как модуль по типу клеточного чипа. Иглы могут быть расположены в виде наборов, так чтобы каждый набор игл мог включать в себя иглу для ввода жидкости и другую для вывода жидкости из модуля по типу клеточного чипа. Один конец иглы предназначен для входа в камеру или канал в модуле по типу клеточного чипа, а другой конец иглы можно присоединить к источнику жидкости, к устройству для сбора или другому модулю.

[0168] В соответствии с некоторыми вариантами осуществления, набор игл включает по меньшей мере одну иглу для ввода и одну иглу для вывода. В соответствии с некоторыми вариантами осуществления, есть множество наборов игл. Каждый набор игл может относиться к отдельной камере и/или отдельному каналу, в которые жидкость направляют для ввода или из которых жидкость удаляют для вывода.

[0169] В соответствии с некоторыми вариантами осуществления, коннектор может соединять модуль по типу клеточного чипа с одним или более источниками жидкостей, таких как культуральная среда, питательные добавки, химические вещества, трипсин, промывочные/буферные растворы, которые можно применять для подачи в модуль по типу клеточного чипа с жидкости и, необязательно, для удаления отработанной жидкости. В соответствии с некоторыми вариантами осуществления, коннектор может соединять модуль по типу клеточного чипа со вторым модулем, таким как биореактор с контролируемой средой или производственный биореактор, например, для переноса клеток из одного модуля в другой.

[0170] В соответствии с одним вариантом осуществления, система соединений включает камеру для очистки, с тем чтобы очищать и/или стерилизовать иглы перед их входом в такой модуль, как модуль по типу клеточного чипа. В соответствии с одним вариантом осуществления, камера для очистки представляет собой одну или более раздельных камер на одном конце модуля по типу клеточного чипа. Одна или более камер для очистки ограничена на первом конце перегородкой, которая удерживает камеру для очистки от воздействия внешней среды и через которую иглы могут проникать с одного конца в камеру для очистки. Камера для очистки на втором конце может быть ограничена защитной пленкой или другим барьером, которые могут удерживать очищающую или стерилизационную жидкость (или газ) в камере для очистки. Коннектор, в соответствии с такими вариантами осуществления, присоединен на одном конце игл к источнику жидкости, такой как очищающее или дезинфицирующее средство и один или более промывочных растворов.

[0171] С другой стороны защитной пленки или барьера находится канал. После очистки и стерилизации иглы можно переместить через защитную пленку или барьер в канал. Канал может представлять собой канал с культуральной средой, по которому культуральная среда течет от иглы в другие местоположения в клеточном чипе. Канал может представлять собой канал для сбора клеток, из которого клетки, присутствующие в чипе (такие как клетки, растущие и размножающиеся в чипе), затем могут быть направлены в канал, а затем через иглу в отдельный модуль или компонент для сбора. Канал может представлять собой канал для отходов, по которому отработанную среду можно направить и удалить из чипа.

[0172] На фиг. 19С показан пример варианта осуществления соединений, производимых коннекторной системой с компонентами, содержащими культуральную среду, дезинфицирующее средство, а также с модулем для сбора отходов и с модулем с контролируемой средой. Соединительные трубки или каналы подключены к коннекторной системе и используют клапаны для направления жидкостей от коннектора к соответствующему источнику, коллектору или модулю.

[0173] На фиг. 19D показан пример варианта осуществления системы соединений с иглами, проникающими в первую камеру в модуле по типу клеточного чипа, например, для очистки и стерилизации, иллюстрирующий пример варианта осуществления системы соединений в процессе очистки, при этом в них имеется поток жидкости из компонента, содержащего дезинфицирующую жидкость, в дезинфицирующие камеры в клеточном чипе, и при этом по одной из каждого набора игл удаляют отработанную дезинфицирующую жидкость.

[0174] На фиг. 19Е показан пример варианта осуществления системы соединений с иглами, проникающими во вторую камеру после очистки/стерилизации. Первый набор игл (слева) расположен так, чтобы вводная игла входила в канал/камеру с культуральной средой и обеспечивала поток новой культуральной среды в модуль по типу клеточного чипа. Средний набор игл расположен так, чтобы одна игла была расположена для отвода отработанной среды или культуральных отходов из канала в модуле по типу клеточного чипа. Третий набор игл (справа) расположен так, чтобы выводная игла входила в камеру/канал и была расположена для отвода среды и клеток из модуля по типу клеточного чипа.

Модуль для культивирования адгезивных клеток

[0175] Согласно другому аспекту, настоящее изобретение относится к способам культивирования клеток. Способ может включать подачу множества клеток в биореактор для культивирования адгезивных клеток. Биореактор для культивирования адгезивных клеток может содержать по меньшей мере один канал и микропористую мембрану. Биореактор для культивирования адгезивных клеток может быть частью модуля по типу клеточного чипа или биореактора с контролируемой средой. По меньшей мере часть клеток может иметь возможность прикрепиться к поверхности по меньшей мере одного канала, с тем чтобы по меньшей мере часть из множества клеток росли и/или реплицировались на поверхности канала, образуя прикрепленные клетки. Жидкая среда может протекать по меньшей мере из одного канала через микропористую мембрану. Протекание жидкой среды из канала к и через микропористую мембрану может омывать адгезивные клетки (например, свежей средой или стерильным промывочным буфером), или может быть использована для открепления клеток от поверхности канала, или может вымывать открепившиеся клетки. Открепившиеся клетки (например, суспендированные клетки) можно собрать путем пропускания через канал потока другой жидкой среды с клетками. Биореактор для культивирования адгезивных клеток может быть соединен по текучей среде с модулем по типу клеточного чипа, биореактором с контролируемой средой, биореактором (например, производственным биореактором) или любой их комбинацией. Модуль по типу клеточного чипа может подавать клетки в биореактор для культивирования адгезивных клеток. Биореактор для культивирования адгезивных клеток может подавать клетки в биореактор (например, производственный биореактор).

[0176] Клетки можно культивировать или выращивать в контролируемых условиях на поверхности или на искусственном субстрате. Например, клетки можно культивировать в монослое или другой конфигурации роста на поверхности. На фиг. 20 показан пример слоистого модуля для культивирования адгезивных клеток. На фиг. 21А показан вариант осуществления модуля, пригодного для культивирования адгезивных клеток. Клетки могут прикрепляться к материалу, пригодному для адгезии клеток, такому как PDMS. В выбранный момент времени или при выбранной плотности клеток адгезивные клетки можно удалить с адгезивного материала и высвободить в окружающую культуральную среду, например, путем добавления таких ферментов, как трипсин, в жидкость, протекающую мимо адгезивных (например, прикрепленных) клеток, так чтобы данные клетки или их часть можно было собрать из модуля.

[0177] В соответствии с некоторыми вариантами осуществления, адгезивный материал ограничен одним или более открытыми каналами, благодаря чему культуральная среда протекает рядом с прикрепленными клетками. Модуль также может содержать такое ограничение, как микроперфорированная мембрана, которая позволяет проходить культуральной среде или другим жидкостям, но через которую из-за размера микроперфораций не могут проходить клетки.

[0178] В соответствии с некоторыми вариантами осуществления, данный модуль для адгезивных клеток может иметь одну или более камер. На фиг фиг. 20 показан пример варианта осуществления с инокуляционной камерой для ввода клеток в модуль, фильтровальной камерой и камерами для прикрепления. Камеры для прикрепления могут иметь такой адгезивный материал, чтобы клетки прикреплялись к его поверхности.

[0179] Клетки можно удалить из мест их прикрепления, например, путем включения трипсина в культуральную среду или другую жидкость, протекающую мимо или оставленную для инкубации с прикрепленными клетками. После удаления клеток (например, с материала из PDMS) трипсин можно удалить, путем промывания культуральной средой или другой жидкостью, а затем такую среду или жидкость пропускают через микроперфорированную мембрану, оставляя клетки позади. Затем такие клетки можно ресуспендировать в свежей среде или другой жидкости, а также эти клетки или их часть можно переместить с помощью потока жидкости по каналу в камеру для сбора или другой выводной канал для сбора.

[0180] На фиг. 21В-21Е показан пример последовательности прикрепления клеток, обработки трипсином для открепления клеток и промывки, а также сбора биомассы. В соответствии с некоторыми вариантами осуществления, модуль для адгезивных клеток представляет собой модуль по типу клеточного чипа или его часть. В соответствии с некоторыми вариантами осуществления, модуль для адгезивных клеток представляет собой модуль с контролируемой средой или его часть. В соответствии с некоторыми вариантами осуществления, модуль для адгезивных клеток представляет собой часть модуля с контролируемой средой или его часть, например, один или более минимодулей.

Компьютерные системы

[0181] Настоящее изобретение относится к компьютерным системам, которые запрограммированы для реализации способов по настоящему изобретению. На фиг. 34 показана компьютерная система 3401, которая запрограммирована или иным образом сконфигурирована для управления всеми запрограммированными внутренними процессами систем, такими как составление и стерилизация сред, управление потоком, скорость, давление и состав потока газа, сбор данных с помощью встроенных датчиков (например, физических, химических и биологических данных), объединение данных от датчиков и передача команды к контурам управления, обработка изображений и создание наборов данных, связанных с каждым процессом. Компьютерная система 3401 может регулировать различные аспекты условий микроклимата, наблюдаемых на клетках в системах по настоящему изобретению, такие как, например, скорость потока среды и концентрации вспомогательных компонентов, время смешивания, заполнение резервуара; количество импульсов, напряжение импульсов, рабочий цикл, используемый электропоратором в отношении среды, поток и давление газа, дифференциальный состав раствора газов, дифференциальный поток газа для некоторых или всех компонентов, дифференциальный поток среды для некоторых или всех компонентов; дифференциальные значения рН для некоторых или всех компонентов; дифференциальные растворенные газы для некоторых или всех компонентов, дифференциальный профиль Сахаров для некоторых или всех компонентов, дифференциальная температура для некоторых или всех компонентов, время забора образцов для некоторых или всех компонентов, анализ физических, химических, биологических параметров для некоторых или всех компонентов, таких как температура, рН, количество и тип растворенных газов, поток, плотность клеток, профиль Сахаров и результаты биохимических анализов, таких как протеомика, метаболомика, транскриптомика и др. Компьютерная система 3401 может представлять собой электронное устройство пользователя или компьютерную систему, которая расположена удаленно по отношению к электронному устройству. Электронное устройство может представлять собой мобильное электронное устройство.

[0182] Компьютерная система 3401 включает в себя центральный процессор (CPU, также называемый в настоящем документе «процессором» и «компьютерным процессором») 3405, который может быть одноядерным или многоядерным процессором или множеством процессоров для параллельной обработки. Компьютерная система 3401 также включает в себя память или ячейку 3410 памяти (например, оперативную память, постоянную память, флэш-память), электронный запоминающий блок 3415 (например, жесткий диск), интерфейс 3420 связи (например, сетевой адаптер) для связи с одной или более другими системами и периферийными устройствами 3425, такими как кэш, другая память, хранилище данных и/или адаптеры электронного дисплея. Память 3410, запоминающий блок 3415, интерфейс 3420 и периферийные устройства 3425 имеют связь с CPU 3405 через коммуникационную шину (сплошными линиями), такую как материнская плата. Запоминающий блок 3415 может представлять собой блок хранения данных (или репозиторий данных) для хранения данных. Компьютерная система 3401 может быть функционально связана с компьютерной сетью («сетью») 3430 с помощью интерфейса 3420 связи. Сеть 3430 может быть сетью Интернет, т.е. интернетом и/или экстранетом либо интранетом и/или экстранетом, которые связаны с Интернетом. Сеть 3430 в некоторых случаях является телекоммуникационной сетью и/или сетью передачи данных. Сеть 3430 может включать один или более компьютерных серверов, которые способны обеспечивать распределенные вычисления, такие как облачные вычисления. Сеть 3430, в некоторых случаях с помощью компьютерной системы 3401, может реализовать сеть с равноправными узлами, которая может позволять устройствам, связанным с компьютерной системой 3401, выполнять роль клиента или сервера.

[0183] CPU 3405 может выполнять последовательность машиночитаемых команд, которые могут быть реализованы в программе или программном обеспечении. Инструкции могут храниться в ячейке памяти, такой как память 3410. В CPU 3405 могут направляться команды, которые впоследствии могут программировать или иным образом конфигурировать CPU 3405 для реализации способов по настоящему изобретению. Примеры операций, выполняемых CPU 3405, могут включать выбор, декодирование, выполнение и обратную запись.

[0184] CPU 3405 может быть частью схемы, такой как интегральная микросхема. В схему можно включить один или более компонентов системы 3401. В некоторых случаях схема представляет собой специализированную интегральную схему (ASIC).

[0185] Запоминающий блок 3415 может хранить файлы, такие как драйверы, библиотеки и сохраненные программы. Запоминающий блок 3415 может хранить пользовательские данные, например установки пользователя и пользовательские программы. Компьютерная система 3401 в некоторых случаях может включать один или более дополнительных модулей хранения данных, которые являются внешними по отношению к компьютерной системе 3401, например, расположены на удаленном сервере, который имеет связь с компьютерной системой 3401 через интранет или Интернет.

[0186] Компьютерная система 3401 может взаимодействовать с одной или более удаленными компьютерными системами через сеть 3430. Например, компьютерная система 3401 может взаимодействовать с удаленной компьютерной системой пользователя (например, виртуальными частными сетями, компьютером, выполняющим роль узла в таких сервисах, как Amazon Web Services (AWS), спутниковая связь). Примеры удаленных компьютерных систем включают персональные компьютеры (например, портативный PC), планшеты или компактные PC (например, Apple® iPad, Samsung® Galaxy Tab), телефоны, смартфоны (например, Apple® iPhone, устройства с поддержкой Android, Blackberry®) или персональные цифровые помощники. Пользователь может получить доступ к компьютерной системе 3401 через сеть 3430.

[0187] Описанные в настоящем документе способы можно реализовать посредством машиноисполняемого кода (например, для компьютерного процессора), хранимого в ячейке электронной памяти компьютерной системы 3401, такой как, например, в памяти 3410 или электронном запоминающем блоке 3415. Машиноисполняемый или машиночитаемый код может быть представлен в форме программного обеспечения. Во время использования код может выполняться процессором 3405. В некоторых случаях код может быть извлечен из запоминающего блока 3415 и сохранен в памяти 3410 для быстрого доступа посредством процессора 3405. В некоторых ситуациях электронный запоминающий блок 3415 может быть заранее исключен, а машинноисполняемые команды хранят в памяти 3410.

[0188] Код можно предварительно скомпилировать и сконфигурировать для использования с помощью машины, имеющей процессор, адаптированный для выполнения кода, или можно скомпилировать во время выполнения программы. Код может быть задан на языке программирования, который можно подобрать для обеспечения возможности выполнения кода в предварительно скомпилированном виде или в компилируемом по ходу выполнения виде.

[0189] Аспекты представленных в настоящем документе систем и способов, таких как компьютерная система 3401, могут быть реализованы при программировании. Различные аспекты настоящей технологии можно рассматривать как «продукты» или «изделия» в форме исполняемого машиной (или процессором) кода и/или связанных с ним данных, которые переносятся или осуществляются в типе машиночитаемого носителя. Машиноисполняемый код можно хранить в электронном запоминающем блоке, таком как память (например, постоянная память, оперативная память, флэш-память) или жесткий диск. К носителям «запоминающего» типа можно отнести любую возможную материальную память компьютеров, процессоров и др. или связанные с ними модули, такие как различные полупроводниковые запоминающие устройства, запоминающие устройства на ленте, дисководы и др., которые в любое время могут обеспечивать долговременное хранение для программирования программного обеспечения. В определенные моменты времени программное обеспечение полностью или его части могут устанавливать связь через Интернет или другие телекоммуникационные сети. Такие связи, например, могут обеспечивать загрузку программного обеспечения с одного компьютера или процессора на другой, например, с сервера управления или ведущего компьютера на компьютерную платформу сервера приложений. Таким образом, к другому типу носителя, который может нести элементы программного обеспечения, относятся оптические, электрические и электромагнитные волны, например, используемые через физические интерфейсы между локальными устройствами, через проводные и оптические наземные сети и по различным каналам связи. В качестве носителей, несущих программное обеспечение, также можно рассматривать физические элементы, которые переносят такие волны, например, проводные или беспроводные линии связи, оптические линии связи и др. В контексте настоящего документа, если не ограничиваться энергонезависимыми материальными «запоминающими» носителями, такие термины, как «компьютерочитаемый или машиночитаемый носитель», относятся к любому носителю, который участвует в передаче команд процессору для их выполнения.

[0190] Следовательно, машиночитаемый носитель, такой как исполняемый компьютером код, может принимать множество форм, в том числе без ограничения материальный запоминающий носитель, среды для электромагнитного сигнала передачи модулированной информации или среды для передачи электроэнергии. К энергонезависимым запоминающим носителям относятся, например, оптические или магнитные диски, такие как любое из запоминающих устройств в любом одном или более компьютерах и т.д., например, которые можно использовать для реализации баз данных и т.д., показанных на чертежах. К энергозависимым запоминающим носителям относятся динамическая память, такая как основная память такой компьютерной платформы. К материальным средствам передачи относятся коаксиальные кабели; медный провод и оптоволоконные провода, в том числе провода, которые составляют шину в компьютерной системе. Среда для электромагнитного сигнала передачи модулированной информации может принимать форму электрических или электромагнитных сигналов, а также акустических или световых волн, таких как волны, создаваемые при передаче данных в радиочастотном (RF) и инфракрасном (IR) диапазонах. Таким образом, к распространенным формам машиночитаемых носителей относятся, например: дискета, гибкий диск, жесткий диск, магнитная лента, любой другой магнитный носитель, CD-ROM, DVD или DVD-ROM, любой другой оптический носитель, перфокарты на бумажной ленте, любой другой физический запоминающий носитель с паттернами отверстий, RAM, ROM, PROM и EPROM, FLASH-EPROM, любой другой чип или картридж памяти, электромагнитный сигнал передачи модулированной информации, с помощью которого передают данные или команды, кабели или каналы передачи данных, переносящие такой электромагнитный сигнал передачи модулированной информации, или любой другой носитель, с которого компьютер может считывать программный код и/или данные. Многие из этих форм машиночитаемых носителей можно использовать для переноса одной или более последовательностей одной или более команд к процессору для их выполнения.

[0191] Компьютерная система 3401 может включать в себя или иметь связь с электронным дисплеем 3435, который содержит пользовательский интерфейс (UI) 3440 для предоставления, например, возможности задания настроек, получения отчета о биопроцессе, в котором перечислены измеряемые переменные, в режиме реального времени на каждой стадии работы системы, возможности экспорта и импорта файлов (например, файлов конфигурации, обновлений), проведения калибровки, подачи аварийных сигналов (например, ошибок, необходимости обслуживания, замены расходных материалов). Примеры UI включают без ограничения графический пользовательский интерфейс (GUI) и пользовательский веб-интерфейс.

[0192] Способы и системы по настоящему изобретению могут быть реализованы посредством одного или более алгоритмов. Алгоритм может быть реализован с помощью программного обеспечения после выполнения центральным процессором 3405. Алгоритм может, например, корректировать переменные систем управления с помощью контуров обратной связи, обнаруживать проблемы в процессе с помощью распознавания изображений и характеристического анализа, нечеткой логики и с помощью задания жестких и мягких пороговых значений, устанавливать корреляцию специфических и неспецифических данных с помощью машинного обучения (например, контролируемого, неконтролируемого и/или с подкреплением) для оптимизации условий процесса в системе, результатов процесса, моделирования поведения и симуляции.

ПРИМЕРЫ

Пример 1. Моделирование потока и перемешивания жидкости в слоях минимодулей

[0193] С учетом того, что поток является ламинарным, моделирование может быть разрешено в двух случаях: поле скоростей, с одной стороны, и адвективно-диффузионный перенос подлежащих анализу микроорганизмов, с другой. В данном случае было решено использовать два соединения (S1 и S2), которые поступали с определенной концентрацией для каждой ветки входа в модуль или входов в различные связанные модули. Значения диффузии устанавливали в соответствии с коэффициентом диффузии флуоресцеина в воде для S1 и коэффициентом диффузии на 2 порядка ниже для S2.

[0194] Процесс продвижения и смешивания между потоками моделировали со средней скоростью поступления, считающейся постоянной 5 микрометров в секунду (мкм/сек), а концентрацию соединений отслеживали от выхода по всей секции. При хорошем смешивании можно было ожидать концентрацию в 50% от величины поступления с учетом, что потоки для обеих ветвей поступления были равными.

[0195] На фиг. 22А на виде в разрезе одиночного минимодуля видна ситуация плохого или низкого смешивания, вызванная низким коэффициентом диффузии соединения, в то время как на фиг. 22В коэффициент диффузии выше и смешивание можно считать успешным. На фиг. 23А-23В показан результат сборки десяти минимодулей, которые были подвергнуты процессу моделирования. Показаны скалярное распределение (представляющее клетки) и концентрация в культуральной среде (цветным). С одной стороны, можно видеть, что в случае данного конкретного распределения минимодулей, при котором клетки входят сверху, а культуральная среда при этом входит через боковые стороны, клетки не выходят через все нижние выходы, а культуральная среда не распределяется равномерно (из-за короткого пути потока при моделировании). На фиг. 25А-25С показаны результаты реализации другой структуры моделирования минимодулей с 6 уровнями модулей. В данной структуре первый уровень начинается с большим числом модулей, так чтобы процент роста модулей на каждом уровне был меньшим (с каждым рядом/слоем добавляют 1 столбец модулей) и использовался другой вводный массив культуральной среды с меньшим количеством раструбов. В данной структуре как распределение клеток, так и распределение среды для культивирования были приемлемо однородными.

Пример 2. Построение макроструктуры из минимодулей

[0196] Биореактор конструировали с использованием макроструктуры, показанной на фиг. 24, состоящей из слоев DG-минимодулей и имеющей показанный питающий контур. Использовали 3-Э-принтер для печати SLA (Peopoly Moai) с коммерческой смолой для 3-D печати, в том числе всех систем и соединений. Отпечатанный биореактор на виде в разрезе показан на фиг. 23А и 23В.

[0197] Дополнительные биореакторы отпечатывали с помощью принтера для печати SLA и с применением фотоотверждаемой смолы. Схема включала две фазы в «положительной форме» (объемы обеих фаз были спутаны без межмембранного разделения). На фиг. 25А показан изометрический вид используемого тестового файла, предусматривающего структуру, включающую несколько слоев двойного гироида (диаметр: 600 микрометров (мкм)) и твердое основание для простоты обращения с ней. Следует отметить, что питающие системы для каждой фазы не были размещены. На фиг. 25В показан успешный результат печати тестового файла на фотоотверждаемой смоле PEGDA, а на фиг. 25С показан успешный результат печати тестового файла с коммерческой смолой.

Пример 3. Демонстрация потока жидкости через минимодули

[0198] Для печати матрицы, состоящей из 4 слоев и рядов 4×2 модулей с соединением с вводом/выводом, где диаметр гироида составлял 500 мкм, использовали 3-D принтер, работающий по технологии Direct Light Projection (выборочной светополимеризации) на коммерческой смоле. В отпечатанный биореактор на одном соединении с вводом вводили красный краситель. На фиг. 26А показан контур, насыщенный красным красителем. Проводили вторую печать, которая состояла из печати первой и второй матрицы с получением двойного гироида, при этом оба гироида имели диаметр 500 мкм. В одну матрицу вводили красный краситель на соединении с вводом, а в другую матрицу вводили синий краситель. На фиг. 26В показаны 2 матрицы, отличающиеся по цвету.

Пример 4. Штамм на чипе

[0199] Пример варианта осуществления штамма на чипе конструировали с использованием схемы, показанной на фиг. 27. На фиг. 28 показан набор изображений, демонстрирующий таймлайн хода анализа. Для имитации микроорганизмов в структуру вводили стеклянные частицы с примерным средним диаметром 50 микрон так, как описано далее.

[0200] При закрытом отверстии 2 поток дистиллированной воды подавали из отверстия 3 в отверстие 1. На начальной стадии контуры насыщали лиофилизированной водой для моделирования; для инокуляции микроорганизмов контуры сначала можно было пропитать культуральной средой. Закрывали вывод (2) для сбора и чип «инокулировали» стеклянными частицами для имитации микроорганизмов. Характер потока переносит частицы в камеру, а после открытия отверстия 2 всасывающий эффект через пористую мембрану удерживает большинство частиц на месте.

[0201] Данный контур имеет отверстия 3-4 для ввода и вывод для культуральной среды (1). В данной конфигурации основной контур инокулируют через отверстие 3 вместе с введением жидкой среды (в данном случае воды) в отверстие 4. Баланс давлений заставлял культуральную среду заполнять вторичный контур и покидать его через отверстие 1 для вывода. Пористая мембрана выполняла роль фильтра, оставляя моделируемые микроорганизмы захваченными в камере главного контура.

[0202] После насыщения камеры инокуляционное отверстие закрывали и открывали вывод для сбора биомассы. Из-за динамики потока через камеру значения скорости и влияние на частицы в камере резко уменьшались по мере их удаления от центральной оси (см. фиг.28). Это, в сочетании с эффектом всасывания у вторичного контура, поддерживало размножение популяции микроорганизмов в камере (при использовании живых организмов вместо моделирования, использованного в данном примере). По мере увеличения их количества некоторые микроорганизмы перемещались в определенную точку около центральной оси потока, выходящего из отверстия 4, и увлекались с потоком в отверстие 2 (см. фиг. 28). На фиг. 29 показано перемещение частиц с течением времени.

Пример 5. Пример блока биореактора с контролируемой средой [0203] На фиг. 30А показана схема примера блока с контролируемой средой с модулем для смешивания, одной камерой для роста и отверстием для сбора. На фиг. 30В-30D показан собранный блок, выполненный из PDMS. На фиг. 30В воду (бесцветную) вводили в центральный канал со скоростью потока 985 микролитров (мкл) в час, а воду с синим красителем вводили в каждый из боковых каналов со скоростью потока 985 мкл в час. На фиг. 30С воду (бесцветную) вводили в центральный канал со скоростью потока 984 мкл в час, а воду с синим красителем вводили в каждый из боковых каналов со скоростью потока 3335 мкл в час. На фиг. 30С показан модуль, в который вводили поток, не сбалансированный между боковыми каналами.

Пример 6. Построение биореактора с контролируемой средой с множеством взаимосвязанных блоков

[0204] На фиг. 31 показана схема контура для культуры и контура для газа для примера модуля по типу биореактора с контролируемой средой. Три слоя модуля имеют набор сквозных отверстий, в котором винты, шайбы и гайки подогнаны для предотвращения утечки.

[0205] Слой распределения культуральной среды в данной модуле представлял собой сложную распределительную систему, состоящую из шлангов. Шланги могут иметь диаметр от 50 до 500 микрометров и могут быть выполнены из биосовместимых материалов. Длину шланга корректировали путем расчета потери загрузки культуральной среды и сравнения ее с давлением в каждом модуле для смешивания. PDMS-слой разделял газовый слой и культуральный слой. На фиг. 32 показан отпечатанный слой для культивирования из системы с контролируемой средой. На фиг. 33 показаны собранные слои. Воду с синим красителем использовали для введения в блок с контролируемой средой из отверстия для ввода для демонстрации потока через модуль с контролируемой средой.

[0206] Несмотря на то, что в настоящем документе продемонстрированы и описаны предпочтительные варианты осуществления настоящего изобретения, специалистам в настоящей области техники будет очевидно, что такие варианты осуществления представлены лишь в качестве примера. Не подразумевается, что настоящее изобретение ограничено конкретными примерами, представленными в настоящем описании. Несмотря на то, что настоящее изобретение было описано на основании вышеупомянутого описания, представленные в настоящем изобретении описания и иллюстрации вариантов осуществления не предназначены для толкования в ограничительном смысле. Специалистам в настоящей области техники теперь будут очевидны многочисленные вариации, изменения и замены без отступления от сути настоящего изобретения. Более того, следует понимать, что все аспекты настоящего изобретения не ограничены конкретными изображениями, конфигурациями или относительными пропорциями, изложенными в настоящем документе, которые зависят от ряда условий и переменных. Следует понимать, что при реализации на практике настоящего изобретения можно использовать различные альтернативы описанным в настоящем документе вариантам осуществления настоящего изобретения. Поэтому предусмотрено, что настоящее изобретение также должно охватывать любые такие альтернативы, модификации, варианты или эквиваленты. Подразумевается, что представленная ниже формула изобретения определяет объем настоящего изобретения и что ею охватываются способы и структуры в пределах объема пунктов настоящей формулы изобретения и их эквиваленты.

Похожие патенты RU2833496C2

название год авторы номер документа
СИСТЕМА КУЛЬТИВИРОВАНИЯ КЛЕТОК 2012
  • Ингбер Дональд Е.
  • Ким Хюнь Цзюн
RU2612915C2
ДЕМПФИРУЮЩИЙ ЭЛЕМЕНТ МИКРОФЛЮИДНОГО ЧИПА И МИКРОФЛЮИДНЫЙ ЧИП 2016
  • Киндеева Ольга Владимировна
  • Петров Владимир Андреевич
  • Герасименко Татьяна Николаевна
  • Сахаров Дмитрий Андреевич
  • Тоневицкий Александр Григорьевич
RU2648444C1
Система для выделения опухолевых клеток из спермы и семенной жидкости и способ ее реализации 2023
  • Ржевский Алексей Сергеевич
  • Капитанникова Алина Юрьевна
  • Звягин Андрей Васильевич
  • Маджид Ибрагими Варкиани
  • Стивен Александер Василеску
  • Саджод Разави Базаз
RU2838997C2
МИНИАТЮРНАЯ МАГНИТНАЯ ПРОТОЧНАЯ ЦИТОМЕТРИЯ 2012
  • Хайден Олифер
  • Хелоу Михель Иоганнес
  • Райсбек Матиас
  • Тедде Сандро Франческо
RU2582391C2
МИКРОФЛЮИДАЛЬНАЯ СИСТЕМА (ВАРИАНТЫ), СПОСОБ ЕЕ ИЗГОТОВЛЕНИЯ И СПОСОБ УПРАВЛЕНИЯ ПОТОКОМ ТЕКУЧЕЙ СРЕДЫ 2006
  • Ден Тоондер Якоб М. Дж.
  • Принс Менно В. Дж.
  • Стаперт Хендрик Р.
  • Брур Дирк Дж.
RU2381382C2
МИКРОФЛЮИДНОЕ УСТРОЙСТВО ДЛЯ ИССЛЕДОВАНИЯ ВЛИЯНИЯ ХИМИЧЕСКИХ ВЕЩЕСТВ НА КЛЕТКИ МЛЕКОПИТАЮЩИХ 2016
  • Сахаров Дмитрий Андреевич
  • Тоневицкий Александр Григорьевич
RU2672581C2
УСТРОЙСТВО И СПОСОБ АВТОМАТИЗИРОВАННОГО ПОДДЕРЖАНИЯ КОНЦЕНТРАЦИИ РАСТВОРЕННЫХ ГАЗОВ В КУЛЬТУРАЛЬНОЙ СРЕДЕ В МИКРОФЛЮИДНОЙ СИСТЕМЕ 2015
  • Сахаров Дмитрий Андреевич
  • Трушкин Евгений Владиславович
RU2587628C1
АНАЛИЗ ФАЗОВОГО ПОВЕДЕНИЯ С ПРИМЕНЕНИЕМ МИКРОФЛЮИДНОЙ ПЛАТФОРМЫ 2010
  • Мостовфи Фаршид
  • Беланеш Юнес
RU2537454C2
СПОСОБ И АППАРАТ ДЛЯ ОБРАЗОВАНИЯ НЕСКОЛЬКИХ МИКРОКАНАЛОВ 2008
  • Херндон Терри О.
RU2465848C2
СПОСОБ И УСТРОЙСТВО ДЛЯ РЕГУЛИРОВАНИЯ ТЕМПЕРАТУРЫ И РАСХОДА ТЕКУЧЕЙ СРЕДЫ 2009
  • Дейвис Скотт
RU2521737C2

Иллюстрации к изобретению RU 2 833 496 C2

Реферат патента 2025 года БИОРЕАКТОР И СПОСОБ МАСШТАБИРОВАНИЯ ПОЛУЧЕНИЯ КЛЕТОК

Группа изобретений относится к системам, компонентам и способам получения и поддержания клеток, а также получения и выделения клеток и продуктов, производимых такими клетками. Биореактор для производства, поддержания и изоляции клеток или клеточных продуктов содержит: ввод, выполненный с возможностью приема множества клеток; макроструктуру, содержащую множество минимодулей, сообщающихся по текучей среде с вводом; и вывод, сообщающийся по текучей среде с множеством минимодулей. Минимодуль из множества минимодулей (i) имеет структуру двойного гироида или структуру модифицированного двойного гироида и (ii) связан по текучей среде с другим минимодулем из множества минимодулей посредством одного или более соединений для образования по меньшей мере одного микроканала, выполненного с возможностью пропускания потока из множества клеток. Способ масштабирования получения клеток включает введение первого множества клеток во ввод биореактора, введение потока жидкой среды, подачу газового состава и выращивание в биореакторе клеток с получением второго множества клеток. Группа изобретений обеспечивает масштабирование производства без изменения или значительного изменения лабораторных условий выращивания клеток различных типов, клеточного микроклимата различных типов и продуцируемых молекул различных типов. 2 н. и 13 з.п. ф-лы, 71 ил., 6 пр.

Формула изобретения RU 2 833 496 C2

1. Биореактор для производства, поддержания и изоляции клеток или клеточных продуктов, содержащий:

ввод, выполненный с возможностью приема множества клеток;

макроструктуру, содержащую множество минимодулей, сообщающихся по текучей среде с вводом, причем минимодуль из множества минимодулей (i) имеет структуру двойного гироида или структуру модифицированного двойного гироида и (ii) связан по текучей среде с другим минимодулем из множества минимодулей посредством одного или более соединений для образования по меньшей мере одного микроканала, выполненного с возможностью пропускания потока из множества клеток, при этом структура модифицированного двойного гироида включает модификацию (1) формы или (2) соединения одного или более соединений двойного гироида; и

вывод, сообщающийся по текучей среде с множеством минимодулей, причем вывод выполнен с возможностью направления множества клеток или их производных по меньшей мере из одного микроканала.

2. Биореактор по п. 1, в котором минимодули из множества минимодулей соединены между собой таким образом, чтобы образовывались по меньшей мере два неперекрывающихся микроканала, каждый из которых имеет постоянную среднюю кривизну.

3. Биореактор по п. 2, в котором первый микроканал по меньшей мере из двух неперекрывающихся микроканалов выполнен с возможностью протекания жидкой среды, а второй микроканал по меньшей мере из двух неперекрывающихся микроканалов выполнен с возможностью протекания газового состава.

4. Биореактор по п. 2 или 3, в котором по меньшей мере два неперекрывающихся микроканала разделены пористой мембраной.

5. Биореактор по п. 4, в котором площадь первого микроканала эквивалентна площади второго микроканала, причем площадь пористой мембраны представляет собой сумму площадей первого и второго микроканалов.

6. Биореактор по любому из пп. 1-5, в котором макроструктура выбрана из группы, состоящей из пирамиды, полой пирамиды, ламеллярной пирамиды, ламеллы, шахматной структуры и бревенчатой структуры.

7. Биореактор по п. 1, в котором минимодули из множества минимодулей расположены слоями в макроструктуре, причем слои выполнены так, чтобы скорость жидкой среды в каждом слое была по существу одинаковой.

8. Биореактор по любому из пп. 1-7, в котором жидкая среда, протекающая по меньшей мере по одному микроканалу, имеет скорость, превышающую скорость свободного падения клетки, переносимой потоком по меньшей мере по одному микроканалу.

9. Биореактор по п. 7, дополнительно содержащий устройство для подачи жидкой среды, выполненное с возможностью подачи жидкой среды в каждый слой из упомянутых слоев, причем объем жидкой среды, подаваемый устройством для подачи жидкой среды в каждый слой, поддерживает по существу постоянную плотность клеток в каждом слое из упомянутых слоев.

10. Биореактор по п. 7, в котором скорость жидкой среды через каждый минимодуль определяется скоростью деления клеток, так чтобы время прохождения клетками одного минимодуля или слоя минимодулей по существу было равно скорости деления клеток.

11. Способ масштабирования получения клеток, включающий: введение первого множества клеток во ввод биореактора по любому из пп. 1-10;

введение потока жидкой среды в биореактор; подачу газового состава в биореактор и

выращивание клеток в условиях для деления клеток с получением второго множества клеток, при этом второе множество клеток проходит между одним минимодулем из множества минимодулей и другим минимодулем из множества минимодулей, причем второе множество клеток проходит от конца на вводе биореактора до конца на выводе биореактора.

12. Способ по п. 11, дополнительно включающий сбор второго множества клеток или его части через вывод.

13. Способ по п. 11 или 12, в котором первое множество клеток содержит Т-клетки с химерным антигенным рецептором (CAR-Т), стволовые клетки, рекомбинантные клетки или дифференцированные клетки.

14. Способ по п. 11 или 12, в котором первое множество клеток содержит бактериальные клетки, грибковые клетки, дрожжевые клетки, эукариотические клетки, растительные клетки или водорослевые клетки.

15. Способ по любому из пп. 11-14, в котором второе множество клеток продуцирует по меньшей мере один биопродукт, при этом такой биопродукт собирают из реактора.

Документы, цитированные в отчете о поиске Патент 2025 года RU2833496C2

US 2002173033 A1, 21.11.2002
US 9157550 B2, 13.10.2015
US 2016312165 A1, 27.10.2016
БИОРЕАКТОР С ЭКСПОНИРОВАНИЕМ В ЖИДКОЙ И ГАЗОВОЙ ФАЗАХ ДЛЯ КУЛЬТИВИРОВАНИЯ КЛЕТОК 2004
  • Маркс Уве
  • Ридель Марко
  • Бушмак-Йостинг Хикмат
RU2340662C2

RU 2 833 496 C2

Авторы

Лламазарес Вегх, Хуан Франциско

Даты

2025-01-22Публикация

2019-10-08Подача