ОБЛАСТЬ ТЕХНИКИ
Настоящее изобретение относится к устройству для влажной уборки, такому как устройство для влажной протирки, содержащему чистящую головку. Устройство для влажной уборки может быть использовано, например, для очистки пола, поверхности внутри помещения или окна.
УРОВЕНЬ ТЕХНИКИ
Известны устройства для влажной уборки, например, устройства для влажной протирки, которые удаляют воду с поверхности, подлежащей очистке. Такие устройства для влажной уборки также могут подавать чистящую жидкость, например, воду, на поверхность, подлежащую очистке, а затем удалять жидкость, например, с помощью подходящей ткани.
Некоторые устройства для влажной уборки оснащены функцией автоматического сбора воды для удаления воды с поверхности, подлежащей очистке. Пылесосы для влажной уборки могут, например, собирать жидкость, создавая достаточную скорость воздушного потока (например, по меньшей мере 10 м/с) и/или мощность щетки, чтобы приложить к каплям жидкости усилие сдвига, достаточное для их ввода в устройство. Типичные значения энергопотребления для таких пылесосов относительно высоки, например, порядка нескольких сотен ватт.
Дополнительная проблема может возникнуть, когда устройство для влажной уборки выполнено с возможностью подачи чистящей жидкости, а также сбора жидкости с помощью всасывания. Обеспечение обеих указанных функциональных возможностей может по меньшей мере в некоторых конструкциях приводить к неэффективному использованию чистящей жидкости.
Также может возникнуть риск того, что плохо управляемая подача чистящей жидкости во время или даже после использования приведет к пропитыванию окружающего пространства чистящей жидкостью. Такое пропитывание поверхности, подлежащей очистке, по меньшей мере в некоторых обстоятельствах, не может быть легко устранено с помощью функции сбора устройства, в частности, когда используется система сбора относительно низкой мощности.
В некоторых конструкциях функция сбора также может препятствовать перемещению чистящей головки такого устройства для влажной уборки по влажной поверхности, подлежащей очистке.
В US 2019/380553 A1 раскрыто чистящее устройство, содержащее взаимодействующий с поверхностью слой, источник чистящей текучей среды, оснащенный каналом для чистящей текучей среды на взаимодействующем с поверхностью слое, для подачи чистящей текучей среды на указанную поверхность через взаимодействующий с поверхностью слой, находящийся в контакте с поверхностью. Чистящее устройство дополнительно содержит средство для отвода грязной текучей среды, имеющее канал для грязной текучей среды во взаимодействующем с поверхностью слое для отвода, посредством создания пониженного давления, грязной воды с поверхности через взаимодействующий с поверхностью слой, находящийся в контакте с поверхностью.
В KR 940 001 037 Y1 раскрыт пылесос с щеткой для влажной уборки.
В WO 2016/008773 A1 раскрыто устройство для уборки поверхностей, содержащее ткань, размещенную на пористом материале, емкость для сбора жидкости, поглощаемой указанной тканью, и приспособление для создания пониженного давления в указанной емкости для переноса жидкости из ткани в указанную емкость. Размер пор пористого материала составляет от 1 мкм до 50 мкм.
В DE 10 2013 223864 A1 раскрыт способ работы пылесоса с вентилятором, имеющим двигатель вентилятора, который генерирует воздушный поток через всасывающую насадку пылесоса. Устройство управления пылесосом управляет вентилятором в зависимости от категории напольного покрытия, подлежащего обработке.
В DE 10 2007 059930 B3 раскрыто устройство для управления или регулирования мощности двигателя пылесоса, имеющего по меньшей мере один двигатель, пылеулавливающее устройство и всасывающее сопло. Устройство использует первый датчик для обнаружения отрицательного давления в области всасывающего сопла.
В DE 10 2011 078388 A1 раскрыт клапан вторичного воздуха для пылесоса, имеющий корпус, впускное отверстие для потока вторичного воздуха, выпускное отверстие для потока вторичного воздуха и зависящее от давления закрывающее средство для блокирования проточного соединения между впускным отверстием и выпускным отверстием. Кроме того, раскрыт пылесос с всасывающей насадкой, всасывающий вентилятор, соединенный с всасывающей насадкой, пылеулавливающее устройство, расположенное в проточном канале, датчик давления, имеющий электрическое или электронное средство запроса, и клапан вторичного воздуха для избирательной подачи потока вторичного воздуха в всасывающий канал.
РАСКРЫТИЕ СУЩНОСТИ ИЗОБРЕТЕНИЯ
Настоящее изобретение определено пунктами приложенной формулы изобретения.
Согласно примерам в соответствии с одним аспектом изобретения обеспечено устройство для влажной уборки, содержащее: чистящую головку, имеющую по меньшей мере одно впускное отверстие для грязи, и пористый материал, покрывающий по меньшей мере одно впускное отверстие для грязи; и устройство для генерации пониженного давления, содержащее генератор пониженного давления, выполненный с возможностью обеспечения потока внутри устройства для влажной уборки для втягивания текучей среды в по меньшей мере одно впускное отверстие для грязи через пористый материал, при этом устройство для генерации пониженного давления выполнено с возможностью управления потоком на основе давления внутри устройства для влажной уборки между пористым материалом и генератором пониженного давления.
Пористый материал может быть выполнен с возможностью контакта с жидкостью на поверхности, подлежащей очистке.
Пористый материал может содержать, например, пористую ткань и/или пористый поролон. Пористая ткань может представлять собой, например, ткань из микроволокна.
Поверхностное натяжение жидкости, удерживаемой в порах пористого материала, может способствовать поддержанию пониженного давления. Это поверхностное натяжение может быть преодолено, что означает, что поверхность воздух-жидкость удалена в точке (или точках) на внешней стороне пористого материала, которая вступает в контакт с жидкостью на поверхности, подлежащей очистке, в результате чего жидкость переносится через пористый материал в направлении впускного отверстия (впускных отверстий) для грязи.
С помощью устройства для генерации пониженного давления, управляющего потоком на основе давления внутри устройства для влажной уборки между пористым материалом и генератором пониженного давления, можно с обеспечением преимущества управлять переносом текучей среды через пористый материал. В некоторых неограничивающих примерах такое управление может минимизировать накопление пены в пористом материале и ниже по потоку от него.
В некоторых вариантах осуществления устройство для генерации пониженного давления выполнено с возможностью управления потоком таким образом, что давление поддерживается на уровне или выше заданного порогового значения давления.
Управляя потоком таким образом, чтобы поддерживать давление равным заданному пороговому значению или выше него, можно обеспечить стабильную и эффективную работу устройства для влажной уборки. В частности, поддержание давления на уровне или выше заданного порогового значения может означать, что генератор пониженного давления может работать более эффективно, например, путем периодических деактивации/выключения, таким образом, используя описанную выше способность пористого материала способствовать поддержанию пониженного давления в закрытом впускном отверстии (впускных отверстиях) для грязи.
Каждая пора пористого материала может иметь определенное давление разрушения, при котором поверхностное натяжение (остаточной) жидкости, находящейся в поре, больше не может выдерживать внутреннее пониженное давление и освобождает путь. Когда это происходит, пора больше не может эффективно закрываться содержащейся в ней жидкостью, а вместо этого может начать переносить воздух во впускное отверстие (впускные отверстия) для грязи. Соответственно, может возникнуть проблема, когда пенящееся моющее средство будет включено в чистящую жидкость. Разрушенные поры могут начать переносить воздух со скоростью генератора пониженного давления, например, насоса, что может создать риск образования относительно большого количества пены во впускном отверстии (впускных отверстиях) для грязи и после него.
Соответственно, упомянутое выше заданное пороговое значение давления может быть, например, установлено для предотвращения достижения давления разрушения по меньшей мере некоторых из пор, например, большинства или всех пор, пористого материала. Это может способствовать предотвращению проблем с эксплуатацией, связанных с пеной, при использовании моющего средства.
Соответственно, заданное пороговое значение давления может быть установлено для ограничения пониженного давления, другими словами, разности давлений внутри устройства для влажной уборки между пористым материалом и генератором пониженного давления и снаружи чистящей головки, например, атмосферным давлением, до (например, не более) значения в диапазоне от 2000 Па до 13500 Па, предпочтительно от 2000 Па до 12500 Па, более предпочтительно от 5000 Па до 9000 Па, наиболее предпочтительно от 7000 Па до 9000 Па.
Давление разрушения пористого материала можно рассматривать как отрицательное (относительно атмосферного давления). Соответственно, давление внутри устройства для влажной уборки между пористым материалом и генератором пониженного давления может поддерживаться выше этого отрицательного давления. С другой стороны, если давление разрушения пористого материала представляет собой абсолютное давление (со ссылкой на вакуум, 0 Па), то давление внутри устройства для влажной уборки между пористым материалом и генератором пониженного давления может поддерживаться выше такого абсолютного давления, в частности, посредством управляемого потока, для поддержания давления на уровне или выше заданного порогового значения.
В некоторых вариантах осуществления устройство для генерации пониженного давления содержит: датчик, выполненный с возможностью измерения давления по меньшей мере в одном закрытом впускном отверстии для грязи, и контроллер, выполненный с возможностью управления генератором пониженного давления для обеспечения потока на основе измерения давления.
Контроллер, например, микроконтроллер, может принимать сигнал датчика от датчика и на основе сигнала датчика посылать управляющий сигнал на генератор пониженного давления. Управляющий сигнал может, например, запускать генератор пониженного давления для его включения для обеспечения потока или отключения для прекращения потока. В альтернативном или дополнительном варианте осуществления управляющий сигнал может в зависимости от сигнала датчика обеспечивать увеличение или уменьшение потока.
Таким образом, отключение или уменьшение потока, обеспечиваемого генератором пониженного давления, может способствовать снижению энергопотребления устройства для влажной уборки. Это может способствовать сохранению заряда батареи в примерах, в которых устройство для влажной уборки питается от батареи/выполнено с возможностью питания от батареи, и, таким образом, увеличивает время работы.
В вариантах реализации, в которых генератор пониженного давления содержит контроллер и датчик, контроллер может быть выполнен с возможностью управления потоком, обеспечиваемым генератором пониженного давления, так что давление по меньшей мере в одном закрытом отверстии для грязи поддерживается на уровне или выше упомянутого выше заданного порога давления.
В неограничивающем примере контроллер, например, содержащий или выполненный в виде пропорционального-интегрального регулятора, выполнен с возможностью сравнения измеренного давления с требуемым рабочим давлением и управления генератором пониженного давления на основе этого сравнения.
В некоторых вариантах реализации датчик выполнен с возможностью измерения давления по меньшей мере в одном из: полости между пористым материалом и по меньшей мере одним впускным отверстием для грязи и трубкой, соединяющей по меньшей мере одно впускное отверстие для грязи с генератором пониженного давления.
Измерение значения давления в полости может обеспечивать особое преимущество, поскольку поток может быть отрегулирован более непосредственно в соответствии со свойствами пористого материала во время использования.
Расположение датчика таким образом, что значение давления измеряют в трубке, может обеспечить относительно простой способ встраивания датчика в устройство для влажной уборки.
Датчик может быть датчиком любого подходящего типа при условии, что датчик выполнен с возможностью измерения давления внутри устройства для влажной уборки между пористым материалом и генератором пониженного давления. Например, датчик содержит датчик давления, например, датчик давления на основе микроэлектромеханических систем (МЭМС).
В некоторых вариантах осуществления устройство для генерации пониженного давления содержит механический регулятор, выполненный с возможностью управления потоком на основе давления внутри устройства для влажной уборки между пористым материалом и генератором пониженного давления. Такой механический регулятор может обеспечивать относительно простое, надежное и недорогое управление потоком на основе давления в закрытом впускном отверстии (впускных отверстиях) для грязи.
В неограничительном примере механический регулятор содержит переключатель, приведение в действие которого управляет генератором пониженного давления, и отклоняемый элемент, например мембрану, выполненный с возможностью приведения в действие переключателя в ответ на давление.
Такой механический регулятор, в данном случае электромеханический регулятор, может быть выполнен с возможностью приведения в действие мембраной переключателя, например, для выключения генератора пониженного давления, когда, например, давление равно заданному пороговому значению давления или превышает его.
Такая структура переключатель-мембрана может обеспечить простой и недорогой способ управления потоком на основе давления без необходимости в дополнительном контроллере, например, микроконтроллере.
В некоторых вариантах осуществления механический регулятор содержит клапан, выполненный с возможностью управления сообщением по текучей среде между генератором пониженного давления и по меньшей мере одним впускным отверстием для грязи.
В таких вариантах реализации изобретения клапан может содержать седло клапана и клапанный элемент, выполненный с возможностью принятия начального положения, в котором клапанный элемент отделен от клапанного седла таким образом, чтобы обеспечить сообщение по текучей среде между генератором пониженного давления и по меньшей мере одним впускным отверстием для грязи, и закрытое положение, в котором клапанный элемент примыкает к седлу клапана для ограничения, а в некоторых примерах блокирования сообщения по текучей среде между генератором пониженного давления и по меньшей мере одним впускным отверстием для грязи.
Клапанный элемент может быть выполнен, например, в виде гибкой резиновой мембраны, которая имеет неотклоненный профиль в исходном положении и, соответственно, пространственно удалена от седла клапана, когда в закрытом впускном отверстии (впускных отверстиях) для грязи нет пониженного давления. После приведения в действие генератора пониженного давления, например, насоса, может быть создано пониженное давление в закрытом впускном отверстии (впускных отверстиях) для грязи и механическом регуляторе. Пониженное давление может воздействовать на открытую поверхность резиновой мембраны в механическом регуляторе, которая, таким образом, может начать отклоняться внутрь в направлении седла клапана, так что клапан переходит в закрытое положение.
В некоторых вариантах реализации клапан выполнен таким образом, что клапанный элемент под действием давления по меньшей мере в одном закрытом впускном отверстии для грязи перемещается к седлу клапана, когда давление ниже заданного порогового значения давления.
В описанном выше неограничивающем примере, в котором клапанный элемент выполнен в виде гибкой резиновой мембраны, пороговое давление может быть установлено/задано по меньшей мере частично с использованием расстояния между гибкой резиновой мембраной и седлом клапана. Чем больше это расстояние, тем выше пониженное давление (или, что эквивалентно, ниже давление) в закрытом впускном отверстии (впускных отверстиях) для грязи, необходимое для деформации резиновой мембраны для контакта с седлом клапана.
В некоторых вариантах осуществления предельный диаметр пор пористого материала, измеренный с использованием ASTM F316 - 03, 2019, испытание A, равен или больше чем 15 мкм.
Эмпирически было обнаружено (как дополнительно описано в данном документе ниже), что предельный диаметр пор, равный или больше чем 15 мкм, может способствовать поддержанию относительно большого пониженного давления, обеспечивая при этом, чтобы поры были достаточно большими для эффективного переноса жидкости через них. В отношении последнего следует отметить, что это наблюдение подтверждается теорией, обращая внимание на то, что при аппроксимации с использованием уравнения Пуазейля при меньших порах сопротивление потоку может увеличиваться в четырехкратной степени.
Аналогично, давление точки пузырька пористого материала, измеренное с использованием ASTM F316 - 03, 2019, испытание A, может быть равно или меньше чем 13500 Па.
В некоторых вариантах реализации предельный диаметр пор пористого материала, измеренный с использованием ASTM F316 - 03, 2019, испытание A, равен или меньше чем 105 мкм. Этот верхний предел для предельного диаметра пор помогает обеспечить возможность поддержания пористым материалом достаточного пониженного давления.
Эквивалентно, давление точки пузырька пористого материала, измеренное с использованием ASTM F316 - 03, 2019, испытание A, может быть равно или больше чем 2000 Па.
В некоторых вариантах осуществления предельный диаметр пор пористого материала, измеренный с использованием ASTM F316 - 03, 2019, испытание A, равен или больше чем 15 мкм и равен или больше чем 105 мкм.
Ограничение расхода до верхнего предела может способствовать минимизации риска того, что поры не смогут выдержать пониженное давление и, следовательно, станут «разрушаться», в результате чего значительное количество воздуха попадет внутрь устройства для влажной уборки, что, в свою очередь, может потребовать использование насоса большего размера, потребляющего больше энергии.
В некоторых вариантах осуществления генератор пониженного давления выполнен с возможностью обеспечения расхода через пористый материал, которая меньше или равна 2000 см3/мин.
Такой расход может быть значительно ниже, чем для обычных пылесосов для влажной уборки, упомянутых выше. Поскольку мощность равна расходу, умноженному на разность давлений, путем объединения этого максимального расхода 2000 см3/мин (0,03 л/с) с описанной выше максимальной разностью давлений 13500 Па в качестве сценария максимального потребления энергии, потребление энергии устройства для влажной уборки может быть сведено к минимуму. Это может позволить сделать устройство для влажной уборки относительно компактным, например, с использованием батареи меньшего размера, и/или обеспечить относительно длительное время его работы.
Альтернативно или дополнительно, генератор пониженного давления может быть выполнен с возможностью обеспечения расхода через пористый материал, равного или больше чем 15 см3/мин.
Это может способствовать достаточно быстрому сбору жидкости с поверхности, подлежащей очистке. В некоторых вариантах осуществления нижний предел 15 см3/мин может быть установлен равным или больше чем расход чистящей жидкости из выпускного отверстия (выпускных отверстий) для чистящей жидкости, также включенного в чистящую головку.
В более общем случае генератор пониженного давления может быть выполнен таким образом, что расход при подаче потока находится в диапазоне от 15 до 2000 см3/мин, предпочтительно от 40 до 2000 см3/мин, более предпочтительно от 80 до 750 см3/мин и наиболее предпочтительно от 100 до 300 см3/мин.
Такой поток, то есть расход, может использовать способность пористого материала поддерживать пониженное давление и может обеспечивать достаточный сбор жидкости при ограничении потребления энергии.
В некоторых вариантах осуществления генератор пониженного давления содержит насос, выполненный с возможностью управления потоком для втягивания текучей среды в по меньшей мере одно впускное отверстие для грязи через пористый материал в ответ на давление в узле закрытых впускных отверстий для грязи.
В таких вариантах осуществления может быть сам генератор/насос пониженного давления, который в ответ на давление в узле закрытых впускных отверстий для грязи управляет потоком.
Такой насос можно рассматривать как насос с ограниченным давлением. Насос с ограниченным давлением выполнен с возможностью создания определенного перепада давления в трубке, к которой он присоединен. В принципе, это давление насоса может быть настроено на давление, необходимое для пористого материала, покрывающего впускное отверстие (впускные отверстия) для грязи.
Насос, например, насос с ограниченным давлением, может содержать центробежный насос или являться им.
В альтернативном или дополнительном варианте насос может содержать насос для жидкости, расположенный в чистящей головке.
При размещении насоса для жидкости в чистящей головке, например, в противоположность с размещением в рукоятке или на рукоятке, соединенной с чистящей головкой, высота насоса и, следовательно, (статическое) давление могут не зависеть от ориентации рукоятки относительно пола.
В альтернативных примерах насос для жидкости может быть расположен в рукоятке, соединенной с чистящей головкой. Это может облегчить изготовление устройства для влажной уборки, поскольку в рукоятке может быть больше доступного пространства для насоса для жидкости, чем в чистящей головке.
В некоторых вариантах осуществления устройство для влажной уборки содержит резервуар для сбора грязной жидкости для сбора жидкости, при этом устройство для генерации пониженного давления выполнено таким образом, что указанный поток всасывает жидкость из по меньшей мере одного впускного отверстия для грязи в резервуар для сбора грязной жидкости.
Например, описанный выше насос для жидкости может быть расположен между впускным отверстием (впускными отверстиями) для грязи и таким резервуаром для сбора грязной жидкости.
В качестве альтернативы или дополнительно, насос может содержать воздушный насос, расположенный ниже по потоку от резервуара для сбора грязной жидкости.
По меньшей мере в некоторых вариантах осуществления пористый материал содержит слой пористого материала, прикрепленный с уплотнением по меньшей мере к одному впускному отверстию для грязи. Это может способствовать поддержанию пониженного давления во впускном отверстии (впускных отверстиях) для грязи с подачей или без подачи потока генератором пониженного давления, включенным в устройство для влажной уборки.
Область сбора жидкости слоя пористого материала может, например, быть ограничена посредством прикрепления с уплотнением слоя пористого материала вокруг, например, каждого из по меньшей мере одного впускного отверстия для грязи.
Прикрепление с уплотнением может быть реализовано любым подходящим способом, например, путем приклеивания или присоединения сваркой слоя пористого материала вокруг каждого из по меньшей мере одного впускного отверстия для грязи, например, приклеивания и/или присоединения сваркой слоя пористого материала вокруг одной или более трубок, отверстие (отверстия) которых образует впускное отверстие (впускные отверстия) для грязи. В некоторых неограничивающих примерах имеется непроницаемая часть, такая как полимерная пленка, прикрепленная с уплотнением к поверхности слоя пористого материала, поверхность которого открыта во впускное отверстие (впускных отверстия) для грязи, и вокруг впускного отверстия (впускных отверстий) для грязи.
В некоторых вариантах осуществления пористый материал содержит один или более дополнительных слоев пористого материала.
Включение одного или более дополнительных слоев пористого материала в дополнение к слою пористого материала, прикрепленному с уплотнением к впускному отверстию (впускным отверстиям) для грязи, может способствовать увеличению пониженного давления, которое может поддерживаться во впускном отверстии (впускных отверстиях) для грязи. Это, в свою очередь, может обеспечить более эффективную работу описанного выше генератора пониженного давления.
Такой дополнительный слой (слои) пористого материала может, например, быть расположен на внешней поверхности слоя пористого материала, так что внешняя поверхность дополнительного слоя пористого материала, которая наиболее удалена от по меньшей мере одного впускного отверстия для грязи в направлении толщины пористого материала, контактирует с поверхностью, подлежащей очистке.
В некоторых вариантах осуществления пористый материал имеет толщину меньше чем или равную 10 мм, более предпочтительно меньше чем или равную 5 мм и наиболее предпочтительно меньше чем или равную 3 мм. Такая максимальная толщина может способствовать минимизации сопротивления потоку через пористый материал.
В некоторых вариантах осуществления давление переноса текучей среды при потоке 200 см3/мин через пористый материал составляет меньше чем 0,25, умноженного на давление точки пузырька, как определено ASTM F316 - 03, 2019, испытание A.
Это может означать, что сопротивление потоку через пористый материал поддерживается на относительно низком уровне.
В некоторых вариантах осуществления пористый материал содержит одно или более из пористой ткани, пористого пластика и поролона.
Такой пористый пластик может, например, принимать форму спеченной сетки из пластиковых гранул.
В вариантах осуществления, в которых пористый материал содержит такой пористый пластик, один или более дополнительных слоев пористого материала, например, содержащих пористую ткань, такую как тканая пористая ткань, могут быть расположены на внешней поверхности пористого пластика. Такой дополнительный слой (слои) пористого материала может быть более смачиваемым водой, чем пористый пластик, и, таким образом, более подходящим для контакта с поверхностью, подлежащей очистке, при смачивании водой.
Особого внимания заслуживает пористый материал, содержащий пористый тканый материал и наиболее предпочтительно тканый материал из микроволокна. Такая тканая ткань из микроволокна может способствовать достижению требуемого пониженного давления в устройстве влажной уборки.
Такой пористый тканый материал, и, в частности, такая тканая ткань из микроволокна, может быть получен, в частности, за счет плотности его переплетения, таким образом, чтобы удовлетворять вышеуказанным диапазонам для предельного диаметра.
В некоторых вариантах реализации чистящая головка содержит по меньшей мере одно выпускное отверстие для чистящей жидкости, через которое обеспечена возможность подачи чистящей жидкости.
Устройство для влажной уборки может содержать источник чистящей жидкости, содержащий резервуар для чистящей жидкости для содержания чистящей жидкости, причем резервуар для чистящей жидкости выполнен с возможностью сообщения по текучей среде или сообщается по текучей среде c по меньшей мере одним выпускным отверстием для чистящей жидкости.
Такой источник чистящей жидкости может, например, содержать резервуар для чистящей жидкости и устройство подачи, например, устройство подачи, содержащее насос, для переноса чистящей жидкости в указанное по меньшей мере одно выпускное отверстие для чистящей жидкости и через него.
Источник чистящей жидкости и по меньшей мере одно выпускное отверстие для чистящей жидкости могут, например, быть выполнены с возможностью обеспечения непрерывной подачи чистящей жидкости к поверхности, подлежащей очистке. Такая непрерывная подача может, например, обеспечиваться в то же время, когда генератор пониженного давления обеспечивает поток.
В некоторых вариантах осуществления источник чистящей жидкости содержит насос, выполненный с возможностью перекачивания чистящей жидкости из резервуара для чистящей жидкости в указанное по меньшей мере одно выпускное отверстие для чистящей жидкости и через него.
В некоторых вариантах осуществления источник чистящей жидкости и генератор пониженного давления выполнены таким образом, что поток чистящей жидкости, подаваемый через по меньшей мере одно выпускное отверстие для чистящей жидкости, был меньше, чем поток, подаваемый по меньшей мере к одному впускному отверстию для грязи генератором пониженного давления.
Это может способствовать обеспечению того, что поверхность, подлежащая очистке, не станет чрезмерно смоченной чистящей жидкостью. Например, поток чистящей жидкости может находиться в диапазоне от 20 до 60 см3/мин, а поток, обеспечиваемый генератором пониженного давления, может находиться в диапазоне от 40 до 2000 см3/мин, более предпочтительно от 80 до 750 см3/мин и наиболее предпочтительно от 100 до 300 см3/мин.
По меньшей мере в некоторых вариантах осуществления устройство для влажной уборки представляет собой устройство для влажной протирки.
В других примерах устройство для влажной уборки может представлять собой, например, устройство для чистки окон, подметальную машину или пылесос для влажной уборки, такой как пылесос контейнерного типа, ручного типа или вертикального типа или содержать такое устройство.
Устройство для влажной уборки может в некоторых примерах представлять собой или содержать роботизированный пылесос для влажной уборки или роботизированное устройство для влажной протирки, выполненное с возможностью автономного перемещения, например, в одном направлении очистки, чистящей головки по поверхности, подлежащей очистке, такой как поверхность пола.
Устройство для влажной уборки может представлять собой устройство для влажной уборки с питанием от батареи, в котором генератор пониженного давления выполнен с возможностью питания от батареи, электрически соединенной с генератором пониженного давления.
Эффект снижения энергопотребления, который может быть обеспечен пористым материалом, покрывающим впускное отверстие (впускные отверстия) для грязи, к которому обеспечено всасывание генератора пониженного давления, может сделать устройство влажной уборки особенно подходящим для работы с питанием от батареи.
Варианты реализации изобретения, описанные в настоящем документе в отношении чистящей головки, могут быть применимы к устройству для влажной уборки, а варианты реализации изобретения, описанные в настоящем документе в отношении устройства для влажной уборки, могут быть применимы к чистящей головке.
КРАТКОЕ ОПИСАНИЕ ЧЕРТЕЖЕЙ
Примеры настоящего изобретения будут подробно описаны далее со ссылкой на сопроводительные чертежи, на которых:
на фиг. 1 схематически изображена нижняя часть чистящей головки в соответствии с примером;
на фиг. 2 представлен схематический вид в разрезе распределительной полосы для чистящей жидкости, включенной в чистящую головку, показанную на фиг. 1;
на фиг. 3 схематически изображена нижняя сторона чистящей головки согласно второму примеру, в котором материал для нанесения чистящей жидкости отсоединен от чистящей головки;
на фиг. 4 схематически изображена нижняя сторона чистящей головки, показанной на фиг. 3, с прикрепленной тканью для нанесения чистящей жидкости;
на фиг. 5A схематически изображен слой пористого материала и впускные отверстия для грязи приведенной в качестве примера чистящей головки;
на фиг. 5B представлен схематический вид в разрезе слоя пористого материала и впускных отверстий для грязи, показанных на фиг. 5A;
на фиг. 6А схематически изображен пример прикрепления с уплотнением слоя пористого материала вокруг впускных отверстий для грязи;
на фиг. 6B показан схематический вид в разрезе приведенного в качестве примера прикрепления с уплотнением, показанного на фиг. 6A;
на фиг. 7A схематично изображен вариант прикрепления с уплотнением, показанного на фиг. 6A и 6B;
на фиг. 7B показан схематический вид в разрезе приведенного в качестве примера прикрепления с уплотнением, показанного на фиг. 7A;
на фиг. 8 представлен схематический вид в разрезе варианта прикрепления с уплотнением, показанного на фиг. 7A и 7B;
на фиг. 9 схематично показан вид в разрезе варианта прикрепления с уплотнением, показанного на фиг. 8;
на фиг. 10 показаны схематические изображения переноса текучей среды через три приведенных для примера пористых материала;
на фиг. 11 схематически показана испытательная установка для исследования поведения пористого материала при применении к нему жидкости и всасывания;
на фиг. 12 представлен график зависимости пониженного давления от времени на основании данных, полученных с использованием испытательной установки, показанной на фиг. 11;
на фиг. 13 показаны несколько графиков зависимости давления от времени для пористых материалов, содержащих различное количество слоев пористого материала;
на фиг. 14 схематически изображена последовательность состояния переноса жидкости, промежуточного режима и конечного режима пористого материала при применении к нему всасывания;
на фиг. 15 представлено несколько графиков зависимости давления от времени для пористых материалов с различным размером пор;
на фиг. 16 схематически изображена приведенная в качестве примера чистящая головка, перемещаемая по поверхности, подлежащей очистке;
на фиг. 17-23 показаны схематические виды в разрезе пористого материала, установленного на опорном элементе;
на фиг. 24-30 схематически изображены различные приведенные в качестве примера чистящие головки;
на фиг. 31 схематически изображена приведенная в качестве примера чистящая головка, которая выполнена с возможностью качания на выступающем элементе таким образом, что приводит часть нижней стороны чистящей головки в контакт с поверхностью, подлежащей очистке;
на фиг. 32A схематически изображен пример прикрепления с уплотнением слоя пористого материала вокруг впускных отверстий для грязи;
на фиг. 32B показан схематический вид в разрезе приведенного в качестве примера прикрепления с уплотнением, показанного на фиг. 32A;
на фиг. 33A показан вид конца чистящей головки согласно одному примеру;
на фиг. 33B показан вид верхней стороны чистящей головки, показанной на фиг. 33A;
на фиг. 33C представлен схематический вид в разрезе выступающего элемента/выполненного с возможностью отделения элемента согласно одному примеру;
на фиг. 33D представлен схематический вид в разрезе выступающего элемента/выполненного с возможностью отделения элемента согласно другому примеру;
на фиг. 33E представлен схематический вид в разрезе приведенного в качестве примера выполненного с возможностью отделения элемента, содержащего дополнительный слой (слои) пористого материала и материал для нанесения чистящей жидкости;
на фиг. 33F представлен вид в перспективе чистящей головки, содержащей выступающий элемент/выполненный с возможностью отделения элемент, показанный на фиг. 33C или 33D, и выполненный с возможностью отделения элемент, показанный на фиг. 33E;
на фиг. 34 схематически изображено приведенное в качестве примера устройство для влажной уборки до (левая панель), во время (центральная панель) и после (правая панель) пропускания жидкости через пористый материал;
на фиг. 35 схематически изображено приведенное в качестве примера устройство для влажной уборки, имеющее генератор пониженного давления, который приведен в действие (левая панель) и отключен (правая панель);
на фиг. 36 схематически изображен генератор пониженного давления в виде шлангового насоса;
на фиг. 37A схематически изображены поры слоя пористого материала приведенного в качестве примера устройства для влажной уборки;
на фиг. 37B схематически изображено накопление пены в устройстве для влажной уборки, показанном на фиг. 37A;
на фиг. 37C графически проиллюстрировано рабочее окно устройства для влажной уборки, в частности, при запуске устройства влажной уборки;
на фиг. 38 схематически изображено приведенное в качестве примера устройство для влажной уборки, содержащее устройство для генерации пониженного давления, имеющее генератор пониженного давления, датчик давления и контроллер;
на фиг. 39 схематически изображено приведенное в качестве примера устройство для влажной уборки, имеющее устройство для генерации пониженного давления, имеющее генератор пониженного давления и механический регулятор;
на фиг. 40 схематически изображено приведенное в качестве примера устройство для влажной уборки, генератор пониженного давления которого содержит насос для жидкости с ограниченным давлением;
на фиг. 41 схематически изображено приведенное в качестве примера устройство для влажной уборки, генератор пониженного давления которого содержит воздушный насос с ограниченным давлением;
на фиг. 42 схематически изображено приведенное в качестве примера устройство для влажной уборки в виде пылесоса для влажной уборки; и
на фиг. 43 схематически изображено приведенное в качестве примера устройство для влажной уборки в виде роботизированного пылесоса для влажной уборки.
ОСУЩЕСТВЛЕНИЕ ИЗОБРЕТЕНИЯ
Настоящее изобретение будет описано со ссылкой на фигуры чертежей.
Следует понимать, что, хотя подробное описание в разделе "Осуществление изобретения" и конкретные примеры представляют приведенные для примера варианты осуществления устройств, систем и способов, они предназначены исключительно для целей иллюстрации и не предназначены для ограничения объема настоящего изобретения. Эти и другие признаки, аспекты и преимущества устройств, систем и способов согласно настоящему изобретению станут более понятными из нижеследующего описания, прилагаемой формулы изобретения и сопроводительных чертежей. Следует понимать, что чертежи являются просто схематическими и не обязательно выполнены в масштабе. При этом одинаковые ссылочные номера используются на всех чертежах для обозначения одинаковых или аналогичных элементов.
Предложено устройство для влажной уборки, содержащее чистящую головку и устройство для генерации пониженного давления. Чистящая головка имеет по меньшей мере одно впускное отверстие для грязи и пористый материал, покрывающий по меньшей мере одно впускное отверстие для грязи. Устройство для генерации пониженного давления содержит генератор пониженного давления, выполненный с возможностью обеспечения потока внутри устройства для влажной уборки для втягивания текучей среды по меньшей мере в одно впускное отверстие для грязи через пористый материал. Устройство для генерации пониженного давления выполнено с возможностью управления потоком на основе давления внутри устройства для влажной уборки между пористым материалом и генератором пониженного давления.
На фиг. 1 показана чистящая головка 100 в соответствии с неограничивающим примером. В частности, нижняя сторона 102 чистящей головки 100 показана на фиг. 1. Нижняя сторона 102 обращена к поверхности, подлежащей очистке (не видна на фиг. 1) с использованием чистящей головки 100.
На виде, представленном на фиг. 1, видно по меньшей мере одно выпускное отверстие 104 для чистящей жидкости, включенное в чистящую головку 100. Обеспечена возможность подачи чистящей жидкости через, например, каждое из по меньшей мере одного выпускного отверстия 104 для чистящей жидкости. Следует отметить, что нет необходимости размещения по меньшей мере одно выпускного отверстия для чистящей жидкости на нижней стороне 102 чистящей головки 100, и в качестве альтернативы оно может быть предусмотрено в другом месте в чистящей головке 100 при условии, что чистящая жидкость может быть подана через выпускное отверстие (впускные отверстия) для чистящей жидкости для достижения поверхности, подлежащей очистке.
Чистящая жидкость может содержать воду или состоять из воды. Следовательно, чистящая жидкость может представлять собой чистящую жидкость на водной основе. В некоторых неограничивающих примерах, которые более подробно описаны ниже, чистящая жидкость представляет собой водный раствор моющего средства.
В неограничивающем примере, показанном на фиг. 1, выпускные отверстия 104 для чистящей жидкости расположены в ряд вдоль длины 106 чистящей головки 100. Это может способствовать смачиванию посредством чистящей головки 100 поверхности, подлежащей очистке, чистящей жидкостью вдоль длины 106 чистящей головки 100. Тем не менее, следует отметить, что может быть предусмотрена любая подходящая конфигурация или схема выпускных отверстий 104 для чистящей жидкости, при условии, что могут быть размещены другие части чистящей головки 100.
В конкретном примере, показанном на фиг. 1, в чистящую головку 100 включены шестнадцать выпускных отверстий 104 для чистящей жидкости, при этом следует отметить, что большее количество выпускных отверстий 104 для чистящей жидкости может способствовать повышению равномерности смачивания поверхности, подлежащей очистке. Однако в чистящей головке 100 может быть предусмотрено любое подходящее количество выпускных отверстий 104 для чистящей жидкости, например, одно, два, три, четыре, пять, шесть, семь, восемь, девять, десять, одиннадцать, двенадцать, тринадцать, четырнадцать, пятнадцать, шестнадцать, семнадцать, восемнадцать, девятнадцать, двадцать или более.
В некоторых вариантах осуществления, например, в таком, как показан на фиг. 1, чистящая головка 100 содержит распределительную полосу 108 для чистящей жидкости. По меньшей мере некоторые отверстия или, как показано в этом примере, все выпускные отверстия 104 для чистящей жидкости могут быть размещены в распределительной полосе 108 для чистящей жидкости, как показано.
На фиг. 2 представлен вид в разрезе распределительной полосы 108 для чистящей жидкости, включенной в приведенную в качестве примера чистящую головку 100, показанную на фиг. 1. В этом неограничивающем примере распределительная полоса 108 для чистящей жидкости содержит канал 110, в который может подаваться чистящая жидкость, например, из подходящего резервуара для чистящей жидкости (не показанного на фиг. 2) через впускное отверстие 112.
В примере, показанном на фиг. 2, впускное отверстие 112 расположено на конце распределительной полосы 108 для чистящей жидкости или вблизи этого конца, однако также возможно размещение впускного отверстия 112 в центральном положении по длине распределительной полосы 108 для чистящей жидкости. Альтернативно или дополнительно, распределительная полоса 108 для чистящей жидкости содержит множество впускных отверстий 112, например пару впускных отверстий 112, расположенных на противоположных концах распределительной полосы 108 для чистящей жидкости.
Чистящая жидкость может выходить из распределительной полосы 108 для чистящей жидкости через отверстия в распределительной полосе 108 для чистящей жидкости, которые образуют выпускные отверстия 104 для чистящей жидкости. Размер таких отверстий могут выбирать таким образом, чтобы ограничивать прохождение чистящей жидкости, например, чистящей жидкости на водной основе, через указанные отверстия вследствие поверхностного натяжения чистящей жидкости во время заполнения канала 110, но при этом обеспечивать прохождение чистящей жидкости через все отверстия распределительной полосы 108 для чистящей жидкости после заполнения канала 110. Это позволяет обеспечить относительно равномерное смачивание поверхности, которая должна быть очищена по длине 106 чистящей головки 100.
С этой целью каждое выпускное отверстие 104 для чистящей жидкости может иметь, например, диаметр менее 1 мм, например, диаметр в диапазоне от 0,1 до 1 мм, предпочтительно от 0,1 до 0,8 мм, наиболее предпочтительно от 0,1 до 0,5 мм, например, около 0,3 мм.
Распределительная полоса 108 для чистящей жидкости может быть выполнена из любого подходящего материала, такого как металл, металлический сплав, например, нержавеющая сталь, и/или полимер. Формирование распределительной полосы 108 для чистящей жидкости из полимера позволяет сделать распределительную полосу 108 для чистящей жидкости более легкой и/или дешевой в изготовлении.
Со ссылкой на фиг. 1, чистящая головка 100 также содержит пористый материал, включающий слой 114 пористого материала или, в некоторых примерах, состоящий из слоя 114 пористого материала. Хотя на фиг. 1 это не видно, чистящая головка 100 имеет по меньшей мере одно впускное отверстие для грязи. Каждое впускное отверстие (каждое из впускных отверстий) для грязи покрыто слоем 114 пористого материала.
Слой 114 пористого материала может быть расположен между впускным отверстием (впускными отверстиями) для грязи и поверхностью, подлежащей очистке, таким образом, что грязная жидкость на поверхности, подлежащей очистке, сначала переносится в поры слоя 114 пористого материала, а затем проходит из слоя 114 пористого материала во впускное отверстие (впускные отверстия) для грязи.
На виде, представленном на фиг. 1, показана внешняя поверхность 116 слоя 114 пористого материала, которая обращена к поверхности, подлежащей очистке.
Слой 114 пористого материала расположен на нижней стороне 102 чистящей головки 100 или рядом с ней. В более общем плане, пористый материал, хотя и не обязательно именно слой 114 пористого материала, включенный в пористый материал, может контактировать с поверхностью, подлежащей очистке, и/или жидкостью на поверхности, подлежащей очистке.
В неограничивающих примерах, в которых пористый материал содержит один или более дополнительных слоев пористого материала (не видны на фиг. 1), расположенных на внешней поверхности 116 слоя 114 пористого материала, внешняя поверхность дополнительного слоя пористого материала, наиболее удаленного от по меньшей мере одного впускного отверстия для грязи в направлении толщины пористого материала, может контактировать с поверхностью, подлежащей очистке.
Слой 114 пористого материала, покрывающий каждое из по меньшей мере одного впускного отверстия для грязи, может способствовать поддержанию пониженного давления во впускном отверстии (впускных отверстиях) для грязи с подачей постоянного потока или без него, например, с помощью генератора пониженного давления, например, насоса, соединенного по текучей среде с впускным отверстием (впускными отверстиями) для грязи.
Например, слой 114 пористого материала может содержать пористую ткань и/или пористый поролон или состоять из них. Пористая ткань может представлять собой, например, ткань из микроволокна.
Аналогично, каждый из вышеупомянутых одного или более дополнительных слоев пористого материала может содержать пористую ткань, такую как ткань из микроволокна, и/или пористого поролона, или состоять из такой ткани.
Термин «ткань из микроволокна», используемый в данном документе, может относиться к ткани, сформированной из синтетических волокон, причем ткань сформирована из нитей, титр которых составляет менее 1 децитекса.
Такие ткани из микроволокна могут содержать, например, полиэфирные волокна, полиамидные волокна и комбинации полиэфирных и полиамидных волокон.
Ткань из микроволокна может представлять собой, например, микроволокнистую замшу.
В других примерах пористая ткань представляет собой натуральную замшу, например, изготовленную из замши, шкуры оленя, козы или овцы.
Поверхностное натяжение жидкости, удерживаемой в порах слоя 114 пористого материала, может способствовать поддержанию пониженного давления. Это поверхностное натяжение может быть преодолено в точке (или точках) на внешней поверхности 116 слоя 114 пористого материала, которые вступают в контакт с жидкостью, тем самым вызывая перенос жидкости через слой 114 пористого материала в направлении впускного отверстия (впускных отверстий) для грязи.
Пористый материал, например, содержащий ткань из микроволокна, может быть особенно подвержен износу, и такой износ может приводить к риску ухудшения характеристик пористого материала по поддержанию пониженного давления/сбора жидкости. Соответственно, пористый материал может содержать множество слоев разного цвета, которые постепенно изнашиваются при использовании чистящей головки 100, так что цвет пористого материала служит индикатором износа.
В некоторых вариантах осуществления, например, в таком, как показан на фиг. 1, пористый материал и/или слой 114 пористого материала, включенный в пористый материал, является удлиненным так, что его наибольший размер проходит параллельно длине 106 чистящей головки 100.
В неограничивающем примере, изображенном на фиг. 1, слой 114 пористого материала расположен в другом месте по ширине 118 чистящей головки 100 относительно выпускных отверстий 104 для чистящей жидкости.
В некоторых вариантах реализации, таких как изображенный на фиг. 1, чистящая головка 100 содержит часть 120, выполненную для обращения к поверхности, подлежащей очистке. Одно или более выпускных отверстий 104 для чистящей жидкости могут быть выполнены с возможностью подачи чистящей жидкости к части 120 чистящей головки 100.
Хотя это не видно на виде, представленном на фиг. 1, выступающий элемент может быть установлен возле части 120, причем выступающий элемент выступает из чистящей головки 100 в направлении поверхности, подлежащей очистке. Выступающий элемент может рассматриваться в качестве элемента, установленного в чистящей головке 100 отдельно по отношению к части 120.
Вследствие выступания выступающего элемента он может иметь ограниченный контакт с поверхностью, подлежащей очистке. Выступающий элемент может иметь, например, меньшую площадь контакта с поверхностью, подлежащей очистке, чем часть 120.
По меньшей мере в некоторых вариантах осуществления выступающий элемент содержит пористый материал. Таким образом, сопротивление перемещению чистящей головки 100 по поверхности, подлежащей очистке, может быть уменьшено вследствие ограниченной площади контакта между пористым материалом и поверхностью, подлежащей очистке. Это будет описано более подробно ниже со ссылкой на фиг. 31.
В некоторых вариантах реализации чистящая головка 100 может быть выполнена с возможностью качания на выступающем элементе в первом направлении, с тем чтобы вызывать контакт указанной части 120 с поверхностью, подлежащей очистке, и качания на выступающем элементе во втором направлении, противоположном первому направлению, с тем чтобы вызвать отделение указанной части 120 от поверхности, подлежащей очистке.
В таких вариантах реализации выступающий элемент можно рассматривать как балансир, который позволяет качать чистящую головку 100 на части 120. Для достижения этой функции качания выступающий элемент имеет ограниченный контакт с поверхностью, подлежащей очистке.
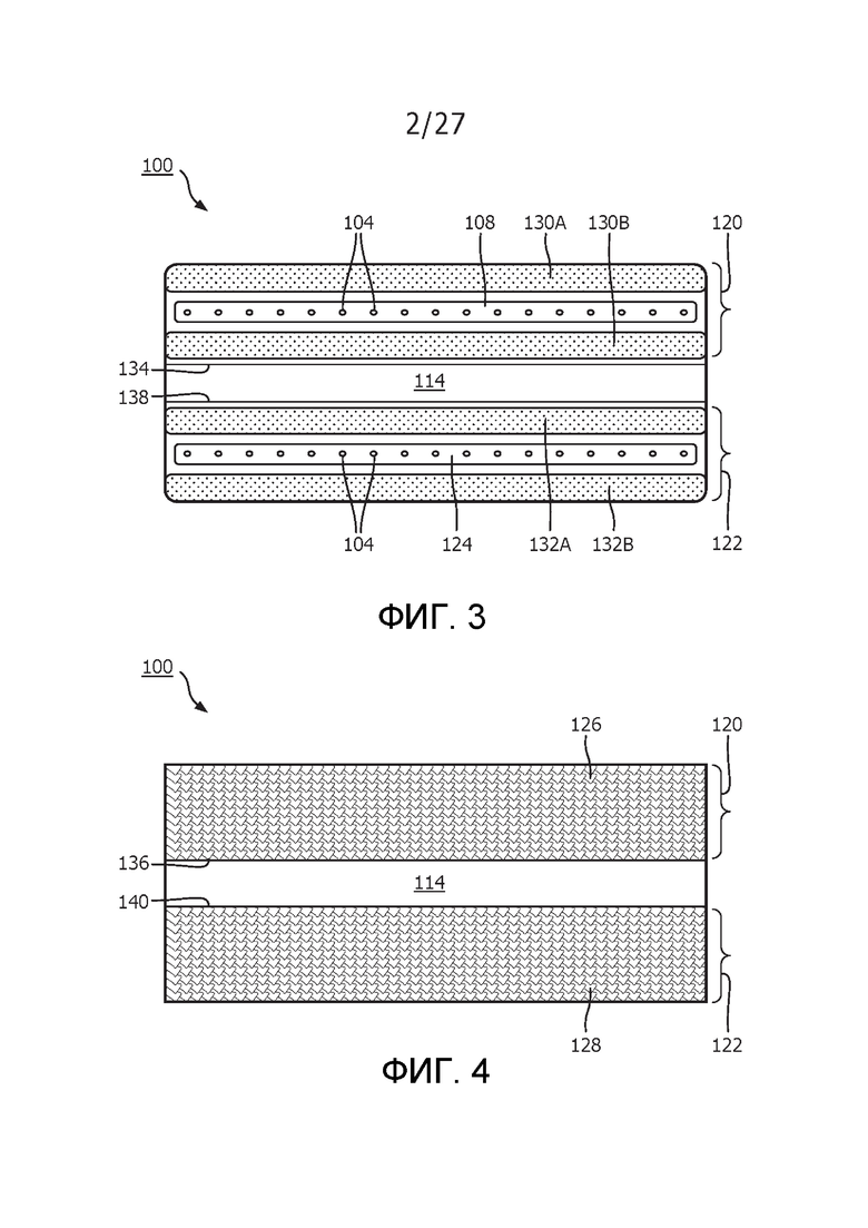
В некоторых вариантах осуществления, например, в неограничивающем примере, показанном на фиг. 3, чистящая головка 100 содержит часть 120 и дополнительную часть 122, выполненные для обращения к поверхности, подлежащей очистке. В таких вариантах осуществления слой 114 пористого материала может быть расположен между частью 120 и дополнительной частью 122.
Хотя это не видно на виде, представленном на фиг. 3, когда чистящая головка 100 содержит описанный выше выступающий элемент, выступающий элемент может быть установлен между частью 120 и дополнительной частью 122. Таким образом, выступающий элемент может представлять собой элемент, установленный отдельно как относительно части 120, так и дополнительной части 122. Благодаря этому, чистящая головка 100 может качаться вперед на выступающем элементе, с тем чтобы вызывать контакт части 120 с поверхностью, подлежащей очистке, и назад, с тем чтобы вызывать контакт дополнительной части 122 с поверхностью, подлежащей очистке.
Независимо от того, содержит ли чистящая головка 100 выступающий элемент или нет, выпускное отверстие (выпускные отверстия) 104 для чистящей жидкости может быть выполнено с возможностью подачи чистящей жидкости к части 120 и дополнительной части 122 чистящей головки 100.
В неограничивающем примере, показанном на фиг. 3, чистящая головка 100 содержит распределительную полосу 108 для чистящей жидкости, отверстия которой определяют выпускные отверстия 104 для чистящей жидкости, которые подают чистящую жидкость в часть 120, как описано выше со ссылкой на фиг. 1 и 2, и дополнительную распределительную полосу 124 для чистящей жидкости, дополнительные отверстия которой определяют выпускные отверстия 104 для чистящей жидкости, которые подают чистящую жидкость в дополнительную часть 122.
Как распределительная полоса 108 для чистящей жидкости, так и дополнительная распределительная полоса 124 для чистящей жидкости могут проходить параллельно длине 106 чистящей головки 100, как показано на фиг. 3.
В некоторых вариантах осуществления изобретения, таких как изображенный на фиг. 4, чистящая головка 100 содержит материал 126, 128 для нанесения чистящей жидкости, выполненный возле каждого из по меньшей мере одного выпускного отверстия 104 для чистящей жидкости, причем материал 126, 128 для нанесения чистящей жидкости выполнен с возможностью нанесения чистящей жидкости на поверхность, подлежащую очистке. Другими словами, материал 126, 128 для нанесения чистящей жидкости может принимать чистящую жидкость, подаваемую из выпускного отверстия (выпускных отверстий) 104 для чистящей жидкости, и переносить чистящую жидкость на поверхность, подлежащую очистке.
Материал 126, 128 для нанесения чистящей жидкости может, например, включать полиамидные и/или полиэфирные волокна.
Альтернативно или дополнительно, материал 126, 128 для нанесения чистящей жидкости содержит комбинацию более тонких волокон и более толстых волокон.
Например, более тонкие волокна могут быть меньше чем или равны 1 децитекс, а более толстые волокна могут иметь толщину более 0,01 мм, например, толщина более толстых волокон может быть около 0,05 мм.
Более толстые волокна, которые могут быть изготовлены из полиамида или полиэфира, могут способствовать уменьшению трения между материалом 126, 128 для нанесения чистящей жидкости и поверхностью, подлежащей очистке, в то время как более тонкие волокна, например, изготовленные из полиамида или полиэфира, могут способствовать улучшению удержания грязи.
Более толстые волокна могут также обеспечивать упругость материала 126, 128 для нанесения чистящей жидкости, тем самым сводя к минимуму уплотнение материала 126, 128 для нанесения чистящей жидкости.
Способность к уменьшению уплотнения более толстых волокон может быть особенно полезной в вариантах реализации, в которых материал 126, 128 для нанесения чистящей жидкости включен в часть 120 и/или дополнительную часть 122, рядом с балансиром выступающего элемента. Это связано с тем, что минимизированное уплотнение может способствовать обеспечению того, что при непрерывном использовании чистящей головки 100 постоянная степень качания на выступающем элементе приводит к контакту материала 126, 128 для нанесения чистящей жидкости с поверхностью, подлежащей очистке.
Толщина материала 126, 128 для нанесения чистящей жидкости может быть альтернативно или дополнительно выбрана или ограничена, например, с учетом степени выступания выступающего элемента относительно части 120 и/или дополнительной части 122, таким образом, чтобы свести к минимуму уплотнение материала 126, 128 для нанесения чистящей жидкости во время использования чистящей головки 100.
В вариантах реализации, в которых материал 126, 128 для нанесения чистящей жидкости содержит комбинацию более тонких волокон и более толстых волокон, эти волокна могут быть расположены относительно друг друга любым подходящим способом. Например, материал 126, 128 для нанесения чистящей жидкости может содержать полосу более толстых волокон, выполненную возле полосы более тонких волокон. Каждая из таких полос может проходить вдоль длины 106 чистящей головки 100, так что толщина волокна чередуется в направлении ширины 118. Такая конфигурация может способствовать уменьшению трения, когда чистящая головка 100 перемещается в направлениях, параллельных направлению ширины 118.
В вариантах реализации, в которых материал 126, 128 для нанесения чистящей жидкости содержит как полиамидные, так и полиэфирные волокна, эти волокна могут быть расположены относительно друг друга любым подходящим способом. Например, материал 126, 128 для нанесения чистящей жидкости может содержать полосу полиамидных волокон, выполненную возле полосы полиэфирных волокон. Каждая из таких полос может проходить вдоль длины 106 чистящей головки 100, так что тип волокна чередуется в направлении ширины 118.
Материал 126, 128 для нанесения чистящей жидкости может, например, содержать базовый слой, который поддерживает материал, например, материал, содержащий полиамидное и/или полиэфирное волокно, который контактирует с поверхностью, подлежащей очистке. Базовый слой может быть выполнен из любого подходящего материала для базового слоя, такого как полиэстер.
Такой базовый слой может быть снабжен пучками, например, образованными из полиамидных и/или полиэфирных волокон. Такие пучки могут способствовать тому, чтобы материал 126, 128 для нанесения чистящей жидкости повторял контуры поверхности, подлежащей очистке, и/или могут способствовать тому, чтобы материал 126, 128 для нанесения чистящей жидкости удерживал частицы грязи, одновременно сводя к минимуму риск образования царапин на поверхности, подлежащей очистке.
В некоторых вариантах осуществления материал 126, 128 для нанесения чистящей жидкости может отличаться от пористого материала (по меньшей мере) базовым слоем, например, описанным выше базовым слоем, поддерживающим пучки, который включен в материал 126, 128 для нанесения чистящей жидкости, но не включен в пористый материал.
В некоторых неограничивающих примерах волокна, составляющие материал 126, 128 для нанесения чистящей жидкости, идентичны волокнам, составляющим пористый материал.
В альтернативных примерах одним из способов, с помощью которого материал 126, 128 для нанесения чистящей жидкости можно отличить от пористого материала, является тонкость, например, титр, нитей и/или волокон соответствующих материалов, например, поверхность, подлежащая очистке - контактные нити и/или волокна соответствующих материалов. Например, волокна слоя (слоев) пористого материала, составляющего пористый материал, могут быть более тонкими, чем волокна материала 126, 128 для нанесения чистящей жидкости. Альтернативно или дополнительно, нити слоя (слоев) пористого материала, составляющего пористый материал, могут быть более тонкими, чем нити материала 126, 128 для нанесения чистящей жидкости.
Пористый материал, как правило, может быть более плотным, например, вследствие более плотного переплетения ткани из микроволокна, чем материал 126, 128 для нанесения чистящей жидкости.
В некоторых вариантах реализации материал 126, 128 для нанесения чистящей жидкости содержит множество слоев разного цвета, причем эти слои постепенно изнашиваются при использовании чистящей головки 100 таким образом, что цвет материала 126, 128 для нанесения чистящей жидкости служит индикатором износа.
В некоторых вариантах реализации материал 126, 128 для нанесения чистящей жидкости выполнен с возможностью отделения от каждого из по меньшей мере одного выпускного отверстия 104 для чистящей жидкости. Это может обеспечивать возможность замены материала 126, 128 для нанесения чистящей жидкости, например, после чрезмерного износа материала 126, 128 для нанесения чистящей жидкости, и/или возможность промывки материала 126, 128 для нанесения чистящей жидкости между применениями. Износ может, например, указываться с помощью описанных выше цветных слоев, содержащих материал 126, 128 для нанесения чистящей жидкости.
Материал 126, 128 для нанесения чистящей жидкости может быть прикреплен к чистящей головке 100, в частности, к нижней стороне 102 чистящей головки 100 в неограничивающих примерах, показанных на фиг. 1-4, любым подходящим способом.
Как показано на фиг. 3, изображенная чистящая головка 100 содержит по меньшей мере один крепежный элемент 130A, 130B, 132A, 132B, в данном примере в виде контактных лент Velcro, которые входят в зацепление с дополнительным крепежным элементом (элементами) (не видны), на материале 126, 128 для нанесения чистящей жидкости. Дополнительный крепежный элемент (элементы) может быть, например, включен в описанный выше базовый слой материала 126, 128 для нанесения чистящей жидкости или прикреплен к нему.
Могут быть предусмотрены альтернативные способы прикрепления, например, с возможностью отсоединения, материала 126, 128 для нанесения чистящей жидкости к чистящей головке 100 и, в частности, к по меньшей мере одному выпускному отверстию 104 для чистящей жидкости, такие как использование кнопок, комбинация пуговиц и отверстий для пуговиц, застежки-молнии и так далее.
В некоторых вариантах осуществления, таких как изображенный на фиг. 4, материал 126, 128 для нанесения чистящей жидкости содержит первую часть 126 для нанесения и вторую часть 128 для нанесения, причем слой 114 пористого материала расположен между первой частью 126 для нанесения и второй частью 128 для нанесения.
Когда первая часть 126 для нанесения включена в чистящую головку 100, первая часть 126 для нанесения может быть включена в описанную выше часть 120 чистящей головки 100.
В вариантах осуществления, в которых материал для нанесения чистящей жидкости, например, первая часть 126 для нанесения, включена в часть 120, указанная часть может быть пригодна как для контакта с поверхностью, подлежащей очистке, так и может содействовать очистке поверхности, подлежащей очистке, например, путем содействия в нанесении чистящей жидкости на поверхность, подлежащую очистке.
Однако также возможно, что материал для нанесения чистящей жидкости не включен в часть 120, например, если чистящая головка 100 поставляется без такого материала для нанесения чистящей жидкости. В этом случае часть 120, тем не менее, может быть пригодна для контакта с поверхностью, подлежащей очистке (в том смысле, что возможно приведение части 120 в контакт с поверхностью, подлежащей очистке, без необходимости включения в нее материала для нанесения чистящей жидкости), хотя и с потенциально меньшей очищающей способностью, чем в случае, в котором материал для нанесения чистящей жидкости, например, первая часть 126 для нанесения, включена в часть 120.
Первая часть 126 для нанесения может содержать описанный выше дополнительный крепежный элемент (крепежные элементы), который(-ые) входит(-ят) в зацепление с крепежным элементом (крепежными элементами) 130A, 130B, предусмотренным(и) на чистящей головке 100 для размещения в части 120 первой части 126 для нанесения.
Аналогично, когда вторая часть 128 для нанесения включена в чистящую головку 100, вторая часть 128 для нанесения может быть включена в вышеописанную дополнительную часть 122 чистящей головки 100.
В таких вариантах осуществления вторая часть 128 для нанесения может содержать описанный выше дополнительный крепежный элемент (крепежные элементы), который(-ые) входит(-ят) в зацепление с крепежным элементом(-ами) 132A, 132B, предусмотренным(и) на чистящей головке 100 для размещения в дополнительной части 122 второй части 128 для нанесения.
В некоторых вариантах осуществления по меньшей мере одно выпускное отверстие 104 для чистящей жидкости содержит по меньшей мере одну пару выпускных отверстий 104 для чистящей жидкости, причем слой 114 пористого материала расположен между выпускными отверстиями 104 для чистящей жидкости каждой пары.
В вариантах осуществления, в которых материал 126, 128 для нанесения чистящей жидкости содержит первую часть 126 для нанесения и вторую часть 128 для нанесения, первая часть 126 для нанесения может быть расположена рядом с одним из выпускных отверстий 104 для чистящей жидкости указанной пары, причем вторая часть 128 для нанесения расположена рядом с другим из выпускных отверстий 104 для чистящей жидкости указанной пары. Пример этого показан на фиг. 3 и 4.
По меньшей мере в некоторых вариантах осуществления изобретения пористый материал, хотя и не обязательно конкретно слой 114 пористого материала, включенный в пористый материал, контактирует с тканью 126, 128 для нанесения чистящей жидкости.
С помощью пористого материала, контактирующего с материалом 126, 128 для нанесения чистящей жидкости, некоторая часть чистящей жидкости может быть перенесена из материала 126, 128 для нанесения чистящей жидкости в пористый материал и во впускное отверстие (впускные отверстия) для грязи. Эта конфигурация может способствовать предотвращению образования избытка чистящей жидкости в материале 126, 128 для нанесения чистящей жидкости и, таким образом, может способствовать минимизации чрезмерного смачивания поверхности, подлежащей очистке, например, путем капания чистящей жидкости из материала для нанесения чистящей жидкости на поверхность, подлежащую очистке. Альтернативно или дополнительно, благодаря контакту пористого материала с материалом 126, 128 для нанесения чистящей жидкости, содержащаяся в последнем чистящая жидкость может использоваться для эффективного промывания пористого материала, покрывающего впускное отверстие (впускные отверстия) для грязи.
В неограничивающем примере слой 114 пористого материала контактирует с материалом 126, 128 для нанесения чистящей жидкости. В примерах, в которых пористый материал содержит один или более дополнительных слоев пористого материала (не видны на фиг. 3 и 4), расположенных на внешней поверхности 116 слоя 114 пористого материала, слой 114 пористого материала и/или дополнительный слой (слои) пористого материала могут входить в контакт с материалом 126, 128 для нанесения чистящей жидкости.
Несмотря на то, что пористый материал входит в контакт с материалом 126, 128 для нанесения чистящей жидкости, оба этих материала также могут быть выполнены с возможностью контакта с поверхностью, подлежащей очистке. Это может быть достигнуто любым подходящим способом. В некоторых вариантах реализации, таких как показанный на фиг. 3 и 4, краевая часть 134 пористого материала упирается в противоположную краевую часть 136 материала 126, 128 для нанесения чистящей жидкости. Таким образом, чистящая жидкость может сначала быть перенесена в материал 126, 128 для нанесения чистящей жидкости и только затем перенесена из материала 126, 128 для нанесения чистящей жидкости в пористый материал через примыкающие краевые участки 134, 136 соответствующих материалов. Это может обеспечить улучшенное управление влажностью материала 126, 128 для нанесения чистящей жидкости.
Альтернативно или дополнительно, материал 126, 128 для нанесения чистящей жидкости может быть выполнен с возможностью деформации для приведения по меньшей мере части материала 126, 128 для нанесения чистящей жидкости в контакт с пористым материалом.
Благодаря тому, что материал 126, 128 для нанесения чистящей жидкости выполнен с возможностью деформации для приведения по меньшей мере части материала 126, 128 для нанесения чистящей жидкости в контакт с пористым материалом, часть чистящей жидкости может быть перенесена из материала 126, 128 для нанесения чистящей жидкости в пористый материал особенно управляемым образом. Таким образом, чрезмерное смачивание поверхности, подлежащей очистке, например, путем капания чистящей жидкости из материала 126, 128 для нанесения чистящей жидкости на поверхность, подлежащую очистке, может быть сведено к минимуму. Альтернативно или дополнительно, посредством деформации материала 126, 128 для нанесения чистящей жидкости таким образом, что по меньшей мере часть материала 126, 128 для нанесения чистящей жидкости входит в контакт с пористым материалом, чистящая жидкость в последнем может быть использована для эффективного промывания пористого материала.
По меньшей мере в некоторых вариантах осуществления материал 126, 128 для нанесения чистящей жидкости выполнен с возможностью деформации при контакте с поверхностью, подлежащей очистке, и/или при смачивании жидкостью, например водой.
Такое смачивание может быть результатом подачи чистящей жидкости к материалу 126, 128 для нанесения чистящей жидкости из выпускного отверстия (выпускных отверстий) для чистящей жидкости и/или присутствия жидкости на поверхности, подлежащей очистке.
В неограничивающем примере материал 126, 128 для нанесения чистящей жидкости содержит пучки, образованные из волокон, и базовый слой, поддерживающий пучки. Такие пучки могут быть выполнены с возможностью деформации для контакта с пористым материалом, например, при контакте с поверхностью, подлежащей очистке, и/или при смачивании жидкостью, например, водой.
В то время как пучки сохраняют контакт с пористым материалом, чистящая жидкость может быть перенесена через пучки из материала 126, 128 для нанесения чистящей жидкости в пористый материал.
В некоторых вариантах осуществления материал для нанесения чистящей жидкости выполнен с возможностью деформации для приведения краевой части 136 материала 126, 128 для нанесения чистящей жидкости в контакт с пористым материалом, например, в контакт с краевой частью 134 пористого материала.
Краевая часть 136 материала 126, 128 для нанесения чистящей жидкости может, например, примыкать к (противоположной) краевой части 134 пористого материала, когда материал 126, 128 для нанесения чистящей жидкости деформирован, чтобы привести краевую часть 136 материала 126, 128 для нанесения чистящей жидкости в контакт с пористым материалом.
В некоторых вариантах осуществления краевая часть 136 материала 126, 128 для нанесения чистящей жидкости выполнена с возможностью контакта с поверхностью, подлежащей очистке, по меньшей мере при деформации материала 126, 128 для нанесения чистящей жидкости для приведения краевой части 136 материала 126, 128 для нанесения чистящей жидкости в контакт с пористым материалом. Таким образом, можно управлять влажностью материала 126, 128 для нанесения чистящей жидкости, когда материал 126, 128 для нанесения чистящей жидкости находится в контакте с поверхностью, подлежащей очистке, тем самым сводя к минимуму риск чрезмерного смачивания поверхности, подлежащей очистке.
В неограничивающем примере материал 126, 128 для нанесения чистящей жидкости выполнен с возможностью деформации для приведения по меньшей мере части материала 126, 128 для нанесения чистящей жидкости в контакт со слоем 114 пористого материала. В примерах, в которых пористый материал содержит один или более дополнительных слоев пористого материала, деформация материала 126, 128 для нанесения чистящей жидкости приводит к тому, что по меньшей мере часть, например краевой части 136, материала 126, 128 для нанесения чистящей жидкости приходит в контакт со слоем 114 пористого материала и/или дополнительным слоем (дополнительными слоями) пористого материала.
В вариантах осуществления, в которых чистящая головка 100 содержит описанный выше выступающий элемент, примыкающие друг к другу противоположные краевые участки 134, 136 пористого материала и материала 126, 128 для нанесения чистящей жидкости предпочтительно расположены между выступающим элементом и частью 120. Таким образом, избыток чистящей жидкости, возникающий при выжимании из материала 126, 128 для нанесения чистящей жидкости между выступающим элементом и материалом 126, 128 для нанесения чистящей жидкости, например, путем покачивания чистящей головки 100 посредством выступающего элемента, может быть эффективно перенесен во впускное отверстие (впускные отверстия) для грязи через пористый материал.
Следует отметить, что контакт между пористым материалом и материалом 126, 128 для нанесения чистящей жидкости может быть обеспечен на поверхности, подлежащей очистке, со стороны, контактирующей с материалами. Это позволит избежать попадания чистящей жидкости непосредственно в пористый материал без надлежащего смачивания материала 126, 128 для нанесения чистящей жидкости или промывания пористого материала.
В некоторых вариантах реализации материал 126, 128 для нанесения чистящей жидкости выполнен с возможностью деформации для приведения по меньшей мере части материала 126, 128 для нанесения чистящей жидкости в контакт с пористым материалом между выступающим элементом и частью 120.
Таким образом, избыток чистящей жидкости, возникающий при выжимании из материала 126, 128 для нанесения чистящей жидкости между выступающим элементом и материалом для нанесения чистящей жидкости, например, путем покачивания чистящей головки 100 на выступающем элементе, может быть эффективно перемещен во впускное отверстие (впускные отверстия) для грязи через пористый материал.
В вариантах осуществления, в которых материал 126, 128 для нанесения чистящей жидкости содержит описанную выше первую часть 126 для нанесения и вторую часть 128 для нанесения, противоположная краевая часть 136 материала 126, 128 для нанесения чистящей жидкости может быть включена в первую часть 126 для нанесения, как показано на фиг. 4. Кроме того, еще одна краевая часть 138 пористого материала может примыкать к другой противоположной краевой части 140 второй части 128 для нанесения. Пример этого проиллюстрирован на фиг. 3 и 4.
Когда описанный выше выступающий элемент расположен между частью 120 и дополнительной частью 122, примыкающие противоположные краевые части 134, 136 пористого материала и первая часть 126 для нанесения предпочтительно расположены между выступающим элементом и частью 120, а примыкающие противоположные дополнительные краевые части 138, 140 пористого материала и вторая часть 128 для нанесения предпочтительно расположены между выступающим элементом и дополнительной частью 122.
Таким образом, избыток чистящей жидкости, возникающий при выжимании из материала 126, 128 для нанесения чистящей жидкости между выступающим элементом и первой и второй частями 126, 128 для нанесения чистящей жидкости, например, путем покачивания чистящей головки 100 вперед и назад, соответственно, может быть эффективно перенесен во впускное отверстие (впускные отверстия) для грязи через пористый материал.
Противоположная краевая часть 136 и/или дополнительная противоположная краевая часть 140 (при наличии) материала 126, 128 для нанесения чистящей жидкости может, например, быть выполнена с возможностью контакта с поверхностью, подлежащей очистке. Таким образом, можно управлять влажностью материала 126, 128 для нанесения чистящей жидкости, когда материал 126, 128 для нанесения чистящей жидкости находится в контакте с поверхностью, подлежащей очистке, тем самым сводя к минимуму риск чрезмерного смачивания поверхности, подлежащей очистке.
В некоторых вариантах реализации первая часть 126 для нанесения выполнена с возможностью деформации для приведения по меньшей мере части первой части 126 для нанесения в контакт с пористым материалом между частью 120 и выступающим элементом, и/или вторая часть 128 для нанесения выполнена с возможностью деформации для приведения по меньшей мере части второй части 128 для нанесения в контакт с пористым материалом между дополнительной частью 122 и выступающим элементом.
На фиг. 5A показан вид сверху, показывающий слой 114 пористого материала и по меньшей мере одно впускное отверстие 142A, 142B для грязи приведенной в качестве примера чистящей головки 100. На фиг. 5B представлен схематический вид в разрезе слоя 114 пористого материала и по меньшей мере одного впускного отверстия 142A, 142B для грязи, показанного на фиг. 5A.
В некоторых вариантах осуществления, таких как показанный на фиг. 5A и 5B, каждое из по меньшей мере одного впускного отверстия 142A, 142B для грязи образовано отверстием трубки или трубок 144A, 144B, соединенными по текучей среде или выполненными с возможностью соединения по текучей среде с генератором пониженного давления (не видно на фиг. 5A и 5B).
В неограничивающем примере, показанном на фиг. 5A и 5B, чистящая головка 100 содержит пару впускных отверстий 142A, 142B для грязи, хотя может быть предусмотрено любое подходящее количество впускных отверстий 142A, 142B для грязи, таких как одно, два, три, четыре, пять, шесть или более.
Когда множество впускных отверстий 142A, 142B для грязи включены в чистящую головку 100, они могут, например, иметь одинаковые размеры друг с другом.
Альтернативно или дополнительно, когда используется множество, например, пара, впускных отверстий 142A, 142B для грязи, впускные отверстия 142A, 142B для грязи могут быть разнесены по длине 106 чистящей головки 100 таким образом, чтобы обеспечить относительно равномерное всасывание по длине 106 чистящей головки 100. Например, расстояние вдоль длины 106 между центральным положением чистящей головки 100 и центром впускного отверстия 142A для грязи может быть таким же или по существу таким же, как расстояние вдоль длины 106 между указанным центральным положением и центром впускного отверстия 142B для грязи.
Если используется одно впускное отверстие для грязи, оно может быть предусмотрено в центральном положении чистящей головки 100 для обеспечения относительно симметричного профиля всасывания по длине 106 чистящей головки 100.
В более общем случае, область PR сбора жидкости слоя 114 пористого материала ограничена посредством прикрепления с уплотнением слоя 114 пористого материала вокруг, например, каждого из по меньшей мере одного впускного отверстия 142A, 142B для грязи.
Такое прикрепление с уплотнением может способствовать поддержанию пониженного давления в закрытом впускном отверстии (впускных отверстиях) 142A, 142B для грязи, поскольку потеря пониженного давления посредством утечки между впускным отверстием (впускными отверстиями) 142A, 142B для грязи и слоем 114 пористого материала сводится к минимуму или предотвращается.
Прикрепление с уплотнением может быть реализовано любым подходящим способом, например, путем приклеивания или присоединения сваркой слоя 114 пористого материала вокруг каждого из по меньшей мере одного впускного отверстия 142A, 142B для грязи, например, приклеивания и/или присоединения сваркой слоя 114 пористого материала с упомянутой выше трубкой (трубками) 144A, 144B вокруг отверстия (отверстий), определяющего впускное отверстие (впускные отверстия) 142A, 142B для грязи.
Особого внимания заслуживает прикрепление с уплотнением слоя 114 пористого материала к впускному отверстию (впускным отверстиям) 142A, 142B для грязи путем термозапечатывания, например, ультразвуковой сваркой. Было обнаружено, что это обеспечивает особенно воздухонепроницаемое уплотнение простым способом, которое помогает поддерживать пониженное давление во впускном отверстии (впускных отверстиях) 142A, 142B для грязи.
Как показано на фиг. 5B, 6A и 6B, неограничивающий пример прикрепления с уплотнением слоя 114 пористого материала к впускным отверстиям 142A, 142B для грязи реализован с помощью чистящей головки 100, содержащей непроницаемую часть 146, уплотненную на слое 114 пористого материала, например, на внутренней поверхности 148 слоя 114 пористого материала и вокруг впускных отверстий 142A, 142B для грязи, при этом впускные отверстия 142A, 142B для грязи открыты в герметичную полость 150 между слоем 114 пористого материала и непроницаемой частью 146.
Непроницаемая часть 146 может, например, содержать полимерную пленку, такую как термопластичная пленка, или состоять из нее. Различные альтернативные уплотнения, некоторые из которых не содержат такую полимерную пленку, описаны ниже в настоящем документе.
В неограничивающем примере, показанном на фиг. 6A и 6B, уплотнение 152, например, образованное с помощью приклеивания и/или присоединения сваркой непроницаемой части 146, например, полимерной пленки, проходит по периферии слоя 114 пористого материала и вокруг впускных отверстий 142A, 142B для грязи.
По меньшей мере в некоторых вариантах осуществления, таких как показанный на фиг. 7A и 7B, область PR сбора жидкости расположена относительно по меньшей мере одного выпускного отверстия 104 для чистящей жидкости, таким образом, что чистящая жидкость может обходить, например, проходить вокруг периферии области PR сбора жидкости, чтобы достигать или по меньшей мере быть направленной к поверхности, подлежащей очистке.
Это может позволить более эффективно использовать чистящую жидкость. Это связано с тем, что чистящая жидкость имеет больше шансов достичь поверхности, подлежащую очистке, например, с помощью вышеописанного материала 126, 128 для нанесения чистящей жидкости (когда он включен в чистящую головку 100).
В других примерах пористый материал может быть прикреплен, например, к чистящей головке 100 или элементу чистящей головки 100, вокруг впускного отверстия (впускных отверстий) 142A, 142B для грязи по меньшей мере частично за счет всасывания через него потока, обеспечиваемого генератором пониженного давления.
В некоторых вариантах осуществления чистящая головка 100 содержит опорную конструкцию 154 для переноса жидкости в полости 150, причем опорная конструкция 154 для переноса жидкости выполнена с возможностью обеспечения одного или более путей для потока в области PR сбора жидкости между слоем 114 пористого материала и, в частности, порами слоя 114 пористого материала и по меньшей мере одним впускным отверстием 142A, 142B для грязи.
Слой 114 пористого материала, например, ткань из микроволокна, и/или непроницаемая часть 146, например, полимерная пленка, могут быть гибкими, так что пониженное давление может вызывать притягивание слоя 114 пористого материала и непроницаемой части 146 друг к другу. Это может привести к ограничению прохода жидкости из слоя 114 пористого материала к по меньшей мере одному впускному отверстию 142A, 142B для грязи. Опорная конструкция 154 для переноса жидкости может способствовать обеспечению того, что, несмотря на такое притягивание слоя 114 пористого материала и непроницаемой части 146 друг к другу, жидкость все еще может быть перенесена из слоя 114 пористого материала и, в частности, из пор слоя 114 пористого материала, к указанному по меньшей мере одному впускному отверстию 142A, 142B для грязи.
Опорная конструкция 154 для переноса жидкости может быть реализована любым подходящим способом. В неограничивающем примере, показанном на фиг. 7A и 7B, опорная конструкция 154 для переноса жидкости содержит один или более сетчатых слоев или образован ими. В таком примере описанные выше один или более путей для потока могут быть обеспечены зазорами между элементами, составляющими сетчатый слой (слои). Альтернативные примеры опорной конструкции 154 для переноса жидкости будут описаны ниже.
Как описано выше, в некоторых вариантах осуществления пористый материал может содержать один или более дополнительных слоев 156, 158 пористого материала в дополнение к слою 114 пористого материала. Примеры этого показаны на фиг. 8 и 9.
На данном этапе следует отметить, что, когда пористый материал является сухим, пористый материал может рассматриваться как находящийся в «состоянии переноса воздуха», в котором воздух переносится через каждую из сухих пор пористого материала. «Состояние переноса жидкости» соответствует жидкости, например, воде, переносимой через (увлажненные) поры пористого материала. Когда в пору (поры) больше не подается жидкость, может быть выбрано «состояние блокировки текучей среды». «Состояние блокировки текучей среды» соответствует состоянию, при котором поверхностное натяжение (остаточной) жидкости, удерживаемой в увлажненной поре (порах) пористого материала, предотвращает перенос текучей среды через пору (поры). В последнем состоянии на границе между воздухом и жидкостью, например водой, создают поверхность или барьер. Этот барьер может способствовать поддержанию описанного выше пониженного давления во впускном отверстии (впускных отверстиях) 142A, 142B для грязи. Давление, необходимое для «разрушения» этого барьера, можно назвать «давлением разрушения».
Следует отметить, что тканая пористая ткань с более тонким переплетением может иметь поры меньшего размера, например микропоры, создавая более высокое давление разрушения. Однако уменьшение размера пор может быть ограничено методами ткачества. В то же время, возможно, что некоторые волокна, например, волокна, выбранные вследствие их благоприятных характеристик очистки и/или износа, могут быть сотканы только с образованием более открытой структуры, которая не подходит для поддержания достаточного пониженного давления во впускном отверстии (впускных отверстиях) 142A, 142B для грязи.
Тем не менее, «давление разрушения» может быть настроено различными способами. В неограничивающем примере, показанном на фиг. 8, пористый материал содержит слой 114 пористого материала и первый дополнительный слой 156 пористого материала или образован им.
Например, слой 114 пористого материала представляет собой ткань из микроволокна, и первый дополнительный слой 156 пористого материала представляет собой ткань из микроволокна.
Благодаря пористому материалу, содержащему подобным образом уложенные друг на друга слои 114, 156 пористого материала, давление разрушения может быть увеличено, например, по сравнению с вариантом, в котором пористый материал состоит только из слоя 114 пористого материала.
Не желая ограничиваться какой-либо конкретной теорией, можно сказать, что этот эффект обусловлен изменением, например, статистическим изменением, размера и формы пор. Например, ткань из микроволокна может быть изготовлена из множества волокон и нитей, которые сплетены вместе в лист ткани. Таким образом, между волокнами и нитями могут быть созданы поры, например, микропоры, поэтому размеры пор, присутствующие в ткани, не имеют одного конкретного фиксированного размера и формы, а изменяются статистически.
Один слой 114 пористого материала может содержать меньшее количество относительно больших пор, для которых поверхностное натяжение остаточной жидкости меньше, так что эти относительно большие поры способствуют более низкому давлению разрушения одного слоя 114 пористого материала. При укладке дополнительного слоя 156 пористого материала на слой 114 пористого материала вероятность того, что описанное выше меньшинство относительно больших пор слоя 114 пористого материала выровняется/окажется сообщенным с относительно большими порами, включенными в дополнительный слой 156 пористого материала, может быть относительно небольшой. Соответственно, укладка друг на друга слоев 114, 156 пористого материала может способствовать увеличению давления разрушения пористого материала.
В то время как пористый материал образован из слоя 114 пористого материала и первого дополнительного слоя 156 пористого материала в неограничивающем примере, показанном на фиг. 8, в пористый материал может быть включено более одного дополнительного слоя 156 пористого материала, например, для дальнейшего увеличения давления разрушения. В неограничивающем примере, показанном на фиг. 9, пористый материал содержит слой 114 пористого материала, первый дополнительный слой 156 пористого материала и второй дополнительный слой 158 пористого материала или образован ими.
Например, слой 114 пористого материала представляет собой ткань из микроволокна, первый дополнительный слой 156 пористого материала представляет собой ткань из микроволокна, и второй дополнительный слой 158 пористого материала представляет собой ткань из микроволокна.
Слои 114, 156, 158 пористого материала могут быть приклеены или не приклеены друг к другу. В неограничивающих примерах, в которых слои 114, 156, 158 пористого материала приклеены друг к другу, например, с помощью подходящего клеящего вещества, нанесенного между слоями пористого материала, это может способствовать дальнейшему увеличению давления разрушения пористого материала.
Не желая ограничиваться какой-либо конкретной теорией, полагают, что это связано с клеящим веществом, препятствующим горизонтальному переносу текучей среды между приклеенными слоями пористого материала. Как показано на фиг. 10, перенос текучей среды через поры 160A, 160B слоя 114 пористого материала схематически изображен на верхнем левом изображении, в то время как горизонтальный перенос текучей среды между не приклеенными слоем 114 пористого материала и порой 162A первого дополнительного слоя 156 пористого материала схематически изображен на нижнем левом изображении. При сравнении последнего с правым изображении на фиг. 10, становиться очевидно, что клеящее вещество 164 между слоем 114 пористого материала и первым дополнительным слоем 156 пористого материала ограничивает или предотвращает горизонтальный перенос текучей среды между порами 160A слоя пористого материала и порами 162A, 162B первого дополнительного слоя 156 пористого материала.
Для приклеивания слоев 114, 156, 158 пористого материала друг к другу может быть использовано любое подходящее клеящее вещество 164, такое как термоактивируемый тканевый клей. Коммерчески доступным примером термоактивируемого тканевого клея является Vliesofix®.
Преимущество слоев 114, 156, 158 пористого материала, которые не приклеены друг к другу, может заключаться в том, что сопротивление переносу жидкости через пористый материал может быть уменьшено, например, вследствие возможности горизонтального переноса жидкости между слоями 114, 156, 158 пористого материала или по меньшей мере ограничено в меньшей степени по сравнению с вариантом, в котором клеящее вещество 164 присутствует между слоями 114, 156, 158 пористого материала.
В качестве альтернативы или в дополнение к пористому материалу, содержащему один или более дополнительных слоев 156, 158 пористого материала в дополнение к слою 114 пористого материала, слой 114 пористого материала, например, ткани из микроволокна, может быть подвергнут обработке с уплотнением, например, посредством ультразвуковой сварки. Это может способствовать увеличению давления разрушения слоя 114 пористого материала.
В приведенном в качестве примера процессе уплотнения слой 114 пористого материала, например, пористой ткани, такой как ткань из микроволокна, помещают, например, в сжатом состоянии, между двумя элементами (например, роликами), излучающими вибрацию относительно высокой частоты (например, около 40 кГц) в слой 114 пористого материала.
Эта вибрация может привести к тому, что волокна пористой ткани, например, ткани из микроволокна, будут перемещаться и тереться друг о друга, создавая тепло, что может привести к свариванию отдельных волокон вместе. Такой сваркой можно управлять таким образом, чтобы получить более плотную пористую структуру, а не уплотненный сплошной блок. Поскольку этот процесс может происходить, когда пористая ткань находится в сжатом состоянии, плотность ткани может увеличиваться, тем самым увеличивая давление разрушения.
Такой процесс уплотнения может альтернативно или дополнительно использоваться для уплотнения одного или более дополнительных слоев 156, 158 пористого материала, когда такой дополнительный слой (дополнительные слои) 156, 158 пористого материала включен(ы) в пористый материал.
На фиг. 11 схематически изображена приведенное в качестве примера испытательная установка 166 для испытания характеристик давления разрушения пористого материала 168. Пористый материал 168 зажат между зажимным элементом 170 и опорной плитой 172. Зажимной элемент 170 ограничивает отверстия для болтов 174, причем болты 174 размещены в резьбовых отверстиях в опорной плите 172. Поворот болтов 174 в соответствующем направлении обеспечивает возможность зажима/высвобождения пористого материала 168.
В этом конкретном примере зажимной элемент 170 представляет собой алюминиевое кольцо толщиной 10 мм, а опорная плита 172 выполнена из полиметилметакрилата толщиной 10 мм. Образец пористого материала представляет собой круглый диск диаметром 140 мм. Образец закреплен восемью болтами 174.
Впускное отверстие 142A для грязи в данной испытательной установке 166 образовано отверстием канала 176 для переноса, предусмотренного в опорной плите 172. В полости между пористым материалом 168 и впускным отверстием 142A для грязи предусмотрена описанная выше опорная конструкция 154 для переноса жидкости, в данном случае в виде сетки с диаметром 80 мм.
Испытательная установка 166 содержит генератор 178 пониженного давления для создания пониженного давления во впускном отверстии 142A для грязи и датчик 180 давления, например, манометр, выполненный с возможностью измерения давления во впускном отверстии 142A для грязи.
Датчик 180 давления в этом конкретном примере содержит манометр в сочетании с блоком сбора данных (LabQuest® 2) для обеспечения возможности отслеживания давления в зависимости от времени.
Генератор 178 пониженного давления в этом конкретном примере имеет форму шлангового насоса или шприцевого насоса, например, шприцевого насоса объемом 250 мл. Шланговый насос может обеспечивать импульсный поток воды. Было обнаружено, что шприцевой насос позволяет проводить более точные измерения, чем шланговый насос.
Испытательная установка 166 также содержит фильтр 182 напорной линии в виде камеры, выполненной с возможностью предотвращения попадания жидкости в линию 184 датчика давления, соединяющую фильтр 182 напорной линии с датчиком 180 давления. Ниже по потоку от фильтра 182 нагнетательной линии и насоса 178 находится резервуар 186 для сбора жидкости, перекачиваемой через пористый материал 168.
Процедура испытания включает зажатие образца пористого материала 168 между зажимным элементом 170 и опорной плитой 172, а затем установку насоса 178 для обеспечения расхода 100 см3/мин. Фильтр 182 напорной линии проверяют, чтобы убедиться, что он пуст, манометр датчика 180 давления обнуляют и повторно подключают перед каждым измерением. Затем 25 см3 воды выливают на образец 168 пористого материала, оставляя слой воды на пористом материале, имеющем глубину приблизительно 4 мм. Затем осуществляют промывку путем запуска насоса 178 таким образом, что вода втягивается через образец пористого материала 168. После цикла промывки насос 178 останавливают и выливают 25 см3 воды на образец пористого материала 168, и выполняют цикл измерения путем запуска блока сбора данных для запуска сбора данных и запуска насоса 178.
Типичный график зависимости пониженного давления от времени, полученный по результатам собранных данных, приведен на фиг. 12 вместе со схематическими изображением пористого материала 168. Первоначально выбрано описанное выше «состояние переноса жидкости» 188, в котором жидкость 190, в данном примере вода, переносится через (предварительно смоченную) пору 192. Зарегистрированное «давление переноса» в этом случае соответствует разнице давлений, необходимой для переноса жидкости 190 через пористый материал 168 и сетчатую опорную конструкцию 154 для переноса жидкости.
Основным уравнением, описывающим «состояние переноса жидкости» 188, может быть следующее уравнение Пуазейля:
,
где ΔP - разность давлений в поре 192; η - динамическую вязкость жидкости; L - длину поры 192; φ - объемный расход; и r - радиус поры 192.
Предположим, например, что диаметр пор составляет 20 мкм, при этом поры проходят через пористый материал 168, имеющий толщину 0,8 мм, при расчетном объемном расходе около 4,96*10-14 м3/с на пору 192 (из типичного потока текучей среды 100 см3/мин), и при ηвода= 1*10-3 Па⋅ с, ΔP = 10,1 Па.
После «состояния переноса жидкости» 188 принимается промежуточный режим 194, в котором почти вся жидкость 190 была удалена с поверхности образца пористого материала 168, так что большинство пор находятся в описанном выше «состоянии блокировки жидкости», в котором поверхностное натяжение (остаточной) жидкости 190, удерживаемой в смоченной поре (порах) пористого материала 168, предотвращает перенос воздуха 196 через пору 192. Постоянно уменьшающееся количество пор 192 может находиться в «состоянии переноса жидкости» в промежуточном режиме 194. «Состояние блокировки текучей среды» обеспечивает значительно более высокое пониженное давление, поэтому во время промежуточного режима 194 пониженное давление увеличивается относительно быстро, как показано.
Основным уравнением, описывающим «состояние блокировки текучей среды», может быть следующее уравнение dP капли:
,
где Pi и PO - внутреннее и внешнее давления, а R - радиус капель текучей среды, как схематически изображено на фиг. 12. T - поверхностное натяжение.
Предполагая, например, что R составляет 10 мкм для типичной поры 192 диаметром 20 мкм, а Tводы составляет 0,073 Н/м, Pi - PO = ΔP = 14600 Па.
Этот ΔP может быть увеличен до 18000 Па при добавлении моющего средства в воду. В то время как поверхностное натяжение воды уменьшается при добавлении моющего средства (Tмыльной воды составляет 0,045 Н/м), теперь создаются две поверхности в пузырьке над порой 192: внутренняя и внешняя части пузырька. Таким образом, давление разрушения в случае добавления моющего средства в воду может быть примерно вдвое больше, чем у однослойной поверхности:
За промежуточным режимом 194, принимается конечный режим 198, в котором вся свободная вода удалена с поверхности пористого материала 168, и все поры 192 первоначально находятся в «состоянии блокировки жидкости». Поскольку насос 178 продолжает втягивать воду через пористый материал 168, следовательно, увеличивая пониженное давление, это может привести к разрушению некоторых блоков текучей среды, так что воздух 196 переносится через соответствующие поры 192 в «состоянии переноса воздуха». Связанное с этим поступление воздуха может прийти к равновесию в конечном режиме 198, в котором приложенный поток приводит к пониженному давлению, которое больше не приводит к разрушению блоков текучей среды. Последнее соответствует «давлению разрушения» исследуемого пористого материала 168.
Основным уравнением, описывающим «состояние переноса воздуха», может быть уравнение Пуазейля, представленное выше для «состояния переноса жидкости». Предполагая, например, что диаметр пор составляет 20 мкм, причем поры проходят через пористый материал 168, имеющий толщину 0,8 мм, с расчетным объемным расходом около 4,96*10-14 м3/с на пору 192 (из типичного потока текучей среды 100 см3/мин), и с ηвоздуха, составляющим 18,1*10-6 Па⋅с, ΔP = 0,18 Па.
В целом, давление переноса воздуха (например, 0,18 Па) и давление переноса воды (например, 10,1 Па) могут быть значительно меньше, например, незначительными, по сравнению с разностью давлений, обусловленной поверхностным натяжением (например, 14600 Па).
На фиг. 13 показаны несколько графиков зависимости давления от времени для пористых материалов 168, испытанных с использованием описанной выше испытательной установки 166 и процедуры испытания. Графики 200 относятся к пористому материалу 168, имеющему только слой 114 пористого материала; графики 202 относятся к пористому материалу 168, имеющему слой 114 пористого материала и первый дополнительный слой 156 пористого материала; графики 204 относятся к пористому материалу 168, имеющему слой 114 пористого материала, первый дополнительный слой 156 пористого материала и второй дополнительный слой 158 пористого материала; и графики 206 относятся к пористому материалу 168, имеющему слой 114 пористого материала и три дополнительных слоя пористого материала. Эти данные указывают на то, что включение в пористый материал 168 большего количества уложенных в стопу слоев пористого материала увеличивает давление разрушения, как описано ранее.
Кроме того, в каждом из наборов графиков 202, 204 и 206 находятся графики для пористых материалов 168, в которых слои пористого материала приклеены и не приклеены друг к другу. Было замечено, что использование клеящего вещества для приклеивания слоев пористого материала друг к другом дополнительно увеличивает давление разрушения, как описано выше.
На фиг. 14 схематически изображено описанное выше «состояние переноса жидкости» 188, в котором на а) жидкость втягивается через все поры 192 , на b) конец «состояния переноса жидкости» 188 , на c) промежуточный режим 194 и на d) конечный режим 198. Пористый материал 168, показанный на фиг. 14, охватывает впускное отверстие (впускные отверстия) 142A, 142B для грязи, соединенное с генератором 178 пониженного давления, например, насосом.
Пористый материал 168 имеет поры 192, например, микропоры, каждая из которых имеет отличающееся давление разрушения. Последнее представлено на фиг. 14 числом, показанным под каждой порой 192. Для простоты каждое число округляется до однозначной цифры.
При запуске генератора 178 пониженного давления, например, насоса, вся жидкость, например, вода, собирается с пола, и требуемое давление представляет собой давление переноса воды, в данном примере установленное на «1». Пониженное давление во впускном отверстии 142A для грязи и в этом примере в полости 150 за пористым материалом 168, соответственно, составляет «1». Таким образом, a) фиг. 14 схематически изображает «состояние переноса жидкости» 188, и b) изображает конец «состояния переноса жидкости» 188. В b) достигается точка, в которой начинает подниматься пониженное давление.
Когда вся жидкость, например, вода, удалена с пола, все поры 192 могут быть заблокированы посредством поверхностного натяжения остаточной жидкости в них. В проиллюстрированном неограничивающем примере генератор 178 пониженного давления представляет собой насос с фиксированным расходом, и, следовательно, продолжение работы насоса может увеличивать пониженное давление. В определенный момент пониженное давление во впускном отверстии 142A для грязи за пористым материалом 168 может подняться до уровня, такого как «4», давления разрушения самых слабых пор 192, при этом давление разрушения пор будет превышено, и через них может начаться перенос воздуха. Поскольку давление во впускном отверстии 142A для грязи за пористым материалом 168 может быть значительным уже тогда, когда эти первые поры 192 «разрушаются», количество воздуха, переносимое этими порами 192 в этот момент, может быть значительным. Таким образом, стадию c) на фиг. 14 можно рассматривать как схематически представляющую промежуточный режим 194.
В промежуточном режиме 194 поры 192 могут быть блокированы, в то время как другие поры 192 все еще переносят жидкость из других областей (дальше от впускного отверстия (впускных отверстий) 142A для грязи), следовательно, создавая большее пониженное давление вблизи впускного отверстия (впускных отверстий) 142A для грязи. Это может привести к относительно медленному повышению пониженного давления до тех пор, пока не исчезнет вся свободная жидкость. На все это может влиять расход насоса и, по меньшей мере в некоторых примерах, свойства несущей конструкции 154 для переноса жидкости, а также гибкость всех элементов, деформирующихся при приложении пониженного давления.
В качестве упрощенной иллюстрации, если скорость потока должна быть установлена на уровне 100 см3/мин, сопротивлением потоку между пористым материалом и насосом следует пренебречь, и все элементы должны быть бесконечно жесткими, то промежуточный режим 194 может представлять собой вертикальную линию на фиг. 12, в цифровом виде отражающую переход из «состояния переноса жидкости» 188 в конечный режим 198.
Этот процесс может продолжаться до тех пор, пока перемещаемый воздух не будет равен расходу насоса в этом примере, а пониженное давление во впускном отверстии 142A для грязи за пористым материалом 168 будет ниже, чем давление разрушения оставшихся «неразрушенных» пор 192, имеющих самое низкое давление разрушения. Таким образом, стадию d) на фиг. 14 можно рассматривать как схематически представляющую описанный выше конечный режим 198.
Следует отметить, что давление, измеренное в испытательной установке 166, может определять давление разрушения пористого материала 168. Были протестированы различные скорости потока, такие как 150 см3/мин, но они продемонстрировали одинаковое давление разрушения, при этом отмечается, что большее количество пор 192 может «разрушится», чтобы компенсировать увеличенный поток.
Размер пор, другими словами, диаметр пор 192 пористого материала 168 может быть выбран для уравновешивания относительно высокого пониженного давления с относительно низким сопротивлением переносу жидкости через пористый материал 168/давлению переноса жидкости пористого материала 168.
Более мелкие поры 192 могут увеличивать пониженное давление, которое может быть создано во впускном отверстии 142A для грязи, например, с помощью генератора 178 пониженного давления относительно низкой мощности, например, насоса. Более плотный пористый материал 168, имеющий более мелкие поры 192, может создавать более высокие давления разрушения. Также с целью исследования нижнего предела размера пор было проведено исследование с использованием вышеописанной испытательной установки 166 и процедуры испытания с использованием в качестве пористого материала 168 фильтров для пива, подобранных в соответствии с размером частиц, которые они могут удерживать: были протестированы фильтры 0,25 мкм, 3 мкм, 10 мкм и 25 мкм. Для этого эксперимента предполагалось, что указанная характеристика фильтра для пива совпадает с «размером/диаметром пор».
Как показано на фиг. 15, кривые 208 относятся к фильтру с диаметром пор 0,25 мкм; кривая 210 относится к фильтру с диаметром пор 3 мкм; кривая 212 относится к фильтру с диаметром пор 10 мкм; кривая 214 относится к фильтру с диаметром пор 25 мкм; и кривая 216 относится к эталонной ткани из микроволокна.
На фиг. 15 можно увидеть, что размер/диаметр пор пористого материала 168 оказывает значительное влияние на эксплуатационные характеристики. По результатам подсчитано, что средний размер/диаметр пор 40 мкм (например, эквивалентный фильтру для пива 40 мкм) пористого материала 168 может соответствовать максимальному значению, исходя из соображений пониженного давления.
Средний размер/диаметр пор 0,25 мкм (например, эквивалентный фильтру для пива 0,25 мкм) пористого материала 168 может соответствовать минимальному значению, исходя из соображений давления переноса жидкости.
Из фиг. 15 очевидно, что использование фильтра с диаметром пор 0,25 мкм может привести к тому, что давление переноса воды будет значительно выше, чем в случае фильтра с диаметром пор 3 мкм. В случае фильтра с диаметром пор 0,25 мкм пониженное давление может повышаться до около 23000 Па во время переноса воды. Кроме того, время достижения сухого состояния может быть значительно больше для фильтра 0,25 мкм, что означает, что может потребоваться значительно больше времени для переноса жидкости/воды с поверхности, подлежащей очистке.
В неограничивающем примере средний размер/диаметр пор около 3 мкм (например, эквивалентный фильтру для пива 3 мкм) пористого материала 168 может обеспечить благоприятный баланс свойств.
Фиг. 15 показывает, что существует конечная разница между давлением переноса жидкости/воды и давлением разрушения пористого материала 168. Относительно небольшие поры 192 могут приводить к увеличению давления разрушения, например, до 39000 Па в случае фильтра с диаметром пор 0,25 мкм, но также и давления переноса воды/жидкости, например, 33000 Па в случае фильтра с диаметром пор 0,25 мкм. Следует отметить, что эта разница между давлением переноса воды и давлением разрушения аналогична указанной разнице для давления разрушения эталонной ткани из микроволокна (давление переноса воды 1000 Па; давление разрушения 7000 Па).
Бактерии, как правило, характеризуются относительно небольшим размером. Например, клетка Escherichia coli, которую можно рассматривать как бактерию «среднего» размера, имеет длину около 2 мкм и диаметр 0,5 мкм.
Таким образом, пористые материалы 168, размер пор которых превышает 2 мкм, могут пропускать через себя такие бактерии. Таким образом, бактерии могут быть удалены с поверхности, подлежащей очистке.
В зависимости от выбранного пористого материала 168 до 99,9% бактерий могут втягиваться через пористый материал 168 с поверхности, подлежащей очистке.
В некоторых вариантах осуществления пористый материал 168 образован одним или более слоями ткани из микроволокна, поры которой имеют размер/диаметр в диапазоне от 0,25 мкм до 40 мкм (например, эквивалентной от 0,25 мкм до 40 мкм фильтров для пива).
Например, такой пористый материал 168 (образованный одним или более слоями ткани из микроволокна) может иметь распределение размера/диаметра пор в упомянутом выше диапазоне от 0,25 мкм до 40 мкм и средний размер пор от 20 до 40 мкм, например, около 35 мкм. Поскольку размеры пор значительно больше размера бактерий, бактерии могут проходить через пористый материал 168 и, таким образом, удаляться с поверхности, подлежащей очистке.
Хотя вышеприведенное объяснение было сосредоточено на принципе работы пористого материала 168 как такового, следует отметить, что пористый материал 168 может находиться в контакте с поверхностью, подлежащей очистке, и перемещаться по поверхности, подлежащей очистке, с определенной скоростью. Это схематически изображено на фиг. 16, на котором показана приведенная в качестве примера чистящая головка 100, содержащая впускное отверстие 142A для грязи, покрытое пористым материалом 168 на поверхности 218, подлежащей очистке. В этом неограничивающем примере поверхность 218, подлежащая очистке, является поверхностью пола 220, и между поверхностью 218, подлежащей очистке, и пористым материалом 168 присутствует слой жидкости 222, например, воды. Генератор 178 пониженного давления, например, насос, предназначен для втягивания текучей среды через поры 192 пористого материала 168 в направлении стрелок 224. Стрелка 226 представляет собой внутреннее пониженное давление, тянущее жидкость к впускному отверстию 142A для грязи. Стрелка 228 представляет скорость чистящей головки 100.
На фиг. 16 схематически изображено распределение 234 скорости в слое 222 текучей среды. Стрелка 230 представляет усилие сдвига текучей среды, действующее на пористый материал 168, создаваемое распределением скорости 234 в слое 222 текучей среды. Стрелка 232 представляет усилие сдвига, притягивающее воду к полу 220.
Это поведение можно аппроксимировать с помощью следующего уравнения Бернулли:
,
где ρ - плотность текучей среды, υ - скорость потока текучей среды, P - давление, h - высота над плоскостью отсчета, в данном случае полом 220, и g - ускорение свободного падения.
Приведенное выше уравнение Бернулли может быть переписано для давления под пористым материалом 168:
.
Для скорости 1,5 м/с ΔP = 1125 Па; для скорости 3,16 м/с ΔP = 5000 Па.
Это указывает на то, что при более высоких скоростях на полу 220 будет оставаться больше жидкости, поскольку при более высоких скоростях пол 220 будет сильнее притягивать жидкость, что наблюдалось с чистящими головками 100 согласно настоящему изобретению.
Перемещение чистящей головки 100, например, со скоростью около 1,5 м/с, может создавать сдвиговый поток в слое 222 жидкости, создавая усилие 232 сдвига, действующее на жидкость, присутствующую в пористом материале 168, которая тянет жидкость в направлении поверхности 218, подлежащей очистке. Вода также нагнетается посредством пониженного давления 226 в направлении впускного отверстия 142A для грязи. Пониженное давление может быть выбрано таким образом, чтобы сила, вызывающая перемещение жидкости 222 в направлении впускного отверстия (впускных отверстий) 142A для грязи, превышала усилие 232 сдвига.
Была оценена эффективность сбора жидкости приведенной в качестве примера чистящей головки 100, содержащей пористый материал 168 и материал 126, 128 для нанесения чистящей жидкости, например воды, на поверхность 218, подлежащую очистке, перемещаемой со скоростью 1,5 м/с по поверхности 218, подлежащей очистке, с различными пониженными давлениями во впускном отверстии для грязи. Полученные результаты представлены в таблице 1.
Отсутствие видимого эффекта сбора
Таблица 1
Еще одним преимуществом принципа сбора жидкости, описанного в данном документе, может быть более низкое энергопотребление, в частности, в примерах, в которых задействован генератор 178 пониженного давления.
Обычный пылесос, способный собирать воду, должен создавать значительную скорость воздуха и/или мощность щетки для создания достаточного усилия сдвига, действующего на капли воды, чтобы заставить их попасть в пылесос. Типичные значения энергопотребления для таких пылесосов составляют несколько сотен ватт.
Приведенный ниже расчет иллюстрирует относительно низкую механическую мощность, необходимую для сбора жидкости, например, воды, в соответствии с настоящим изобретением.
где P - механическая мощность в ваттах; Ф - расход текучей среды в м3/с; и ΔP - пониженное давление во впускном отверстии (впускных отверстиях) 142A для грязи в Па.
Например, при пониженном давлении 5000 Па и расходе текучей среды 100 см3/мин мощность составляет 8,3*10-3 Вт.
Если питание генератора 178 пониженного давления осуществляется с использованием, например, обычной батареи, обеспечивающей время работы 28 минут в устройстве для влажной уборки, рабочее энергопотребление которого составляет около 50 Вт, время работы в данном случае составит 168000 минут, другими словами, более 100 дней.
Таким образом, приведенное в действие устройство для влажной уборки, имеющее чистящую головку 100 в соответствии с настоящим изобретением, может лишь в редких случаях требовать подзарядки своей батареи (в примерах, в которых такая батарея включена для питания устройства для влажной уборки) и/или может быть сделано более легким вследствие минимальной емкости батареи, необходимой, например, для 1 часа работы. Что касается последнего, следует отметить, что батарея для обычного портативного устройства для влажной уборки может весить около 0,5 кг и, таким образом, может вносить значительный вклад в общий вес устройства для влажной уборки.
В таблице 2 представлено сравнение механической мощности обычного пылесоса и различных состояний, описанных выше в отношении устройства для влажной уборки в соответствии с настоящим изобретением.
Па
м3/с
W
Таблица 2
В целом, настоящее изобретение относится к устройству для влажной уборки, содержащему чистящую головку 100. Чистящая головка 100 имеет по меньшей мере одно впускное отверстие 142A, 142B для грязи и пористый материал 168, покрывающий по меньшей мере одно впускное отверстие 142A, 142B для грязи. Устройство для влажной уборки дополнительно содержит генератор 178 пониженного давления, выполненный с возможностью обеспечения разности давлений между внутренней частью устройства для влажной уборки и атмосферным давлением для втягивания текучей среды через пористый материал 168 и по меньшей мере в одно впускное отверстие 142A, 142B для грязи.
Генератор 178 пониженного давления включен в устройство для генерации пониженного давления, причем последнее выполнено с возможностью управления потоком внутри устройства для влажной уборки для втягивания текучей среды по меньшей мере в одно впускное отверстие 142A, 142B для грязи через пористый материал 168 на основе давления внутри устройства для влажной уборки между пористым материалом 168 и генератором 178 пониженного давления.
В некоторых вариантах реализации изобретения разность давлений находится в диапазоне от 2000 Па до 13500 Па.
Обе конечные точки диапазона от 2000 Па до 13500 Па для разности давлений выбраны целенаправленно.
Нижний предел 2000 Па отражает, что чистящая головка 100, как правило, будет перемещаться по поверхности, подлежащей очистке, например, по полу, и по мере увеличения скорости перемещения чистящей головки 100 по полу сопутствующее падение статического давления означает, что жидкость притягивается к полу. Такое поведение может быть аппроксимировано уравнением Бернулли, как описано выше.
Со ссылкой на Таблицу 1 выше, было обнаружено, что при давлении ниже 2000 Па, на поверхности, подлежащей очистке, может оставаться слишком много жидкости, когда чистящая головка 100 перемещается по ней с обычной скоростью.
Минимальное пониженное давление 2000 Па, соответственно, устанавливается в соответствии с минимальной обычной скоростью, с которой пользователь перемещает чистящую головку 100 по поверхности, подлежащей очистке, тем самым обеспечивая, чтобы пониженное давление было достаточным для втягивания жидкости внутрь устройства для влажной уборки, не требуя от пользователя значительного замедления или прекращения перемещения чистящей головки 100 по поверхности, подлежащей очистке, для сбора жидкости.
Верхний предел 13500 Па определен с целью обеспечения того, чтобы перенос жидкости через пористый материал 168 был достаточно быстрым.
Существует компромисс между величиной пониженного давления, которое может поддерживаться, и сопротивлением потоку через пористый материал 168, причем последний определяет скорость, с которой жидкость может проходить через пористый материал 168. Этот компромисс отражается в выборе верхней границы диапазона 13500 Па.
В некоторых вариантах реализации разница давления составляет от 2000 Па до 12500 Па, предпочтительно от 5000 Па до 9000 Па и наиболее предпочтительно от 7000 Па до 9000 Па. Эти диапазоны могут отражать особенно улучшенный сбор жидкости, наблюдаемый во время перемещения чистящей головки 100, в сочетании с относительно низким сопротивлением потоку через пористый материал 168.
Разность давлений может быть непосредственно и достоверно проверена в данном устройстве для влажной уборки, например, путем просверливания отверстия в трубке устройства для влажной уборки, которая соединена по текучей среде с впускным отверстием (впускными отверстиями) 142A, 142B для грязи, и использования отверстия для соединения непосредственно с пневматическим датчиком давления, имеющим трубку с мембраной, закрывающей ее конец; датчик, таким образом, соединен с использованием герметичного соединения. Датчик может быть расположен таким образом, чтобы не нарушать поток, следовательно, специалист в данной области техники расположит датчик таким образом, чтобы избежать, например, создания обходного потока. Поток не может быть направлен к датчику или от него: передается только давление. Таким образом, поток устройства никогда не может быть нарушен (следовательно, может оставаться на заданном уровне, несмотря на установку датчика).
Датчик давления подсоединен между пористым материалом 168 и генератором пониженного давления 178 и расположен как можно ближе к пористому материалу 168, чтобы свести к минимуму влияние других факторов, таких как сопротивление потоку и т. д., на измеренную разность давлений.
Чувствительный элемент/ мембрана датчика/манометра давления идеально расположены/установлены в датчике давления таким образом, что чувствительный элемент может быть размещен непосредственно (без необходимости в соединительных трубках) в трубке или в полости 150 позади пористого материала 168.
Путем расположения мембраны датчика давления, другими словами, мембранного манометра, так, чтобы мембрана располагалась на стенке трубки, другими словами, на одной линии со стенкой трубки (или была открыта в полость 150), погрешности измерения могут быть сведены к минимуму, как будет понятно специалисту в данной области техники.
Следует отметить, что пузырьки воздуха внутри узких трубок могут создавать сопротивление (эффекты капиллярного/поверхностного натяжения) и, следовательно, могут влиять на измерения. Следовательно, специалисту в данной области техники также будет понятно, что следует также позаботиться о том, чтобы пузырьки воздуха (водно-воздушные поверхности) не оказывали чрезмерного влияния на измерение разности давлений.
Также следует отметить, что столб воды, присутствующий между датчиком давления и пористым материалом 168, должен быть вычтен из результата измерения (если такой столб воды присутствует во время измерения), чтобы компенсировать статическое давление, создаваемое столбом воды.
После того, как датчик давления установлен как описано выше, может быть установлено, что поддержание пониженного давления происходит благодаря пористому материалу 168, а не какому-либо другому элементу, такому как клапан. Любой такой элемент, который влияет на пониженное давление, которое присутствует в пористом материале 168, должен быть приведен в неработоспособное состояние с целью выполнения измерения.
Элемент(ы), который(-ые) подает(-ют) чистящую жидкость (если устройство для влажной уборки выполнено с возможностью подачи чистящей жидкости), отключается (отключаются) при выполнении измерения разности давлений.
Устройство для влажной уборки включается (в требуемой настройке), таким образом, что приводится в действие система сбора, содержащая генератор 178 пониженного давления. Запускается запись данных с датчика давления.
Область сбора чистящей головки 100 подвешена в слое воды на глубине не более 5 мм.
Затем область сбора поднимают из воды без какого-либо наклона (так что чистящая головка 100 остается в положении уборки, как если бы она была расположена для уборки пола), так что вода больше не касается пористого материала 168. В этот момент «свободная вода» удаляется из пористого материала 168, все поры переходят в свое «состояние блокировки», и обеспечивается возможность определения давления разрушения. Результат измерения будет напоминать график, показанный на фиг. 12, еще раз отмечая, что в конечном режиме 198 устанавливается равновесие, в котором приложенный поток приводит к пониженному давлению, которое не приводит к разрушению блоков текучей среды.
Давление разрушения, полученное из этого результата измерения, относящегося к конечному режиму 198, представляет собой «разность давлений между внутренней частью устройства для влажной уборки и атмосферным давлением для втягивания текучей среды через пористый материал 168 и по меньшей мере в одно впускное отверстие 142A, 142B для грязи». По результатам измерений проверяется, удовлетворяется ли диапазон от 2000 Па до 13500 Па.
Следует отметить, что пористый материал 168 может быть выполнен с возможностью контакта с жидкостью на поверхности, подлежащей очистке, как описано ранее. Таким образом, пористый материал 168 может быть определен от наружной поверхности пористого материала 168, выполненной с возможностью воздействия на нее жидкости на поверхности, подлежащей очистке, до внутренней поверхности пористого материала 168, имеющей контакт по меньшей мере с одним впускным отверстием для грязи.
ASTM F316 - 03, 2019, испытание A обеспечивает измерение давления точки пузырька. Хотя этот стандартный способ был разработан для неволокнистых мембранных фильтров, способ может быть воспроизведен для пористого материала 168 в соответствии с настоящим изобретением.
Испытание по методу точки пузырька для определения предельного диаметра пор, другими словами, максимального размера пор, в общем, выполняется путем предварительного смачивания образца пористого материала 168, увеличения давления газа выше по потоку от пористого материала 168 с заданной скоростью и наблюдения за пузырьками газа ниже по потоку от пористого материала 168, чтобы указать на прохождение газа через поры максимального диаметра пористого материала 168.
Как и мембранные фильтры, описанные в ASTM F316 - 03, 2019, испытание A, пористый материал 168 может (по меньшей мере в приближении) иметь отдельные поры, проходящие от одной стороны пористого материала 168 к другой, аналогично капиллярным трубкам. Испытание по методу точки пузырька основано на принципе, согласно которому смачивающая жидкость удерживается в этих капиллярных порах за счет капиллярного притяжения и поверхностного натяжения, а минимальное давление, необходимое для вытеснения жидкости из этих пор, является функцией диаметра пор. Давление, при котором в этом испытании появляется устойчивый поток пузырьков, называется «давлением точки пузырька».
Следует отметить, что ASTM F316 - 03, 2019, испытание A основано на аппроксимации пор как капиллярных пор, имеющих круглые поперечные сечения, и, следовательно, предельный диаметр пор следует рассматривать просто как эмпирическую оценку максимального диаметра пор на основе этой предпосылки.
Была воспроизведена испытательная установка, предусмотренная в ASTM F316 - 03, 2019, испытание A, как и процедура испытания.
1. Образец пористого материала (диаметром 2 дюйма (50,8 мм); удерживают в круглом держателе таким образом, чтобы иметь открытую/активную область диаметром 47 мм) полностью смачивают, помещая его в резервуар с жидкостью (при необходимости можно использовать вакуумную камеру для смачивания образца). Для образцов, подлежащих смачиванию водой, образец помещают в воду и полностью пропитывают.
2. Влажный образец пористого материала был размещен в держателе фильтра испытательной установки.
3. На образце пористого материала разместили мелкоячеистую (100 на 100) сетку; мелкоячеистая сетка является первой частью двухслойной конструкции, предусмотренной стандартом.
4. Вторую часть двухслойной конструкции, в виде перфорированного металлического элемента для придания жесткости, разместили на мелкоячеистой сетке.
5. Опорное кольцо разместили на пакете слоев и зафиксировали на месте с помощью болтов. На этом этапе может быть применено небольшое давление газа для устранения возможного обратного потока жидкости.
6. Перфорированный металлический элемент покрыли слоем испытательной жидкости толщиной от 2 до 3 мм (воды типа IV в соответствии со стандартом, когда образец подлежит смачиванию водой).
7. Затем повышали давление газа и регистрировали наименьшее давление, при котором устойчивый поток пузырьков поднимается из центральной области резервуара (см. фиг.5, ASTM F316 - 03, 2019, Испытание A; следует отметить, что пузырьки, наблюдаемые на краю резервуара, игнорируются для определения точки пузырька).
Было сочтено подходящим сначала относительно быстро поднять давление, например, примерно на 200 Па/секунду, чтобы примерно определить точку пузырьков. Затем с образца сняли давление, чтобы позволить вода вернулась в образец. Затем давление повышали примерно до 80% от ожидаемого значения давления, поддерживали на уровне 80% в течение около 15 секунд (чтобы обеспечить вытеснение всей «свободной» воды из образца), а затем снова повышали с более низкой скоростью ≤ 50 Па/с до тех пор, пока не наблюдался постоянный поток пузырьков.
Затем определяли предельный диаметр d пор из зарегистрированного давления p точки пузырька, используя уравнение 1 из ASTM F316 - 03, 2019, Испытание A: d = Cγ/p, где γ - поверхностное натяжение в мМ/м (72,75 для дистиллированной воды при 20°C), и C составляет 2860, когда p исчисляется в Па.
Было обнаружено, что давление точки пузырьков из ASTM F316 - 03, 2019, испытание A, сопоставимо для образцов пористого материала 168 с описанным выше давлением разрушения, за исключением случая с фильтром для пива 0,25 мкм, что можно легко объяснить принудительным потоком, присутствующим в испытании на давление разрушения, но не в испытании на точку пузырька. Результаты для различных образцов пористого материала 168 приведены в таблице A.
Па
Па
мкм
Ткань 1
Ткань 1
Ткань 1
Ткань 1
Ткань 2
Ткань 3
Ткань 1
Таблица А
В некоторых вариантах осуществления предельный диаметр пор пористого материала 168, измеренный с использованием ASTM F316 - 03, 2019, испытание A, равен или больше чем 15 мкм.
Такой предельный диаметр пор, равный или больше чем 15 мкм, может способствовать поддержанию относительно большого пониженного давления, обеспечивая при этом, чтобы поры были достаточно большими для эффективного переноса жидкости через них. Что касается последнего, следует отметить, что это наблюдение подтверждается теорией, отметив, что при аппроксимации с использованием уравнения Пуазейля, представленного выше, с меньшими порами сопротивление потоку может увеличиваться в четырехкратной степени.
В некоторых вариантах реализации предельный диаметр пор пористого материала 168, измеренный с использованием ASTM F316 - 03, 2019, испытание A, равен или меньше 105 мкм. Указанный верхний предел для предельного диаметра пор позволяет обеспечить возможность поддержания достаточного пониженного давления с помощью пористого материала 168.
Как отмечено выше, ASTM F316 - 03, 2019, испытание A, предполагает цилиндрические поры. Исключительно в целях пояснения/иллюстрации (следовательно, их не следует рассматривать как предельные значения, представленные в настоящем документе для предельного диаметра пор из ASTM F316 - 03, 2019, испытание A), следует отметить, что предельный диаметр пор может быть отрегулирован с помощью коэффициента извилистости (Tortuoise factor, TF), который является эмпирическим коэффициентом, полученным для фильтров из цельной проволоки, для компенсации некруглости пор. Разброс значений от 1,3 до 1,65 для TF, предложенный в ASTM E3278 - 21 (см. Раздел 4.2.1 этого стандарта), может привести к разбросу размеров пор примерно на 27%. Исключительно в целях иллюстрации в Таблице B показаны описанные выше предельные конечные точки диаметра пор при регулировке с использованием TF. Обратите внимание, что предельный диаметр пор из ASTM F316 - 03, 2019, Испытание A обеспечивает измерение наибольшего размера пор для прохождения частиц, следовательно, TF может компенсировать тот факт, что «треугольная» пора может пропускать только сферическую частицу, которая значительно меньше площади треугольника.
Па
мкм
Таблица B
В некоторых вариантах осуществления генератор пониженного давления выполнен с возможностью обеспечения расхода через пористый материал 168, который меньше или равен 2000 см3/мин.
Такой расход может быть значительно ниже, чем для обычных пылесосов для влажной уборки, упомянутых выше. Поскольку мощность равна расходу, умноженному на разность давлений, то при сочетании этого максимального расхода 2000 см3/мин с описанной выше максимальной разностью давлений 13500 Па в качестве сценария максимального потребления энергии, потребление энергии устройства для влажной уборки может быть сведено к минимуму. Ссылаясь на вышеприведенную Таблицу 2, это может позволить сделать устройство для влажной уборки относительно компактным, например, с использованием батареи меньшего размера, и/или обеспечить относительно длительное время работы.
Альтернативно или дополнительно, генератор пониженного давления может быть выполнен с возможностью обеспечения расхода через пористый материал 168, равного или больше чем 15 см3/мин. Это может способствовать достаточно быстрому сбору жидкости с поверхности, подлежащей очистке. В некоторых вариантах реализации нижний предел 15 см3/мин может быть установлен равным или больше чем расход чистящей жидкости из выпускного отверстия (выпускных отверстий) 104 чистящей жидкости, также включенного в чистящую головку 100.
В некоторых вариантах реализации генератор пониженного давления выполнен с возможностью обеспечения расхода через пористый материал 168, равного или больше чем 40 см3/мин. В некоторых вариантах осуществления этот расход 40 см3/мин не только способствует эффективному сбору жидкости, но и может быть установлен равным или больше чем расход чистящей жидкости из выпускного отверстия (выпускных отверстий) для чистящей жидкости, также включенного (включенных) в чистящую головку, при этом минимальный расход чистящей жидкости устанавливается таким образом, чтобы обеспечить обильную подачу чистящей жидкости на поверхность, подлежащую очистке.
Генератор пониженного давления может быть выполнен с возможностью обеспечения расхода через пористый материал в диапазоне 80-750 см3/мин, более предпочтительно 100-300 см3/мин и наиболее предпочтительно 150-300 см3/мин. Такой расход может использовать способность пористого материала 168 выдерживать пониженное давление и может обеспечивать достаточный сбор жидкости при одновременном ограничении потребления энергии.
В некоторых вариантах осуществления пористый материал 168 имеет толщину меньшую или равную 10 мм, более предпочтительно меньшую или равную 5 мм и наиболее предпочтительно меньшую или равную 3 мм. Такая максимальная толщина может способствовать минимизации сопротивления потоку через пористый материал 168.
Толщина пористого материала 168 может быть определена с помощью прецизионного калибра 0,01 мм и двух шлифованных металлических пластин (при этом верхняя пластина, с помощью которой прикладывается нормальное давление, составляет 70 мм х 30 мм, а нижняя пластина, на которую опирается образец пористого материала, имеет большую площадь, чем поверхность верхней пластины размером 70 мм х 30 мм для удобства выравнивания) для размещения пористого материала 168 между ними. Это устройство выполнено с возможностью приложения к образцу пористого материала (70 мм х 30 мм) нормального давления, равного 864,2 Н/м2. Соответствующие параметры измерения приведены в таблице C:
Таблица C
С помощью этого метода определяли толщину нескольких образцов, и данные приведены в таблице D:
Ткань 2; два слоя, предварительно приклеенных друг к другу
Таблица D
В некоторых вариантах осуществления давление переноса текучей среды при расходе 200 см3/мин через пористый материал 168 составляет менее 0,25, умноженного на давление точки пузырька, как определено ASTM F316 - 03, 2019, испытание A.
Это может означать, что сопротивление потоку через пористый материал 168 поддерживается на относительно низком уровне.
Был проведен дополнительный набор испытаний на давление разрушения (аналогично экспериментам, описанным выше) с использованием пористых материалов, соответствующих образцу № 18 в таблице A, образцам № 22-25 в таблице D, и ткани Поставщика F, имеющей толщину 0,8 мм. Падение давления потока и давление разрушения регистрировали для каждого образца, а результаты (средние значения по меньшей мере двух измерений) сведены в таблицу E. В этих экспериментах использовали расход 89 см3/мин, а диаметр круглой сетки под образцом (проходящей через «активную область» образца) составлял 80 мм.
Таблица E
Можно видеть, что давление разрушения возрастает при укладке большего количества слоев друг на друга, как описано ранее. Однако давление переносимого потока может увеличиваться быстрее, чем давление разрушения, по мере добавления большего количества слоев, и в случае образцов с номерами от 22 до 27 давление переносимого потока превышает давление разрушения, когда пористый материал имеет четыре уложенных друг на друга двойных слоя (в образце с номером 25).
Может быть так, что давление переносимого потока повышается быстрее с увеличением количества слоев, чем это видно в образцах 22-27; однако наличие воздуха в системе может означать, что данные начинают демонстрировать сжимаемость, в частности, для образцов с номерами от 25 до 27.
В более общем случае, эти данные могут указывать на то, что устройство для влажной уборки может работать, когда давление переносимого потока (при требуемом расходе) ниже, чем давление разрушения.
Для испытаний, результаты которых приведены в таблице Е, расход составлял 89 см3/мин, а активная область ткани - 5030 мм2. В случае чистящей головки 100 активная область может составлять около 1750 мм2. Следовательно, когда давление переносимого потока прикладывают к пористому материалу 168 чистящей головки 100, фактический поток через пористый материал 168 может быть в (1750/5030) 0,35 раза ниже, чем поток, используемый в этих испытаниях.
Это может означать, что в точке, где давление переносимого потока равно давлению разрушения (например, в образце № 24), максимальный поток, который может выдержать пористый материал 168, составляет приблизительно (0,35*98) 31 см3/мин. Даже если в пористый материал 168 добавлено больше слоев, давление разрушения может оставаться в основном неизменным, в то время как давление переносимого потока увеличивается, что еще больше снижает это значение.
Следует отметить, что в описанных выше испытаниях на давление разрушения вся поверхность испытуемого образца покрыта водой, поэтому вода переносится по всей площади пористого материала 168. Однако на практике область чистящей головки 100, которая контактирует с полом (например, шириной 5 мм и длиной 350 мм), переносит воду, в то время как область пористого материала 168, выполненная возле этой области, также может переносить воздух. Это может означать, что когда, например, используются четыре двойных слоя (в случае образца № 25), и давление разрушения пористого материала ниже, чем давление переноса воды, периферия пористого материала 168 может начать разрушаться, пропуская воздух, следовательно, вызывая уплотнение при давлении разрушения. В активной области/области сбора может быть оставлено относительно низкое давление, следовательно, она может собирать жидкость относительно медленно, и, таким образом, жидкость может быть оставлена на поверхности, подлежащей очистке. И наоборот, в сценарии, в котором пористый материал 168 имеет относительно низкое давление переносимого потока и значительно большее давление разрушения (например, в случае ткани Поставщика F толщиной 0,8 мм, у которой давление разрушения в 50 раз выше, чем давление переносимого потока), поток сбора может быть очень большим.
В целом, устройство для влажной уборки может работать при давлении разрушения, превышающем давление переносимого потока, но с целью обеспечения возможности сбора на более высокой скорости давление разрушения может быть по меньшей мере в два раза больше давления переносимого потока.
В некоторых неограничивающих примерах чистящая головка 100 может подавать чистящую жидкость с расходом 40 см3/мин. При расходе через пористый материал 168 составляющем 85% от этого расхода чистящей жидкости на гладкой поверхности, подлежащей очистке, т.е. скорости сбора 34 см3/мин, скорость сбора сравнима с расходом 31 см3/мин, оцененным выше для образца № 24.
В некоторых неограничивающих примерах может быть введен некоторый допуск, например, для учета потока чистящей жидкости 20 см3/мин, что приводит к верхнему пределу толщины пористого материала 168, составляющему приблизительно 5 мм (см. образец № 25).
Как описано выше, пористый материал 168 может содержать одно или более из пористой ткани, пористого пластика и пены.
Такой пористый пластик может, например, принимать форму спеченной сетки из пластиковых гранул.
В вариантах осуществления, в которых пористый материал 168 содержит такой пористый пластик, один или более дополнительных слоев пористого материала, например, содержащих пористую ткань, такую как тканая пористая ткань, могут быть расположены на внешней поверхности пористого пластика. Такой дополнительный слой (слои) пористого материала может быть более смачиваемым водой, чем пористый пластик, и, таким образом, более подходящим для контакта с поверхностью, подлежащей очистке, при смачивании водой.
Особого внимания заслуживает пористый материал, содержащий пористый тканый материал и наиболее предпочтительно тканый материал из микроволокна. Такая тканая ткань из микроволокна может способствовать достижению требуемого пониженного давления в устройстве влажной уборки.
Такой пористый тканый материал, и, в частности, такой тканый материал из микроволокна, может быть выполнен, в частности, посредством плотности его плетения, чтобы удовлетворять указанным выше диапазонам для предельного диаметра пор.
Спецификации особенно подходящего тканого материала приведены в таблице F в качестве иллюстративного неограничивающего примера.
Таблица F
На фиг. 17-23 схематично показаны примеры того, как пористый материал 168 может быть установлен в чистящей головке 100.
Пористый материал 168 может быть установлен любым подходящим способом. В некоторых вариантах осуществления, таких как показанный на фиг. 17, чистящая головка 100 содержит опорный элемент 236, например, жесткий опорный элемент 236, для поддержки пористого материала 168. Опорный элемент 236 может быть выполнен из любого подходящего материала, такого как конструкционный термопласт.
В некоторых вариантах осуществления чистящая головка 100 содержит эластомерный материал 238, на котором расположен пористый материал 168. Упругая деформация такого эластомерного материала 238 может снизить риск повреждения пористого материала 168, если, например, на поверхности 218, подлежащей очистке, присутствует относительно жесткий выступ, который вступает в контакт с пористым материалом 168. Альтернативно или дополнительно, эластомерный материал 238 может способствовать тому, чтобы пористый материал 168 следовал любым контурам поверхности 218, подлежащей очистке.
Например, эластомерный материал 238 может представлять собой или содержать силиконовый каучук. Другие эластомерные материалы, такие как полидиен, например, полибутадиен, термопластичный эластомер и т. д., также могут быть предусмотрены для включения в эластомерный материала 238 или его образования.
Альтернативно или дополнительно, эластомерный материал может иметь твердость меньше чем 50 по Шору A, предпочтительно меньше чем 20 по Шору A, наиболее предпочтительно меньше чем 10 по Шору A.
В неограничивающем примере эластомерный материал представляет собой силиконовый каучук с твердостью 4 по Шору А.
В вариантах осуществления изобретения, в которых чистящая головка 100 содержит опорный элемент 236, например, жесткий опорный элемент 236, эластомерный материал 238 может быть предусмотрен между опорным элементом 236 и пористым материалом 168. Пример этого показан на фиг. 17.
В вариантах осуществления, в которых чистящая головка 100 содержит описанный выше выступающий элемент, указанный выступающий элемент может содержать эластомерный материал 238, как будет описано более подробно ниже в настоящем документе.
Возвращаясь к неограничивающему примеру, изображенному на фиг. 17, непроницаемая часть 146 выполнена в виде полимерной, например, термопластичной пленки, с уплотнением 152, расположенным между полимерной пленкой и слоем 114 пористого материала, включенным в пористый материал 168. Кроме того, опорная конструкция 154 для переноса жидкости, включенная в этот конкретный пример, имеет форму сетки или пакета слоев сетки.
В некоторых вариантах осуществления, таких как неограничивающий пример, показанный на фиг. 18, непроницаемая часть 146 образована непроницаемой уплотняющей частью (частями), например, кусочками полимерной пленки, проходящими от эластомерного материала 238 до слоя 114 пористого материала 168. В этом случае может отсутствовать необходимость в прохождении полимерной пленки в боковом направлении по внутренней поверхности слоя 114 пористого материала.
В некоторых вариантах осуществления эластомерный материал 238 содержит непроницаемую часть 146, расположенную с уплотнением на слое 114 пористого материала 168. Таким образом, описанная выше полимерная пленка и кусочки полимерной пленки исключены в этом примере и могут отсутствовать. Таким образом, количество элементов в чистящей головке 100 может быть уменьшено, что облегчает изготовление.
В некоторых вариантах осуществления, например, в таком, как показан на фиг. 19, опорная конструкция 154 для переноса жидкости по меньшей мере частично или полностью снабжена поверхностным рисунком на поверхности эластомерного материала 238, обращенной к слою 114 пористого материала 168, и/или в этой поверхности. Замена сетки (сеток) поверхностным рисунком на поверхности эластомерного материала 238 может способствовать уменьшению количества элементов в чистящей головке 100. В остальном пример, показанный на фиг. 19, соответствует примеру, показанному на фиг. 18.
В некоторых вариантах осуществления, таких как показанный на фиг. 20, опорный элемент 236 содержит непроницаемую часть 146, прилегающую с уплотнением к слою 114 пористого материала 168. Иными словами, уплотнение, присутствующее между опорным элементом 236 и пористым материалом 168, обеспечивается выступающими частями опорного элемента 236, которые прилегают с уплотнением к пористому материалу 168. Следовательно, описанная выше полимерная пленка не является необходимой в этом примере, поскольку уплотнение может быть создано с использованием непосредственного соединения между слоем 114 пористого материала и опорным элементом 236. В остальном пример, показанный на фиг. 20, соответствует примеру, показанному на фиг. 17.
Неограничивающий пример, показанный на фиг. 21, соответствует примеру, показанному на фиг. 20, за исключением опорной конструкции 154 для переноса жидкости, которая по меньшей мере частично или полностью снабжена поверхностным рисунком на поверхности эластомерного материала 238, обращенной к слою 114 пористого материала пористого материала 168, и/или в этой поверхности.
Неограничивающий пример, показанный на фиг. 22, соответствует примеру, показанному на фиг. 18, за исключением эластомерного материала 238, расположенного внутри полости 150, предусмотренной между полимерной пленкой в качестве непроницаемой части 146 и слоем 114 пористого материала 168.
Неограничивающий пример, показанный на фиг. 23, соответствует примеру, показанному на фиг. 22, за исключением несущей конструкции 154 для переноса жидкости, которая по меньшей мере частично или полностью снабжена поверхностным рисунком на поверхности эластомерного материала 238, обращенной к слою 114 пористого материала 168, и/или в этой поверхности.
На этом этапе еще раз подчеркивается, что описанная выше область PR сбора жидкости слоя 114 пористого материала (ограниченная прикреплением с уплотнением слоя 114 пористого материала вокруг, например, каждого из по меньшей мере одного впускного отверстия 142A, 142B для грязи) может быть расположена относительно каждого из по меньшей мере одного выпускного отверстия 104 для чистящей жидкости таким образом, что чистящая жидкость может обходить область PR сбора жидкости для достижения поверхности 218, подлежащей очистке, или по меньшей мере может быть направлена к этой поверхности. Такое расположение области PR сбора жидкости относительно каждого из выпускных отверстий 104 для чистящей жидкости может быть достигнуто любым подходящим способом.
В некоторых вариантах осуществления, например, в таком, как показан на фиг. 24, каждое из выпускных отверстий 104 для чистящей жидкости расположено в одной или более выдачных частях, которые пространственно отделены от слоя 114 пористого материала. При размещении выпускного отверстия (выпускных отверстий) 104 для чистящей жидкости в такой отдельной выдачной части или частях чистящая жидкость может быть подана к поверхности 218, подлежащей очистке, в направлении стрелок 240 на фиг. 24, без первоначального контакта со слоем 114 пористого материала.
В неограничивающем примере, показанном на фиг. 24, выдачные части соответствуют вышеописанным распределительным полосам 108, 124 для чистящей жидкости.
Пространственное разделение показано на фиг. 24 посредством зазоров 242, например, воздушных зазоров 242, предусмотренных между слоем 114 пористого материала и распределительными полосами 108, 124 для чистящей жидкости.
В некоторых вариантах осуществления, таких как показанный на фиг. 25, пористый материал 168 содержит описанный выше один или более дополнительных слоев 156 пористого материала, а чистящая головка 100 содержит выполненный с возможностью отделения элемент 244, содержащий один или более дополнительных слоев 156 пористого материала, причем отделение выполненного с возможностью отделения элемента 244 обеспечивает отделение одного или более дополнительных слоев 156 пористого материала от слоя 114 пористого материала.
В некоторых вариантах реализации выполненный с возможностью отделения элемент 244 содержит описанный выше материал 126, 128 для нанесения чистящей жидкости. Таким образом, может быть обеспечена простая замена одного или более дополнительных слоев 156 пористого материала одновременно с заменой материала 126, 128 для нанесения чистящей жидкости. Например, материал 126, 128 для нанесения чистящей жидкости может быть прикреплен, например, приклеен, к одному или более дополнительным слоям 156 пористого материала в выполненном с возможностью отделения элементе 244.
В некоторых вариантах осуществления, например, в неограничивающем примере, показанном на фиг. 25, материал 126, 128 для нанесения чистящей жидкости содержит описанные выше первую и вторую части 126, 128 для нанесения, с первым крепежным элементом 246A, соединяющим один или более дополнительных слоев 156 пористого материала с первой частью 126 для нанесения, и вторым крепежным элементом 246B, соединяющим один или более дополнительных слоев 156 пористого материала со второй частью 128 для нанесения. Другой пример этого описан в настоящем документе ниже со ссылкой на фиг. 33E.
В некоторых вариантах осуществления чистящая головка 100 содержит опору для поддержки слоя 114 пористого материала, и чистящая головка 100 содержит выполненный с возможностью отделения (и/или прикрепления) элемент 248, содержащий слой 114 пористого материала, при этом отделение выполненного с возможностью отделения элемента 248 приводит к отделению слоя 114 пористого материала от опоры.
Такой выполненный с возможностью отделения элемент 248 может содержать, в дополнение к слою 114 пористого материала, описанную выше непроницаемую часть 146, например, содержащую полимерную пленку или выполненную в форме полимерной пленки, причем по меньшей мере одно впускное отверстие 142A для грязи образовано отверстием или отверстиями в непроницаемой части 146.
В некоторых неограничивающих примерах, например, в примере, показанном на фиг. 26, выполненный с возможностью отделения (и/или прикрепления) элемент 248 дополнительно содержит описанную выше опорную конструкцию 154 для переноса жидкости.
Например, опорная конструкция 154 для переноса жидкости может быть выполнена в полости 150 между слоем 114 пористого материала и непроницаемой частью 146.
Когда чистящая головка 100 содержит как выполненный с возможностью отделения элемент 244, так и выполненный с возможностью отделения элемент 248, выполненный с возможностью отделения элемент 244 может, например, быть выполнен с возможностью отделения независимо от выполненного с возможностью отделения элемента 248, а выполненный с возможностью отделения элемент 248 может быть выполнен с возможностью отделения независимо от выполненного с возможностью отделения элемента 244.
В некоторых вариантах осуществления, например, в таком, как показан на фиг. 27, выполненный с возможностью отделения элемент 248 также содержит материал 126, 128 для нанесения чистящей жидкости. Когда, например, выполненный с возможностью отделения элемент 248 содержит непроницаемую часть 146, материал 126, 128 для нанесения чистящей жидкости может быть прикреплен, например, приклеен, к непроницаемой части 146.
В неограничивающем примере, показанном на фиг. 27, материал 126, 128 для нанесения чистящей жидкости содержит описанные выше первую и вторую части 126, 128 для нанесения, причем первое соединение 250A соединяет первую сторону непроницаемой части 146 с первой частью 126 для нанесения, а второе соединение 250B соединяет вторую сторону непроницаемой части 146 со второй частью 128 для нанесения.
На фиг. 28 схематически изображена приведенная в качестве примера чистящая головка 100, содержащая выполненный с возможностью отделения элемент 248, не содержащий материал 126, 128 для нанесения чистящей жидкости. Однако материал 126, 128 для нанесения чистящей жидкости, тем не менее, выполнен с возможностью отсоединения, причем каждая из первой и второй частей 126, 128 для нанесения в этом примере выполнена с возможностью отсоединения от выпускных отверстий 104 для чистящей жидкости независимо друг от друга и независимо от выполненного с возможностью отделения элемента 248.
В целом, настоящее изобретение относится к выполненному с возможностью прикрепления (и/или отделения) элементу 248 как таковому. Выполненный с возможностью прикрепления элемент 248 может быть пригоден для прикрепления к устройству для влажной уборки, содержащему генератор 178 пониженного давления. По меньшей мере в некоторых вариантах осуществления выполненный с возможностью прикрепления элемент 248 содержит слой 114 пористого материала; и по меньшей мере одно впускное отверстие 142A, 142B для грязи, к которому генератор 178 пониженного давления может подсоединяться по текучей среде, когда выполненный с возможностью прикрепления элемент 248 прикреплен к устройству для влажной уборки, причем область PR сбора жидкости слоя 114 пористого материала ограничена прикреплением с уплотнением слоя 114 пористого материала вокруг по меньшей мере одного впускного отверстия 142A, 142B для грязи.
Такой выполненный с возможностью прикрепления элемент 248 может обеспечивать замену слоя 114 пористого материала без необходимости повторного уплотнения слоя 114 пористого материала во впускном отверстии (впускных отверстиях) 142A, 142B для грязи.
В некоторых вариантах осуществления выполненный с возможностью прикрепления элемент 248 содержит непроницаемую часть 146, а по меньшей мере одно впускное отверстие 142A, 142B для грязи образовано отверстием или отверстиями, выполненными в непроницаемой части 146 и/или между непроницаемой частью 146 и слоем 114 пористого материала. Такой выполненный с возможностью прикрепления элемент 248 может обеспечивать возможность замены слоя 114 пористого материала без необходимости повторного присоединения с уплотнением непроницаемой части 146 к слою 114 пористого материала.
В некоторых вариантах осуществления по меньшей мере одно впускное отверстие 142A, 142B для грязи открыто в полость 150 между слоем 114 пористого материала и непроницаемой частью 146, при этом опорная конструкция 154 для переноса жидкости расположена в полости 150 и обеспечивает один или более путей для потока в области PR сбора жидкости между слоем 114 пористого материала и по меньшей мере одним впускным отверстием 142A, 142B для грязи.
Устройство для влажной уборки, например, чистящая головка 100, содержащаяся в устройстве для влажной уборки, может содержать по меньшей мере одно выпускное отверстие 104 для чистящей жидкости, через которое может подаваться чистящая жидкость, как описано ранее. Когда по меньшей мере одно впускное отверстие для грязи выполненного с возможностью прикрепления элемента 248 соединено по текучей среде с генератором 178 пониженного давления, область PR сбора жидкости может быть расположена относительно каждого из по меньшей мере одного выпускного отверстия 104 для чистящей жидкости таким образом, что чистящая жидкость, подаваемая к поверхности 218, подлежащей очистке, обходит область PR сбора жидкости.
На фиг. 29 схематически изображена приведенная в качестве примера чистящая головка 100, содержащая выполненный с возможностью отделения элемент 244, причем выполненный с возможностью отделения элемент 244 состоит в данном примере из одного или более дополнительных слоев 156 пористого материала. Кроме того, в этом неограничивающем примере каждая из первой и второй частей 126, 128 для нанесения в этом примере выполнена с возможностью отделения от выпускных отверстий 104 для чистящей жидкости независимо друг от друга и независимо от выполненного с возможностью отделения элемента 244.
На фиг. 30 показана приведенная в качестве примера чистящая головка 100, в которой пористый материал, в данном случае слой 114 пористого материала, приведен в контакт с тканью 126, 128 для нанесения чистящей жидкости. Как объяснялось ранее, эта конфигурация может способствовать предотвращению образования избытка чистящей жидкости в материале 126, 128 для нанесения чистящей жидкости и, таким образом, может способствовать минимизации чрезмерного смачивания поверхности 218, подлежащей очистке, например, путем капания чистящей жидкости из материала 126, 128 для нанесения чистящей жидкости на поверхность 218, подлежащую очистке.
В этом конкретном примере может быть обеспечено улучшенное управление влажностью материала 126, 128 для нанесения чистящей жидкости за счет того, что краевая часть 134 слоя 114 пористого материала примыкает к противоположной краевой части 136 материала 126, 128 для нанесения чистящей жидкости.
Более конкретно, в этом неограничивающем примере материал 126, 128 для нанесения чистящей жидкости содержит первую часть 126 для нанесения и вторую часть 128 для нанесения, так что противоположная краевая часть 136 материала для нанесения чистящей жидкости включена в первую часть 126 для нанесения, как показано. Кроме того, в данном примере дополнительная краевая часть 138 слоя 114 пористого материала примыкает к дополнительной противоположной краевой части 140 второй части 128 для нанесения.
Область PR сбора жидкости слоя 114 пористого материала (ограниченная прикреплением с уплотнением слоя 114 пористого материала вокруг, например, каждого из по меньшей мере одного впускного отверстия 142A, 142B для грязи), при этом расположена относительно каждого из выпускных отверстий 104 для чистящей жидкости в примере, показанном на фиг. 30, таким образом, чтобы чистящая жидкость могла обходить область PR сбора жидкости. В этом отношении выпускные отверстия 104 для чистящей жидкости в этом примере расположены в выдачных частях, в этом примере в виде распределительных полос 108, 124 для чистящей жидкости, которые пространственно отделены от слоя 114 пористого материала. Последнее показано зазорами 242, например, воздушными зазорами 242, расположенными между слоем 114 пористого материала и выдачными частями 108, 124.
Следует повторить, что пористый материал 168, включая слой 114 пористого материала, можно отличить от материала 126, 128 для нанесения чистящей жидкости на основании того, что пористый материал 168 является более плотным, например, вследствие более плотного плетения ткани из микроволокна, чем материал 126, 128 для нанесения чистящей жидкости.
В некоторых вариантах осуществления, таких как показанный на фиг. 31, чистящая головка 100 содержит часть 120, обращенную к поверхности 218, подлежащей очистке, при этом выступающий элемент 252 установлен возле части 120. Таким образом, выступающий элемент 252 представляет собой элемент, установленный отдельно относительно части 120. Выступающий элемент 252 выступает из чистящей головки 100 в направлении поверхности 218, подлежащей очистке. Таким образом, чистящая головка 100 может качаться на выступающем элементе 252 в первом направлении, вызывая контакт части 120 с поверхностью, подлежащей очистке, и качаться на выступающем элементе 252 во втором направлении, противоположном первому направлению, вызывая отделение части 120 от поверхности 218, подлежащей очистке, как объяснялось ранее.
В некоторых вариантах осуществления, например, в таком, как показан на фиг. 31, чистящая головка 100 содержит опорный элемент 236, например, жесткий опорный элемент 236, а выступающий элемент 252 установлен посредством прикрепления к опорному элементу 236.
Следует отметить, что чистящая головка 100 может быть прикреплена или может быть выполнена с возможностью прикрепления к подходящей рукоятке (не видна) для облегчения перемещения чистящей головки 100. С этой целью, чистящая головка 100 может содержать точку 254 соединения, с которой такая рукоятка может быть соединена, например, соединена с возможностью поворота.
Как показано на фиг. 31, перемещение чистящей головки 100 по поверхности 218, подлежащей очистке, путем приложения усилия Fперемещения не может осуществляться без сопротивления. Вес чистящей головки 100, Fсила тяжести и/или пользователь, прижимающий чистящую головку 100 к поверхности 218, подлежащей очистке, могут создавать усилие, Fn, перпендикулярное поверхности 218, подлежащей очистке.
Чистящая головка 100 может быть влажной и, следовательно, может работать в режиме вязкого трения и в сухом режиме; в первом возникает сила вязкого трения Fv, а вторая приводит к кулоновскому трению Fc, определяемому нормальной силой Fn и коэффициентом трения f. Результирующая сила сопротивления, Fr, аппроксимируется следующим уравнением:
,
где силы Fr, Fv, Fc и Fn, Н; µ - динамическая, Па⋅с; A - площадь контакта, м2; u - скорость, м/с; и y - толщина слоя жидкости, м.
Приведенное выше уравнение показывает, что как большая площадь контакта, A, так и слой жидкости, толщина которого, y, стремится к нулю, могут увеличивать показатель вязкого трения, тем самым увеличивая результирующую силу сопротивления Fr.
Следует также отметить, что относительно большая площадь контакта, A, которая необходима для эффективного сбора жидкости на неровных поверхностях 218, подлежащих очистке, может привести к относительно высокой силе сопротивления Fr, особенно на относительно плоских/гладких поверхностях 218, подлежащих очистке.
Следовательно, по меньшей мере в некоторых вариантах осуществления выступающий элемент 252 содержит пористый материал 168. Таким образом, сопротивление движению чистящей головки 100 по поверхности, подлежащей очистке, может быть уменьшено вследствие ограниченной области контакта A между пористым материалом 168 и поверхностью 218, подлежащей очистке.
Слой 114 пористого материала из пористого материала 168 может быть включен в выступающий элемент 252.
В некоторых вариантах осуществления область PR сбора жидкости слоя 114 пористого материала включена в выступающий элемент 252 и заканчивается между выступающим элементом 252 и частью 120. Таким образом, область слоя 114 пористого материала, к которой прикладывается всасывание, ограничена выступающим элементом 252, тем самым способствуя уменьшению сопротивления движению.
Альтернативно или дополнительно, по меньшей мере одно впускное отверстие 142A, 142B для грязи может быть выполнено в выступающем элементе 252. Таким образом, всасывание может быть приложено к части чистящей головки 100, другими словами, выступающему элементу 252, контакт которого с поверхностью 218, подлежащей очистке, уменьшен, например, благодаря его функции качания.
В вариантах осуществления, в которых чистящая головка 100 содержит часть 120 и дополнительную часть 122, обращенную к поверхности 218, подлежащей очистке, выступающий элемент 252 может быть установлен между частью 120 и дополнительной частью 122. Благодаря этому, чистящая головка 100 может качаться вперед на выступающем элементе 252, с тем чтобы вызывать контакт части 120 с поверхностью 218, подлежащей очистке, как показано на фиг. 31, и назад, с тем чтобы вызывать контакт дополнительной части 122 с поверхностью 218, подлежащей очистке.
В таких вариантах осуществления область PR сбора жидкости слоя 114 пористого материала может проходить между частью 120 и дополнительной частью 122 и заканчиваться между выступающим элементом 252 и частью 120, а также между выступающим элементом 252 и дополнительной частью 122.
В неограничивающем примере, показанном на фиг. 31, примыкающие противоположные краевые части 134, 136 пористого материала 168 и материала 126, 128 для нанесения чистящей жидкости расположены между выступающим элементом 252 и частью 120. Таким образом, избыток чистящей жидкости, возникающий при выжимании из материала 126, 128 для нанесения чистящей жидкости между выступающим элементом 252 и материалом 126, 128 для нанесения чистящей жидкости, например, посредством покачивания чистящей головки 100, может быть эффективно перемещен во впускное отверстие (впускные отверстия) 142A, 142B для грязи через пористый материал 168.
В частности, часть 120, показанная на фиг. 31, содержит первую часть 126 для нанесения, а дополнительная часть 122 содержит вторую часть 128 для нанесения. Кроме того, примыкающие противоположные краевые части 134, 136 пористого материала 168 и первая часть 126 для нанесения в этом примере расположены между выступающим элементом 252 и частью 120, а примыкающие противоположные дополнительные краевые части 138, 140 пористого материала 168 и вторая часть 128 для нанесения расположены между выступающим элементом 252 и дополнительной частью 122. Таким образом, избыток чистящей жидкости, возникающий при выжимании из материала 126, 128 для нанесения чистящей жидкости между выступающим элементом и первой частью 126 для нанесения, а также между выступающим элементом и второй частью 128 для нанесения, например, посредством качания чистящей головки 100 вперед и назад, соответственно, может быть эффективно перенесен во впускное отверстие (отверстия) 142A, 142B для грязи через пористый материал 168.
В некоторых вариантах осуществления, например, в таком, как показан на фиг. 31, выступающий элемент 252 имеет изогнутую поверхность, выполненную с возможностью контакта с поверхностью 218, подлежащей очистке.
Такая изогнутая, например, закругленная поверхность выступающего элемента 252 может дополнительно способствовать минимизации площади контакта выступающего элемента 252 с поверхностью 218, подлежащей очистке, и, таким образом, способствовать минимизации сопротивления движению чистящей головки 100 по поверхности, подлежащей очистке 218.
Изогнутая поверхность выступающего элемента 252 может, например, изгибаться между частью 120 и дополнительной частью 122, как показано на фиг. 31.
В некоторых вариантах осуществления выступающий элемент 252 содержит описанный выше эластомерный материал 238, на котором расположен пористый материал 168. Эластомерный материал 238 может, например, представлять собой или содержать силиконовый каучук и/или иметь твердость менее 50 по Шору A, предпочтительно менее 20 по Шору A, наиболее предпочтительно менее 10 по Шору A.
Со ссылкой на фиг. 31, эластомерный материал 238 может быть расположен между опорным элементом 236, например, жестким опорным элементом 236, и пористым материалом 168.
Упругая деформация такого эластомерного материала 238 может снизить риск повреждения пористого материала 168, если, например, на поверхности 218, подлежащей очистке, присутствует относительно жесткий выступ, который вступает в контакт с пористым материалом 168. Альтернативно или дополнительно, эластомерный материал 238 может способствовать тому, чтобы пористый материал 168 следовал любым контурам поверхности 218, подлежащей очистке.
Альтернативно или дополнительно, выступающий элемент 252 может быть упруго установлен возле части 120. Например, выступающий элемент 252 может быть установлен с подпружиниванием на опорном элементе 236. Это может позволить пористому материалу 168 следовать любым контурам поверхности 218, подлежащей очистке, тем самым облегчая сбор жидкости.
В вариантах осуществления, в которых эластомерный материал 238 включен в состав выступающего элемента 252, за кривизной изогнутой поверхности эластомерного материала 238, например, в виде дуги между частью 120 и дополнительной частью 122, может следовать пористый материал 168 для обеспечения криволинейной поверхности выступающего элемента 252.
Хотя на фиг. 31 это не видно, выступающий элемент 252 может дополнительно содержать описанную выше непроницаемую часть 146, содержащую полимерную пленку или выполненную в виде полимерной пленки, прикрепленной с уплотнением на слое 114 пористого материала и вокруг впускных отверстий 142A, 142B для грязи. В таком примере пониженное давление, присутствующее за пористым материалом 168 во время использования чистящей головки 100, может отсутствовать в эластомерном материале 238, а скорее содержится в уплотненной полости 150 между слоем 114 пористого материала и непроницаемой частью 146. Это может способствовать тому, чтобы эластомерный материал 238 по существу не подвергается воздействию пониженного давления, в частности, в примерах, в которых эластомерный материал 238 сам является пористым и, следовательно, в противном случае может быть подвержен уплотнению вследствие пониженного давления.
В других неограничивающих примерах эластомерный материал 238 сам по себе не является пористым, так что эластомерный материал 238 может быть включен в непроницаемую часть 146, прикрепленную с уплотнением к слою 114 пористого материала 168, например, как описано выше со ссылкой на фиг. 18.
В неограничивающем примере, показанном на фиг. 31, описанная выше опорная конструкция 154 для переноса жидкости также предусмотрена между пористым материалом 168, в частности слоем 114 пористого материала, и непроницаемой частью 146. Опорная конструкция 154 для переноса жидкости может быть образована , например, одним или более слоями сетки и/или рисунком поверхности на и/или в поверхности, например, криволинейной поверхности, эластомерного материала 238, или может содержать их.
В более общем случае, выступающий элемент 252 может содержать опорную конструкцию 154 для переноса жидкости, например, расположенную между слоем 114 пористого материала и по меньшей мере одним впускным отверстием 142A, 142B для грязи.
Пористый материал 168 может быть расположен на эластомерном материале 238, например, на изогнутой поверхности эластомерного материала 238, любым подходящим способом.
На фиг. 32A и 32B схематически показан пример прикрепления с уплотнением слоя 114 пористого материала вокруг впускных отверстий 142A, 142B для грязи для определения области PR сбора жидкости. Кроме того, на фиг. 32A и 32B показана непроницаемая часть 146, в данном случае в виде полимерной пленки, и опорная конструкция 154 для переноса жидкости, в данном случае в виде сетки или множества уложенных друг на друга слоев сетки. Пористый материал 168 в этом примере содержит слой 114 пористого материала или определяется слоем 114 пористого материала и дополнительными слоями 156, 158 пористого материала. Таким образом, слоистый материал содержит дополнительные слои 156, 158 пористого материала, слой 114 пористого материала, опорную конструкцию 154 для переноса жидкости и непроницаемую часть 146, причем трубки 144A, 144B обеспечивают впускные отверстия 142A, 142B для грязи, частично зажатые между непроницаемой частью 146 и слоем 114 пористого материала.
В неограничивающем примере, показанном на фиг. 32A и 32B, непроницаемая часть 146, слой 114 пористого материала и дополнительные слои 156, 158 пористого материала выходят за пределы опорного слоя 154 для переноса жидкости в направлении трубок 144A, 144B. Уплотнение 152, в данном случае термосвариваемое уплотнение, также выходит за пределы опорного слоя 154 для переноса жидкости в направлении трубок 144A, 144B.
Уплотнение 152, то есть воздухонепроницаемое уплотнение, выполнено между слоем 114 пористого материала и непроницаемой частью 146 путем введения глины в область между слоем 114 пористого материала и непроницаемой частью 146, через которую проходят трубки 144A, 144B. В этом примере кусочек ленты затем наматывают вокруг слоя 114 пористого материала, непроницаемой части 146, трубок 144A, 144B и глины, чтобы охватить глину, чтобы избежать ее прилипания к другому объекту.
Этот слоистый материал может быть достаточно гибким для размещения на изогнутой поверхности, например, эластомерного материала 238. Кроме того, слоистый материал может, например, быть снабжен подходящим крепежным элементом или крепежными элементами 256A-D, в данном случае в виде полос Velcro®, для закрепления слоистого материала в чистящей головке 100.
Согласно неограничивающему примеру, показанному на фиг. 33A и 33B, слоистый материал, аналогичный описанному выше со ссылкой на фиг. 32A и 32B, содержащий слой 114 пористого материала и первый дополнительный слой 156 пористого материала, расположен на криволинейной поверхности 258 эластомерного материала 238 и прикреплен к опорному элементу 236 с помощью крепежного элемента (крепежных элементов) 256A-D, например, полос Velcro®. Таким образом, выступающий элемент 252 в данном примере содержит эластомерный материал 238 и слои 114, 156 пористого материала.
Вследствие того, что слои 114, 156 пористого материала следуют за кривизной криволинейной поверхности 258 эластомерного материала 238 в этом примере, сам выступающий элемент 252 содержит криволинейную поверхность, выполненную с возможностью контакта с поверхностью 218, подлежащей очистке.
В неограничивающем примере, показанном на фиг. 33A и 33B, выступающий элемент 252 установлен возле части 120 (и, в частности, между частью 120 и дополнительной частью 122 в этом примере) посредством эластомерного материала 238, прикрепленного к опорному элементу 236 чистящей головки 100. В этом неограничивающем примере это крепление достигается по меньшей мере частично посредством эластомерного материала 238, содержащего выступ 260, который размещен внутри паза 262, образованного в опорном элементе 236, и входит в зацепление с этим пазом 262. Выступ 260 может быть размещен в пазе 262, например, путем плотной посадки.
На фиг. 33A показана деформация материала 126, 128 для нанесения чистящей жидкости для приведения по меньшей мере части материала 126, 128 для нанесения чистящей жидкости в контакт с пористым материалом. Таким образом, некоторое количество чистящей жидкости может быть перенесено из материала 126, 128 для нанесения чистящей жидкости в пористый материал особенно управляемым образом.
В неограничивающем примере, показанном на фиг. 33A, материал 126, 128 для нанесения чистящей жидкости содержит пучки, образованные из волокон, и базовый слой (не виден), поддерживающий пучки. Как показано, такие пучки могут быть выполнены с возможностью деформации при контакте с пористым материалом, например, при контакте с поверхностью, подлежащей очистке, и/или при смачивании жидкостью, например, водой.
В некоторых вариантах осуществления устройство для влажной уборки содержит чистящую головку 100 и генератор 178 пониженного давления (не показан на фиг. 33A и 33B), соединенный по текучей среде с по меньшей мере одним впускным отверстием 142A, 142B для грязи. Это соединение по текучей среде может быть выполнено посредством трубок 144A, 144B, которые в данном конкретном неограничивающем примере проходят к одной трубке, ведущей к генератору пониженного давления, в точке разветвления 266.
Генератор 178 пониженного давления может, например, представлять собой или содержать насос, такой как объемный насос (технические преимущества последнего описаны более подробно в данном документе ниже). Может использоваться любой подходящий насос при условии, что насос способен выдерживать рабочее давление, выбранное для устройства для влажной уборки, например, около 5000 Па (см. Таблицу 1 выше).
В некоторых вариантах осуществления генератор 178 пониженного давления выполнен с возможностью подачи всасывания путем обеспечения потока в диапазоне от 40 до 2000 см3/мин, более предпочтительно от 80 до 750 см3/мин и наиболее предпочтительно от 100 до 300 см3/мин.
Такой поток, то есть расход, может извлекать выгоду из способности пористого материала 168 поддерживать пониженное давление и может обеспечивать достаточный сбор жидкости при ограничении потребления энергии.
Устройство для влажной уборки может также содержать резервуар для сбора грязной жидкости (не показан на фиг. 33A и 33B). В таких вариантах осуществления генератор пониженного давления может быть выполнен с возможностью всасывания жидкости из по меньшей мере одного впускного отверстия 142A, 142B для грязи в резервуар для сбора грязной жидкости.
В таких вариантах осуществления резервуар для сбора грязной жидкости может быть расположен любым подходящим образом относительно генератора 178 пониженного давления, например, выше по потоку или ниже по потоку от генератора 178 пониженного давления.
В некоторых вариантах осуществления устройство для влажной уборки, содержащее чистящую головку 100, содержит источник чистящей жидкости (не показан на фиг. 33A и 33B) для подачи чистящей жидкости к чистящей головке 100 для подачи к поверхности, подлежащей очистке, с использованием по меньшей мере одного выпускного отверстия 104 для чистящей жидкости. Такой источник чистящей жидкости может, например, содержать резервуар для чистящей жидкости и устройство подачи, например, устройство подачи, содержащее насос, для переноса чистящей жидкости в указанное по меньшей мере одно выпускное отверстие 104 для чистящей жидкости и через него.
Источник чистящей жидкости и по меньшей мере одно выпускное отверстие 104 для чистящей жидкости могут быть выполнены с возможностью обеспечения непрерывной подачи чистящей жидкости к поверхности 218, подлежащей очистке.
Источник чистящей жидкости и генератор 178 пониженного давления могут, например, быть выполнены таким образом, что поток чистящей жидкости, подаваемый через по меньшей мере одно выпускное отверстие 104 для чистящей жидкости, меньше, чем поток, подаваемый по меньшей мере к одному впускному отверстию 142A, 142B для грязи генератором 178 пониженного давления. Это может способствовать обеспечению того, чтобы поверхность 218, подлежащая очистке, не становилась чрезмерно влажной при наличии чистящей жидкости. Например, поток чистящей жидкости может быть в диапазоне от 20 до 60 см3/мин, а поток, обеспечиваемый генератором 178 пониженного давления, может быть в диапазоне от 40 до 2000 см3/мин, более предпочтительно от 80 до 750 см3/мин и наиболее предпочтительно от 100 до 300 см3/мин.
Если в качестве генератора 178 пониженного давления используется объемный насос с расходом 1 или 2 литра/минуту, такой насос может стать относительно громоздким и шумным, следовательно, более низкие значения расхода могут способствовать изготовлению устройства для влажной уборки относительно небольшим, тихим и легким.
В принципе, может быть достаточным расход генератора 178 пониженного давления, который равен расходу чистящей жидкости, обеспечиваемому источником чистящей жидкости.
Однако это может привести к относительно значительному нарушению равновесия системы (требуемого пониженного давления), если, например, пористый материал 168 (например, только что прикрепленный) столкнется с разливом воды. Например, лужа воды объемом 50 см3, с которой сталкивается устройство для влажной уборки, имеющее расход чистящей жидкости 40 см3/мин и расход 50 см3/мин, обеспечиваемый генератором 178 пониженного давления, может означать, что потребуется около 5 минут, чтобы впитать всю воду (что приводит к 5-минутному падению пониженного давления, следовательно, 5-минутному периоду, в течение которого пол остается значительно более влажным (потому что лужа продолжает растекаться). С другой стороны, расход 250 см3/мин, обеспечиваемый генератором 178 пониженного давления, может уменьшить этот период до 14 секунд. Расход, обеспечиваемый генератором 178 пониженного давления, превышающий расход чистящей жидкости, обеспечиваемой источником чистящей жидкости, может позволить системе быстрее вернуться в равновесие после такого нарушения.
В неограничивающем примере, показанном на фиг. 33A и 33B, чистящая жидкость подается, например, из упомянутого выше резервуара для чистящей жидкости, через трубку 268, которая раздваивается для подачи чистящей жидкости к выпускным отверстиям 104 распределительной полосы 108 для чистящей жидкости через первую трубку 270A и к выпускным отверстиям 104 для чистящей жидкости дополнительной распределительной полосы 124 для чистящей жидкости через вторую трубку 270B.
В вариантах осуществления, в которых устройство для влажной уборки содержит чистящую головку 100, генератор пониженного давления и источник чистящей жидкости, генератор пониженного давления может быть выполнен с возможностью обеспечения всасывания по меньшей мере на одном впускном отверстии 142A, 142B для грязи в то же время, другими словами одновременно, с источником чистящей жидкости, подающим чистящую жидкость по меньшей мере к одному выпускному отверстию 104 для чистящей жидкости или через него.
В приведенной в качестве примера чистящей головке 100, показанной на фиг. 33A и 33B, распределительные полосы 108, 124 для чистящей жидкости соединены друг с другом и с опорным элементом 236 посредством соединительных элементов 272A, 272B.
В некоторых вариантах осуществления устройство для влажной уборки включает в себя рукоятку (не показана на фиг. 33A и 33B), соединенную с чистящей головкой 100 или выполненную с возможностью прикрепления к ней. Такая рукоятка может способствовать перемещению чистящей головки 100.
В неограничивающем примере, показанном на фиг. 33A и 33B, точка 254 соединения, к которой может быть присоединена такая рукоятка, содержит вертикально проходящую прорезь для регулировки высоты, на которой обеспечено соединение. В этом примере такая точка 254 соединения предусмотрена в каждой из пары опор 274A, 274B, между которыми шарнирно установлен элемент 276 взаимодействия рукоятки. Элемент 276 взаимодействия рукоятки может входить в зацепление с концом рукоятки, например, принимать его.
В некоторых вариантах реализации рукоятка может поддерживать или включать в себя по меньшей мере часть генератора 178 пониженного давления, соединенного по текучей среде по меньшей мере с одним впускным отверстием 142A, 142B для грязи и/или резервуаром для сбора грязной жидкости. Альтернативно или дополнительно, по меньшей мере часть источника подачи чистящей жидкости, например, резервуар для чистящей жидкости и/или устройство подачи, может поддерживаться или содержаться в рукоятке.
В некоторых вариантах осуществления, таких как показанный на фиг. 33C и 33D, описанный выше выполненный с возможностью прикрепления элемент 248 (в котором область PR сбора жидкости слоя 114 пористого материала ограничена прикреплением с уплотнением слоя 114 пористого материала вокруг по меньшей мере одного впускного отверстия 142A, 142B для грязи) содержит (или определяет) выступающий элемент 252.
В неограничивающем примере, показанном на фиг. 33C, выступающий элемент 252 содержит эластомерный материал 238, на котором расположен слой 114 пористого материала. В этом конкретном примере слой 114 пористого материала прикреплен с уплотнением к опорному элементу 236 посредством уплотнений 152, например, теплостойких уплотнений.
Таким образом, слой 114 пористого материала прикреплен с уплотнением к впускному отверстию (впускным отверстиям) 142A для грязи, причем впускное отверстие (впускные отверстия) 142A для грязи в этом примере образовано в опорном элементе 236 и эластомерном материале 238, например, ограничено ими. В этом конкретном примере впускные отверстия 142A, 142B для грязи имеют форму каналов, проходящих через опорный элемент 236 и эластомерный материал 238.
В более общем случае, опорный элемент 236, к которому с уплотнением прикреплен слой 114 пористого материала, может быть включен в выполненный с возможностью прикрепления элемент 248. В таком примере, опорный элемент 236 может быть прикреплен к опоре, включенной в (оставшуюся часть) чистящей головки 100.
Выполненный с возможностью прикрепления элемент 248 может быть прикреплен к опоре любым подходящим способом, например, посредством выполненного с возможностью прикрепления элемента 248, например, опорного элемента 236, имеющего элемент в виде гребня, который вдавливается в паз, выполненный в опоре, или посредством опоры, имеющей такой элемент в виде гребня, который вдавливается в паз, образованный в выполненном с возможностью прикрепления элементе 248, например, в опорном элементе 236.
Еще один слой 156 пористого материала также включен в выступающий элемент 252 в примере, показанном на фиг. 33C. Следует отметить, что процесс термосклеивания, например, посредством ультразвуковой сварки, слоя 114 пористого материала с пластиковым опорным элементом 236 также приводит к тому, что дополнительный слой 156 пористого материала сцепляется со слоем 114 пористого материала.
Примеры, показанные на фиг. 33C и 33D, отличаются друг от друга тем, что опорная конструкция 154 для переноса жидкости, показанная на фиг. 33C, образована рисунком поверхности, расположенным на и/или в поверхности эластомерного материала 238, тогда как опорная конструкция 154 для переноса жидкости, показанная на фиг. 33D, выполнена в виде сетчатого слоя.
На фиг. 33E показан пример выполненного с возможностью отделения элемента 244, содержащего дополнительные слои 158A, 158B пористого материала и материал 126, 128 для нанесения чистящей жидкости. Этот пример имеет некоторое сходство с выполненным с возможностью отделения элементом 244, показанным на фиг. 26, за исключением того, что в этом случае материал 126, 128 для нанесения чистящей жидкости установлен на дополнительных слоях 158A, 158B пористого материала.
Следует отметить, что дополнительные слои 158A, 158B пористого материала могут быть прикреплены друг к другу, например, посредством термической сварки, такой как ультразвуковая сварка.
Кроме того, на фиг. 33E показан базовый слой BL и пучки TU, включенные в материал 126, 128 для нанесения чистящей жидкости. Базовый слой BL поддерживает пучки TU, как описано ранее.
На фиг. 33F представлен вид в перспективе чистящей головки 100, содержащей выступающий элемент 252/выполненный с возможностью прикрепления элемент 248, показанный на фиг. 33C или 33D, и выполненный с возможностью отделения элемент 244, показанный на фиг. 33E. Таким образом, в этом случае пористый материал 168 содержит слой 114 пористого материала и дополнительный слой 156 пористого материала, включенный в выступающий элемент 252/выполненный с возможностью прикрепления элемент 248, и дополнительный слой (слои) 158A, 158B пористого материала, включенный в выполненный с возможностью отделения элемент 244.
Выполненный с возможностью отделения элемент 244 может быть соединен с возможностью отделения с остальной частью чистящей головки 100 любым подходящим способом, например, с помощью выполненного с возможностью отделения элемента 244, содержащего набор язычков, расположенных вдоль одной продольной стороны от выполненного с возможностью отделения элемента 244, и ленту Velcro®, расположенную на противоположной продольной стороне. В таком примере каждый набор язычков принимает и входит в зацепление с подошвой, предусмотренной на одной продольной стороне остальной части чистящей головки 100, и лента Velcro® может быть соединена с дополнительной лентой Velcro®, расположенной на противоположной продольной стороне остальной части чистящей головки 100. Этот расположение набора язычков на подошве может способствовать минимизации нежелательного перемещения выполненного с возможностью отделения элемента 244 относительно остальной части чистящей головки 100 как в поперечном, так и в продольном направлениях.
Кроме того, на фиг. 33F показана этикетка LA выполненного с возможностью отделения элемента 244. Эта этикетка может содержать инструкции по прикреплению/отделению и/или промывке для промывки выполненного с возможностью отделения элемента 244 после его отсоединения от остальной части чистящей головки 100.
В целом, устройство для влажной уборки в соответствии с аспектом настоящего изобретения содержит устройство для генерации пониженного давления и чистящую головку 100, имеющую по меньшей мере одно впускное отверстие 142A, 142B для грязи, и пористый материал 168, содержащий слой 114 пористого материала, прикрепленный с уплотнением по меньшей мере к одному впускному отверстию 142A, 142B для грязи.
Чистящая головка 100 может быть выполнена, например, в соответствии с любым из вариантов осуществления, описанных в настоящем документе.
Устройство для генерации пониженного давления содержит генератор 178 пониженного давления, имеющий выпускное отверстие генератора пониженного давления, причем генератор 178 пониженного давления выполнен с возможностью приведения в действие для обеспечения потока от по меньшей мере одного впускного отверстия 242A, 242b для грязи к выходу генератора пониженного давления и через него, и с возможностью отключения для прекращения потока.
По меньшей мере в некоторых вариантах осуществления изобретения устройство для генерации пониженного давления выполнено с возможностью ограничения прохождения текучей среды от выпускного отверстия генератора пониженного давления к по меньшей мере одному впускному отверстию 242A, 242B для грязи по меньшей мере когда генератор пониженного давления отключен.
Поток, обеспечиваемый генератором 178 пониженного давления, может создавать пониженное давление по меньшей мере в одном впускном отверстии 142A, 142B для грязи. Пористый материал 168, в частности смачиваемый пористый материал 168, может способствовать поддержанию пониженного давления, и жидкость может быть втянута через пористый материал 168 во впускное отверстие (впускные отверстия) для грязи, как описано ранее.
На фиг. 34 схематически изображено приведенное в качестве примера устройство 278 для влажной уборки до (левая панель), во время (центральная панель) и после (правая панель) пропускания жидкости 190 через пористый материал 168. Левая панель на фиг. 34 может рассматриваться как изображающая полностью сухую систему, например, в начале цикла очистки. На центральной панели с фиг. 34 показано устройство 278 для влажной уборки во время работы, во время которого жидкость 190, например, вода, находящаяся в контакте с пористым материалом 168, переносится через него в направлении впускного отверстия (впускных отверстий) 142A для грязи. Таким образом, поверхность 218, подлежащая очистке, может стать сухой или по меньшей мере более сухой, но не вся жидкость 190 может быть перенесена от чистящей головки 100, например, в резервуар для сбора грязной жидкости (не показан на фиг. 34), включенный в устройство 278 для влажной уборки. В этом неограничивающем примере некоторая часть жидкости 190 может оставаться в пути (путях) для потока опорной конструкции 154 для переноса жидкости, как показано. Во время работы эта жидкость 190 может обеспечивать преимущество, поскольку она служит для поддержания пористого материала 168 влажным, даже если на поверхности 218, подлежащей очистке, может отсутствовать жидкость 190. Остаточная жидкость 190 в порах 192 пористого материала 168 способствует поддержанию пониженного давления, как описано ранее. В то время как пониженное давление поддерживается во впускном отверстии (впускных отверстиях) 142A для грязи, жидкость 190 остается на впускном отверстии (впускных отверстиях) для грязи пористого материала 168, как показано на центральной панели на фиг. 34.
Однако, когда генератор 178 пониженного давления отключен, например, будучи выключенным после использования устройства 278 для влажной уборки, потеря пониженного давления может быть вызвана проникновением текучей среды, например, окружающего воздуха, через выпускное отверстие генератора пониженного давления. Это может привести к высвобождению жидкости 190, например, каплеобразованию, из пористого материала 168, как показано на правой панели фиг. 34.
После очистки, например, мокрой протирки поверхности, подлежащей очистке, может быть нежелательным, чтобы жидкость 190 высвобождалась через пористый материал 168 после отключения генератора 178 пониженного давления, например, обратно на поверхность 218, подлежащую (или подвергшуюся) очистке, и/или во время транспортировки устройства 278 для влажной уборки к месту его хранения.
По этой причине устройство для генерации пониженного давления может быть выполнено с возможностью ограничения, например, блокировки прохождения текучей среды, например окружающего воздуха, из выпускного отверстия генератора пониженного давления к впускному отверстию (впускным отверстиям) для грязи по меньшей мере при отключении генератора 178 пониженного давления, например при выключении генератора 178 пониженного давления. Это может облегчить проблематичное выделение жидкости из пористого материала 168, например, после очистки поверхности 218, подлежащей очистке, и/или во время укладки устройства для влажной уборки в зону хранения после использования.
На фиг. 35 схематично изображено приведенное в качестве примера устройство 278 для влажной уборки, содержащее такое устройство 280 для генерации пониженного давления. На левой панели на фиг. 35 генератор 178 пониженного давления, в данном примере насос, приведен в действие. Это обозначено как «Насос включен». На правой панели на фиг. 35 генератор 178 пониженного давления выключен, что обозначено как «Насос выключен». В отличие от утечки жидкости, описанной выше со ссылкой на фиг. 34, прохождение текучей среды из выпускного отверстия генератора пониженного давления в направлении впускного отверстия (впускных отверстий) 142A для грязи ограничено, например, заблокировано, как обозначено на фиг. 35, перекрестием 282. Таким образом, пониженное давление может лучше поддерживаться после отключения генератора 178 пониженного давления, тем самым уменьшая проблематичное высвобождение жидкости из пористого материала 168.
Может быть рассмотрен любой подходящий способ конфигурирования устройства 280 для генерации пониженного давления для ограничения прохождения текучей среды из выпускного отверстия генератора пониженного давления в направлении впускного отверстия (впускных отверстий) 142A для грязи по меньшей мере при отключении генератора 178 пониженного давления.
В некоторых вариантах реализации сам генератор 178 пониженного давления выполнен с возможностью ограничения обратного потока текучей среды, например воздуха, из выпускного отверстия генератора пониженного давления в направлении впускного отверстия (впускных отверстий) 142A для грязи, когда генератор 178 пониженного давления отключен.
В некоторых вариантах осуществления, например, в таком, как показан на фиг. 36, генератор 178 пониженного давления представляет собой объемный насос или содержит его. Конструкция такого объемного насоса означает, что обратный поток текучей среды, например воздуха, из выпускного отверстия генератора пониженного давления, другими словами, выпускного отверстия насоса, в направлении впускного отверстия (впускных отверстий) 142A для грязи, по своей природе ограничен.
Примеры такого объемного насоса включают в себя шланговый насос, мембранный насос и поршневой насос. Соответственно, генератор 178 пониженного давления может содержать один или более из шлангового насоса, мембранного насоса и поршневого насоса или состоять из них.
Как показано на фиг. 36, изображенный шланговый насос может содержать сжимаемый шланг 284 между впускным отверстием 286 насоса/генератора пониженного давления и выпускным отверстием 288 насоса/генератора пониженного давления, который сжат по меньшей мере в одном положении, когда шланговый насос отключен. Таким образом, обратный поток текучей среды, например воздуха, от выпускного отверстия насоса к впускному отверстию (впускным отверстиям) 142A для грязи может быть ограничен, например, заблокирован, когда шланговый насос отключен. Таким образом, выбор шлангового насоса может свести к минимуму потерю пониженного давления во впускном отверстии (впускных отверстиях) для грязи и, таким образом, свести к минимуму проблематичное высвобождение жидкости наружу из чистящей головки 100 через пористый материал 168.
Шланговый насос может, например, включать в себя вращающийся узел 290 сжимающих роликов, содержащий по меньшей мере один сжимающий ролик 292, который при вращении узла 290 сжимающих роликов и сопутствующем сжатии сжимаемого шланга 284 по меньшей мере одним сжимающим роликом 292, обеспечивает поток.
В упомянутых выше мембранном насосе и поршневом насосе используется конструкция аналогичного типа, в которой в состояние покоя насоса, то есть, когда насос отключен, обратный поток из выпускного отверстия 288 насоса в направлении впускного отверстия (впускных отверстий) 142A для грязи ограничен.
В некоторых вариантах реализации изобретения, например, в качестве альтернативы или в дополнение к описанному выше объемному насосу, составляющему генератор 178 пониженного давления, устройство 280 для генерации пониженного давления содержит клапанный узел, например, обозначенный крестиком 282 на фиг. 35, выполненный с возможностью ограничения прохождения текучей среды из выпускного отверстия 288 генератора пониженного давления к указанному по меньшей мере одному впускному отверстию 142A для грязи.
В неограничивающем примере, показанном на фиг. 35, клапанный узел выполнен с возможностью ограничения указанного прохода текучей среды между впускным отверстием 286 генератора пониженного давления и по меньшей мере одним впускным отверстием 142A для грязи.
Альтернативно или дополнительно, проход текучей среды может быть ограничен между выпускным отверстием 288 генератора пониженного давления и впускным отверстием 186 генератора пониженного давления, например, как описано выше в отношении объемного насоса, входящего в состав или образующего генератор 178 пониженного давления.
Клапанный узел может иметь любую подходящую конструкцию. В некоторых вариантах реализации клапанный узел выполнен с возможностью, в ответ на отключение генератора 178 пониженного давления, ограничивать указанный проход воздуха. Это можно рассматривать как «активный» клапан, который срабатывает для закрытия системы (путем ограничения прохождения текучей среды от выпускного отверстия 288 генератора пониженного давления к впускному отверстию (впускным отверстиям) 142A для грязи посредством отключения генератора 178 пониженного давления.
В некоторых вариантах осуществления клапанный узел содержит одноходовой клапан, выполненный с возможностью предотвращения переноса текучей среды в направлении по меньшей мере одного впускного отверстия 142A для грязи. Одноходовой клапан может рассматриваться как «пассивный» клапан. Такой одноходовой клапан может быть выполнен с возможностью обеспечения потока текучей среды, например воздуха и/или жидкости, из пористого материала 168 с предотвращением возврата текучей среды, например воздуха и/или жидкости, к впускному отверстию (впускным отверстиям) 142A для грязи при отключении генератора 178 пониженного давления или после отключения. Может быть предусмотрена любая подходящая конструкция одноходового клапана, такая как шаровой обратный клапан.
В неограничивающем примере дополнительная часть пористого материала, например, изготовленная из ткани из микроволокна, расположена между слоем 114 пористого материала и выпускным отверстием 288 генератора пониженного давления. Дополнительная часть пористого материала может обеспечивать поток текучей среды, например воздуха и/или жидкости, от слоя 114 пористого материала, но ограничивать возврат текучей среды, например воздуха и/или жидкости, к слою 114 пористого материала, (по меньшей мере) когда генератор 178 пониженного давления отключен.
В более общем случае, генератор 178 пониженного давления может быть выполнен таким образом, что поток, когда он обеспечен (включенным) генератором 178 пониженного давления, находится в диапазоне от 40 см3/мин до 2000 см3/мин, более предпочтительно от 80 см3/мин до 750 см3/мин и наиболее предпочтительно от 100 см3/мин до 300 см3/мин.
Такой поток, то есть расход, может извлекать выгоду из способности пористого материала 168 поддерживать пониженное давление и может обеспечивать достаточный сбор жидкости при ограничении потребления энергии.
Следует повторить, что устройство 278 для влажной уборки может содержать резервуар для сбора грязной жидкости (не показан на фиг. 35 и 36) для сбора грязной жидкости, при этом устройство 280 для генерации пониженного давления выполнено таким образом, что поток к выпускному отверстию 288 генератора пониженного давления и через него втягивает загрязненную жидкость из по меньшей мере одного впускного отверстия 142A для грязи в резервуар для сбора грязной жидкости. В таких вариантах реализации описанный выше клапанный узел может быть расположен любым подходящим образом относительно, например, выше по потоку или ниже по потоку, резервуара для сбора грязной жидкости.
В некоторых вариантах осуществления между впускным отверстием (выпускными отверстиями) 142A для грязи и выпускным отверстием 288 генератора пониженного давления образован уплотненный путь для потока.
Это может способствовать поддержанию пониженного давления.
В альтернативных вариантах осуществления проникновение текучей среды, например воздуха, может осуществляться через одну или более областей устройства 278 для влажной уборки, отличных от выпускного отверстия 288 генератора пониженного давления и пор 192 пористого материала 168.
Однако в таких альтернативных вариантах осуществления конфигурация устройства 280 для генерации пониженного давления может, тем не менее, способствовать поддержанию пониженного давления путем (по меньшей мере) ограничения прохождения текучей среды из выпускного отверстия 288 генератора пониженного давления в направлении впускного отверстия (впускных отверстий) 142A для грязи.
В некоторых вариантах осуществления устройство 280 для генерации пониженного давления содержит клапанный узел 282, например, клапанный узел 282, описанный выше, расположенный между одной или более областями и впускным отверстием (впускными отверстиями) 142A для грязи, тем самым ограничивая обратный поток из одной или более областей к впускному отверстию (впускным отверстиям) 142A для грязи. В таких вариантах осуществления клапанный узел 142A может, например, ограничивать обратный поток из одной или более областей в дополнение к ограничению прохождения текучей среды из выпускного отверстия 288 генератора пониженного давления в направлении впускного отверстия 142A для грязи.
В более общем случае, устройство для влажной уборки в соответствии с другим аспектом настоящего изобретения содержит устройство 280 для генерации пониженного давления и чистящую головку 100, имеющую по меньшей мере одно впускное отверстие 142A, 142B для грязи, и пористый материал 168, покрывающий по меньшей мере одно впускное отверстие 142A, 142B для грязи. В некоторых вариантах осуществления пористый материал 168 содержит слой 114 пористого материала, прикрепленный с уплотнением по меньшей мере к одному впускному отверстию 142A, 142B для грязи. Чистящая головка 100 может быть выполнена, например, в соответствии с любым из вариантов осуществления, описанных в настоящем документе. В этом аспекте устройство 280 для генерации пониженного давления содержит генератор 178 пониженного давления, выполненный с возможностью обеспечения потока внутри устройства для влажной уборки для втягивания текучей среды по меньшей мере в одно впускное отверстие (впускные отверстия) для грязи через пористый материал 168, причем генератор 280 пониженного давления выполнен с возможностью управления потоком на основе давления внутри устройства для влажной уборки между пористым материалом 168 и генератором 178 пониженного давления, например, по меньшей мере в одном закрытом впускном отверстии 142A, 142B для грязи.
С помощью устройства 280 для генерации пониженного давления, управляющего потоком на основе давления внутри устройства для влажной уборки между пористым материалом 168 и генератором 178 пониженного давления, можно предпочтительно управлять переносом текучей среды через пористый материал 168. В некоторых неограничивающих примерах такое управление может минимизировать накопление пены в пористом материале 168 и ниже по потоку от него.
В некоторых вариантах реализации устройство 280 для генерации пониженного давления выполнено с возможностью управления потоком таким образом, что давление поддерживается на уровне заданного порогового значения давления или выше этого уровня.
Регулирование потока таким образом, чтобы поддерживать давление на уровне заданного порогового значения или выше него (другими словами, на уровне или ниже порогового значения пониженного давления), способствует стабильной и эффективной работе устройства 278 для влажной уборки. В частности, поддержание давления на уровне заданного порогового значения или выше него может означать, что генератор 178 пониженного давления может работать более эффективно, например, путем периодического отключения/выключения, таким образом, используя описанную выше способность пористого материала 168 способствовать поддержанию пониженного давления в закрытом впускном отверстии (впускных отверстиях) 142A, 142B для грязи.
Управление потоком также может способствовать управлению влажностью поверхности, подлежащей очистке, как описано ранее.
На фиг. 37A схематически изображены поры 192, например микропоры 192, слоя 168 пористого материала, заполненные жидкостью 190, например водой. Удерживаемая таким образом жидкость 190 может способствовать поддержанию пониженного давления во впускном отверстии (впускных отверстиях) 142A для грязи с подачей или без подачи потока генератором 178 пониженного давления, как описано ранее.
Как также объяснялось ранее, каждая пора 192 пористого материала 168 может иметь определенное давление разрушения, при котором поверхностное натяжение (остаточной) жидкости 190, находящейся в поре 192, больше не может выдерживать внутреннее пониженное давление и освобождает путь. Когда это происходит, пора 192 больше не может эффективно закрываться содержащейся в ней жидкостью, а вместо этого может начать переносить воздух во впускное отверстие (впускные отверстия) 142A для грязи.
Типичный насос, используемый в качестве генератора 178 пониженного давления, может представлять собой, например, насос с приводом от потока или объемный насос, такой как поршневой насос, и может достигать своего максимального рабочего давления, например, 20000 Па, когда пористый материал 168 заблокирован. Последнее может быть выше, чем среднее давление разрушения пористого материала 168, например, около 5000 Па, так что пористый материал 168 может начинать в определенный момент пропускать воздух.
Работа, например, с чистой водой в качестве жидкости 190 может представлять незначительные трудности, если таковые имеются. Однако может возникнуть проблема, когда в чистящую жидкость 190 включено пенообразующее моющее средство. Как показано на фиг. 37B, разрушенные поры 294 могут начать переносить воздух со скоростью генератора 178 пониженного давления, например, насоса, что может создать риск образования относительно большого количества пены 296, которое может, например, относительно быстро заполнить резервуар для сбора грязной жидкости (не видно на фиг. 37B).
В конкретном неограничивающем примере насос для упомянутого выше источника чистящей жидкости (не показан на фиг. 37B) подает поток чистящей жидкости с расходом 40 см3/мин. При этом для сбора может быть доступно только 40 см3 очищающей жидкости, например, воды. В данном примере генератор 178 пониженного давления, например, насос, обеспечивает поток около 150 см3/мин. Эта комбинация может генерировать по меньшей мере 150 см3/мин - 40 см3/мин = 110 см3/мин пены. Когда, например, резервуар для сбора грязной жидкости объемом 400 см3 включен в устройство 278 для влажной уборки, его объем может заполняться примерно за 4 минуты (или 10 минут при скорости сбора 40 см3/мин).
Это иллюстрирует, что быстрое накопление пены, если не приняты меры по исправлению положения, и, в частности, когда моющее средство на водной основе включено в чистящую жидкость, может привести к нарушению использования устройства 278 для влажной уборки. Такое нарушение может включать частые перерывы в очистке для опорожнения резервуара для сбора грязной жидкости.
Соответственно, упомянутое выше заданное пороговое значение давления может быть, например, установлено для предотвращения достижения давления разрушения по меньшей мере некоторых из пор 192, например, большинства или всех пор, пористого материала 168. Это может способствовать предотвращению проблем с эксплуатацией, связанных с пеной, при использовании моющего средства.
Пороговое значение давления может быть установлено/предварительно задано в соответствии с давлением разрушения пористого материала 168 (как измерено с использованием испытательной установки 166 и процедуры испытания, описанной выше). Соответственно, заданное пороговое значение давления может быть установлено для ограничения пониженного давления, другими словами, разности давлений внутри устройства для влажной уборки между пористым материалом и генератором пониженного давления и снаружи чистящей головки 100, например, атмосферным давлением, до (например, не более) значения в диапазоне от 2000 Па до 13500 Па, предпочтительно от 2000 Па до 12500 Па, более предпочтительно от 5000 Па до 9000 Па, наиболее предпочтительно от 7000 Па до 9000 Па.
Исследования показали, что чем выше пониженное давление, тем суше может стать поверхность, подлежащая очистке, как объяснялось ранее (см. Таблицу 1 выше). Это приводит к выводу, что устройство 278 для влажной уборки предпочтительно работает при давлении разрушения пористого материала 168.
Описанные выше исследования показали, что работа при пониженном давлении 5000 Па может обеспечить благоприятные результаты сушки поверхности. Следовательно, может быть образовано рабочее окно, в котором можно предотвратить образование пены. В таблице 3 приведен конкретный неограничивающий пример рабочих параметров приведенного в качестве примера устройства 278 для влажной уборки.
Таблица 3
Указанные выше параметры могут отражать то, что пористый материал 168 может проявлять обеспечивающую преимущество способность к сушке поверхности при 5000 Па и может начинать «разрушаться» только при 6500 Па.
Следовательно, пенообразование может быть сведено к минимуму или предотвращено путем регулирования давления, другими словами, выбора упомянутого выше порогового значения давления, так что пониженное давление за пористым материалом 168 не достигает давления разрушения пористого материала 168.
На фиг. 37C графически проиллюстрировано рабочее окно устройства влажной уборки, в частности, при запуске устройства влажной уборки. На фиг. 37C показано давление относительно атмосферного давления в зависимости от времени.
Давление разрушения BP пористого материала 168 можно рассматривать как отрицательное (относительно атмосферного давления). Соответственно, давление внутри устройства для влажной уборки между пористым материалом 168 и генератором 178 пониженного давления может поддерживаться выше этого отрицательного давления разрушения ВР. С другой стороны, если давление разрушения пористого материала представляет собой абсолютное давление (со ссылкой на вакуум, 0 Па), то давление внутри устройства для влажной уборки между пористым материалом 168 и генератором пониженного давления 178 может поддерживаться выше такого абсолютного давления, в частности, посредством управления потоком таким образом, чтобы поддерживать давление на уровне или выше заданного порогового значения PT.
На фиг. 37C также показана «безопасная зона» SZ, равная или больше чем заданное пороговое значение PT, при котором устройство для влажной уборки может работать без приближения к давлению разрушения BP пористого материала 168. Кроме того, на фиг. 37C показана оптимальная рабочая зона OZ, в которой требование избегать достижения давления разрушения BP пористого материала 168 сочетается с достижением достаточного сбора жидкости с поверхности, подлежащей очистке.
В более общем случае управление потоком на основе давления по меньшей мере в одном закрытом впускном отверстии 142A для грязи может быть достигнуто любым подходящим способом. В некоторых вариантах осуществления, например, в таком, как показан на фиг. 38, устройство 280 для генерации пониженного давления содержит датчик 180, выполненный с возможностью измерения давления внутри устройства для влажной уборки между пористым материалом 168 и генератором 178 пониженного давления, и контроллер 298, выполненный с возможностью управления генератором 178 пониженного давления для обеспечения потока на основе измеренного давления.
Контроллер 298, например, микроконтроллер, может принимать сигнал датчика от датчика 180, как показано на фиг. 38 стрелкой 300, и на основе сигнала датчика посылать управляющий сигнал 302 на генератор 178 пониженного давления.
Управляющий сигнал 302 может, например, запускать генератор 178 пониженного давления для его включения для обеспечения потока или отключения для прекращения потока. В альтернативном или дополнительном варианте осуществления управляющий сигнал 302 может в зависимости от сигнала 300 датчика вызывать увеличение или уменьшение потока. Отключение или уменьшение потока, обеспечиваемого генератором 178 пониженного давления, таким образом, может способствовать снижению энергопотребления устройства 278 для влажной уборки. Это может способствовать сохранению заряда батареи в примерах, в которых устройство для влажной уборки питается от батареи/выполнено с возможностью питания от батареи, и, таким образом, увеличивает время работы.
Управление потоком также может способствовать управлению влажностью поверхности, подлежащей очистке, как описано ранее.
В некоторых вариантах осуществления контроллер 298 выполнен с возможностью управления потоком, обеспечиваемым генератором 178 пониженного давления, так что давление внутри устройства для влажной уборки между пористым материалом 168 и генератором 178 пониженного давления поддерживается на уровне или выше упомянутого выше заданного порога давления. В неограничивающем примере генератор 178 пониженного давления может управлять генератором 178 пониженного давления для отключения, чтобы остановить или уменьшить поток, если измеренное значение давления указывает на то, что давление ниже заданного порогового значения давления.
В неограничивающем примере контроллер 298, например, содержащий или выполненный в виде пропорционального-интегрального регулятора, выполнен с возможностью сравнения измеренного давления с требуемым рабочим давлением (например, установленным со ссылкой на давление разрушения пористого материала 168, как описано ранее), и управления генератором 178 пониженного давления на основе этого сравнения.
В некоторых вариантах реализации датчик 180 выполнен с возможностью измерения значения давления по меньшей мере в одном из: полости 150 между пористым материалом 168 и по меньшей мере одним впускным отверстием 142A для грязи и трубкой 144A (или трубками 144A, 144B), соединяющей по меньшей мере одно впускное отверстие 142A для грязи с генератором 178 пониженного давления.
Измерение давления в полости 150 может обеспечивать особое преимущество, поскольку поток может быть отрегулирован более непосредственно в соответствии со свойствами пористого материала 168 во время использования.
Расположение датчика 180 таким образом, что измерение давления измеряется в трубке (трубках) 144A, 144B, может обеспечить относительно простой способ встраивания датчика 180 в устройство для влажной уборки.
В вариантах осуществления, в которых генератор 178 пониженного давления расположен ниже по потоку от резервуара для сбора грязной жидкости, датчик 180 также может быть расположен в резервуаре для сбора грязной жидкости. В таком сценарии высота резервуара для сбора грязной жидкости, например, расположенного на рукоятке или внутри нее, может создавать шум (dP=H*cos(α) * ρ*g, где H - высота резервуара для сбора грязной жидкости в вертикальном положении, α - угол рукоятки относительно вертикали). Однако этот шум может быть компенсирован включением датчика угла, например, акселерометра, в датчик 180.
В более общем случае датчик 180 может быть датчиком любого подходящего типа при условии, что датчик выполнен с возможностью измерения давления внутри устройства для влажной уборки между пористым материалом 168 и генератором 178 пониженного давления. Например, датчик содержит датчик давления, например, датчик давления на основе микроэлектромеханических систем (МЭМС).
В некоторых вариантах осуществления, например, в таком, как показан на фиг. 39, устройство 280 для генерации пониженного давления содержит механический регулятор 304, выполненный с возможностью управления потоком на основе давления внутри устройства для влажной уборки между пористым материалом 168 и генератором 178 пониженного давления.
Например, механический регулятор 304 может содержать клапан 306, 308, выполненный с возможностью управления сообщением по текучей среде между генератором 178 пониженного давления и по меньшей мере одним впускным отверстием 142A для грязи в соответствии с давлением по меньшей мере в одном закрытом впускном отверстии 142A для грязи.
В неограничивающем примере, показанном на фиг. 39, клапан 306, 308 содержит седло 306 клапана и клапанный элемент 308, выполненный с возможностью принятия начального положения, в котором клапанный элемент 308 отделен от клапанного седла 306 таким образом, чтобы обеспечить сообщение по текучей среде между генератором 178 пониженного давления и по меньшей мере одним впускным отверстием 142A для грязи, и закрытое положение, в котором клапанный элемент 308 примыкает к клапанному седлу 306 для ограничения сообщения по текучей среде между генератором 178 пониженного давления и по меньшей мере одним впускным отверстием 142A для грязи.
В некоторых вариантах реализации клапан 306, 308 выполнен таким образом, что клапанный элемент 308 под действием давления по меньшей мере в одном закрытом впускном отверстии 142A для грязи перемещается к седлу 306 клапана, когда давление ниже упомянутого выше заданного порогового значения давления.
Клапанный элемент 308 может быть выполнен, например, в виде гибкой резиновой мембраны, которая принимает плоский профиль в исходном положении и, соответственно, пространственно удалена от седла 306 клапана, когда в закрытом впускном отверстии (впускных отверстиях) 142A для грязи нет пониженного давления. После приведения в действие генератора 178 пониженного давления, например, насоса, может быть создано пониженное давление в закрытом впускном отверстии (впускных отверстиях) 142A для грязи и механическом регуляторе 304. Пониженное давление может воздействовать на открытую поверхность резиновой мембраны в механическом регуляторе 304, которая, следовательно, может начать отклоняться внутрь в направлении седла 306 клапана.
В этом неограничивающем примере пороговое давление может быть установлено/задано расстоянием между гибкой резиновой мембраной и седлом 306 клапана. Чем больше это расстояние, тем выше пониженное давление (или, что эквивалентно, ниже давление) в закрытом впускном отверстии (впускных отверстиях) 142A для грязи, необходимое для деформации резиновой мембраны для контакта с седлом 306 клапана.
После достижения пониженным давлением уровня, который заставляет резиновую мембрану контактировать с седлом клапана, сообщение по текучей среде между генератором 178 пониженного давления и пористым материалом 168 может быть прекращено, тем самым предотвращая достижение пониженным давлением более высоких уровней, чем те, которые установлены механическим регулятором 304. Генератор 178 пониженного давления может продолжать работать с той же скоростью в направлении своего максимального рабочего пониженного давления. Когда пониженное давление в закрытом впускном отверстии (впускных отверстиях) 142A для грязи снижается, гибкая мембрана может перемещаться назад в упомянутое выше плоское состояние, тем самым открывая клапан 306, 308 и позволяя генератору 178 пониженного давления восстановить требуемый уровень пониженного давления.
В другом неограничительном примере механический регулятор 304 содержит переключатель, приведение в действие которого управляет генератором 178 пониженного давления, и отклоняемый элемент, например мембрану, выполненный с возможностью приведения в действие переключателя в ответ на давление.
Такой механический регулятор, в данном случае электромеханический регулятор, может быть выполнен с возможностью приведения в действие мембраной переключателя, например, для включения генератора 178 пониженного давления, когда, например, давление равно заданному пороговому значению давления или превышает его.
Такая структура переключатель-мембрана может обеспечить простой и недорогой способ управления потоком на основе давления без необходимости в дополнительном контроллере, например, микроконтроллере.
В некоторых вариантах реализации, таких как показанные на фиг. 40 и 41, генератор 178 пониженного давления сам по себе содержит насос, выполненный с возможностью управления потоком в ответ на давление по меньшей мере в одном закрытом отверстии 142A для грязи.
Такой насос можно рассматривать как насос с ограниченным давлением. Насос с ограниченным давлением выполнен с возможностью создания определенного перепада давления в трубке, к которой он присоединен. В принципе, это давление насоса может быть настроено на давление, необходимое для пористого материала 168, покрывающего впускное отверстие (впускные отверстия) 142A для грязи.
Насос с ограниченным давлением может содержать центробежный насос или являться им. Насос, например, центробежный насос, может представлять собой насос для жидкости или содержать его. Например, такой насос для жидкости может быть расположен между впускным отверстием (впускными отверстиями) 142A для грязи и резервуаром 310 для сбора грязной жидкости.
В неограничивающем примере, показанном на фиг. 40, генератор 178 пониженного давления, например, центробежный и/или насос для жидкости, расположен в чистящей головке 100.
В альтернативном варианте насос, например, центробежный насос, может представлять собой воздушный насос или содержать его. Такой воздушный насос может быть расположен ниже по потоку от резервуара 310 для сбора грязной жидкости.
Следует отметить, что резервуар 310 для сбора грязной жидкости может быть расположен на рукоятке на определенной высоте 312, например, 0,5 м. Таким образом, может потребоваться дополнительный напор воды:
При учете положения рукоятки, в том числе положения, в котором рукоятка лежит плашмя на горизонтальной поверхности 218, подлежащей очистке, например, поверхности пола (в котором напор воды становится нулевым), изменение давления на пористый материал 168 может быть равно его рабочему давлению. Последнее может быть решено путем прикрепления трубки 144A на фиксированной высоте относительно пола, независимо от положения рукоятки, например, путем прикрепления (части) резервуара 310 для сбора грязной жидкости непосредственно к пористому материалу 168.
На фиг. 41 схематически изображено устройство 278 для влажной уборки, в котором давление регулируется с использованием воздушного насоса с ограниченным давлением генератора 178 пониженного давления, например, центробежного воздушного насоса. Это может обеспечить преимущества при запуске по сравнению с примером, показанным на фиг. 40, поскольку насос всегда может работать с использованием воздуха, тем самым гарантируя, что насос способен создавать требуемое пониженное давление при запуске (с полностью сухим пористым материалом 168).
В некоторых вариантах осуществления генератор 178 пониженного давления, независимо от его конструкции, выполнен таким образом, что расход, при подаче потока, находится в диапазоне от 40 до 2000 см3/мин, более предпочтительно от 80 до 750 см3/мин и наиболее предпочтительно от 100 до 300 см3/мин.
Такой поток, то есть расход, может извлекать выгоду из способности пористого материала удерживать пониженное давление и может обеспечивать достаточный сбор жидкости при одновременном ограничении потребления энергии, как описано ранее.
В более общем случае, устройство 278 для влажной уборки может представлять собой или содержать, например, устройство для влажной протирки, средство для чистки окон, подметальную машину или пылесос для влажной уборки, такой как пылесос для влажной уборки контейнерного типа, ручного типа или пылесос для влажной уборки вертикального типа.
В конкретном неограничивающем примере устройство 278 для влажной уборки представляет собой устройство для влажной уборки с питанием от батареи (или выполненное с возможностью питания от батареи), такое как устройство для влажной протирки с питанием от батареи (или выполненное с возможностью питания от батареи), в котором генератор 178 пониженного давления, например, насос, питается (или выполнен с возможностью питания) от батареи, электрически соединенной (или выполненной с возможностью подключения к нему) с ним. Особого внимания заслуживает этот пример вследствие описанного выше эффекта снижения энергопотребления, который может быть обеспечен пористым материалом 168, покрывающим впускное отверстие (впускные отверстия) 142A, 142B для грязи, к которому обеспечено всасывание генератора 178 пониженного давления.
На фиг. 42 схематически изображено приведенное в качестве примера устройство 278 для влажной уборки в виде пылесоса для влажной уборки. В этом неограничивающем примере устройство 278 для влажной уборки содержит описанный выше резервуар 310 для сбора грязной жидкости и резервуар 313 для чистящей жидкости. Чистящая головка 100, входящая в состав пылесоса для влажной уборки, может перемещаться по поверхности 218, подлежащей уборке, в данном примере с помощью колес 314, входящих в состав пылесоса для влажной уборки.
Устройство 278 для влажной уборки в некоторых примерах может представлять собой роботизированный пылесос для влажной уборки или роботизированное устройство для влажной протирки или содержать такое устройство, выполненное с возможностью автономного перемещения чистящей головки 100 по поверхности, подлежащей очистке, такой как поверхность пола.
На фиг. 43 схематически изображено приведенное в качестве примера устройство 278 для влажной уборки в виде роботизированного пылесоса для влажной уборки. Роботизированный пылесос для влажной уборки может автономно перемещаться по поверхности 218, подлежащей очистке, например, посредством автоматического управления колесами 314.
Чистящая жидкость, хранящаяся в резервуаре 313 для чистящей жидкости, может быть подана на поверхность, подлежащую очистке, и жидкость может быть собрана через закрытое впускное отверстие (впускные отверстия) 142A для грязи чистящей головки 100 и собрана в резервуаре 310 для сбора грязной жидкости во время автономного перемещения роботизированного пылесоса для влажной уборки. Генератор 278 пониженного давления/устройство 280 для генерации пониженного давления и/или источник чистящей жидкости также могут работать с автоматическим управлением.
Другие модификации описанных выше вариантов осуществления могут быть поняты и осуществлены специалистами при реализации заявленного изобретения после изучения чертежей, настоящего описания и пунктов формулы. В формуле изобретения слово «содержащий» не исключает наличия других элементов или этапов, а грамматические показатели единственного числа не исключают множества. Сам факт того, что определенные меры изложены в отличающихся друг от друга зависимых пунктах формулы изобретения, не означает, что сочетание этих мер не может быть использовано для получения преимущества. Никакие ссылочные обозначения в формуле изобретения не следует рассматривать как ограничивающие объем изобретения.
| название | год | авторы | номер документа |
|---|---|---|---|
| УСТРОЙСТВО ДЛЯ ВЛАЖНОЙ УБОРКИ И ЧИСТЯЩАЯ ГОЛОВКА | 2023 |
|
RU2826284C2 |
| ЧИСТЯЩАЯ ГОЛОВКА И УСТРОЙСТВО ДЛЯ ВЛАЖНОЙ УБОРКИ, СОДЕРЖАЩЕЕ ЕЕ | 2023 |
|
RU2826257C2 |
| ПЫЛЕСОС С ЧИСТЯЩЕЙ ГОЛОВКОЙ | 2003 |
|
RU2312580C2 |
| УСТРОЙСТВО ОЧИСТКИ С ЗАТОПЛЯЕМОЙ КАМЕРОЙ | 2007 |
|
RU2450869C2 |
| УСТРОЙСТВО ДЛЯ ГЛУБОКОЙ ЧИСТКИ СО СЪЕМНЫМ МОДУЛЕМ | 2012 |
|
RU2583899C2 |
| МАШИНА ДЛЯ ЧИСТКИ ПОВЕРХНОСТЕЙ С ЗАКРЫВАЮЩИМ УСТРОЙСТВОМ ДЛЯ УСТРОЙСТВА ДЛЯ СБОРА ГРЯЗНОЙ ЖИДКОСТИ | 2017 |
|
RU2733363C1 |
| УСТРОЙСТВО ДЛЯ ВЛАЖНОЙ УБОРКИ | 2021 |
|
RU2834262C1 |
| УСТРОЙСТВО ДЛЯ УДАЛЕНИЯ ОБРАЗУЕМОГО ЖИДКИМ ЛАКОМ КРАСОЧНОГО ТУМАНА | 2006 |
|
RU2392062C2 |
| ПЕРЕНОСНОЙ ВАКУУМНЫЙ ОЧИСТИТЕЛЬ | 2014 |
|
RU2675920C2 |
| СПОСОБ И УСТРОЙСТВО ДЛЯ ВНЕСЕНИЯ ВСПОМОГАТЕЛЬНОГО МАТЕРИАЛА | 2008 |
|
RU2465964C2 |
Предложено устройство (278) для влажной уборки, содержащее чистящую головку (100) и устройство (280) для генерации пониженного давления. Чистящая головка имеет по меньшей мере в одно впускное отверстие (142A) для грязи и пористый материал (168), покрывающий по меньшей мере одно впускное отверстие для грязи. Устройство для генерации пониженного давления содержит генератор (178) пониженного давления, выполненный с возможностью обеспечения потока внутри устройства для влажной уборки для втягивания текучей среды в по меньшей мере одно впускное отверстие для грязи через пористый материал. Устройство для генерации пониженного давления выполнено с возможностью управления потоком на основе давления внутри устройства для влажной уборки между пористым материалом и генератором пониженного давления. Технический результат заявленного изобретения заключается в повышении эффективности использования устройства для влажной уборки. 15 з.п. ф-лы, 43 ил.
1. Устройство (278) для влажной уборки, содержащее:
чистящую головку (100), имеющую по меньшей мере одно впускное отверстие (142А, 142В) для грязи, и пористый материал (168), покрывающий по меньшей мере одно впускное отверстие для грязи; и
устройство (280) для генерации пониженного давления, содержащее генератор (178) пониженного давления, выполненный с возможностью обеспечения потока внутри устройства для влажной уборки для втягивания текучей среды по меньшей мере в одно впускное отверстие для грязи через пористый материал, причем устройство для генерации пониженного давления выполнено с возможностью управления потоком на основе давления внутри устройства для влажной уборки между пористым материалом и генератором пониженного давления.
2. Устройство (278) для влажной уборки по п. 1, в котором устройство (280) для генерации пониженного давления выполнено с возможностью управления потоком таким образом, что указанное давление поддерживается на уровне заданного порогового значения давления или выше него; причем пороговое значение давления установлено для ограничения разности давлений внутри устройства для влажной уборки и снаружи чистящей головки до значения в диапазоне от 2000 до 13500 Па.
3. Устройство (278) для влажной уборки по п. 1 или 2, в котором устройство (280) для генерации пониженного давления содержит:
датчик (180), выполненный с возможностью измерения значения давления; и контроллер (298), выполненный с возможностью управления генератором (178) пониженного давления для обеспечения потока на основе измеренного значения давления.
4. Устройство (278) для влажной уборки по п. 3, в котором датчик (180) выполнен с возможностью измерения давления по меньшей мере в одном из: полости (150) между пористым материалом (168) и по меньшей мере одним впускным отверстием (142А, 142В) для грязи; и трубке, соединяющей по меньшей мере одно впускное отверстие (142А, 142В) для грязи с генератором (178) пониженного давления.
5. Устройство (278) для влажной уборки по любому из пп. 1-4, в котором устройство (280) для генерации пониженного давления содержит механический регулятор (304), выполненный с возможностью управления потоком на основе давления.
6. Устройство (278) для влажной уборки по п. 5, в котором механический регулятор (304) содержит клапан (306, 308), выполненный с возможностью управления сообщением по текучей среде между генератором (178) пониженного давления и по меньшей мере одним впускным отверстием (142А, 142В) для грязи.
7. Устройство (278) для влажной уборки по п. 6, в котором клапан (306, 308) содержит седло (306) клапана и клапанный элемент (308), выполненный с возможностью принятия начального положения, в котором клапанный элемент отделен от клапанного седла таким образом, чтобы обеспечить сообщение по текучей среде между генератором пониженного давления и по меньшей мере одним впускным отверстием (142А, 142В) для грязи, и закрытого положения, в котором клапанный элемент примыкает к седлу клапана для ограничения сообщения по текучей среде между генератором пониженного давления и по меньшей мере одним впускным отверстием для грязи.
8. Устройство (278) для влажной уборки по п. 7, в котором клапан (306, 308) выполнен таким образом, что клапанный элемент (308) выполнен с возможностью перемещения под действием давления по меньшей мере в одном закрытом впускном отверстии (142А, 142В) для грязи к седлу (306) клапана, когда давление ниже заданного порогового значения давления.
9. Устройство (278) для влажной уборки по любому из пп. 1-8, в котором генератор (178) пониженного давления содержит насос, выполненный с возможностью управления указанным потоком в ответ на давление в узле закрытых впускных отверстий для грязи; причем насос содержит центробежный насос.
10. Устройство (278) для влажной уборки по п. 9, в котором насос содержит насос для жидкости, причем насос для жидкости расположен в чистящей головке (100) или в рукоятке, соединенной с чистящей головкой.
11. Устройство (278) для влажной уборки по любому из пп. 1-10, содержащее резервуар (310) для сбора грязной жидкости для сбора жидкости, причем устройство (280) для генерации пониженного давления выполнено таким образом, что указанный поток всасывает жидкость из по меньшей мере одного впускного отверстия (142А, 142В) для грязи в резервуар для сбора грязной жидкости.
12. Устройство (278) для влажной уборки по п. 11, в котором насос содержит воздушный насос, расположенный ниже по потоку от резервуара (310) для сбора грязной жидкости.
13. Устройство (278) для влажной уборки по любому из пп. 1-12, в котором пористый материал (168) содержит слой (114) пористого материала, прикрепленный с уплотнением по меньшей мере к одному впускному отверстию (142А, 142В) для грязи.
14. Устройство (278) для влажной уборки по любому из пп. 1-13, в котором чистящая головка (100) содержит по меньшей мере одно выпускное отверстие (104) для чистящей жидкости, через которое подается чистящая жидкость и в котором устройство для влажной уборки содержит источник чистящей жидкости, содержащий резервуар (313) для чистящей жидкости для размещения чистящей жидкости, причем резервуар для чистящей жидкости выполнен с возможностью сообщения по текучей среде или сообщается по текучей среде с по меньшей мере одним выпускным отверстием для чистящей жидкости.
15. Устройство (278) для влажной уборки по любому из пп. 1-14, в котором устройство для влажной уборки представляет собой устройство для влажной протирки и/или в котором генератор (178) пониженного давления выполнен таким образом, что поток, при его подаче, находится в диапазоне от 15 до 2000 см3/мин, предпочтительно от 40 до 2000 см3/мин, более предпочтительно от 80 до 750 см3/мин и наиболее предпочтительно от 100 до 300 см3/мин.
16. Устройство (278) для влажной уборки по любому из пп. 1-15, в котором генератор (178) пониженного давления выполнен с возможностью обеспечения расхода через пористый материал (168), который меньше чем или равен 2000 см3/мин.
| Станок для придания концам круглых радиаторных трубок шестигранного сечения | 1924 |
|
SU2019A1 |
| KR 940001037 Y1, 25.02.1994 | |||
| WO 2016008773 A1, 21.01.2016 | |||
| US 2010236018 A, 23.09.2010 | |||
| ПЫЛЕСОС С ЧИСТЯЩЕЙ ГОЛОВКОЙ | 2003 |
|
RU2312580C2 |
Авторы
Даты
2025-02-03—Публикация
2023-01-09—Подача