ОБЛАСТЬ ТЕХНИКИ
Настоящее изобретение относится к устройствам для влажной уборки, а в частности к пылесосам для влажной уборки.
УРОВЕНЬ ТЕХНИКИ
Традиционно очистка твердых полов включала первоначальную обработку пола пылесосом с последующим его мытьем. Обработка пылесосом удаляет мелкую пыль и крупную грязь, в то время как мытье удаляет любую очень мелкую пыль и пятна.
В настоящее время на рынке представлено множество коммерчески доступных бытовых приспособлений, которые предполагают обработку пылесосом и мытье за один прием, и это то, что называют «пылесосом для влажной уборки». Многие из этих приспособлений имеют вакуумную насадку для улавливания крупной грязи посредством воздушного потока и (влажную) ткань или щетку для удаления пятен. Эти влажные ткани или щетки могут быть предварительно смоченными или могут быть смочены пользователем, но в некоторых случаях они также могут смачиваться самим приспособлением (посредством жидкости, а также посредством пара).
В этом случае пылесос для влажной уборки должен быть способен собирать влажную грязь с пола и переносить ее в контейнер для грязи. Это достигается использованием потока, создаваемого двигателем и узлом вентилятора. Влажная грязь и жидкость в виде капель должны быть отделены от воздушного потока. Влажная грязь и жидкость попадают в контейнер для грязи, в то время как остальной воздушный поток проходит через вентилятор и любые блоки последующей фильтрации и выходит из приспособления.
Известно, что для отделения жидкой и влажной грязи от воздушного потока используют сепараторные блоки лабиринтного, фильтрующего или циклонного типа.
Сложной задачей остается повышение эффективности отделения в таких сепараторных блоках, в частности во время возвратно-поступательного перемещения пылесоса для влажной уборки во время уборки. Такое перемещение может привести к тому, что жидкость, собранная в контейнере, будет повторно захвачена в отделенным воздушным потоком, в результате чего жидкость будет проходить дальше по потоку в направлении двигателя. Это может привести к повреждению двигателя и, таким образом, может поставить под угрозу надежность пылесоса для влажной уборки.
В US 2693000 A раскрыт инструмент с ручным управлением, который является автономным и сконструирован и скомпонован таким образом, что жидкость эффективно меняет направление для предотвращения попадания влаги в воздушный поток и, таким образом, в пылесос, с которым он может быть использован. Инструмент снабжен новым и улучшенным клапанным средством, которое при манипулировании делает всасывающее средство неэффективным, так что инструмент может использоваться для целей очистки, при этом клапанное средство выполнено с возможностью регулировки в дополнительное положение, при котором жидкость, переносимая инструментом, может протекать под действием силы тяжести управляемым образом по поверхности, подлежащей очистке. Клапанное средство может быть дополнительно отрегулировано до такого положения, при котором вакуумное или всасывающее средство становится эффективным для всасывания жидкости, смешанной с грязью, с поверхности пола в инструмент, тем самым оставляя поверхность пола чистой и практически сухой.
РАСКРЫТИЕ СУЩНОСТИ ИЗОБРЕТЕНИЯ
Настоящее изобретение определено пунктами сопутствующей формулы изобретения.
Предложено устройство для влажной уборки, содержащее: чистящую головку для очистки поверхности, подлежащей очистке, причем чистящая головка имеет впускное отверстие для грязи; двигатель и вентилятор для обеспечения возможности всасывания во впускном отверстии для грязи; сепараторный блок для отделения воды от потока воздуха, создаваемого всасыванием; контейнер для сбора отделенной воды, причем контейнер имеет верхнюю часть и нижнюю часть, и боковую часть между верхней и нижней частями; воздушный канал, предусмотренный в контейнере для пропускания воздуха, отделенного от воды, в направлении двигателя и вентилятора, причем воздушный канал пространственно отделен от нижней части контейнера; ручку для захвата пользователем устройства, при этом ручка, чистящая головка и контейнер расположены так, что пользователь, толкающий ручку, вызывает перемещение вперед по меньшей мере чистящей насадки и контейнера, а пользователь, тянущий ручку, вызывает перемещение назад указанных по меньшей мере чистящей насадки и контейнера в направлении пользователя, при этом вода, собранная в контейнере, выплескивается на боковую часть контейнера во время продвижения; используемый при необходимости шарнирный узел между чистящей головкой и контейнером, при этом шарнирный узел обеспечивает возможность наклона контейнера в направлении пользователя, захватившего ручку, в то время как впускное отверстие для грязи продолжает обеспечивать всасывание на поверхности, подлежащей очистке; и направляющий воду элемент герметично примыкающий к боковой части, причем направляющий воду элемент выступает назад из боковой части, тем самым препятствуя продолжению выплескивания воды в боковой части от продолжения перемещения вдоль боковой части в направлении воздушного канала.
При проталкивании контейнера вместе с чистящей головкой в прямом направлении может создаваться волна, перемещающаяся в направлении боковой части контейнера по окончании перемещения. Такие волны могут порождать капли воды, которые попадают в воздух вблизи пути для отделенного воздушного потока между сепараторным блоком и воздушным каналом. Это может поставить под угрозу надежную работу устройства для влажной уборки, поскольку образующиеся таким образом капли воды могут попасть в воздушный канал и дальше по потоку в направлении двигателя.
При помощи направляющего воду элемента плотно примыкающего к боковой части, и выступающего внутрь контейнера в обратном направлении от боковой части, направляющий воду элемент препятствует продолжению перемещения воды, выплескивающейся на боковую часть, вдоль боковой части в направлении воздушного канала. Направляющий воду элемент может способствовать рассеянию энергии таких волн и, таким образом, предотвращать контакт образованных капель воды с потоком отделенного воздуха.
Самый длинный боковой выступ направляющего воду элемента от боковой части, измеренный перпендикулярно боковой части, может составлять по меньшей мере 5 мм. Было установлено, что такой минимальный боковой выступ является достаточным для эффективного предотвращения выплескивания воды на боковую часть в направлении воздушного канала.
Предпочтительно, самый длинный боковой выступ составляет от 10 до 50 мм, например около 20 мм. Дополнительно или в качестве альтернативы самый длинный боковой выступ может составлять до 75% от внутренней ширины контейнера. Это обеспечивает баланс между требованием предотвращения продвижения воды вдоль боковой части в направлении воздушного канала, с требованием обеспечения достаточного пространства внутри контейнера для других компонентов устройства для влажной уборки. Верхний предел 50 мм и/или до 75% от внутренней ширины контейнера также может способствовать минимизации возможности того, что направляющий воду элемент будет препятствовать прохождению отделенной воды по направлению к нижней части контейнера.
Направляющий воду элемент может содержать периферийную запорную область или уплотнительную часть для плотного примыкания направляющего воду элемента к боковой части.
Толщина направляющего воду элемента может увеличиваться в направлении участка боковой части, к которой плотно примыкает периферийная запорная область или уплотнительная часть. Это может способствовать тому, чтобы периферийная запорная область или уплотнительная часть обеспечила плотное примыкание направляющего воду элемента к боковой части контейнера. Это, в свою очередь, может способствовать тому, чтобы направляющий воду элемент препятствовал продвижению воды, выплескиваемой на боковую часть, в направлении воздушного канала.
Направляющий воду элемент может содержать поверхность, обращенную в сторону от воздушного канала. Эта поверхность может входить в контакт с водой, выплескивающейся на боковую часть контейнера.
Например, направляющий воду элемент может содержать искривленную поверхность, которая выполнена искривленной от поверхности в направлении периферийной запорной области или уплотнительной части. Искривленная поверхность может способствовать направлению воды на направляющем воду элементе в направлении боковой части и нижней части контейнера.
Уплотнительная часть может быть выполнена из эластомерного материала. Например, эластомерный материал может содержать силиконовый каучук.
Направляющий воду элемент может содержать первую поверхность и/или вторую поверхность для контакта с водой, выплескивающейся на боковую часть.
В одном варианте осуществления первая поверхность проходит от боковой части, а вторая поверхность проходит от первой поверхности.
Первая поверхность может проходить перпендикулярно боковой части. В качестве альтернативы первая поверхность может быть наклонена в направлении верхней части контейнера.
Вторая поверхность может отклоняться в направлении нижней части контейнера таким образом, чтобы направлять на ней воду в сторону от воздушного канала.
В качестве альтернативы, когда первая поверхность наклонена в направлении верхней части контейнера, вторая поверхность может проходить в направлении, которое является перпендикулярным к боковой части.
В целом, отклоняющая вторая поверхность, проходящая от первой поверхности, может снизить риск того, что вода, вытекающая из направляющего воду элемента воздействует, например, на трубу, подающую воздушный поток в сепараторный блок. Таким образом, отклоняющая вторая поверхность может снизить риск образования капель воды, которые могут быть повторно захвачены в отделенный воздушный поток.
В одном варианте осуществления направляющий воду элемент содержит первую поверхность и вторую поверхность, и вторая поверхность искривлена от первой поверхности в направлении нижней части контейнера и/или в направлении боковой части. Это может способствовать тому, чтобы направляющий воду элемент направлял воду, выплескиваемую на боковую часть, в сторону от воздушного канала.
Направляющий воду элемент может быть выполнен с возможностью отсоединения от боковой части. Это может способствовать очистке контейнера. В качестве альтернативы направляющий воду элемент может быть постоянно прикреплен к боковой части.
Внутренняя поверхность боковой части может быть выполнена дугообразной таким образом, что внутренняя поверхность искривлена наружу в прямом направлении. Эта дугообразная внутренняя поверхность может действовать в качестве волногасителя для содействия рассеянию энергии волны воды, перемещающейся в направлении боковой части во время проталкивания контейнера и чистящей головки в прямом направлении.
Устройство для влажной очистки может содержать внутреннюю стенку, проходящую от верхней части в направлении нижней части контейнера. Таким образом, между контейнером и внутренней стенкой может быть образовано пространство; вода, собранная в нижней части контейнера, может быть принята в указанном пространстве, когда контейнер ориентирован так, что собранная вода перемещается по направлению от нижней части к верхней части контейнера. Внутренняя стенка может быть выполнена с возможностью предотвращения попадания воды, поступившей в пространство, в воздушный канал.
Таким образом, внутренняя стенка способствует защите двигателя от повреждения при попадании воды в воздушный канал, в частности, когда устройство для влажной уборки наклонено для уборки под мебелью. Кроме того, внутренняя стенка может способствовать предотвращению связанного с выплескиванием попадания воды в воздушный канал в результате вытягивания контейнера и чистящей головки в обратном направлении.
Внутренняя стенка может плотно примыкать к контейнеру. Внутренняя стенка может быть выполнена с возможностью отсоединения от контейнера или внутренней стенки, а контейнер может быть выполнен за одно целое.
Внутренняя стенка может содержать первую запорную область, которая примыкает к верхней части контейнера. Дополнительно или в качестве альтернативы внутренняя стенка содержит вторые запорные области, каждая вторая запорная область примыкает к соответствующей боковой части контейнера.
Запорные области могут быть выполнены из того же материала, что и остальная часть внутренней стенки, например, из технического термопласта, такого как полипропилен.
Запорные области содействуют плотному примыканию к внутренней стенке контейнера. Это, в свою очередь, способствует тому, что внутренняя стенка предотвращает попадание воды, поступившей в пространство, в воздушный канал. Кроме того, в некоторых примерах, запорные области могут способствовать отсоединению внутренней стенки от контейнера.
В одном варианте осуществления толщина внутренней стенки увеличивается в направлении одной или более, например каждой, из первой и второй запорных областей. Это может способствовать плотному примыканию внутренней стенки к контейнеру и, таким образом, эффективно блокировать попадание воды в пространство в направлении воздушного канала.
Сепараторный блок и направляющий воду элемент могут быть включены в съемный блок. Съемный блок может быть выполнен с возможностью отсоединения от контейнера. Отсоединение съемного блока может способствовать очистке внутри контейнера.
Когда устройство для влажной уборки также включает в себя внутреннюю стенку, внутренняя стенка также может быть включена в съемный блок. Отсоединение внутренней стенки вместе с сепараторным блоком и направляющим воду элементом может способствовать очистке контейнера, в частности, в пространстве между контейнером и внутренней стенкой.
Сепараторный блок может содержать по меньшей мере одно, выбранное из сепараторного блока лабиринтного типа, сепараторного блока фильтрующего типа и сепараторного блока циклонного типа.
Устройство для влажной уборки может содержать трубу для подачи воздушного потока в сепараторный блок.
В одном варианте осуществления труба проходит в центральной области контейнера в направлении чашки. Таким образом, труба может отделять воду, перемещающуюся в направлении боковой части, когда контейнер толкают вместе с чистящей головкой в прямом направлении в сторону от пользователя, осуществившего захват рукоятки. Разделение собранной воды указанным образом способствует рассеянию энергии волны воды, перемещающейся в направлении боковой части во время проталкивания в прямом направлении.
Этому может, например, способствовать описанная выше дугообразная внутренняя поверхность боковой части. Разделенные потоки могут быть направлены навстречу друг другу вокруг дугообразной внутренней поверхности и могут сталкиваться друг с другом в горизонтальной плоскости контейнера.т Такое горизонтальное столкновение потоков может способствовать минимизации вертикального перемещения воды в направлении воздушного канала.
В альтернативном или дополнительном варианте сепараторный блок может содержать чашку, в которой размещен конец трубы. Чашка вызывает изменение направления потока таким образом, что вода, захваченная воздухом, всасываемым из впускного отверстия для грязи, отбрасывается на внутреннюю поверхность чашки и тем самым отделяется от потока воздуха. Данная конструкция «трубы в чашке» может рассматриваться в качестве примера сепараторного блока лабиринтного типа.
В различных вариантах реализации направляющий воду элемент расположен ниже, предпочтительно существенно ниже, выхода трубы для подачи указанного воздушного потока в сепараторный блок. Таким образом, гарантируется, что жидкость, которая однажды отделена от входящего воздушного пара, не смешивается/не смешивается с отделенным воздушным потоком снова.
КРАТКОЕ ОПИСАНИЕ ЧЕРТЕЖЕЙ
Примеры настоящего изобретения будут подробно описаны далее со ссылкой на сопроводительные чертежи, на которых:
на фиг. 1 схематически изображено устройство для влажной уборки в соответствии с примером;
на фиг. 2 схематически изображено перемещение воды в контейнере устройства для влажной уборки при наклоне контейнера;
на фиг. 3 схематически изображен контейнер, наклоненный аналогично устройству для влажной уборки, показанному на фиг. 2, имеющий внутреннюю стенку;
на фиг. 4 схематически изображено перемещение воды в контейнера при наклоне контейнера в сторону от ориентации, показанной на фиг. 3;
на фиг. 5 схематически изображено перемещение воды в контейнере устройства для влажной уборки, содержащем направляющий воду элемент, примыкающий к боковой части контейнера;
фиг. 6 изображены виды внутренней части приведенного в качестве примера устройства для влажной уборки;
на фиг. 7 показана часть устройства для влажной уборки в соответствии с примером;
на фиг. 8 показан вид сверху контейнера приведенного в качестве примера устройства для влажной уборки, показывающего перемещение воды в контейнере;
на фиг. 9 показан вид сверху контейнера другого приведенного в качестве примера устройства для влажной уборки, показывающего перемещение воды в контейнере;
на фиг. 10A-10E схематически изображены различные приведенные в качестве примера направляющие воду элементы;
на фиг. 11 представлен вид в перспективе направляющего воду элемента в соответствии с другим примером;
на фиг. 12 показана часть устройства для влажной уборки, содержащего направляющий воду элемент, показанный на фиг. 11;
на фиг. 13 показана часть устройства для влажной уборки в соответствии с примером;
на фиг. 14 показан вид в разрезе части приведенного в качестве примера устройства для влажной уборки, включающего в себя сепараторный блок;
на фиг. 15 показан вид в перспективе части, показанной на фиг. 14, собранной в контейнере устройства для влажной уборки;
на фиг. 16 показан вид в разрезе части другого примера устройства для влажной уборки, включающего в себя сепараторный блок;
на фиг. 17 схематически изображено устройство для влажной уборки в соответствии с примером;
на фиг. 18 представлен вид в перспективе сепараторного блока, включенного в устройство для влажной уборки, показанного на фиг. 17, с иллюстрацией, которая предоставляет увеличенный вид кромки выпускного элемента, включенного в сепараторный блок;
на фиг. 19 представлен вид в разрезе части устройства для влажной уборки, включающего в себя сепараторный блок в соответствии с одним примером; и
на фиг. 20 показано устройство для влажной уборки в соответствии с одним примером.
ОСУЩЕСТВЛЕНИЕ ИЗОБРЕТЕНИЯ
Настоящее изобретение будет описано со ссылкой на чертежи.
Следует понимать, что хотя подробное описание в разделе "Осуществление изобретения" и конкретные примеры представляют примеры вариантов осуществления устройств, систем и способов, они предназначены исключительно для целей иллюстрации и не предназначены для ограничения объема настоящего изобретения. Эти и другие признаки, аспекты и преимущества устройств, систем и способов согласно настоящему изобретению станут более понятными из нижеследующего описания, прилагаемой формулы изобретения и сопроводительных чертежей. Следует понимать, что фигуры являются просто схематическими и не обязательно выполнены в масштабе. Кроме того, следует понимать, что одинаковые ссылочные позиции использованы на всех фигурах для обозначения одинаковых или аналогичных деталей.
Предложено устройство для влажной уборки, такое как пылесос для влажной уборки. Устройство для влажной уборки содержит чистящую головку для очистки поверхности, подлежащей очистке. Чистящая головка имеет впускное отверстие для грязи. Двигатель и вентилятор обеспечивают всасывание во впускном отверстии для грязи. Устройство для влажной уборки включает в себя сепараторный блок для отделения воды от потока воздуха, создаваемого всасыванием. Отделенная вода собирается в контейнере. Контейнер имеет верхнюю часть и нижнюю часть, а также боковую часть, проходящую между ними. Отделенный воздух проходит из контейнера в направлении двигателя и вентилятора через воздушный канал. Воздушный канал пространственно отделен от нижней части контейнера. Устройство для влажной уборки имеет ручку для захвата пользователем устройства. Пользователь, толкающий ручку, вызывает перемещение вперед по меньшей мере чистящей головки и контейнера, а пользователь, тянущий ручку, вызываетперемещение назад указанных по меньшей мере чистящий головки и контейнера в направлении пользователя. Вода, собранная в контейнере, выплескивается на боковую часть контейнера, когда пользователь продвигает чистящую головку и контейнер вперед. Направляющий воду элемент плотно примыкает к боковой части и выступает внутрь контейнера в обратном направлении от боковой части, чтобы тем самым предотвратить продолжение перемещения воды, выплескиваемой на боковую часть, вдоль боковой части в направлении воздушного канала.
Когда устройство для влажной уборки толкают вперед и тянут назад, относительно высокие скорости воды, собранной в контейнере, могут привести к образованию относительно больших волн в конце соответствующего движения проталкивания/вытягивания. «Выплескивание» воды является результатом относительно высоких динамических потоков, создаваемых во время перемещения устройства для влажной уборки вперед и назад. Из-за относительно высоких скоростей такие волны могут создавать новые капли, которые попадают в воздух, например, в положении, близком к пути для отделенного воздушного потока между сепараторным блоком и воздушным каналом. Это может поставить под угрозу надежную работу устройства для влажной уборки, поскольку образующиеся таким образом капли воды могут попасть в воздушный канал и дальше по потоку в направлении двигателя.
При помощи направляющего воду элемента плотно примыкающего к боковой части, и выступающего внутрь контейнера в обратном направлении от боковой части, направляющий воду элемент препятствует продолжению перемещения воды, выплескивающейся на боковую часть, вдоль боковой части в направлении воздушного канала. Направляющий воду элемент может способствовать рассеянию энергии волны, создаваемой во время проталкивания контейнера и чистящей головки в прямом направлении пользователем, толкающим ручку. Это способствует предотвращению контакта образованных капель воды с потоком отделенного воздуха.
На фиг. 1 показан пылесос 10 для влажной уборки. Пылесос 10 содержит впускное отверстие 11 для грязи, через которое вода и/или частицы грязи, например влажные частицы грязи, и воздух всасываются в пылесос 10 для влажной уборки. Как показано на фиг. 1, впускное отверстие 11 для грязи предусмотрено в чистящей головке 12.
Устройство 10 для влажной уборки, показанное на фиг. 1, представляет собой пылесос со штангой, так что при использовании чистящая головка 12 пылесоса образует только один контакт с поверхностью, подлежащая обработке пылесосом. Конечно, устройство может представлять собой вертикальный пылесос или контейнерный пылесос. Настоящее раскрытие касается конструктивных признаков, которые могут быть применены к любому устройству 10 для влажной уборки и к любому пылесосу 10 для влажной уборки.
В примере, показанном на фиг. 1, предусмотрен шарнирный узел 13 для обеспечения возможности наклона пылесоса 10 для влажной уборки, при котором впускное отверстие 11 для грязи в чистящей головке 12 остается обращенным к поверхности, которая должна быть очищена. Шарнирный узел 13 обеспечивает наклон пылесоса 10 для влажной уборки, например, для упрощения уборки под мебелью.
Диапазон наклона, обеспечиваемый шарнирным узлом, может составлять до 90°. Наклон 0° может рассматриваться в качестве вертикальной ориентации, а наклон 90° может рассматриваться в качестве горизонтальной, то есть пологой, ориентации устройства 10 для влажной уборки. Наклон в направлении горизонтальной ориентации или в горизонтальную ориентацию может обеспечить проведение уборки под мебелью.
Пылесос 10 для влажной уборки содержит двигатель 14 и вентилятор 16 для обеспечения всасывания во впускном отверстии 11 для грязи. Двигатель 14 и вентилятор 16 могут быть описаны в целом как генератор воздушного потока. Любой подходящий вентилятор 16, например, крыльчатка, может быть использована для создания всасывания во впускном отверстии 11 для грязи.
Двигатель 14, например, содержит байпасный двигатель 14. Этот тип двигателя 14 может допускать содержание воды в воздушном потоке, поскольку втягиваемый воздушный поток не используется для охлаждения двигателя и изолирован от частей двигателя. Вместо этого в двигатель 14 для охлаждения всасывается окружающий воздух.
Устройство 10 влажной уборки также включает в себя сепараторный блок 18 для отделения воды от потока воздуха, создаваемого всасыванием. Другими словами, сепараторный блок 18 предусмотрен для отделения жидкости и частиц от потока, создаваемого всасыванием, создаваемым двигателем 14 и вентилятором 16.
Может быть рассмотрена любая подходящая конструкция сепараторного блока 18 при условии, что сепараторный блок 18 выполнен с возможностью отделения воды от потока воздуха. В одном варианте осуществления сепараторный блок 18 содержит по меньшей мере одно, выбранное из сепараторного блока лабиринтного типа, сепараторного блока фильтрующего типа и сепараторного блока циклонного типа.
Сепараторный блок 18 можно рассматривать как часть системы управления работой с грязью, которая может включать в себя дополнительные фильтры. Система управления работой с грязью имеет контейнер 19 для сбора отделенной влаги и грязи. Например, как показано, между выпускным потоком сепараторного блока 18 и двигателем 14, и вентилятором 16 может быть предусмотрен выпускной фильтр 20.
В более общем смысле, максимальная емкость контейнера 19 для отделенной воды может составлять по меньшей мере 100 мл, так что пользователь может выполнять влажную уборку с минимальными перерывами, связанными с опорожнением контейнера 19. Например, максимальная емкость контейнера 19 для отделенной воды может составлять от 100 мл до 1 л, например от 400 мл до 800 мл. Настоящее раскрытие относится к модификациям, которые обеспечивают надежную работу устройства 10 для влажной уборки, когда такой объем воды собран в контейнере 19.
Воздушный канал 22 пропускает воздух, отделенный от воды и/или частиц грязи, в направлении двигателя 14 и вентилятора 16. Как показано на фиг. 1, отверстие в контейнере 19 может по меньшей мере частично образовывать воздушный канал 22.
Воздушный канал 22 может быть предусмотрен, например, в верхней части 19А контейнера 19.
Термины «верхняя часть» и «нижняя часть» в контексте контейнера 19 относятся к соответствующим концам контейнера 19 и названы со ссылкой на вертикальную ориентацию пылесоса 10 для влажной уборки: верхняя часть 19A находится над нижней частью 19B контейнера 19 в такой вертикальной ориентации.
Воздушный канал 22 пространственно отделен от нижней части 19B контейнера 19. Это должно свести к минимуму риск прохождения отделенной воды, собранной на нижней части 19B контейнера, через воздушный канал 22 к двигателю 14 и вентилятору 16.
В качестве альтернативы для обеспечения воздушного канала 22 в верхней части 19А контейнера 19, воздушный канал 22 может быть предусмотрен, например, в боковом участке/части контейнера 19, предпочтительно в области бокового участка/части, которая является ближней к верхней части 19А контейнера 19.
В одном варианте осуществления воздушный канал 22 предусмотрен в той части контейнера 19, которая выше самой верхней линии 23 воды для воды, собранной в контейнере 19. Эта самая верхняя линия 23 воды может соответствовать максимальной емкости контейнера 19 для отделенной воды.
Самая верхняя линия 223 воды может, например, быть обозначена меткой или наклейкой, предусмотренной на контейнере 19, и/или определена по максимальному уровню воды, определяемому датчиком уровня воды (не показан).
В неограничивающем варианте осуществления устройство 10 для влажной уборки выполнено с возможностью отключения питания двигателя 14, когда максимальный уровень 23 воды определяется датчиком уровня воды как достигнутый. Для этой цели может быть рассмотрен любой подходящий датчик уровня воды, такой как датчик Холла или поплавковый датчик переключения уровня.
Размещение воздушного канала 22 в верхней части 19A контейнера 19 или в боковом участке/части, но вблизи верхней части 19A контейнера, может минимизировать риск того, что вода, собранная в нижней части 19B контейнера 19, будет вновь смешана с воздухом и передана дальше по потоку в направлении двигателя 14 и вентилятора 16.
Пользователю может потребоваться подача очищенной воды на очищаемую пылесосом поверхность независимо от устройства 10 влажной уборки. Однако устройство 10 для влажной уборки может вместо этого также включать в себя резервуар для чистой воды (не показан) для подачи очищенной воды к чистящей головке 12.
Чистящая головка 12 может иметь, например, вращательную щетку (не показана), на которую вода подается из резервуара для чистой воды, и, следовательно, может также иметь впускное отверстие для приема воды из резервуара для чистой воды. Чистящая головка 12 специально выполнена с возможностью улавливания влажной грязи и, при необходимости, для увлажнения пола.
На конце, противоположном чистящей головке 12, имеется ручка 24. Ручка 24 может удерживаться пользователем устройства 10 для влажной уборки. Пользователь, толкающий ручку 24, вызывает перемещение вперед по меньшей мере чистящей головки 12 и контейнера 19, а пользователь, тянущий ручку 24, вызывает перемещение назад чистящей головки 12 и контейнера 19 в направлении пользователя.
В варианте осуществления, показанном на фиг. 1, шарнирный узел 13 между чистящей головкой 12 и контейнером 19 позволяет наклонять контейнер 19 в направлении пользователя, осуществившего захват ручки 24, в то время как впускное отверстие 11 для грязи продолжает обеспечивать всасывание на поверхности, подлежащей очистке.
На фиг. 2 схематически изображено перемещение собранной воды CW в контейнере 19 устройства 10 для влажной уборки при наклоне контейнера 19, например, посредством шарнирного узла 13.
Шарнирный узел 13 может быть выполнен с возможностью угловой регулировки контейнера 19 в направлении поверхности, подлежащей очистке таким образом, чтобы вода, собранная в нижней части 19B контейнера 19, перемещалась к верхней части 19A контейнера 19. Шарнирный узел 13 также сконфигурирован таким образом, что впускное отверстие 11 для грязи продолжает быть обращенным к поверхности, подлежащей очистке, во время угловой регулировки.
Как показано на фиг. 2, наклон может вызвать перемещение собранной воды CW вдоль первой боковой части 19C контейнера 19 по направлению к верхней части 19A контейнера 19. В частности, волна WV1 может нарастать в направлении верхней части 19A контейнера 19, причем волна WV1 может направить воду в направлении воздушного канала 22 и через него.
Кроме того, выплескивание собранной воды CW на первую боковую часть 19C, в частности, когда устройство 10 для влажной уборки тянется назад пользователем, тянущим ручку 24, может привести к прохождению части собранной воды CW в воздушный канал 22.
Одной из возможностей минимизации риска прохождения собранной воды CW в воздушный канал способом, показанным на фиг. 2, является увеличение длины контейнера 19. Иными словами, контейнер 19 может быть удлиненным вдоль оси A1. Это, однако, имеет недостаток, заключающийся в дополнительной длине, что ставит под угрозу другие аспекты удобства для пользователя, такие как обращение с устройством 10 для влажной уборки во время уборки. Увеличение длины контейнера 19 также может не снизить риск попадания воды в воздушный канал 22 в достаточной степени.
На фиг. 3 схематически изображен контейнер 19 устройства 10 для влажной уборки, наклоненный аналогично устройству 10 для влажной уборки, показанному на фиг. 2, но имеющий внутреннюю стенку 19E внутри контейнера 19. В данном примере внутренняя стенка 19E проходит от верхней части 19A в направлении нижней части 19B контейнера 19.
Между контейнером 19 и внутренней стенкой 19Е образовано пространство 25. Когда устройство 10 для влажной уборки находится в вертикальном положении, собранная вода CW в нижней части 19B контейнера 19 поступает в пространство 25, когда контейнер 19 ориентирован так, что собранная вода CW перемещается от нижней части 19B к верхней части 19A контейнера 19.
Как показано на фиг. 3, внутренняя стенка 19E выполнена с возможностью предотвращения прохождения собранной воды CW, поступившей в пространство 25, в воздушный канал 22. Таким образом, внутренняя стенка 19E способствует защите двигателя 14 от повреждения при попадании воды в воздушный канал 22, в частности, когда устройство 10 для влажной уборки наклонено для уборки под мебелью.
Кроме того, внутренняя стенка 19E также может служить для уменьшения обдува воздушным потоком над собранной водой CW, что также снижает риск попадания капель воды в воздушный канал 22.
Емкость пространства 25 может быть увеличена за счет внутренней стенки 19E, проходящей от конца 19A контейнера 19, например, в отличие от варианта, в котором внутренняя стенка 19E проходит от первой боковой части 19C.
В одном варианте осуществления внутренняя стенка 19E проходит от верхней части 19A контейнера 19 вдоль оси A1, проходящей между верхней частью 19A и нижней частью 19B контейнера 19. Это позволяет избежать сужения пространства в направлении верхней части 19A контейнера 19, что способствует максимальному увеличению емкости пространства 25. Это может способствовать работе устройства 10 для влажной уборки в наклонных ориентациях, таких как горизонтальная ориентация, показанная на фиг. 3, для уборки под мебелью.
Ось A1 может, например, проходить по существу параллельно первой боковой части 19C контейнера 19. Термин «по существу параллельно» может, например, распространяться на внутреннюю стенку 19E, проходящую под углом ±5° относительно параллельной зависимости с направлением удлинения первой боковой части 19C между верхней частью 19A и нижней частью 19B контейнера 19.
В альтернативном или дополнительном варианте внутренняя стенка 19Е может проходить от верхней части 19А контейнера 19 под углом, который перпендикулярен к концу 19А контейнера 19.
Несмотря на то, что внутренняя стенка 19E в примере, показанном на фиг. 3, проходит от верхней части 19A контейнера 19 вдоль оси A1, это не предназначено для ограничения того, чтобы внутренняя стенка 19E проходила полностью вдоль оси A1. Концевая часть внутренней стенки 19E, ближайшая к нижней части 19B контейнера 19, может, например, отклоняться в сторону от оси A1, как будет описано более подробно ниже со ссылкой на фиг. 7.
В одном варианте осуществления внутренняя стенка 19E плотно примыкает к верхней части 19A контейнера 19. Это способствует тому, что внутренняя стенка 19E предотвращает попадание собранной воды CW, поступившей в пространство 25, в воздушный канал 22. Пример этого будет описан более подробно ниже со ссылкой на фиг. 6.
Как показано на фиг. 3, волна WV2 содержится в пространстве 25, образованном между контейнером 19 и внутренней стенкой 19E. После наклона контейнера 19 назад в направлении вертикальной ориентации собранная вода CW перемещается в направлении пунктирной стрелки. Это перемещение собранной воды CW показано на фиг. 4, на которой показана ориентация контейнера 19 между горизонтальной ориентацией, показанной на фиг. 2 и 3, и вертикальной ориентацией.
Другими словами, угловая регулировка контейнера 19 в сторону от поверхности, подлежащей очистке, например, посредством шарнирного узла 13, обеспечивает обратное перемещение собранной воды CW в направлении нижней части 19B и второй боковой части 19D контейнера 19. Первая боковая часть 19C расположена напротив второй боковой части 19D поперек контейнера 19.
Таким образом, внутренняя стенка 19E может способствовать направлению собранной воды CW обратно в направлении нижней части 19B контейнера 19 при наклоне в направлении вертикальной ориентации.
Как показано на фиг. 4, такая угловая регулировка в направлении вертикальной ориентации может, однако, привести к тому, что волна WV3 собранной воды CW будет нарастать в направлении второй боковой части 19D.
Кроме того, собранная вода CW может ударяться о вторую боковую часть 19D контейнера 19, когда контейнер 19 и чистящая головка 12 проталкиваются вперед пользователем, толкающим ручку 24. Как показано на фиг. 5, волна WV4 может быть создана таким проталкиванием контейнера 19 и чистящей головки 12.
В примере, показанном на фиг. 5, направляющий воду элемент 26 плотно примыкает ко второй боковой части 19D. Направляющий воду элемент 26 выступает назад из второй боковой части 19D. Таким образом, направляющий воду элемент 26 выступает назад от второй боковой части 19D в общем направлении, когда пользователь удерживает ручку и толкает/тянет контейнер 19 и чистящую головку 12.
Как показано на фиг. 5, такое расположение направляющего воду элемента 26 предотвращает продолжение перемещения собранной воды CW, выплескивающейся на вторую боковую часть 19D, вдоль второй боковой части 19D в направлении воздушного канала 22.
Направляющий воду элемент 26 выступает из второй боковой части 19D в направлении первой боковой части 19С.
Со ссылкой на фиг. 1 и 5, вторая боковая часть 19D является дальней по отношению к пользователю, удерживающему ручку 24, а первая боковая часть 19C, которая находится напротив второй боковой части 19D, является ближней к пользователю, удерживающему ручку 24.
На этом этапе повторяется то, что собранная вода перемещается вдоль первой боковой части 19C контейнера 19 в направлении к верхней части 19A контейнера 19, когда, например, ориентация контейнера 19 регулируется посредством шарнирного узла 13 таким образом, что первая боковая часть 19C перемещается в направлении поверхности, подлежащей очистке, в то время как впускное отверстие 11 для грязи чистящей головки 12 продолжает быть обращенным к поверхности, подлежащей очистке.
Направляющий воду элемент 26 может способствовать рассеянию оставшейся энергии волны WV4 и способствовать предотвращению контакта образованных капель воды с потоком отделенного воздуха, обозначенного стрелками 32А, и их втягивания в направлении воздушного канала 22.
На фиг. 1 пунктирная линия 32 схематически изображает поток воздуха, проходящий через пылесос 10 для влажной уборки. Труба 34 может переносить воздух из впускного отверстия 11 для грязи в сепараторный блок 18.
Сепараторный блок 18 может содержать элемент 36 пути потока, который изменяет направление потока 32 через пылесос 10 для влажной уборки. Это изменение направления потока приводит к тому, что вода и/или частицы грязи, захваченные воздухом, отбрасываются на участок внутренней поверхности элемента 36 пути потока. Таким образом, вода и/или частицы грязи отделяются от воздуха.
Принципиальное отличие между водой и воздухом заключается в том, что вода имеет тенденцию прилипать ко многим типам твердых материалов, а также к самой себе, в то время как большинство газов нет. Этот принцип удобно применять, например, для отделения воды от воздуха. Простое пропускание водовоздушной смеси через трубу 34 может привести к образованию капель и струек жидкости на стенках трубы 34. Но при направлении смеси через геометрическую конфигурацию, которая также вынуждает ее менять направление, например, на изгибе или в циклоне, жидкости (а также твердые частицы) будут скапливаться снаружи под действием центробежных сил. При этом жидкость будет прилипать и течь вдоль стенки, на которую направлена жидкость, в то время как сухой воздух будет поступать в основной объем.
Элемент 36 пути потока может иметь любую подходящую конструкцию при условии, что изменение направления потока приводит к тому, что вода и/или частицы грязи отделяются от потока воздуха.
Как показано на фиг. 1, путь 32A для отделенного воздушного потока включен в путь 32 для воздушного потока и предусмотрен между отверстием сепараторного блока 18 и воздушным каналом 22. В данном примере путь 39 для потока отделенной воды направлен в сторону от пути 32А для отделенного воздушного потока и, таким образом, по существу предотвращается их пересечение, что способствует минимизации или предотвращению повторного захвата воды и/или частиц грязи потоком воздуха.
В неограничивающем примере, показанном на фиг. 1, сепараторный блок 18 дополнительно содержит выпускной элемент 38, который примыкает, например, непосредственно соединен с ним, к элементу 36 пути потока. Выпускной элемент 38 проходит от элемента 36 пути потока и оканчивается в отверстии, ограниченном кромкой 40 выпускного элемента 38.
Отделенная вода и/или частицы грязи направляются выпускным элементом 38 по направлении к отверстию выпускного элемента 38. Выпускной элемент 38 может быть выполнен таким образом, что напор воздуха и сила тяжести способствуют направлению воды и/или частиц грязи к отверстию. Кроме того, выпускной элемент 38 выполнен с возможностью направления отделенной воды и/или частиц грязи из отверстия в направлении нижней части 19B контейнера 19 вдоль пути 39 для потока отделенной воды, когда устройство 10 ориентировано для использования. Таким образом, выпускной элемент 38 может быть альтернативно назван «направляющей жидкость конструкцией».
Такое направление и накопление отделенной воды и/или частиц грязи выпускным элементом может быть реализовано любым подходящим способом. В неограничивающем примере, показанном на фиг. 1, отверстие выпускного элемента 38 ограничено наклонной кромкой 40. Наклонная кромка 40 наклонена так, что отделенная вода и/или частицы грязи текут вдоль наклонной кромки 40 в область, например, точку на наклонной кромке 40, от которой путь 39 для потока отделенной воды проходит в направлении нижней части 19B контейнера 19. Как показано на фиг. 1, сила тяжести вместе с напором воздуха может способствовать течению отделенной воды и/или частиц грязи по пути 39 для потока отделенной воды от участка, например, точки, на наклонной кромке 40.
Наклонная кромка 40 выпускного элемента 38 может дополнительно способствовать направлению потока отделенного воздуха в сторону от пути 39 для потока отделенной воды. Это связано с тем, что сопротивление воздушному потоку может быть выше на стороне выпускного элемента 38, в направлении которого наклонная кромка 40 направляет воду и/или частицы грязи.
В качестве альтернативы или дополнительно, выпускной элемент 38 может содержать направляющий воду элемент (не показан). Направляющий воду элемент может быть расположен на поверхности выпускного элемента 38 или в ней и выполнен с возможностью направления отделенной воды и/или частиц грязи к отверстию и в направлении нижней части 19B контейнера 19 из отверстия по пути 39 для потока отделенной воды.
Например, такой направляющий воду элемент может содержать по меньшей мере одно из ребра, выступающего из внутренней поверхности выпускного элемента 38, и канавку во внутренней поверхности выпускного элемента 38. Вода и/или частицы грязи могут, например, направляться ребром(ребрами) и/или канавкой(канавками) в область, например в точку, в отверстии, из которого путь 39 для потока отделенной воды проходит в направлении нижней части 19B контейнера 19.
В неограничивающем примере, показанном на фиг. 1, труба 34 переносит воздух из впускного отверстия 11 для грязи в сепараторный блок 18, а чашка принимает конец трубы 34. В этом случае первый участок внутренней поверхности элемента 36 пути потока образован внутренней поверхностью чашки. Чашка расположена на расстоянии от конца трубы 34, чтобы тем самым позволить воздуху проходить между концом трубы 34 и чашкой в направлении воздушного канала 22.
Чашка обеспечивает изменение направления потока 32 таким образом, что вода, захваченная в воздухе, всасываемым из впускного отверстия 11 для грязи, отбрасывается на внутреннюю поверхность чашки, и за счет этого отделяется от потока воздуха.
В данном примере выпускной элемент 38 образован частью чашки, расположенной дальше по потоку. Эта часть 38, расположенная дальше по потоку, примыкает, например, непосредственно соединена с ней, к части чашки, расположенной раньше по потоку, которая осуществляет изменение направления потока. Таким образом, элемент 36 пути потока и выпускной элемент 38 могут быть, например, выполнены за одно целое.
Отделенная вода за счет силы тяжести и напора воздуха направляется выпускным элементом 38 к отверстию выпускного элемента 38. Расположение выпускного элемента 38 также таково, что отделенная вода направляется от отверстия к нижней части 19B контейнера 19 вдоль пути 39 для потока отделенной воды, когда устройство 10 ориентировано для использования.
В примере, показанном на фиг. 1, выпускной элемент 38 имеет первую сторону 53A и вторую сторону 53B, и первая сторона 53A противоположна второй стороне 53B. Выпускной элемент 38 расположен таким образом, что когда устройство 10 ориентировано для использования, отделенная вода и/или частицы грязи накапливаются и направляются к первой стороне 53А. Первая сторона 53А оканчивается в самой нижней точке выпускного элемента 38, из которой проходит путь 39 для потока отделенной воды.
Вышеописанная внутренняя стенка 19E в контейнере 19 в этом примере служит дополнительной цели обеспечения барьера для воздушного потока для ограничения воздушного потока от первой стороны 53A к воздушному каналу 22. Данное расположение может приводить к тому, что путь 32А для отделенного воздушного потока будет направлен в сторону от первой стороны 53А в направлении воздушного канала 22. Таким образом, путь 32А для отделенного воздушного потока направлен в сторону от пути 39 для отделенного потока воды, и по существу предотвращается их пересечение.
На фиг. 6 представлены виды внутренней части приведенного в качестве примера устройства 10 для влажной уборки. В частности, на фиг. 6 показана верхняя часть 19А контейнера 19, которая в данном примере ограничивает воздушный канал 22. Часть сепараторного блока 18, также видимая на фиг. 6, включает в себя чашку, описанную выше со ссылкой на фиг. 1.
Участок 18А внешней стенки сепараторного блока 18 может быть включен во внутреннюю стенку 19Е, как лучше всего показано на виде в плане под видом в перспективе, представленном на фиг. 6. Другими словами, пространство 25 образовано контейнером 19, а внутренняя стенка 19E включает в себя участок 18А внешней стенки сепараторного блока 18.
Внутренняя стенка 19E может быть смещена от контейнера 19 на любое подходящее расстояние, так что собранная вода CW может размещаться в пространстве 25, когда контейнер 19 наклонен в направлении горизонтальной ориентации.
Однако желательно, чтобы поступление собранной воды CW в пространство 25 было сведено к минимуму, когда устройство 10 для влажной уборки находится в вертикальном положении и перемещается вперед и назад. Таким образом, между внутренней стенкой 19E и первой боковой частью 19C может быть предусмотрена ширина W пространства 25, составляющая от 0,1 до 0,8 мм. Эта ширина W может быть достаточной для того, чтобы собранная вода CW вытекала из пространства 25 в направлении нижней части 19B контейнера 19, не затрудняя прохождение собранной воды грязью, забивающей пространство 25.
Внутренняя стенка 19E показана на фиг. 6 проходящей от верхней части 19A контейнера 19. Внутренняя стенка 19E проходит перпендикулярно верхней части 19A контейнера 19 и от верхней части 19A контейнера 19 вдоль описанной выше оси A1. Внутренняя стенка 19E в этом примере также содержит концевую часть 19F, которая искривлена внутрь в направлении центра контейнера 19, как будет описано более подробно со ссылкой на фиг. 7.
В одном варианте осуществления внутренняя стенка 19E содержит первую запорную область 19G, которая примыкает к верхней части 19А контейнера 19. Эта первая запорная область 19G лучше всего показана на верхнем виде над видом в перспективе, представленном на фиг. 6.
Толщина внутренней стенки 19E предпочтительно увеличивается в направлении первой запорной области 19G, примыкающей к верхней части 19A контейнера 19. Таким образом, первая запорная область 19G способствует плотному примыканию внутренней стенки 19E к верхней части 19A контейнера 19. Это, в свою очередь, способствует тому, что внутренняя стенка 19E предотвращает попадание собранной воды CW, поступившей в пространство 25, в воздушный канал 22, как описано ранее.
Уплотнительная часть, например, содержащая резиновое уплотнение, например, уплотнение из силиконового каучука, может быть использована в качестве альтернативы первой запорной области 19G, тем самым позволяя внутренней стенке 19E плотно примыкать к верхней части контейнера 19A.
В одном варианте осуществления, который может быть дополнением или альтернативой вышеописанной первой запорной области/уплотнительной части, внутренняя стенка 19E содержит вторые запорные области 19H, каждая вторая запорная область 19H примыкает к соответствующей боковой части контейнера 19; боковые части проходят от верхней части 19А контейнера 19.
Толщина внутренней стенки 19E предпочтительно увеличивается в направлении каждой из вторых запорных областей 19H. Вторая запорная область 19H способствует плотному примыканию внутренней стенки 19E к каждой из боковых частей контейнера 19. Это, в свою очередь, способствует тому, что внутренняя стенка 19E предотвращает попадание собранной воды CW, поступившей в пространство 25, в воздушный канал 22.
Кроме того, запорные области 19H могут в некоторых примерах способствовать отсоединению внутренней стенки 19E от контейнера 19, например, по сравнению со сценарием, в котором внутренняя стенка 19E примыкает к контейнеру 19 посредством резинового уплотнения.
Запорные области 19G, 19H могут быть выполнены из того же материала, что и остальная часть внутренней стенки 19E, например, из технического термопласта, такого как полипропилен.
На фиг. 7 показана часть устройства 10 для влажной уборки, содержащая описанный выше сепараторный блок 18 типа труба-в-чашке. Устройство 10 для влажной уборки содержит внутреннюю стенку 19E, которая проходит от верхней части 19A контейнера 19 вдоль оси A1, и включает в себя концевую часть 19F, которая искривлена внутрь к центру контейнера 19.
В одном варианте осуществления труба 34 проходит в центральной области контейнера 19 в направлении сепараторного блока 18. В примере, показанном на фиг. 7, труба 34 проходит в центральной области контейнера 19 в направлении чашки сепараторного блока 18. Расположение трубы 34 указанным образом разделяет воду, перемещающуюся ко второй боковой части 19D, в частности, когда контейнер 19 и чистящую головку 12 толкают в переднем направлении в сторону от пользователя, как более подробно описано ниже со ссылкой на фиг. 9.
В примере, показанном на фиг. 7, труба 34 содержит первую секцию 34A, которая проходит под углом от первой боковой части 19C в направлении противоположной второй боковой части 19D. Труба 34 также содержит вторую секцию 34B, которая проходит параллельно первой и второй боковым частям 19C, 19D. Как показано, образование наклона первой секции 34А указанным образом способствует размещению выступающей части направляющего воду элемента 26 от второй боковой части 19D к центру контейнера 19.
В варианте осуществления сепараторный блок 18 и направляющий воду элемент 26 включены в съемный блок, который выполнен с возможностью отсоединения от контейнера 19. Это должно способствовать очистке контейнера 19, поскольку отсоединение сепараторного блока 18 и направляющего воду элемента 26 позволяет избежать доступа к контейнеру 19, в частности, затруднения в доступе к нижней части 19B контейнера 19.
В альтернативном варианте осуществления съемный блок содержит сепараторный блок 18 и внутреннюю стенку 19Е. Еще в одном примере съемный блок содержит сепараторный блок 18, внутреннюю стенку 19E и направляющий воду элемент 26 как показано на фиг. 7.
В неограничивающем примере, показанном на фиг. 7, направляющий воду элемент 26 прикреплен к сепараторному блоку 18, в данном случае к чашке, одним или более крепежными элементами 27.
В более общем плане, направляющий воду элемент 26 может быть выполнен с возможностью отсоединения от второй боковой части 19D контейнера 19, например, независимо от сепараторного блока 18 и/или внутренней стенки 19E. Направляющий воду элемент 26, тем не менее, плотно примыкает к боковой части 19D будучи прикрепленным к ней, как будет более подробно объяснено ниже.
На фиг. 8 показан вид сверху контейнера 19 приведенного в качестве примера устройства 10 для влажной уборки, который является по существу прямоугольным в плане; термин «по существу» в данном контексте учитывает закругленные углы контейнера 19. По мере проталкивания контейнера 19 и чистящей головки 12 в прямом направлении волна WV5 продвигается в направлении второй боковой части 19D.
На фиг. 9 показана конструкция, отличающаяся от показанной на фиг. 8, в которой труба 34, которая подает воздушный поток от впускного отверстия 11 к сепараторному блоку 18, проходит в центральной области контейнера 19. Таким образом, труба 34 разделяет воду, перемещающуюся ко второй боковой части 19D, когда контейнер 19 толкают вместе с чистящей головкой 12 в прямом направлении в сторону от пользователя, осуществившего захват ручки 24. Разделение собранной воды CW указанным образом способствует рассеянию энергии волны WV6 по мере перемещения воды в направлении второй боковой части 19D.
В данном примере труба 34 предпочтительно является цилиндрической, поскольку это способствовует равномерному разделению собранной воды CW.
В альтернативном или дополнительном варианте внутренняя поверхность боковой части 19D может быть дугообразной, так что внутренняя поверхность искривлена наружу в прямом направлении. Дугообразная внутренняя поверхность, показанная на фиг. 9, может действовать в качестве волногасителя, чтобы содействовать рассеянию энергии волны WV6.
Дугообразная внутренняя поверхность второй боковой части 19D вместе с трубой 34, расположенной в центральной части контейнера 19 в примере, показанном на фиг. 9, способствует созданию схемы потока, в которой вертикальное перемещение собранной воды CW в направлении воздушного канала 22 может быть сведено к минимуму. Соответствующие потоки, разделенные расположенной по центру трубой 34, могут быть направлены дугообразной внутренней поверхностью по направлению друг к другу, так что потоки будут сталкиваться в горизонтальной плоскости контейнера 19. Такое горизонтальное столкновение потоков может способствовать минимизации вертикального перемещения воды в направлении воздушного канала 22.
В более общем плане контейнер 19, показанный на фиг. 9, имеет третью и четвертую боковые части 19I, 19J. Первая и вторая боковые части 19C, 19D отделены друг от друга третьей и четвертой боковыми частями 19I, 19J. В случае дугообразной внутренней поверхности второй боковой части 19D, внутренняя поверхность, например, вместе со второй боковой частью 19D в целом, выполнена дугообразной в сторону от первой части 19C. Как показано на фиг. 9, внутренняя поверхность второй боковой части 19D выгибается дугой от третьей боковой части 19i вокруг четвертой боковой части 19J.
Однако контейнер 19 может иметь любую подходящую форму, такую как кубическая, кубоидальная, призматическая и т.д. В случае, например, призматического контейнера 19, контейнер 19 имеет треугольную форму в плане. Сторона треугольника может, например, соответствовать первой боковой части 19С, а угол треугольника, противоположный первой боковой части 19С, вместе с участками оставшихся двух сторон треугольника по обе стороны угла могут составлять вторую боковую часть 19D. В этом неограничивающем примере направляющий воду элемент 26 может проходить от угла и участков остальных двух сторон треугольника, которые образуют вторую боковую часть 19D.
На фиг. 10A-10E показаны различные приведенные в качестве примера направляющие воду элементы 26. В неограничивающем примере, показанном на фиг. 10A, направляющий воду элемент 26 содержит первую поверхность 26B для контакта с водой, выплескивающейся на вторую боковую часть 19D. В данном конкретном примере первая поверхность 26B проходит перпендикулярно второй боковой части 19D.
Направляющий воду элемент 26, показанный на фиг. 10B, содержит первую поверхность 26B, проходящую перпендикулярно второй боковой части 19D, и вторую поверхность 26C, которая отклонена в направлении нижней части 19B контейнера 19. В этом примере первая поверхность 26B проходит от второй боковой части 19D, а вторая поверхность 26C проходит от первой поверхности 26B. Отклоняющая вторая поверхность 26C в данном примере способствует направлению воды в сторону от воздушного канала 22 и в направлении нижней части 19B контейнера 19.
На фиг. 10C показан направляющий воду элемент 26, имеющий первую поверхность 26B, которая отклоняется в направлении нижней части 19B контейнера 19. Отклоняющая первая поверхность 26B в этом примере способствует направлению воды в сторону от воздушного канала 22 и в направлении нижней части 19D контейнера 19.
Направляющий воду элемент 26, показанный на фиг. 10D, аналогичен показанному на фиг. 10B тем, что направляющий воду элемент 26 содержит первую поверхность 26B, которая проходит от второй боковой части 19D, и вторую поверхность 26C, которая проходит от первой поверхности 26B; вторая поверхность 26B выполнена наклонной в направлении нижней части 19B контейнера 19. Однако в примере, показанном на фиг. 10D, первая поверхность 26B наклонена к верхней части 19A контейнера 19.
В более общем плане, отклоняющая вторая поверхность 26C, проходящая от первой поверхности 26B, может снизить риск того, что вода, вытекающая из направляющего воду элемента 26, воздействует на трубу 34 и создаст капли воды, которые могут быть повторно захвачены в отделенный воздушный поток 32A.
Направляющий воду элемент 26, показанный на фиг. 10E, содержит первую поверхность 26B, которая проходит от второй боковой части 19D, и вторую поверхность 26C, которая проходит от первой поверхности 26B. В этом случае первая поверхность 26B наклонена к верхней части 19A контейнера 19, а вторая поверхность 26C проходит в направлении, перпендикулярном второй боковой части 19D.
Хотя это не показано на фиг. 10A-10E, вторая поверхность 26C может изгибаться от первой поверхности 26B в направлении к нижней части 19B контейнера 19 и/или ко второй боковой части 19D. Это может способствовать тому, чтобы направляющий воду элемент 26, н направлял воду, выплескивающуюся на вторую боковую часть 19D, в сторону от воздушного канала 22.
В одном варианте осуществления самый длинный боковой выступ LE направляющего воду элемента 26 от второй боковой части 19D, измеренный перпендикулярно второй боковой части 19D, составляет по меньшей мере 5 мм. Было установлено, что такой минимальный боковой выступ LE является достаточным для эффективного предотвращения продвижения воды, выплескивающуюся на вторую боковую часть 19D, в направлении воздушного канала 22.
Предпочтительно, самый длинный боковой выступ LE составляет от 10 до 50 мм, например, от 10 до 30 мм, например, около 20 мм.
В альтернативном или дополнительном варианте самый длинный боковой выступ LE может составлять до 75% от внутренней ширины контейнера 19. Внутренняя ширина может быть измерена между противоположными боковыми частями 19C, 19D контейнера 19.
Это обеспечивает баланс между требованием препятствовать продвижению воды вдоль второй боковой части 19D в направлении воздушного канала 22, и требованием обеспечения достаточного пространства внутри контейнера 19 для других компонентов устройства 10 для влажной уборки, например, трубы 34, которая переносит воздушный поток из впускного отверстия 11 для грязи в сепараторный блок 18. Верхний предел 50 мм и/или до 75% от внутренней ширины контейнера 19 также может способствовать минимизации возможности того, что направляющий воду элемент 26 препятствует прохождению отделенной воды к нижней части 19B контейнера 19.
В одном варианте осуществления направляющий воду элемент 26 содержит периферийную запорную область или уплотнительную часть 26А для плотного примыкания направляющего воду элемента к боковой части 19D.
Уплотнительная часть 26А может быть выполнена, например, из эластомерного материала, такого как силиконовый каучук.
Запорная область 26A может быть выполнена из того же материала, что и остальная часть направляющего воду элемента, например, технического термопласта, такого как полипропилен.
Толщина направляющего воду элемента может, например, увеличиваться в направлении области боковой части, к которой плотно примыкает периферийная запорная область или уплотнительная часть 26А, как показано на фиг. 11. Это может обеспечить периферийной запорной области или уплотнительной части 26A плотное примыкание направляющего воду элемента 26 ко второй боковой части 19D контейнера 19. Это, в свою очередь, может сособствовать тому, чтобы направляющий воду элемент 26 предотвращал продвижение воды, выплескиваемой на вторую боковую часть 19D, в направлении воздушного канала 22.
Направляющий воду элемент может быть выполнен с возможностью отсоединения от второй боковой части 19D контейнера 19, как описано ранее. В качестве альтернативы, направляющий воду элемент 19D может быть постоянно прикреплен ко второй боковой части 19D. В частности, в первом случае допуски на изготовление могут допускать зазор менее 2 мм между направляющим воду элементом 26, например, периферийным запорным или уплотняющим участком 26А, и вторым боковым участком 19D. За счет обеспечения того, что любой зазор составляет менее 2 мм, может быть предотвращено продвижение капель воды вдоль второй боковой части 19D в направлении воздушного канала 22.
В одном варианте осуществления направляющий воду элемент 26 содержит поверхность 26B, обращенную в сторону от воздушного канала 22. Направляющий воду элемент 26 может содержать искривленную поверхность, которая искривлена от поверхности 26B по направлению к периферийной запорной области или уплотнительной части 26А. Это обеспечивает направление воды на поверхности 26B в направлении второй боковой части 19D и в сторону от воздушного канала 22.
Искривленную поверхность направляющего воду элемента 26, показанную на фиг. 11, можно рассматривать как «скругление», которое направляет воду на направляющий воду элемент 26 обратно ко второй боковой части 19D и нижней части 19B контейнера 19.
Как показано на фиг. 11, направляющий воду элемент 26 содержит первую поверхность 26B и вторую поверхность 26C для контакта с водой, выплескивающейся на вторую боковую часть 19D. В данном примере первая поверхность 26B, а также и вторая поверхность 26C выполнены с наклоном в направлении нижней части 19B контейнера 19, причем вторая поверхность 26C наклонена более круто, чем первая поверхность 26B. В примере, показанном на фиг. 11, первая поверхность 26B проходит от запорной или уплотнительной части 26A, а вторая поверхность 26C проходит от первой поверхности 26B.
Отклоняющая вторая поверхность 26C, проходящая от первой поверхности 26B, уменьшает риск того, что вода, вытекающая из направляющего воду элемента 26, воздействует на трубу 34 и создаст капли воды, которые могут быть повторно захвачены в отделенный воздушный поток 32A, как описано ранее.
На фиг. 12 показана часть устройства 10 для влажной уборки, содержащего направляющий воду элемент 26, показанный на фиг. 11. Как показано на фиг. 12, направляющий воду элемент 26 расположен над самым верхним уровнем 23 воды для воды, собранной в контейнере 19.
В примере, показанном на фиг. 12, труба 34 содержит первую секцию 34A, которая проходит под углом от первой боковой части 19C в направлении противоположной второй боковой части 19D. Труба 34 также содержит вторую секцию 34B, которая проходит параллельно первой и второй боковым частям 19C, 19D. Наклонная первая секция 34A способствует размещению выступающей части направляющего воду элемента 26 от второй боковой части 19D, аналогично примеру, показанному на фиг. 7.
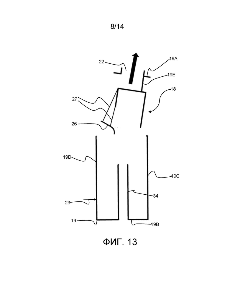
Часть устройства 10 для влажной уборки, содержащая описанный выше сепараторный блок 18 типа труба-в-чашке, показана на фиг. 13. В этом примере чашка сепараторного блока 18, внутренняя стенка 19E и направляющий воду элемент 26 включены в съемный блок, который выполнен с возможностью отсоединения от контейнера 19.
На фиг. 13 показан съемный блок, отсоединенный от контейнера 19, а также от трубы 34 путем подъема съемного блока из контейнера 19 в направлении стрелки.
В этом конкретном примере верхняя часть 19A контейнера 19 также включена в съемный блок, так что при подъеме верхней части 19A контейнера также извлекаются чашка, внутренняя стенка 19E и направляющий воду элемент 26. Это способствовует очистке контейнера 19.
Кроме того, на фиг. 13 показаны крепежные элементы 27, посредством которых сепараторный блок 18, в данном примере чашка сепараторного блока 18, прикреплен к направляющему воду элементу 26.
Хотя на фиг. 13 показан пример, в котором внутренняя стенка 19E выполнена с возможностью отсоединения от контейнера 19, он не предназначен для ограничения. В других примерах внутренняя стенка 19E выполнена за одно целое с контейнером 19.
Как описано выше со ссылкой на фиг. 1, за счет силы тяжести и напора воздуха отделенная вода и/или частицы грязи направляются выпускным элементом 38 в направлении отверстия выпускного элемента 38. Расположение выпускного элемента 38 также таково, что отделенная вода и/или частицы грязи направляются от отверстия в направлении нижней части 19B контейнера 19 вдоль пути 39 для потока отделенной воды, когда устройство 10 ориентировано для использования, как описано ранее.
На фиг. 14 показан еще один пример описанного выше сепараторного блока 18 типа труба-в-чашке. Чашка имеет цилиндрическую боковую стенку 37A, проходящую от основания 37B. Боковая стенка 37A в данном примере проходит перпендикулярно плоскости основания 37B. Эта геометрическая конфигурация приводит к изменению направления потока 32 на 180°, что может способствовать эффективному отделению воды и/или частиц грязи из воздуха. Тем не менее, следует отметить, что может быть рассмотрен любой подходящий угол изменения направления потока, например, за счет боковой стенки 37A, проходящей не перпендикулярно от основания 37B, при условии, что изменение направления потока приводит к необходимому отделению воды и/или частиц грязи из воздуха. Пример этого будет описан ниже со ссылкой на фиг. 16.
Как показано на фиг. 14, наклонная кромка 40 обеспечена цилиндрической боковой стенкой 37A, усеченной в плоскости 50, расположенной под углом к плоскости основания 36B. Однако возможны альтернативные конструкции. На фиг. 16, например, показана чашка, имеющая боковую стенку 37A, которая проходит под углом к плоскости основания 37B, так что проточная область выпускного элемента 38 расширяется в направлении к отверстию. Это может способствовать отделению капель 48 от воздушного потока, поскольку скорость воздуха через выпускной элемент 38 соответственно уменьшается.
В неограничивающем примере боковая стенка 37A проходит перпендикулярно от плоскости основания 37B, и выпускной элемент 38 может быть образован расширяющейся частью чашки, которая примыкает к боковой стенке 37A. Таким образом, изменение направления потока может составлять 180°, но расширяющаяся часть может помочь избежать повторного захвата жидкости/грязи.
Сила тяжести, а также напор воздуха могут способствовать течению капель 48 вдоль наклонной кромки 40 в направлении от самой верхней точки 51 кромки 40 к самой нижней точке 52 кромки 40. Кроме того, сила тяжести может способствовать протеканию отделенной воды и/или частиц грязи по пути 39 для потока воды от самой нижней точки 52 к нижней части 19B контейнера 19, как описано ранее.
Выпускной элемент 38 имеет внутреннюю поверхность, которая проходит от участка 36А внутренней поверхности элемента 36 пути потока. Хотя на фиг. 14 это не показано, выпускной элемент 38 может дополнительно содержать первую наружную поверхность, противоположную нижней части 19B контейнера 19, и искривляющую поверхность между внутренней поверхностью 38А и первой наружной поверхностью. Отделенная вода и/или частицы грязи направляются искривляющей поверхностью от внутренней поверхности 38А к первой наружной поверхности.
Кроме того, выпускной элемент 38 может дополнительно содержать вторую наружную поверхность, и первая наружная поверхность встречается со второй наружной поверхностью на определенной кромке или углу, тем самым способствуя удержанию капель на первой наружной поверхности, как будет подробнее описано ниже со ссылкой на фиг. 18.
На фиг. 15 представлен вид в перспективе сепараторного блока 18, показанного на фиг. 14. На фиг. 15, как и на фиг. 14, показана часть внутренней стенки 19E. Помимо содействия надежной работе устройства 10 для влажной уборки при наклоне в горизонтальное положение, внутренняя стенка 19E обеспечивает образование пути 32А для отделенного воздушного потока, как описано ранее.
Хотя труба 34 расположена по центру в чашке в примере, показанном на фиг. 14 и 15, он не предназначен для ограничения. В этом отношении труба 34 может, например, быть смещена от центра относительно чашки, например, как показано на фиг. 7.
Наклонная кромка 40 выпускного элемента 38 может дополнительно способствовать направлению потока отделенного воздуха в сторону от первого пути 39 для потока, поскольку сопротивление воздушному потоку может быть выше на первой стороне 53A выпускного элемента 38, в направлении которой вода и/или частицы грязи направляются наклонной кромкой 40. Другими словами, участок с более низкой скоростью воздушного потока образован первой стороной 53A, поскольку воздух должен переместиться дальше, прежде чем достичь отверстия.
Этот путь 32А для отделенного воздушного потока может, например, дополнительно управляться за счет месторасположения трубы 34 относительно чашки. Перемещение трубы 34 дальше в направлении первой стороны 53A может увеличить сопротивление воздушному потоку, тем самым увеличивая способность воздуха выходить из отверстия на второй стороне 53B чашки.
На фиг. 16 показан еще один приведенный в качестве примера сепараторный блок 18. В этом примере внутренняя стенка 19E частично образована стенкой чашки сепараторного блока 18. Таким образом, внутренняя стенка 19Е проходит от отверстия выпускного элемента 38 к верхней части 19А контейнера 19. В этом случае одной из функций внутренней стенки 19Е является блокирование пути для воздушного потока от первой стороны 53А выпускного элемента 38 (к которой направляется вода и/или частицы грязи) к воздушному каналу 22. Путь 32А для отделенного воздушного потока соответственно образован между второй стороной 53B выпускного элемента 38 и воздушным каналом 22. Таким образом, путь 39 для отделенного потока воды от первой стороны 53А выпускного элемента 38 к нижней части 19B контейнера 19 направлен в сторону от пути 32А для отделенного воздушного потока от второй стороны 53B выпускного элемента 38 к воздушному каналу 22 и по существу предотвращается их пересечение.
Как показано на фиг. 16, капли 48 направляются к самой нижней точке 52 наклонной кромки 40. Это обозначено на фиг. 16 стрелкой 57.
Угол θ задается между направлением воздушного потока внутри выпускного элемента 38 и направлением, в котором отделенная вода и/или частицы грязи транспортируются к самой нижней точке 52 наклонной кромки 40. Этот угол θ больше 0° и меньше или равен 90°, например от 20° до 75°, например около 45°.
На фиг. 17 показан пылесос 10 для влажной уборки в соответствии с другим примером. Пылесос 10 для влажной уборки содержит внутреннюю стенку 19E. Это необходимо для того, чтобы свести к минимуму риск повреждения двигателя 14 при попадании воды в воздушный канал 22, в частности, когда устройство 10 влажной уборки наклоняют для уборки под мебелью, как описано ранее.
Аналогичным образом, в примерах, изображенных на фиг. 1-16, труба 134 переносит воздух из впускного отверстия 11 для грязи в сепараторный блок 118. Но в данном примере элемент 136 пути потока образован искривленной секцией трубы. Расположенный раньше по потоку конец искривленной секции 136 трубы примыкает, например, непосредственно соединен с ней, к трубе 134.
Искривленная секция 136 трубы имеет U-образную форму в примере, показанном на фиг. 17, так что секция 136 трубы вызывает изменение направления потока на 180°. Это может способствовать эффективному отделению воды и/или частиц грязи из воздуха, хотя может быть рассмотрено любое подходящее изменение угла направления потока при условии, что изменение направления потока влияет на необходимое отделение частиц воды и/или грязи из воздуха. Таким образом, искривленная труба 136 обеспечивает изменение направления потока 32 аналогично сепараторному блоку 18, описанному выше в отношении фиг. 1-16.
На фиг. 18 более подробно изображен элемент 136 пути потока и выпускной элемент 138 сепараторного блока 118, изображенного на фиг. 17. Как показано на фиг. 18, вода и/или частицы 44 грязи, захваченные воздухом, протекающим через трубу 134, направлены на участок 136A внутренней поверхности элемента 136 пути потока в результате изменения направления потока. Это может обеспечить собирание воды и/или частиц грязи в более крупные капли 46 на участке 136A внутренней поверхности, тем самым способствуя отделению от воздуха.
В примере, показанном на фиг. 18, участок 136А внутренней поверхности образован наружной поверхностью искривленной секции 136 трубы. Изменение направления, вызываемое искривленной трубной секцией 136, приводит к тому, что вода и/или частицы грязи отбрасываются центробежными силами на наружную поверхность 136A искривленной трубной секции 136. Дополнительный участок 136B внутренней поверхности образован внутренней поверхностью искривленной секции 136 трубы.
Сепараторный блок 118 дополнительно содержит выпускной элемент 138, который примыкает, например, непосредственно соединен с ним, к элементу 136 пути потока. Выпускной элемент 138 проходит от элемента 136 пути потока и оканчивается в отверстии, ограниченном кромкой 140 выпускного элемента 38.
Выпускной элемент 138 примыкает к элементу 136 пути потока в положении 142. Выпускной элемент 138 может быть, например, соединен с элементом 136 пути потока, например, с использованием крепежных средств и/или подходящего адгезива. В альтернативном варианте выпускной элемент 138 и элемент 136 пути потока могут быть выполнены за одно целое. Например, элемент 136 пути потока и выпускной элемент 138 могут быть выполнены за одно целое в виде одного формованного элемента, например, формованного под давлением.
В более общем плане, из-за неспособности воздуха следовать резкому изменению направления, ограничение потока, например, изгиб, на котором происходит очищение воздуха, может создавать «турбулентный след», соответствующий области воздушного потока с более низкой скоростью. Такой изгиб может быть предусмотрен, например, в положении 142, в котором дополнительный участок 136B внутренней поверхности встречается с внутренней поверхностью 138А выпускного элемента 138. Угол такого изгиба может быть, например, больше 7°. Такой угол может способствует тому, что обеспечить эффективное очищение воздуха от жидкости и/или частиц грязи.
Как показано на фиг. 18, наклонная кромка 140 вызывает дальнейшее накопление воды и/или частиц грязи в каплях 48, когда они направляются вдоль наклонной кромки 140 в направлении от первого участка 151, другими словами, «самой верхней точки» 151 на наклонной кромке 140, когда устройство 10 ориентировано для использования, в направлении второго участка 152. Участок 152 может в качестве альтернативы называться «самой нижней точкой» 152 на наклонной кромке 140, когда устройство 10 ориентировано для использования.
Капли 48 отделенной воды и/или частицы грязи текут вдоль наклонной кромки 140 к нижней части 19B контейнера 19. Таким образом, наклонная кромка 140 может иметь наклон в направлении нижней части 19B контейнера 19. Отделенная вода и/или частицы грязи текут вдоль наклонной кромки 140 к самой нижней точке 152 на наклонной кромке 140. Канал 39 для потока отделенной воды может проходить к нижней части 19B контейнера 19 от самой нижней точки 152.
Сила тяжести, а также напор воздуха могут способствовать течению капель 48 вдоль наклонной кромки 140 к самой нижней точке 152 на кромке 140. Кроме того, сила тяжести может способствовать течению отделенной воды и/или частиц грязи по пути 39 для потока отделенной воды от самой нижней точки 152 в направлении нижней части 19B контейнера 19.
Выпускной элемент 138 имеет внутреннюю поверхность 138A, которая проходит от участка 136A внутренней поверхности элемента 136 пути потока. Как лучше всего показано на иллюстрации по фиг. 18, выпускной элемент 138 дополнительно содержит первую внешнюю поверхность 138B, которая находится напротив нижней части 19B контейнера 19, и искривляющую поверхность 138C между внутренней поверхностью 138A и первой внешней поверхностью 138B. Отделенные вода и/или частицы грязи направляются искривляющей поверхностью 138C от внутренней поверхности 138A к первой наружной поверхности 138B. Таким образом, капли 48 могут направляться к первой наружной поверхности 138B, и в случае наклонной кромки 140 в этом неограничивающем примере капли 48 могут течь вдоль первой наружной поверхности 138B к самой нижней точке 152.
Как также показано на иллюстрации по фиг. 18, выпускной элемент 138 дополнительно содержит вторую наружную поверхность 138D. Первая наружная поверхность 138B встречается со второй наружной поверхностью 138D на образованной кромке или изгибе 138E. Этот край 138E способствует удержанию капель 48 на первой наружной поверхности 38B, частично вследствие их смачивающих свойств, тем самым способствуя прохождению капель 48 вдоль первой наружной поверхности 38B к самой нижней точке 152 наклонной кромки 40.
Таким образом, в отверстии жидкость может накапливаться на первой внешней поверхности 138B. Опять же, под действием воздуха и силы тяжести, накопленная жидкость повторяет контур наклонной кромки 140 в направлении одной области или точки фокуса, другими словами, самой нижней точки 152. Отсюда жидкость, которая ранее была распределена на участке 136A внутренней поверхности элемента 136 пути потока и внутренней поверхности 138A выпускного элемента 138, теперь может накапливаться и может быть направлена к нижней части 19B контейнера 19 вдоль пути 39 для потока отделенной воды контролируемым образом.
В примере, показанном на фиг. 18, проходное сечение выпускного элемента 138 увеличивается в направлении к отверстию. Другими словами, площадь поперечного сечения внутренней части выпускного элемента 138 может увеличиваться в направлении отверстия. Это может способствовать отделению капель 48 от воздушного потока, поскольку скорость воздуха через выпускной элемент 138 соответственно уменьшается. Другими словами, за счет увеличения площади поперечного сечения выпускного элемента 138 в направлении отверстия, жидкость может подвергаться воздействию воздушного потока с более низкой скоростью и, таким образом, может быть с меньшей вероятностью повторно захвачена в воздушный поток.
В неограничивающем примере, показанном на фиг. 17 и 18, выпускной элемент 138 содержит коническую часть, например асимметричную коническую часть. Таким образом, проходное сечение выпускного элемента 138 расширяется в направлении отверстия. Тем не менее, следует отметить, что также могут быть предусмотрены другие формы поперечного сечения расширяющегося выпускного элемента 138, такие как квадратная, прямоугольная, треугольная и т.д. Коническая часть 138 примыкает, например непосредственно соединена с ним, к концу искривленной секции 136 трубы, расположенному дальше по потоку.
Как показано на фиг. 18, коническая часть обрезана в отверстии, что образует наклонную кромку 140. Наклонная кромка 140 в сочетании с расширяющимся проходным сечением выпускного элемента 138 может обеспечивать особенно подходящую компоновку для направления водяных капель 48 к отверстию и далее по пути 39 для потока отделенной воды в направлении нижней части 19B контейнера 19 с уменьшенным риском повторного захвата в воздушный поток.
На фиг. 19 представлен вид в разрезе сепараторного блока 118 в соответствии с другим примером. Выпускной элемент 138 в данном случае образован асимметричной конической частью. Наклонная кромка 140 образована сечением конической части плоскостью.
Путь 32А для отделенного воздушного потока от отверстия выпускного элемента 138 к воздушному каналу 22 может быть, например, определен пространственным расположением выпускного элемента 138 и, в частности, отверстия относительно воздушного канала 22.
Как показано на фиг. 19, выпускной элемент 138 имеет первую сторону 153A и вторую сторону 153B. В этом конкретном примере первая сторона 153A противоположна второй стороне 153B. Когда устройство 10 ориентировано для использования, выпускной элемент 138 расположен таким образом, что отделенная вода и/или частицы грязи накапливаются и направляются в направлении первой стороны 153A. Первая сторона 53А оканчивается в самой нижней точке 152 выпускного элемента 138, от которой проходит путь 39 для потока отделенной воды.
Воздушный канал 22 расположен вблизи второй стороны 153B и вдали относительно первой стороны 153A. Эта геометрия может привести к тому, что путь 32А для отделенного воздушного потока будет направлен от первой стороны 153A в направлении воздушного канала 22. Таким образом, путь 32А для отделенного воздушного потока направлен в сторону от пути 39 для отделенного потока воды, и по существу предотвращается их пересечение.
Следует подчеркнуть, что путь 32А для отделенного воздушного потока может быть задан любым подходящим способом. В варианте осуществления внутренняя стенка 19E дополнительно служит для блокирования воздушного потока от первой стороны 153A выпускного элемента 138 (в направлении которой направляется вода и/или частицы грязи) в воздушный канал 22. В этом случае путь 32A для отделенного воздушного потока предусмотрен между второй стороной 153B выпускного элемента 138 и воздушным каналом 22.
На фиг. 20 изображено устройство 10 для влажной уборки, содержащее сепараторный блок 218 циклонного типа. В этом примере воздушный поток втягивается через трубу 234 в контейнер 19. При входе в контейнер 19 воздушный поток направляется вокруг полого цилиндрического элемента 236 пути потока, в результате чего вода, захваченная воздушным потоком, отделяется от него и собирается в нижней части 19B контейнера 19. Отделенный воздух проходит в полый цилиндрический элемент 236 пути потока и через него в направлении двигателя 14 и вентилятора 16 через воздушный канал 22.
В этом примере устройство 10 для влажной уборки дополнительно содержит описанную выше внутреннюю стенку 19E, так что риск повреждения двигателя 14 при попадании воды в воздушный канал 22, в частности, когда устройство 10 для влажной уборки наклоняют для уборки под мебелью, сводится к минимуму.
В примере, показанном на фиг. 20, устройство 10 для влажной уборки также содержит направляющий воду элемент 26, чтобы предотвращать продолжение перемещения собранной воды CW, выплескивающейся на вторую боковую часть 19D, вдоль второй боковой части 19D в направлении воздушного канала 22, как описано ранее.
Другие вариации раскрытых вариантов осуществления могут быть поняты и реализованы специалистом в данной области техники при осуществлении заявленного изобретения на практике после ознакомления с чертежами, раскрытием и приложенной формулой изобретения. В формуле изобретения слово «содержащий» не исключает наличия других элементов или этапов, а грамматические показатели единственного числа не исключают множества. Сам факт того, что определенные меры изложены в отличающихся друг от друга зависимых пунктах формулы изобретения, не означает, что сочетание этих мер не может быть использовано для получения преимущества. Никакие ссылочные позиции в формуле изобретения не должны рассматриваться как ограничивающие объем изобретения.
| название | год | авторы | номер документа |
|---|---|---|---|
| УСТРОЙСТВО ДЛЯ ВЛАЖНОЙ УБОРКИ | 2021 |
|
RU2834221C1 |
| УСТРОЙСТВО И СПОСОБ ВЛАЖНОЙ УБОРКИ | 2021 |
|
RU2840260C1 |
| ПЫЛЕСОС И СОБИРАЮЩИЙ КОНТЕЙНЕР (ВАРИАНТЫ) | 1997 |
|
RU2169517C2 |
| ЦИКЛОННЫЙ БЛОК ДЛЯ ИСПОЛЬЗОВАНИЯ В ПЫЛЕСОСЕ ДЛЯ ВЛАЖНОЙ УБОРКИ | 2021 |
|
RU2834219C1 |
| ПЫЛЕСОС ДЛЯ ВЛАЖНОЙ УБОРКИ | 2021 |
|
RU2832876C1 |
| ПЫЛЕСОС | 2011 |
|
RU2559232C2 |
| ХОЛОДИЛЬНИК, ИМЕЮЩИЙ УСТРОЙСТВО ДЛЯ ПРИГОТОВЛЕНИЯ ЛЬДА (ВАРИАНТЫ) | 2010 |
|
RU2488752C1 |
| ЧИСТЯЩАЯ ГОЛОВКА И УСТРОЙСТВО ДЛЯ ВЛАЖНОЙ УБОРКИ, СОДЕРЖАЩЕЕ ЕЕ | 2023 |
|
RU2826257C2 |
| УСТРОЙСТВО ДЛЯ ВЛАЖНОЙ УБОРКИ | 2023 |
|
RU2833960C2 |
| РАСПРЕДЕЛЯЮЩИЙ ЖИДКОСТЬ ЩЕТОЧНЫЙ УЗЕЛ И СПОСОБ ЕГО РАБОТЫ | 2009 |
|
RU2514751C2 |
Предложено устройство (10) для влажной уборки, такое как пылесос для влажной уборки. Устройство для влажной уборки содержит чистящую головку (12) для очистки поверхности, подлежащей очистке. Головка очистителя имеет впускное отверстие (11) для грязи. Двигатель (14) и вентилятор (16) обеспечивают всасывание на впускном отверстии для грязи. Устройство для влажной уборки включает в себя сепараторный блок (18) для отделения воды от потока воздуха, создаваемого всасыванием. Отделенная вода собирается в контейнер (19). Контейнер имеет верхнюю часть (19А), нижнюю часть (19B) и боковую часть (19D), проходящую между ними. Отделенный воздух проходит из контейнера в направлении двигателя и вентилятора через воздушный канал (22). Воздушный канал пространственно отделен от нижней части контейнера. Устройство для влажной уборки имеет ручку (24) для захвата пользователем устройства. Пользователь, толкающий ручку, вызывает перемещение вперед по меньшей мере чистящей головки и контейнера, а пользователь, тянущий ручку, вызывает перемещение назад указанных по меньшей мере чистящей головки и контейнера в направлении пользователя. Вода, собранная в контейнере, выплескивается на боковую часть контейнера, когда пользователь толкает чистящую головку и контейнер вперед. Направляющий воду элемент (26) плотно примыкает к боковой части и выступает внутрь контейнера в обратном направлении от боковой части, чтобы тем самым предотвратить продолжение перемещения воды, выплескиваемой на боковую часть, вдоль боковой части в направлении воздушного канала. Технический результат заявленного изобретения заключается в повышении эффективности работы устройства. 15 з.п. ф-лы, 20 ил.
1. Устройство (10) для влажной уборки, содержащее:
чистящую головку (12) для очистки поверхности, подлежащей очистке, причем чистящая головка имеет впускное отверстие (11) для грязи;
двигатель (14) и вентилятор (16) для обеспечения всасывания во впускном отверстии для грязи;
сепараторный блок (18, 118, 218) для отделения воды от потока воздуха, созданного всасыванием;
контейнер (19) для сбора отделенной воды, причем контейнер имеет верхнюю часть (19А), нижнюю часть (19B) и боковую часть (19D) между верхней частью и нижней частью;
воздушный канал (22), предусмотренный в контейнере для пропускания воздуха, отделенного от воды, в направлении двигателя и вентилятора, причем воздушный канал пространственно отделен от нижней части контейнера;
ручку (24) для захвата пользователем устройства, при этом ручка, чистящая головка и контейнер расположены таким образом, что пользователь, толкающий ручку, вызывает перемещение вперед чистящей насадки и контейнера, а пользователь, тянущий ручку, вызывает перемещение назад указанных чистящей насадки и контейнера в направлении пользователя, при этом вода, собранная в контейнере, выплескивается на боковую часть контейнера во время указанного проталкивания;
шарнирный узел (13) между чистящей головкой и контейнером, причем шарнирный узел выполнен с возможностью наклона контейнера в направлении пользователя, захватившего ручку, в то время как впускное отверстие для грязи продолжает обеспечивать всасывание на поверхности, подлежащей очистке; и
направляющий воду элемент (26), плотно примыкающий к боковой части, при этом направляющий воду элемент выступает назад от указанной боковой части, чтобы тем самым предотвратить продолжение перемещения указанной воды, выплескивающейся на боковую часть, вдоль боковой части в направлении воздушного канала.
2. Устройство (10) для влажной уборки по п. 1, в котором самый длинный боковой выступ направляющего воду элемента (26) от боковой части (19D), измеренный перпендикулярно боковой части, составляет по меньшей мере 5 мм;
предпочтительно указанный самый длинный боковой выступ составляет от 10 до 50 мм или до 75% от внутренней ширины контейнера (19).
3. Устройство (10) для влажной уборки по п. 1 или 2, в котором направляющий воду элемент (26) содержит периферийную запорную область или уплотнительную часть (26А) для плотного примыкания направляющего воду элемента к боковой части (19D); причем толщина направляющего воду элемента увеличивается в направлении участка боковой части, к которой плотно примыкает периферийная запорная область или уплотнительная часть.
4. Устройство (10) для влажной уборки по п. 3, в котором направляющий воду элемент (26) содержит поверхность, обращенную в сторону от воздушного канала (22), и в котором направляющий воду элемент содержит искривленную поверхность, которая искривлена от указанной поверхности в направлении периферийной запорной области или уплотнительной части (26А).
5. Устройство (10) для влажной уборки по п. 3 или 4, в котором уплотнительная часть (26А) выполнена из эластомерного материала;
причем эластомерный материал содержит силиконовый каучук.
6. Устройство (10) для влажной уборки по любому из пп. 1-5, в котором направляющий воду элемент (26) содержит первую поверхность (26B) и/или вторую поверхность (26C) для контакта с водой, выплескивающейся на боковую часть (19D).
7. Устройство (10) для влажной уборки по п. 6, в котором первая поверхность (26B) проходит перпендикулярно боковой части (19D) или наклонена к верхней части (19A) контейнера (19);
вторая поверхность (26C) отклонена в направлении нижней части (19B) контейнера таким образом, чтобы направлять воду на нем в сторону от воздушного канала (22), или, когда первая поверхность наклонена к верхней части (19A) контейнера, вторая поверхность проходит перпендикулярно боковой части;
при этом первая поверхность проходит от боковой части, а вторая поверхность проходит от первой поверхности.
8. Устройство (10) для влажной уборки по п. 6 или 7, в котором направляющий воду элемент (26) содержит первую поверхность (26B) и вторую поверхность (26C), причем вторая поверхность искривлена от первой поверхности в направлении нижней части (19B) контейнера и/или в направлении боковой части (19D).
9. Устройство (10) для влажной уборки по любому из пп. 1-8, в котором направляющий воду элемент (26) выполнен с возможностью отсоединения от боковой части (19D).
10. Устройство (10) для влажной уборки по любому из пп. 1-9, в котором внутренняя поверхность боковой части (19D) выполнена дугообразной таким образом, что внутренняя поверхность искривлена наружу в прямом направлении.
11. Устройство (10) для влажной уборки по любому из пп. 1-9, содержащее внутреннюю стенку (19E), проходящую от верхней части (19A) к нижней части (19B) контейнера (19), причем между контейнером и внутренней стенкой образовано пространство (25), при этом вода, собранная в нижней части контейнера, поступает в указанное пространство, когда контейнер ориентирован так, что собранная вода перемещается от нижней части к верхней части контейнера, причем внутренняя стенка выполнена с возможностью предотвращения попадания воды, поступившей в пространство, в воздушный канал (22); при этом внутренняя стенка герметично примыкает к контейнеру, и/или при этом внутренняя стенка и контейнер выполнены за одно целое.
12. Устройство (10) для влажной уборки по любому из пп. 1-11, в котором сепараторный блок (18, 118, 218) и направляющий воду элемент (26) включены в съемный блок, причем указанный съемный блок выполнен с возможностью отсоединения от контейнера (19).
13. Устройство (10) для влажной уборки по пп. 12, 10 или 11, в котором внутренняя стенка (19E) включена в съемный блок.
14. Устройство (10) для влажной уборки по любому из пп. 1-13, в котором сепараторный блок (18, 118, 218) содержит по меньшей мере одно, выбранное из сепараторного блока лабиринтного типа, сепараторного блока фильтрующего типа и сепараторного блока циклонного типа.
15. Устройство (10) для влажной уборки по любому из пп. 1-14, содержащее трубу (34) для подачи воздушного потока в сепараторный блок (18), причем сепараторный блок содержит чашку, которая принимает конец трубы; при этом труба проходит в центральной области контейнера в направлении чашки.
16. Устройство (10) для влажной уборки по любому из предшествующих пунктов, в котором направляющий воду элемент (26) расположен ниже выхода трубки (34, 134, 234) для подачи указанного воздушного потока в сепараторный блок (18, 118, 218).
| БИОЛОГИЧЕСКАЯ РЕЗОРБИРУЕМАЯ МЕМБРАНА, АРМИРОВАННАЯ ТИТАНОВЫМ КАРКАСОМ, ДЛЯ КОСТНОЙ РЕГЕНЕРАЦИИ | 2018 |
|
RU2693000C1 |
| US 2016227973 A1, 11.08.2016 | |||
| FR 2878726 A1, 09.06.2006 | |||
| ПЫЛЕСОС И СОБИРАЮЩИЙ КОНТЕЙНЕР (ВАРИАНТЫ) | 1997 |
|
RU2169517C2 |
Авторы
Даты
2025-02-04—Публикация
2021-09-17—Подача