Изобретение относится к судостроению, в частности к сторожевым кораблям, предназначенным для несения боевой службы по охране заданной акватории моря от надводных кораблей, в том числе без экипажных катеров, кораблей и десантных средств противника, а также для противовоздушной и противоракетной обороны заданной акватории моря, портов и военно-морских баз, как самостоятельно, так и с целью усиления обороны заданного объекта в составе ордера, как однотипных кораблей, так и кораблей других типов.
Известен надводный корабль типа фрегат предназначенный для уничтожения надводных кораблей, судов и десантных средств противника, а также для противовоздушной и противоракетной обороны кораблей, и транспортов, огневой поддержки десанта, патрулирования и несения боевой службы, совместно с другими кораблями, характеризующийся тем, что он содержит корпус с бортами с обшивкой, днищем, вторым дном, успокоителем качки, форштевнем, носовой оконечностью с бульбовым обтекателем, заглубленным ниже основной плоскости корпуса корабля, кормовой оконечностью с транцем, верхней и нижней палубами, надстройку, энергетическую установку, снабженную движительным комплексом, навигационное оборудование, вооружение, боевые и технические средства и вооружение, общесудовые и локальные системы и устройства, причем корпус корабля выполнен с удлиненным баком, в надводной части имеет один слом по каждому борту, который проходит предпочтительно по всей длине корпуса, при этом линия указанного слома по каждому из бортов выполнена с имеющим переменный градиент нарастанием подъема по длине в направлении к носовой части корабля, причем в кормовой части линия слома расположена преимущественно ниже уровня верхней палубы, точка перехода через уровень верхней палубы расположена в районе мидельшпангоута ±7,5% от длины корабля между перпендикулярами, а средний градиент нарастания подъема линии слома на участке от точки перехода через уровень верхней палубы до носового перпендикуляра в 8÷15 раз превышает аналогичную величину нарастания подъема линии слома в кормовой части, причем, по крайней мере, большая часть расположенных выше линии слома бортовой обшивки корпуса и надстройки выполнена по высоте с углом завала к ДП не менее чем на 5° в зоне, примыкающей к линии слома, и не менее чем на 7° - у верхней границы обшивки, а кормовая оконечность корабля, транцевая, выполнена с наклоном в корму, причем объем, количество и взаимное расположение на нем главных водонепроницаемых отсеков корпуса корабля, образованных главными водонепроницаемыми переборками, принято обеспечивающим непотопляемость корабля при наиболее неблагоприятном затоплении в основном трех смежных главных водонепроницаемых отсеков, во всех случаях от стандартного до полного водоизмещения, при общей длине затопления не менее 21,0 м, корабль выполнен с оборудованной средой обитания, а в среде обитания выделены зоны и/или отсеки, в которых сблокированы жилые, общественные и служебные помещения, оборудованные смонтированными в них, соответствующими их назначению техническими средствами и элементами общесудовых систем, в том числе корабль содержит комплекс тепло- и звукоизолированных помещений, в том числе включающий не менее одной каюты для высшего комсостава, каюты для среднего комсостава, кубрики для команды, а также не менее двух кают-компаний и столовых, камбузный блок, оборудованный электроплитой, пищеварными судовыми электрокотлами, кроме того, камбузный блок содержит буфеты для личного состава, оборудованные судовыми электрическими мармитами, кипятильниками и холодильными шкафами и обеспечивающими автономность корабля по запасам провизии для экипажа провизионными кладовыми и холодильной установкой, дифференцированно поддерживающей необходимый температурный режим в зонах хранения продуктов от +2°С для свежих овощей и фруктов до -18°С для свежезамороженных продуктов; кроме того, корабль оснащен необходимыми для экологически оптимального обитания экипажа санитарно-гигиеническими помещениями, в том числе на корабле смонтированы оснащенные необходимым оборудованием прачечная, гладильная, бани, душевые, санузлы, а медицинские помещения выделены в отдельный блок и включают, амбулаторию, стерилизационную, изолятор и вспомогательные помещения, а также помещения, которые оборудованы на корабле по его функциональному назначению: посты, агрегатные помещения, погреба боезапаса, при этом перечисленные выше помещения оборудованы общесудовой системой вентиляции и, кроме того, смонтированной на корабле системой кондиционирования воздуха, корабль оснащен системой сжатого воздуха, предназначенной для обеспечения сжатым воздухом систем вооружения, систем управления и автоматики, а также систем пожаротушения, корабль оснащен навигационным оборудованием, а также комплексом гидрометеорологического обеспечения и включает систему инерциальной навигации и стабилизации, приборы которой вырабатывают и выдают вооружению и техническим средствам корабля текущие данные о географическом курсе корабля в плоскости горизонта, географических координатах - широте и долготе места нахождения корабля, углах бортовой качки, измеренной в плоскости шпангоута, и килевой качки, измеренной в диаметральной плоскости, угловой скорости качки и изменения курса; двух составляющих линейной скорости корабля относительно грунта в месте установки гироприбора в географической системе координат; трех составляющих мгновенной скорости корабля, вызванной качкой и орбитальным движением корабля в месте установки гироприбора в географической системе координат, трех составляющих линейного перемещения корабля, вызванного качкой и орбитальным движением корабля в месте установки гироприбора в географической системе координат и о суммарном угле наклона палубы, корабль оснащен комплексами ударного ракетного оружия противовоздушной и противоракетной обороны, имеющими ракеты средней и малой дальности, а также крылатые ракеты, предусмотрены артиллерийские комплексы, активные и пассивные средства радиоэлектронной борьбы, на корабле оборудованы взлетно-посадочная площадка и ангар, необходимые для базирования и применения, в том числе в боевых условиях, по крайней мере, одного вертолета, а также средства авиационно-технического обеспечения и обслуживания полетов и содержания вертолета на корабле, в том числе гироскопическое устройство выставки курса, комплекс обработки полетной информации, система безопасной посадки, устройство хранения и подачи боезапаса, топливная система для заправки вертолета, системы электроснабжения, подачи сжатого воздуха в бортовые системы вертолета и гидроустановка для обмыва вертолета пресной водой, судовой стартово-командный пункт, обеспеченный радиосвязью с вертолетом, и средства пожаротушения, корабль выполнен с основными размерами: наибольшей длиной не менее 120 м, предпочтительно 125 м и длиной по конструктивной ватерлинии предпочтительно 115 м, наибольшей шириной не менее 15 м, высотой борта на одиннадцатом теоретическом шпангоуте не менее 9, предпочтительно 9,74 м; заглубление носового бульбового обтекателя принято ниже основной плоскости, например, около 2 м, а заглубление конца лопасти гребного винта ниже основной плоскости составляет, например, около 1,36 м; водоизмещение: стандартное 3000-4000 т, предпочтительно около 3350 т, при этом нормальное и полное водоизмещение составляют около 3600 и 3860 т соответственно, причем средние осадки составляют при стандартном водоизмещении около 4,28 м, при нормальном - около 4,47 м, при полном - около 4,66 м; показатели остойчивости корабля: угол заката диаграммы статической остойчивости при стандартном водоизмещении - не менее 80° и начальная поперечная метацентрическая высота при том же водоизмещении составляет не менее 0,80 м, при этом остойчивость неповрежденного корабля выполнена обеспечивающей безопасное плавание на всех курсовых углах относительно ветра и волн в условиях бортовой качки около 25° и шквального ветра при стандартном водоизмещении - не менее 33 м/с, при нормальном - не менее 45,0 м/с, а при большей скорости ветра безопасность плавания корабля обеспечена выбором и прокладкой переменного курса относительно ветра и волн, а также сохранением остойчивости, например, за счет не расходуемого запаса топлива или балластировки корабля, при этом на корабле оборудовано два поста приема жидких грузов по траверзному способу, имеющих трубопроводы, в том числе для приема топлива и пресной воды условным диаметром предпочтительно 100 мм, и один для пресной воды условным диаметром предпочтительно 50 мм, предусмотрен также прием жидких грузов с носа по кильватерному способу в положении буксировки на расстоянии до 200 м по шлангу условным диаметром около 100 мм и сухих грузов массой одной упаковки или передаваемой единицы груза предпочтительно не более 1000 кг, конструкция корабля и оснащение корпуса и надстройки, основные размеры, его обводы, принятые главная энергетическая установка и гребные винты в совокупности обеспечивают мореходность корабля, создающую возможность безопасного плавания, способность длительного поддержания хода на сниженных скоростях и управляемость, достаточные для плавания и маневрирования на всех океанских театрах при любом состоянии моря и ветра и использования вооружения и судовой техники без ограничений: при работающем успокоителе качки и волнении моря до пяти баллов включительно и свободное маневрирование на заднем ходу посредством рулей и гребных винтов при волнении моря в четыре балла, при этом экономическая скорость составляет около 14 узлов, скорость полного переднего хода составляет при температуре забортного воздуха 15°С около 30 узлов, при этом при повышении температуры забортного воздуха до 40°С снижение величины скорости полного хода не превышает двух узлов; дальность плавания на экономической скорости при температуре забортного воздуха 15°С составляет около 5000 миль; диаметр установившейся циркуляции в условиях тихой воды при полной перекладке руля на 35° при нормальном водоизмещении и полной скорости хода составляет не более 7 наибольших длин корабля
Данный корабль является быстроходным водоизмещающим однокорпусным кораблем, который обеспечивает уничтожение надводных кораблей, судов и десантных средств противника, а также для противовоздушной и противоракетной обороны кораблей и транспортов, огневой поддержки десанта, патрулирования и несения боевой службы совместно с другими кораблями. (RU 2311313, B63B 1/06, B63B 1/08, D63G 6/00, заявл. 07.08.2006г., опубл. 27.11.2007г., бюлл.№33).
Недостатком данного корабля является большая длина ватерлинии, что делает его уязвимым для атаки большим числом без экипажных катеров. При большом количестве атакующих без экипажных катеров имеющегося на борту корабля вооружений оказывается недостаточным чтобы уничтожить все атакующие без экипажные катера. В то же время так как без экипажные катера целятся в наиболее уязвимые части ватерлинии длинного корпуса, а также нацелены на повторное попадание в уже поврежденный борт, так как управляются в реальном масштабе времени по телевизионной картинке, то это приводит к получению кораблем критических повреждений и его затоплению. Кроме этого, быстроходность для целей сторожевого охранения не является важной необходимостью так как дежурство ведётся в заданном районе, зачастую имеющем очень малые границы. Однако достижение быстроходности требует мощной энергетической установки, а значит существенно повышает стоимость такого корабля. Так же такой корабль с длинным корпусом во время шторма испытывает большую болтанку что затрудняет, если не исключает вообще, его боевое применение во время шторма. При уменьшении водоизмещения, мореходность такого корабля во время шторма ещё больше падает.
Известен надводный корабль гидрографической и патрульной службы для всепогодного океанского дежурства по охране морских рубежей и контроля морских акваторий на Дальнем Востоке России, у которого форма корпуса и общекорабельная архитектура оптимизированы для эффективного решения широкого круга морских экспедиционных научно-исследовательских, поисковых и боевых задач в условиях ураганных ветров и интенсивного штормового волнения, при этом обеспечивается следующими ключевыми проектно-техническими решениями: надводный объем герметичного корпуса меньше водоизмещения корабля; заваленный в средней части корпуса борт корабля имеет максимальный угол наклона на уровне действующей ватерлинии; диаграмма статической остойчивости имеет S-образную форму с углом заката на 180°; в штормовых условиях на любой участок палубы вдоль борта корабля заливается примерно одинаковое количество воды; наводная часть форштевня корабля завалена в корму, а в подводной части форштевня сделан наклонный подрез; крейсерская корма имеет завал надводного борта и минимальное нависание кормового подзора, допускаемого использованием двухвальной схемы винто-рулевого комплекса; непосредственно за гребными винтами установлены горизонтальные крылья активных успокоителей качки на подпружиненных баллерах, которые в случае остановки главных машин начинают работать в качестве аварийных штормовых движителей; геометрия корпуса корабля с палубными рубками определяется охватывающим круговым цилиндром, при этом подводная часть корпуса гладкая и не содержит продольных скуловых или днищевых килей, а вдоль бортов на верхней палубе устраивается открытый проход, на котором потоки воды из гребней штормовых волн удерживаются с помощью палубных рубок и продольных комингсов; все бытовые и служебные помещения корабля располагаются под верхней палубой, которая одновременно является главной палубой прочного водонепроницаемого корпуса.
Патрульно-гидрографический корабль повышенной штормовой мореходности для открытого океана предназначен для всепогодного несения службы в дальневосточных морях России; непрерывного и комплексного контроля состояния морских акваторий; наблюдения за надводной и подводной обстановкой в открытом море и вблизи побережья Сахалина и Курильских островов, в том числе способный обеспечивать непрерывное решение поисковых и научно-исследовательских задач, проводить морскую разведку, гидрографическую и гидрометеорологическую поддержку сил флота; а также во взаимодействии с береговыми морскими службами эффективно решать задачи спасения человеческой жизни на море и информационного обеспечения безопасности мореплавания в штормовых условиях дальневосточных морей России и северо-западной части Тихого океана. Корабль имеет неограниченного района плавания, его форма корпуса и общекорабельная архитектура обеспечивают наилучшие штормовые мореходные качества в любых погодных условиях дальних океанских походов, что выражается в возможности поддержания высокой скорости хода любым курсом относительно ураганного ветра и штормовых волн с минимальной бортовой и килевой качкой, и, как следствие, способного эффективно использовать все бортовые и забортные технические средства наблюдения и корабельные вооружения.
Основные технические характеристики корабля:
На борту корабля имеются противокорабельное и зенитное вооружение; радиолокационные комплексы контроля надводной обстановки и специальные системы гидрометеорологического наблюдения; кормовая аппарель для спуска на воду крупного автономного или буксируемого плавсредства, а также гидрофизическое и гидрографическое поисковое оборудование, в том числе представленное самоходными надводными и подводными аппаратами и буксируемыми параванами. При проведении подводных поисковых или гидрографических работ корабль способен образовать широкое поле самоходных и буксируемых гидрофизических станций, обеспечивая покрытие большой по площади морской акватории за один галс. (RU2384456, B63B 35/00, B63B 1/02, B63B 1/32, заявл.04.05.2008г., опубл. 20.03.2010, бюлл.№8).
Недостатком данного корабля является большая длина ватерлинии из-за горизонтального расположения корпуса относительно поверхности воды, что делает его уязвимым для атаки большим числом без экипажных катеров, начиненных взрывчаткой. При большом количестве атакующих без экипажных катеров, имеющегося на борту корабля вооружений оказывается недостаточным чтобы уничтожить все одновременно атакующие без экипажные катера. В то же время, без экипажные катера целятся в наиболее уязвимые части длинного корпуса, а также нацелены на повторное попадание в уже поврежденный борт, так как управляются в реальном масштабе времени по телевизионной картинке через системы спутниковой связи, что приводит к получению кораблем критических повреждений и его затоплению. В то же время данный корабль во время шторма испытывает значительную болтанку, что затрудняет, боевое применение вооружения во время шторма. Также небольшие размеры корабля ограничивают количество вооружения, которое может быть размещено на его борту, в том числе возможность базирования вертолёта на данном корабле.
Известна плавающая модульная система, состоящая из комплекса цилиндров, расположенных вокруг общей оси и жестко соединенных между собой, в состав цилиндров входят металлические баллоны для хранения нефти в водяном столбе, сообщающемся с водой, окружающей систему, уровень воды в указанных металлических резервуарах для хранения падает или повышается в зависимости от того, хранится ли нефть в резервуарах для хранения или извлекается из них, указанные металлические баллоны для хранения должны располагаться полностью ниже уровня окружающей воды,
по меньшей мере один металлический балластный цилиндрический элемент, заполненный по меньшей мере одним из масла, воды, воздуха и инертного газа, и связанный с регулирующими средствами для компенсации изменения плавучести модульной системы после изменения уровня воды и масла в указанных металлических баллонах для хранения, указано, что по крайней мере один металлический балластный цилиндрический элемент расположен ниже уровня окружающей воды, по меньшей мере один металлический флотационный цилиндр, по крайней мере, частично окруженный указанными резервуарами для хранения таким образом, чтобы образовать совокупность периферийных цилиндров, выступающих значительно ниже нижнего конца указанного, по меньшей мере, одного металлического флотационного цилиндра, указанного узла периферийных цилиндров и указанного нижнего конца указанного по меньшей мере одного металлического флотационного цилиндра, определяющего свободное пространство между ними, средства, расположенные в указанном свободном пространстве для повышения жесткости модульной системы, и кабельные средства, соединенные с анкерными средствами для анкеровки плавучей модульной системы на выбранном участке, причём в плавающей модульной системе предусмотрено множество балластных цилиндрических элементов, указанный по меньшей мере один металлический флотационный цилиндр приспособлен для занятия вертикального положения при использовании, нижний конец указанного флотационного цилиндра расположен ниже уровня воды, а верхняя часть указанного цилиндра выступает над уровнем воды и поддерживает, по меньшей мере, одну из палуб и платформы, содержащих по крайней мере, одно производственное и жилое помещение, сборка гидроцилиндров жестко закреплена по меньшей мере на одном флотационном баллоне на высоте, по меньшей мере, 25% высоты по меньшей мере одного флотационного баллона, в которой по меньшей мере один из деков и платформы соединен с указанным гидроцилиндром шарнирного соединения, позволяющим транспортировать его производственную сборку, включая, по меньшей мере, одну из палуб и платформы, в горизонтальном положении, при этом сборка баллонов приводится в вертикальное положение на месте, в то время как палуба остается в горизонтальном положении, в которой по меньшей мере, часть сборки периферийных цилиндров содержит внутреннюю разделительную стенку, определяющую в верхней ее части балластную камеру, расположенную над камерой хранения, в которой сборка периферийных цилиндров отделяется и блокируется на месте, по меньшей мере, от одной палубы и платформы таким образом, чтобы обеспечить по меньшей мере одну транспортировку и буксировку отдельно по меньшей мере одной палубы и платформы от сборки периферийных цилиндров, а затем сцепление по меньшей мере одного из палуб и платформы, оставшихся в горизонтальное положение со сборкой цилиндров, приведенных в вертикальное положение, в которой средство для повышения жесткости модульной системы включает балластные средства, расположенные в указанном свободном пространстве.
Плавающая модульная система работает следующим образом. Палуба или платформа соединена с флотационным цилиндром по меньшей мере одним шарнирным соединением, позволяющим транспортировать производственный узел, включая палубу, в горизонтальном положении после расцепления соединительных элементов, причем эта транспортировка к выбранному месту осуществляется путем буксировки у поверхности воды. В течение всего этого этапа транспортировки горизонтальное положение платформы поддерживается балластировкой этой платформы и/или с помощью оттяжек, раскосов или гидравлических цилиндров, соединяющих эту платформу с цилиндрами А1, А2, А3. Когда система прибывает на выбранное место, начинается сборка цилиндров А1, А2, А3 . . . приводится в вертикальное положение, в то время как палуба остается в горизонтальном положении. Затем соединяются соединительные элементы. Плавающая модульная система содержит регулирующие средства, приспособленные для компенсации изменения плавучести этой системы вслед за изменениями водно-масляного уровня в резервуарах для хранения. Разница в плотности между водой и нефтью приводит к кажущемуся изменению веса воды в системе во время наполнения или опорожнения резервуаров для хранения. Для предотвращения соответствующих изменений осадки конструкции, которые могут затруднить загрузку нефтеналивных судов и повлиять на статическую устойчивость плавающей модульной системы она может быть оборудована детекторами изменения уровня границы раздела нефть-вода в резервуарах, причем эти детекторы контролируют забор или слив нефти или воды или подачу инертного газа или воздуха в балластные камеры В или из них. (US4703709, B65D 89/10, заявл.23.04.1984г., опубл.03.11.1987г.)
Недостатком такой плавающей модульной системы является наличие множества корпусов, которые надо разбирать и собирать при транспортировке, что требует большого времени при приведении такой модульной системы в рабочее положение. Форма цилиндров снижает скорость транспортировки из-за своих плоских торцов не имеющих обводов, что отрицательно сказывается на скорости развертывания и мореходности такой плавающей модульной системы, так же такой плавающий модуль не является кораблем, не имеет вооружения и радиоэлектронных средств наблюдения и борьбы, и не имеет бронирования ватерлинии в вертикальном положении плавающей модульной системы, что не позволяет его использовать как сторожевой корабль. Так же большое количество цилиндров предопределяет высокую стоимость такой плавающей модульной системы.
Известен вертикальный корабль для устойчивой транспортировки в условиях сильного волнения, содержащий, первую часть корпуса, нормально расположенную горизонтально над водной поверхностью, и вторую часть корпуса, которая может занимать как горизонтальное так и вертикальное положение, имеющую удлиненную форму в виде ножа, вторая часть корпуса обычно в эксплуатации находится под водой, вторая часть корпуса имеет гидродинамически обтекаемую конфигурацию с как правило узкими задними кромками передней части для уменьшения сопротивления при движении указанной передней кромкой вперед в ее обычной вертикальной ориентации; шарнирное соединение соединяющее первую часть корпуса со второй частью корпуса, что обеспечивает поддержание первой части корпуса над поверхностью воды в горизонтальном положении, когда вторая часть корпуса поворачивается из своей обычного вертикального положения в горизонтальное положение для выполнения определенных операций, включая проход через мелководье, посадку и погрузку; регулируемые балластные цистерны, расположенные во второй части корпуса, для поддержания первой части корпуса над поверхностью воды и для регулирования дифферента, положения и зазора днища второй части корпуса при различных нагрузках и условиях эксплуатации; множество двигательных установок, расположенных на вертикальном расстоянии друг от друга в пределах второй части корпуса, расположенные на некотором расстоянии относительно центра сопротивления второй части корпуса в вертикальном положении, что позволяет контролировать вертикальный угол второй части корпуса во время движения в вертикальном положении, путем регулирования относительной мощности каждого из указанных двигательных установок. При этом первая часть корпуса может быть выполнена отделяемой от второй части корпуса, причем первая часть корпуса является достаточно водонепроницаемой и плавучей, чтобы служить независимым судном в чрезвычайных ситуациях. Данное судно включает различные механизмы, которые расположены в пределах второй части корпуса, существенно ниже центра тяжести этой второй части корпуса. На данном судне имеются балластные средства, включающее средства для перевода второй части корпуса из вертикального положения относительно водной поверхности в горизонтальное положение относительно водной поверхности для входа на мелководье и погрузки. Данное судно включает опорные колеса, прикрепленные к внешней стороне второй части корпуса, примыкающие к разгрузочно-погрузочной аппарели, для увеличения грузоподъёмности аппарели при погрузо-разгрузочных операциях. Данное судно включает якорную пластину, прикрепленную к внешней стороне второй части корпуса на конце, удаленном от шарнирного соединения, предназначенную для выборочного закрепления нижнего конца второй части корпуса на морском дне. При этом, для повышения устойчивости судна, в том числе и устойчивости повреждениям от столкновений, центр тяжести судна может быть расположен в пределах одной трети второй части корпуса, наиболее удаленной соединения. Судно включает грузовой канал, продольно расположенный в пределах второй части корпуса для удержания груза, подлежащего транспортировке. Судно включает разворачиваемые аппарели, соединенные с верхней частью второй части корпуса, а также включает водонепроницаемые люковые средства для герметизации указанных средств внутри второй части корпуса во время нормального хода, аппарели развертываются для обеспечения погрузочно-разгрузочной рампы с места высадки на берег к грузовому каналу, для облегчения погрузки и выгрузки груза, когда люковое средство открыто. Судно включает плавучие кольцевые резервуары, скользящие вертикально за пределами второй части корпуса, соединенные с возвратно-поступательными средствами, закрепленными на второй части корпуса, этими возвратно-поступательными средствами, для преобразования энергии волн, сообщаемую волнами резервуарным средствам, в энергию, полезную для эксплуатации данного судна. При этом балластное средство, включает цистерну, насосы забортной воды и клапаны для перекачки морской воды в выбранные танки и из них для регулировки плавучести, дифферента и наклона. На судне установлены пропульсивные средства, включающее средства для забора морской воды по передней кромке второй части корпуса и средства для вытеснения морской воды по задней кромке второй части корпуса для более эффективного движения. Дополнительно движительное средство может дополнительно включать регулируемые отклоняющие средства для управления данным судном. На судне могут быть установлены горизонтальные плавниковые средства, прикрепленные к наружной поверхности второй части корпуса, для уменьшения скорости вертикального движения судна. Вторая часть корпуса судна может включать средства для его телескопирования на меньшую продольную длину. Кроме этого, судно дополнительно может включать средства стыковки челночного судна в верхней части второй части корпуса. судном (US4656959, B63B 1/32, заявл. 25.03.1985г., опубл. 14.04.1987г.).
Недостатком такого судна является отсутствие вооружения, что не позволяет использовать его в качестве сторожевого корабля. Плохая управляемость в вертикальном положение второй части корпуса, так как пропульсивные двигатели установлены неподвижно вертикально по оси второй части корпуса судна. Отсутствие бронирования ватерлинии в вертикальном положении второй части корпуса.
Наиболее близким к заявляемому техническому решению, является однокорпусное судно типа рангоутный буй, включающее энергетическую установку с движительным комплексом, перекидной механизм для превращения судна в рангоутный буй путем наклона судна целиком по отношению к водной поверхности таким образом, чтобы по крайней мере часть судна, ранее находившаяся над поверхностью воды, оказалась ниже поверхности воды, устойчивую платформу для поддержки аппаратов вертикального взлета и посадки (СВВП), имеющая конец, шарнирно прикрепленный к судну на консольной конструкции и систему привода и балансировки для поворота платформы в сторону от судна с помощью консольной конструкции, когда судно превращается в рангоутный буй, также такое однокорпусное судно содержит механизм переворачивания, который включает балластные цистерны, заполненные морской водой, чтобы заставить судно перевернуться в вертикальную ориентацию, причем балластные цистерны состоят из нескольких и разделенных балластных танков, стабильная платформа сегментирована и сложена для морских путешествий, система приведения в действие и балансировки включает противовесы для противовеса СВВП, садящихся на платформу однокорпусного рангоутного буя, дополнительно включающее в себя каюты экипажей для вспомогательного персонала, боновые заграждения для обеспечения дозаправки в море однокорпусного судна и антенны для поддержки связи, принимаемой и отправляемой однокорпусным судном.
Такое судно способно трансформироваться из горизонтального, походного, положения в рабочую конфигурацию рангоутного буя и развернуть десантно-взлетную платформу вертикального взлета и посадки (например, вертолета), расположенную значительно выше высоты волн при сильном волнении. Платформа стабильна при умеренных и суровых состояниях моря и может быть развернута в средней части океана или прибрежных водах.
Судно включает в себя режим плавучести, который выбирается между обычным судном и рангоутным буем. В состав корабля дополнительно входит посадочно-взлетная платформа СВВП.
Данный корабль в горизонтальном положении прибывает с помощь энергетической установки с движительным комплексом на театр военных действий, а по прибытию в заданную точку он быстро может быть переоборудован в рангоутный буй для несения постового дежурства. Вместо того, чтобы полагаться на корпуса большого водоизмещения для остойчивости платформы, судно использует стабильную динамику рангоутного буя, поэтому данный корабль может при значительно меньших размерах по сравнению с, например, авианосцами, выдерживать сильные шторма. Основным преимуществом данного корабля является малая длина ватерлинии в положении рангоутный буй, из-за чего воздействие волн на корпус корабля в положении рангоутный буй является намного меньшим, чем на корабль, находящийся в горизонтальном, походном, положении и поэтому имеющему большую ватерлинию из-за чего его корпус одновременно попадает на разные участки накатывающейся на него волны. (US7703407, B63B 35/50, B63B 35/44, заявл. 26.11.2007г., опубл. 27.04.2010г.).
Недостатком такого судна является отсутствие стационарно установленного вооружения, что не позволяет использовать такое судно как боевой сторожевой корабль. Другим недостатком такого судна является отсутствие усиления корпуса и бронирования корпуса в районе ватерлинии в вертикальном положении корпуса судна, что делает его очень уязвимым при атаках, в частности, без экипажных надводных дронов. Так же данный корабль невозможно удержать в заданном месте при наличии течений из-за отсутствия у него пропульсивных двигателей, которые могут перемещать корабль в вертикальном положении, а также разворачивать корпус судна вокруг оси в вертикальном положении в заданном направлении. Под воду уходит кормовая часть корпуса судна, а над водной поверхностью остаётся нос судна имеющее заостренную форму. Соответственно это не позволяет увеличивать её площадь, что очень выгодно при вертикальном положении корпуса судна. Так же недостатком такого судна является необходимость иметь два комплекта оборудования в одном помещении пункта управления и кают для экипажа, так как при преобразовании судна в рангоутный буй пол становится стеной, а одна стена становиться полом, в том числе это относится и к дверям, и к лестницам.
Необходимо отметить, что термин рангоутный буй, с моей точки зрения, правильнее переводить на русский язык как корабль типа морской пень, так как в вертикальном положении над поверхностью воды находится только небольшая часть корпуса судна. Поэтому полное авторское название предлагаемого сторожевого корабля: сторожевой корабль Арефина типа морской пень, сокращенно СКАРТИМОП, далее по тексту он будет обозначаться как СК.
Сущностью настоящего изобретения является создание СК, имеющего радикально уменьшенную длину ватерлинии в боевом положении, за счет поворота корабля из горизонтального, походного, положения в боевое, вертикальное положение, который в боевом положении представляет собой неподвижную устойчивую к волнению моря огневую точку, так как вооружен стационарно установленным на нём различным артиллерийским и ракетным вооружением или другим вооружением, прикрывающую заданный район в акватории моря.
Так же для расширения боевых возможностей СК, на нем может быть установлена одна или несколько радиолокационных станций, одна или несколько гидролокационных станций, а, так же, различные виды связи включая спутниковую связь.
Так как длина ватерлинии СК в боевом положении существенно короче длины ватерлинии в походном, горизонтальном, положении, то, соответственно, она может быть значительно лучше забронирована, а силовой каркас СК может быть значительно усилен в районе ватерлинии СК в вертикальном, боевом, положении корпуса. При этом в корпусе СК в районе ватерлинии в боевом положении могут быть убраны все легковоспламеняющиеся, взрывоопасные и критически важные для выживаемости СК устройства и механизмы. Это значительно повышает боевую устойчивость СК в боевых условиях, в том числе за счёт того, что даже при попадании в район ватерлинии СК в боевом положении надводного без экипажного дрона противника или другого боеприпаса, СК имеет весьма большую вероятность остаться на плаву, так как подводная часть корпуса СК в этом случае остаётся неповрежденной, даже при отрыве надводной части корпуса СК, за счет водонепроницаемых переборок являющихся обязательными на всех боевых кораблях. Оторванная надводная часть корпуса СК также может остаться на плаву за счет водонепроницаемости своей конструкции, что обеспечит дальнейшее спасение экипажа. Наличие вооружения позволяет защитить СК от нападения, в том числе без экипажных надводных катеров.
При использовании в качестве движительной комплекса поворотных винто-рулевых устройств, например, типа Azipod, расположенных попарно с разных сторон корпуса СК в горизонтальном положении, которые могут поворачиваться, СК может двигаться не только носом вперед, но и кормой вперёд, а в вертикальном положении при повороте винто-рулевых устройств в разные направления корпус СК может вращаться вокруг своей вертикальной оси. Таким образом, при использовании поворотных винто-рулевых устройств, расположенных попарно с разных бортов СК в вертикальном, боевом, положении корпуса СК обеспечивается повышенная маневренность СК. На СК может быть установлено несколько пар поворотных винто-рулевых устройств, разнесенных по длине корпуса СК. Это обеспечит более устойчивое управлении при перемещении СК в вертикальном положении корпуса.
Соответственно та часть корпуса СК, которая в вертикальном положении корпуса уходит под воду, может быть заужена для уменьшения сопротивления воды при движении СК ею вперёд. В этом случае эта часть может стать носовой частью СК, а та часть корпуса СК, которая остаётся над поверхностью воды при вертикальном положении корпуса СК, может быть сделана плоской, тупой, то есть стать кормовой частью, и вообще не предназначаться для быстрого перемещения СК при горизонтальном положении корпуса. Плоская торцевая часть корпуса СК, которая в вертикальном положении корпуса СК остается над поверхностью воды, может быть использована как взлетно-посадочная площадка для вертолётов и беспилотных летательных аппаратов. При этом не надо делать взлетно-посадочную площадку поворотной, что значительно упрощает конструкцию такой взлётно-посадочной площадки и повышает надежность её работы.
На СК может быть предусмотрен шлюз, при достаточных размерах корпуса СК, который может принимать и спускать на воду как без экипажные катера, так и катера. управляемые человеком. Эти катера могут нести различное вооружение и оборудование для выполнения различных задач, таких как перевозка людей, доставка грузов, а также несение боевого дежурства на большом удалении от своего базового СК. При этом при наличии на них вооружения, они могут участвовать в отражении атаки на больших удалениях от базового СК. Выполнение этих задач обеспечивается наличием телевизионного оборудования, гидроакустического оборудования, другого необходимого оборудования и соответствующего вооружения, а также наличием быстродействующей помехозащищенной связи, в том числе спутниковой связи.
Наличие взлетно-посадочной площадки и беспилотных летательных аппаратов, и даже пилотируемых вертолетов, обеспечивает разведку и наблюдение на больших удалениях от базового СК, а при наличии вооружениях на них и выполнение боевых задач по отражению атаки. Выполнение этих задач обеспечивается наличием телевизионного оборудования на беспилотных летательных аппаратах и быстродействующей помехозащищенной связи, в том числе спутниковой связи. Также СК может быть оборудован различными приборами наблюдения, оптическими, тепловизионными, акустическими и любыми другими, расширяющими возможности СК для выполнения поставленных перед ним задач.
Каюты экипажа и пункты управления при переходе СК из горизонтального положения корпуса, в вертикальное положение корпуса, могут поворачивать так, чтобы всегда оставаться горизонтальными относительно поверхности моря.
В то же время, учитывая сложность поворотного механизма больших размеров и то, что СК большую часть времени проводит на боевом дежурстве в вертикальном положении корпуса, каюты экипажа и пункт управления на том конце корпуса, который в вертикальном положении корпуса СК находится над водой, могут быть выполнены только для использования в вертикальном положении корпуса СК, а для работы в горизонтальном положении корпуса СК могут быть предназначены другие помещения, причем в вертикальном положении корпуса СК эти помещения могут уходить под воду.
Для дополнительной защиты ватерлинии СК в вертикальном положении корпуса СК, учитывая её относительно небольшую длину, могут дополнительно разворачивать плавающие элементы типа бонов.
Учитывая высокую мобильность СК, а также его относительную дешевизну, возможно быстрое создание с использованием нескольких СК для создания целой линии обороны, недалеко от баз постоянного базирования флота, насыщенной требуемым, большим, количеством как артиллерийского, так и/или ракетного, как противокорабельного так и/или противовоздушного вооружения,. Такая линия обороны будет достаточно мобильной, то есть может быстро развертываться и усиливаться на опасных направлениях. В этом случае на разных, в том числе и по водоизмещению, СК может быть установлено разное вооружение, и ордер может собираться под конкретную задачу.
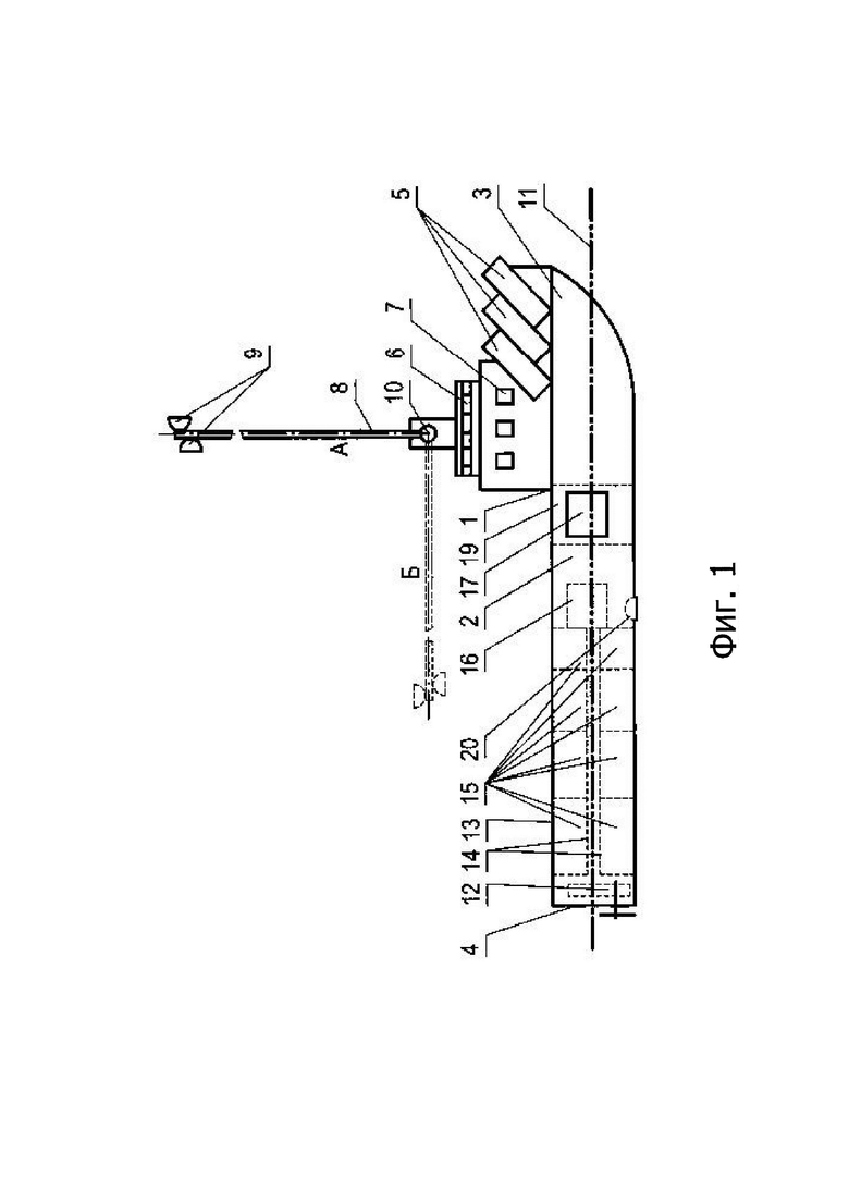
На фиг.1 показан СК в горизонтальном, походном, положении корабля.
На Фиг.2 показан СК в вертикальном, боевом, положении корабля.
На Фиг.3 показан СК с поворотной платформой в горизонтальном, походном, положении.
На Фиг.4 показан СК с поворотной платформой в вертикальном, боевом, положении.
На фиг.5 показан СК в горизонтальном, походном, положении корабля, на котором в качестве движительного комплекса установлены поворотные винто - рулевые устройства.
На фиг. 6 показан СК в горизонтальном, походном, положении, у которого при перевороте корпуса из горизонтального, походного, положения в вертикальное, боевое положение под воду уходит носовая часть корпуса, причем кормовая часть корпуса выполнена расширенной.
На Фиг.7 показан вид В сверху на СК показанный на Фиг.6.
На Фиг.8 показан СК в вертикальном, боевом, положении, у которого при перевороте корпуса из горизонтального, походного, положения в вертикальное, боевое положение под воду уходит носовая часть корпуса, причем кормовая часть корпуса выполнена расширенной, вокруг ватерлинии развернуты дополнительные защитные боны, а поворотные винто-рулевые устройства с разных бортов корпуса развернуты в одну сторону.
На Фиг.9 показан СК в вертикальном, боевом, положении, у которого при перевороте корпуса из горизонтального, походного, положения в вертикальное, боевое положение под воду уходит носовая часть корпуса, причем кормовая часть корпуса выполнена намного возвышающейся над корпусом в горизонтальном, походном, положении, а поворотные винто-рулевые устройства с разных бортов корпуса развёрнуты в разные стороны.
На Фиг.10 показан разрез Г- Г СК показанного на Фиг.9.
На Фиг.11 показан вариант размещения вооружения и оборудования на расширенной плоской площадке, находящейся над поверхностью воды в вертикальном, боевом, положении СК.
На Фиг.12 показан вариант боевого применения СК с использованием без экипажных катеров и беспилотных летательных аппаратов.
СК выполняет поставленные перед ним боевые задачи следующим образом:
СК 1, Фиг.1, имеет корпус 2, у которого есть носовая часть 3 и кормовая часть 4. На корпусе 2 СК 1 в носовой части 3 расположены одна или несколько ракетных установок 5, установленных, например, под углом 45 градусов к корпусу 2 СК 1, а также размещены пункт управления 6, каюты экипажа 7 и мачта 8, причем пункт управления 6 и каюты экипажа 7 могут обеспечивать свои функции как в горизонтальном положении корпуса 2 так и в вертикальном положении корпуса 2, это обеспечивается как за счет поворота их оборудования, так и за счет дублирования оборудования в разном положении, а на мачте установлено радиотехническое оборудование 9, например, оборудование для связи. Мачта 8 может поворачиваться вокруг оси 10 так, что в горизонтальном, походном, положении корпуса 2 она может располагаться как перпендикулярно корпусу 2 и водной поверхности 11, положение А, так и горизонтально водной поверхности 11, положение Б. В положении мачты 8 Б СК 1может проходить, например, под мостами. Энергетическая установка 12 с движительным комплексом обеспечивает движение СК 1 в горизонтальном положении. Длительное движение СК 1 осуществляется носовой частью 3 вперёд. Для этого носовая часть 3 имеет соответствующую заостренную форму. Таким образом СК 1 за счет энергетическую установки 12 с движительным комплексом перемещается в заданную точку боевого дежурства в горизонтальном положении корпуса 2 как обычный надводный корабль. При отсутствии энергетическую установки 12 с движительным комплексом на СК 1, что удешевляет СК 1, транспортировка СК 1 в заданную точку моря осуществляется с помощью буксира.
По при прибытии на место боевого дежурства, СК 1, Фиг. 2, за счет использования механизма 13 перехода из горизонтального положения в вертикальное, включающий балластные цистерны 14, которые состоят из нескольких разделённых танков 15, заполняемые морской водой насосами 16, путём наклона СК 1 целиком по отношению к водной поверхности 11 поворачивают корпус 2 СК 1,таким образом, чтобы, корпус 2 СК 1 перешёл из горизонтального положения в вертикальное положение. При этом корма 4, полностью оказывается ниже поверхности воды 11, а носовая часть 3 оказывается полностью над поверхностью воды 11. Ракетное вооружение 5 при этом поворачивается вместе с корпусом 2 на 90 градусов, но остается под углом 45 градусов к поверхности воды, то есть сохраняет свою боеспособность. Пункт управления 6 и каюты экипажа 7 остаются над водой, так как они расположены в носовой части 4 корпуса 2, а мачта 8 поворачивается вокруг оси 10 так, чтобы и в этом положении быть перпендикулярной к поверхности моря 11, то есть возвышаться над поверхностью моря 11, этим обеспечивается работоспособность радиотехнического оборудования 9, установленного на мачте 8 как в горизонтальном положении корпуса 2, так и в вертикальном положении корпуса 2 СК 1.
В корпусе 2 СК 1, при его достаточных размерах, может быть сделан шлюз 17 для приёма и спуска на воду, как без экипажных катеров 18, так и катеров 19, управляемых человеком. Шлюз 17 расположен на корпусе 2 таким образом чтобы в вертикальном, боевом, положении корпуса 2 СК 1 он частично располагался на заданном расстоянии ниже поверхности воды 11. Уровень погружения шлюза регулируется с помощью балластных цистерн 14. Так же шлюз 17 может быть расположен на корпусе 2 так, чтобы он частично располагался на заданном расстоянии ниже поверхности воды 11 при горизонтальном положении корпуса 2. Это позволит принимать и спускать на воду без экипажные катера 18, или катера 19, управляемые человеком при горизонтальном положении корпуса 2 СК 1. Уровень погружения шлюза 17 в этом положении также может регулироваться с помощью балластных цистерн 14. При необходимости для этого дополнительные балластные цистерны 14 (не показаны) могут быть размещены в носовой части 3 корпуса 2 СК 1.
В то же время без экипажные катера 18 и/или катера 19, управляемые человеком могут базироваться на вспомогательном судне (не показано). В этом случае количество без экипажных катеров 18 и/или катеров 19 управляемых человеком в зоне боевого дежурства СК 1 является практически неограниченным, что расширяет территорию контроля и обеспечивает ротацию без экипажных катеров 18 и/или катеров 19, управляемых человеком. Так же в этом случае размеры без экипажных катеров 18 и катеров 19, управляемых человеком, не привязаны к размерам корпуса 2 СК 1. Это позволяет делать корпус 2 СК 1 разных размеров, в том числе небольших размеров, и, соответственно СК 1 может иметь различное водоизмещение, а соответственно и стоимость.
Так как на СК 1 имеется мощная энергетическая установка 12, которая вырабатывает большое количество энергии, на нём в качестве радиотехнического оборудования 9 может быть установлены радиолокационные станции разного частотного диапазона. Так же в качестве радиотехнического оборудования 9 на СК 1 может быть размещено оборудование радиоэлектронной борьбы, в том числе для подавления сигналов спутниковой связи противника. Кроме этого, СК 1 в качестве радиотехнического оборудования 9 может быть установлено оборудование для приема и передачи сигналов систем связи в том числе различных спутниковых систем связи, разного частотного диапазона. На мачте 8 может быть установлено любое другое оборудование, например, тепловизионное и акустическое оборудование. Антенны спутниковой связи могут быть установлены на корпусе 2 так как они смотрят практически вертикально вверх и их нет необходимости поднимать на мачте 8 для увеличения дальности связи.
Так как в вертикальном положении корпуса 2 СК 1 его ватерлиния 20, Фиг.2, имеет относительно небольшую протяженность, то соответственно бронирование 21 ватерлинии 20 корпуса 2 СК 1 в вертикальном положении корпуса 2 может быть значительно усилено.
Также на корпусе 2 СК 1 может быть установлено гидроакустическое оборудование 22. При этом гидроакустическое оборудование 22 должно быть установлено на корпусе 2 СК 1 так, чтобы она находилось ниже поверхности воды 11как в горизонтальном положении корпуса 2, так и вертикальном положении корпуса 2 СК 1.
Так как СК 1 имеет два рабочих положения - горизонтальное, походное, положение и вертикальное, боевое, положение, то есть необходимость обеспечивать работу вооружения, пункта управления и каюты экипажа в этих двух положениях. Это может обеспечиваться как поворотом, или дублированием, каждого оборудования в отдельности, так и размещением этого оборудования на поворотной платформе 30, как показано на Фиг.3. В этом случае пункт управления 6, каюты экипажа 7, антенна 8 и, например, артиллерийское вооружение 31, размещены на платформе 30, которая может вращаться вокруг оси 32. В походном положении платформа 30 может крепится на опоры 33.
По прибытии на место боевого дежурства, Фиг.4, за счет использования механизма 13 перехода из горизонтального положения в вертикальное, корпус 2 СК 1 переводят из горизонтального положения в вертикальное положение, при этом кормовая часть 4, полностью оказывается ниже поверхности воды 11, а носовая часть 3 оказывается полностью над поверхностью воды 11. Поворотная платформа 30 при этом поворачивается вокруг оси 32 за счёт использования механизм поворота платформы 30 (не показан) всё время оставаясь в горизонтальном положении. Для устойчивой фиксации поворотной платформы 30 могут быть использованы распорки 34, например, в виде гидравлических цилиндров. В этом случае может быть осуществлена стабилизация поворотной платформы 30 в условиях морской качки. Наличии поворотной платформы 30 позволяет разместить на ней пункт управления 6 СК 1, в том числе вооружением, а также каюты экипажа 7. В этом случае не надо дублировать оборудование пункта управления 6 и оборудования в каютах экипажа 7.
Для улучшения управляемости СК 1 в качестве движительного комплекса, могут быть использованы поворотные винто-рулевые устройства 40, например, типа Azipod, расположенные попарно с разных сторон корпуса 2, например, четыре 40a, 40b, 40c, 40d, Фиг.5. В этом случае при движении СК 1 носовой частью 3 вперед, эти поворотные винто-рулевые устройства 30 развернуты вдоль корпуса 2, винтами 41в строну кормовой части 4. В этом случае они создают тягу в направлении носовой части 3, которая заострена чтобы создавать меньшее сопротивление движению СК 1. При развороте поворотных винто-рулевых устройств 40 на 180 градусов, или реверсирование вращения винтов 41, они начинают создавать движущую силу так чтобы СК 1 двигался кормовой частью 4 вперёд.
Так как при использовании поворотных винто-рулевых устройств 40, возможно движение СК 1 вперёд как носовой частью 3, так и кормовой частью 4, то, если часть 44 корпуса 2 сделать заостренной, Фиг.6, СК 1 сможет двигаться этой частью 44 корпуса 2 вперед штатно, то есть с небольшим сопротивлением движению, при перемещении в горизонтальном положении корпуса 2, другими словами часть 44 корпуса 2 станет носовой частью при движении СК 1 в горизонтальном положении. Это позволяет часть 43 корпуса 2 сделать тупой, и даже плоской. Причём сделать её большего размера чем основной корпус 2. В этом случае часть 43 корпуса 2 будет кормовой частью корпуса 2 при его движении в горизонтальном положении. Необходимо отметить, что в этом случае при перевороте корпуса 2 из горизонтального положения в вертикальное положение, под воду будет уходить носовая часть 44 корпуса 2 СК 1. Это позволит использовать плоскую часть 45 кормовой части 43 , которая в этом случае при перевороте корпуса 2 из горизонтального положения в вертикальное положение, полностью окажется над поверхностью воды 11, в вертикальном, боевом, положении корпуса 2 СК 1, в качестве взлётно-посадочной площадки для вертолетов или беспилотных летательных аппаратов, Фиг.7. Это гораздо практичнее чем откидывающаяся взлётно-посадочная площадка для вертолетов и беспилотных летательных аппаратов как показано в прототипе. Кроме этого, в расширенной кормовой части 43 могут быть сделаны дополнительные, на самом деле основные так как используются в вертикальном, боевом, положении, пункт управления 46 и каюты экипажа 47, то есть в горизонтальном положении корпуса 2 СК 1 будут использоваться пункт управления 6 и каюты экипажа 7, а при вертикальном положении корпуса 2 СК 1 будут использоваться пункт управления 46 и каюты экипажа 47.
В то же время при вертикальном положении корпуса 2 СК 1 поворотные винто-рулевые устройства 40 могут быть развёрнуты перпендикулярно корпусу 2, Фиг.8. В этом случае, если все поворотные винто-рулевые устройства 40 развернуты в одну сторону, то СК 1 может двигаться в нужном направлении в вертикальном положении. Это весьма важно в случае установки СК 1 на боевое дежурство в месте, где есть течение. Если поворотные винто-рулевые устройства 40 с одной стороны корпуса 2, например 40a, 40c, будут развернуты в одну сторону, а поворотные винто-рулевые устройства 40 с другой стороны корпуса 2, например, 40b, 40d будут развернуты в другую сторону, Фиг.9, или винты 41b и 41d будут реверсированы, то корпус 2 СК 1, находящегося в вертикальном положении, начнет вращаться вокруг своей оси в заданном направлении. Соответственно будет разворачиваться и вооружение установленное на СК 1. Несколько пар поворотных винто-рулевых устройств 40 разнесенных по длине корпуса 2 обеспечивают лучшую балансировку вертикального положения корпуса 2 при движении в вертикальном положении корпуса 2.
При использовании СК 1 на небольших глубинах моря целесообразно наличие на СК 1 якорного устройства 48, расположенного на затопляемом при переходе корпуса 2 в вертикальное положение кормовой части корпуса 4 или носовой части 44 корпуса 2. В этом случае при переходе СК 1 в боевое, вертикальное, положение корпуса 2 в заданной точке, отдаётся якорь 49, и он удерживает СК 1 в заданной точке моря.
Так как в вертикальном положении СК 1 практически не перемещается, оставаясь в точке боевого дежурства, а ватерлиния 20 СК 1 имеет небольшие размеры, то в качестве дополнительной защиты корпуса 2 СК 1 от атаки без экипажных катеров вокруг корпуса 2 СК 1 могут быть развернуто боновое заграждение 50, Фиг.9. Устанавливаться боновое заграждение 50 может с помощью катеров 19, управляемых человеком. При необходимости принимать или спускать на воду без экипажные катера 18 и/или катера 19, управляемые человеком в корпус 2 СК 1, через шлюз 17, боновые заграждения 50 могут раздвигаться катером 19, управляемым человеком. При переворачивании корпуса 2 СК 1 из вертикального положения в горизонтальное положение боновые заграждения 50 отодвигаются от корпуса 2 СК 1. Боновые заграждения 50 могут перевозиться на корпусе 2 СК 1 в горизонтальном положении корпуса 2 или транспортироваться к месту боевого дежурства СК 1 вспомогательными судами (не показаны).
С целью увеличения площади плоской части 45 она может быть расширена вверх, в бока, если смотреть при положении корпуса 2 в горизонтальном положении, Фиг.9., и даже вниз, хотя расширение вниз создаёт дополнительное сопротивление движению СК 1 в горизонтальном, походном, положении корпуса 2 СК 1. В этом случае для обеспечения вертикальной устойчивости СК 1в вертикальном, боевом, положении корпуса 2, в носовой части 44 корпуса 2 могут быть установлена вертикальная надстройка 51, в которой разместятся механизма 52 перехода из горизонтального положения в вертикальное, включающий балластные цистерны 53, которые состоят из нескольких разделённых танков 54, заполняемые морской водой насосами 55, путём наклона СК 1. Для обеспечения устойчивости корпуса 2 СК 1 в вертикальном положении корпуса надстройка 51 может выдаваться в бока от корпуса 2 СК 1 и даже вниз, хотя это повысит сопротивление движению СК 1 в горизонтальном положении. Для повышения жёсткости СК 1 между вертикальными надстройками 51, расположенными в носовой части 44 корпуса 2 и надстройкой 56, расположенной в кормовой части 43 корпуса 2 могут быть установлены колонны 57. Форма надстройки 51 выбирается при проектировании конкретного СК 1, например, она может быть выполнена как показано на Фиг.10. Для заполнения и опорожнения балластных цистерн 53 может быть использован насос 55, который работает в увязке с насосом 16 при переворачивании корпуса 2 СК 1, как из горизонтального положения в вертикальное положение, так и при переворачивании корпуса 2 СК 1 из вертикального положения в горизонтальное положение. При этом, так как вертикальная надстройка 51 располагается со стороны верхней палубы 58 корпуса 2 в горизонтальном положении, то при продувке балластных цистерн 14 и 54, корпус 2 СК 1 будет гарантировано переворачиваться из вертикального положения в горизонтальное положение палубой 58 вверх. Это снижает требования к центровке масс узкого корпуса 2 СК 1. На верхней палубе 58 корпуса 2 СК 1 может быть установлен лифт 59. Лифт 59 выполняется герметичным. В этом случае в вертикальном, боевом, положении корпуса 2 СК 1 лифт 59 обеспечивает доставку людей, боеприпасов или других грузов со складов и погребов (не показаны), а также доступ к механизмам 12, 48, расположенных в вертикальном, боевом, положении корпуса 2 СК 1 под поверхностью воды 11.
На расширенной площадке 45 кормовой части 43 корпуса 2 СК 1 может быть размещено различное вооружение, Фиг.11. Например артиллерийские установки 31, ракетные установки 5 и другое вооружение. Так же на площадке 45 может базироваться вертолёт 60. Вертолёт 60 прилетает на СК 1 после того, как его корпус 2 переворачивается в вертикальное положение. Перед переворотом корпуса 2 СК 1 в горизонтальное положение вертолёт 60 улетает со СК 1.
Без экипажные катера 18, размещенные на СК 1, могут быть оснащены различным радиотехническим оборудованием, гидроакустическим оборудованием, телевизионным оборудованием, акустическим оборудованием, оборудованием связи в том числе спутниковой связи и другим, полезным для выполнения поставленных задач, оборудованием. Это позволяет организовать на базе СК 1 сеть наблюдения, покрывающую большие площади морского пространства, Фиг.12.
При этом удаленная связь с без экипажными катерами 18 может поддерживаться как с использованием спутниковой системы связи, так и с использованием беспилотных летательных аппаратов 61, выполняющих функцию ретранслятора.
Таким образом, наличие без экипажных катеров 18, в месте боевого дежурства СК 1, в сочетании с наличием связи, в том числе спутниковой связи, практически не ограниченной по дальности действия, позволяет организовывать дальние рубежи наблюдения за обстановкой, с целью раннего выявления атакующих СК 1 средств противника, а при наличии на без экипажных катерах 18 ракетных, или других, средств поражения воздушных объектов, надводных или подводных судов (не показаны), атаковать эти объекты. Так же выставленные в дозор без экипажные катера 18 можно использовать как катера камикадзе, несущие на себе боевой заряд.
Наличие на борту СК 1 беспилотных летательных аппаратов 61 позволяет организовать разведку и наблюдение на большом удалении от места боевого дежурства СК 1. Если на беспилотном летательном аппарате 61 установлен боевой заряд, то он может атаковать выбранный объект на большом удалении от места боевого дежурства СК 1 в режиме дрона-камикадзе.
При обнаружении без пилотными катерами 18 без пилотных катеров противника они могут быть атакованы и уничтожены вертолётом 60, базирующимся на СК 1 во время боевого дежурства.
Вероятность отражения атаки вражеских без экипажных катеров, беспилотных летательных аппаратов или других средств поражения кораблей, может быть увеличена, за счет близкого размещения нескольких СК 1 в охраняемом районе. Таким образом с использованием нескольких СК 1 возможно в кратчайшие сроки создавать линии обороны и наблюдения в море. Применение специализированного сторожевого корабля Арефина типа морской пень (СКАРТИМОП) является более целесообразным, чем выставление охраны с использованием более дорогих классических сторожевых кораблей или фрегатов океанской зоны. Для обороны рубежа, особенно прибрежной зоны или морских подходов к стратегическим объектам типа мостов, а также на дальних рубежах охраны морских баз, экономически более целесообразно использовать СК 1, так как они лучше приспособлены для отражения внезапных атак противника малыми боевыми средствами типа без экипажных катеров, а так же отражения атак беспилотных летательных аппаратов противника, в силу своих малых надводных размеров и малой длины ватерлинии в вертикальном, боевом, положении корпуса 2. При этом СК 1 в боевом, вертикальном, положении вполне способен выдержать практически любой шторм, так как у него нет килевой качки, а правильная центровка в вертикальном положении, например, за счёт специального балласта в нижней, затопленной, части корпуса 2 СК 1, надёжно удерживает СК 1 в вертикальном положении при любом волнении моря. Поэтому СК 1 является не только сторожевым кораблем прибрежной зоны, но и может быть задействован в любой точке мирового океана.
При атаке СК 1 вражескими без экипажными катерами или другими средствами, СК 1 начинает отражение атаки всеми имеющимися на его борту вооружениями. Если на СК 1 предусмотрены средства ПВО, то соответственно он может отбивать и атаку с воздуха. Так как в вертикальном, боевом, положении СК 1 имеет маленький периметр ватерлинии 20, порядка 5-10 метров, то попасть в него без экипажным катерам противника будет намного сложнее чем в классический корабль, у которого бортовая ватерлинии составляет порядка 100 и более метров. При этом вертикальное расположение СК 1 в боевом положении позволяет освободить место в корпусе 2 СК 1 в районе ватерлинии 20 в боевом положении от каких-либо взрывоопасных средств, легковоспламеняющихся жидкостей, а в принципе вообще от любого оборудования. Малая длина ватерлинии 20 СК 1 в боевом положении позволяет провести более сильное бронирование 19 корпуса СК 1 в этом месте, а также усилить в этом месте силовой каркас его корпуса 2. Это может позволить выдержать без значительных повреждений попадание без экипажных катеров противника, а может быть даже и нескольких, так, что затопление СК 1 от полученных повреждений не произойдёт, из-за малого внутреннего объёма СК 1 в районе ватерлинии 20 СК 1 в боевом положении, которая мало влияет на плавучесть СК1. Даже если произойдет полное разрушении корпуса 2 СК 1 в районе ватерлинии 20 в боевом положении СК 1, его подводная часть, которая, как и все боевые корабли разделена водонепроницаемым переборками (не показаны), всплывет, так как из-за потери надводной настройки она получит положительную плавучесть. При этом оторванная надводная часть СК 1 также может остаться на плаву, так как упав в воду она получит свою самостоятельную плавучесть за счет, опять же водонепроницаемых переборок (не показаны), которые должны быть на каждом боевом корабле. На надводной части СК 1 может быть предусмотрены средства спасения экипажа (не показаны) в виде шлюпок или спасательных ботов. Таким образом, в случае неудачного отражения атаки без экипажных надводных катеров, или других средств поражения кораблей, экипаж СК 1 имеет высокие шансы на спасение.
В дальнейшем, поврежденный СК 1 может быть отбуксирован на базу для ремонта известными способами буксировки, в том числе и за счет поворота оторванной подводной части СК 1 в горизонтальное положение, так как механизмы 13 и 52, его поворота находятся глубоко под водой и не должны пострадать при взрыве в районе ватерлинии 20 СК 1 в боевом положении.
Таким образом СК 1 может быть использован как сторожевой корабль с высокой вероятностью выполнения возложенных на него задач по охране морской акватории.
В данном описании приведены некоторые возможные варианты реализации СК 1, что не исключает другие варианты конкретного выполнения заявленного сторожевого корабля.
| название | год | авторы | номер документа |
|---|---|---|---|
| БЫСТРОХОДНОЕ СПАСАТЕЛЬНОЕ СУДНО | 2023 |
|
RU2798921C1 |
| КОРАБЛЬ ВОДОИЗМЕЩЕНИЕМ КЛАССА ЭСМИНЦА (ВАРИАНТЫ) | 2006 |
|
RU2300477C1 |
| Планарный корпус корабля, предназначенный для размещения функциональных комплексов авианесущего или транспортно-десантного корабля | 2021 |
|
RU2770817C1 |
| СПОСОБ ДЕСАНТИРОВАНИЯ БРОНЕТЕХНИКИ В ЗОНУ БОЕВЫХ ДЕЙСТВИЙ С ОБЕСПЕЧЕНИЕМ САМООБОРОНЫ И БЕЗОПАСНОСТИ ПЛАВАНИЯ | 2010 |
|
RU2424487C1 |
| ПЛАВСРЕДСТВО ДЛЯ ОБОРУДОВАНИЯ БРОНЕМАШИН | 2008 |
|
RU2371350C1 |
| МОРСКАЯ ТЕХНОЛОГИЧЕСКАЯ ЛЕДОСТОЙКАЯ ПЛАТФОРМА | 2012 |
|
RU2522628C1 |
| ПОЛУПОГРУЖНОЕ ЛЕДОКОЛЬНО-ТРАНСПОРТНОЕ СУДНО | 2011 |
|
RU2443596C1 |
| ПОДВОДНЫЙ ТАНКЕР | 2008 |
|
RU2380274C1 |
| КОРАБЛЬ ГИДРОГРАФИЧЕСКОЙ И ПАТРУЛЬНОЙ СЛУЖБЫ | 2010 |
|
RU2459738C2 |
| ПОЛУПОГРУЖНАЯ МОРСКАЯ ПЛАТФОРМА ПОВЫШЕННОЙ ВОЛНОСТОЙКОСТИ | 2001 |
|
RU2191132C1 |
Группа изобретений относится к военно-морскому флоту, в частности к сторожевым кораблям, предназначенным для охраны морской акватории. Сторожевой корабль имеет два рабочих положения. В первом, походном, горизонтальном положении сторожевой корабль перемещается в заданную точку моря, во втором, боевом, вертикальном положении сторожевой корабль осуществляет охрану заданного участка моря за счет использования стационарно установленного на его борту артиллерийского, и/или ракетного, и/или другого вооружения. Переход сторожевого корабля из горизонтального в вертикальное положение осуществляется с помощью механизма поворота, включающего несколько балластных цистерн, заполняемых морской водой. В вертикальном, боевом, положении над поверхностью воды выступает часть корпуса корабля, на которой размещено вооружение, пункт управления, каюты экипажа, а также взлетно-посадочная площадка. Сторожевой корабль адаптирован для оптимального использования именно в вертикальном, боевом, положении корабля. В этом положении сторожевой корабль имеет высокую устойчивость к сильному волнению моря. В качестве движительной установки на сторожевом корабле типа морской пень могут использоваться попарно установленные поворотные винторулевые устройства. Сторожевой корабль может вести разведку и наблюдение за охраняемым участком мора с помощью различных радиоэлектронных средств, акустических, тепловизионных средств, а также средств радиоэлектронной борьбы. Сторожевой корабль может использовать безэкипажные катера, а также беспилотные летательные аппараты и вертолет. Достигается повышение боевой устойчивости корабля в боевых условиях. 5 н. и 20 з.п. ф-лы, 12 ил.
1. Сторожевой корабль, имеющий два, горизонтальное и вертикальное, рабочих положения, включающий механизм перехода из горизонтального положения в вертикальное положение для наклона корабля целиком по отношению к водной поверхности, чтобы по крайней мере часть корпуса корабля, ранее находившаяся над поверхностью воды, оказалась ниже поверхности воды, причем переворачивающий механизм включает балластные цистерны, заполняемые морской водой, для возможности поворота корпуса корабля в вертикальное положение, при этом балластные цистерны состоят из нескольких разделенных балластных танков; также включающий в себя пункт управления, каюты экипажа, а также вспомогательные ресурсы, включающие дозаправку и связь, энергетическую установку с движительным комплексом, отличающийся тем, что дополнительно включает одну или несколько стационарных систем вооружения, предназначенных для боевого применения по крайней мере в вертикальном положении корпуса корабля.
2. Сторожевой корабль по п. 1, на котором в качестве вооружения применены системы артиллерийского и/или ракетного вооружения.
3. Сторожевой корабль по п. 1, на котором системы артиллерийского и/или ракетного вооружения установлены на платформе, которая может поворачиваться на угол, при котором эта платформа остается горизонтальной как при горизонтальном положении корпуса корабля, так и при вертикальном положении корпуса корабля, обеспечивая боевое применение вооружения как при горизонтальном, так и при вертикальном положении корабля.
4. Сторожевой корабль по п. 3, на котором каюты экипажа и пункт управления расположены на платформе, которая может поворачиваться на угол, при котором эта платформа остается горизонтальной как при горизонтальном положении корпуса корабля, так и при вертикальном положении корпуса корабля.
5. Сторожевой корабль по п. 1, на котором для дополнительной защиты корпуса корабля от атак безэкипажных катеров вокруг ватерлинии корабля в вертикальном положении корпуса разворачиваются дополнительные боновые заграждения.
6. Сторожевой корабль по п. 1, на котором в корпусе корабля имеется шлюз, обеспечивающий как прием, так и спуск безэкипажных катеров и/или катеров, управляемых человеком.
7. Сторожевой корабль по п. 6, на котором в качестве вооружения размещены один или несколько вооруженных безэкипажных катеров и/или катеров, управляемых человеком.
8. Сторожевой корабль по п. 1, на котором размещены один или несколько вооруженных беспилотных аппаратов и/или вертолетов, управляемых человеком.
9. Сторожевой корабль по п. 1, на котором система связи обеспечивает обмен информацией и управление одним или несколькими безэкипажными катерами и/или беспилотными летательными аппаратами.
10. Сторожевой корабль по п. 1, на котором размещены средства радиоэлектронной борьбы с беспилотными летательными аппаратами и/или безэкипажными катерами.
11. Сторожевой корабль по п. 1, на котором размещены одна или несколько радиолокационных станций.
12. Сторожевой корабль по п. 1, на котором размещены одна или несколько гидролокационных станций.
13. Сторожевой корабль по п. 7, на котором безэкипажные катера оснащены гидроакустическим оборудованием, и/или телевизионным оборудованием, и/или тепловизионным оборудованием, и/или акустическим оборудованием.
14. Сторожевой корабль по п. 7, на котором безэкипажные катера оснащены ракетным вооружением.
15. Сторожевой корабль по п. 1, на котором установлено якорное устройство.
16. Сторожевой корабль, имеющий два, горизонтальное и вертикальное, рабочих положения, включающий механизм перехода из горизонтального положения в вертикальное положение для наклона корпуса корабля целиком по отношению к водной поверхности, чтобы по крайней мере часть корпуса корабля, ранее находившаяся над поверхностью воды, оказалась ниже поверхности воды, причем переворачивающий механизм включает балластные цистерны, заполняемые морской водой, для возможности поворота корпуса корабля в вертикальное положение, балластные цистерны состоят из нескольких разделенных балластных танков; также включающий в себя пункт управления, каюты экипажа, а также вспомогательные ресурсы, включающие дозаправку и связь, энергетическую установку с движительным комплексом, отличающийся тем, что в качестве движительного комплекса используют установленные попарно по бокам корпуса корабля поворотные винторулевые устройства, для движения сторожевого корабля в горизонтальном положении как носовой частью вперед, так и вперед кормовой частью, а при переходе корпуса корабля из горизонтального положения в вертикальное положение также выполнены с возможностью поворота относительно корпуса корабля и обеспечивают движение и управление кораблем в вертикальном положении корпуса корабля.
17. Сторожевой корабль по п. 16, на котором та часть корпуса корабля, которая в вертикальном положении корпуса корабля находится под водой, является носовой частью корабля и имеет зауженную форму, что обеспечивает в горизонтальном положении корпуса корабля меньшее сопротивление при движении этой частью корпуса вперед.
18. Сторожевой корабль по п. 16, на котором та часть корпуса корабля, которая в вертикальном положении корпуса корабля находится над поверхностью воды, является кормовой частью корабля и имеет расширенную в выбранные стороны корпуса корабля форму.
19. Сторожевой корабль по п. 17, на котором на носовой части корпуса корабля, находящейся под водой в вертикальном положении корпуса корабля, выполнена надстройка, возвышающаяся над палубой корабля, в которой размещены дополнительные балластные цистерны, которые состоят из нескольких разделенных балластных танков и которые обеспечивают центровку корпуса корабля в вертикальном положении и обеспечивают гарантированный переворот корпуса корабля из вертикального положения корпуса корабля в горизонтальное положение корпуса корабля палубой вверх.
20. Сторожевой корабль по п. 18, на котором расширенная в выбранные стороны часть корпуса корабля имеет плоскую торцевую поверхность, которая используется в качестве взлетно-посадочной площадки в вертикальном положении корпуса корабля для приема вертолетов, как управляемых человеком, так и беспилотных летательных аппаратов.
21. Сторожевой корабль по п. 18, на котором жесткость расширенной части корпуса корабля обеспечивается дополнительными конструктивными элементами типа колонн или подкосов.
22. Сторожевой корабль по п. 16, на котором установлено якорное устройство.
23. Сторожевой корабль, имеющий два, горизонтальное и вертикальное, рабочих положения, включающий механизм перехода из горизонтального положения в вертикальное положение для наклона корабля целиком по отношению к водной поверхности, чтобы по крайней мере часть корпуса корабля, ранее находившаяся над поверхностью воды, оказалась ниже поверхности воды, причем переворачивающий механизм включает балластные цистерны, заполняемые морской водой, для возможности поворота корпуса корабля в вертикальное положение, балластные цистерны состоят из нескольких разделенных балластных танков; также включающий в себя пункт управления, каюты экипажа, а также вспомогательные ресурсы, включающие дозаправку и связь, энергетическую установку с движительным комплексом, отличающийся тем, что пункт управления и каюты экипажа дублированы, первые пункт управления и каюты экипажа используются при горизонтальном положении корпуса корабля, а вторые пункт управления и каюты экипажа используются в вертикальном положении корпуса корабля, при этом первые пункт управления и каюты экипажа расположены на корпусе корабля так, что находятся над поверхностью воды при горизонтальном положении корпуса корабля и могут уходить под воду при вертикальном положении корпуса корабля, а вторые пункт управления и каюты экипажа расположены на корпусе корабля так, что находятся над поверхностью воды при вертикальном положении корпуса корабля и могут уходить под воду при горизонтальном положении корпуса корабля.
24. Сторожевой корабль, имеющий два, горизонтальное и вертикальное, рабочих положения, включающий механизм перехода из горизонтального положения в вертикальное положение для наклона корабля целиком по отношению к водной поверхности, чтобы по крайней мере часть корпуса корабля, ранее находившаяся над поверхностью воды, оказалась ниже поверхности воды, причем переворачивающий механизм включает балластные цистерны, заполняемые морской водой, для возможности поворота корпуса корабля в вертикальное положение, балластные цистерны состоят из нескольких разделенных балластных танков; также включающий в себя пункт управления, каюты экипажа, а также вспомогательные ресурсы, включающие дозаправку и связь, энергетическую установку с движительным комплексом, отличающийся тем, что на нем усилено бронирование корпуса корабля в районе ватерлинии в вертикальном положении корабля.
25. Сторожевой корабль, имеющий два, горизонтальное и вертикальное, рабочих положения, включающий механизм перехода из горизонтального положения в вертикальное положение для наклона корабля целиком по отношению к водной поверхности, чтобы по крайней мере часть корпуса корабля, ранее находившаяся над поверхностью воды, оказалась ниже поверхности воды, причем переворачивающий механизм включает балластные цистерны, заполняемые морской водой, для возможности поворота корпуса корабля в вертикальное положение, балластные цистерны состоят из нескольких разделенных балластных танков; также включающий в себя пункт управления, каюты экипажа, а также вспомогательные ресурсы, включающие дозаправку и связь, энергетическую установку с движительным комплексом, отличающийся тем, что на корпусе корабля установлен герметичный лифт, обеспечивающий перемещение грузов в вертикальном положении корпуса корабля из той части корпуса корабля, которая в вертикальном положении корпуса корабля находится под водой, в ту часть корпуса корабля, которая в вертикальном положении корпуса корабля находится над поверхностью воды.
| US 7703407 B2, 27.04.2010 | |||
| ПУСКОВАЯ УСТАНОВКА РАКЕТ С ВЕРТИКАЛЬНЫМ СТАРТОМ, РАСПОЛОЖЕННАЯ НА НАДВОДНОМ КОРАБЛЕ | 2021 |
|
RU2778493C1 |
| САМОХОДНАЯ ПОЛУПОГРУЖНАЯ ОКЕАНОЛОГИЧЕСКАЯ ИССЛЕДОВАТЕЛЬСКАЯ ПЛАТФОРМА И СПОСОБ ЕЕ ИСПОЛЬЗОВАНИЯ | 2006 |
|
RU2343084C2 |
| КОРАБЛЬ ГИДРОГРАФИЧЕСКОЙ И ПАТРУЛЬНОЙ СЛУЖБЫ | 2010 |
|
RU2459738C2 |
| US 4656959 A1, 14.04.1987 | |||
| КОРАБЛЬ ВОДОИЗМЕЩЕНИЕМ КЛАССА ФРЕГАТА | 2006 |
|
RU2311313C1 |
Авторы
Даты
2025-02-03—Публикация
2024-07-30—Подача