Изобретение относится к области железнодорожной автоматики и может быть использовано для определения модуля и направления скорости подвижных единиц железнодорожного и городского рельсового транспорта.
Известно устройство для измерения скорости и обнаружения буксования и юза транспортного средства, содержащее датчики пути и скорости, блоки формирователей сигналов, блоки счетчиков импульсов, блоки вычисления скорости, блоки постоянных характеристик, навигационный приемник, блок сравнения скоростей, блок связи с CAN-интерфейсом (RU 2360805, B60L 3/10, 10.07.2009).
Недостатками устройства для измерения скорости являются его относительная сложность и недостаточная надежность.
Известно устройство для измерения скорости движения локомотива, содержащее дешифратор, формирователи импульсов, элемент ИЛИ, счетчик, делитель частоты следования импульсов, регистр и генератор импульсов (RU1787824, B60L 15/20, 15.01.93).
Недостатками данного устройства являются его сложность, значительные массогабаритные характеристики и большой объем вычислительных затрат при обработке данных измерений скорости, а также недостаточная точность ее определения.
В качестве прототипа принят измеритель модуля скорости рельсового транспортного средства, содержащий тактовый генератор, подключенный к входу делителя частоты, N-разрядный двоичный счетчик импульсов, три катушки индуктивности, расположенные в ряд на одинаковом расстоянии друг от друга, однополупериодный выпрямитель, элемент задержки, вычислительный модуль и элементы И, при этом выход тактового генератора соединен с счетным входом N-разрядного двоичного счетчика импульсов, к входу запуска которого подключен выход делителя частоты, соединенного с выводами первой и третьей катушек индуктивности, расположенных по обе стороны второй катушки индуктивности, выводы которой соединены со входом однополупериодного выпрямителя, выход которого подключен ко входу останова N-разрядного двоичного счетчика импульсов, а через элемент задержки – к его входу сброса и первым входам элементов И, вторые входы которых соединены с выходами N-разрядного двоичного счетчика импульсов, выходы элементов И и выход переполнения N-разрядного двоичного счетчика импульсов подключены к соответствующим входам вычислительного модуля, выход которого является выходом устройства (RU 2696970, G01P 3/42, G01P 3/66, B61L 25/00, 07.08.2019).
Недостатком устройства является невозможность определения направления движения (скорости) рельсового транспортного средства (РТС).
Технический результат изобретения заключается в расширении функциональных возможностей измерителя скорости за счет дополнительного определения направления движения (скорости) рельсового транспортного средства.
Технический результат достигается тем, что в устройство для определения параметров движения рельсового транспортного средства, содержащее тактовый генератор, подключенный к входу делителя частоты, N-разрядный двоичный счетчик импульсов, три катушки индуктивности, расположенные в ряд на одинаковом расстоянии друг от друга, первый однополупериодный выпрямитель, элемент задержки, вычислительный модуль и элементы И, при этом выход тактового генератора соединен с счетным входом N-разрядного двоичного счетчика импульсов, к входу запуска которого подключен выход делителя частоты, а к его входу сброса и первым входам элементов И подключен выход элемента задержки, вторые входы элементов И соединены с выходами N-разрядного двоичного счетчика импульсов, выходы элементов И и выход переполнения N-разрядного двоичного счетчика импульсов подключены к соответствующим входам вычислительного модуля, выход которого является выходом блока для определения модуля скорости, введены второй однополупериодный выпрямитель, RS-триггер и элемент ИЛИ, выход делителя частоты соединен с выводами второй катушки индуктивности, расположенной между первой и третьей катушками индуктивности, выводы которых соединены со входами первого и второго однополупериодных выпрямителей, соответственно, выходы которых подключены ко входам элемента ИЛИ, выход которого подключен к входу останова N-разрядного двоичного счетчика импульсов и входу элемента задержки, при этом выход первого однополупериодного выпрямителя подключен к S-входу RS-триггера, а выход второго – к R-входу RS-триггера, выходы которого являются выходами блока для определения направления движения.
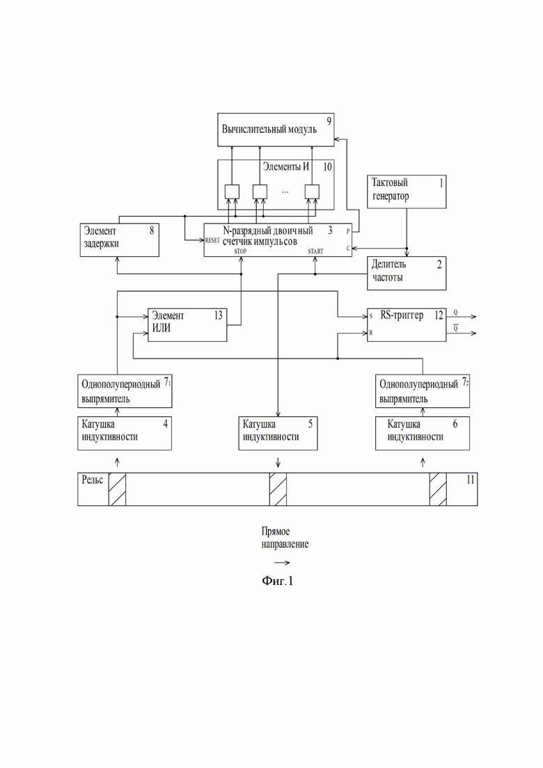
На фиг.1 представлена функциональная схема устройства для определения параметров движения рельсового транспортного средства.
Устройство для определения параметров движения рельсового транспортного средства содержит тактовый генератор 1, подключенный к входу делителя частоты 2, N-разрядный двоичный счетчик импульсов 3, три катушки индуктивности 4, 5 и 6, расположенные в ряд на одинаковом расстоянии друг от друга над рельсовой линией 11, два однополупериодных выпрямителя 71, 72, элемент задержки 8, вычислительный модуль 9, элементы И 10, RS-триггер 12 и элемент ИЛИ 13, при этом выход тактового генератора 1 соединен с счетным входом N-разрядного двоичного счетчика импульсов 3, к входу запуска которого подключен выход делителя частоты 2, соединенный с выводами второй катушки (5) индуктивности, расположенной между первой (4) и третьей (6) катушками индуктивности, выводы которых соединены со входами первого (71) и второго (72) однополупериодных выпрямителей, соответственно, выход первого однополупериодного выпрямителя 71 подключен к S-входу RS-триггера 12, а выход второго 72 – к R-входу RS-триггера 12, выходы которого являются выходами блока для определения направления движения (скорости) РТС, также выходы первого (71) и второго (72) однополупериодных выпрямителей подключены ко входам элемента ИЛИ 13, выход которого подключен к входу останова N-разрядного двоичного счетчика импульсов 3, а также через элемент задержки 8 – к его входу сброса и первым входам элементов И 10, вторые входы которых соединены с выходами N-разрядного двоичного счетчика импульсов 3, выходы элементов И 10 и выход переполнения N-разрядного двоичного счетчика импульсов 3 подключены к соответствующим входам вычислительного модуля 9, выход которого является выходом блока для определения модуля скорости.
Устройство для определения параметров движения рельсового транспортного средства устанавливают на транспортное средство таким образом, чтобы катушки индуктивности 4, 5 и 6 были размещены над рельсовой линией 11 и обеспечивалось с ней электромагнитное взаимодействие. Катушки индуктивности располагаются в ряд и друг от друга на одинаковом расстоянии, величина которого зависит от габаритов транспортного средства, расстояния до рельсовой линии 11 и взаимного влияния катушек.
Устройство для определения параметров движения рельсового транспортного средства работает при движении рельсового транспортного средства как в прямом, так и в обратном направлении, следующим образом.
Тактовые импульсы с выхода тактового генератора 1 поступают на счетный вход N-разрядного двоичного счетчика 3 и на вход делителя частоты 2 с коэффициентом деления 2N. С выхода делителя частоты 2 импульсы поступают на вход запуска двоичного счетчика 3 и на выводы второй катушки индуктивности 5, формирующей импульсные магнитные потоки с амплитудой Ф, осуществляющие намагничивание рельса 11 в области их воздействия. При движении рельсового транспортного средства в прямом направлении, показанном на фиг.1, через время Т первая катушка индуктивности 4, расположенная на расстоянии S от второй катушки индуктивности 5, окажется над намагниченной областью рельса:
В результате на первую катушку индуктивности 4 воздействует магнитный поток остаточной намагниченности, порождающий на ее выходе э.д.с. с амплитудой, пропорциональной
. В силу равномерной намагниченности области рельса 11, два электрических импульса – положительный и отрицательный, определяемые передним фронтом и спадом индуцированной импульсной э.д.с., поступают на вход первого однополупериодного выпрямителя 71. На выход первого однополупериодного выпрямителя 71 проходит только положительный импульс, поступающий далее через элемент ИЛИ 13 на вход останова двоичного счетчика 3. В течение времени Т (от момента запуска двоичного счетчика 3 до момента его останова) в двоичном счетчике 3 происходит счет импульсов, поступающих с выхода тактового генератора 1 на счетный вход двоичного счетчика 3, и на выходе двоичного счетчика 3 формируется двоичный код, пропорциональный времени Т и, следовательно, обратно пропорциональный скорости рельсового транспортного средства V. Также импульс с выхода первого однополупериодного выпрямителя 71 через элемент ИЛИ 13 и элемент задержки 8 поступает на вход сброса двоичного счетчика 3, приводя его в исходное состояние, и одновременно на первые входы элементов И 10, на вторые входы которых поступают сигналы с соответствующих выходов двоичного счетчика 3 – тем самым, обеспечивается считывание двоичного кода, обратно пропорционального скорости РТС V, с выходов двоичного счетчика 3 через элементы "И" 10 на вход вычислительного модуля 9. В вычислительном модуле 9 на основании двоичного кода, обратно пропорционального скорости рельсового транспортного средства V, вычисляется текущее значение модуля скорости V, которое снимается с выхода вычислительного модуля 9, являющегося выходом блока для определения модуля скорости. При V<Vmin на выходе переполнения двоичного счетчика 3 возникает сигнал переполнения, поступающий в вычислительный модуль 9, после которого двоичный код с выхода двоичного счетчика 3 импульсов аннулируется и воспринимается только код, следующий за ним. Для определения направления движения (скорости) сигнал с выхода первого однополупериодного выпрямителя 71 поступает на S-вход RS-триггера 12, на единичном (прямом) выходе которого формируется информационный сигнал о движении в прямом направлении.
При движении рельсового транспортного средства задним ходом (в обратном направлении) работа измерителя скорости происходит аналогично описанному выше, за исключением того, что магнитный поток остаточной намагниченности, образованной импульсным магнитным потоком с выхода второй катушки индуктивности 5, воздействует на третью катушку индуктивности 6 и сигнал с выхода второго однополупериодного выпрямителя 72 поступает на R-вход RS-триггера 12, на нулевом (инверсном) выходе которого формируется информационный сигнал о движении в обратном направлении.
Предложенное устройство имеет простую конструкцию и обеспечивает автономное измерение направления и модуля относительной скорости объекта с малыми вычислительными затратами и с высокой точностью, обусловленной отсутствием накопления ошибок измерения и возможностью проведения измерений с большой частотой и на малых временных интервалах, и может быть использовано при решении навигационной задачи подвижных единиц железнодорожного и городского рельсового транспорта.
| название | год | авторы | номер документа |
|---|---|---|---|
| Измеритель модуля скорости | 2018 |
|
RU2696970C1 |
| Устройство для измерения модуля скорости рельсового транспорта | 2020 |
|
RU2737869C1 |
| БИОЭЛЕКТРИЧЕСКИЙ РЕГУЛЯТОР ПСИХОСОМАТИЧЕСКОГО ГОМЕОСТАЗА | 1993 |
|
RU2068277C1 |
| ПРЕОБРАЗОВАТЕЛЬ ИНЕРЦИАЛЬНОЙ ИНФОРМАЦИИ | 2006 |
|
RU2325620C2 |
| ПРЕОБРАЗОВАТЕЛЬ НАПРЯЖЕНИЯ | 1991 |
|
RU2011284C1 |
| Измеритель линейной скорости | 2020 |
|
RU2741867C1 |
| Устройство для защиты трехфазного частотно-регулируемого привода от неполнофазного режима питания | 1985 |
|
SU1377950A1 |
| УСТРОЙСТВО ДЛЯ ПРЕОБРАЗОВАНИЯ ДИСКРЕТНЫХ СИГНАЛОВ | 1991 |
|
RU2043660C1 |
| Устройство для регистрации карьерного транспорта | 1987 |
|
SU1434476A1 |
| ПРЕОБРАЗОВАТЕЛЬ ЧАСТОТЫ С АВТОНОМНЫМ ИНДУКТОРОМ | 2005 |
|
RU2291548C1 |
Изобретение относится к области железнодорожной автоматики для определения скорости рельсового транспорта. Устройство для определения параметров движения рельсового транспортного средства дополнительно содержит второй однополупериодный выпрямитель, RS-триггер и элемент ИЛИ, выход делителя частоты соединен с выводами второй катушки индуктивности, расположенной между первой и третьей катушками индуктивности, выводы которых соединены со входами первого и второго однополупериодных выпрямителей, соответственно, выходы которых подключены ко входам элемента ИЛИ, выход которого подключен к входу останова N-разрядного двоичного счетчика импульсов и входу элемента задержки, при этом выход первого однополупериодного выпрямителя подключен к S-входу RS-триггера, а выход второго – к R-входу RS-триггера, выходы которого являются выходами блока для определения направления движения. Технический результат – возможность определения направления движения и скорости рельсового транспортного средства. 1 ил.
Устройство для определения параметров движения рельсового транспортного средства, содержащее тактовый генератор, подключенный к входу делителя частоты, N-разрядный двоичный счетчик импульсов, три катушки индуктивности, расположенные в ряд на одинаковом расстоянии друг от друга, первый однополупериодный выпрямитель, элемент задержки, вычислительный модуль и элементы И, при этом выход тактового генератора соединен с счетным входом N-разрядного двоичного счетчика импульсов, к входу запуска которого подключен выход делителя частоты, а к его входу сброса и первым входам элементов И подключен выход элемента задержки, вторые входы элементов И соединены с выходами N-разрядного двоичного счетчика импульсов, выходы элементов И и выход переполнения N-разрядного двоичного счетчика импульсов подключены к соответствующим входам вычислительного модуля, выход которого является выходом блока для определения модуля скорости, отличающееся тем, что в него введены второй однополупериодный выпрямитель, RS-триггер и элемент ИЛИ, выход делителя частоты соединен с выводами второй катушки индуктивности, расположенной между первой и третьей катушками индуктивности, выводы которых соединены со входами первого и второго однополупериодных выпрямителей, соответственно, выходы которых подключены ко входам элемента ИЛИ, выход которого подключен к входу останова N-разрядного двоичного счетчика импульсов и входу элемента задержки, при этом выход первого однополупериодного выпрямителя подключен к S-входу RS-триггера, а выход второго – к R-входу RS-триггера, выходы которого являются выходами блока для определения направления движения.
| Измеритель модуля скорости | 2018 |
|
RU2696970C1 |
| Устройство измерения скорости проследования осей железнодорожного подвижного состава | 1986 |
|
SU1402474A1 |
| ШИРОКОДИАПАЗОННЫЙ ВОЛОКОННО-ОПТИЧЕСКИЙ ИЗМЕРИТЕЛЬ УГЛОВОЙ СКОРОСТИ | 2002 |
|
RU2227272C2 |
| ЛЕКАРСТВЕННОЕ СРЕДСТВО ДЛЯ ЛЕЧЕНИЯ ПАТОЛОГИЧЕСКОГО СИНДРОМА И СПОСОБ ЛЕЧЕНИЯ РАССЕЯННОГО СКЛЕРОЗА | 2011 |
|
RU2519196C2 |
Авторы
Даты
2025-02-04—Публикация
2024-06-10—Подача