Область техники
[0001] Настоящее изобретение относится к области вентиляции, в частности к вентиляторам.
Уровень техники
[0002] Крышные вентиляторы, используемые для удаления высокотемпературных газов, играют ключевую роль в промышленных и технических процессах. Они специально разработаны для эффективного отвода горячих и токсичных веществ из рабочей зоны, что способствует поддержанию безопасности и оптимальных условий окружающей среды. Охлаждение двигателей крышных вентиляторов необходимо из-за высоких рабочих температур, которые могут возникать при интенсивной эксплуатации, а также напрямую под действием горячего газа. Это предотвращает перегрев и обеспечивает стабильную и надежную работу вентиляционного оборудования на протяжении продолжительного времени. Обычно для охлаждения используются специализированные системы, которые включают вентиляционные каналы и воздушные потоки, направленные на двигатель для эффективного отвода тепла и обеспечения оптимальных рабочих условий.
[0003] При этом, охлаждение двигателя крышных вентиляторов может потреблять значительное количество энергии в зависимости от конструкции и интенсивности эксплуатации. Двигатели, работающие на высоких оборотах или в условиях повышенной температуры, генерируют значительное количество тепла, даже без учета их нагрева от высокотемпературной среды. Это тепло необходимо эффективно отводить, чтобы предотвратить перегрев и обеспечить надежную работу оборудования. Охлаждение обычно осуществляется с помощью различных охладительных систем, которые включают вентиляторы или насосы для циркуляции воздуха или жидкости через радиаторы или теплообменники. Воздушные системы охлаждения используют поток воздуха для отвода тепла от двигателя, а жидкостные системы охлаждения используют циркуляцию охлаждающей жидкости, например воды или антифриза.
[0004] Однако, такие системы охлаждения значительно увеличивают энергопотребление вентилятора, а существующие самоохлаждающиеся системы не обладают достаточной эффективностью для обеспечения длительной эксплуатации двигателя.
[0005] Из уровня техники известен радиальный вентилятор, раскрытый в заявке на выдачу патента №EP3524823A1 (опубл.: 14.08.2019 г.; МПК: F04D25/08; F24F11/33). Радиальный вентилятор включает корпус двигателя, двигатель, установленный на пластине, расположенной в нижней части корпуса двигателя, крыльчатку (или рабочее колесо), надежно соединенную с двигателем и расположенную снаружи корпуса двигателя, и канал охлаждающего воздуха, открывающийся в корпус двигателя. Корпус двигателя и канал охлаждающего воздуха имеют двойные стенки таким образом, что образуется окружающий их конвекционный канал, а крыльчатка имеет основной диск с задними лопатками, обращенными к корпусу двигателя, образуя тем самым устройство для радиального выпуска охлаждающего воздуха и конвекционного воздуха.
[0006] Помимо этого, известна вытяжная система, описанная в международной заявке №WO2021247165A1 (опубл. 09.12.2021 г.; МПК: F04D29/40; F04D29/54; F23L17/00; F23L17/02). Вытяжная система включает в себя двигатель, который предназначен для непосредственного привода вентилятора. Вентилятор во время работы создает отрицательное давление на входной стороне вентилятора. Это отрицательное давление используется для подачи наружного охлаждающего воздуха в кожух, который частично закрывает двигатель. Охлаждающий воздух, проходящий через кожух, контактирует с двигателем, и тепло, связанное с двигателем, передается охлаждающему воздуху, после чего охлаждающий воздух выходит из кожуха.
[0007] В обоих аналогах отсутствует крыльчатка охлаждения, направляющая поток холодного воздуха к валу двигателя. Помимо этого, в аналогах корпус двигателя имеет, по существу, форму прямоугольного параллелепипеда. Ввиду этого вблизи двигателя формируется ламинарный поток охлаждающего воздуха, который при высокой скорости потока может не успеть забрать тепло двигателя. Таким образом, эффективность охлаждения значительно снижается. Также важно отметить, что охлаждающий воздух впускается через канал меньшего диаметра, чем диаметр канала впуска дымовых газов, что также снижает эффективность охлаждения.
[0008] Еще одним известным техническим решением является устройство впуска воздуха системы охлаждения вентилятора дымоудаления, описанное в патенте №CN203081866U (опубл. 24.07.2013 г.; МПК: F04D29/58). Устройство впуска воздуха, раскрытое полезной моделью, содержит трубу впуска охлаждающего воздуха, внутренний цилиндр и двигатель во внутреннем цилиндре и отличается тем, что выпускной конец трубы впуска охлаждающего воздуха соединен с задней крышкой цилиндра (корпуса). В середине задней крышки внутреннего цилиндра открыто отверстие, так что впускная труба охлаждающего воздуха сообщается с внутренней полостью внутреннего цилиндра; внутренний цилиндр снабжен охлаждающей крыльчаткой, установленной на заднем конце двигателя; и в охлаждающей крыльчатке открывается воздухозаборник.
[0009] В аналогах корпус двигателя имеет, по существу, форму прямоугольного параллелепипеда. Ввиду этого вблизи двигателя формируется ламинарный поток охлаждающего воздуха, который при высокой скорости потока может не успеть забрать тепло двигателя. Таким образом, эффективность охлаждения значительно снижается. Также важно отметить, что охлаждающий воздух впускается через канал меньшего диаметра, чем диаметр канала впуска дымовых газов, что также снижает эффективность охлаждения. Более того, в аналоге холодный воздух отводится до достижения ступицы и вала, которые также могут перегреваться в высокотемпературной среде, в связи с чем описанный вентилятор имеет меньший потенциальный срок эксплуатации.
[0010] Также известен крышный вентилятор для дымоудаления, раскрытый в патенте №RU87477U1 (опубл. 10.10.2009 г.; МПК: F04D 17/14). Крышный вентилятор для дымоудаления содержит корпус, выполненный с двумя горизонтально расположенными плитами, впускное отверстие с коллектором, выполненным в нижней плите, и расположенное между плитами радиальное лопаточное рабочее колесо с приводом от электродвигателя и выпускные отверстия. Коллектор выполнен коническим и снабжен нижним кольцевым фланцем, жестко закрепленным на нижней торцевой поверхности коллектора с его внешней стороны, и верхним кольцевым фланцем, жестко закрепленным на внешней поверхности коллектора в его средней зоне. При этом нижний и верхний фланцы расположены горизонтально и снабжены ребрами жесткости секторного типа, закрепленными между ними на внешней поверхности коллектора, причем верхний фланец снабжен отверстиями для крепления на нижней плите корпуса вентилятора, а нижний фланец снабжен отверстиями для монтажа подводящего оборудования. Стенки конического коллектора расположены под углом α не менее 60° к горизонтальной плоскости вентилятора, а высота Н коллектора составляет не менее 0,4 верхнего выходного диаметра Dк коллектора. Такая конструкция обеспечивает оптимизацию рабочих габаритов вентилятора при увеличении его КПД, повышение значений коэффициентов расхода и увеличение мощности вентилятора, повышение прочности коллектора и жесткости крепления вентилятора на крыше.
[0011] Недостатком данного решения является то, что холодный воздух отводится до достижения ступицы и вала, которые также могут перегреваться в высокотемпературной среде, в связи с чем описанный вентилятор имеет меньший потенциальный срок эксплуатации. При этом в аналоге охлаждается только одна часть двигателя, находящаяся дальше от дымовых газов (крыльчатка отделена стенкой, которая захватывает лишь часть двигателя).
Сущность изобретения
[0012] Задачей настоящего изобретения является создание и разработка самоохлаждающегося крышного вентилятора и способа его работы, обеспечивающих повышение эффективности охлаждения.
[0013] Данная задача решается заявляемым изобретением за счет достижения таких технических результатов, как обеспечение возможности самоохлаждения вентилятора при работе и повышение эффективности охлаждения за счет повышения охлаждаемой площади при низком энергопотреблении, затрачиваемом на охлаждение. Заявленный технический результат достигается в том числе, но не ограничиваясь, благодаря:
- охлаждению вала и внутренних поверхностей ступицы за счет поступления холодного атмосферного воздуха вдоль вала по каналам ступицы;
- охлаждению элементов двигателя за счет перемещения холодного атмосферного воздуха при помощи крыльчатки охлаждения по каналам системы охлаждения.
[0014] Более полно, технический результат достигается крышным вентилятором. Крышный вентилятор включает корпус, в котором размещены: двигатель, включающий вал, ступица, соединенная с двигателем и включающая каналы, расположенные вокруг вала двигателя, рабочее колесо, соединенное со ступицей, и крыльчатка охлаждения, соединенная с двигателем. Причем между крыльчаткой охлаждения и двигателем выполнены каналы охлаждения. В верхней части корпуса выполнены отверстия для ввода в корпус наружного воздуха, а вблизи рабочего колеса в корпусе выполнены отверстия для вывода воздуха.
[0015] Соединение двигателя вентилятора со ступицей, крыльчаткой охлаждения и рабочим колесом необходимо для обеспечения их возможности вращения при работе двигателя. Вращение рабочего колеса необходимо для перемещения воздуха (дымовых газов) высокой температуры под действием центробежных сил, а также для создания зоны разрежения в области ступицы. Создание зоны разрежения позволяет затягивать воздух в область низкого давления. При этом каналы в ступице необходимы для обеспечения прохождения там холодного наружного воздуха для охлаждения вала и внутренней поверхности ступицы. Вращение крыльчатки охлаждения необходимо для перемещения холодного атмосферного воздуха по каналам системы охлаждения и охлаждения элементов двигателя. Таким образом, описанный вентилятор самоохлаждается при работе, охлаждая, в том числе, те свои элементы, которые наиболее восприимчивы к температурам, в частности вал, двигатель и ступица. Ввиду самоохлаждения также снижается потребление энергии, которая могла бы затрачиваться на охлаждение двигателя.
[0016] Корпус в верхней части может включать наклонные грани, причем грани могут быть наклонены относительно вертикали таким образом, что корпус выполнен расширяющимся в направлении рабочего колеса. Это позволяет создавать локальные завихрения в нижней части корпуса, что улучшает теплообмен между наружным воздухом и корпусом двигателя. Более того, расширение приводит к снижению скорости воздушного потока в нижней части корпуса, в связи с чем увеличивается время теплообмена и, как следствие, воздух успевает забрать большее количество тепла от двигателя. При этом отверстие для ввода наружного воздуха может быть выполнено в верхней стенке корпуса. В таком случае предпочтительно, чтобы на верхней части корпуса была закреплена крышка. Причем крышка закреплена таким образом, что между ней и наклонными гранями верхней части корпуса образуются отверстия. Это позволит избежать попадания осадков и мусора в корпус вентилятора.
[0017] Дополнительно двигатель может быть размещен в отдельном корпусе двигателя, а на верхней части корпуса может быть закреплена крышка, в которой выполнены отверстия. При этом под крышкой на вале двигателя может быть закреплена крыльчатка охлаждения двигателя. Это позволит также затягивать поступающий наружный воздух непосредственно в корпус двигателя, что позволит еще больше увеличить интенсивность охлаждения элементов двигателя.
[0018] Крыльчатка охлаждения может быть выполнена звездчатой формы. Причем с одной стороны каждого из зубьев может быть выполнен выступ, перпендикулярный поверхности крыльчатки. Это позволяет сохранить ее плоскость для свободного размещения между двигателем и ступицей (в зазоре между нижней стенкой верхней части корпуса и рабочим колесом). Сами же выступы позволяют задать направление воздушного потока наружного воздуха.
[0019] Поперечное сечение части корпуса, расположенной вблизи рабочего колеса, может иметь прямоугольную форму, при этом со стороны каждой грани могут выполнены L-образные отводы. Эти отводы позволят направлять выходящий поток высокотемпературных газов вверх. При этом внутри отводов могут быть выполнены перегородки, образующие воздушные каналы, а в верхней части отвода может быть закреплена заслонка. Наличие заслонки позволит предотвратить попадание осадков и мусора в отводы, а также в сам воздуховод. При этом предпочтительно, чтобы заслонки были выполнены с возможностью открытие под давлением воздушного потока, что позволит обеспечить их открытие исключительно при выходе потока воздуха наружу. В закрытом же положении заслонки предпочтительно размещать под углом по крайней мере 30 градусов. Это позволит открывать заслонки даже при слабом давлении потока воздуха.
[0020] Угол отводов в их продольном сечении может быть выполнен скругленным, что позволит избежать забивания грязи в углах.
[0021] Также технический результат достигается способом работы крышного вентилятора. Согласно способу, сначала вращают ступицу, крыльчатку охлаждения и рабочее колесо при помощи двигателя. При этом перемещают воздух под действием центробежных сил и создают зону разрежения воздуха в области ступицы при помощи рабочего колеса. Затем затягивают наружный воздух в область низкого давления через отверстия для ввода наружного воздуха в корпусе и через каналы ступицы. Поступившим наружным воздухом охлаждают вал и ступицу. Одновременно перемещают наружный воздух по каналам охлаждения в направлении двигателя посредством вращения крыльчатки охлаждения, и тем самым охлаждают двигатель.
[0022] Вращение элементов вентилятора при этом необходимо для запуска работы вентилятора и формирования воздушного потока высокотемпературного газа. Его перемещение при этом необходимо для вывода газа из воздуховода. Вращение рабочего колеса также необходимо для создания зоны разрежения воздуха в области ступицы. Зона разрежения позволяет затягивать наружный воздух через отверстие для ввода воздуха в корпус вентилятора. Само же затягивание необходимо для охлаждения элементов вентилятора, в частности вала, ступицы и двигателя, наружным воздухом. Каналы в ступице необходимы для обеспечения охлаждения той части вала, которая больше всего контактирует с высокотемпературными газами. Охлаждение ступицы также необходимо ввиду того, что она находится в прямом контакте с высокотемпературной средой и, при этом, соприкасается с валом двигателя своей поверхностью. Перемещение наружного воздух по каналам охлаждения в направлении двигателя посредством вращения крыльчатки охлаждения и само охлаждение двигателя необходимы непосредственно для обеспечения работоспособности двигателя в процессе работы с высокотемпературными газами. Таким образом, описанный вентилятор самоохлаждается при работе, охлаждая, в том числе, те свои элементы, которые наиболее восприимчивы к температурам, в частности вал, двигатель и ступица, что значительно увеличивает срок эксплуатации двигателя и вентилятора в целом. Ввиду самоохлаждения также снижается потребление энергии, которая могла бы затрачиваться на охлаждение двигателя.
[0023] Могут использовать крышный вентилятор, корпус которого включает наклонные грани, причем грани могут быть наклонены относительно вертикали таким образом, что корпус выполнен расширяющимся в направлении рабочего колеса. Следовательно, могут создавать завихрения воздуха вблизи двигателя. Это позволит улучшить теплообмен между наружным воздухом и корпусом двигателя. Более того, расширение приводит к снижению скорости воздушного потока в нижней части корпуса, в связи с чем увеличивается время теплообмена и, как следствие, воздух успевает забрать большее количество тепла от двигателя.
[0024] Дополнительно могут вращать крыльчатку охлаждения двигателя и затягивать наружный воздух, поступающий через верхнюю часть корпуса, к двигателю через отверстия в крышке корпуса двигателя. Затягивание поступающего наружного воздуха непосредственно в корпус двигателя позволит еще больше увеличить интенсивность охлаждения элементов двигателя.
[0025] Могут использовать крыльчатку охлаждения звездчатой формы, у которой с одной стороны каждого из зубьев выполнен выступ, перпендикулярный поверхности крыльчатки. Это позволит сохранить ее плоскость для свободного размещения между двигателем и ступицей (в зазоре между нижней стенкой верхней части корпуса и рабочим колесом). Сами же выступы позволят задать направление воздушного потока наружного воздуха.
[0026] Воздух могут выводить через L-образные отводы. Это позволит направлять выходящий поток высокотемпературных газов вверх. При этом воздух могут проводить через воздушные каналы, образованные перегородками внутри отводов.
[0027] Открывать заслонки могут под давлением воздушного потока. Это позволит дополнительно экономить потребление энергии, затрачиваемое на их открытие, а также обеспечить их открытие исключительно при выходе потока воздуха наружу.
[0028] При отсутствии выходящего воздушного потока могут закрывать заслонки, причем в закрытом положении заслонки могут размещать под углом по крайней мере 30 градусов. Это позволит впоследствии открывать заслонки даже при слабом давлении потока воздуха.
Описание чертежей
[0029] Объект притязаний по настоящей заявке описан по пунктам и четко заявлен в формуле изобретения. Упомянутые выше задачи, признаки и преимущества изобретения очевидны из нижеследующего подробного описания, в сочетании с прилагаемыми чертежами, на которых показано:
[0030] На Фиг. 1 представлен схематичный вид продольного разреза крышного вентилятора, согласно настоящему изобретению.
[0031] На Фиг. 2 представлен схематичный изометрический вид ступицы, согласно настоящему изобретению.
[0032] На Фиг. 3 представлен схематичный вид продольного разреза ступицы и валас нанесением потока наружного воздуха, согласно настоящему изобретению.
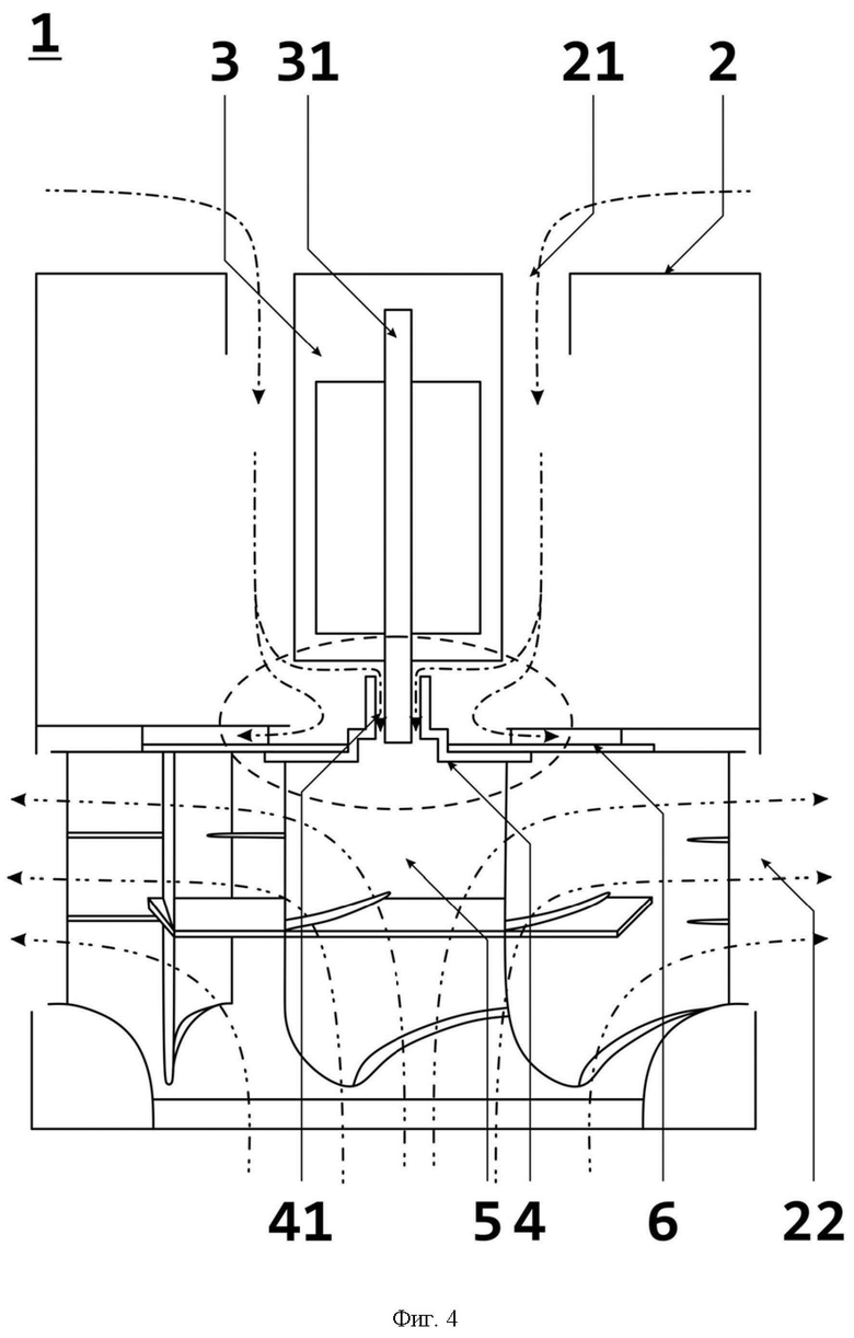
[0033] На Фиг. 4 представлен схематичный вид продольного разреза крышного вентилятора с нанесением воздушных потоков, согласно настоящему изобретению.
[0034] На Фиг. 5 представлен схематичный изометрический вид верхней части корпуса вентилятора, согласно настоящему изобретению.
[0035] На Фиг. 6 представлен схематичный изометрический вид верхней части корпуса вентилятора с крышкой, согласно настоящему изобретению.
[0036] На Фиг. 7 представлен схематичный вид продольного разреза крышного вентилятора с нанесением воздушных потоков в ином варианте выполнения корпуса, согласно настоящему изобретению.
[0037] На Фиг. 8 представлен схематичный изометрический вид двигателя, согласно настоящему изобретению.
[0038] На Фиг. 9 представлен схематичный изометрический вид крыльчатки охлаждения, согласно настоящему изобретению.
[0039] На Фиг. 10 представлен схематичный вид продольного разреза крышного вентилятора с L-образными отводами и открытыми заслонками, согласно настоящему изобретению.
[0040] На Фиг. 11 представлен схематичный вид продольного разреза L-образного отвода с закрытой заслонкой, согласно настоящему изобретению.
[0041] Данные фигуры поясняются следующими позициями:
Позиция 1 - крышный вентилятор;
Позиция 2 - корпус крышного вентилятора;
Позиция 21 - отверстие для ввода наружного воздуха;
Позиция 22 - отверстие для вывода воздуха;
Позиция 23 - наклонные грани корпуса вентилятора;
Позиция 24 - прямые грани корпуса вентилятора;
Позиция 3 - двигатель;
Позиция 31 - вал двигателя;
Позиция 32 - корпус двигателя;
Позиция 33 - крышка корпуса двигателя;
Позиция 34 - отверстия в крышке корпуса двигателя;
Позиция 35 - крыльчатка охлаждения двигателя;
Позиция 4 - ступица;
Позиция 41 - каналы ступицы;
Позиция 5 - рабочее колесо;
Позиция 6 - крыльчатка охлаждения;
Позиция 61 - выступы крыльчатки охлаждения;
Позиция 7 - крышка корпуса вентилятора;
Позиция 8 - L-образные отводы;
Позиция 81 - перегородки L-образных отводов;
Позиция 82 - заслонки;
Позиция 83 - угол скоса верхней части L-образного отвода.
Подробное описание изобретения
[0042] В приведенном ниже подробном описании реализации изобретения приведены многочисленные детали реализации, призванные обеспечить отчетливое понимание настоящего изобретения. Однако, квалифицированному в предметной области специалисту, очевидно, каким образом можно использовать настоящее изобретение, как с данными деталями реализации, так и без них. В других случаях хорошо известные методы, процедуры и компоненты не описаны подробно, чтобы не затруднять излишне понимание особенностей настоящего изобретения.
[0043] Кроме того, из приведенного изложения ясно, что изобретение не ограничивается приведенной реализацией. Многочисленные возможные модификации, изменения, вариации и замены, сохраняющие суть и форму настоящего изобретения, очевидны для квалифицированных в предметной области специалистов.
[0044] На Фиг. 1 представлен схематичный вид крышного вентилятора 1, согласно настоящему изобретению. Крышный вентилятор 1 включает корпус 2, в котором размещены: двигатель 3, включающий вал 31, ступица 4, соединенная с двигателем 3 и включающая каналы 41, расположенные вокруг вала 31 двигателя 3, рабочее колесо 5, соединенное со ступицей 4, и крыльчатка охлаждения 6, соединенная с двигателем 3. Причем между крыльчаткой охлаждения 6 и двигателем 3 выполнены каналы охлаждения (на Фигурах не показаны). В верхней части корпуса 2 выполнены отверстия 21 для ввода в корпус 2 наружного воздуха, а вблизи рабочего колеса 5 в корпусе 2 выполнены отверстия 22 для вывода воздуха.
[0045] Двигатель 3 необходим для приведения в вращение элементов вентилятора 1, в частности соединенных с ним ступицы 4 (которая, в свою очередь, передает вращательное движение рабочему колесу 5) и крыльчатки охлаждения 6. При этом для обеспечения непрерывного вращательного движения все соединения должны быть жесткими, исключающими проскальзывания. Вращение рабочего колеса 5 при этом необходимо, во-первых, для направления воздушного потока горячего воздуха в направлении отверстий для их вывода 22, а, во-вторых, для создания зоны разрежения воздуха с целью затягивания туда потока холодного наружного воздуха. Вращение крыльчатки охлаждения 6, в свою очередь, необходимо для последующего обдува холодным воздухом элементов двигателя 3.
[0046] В данных целях может использоваться любой известный тип двигателей, способный создать при вращении рабочего колеса 5 зону разрежения вблизи ступицы 4. В частости, может использоваться электродвигатель, работа которого основывается на электромагнитном принципе. Такой двигатель 3 состоит из статора - неподвижной части в виде обмоток, создающей магнитное поле, и ротора - вращающейся части, приводящейся в движение за счет сформированного статором магнитного поля и размещенной внутри статора. При этом в заявленном изобретении могут использоваться как электродвигатели постоянного тока, так и переменного. Помимо этого, могут использоваться и пневматические, и гидравлические двигатели. При этом важно отметить, что нормальное функционирование электродвигателей переменного тока сохраняется при температуре окружающей среды до 60°C, постоянного тока - до 50°C, бесщеточных электродвигателей постоянного тока - до 80°C, а гидравлических и пневматических двигателей - до 80°C. Это связано в том числе с высокой эффективностью охлаждения настоящего крышного вентилятора 1, позволяющего функционировать с любыми типами двигателей вне зависимости от их эксплуатационных температурных режимов. Однако, предпочтительным вариантом все же являются электродвигатели переменного тока с использованием специальных материалов и классов изоляции, способные выдерживать температуры вплоть до 150°С. В частности, это позволит наверняка обеспечить работоспособность вентилятора 1 в летний период, когда температура наружного воздуха повышена.
[0047] Ступица 4, соединенная с рабочим колесом 5 вентилятора 1, играет важную роль одновременно и в структурной прочности вентиляторов 1 в целом, и в процессе охлаждения элементов вентилятора 1 в рамках настоящего изобретения. Во-первых, ступица 4 служит основой, к которой крепятся лопасти вентилятора 1. Она обеспечивает прочное и надежное крепление лопастей к оси вращения, что позволяет рабочему колесу 5 вращаться и генерировать поток газа. Во-вторых, ступица 4 необходима для передачи вращательного движения от двигателя 3 рабочему колесу 5. Помимо этого, ступица 4 позволяет равномерно распределить нагрузку от лопастей на ось вентилятора 1 и, в случае необходимости, на опорные элементы или подшипники, а также поддерживать геометрическую стабильность всего рабочего колеса 5 вентилятора 1 за счет предотвращения деформации и вибрации лопастей в процессе работы.
[0048] При этом крайне важным элементом ступицы 4 в рамках настоящего изобретения являются выполненные в ней каналы 41. Они могут быть реализованы, как это показано на Фиг. 2. То есть, в стандартном варианте ступицы 4 в их центральной части выполняется отверстие, форма которого повторяет форму вала 31 двигателя 3 (зачастую, форма цилиндра), на который должна будет крепиться ступица 4. Однако, в рамках настоящего изобретения, с целью обеспечения прохождения холодного наружного воздуха вблизи вала 31 двигателя 3, в ступице 4 выполнены дополнительные пазы, сопряженные с отверстием ступицы 4 и образующие каналы 41 для прохождения холодного наружного воздуха вдоль вала 31, как это показано на Фиг. 3. При этом важно отметить, что именно эта часть вала 31 является наиболее поверженной перегреву частью двигателя 3, т.к. находится в зоне прямого контакта с высокотемпературными газами. Специалисту в области техники очевидно, что благодаря радиальному вращению рабочего колеса 5 лишь малая часть потока будет доходить до центральной части ступицы 4, в которой находится вал 31. Однако, прямой контакт вала 31 с высокотемпературными газами в этом случае возможен, в связи с чем охлаждение этой части вала 31 является важной задачей для обеспечения работоспособности двигателя 3 и всего вентилятора 1. Также важно отметить, что, как уже говорилось ранее, наружный холодный воздух проникает в указанные каналы 41 благодаря разрежению воздуха вблизи ступицы 4 ввиду вращения рабочего колеса 5.
[0049] Отверстие в ступице 4, показанное на Фиг. 2, в целях формирования каналов 41 имеет форму шестеренки в своем поперечном сечении. Однако, данный вариант геометрии не ограничивает иные варианты, очевидные специалисту в области техники на основании приведенного выше описания. Так, существенным в форме поперечного сечения указанного отверстия является наличие последовательной структуры выступ-паз, где в пазы и будут задавать форму каналов 41. При этом важно соблюсти баланс между интенсификацией подачи потока охлаждающего воздуха, за которую отвечают пазы, и жесткостью соединения вала 31 со ступицей 4, за которую отвечают выступы. Предпочтительно, чтобы выступы занимали не менее 50% общего диаметра отверстия. Помимо этого, каналы 41 в своем продольном сечении могут иметь переменную ширину. Так, они могут быть выполнены сужающимися. Это приведет к увеличению скорости потока частиц в каналах 41. В связи с этим, частицы воздуха будут с более высокой скоростью влетать в рабочее колесо 5 и, таким образом, предотвращать попадание потока горячего воздуха в окрестности оси ступицы 4. Помимо этого, в данном случае будут происходить локальные завихрения в области оси ступицы 4, благодаря чему горячий воздух будет интенсивно смешиваться с холодным и охлаждаться вблизи ступицы 4. В ином варианте каналы могут быть выполнены расширяющимися в направлении рабочего колеса 5. В этом случае поток холодного воздуха будет замедляться при прохождении вдоль вала 31, что позволит усилить локальное охлаждение вала 31 в каналах 41, т.к. время теплообмена между воздухом и валом 31 будет увеличено. Помимо этого, возможны также и варианты, в которых каналы 41 будут выполнены расширяющимися по потоку воздуха до середины по своей высоте, а затем сужающимися в направлении рабочего колеса 5. Это также позволит создать локальные завихрения в точке с наибольшей шириной канала 41 (в середине), что интенсифицирует локальный теплообмен воздушного потока и вала 31. При этом важно отметить, что все указанные расширения и сужения могут быть выполнены как линейными, так и нелинейными.
[0050] Рабочее колесо 5 зачастую состоит из множества лопаток (лопастей) и удерживающей их конструкции. Для настоящего вентилятора 1 с учетом его описанной конструкции предпочтительно использование радиального центробежного рабочего колеса 5. В этом типе колеса лопасти направлены радиально и имеют прямую или изогнутую форму. При этом лопасти закреплены между передним и задним основаниями. Зачастую для увеличения прочности рабочего колеса 5 применяют детали завышенной толщины (или завышают толщину основных деталей), а также добавляют дополнительные поддерживающие элементы. В частности, на лопатках могут закреплять внешние или внутренние усиливающие кольца, стальные нити. Однако, добавление таких элементов хоть и дает вклад в увеличение прочности, но нарушает структуру формируемого вентилятором 1 воздушного потока, создавая в нем завихрения. Более того, наличие зон отрыва потока в колесе 5 из-за элементов усиления создает дополнительную нагрузку на вентилятор 1, в связи с чем польза от таких способов увеличения прочности конструкции рабочего колеса 5 еще больше снижается.
[0051] Ввиду того, что настоящее рабочее колесо 5 предназначено для использования в высокотемпературной среде, предпочтительно увеличивать прочность всего рабочего колеса 5 без создания дополнительного возмущения воздушного потока. В частности, может использоваться рабочее колесо 5, включающее задний диск, передний диск, множество рабочих лопаток и усиливающий элемент. При этом множество рабочих лопаток могут быть закреплены эквидистантно между задним и передним дисками. Усиливающий элемент может быть выполнен с открытыми торцами и расширяющимся по потоку воздуха. Причем усиливающий элемент может быть закреплен на конце лопаток по их ширине, находящейся ближе центру рабочего колеса 5, так, что угол его наклона относительно поверхности заднего диска сонаправлен потоку воздуха, проходящему вблизи от усиливающего элемента. При этом усиливающий элемент может быть закреплен на такой высоте лопаток, где лопатки имеют наибольший прогиб. Такая конструкция рабочего колеса 5 позволит увеличить его прочность, избегая негативное влияние усиления на аэродинамику колеса 5, т.к. описанный усиливающий элемент и его размещение не снижают расход воздуха и давление воздушного потока.
[0052] Крыльчатка охлаждения 6 в рамках настоящего изобретения является вспомогательным элементом для направления воздушного потока. В целом, как было сказано ранее, холодный атмосферный воздух затягивается в вентилятор 1 благодаря создаваемой рабочим колесом 5 зоной разрежения воздуха. Однако, т.к. каналы охлаждения двигателя (на Фигурах не обозначены) являются достаточно узкими, крыльчатка 6 необходима для четкого направления потока воздуха по этим каналам, а именно через корпус 2, двигатель 3, раму двигателя 3 (на Фигуре не показана), нижнюю стенку верхней части корпуса 2, канал между нижней стенкой верхней части корпуса 2 и рабочим колесом 5. Крыльчатка располагается между двигателем 3 и ступицей 4 и крепится к валу 31 двигателя 3. При этом важно чтобы при вращении крыльчатка 6 направляла поток в указанном ранее направлении.
[0053] Описанный крышный вентилятор 1 работает следующим образом, как это показано на Фиг. 4, где пунктирной линией показана зона разрежения воздуха, штрихпунктирной -потоки холодного воздуха, а двойной штрихпунктирной линией - поток горячего воздуха. Двигатель 3 вентилятора 1 вращает соединенные с ним ступицу 4, крыльчатку охлаждения 6 и рабочее колесо 5. Рабочее колесо 5 при вращении под действием центробежных сил перемещает воздух (дымовые газы) высокой температуры и создает зону разрежения в области ступицы 4. В область низкого давления по каналам ступицы 41 вдоль вала 31 поступает холодный атмосферный воздух и охлаждает вал 31 и внутренние поверхности ступицы 4. Крыльчатка охлаждения 6 при вращении перемещает холодный атмосферный воздух по каналам системы охлаждения и охлаждает элементы двигателя 3. Таким образом, описанный вентилятор 1 самоохлаждается при работе, охлаждая, в том числе, те свои элементы, которые наиболее восприимчивы к температурам, в частности вал 31, двигатель 3 и ступица 4. Ввиду самоохлаждения также снижается потребление энергии, которая могла бы затрачиваться на охлаждение двигателя 3.
[0054] Корпус 2 в верхней части может включать наклонные грани 23, причем грани 23 могут быть наклонены относительно вертикали таким образом, что корпус 2 выполнен расширяющимся в направлении рабочего колеса 5, как это показано на Фиг. 5. Это позволяет создавать локальные завихрения в нижней части корпуса 2, что улучшает теплообмен между наружным воздухом и корпусом двигателя 3 благодаря тому, что корпус в продольном сечении в некоторых участках имеет форму трапеции. Более того, расширение приводит к снижению скорости воздушного потока в нижней части корпуса 2, в связи с чем увеличивается время теплообмена и, как следствие, воздух успевает забрать большее количество тепла от двигателя 3. Часть граней 24 при этом могут оставаться прямыми. Однако, также возможны варианты реализации, где корпус 2 в каждом из срезов имеет трапецию в продольном сечении, т.е. каждая его грань 23 может быть выполнена наклонной.
[0055] При этом отверстие для ввода наружного воздуха 21 может быть выполнено в верхней стенке корпуса 2. В таком случае предпочтительно, чтобы на верхней части корпуса 2 была закреплена крышка 7, как это показано на Фиг. 6. Причем крышка 7 может быть закреплена таким образом, что между ней 7 и наклонными гранями 23 верхней части корпуса 2 образуются отверстия для ввода наружного воздуха 21. Это позволит избежать попадания осадков и мусора в корпус 2 вентилятора 1.
[0056] На Фиг. 7 представлен продольный разрез крышного вентилятора 1, в конструкции которого используется описанный выше корпус 2 с наклонными гранями 23 и крышка 7. При этом на Фиг. 7 пунктирными линиями схематично показан воздушный поток. Как видно, вихри формируются ближе острым углам корпуса 2. За счет этого поток воздуха несколько раз совершает круговые движения вблизи корпуса двигателя 3, в связи с чем имеет место интенсификация охлаждения.
[0057] Дополнительно двигатель 3 может быть размещен в отдельном ранее упомянутом корпусе двигателя 32. При этом на верхней части корпуса 32 может быть закреплена крышка 33, в которой выполнены отверстия 34, как это показано на Фиг. 8. При этом под крышкой 33 на вале 31 двигателя 3 может быть закреплена крыльчатка охлаждения 35 двигателя 3. Это позволит также затягивать часть поступающего наружного воздуха непосредственно в корпус двигателя 32, что дополнительно позволит еще больше увеличить интенсивность охлаждения элементов двигателя 3. В этом случае наличие крышки 7 является крайне необходимым, т.к. в противном случае осадки смогут проникать вовнутрь двигателя 3.
[0058] Крыльчатка охлаждения 6 может быть выполнена звездчатой формы, как это показано на Фиг. 9. Причем с одной стороны каждого из зубьев может быть выполнен выступ 61, перпендикулярный поверхности крыльчатки 6. Это позволяет сохранить ее плоскость для свободного размещения между двигателем 3 и ступицей 4 (в зазоре между нижней стенкой верхней части корпуса 2 и рабочим колесом 5, как это показано на Фигурах 1, 4, 7). Сами же выступы 61 позволяют задать направление воздушного потока наружного воздуха. В целом, возможно применение не только звездчатой формы, но и любой другой формы, в которой соблюдается последовательность зубчик-паз. При этом на каждом зубчике должны быть выполнены выступы 61, причем у всех они должны быть выполнены с одинаковой стороны. Данная крыльчатка 6 выполнена по принципу центробежного вентилятора с назад загнутыми лопатками, что позволяет снизить потребление энергии от электрического двигателя 3, приводящего ее в действие.
[0059] Зубья на концах могут также быть скругленными или скошенными. Помимо этого, возможно также и выполнение любого количества зубьев. Однако, предпочтительно сохранять количество зубьев в том же диапазоне, в котором обычно сохраняют количество лопаток в осевых вентиляторах.
[0060] Ограничение в их количестве связано с несколькими факторами. Во-первых, количество зубьев (и выступов 61 на них) влияет на аэродинамические характеристики. Каждый выступ 61 создает определенное сопротивление и генерирует поток воздуха или газа. Слишком большое количество выступов 61 (а зубья без выступов 61 не играют роли) может привести к увеличению турбулентности и потерям энергии из-за взаимодействия между выступами 61. Оптимальное количество выступов 61 позволяет достичь нужного объема воздушного потока при минимальных потерях энергии. Помимо этого, чем больше выступов 61, тем выше могут быть механические нагрузки на крыльчатку 6. Определенное количество выступов 61 обеспечивает баланс между производительностью и механической прочностью конструкции, что важно для долговечности и надежности крыльчатки 6. Предпочтительно, чтобы крыльчатка 6 имела от 3 до 16 зубьев (и, как следствие, от 3 до 16 выступов 61). Могут также использоваться и стандартные крыльчатки 6, используемые в осевых вентиляторах. К ним будут применяться такие же требования по количеству лопастей, какие применяются к зубьям.
[0061] При этом, звездчатая форма является не единственным возможным вариантом. Принципиальным является то, чтобы крыльчатка 6 функционировала, как радиальное рабочее колесо (центробежное), которое может быть реализовано множеством форм и размеров лопаток, которые, в свою очередь, могут быть выполнены различными способами. В частности, сама крыльчатка 6 может быть как отдельным элементом, так и может быть выполнена совмещенной с такими элементами как ступица 4 или коренной диск рабочего колеса 5. Размеры же крыльчатки 6 могут меняться в зависимости от оборотов применяемого двигателя 7 для сохранения рабочего расхода воздуха для охлаждения.
[0062] Также важно отметить, что и при выполнении крыльчатки 6 звездчатой формы с выступами 61, выступы 61 могут быть выполнены не перпендикулярными, а быть отклоненными от вертикали на малый угол (до 5 градусов). Такой отгиб все еще позволит крыльчатке 6 функционировать по принципу действия радиального вентилятора.
[0063] Поперечное сечение части корпуса 2, расположенной вблизи рабочего колеса 5, может иметь прямоугольную форму, при этом со стороны каждой грани могут выполнены L-образные отводы 8. На Фиг. 10 представлен схематичный вид крышного вентилятора 1 в продольном разрезе с L-образными отводами 8. Эти отводы 8 позволят направлять выходящий поток высокотемпературных газов вверх. Направление газов вверх способствует их быстрой эвакуации из зоны работы или жилых помещений, что важно для обеспечения безопасности и комфорта людей. Помимо этого, уменьшается риск нагрева окружающих поверхностей, что может быть критично в условиях, где высокие температуры могут привести к повреждениям или воспламенению материалов вокруг. Угол отводов 8 в их продольном сечении может быть выполнен скругленным, что позволит избежать забивания грязи в углах.
[0064] При этом внутри отводов 8 могут быть выполнены перегородки 81, образующие воздушные каналы, а в верхней части отвода 8 может быть закреплена заслонка 82. Перегородки 81 повышают жесткость конструкции и организовывают безотрывное течение воздуха в них что повышает эффективность работы вентилятора 1 в целом.
[0065] Наличие заслонки 82 позволит предотвратить попадание осадков и мусора в отводы 8, а также в сам воздуховод. При этом предпочтительно, чтобы заслонки 82 были выполнены с возможностью открытия под давлением воздушного потока, что позволит обеспечить их открытие исключительно при выходе потока воздуха наружу. При выходе потока из трубы маловероятно попадание мусора в воздуховод, т.к. выходящий поток воздуха будет выталкивать мелкий мусор дальше от отверстия для вывода наружного воздуха 22. Закрываться же заслонка 82 может под действием силы притяжения. При этом также важно, чтобы при открытии заслонки 82 не отклонялись под тупым углом относительно горизонтали, т.к. в этом случае заслонка 82 не закроется назад, когда поток воздуха через нее прекратиться.
[0066] В закрытом же положении заслонки 82 предпочтительно размещать под углом 83 по крайней мере 30 градусов к горизонтали, как это показано на Фиг. 11 (пунктирной линией на фигуре обозначена горизонталь). Это может быть сделано посредством выполнения скоса под соответствующим углом в верхней части L-образных отводов 8. Это позволит открывать заслонки 82 даже при слабом давлении потока воздуха, т.к. уменьшит необходимую силу потока для преодоления силы тяжести заслонки 82. Также в этих целях заслонка 82 может изготавливаться из более легких материалов, например, алюминия, различных композитных материалов, пластика, титана и его сплавов, магний и его сплавы и так далее. При этом, все указанные материалы имеют достаточную устойчивость к коррозии, что также важно, учитывая, что крышный вентиляторы 1 располагаются вне помещений и должны выдерживать осадки.
[0067] На нижней части корпуса 2 (под рабочим колесом 5) может быть закреплен короб статического давления (на Фигурах не показан). Это позволит повысить эффективность на перемещения потока воздуха в направлении рабочего колеса 5. Короб статического давления предназначен для направления потока воздуха или газа, созданного вентилятором 1, в определенном направлении. Это особенно важно в системах вентиляции и кондиционирования воздуха, где нужно точно направить поток на нужную поверхность или зону. Также короб увеличивает статическое давление потока, что позволяет эффективнее перемещать воздух или газ через вентиляционные каналы или другие установки. Это особенно важно в случае необходимости преодоления сопротивления внутренних элементов вентилятора 1. Помимо этого, указанный короб способствует снижению турбулентности в потоке. Это важно для создания более равномерного распределения воздушного потока внутри вентилятора 1. Т.к. вентилятор 1, в соответствии с настоящим изобретением, предназначен для высокотемпературных газов, понижение турбулентности крайне важно для его охлаждения. В противном случае, турбулентный поток может недостаточно эффективно направляться рабочим колесом 5 в сторону отверстий для вывода воздуха 22 и больше проникать в направлении вала 31 и ступицы 4, нагревая их. От них, в свою очередь, тепло будет передаваться остальным элементам двигателя 3 ввиду их теплопроводности. Таким образом, наличие короба статического давления позволяет более эффективно применять настоящий самоохлаждающийся крышный вентилятор 1.
[0068] Описанный выше крышный вентилятор 1 может функционировать согласно способу работы крышного вентилятора 1 в соответствии с настоящим изобретением. Согласно способу, сначала вращают ступицу 4, крыльчатку охлаждения 6 и рабочее колесо 5 при помощи двигателя 3. При этом перемещают воздух под действием центробежных сил и создают зону разрежения воздуха в области ступицы 4 при помощи рабочего колеса 5. Затем затягивают наружный воздух в область низкого давления через отверстия для ввода наружного воздуха 21 в корпусе 2 и через каналы ступицы 41. Поступившим наружным воздухом охлаждают вал 31 двигателя 3 и ступицу 4. Одновременно перемещают наружный воздух по каналам охлаждения в направлении двигателя 3 посредством вращения крыльчатки охлаждения 6, и тем самым охлаждают двигатель 3.
[0069] Вращение элементов вентилятора 1 при этом необходимо для запуска работы вентилятора 1 и формирования воздушного потока высокотемпературного газа. Его перемещение при этом необходимо для вывода газа из воздуховода. Вращение рабочего колеса 5 также необходимо для создания зоны разрежения воздуха в области ступицы 4. Зона разрежения позволяет затягивать наружный воздух через отверстие для ввода воздуха 21 в корпус 2 вентилятора 1. Само же затягивание необходимо для охлаждения элементов вентилятора 1, в частности вала 31, ступицы 4 и двигателя 3, наружным воздухом. Каналы 41 в ступице 4 необходимы для обеспечения охлаждения той части вала 31, которая больше всего контактирует с высокотемпературными газами. Охлаждение ступицы 4 также необходимо ввиду того, что она находится в прямом контакте с высокотемпературной средой и, при этом, соприкасается с валом 31 двигателя 3 своей поверхностью. Перемещение наружного воздух по каналам охлаждения в направлении двигателя 3 посредством вращения крыльчатки охлаждения 6 и само охлаждение двигателя 3 необходимы непосредственно для обеспечения работоспособности двигателя 3 в процессе работы с высокотемпературными газами. Таким образом, описанный вентилятор 1 самоохлаждается при работе, охлаждая, в том числе, те свои элементы, которые наиболее восприимчивы к температурам, в частности вал 31, двигатель 3 и ступицу 4, что значительно увеличивает срок эксплуатации двигателя 3 и вентилятора 1 в целом. Ввиду самоохлаждения также снижается потребление энергии, которая могла бы затрачиваться на охлаждение двигателя 3.
[0070] Могут использовать крышный вентилятор 1, корпус 2 которого включает наклонные грани 23, причем грани 23 могут быть наклонены относительно вертикали таким образом, что корпус 2 выполнен расширяющимся в направлении рабочего колеса 5. Следовательно, могут создавать завихрения воздуха вблизи двигателя 3. Это позволит улучшить теплообмен между наружным воздухом и корпусом двигателя 32. Более того, расширение приводит к снижению скорости воздушного потока в нижней части корпуса 2, в связи с чем увеличивается время теплообмена и, как следствие, воздух успевает забрать большее количество тепла от двигателя 3.
[0071] Дополнительно могут вращать крыльчатку охлаждения двигателя 35 и затягивать наружный воздух, поступающий через верхнюю часть корпуса 2, к двигателю 3 через отверстия 34 в крышке 33 корпуса 32 двигателя 3. Затягивание поступающего наружного воздуха непосредственно в корпус двигателя 32 позволит еще больше увеличить интенсивность охлаждения элементов двигателя 3.
[0072] Могут использовать крыльчатку охлаждения 6 звездчатой формы, у которой с одной стороны каждого из зубьев выполнен выступ 61, перпендикулярный поверхности крыльчатки 6. Это позволит сохранить ее плоскость для свободного размещения между двигателем 3 и ступицей 4 (в зазоре между нижней стенкой верхней части корпуса 2 и рабочим колесом 5). Сами же выступы 61 позволят задать направление воздушного потока наружного воздуха.
[0073] Воздух могут выводить через L-образные отводы 8. Это позволит направлять выходящий поток высокотемпературных газов вверх. При этом воздух могут проводить через воздушные каналы, образованные перегородками 81 внутри отводов 8.
[0074] Открывать заслонки 82 могут под давлением воздушного потока. Это позволит дополнительно экономить потребление энергии, затрачиваемое на их открытие, а также обеспечить их открытие исключительно при выходе потока воздуха наружу.
[0075] При отсутствии выходящего воздушного потока могут закрывать заслонки 82, причем в закрытом положении заслонки 82 могут размещать под углом 83 по крайней мере 30 градусов. Это позволит впоследствии открывать заслонки 82 даже при слабом давлении потока воздуха.
[0076] Важно отметить, что любые дополнительные элементы (признаки) крышного вентилятора 1, согласно настоящему изобретению, могут использоваться как все одновременно, так по отдельности и в любой комбинации. При их включении в вентилятор 1 будут достигаться описанные дополнительные технические результаты. Более того, дополнительные этапы способа работы вентилятора 1 могут также рассматриваться в качестве дополнительных функций, а также дополнительных или основных элементов вентилятора 1.
[0077] В настоящих материалах заявки представлено предпочтительное раскрытие осуществления заявленного технического решения, которое не должно использоваться как ограничивающее иные, частные воплощения его реализации, которые не выходят за рамки испрашиваемого объема правовой охраны и являются очевидными для специалистов в соответствующей области техники.
| название | год | авторы | номер документа |
|---|---|---|---|
| КРЫШНЫЙ ВЕНТИЛЯТОР ДЛЯ ДЫМОУДАЛЕНИЯ | 2005 |
|
RU2294459C1 |
| Ротор турбины низкого давления (ТНД) газотурбинного двигателя (варианты), узел соединения вала ротора с диском ТНД, тракт воздушного охлаждения ротора ТНД и аппарат подачи воздуха на охлаждение лопаток ротора ТНД | 2018 |
|
RU2684355C1 |
| Вентилятор | 2021 |
|
RU2799889C2 |
| ЦЕНТРОБЕЖНЫЙ ВЕНТИЛЯТОР | 2012 |
|
RU2607116C2 |
| ЦЕНТРОБЕЖНАЯ ВЕНТИЛЯТОРНАЯ УСТАНОВКА | 2009 |
|
RU2406875C1 |
| ТЕРМОСТАТ КОЛОНОК ХРОМАТОГРАФА | 2013 |
|
RU2529665C1 |
| УСТРОЙСТВО ВОЗДУШНОГО ОХЛАЖДЕНИЯ ЭЛЕКТРОДВИГАТЕЛЕЙ | 2021 |
|
RU2756842C1 |
| КРЫШНЫЙ ВЕНТИЛЯТОР (ВАРИАНТЫ) | 2004 |
|
RU2272936C1 |
| ВОЗДУХОПОДОГРЕВАТЕЛЬ САЛОНА ЭЛЕКТРОТРАНСПОРТА | 2008 |
|
RU2345908C1 |
| ВОЗДУХОПОДОГРЕВАТЕЛЬ КАБИНЫ ВОДИТЕЛЯ ЭЛЕКТРОТРАНСПОРТА | 2008 |
|
RU2376156C2 |
Изобретение относится к области вентиляции, в частности к вентиляторам. Крышный вентилятор включает корпус, в котором размещены: двигатель, включающий вал, ступица, соединенная с двигателем и включающая каналы, расположенные вокруг вала двигателя, рабочее колесо, соединенное со ступицей, крыльчатка охлаждения, соединенная с двигателем, причем между крыльчаткой охлаждения и двигателем выполнены каналы охлаждения, при этом в верхней части корпуса выполнены отверстия для ввода в корпус наружного воздуха, а вблизи рабочего колеса в корпусе выполнены отверстия для вывода воздуха. Техническим результатом является обеспечение возможности самоохлаждения вентилятора при работе и повышения эффективности охлаждения за счет повышения охлаждаемой площади при низком энергопотреблении, затрачиваемом на охлаждение. 2 н. и 17 з.п. ф-лы, 11 ил.
1. Крышный вентилятор, включающий корпус, в котором размещены: двигатель, включающий вал, ступица, соединенная с двигателем и включающая каналы, расположенные вокруг вала двигателя, рабочее колесо, соединенное со ступицей, крыльчатка охлаждения, соединенная с двигателем, причем между крыльчаткой охлаждения и двигателем выполнены каналы охлаждения, при этом в верхней части корпуса выполнены отверстия для ввода в корпус наружного воздуха, а вблизи рабочего колеса в корпусе выполнены отверстия для вывода воздуха.
2. Крышный вентилятор по п. 1, отличающийся тем, что корпус в верхней части включает наклонные грани, причем грани наклонены относительно вертикали таким образом, что корпус выполнен расширяющимся в направлении рабочего колеса.
3. Крышный вентилятор по п. 2, отличающийся тем, что в верхней стенке корпуса выполнено отверстие.
4. Крышный вентилятор по п. 2 или 3, отличающийся тем, что на верхней части корпуса закреплена крышка, причем крышка закреплена таким образом, что между ней и наклонными гранями верхней части корпуса выполнены отверстия.
5. Крышный вентилятор по п. 1 или 3, отличающийся тем, что включает корпус двигателя, в котором размещен двигатель, а на верхней части корпуса двигателя закреплена крышка, в которой выполнены отверстия, причем под крышкой на вале двигателя закреплена крыльчатка охлаждения двигателя.
6. Крышный вентилятор по п. 1, отличающийся тем, что крыльчатка охлаждения выполнена звездчатой формы, причем с одной стороны каждого из зубьев выполнен выступ, перпендикулярный поверхности крыльчатки.
7. Крышный вентилятор по п. 1, отличающийся тем, что поперечное сечение части корпуса, расположенной вблизи рабочего колеса, имеет прямоугольную форму, при этом со стороны каждой грани выполнены L-образные отводы.
8. Крышный вентилятор по п. 7, отличающийся тем, что внутри отводов выполнены перегородки, образующие воздушные каналы, а в верхней части отвода закреплена заслонка.
9. Крышный вентилятор по п. 8, отличающийся тем, что заслонки выполнены с возможностью открытия под давлением воздушного потока.
10. Крышный вентилятор по п. 9, отличающийся тем, что в закрытом положении заслонки размещены под углом по крайней мере 30 градусов.
11. Крышный вентилятор по п. 7 или 8, отличающийся тем, что угол отводов в их продольном сечении выполнен скругленным.
12. Способ работы крышного вентилятора, по которому: вращают ступицу, крыльчатку охлаждения и рабочее колесо при помощи двигателя; перемещают воздух под действием центробежных сил и создают зону разрежения воздуха в области ступицы при помощи рабочего колеса; затягивают наружный воздух в область низкого давления через отверстия для ввода наружного воздуха в корпусе и через каналы ступицы; охлаждают вал и ступицу; перемещают наружный воздух по каналам охлаждения в направлении двигателя посредством вращения крыльчатки охлаждения; охлаждают двигатель.
13. Способ по п. 12, отличающийся тем, что используют крышный вентилятор, корпус которого включает наклонные грани, причем грани наклонены относительно вертикали таким образом, что корпус выполнен расширяющимся в направлении рабочего колеса, и создают завихрения воздуха вблизи двигателя.
14. Способ по п. 12, отличающийся тем, что дополнительно вращают крыльчатку охлаждения двигателя и затягивают наружный воздух, поступающий через верхнюю часть корпуса, к двигателю через отверстия в крышке корпуса двигателя.
15. Способ по п. 12, отличающийся тем, что используют крыльчатку охлаждения звездчатой формы, у которой с одной стороны каждого из зубьев выполнен выступ, перпендикулярный поверхности крыльчатки.
16. Способ по п. 12, отличающийся тем, что выводят воздух через L-образные отводы.
17. Способ по п. 16, отличающийся тем, что проводят воздух через воздушные каналы, образованные перегородками внутри отводов.
18. Способ по п. 16 или 17, отличающийся тем, что открывают заслонки под давлением воздушного потока.
19. Способ по п. 18, отличающийся тем, что при отсутствии выходящего воздушного потока закрывают заслонки, причем в закрытом положении заслонки размещают под углом по крайней мере 30 градусов.
| EP 3524823 B1, 01.07.2020 | |||
| Способ повышения адгезии текстильных материалов из синтетических волокон, пропитанных эпоксиаминными и эпоксидными смолами к резине | 1960 |
|
SU136542A1 |
| Сушилка для рафинада | 1950 |
|
SU87477A1 |
| КРЫШНЫЙ ВЕНТИЛЯТОР ДЛЯ ДЫМОУДАЛЕНИЯ | 2005 |
|
RU2294459C1 |
| РАДИАЛЬНЫЙ КРЫШНЫЙ ВЕНТИЛЯТОР ДЛЯ ДЫМОУДАЛЕНИЯ | 1999 |
|
RU2161270C2 |
Авторы
Даты
2025-02-24—Публикация
2024-07-31—Подача