Изобретение относится к области устройств управления, в частности к аксессуарам для мобильных устройств, используемым в мобильных киберспортивных дисциплинах и мобильных играх. С развитием науки и техники, смартфоны и планшетные устройства становятся важными элементами повседневной жизни. В связи с этим наблюдается стремительное развитие индустрии мобильных киберспортивных игр. Мобильные устройства оснащаются сенсорными экранами с увеличенными размерами, что позволяет значительно улучшить графические эффекты и играбельность мобильных игр, привлекая внимание все большего количества пользователей. Как правило, в мобильных играх управление осуществляется с помощью сенсорных экранов, на которых расположены кнопки управления и функциональные кнопки. Например, при использовании смартфона пользователю достаточно держать устройство в руках и управлять игрой, нажимая пальцами по экрану. Однако такой способ управления имеет несколько недостатков: недостаточная эргономика управления увеличивает нагрузку на определенные пальцы, неудобное положение рук и пальцев при удержании мобильного устройства приводит к нарушению кровообращения, что вызывает онемение, это то особенно заметно при длительных игровых сессиях, чрезмерное и интенсивное нажатие на экран может привести к физическим повреждениям устройства, таким как трещины, некорректная цветопередача или даже поломка сенсорного слоя. Это происходит потому, что пользователи, как правило, задействуют два больших пальца в игровом процессе и нажимают ими на экран сильнее, чем если они это делали указательными пальцами, при этом остальные пальцы используются как опора для мобильного устройства. Разработчики игр часто упрощают игровой процесс, предлагая несколько режимов управления:
Упрощенный режим управления, при котором две функции, к примеру действие и навигация выполняются одной кнопкой. Это вынуждает пользователя нажимать, чтобы выполнялась функцию действия и одновременно вести по экрану, чтобы выполнить функцию навигации. Использование больших пальцев для выполнения интенсивных нажимных действий, увеличивает риск повреждения экрана, потому пользователи все чаще используют периферийные триггеры, что еще больше нагромождает мобильное устройство.
Режим управления для профессионалов, где каждая функция имеет свою кнопку, требует задействования большего числа пальцев, что позволяет минимизировать давление на экран большими пальцами, так как ими зачастую выполняют функцию навигации, а указательными пальцами выполняют функцию действия, это повышает скорость и эффективность управления, однако не решает проблему онемения кистей рук. Использование специальных игровых держателей для мобильных устройств позволит решать эти проблемы. Существующие держатели обеспечивают удобное расположение рук и равномерное распределение нагрузки на пальцы, что предотвращает онемение пальцев. Но не решают проблему совместимости с устройствами больших габаритов и не дают пользователю удобно пользоваться, в процессе игры, четырьмя пальцами.
Уровень техники
Известна игровая рукоятка зажимного типа, представленная в публикации US 10065112 В2, представляющая собой левую и правую рукоятки с опорно-балансировочным гнездам. Правая и левая рукоятки взаимно дополняют друг друга по конструкции. Левая рукоятка использует переднюю пружину натяжения, а правая рукоятка использует заднюю пружину натяжения. Выполняя телескопическое перемещение левой рукоятки в направлении правой рукоятки, пользователь может надежно зафиксировать электронное устройство, взявшись за рукоятки, что предотвращает чрезмерное занятие ладонями или пальцами ограниченного пространства экрана электронного устройства. Это не только обеспечивает игровой эффект, но и освобождает ладони и пальцы.
Однако данная рукоятка не предназначена для использования с планшетами и имеет ограничения в совместимости с различными габаритами защитных чехлов и мобильных устройств. Сложная конструкция, достаточно громоздкая и имеет большое количество механических элементов, что приводит к поломкам. Конструкция рукоятки не обеспечивает достаточной функциональности при использовании в киберспортивных играх, где игрок задействует 4 пальца без дополнительных периферийных устройств и лишает пользователя возможности установить охлаждение на заднюю панель мобильного устройства.
Сущность изобретения
В отличие от описываемой выше игровой рукоятки, впервые предлагается универсальный и компактный игровой держатель для мобильной киберспортивной игровой деятельности. Рукоятки крепятся к задней панели защитного чехла мобильного устройства, смартфона, планшета, по левую и правую сторону, при помощи независимых друг от друга кронштейнов, что решает проблему совместимости с мобильными устройствами различных размеров и позволяет пользователю настроить положение рукояток под свои предпочтения, обеспечивая удобное управление, при этом наклон рукояток позволяет минимизировать нагрузку на пальцы и на сенсорный экран мобильного устройства, располагая пользователя использовать большие и указательные пальцы. При этом рукоятки крепятся к фиксатору, с возможностью их отсоединения и присоединения по отдельности путем перемещения вперед-назад вдоль воображаемой продольной оси, удерживая фиксатор. Фиксатор обеспечивает надежное и стабильное соединение, предотвращая смещение рукояток во время переноса и хранения.
Технический результат, достигаемый при использовании изобретения, заключается в следующем:
Компактная и легкая конструкция игрового держателя делает его удобным для переноса, хранения и использования в любых условиях благодаря фиксатору и кронштейнам.
Простота конструкции достигается за счет минимального количества механических элементов, что снижает вероятность поломок и повышает надежность устройства
Быстросъемные крепления позволяют легко устанавливать и снимать рукоятки.
Рукоятки могут использоваться по отдельности, что предоставляет пользователю больше гибкости в настройке игрового процесса. Держатель совместим с мобильными устройствами различных габаритов и планшетами, обеспечивая надежное крепление и удобное управление даже при использовании различных защитных аксессуаров, что расширяет его функциональные возможности в мобильных киберспортивных играх.
Таким образом, изобретение значительно улучшает игровой опыт в мобильных киберспортивных дисциплинах, делая его более комфортным и безопасным для устройства и пользователя.
Изобретение поясняется фигурами:
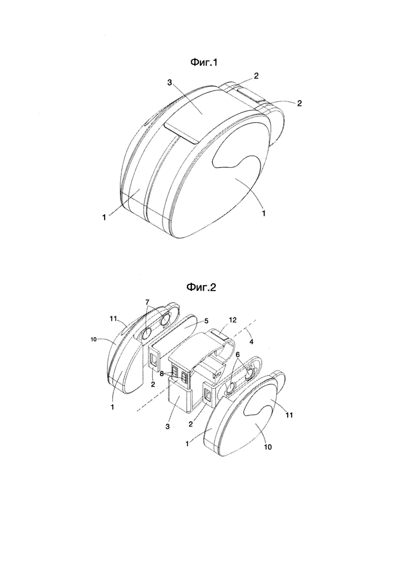
На Фиг. 1 - держатель в сборе.
На Фиг. 2 - держатель в разборе.
На Фиг. 3 - показана рукоятка.
На Фиг. 3А - показана обтекаемая крышка отдельно от рукоятки.
На Фиг. 4 - показан кронштейн.
На Фиг. 5 - показаны рукоятка с кронштейном присоединенные друг к другу.
На Фиг. 6 - показан фиксатор.
На Фиг. 7 - показана схема отсоединения фиксатора от рукояток.
На Фиг. 8 - показана схема присоединения рукоятки к фиксатору.
На Фиг. 9 - показана схема присоединения кронштейна к чехлу мобильного устройства.
На фиг.10 - показана схема отсоединения и присоединения рукоятки к чехлу мобильного устройства при помощи кронштейна.
На Фиг. 11 - показан угол наклона рукоятки.
На Фиг. 12 - расположение рукояток на мобильных устройствах (вид спереди, вид сзади).
На Фиг. 13 - расположение пальцев рук на рукоятках при использовании со смартфонами.
На Фиг. 14 - расположение пальцев рук на рукоятках при использовании с планшетами
Детальное описание изобретения.
Как показано на Фиг. 1-6, Игровой держатель для мобильной киберспортивной игровой деятельности, содержащий левую рукоятку (1) и правую рукоятку (1), каждая из которых имеет опорное гнездо, содержит обтекаемую крышку(10) с противоскользящий накладкой (11) выполненной изкожи, каучука или резины. Введены два кронштейна (2) Г-образной формы, каждый из которых имеет горизонтальную полку и вертикальную полку, включающий крепежный элемент (5) расположенный на внутренней горизонтальной полке, при этом наружная горизонтальная полка и наружная вертикальная полка присоединены к опорному гнезду соответствующей рукоятки (1) с возможностью отсоединения. Введен фиксатор (3), расположенный между левой и правой рукояткой (1), имеющий воображаемую продольную ось (4), включающий две противоскользящие накладки (12) выполненные из кожи, каучука или резины. Правая стенка фиксатора (3) прикреплена к передней стенке опорного гнезда левой рукоятки (1), и левая стенка фиксатора (3) прикреплена к передней стенке опорного гнезда правой рукоятки (1), в боковая стенка опорного гнезда левой и правой рукоятки (1) прикреплена к передней стенке фиксатора (3),
Для обеспечения надежного крепления рукояток (1) к мобильным устройствам при помощи кронштейнов (2), с возможностью быстрого и легкого отсоединения рукояток (1), на передней стенке опорного гнезда рукоятки (1) выполнен овальный паз (19), расположенный относительно внешней горизонтальной полки кронштейна (2), при этом в овальный паз (19) интегрированы по меньшей мере два дисковых магнита (7) и два ограничительных выступа (21), на боковой стенке посадочного гнезда рукоятки выполнен прямоугольный выступ (15), расположенный относительно внешней вертикальной полки кронштейна (2). При этом на внешней горизонтальной полке кронштейна (2) выполнен овальный выступ (20), расположенный в овальном пазу (19), в овальный выступ (20) интегрированы по меньшей мере два дисковых магнита (6) и два ограничительных паза (22). В вертикальной полке кронштейна выполнено прямоугольное отверстие (16), сопряженное с прямоугольным выступом (15) опорного гнезда рукоятки (1). Магниты (6) и магниты (7), расположены параллельно друг другу и имеют противоположный заряд относительно друг друга, магнитным притяжением стягивает каждую рукоятку (1) с соответствующим кронштейном (2).
Для обеспечения надежного крепления рукояток (1) к фиксатору (3) для удобного хранения и переноса с возможностью быстрого и легкого отсоединения рукояток (1) от фиксатора (3) для последующего использования, на боковой стенке опорного гнезда каждой рукоятки (1) выполнен скользящий выступ (13) расположенный в скользящем пазу (14) фиксатора (3), в прямоугольном выступе (15) выполнен прямоугольный паз (31), в который интегрирован по меньшей мере один квадратный магнит (9), на левой и павой стенках фиксатора (3) выполнен скользящих паз (14), сопряженный со скользящим выступом (13) опорного гнезда левой и правой рукоятки (1), на передней стенке фиксатора (3) выполнены два стыковочных выступа (17), в каждый интегрирован квадратный магнит (8), при этом каждый стыкованный выступ (17) расположен в пазе (31) прямоугольного выступа (15) опорного гнезда левой и правой рукоятки (1). Магниты (8) и магниты (9), расположены параллельно друг другу и имеют противоположный заряд относительно друг друга, магнитным притяжением стягивает каждую рукоятку (1) с фиксатором (3).
Как показано на Фиг. 7-8, каждая рукоятка (1) отсоединяется от фиксатора (3) и присоединения к нему по отдельности, путем перемещения вперед-назад вдоль воображаемой продольной оси удерживая фиксатор (3) за противоскользящие накладки (12).
Как показано на Фиг. 10-12, каждая рукоятка (1) выполнена с возможностью присоединения и отсоединения от задней панели чехла мобильного устройства (32), смартфона (33) или планшета (34) при помощи кронштейна (2), на внутренней горизонтальной полке которого расположен фиксирующий элемент (5) выполненный в виде клейкой пластины или двухсторонней клейкой ленты. Каждая рукоятка (1) выполнена в форме эллипса и имеет угол наклона 30° по отношению к воображаемой продольной оси (4), что позволяет пользователю задействовать большие и указательные пальцы для взаимодействия с сенсорным экраном мобильного устройства и удобно расположить пальцы на обтекаемой крышке (11) каждой рукоятки (1), а противоскользящая накладка(11) предотвращает выскальзывания рукояток (1) из рук, как показано на Фиг. 12-13.
Левая и правая рукоятки (1), кронштейны (2), фиксатор (3) обтекаемая крышка (10), могут быть выполнены из пластика или алюминия технологией литья под давлением.
Задачей изобретения является создание универсального и компактного игрового держателя для мобильных устройств, предназначенного для киберспортивной игровой деятельности. Данный держатель должен обеспечивать:
1. Совместимость с мобильными устройствами различных габаритов, включая смартфоны и планшеты.
2. Надежное и стабильное крепление рукояток к мобильным устройствам с возможностью быстрого и легкого отсоединения.
3. Удобное положение пальцев и оптимальный угол наклона для взаимодействия с сенсорным экраном устройства.
4. Эргономичность и предотвращение выскальзывания из рук за счет противоскользящих накладок.
5. Легкость в хранении и переноске благодаря фиксатору, который соединяет рукоятки в единое целое и обеспечивает их быструю сборку и разборку.
Изобретение решает эти задачи путем введения двух Г-образных кронштейнов, фиксатора с магнитными креплениями и продуманного дизайна рукояток, которые обеспечивают удобство и надежность в использовании для мобильных киберспортивных игр.
Преимущества изобретения:
Удобство использования:
- Эргономичная форма рукояток в виде эллипса с углом наклона 30° по отношению к воображаемой продольной оси, при использовании рукояток с мобильными устройствами, обеспечивает комфортную опору для пальцев, что значительно снижает нагрузку на кисти и пальцы во время длительных игровых сессий, располагая пользователя использовать большие и указательные пальцы при взаимодействии с сенсорный экран мобильного устройства.
- Противоскользящие накладки, выполненные из кожи, каучука или резины, на обтекаемых крышках рукояток и фиксаторе предотвращают скольжение и обеспечивают надежное удержание устройства в руках.
Легкость отсоединения и присоединения:
- Конструкция позволяет быстро и легко отсоединять рукоятки от мобильных устройств при помощи магнитных креплений.
Универсальность:
- Держатель совместим с различными мобильными устройствами различных размеров, включая планшеты, благодаря использованию кронштейнов, магнитных фиксирующих элементов и элементов, выполненных в виде клейкой пластины или двусторонней клейкой ленты. Удобство хранения и переноса:
- Возможность крепления рукояток к фиксатору для удобного хранения и переноса делает держатель удобным для использования не только дома, но и в путешествиях. Компактность конструкции позволяет легко убирать и носить его с собой.
Простота конструкции:
- Минимальное количество механических элементов снижает вероятность поломок и увеличивает срок службы устройства. Простая, но эффективная система крепления и фиксации делает держатель надежным и долговечным.
Эстетичный дизайн:
- Обтекаемая форма рукояток и аккуратный внешний вид фиксирующих элементов делают держатель не только функциональным, но и эстетически приятным аксессуаром, который гармонично впишется в современный интерьер и не испортит внешний вид мобильного устройства.
Безопасность:
- Противоскользящие накладки обеспечивают дополнительную безопасность при использовании, предотвращая случайное выскальзывание устройства из рук, что особенно важно при активных играх.
Эти преимущества делают игровой держатель для мобильной киберспортивной игровой деятельности инновационным и востребованным решением для геймеров, обеспечивая высокий уровень комфорта, надежности и универсальности.
| название | год | авторы | номер документа |
|---|---|---|---|
| СИЛОВОЕ УСТРОЙСТВО К КОМПЬЮТЕРУ ДЛЯ УПРАВЛЕНИЯ ВИРТУАЛЬНЫМ САМОЛЕТОМ | 2012 |
|
RU2498833C1 |
| Игровой набор и способ проведения игры | 2018 |
|
RU2688279C1 |
| ИГРОВОЙ КОНТРОЛЛЕР | 2016 |
|
RU2658139C1 |
| ИГРОВОЙ НАБОР ПСИХОЛОГА И СПОСОБ ЕГО ИСПОЛЬЗОВАНИЯ | 2018 |
|
RU2699010C1 |
| СПОСОБ ИГРЫ И ИГРОВОЕ ОБОРУДОВАНИЕ | 2008 |
|
RU2485991C2 |
| СПОСОБ НАСТОЛЬНОЙ ДИНАМИЧЕСКОЙ ИГРЫ, НАПРИМЕР, В ХОККЕЙ, И УСТРОЙСТВА ДЛЯ ЕГО ОСУЩЕСТВЛЕНИЯ | 2011 |
|
RU2587057C2 |
| Игра Замятина | 1983 |
|
SU1146072A1 |
| ИГРОВОЙ КОНТРОЛЛЕР | 2015 |
|
RU2611989C2 |
| КОМПЛЕКТ ДЛЯ ИГРЫ | 1991 |
|
RU2009670C1 |
| УСТРОЙСТВО УПРАВЛЕНИЯ С АНАЛОГОВЫМ ДЖОЙСТИКОМ (ВАРИАНТЫ) | 1996 |
|
RU2163159C2 |
Изобретение относится к области устройств управления, в частности к аксессуарам для мобильных устройств, используемым в мобильных киберспортивных дисциплинах и мобильных играх. Игровой держатель включает левую и правую рукоятки, каждая из которых оснащена опорным гнездом и обтекаемой крышкой с противоскользящей накладкой. В конструкцию введены два Г-образных кронштейна, имеющих горизонтальную и вертикальную полки. Крепежный элемент расположен на внутренней горизонтальной полке кронштейна, тогда как наружные горизонтальная и вертикальная полки присоединены к опорному гнезду рукоятки с возможностью отсоединения. Между рукоятками расположен фиксатор с воображаемой продольной осью, также имеющий противоскользящие накладки. Правая стенка фиксатора прикреплена к передней стенке опорного гнезда левой рукоятки, а левая стенка фиксатора - к передней стенке опорного гнезда правой рукоятки. Эргономичный дизайн рукояток в форме эллипса с углом наклона 30° позволяет удобно размещать пальцы на обтекаемой крышке, предотвращая их выскальзывание благодаря противоскользящей накладке, а также снижая нагрузку на пальцы рук пользователя. 6 з.п. ф-лы, 14 ил.
1. Игровой держатель для мобильной киберспортивной игровой деятельности, содержащий левую рукоятку и правую рукоятку, каждая из которых имеет опорное гнездо, отличающийся тем, что дополнительно введены 2 кронштейна, каждый из которых имеет горизонтальную полку и вертикальную полку, включающий крепежный элемент, расположенный на внутренней горизонтальной полке, при этом наружная горизонтальная полка и наружная вертикальная полка присоединены к опорному гнезду соответствующей рукоятки с возможностью отсоединения, дополнительно введен фиксатор, расположенный между левой и правой рукояткой, имеющий воображаемую продольную ось, при этом правая стенка фиксатора прикреплена к передней стенке опорного гнезда левой рукоятки, а левая стенка фиксатора прикреплена к передней стенке опорного гнезда правой рукоятки и боковая стенка опорного гнезда левой и правой рукоятки прикреплена к передней стенке фиксатора,
каждая рукоятка выполнена с возможностью отсоединения от фиксатора и присоединения к нему по отдельности, путем перемещения вперед-назад вдоль воображаемой продольной оси удерживая фиксатор,
каждая рукоятка выполнена с возможностью крепления к задней панели чехла мобильного устройства, смартфона или планшета при помощи кронштейна.
2. Игровой держатель по п. 1, отличающийся тем, что на передней стенке опорного гнезда выполнен овальный паз, расположенный относительно внешней горизонтальной полки кронштейна, и скользящий выступ, расположенный относительно боковой стенки фиксатора, в овальный паз интегрированы по меньшей мере два дисковых магнита и два ограничительных выступа, на боковой стенке посадочного гнезда рукоятки выполнен прямоугольный выступ, расположенный относительно внешней вертикальной полки кронштейна, в прямоугольном выступе выполнен прямоугольный паз, в который интегрирован по меньшей мере один квадратный магнит.
3. Игровой держатель по п. 1, отличающийся тем, что кронштейн выполнен в Г-образной форме, при этом на внешней горизонтальной полке кронштейна выполнен овальный выступ, расположенный в овальном пазу передней стенки опорного гнезда, в овальный выступ интегрированы по меньшей мере два дисковых магнита и два ограничительных паза, в вертикальной полке кронштейна выполнено прямоугольное отверстие, сопряженное с прямоугольным выступом опорного гнезда.
4. Игровой держатель по п. 1, отличающийся тем, что фиксирующий элемент выполнен в виде клейкой пластины или двухсторонней клейкой ленты, зафиксированной на внутренней горизонтальной полке кронштейна.
5. Игровой держатель по п. 1, отличающийся тем, что на левой и правой стенках фиксатора выполнен скользящих паз, сопряженный со скользящим выступом опорного гнезда левой и правой рукоятки, на задней части фиксатора имеется одна или две противоскользящие накладки, выполненные из кожи, каучука или резины, на передней стенке фиксатора выполнены два стыковочных выступа, каждый из которых расположен в пазе прямоугольного выступа опорного гнезда левой и правой рукоятки, в каждый стыковочный выступ интегрирован по меньшей мере один квадратный магнит.
6. Игровой держатель по п. 1, отличающийся тем, что рукоятка содержит обтекаемую крышку, расположенную на задней части рукоятки, при этом на задней части обтекаемой крышки имеется противоскользящая накладка, выполненная из кожи, каучука или резины
7. Игровой держатель по п. 1, отличающийся тем, что рукоятка выполнена в форме эллипса и имеет угол наклона от 20° до 30° по отношению к воображаемой продольной оси.
| US 2018133594 A1, 17.05.2018 | |||
| Установка для получения редких газов | 1976 |
|
SU1006882A1 |
| US 2022347563 A1, 03.11.2022 | |||
| US 2021140752 A1, 13.05.2021. | |||
Авторы
Даты
2025-02-25—Публикация
2024-07-11—Подача