УСТРОЙСТВО ДЛЯ ОБЖАРИВАНИЯ КОФЕЙНЫХ ЗЕРЕН Российский патент 2025 года по МПК A23N12/08 A23F5/04 A47J31/00 A47J31/42 

Описание патента на изобретение RU2835606C1

Область техники, к которой относится изобретение

Настоящее изобретение относится к устройству для обжаривания кофейных зерен.

Уровень техники

В процессе обжаривания сырые кофейные зерна превращаются в обжаренные кофейные зерна. Необжаренные кофейные зерна, как правило, представляют собой зеленые и/или высушенные кофейные зерна, а обжаренные кофейные зерна, в частности, придают аромат кофейному напитку, который готовят из (измельченных) обжаренных кофейных зерен. Обжаривание кофейных зерен можно выполнять в больших, а также малых масштабах. В случае малых масштабов обжаривание кофейных зерен выполняется на предприятии (в магазине, кофейне и т.п.) или потребителем или покупателем, например потребителем кофейного напитка. Для потребителей обжаривание кофейных зерен является очень занимательным, поскольку можно обжаривать кофейные зерна в домашних условиях, например в качестве хобби, чтобы поэкспериментировать с различными вкусоароматическими профилями и обеспечить особенно свежую обжарку кофейных зерен.

Для обжаривания кофейных зерен необходимо измерять (определять) температуру с помощью датчика температуры. В соответствии с одним технологическим решением для измерения температуры, которая является близкой к реальной температуре кофейных зерен, датчик температуры находится в непосредственном контакте с кофейными зернами. Следовательно, датчик температуры расположен во внутренней части камеры для обжаривания, например над кофейными зернами (кофейным слоем). В то же время в таком технологическом решении датчик температуры подвергается воздействию дыма и загрязнений (в частности, от побочных продуктов процесса обжаривания, например кофейной шелухи). Это может приводить к уходу показаний измеряемой температуры, если датчик температуры не очищен. Кроме того, такое технологическое решение требует помещения датчика температуры в оболочку для защиты от износа и действий пользователя, что снижает скорость отклика датчика температуры.

В соответствии с другим технологическим решением датчик температуры расположен перед камерой обжаривания, например между нагревательным элементом и камерой обжаривания. Следовательно, повышается скорость отклика и улучшается управление температурой. В то же время датчик температуры не сообщает реальную температуру кофейных зерен, поскольку температура, измеряемая перед камерой, создается восходящим переносом теплового потока в кофейные зерна, т.е. в кофейный слой, и является более высокой, чем реальная температура кофейных зерен. Иными словами, в тепловом потоке кофейный слой действует в качестве порогового фильтра для более низких температур. Более того, на измеряемую температуру сильное влияние оказывает положение датчика, что усложняет повторяемость.

Таким образом, цель настоящего изобретения заключается в предоставлении устройства, в котором устранены вышеупомянутые недостатки. А именно, конкретнее, цель настоящего изобретения заключается в предоставлении устройства, которое бы выполняло более достоверное и более эффективное (с более низкими затратами и т.п.) измерение температуры кофейных зерен, обжариваемых с помощью устройства.

Эти и другие цели, которые становятся очевидными при чтении последующего описания, решаются с помощью объекта изобретения независимого пункта формулы изобретения. В зависимых пунктах формулы изобретения ссылаются на дополнительные предпочтительные варианты осуществления изобретения.

Раскрытие изобретения

В соответствии с данным изобретением предлагается устройство для обжаривания кофейных зерен. Устройство содержит: камеру, в которой могут быть размещены кофейные зерна для обжаривания, и аппарат для обжаривания кофейных зерен, размещаемых в камере. Камера ограничена по меньшей мере нижней частью и боковой стенкой, которая проходит от нижней части, причем боковая стенка содержит наружную сторону, которая ориентирована так, чтобы она была обращена в сторону от (внутренней части) камеры. Датчик температуры находится (т.е. расположен) на наружной стороне боковой стенки для определения (т.е. измерения) температуры во внутренней части камеры.

Следовательно, датчик температуры измеряет температуру внутренней части камеры и, следовательно, кофейных зерен, размещенных в камере, опосредованно, через боковую стенку. Иными словами, боковая стенка, как часть корпуса камеры, может в определенной степени выполнять функцию порогового фильтра для контроля реальной температуры кофейных зерен. За счет расположения датчика температуры на боковой стенке датчик температуры расположен рядом с кофейными зернами, т.е. вплотную к ним, поскольку кофейные зерна, когда они размещены в камере, как правило, находятся в непосредственном контакте с боковой стенкой (ее внутренней стороной). Вследствие этого датчик температуры может измерять реальную температуру кофейных зерен, размещенных в камере, с более высокой достоверностью. И поскольку датчик температуры находится на наружной стороне боковой стенки (т.е. на ней и/или перед ней), датчик температуры расположен без возможности осуществления непосредственного контакта с кофейными зернами и другими побочными продуктами (кофейной шелухой, загрязнениями и т.п.), которые получают во время обжаривания кофейных зерен, и датчик температуры не подвержен или менее подвержен износу. Таким образом, датчик температуры не нуждается в комплексной защите (заключении его в оболочку, кожух и т.п.) для предотвращения ухода показаний датчика температуры при измерении температуры в результате воздействия осаждаемых на датчике загрязнений. Например, датчик температуры, следовательно, может являться недорогим датчиком температуры.

Камера может иметь высоту, до которой в камере могут быть размещены кофейные зерна, причем датчик температуры расположен на данной высоте или ниже. Иными словами, когда кофейные зерна размещены в камере, датчик температуры может быть расположен таким образом, что боковая стенка находится между кофейными зернами и датчиком температуры. Следовательно, датчик температуры находится напротив или немного (незначительно) выше кофейных зерен (кофейного слоя). Таким образом, датчик температуры находится в положении, позволяющем выполнять достоверное измерение температуры внутренней части камеры и, следовательно, кофейных зерен, размещенных в камере.

Наружная сторона боковой стенки может содержать углубление, причем датчик температуры по меньшей мере частично и предпочтительно полностью расположен в углублении. Углубление способствует тому, чтобы датчик температуры мог быть наилучшим образом приведен в непосредственную близость к внутренней части камеры и, следовательно, к кофейным зернам, в частности тем самым повышая достоверность измерения температуры внутренней части камеры. Кроме того, углубление также надежно вмещает датчик температуры, тем самым предоставляя датчику температуры более эффективную защиту.

Углубление может быть выполнено с возможностью формирования выступа на внутренней стороне боковой стенки, причем внутренняя сторона обращена во внутреннюю часть камеры. Следовательно, формирование углубления с наружной стороны боковой стенки приводит одновременно к формированию выступа на внутренней стороне боковой стенки, например посредством получения углубления на отдельном этапе формирования. Выступ на внутренней стороне боковой стенки может применяться в качестве задерживающего или отклоняющего (т.е. преграждающего) элемента для кофейных зерен, которые перемещаются во внутренней части камеры вдоль внутренней стороны боковой стенки, что тем самым дополнительно приводит к эффекту перемешивания или турбулизации потока кофейных зерен за счет их задерживания или отклонения с помощью выступа. Следовательно, выступ может быть выполнен с возможностью осуществления непосредственного контакта с кофейными зернами, размещенными в камере, тем самым нарушая (вращательное) движение перемешиваемых кофейных зерен для усиления турбулизации их потока. Кроме того, выступ также увеличивает площадь поверхности на внутренней стороне боковой стенки, т.е. во внутренней части камеры, что позволяет повышать чувствительность датчика температуры.

Углубление может быть сформировано посредством выдавливания рельефа на боковой стенке. Таким образом, за счет выдавливания рельефа боковой стенки может быть успешно получено углубление и предпочтительно одновременно также выступ.

Датчик температуры может быть выполнен с возможностью передачи первого сигнала, относящегося к определяемой (т.е. измеряемой) температуре, для отображения определяемой температуры, например для отображения определяемой температуры на пользовательском интерфейсе или блоке отображения. Дополнительно или альтернативно датчик температуры может быть выполнен с возможностью передачи первого сигнала для отображения определяемой температуры на (дистанционном) аппарате пользователя (в частности в прикладной программе, например, выполняемой на смартфоне), которое беспроводным образом соединено с самим устройством или датчиком температуры. Соединение по каналу беспроводной связи может быть предоставлено системой связи малого радиуса действия, такой как Bluetooth, система связи ближнего поля (NFC), беспроводная локальная сеть (WiFi). Таким образом, пользователь устройства может безотказно принимать поток данных относительно температуры внутренней части камеры, т.е. кофейных зерен, в частности, без необходимости передачи сигнала другого датчика температуры, такого как датчик температуры, используемый для управления обжарочным аппаратом.

Дополнительно или альтернативно датчик температуры может быть выполнен с возможностью передачи первого сигнала, связанного с определяемой температурой для определения присутствия камеры на основании определяемой температуры и/или электрического сопротивления. Иными словами, датчик температуры может одновременно использоваться в качестве датчика присутствия. Следовательно, дополнительный датчик для определения присутствия камеры может быть опущен, что тем самым упрощает само устройство и уменьшает его размеры. Присутствие может быть определено посредством определения сопротивления (температуры), которое связано с боковой стенкой и, следовательно, с камерой.

Устройство может содержать блок управления, выполненный с возможностью управления аппаратом для обжаривания кофейных зерен. В необязательной конфигурации блока управления блок управления может управлять аппаратом для обжаривания кофейных зерен на основании передаваемого первого сигнала датчика температуры. Дополнительно или альтернативно блок управления может быть выполнен с возможностью управления аппаратом для обжаривания кофейных зерен на основании второго сигнала, который относится к температуре обжаривания, определяемой с помощью дополнительного датчика температуры устройства. Дополнительный датчик температуры может быть расположен в потоке воздуха, создаваемом с помощью обжарочного аппарата, например перед камерой и/или между аппаратом и камерой. Следовательно, дополнительный датчик температуры может по сравнению с (первым) датчиком температуры обладать повышенной чувствительностью по отношению к реальной температуре кофейных зерен, что тем самым способствует более точному управлению процессом обжаривания в камере. Например, блок управления может быть выполнен с возможностью управления аппаратом для обжаривания кофейных зерен только на основании второго сигнала дополнительного датчика температуры. Вследствие этого не требуется, чтобы (первый) датчик температуры был выполнен с возможностью точного управления аппаратом для обжаривания кофейных зерен в камере, что тем самым позволяет применять менее сложный (менее дорогостоящий и т.п.) (первый) датчик температуры.

Блок управления может быть выполнен с возможностью обнаружения присутствия камеры на основании принимаемого первого сигнала, причем блок управления выполнен с возможностью предотвращения обжаривания кофейных зерен с помощью аппарата после приема данных об отсутствии первого сигнала или в том случае, когда величина первого сигнала превышает или опускается ниже заданного порогового значения или диапазона. Прием данных об отсутствии первого сигнала может происходить в том случае, когда датчик температуры функционально (по электрической цепи) не соединен с блоком управления, например если камера и, следовательно, датчик температуры отсоединены от устройства. Заданное пороговое значение или диапазон могут представлять собой или включать в себя температуру окружающей среды (например, около 20°C).

Устройство, предпочтительно блок управления, может быть выполнено с возможностью применения коэффициента коррекции к показанию температуры, определяемому датчиком температуры. Таким образом, коэффициент коррекции учитывает те эффекты, которые могут влиять на отклонение показателей определяемой температуры от реальной температуры во внутренней части камеры, соответственно, находящихся в ней кофейных зерен. Такие эффекты могут включать в себя, например, термическую инерцию боковой стенки. Коэффициент коррекции может зависеть от геометрии и/или характеристик материала боковой стенки. Геометрия и/или материал боковой стенки могут оказывать особое влияние на термическую инерцию боковой стенки так, чтобы с учетом таких особенностей боковой стенки был предоставлен особенно эффективный коэффициент коррекции для расчета реальной (т.е. скорректированной) температуры.

Устройство может содержать пользовательский интерфейс и/или блок отображения, который предпочтительно выполнен с возможностью отображения определяемой температуры на основании передаваемого или принимаемого первого и/или второго сигнала. Дополнительно или альтернативно устройство может содержать интерфейс обмена данными для беспроводного обмена данными с аппаратом пользователя, например смартфоном. Интерфейс обмена данными может быть выполнен с возможностью обмена данными с аппаратом пользователя, содержащим систему связи малого радиуса действия, такую как Bluetooth, NFC, WiFi.

Устройство может содержать приемный отсек, причем приемный отсек содержит камеру. Приемный отсек предпочтительно прикреплен к устройству с возможностью отсоединения. Следовательно, приемный отсек способствует эффективному отсоединению камеры от устройства, например для удаления обжаренных кофейных зерен из камеры (например, под действием силы тяжести) и/или для очистки камеры.

Приемный отсек может содержать ручку, причем ручка расположена таким образом, что по меньшей мере на виде в горизонтальной проекции (т.е. на виде сверху) приемного отсека ручка закрывает датчик температуры. Вследствие этого ручка, в частности, предоставляет защиту сверху для датчика температуры. Помимо функции перемещения приемного отсека с помощью ручки ручка, следовательно, также предоставляет защиту для датчика температуры. Следовательно, защита датчика температуры повышается совершенно простым способом, не требуя дополнительных защитных элементов.

Датчик температуры предпочтительно неподвижно расположен относительно камеры (например, неподвижно прикреплен к наружной стороне) таким образом, что датчик температуры перемещается вместе с камерой при перемещении камеры (относительно аппарата), например во время отсоединения приемного отсека. Это обеспечивает преимущество, которое заключается в том, что датчик температуры всегда находится в хорошем тепловом контакте с камерой, так что отсутствует риск неверного расположения датчика температуры относительно камеры. Альтернативно датчик температуры может быть выполнен с возможностью сохранения стационарного положения, т.е. фиксированного положения относительно аппарата (и, следовательно, не фиксированного положения относительно камеры или наружной стороны), во время перемещения камеры, например во время отсоединения приемного отсека. Иными словами, когда камера прикреплена к аппарату, датчик температуры может входить в контакт с наружной стороной боковой стенки, в частности с углублением. Это обеспечивает преимущество, которое заключается в отсутствии риска повреждения датчика температуры при снятии камеры или приемного отсека.

Аппарат может быть выполнен с возможностью создания потока воздуха для перемешивания кофейных зерен, размещенных в камере. Перемешивание кофейных зерен обеспечивает особое преимущество, которое заключается в надлежащем обжаривании кофейных зерен. Как упоминалось выше, выступ на внутренней стороне боковой стенки может эффективно усиливать такое перемешивание за счет своего действия в качестве задерживающего или отклоняющего элемента, расположенного в потоке воздуха, создаваемом с помощью аппарата. Аппарат может быть выполнен с возможностью создания потока воздуха таким образом, чтобы за счет введения потока воздуха в камеру образовывался псевдоожиженный слой. При этом псевдоожиженный слой содержит кофейные зерна, что тем самым приводит к перемешиванию кофейных зерен. Следовательно, устройство может представлять собой ростер для обжаривания кофе с псевдоожиженным слоем. Иными словами, аппарат может быть выполнен с возможностью применения технологического процесса с псевдоожиженным слоем.

Аппарат может быть выполнен с возможностью создания нагретого потока воздуха для обжаривания кофейных зерен, размещенных в камере. Предпочтительно аппарат содержит нагревательный блок для нагрева потока воздуха. Например, выполняют забор свежего воздуха, затем его нагревают в нагревательном блоке и, в завершение, пропускают в виде нагретого тока воздуха во внутреннюю часть камеры для обжаривания кофейных зерен, размещенных в камере.

Устройство может представлять собой бытовой электроприбор (т.е. бытовой аппарат). Таким образом, устройство может иметь конструкцию, предназначенную для использования на домашней кухне, например выполненную с возможностью размещения рядом / объединения с кофемолкой и/или устройством для приготовления напитков. Например, устройство представляет собой решение для дома, которое в частности обеспечивает свежую и/или персонализированную обжарку кофейных зерен. Таким образом, устройством может быть предоставлено решение для обжаривания (кофе) дома.

Осуществление изобретения

Далее изобретение описано в качестве примера со ссылкой на прилагаемые фигуры, на которых

на фиг. 1 показан схематический вид в перспективе с пространственным разделением компонентов устройства в соответствии с предпочтительным вариантом осуществления изобретения;

на фиг. 2 показан другой схематический вид в перспективе с пространственным разделением компонентов устройства, представленного на фиг. 1;

на фиг. 3A показан схематический вид в перспективе с пространственным разделением компонентов устройства, представленного на фиг. 1 и 2, на котором, в частности, виден разъем датчика температуры;

на фиг. 3B показан детализированный показан схематический вид в перспективе с пространственным разделением компонентов разъема, представленного на фиг. 3A;

на фиг. 4 показан схематический вид в перспективе камеры устройства, представленного на фиг. 1-3, причем необязательно присутствующий приемный отсек содержит камеру; и

на фиг. 5 показан другой схематический вид в перспективе камеры, представленной на фиг. 4.

На фиг. 1 и 2 в качестве примера показан предпочтительный вариант осуществления устройства 1. Устройство 1 выполнено с возможностью обжаривания кофейных зерен. В частности, устройство 1 выполнено с возможностью превращения необжаренных кофейных зерен, например в форме зеленых и/или высушенных кофейных зерен, в обжаренные кофейные зерна. В частности, обжаривание кофейных зерен преобразует химические и физические свойства необжаренных кофейных зерен для получения характерного аромата обжаренных кофейных зерен и, следовательно, кофейного напитка, приготовленного из таких обжаренных кофейных зерен. Таким образом, обжаривание кофейных зерен придает конкретный вкус обжаренным кофейным зернам, например посредством реакции Майяра и других химических реакций. Следовательно, процесс обжаривания кофейных зерен предшествует другим процессам, необходимым для приготовления кофейного напитка, таким как помол и/или заваривание кофе, например экстракция кофе.

Устройство 1 может быть выполнено с возможностью сбора шелухи от обжаренных таким образом кофейных зерен. Таким образом, необжаренные кофейные зерна обычно имеют (зеленую и/или высушенную) оболочку, в частности, при начальном сборе с кофейного дерева. Шелуха также может называться кожурой кофейного зерна. При обжаривании кофейных зерен эта кожура отделяется от кофейных зерен и, таким образом, остается в качестве шелухи. Таким образом, в частности, высокая температура обжаривания позволяет легко удалять шелуху из кофейных зерен без необходимости дополнительной обработки. Поскольку необходимо, чтобы такая шелуха обжаренных кофейных зерен не оставались с обжаренными кофейными зернами, поскольку, например, потребитель не желает, чтобы шелуха попадала в мельницу и/или устройство для приготовления напитков, и, следовательно, в кофейный напиток, шелуха может собираться устройством 1 таким образом, что она не будет присутствовать в готовом продукте, который представляет собой обжаренные кофейные зерна.

Устройство 1, показанное в качестве примера на фиг. 1 и 2, выполнено с возможностью обжаривания кофе в малых масштабах (т.е. обжаривания кофе на месте) и, следовательно, в частности, не является крупномасштабным (промышленным) устройством или машиной для обжаривания. Таким образом, устройство 1 наиболее пригодно для применения со стороны предприятия (например, кафе) и/или потребителя, который, как правило, является потребителем кофейного напитка. Таким образом, устройство 1 является предпочтительно бытовым электроприбором. По существу, устройство 1 может использоваться в домашнем хозяйстве или на кухне, в частности на поверхности стола, например рядом или (функционально) объединенным с кофемолкой и/или устройством для приготовления напитков. Таким образом, размер и вес устройства 1, по возможности, позволяет его переносить одним человеком, в частности, без необходимости в специальном транспортном механизме.

Устройство 1 содержит камеру 10, в которой могут быть размещены кофейные зерна для обжаривания. Камера 10 предпочтительно выполнена с возможностью отсоединения. Камера 10 может быть выполнена в виде бака или контейнера. Камера 10 ограничена нижней частью 11 и боковой стенкой 12, которая проходит от нижней части 11. Таким образом, когда кофейные зерна размещаются в камере 10, они преимущественно попадают на нижнюю часть 11 и по меньшей мере частично контактируют с боковой стенкой 12. Конструкция камеры 10 обеспечивает в частности нагрев и/или воздействие нагретого воздуха на (необжаренные) кофейные зерна для обжаривания кофейных зерен; например, нижняя часть 11 и/или боковая стенка 12 выполнены из материала с относительно высокой теплопроводностью, например материала, содержащего или состоящего из металла. Нижняя часть 11 и/или боковая стенка 12 могут содержать одно или более отверстий (т.е. продувных отверстий), которые способствуют тому, что тепловой поток и/или поток воздуха (для нагрева и/или охлаждения) может протекать в камеру 10 для соответствующей обработки кофейных зерен. Боковая стенка 12 предпочтительно содержит продувочные отверстия для продувки внутренней части камеры 10. Продувочные отверстия могут быть равномерно распределены вдоль боковой стенки 12. Как показано на фигурах, каждое из продувочных отверстий может быть выполнено в виде прямоугольника. В то же время каждое из продувочных отверстий не ограничивается конкретной конфигурацией, но может иметь любую форму. Продувочные отверстия могут находиться на нижнем участке боковой стенки 12, например рядом с нижней частью 11.

Камера 10 может содержать отверстие 13 для доступа к камере 10. Таким образом, через отверстие 13 можно по меньшей мере удалять кофейные зерна из камеры 10. Отверстие 13 предпочтительно также облегчает размещение кофейных зерен в камере 10, т.е. камеру 10 можно заполнить кофейными зернами посредством отверстия 13. Отверстие 13 предпочтительно определяет направление доступа для по меньшей мере удаления кофейных зерен из камеры 10 и предпочтительно также для подачи кофейных зерен в камеру 10. Такое направление доступа может проходить в вертикальном направлении, как показано на фигурах. Таким образом, пользователь устройства 1 может иметь доступ к камере 10 с верхней части устройства 1. Отверстие 13 не ограничивается конкретной конфигурацией. Отверстие 13 предпочтительно определяется боковой стенкой 12, например дистальным концом боковой стенки 12. Таким образом, отверстие 13 может быть расположено напротив нижней части 11. Например, отверстие 13 может находиться в плоскости. Отверстие 13 может иметь конфигурацию, соответствующую нижней части 11, и/или круглую конфигурацию (круговую, эллиптическую и т.д.), однако возможны и другие конфигурации, например многоугольная, прямоугольная или квадратная.

Устройство 1 может содержать приемный отсек 14, который содержит камеру 10. Как показано на фиг. 1-2, приемный отсек 14 может быть прикреплен к устройству 1 с возможностью отсоединения, например за счет конфигурации и/или фрикционной посадки. Например, приемный отсек 14 может быть прикреплен к устройству 1 с возможностью отсоединения таким образом, что в прикрепленном положении приемный отсек 14 имеет определенное положение относительно устройства 1. Иными словами, выполненное с возможностью отсоединения крепление приемного отсека 14 предпочтительно приводит к тому, что при креплении приемного отсека 14 к устройству 1 приемный отсек 14 автоматически находится в положении, в котором кофейные зерна, размещенные в камере 10, могут быть соответственно обработаны, т.е. обжарены, устройством 1. Приемный отсек 14 может содержать фланец 15 для размещения приемного отсека 14 относительно устройства 1. Например, фланец 15 может быть расположен и опираться на специальную часть устройства 1, чтобы соответствующим образом разместить приемный отсек 14 относительно устройства 1. Фланец 15 может проходить от боковой стенки 12 и/или отверстия 13.

Приемный отсек 14 может содержать ручку 16 для загрузки приемного отсека 14 вручную, например чтобы отсоединить приемный отсек 14 от устройства 1 и/или прикрепить приемный отсек к устройству 1. Ручка 16 предпочтительно имеет конструкцию, которая позволяет человеку держать ручку 16 рукой. Например, ручка 16 проходит от приемного отсека 14. Таким образом, ручка 16 может быть (по меньшей мере частично) наклонной или параллельной относительно отверстия 13, например относительно плоскости, в которой проходит отверстие 13. Иными словами, ручка 16 может быть (по меньшей мере частично) наклонной или параллельной относительно направления доступа, которое определяется отверстием 13. Предпочтительно ручка 16 проходит от фланца 15. Для безопасной работы с приемным отсеком 14 с помощью ручки 16 ручка 16 предпочтительно содержит или состоит из материала с низкой теплопроводностью, такого как пластик. Таким образом, материал ручки может иметь более низкую теплопроводность, чем материал других частей приемного отсека 14, таких, как нижняя 11 и/или боковая стенка 12 и/или фланец 15, которые предпочтительно изготовлены из материала с высокой теплопроводностью, такого как металл.

Устройство 1 может дополнительно содержать корпус 20 для размещения по меньшей мере камеры 10. Например, корпус 20 имеет основание 21 и верхнюю часть 22, причем камера 10 расположена таким образом, что отверстие 13 находится в верхней части 22 корпуса 20. Таким образом, отверстие 12 предпочтительно примыкает к верхней части 22. Корпус 20 может также содержать боковую стенку 23, которая проходит от нижней части 21 к верхней части 22 и предпочтительно окружает камеру 10. Если имеется приемный отсек 14, корпус 20 может быть выполнен с возможностью размещения приемного отсека 14 таким образом, чтобы приемный отсек 14 находился в определенном положении, когда приемный отсек 14 прикреплен к корпусу 20 и, следовательно, к устройству 1. Например, корпус 20, в частности его верхняя часть 22, содержит приемную часть или секцию 24, на которой приемный отсек 14, например его фланец 15 и/или ручка 16, могут размещаться для крепления приемного отсека 14 к устройству 1. Таким образом, приемная часть 24 может быть по меньшей мере частично сконструированной соответственно (или дополнительно) фланцу 15 и/или ручке 16, и/или приемная часть 24 может быть выполнена с возможностью объединения с приемным отсеком 14 и/или фланцем 15 и/или ручкой 16, чтобы соответствующим образом прикрепить и разместить приемный отсек 14 в устройстве 1. Приемная часть 24 может быть сформирована в виде углубления в корпусе 20. Корпус 20 не ограничивается конкретной конфигурацией. Корпус 20 может иметь несимметричную или симметричную конфигурацию. Например, корпус 20 имеет, по существу, конфигурацию цилиндра или (усеченного) конуса.

Как показано на фиг. 2, устройство 1 также содержит аппарат 80 (например, содержащий вентилятор) для создания потока воздуха во внутренней части камеры 10. Такой поток воздуха можно использовать для обжаривания кофейных зерен, которые размещены в камере 10. Например, устройство 1 или аппарат 80 могут также содержать нагреватель, который нагревает (свежий) воздух, при этом аппарат перемещает нагретый воздух в камеру 10. Таким образом, поток (горячего) воздуха входит в контакт с кофейными зернами и, следовательно, обжаривает кофейные зерна. Поток воздуха может также быть таким, что кофейные зерна внутри камеры 10 перемешиваются или перемещаются, в частности, для улучшения обжаривания кофейных зерен. Дополнительно или альтернативно, поток воздуха, создаваемый аппаратом, можно использовать для охлаждения (уже обжаренных) кофейных зерен, размещенных в камере 10. Например, для охлаждения кофейных зерен допускается отсутствие нагрева потока воздуха (нагревателем), а только перемещение (свежего) воздуха, например воздуха окружающей среды. Таким образом, для обеспечения потока воздуха для охлаждения, устройство может просто оставаться в активированном состоянии, тогда как нагреватель просто переводят в деактивированное состояние, т.е. отключают.

Устройство 1 также может содержать блок управления, чтобы таким образом управлять обжариванием кофейных зерен, например в соответствии с предварительно запрограммированной программой, например включая предварительно заданный профиль обжаривания и/или температуры. Блок управления может быть функционально соединен с устройством и/или нагревателем таким образом, что устройство и/или нагреватель соответственно обжаривают и/или охлаждают кофейные зерна, которые размещаются в камере 10.

Как показано на фиг. 1-2, устройство 1 может содержать пользовательский интерфейс 30, который предпочтительно функционально соединен с блоком управления. Пользовательский интерфейс 30 обеспечивает для пользователя устройства 1 возможность легкого управления устройством 1, в частности, для обжаривания кофейных зерен и/или для прекращения обжаривания кофейных зерен. Пользовательский интерфейс 30 может содержать один или более (например, только три) элемента 31 управления, например в виде одной или более кнопок или других сенсорных элементов (сенсорный экран и т.д.) для управления устройством 1. Например, один или более элементов 31 управления содержат элемент для запуска процесса обжаривания и элемент для остановки или завершения процесса обжаривания. Элементы 31 управления могут также содержать элемент управления для включения электропитания (и выключения) устройства 1 (например, элемент управления включением/выключением) и/или элемент управления для регулировки уровня обжаривания кофейных зерен, подлежащих обжариванию в камере 10. Пользовательский интерфейс 30 может содержать только один элемент управления для запуска и остановки и включения электропитания (и выключения) устройства 1. Останов процесса обжаривания также может автоматически выполняться блоком управления, например после истечения предварительно заданного времени (обжаривания). Пользовательский интерфейс 30 предпочтительно расположен на передней стороне устройства 1, т.е. на стороне пользователя устройства 1.

Устройство, блок управления и/или пользовательский интерфейс 30 могут быть предусмотрены внутри или на корпусе 20 и/или дополнительной части 40 корпуса. Дополнительная часть 40 корпуса может быть обеспечена таким образом, что корпус 20, например его нижняя часть 21, расположена на верхней части 41 дополнительной части 40 корпуса. Предпочтительно дополнительная часть 40 корпуса образует нижнюю или опорную часть устройства 1. Таким образом, дополнительная часть 40 корпуса может быть выполнена таким образом, что устройство 1 может быть расположено на поверхности, такой как поверхность стола. Таким образом, дополнительная часть 40 корпуса предпочтительно содержит нижнюю часть 42, которая противоположна верхней части 41, причем нижняя часть 42 выполнена с возможностью размещения на поверхности, такой как поверхность стола. Устройство, блок управления и/или пользовательский интерфейс 30 также могут быть предусмотрены в корпусе 20 таким образом, что, например, дополнительная часть 40 корпуса не требуется. Таким образом, корпус 20, например его нижняя часть 21, также может образовывать нижнюю часть устройства 1.

Устройство 1 может дополнительно содержать вход питания, например в виде разъема электропитания. Посредством входа питания предоставляется возможность подачи энергии на части устройства 1, требующие энергии, например электрической энергии (напряжение и/или ток), в частности, устройство, блок управления и/или пользовательский интерфейс 30. Вход питания может быть обеспечен на задней стороне устройства 1 и/или на корпусе 20 или дополнительной части 40 корпуса.

Устройство 1 может также содержать коллектор 50 для шелухи для сбора шелухи от кофейных зерен, которые обжариваются в камере 10. Коллектор 50 для шелухи может содержать отделение 51, в котором собирается шелуха и предотвращается ее возврат в камеру 10. Например, коллектор 50 для шелухи может содержать впускной патрубок, который обеспечивает только однонаправленный поток шелухи таким образом, что шелуха собирается в коллекторе 50 для шелухи; таким образом, впускной патрубок может обеспечивать поток шелухи 50 в отделение 51, но предотвращает поток шелухи из отделения 51, в частности, к камере 10. Чтобы обеспечить особенно хороший сбор шелухи коллектором 50 для шелухи, коллектор 50 для шелухи и устройство (создающее поток воздуха) могут быть соответственно расположены по отношению друг к другу. Например, устройство может быть выполнено с возможностью направления шелухи от кофейных зерен воздухом, создаваемым устройством, к коллектору 50 для шелухи таким образом, что (в закрытом положении коллектора 50 для шелухи, см. ниже) шелуха собирается в коллекторе 50 для шелухи.

Коллектор 50 для шелухи может быть выполнен с возможностью избирательного открытия коллектора 50 для шелухи или, при наличии, отделения 51 для удаления или иного использования собранной шелухи. Коллектор 50 для шелухи может быть выполнен с возможностью отсоединения таким образом, что коллектор 50 для шелухи можно отсоединять от устройства 1, например, для того, чтобы легко удалить шелуху. Например, коллектор 50 для шелухи установлен с возможностью отсоединения на корпусе 20 (например, на задней стороне корпуса 20), например посредством соответствующего сконструированного сочленения. Коллектор 50 для шелухи может образовывать верхнюю часть устройства 1 и/или размещаться в верхней части 22 корпуса 20.

Коллектор 50 для шелухи выполнен с возможностью перемещения относительно конкретной оси перемещения для перемещения между закрытым и открытым положением, т.е. в закрытое положение или в открытое положение. Конкретная ось перемещения предпочтительно представляет собой ось перемещения, которая зафиксирована относительно устройства 1. Следует понимать, что при «неподвижной оси перемещения» положение и ориентация оси перемещения зафиксированы относительно устройства 1, в частности, зафиксированы относительно корпуса 20 и/или дополнительной части 40 корпуса.

В закрытом положении коллектор 50 для шелухи закрывает отверстие 12 камеры 10. Таким образом, в этом положении можно выполнять обжаривание кофейных зерен внутри камеры 10. Иными словами, в закрытом положении коллектор 50 для шелухи закрывает отверстие 12, так что доступ к камере 10 через отверстие 12 невозможен.

В закрытом положении коллектор 50 для шелухи предпочтительно находится на одном уровне с корпусом 20. Таким образом, коллектор 50 для шелухи вместе с корпусом 20 может образовывать геометрическую форму, которая, несмотря на возможный (герметичный) зазор между коллектором 50 и корпусом 20, непрерывно формируется от корпуса 20 до коллектора 50 для шелухи. Например, коллектор 50 для шелухи и корпус 20 вместе образуют, по существу, симметричную конфигурацию в закрытом положении, например, по существу, цилиндрическую или (усеченную) коническую форму. Таким образом, коллектор 50 для шелухи предпочтительно соответственно объединен с корпусом 20, например с круглой формой диаметром, который соответствует диаметру поперечного сечения корпуса 20, который содержит верхнюю часть 22. Коллектор 50 для шелухи может иметь, по существу, цилиндрическую форму.

В открытом положении коллектор 50 для шелухи не закрывает отверстие 12 камеры 10. Таким образом, камера 10 доступна (для руки человека) через отверстие 12 для удаления кофейных зерен из камеры 10 и предпочтительно также для подачи кофейных зерен в камеру 10. Следовательно, в открытом положении к камере 10 имеется доступ в вышеупомянутом направлении доступа, которое определяется отверстием 12. Таким образом, в открытом положении коллектор 50 для шелухи перемещается от стороны пользователя устройства 1, в частности к задней стороне устройства 1, которая противоположна стороне пользователя устройства 1. Сторона пользователя, как правило, представляет собой сторону устройства 1, которая содержит пользовательский интерфейс 30 и/или которая направлена к пользователю, который работает с устройством 1. Таким образом, коллектор 50 для шелухи находится в положении, в котором пользователь устройства 1 может легко иметь доступ и может сфокусироваться на камере 10, в которую поступают (обжаренные) кофейные зерна. В открытом положении также отсутствует риск получения ожога пользователем из-за нагретого коллектора 50 для шелухи. В открытом положении отверстие 12 предпочтительно полностью незакрыто. Таким образом, если смотреть на вид сверху в горизонтальной проекции устройства 1 (т.е. в вертикальном направлении или направлении доступа), отверстие 12 и коллектор 50 для шелухи предпочтительно не перекрываются.

Как показано на фиг. 1-2, ось перемещения может представлять собой ось вращательного движения. Таким образом, вращательное движение вокруг оси перемещения перемещает коллектор 50 для шелухи между закрытым и открытым положением. Коллектор 50 для шелухи может быть установлен на корпус 20 и/или дополнительную часть 40 корпуса с возможностью перемещения относительно оси перемещения. Ось перемещения может быть определена сочленением или шарниром 60. Например, сочленение 60 содержит первый соединительный элемент (например, со стороны коллектора 50 для шелухи) и второй сочленительный элемент (например, со стороны корпуса 20 или части 40 корпуса), которые соединены между собой таким образом, что сочленительные элементы относительно друг друга выполнены с возможностью перемещения относительно оси перемещения, чтобы таким образом обеспечить конкретную ось перемещения.

Однако изобретение не ограничивается осью вращательного движения как осью перемещения. Например, дополнительно или альтернативно, ось перемещения может представлять собой ось линейного перемещения, так что при линейном движении вдоль оси коллектор 50 для шелухи перемещается между закрытым и открытым положениями. Таким образом, сочленение 60 может обеспечивать скользящее перемещение, например посредством соединения первого сочленительного элемента со вторым сочленительным элементом таким образом, что один из сочленительных элементов может скользить относительно или в соответствующем другом сочленительном элементе.

В предпочтительных вариантах осуществления, представленных на фиг. 1-2, коллектор 50 для шелухи выполнен с возможностью перемещения относительно только одной конкретной оси перемещения. Таким образом, сочленение 60 предпочтительно обеспечивает только одну степень свободы. Следовательно, коллектор 50 для шелухи может быть переведен в открытое положение или закрытое положение одним движением относительно оси перемещения, что, таким образом, в частности упрощает использование устройства 1. Однако изобретение не ограничивается наличием коллектора 50 для шелухи, выполненного с возможностью перемещения относительно только одной конкретной оси перемещения. Коллектор 50 для шелухи может быть также выполнен с возможностью перемещения относительно более одной конкретной оси перемещения, например так что коллектор 50 для шелухи сначала перемещается относительно первой оси перемещения, а затем перемещается относительно второй оси перемещения для перемещения в открытое или закрытое положение. Эти оси перемещения могут определять одинаковый способ перемещения (например, вращательный или линейный) или могут определять различные способы перемещения (например, один для вращательного движения и один для линейного перемещения).

Устройство 1 может содержать блокирующий механизм 70, который выполнен с возможностью избирательного блокирования или разблокирования коллектора 50 для шелухи относительно камеры 10, предпочтительно относительно корпуса 20 и/или приемного отсека 14. Если присутствует описываемый ниже приемный элемент 52 для размещения коллектора 50 для шелухи, блокирующий механизм 70 выполнен с возможностью избирательного блокирования или разблокирования приемного элемента 52 относительно камеры 10; описание действия блокирующего механизма 70 относительно коллектора 50 для шелухи аналогичным образом применимо к блокирующему механизму 70 для блокирования или разблокирования приемного элемента 52 относительно камеры 10.

Когда коллектор 50 для шелухи заблокирован относительно камеры 10, коллектор 50 для шелухи не перемещается из закрытого положения в открытое положение. Для блокировки коллектора 50 для шелухи относительно камеры 10 блокирующий механизм 70 может быть выполнен с возможностью взаимодействия с неподвижной частью устройства 1, например с корпусом 20 и/или приемным отсеком 14 и/или отверстием 13; в результате коллектор 50 для шелухи может быть надежно заблокирован относительно камеры 10. Например, блокирующий механизм 70 содержит фиксирующую часть, которая находится на стороне коллектора 50 для шелухи или на нем, причем фиксирующая часть выполнена с возможностью объединения с соответствующим образом выполненной указанной неподвижной частью, например посредством зацепления друг с другом, с тем чтобы быть или оставаться зафиксированной относительно камеры 10. Блокирующий механизм 70 может содержать рабочий элемент 72 (например, кнопку или сенсорный элемент), который выполнен с возможностью разблокирования блокирующего механизма 70, т.е. для разблокирования коллектора 50 для шелухи относительно камеры 10. Рабочий элемент 72 может находиться на стороне коллектора 50 для шелухи или на стороне камеры 10. Рабочий элемент 72 может быть расположен на сочленении 60, на приемном отсеке 14 или на корпусе 20.

Коллектор 50 для шелухи может быть выполнен с возможностью автоматического перемещения в промежуточное положение, когда блокирующий механизм 70 выполняет разблокирование коллектора 50 для шелухи относительно камеры 10. В промежуточном положении отверстие 12 меньше перекрывается коллектором 50 для шелухи, чем в закрытом положении. В промежуточном положении отверстие 12 предпочтительно больше перекрывается коллектором 50 для шелухи, чем в открытом положении. Таким образом, в промежуточном положении отверстие 12 и коллектор 50 для шелухи могут частично перекрываться. Предпочтительно в промежуточном положении коллектор 50 для шелухи, например боковой край коллектора 50 для шелухи и отверстие 12, например (круговой) боковой край отверстия 12, образуют зазор, например зазор только в несколько миллиметров.

Для автоматического перемещения коллектора 50 для шелухи из закрытого положения в промежуточное положение устройство 1, например коллектор 50 для шелухи, корпус 20 и/или сочленение 60, могут содержать упругий элемент, такой как (слабая) пружина; т.е. коллектор 50 для шелухи может быть подпружиненным. Упругий элемент может быть выполнен таким образом, что в закрытом положении упругий элемент смещен для перемещения коллектора 50 для шелухи в промежуточное положение. Таким образом, посредством разблокирования блокирующего механизма 70, упругий элемент перемещает коллектор 50 для шелухи в промежуточное положение за счет упругого возвращающего усилия упругого элемента. Затем, после достижения промежуточного положения пользователь устройства 1 может, например, вручную перемещать коллектор 50 для шелухи в открытое положение.

Для фиксации коллектора 50 для шелухи относительно камеры 10 пользователь может просто вручную перемещать коллектор 50 для шелухи в закрытое положение. Когда коллектор 50 для шелухи переходит в закрытое положение, блокирующий механизм 70 автоматически или вручную блокирует коллектор 50 для шелухи относительно камеры 10, например посредством поджимающего элемента (пружины и т.п.), при поджатии которого происходит переход блокирующего механизма 70 в положение фиксации, когда коллектор 50 для шелухи находится в закрытом положении.

Как показано на фиг. 1-2, ось перемещения проходит в вертикальном направлении, а отверстие 12 расположено таким образом, что доступ к камере 10 возможен также в данном вертикальном направлении. Таким образом, ось перемещения коллектора 50 для шелухи, по существу, параллельна направлению доступа к камере 10. Следовательно, для перемещения коллектора 50 для шелухи между открытым положением и закрытым положением коллектор 50 для шелухи может перемещаться в плоскости, которая, по существу, параллельна отверстию 12 (например, плоскости, в которой находится отверстие 12) и/или поверхности, на которой расположено устройство 1. Таким образом, устройство 1 может иметь как в открытом положении, так и в закрытом положении (по существу) одинаковую высоту, в частности, отличающуюся лишь на несколько миллиметров. В промежуточном положении устройство 1 может иметь почти такую же высоту, что и в открытом положении и/или закрытом положении, например, отличающееся лишь на несколько миллиметров. Указанную высоту измеряют в вертикальном направлении, если устройство 1 выполнено с возможностью управления, т.е., в частности, для обжаривания кофейных зерен, например, когда отверстие 12 выполнено с возможностью доступа к камере 10 в вертикальном направлении. Таким образом, высоту можно измерить от поверхности, на которой расположено устройство 1.

Как можно увидеть на фиг. 1-2, устройство 1 или коллектор 50 для шелухи может содержать приемный элемент 52, выполненный с возможностью размещения коллектора 50 для шелухи предпочтительно таким образом, чтобы коллектор 50 для шелухи находился в определенном положении и/или ориентации относительно приемного элемента 52. Таким образом, коллектор 50 для шелухи может быть выполнен с возможностью отделения относительно приемного элемента 52. Например, приемный элемент 52 содержит секцию 53, которая выполнена с возможностью приема коллектора 50 для шелухи таким образом, что коллектор 50 для шелухи находится в определенном положении и/или ориентации. Секция 53 может быть соответственно или дополнительно объединена с секцией или частью коллектора 50 для шелухи, например дополнительно объединена с ручкой коллектора 50 для шелухи. Секция 53 может быть выполнена в виде углубления в приемном элементе 52. Приемный элемент 52 может быть выполнен с возможностью перемещения таким образом, что коллектор 50 для шелухи выполнен с возможностью перемещения относительно оси перемещения для перемещения между закрытым и открытым положением. Например, приемный элемент 52 содержит сочленение 60 или по меньшей мере часть сочленения 60, такую, как один из сочленительных элементов.

В других вариантах осуществления ось перемещения также может проходить по-разному, например в горизонтальном направлении. Таким образом, ось перемещения может быть, по существу, перпендикулярна направлению доступа к камере 10. Следовательно, угол между коллектором 50 для шелухи и отверстием 12 (например, плоскостью, в которой находится отверстие 12) и/или поверхностью, на которой расположено устройство, изменяется при перемещении коллектора 50 для шелухи между открытым положением при закрытом положении. Более конкретно, указанный угол может быть равным, по существу, 0° в закрытом положении, причем указанный угол, по существу, равен 90°, когда коллектор 50 для шелухи находится в открытом положении. Таким образом, устройство 1 может иметь в открытом положении более высокую высоту, чем в закрытом положении.

Приемный отсек 14 может быть выполнен таким образом, что посредством отсоединения приемного отсека 14 от устройства 1, например от корпуса 20, коллектор 50 для шелухи может быть перемещен или сдвинут в открытое положение. Таким образом, пользователю не нужно непосредственно касаться коллектора 50 для шелухи для его перемещения коллектора 50 для шелухи в открытое положение. Например, при перемещении приемного отсека 14 в вертикальном направлении, приемный отсек 14 может входить в (механический) контакт с коллектором 50 для шелухи, тем самым перемещая коллектор 50 для шелухи в открытое положение. Например, фланец 15 и/или часть ручки 16, например часть, соединяющая ручку 16 с камерой 10 и/или фланцем 15, входит в контакт (механический) с (нижней стороной) коллектора 15 для шелухи, когда приемный отсек 14 перемещается из устройства 1, например из корпуса 20. Таким образом, при однократном (загрузка) перемещении приемного отсека 14, например вдоль вертикального направления, приемный отсек 14 отделяется от устройства 1, а коллектор 50 для шелухи перемещается в открытое положение. Таким образом, работа устройства значительно упрощается.

Дополнительно или альтернативно, коллектор 50 для шелухи можно перемещать в открытое и закрытое положение непосредственным воздействием на коллектор 50 для шелухи. Например, коллектор 50 для шелухи может содержать ручку для манипулирования коллектором 50 для шелухи для перемещения между закрытым и открытым положением. Эта ручка может, как и в случае с дополнительной ручкой 16, также быть выполненной из материала, который содержит материал с низкой теплопроводностью и/или материал с более низкой теплопроводностью, чем другие части коллектора 50 для шелухи. Например, материал может представлять собой или содержать пластик. Таким образом, отсутствует риск получения пользователем ожога руки при прикосновении к ручке (возможно нагретой) коллектора 50 для шелухи.

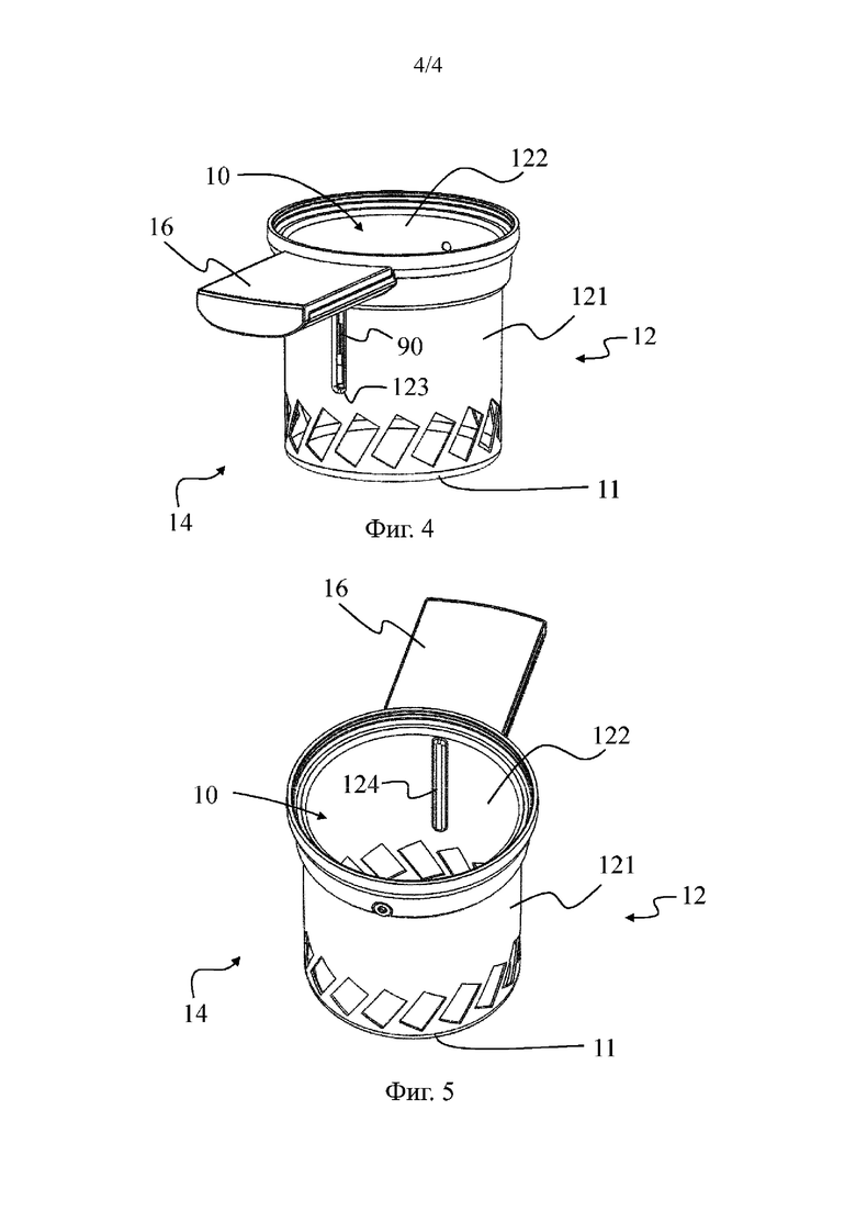
На фиг. 4 и 5 более детально показана камера 10. Как показано на этих фигурах, боковая стенка 12 содержит внешнюю сторону 121, которая ориентирована так, чтобы она была обращена в сторону от камеры 10, т.е. от внутренней части камеры 10, в которой размещены кофейные зерна. Таким образом, внешняя сторона 121 представляет собой сторону боковой стенки 12, которая не может находиться в непосредственном контакте с кофейными зернами, размещенными в камере 10. Соответственно, боковая стенка 12 также содержит внутреннюю сторону 122, причем внутренняя сторона 122 обращена к внутренней части камеры 10. Таким образом, внутренняя сторона 122 представляет собой ту сторону боковой стенки 12, которая может находиться в непосредственном контакте с кофейными зернами, размещенными в камере 10. Иными словами, боковая стенка 12 содержит переднюю сторону и заднюю сторону, причем передняя сторона представляет собой наружную сторону 121, и при этом задняя сторона представляет собой внутреннюю сторону 122.

В соответствии с данным изобретением устройство 1 содержит датчик 90 температуры. Датчик 90 температуры находится (или расположен) на наружной стороне 121 боковой стенки 12. Таким образом, датчик 90 температуры, в частности, не расположен во внутренней части камеры 10, а за пределами камеры 10. Датчик 90 температуры выполнен с возможностью определения (т.е. измерения) температуры во внутренней части камеры 10. Таким образом, когда кофейные зерна размещены в камере 10 для обжаривания, датчик 90 температуры может определять (т.е. измерять) температуру кофейных зерен. В результате для измерения температуры кофейных зерен датчику 90 температуры не требуется осуществления непосредственного контакта с кофейными зернами. Следовательно, температура кофейных зерен определяется опосредованно, а именно через боковую стенку 12. Поскольку боковая стенка 12 обычно имеет относительно малую толщину стенки, воздействие боковой стенки 12 при измерении температуры датчиком 90 температуры не является значимым или по меньшей мере контролируемо. Таким образом, боковая стенка 12 предоставляет защиту датчику 90 температуры для предотвращения накопления дыма или загрязнений, в частности, от побочных продуктов обжаривания кофе (кофейной шелухи, пыли и т.п.), на датчике 90 температуры. Таким образом, очень эффективным способом можно избежать ухода показаний температуры, измеряемой датчиком 90 температуры, в частности, без необходимости заключения датчика 90 температуры в оболочку или сложный кожух.

Для эффективного определения температуры с помощью датчика 90 температуры во внутренней части камеры 10 камера 10 может содержать термопасту (такую как теплопроводная паста) для увеличения теплопередачи от внутренней части камеры 10 к датчику 90 температуры. Например, термопасту наносят предпочтительно только вокруг датчика 90 температуры и/или между датчиком 90 температуры и наружной стороной 121 боковой стенки 12. В других примерах камера 10 не содержит термопасты.

Датчик 90 температуры не ограничивается конкретной конфигурацией или положением при условии, что датчик 90 температуры расположен на наружной стороне 121 боковой стенки 12. Предпочтительно датчик 90 температуры расположен в непосредственной близости к кофейным зернам («кофейному слою»), которые размещены в камере 10 и/или напротив них. Например, камера 10 может иметь высоту, до которой в камере 10 могут быть размещены кофейные зерна. Такая высота может быть ниже высоты расположения отверстия 13 и/или фланца 15. В результате этого между высотой на одной стороне и отверстием 13 и/или фланцем 15 на другой стороне может присутствовать пространство, которое не предназначено для размещения кофейных зерен. Если такая высота имеется, то для точного определения температуры кофейных зерен датчик 90 температуры может быть расположен на данной высоте или ниже. Датчик 90 температуры может быть также расположен немного выше значения высоты.

По отношению к ручке 16 приемного отсека 14, датчик 90 температуры может быть расположен таким образом, чтобы ручка 16 по меньшей мере частично закрывала датчик 90 температуры, если смотреть вдоль конкретного смотрового направления. Например, на виде в горизонтальной проекции (т.е. на виде сверху) приемного отсека 14, т.е. если смотреть вдоль вертикального направления (например, вдоль направления доступа к отверстию 13), ручка 16 может закрывать датчик 90 температуры. Дополнительно или альтернативно ручка 16 может также закрывать датчик 90 температуры, если смотреть в одном или более других смотровых направлениях. Например, если смотреть на вид в вертикальной проекции приемного отсека 14 (например, если смотреть в горизонтальном направлении), ручка 16 может по меньшей мере частично и предпочтительно полностью закрывать датчик 90 температуры. Как показано на фиг. 4 и 5, ручка 16 и датчик 90 температуры могут быть расположены в одной и той же (вертикальной) плоскости.

Наружная сторона 121 боковой стенки 12 может содержать углубление (специально выделенную полую секцию) 123, причем датчик 90 температуры по меньшей мере частично и предпочтительно полностью расположен в углублении 123. Таким образом, в углублении 123 размещается и/или помещается датчик 90 температуры. В результате углубление 123 служит для защиты датчика 90 температуры. Кроме того, углубление 123 способствует тому, чтобы датчик 90 температуры мог быть наилучшим образом приведен в непосредственную близость к внутренней части камеры 10 и, следовательно, к кофейным зернам, размещенным в камере 10. Углубление 123 предпочтительно сформировано соответственно или комплементарно датчику 90 температуры. Углубление 123 может проходить продольно и/или вдоль вертикального направления. Углубление 123 может быть сформировано таким образом, что при размещении датчика 90 температуры в углублении 123 датчик 90 температуры по меньшей мере частично не выходит из углубления 123. Таким образом, датчик 90 температуры может быть в высшей степени эффективно расположен. Таким образом, датчик 90 температуры может быть расположен так, что датчик 90 температуры не будет выступать из наружной стороны 121. В результате, в частности, во время операций прикрепления и отсоединении приемного отсека 14 соответственно к устройству 1 или от него, предотвращается создание датчиком 90 температуры помех другим частям устройства 1, таким как части для размещения камеры 10 и, соответственно, приемного отсека 14.

Как показано на фиг. 5, углубление 123 может быть выполнено с возможностью формирования выступа 124 на внутренней стороне 122 боковой стенки 12. За счет формирования углубления 123 в боковой стенке 12, например с помощью специального процесса формирования, боковая стенка 12 может выступать во внутреннюю часть камеры 10, тем самым образуя выступ 124. Этап формирования углубления 123 и, следовательно, выступа 124 может представлять собой этап выдавливания рельефа. В результате углубление 123 может быть сформировано выдавливанием рельефа в боковой стенке 12. В то же время углубление 123 может быть также сформировано в виде выдавливания рельефа в боковой стенке 12, не требуя присутствия обязательного выступа 124. Выступ 124 может быть выполнен с возможностью осуществления непосредственного контакта с кофейными зернами, размещенными в камере 10. Таким образом, выступ 124 может применяться в качестве отклоняющего или задерживающего элемента для кофейных зерен, которые перемещаются, т.е. перемешиваются во внутренней части камеры 10 потоком воздуха, создаваемого аппаратом 80. Таким образом, отклоняющаяся и/или задерживающая функция выступа 124 дополнительно приводит к эффекту перемешивания кофейных зерен таким образом, что кофейные зерна в результате отклонения/задержки лучше перемешиваются по сравнению с конструкцией без выступа 124. Такое усиленное перемешивание кофейных зерен в камере 10 улучшает обжаривание кофейных зерен во внутренней части камеры 10. Более конкретно, кофейные зерна совершают проход вдоль внутренней стороны 122 и сталкиваются с выступом 124, что приводит к их последующему отклонению, например от внутренней стороны 122.

Датчик 90 температуры может применяться для выполнения различных функций, в которых используется сигнал, передаваемый от датчика 90 температуры. Например, с датчиком 90 температуры могут быть функционально соединен блок управления, пользовательский интерфейс 30, блок отображения и/или аппарат 80. Более конкретно, датчик 90 температуры может быть выполнен с возможностью передачи первого сигнала, относящегося к определяемой температуре. Первый сигнал может быть использован для отображения определяемой температуры, например, на пользовательском интерфейсе 30 и/или блоке отображения. Блок отображения может содержать пользовательский интерфейс 30. Дополнительно или альтернативно первый сигнал, передаваемый датчиком 90 температуры, также может использоваться для определения присутствия камеры 10, соответственно приемного отсека 14, на основании определяемой температуры. Например, отсутствие камеры 10 может быть обнаружено сразу в результате отсутствия ранее упомянутого функционального соединения датчика 90 температуры с отдельными компонентами устройства 1.

В частности, датчик 90 температуры может применяться совместно с блоком управления, например, для обжаривания кофейных зерен и/или для определения присутствия камеры 10. Для обжаривания кофейных зерен датчик 90 температуры может передавать первый сигнал на блок управления, причем блок управления управляет аппаратом 80 на основании такого первого сигнала. Например, если величина первого сигнала находится ниже определенного целевого значения (целевой температуры), блок управления может соответственно отрегулировать аппарат 80 на передачу большего количества нагретого воздуха в камеру 10 для достижения целевого значения. Для определения присутствия камеры 10 блок управления может быть выполнен с возможностью определения присутствия камеры 10 на основании принятого первого сигнала. В результате блок управления предотвращает обжаривание кофейных зерен аппаратом 80 после приема данных об отсутствии первого сигнала. Таким образом, в этом случае блок управления не активирует обжарочный аппарат 80. Прием данных об отсутствии первого сигнала может происходить по причине отсутствия функционального соединения (т.е. отсоединения) между датчиком 90 температуры и блоком управления или специальным разъемом, который в свою очередь функционально соединен с блоком управления. Дополнительно или альтернативно блок управления может быть выполнен с возможностью предотвращения обжаривания кофейных зерен аппаратом 80 после получения первого сигнала, величина которого превышает заданное пороговое значение или диапазон, или находится ниже. Пороговое значение или диапазон может представлять собой или может включать в себя температуру окружающей среды (например, около 20°C).

В дополнение или в качестве альтернативы к функции управления на основании первого сигнала блок управления может управлять аппаратом 80 для обжаривания кофейных зерен на основании второго сигнала, относящегося к температуре обжаривания. В результате устройство 1 может содержать дополнительный (второй) датчик температуры для определения температуры обжаривания и последующей передачи второго сигнала, относящегося к температуре обжаривания. Дополнительный датчик температуры может быть расположен таким образом, что чувствительность по отношению к реальной температуре кофейных зерен по сравнению с чувствительностью (первого) датчика температуры повышается. Например, дополнительный датчик температуры может быть выполнен с возможностью осуществления непосредственного контакта с потоком воздуха, создаваемым 80 и/или кофейными зернами, размещенными в камере. По отношению к потоку воздуха, который создается аппаратом 80 и, следовательно, проходит от аппарата 80 в камеру 10, дополнительный датчик температуры может быть расположен перед камерой 10, например между аппаратом 80 и камерой 10.

В особенно предпочтительном варианте осуществления для управления аппаратом 80 для обжаривания кофейных зерен применяется только дополнительный датчик температуры. Поэтому датчик 90 температуры может преднамеренно не применяться для управления устройством 80. Таким образом, датчик 90 температуры может применяться только для отображения определяемой температуры и/или для определения присутствия камеры 10. Таким образом, датчик 90 температуры обеспечивает достоверное определение температуры во внутренней части камеры 10, т.е. кофейных зерен, размещенных в камере 10. Таким образом, хотя датчик 90 температуры может обладать более низкой чувствительностью по сравнению с дополнительным датчиком температуры, датчик 90 температуры по-прежнему информирует пользователя устройства 1 о реальной температуре во внутренней части камеры 10. Это может, в частности, обеспечивать преимущество для задач технического обслуживания и для более достоверного информирования о реальной температуре кофейных зерен.

Поскольку датчик 90 температуры измеряет температуру внутренней части камеры 10, в частности, размещенных в ней кофейных зерен, опосредованно через боковую стенку 12, измеренная температура может не точно соответствовать реальной температуре, которая должна быть измерена, или может отображаться с задержкой. Это может быть связано с конструкцией боковой стенки 12, которая обладает тепловой инерцией, замедляющей передачу показаний реальной температуры датчиком 90 температуры. По этой причине в устройстве 1, предпочтительно блоке управления, может применяться коэффициент коррекции к (первому сигналу, относящемуся к) температуре, определяемой датчиком 90 температуры. Например, коэффициент коррекции применяют к измеренной температуре, так что скорректированная температура является выше или ниже определяемой температуры. Таким образом, даже несмотря на то, что боковая стенка 12 может в определенной степени искажать определяемую температуру, такое искажение может быть устранено или по меньшей мере уменьшено с помощью коэффициента коррекции. Коэффициент коррекции может зависеть от характеристик боковой стенки 12, которые способствуют термической инерции боковой стенки 12. Например, коэффициент коррекции зависит от геометрии и/или характеристик материала боковой стенки 12.

Датчик 90 температуры не ограничивается конкретным датчиком температуры. В частности, за счет особого расположения датчика температуры, при котором датчик температуры не подвергается износу и/или загрязнению в результате контакта с кофейными зернами или дымом, для датчика 90 температуры не требуется сложная конструкция (заключение в оболочку, кожух и т.п.). Например, в качестве датчика 90 температуры может применяться недорогой датчик температуры. Датчик 90 температуры может обладать пониженной динамикой по сравнению с дополнительным датчиком температуры, поскольку датчик 90 температуры предпочтительно не применяется для задач управления, но только, например, в качестве обратной связи для пользователя. Для датчика 90 температуры, в частности, не требуется возможность работы в широком диапазоне температур, поскольку температурный диапазон на наружной стороне 121 боковой стенки 12 меньше температурного диапазона потока воздуха, создаваемого аппаратом 80. Например, датчик 90 температуры может представлять собой датчик с отрицательным температурным коэффициентом (NTC).

Датчик 90 температуры может быть расположен неподвижно относительно камеры 10. Следовательно, датчик 90 температуры может перемещаться вместе с камерой 10 при перемещении камеры, например при ее перемещении для отсоединения от устройства 1. Как можно увидеть на фиг. 3A и 3B, устройство 1 может содержать (электрический) разъем (например, в виде контактных элементов 91,92, например в виде одного или более штырей 91 и/или одного или более гнезд 92), который отсоединен от датчика 90 температуры, когда камера 10 и, следовательно, датчик 90 температуры отсоединены от устройства 1. Когда камера прикреплена к устройству 1 (т.е. для обжаривания), датчик 90 температуры может автоматически подключаться к разъему. Например, устройство 1 может быть выполнено таким образом, что когда камера 10, в частности приемный отсек 14, прикреплена к устройству 1, датчик 90 температуры автоматически переходит в конкретное положение и/или ориентацию, в которой датчик 90 температуры может подключаться к разъему. В частности, объединение ручки 16 с принимающей частью или секцией 24 может оказывать влияние на данное конкретное положение и/или ориентацию. Когда датчик 90 температуры подключен к разъему, разъем предоставляет функциональное соединение между датчиком 90 температуры и соответствующими частями устройства 1, такими как блок управления. Соединение (электрическое) между датчиком 90 температуры и разъемом может представлять собой соединение типа «вилка-розетка». Например, одно из датчика 90 температуры и разъема содержит один или более контактных элементов 92 розетки (например, расположенных на стороне камеры 10, в частности, размещенных на приемном отсеке 14 и/или ручке 16, предпочтительно на стороне ручки 16, обращенной вниз, (т.е. в сторону аппарата 80), причем соответствующее другое из датчика 90 температуры и разъема содержит один или более контактных элементов 91 вилки (например, расположенных на соответствующей стороне устройства 1 или корпуса устройства, например неподвижных относительно корпуса 20, и/или расположенных рядом с секцией 24 или на ней), выполненных с возможностью объединения с контактными элементами 92 розетки для предоставления соединения между датчиком 90 температуры и разъемом.

В другом варианте осуществления датчик 90 температуры может также сохранять стационарное положение, когда камера 10 перемещается, например при перемещении для отсоединения от устройства 1. В результате, когда камера 10 прикреплена к устройству 1 (т.е. для обжаривания), наружная сторона 121 может быть автоматически расположена и/или ориентирована таким образом, что датчик температуры располагается на наружной стороне 131 боковой стенки 12, например в углублении 123. Следовательно, датчик 90 температуры может всегда оставаться в фиксированном положении относительно, например, корпуса 20. Например, устройство 1 может быть выполнено таким образом, что когда камера 10, в частности приемный отсек 14, прикреплена к устройству 1, наружная сторона 121, в частности углубление 123, автоматически переходит в конкретное положение и/или ориентацию, в которой датчик 90 температуры может быть расположен на наружной стороне 121, например в углублении 123. В частности, объединение ручки 16 с принимающей частью или секцией 24 может оказывать влияние на данное конкретное положение и/или ориентацию.

Специалисту в данной области должно быть понятно, что варианты осуществления, показанные на фигурах, являются лишь предпочтительными вариантами осуществления, однако можно использовать и другие конструкции устройства 1.

Похожие патенты RU2835606C1

название год авторы номер документа
Устройство для обжаривания кофейных зерен и сбора кофейной шелухи 2020
  • Савиоз, Грегори
RU2820354C1
АППАРАТ И СИСТЕМА ДЛЯ ОБЖАРИВАНИЯ КОФЕЙНЫХ ЗЕРЕН 2021
  • Савиоз, Грегори
RU2836836C1
АППАРАТ ДЛЯ ОБЖАРИВАНИЯ 2021
  • Чеккароли, Стефано
  • Мартен, Венсан
  • Брендле, Манюэль
  • Нидерман, Христоф
  • Риклин, Адриан
RU2839600C1
АППАРАТ ДЛЯ ОБЖАРИВАНИЯ КОФЕЙНЫХ ЗЕРЕН 2020
  • Чеккароли, Стефано
  • Дубиеф, Флавьен Флоран
  • Мартен, Венсан
  • Бриганте, Стюарт
  • Гуревич-Бикок, Пол
RU2818591C2
СИСТЕМА ДЛЯ ВЫДАЧИ МОЛОТОГО КОФЕ 2021
  • Аит, Боузиад, Юсеф
RU2840153C1
СПОСОБ ВЫДАЧИ МОЛОТОГО КОФЕ 2021
  • Аит, Боузиад, Юсеф
RU2840608C1
СИСТЕМА ПРИГОТОВЛЕНИЯ КОФЕЙНОГО НАПИТКА, ВТОРОЙ КАРТРИДЖ УПАКОВКИ КОФЕЙНЫХ ЗЕРЕН ДЛЯ ИСПОЛЬЗОВАНИЯ С УПОМЯНУТОЙ СИСТЕМОЙ. СПОСОБ ПРИГОТОВЛЕНИЯ НАПИТКА ПОСРЕДСТВОМ УПОМЯНУТОЙ СИСТЕМЫ, СПОСОБ ВАРКИ КОФЕ И СПОСОБ ПОДАЧИ КОФЕЙНЫХ ЗЕРЕН ИЗ УПОМЯНУТОГО ВТОРОГО КАРТРИДЖА УПАКОВКИ КОФЕЙНЫХ ЗЕРЕН 2011
  • Де Граф Гербранд Кристиан
  • Ван Ос Иво
  • Моорман Кристиан Йоханнес Мария
  • Кнител Йозеф Теодор
RU2576608C2
АППАРАТ И СПОСОБ ОБЖАРИВАНИЯ КОФЕЙНЫХ ЗЕРЕН 2019
  • Дюбьеф, Флавьен
  • Чеккароли, Стефано
  • Биглер, Никола
RU2829625C2
СИСТЕМА ДЛЯ ПРИГОТОВЛЕНИЯ КОФЕЙНОГО НАПИТКА, КАРТРИДЖ УПАКОВКИ МОЛОТОГО КОФЕ ДЛЯ ИСПОЛЬЗОВАНИЯ С ТАКОЙ СИСТЕМОЙ, СПОСОБ ПРИГОТОВЛЕНИЯ НАПИТКА ПОСРЕДСТВОМ УПОМЯНУТОЙ СИСТЕМЫ И СПОСОБ ПОДАЧИ МОЛОТОГО КОФЕ ИЗ УПОМЯНУТОГО КАРТРИДЖА УПАКОВКИ МОЛОТОГО КОФЕ 2011
  • Де Графф Гербранд Кристиан
  • Ван Ос Иво
  • Моорман Кристиан Йоханнес Мария
  • Кнител Йозеф Теодор
RU2557749C2
АППАРАТ И СПОСОБ ОБЖАРИВАНИЯ КОФЕЙНЫХ ЗЕРЕН 2019
  • Дюбьеф, Флавьен
  • Биглер, Никола
  • Чеккароли, Стефано
RU2798885C2

Иллюстрации к изобретению RU 2 835 606 C1

Реферат патента 2025 года УСТРОЙСТВО ДЛЯ ОБЖАРИВАНИЯ КОФЕЙНЫХ ЗЕРЕН

Изобретение относится к кофейной промышленности. Раскрыто устройство (1) для обжаривания кофейных зерен, содержащее: камеру (10), в которой могут быть размещены кофейные зерна для обжаривания, и аппарат (80) для обжаривания кофейных зерен, размещенных в камере (10), причем камера (10) ограничена по меньшей мере нижней частью (11) и боковой стенкой (12), содержащей наружную сторону (121), которая ориентирована так, чтобы она была обращена в сторону от камеры (10), и при этом датчик (90) температуры предусмотрен на наружной стороне (121) для определения температуры во внутренней части камеры (10), в которой камера (10) имеет высоту, до которой в камере (10) могут быть размещены кофейные зерна, причем датчик (90) температуры расположен на данной высоте или ниже, и наружная сторона (121) боковой стенки (12) содержит углубление (123), и при этом датчик (90) температуры по меньшей мере частично расположен в углублении (123). Изобретение позволяет за счет определенного расположения датчика температуры повысить надежность измерения температуры внутри камеры. 13 з.п. ф-лы, 5 ил.

Формула изобретения RU 2 835 606 C1

1. Устройство (1) для обжаривания кофейных зерен, содержащее:

камеру (10), в которой могут быть размещены кофейные зерна для обжаривания, и

аппарат (80) для обжаривания кофейных зерен, размещенных в камере (10),

причем камера (10) ограничена по меньшей мере нижней частью (11) и боковой стенкой (12), проходящей от нижней части (11), при этом боковая стенка (12) содержит наружную сторону (121), которая ориентирована так, чтобы она была обращена в сторону от камеры (10), и при этом датчик (90) температуры предусмотрен на наружной стороне (121) боковой стенки (12) для определения температуры во внутренней части камеры (10), в котором

камера (10) имеет высоту, до которой в камере (10) могут быть размещены кофейные зерна, причем датчик (90) температуры расположен на данной высоте или ниже, и

наружная сторона (121) боковой стенки (12) содержит углубление (123), и при этом датчик (90) температуры по меньшей мере частично расположен в углублении (123).

2. Устройство (1) по п. 1, в котором датчик (90) температуры расположен так, что датчик (90) температуры не выступает из наружной стороны (121) боковой стенки (12).

3. Устройство (1) по п. 1 или 2, в котором углубление (123) выполнено с возможностью формирования выступа (124) на внутренней стороне (122) боковой стенки (12), причем внутренняя сторона (122) ориентирована так, чтобы она была обращена к внутренней части камеры (10).

4. Устройство (1) по п. 3, в котором выступ (124) выполнен с возможностью осуществления непосредственного контакта с кофейными зернами, размещенными в камере (10).

5. Устройство (1) по любому из пп. 1-4, в котором углубление (123) сформировано посредством выдавливания рельефа в боковой стенке (12).

6. Устройство (1) по любому из предшествующих пунктов, в котором датчик (90) температуры является выполненным с возможностью передачи первого сигнала, относящегося к определяемой температуре, для отображения определяемой температуры и/или в котором датчик (90) температуры является выполненным с возможностью передачи первого сигнала, относящегося к определяемой температуре, для определения присутствия камеры (10) на основании определяемой температуры.

7. Устройство (1) по любому из предшествующих пунктов, дополнительно содержащее блок управления, выполненный с возможностью управления аппаратом (80) для обжаривания кофейных зерен на основании полученного первого сигнала от датчика (90) температуры и/или на основании второго сигнала, относящегося к температуре обжаривания, определяемой дополнительным датчиком температуры устройства (1), причем блок управления выполнен с возможностью определения присутствия камеры (10) на основании принимаемого первого сигнала, а также предотвращения обжаривания кофейных зерен аппаратом (80) после приема данных об отсутствии первого сигнала или в случае, когда величина первого сигнала превышает заданное пороговое значение или диапазон либо находится ниже него.

8. Устройство (1) по любому из предшествующих пунктов, в котором устройство (1), предпочтительно блок управления, выполнено с возможностью применения коэффициента коррекции к показанию температуры, определяемому датчиком (90) температуры, причем коэффициент коррекции зависит от геометрии и/или характеристик материала боковой стенки (12).

9. Устройство (1) по любому из предшествующих пунктов, в котором устройство (1) дополнительно содержит пользовательский интерфейс (31) или блок отображения, выполненный с возможностью отображения определяемой температуры на основании передаваемого или принимаемого первого и/или второго сигнала, и/или в котором устройство (1) дополнительно содержит интерфейс обмена данными для беспроводного обмена данными с аппаратом пользователя.

10. Устройство (1) по любому из предшествующих пунктов, дополнительно содержащее приемный отсек (14), причем приемный отсек (14) содержит камеру (10), при этом приемный отсек (14) прикреплен к устройству (1) с возможностью отсоединения.

11. Устройство (1) по п. 10, в котором приемный отсек (14) содержит ручку (16), причем ручка (16) расположена таким образом, что по меньшей мере на виде в горизонтальной проекции приемного отсека (14) ручка (16) закрывает датчик (90) температуры.

12. Устройство (1) по любому из предшествующих пунктов, в котором датчик (90) температуры расположен неподвижно относительно камеры (10) таким образом, что датчик (90) температуры перемещается вместе с камерой (10) во время перемещения камеры (10), или в котором датчик (90) температуры выполнен с возможностью сохранения стационарного положения во время перемещения камеры (10).

13. Устройство (1) по любому из предшествующих пунктов, при этом устройство также содержит аппарат (80) для создания потока воздуха во внутренней части камеры (10) для перемешивания кофейных зерен, размещенных в камере (10), и/или в котором аппарат (80) выполнен с возможностью создания нагретого потока воздуха для обжаривания кофейных зерен, размещенных в камере (10), причем аппарат (80) предпочтительно содержит нагревательный блок для нагрева потока воздуха.

14. Устройство (1) по любому из предшествующих пунктов, в котором устройство является бытовым электроприбором.

Документы, цитированные в отчете о поиске Патент 2025 года RU2835606C1

CN 102551179 A, 11.07.2012
US 7875833 B2, 25.01.2011
CN 202653129 U, 09.01.2013
CN 203814559 U, 10.09.2014
CN 105935249 A, 14.09.2016
Установка для термической обработки сыпучих пищевых продуктов 2019
  • Мазманян Ашот Григорьевич
RU2698060C1

RU 2 835 606 C1

Авторы

Савиоз, Грегори

Гебс, Джонатан

Скоррано, Лучо

Даты

2025-02-28Публикация

2021-05-17Подача