Область техники, к которой относится изобретение
Изобретение относится к аппарату для обжаривания кофейных зерен, системе, содержащей такой аппарат, и к способу выгрузки кофейных зерен.
Уровень техники
В процессе обжаривания кофейных зерен необжаренные кофейные зерна превращаются в обжаренные кофейные зерна. Необжаренные кофейные зерна, как правило, представляют собой зеленые и/или высушенные кофейные зерна, а обжаренные кофейные зерна, в частности, придают аромат кофейному напитку, который готовят из (измельченных) обжаренных кофейных зерен. Обжаривание кофейных зерен можно выполнять в больших, а также в малых масштабах. В случае малых масштабов обжаривание кофейных зерен выполняет предприятие для клиента (магазин, кофейня и т.п.) или сам клиент, например потребитель кофейного напитка. Для потребителя обжаривание кофейных зерен является очень интересным, поскольку можно обжаривать кофейные зерна в домашних условиях, например в качестве хобби, чтобы поэкспериментировать с различными вкусоароматическими профилями и обеспечить особенно свежую обжарку кофейных зерен.
После завершения обжаривания кофейных зерен обжаренные кофейные зерна необходимо подавать для дальнейшей обработки, например для помола и/или приготовления кофейного напитка (например, посредством экстракции кофе). Извлечение обжаренных кофейных зерен, как правило, осуществляют вручную. Однако это является недостатком, поскольку пользователь, который вручную манипулирует обжаренными кофейными зернами, может получить травму вследствие контакта с горячими частями устройства и/или (горячими) обжаренными кофейными зернами. Кроме того, ручное манипулирование обжаренными кофейными зернами не является достаточно эффективным, поскольку пользователю необходимо извлекать кофейные зерна из обжарочной машины (обжарочного устройства) и вручную помещать обжаренные кофейные зерна для дальнейшей обработки в дополнительный аппарат, например в кофемолку и/или устройство для приготовления кофейных напитков.
Извлечение обжаренных кофейных зерен из аппарата может также выполняться автоматически. Однако вследствие того, что обжаренные кофейные зерна имеют, соответственно, относительно большую массу (например, по сравнению с молотым кофе в форме порошка), требуется определенное количество энергии для приведения в движение кофейных зерен и, следовательно, извлечения кофейных зерен из камеры. Кроме того, автоматизация извлечения обжаренных кофейных зерен достаточно сложна, в частности, по причине того, что поток воздуха для обжаривания и/или охлаждения кофейных зерен приводит к перемешиванию кофейных зерен внутри аппарата.
Таким образом, цель настоящего изобретения заключается в обеспечении аппарата и способа, в которых устранены вышеупомянутые недостатки. Другими словами, цель настоящего изобретения заключается, в частности, в обеспечении аппарата и способа, которые обеспечивают потребителю более эффективное и удобное обжаривание кофейных зерен, в особенности, когда обжаренные кофейные зерна подлежат дальнейшей обработке.
Эти и другие цели, которые становятся очевидными при чтении последующего описания, достигаются с помощью объекта изобретения, описанного в независимых пунктах формулы изобретения. В зависимых пунктах формулы изобретения описаны предпочтительные варианты осуществления изобретения.
Раскрытие изобретения
В соответствии с первым аспектом изобретения предложен аппарат для обжаривания кофейных зерен. Аппарат содержит камеру, в которой могут быть размещены кофейные зерна для обжаривания, и устройство для создания потока воздуха, чтобы перемешивать кофейные зерна, размещенные в камере. Камера ограничена нижней частью, верхней частью и боковой стенкой, проходящей от нижней части к верхней части, причем боковая стенка содержит выпускной (или выбросной) порт, который выполнен с возможностью избирательного перемещения между закрытым положением и открытым положением таким образом, что поток воздуха, создаваемый устройством, может продвигать кофейные зерна, подлежащие выгрузке (т.е. выбросу), через выпускной порт из камеры, когда выпускной порт находится в открытом положении.
Таким образом, аппарат, в частности, облегчает работу, поскольку требуется манипулирование только выпускным портом для выгрузки (или выброса) обжаренных кофейных зерен из камеры (и, следовательно, из аппарата); поэтому выпускной порт функционирует в качестве «люка». Другими словами, при этом может не потребоваться изменение потока воздуха, создаваемого устройством, чтобы выгружать обжаренные кофейные зерна из камеры. В частности, по этой причине отсутствует необходимость в управлении устройством для повышения скорости и/или давления потока воздуха (например, потока воздуха для обжаривания и/или охлаждения), чтобы выгружать обжаренные кофейные зерна из камеры. Кроме того, поскольку выпускной порт расположен не сверху, а (по меньшей мере частично) в боковой стенке, для перемещения обжаренных кофейных зерен в вертикальном направлении и в выпускной порт для выгрузки из камеры расходуется меньше потенциальной энергии. Боковая стенка, на которой расположен выпускной порт, дополнительно обеспечивает то, что кофейные зерна, приводимые в движение потоком воздуха, могут перемещаться вдоль боковой стенки и к выпускному порту для последующей выгрузки из камеры, когда выпускной порт находится в открытом положении.
Суммируя вышесказанное, этот аппарат может, в частности, работать с меньшим потреблением (электрического) питания или энергии для выгрузки обжаренных кофейных зерен. Таким образом, размеры устройства, которое создает поток воздуха внутри камеры (например, вентилятор), могут быть уменьшены, и, следовательно, нет необходимости в чрезмерном увеличении размеров устройства или двигателя устройства. Таким образом, также можно оптимизировать габаритные размеры аппарата, тем самым делая аппарат (или устройство) компактным. Кроме того, аппарат обеспечивает пользователю удобное решение для легкой выгрузки обжаренных кофейных зерен для их дальнейшей обработки, в частности, без необходимости непосредственного соприкосновения с обжаренными кофейными зернами и/или без вступления в противоречие или конфликт с необязательно предусмотренным датчиком температуры. Таким образом, также снижается риск прикосновения пользователя рукой к горячим частям аппарата.
Выпускной порт может быть расположен ближе к нижней части, чем к верхней части. Таким образом, для выгрузки кофейных зерен из камеры требуется, в частности, меньше энергии, поскольку при перемещении кофейных зерен в вертикальном направлении для выгрузки из камеры не требуется большой потенциальной энергии.
Дополнительно или альтернативно выпускной порт расположен отстоящим от нижней части на некоторое расстояние, причем это расстояние находится в диапазоне от 0%, или 5%, или 10%, или 20%, или 30%, или 40%, или 50%, или 60%, или 70% высоты камеры до 5%, или 10%, или 20%, или 30%, или 40%, или 50%, или 60%, или 70%, или 80% высоты камеры, причем высота камеры представляет собой расстояние от нижней части до верхней части камеры. Таким образом, для выгрузки кофейных зерен из камеры требуется, в частности, меньше энергии, поскольку при перемещении кофейных зерен в вертикальном направлении для выгрузки из камеры не требуется большой потенциальной энергии.
Выпускной порт может быть выполнен с возможностью перемещения вручную между закрытым положением и открытым положением. Таким образом, пользователь может перемещать выпускной порт между закрытым положением и открытым положением, применяя только мышечную силу, например руки пользователя. Таким образом, перемещение выпускного порта между закрытым положением и открытым положением не требует по этой причине использования электрических компонентов (например, приводного блока) и/или наличия электропитания. Следовательно, выпускной порт также упрощает техническое обслуживание аппарата.
Дополнительно или альтернативно аппарат может содержать приводной блок (например, (электрический) двигатель), выполненный с возможностью перемещения выпускного порта между закрытым положением и открытым положением. Таким образом, пользователю не нужно применять свою мышечную силу, чтобы перемещать выпускной порт между закрытым положением и открытым положением. Выпускной порт при этом можно очень легко перемещать между закрытым и открытым положением. Кроме того, приводной блок способствует автоматизации перемещения выпускного порта между закрытым положением и открытым положением.
Выпускной порт может быть выполнен с возможностью перемещения путем скольжения, чтобы перемещать выпускной порт между закрытым положением и открытым положением. Это делает аппарат особенно компактным, поскольку выпускной порт при этом может быть расположен таким образом, что при скольжении выпускного порта выпускной порт не выступает из боковой стенки.
Дополнительно или альтернативно выпускной порт может быть выполнен с возможностью перемещения путем поворота, чтобы перемещать выпускной порт между закрытым положением и открытым положением. Таким образом, выпускной порт может быть выполнен с возможностью перемещения вокруг оси вращательного перемещения, причем ось перемещения может проходить в вертикальном или горизонтальном направлении. Выпускной порт при этом можно легко перемещать между закрытым и открытым положением.
Боковая стенка может быть выполнена с возможностью перемещения, например с возможностью перемещения путем поворота, чтобы перемещать выпускной порт между закрытым положением и открытым положением. Например, часть выпускного порта, например закрывающий элемент, является неподвижной, причем боковая стенка содержит отверстие, так что при перемещении боковой стенки отверстие перемещается относительно закрывающего элемента. Затем в закрытом положении закрывающий элемент может полностью покрывать это отверстие, при этом в открытом положении боковая стенка перемещается таким образом, что это отверстие остается по меньшей мере частично непокрытым, так что кофейные зерна могут продвигаться через отверстие для выгрузки из камеры. Поскольку боковая стенка, как правило, больше выпускного порта, в частности относительно контактирующей поверхности для перемещения соответствующей части, перемещение выпускного порта между закрытым положением и открытым положением, например вручную или посредством приводного блока (см. выше), упрощается. Конечно, в других примерах часть выпускного порта, например закрывающий элемент, является подвижной, при этом боковая стенка является неподвижной. Кроме того, как часть выпускного порта (например, закрывающий элемент), так и боковая стенка (например, отверстие) могут перемещаться, чтобы двигаться относительно друг друга для перемещения выпускного порта между открытым положением и закрытым положением.
Устройство может быть выполнено с возможностью создания нагретого потока воздуха для обжаривания кофейных зерен, размещенных в камере. Другими словами, поток воздуха, создаваемый устройством, может переносить тепло, которое передается кофейным зернам, чтобы обжаривать кофейные зерна, т.е. вызывать химические реакции для обжаривания (обжаренных) кофейных зерен. Аппарат может включать в себя нагреватель для нагрева воздуха, так что нагретый таким образом воздух продувается устройством в камеру для создания нагретого потока воздуха. Таким образом, аппаратом очень легко управлять, чтобы выборочно обеспечивать нагретый поток воздуха для обжаривания кофейных зерен. В частности, нагреватель может быть расположен ниже по потоку относительно потока воздуха, создаваемого устройством.
Дополнительно или альтернативно устройство может быть выполнено с возможностью создания потока воздуха для охлаждения кофейных зерен, размещенных в камере. Например, устройство переносит (окружающий свежий) воздух, который не нагрет, в камеру, чтобы создавать поток воздуха для охлаждения кофейных зерен; поток воздуха затем входит в контакт с (уже обжаренными) кофейными зернами, и, таким образом, тепло передается от кофейных зерен к потоку воздуха, так что кофейные зерна охлаждаются. Например, для создания потока воздуха для охлаждения кофейных зерен нагреватель можно просто деактивировать или выключать.
Аппарат может содержать блок управления для переключения аппарата между режимом обжаривания и режимом выгрузки, причем в режиме обжаривания выпускной порт находится в закрытом положении, и при этом в режиме выгрузки выпускной порт находится в открытом положении. Таким образом, блок управления способствует тому, что аппарат может, например, автоматически переключаться между режимом обжаривания и режимом выгрузки, например после истечения определенного периода времени обжаривания кофейных зерен. Таким образом, упрощаются обжаривание кофейных зерен и выгрузка кофейных зерен.
В режиме обжаривания аппарат может быть выполнен с возможностью обжаривания кофейных зерен, размещенных в камере, например посредством устройства, создающего нагретый поток воздуха внутри камеры.
В режиме выгрузки аппарат может быть выполнен с возможностью использования потока воздуха, создаваемого устройством, для продвижения кофейных зерен через выпускной порт для их выгрузки из камеры. Например, один и тот же поток воздуха, который используется в режиме обжаривания, можно использовать в режиме выгрузки для продвижения кофейных зерен через выпускной порт для их выгрузки из камеры.
По меньшей мере поперечное сечение боковой стенки, которая содержит выпускной порт, может иметь по меньшей мере частично круглую или эллиптическую форму. Такая форма поперечного сечения очень выгодна для продвижения кофейных зерен вдоль боковой стенки и далее к выпускному порту для выгрузки кофейных зерен из камеры. Кофейные зерна, которые затем выгружают через выпускной порт, могут затем перемещаться по касательной относительно формы поперечного сечения. Например, часть поперечного сечения, которая имеет круглую или эллиптическую форму, объединяется непрерывно с выпускным портом, в частности с отверстием выпускного порта. Предпочтительно ранее упомянутое поперечное сечение имеет замкнутую круглую или эллиптическую форму.
Нижняя часть может содержать впускное отверстие для воздуха, причем устройство выполнено с возможностью продувания воздуха через указанное впускное отверстие для создания потока воздуха внутри камеры. Таким образом, устройство может быть очень эффективно расположено в аппарате.
Верхняя часть камеры может содержать выпускное отверстие, которое выполнено с возможностью избирательного перемещения между закрытым положением и открытым положением, причем в открытом положении выпускное отверстие позволяет отводить воздух и/или выгружать кофейную шелуху из камеры. Другими словами, выпускное отверстие может функционировать в качестве вентиляции для камеры. Часть потока воздуха для продвижения кофейных зерен через выпускной порт может быть очень легко усилена без увеличения (общего) потока воздуха, создаваемого устройством, путем перемещения этого выпускного отверстия в закрытое положение. Таким образом, часть потока воздуха для отведения воздуха и/или выгрузки шелухи из камеры может быть очень легко перенаправлена для выгрузки кофейных зерен через выпускной порт.
Аппарат может дополнительно содержать коллектор для шелухи, причем коллектор для шелухи выполнен с возможностью сбора шелухи кофейных зерен, например через выпускное отверстие, причем аппарат предпочтительно выполнен с возможностью использования потока воздуха для перемещения шелухи в коллектор для шелухи. Поскольку желательно, чтобы обжаренные кофейные зерна выгружались из камеры без какой-либо шелухи, коллектор для шелухи обеспечивает простое средство для отделения шелухи от обжаренных кофейных зерен и сбора шелухи. Впоследствии коллектор для шелухи может быть удален или отсоединен от аппарата, а шелуху затем можно удалять из коллектора для шелухи и, например, выбрасывать в мусорное ведро или использовать для иной обработки шелухи.
Аппарат может представлять собой бытовой электроприбор. Таким образом, аппарат может иметь конструкцию, предназначенную для использования на домашней кухне, например выполненную с возможностью размещения рядом с кофемолкой и/или устройством для приготовления напитков. Другими словами, аппарат может представлять собой решение для обжаривания кофе в домашних условиях.
В соответствии со вторым аспектом изобретения предложена система, которая содержит аппарат, как описано выше, и дополнительный аппарат. Дополнительный аппарат функционально связан с аппаратом для обработки кофейных зерен, выгружаемых из аппарата через выпускной порт.
Таким образом, система способствует тому, что пользователю системы не нужно вручную, в частности своими руками, перекладывать из аппарата кофейные зерна для использования в дополнительном аппарате. Поэтому пользователь системы может очень легко обжаривать кофейные зерна и дополнительно обрабатывать обжаренные таким образом кофейные зерна. Например, система может представлять собой бытовой электроприбор и/или может быть представлена в виде (одного) блока.
Дополнительный аппарат может содержать (или представлять собой) мельницу для помола (обжаренных) кофейных зерен. Соответственно, мельница превращает обжаренные кофейные зерна в молотый кофе (например, в форме порошка), который затем можно использовать для приготовления кофейного напитка посредством экстракции кофе. Дополнительно или альтернативно дополнительный аппарат может содержать (или представлять собой) устройство для приготовления напитка из кофейных зерен, например посредством экстракции кофе. Например, при наличии мельницы устройство для приготовления напитков может быть функционально связано с мельницей для приготовления кофейного напитка из молотого кофе. Мельница и устройство для приготовления напитков могут быть выполнены в виде блока и/или могут быть выполнены за одно целое.
В соответствии с третьим аспектом изобретения предложен способ выгрузки кофейных зерен из камеры. В камере кофейные зерна размещают для обжаривания, причем камера ограничена нижней частью, верхней частью и боковой стенкой, проходящей от нижней части к верхней части. Способ включает стадии создания потока воздуха для перемешивания и предпочтительно обжаривания или охлаждения кофейных зерен, размещенных в камере, и перемещения выпускного порта, который расположен в или на боковой стенке камеры, в открытое положение таким образом, чтобы указанный поток воздуха продвигал кофейные зерна через выпускной порт для их выгрузки из камеры.
Описание и преимущества аппарата аналогичным образом относятся к способу. В частности, способ обеспечивает то, что для выгрузки (обжаренных) кофейных зерен из камеры необходимо задействовать только выпускной порт. Таким образом, в частности, нет необходимости изменять скорость или давление потока воздуха для продвижения кофейных зерен из камеры.
Осуществление изобретения
Далее изобретение описано в качестве примера со ссылкой на прилагаемые фигуры, где
на фиг. 1 показан схематический вид в перспективе аппарата в соответствии с предпочтительным вариантом осуществления изобретения;
на фиг. 2–9 представлены различные схематические виды в перспективе аппарата согласно предпочтительному варианту осуществления, показанному на фиг. 1, причем части устройства опущены для схематичного иллюстрирования камеры и выпускного порта, при этом выпускной порт находится в разных положениях;
на фиг. 10 и 11 показаны различные схематические виды в перспективе, на которых схематически представлена верхняя часть устройства согласно предпочтительному варианту осуществления, показанному на фиг. 1, в увеличенном виде;
на фиг. 12 представлен схематический вид в перспективе аппарата согласно предпочтительному варианту осуществления, показанному на фиг. 1, причем аппарат дополнительно содержит коллектор для шелухи;
на фиг. 13 показан схематический вид в перспективе аппарата в соответствии с дополнительным предпочтительным вариантом осуществления изобретения;
на фиг. 14 показан схематический вид в перспективе системы в соответствии с предпочтительным вариантом осуществления изобретения;
на фиг. 15 представлен схематический вид в перспективе в поперечном сечении (вдоль горизонтальной плоскости сечения) системы в соответствии с предпочтительным вариантом осуществления, показанным на фиг. 14, в частности, для схематической иллюстрации функциональной связи между аппаратом и дополнительным аппаратом;
на фиг. 16 представлен схематический вид в перспективе в поперечном сечении (вдоль вертикальной плоскости сечения) системы в соответствии с предпочтительным вариантом осуществления, показанным на фиг. 14; и
на фиг. 17 представлен схематический вид в перспективе примера механизма для аппарата в соответствии с предпочтительными вариантами осуществления.
На фиг. 1–13 в качестве примера показан предпочтительный вариант осуществления аппарата 1. Аппарат 1 выполнен с возможностью обжаривания кофейных зерен. В частности, аппарат 1 выполнен с возможностью превращения необжаренных кофейных зерен, например в форме зеленых кофейных зерен и/или высушенных кофейных зерен, в обжаренные кофейные зерна. В частности, обжаривание кофейных зерен преобразует химические и физические свойства необжаренных кофейных зерен для получения характерного аромата обжаренных кофейных зерен и, следовательно, кофейного напитка, приготовленного из таких обжаренных кофейных зерен. Таким образом, при обжаривании кофейных зерен создается характерный вкус обжаренных кофейных зерен, например посредством реакции Майяра и других химических реакций. Поэтому процесс обжаривания кофейных зерен предшествует другим процессам, необходимым для приготовления кофейного напитка, таким как помол и/или заваривание кофе.
Аппарат 1, показанный в качестве примера на фигурах, выполнен с возможностью обжаривания кофе в малых масштабах и, таким образом, в частности, не является крупномасштабным (промышленным) аппаратом или устройством для обжаривания. Таким образом, аппарат 1 наиболее подходит для использования бизнесом, рассчитанным на клиента (например, кафе) и/или потребителя, который, как правило, является потребителем кофейного напитка. Таким образом, аппарат 1 предпочтительно представляет собой бытовой электроприбор. По существу, аппарат 1 можно использовать в домашнем хозяйстве или на кухне, в частности на поверхности стола, например рядом или (функционально) объединенным с кофемолкой и/или устройством для приготовления напитков. Поэтому аппарат 1 предпочтительно имеет размер и вес, которые позволяют переносить его одним человеком, в частности, без необходимости в специальном транспортном механизме.
Аппарат 1 содержит камеру 10, выполненную с возможностью приема кофейных зерен для обжаривания. Например, камера 10 ограничена нижней частью 11, верхней частью 12 и боковой стенкой 13, проходящей от нижней части 11 к верхней части 12. Таким образом, когда кофейные зерна размещаются в камере 10, они предпочтительно попадают на нижнюю часть 11 и по меньшей мере частично контактируют с боковой стенкой 13. Конструкция камеры 10 обеспечивает, в частности, нагрев и/или воздействие нагретого воздуха на (необжаренные) кофейные зерна для обжаривания кофейных зерен; например нижняя часть 11 и/или боковая стенка 13 выполнены из материала с относительно высокой теплопроводностью, например материала, содержащего или состоящего из металла. Нижняя часть 11 и/или боковая стенка 13 могут содержать множество отверстий, которые способствуют тому, чтобы тепло и/или поток воздуха (для нагрева и/или охлаждения) могли протекать в камеру 10 для соответствующей обработки кофейных зерен.
Верхняя часть 12 предпочтительно образована дистальным концом боковой стенки 13 и/или может быть расположена напротив нижней части 11. Например, верхняя часть 12 может проходить в некоторой плоскости. Верхняя часть 12 может содержать или представлять собой отверстие для доступа к камере 10. Таким образом, через верхнюю часть 12 кофейные зерна могут быть удалены из камеры 10 и/или помещены в камеру 10, т.е. камера 10 может быть заполнена кофейными зернами через верхнюю часть 12. Дополнительно или альтернативно камера 10 может быть заполнена кофейными зернами, например, через отверстие, расположенное в боковой стенке 13 и/или в нижней части 11. Например, аппарат 1 может быть выполнен с возможностью функционального соединения с бункером, который содержит необжаренные кофейные зерна, т.е. зеленые и/или высушенные кофейные зерна. Затем необжаренные кофейные зерна могут перемещаться из бункера, например, через указанное отверстие, в камеру 10 для размещения в камере 10 для обжаривания. Например, бункер может быть расположен таким образом, что необжаренные кофейные зерна перемещаются из бункера в камеру 10 только под действием силы тяжести.
Камера 10 может быть прикреплена к аппарату 1 с возможностью отсоединения, например, за счет конфигурации и/или фрикционной посадки. Например, аппарат 1 содержит приемный отсек, который содержит камеру 10 таким образом, что камера 10 прикреплена с возможностью отсоединения к аппарату 1. Например, приемный отсек может содержать ручку для ручного манипулирования приемным отсеком и, следовательно, камерой 10, например, чтобы отсоединять камеру 10 от аппарата 1 и/или прикреплять камеру 10 к аппарату 1.
Как видно из, в частности, фиг. 1, аппарат 1 может содержать корпус 20 для размещения по меньшей мере камеры 10. Например, корпус 20 имеет основание 21 и верхнюю часть 22, причем камера 10 расположена таким образом, что верхняя часть 12 (камеры 10) расположена в верхней части 22 корпуса 20 или представляет собой ее. Таким образом, верхняя часть 12 предпочтительно расположена вровень с верхней частью 22, которая предпочтительно образована дистальным концом корпуса 20. Корпус 20 может также содержать боковую стенку 23, которая проходит от нижней части 21 к верхней части 22 и предпочтительно окружает камеру 10. Корпус 20 не ограничивается конкретной формой. Корпус 20 может иметь асимметричную или симметричную форму. Например, корпус 20 имеет, по существу, форму цилиндра или (усеченного) конуса.
Как видно из фиг. 1, корпус 20 может быть сегментирован, т.е. обеспечен в нескольких частях. Например, корпус 20 содержит нижнюю часть 24 и верхнюю часть 25. Верхняя часть 25 предпочтительно прикреплена с возможностью отсоединения к нижней части 24, например, за счет конфигурации и/или фрикционной посадки. Верхняя часть 25 предпочтительно вмещает по меньшей мере часть камеры 10 и/или содержит верхнюю часть 22. Например, верхняя часть 25 и камера 10 расположены концентрически. Нижняя часть 24 может вмещать по меньшей мере часть камеры 10 и/или может содержать нижнюю часть 21 корпуса 20. Нижняя часть 24 может содержать компоненты для обжаривания кофейных зерен в камере, например устройство (генерации воздуха) и/или нагреватель (см. ниже); т.е. нижняя часть 24 может представлять собой обжарочную машину. Нижняя часть 24 и верхняя часть 25 могут иметь одинаковое поперечное сечение. Таким образом, нижняя часть 24 и верхняя часть 25 могут образовывать, например, геометрическую (симметричную) форму, такую как цилиндр, когда части 24, 25 собраны вместе. Корпус 20, в частности боковая стенка 23, может содержать множество вентиляционных отверстий, например, равномерно распределенных по боковой стенке 23. Вентиляционные отверстия способствуют охлаждению компонентов, которые размещены в корпусе 20. Таким образом, вентиляционные отверстия особенно способствуют переносу тепла от камеры 10 таким образом, что камера 10 охлаждается. Предпочтительно нижняя часть 24 корпуса образует нижнюю или опорную часть аппарата 1. Таким образом, нижняя часть 24 может быть выполнена таким образом, что аппарат 1 может быть размещен на поверхности (столешнице и т.п.) и/или расположен относительно устройства для приготовления напитков или на нем. Предпочтительно нижняя часть 21 выполнена с возможностью размещения на поверхности, например столешнице, и/или может быть выполнена с возможностью установки (например, прикрепления, например, за счет конфигурации и/или фрикционной посадки) к или на дополнительном аппарате, например мельнице и/или устройстве для приготовления напитков.
Аппарат 1 дополнительно содержит устройство (не показано) для создания потока воздуха внутри камеры 10, чтобы обжаривать и/или охлаждать кофейные зерна, размещенные в камере 10. В частности, устройство может представлять собой вентилятор, и/или устройство может быть выполнено с возможностью использования технологии псевдоожиженного слоя для создания потока воздуха внутри камеры 10. Например, кофейные зерна перемешиваются потоком воздуха таким образом, что кофейные зерна перемещаются по направлению к боковой стенке 13 и вдоль нее, необязательно к верхней части 12 камеры. Перемешивание кофейных зерен в камере 10 может давать преимущество, в частности для улучшения обжаривания и/или охлаждения кофейных зерен. Устройство может быть выполнено с возможностью создания нагретого потока воздуха для обжаривания кофейных зерен, размещенных в камере 10. Например, аппарат 1 или устройство (создающее поток воздуха) могут дополнительно содержать нагреватель, который нагревает (свежий) воздух, причем устройство перемещает или нагнетает нагретый воздух в камеру 10. При этом поток (горячего) воздуха входит в контакт с кофейными зернами и, таким образом, вызывает химические и/или физические реакции для обжаривания кофейных зерен. Дополнительно или альтернативно устройство может быть выполнено с возможностью создания потока воздуха для охлаждения (уже обжаренных) кофейных зерен, размещенных в камере 10. Например, для охлаждения кофейных зерен поток воздуха, создаваемый устройством, не нагревается (например, путем простого управления нагревателем, подлежащим деактивации или выключению), так что, например, только (свежий) воздух, например окружающий воздух, нагнетается в камеру 10.
Расположение устройства не ограничивается конкретным положением при условии, что устройство может создавать поток воздуха в камере 10. Например, нижняя часть 11 может содержать впускное отверстие для воздуха, например в форме (одиночного) отверстия или множества отверстий. Кроме того, устройство может быть расположено таким образом, что поток воздуха, создаваемый устройством, протекает от устройства через впускное отверстие для воздуха и в камеру 10, тем самым создавая поток воздуха внутри камеры 10. Таким образом, нижняя часть 11 может быть расположена между камерой 10 с одной стороны, и устройством, и необязательно нагревателем с другой стороны. Впускное отверстие для воздуха предпочтительно не расположено на том же уровне, что и дистальный конец боковой стенки 13, т.е. впускное отверстие для воздуха может быть предусмотрено в части нижней части 11, которая смещена в направлении от камеры 10, например предусмотрено в углублении нижней части 11. Если выпускной порт 30 предусмотрен в нижней части 11, т.е. когда расстояние между выпускным портом 30 и нижней частью 11, по существу, отсутствует, выпускной порт 30 может быть предусмотрен на некотором расстоянии от впускного отверстия для воздуха. Другими словами, выпускной порт 30 может быть расположен над впускным отверстием для (горячего) воздуха. Предпочтительно в корпусе 20, например в нижней части 24 (корпуса), размещены устройство и/или нагреватель. В других примерах устройство и/или нагреватель также могут размещаться в верхней части 25 (корпуса).
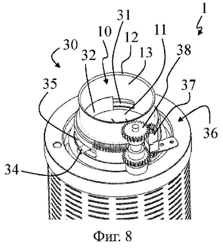
Согласно изобретению, боковая стенка 13 содержит выпускной порт 30. Как видно на фиг. 2–9, выпускной порт 30 выполнен с возможностью избирательного перемещения между закрытым положением (см., например, фиг. 2 и 3) и открытым положением (см., например, фиг. 4–6 и 8). Например, выпускной порт 30 содержит отверстие 31 и закрывающий элемент 32 таким образом, что закрывающий элемент 32 избирательно (полностью) закрывает или (по меньшей мере частично) открывает отверстие 31. Таким образом, когда закрывающий элемент 32 (полностью) закрывает отверстие 31, выпускной порт 30 предпочтительно находится в закрытом положении, тогда как если закрывающий элемент 32 (по меньшей мере частично) не закрывает отверстие 31, выпускной порт 30 предпочтительно находится в открытом положении. Отверстие 31 может быть расположено на боковой стенке 13 или образовано в ней, т.е. может представлять собой отверстие, проходящее через боковую стенку 13. Закрывающий элемент 32 может быть расположен на боковой стенке 13 или может быть также расположен отдельно относительно боковой стенки 13. Как видно из фиг. 2–9, закрывающий элемент 32 может быть расположен в камере 10, например на поверхности боковой стенки 13, направленной внутрь камеры 10. В других примерах закрывающий элемент 32 также может быть расположен снаружи камеры 10, например на поверхности боковой стенки 13, обращенной наружу от камеры 10.
В закрытом положении кофейные зерна, которые перемешиваются потоком воздуха, не могут выходить из камеры 10 через выпускной порт 30. Например, движущиеся или перемешивающиеся кофейные зерна не могут продвигаться через выпускной порт 30, поскольку закрывающий элемент 32 закрывает отверстие 31. В таком случае кофейные зерна могут вступать в контакт с закрывающим элементом 32, однако не могут выходить из камеры 10 через отверстие 31. Таким образом, в закрытом положении поток воздуха, создаваемый устройством, может обжаривать и/или охлаждать кофейные зерна, размещенные в камере 10.
В открытом положении выпускного порта 30 кофейные зерна, размещенные в камере 10, могут продвигаться потоком воздуха, создаваемым устройством, через выпускной порт 30 для выгрузки таким образом из камеры 10, в частности, в направлении от аппарата 1. Когда выпускной порт 30 находится в открытом положении, выпускной порт 30 выполнен таким образом, что одно или более кофейных зерен могут быть выгружены через выпускной порт 30 одновременно. Как можно видеть, например, на фиг. 4, закрывающий элемент 32 по меньшей мере частично закрывает отверстие 31 для выгрузки кофейных зерен из камеры 10. В таком случае отверстие 31 и закрывающий элемент 32 могут образовывать отверстие, которое может быть меньше отверстия 31, так что одно или более кофейных зерен могут быть выгружены через указанное отверстие одновременно; таким образом, это отверстие имеет по меньшей мере размер одного кофейного зерна. Предпочтительно в открытом положении закрывающий элемент 32 совсем не закрывает отверстие 31, так что вся протяженность отверстия 31 может быть использована для выгрузки кофейных зерен из камеры 10. Как видно из, например, фиг. 5, закрывающий элемент 32 может только частично закрывать отверстие 31 в открытом положении, так что отверстие 31 открыто лишь наполовину.
Таким образом, кофейные зерна, выгруженные из камеры 10 через выпускной порт 30, перемещаются в направлении от камеры 10, в частности от боковой стенки 13. Выгруженные таким образом кофейные зерна теперь можно использовать для дальнейшей обработки, например в специальной емкости, и/или для помола и/или приготовления кофейного напитка, например посредством экстракции кофе. Например, кофейные зерна, выгруженные из камеры 10, направляются в канал или трубку 33, выполненную с возможностью направления кофейных зерен для дальнейшей обработки. Канал 33 может направлять кофейные зерна в положение, отличное от положения камеры 10, например наружу аппарата 1, предпочтительно для обработки в дополнительном аппарате, например мельнице для помола кофейных зерен и/или устройстве для приготовления напитков для приготовления напитков из кофейных зерен или из молотого кофе, полученного из кофейных зерен. Канал 33 может быть расположен на расстоянии от выпускного порта 30 или может быть непосредственно соединен с выпускным портом 30, например непосредственно соединенным с отверстием 31. Канал 33 может проходить через корпус 20, например через верхнюю часть 25 корпуса. Например, канал 33 может проходить от внутренней части корпуса 20, в которой расположена камера 10, до наружной части корпуса 20. Канал 33 может иметь любую конструкцию или форму, которая подходит для направления выгруженных кофейных зерен, например конструкцию или форму сопла, наклонного лотка, желоба, потокопровода, трубки или шланга.
Кофейные зерна могут быть выгружены из камеры 10 в направлении, которое пересекает или не пересекает боковую стенку 13. Предпочтительно кофейные зерна выгружаются из камеры 10 через выпускной порт 30 в направлении, которое, по существу, тангенциально относительно боковой стенки 13 и/или протяженности выпускного порта 30, например отверстия 31. Направление выгрузки кофейных зерен через выпускной порт 30 и, следовательно, из камеры 10 может определяться направлением потока воздуха, создаваемого (генерирующим воздух) устройством и/или боковой стенкой 13. Предпочтительно боковая стенка 13, соответственно, выполнена с возможностью упрощения обеспечивающей преимущество выгрузки кофейных зерен через выпускной порт 30. Например, по меньшей мере поперечное сечение боковой стенки 13 (т.е. поверхность боковой стенки 13, направленная к внутренней части камеры 10, также называемой «внутренней поверхностью»), которая содержит выпускной порт 30, имеет по меньшей мере частично круглую или эллиптическую форму. Предпочтительно все поперечное сечение имеет форму замкнутого круга или эллипса. Благодаря поперечному сечению, имеющему по меньшей мере частично круглую или эллиптическую форму, кофейные зерна, которые находятся в контакте с боковой стенкой 13, могут плавно перемещаться вдоль боковой стенки 13 для последующей выгрузки через выпускной порт 30. Соответственно, кофейные зерна могут быть, в частности, выгружены через выпускной порт 30 в направлении, тангенциальном к круглой или эллиптической форме. Предпочтительно боковая стенка 13, по меньшей мере внутренняя поверхность боковой стенки 13, имеет одинаковые поперечные сечения вдоль (симметричной) оси камеры 10.
Выпускной порт 30 может быть расположен ближе к нижней части 11, чем к верхней части 12 камеры 10, как можно видеть, например, на фиг. 8. В наиболее предпочтительном примере выпускной порт 30 расположен рядом с нижней частью 11 или даже в ней. Если выпускной порт 30 содержит отверстие 31, нижний боковой край отверстия 31, соответственно, может быть определен нижней частью 11. Предпочтительным является размещение выпускного порта 30 вблизи нижней части 11, поскольку тогда устройству не требуется много энергии для создания потока воздуха, который может продвигать соответствующие кофейные зерна вдоль длинного вертикального направления для выгрузки кофейных зерен из камеры 10; иными словами, не требуется использовать много потенциальной энергии для выгрузки кофейных зерен из камеры 10. Как правило, выпускной порт 30 может быть выполнен с возможностью расположения на некотором расстоянии от нижней части 11. Расстояние может быть измерено от нижней части 11 до нижнего бокового края выпускного порта 30, через боковой край которого перемещаются кофейные зерна для выгрузки кофейных зерен из камеры 10; например, нижний боковой край может представлять собой нижний боковой край отверстия 31. Расстояние может находиться в диапазоне от 0%, или 5%, или 10%, или 20%, или 30%, или 40%, или 50%, или 60%, или 70% высоты камеры 10 до 5%, или 10%, или 20%, или 30%, или 40%, или 50%, или 60%, или 70%, или 80% высоты камеры 10, причем высоту камеры 10 (измеряют) от нижней части 11 до верхней части 12 камеры 10.
Отверстие 31 может иметь удлиненную форму, такую как форма прорези. По существу, отверстие 31 тем не менее не ограничивается конкретной формой, при условии, что одно или более кофейных зерен могут быть выгружены через отверстие 31 одновременно. Например, отверстие 31 может также иметь круглую, эллиптическую, многоугольную, квадратную и/или прямоугольную форму. Отверстие 31 может, в частности, проходить вдоль окружности боковой стенки 13. Таким образом, отверстие 31 может проходить по направлению окружности. Закрывающий элемент 32 может иметь по меньшей мере размер отверстия 31, так что, в частности, закрывающий элемент 32 может надлежащим образом закрывать отверстие 31. Например, форма закрывающего элемента 32 соответствует форме отверстия 31, так что закрывающий элемент 32 может, например, иметь круглую форму. Закрывающий элемент 32 может также иметь удлиненную форму. Закрывающий элемент 32 может быть изготовлен из (удлиненного) куска материала, например имеющего прямоугольную форму. Кусок материала может представлять собой лист, например лист металла. Кусок материала может быть сформован или изогнут для соответствия отверстию 31. Например, закрывающий элемент 32 может представлять собой створку, проем или дверцу и/или может иметь тонкую структуру.
Выпускной порт 30 может быть выполнен с возможностью перемещения путем скольжения, чтобы перемещать выпускной порт 30 между закрытым положением и открытым положением. Выпускной порт 30 может быть расположен таким образом, что при работе или перемещении выпускного порта 30 со скользящим движением, например определяемым скользящим элементом, имеющим только одну степень свободы, а именно скользящее перемещение, выпускной порт перемещается между закрытым положением и открытым положением. Например, закрывающий элемент 32 расположен на боковой стенке 13 таким образом, что закрывающий элемент 32 может скользить относительно боковой стенки 13, чтобы таким образом избирательно закрывать или не закрывать отверстие 31. Дополнительно или альтернативно выпускной порт 30 может быть выполнен с возможностью перемещения путем поворота, чтобы перемещать выпускной порт 30 между закрытым положением и открытым положением. Например, отверстие 31 и/или закрывающий элемент 32 могут быть выполнены с возможностью перемещения путем поворота (т.е. с возможностью вращения) вокруг конкретной оси перемещения. Предпочтительно ось перемещения проходит в вертикальном направлении или в горизонтальном направлении. Ось перемещения может представлять собой, например, симметричную ось камеры 10.
Отверстие 31, то есть боковая стенка 13, содержащая отверстие 31, и закрывающий элемент 32 могут быть выполнены с возможностью относительного перемещения друг к другу, чтобы перемещать выпускной порт 30 между закрытым положением и открытым положением. Например, одно из отверстия 31 (т.е. боковой стенки 13) и закрывающего элемента 32 остается неподвижным (относительно аппарата 1), причем соответствующее другое из отверстия 31 и закрывающего элемента 32 перемещается. В другом примере, как отверстие 31, так и закрывающий элемент 32 перемещаются, чтобы перемещаться относительно друг друга. Таким образом, в частности, боковая стенка 13 может быть выполнена с возможностью перемещения, например с возможностью перемещения путем поворота, чтобы перемещать выпускной порт 30 между закрытым положением и открытым положением. Соответственно, боковая стенка 13 может быть установлена с возможностью перемещения, например с возможностью перемещения путем поворота. Боковая стенка 13 может быть установлена с возможностью перемещения на корпусе 20, например на нижней части 24 корпуса.
Выпускной порт 30 может быть выполнен с возможностью перемещения вручную между закрытым положением и открытым положением. Другими словами, выпускной порт 30 предпочтительно выполнен таким образом, что выпускной порт 30 может быть перемещен между закрытым положением и открытым положением только мышечной силой (руки) пользователя аппарата 1. Например, выпускной порт 30 содержит управляющий элемент для перемещения вручную выпускного порта 30 между закрытым положением и открытым положением. Управляющий элемент может представлять собой, например, выступ 34. Выступ 34 может быть расположен на закрывающем элементе 32, например выполнен за одно целое с ним. Например, закрывающий элемент 32 расположен таким образом, что управляющий элемент, например в форме выступа 34, проходит через отверстие 31 или дополнительное отверстие 35 (проходящее через боковую стенку 13) наружу относительно камеры 10. Таким образом, управляющий элемент, соответственно выступ 34, также может быть использован в качестве стопора для ограничения относительного перемещения между отверстием 31 и закрывающим элементом 32.
Дополнительно или альтернативно аппарат 1 может содержать приводной блок 36 (например, привод двигателя) для перемещения выпускного порта 30 между закрытым положением и открытым положением. Приводной блок 36 может содержать (электрический) двигатель 37 и/или зубчатую передачу 38, причем зубчатая передача 38 выполнена с возможностью передачи питания от двигателя 37 к выпускному порту 30 для перемещения выпускного порта 30 между закрытым положением и открытым положением. Например, приводной блок 36 перемещает закрывающий элемент 32, чтобы закрыть или не закрывать отверстие 31, чтобы соответствующим образом перемещать выпускной порт 30 между закрытым положением и открытым положением. В примере показанного предпочтительного варианта осуществления аппарата 1, как видно, например, на фиг. 8, приводной блок 36 выполнен с возможностью передачи питания к боковой стенке 13 (например, к наружной поверхности боковой стенки 13), тем самым перемещая боковую стенку 13, чтобы перемещать выпускной порт 30 между открытым положением и закрытым положением. Например, приводной блок 36 входит в зацепление, например посредством зубчатой передачи 38, с боковой стенкой 13 таким образом, что (вращательное) движение приводного блока 36 приводит в движение боковую стенку 13 для совершения (вращательного) движения, чтобы тем самым перемещать выпускной порт 30 между закрытым положением и открытым положением. Зубчатая передача 38 приводного блока 36 может содержать одну или более шестерен, которые с одной стороны входят в зацепление с зубьями, расположенными на боковой стенке 13, и которые с другой стороны входят в зацепление с двигателем 37 приводного блока 36.
Расположение приводного блока 36 не ограничивается конкретным положением. Предпочтительно приводной блок 36 расположен в корпусе 20, например в нижней части 24 и/или в верхней части 25. Приводной блок 36 предпочтительно не расположен в камере 10. Например, приводной блок 36 расположен между боковой стенкой 13 и боковой стенкой корпуса 20, например боковой стенкой 23.
Аппарат 1 может также содержать блок управления (не показан) для соответствующего управления обжариванием кофейных зерен, например в соответствии с управляющей программой, которая включает в себя, в частности, предварительно заданный профиль обжаривания и/или температуры. Блок управления может быть, в частности, выполнен с возможностью переключения аппарата 1 между режимом обжаривания и режимом выгрузки. В режиме обжаривания выпускной порт 30 находится в закрытом положении, и/или аппарат 1 выполнен с возможностью обжаривания кофейных зерен, размещенных в камере 10, например, путем соответствующего управления (генерирующим поток воздуха) устройством для создания нагретого потока воздуха внутри камеры 10. Например, блок управления управляет как устройством, так и нагревателем или активирует их, чтобы обеспечить нагретый поток воздуха внутри камеры 10. Поэтому блок управления, в частности, функционально связан с устройством и/или нагревателем.
Блок управления может быть выполнен таким образом, что аппарат 1 остается в режиме обжаривания с учетом предварительно заданной программы (или профиля) обжаривания, которая может храниться в блоке управления. Предварительно заданная программа обжаривания может включать в себя, например, параметры процесса обжаривания кофейных зерен, размещенных в камере 10. Параметры процесса могут включать в себя температуру, скорость и/или давление (нагретого) потока воздуха и/или конкретное (общее) время обжаривания и/или охлаждения кофейных зерен. Например, блок управления может быть выполнен таким образом, что по истечении определенного времени блок управления автоматически переключает аппарат 1 в режим выгрузки. Когда блок управления переключает аппарат 1 в режим выгрузки, блок управления может управлять только выпускным портом 30 для перемещения в открытом положении. Таким образом, блок управления может быть функционально связан с выпускным портом 30, в частности с его приводным блоком 36, чтобы соответствующим образом управлять выпускным портом 30 для перемещения между закрытым положением и открытым положением. Блоком управления может также управлять пользователь, например, посредством пользовательского интерфейса, описанного ниже, для (ручного) переключения между режимом обжаривания и режимом выгрузки.
Таким образом, в режиме выгрузки аппарат 1 выполнен с возможностью использования потока воздуха, создаваемого устройством, для продвижения кофейных зерен через выпускной порт 30 для выгрузки из камеры 10. Блок управления может быть выполнен с возможностью управления нагревателем в режиме выгрузки для его выключения или деактивации. Блок управления может быть выполнен таким образом, что аппарат 1 остается в режиме выгрузки до тех пор, пока блок управления не получит сигнал для выхода из режима выгрузки, например для переключения в режим обжаривания. Например, сигнал может представлять собой пользовательский входной сигнал, например принятый от пользовательского интерфейса. Блок управления может также быть выполнен с возможностью переключения аппарата 1 на различные режимы, такие как режим охлаждения, в котором выпускной порт 30 находится в закрытом положении, а управление нагревателем обеспечивает его выключение или деактивацию. Блок управления может быть расположен в корпусе 20, например в нижней части 24 и/или в верхней части 25.
Как показано в качестве примера на фиг. 13, аппарат 1 может содержать пользовательский интерфейс 60. Пользовательский интерфейс 60 обеспечивает пользователю аппарата 1 возможность соответствующего управления аппаратом 1, в частности для обжаривания и/или выгрузки кофейных зерен, т.е., в частности, для перемещения выпускного порта 30 между закрытым положением и открытым положением. Пользовательский интерфейс 60 предпочтительно функционально связан с блоком управления таким образом, что блок управления может принимать пользовательские входные данные или сигналы от пользовательского интерфейса 60, например для переключения между режимом обжаривания и режимом выгрузки. Пользовательский интерфейс 60 может содержать один или более (например, только четыре) элементов 61 управления, например в виде одной или более кнопок или других сенсорных элементов (сенсорный экран и т.д.) для управления аппаратом 1. Например, один или более элементов 61 управления содержат элемент управления для запуска процесса обжаривания, т.е. для переключения в режим обжаривания, а также элемент управления для остановки процесса обжаривания, например для переключения в режим охлаждения и/или режим выгрузки. Элементы 61 управления могут также включать в себя элемент управления для включения (и выключения) аппарата 1 (например, элемент управления, действующий по принципу «включено/выключено»). Пользовательский интерфейс предпочтительно расположен на стороне пользователя аппарата 1. Сторона пользователя аппарата 1 предпочтительно представляет собой переднюю сторону аппарата 1 и/или сторону аппарата 1, на которой кофейные зерна выгружаются из камеры 10.
Аппарат 1 может дополнительно содержать вход питания, например, в виде разъема электропитания. Посредством входа питания на части аппарата 1, требующие энергии, например электрической энергии (напряжение и/или ток), может быть подана энергия. Эти части представляют собой, в частности, устройство, нагреватель, приводной блок 36, блок управления и/или пользовательский интерфейс 60. Разъем питания может быть предусмотрен на задней стороне аппарата 1 и/или на корпусе 20, например на нижней части 24 или на верхней части 25. Задняя сторона аппарата 1 может представлять собой сторону аппарата 1, противоположную стороне пользователя.
Как можно видеть, в частности, на фиг. 10 и 11, верхняя часть 12 может содержать выпускное отверстие 14, которое выполнено с возможностью избирательного перемещения между закрытым положением и открытым положением. В открытом положении выпускное отверстие 14 позволяет (горячему или холодному) воздуху и/или кофейной шелухе (также называемой «полова») выгружаться из камеры 10. Необжаренные кофейные зерна обычно имеют (зеленую и/или высушенную) оболочку, в частности при начальном сборе с кофейного дерева. Шелуха также может называться кожурой кофейного зерна. При обжаривании кофейных зерен эта оболочка отделяется от кофейных зерен и таким образом остается в качестве шелухи. Таким образом, в частности, высокая температура обжаривания позволяет легко удалять шелуху с кофейных зерен без необходимости дополнительной обработки. Поскольку желательно, чтобы эта шелуха обжаренных таким образом кофейных зерен не оставалась с обжаренными кофейными зернами, поскольку, например, потребитель не желает, чтобы шелуха попадала в мельницу и/или устройство для приготовления напитков, и, следовательно, в кофейный напиток, шелуху предпочтительно выгружают из камеры 10 и собирают, например, вне аппарата 1. Таким образом, в готовом продукте, то есть в обжаренных кофейных зернах, шелухи не останется.
Таким образом, поток воздуха, создаваемый устройством, продвигает воздух и/или шелуху к верхней части 12 для последующей выгрузки через выпускное отверстие 14 и, таким образом, выгрузки из камеры 10. Выпускное отверстие 14 может представлять собой диафрагму. Выпускное отверстие 14 может содержать подвижный элемент 15 и одно или более отверстий 16, причем подвижный элемент 15 и одно или более отверстий 16 выполнены с возможностью перемещения относительно друг друга для перемещения выпускного отверстия 14 между закрытым положением и открытым положением. Например, элемент 15 перемещается относительно (неподвижного) отверстия 16. Элемент 15 может быть выполнен с возможностью вращательного перемещения относительно отверстия 16. Кроме того, в закрытом положении элемент 15 предпочтительно (полностью) закрывает отверстие 16, причем в открытом положении элемент 15 по меньшей мере частично не закрывает отверстие 16, что позволяет отводить воздух и/или выгружать шелуху из камеры 10. В закрытом положении, по существу, отсутствует поток воздуха или по меньшей мере присутствует уменьшенное количество воздуха, проходящего через выпускное отверстие 14. Таким образом, весь поток воздуха или по меньшей мере увеличенная его часть, создаваемая устройством, может быть использована, например, для продвижения кофейных зерен, подлежащих выгрузке из камеры 10. Предпочтительно одно или более отверстий 16 расположены или образованы в верхней части 22 корпуса 20. Элемент 15 может быть подвижно установлен на корпусе 20 или верхней части 25 корпуса, например в верхней части 22.
Выпускное отверстие 14 предпочтительно функционально связано с блоком управления таким образом, что блок управления может (автоматически) управлять выпускным отверстием 14 для его перевода между закрытым положением и открытым положением. Например, блок управления может быть выполнен таким образом, что (только) в режиме обжаривания выпускное отверстие 14 перемещается в открытое положение. Дополнительно или альтернативно блок управления может быть выполнен таким образом, что (только) в режиме выгрузки выпускное отверстие 14 находится в закрытом положении. Дополнительно или альтернативно выпускное отверстие 14 может быть выполнено с возможностью управления вручную для перемещения между закрытым и открытым положением.
Как можно видеть на фиг. 12, аппарат 1 может дополнительно содержать коллектор 50 для шелухи для сбора шелухи от кофейных зерен, обжариваемых в камере 10. Коллектор 50 для шелухи предпочтительно выполнен таким образом, что шелуха поступает из камеры 10 через выпускное отверстие 14 в коллектор 50 для шелухи и собирается в коллекторе 50 для шелухи. Коллектор 50 для шелухи может содержать отделение, в котором собирается шелуха и предотвращается ее возврат в камеру 10. Например, коллектор 50 для шелухи может содержать впускное отверстие, которое обеспечивает только однонаправленный поток шелухи таким образом, что шелуха собирается в коллекторе 50 для шелухи; следовательно, впускное отверстие может обеспечивать поток шелухи 50 в отделение, но предотвращает поток шелухи из отделения, в частности к камере 10. Чтобы обеспечить особенно хороший сбор шелухи коллектором 50 для шелухи, коллектор 50 для шелухи и устройство могут быть соответственно расположены относительно друг друга. Например, устройство может быть выполнено с возможностью направления шелухи от кофейных зерен потоком воздуха, создаваемым устройством, к коллектору 50 для шелухи таким образом, что шелуха собирается в коллекторе 50 для шелухи.
Коллектор 50 для шелухи может быть выполнен с возможностью избирательного открытия коллектора 50 для шелухи или, при наличии, отделения с целью удаления или иного использования собранной шелухи. Коллектор 50 для шелухи может быть выполнен с возможностью отсоединения таким образом, что коллектор 50 для шелухи можно отсоединять от аппарата 1, например, для того, чтобы легко удалить шелуху. Например, коллектор 50 для шелухи установлен с возможностью отсоединения на корпусе 20 (например, на верхней части 22 корпуса 20), например за счет конфигурации, и/или фрикционной посадки, или соответствующим образом сконструированного крепежного элемента. Таким образом, коллектор 50 для шелухи может образовывать верхнюю часть аппарата 1.
На фиг. 14–16 представлен пример системы 100 в соответствии с предпочтительным вариантом осуществления изобретения. Система 100 содержит аппарат 1, как описано выше, и дополнительный аппарат, который в этом предпочтительном варианте осуществления представляет собой устройство 101 для приготовления напитков, например (полностью) автоматическое устройство для приготовления напитков. Аппарат 1 функционально связан с устройством 101 для приготовления напитков таким образом, что устройство 101 для приготовления напитков может обрабатывать кофейные зерна, которые выгружаются из аппарата 1 через выпускной порт 30. Таким образом, устройство 101 для приготовления напитков готовит напиток из выгруженных кофейных зерен. В других примерах дополнительный аппарат может также представлять собой другой аппарат для обработки выгруженных кофейных зерен, например мельницу для помола кофейных зерен.
Аппарат 1 функционально связан с устройством 101 для приготовления напитков таким образом, что кофейные зерна, выгруженные из камеры 10, могут перемещаться в устройство 101 для приготовления напитков с потоком воздуха, создаваемым (генерирующим поток воздуха) устройством в аппарате 1. Таким образом, кофейные зерна могут непосредственно перемещаться из аппарата 1 через устройство 101 для приготовления напитков, в частности без каких-либо дополнительных манипуляций с кофейными зернами. Например, аппарат 1 содержит канал 33, благодаря чему кофейные зерна по меньшей мере перемещаются вдоль канала 33 для перемещения из аппарата 1 в устройство 101 для приготовления напитков с целью дальнейшей обработки (обжаренных) кофейных зерен. Как видно из, в частности, фиг. 16, канал 33 может быть соединен с бункером 102 (например, выполненным в форме вытяжной трубы) таким образом, что обжаренные кофейные зерна, проходящие по каналу 33, выгружаются из канала 33 для наполнения бункера 102. Бункер 102 может быть выполнен за одно целое с устройством 101 для приготовления напитков и/или бункер 102 может быть выполнен с возможностью отсоединения относительно или от устройства 101 для приготовления напитков. Бункер 102 и/или соединение между каналом 33 и бункером 102 предпочтительно герметизированы, так что, по существу, воздух не попадает в бункер 102 и не входит в контакт с обжаренными кофейными зернами, загруженными в бункер 102. Таким образом, обжаренные кофейные зерна, загруженные в бункер 102, могут сохранять свежую обжарку в течение относительно длительного времени.
Устройство 101 для приготовления напитков предпочтительно содержит мельницу для помола кофейных зерен, выгруженных из аппарата 1. Например, кофемолка расположена таким образом, что бункер 102 загружает кофемолку, например путем перемещения кофейных зерен из бункера 102 в мельницу под действием силы тяжести. Таким образом, мельница осуществляет помол кофейных зерен до молотого кофе, из которого устройство 101 для приготовления напитков может затем готовить кофейный напиток. Например, устройство 101 для приготовления напитков дополнительно содержит один или более модулей приготовления напитка, таких как бак для воды, водяной насос и/или нагреватель, для приготовления кофейного напитка из обжаренных кофейных зерен, т.е. из молотого кофе. Как видно из фиг. 14, устройство 101 для приготовления напитков может содержать сторону 103 выдачи напитка для выдачи кофейного напитка. Сторона 103 выдачи содержит, например, выпускной патрубок 104 для выдачи кофейного напитка и/или подставку или лоток 105, куда можно помещать кофейную чашку таким образом, чтобы кофейная чашка наполнялась кофейным напитком, выдаваемым из устройства 101, например из выпускного патрубка 104.
Устройство 101 для приготовления напитков содержит корпус 106. В корпусе 106 может быть расположена по меньшей мере часть модулей приготовления напитка. Корпус 106 имеет нижнюю часть 107 и верхнюю часть 108. Нижняя часть 107 предпочтительно выполнена таким образом, что устройство 101 для приготовления напитков и, следовательно, система 100, могут быть размещены на некоторой поверхности, например столешнице, в доме или на кухне. Аппарат 1 предпочтительно расположен на верхней части 108 корпуса 106. Таким образом, аппарат 1 может быть очень эффективно расположен относительно устройства 101 для приготовления напитков.
Как видно из фиг. 14 и 16, аппарат 1 может содержать бункер 2 (например, приемную камеру для (зерен) кофе и/или в форме цилиндра), выполненный с возможностью (герметичного) хранения необжаренных кофейных зерен. Бункер 2 соединен с камерой 10 таким образом, что кофейные зерна, хранящиеся в бункере 2, могут перемещаться в камеру 10 (для последующего обжаривания), например, только под действием силы тяжести. Например, кофейные зерна, хранящиеся в бункере 2, могут перемещаться в камеру 10 через порт (также называемый «загрузочным портом 3»), который выполнен с возможностью избирательного перемещения между закрытым положением и открытым положением. Таким образом, в открытом положении необжаренные кофейные зерна могут перемещаться из бункера 2 в камеру 10 через этот порт, тогда как в закрытом положении необжаренные кофейные зерна не могут перемещаться из бункера 2 в камеру 10. Этот порт может быть функционально связан с блоком управления таким образом, что блок управления может управлять этим портом для его перевода в закрытое положение или открытое положение. Например, блок управления управляет открытием этого порта перед переключением в режим обжаривания. Дополнительно или альтернативно данный порт может быть также выполнен с возможностью перемещения вручную, т.е. с применением мышечной силы, чтобы перемещать его в закрытое или открытое положение. При этом бункер 2 не требуется. Например, необжаренные кофейные зерна можно также непосредственно, т.е. вручную, засыпать в камеру 10.
Как можно видеть на фиг. 17, аппарат 1 может содержать механизм 17 для перемещения по меньшей мере выпускного порта 30 между закрытым положением и открытым положением. Механизм 17 содержит боковую стенку 13 и при этом предпочтительно частично ограничивает камеру 10. Нижняя часть 11 предпочтительно не является неотъемлемой частью механизма 17, таким образом, нижняя часть 11 предпочтительно предусмотрена отдельно от механизма 17. Механизм 17 предпочтительно выполнен с возможностью перемещения (например, с возможностью поворота), так что боковая стенка 13 также выполнена с возможностью перемещения. Таким образом, выпускной порт 30 может перемещаться между закрытым положением и открытым положением за счет перемещения механизма 17 и, следовательно, боковой стенки 13. На фиг. 17 также можно видеть, что механизм 17 может перемещаться приводным блоком 36, например приводным блоком 36, взаимодействующим с необязательными зубьями, расположенными на механизме 17 или боковой стенке 13. Чтобы перемещать выпускной порт 30 между закрытым положением и открытым положением с помощью механизма 17, боковая стенка 13, таким образом, предпочтительно содержит отверстие 31, чтобы тем самым также перемещать отверстие 31, например, относительно закрывающего элемента 32 (см. выше).
Таким образом, механизм 17 упрощает выгрузку кофейных зерен из камеры 10 через выпускной порт 30. Механизм 17 может также облегчать засыпку необжаренных кофейных зерен в камеру 10. Таким образом, механизм 17 может быть выполнен с возможностью (вращательного) перемещения в по меньшей мере первое положение и второе положение, причем в первом положении (только) выпускной порт 30 находится в открытом положении, и при этом во втором положении (только) загрузочный порт 3 (для кофейных зерен) (см. выше) находится в открытом положении. Таким образом, в первом положении загрузочный порт 3 предпочтительно находится в закрытом положении, а во втором положении выпускной порт 30 предпочтительно находится в закрытом положении. Во втором положении необжаренные кофейные зерна затем могут поступать в камеру 10 для последующего обжаривания. Необжаренные кофейные зерна предпочтительно (под действием силы тяжести) поступают из бункера 2 через загрузочный порт 3 в камеру 10. Загрузочный порт 3 может представлять собой или содержать отверстие (например, проем или паз), образованное или прорезанное в боковой стенке 13. Соответственно, в открытом положении загрузочного порта 3 это отверстие не закрыто, т.е. не перекрыто, так что необжаренные кофейные зерна можно засыпать в камеру 10 через загрузочный порт 3, при этом в закрытом положении отверстие закрыто, т.е. перекрыто, так что в камеру 10 невозможно засыпать необжаренные кофейные зерна через загрузочный порт 3.
Механизм 17 может быть выполнен с возможностью (например, вращательного) перемещения в положение (например, положение в дополнение к первому и второму положению, т.е. в третье положение), в котором шелуха кофейных зерен может продвигаться к коллектору 50 для шелухи для сбора в коллектор 50 для шелухи. Например, механизм 17 содержит один или более (например, только два) порта 51 для шелухи (например, расположенных по меньшей мере частично в боковой стенке 13), которые в указанном (третьем) положении обеспечивают возможность перемещения или продвижения (с помощью потока воздуха, создаваемого устройством) шелухи через порты 51 для шелухи к коллектору 50 для шелухи для сбора в коллектор 50 для шелухи. Таким образом, в этом положении (соответствующий) порт 51 для шелухи находится в открытом положении. В любом положении, отличном от этого (третьего) положения, например в первом и втором положении, порт 51 для шелухи предпочтительно находится в закрытом положении. Таким образом, в этом закрытом положении поток воздуха, протекающий через порт 51 для шелухи к коллектору 50 для шелухи, (значительно) уменьшен или перекрыт, так что поток воздуха преимущественно перенаправляется, например, для выгрузки кофейных зерен через выпускной порт 30 из камеры 10. В закрытом положении порта 51 для шелухи шелуха предпочтительно не может продвигаться из камеры 10 через порт 51 для шелухи к коллектору 50 для шелухи. В закрытом положении порта 51 для шелухи шелуха, собранная коллектором 50 для шелухи, не может перемещаться обратно в камеру 10 через порт 51 для шелухи. Порт 51 для шелухи может представлять собой или содержать отверстие (например, паз или проем), образованное или прорезанное в боковой стенке 13. При этом в открытом положении порта 51 для шелухи отверстие не закрыто, т.е. не перекрыто, так что поток воздуха и шелухи может протекать через отверстие к коллектору 50 для шелухи для сбора шелухи, причем в закрытом положении отверстие закрыто, т.е. перекрыто, так что поток воздуха и шелухи не может протекать через отверстие к коллектору 50 для шелухи для сбора шелухи.
Боковая стенка 13 может иметь поперечное сечение, которое содержит как загрузочный порт 3, так и порт 51 для шелухи. Другими словами, загрузочный порт 3 и порт 51 для шелухи могут быть расположены на, по существу, одной и той же высоте относительно высоты камеры 10, например в верхней части камеры 10. Выпускной порт 30 предпочтительно не расположен в поперечном сечении боковой стенки 13, которое содержит загрузочный порт 3 и/или порт 51 для шелухи. Другими словами, выпускной порт 30 с одной стороны и загрузочный порт 3 и/или порт 51 для шелухи с другой стороны могут быть расположены на разных высотах относительно высоты камеры 10, например выпускной порт 30 может быть расположен на более низкой высоте, чем загрузочный порт 3 и/или порт 51 для шелухи. Зубья механизма 17, которые взаимодействуют с приводным блоком 36, предпочтительно расположены между выпускным портом 30 и портом 51 для шелухи.
Таким образом, механизм 17 предпочтительно представляет собой механизм перенаправления, который может быть перемещен в разные положения, соответствующие различным состояниям аппарата 1 в действии, например состоянию засыпки кофе (для засыпки необжаренных кофейных зерен в камеру 10), состоянию обжаривания кофе (для сбора шелухи обжариваемых кофейных зерен) и состоянию выгрузки или выпуска кофе (для выгрузки обжаренных таким образом кофейных зерен). Преимуществом является то, что механизм 17 обеспечивает перенаправление потока воздуха, создаваемого устройством, в частности, для конкретной функции соответствующего состояния (обжаривания, выгрузки и т.п.). Таким образом, механизм 17 действует в качестве переключателя для потока воздуха. Механизм 17 не ограничивается конкретной формой. Например, механизм 17 может иметь форму кольца, бака и/или гильзы; таким образом, механизм 17 может представлять собой кольцо перенаправления.
Специалисту в данной области должно быть понятно, что варианты осуществления, показанные на фигурах, являются лишь предпочтительными вариантами осуществления, однако можно использовать и другие конструкции аппарата 1 или системы 100. В частности, элементы системы 100, например бункер 2, и/или бункер 102, и/или мельница, могут также быть элементами аппарата 1.
| название | год | авторы | номер документа |
|---|---|---|---|
| Устройство для обжаривания кофейных зерен и сбора кофейной шелухи | 2020 |
|
RU2820354C1 |
| УСТРОЙСТВО ДЛЯ ОБЖАРИВАНИЯ КОФЕЙНЫХ ЗЕРЕН | 2021 |
|
RU2835606C1 |
| СИСТЕМА КОДИРОВАННОЙ УПАКОВКИ И УСТРОЙСТВА | 2020 |
|
RU2803117C2 |
| КОФЕЙНАЯ КОМПОЗИЦИЯ И СПОСОБ | 2019 |
|
RU2802655C2 |
| КОФЕЙНЫЙ ПРОДУКТ | 2006 |
|
RU2404671C2 |
| АППАРАТ ДЛЯ ОБЖАРИВАНИЯ | 2021 |
|
RU2839600C1 |
| АППАРАТ ДЛЯ ОБЖАРИВАНИЯ | 2020 |
|
RU2798882C2 |
| АППАРАТ И СПОСОБ ОБЖАРИВАНИЯ КОФЕЙНЫХ ЗЕРЕН | 2019 |
|
RU2829625C2 |
| КАРТРИДЖ НАПИТКА И ФИЛЬТРУЮЩИЙ ЭЛЕМЕНТ | 2012 |
|
RU2607759C2 |
| ЧАСТИЦЫ КОФЕЙНОГО ЗЕРНА | 2017 |
|
RU2759606C2 |
Группа изобретений относится к кофейной промышленности. Раскрыт аппарат (1) для обжаривания кофейных зерен, содержащий: камеру (10) для размещения кофейных зерен и устройство для создания потока воздуха для перемешивания кофейных зерен, нагреватель для нагрева воздуха, так что нагретый таким образом воздух продувается устройством в камеру (10), блок управления для переключения аппарата (1) между режимом обжаривания и режимом выгрузки, причем блок управления функционально связан с устройством для создания потока воздуха и/или нагревателем, причем камера (10) ограничена нижней частью (11), верхней частью (12) и боковой стенкой (13), проходящей от нижней части (11) к верхней части (12), при этом боковая стенка (13) содержит выпускной порт (30), который выполнен с возможностью избирательного перемещения между закрытым положением и открытым положением, причем в режиме обжаривания выпускной порт (30) находится в закрытом положении и устройство выполнено с возможностью создания нагретого потока воздуха для обжаривания кофейных зерен, размещенных в камере (10), и при этом в режиме выгрузки выпускной порт (30) находится в открытом положении и аппарат (1) выполнен с возможностью использования потока воздуха, создаваемого устройством, для продвижения кофейных зерен через выпускной порт (30) для выгрузки из камеры (10), причем выпускной порт (30) расположен ближе к нижней части (11), чем к верхней части (12), причем нижняя часть (11) содержит впускное отверстие для воздуха, и при этом устройство выполнено с возможностью продувания воздуха через указанное впускное отверстие для создания потока воздуха внутри камеры (10), и причем выпускной порт (30) расположен отстоящим от нижней части (11) на некоторое расстояние или в нижней части над впускным отверстием для воздуха. Также раскрыта система (100) для обжаривания кофейных зерен, содержащая аппарат для обжаривания (1) и дополнительный аппарат, функционально связанный с аппаратом (1) для обработки кофейных зерен, выгружаемых из аппарата (1) через выпускной порт (30). Группа изобретений позволяет уменьшить потребление электрического питания или энергии для обжаривания и выгрузки кофейных зерен при эффективном способе выгрузки кофейных зерен потоком воздуха даже без наклона камеры для обжаривания, оптимизировать габаритные размеры аппарата, сделав его компактным. 2 н. и 7 з.п. ф-лы, 17 ил.
1. Аппарат (1) для обжаривания кофейных зерен, содержащий:
камеру (10), в которой могут быть размещены кофейные зерна для обжаривания, и
устройство для создания потока воздуха для перемешивания кофейных зерен, размещенных в камере (10),
нагреватель для нагрева воздуха, так что нагретый таким образом воздух продувается устройством в камеру (10) для создания нагретого потока воздуха,
блок управления для переключения аппарата (1) между режимом обжаривания и режимом выгрузки, причем блок управления функционально связан с устройством для создания потока воздуха и/или нагревателем,
причем камера (10) ограничена нижней частью (11), верхней частью (12) и боковой стенкой (13), проходящей от нижней части (11) к верхней части (12), при этом боковая стенка (13) содержит выпускной порт (30), который выполнен с возможностью избирательного перемещения между закрытым положением и открытым положением,
причем в режиме обжаривания выпускной порт (30) находится в закрытом положении и устройство выполнено с возможностью создания нагретого потока воздуха для обжаривания кофейных зерен, размещенных в камере (10), и при этом в режиме выгрузки выпускной порт (30) находится в открытом положении и аппарат (1) выполнен с возможностью использования потока воздуха, создаваемого устройством, для продвижения кофейных зерен через выпускной порт (30) для выгрузки из камеры (10),
причем выпускной порт (30) расположен ближе к нижней части (11), чем к верхней части (12),
причем нижняя часть (11) содержит впускное отверстие для воздуха, и при этом устройство выполнено с возможностью продувания воздуха через указанное впускное отверстие для создания потока воздуха внутри камеры (10), и
причем выпускной порт (30) расположен отстоящим от нижней части (11) на некоторое расстояние или в нижней части над впускным отверстием для воздуха.
2. Аппарат (1) по п. 1, в котором выпускной порт (30) выполнен с возможностью перемещения вручную между закрытым положением и открытым положением, и/или при этом аппарат (1) содержит приводной блок (36), выполненный с возможностью перемещения выпускного порта (30) между закрытым положением и открытым положением.
3. Аппарат (1) по п. 1 или 2, в котором выпускной порт (30) выполнен с возможностью перемещения путем скольжения или путем поворота, чтобы перемещать выпускной порт (30) между закрытым положением и открытым положением, и/или при этом боковая стенка (13) выполнена с возможностью перемещения, например с возможностью перемещения путем поворота, чтобы перемещать выпускной порт (30) между закрытым положением и открытым положением.
4. Аппарат (1) по любому из предшествующих пунктов, в котором устройство выполнено с возможностью создания потока воздуха для охлаждения кофейных зерен, размещенных в камере (10).
5. Аппарат (1) по любому из предшествующих пунктов, в котором по меньшей мере поперечное сечение боковой стенки (13), которое содержит выпускной порт (30), имеет по меньшей мере частично круглую или эллиптическую форму.
6. Аппарат (1) по любому из предшествующих пунктов, в котором верхняя часть (12) содержит выпускное отверстие (14), которое выполнено с возможностью избирательного перемещения между закрытым положением и открытым положением, причем в открытом положении выпускное отверстие (14) позволяет отводить воздух и/или выгружать кофейную шелуху из камеры (10).
7. Аппарат (1) по любому из предшествующих пунктов, дополнительно содержащий коллектор (50) для шелухи, причем коллектор (50) для шелухи выполнен с возможностью сбора шелухи кофейных зерен, например через выпускное отверстие (14), при этом аппарат (1) предпочтительно выполнен с возможностью использования потока воздуха для перемещения шелухи в коллектор (50) для шелухи.
8. Система (100) для обжаривания кофейных зерен, содержащая аппарат (1) по любому из предшествующих пунктов и дополнительный аппарат, причем дополнительный аппарат функционально связан с аппаратом (1) для обработки кофейных зерен, выгружаемых из аппарата (1) через выпускной порт (30).
9. Система (100) по п. 8, в которой дополнительный аппарат содержит мельницу для помола кофейных зерен, и/или при этом дополнительный аппарат содержит устройство (101) для приготовления напитков для приготовления напитка из кофейных зерен.
| WO 1990006694 А1, 28.06.1990 | |||
| US 3964175 A1, 22.06.1976 | |||
| Форма для изготовления железобетонных изделий сложного профиля | 1981 |
|
SU975407A2 |
| US 4895308 А1, 23.01.1990 | |||
| МАТРИЦА ЗАПОМИНАЮЩЕГО УСТРОЙСТВА | 1971 |
|
SU427378A1 |
| US 9545169 B2, 17.01.2017 | |||
| УСТРОЙСТВО ДЛЯ ОБЖАРКИ КОФЕЙНЫХ ЗЕРЕН, УСТРОЙСТВО ДЛЯ ВАРКИ КОФЕ И СПОСОБ ОБЖАРКИ КОФЕЙНЫХ ЗЕРЕН | 2015 |
|
RU2688303C2 |
Авторы
Даты
2025-03-24—Публикация
2021-06-24—Подача