КАРТРИДЖ ДЛЯ ХИРУРГИЧЕСКОГО СШИВАЮЩЕГО АППАРАТА, ГОЛОВКА ДЛЯ ХИРУРГИЧЕСКОГО СШИВАЮЩЕГО АППАРАТА И ХИРУРГИЧЕСКИЙ СШИВАЮЩИЙ АППАРАТ Российский патент 2025 года по МПК A61B17/72 

Описание патента на изобретение RU2835736C2

ОБЛАСТЬ ТЕХНИКИ

[0001] Настоящее изобретение относится к хирургическим инструментам, более конкретно к картриджу для хирургического сшивающего аппарата, головке для хирургического сшивающего аппарата и хирургическому сшивающему аппарату (далее, сшивателю).

УРОВЕНЬ ТЕХНИКИ

[0002] В предшествующем уровне техники хирургический сшиватель обычно содержит инструментальную платформу, пусковую рукоятку, соединенную с возможностью поворота с инструментальной платформой, и головку, установленную на инструментальной платформе. Головка может вставляться через небольшой разрез на теле с помощью троакара, чтобы приблизить ее к операционному полю для выполнения операции. Головка содержит картридж и матрицу, расположенные относительно друг друга. Картридж содержит скобную ленту, опорный элемент, поддерживающий скобную ленту, и крышку, вмещающую скобную ленту и опорный элемент. Пусковой элемент расположен на проксимальной стороне крышки картриджа. В процессе приведения в действие хирургического сшивателя нож перемещается в дистальном направлении с помощью толкателя ножа, затем нож приводит в движение пусковой элемент в дистальном направлении, так что пусковой элемент выталкивает наружу скобы, соединенные с возможностью поворота с основой скобной ленты, режущая часть пускового элемента отделяет скобы от основы скобной ленты, и нож отрезает ткань, расположенную между картриджем и матрицей, чтобы завершить процесс приведения в действие сшивателя.

[0003] В существующем картридже верхняя пластина крышки картриджа образует отверстия для скоб, соответствующие скобам. Однако, поскольку верхняя пластина крышки картриджа высокая, скобы после смыкания могут не полностью отделиться от крышки картриджа, что влияет на хирургический эффект.

[0004] В настоящем изобретении термины «дистальная сторона» и «проксимальная сторона» используются здесь по отношению к оператору, манипулирующему хирургическим сшивателем. Термин «проксимальная сторона» относится к стороне, расположенной ближе к оператору, а термин «дистальная сторона» относится к стороне, удаленной от оператора, то есть стороне, расположенной ближе к операционному полю. В сшивателе «внутренняя сторона» и «внешняя сторона» определяются относительно оси сшивателя, «внутренняя сторона» - это сторона, расположенная близко к оси, а «внешняя сторона» - это сторона, расположенная далеко от оси.

СУЩНОСТЬ ИЗОБРЕТЕНИЯ

[0005] Для решения проблем предшествующего уровня техники в настоящем изобретении предложен картридж для хирургического сшивающего аппарата, головка для хирургического сшивающего аппарата и хирургический сшиватель, в которых облегчается отделение скоб от крышки картриджа после закрытия сшивателя.

[0006] В настоящем изобретении предложен картридж, используемый для хирургического сшивателя, причем картридж содержит: скобную ленту, содержащую по меньшей мере одну основу, и множество скоб, каждая из которых соединена с возможностью поворота с основой скобной ленты посредством соединительной части, крышку, надетую на основу скобной ленты, при этом крышка картриджа содержит по меньшей мере одну изогнутую часть, проходящую в осевом направлении сшивателя и имеющую множество отверстий для скоб, каждое из которых имеет первую стенку и вторую стенку, проходящие в осевом направлении, при этом первая стенка отверстия выше второй стенки отверстия в направлении высоты.

[0007] В некоторых вариантах выполнения изогнутая часть присоединена между верхней пластиной и боковой пластиной крышки картриджа, причем каждое отверстие для скоб содержит первую часть и вторую часть, соединенные друг с другом, при этом первая часть отверстия для скоб расположена на верхней пластине крышки картриджа, вторая часть отверстия для скоб расположена на боковой пластине крышки картриджа, первая стенка отверстия расположена на одной стороне первой части, удаленной от второй части отверстия для скоб, а вторая стенка отверстия расположена на одной стороне второй части, удаленной от первой части отверстия для скоб.

[0008] В некоторых вариантах выполнения первая стенка отверстия параллельна поверхности боковой пластины крышки картриджа, а вторая стенка отверстия параллельна поверхности верхней пластины крышки картриджа.

[0009] В некоторых вариантах выполнения самая высокая точка соединительной части находится ниже самой высокой точки первой стенки отверстия для скоб в направлении высоты и/или самая нижняя точка соединительной части находится ниже самой высокой точки второй стенки отверстия для скоб в направлении высоты.

[0010] В некоторых вариантах выполнения проекция соединительной части на боковой пластине крышки картриджа по меньшей мере частично совпадает с проекцией отверстия для скоб на боковой пластине крышки картриджа.

[0011] В некоторых вариантах выполнения расстояние в поперечном направлении между первой стенкой отверстия и второй стенкой отверстия для скоб больше, чем расстояние в поперечном направлении между двумя сторонами скобы.

[0012] В некоторых вариантах выполнения проекция скобы на верхней пластине крышки картриджа находится в пределах диапазона покрытия проекцией отверстия для скоб на верхней пластине крышки картриджа.

[0013] В некоторых вариантах выполнения дистальный конец и/или проксимальный конец второй стенки отверстия имеет вогнутую дугу, а самая нижняя точка вогнутой дуги находится ниже второй стенки отверстия в направлении высоты.

[0014] В некоторых вариантах выполнения крышка картриджа содержит две изогнутые части, расположенные по обе стороны скобной ленты, причем две изогнутые части имеют, соответственно, множество отверстий для скоб, или крышка картриджа содержит одну изогнутую часть, расположенную на одной стороне скобной ленты, и эта изогнутая часть выполнена с возможностью расположения на внутренней или внешней стороне скобной ленты.

[0015] В некоторых вариантах выполнения поверхность изогнутой части представляет собой гладкую дугообразную поверхность.

[0016] В некоторых вариантах выполнения картридж дополнительно содержит опорный элемент, причем во время процесса поворота скобы по меньшей мере часть боковой стенки скобы одновременно упирается в опорный элемент и внутреннюю стенку боковой пластины крышки картриджа.

[0017] В некоторых вариантах выполнения скоба дополнительно содержит корончатую часть, соединенную с соединительной частью, корончатая часть выполнена с возможностью поворота в положение, по существу параллельное направлению оси, после смыкания и формирования скобы, при этом самая высокая точка стенки второго отверстия находится выше, чем самая нижняя точка корончатой части.

[0018] В некоторых вариантах выполнения корончатая часть имеет шип, и в исходном состоянии вторая стенка отверстия находится выше шипа.

[0019] В некоторых вариантах выполнения изобретения картридж дополнительно содержит пусковой элемент, при этом основа скобной ленты выполнена с возможностью установки на одной стороне опорного элемента, причем основа скобной ленты имеет первую поверхность, удаленную от опорного элемента, крышка картриджа имеет вторую поверхность, расположенную относительно первой поверхности основы скобной ленты, и между первой поверхностью основы скобной ленты и второй поверхностью крышки картриджа образован первый зазор, при этом пусковой элемент расположен с возможностью перемещения в нижней части крышки картриджа в осевом направлении, причем пусковой элемент содержит режущую часть, и самая высокая точка режущей части находится выше первой поверхности основы скобной ленты в направлении высоты.

[0020] В некоторых вариантах выполнения самая нижняя точка режущей части пускового элемента находится ниже, чем первая поверхность основы скобной ленты в направлении высоты, причем режущая часть пускового элемента выполнена с возможностью совмещения, по меньшей мере частичного, с соединительной частью в осевом направлении.

[0021] В некоторых вариантах выполнения картридж дополнительно содержит по меньшей мере одну выпуклую часть, при этом выпуклая часть картриджа содержит первую часть, расположенную между первой поверхностью основы скобной ленты и второй поверхностью крышки картриджа, причем высота от верхней поверхности до нижней поверхности первой части выпуклой части картриджа равна высоте первого зазора.

[0022] В некоторых вариантах выполнения поверхность опорного элемента имеет по меньшей мере одну первую выпуклую часть картриджа, и поверхность первой выпуклой части картриджа, удаленная от опорного элемента, выше, чем первая поверхность основы скобной ленты в направлении высоты, при этом поверхность первой выпуклой части картриджа, удаленная от опорного элемента, упирается во вторую поверхность крышки картриджа.

[0023] В некоторых вариантах выполнения расстояние в поперечном направлении между внутренней поверхностью и внешней поверхностью первой выпуклой части картриджа меньше, чем расстояние между внутренней поверхностью и внешней поверхностью основы скобной ленты, причем поверхность основы скобной ленты имеет по меньшей мере одно установочное отверстие, при этом первая выпуклая часть картриджа вставлена в установочное отверстие, или картридж содержит множество скобных лент, расположенных в осевом направлении, при этом первая выпуклая часть картриджа выполнена с возможностью размещения между основами двух соседних скобных лент.

[0024] В некоторых вариантах выполнения первая поверхность основы скобной ленты имеет по меньшей мере одну третью выпуклую часть картриджа, а поверхность третьей выпуклой части картриджа, удаленная от основаы скобной ленты, примыкает ко второй поверхности крышки картриджа, и/или вторая поверхность крышки картриджа имеет четвертую выпуклую часть картриджа, проходящую в направлении скобной ленты, при этом поверхность четвертой выпуклой части картриджа, обращенная к основе скобной ленты, примыкает к первой поверхности основы скобной ленты.

[0025] В некоторых вариантах выполнения скобы являются биоразлагаемыми и биосовместимыми, и/или скобы являются биорассасывающимися и биосовместимыми.

[0026] В некоторых вариантах выполнения поверхность скобы выполнена с возможностью покрытия биосовместимым покрытием, которое является как биоразлагаемым, так и биорассасывающимся, и/или поверхность скобы выполнена с возможностью покрытия магнитным покрытием, которое выполнено с возможностью намагничивания под воздействием внешнего магнитного поля.

[0027] В настоящем изобретении предложена головка, содержащая матрицу и картридж, при этом поверхность матрицы, обращенная к картриджу, представляет собой ударную поверхность, причем в матрице расположен паз для выполнения разрезания, ударная поверхность имеет выпуклую часть, выступающую в сторону картриджа, по меньшей мере на одной стороне паза матрицы для выполнения разрезания в картридже расположен паз для выполнения разрезания, а изогнутая часть расположена на одной стороне крышки картриджа рядом с паз картриджа для выполнения разрезания.

[0028] В некоторых вариантах выполнения ударная поверхность имеет выпуклую часть на каждой из двух сторон паза матрицы для выполнения разрезания, причем на каждой стороне паза картриджа для выполнения разрезания расположена по меньшей мере одна крышка картриджа.

[0029] В некоторых вариантах выполнения выпуклая часть матрицы содержит выпуклый стержень, проходящий в осевом направлении, или выпуклая часть матрицы содержит множество выпуклостей, расположенных вдоль осевого направления.

[0030] В некоторых вариантах выполнения головка имеет, соответственно, первое состояние и второе состояние, причем в первом состоянии дистальная сторона матрицы расположена относительно далеко от картриджа, а во втором состоянии дистальная сторона матрицы расположена относительно близко к картриджу, при этом во втором состоянии между самой нижней точкой выпуклой части матрицы и верхней поверхностью крышки картриджа образован второй зазор в направлении высоты, а между внешней стенкой выпуклой части матрицы и внутренней стенкой крышки картриджа образован третий зазор в направлении ширины.

[0031] В некоторых вариантах выполнения выпуклая часть матрицы выполнена с ней за одно целое.

[0032] В некоторых вариантах выполнения в месте соединения между внешней стороной выпуклой части матрицы и ударной поверхностью расположена дугообразная поверхность, вогнутая внутрь.

[0033] В некоторых вариантах выполнения дистальная поверхность и/или проксимальная поверхность выпуклой части матрицы является направляющей поверхностью.

[0034] В настоящем изобретении предложен хирургический сшиватель, содержащий картридж или головку.

[0035] Картридж, головка и хирургический сшиватель имеют следующие преимущества.

[0036] В настоящем изобретении предложен картридж, используемый для хирургического узла, причем отверстия для скоб расположены на изогнутой части крышки картриджа, вторая стенка отверстия ниже, чем первая стенка отверстия, отверстие для скоб частично утоплено в направлении высоты, чтобы скобы было легче отделить от крышки картриджа после их смыкания и формирования, кроме того, в отверстиях для скоб можно разместить больше ткани, скобы легче прокалывают ткань и формируются, тем самым улучшая хирургический эффект.

КРАТКОЕ ОПИСАНИЕ ЧЕРТЕЖЕЙ

[0037] Другие признаки, цели и преимущества настоящего изобретения станут более очевидными после прочтения подробного описания неограничивающих вариантов выполнения со ссылкой на следующие чертежи.

[0038] Фиг. 1 изображает структурный схематический вид картриджа, выполненного в соответствии с первым вариантом выполнения настоящего изобретения,

[0039] Фиг. 2 изображает увеличенный вид области B1, показанной на Фиг. 1,

[0040] Фиг. 3 изображает вид в разрезе в направлении A1-A1, показанном на Фиг. 1,

[0041] Фиг. 4 изображает структурный схематический вид крышки картриджа выполненной в соответствии с первым вариантом выполнения настоящего изобретения,

[0042] Фиг. 5 изображает вид спереди крышки картриджа, выполненной в соответствии с первым вариантом выполнения настоящего изобретения,

[0043] Фиг. 6 изображает вид в разрезе в направлении А2-А2, показанном на Фиг. 5,

[0044] Фиг. 7 изображает структурный схематический вид картриджа без крышки с одной стороны, в соответствии с первым вариантом выполнения настоящего изобретения,

[0045] Фиг. 8 изображает вид сбоку картриджа без крышки с одной стороны, в соответствии с первым вариантом выполнения настоящего изобретения,

[0046] Фиг. 9 изображает структурный схематический вид пускового элемента, выполненного в соответствии с первым вариантом выполнения настоящего изобретения,

[0047] Фиг. 10 изображает структурный схематический вид картриджа без крышки с одной стороны, в соответствии со вторым вариантом выполнения настоящего изобретения,

[0048] Фиг. 11 изображает частичный структурный схематический вид скобной ленты, взаимодействующей с пусковым элементом, в соответствии со вторым вариантом выполнения настоящего изобретения,

[0049] Фиг. 12 изображает структурный схематический вид крышки картриджа, взаимодействующей с основой скобной ленты, в соответствии со вторым вариантом выполнения настоящего изобретения,

[0050] Фиг. 13 изображает структурный схематический вид крышки картриджа, взаимодействующей с основой скобной ленты, в соответствии с третьим вариантом выполнения настоящего изобретения,

[0051] Фиг. 14 изображает структурный схематический вид крышки картриджа, выполненной в соответствии с четвертым вариантом выполнения настоящего изобретения,

[0052] Фиг. 15 изображает структурный схематический вид крышки картриджа, взаимодействующей с пусковым элементом, в соответствии с четвертым вариантом выполнения настоящего изобретения,

[0053] Фиг. 16 изображает структурный схематический вид картриджа без крышки с одной стороны, в соответствии с пятым вариантом выполнения настоящего изобретения,

[0054] Фиг. 17 изображает увеличенный вид области B2, показанной на Фиг. 16,

[0055] Фиг. 18 изображает частичный структурный схематический вид картриджа, выполненного в соответствии с шестым вариантом выполнения настоящего изобретения,

[0056] Фиг. 19 и Фиг. 20 схематически изображают скобы, взаимодействующие с крышкой картриджа в указанных вариантах выполнения,

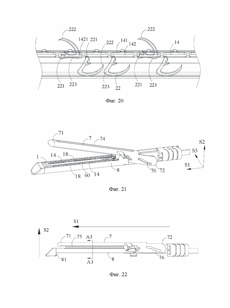
[0057] Фиг. 21 изображает структурный схематический вид головки в первом состоянии, выполненной в соответствии с седьмым вариантом выполнения настоящего изобретения,

[0058] Фиг. 22 изображает структурный схематический вид головки во втором состоянии, выполненной в соответствии с седьмым вариантом выполнения настоящего изобретения,

[0059] Фиг. 23 изображает вид в разрезе в направлении A3-A3, показанном на Фиг. 22,

[0060] Фиг. 24 схематически иллюстрирует сшивание ткани, в соответствии с седьмым вариантом выполнения настоящего изобретения,

[0061] Фиг. 25 изображает структурный схематический вид рамы картриджа, выполненной в соответствии с седьмым вариантом выполнения настоящего изобретения,

[0062] Фиг. 26 изображает структурный схематический вид матрицы, выполненной в соответствии с седьмым вариантом выполнения настоящего изобретения,

[0063] Фиг. 27 изображает увеличенный вид области B3, показанной на Фиг. 26,

[0064] Фиг. 28 изображает увеличенный вид области B4, показанной на Фиг. 26,

[0065] Фиг. 29 изображает структурный схематический вид картриджа, выполненного в соответствии с седьмым вариантом выполнения настоящего изобретения,

[0066] Фиг. 30 изображает увеличенный вид области B5, показанной на Фиг. 29,

[0067] Фиг. 31 изображает структурный схематический вид крышки картриджа, взаимодействующей со скобной лентой, в соответствии с седьмым вариантом выполнения настоящего изобретения,

[0068] Фиг. 32 изображает частичный структурный схематический вид крышки картриджа, взаимодействующей со скобной лентой, в соответствии с седьмым вариантом выполнения настоящего изобретения,

[0069] Фиг. 33 изображает вид спереди крышки картриджа, взаимодействующей со скобной лентой, в соответствии с седьмым вариантом выполнения настоящего изобретения,

[0070] Фиг. 34 изображает вид в разрезе в направлении A4-A4, показанном на Фиг. 33,

[0071] Фиг. 35 изображает частичный структурный схематический вид крышки картриджа, взаимодействующей со скобной лентой, в соответствии с седьмым вариантом выполнения настоящего изобретения,

[0072] Фиг. 36 изображает частичный структурный схематический вид крышки картриджа, взаимодействующей со скобной ленты, причем одна скоба замыкается в соответствии с седьмым вариантом выполнения настоящего изобретения.

ПОДРОБНОЕ ОПИСАНИЕ

[0073] Иллюстративные варианты выполнения будут более подробно описаны совместно с чертежами. Однако иллюстративные варианты выполнения могут быть реализованы в нескольких формах и не должны ограничиваться описанными здесь вариантами выполнения. Напротив, предоставление этих вариантов выполнения делает настоящее изобретение всеобъемлющим и полным и полностью передает концепцию иллюстративных вариантов выполнения для специалистов в данной области техники. Одни и те же номера позиций на чертежах обозначают одинаковые или подобные конструкции, поэтому их повторные описания будут опущены.

[0074] В настоящем изобретении предложен картридж и содержащий его хирургический сшивающий аппарат (сшиватель). Хирургический сшиватель содержит инструментальную платформу, пусковую рукоятку, соединенную с возможностью поворота с инструментальной платформой, и головку, установленную на инструментальной платформе. Головка содержит картридж и матрицу, расположенные относительно друг друга. Картридж содержит: скобную ленту, содержащую по меньшей мере одну основу и множество скоб, при этом каждая скоба соединена с возможностью поворота с основой скобной ленты через соединительную часть, и крышку, надетую на основу скобной ленты, при этом картридж содержит по меньшей мере одну изогнутую часть, проходящую вдоль осевого направления сшивателя, причем каждая изогнутая часть имеет множество отверстий для скоб. Отверстие для скоб содержит первую стенку и вторую стенку, проходящие в осевом направлении, причем первая стенка отверстия выше, чем вторая стенка отверстия в направлении высоты, что позволяет большему количеству ткани проникать в отверстия для скоб во время выполнения хирургической операции, облегчается прокалывание ткани скобами и их формирование, причем одновременно отверстие для скоб частично утоплено в направлении высоты, что облегчает отделение скоб от крышки картриджа после смыкания, улучшая хирургический эффект.

[0075] Далее конструкции картриджа в конкретных вариантах выполнения описаны с помощью чертежей. Следует понимать, что конкретные конструкции вариантов выполнения являются лишь иллюстративными и не предназначены для ограничения объема защиты настоящего изобретения.

[0076] Фиг. 1-9 изображают структурные схематические виды картриджа, выполненного в соответствии с первым вариантом выполнения настоящего изобретения. Картридж содержит: скобную ленту 2, опорный элемент 3 для поддержки скобной ленты 2 и крышку 1 для размещения скобной ленты 2 и опорного элемента 3. Скобная лента 2 содержит по меньшей мере одну основу 21 и множество скоб 22, причем каждая скоба 22 соединена с основой 21 с возможностью поворота и отделения от основы 21 скобной ленты через соединительную часть 221. Крышка 1 картриджа надета на основу 21 скобной ленты и по меньшей мере частично закрывает ее верхнюю поверхность. На проксимальной стороне картриджа расположен пусковой элемент 4, причем пусковой элемент 4 расположен в нижней части крышки 1 картриджа и может перемещаться в осевом направлении. В исходном состоянии пусковой элемент 4 расположен на проксимальной стороне картриджа. В процессе приведения в действие хирургического сшивателя пусковой элемент 4 перемещается к дистальной стороне картриджа, контактирует со скобами 22, заставляет скобы 22 поворачиваться и смыкаться на матрице и отделяет скобы 22 от основы 21 скобной ленты и крышки 1 картриджа. В этом варианте выполнения имеется два опорных элемента 3, две скобные ленты 2 и две крышки 1 картриджа. Скобные ленты 2 соответственно установлены на соответствующих опорных элементах 3, а скобы 22 установлены по обе стороны скобных лент 2. Крышка 1 картриджа надета на опорные элементы 3 и скобные ленты 2, то есть две скобные ленты 2 и два опорных элемента 3 расположены симметрично относительно аксиального направления. В других альтернативных вариантах выполнения количество опорных элементов 3, скобных лент 2 и крышек 1 картриджа может быть изменено по мере необходимости, не ограничиваясь показанными на чертежах, например, скобные ленты 2 также могут иметь скобы 22 только на одной стороне, причем все это входит в объем защиты настоящего изобретения. В этом варианте выполнения во время процесса поворота скобы 22 по меньшей мере часть боковой стенки скобы 22 одновременно упирается в опорный элемент 3 и внутреннюю стенку боковой пластины крышки 1 картриджа, так что боковая стенка скобы 22 всегда ограничена, при этом скоба 22 не смещается внутрь или наружу при повороте.

[0077] Как показано на Фиг. 1-6, крышка 1 картриджа содержит изогнутую часть 18, проходящую в осевом направлении. Изогнутая часть 18 имеет множество отверстий 14 для скоб. Каждое отверстие 14 для скоб содержит первую стенку 141 и вторую стенку 142, проходящие в осевом направлении. Первая стенка 141 отверстия и вторая стенка 142 отверстия расположены в разных плоскостях. В частности, первая стенка 141 отверстия расположена на верхней пластине крышки 1 картриджа, а вторая стенка 142 отверстия расположена на боковой пластине крышки 1 картриджа. Первая стенка 141 отверстия выше в направлении высоты, чем вторая стенка 142 отверстия, поэтому отверстие 14 частично утоплено в направлении высоты и проходит от верхней пластины крышки 1 картриджа до ее боковой пластины. Одновременно отверстие 14 является трехмерным, так что образуется большее открытое пространство крышки 1 картриджа, то есть отверстие 14 утоплено вниз к боковой пластине крышки 1 картриджа. Таким образом, скоба 22 имеет больше открытого пространства, ткань может полностью входить в область, окруженную контуром скобы 22, когда скоба 22 смыкается. Скоба 22 может лучше прокалывать ткань и обеспечивать анастомоз, причем одновременно скоба 22 может легче проходить вверх через отверстие 14 для скоб и отделяться от крышки 1 картриджа после смыкания.

[0078] В настоящем изобретении термины «дистальная сторона» и «проксимальная сторона» используются здесь по отношению к оператору, манипулирующему хирургическим сшивателем. Термин «проксимальная сторона» относится к стороне, расположенной ближе к оператору, а термин «дистальная сторона» относится к стороне, удаленной от оператора, то есть стороне, расположенной ближе к операционному полю. Направление вдоль оси сшивателя является аксиальным направлением, т.е. от дистальной стороны к проксимальной стороне сшивателя или от проксимальной стороны к его дистальной стороне. Например, на виде в аксонометрии на Фиг. 1 дистальная сторона 11 крышки 1 картриджа является правой стороной, а проксимальная сторона 12 крышки 1 картриджа является левой стороной. На виде в аксонометрии на Фиг. 10 дистальная сторона 31 опорного элемента 3 является правой стороной, а проксимальная сторона 32 опорного элемента 3 является левой стороной. В настоящем изобретении, внутренняя и внешняя стороны для компонента определяются относительно его оси, при этом сторона, близкая к оси, является внутренней стороной, а сторона, расположенная дальше от оси, является внешней стороной. В настоящем изобретении направление S1, показанное на Фиг. 1, представляет собой направление от проксимальной стороны к дистальной стороне сшивателя, а направление S1 или направление, противоположное направлению S1, определяется как осевое направление сшивателя. Направление S2, показанное на Фиг. 3 и 6, определяется как направление по высоте, то есть продольное направление. Верхняя пластина крышки 1 картриджа расположена над основой 21 скобной ленты. Направление S3, показанное на Фиг. 3, определяется как направление по ширине, то есть горизонтальное направление. Каждая сторона из левой и правой сторон верхней пластины крышки 1 картриджа соединена с боковой пластиной через изогнутую часть 18, а скобы 22 расположены на левой и правой сторонах основы 21 скобной ленты. На виде в аксонометрии на Фиг. 22 дистальная сторона 71 матрицы 7 является левой стороной, а проксимальная сторона 72 матрицы 7 является правой стороной. На виде в аксонометрии на Фиг. 25 дистальная сторона 81 рамы 8 для скоб является левой стороной, а проксимальная сторона 82 рамы 8 для скоб представляет собой правую сторону.

[0079] Как показано на Фиг. 1-3, изогнутая часть 18 присоединена между верхней пластиной и одной боковой пластиной крышки 1 картриджа. Отверстие 14 для скоб содержит первую часть 143 и вторую часть 144, соединенные друг с другом. Первая часть 143 отверстия 14 расположена на верхней пластине крышки 1, а вторая часть 144 отверстия 14 расположена на боковой пластине крышки 1. Первая стенка 141 отверстия расположена на стороне первой части 143, удаленной от второй части 144 отверстия 14, а вторая стенка 142 отверстия расположена на стороне второй части 144, удаленной от первой части 143 отверстия для скоб. Первая стенка 141 отверстия параллельна поверхности боковой пластины крышки 1, а вторая стенка 142 отверстия параллельна поверхности верхней пластины крышки 1. В этом варианте выполнения самая высокая точка соединительной части 221 скобы 22 находится ниже самой высокой точки первой стенки 141 отверстия 14 в направлении высоты. Самая высокая точка соединительной части 221 не выступает из верхней пластины крышки 1 картриджа. Следовательно, когда сшиватель не приведен в действие, соединительная часть 221 не будет контактировать с тканью. Самая нижняя точка соединительной части 221 скобы 22 находится ниже самой высокой точки второй стенки 142 отверстия 14 в направлении высоты, так что в исходном состоянии соединительная часть 221 не выходит полностью из отверстия 14, улучшая устойчивость скобы 22 в отверстии 14, когда сшиватель не приведен в действие.

[0080] Как показано на Фиг. 3, в этом варианте выполнения проекция соединительной части 221 на боковой пластине крышки 1 картриджа по меньшей мере частично совпадает с проекцией отверстия 14 на боковой пластине крышки 1 картриджа. Когда сшиватель приводится в действие, скоба 22 легче отделяется от крышки 1 после замыкания и формирования. Взяв Фиг. 3 в качестве примера, проекция соединительной части 221 на левой панели крышки 1 по меньшей мере частично совпадает с проекцией отверстия 14 для скоб на левой панели крышки 1.

[0081] Как показано на Фиг. 1-3, в этом варианте выполнения самая высокая точка ножки 222 скобы 22 находится ниже самой нижней точки второй стенки 142 отверстия 14 в направлении высоты. Следовательно, когда сшиватель не приведен в действие, ножка 222 скобы 22 не будет выступать за пределы отверстия 14, так что ножка 222 скобы 22 не сможет поцарапать ткань. Как показано на Фиг. 7, скоба 22 дополнительно содержит корончатую часть 223, соединенную с соединительной частью 221. Сторона корончатой части 223, обращенная к дистальному направлению, имеет шип 2231. В исходном состоянии вторая стенка 142 отверстия находится выше, чем шип 2231, для предотвращения выхода шипа 2231 за пределы отверстия 14 и царапания ткани.

[0082] Как показано на Фиг. 3, расстояние между первой стенкой 141 отверстия и второй стенкой 142 отверстия 14 в поперечном направлении (направление S3) больше, чем расстояние между двумя сторонами скобы 22 в поперечном направлении, то есть ширина отверстия 14 для скоб больше, чем ширина скобы 22, поэтому скоба 22 может полностью проходить через отверстие 14, не застревая при приведении в действие сшивателя. Предпочтительно, выступ скобы 22 на верхней пластине крышки 1 картриджа попадает в диапазон покрытия выступа отверстия 14 на верхней пластине крышки 1 картриджа. Когда пусковой элемент 4 перемещает скобу 22 вверх, скоба 22 может проходить через отверстие 14 более плавно, при этом стенка отверстия 14 ей не мешает, и скоба не застревает внутри отверстия 14.

[0083] Как показано на Фиг. 6, крышка 1 содержит две изогнутые части 18, расположенные по обеим сторонам скобной ленты 2, то есть на виде в аксонометрии, показанном на Фиг. 6, одна изогнутая часть 18 расположена на левой стороне верхней пластины крышки 1, а другая изогнутая часть 18 расположена на правой стороне верхней пластины крышки 1. Одна изогнутая часть 18 соединяет верхнюю пластину и левую боковую пластину крышки 1, тогда как другая изогнутая часть 18 соединяет верхнюю пластину и правую боковую пластину крышки 1. Поверхность изогнутой части 18 представляет собой гладкую дугообразную поверхность. В этом варианте выполнения только иллюстративно показано, что отверстия 14 расположены в изогнутой части 18 на одной стороне крышки 1. Отверстия для скоб другого типа расположены в положении, близком к правой боковой пластине на верхней пластине крышки 1, и полностью расположены на верхней пластине крышки 1. В другом альтернативном варианте выполнения отверстия 14 могут быть расположены на каждой из двух изогнутых частей 18, то есть отверстия для скоб в положении рядом с правой пластиной на верхней пластине крышки 1 одновременно расположены на верхней пластине и правой боковой пластине крышки 1, при этом два ряда отверстий 14, установленных в крышке 1, симметричны относительно центральной линии крышки 1.

[0084] Как показано на Фиг. 7-9, внутренняя поверхность крышки 1 картриджа соответствует верхней поверхности основы 21 скобной ленты. Пусковой элемент 4 содержит часть 42, толкающую скобы, и режущую часть 41. Когда сшиватель приводится в действие, пусковой элемент 4 перемещается в направлении S1 от проксимальной стороны картриджа к дистальной стороне картриджа. Часть 42, толкающая скобу, пускового элемента 4 сначала контактирует с корончатой частью 223 скобы 22 и заставляет ножку 222 скобы 22 поворачиваться вокруг соединительной части 221, при этом ножка 222 скобы проходит вверх из отверстия 14 для скоб, затем скоба 2 под действием матрицы смыкается в D-образную форму. Режущая часть 41 разрезает соединительную часть 221, и скоба 22 может отделяться от основы 21 скобной ленты, переместиться вверх через отверстие 14 и замкнуться на ткани, а затем скоба 22 отделяется от крышки 1 картриджа.

[0085] Фиг. 10-12 изображают структурные схематические виды картриджа, выполненного в соответствии со вторым вариантом выполнения настоящего изобретения. Разница между этим вариантом выполнения и первым вариантом выполнения состоит в том, что первый зазор 6 образован между верхней поверхностью основы 21 скобной ленты и поверхностью крышки 1 картриджа, расположенной относительно верхней поверхности основы 21 скобной ленты. Первая поверхность 211 (т.е. верхняя поверхность основы 21 скобной ленты) определяется как поверхность на той одной стороне основы 21 скобной ленты, которая расположена удаленной от опорного элемента 3. Вторая поверхность 13 (т.е. внутренняя поверхность верхней пластины крышки 1) определяется как поверхность на одной стороне крышки 1, которая расположена относительно первой поверхности 211 основы 21 скобной ленты. Первый зазор 6 образован между первой поверхностью 211 и второй поверхностью 13.

[0086] На Фиг. 12, основа 21 скобной ленты представлена в виде квадратной рамы, а основная конструкция опорного элемента 3 не показана. В качестве примера показано только взаимодействие между первой выпуклой частью 33 картриджа, основой 21 скобной ленты и крышкой 1 картриджа. Первый зазор 6 образован между первой поверхностью 211 основы 21 скобной ленты и второй поверхностью 13 крышки 1, а высота от верхней поверхности до нижней поверхности первого зазора 6 равна h1. Высота h1 этого первого зазора 6 может варьироваться в зависимости от размера картриджа. Как показано на Фиг. 11, P1 представляет собой линию, указывающую положение самой высокой точки режущей части 41 в направлении высоты. P2 представляет собой линию, указывающую положение первой поверхности 211 основы 21 скобной ленты в направлении высоты. P1 выше, чем P2, что облегчает движение режущей части 41 пускового элемента 4 для отделения скоб 22 от скобной ленты 2. Это гарантирует, что при приведении в действие сшивателя пусковой элемент 4 может выталкивать скобы 22 наружу и по направлению к матрице, чтобы скобу 22 можно было сомкнуть на ткани.

[0087] В этом варианте выполнения самая высокая точка режущей части 41 пускового элемента 4 упирается во вторую поверхность 13 крышки 1, при этом режущая часть 41 пускового элемента 4 может максимально эффективно использовать первый зазор 6 для отделения скобы 22 от скобной ленты 2. Как показано на Фиг. 11, в этом варианте выполнения P3 представляет собой линию, указывающую положение самой нижней точки режущей части 41 пускового элемента 4 в положении по высоте, причем P3 находится ниже, чем P2. Режущая часть 41 пускового элемента 4 выполнена с возможностью по меньшей мере частичного совмещения с соединительной частью 221 в осевом направлении, так что скобы 22 полностью отделяются от основы 21 скобной ленты и закрываются на ткани после того, как сшиватель приведен в действие.

[0088] Как показано на Фиг. 10-12, в этом варианте выполнения поверхность опорного элемента 3 имеет по меньшей мере одну первую выпуклую часть 33 картриджа. Поверхность первой выпуклой части 33 картриджа, расположенная удаленной от опорного элемента 3 (т.е. верхняя поверхность первой выпуклой части 33 картриджа) выше первой поверхности 211 основы 21 скобной ленты в направлении высоты, при этом верхняя поверхность первой выпуклой части 33 картриджа упирается во вторую поверхность 13 крышки 1 картриджа. Первый зазор 6 образован между первой поверхностью 211 основы 21 скобной ленты и второй поверхностью 13 крышки 1 благодаря поддерживающему эффекту первой выпуклой части 33 картриджа. Первая выпуклая часть 33 картриджа содержит первую часть и вторую часть. Первая часть расположена между второй поверхностью 13 крышки 1 и первой поверхностью 211 основы 21 скобной ленты. Вторая часть расположена между первой поверхностью 211 основы 21 скобной ленты и верхней поверхностью опорного элемента 3. Высота первой части первой выпуклой части 33 картриджа представляет собой высоту части, где первая выпуклая часть 33 картриджа выступает из первой поверхности 211 основы 21 скобной ленты, причем высота от верхней поверхности до нижней поверхности первой части равна высоте h1 первого зазора 6.

[0089] Как показано на Фиг. 10 и 11, расстояние в поперечном направлении между внутренней стороной и внешней стороной первой выпуклой части 33 картриджа меньше, чем расстояние между внутренней стороной и внешней стороной основы 21 скобной ленты, то есть ширина в поперечном направлении первой выпуклой части 33 картриджа меньше, чем ширина в поперечном направлении основы 21 скобной ленты. На поверхности основы 21 скобной ленты расположено по меньшей мере одно установочное отверстие 212, причем первая выпуклая часть 33 картриджа вставлена в установочное отверстие 212. В данном варианте выполнения верхняя поверхность первой выпуклой части 33 картриджа параллельна второй поверхности 13 крышки 1 картриджа и прилегает ко ней, тем самым повышая устойчивость взаимодействия между первой выпуклой частью 33 картриджа и основой 21 скобной ленты. Первая выпуклая часть 33 картриджа может быть жестко соединена с установочным отверстием 212 посредством сварки, например, для повышения устойчивости взаимодействия.

[0090] Как показано на Фиг. 11, в этом варианте выполнения первая выпуклая часть 33 картриджа представляет собой выступ, а проекция выступа на первой поверхности 211 основы 21 скобной ленты представляет собой закругленный прямоугольник, то есть каждый угол выпуклой части имеет дугообразную направляющую поверхность. При сборке скобной ленты 2 с опорным элементом 3 дугообразная направляющая поверхность может лучше направлять выступ в установочное отверстие 212. Форма первой выпуклой части 33 картриджа здесь является лишь примером. В других альтернативных вариантах выполнения первая выпуклая часть 33 картриджа также может иметь другие формы. Например, проекция первой выпуклой части 33 картриджа на первой поверхности 211 основы 21 скобной ленты является прямоугольной, треугольной, ромбовидной, трапециевидной и т.д. Площадь верхней поверхности также может отличаться от площади нижней. поверхности первой выпуклой части 33 картриджа. Например, первая выпуклая часть 33 картриджа представляет собой вертебральную структуру с большей площадью нижней поверхности и меньшей площадью верхней поверхности. Все варианты попадают в объем защиты настоящего изобретения.

[0091] В этом варианте выполнения поверхность опорного элемента 3 дополнительно имеет две вторые выпуклые части 34 картриджа, которые расположены, соответственно, на проксимальной стороне 32 и дистальной стороне 31 опорного элемента 3. Поверхность второй выпуклой части 34 картриджа удаленной от опорного элемента 3 (т.е. верхняя поверхность второй выпуклой части 34 картриджа) выше, чем первая поверхность 211 основы 21 скобной ленты в направлении высоты, верхняя поверхность второй выпуклой части 34 картриджа упирается во вторую поверхность 13 крышки 1 картриджа. Верхняя поверхность первой выпуклой части 33 картриджа находится на той же высоте, что и верхняя поверхность второй выпуклой части 34 картриджа. В этом варианте выполнения ширина второй выпуклой части 34 картриджа в поперечном направлении равна ширине основы 21 скобной ленты в поперечном направлении. Вторая выпуклая часть 34 картриджа может быть жестко соединена с основой 21 скобной ленты посредством сварки, например, для улучшения устойчивости взаимодействия между опорным элементом 3 и скобной лентой 2.

[0092] В этом варианте выполнения количество и расположение первых выпуклых частей 33 картриджа можно выбирать по мере необходимости, и они могут быть равномерно или неравномерно распределены в осевом направлении на поверхности опорного элемента 3. В другом альтернативном варианте выполнения поверхность опорного элемента 3 может иметь только первую выпуклую часть 33 картриджа без второй выпуклой части 34 картриджа. В другом альтернативном варианте выполнения поверхность опорного элемента 3 может иметь только вторую выпуклую часть 34 картриджа, без первой выпуклой части 33 картриджа. В другом альтернативном варианте выполнения вторая выпуклая часть 34 картриджа может быть расположена только на дистальной стороне опорного элемента 3 или только на проксимальной стороне опорного элемента 3. В другом альтернативном варианте выполнения вторая выпуклая часть 34 картриджа также может иметь ту же форму и размер, что и первая выпуклая часть 33 картриджа.

[0093] Фиг. 13 изображает структурный схематический вид картриджа, выполненного в соответствии с третьим вариантом выполнения настоящего изобретения. В этом варианте выполнения третья выпуклая часть 213 картриджа расположена на верхней поверхности основы 21 скобной ленты. Верхняя поверхность третьей выпуклой части 213 картриджа примыкает ко второй поверхности 13 крышки 1 картриджа, образуя первый зазор 6 между первой поверхностью 211 основы 21 ленты и второй поверхностью 13 крышки 1. Высота от верхней поверхности до нижней поверхности третьей выпуклой части 213 картриджа равна высоте h1 первого зазора 6. В этом варианте выполнения верхняя поверхность третьей выпуклой части 213 параллельна второй поверхности 13 крышки 1 и прилегает к ней для улучшения устойчивости взаимодействия. Форма, размер, количество и расположение третьей выпуклой части 213 картриджа могут быть выбраны и установлены в соответствии с необходимостью, не ограничиваясь вариантом выполнения, показанным на чертежах. Путем выполнения этого варианта выполнения также можно достичь цели удобного приведения в действие режущей части 41 пускового элемента 4 для отделения скобы 22 от скобной ленты 2.

[0094] Фиг. 14 и 15 изображают структурные виды картриджа, выполненного в соответствии с четвертым вариантом выполнения настоящего изобретения. Разница между четвертым вариантом выполнения и вторым вариантом выполнения заключается в том, что в четвертом варианте выполнения поверхность опорного элемента 3 не имеет первой выпуклой части 33 картриджа и второй выпуклой части 34 картриджа, тогда как вторая поверхность 13 крышки 1 картриджа имеет четвертую выпуклую часть 17 картриджа, проходящую в направлении скобной ленты 2, причем одна поверхность четвертой выпуклой части 17 картриджа, обращенная к основе 21 скобной ленты (т.е. нижняя поверхность четвертой выпуклой части 17 картриджа), упирается в первую поверхность 211 основы 21 скобной ленты. Высота от верхней поверхности до нижней поверхности четвертой выпуклой части 17 картриджа равна высоте h1 первого зазора 6. Нижняя поверхность четвертой выпуклой части 17 картриджа параллельна первой поверхности 211 основы 21 скобной ленты и прилегает к ней для улучшения устойчивости взаимодействия. Форма, размер, количество и расположение четвертой выпуклой части 17 картриджа могут быть выбраны и установлены по мере необходимости, не ограничиваясь вариантом выполнения, показанным на чертежах. Путем выполнения этого варианта выполнения также можно достичь цели удобного приведения в действие режущей части 41 пускового элемента 4 для отделения скобы 22 от скобной ленты 2.

[0095] Выпуклые части картриджа во втором варианте выполнения, третьем варианте выполнения и четвертом варианте выполнения расположены, соответственно, на опорном элементе 3, основе 21 скобной ленты или крышке 1 картриджа для образования первого зазора 6 между первой поверхностью 211 основы 21 скобной ленты и второй поверхностью 13 крышки 1 картриджа. В других альтернативных вариантах выполнения три вышеупомянутых варианта выполнения можно использовать в комбинации, например, одновременно устанавливая два или более видов первой выпуклой части 33 картриджа, второй выпуклой части 34 картриджа, третьей выпуклой части 213 картриджа и четвертой выпуклой части 17 картриджа, все из которых попадают в объем защиты настоящего изобретения.

[0096] Фиг. 16 и 17 изображают схематические виды комбинации скобной ленты и опорного элемента в пятом варианте выполнения настоящего изобретения. Этот вариант выполнения аналогичен второму варианту выполнения тем, что множество первых выпуклых частей 33 картриджа и две вторые выпуклые части 34 картриджа расположены на поверхности опорного элемента 3. Две вторые выпуклые части 34 картриджа расположены, соответственно, на дистальной стороне 31 и проксимальной стороне 32 опорного элемента 3. Первые выпуклые части 33 картриджа расположены между двумя вторыми выпуклыми частями 34 картриджа, а верхние поверхности первых выпуклых частей 33 картриджа и второй выпуклой части 34 картриджа упираются во вторую поверхность 13 крышки 1 картриджа. Разница между пятым вариантом выполнения и вторым вариантом выполнения заключается в том, что в пятом варианте выполнения картридж содержит множество скобных лент 2, которые расположены вдоль осевого направления. Первая выпуклая часть 33 картриджа расположена между основами 21 соседних двух скобных лент 2. Две вторые выпуклые части 34 картриджа расположены, соответственно, на дистальной стороне самой дистальной скобной ленты 2 и на проксимальной стороне самой проксимальной скобной ленты 2. Первая выпуклая часть 33 картриджа и/или вторая выпуклая часть 34 картриджа могут быть жестко соединены со скобной лентой 2 посредством сварки, например, для улучшения устойчивости взаимодействия между опорным элементом 3 и скобной лентой 2.

[0097] Как показано на Фиг. 16-17, в этом варианте выполнения расстояние между внутренней стороной и внешней стороной первой выпуклой части 33 картриджа в поперечном направлении равно расстоянию между внутренней стороной и внешней стороной основы 21 скобной ленты в поперечном направлении, то есть поперечная ширина первой выпуклой части 33 картриджа равна поперечной ширине основы 21 скобной ленты, что может лучше ограничивать положение скобных лент 2 во время установки и сохранять устойчивость скобной ленты 2. В других альтернативных вариантах выполнения расстояние в поперечном направлении между внутренней стороной и внешней стороной первой выпуклой части 33 картриджа также может быть меньше, чем расстояние в поперечном направлении между внутренней стороной и внешней стороной основы 21 скобной ленты. Например, могут быть использованы форма и размер первой выпуклой части 33 картриджа как во втором варианте выполнения, что также входит в объем защиты настоящего изобретения.

[0098] Пятый вариант выполнения также может иметь множество вариаций, все из которых входят в объем защиты настоящего изобретения. Количество, размер, форма и расположение первой выпуклой части 33 картриджа и второй выпуклой части 34 картриджа в пятом варианте выполнения не ограничиваются показанными на чертежах. Длина скобных лент в осевом направлении и количество скобных лент 2 не ограничено показанными на чертежах и могут регулироваться по мере необходимости. В альтернативной реализации могут быть установлены только первые выпуклые части 33 картриджа без вторых выпуклых частей 34 картриджа, или же только вторые выпуклые части 34 картриджа могут быть установлены без первых выпуклых частей 33 картриджа.

[0099] Фиг. 18 изображает частичный структурный схематический вид картриджа, выполненного в соответствии с шестым вариантом выполнения настоящего изобретения. Разница между шестым вариантом выполнения и первым вариантом выполнения состоит в том, что в шестом варианте выполнения дистальный конец и проксимальный конец второй стенки 142 отверстия 14 для скоб имеют, соответственно, вогнутую дугу 1421, а самая нижняя точка вогнутой дуги 1421 находится ниже второй стенки 142 отверстия. На Фиг. 18 вторая стенка 142 одного отверстия 14 в качестве примера имеет вогнутую дугу 1421. В других вариантах выполнения вторые стенки 142 всех отверстий 14 могут иметь, соответственно, вогнутые дуги 1421, или вторые стенки 142 части отверстий 14 могут иметь, соответственно, вогнутые дуги 1421. Для отверстия 14 вогнутая дуга 1421 может быть установлена как на дистальном конце, так и на проксимальном конце, или только на одном из дистального и проксимального концов второй стенки 142 отверстия. Благодаря установке вогнутой дуги 1421 скобу 22 легче отделить от отверстия 14 после формирования. Выборочно, в исходном состоянии, самая нижняя точка вогнутой дуги 1421 находится выше самой нижней точки соединительной части 221 скобы 22, что предотвращает полный выход соединительной части 221 за пределы отверстия 14 и улучшает устойчивость скобы 22 в отверстии 14, когда сшиватель не приведен в действие.

[00100] Фиг. 19 и 20 изображают примеры крышки картриджа, взаимодействующей со скобами. Чтобы лучше проиллюстрировать взаимодействие между крышкой 1 картриджа и скобками 22, крышка картриджа на Фиг. 19 и 20 показана в аксонометрии, а опорный элемент и основа скобной ленты не показаны. Форма взаимодействия между крышкой картриджа и скобами на Фиг. 19 и 20 может применяться к любому из упомянутых выше вариантов выполнения с первого по шестой, то есть может применяться для взаимодействия между скобами 22 и крышкой 1 с отверстиями 14 для скоб (без вогнутой дуги 1421) в вариантах выполнения с первого по пятый, или к взаимодействию между скобами 22 и крышкой 1 с отверстиями 14 (с вогнутой дугой 1421) в шестом варианте выполнения.

[00101] Как показано на Фиг. 19, в исходном состоянии ножка 222 скобы, корончатая часть 223 и шип 2231 скобы 22 находятся ниже самой высокой точки второй стенки 142 отверстия 14 в направлении высоты. Самая высокая точка соединительной части 221 выше, чем самая высокая точка второй стенки 142 отверстия 14, но ниже, чем самая высокая точка первой стенки 141 отверстия 14. Самая нижняя точка соединительной части 221 ниже, чем вторая стенка 142 отверстия 14. В варианте выполнения с вогнутой дугой 1421 самая нижняя точка соединительной части 221 находится ниже, чем самая нижняя точка вогнутой дуги 1421.

[00102] При использовании сшивателя для сшивания и разрезания ткани ткань между пазом для выполнения разрезания и сшивателем на внутренней стороне образует выступающий край, который может предотвращать случайное соскальзывание скоб по краю ткани. Однако в существующей технологии после сшивания и разрезания ткани ширина выступающего края мала, и функция выступающего края не может быть использована в полной мере.

[00103] Для решения этой проблемы в настоящем изобретении дополнительно предложена головка и хирургический сшиватель, содержащий головку. Путем установки выпуклой части матрицы на матрицу и улучшения формы отверстия для скоб можно получить более широкий выступающий край после анастомоза тканей, что лучше предотвращает случайное соскальзывание скоб. В частности, головка содержит матрицу и картридж, расположенные относительно друг друга. Поверхность матрицы, обращенная к картриджу, является ударной поверхностью, и в матрице расположен паз для выполнения разрезания. Ударная поверхность имеет выпуклую часть, по меньшей мере на одной стороне паза матрицы для выполнения разрезания, причем выпуклая часть матрицы выступает в сторону картриджа. Картридж содержит по меньшей мере одну крышку, причем в картридже выполнен паз для выполнения разрезания, а на одной стороне крышки картриджа рядом с пазом картриджа для выполнения разрезания расположена изогнутая часть, проходящая в осевом направлении. Изогнутая часть имеет множество отверстий для скоб, которые имеют первую стенку и вторую стенку, проходящие в осевом направлении. Первая стенка отверстия выше, чем вторая стенка отверстия в направлении высоты. Таким образом, в головке на матрице расположена выпуклая часть, а форма отверстия для скоб улучшена. Отверстия для скоб расположены на изогнутой части на одной стороне крышки картриджа, обращенной к пазу картриджа для выполнения разрезания. Вторая стенка отверстия ниже, чем первая стенка отверстия в направлении высоты, причем отверстие для скоб частично утоплено в направлении высоты. Положительный эффект заключается в том, что, когда ткань сшивается и разрезается сшивателем, под действием выпуклой части матрицы ткань изгибается вниз, образуя более широкий выступающий край по сравнению с существующими технологиями, что лучше предотвращает случайное соскальзывание скоб.

[00104] Фиг. 21-36 изображают структурные схематические виды головки, выполненной в соответствии с седьмым вариантом выполнения настоящего изобретения. Как показано на Фиг. 21 и 22, в седьмом варианте выполнения головка содержит матрицу 7 и картридж. Картридж содержит раму 8, крышку 1, расположенную внутри рамы 8 картриджа, и скобную ленту 2, которая, по меньшей мере частично, расположена внутри крышки 1 картриджа. Конструкция картриджа будет подробно представлена далее путем объединения прилагаемых чертежей. Головка имеет первое состояние и второе состояние. Как показано на Фиг. 21, в первом состоянии матрица 7 открыта относительно картриджа, то есть дистальная сторона 71 матрицы 7 находится относительно далеко от картриджа. Как показано на Фиг. 22, во втором состоянии матрица 7 закрыта относительно картриджа, то есть дистальная сторона 71 матрицы 7 находится относительно близко к картриджу. Проксимальная сторона 82 рамы 8 соединена с возможностью поворота с матрицей 7. В частности, как показано на Фиг. 21 и 22, проксимальная сторона 72 матрицы 7 имеет канавку 76, как показано на Фиг. 25. Проксимальная сторона 82 рамы 8 имеет длинную канавку 83, проходящую в осевом направлении. Соединительный штифт (не показан на чертежах) одновременно проходит через канавку 76 и длинную канавку 83, так что рама 8 соединена с матрицей 7 с возможностью поворота. Как показано на Фиг. 29 и 30, внутреннее пространство крышки 1 картриджа вмещает скобную ленту 2 и опорный элемент 3, поддерживающий скобную ленту 2. Скобная лента 2 содержит основу 21, расположенную над опорным элементом 3, и множество скоб 22, по меньшей мере частично расположенных сбоку от опорного элемента 3. Как показано на Фиг. 29, нож 5 в этом варианте выполнения представляет собой I-образный нож, содержащий верхнюю поперечину 51, нижнюю поперечину 53 и соединительную часть 52, присоединенную между верхней поперечиной 51 и нижней поперечиной 53. Верхняя часть соединительной части 52 ножа входит в паз 74 матрицы для выполнения разрезания, а нижняя часть соединительной части 52 ножа входит в паз 60 картриджа для выполнения разрезания. В первом состоянии и нож 5 и пусковой элемент 4 находятся в исходных положениях, соответственно, у проксимальной стороны. Когда толкатель ножа (на чертежах не показан) выводит нож 5 из исходного положения для перемещения в дистальном направлении, нож 5 толкает пусковой элемент 4 для перемещения в дистальном направлении. В то же время нож 5 заставляет матрицу 7 постепенно смыкаться относительно картриджа и переходить во второе состояние за счет координации верхней поперечины 51 и матрицы 7. В этот момент, если толкатель ножа продолжает толкать нож 5 в дистальном направлении, нож 5 будет продолжать толкать пусковой элемент 4 в дистальном направлении. Пусковой элемент 4 будет толкать скобы 22 для сшивания ткани, тогда как нож 5 разрезает ткань, чтобы завершить процесс приведения в действие сшивателя.

[00105] Как показано на Фиг. 23 и 26, сторона матрицы 7, обращенная к картриджу, представляет собой ударную поверхность (т.е. на виде в аксонометрии на Фиг. 23 нижняя поверхность матрицы 7), причем ударная поверхность имеет множество отверстий 73. Положения отверстий 73 матрицы соответствуют скобам 22 в картридже. Матрица 7 имеет паз 74 для выполнения разрезания, а ударная поверхность имеет выпуклую часть 75 по меньшей мере на одной стороне паза 74 матрицы для выполнения разрезания. Выпуклая часть 75 матрицы проходит в направлении картриджа. В этом варианте выполнения ударная поверхность имеет выпуклые части 75, расположенные с обеих сторон паза 74 матрицы для выполнения разрезания, причем выпуклые части 75 матрицы включают выпуклый стержень, проходящий вдоль осевого направления сшивателя. Выпуклый стержень может быть выполнен за одно целое с матрицей 7, или же выпуклый стержень и матрица 7 также могут представлять собой две отдельно сформированные части, которые фиксируются и соединяются друг с другом посредством сварки или других способов. В других вариантах выполнения выпуклая часть 75 матрицы может включать множество выпуклостей, расположенных вдоль осевого направления. Как показано на Фиг. 23, на внешней стороне выпуклой части матрицы в положении соединения с ударной поверхностью расположена дугообразная поверхность 751, вогнутая внутрь. Когда матрица 7 сомкнута относительно картриджа и зажимает ткань, поверхность внешней стороны выпуклой части 75 матрицы, контактирующая с тканью, представляет собой поверхность 751 в виде дуги окружности, а не поверхность под прямым углом, чтобы избежать повреждения ткани. Как показано на Фиг. 26-28, в этом варианте выполнения дистальная поверхность выпуклой части 75 матрицы представляет собой первую направляющую поверхность 752, а проксимальная сторона первой направляющей поверхности 752 наклонена проксимально по сравнению с дистальной стороной. По выбору, переход между первой направляющей поверхностью 752 и нижней поверхностью выпуклой части 75 матрицы является плавным. Проксимальная поверхность выпуклой части 75 матрицы представляет собой вторую направляющую поверхность 753, а дистальная сторона второй направляющей поверхности 753 наклонена дистально по сравнению с проксимальной стороной. По выбору, переход между второй направляющей поверхностью 753 и нижней поверхностью выпуклой части 75 матрицы является плавным. Благодаря наличию первой направляющей поверхности 752 и второй направляющей поверхности 753, когда матрица 7 постепенно закрывается из открытого состояния, выпуклая часть 75 матрицы может лучше прилегать к ткани и лучше размещать ткань между матрицей 7 и картриджем.

[00106] Как показано на Фиг. 29 и 32, в картридже выполнен паз 60 для выполнения разрезания. По обеим сторонам паза 60 картриджа для выполнения разрезания имеются две крышки 1 картриджа, которые расположены симметрично относительно паза 60. Скобная лента 2, установленная в каждой крышке 1 картриджа, может представлять собой длинную ленту, проходящую вдоль в осевом направлении, или содержит множество скобных лент 2, расположенных последовательно вдоль осевого направления. В этом варианте выполнения два ряда скоб 22 расположены, соответственно, на двух сторонах основы 21 скобной ленты, причем два ряда скоб 22 расположены в шахматном порядке вдоль аксиального направления. В других альтернативных вариантах выполнения скобы 22 могут быть установлены только на одной стороне основы 21 скобной ленты. Изгибающаяся часть 18, проходящая в осевом направлении, расположена на одной стороне крышки 1 (внутренней стороне крышки 1) вблизи паза 60, а изогнутая часть 18 имеет гладкую поверхность. Изогнутая часть 18 имеет множество отверстий 14 для скоб, причем каждое отверстие для скоб содержит первую стенку 141 и вторую стенку 142, проходящие в осевом направлении. Первая стенка 141 отверстия выше, чем вторая стенка 142 отверстия, то есть вторая стенка 142 отверстия утоплена в направлении высоты относительно первой стенки 141 отверстия и доходит до боковой пластины крышки 1. Первая стенка 141 отверстия и вторая стенка 142 отверстия расположены в разных плоскостях. В частности, первая стенка 141 отверстия расположена на верхней пластине крышки 1, а вторая стенка 142 отверстия расположена на боковой пластине крышки 1. На Фиг. 23, 24 и 29 показано, что благодаря установке выпуклой части 75 на матрице 7 и улучшения формы отверстия 14, последние устанавливаются на изогнутую часть 18 на стороне крышки 1, обращенной к пазу 60. Вторая стенка 142 отверстия ниже, чем первая стенка 141 отверстия, а отверстие 14 для скоб частично утоплено в направлении высоты, так что, когда сшиватель сшивает и разрезает ткань 91, больше ткани 91 может попасть в открытое пространство отверстий 14 и изогнуться вниз, образуя более широкий выступающий край по сравнению с краем существующей технологии, что лучше предотвращает случайное соскальзывание скобы 22.

[00107] Как показано на Фиг. 23, в этом варианте выполнения, при нахождении во втором состоянии, между самой нижней точкой выпуклой части 75 матрицы и верхней поверхностью крышки 1 картриджа образован второй зазор 92 в направлении высоты (направлении S2), причем высота от верхней стороны до нижней стороны второго зазора 92 равна h2. Между внешней стенкой выпуклой части 75 матрицы и внутренней стенкой крышки 1 картриджа (боковой стенкой крышки 1, расположенной рядом со стороной паза 60) образован третий зазор 93 в направлении ширины (направление S3), причем ширина третьего зазора 93 равна w1. Благодаря формированию второго зазора 92 и третьего зазора 93 образуется достаточно места для размещения ткани, когда головка зажимает ткань между матрицей 7 и картриджем, так что ткань может изгибаться в направлении паза 60 картриджа для выполнения разрезания, тем самым увеличивая ширину выступающего края.

[00108] Как показано на Фиг. 29 и 30, скоба 22 содержит соединительную часть 221, которая соединена с возможностью поворота с основой 21 скобной ленты через соединительную часть 221. Поскольку первая стенка 141 отверстия и вторая стенка 142 отверстия не находятся в одной плоскости, сформированное отверстие 14 для скоб представляет собой трехмерное отверстие 14 для скоб, поэтому на крышке 1 картриджа образуется большее открытое пространство, то есть отверстие 14 утоплено вниз и доходит до боковой пластины крышки 1. Таким образом, отверстие 14 является трехмерным отверстием 14. При закрытии ткань может полностью войти в контур скобы 22, а скоба 22 может лучше проколоть ткань и достичь анастомоза. В то же время скоба 22 после смыкания легче проходит вверх через отверстие 14 и отделяется от крышки 1 картриджа.

[00109] Как показано на Фиг. 29, пусковой элемент 4 содержит часть 42, толкающую скобу, и режущую часть 41. В процессе приведения в действие сшивателя пусковой элемент 4 перемещается от проксимальной стороны картриджа к дистальной стороне картриджа. Часть 42 пускового элемента 4, толкающая скобу, сначала контактирует с корончатой частью 223 скобы 22, заставляет ножку 222 скобы 22 поворачиваться вокруг соединительной части 221 и проходит вверх от отверстия 14, затем скоба 22, закрывается в D-образную форму под действием матрицы 7. Режущая часть 41 разрезает соединительную часть 221 и скоба 22 может отделиться от основы 21 скобной ленты, переместиться вверх через отверстие 14 и закрыться на ткани, а затем скоба 22 может быть отделена от крышки 1 картриджа. Как показано на Фиг. 29 и 30, в процессе поворота скобы 22 по меньшей мере часть ее боковой стенки одновременно упирается во внутреннюю стенку боковой пластины опорного элемента 3 и крышку 1, так что положение боковой стенки скобы 22 всегда ограничено, предотвращая смещение скобы 22 внутрь или наружу в процессе поворота скобы 22.

[00110] Как показано на Фиг. 29 и 30, крышка 1 картриджа содержит две изогнутые части 18, расположенные, соответственно, по обеим сторонам скобной ленты 2. Одна изогнутая часть 18 соединена с верхней пластиной и левой пластиной крышки 1, а другая изогнутая часть 18 соединена с верхней пластиной и правой пластиной крышки 1. Поверхность изогнутой части 18 представляет собой гладкую поверхность дугообразной формы. Отверстия 14 на изогнутых частях 18 на обеих сторонах скобной ленты 2 представляют собой трехмерные отверстия 14 с двумя стенками отверстий, которые не лежат в одной плоскости. Отверстия 14 на обеих сторонах скобной ленты 2 имеют утопленную форму, что позволяет большему количеству ткани проникать в отверстия 14 на обеих сторонах крышки 1, что облегчает прокалывание скобами 22 ткани и их формирование. В то же время отверстия 14 частично утоплены в направлении высоты, что облегчает отделение скоб 22 от крышки 1 после смыкания, улучшая хирургический эффект. В другой альтернативной реализации трехмерные отверстия 14 с двумя стенками, которые не лежат в одной плоскости, могут быть расположены только на внутренней стороне крышки 1 (на стороне рядом с пазом 60 картриджа для выполнения разрезания) на изогнутой части 18, тогда как отверстия для скоб, установленные на внешней стороне крышки 1 (удаленной от стороны паза 60 картриджа для выполнения разрезания) находятся в одной плоскости, т.е. на внешней стороне верхней пластине крышки 1 расположены отверстия для скоб другого типа, первая и вторая стенки отверстия для скоб другого типа расположены на верхней пластине крышки 1 картриджа.

[00111] Как показано на Фиг. 29 и 30, в этом варианте выполнения изогнутая часть 18 присоединена между верхней пластиной и одной боковой пластиной крышки 1 картриджа. Отверстие 14 для скоб содержит первую часть 143 и вторую часть 144, соединенные друг с другом. Первая часть 143 отверстия 14 расположена на верхней пластине крышки 1, а вторая часть 144 отверстия 14 расположена на боковой пластине крышки 1. Первая часть 143 отверстия 14 имеет первую стенку 141 на стороне, удаленной от второй части 144, а вторая часть 144 отверстия 14 имеет вторую стенку 142 на стороне, удаленной от первой части 143. В этом варианте выполнения первая стенка 141 отверстия параллельна поверхности боковой пластины крышки 1, а вторая стенка 142 отверстия параллельна поверхности верхней пластины крышки 1. В этом варианте выполнения самая высокая точка соединительной части 221 скобы 22 находится ниже самой высокой точки первой стенки 141 отверстия 14 в направлении высоты. Самая высокая точка соединительной части 221 не выступает из верхней пластины крышки 1. Следовательно, когда сшиватель не приведен в действие, соединительная часть 221 не контактирует с тканью. Самая нижняя точка соединительной части 221 скобы 22 находится ниже самой высокой точки второй стенки 142 отверстия 14 в направлении высоты, так что в исходном состоянии соединительная часть 221 не выступает полностью наружу отверстия 14, так что, когда сшиватель не приведен в действие, устойчивость скобы 22 в отверстии 14 улучшается. Как показано на Фиг. 33 и 35, в этом варианте выполнения самая высокая точка соединительной части 221 находится ниже, чем вторая стенка 142 отверстия в направлении высоты. В другой альтернативной реализации самая высокая точка соединительной части 221 также может быть выше, чем вторая стенка 142 отверстия, и ниже, чем первая стенка 141 отверстия, так что соединительная часть 221 частично видна за пределами отверстия 14, но не полностью открыта, так что после того, как скоба 22 повернется и закроется, скобу 22 легче отделить от отверстия 14.

[00112] Как показано на Фиг. 32 и 34, расстояние между первой стенкой 141 и второй стенкой 142 отверстия 14 в поперечном направлении (направление S3) больше, чем расстояние между двумя сторонами скобы 22 в поперечном направлении (направление S3), то есть ширина отверстия 14 больше, чем ширина скобы 22, так что скоба 22 может полностью проходить через отверстие 14, не застревая при приведении в действие сшивателя. В этом варианте выполнения проекция скобы 22 на верхней пластине крышки 1 попадает в диапазон покрытия проекции отверстия 14 на верхней пластине крышки 1. Когда пусковой элемент 4 перемещает скобу 22 вверх, скоба 22 может проходить через отверстие 14 более плавно, не испытывая помехи со стороны стенки отверстия 14 и не застревая внутри отверстия 14.

[00113] Как показано на Фиг. 35 и 36, скоба 22 дополнительно содержит корончатую часть 223 и ножку 222. Корончатая часть 223 соединена с соединительной частью 221, а сторона корончатой части 223, обращенная к дистальной стороне, имеет шип 2231. На Фиг. 35 и 36, чтобы лучше проиллюстрировать взаимосвязь между крышкой 1 картриджа и скобной лентой 2, крышка 1 показана в аксонометрии, показывая только ее составные линии. Как показано на Фиг. 35, в исходном состоянии вторая стенка 142 отверстия установлена выше шипа 2231, чтобы избежать выход шипа 2231 за пределы отверстия 14 и не поцарапать ткань. Самая высокая точка ножки 222 скобы также находится ниже второй стенки 142 отверстия в направлении высоты, чтобы избежать выход ножки 222 скобы за пределы отверстия 14 и не поцарапать ткань в исходном состоянии.

[00114] В приведенном выше варианте выполнения выпуклая часть 75 матрицы, установленная на поверхности матрицы, содержит выпуклую часть, проходящую в осевом направлении сшивателя. В другом альтернативном варианте выполнения выпуклая часть 75 матрицы может содержать множество выпуклых частей, расположенных вдоль осевого направления сшивателя. Выпуклые части могут представлять собой выпуклые стержни, круглые выступы, квадратные выступы, конические выступы и т.д.

[00115] В приведенных выше вариантах выполнения скобная лента 2 изготовлена из биосовместимого материала. В некоторых вариантах выполнения основа 21 скобной ленты и скоба 22 могут быть изготовлены из разных материалов. Например, в некоторых вариантах выполнения основа 21 скобной ленты изготовлена из нерассасывающегося и неразлагаемого материала, такого как титан, титановый сплав и нержавеющая сталь. Скоба 22 может быть выборочно изготовлена из материала, который является одновременно биоразлагаемым и биосовместимым. Скоба 22 может быть выборочно изготовлена из биосовместимого материала, который является как биоразлагаемым, так и биорассасывающимся материалом, так что после пришивания скобы 22 к ткани последующие операции по удалению скоб больше не нужны. Например, скоба 22 изготовлена из магния, магниевого сплава, биоразлагаемых полимерных материалов и т.д., но настоящее изобретение не ограничивается этим. Кроме того, поверхность скобы 22 также может быть покрыта биосовместимым покрытием, которое является как биоразлагаемым, так и биорассасывающимся. Это покрытие может дополнительно улучшить твердость скобы 22 и регулировать скорость разрушения скобы 22. Покрытие может представлять собой, например, покрытие из рассасывающегося материала, такого как покрытие из L-полимолочной кислоты (PLLA) и/или рацемическое покрытие из полимолочной кислоты (PDLLA), но настоящее изобретение не ограничивается этим. Регулируя толщину покрытия, можно регулировать общую скорость разрушения скобы 22. В качестве альтернативы, покрытие может быть изготовлено из свертывающего агента, который может уменьшить кровотечение во время процесса анастомоза. В других вариантах поверхность скобы 22 может иметь магнитное покрытие. При приложении внешнего магнитного поля покрытие намагничивается, что позволяет добиться эффекта повышения прочности анастомоза. Внешнее магнитное поле может представлять собой электромагнитное поле, а напряженность магнитного поля можно регулировать в соответствии с потребностями анастомоза, или магнитное поле может представлять собой постоянное магнитное поле.

[00116] Вышеупомянутое представляет собой подробное описание настоящего изобретения в связи с конкретными предпочтительными вариантами выполнения, и конкретные варианты выполнения настоящего изобретения не ограничиваются описанием. Модификации и замены могут быть сделаны без отклонения от сущности и объема настоящего изобретения.

Похожие патенты RU2835736C2

название год авторы номер документа
Картридж и хирургический сшивающий аппарат 2022
  • Шань Тэнь
RU2833859C2
КОМПЕНСАТОРЫ ТОЛЩИНЫ ТКАНИ ДЛЯ КРУГОВЫХ ХИРУРГИЧЕСКИХ СШИВАЮЩИХ АППАРАТОВ 2013
  • Александр Джонни Х. Iii
  • Хендерсон Кортни Э.
  • Миллер Кристофер К.
  • Мисэймер Джон П.
  • Шмид Кэтрин Дж.
  • Шелтон Фредерик Э. Iv
  • Митчлер Стэфани Э.
  • Смит Брет В.
  • Кроппер Майкл С.
RU2639860C2
ХИРУРГИЧЕСКИЙ СШИВАЮЩИЙ АППАРАТ С ПРИСПОСОБЛЕНИЕМ ДЛЯ НАЛОЖЕНИЯ ВСПОМОГАТЕЛЬНОГО МАТЕРИАЛА 2012
  • Бэйлек Стефен Дж.
  • Будро Чэд П.
  • Холкомб Мэттью Д.
  • Литл Томас У. Iv
  • Миллер Мэттью К.
  • Шейб Чарльз Дж.
  • Смит Брет У.
  • Ван И-Лан
  • Уилсон Доналд Ф. Мл.
  • Рхад Эдвард А.
  • Моуди Крина Р.
  • Заватски Джозеф
  • Зингмен Арон О.
RU2619378C2
ЗАКРЫВАЮЩИЙ ПРИВОДНОЙ МЕХАНИЗМ И ХИРУРГИЧЕСКИЙ СШИВАТЕЛЬ 2020
  • Шань Тэнь
RU2791053C1
ХИРУРГИЧЕСКИЙ СШИВАЮЩИЙ АППАРАТ С ШАРНИРНО ЗАКРЕПЛЕННЫМ УПОРОМ 2012
  • Шелтон Фредерик Э. Iv
  • Янг Джозеф Э.
  • Аронхолт Тэйлор В.
  • Бакстер Честер О. Iii
RU2629240C2
Поворотный механизм и хирургический сшивающий аппарат 2020
  • Чэнь Чжи
  • Ду Сянцзинь
RU2795556C1
ХИРУРГИЧЕСКИЙ СШИВАТЕЛЬ 2017
  • Не, Хунлинь
  • Ян, Гуан
  • Чжан, Силян
  • Ши, Сюфын
  • Ли, Аньхуа
  • Бао, Минхой
  • Цзян, Ян
RU2728714C2
ЗАКРЫВАЮЩИЙ ПРИВОДНОЙ МЕХАНИЗМ И ХИРУРГИЧЕСКИЙ СШИВАТЕЛЬ 2020
  • Шань Тэнь
RU2792203C1
ХИРУРГИЧЕСКИЙ СШИВАЮЩИЙ АППАРАТ С КОМПОНЕНТАМИ МНОГОРАЗОВОГО ИСПОЛЬЗОВАНИЯ 2009
  • Налагатла Анил К.
  • Пател Судхир Б.
  • Прадхан Дебасиш
  • Бакстер Честер О. Iii
  • Беди Джеймс
RU2513598C2
ХИРУРГИЧЕСКИЙ СШИВАЮЩИЙ ИНСТРУМЕНТ С ДОЗАТОРОМ МЕДИЦИНСКИХ ПРЕПАРАТОВ 2011
  • Шелтон Фредерик Э.
  • Хьюэл Джозеф С.
  • Морган Джером Р.
  • Фуджикава Лесли М.
RU2559019C2

Иллюстрации к изобретению RU 2 835 736 C2

Реферат патента 2025 года КАРТРИДЖ ДЛЯ ХИРУРГИЧЕСКОГО СШИВАЮЩЕГО АППАРАТА, ГОЛОВКА ДЛЯ ХИРУРГИЧЕСКОГО СШИВАЮЩЕГО АППАРАТА И ХИРУРГИЧЕСКИЙ СШИВАЮЩИЙ АППАРАТ

Группа изобретений относится к медицинской технике, а именно к картриджу для хирургического сшивающего аппарата, головке для хирургического сшивающего аппарата и хирургическому сшивающему аппарату. Картридж для хирургического сшивающего аппарата содержит скобную ленту и крышку. Скобная лента содержит по меньшей мере одну основу и больше одной скобы. Каждая скоба соединена с возможностью поворота с основой скобной ленты через соединительную часть. Крышка надета на основу скобной ленты. Крышка картриджа содержит по меньшей мере одну изогнутую часть, которая проходит в осевом направлении сшивающего аппарата и присоединена между верхней пластиной и боковой пластиной крышки картриджа. Изогнутая часть имеет более одного отверстия для скоб, каждое из которых содержит первую стенку и вторую стенку, проходящие в осевом направлении. Первая стенка отверстия выше второй стенки отверстия в направлении высоты. Головка для хирургического сшивающего аппарата содержит матрицу и вышеуказанный картридж. Поверхность матрицы, обращенная к картриджу, представляет собой ударную поверхность. В матрице расположен паз для выполнения разрезания. Ударная поверхность имеет выпуклую часть, выступающую в сторону картриджа по меньшей мере на одной стороне паза матрицы для выполнения разрезания. В картридже расположен паз для выполнения разрезания. Изогнутая часть выполнена с возможностью расположения на одной стороне крышки картриджа, обращенной к пазу картриджа для выполнения разрезания. Хирургический сшивающий аппарат, содержащий вышеупомянутый картридж или вышеуказанную головку. Использование группы изобретений облегчает отделение скоб от крышки картриджа после их закрытия. 3 н. и 12 з.п. ф-лы, 36 ил.

Формула изобретения RU 2 835 736 C2

1. Картридж для хирургического сшивающего аппарата, содержащий:

скобную ленту, содержащую по меньшей мере одну основу и больше одной скобы, при этом каждая скоба соединена с возможностью поворота с основой скобной ленты через соединительную часть,

крышку, надетую на основу скобной ленты, при этом крышка картриджа содержит по меньшей мере одну изогнутую часть, которая проходит в осевом направлении сшивающего аппарата и присоединена между верхней пластиной и боковой пластиной крышки картриджа, причем изогнутая часть имеет более одного отверстия для скоб, каждое из которых содержит первую стенку и вторую стенку, проходящие в осевом направлении, при этом первая стенка отверстия выше второй стенки отверстия в направлении высоты.

2. Картридж по п.1, в котором каждое отверстие для скоб содержит первую часть и вторую часть, соединенные друг с другом, при этом первая часть отверстия для скоб расположена на верхней пластине крышки картриджа, вторая часть отверстия для скоб расположена на боковой пластине крышки картриджа, первая стенка отверстия расположена на одной стороне первой части, удаленной от второй части отверстия для скоб, а вторая стенка отверстия расположена на одной стороне второй части, удаленной от первой части отверстия для скоб.

3. Картридж по п.2, в котором самая высокая точка соединительной части находится ниже самой высокой точки первой стенки отверстия для скоб в направлении высоты и/или самая нижняя точка соединительной части находится ниже самой высокой точки второй стенки отверстия для скоб в направлении высоты.

4. Картридж по п.2, в котором проекция соединительной части на боковой пластине крышки картриджа по меньшей мере частично совпадает с проекцией отверстия для скоб на боковой пластине крышки картриджа.

5. Картридж по п.2, в котором расстояние в поперечном направлении между первой стенкой отверстия и второй стенкой отверстия для скоб больше, чем расстояние в поперечном направлении между двумя сторонами скобы,

причем проекция скобы на верхней пластине крышки картриджа находится в пределах диапазона покрытия проекции отверстия для скоб на верхней пластине крышки картриджа.

6. Картридж по п.1, в котором дистальный конец и/или проксимальный конец второй стенки отверстия имеет вогнутую дугу и самая нижняя точка вогнутой дуги находится ниже, чем вторая стенка отверстия в направлении высоты.

7. Картридж по п.1, дополнительно содержащий опорный элемент, причем во время процесса поворота скобы по меньшей мере часть боковой стенки скобы одновременно упирается в опорный элемент и внутреннюю стенку боковой пластины крышки картриджа.

8. Картридж по п.7, в котором скоба дополнительно содержит корончатую часть, соединенную с соединительной частью, при этом корончатая часть выполнена с возможностью поворота в положение, параллельное направлению оси, после смыкания и формирования скобы, а самая высокая точка второй стенки отверстия находится выше, чем самая нижняя точка корончатой части.

9. Картридж по п.8, в котором корончатая часть имеет шип и в исходном состоянии вторая стенка отверстия находится выше шипа.

10. Картридж по п.7, дополнительно содержащий пусковой элемент, причем основа скобной ленты выполнена с возможностью установки на одной стороне опорного элемента, при этом основа скобной ленты содержит первую поверхность, удаленную от опорного элемента,

крышка картриджа содержит вторую поверхность, обращенную к первой поверхности основы скобной ленты, причем между первой поверхностью основы скобной ленты и второй поверхностью крышки картриджа образован первый зазор,

пусковой элемент расположен с возможностью перемещения в нижней части крышки картриджа и в осевом направлении и содержит режущую часть, при этом самая высокая точка режущей части находится выше первой поверхности основы скобной ленты в направлении высоты.

11. Картридж по п.10, в котором самая нижняя точка режущей части пускового элемента находится ниже, чем первая поверхность основы скобной ленты в направлении высоты, а режущая часть пускового элемента выполнена с возможностью совмещения, по меньшей мере частичного, с соединительной частью в осевом направлении.

12. Картридж по п.10, дополнительно содержащий по меньшей мере одну выпуклую часть, при этом выпуклая часть картриджа содержит первую часть, выполненную с возможностью расположения между первой поверхностью основы скобной ленты и второй поверхностью крышки картриджа, причем высота от верхней поверхности до нижней поверхности первой части выпуклой части картриджа равна высоте первого зазора.

13. Головка для хирургического сшивающего аппарата, содержащая матрицу и картридж по любому из пп.1-12, причем поверхность матрицы, обращенная к картриджу, представляет собой ударную поверхность и в матрице расположен паз для выполнения разрезания, причем ударная поверхность имеет выпуклую часть, выступающую в сторону картриджа по меньшей мере на одной стороне паза матрицы для выполнения разрезания, в картридже расположен паз для выполнения разрезания и изогнутая часть выполнена с возможностью расположения на одной стороне крышки картриджа, обращенной к пазу картриджа для выполнения разрезания.

14. Головка по п.13, в которой ударная поверхность имеет выпуклую часть на каждой из двух сторон паза матрицы для выполнения разрезания, причем по меньшей мере одна крышка картриджа выполнена с возможностью расположения на каждой стороне паза картриджа для выполнения разрезания.

15. Хирургический сшивающий аппарат, содержащий картридж по любому из пп.1-12 или головку по п.13 или 14.

Документы, цитированные в отчете о поиске Патент 2025 года RU2835736C2

CN 111789645 A, 20.10.2020
US 2009321496 A1, 31.12.2009
RU 2052979 C1, 27.01.1996
CN 210931598 U, 07.07.2020
US 2014263557 A1, 18.09.2014.

RU 2 835 736 C2

Авторы

Шань Тэнь

Даты

2025-03-03Публикация

2022-08-31Подача