Область техники
[1] Различные варианты осуществления раскрытия относятся к электронному устройству. Более конкретно, раскрытие относится к электронному устройству, в котором по меньшей мере пара корпусов соединяется с возможностью поворота друг с другом.
Предпосылки изобретения
[2] Вместе с развитием электронных, информационных и коммуникационных технологий различные функции были интегрированы в единое переносное устройство связи или электронное устройство. Например, смартфон оснащается функциональностью аудиоплеера, устройства формирования изображения или электронной записной книги, также как функциональностью связи. Больше различных функций может быть реализовано в смартфоне путем дополнительной установки приложений.
[3] Пользователь может искать, выбирать и получать больше информации путем доступа к сети, не ограниченной функциями (например, приложениями), или информации, включенной в переносное устройство связи или электронное устройство. Что касается доступа к сети, схема прямого соединения (например, проводного соединения) может предусматривать быстрое и устойчивое установление связи, но с областью использования, ограниченной фиксированным местоположением или некоторым диапазоном пространства. Схема беспроводной связи не ограничивается значительно в местоположении и пространстве и предлагает скорость передачи и устойчивость, почти эквивалентную способу прямого соединения. В будущем схема беспроводной связи, как ожидается, должна обеспечивать более быстрое и более устойчивое установление связи по сравнению со схемой прямого доступа.
[4] Поскольку персональные или переносные устройства связи, такие как смартфоны, становятся популярными, потребности пользователей в портативности и удобстве использования повышаются. Например, дисплей с сенсорным экраном может предоставлять виртуальную клавиатуру, которая служит в качестве устройства вывода для вывода визуальной информации и заменяет механическое устройство ввода (например, устройство ввода кнопочного типа). Соответственно, переносные устройства связи или электронные устройства способны предоставлять такую же или более улучшенную пригодность к использованию (например, более крупный экран) в меньшем размере. С другой стороны, ожидается, что коммерциализация гибких дисплеев, например, складных или скручиваемых в рулон дисплеев, будет улучшать портативность и удобство использования электронных устройств.
[5] Вышеуказанная информация представлена в качестве информации о предпосылках только для помощи в понимании раскрытия. Не было сделано никаких определений и не делается никаких утверждений относительно того, может ли что-либо из вышеизложенного применяться в качестве предыдущего уровня техники в отношении раскрытия.
Раскрытия
Техническая проблема
[6] В электронном устройстве, имеющем складную конструкцию, различные электронные компоненты могут быть размещены в различных корпусах и электрически соединяться друг с другом через провода, такие как кабели или гибкие печатные платы (FPCB). Разводка, такая как кабель или FPCB, может иметь по меньшей мере один разъем (соединитель), соединяемый с другой схемной платой. Электронное устройство может выполнять сверхскоростную связь или передачу данных с большой пропускной способностью, обладая характеристиками с низкими потерями и широкой полосой частот и/или включая в себя больше проводов. Например, поскольку производительность или функция связи электронного устройства улучшается, больше проводов может соединять электронные компоненты между различными корпусами. Однако, учитывая, что внутреннее пространство корпусов постепенно уменьшается вследствие портативности электронного устройства, может быть трудно обеспечивать пространство, в котором кабели и провода для соединения электронных компонентов могут быть размещены. Поскольку больше проводов размещается, свобода проектирования для размещения электрических/электронных компонентов или емкость батареи могут быть ограничены.
[7] Аспекты раскрытия предназначены решить по меньшей мере вышеупомянутые проблемы и/или недостатки и предоставить по меньшей мере преимущества, описанные ниже. Соответственно, аспект раскрытия предназначен предоставлять электронное устройство, включающее в себя структуру разводки (например, гибкую печатную плату (FPCB) или разъем, который соединяет с FPCB), которая может расширять площадь размещения других электронных компонентов на схемной плате.
[8] Другим аспектом раскрытия является предоставление электронного устройства, включающего в себя структуру разводки, которая может увеличивать емкость батареи во внутреннем пространстве.
[9] Другим аспектом раскрытия является предоставление электронного устройства, включающего в себя структуру разводки, которая может вносить вклад в миниатюризацию или легкий вес электронного устройства.
[10] Дополнительные аспекты вариантов осуществления изложены частично в описании, которое следует, и частично будут очевидны из описания или могут распознаваться при практическом использовании представленных вариантов осуществления.
Техническое решение
[11] В соответствии с различными вариантами осуществления раскрытия предоставляется электронное устройство. Электронное устройство содержит первый корпус, второй корпус, шарнирную область, размещенную между первым корпусом и вторым корпусом, по меньшей мере один шарнирный модуль, предусмотренный в шарнирной области, соединенный с первым корпусом и вторым корпусом и выполненный с возможностью обеспечивать поворот первого корпуса и второго корпуса относительно друг друга между сложенным положением и разложенным положением, первую батарею (аккумулятор), предусмотренную в первом корпусе, первую схемную плату, предусмотренную в первом корпусе, включающую в себя первый участок, размещенный между первой батареей и шарнирной областью, и по меньшей мере одну гибкую печатную плату (FPCB), простирающуюся из внутреннего пространства первого корпуса во внутреннее пространство второго корпуса, при этом участок упомянутой по меньшей мере одной FPCB размещается между первой батарей и первым участком первой схемной платы.
[12] В соответствии с различными вариантами осуществления раскрытия предоставляется электронное устройство. Электронное устройство включает в себя по меньшей мере один шарнирный модуль, предусматривающий по меньшей мере одну ось складывания, первый корпус, соединенный с шарнирным модулем, чтобы поворачиваться вокруг оси складывания, второй корпус, соединенный с шарнирным модулем, чтобы поворачиваться вокруг оси складывания, и поворачивающийся относительно первого корпуса между первым положением, при котором второй корпус сложен, обращенным к первому корпусу, и вторым положением, при котором второй корпус разложен на конкретный угол от первого положения, первую батарею, предусмотренную в первом корпусе, первую схемную плату, включающую в себя первую область размещения, расположенную параллельно первой батарее по меньшей мере частично в направлении, параллельном оси складывания, и вторую область размещения, простирающуюся от первой области размещения и расположенную между осью складывания и батареей, и по меньшей мере одну гибкую печатную плату (FPCB), простирающуюся из внутреннего пространства первого корпуса во внутреннее пространство второго корпуса поперек оси складывания. Внутри первого корпуса один концевой участок FPCB соединяется со второй областью размещения между осью складывания и первой батареей, и часть FPCB размещается между первой батареей и второй областью размещения.
[13] В соответствии с различными вариантами осуществления раскрытия предоставляется переносное устройство связи. Переносное устройство связи включает в себя корпус, складываемый относительно оси складывания и включающий в себя первую корпусную часть, вторую корпусную часть и крышку шарнира, расположенную между по меньшей мере частью первой корпусной части и по меньшей мере частью второй корпусной части, причем первая корпусная часть включает в себя первую боковую стенку, простирающуюся параллельно оси складывания, вторую боковую стенку, простирающуюся от первого конца первой боковой стенки перпендикулярно оси складывания, и третью боковую стенку, простирающуюся от второго конца первой боковой стенки перпендикулярно оси складывания, шарнирный модуль, размещенный в корпусе и соединенный с первой корпусной частью и второй корпусной частью, гибкий дисплей, размещенный в первой корпусной части и второй корпусной части, батарею, размещенную в первой корпусной части и имеющую первую боковую поверхность, направленную ко второй боковой стенке и разнесенную от второй боковой стенки на первое расстояние, и вторую боковую поверхность, направленную к крышке шарнира и разнесенную от крышки шарнира на второе расстояние, меньшее, чем первое расстояние, первую жесткую печатную плату (RPCB), размещенную в первой корпусной части и включающую в себя первую часть, расположенную между первой боковой поверхностью батареи и второй боковой стенкой, и вторую часть, простирающуюся от упомянутой первой части и расположенную между второй боковой поверхностью батареи и крышкой шарнира, причем вторая часть включает в себя первую поверхность, направленную к гибкому дисплею, вторую поверхность, направленную в направлении, противоположном первой поверхности второй части, и первый разъем, расположенный на второй поверхности второй части, вторую RPCB, размещенную во второй корпусной части и включающую в себя третью часть напротив второй части первой RPCB в сложенном состоянии корпуса, причем третья часть включает в себя первую поверхность, направленную к гибкому дисплею, вторую поверхность, направленную в направлении, противоположном первой поверхности третьей части, и второй разъем, расположенный на второй поверхности третьей части, и FPCB, по меньшей мере частично размещенную между крышкой шарнира и гибким дисплеем и соединенную с первым разъемом первой RPCB и вторым разъемом второй RPCB. FPCB простирается в первом направлении, окружая вторую поверхность второй части первой RPCB, боковую поверхность между первой поверхностью и второй поверхностью второй части, и часть первой поверхности второй части, и соединяется с первым разъемом. FPCB простирается во втором направлении, противоположном первому направлению, и соединяется со вторым разъемом.
[14] В соответствии с различными вариантами осуществления раскрытия предоставляется электронное устройство. Электронное устройство включает в себя по меньшей мер один шарнирный модуль, первый корпус, соединенный с шарнирным модулем, чтобы поворачиваться вокруг первой оси вращения, второй корпус, соединенный с шарнирным модулем, чтобы поворачиваться вокруг второй оси вращения, и поворачивающийся относительно первого корпуса между первым положением, при котором второй корпус сложен, обращенным к первому корпусу, и вторым положением, при котором второй корпус разложен на конкретный угол от первого положения, по меньшей мере одну батарею, предусмотренную в по меньшей мере одном из первого корпуса или второго корпуса, и по меньшей мере одну FPCB, простирающуюся из внутреннего пространства первого корпуса во внутреннее пространство второго корпуса поперек первой оси вращения или второй оси вращения. Во втором положении один концевой участок FPCB размещается параллельно батарее вдоль направления, пересекающего первую ось вращения или вторую ось вращения.
[15] В соответствии с различными вариантами осуществления раскрытия предоставляется электронное устройство. Электронное устройство включает в себя первый корпус, поворачивающийся вокруг первой оси вращения, второй корпус, поворачивающийся вокруг второй оси вращения и поворачивающийся относительно первого корпуса между первым положением, при котором второй корпус сложен, обращенным к первому корпусу, и вторым положением, при котором второй корпус разложен на конкретный угол от первого положения, шарнирный модуль, соединяющий второй корпус с возможностью поворота с первым корпусом и предоставляющий первую ось вращения и вторую ось вращения, по меньшей мере одну батарею, предусмотренную в по меньшей мере одном из первого корпуса или второго корпуса, по меньшей мере одну схемную плату, предусмотренную вместе с батареей в по меньшей мере одном из первого корпуса или второго корпуса, и по меньшей мере одну FPCB, простирающуюся из внутреннего пространства первого корпуса во внутреннее пространство второго корпуса поперек первой оси вращения или второй оси вращения. Схемная плата включает в себя первую область размещения, расположенную параллельно батарее в направлении, параллельном первой оси вращения, и вторую область размещения, простирающуюся от первой области размещения в направлении первой оси вращения и расположенную параллельно батарее в направлении, пересекающем первую ось вращения. Один концевой участок FPCB соединяется со схемной платой во второй области размещения.
Преимущественные эффекты
[16] Как очевидно из предшествующего описания, согласно различным вариантам осуществления раскрытия, разводка для соединения электрических/электронных компонентов (например, схемных плат), размещенных в различных корпусах по отношению друг к другу, может быть размещена, чтобы соединяться со схемными платами в положении, практически параллельном батарее, внутри одного корпуса, и может быть расположена в области между батареей и другим корпусом. В конструкции, в которой по меньшей мере пара корпусов соединяются с возможностью поворота, это положение соединения может по существу соответствовать неиспользуемому пространству. Например, область для размещения электронных компонентов (например, интегральной микросхемы или пассивного устройства) может дополнительно быть обеспечена в другой области схемных плат путем размещения структуры проводки в неиспользованном пространстве. Например, свобода проектирования может быть увеличена при размещении электронных компонентов на схемной плате. В некотором варианте осуществления пространство для увеличения емкости батареи во внутренних пространствах корпусов может быть расширено путем миниатюризации схемных плат без размещения электронных компонентов в обеспеченной добавочной области. В другом варианте осуществления электронное устройство может быть миниатюризировано путем миниатюризации корпусов без увеличения емкости батареи в расширенном пространстве.
[17] Другие аспекты, преимущества и отличительные признаки раскрытия станут понятны специалистам в данной области техники из последующего подробного описания, которое, взятое вместе с присоединенными чертежами, раскрывает различные варианты осуществления раскрытия.
Описание чертежей
[18] Вышеуказанные и другие примерные аспекты, признаки и преимущества некоторых вариантов осуществления раскрытия станут более понятными из нижеприведенного описания, взятого вместе с сопроводительными чертежами, на которых:
[19] Фиг. 1 является схемой, иллюстрирующей плоское состояние электронного устройства согласно различным вариантам осуществления изобретения;
[20] Фиг. 2 является схемой, иллюстрирующей сложенное состояние электронного устройства согласно различным вариантам осуществления изобретения;
[21] Фиг. 3A является покомпонентным видом в перспективе, иллюстрирующим электронное устройство согласно различным вариантам осуществления изобретения;
[22] Фиг. 3B является видом в разрезе, иллюстрирующим шарнирную конструкцию или шарнирный модуль в электронном устройстве согласно различным вариантам осуществления изобретения;
[23] Фиг. 4 является схемой, иллюстрирующей структуру разводки в электронном устройстве согласно различным вариантам осуществления изобретения;
[24] Фиг. 5 является первым видом сверху, иллюстрирующим первую схемную плату в электронном устройстве согласно различным вариантам осуществления изобретения;
[25] Фиг. 6 является вторым видом сверху, иллюстрирующим первую схемную плату в электронном устройстве согласно различным вариантам осуществления изобретения;
[26] Фиг. 7 является первым видом сверху, иллюстрирующим вторую схемную плату в электронном устройстве согласно различным вариантам осуществления изобретения;
[27] Фиг. 8 является вторым видом сверху, иллюстрирующим вторую схемную плату в электронном устройстве согласно различным вариантам осуществления изобретения;
[28] Фиг. 9 является видом в перспективе, иллюстрирующим усиливающую пластину в электронном устройстве согласно различным вариантам осуществления изобретения;
[29] Фиг. 10 является схемой, иллюстрирующей гибкие печатные платы (FPCB) в электронном устройстве согласно различным вариантам осуществления изобретения;
[30] Фиг. 11 является видом в разрезе, иллюстрирующим разрезанную часть электронного устройства согласно различным вариантам осуществления изобретения; и
[31] Фиг. 12 является схемой, иллюстрирующей пример модификации схемных плат(ы) или усиливающей пластины в электронном устройстве согласно различным вариантам осуществления изобретения.
[32] Следует понимать, что на всех чертежах одинаковые ссылочные позиции относятся к одинаковым частям, компонентам и конструкциям.
Режим осуществления изобретения
[33] Нижеприведенное описание со ссылкой на прилагаемые чертежи предоставляется для помощи в исчерпывающем понимании различных вариантов осуществления раскрытия, определяемого формулой изобретения и ее эквивалентами. Оно включает в себя различные конкретные подробности для помощи в этом понимании, но они должны рассматриваться как лишь примерные. Соответственно, специалистам в данной области техники будет понятно, что могут быть выполнены различные изменения и модификации различных вариантов осуществления, описанных здесь, без отступления от сущности и объема раскрытия. Помимо этого, описания хорошо известных функций и конструкций могут пропускаться для ясности и краткости.
[34] Термины и слова, используемые в нижеприведенном описании и в формуле изобретения, не ограничены библиографическими значениями, а используются автором изобретения просто для обеспечения ясного и согласованного понимания раскрытия. Соответственно, специалистам в данной области техники должно быть очевидно, что нижеприведенное описание различных вариантов осуществления раскрытия предоставляется только для целей иллюстрации, а не для целей ограничения раскрытия, определенного прилагаемой формулой изобретения и ее эквивалентами.
[35] Следует понимать, что элементы в единственном числе включают в себя множественные объекты, пока контекст явно не диктует иное. Таким образом, например, ссылка на "поверхность компонента" включает в себя ссылку на одну или более таких поверхностей.
[36] Электронное устройство согласно различным вариантам осуществления может быть одним из различных типов электронных устройств. Электронные устройства могут включать в себя, например, переносное устройство связи (например, смартфон), компьютерное устройство, переносное мультимедийное устройство, переносное медицинское устройство, камеру, носимое устройство или бытовой прибор. Согласно варианту осуществления изобретения, электронные устройства не ограничиваются описанными выше.
[37] Следует понимать, что различные варианты осуществления раскрытия и термины, используемые в нем, не предназначены для ограничения технологических особенностей, изложенных здесь, конкретными вариантами осуществления и включают в себя различные изменения, эквиваленты или замены для соответствующего варианта осуществления. Относительно описания чертежей, аналогичные ссылочные позиции могут использоваться для того, чтобы ссылаться на аналогичные или связанные элементы. При использовании здесь каждая из таких фраз, как "A или B", "по меньшей мере одно из A и B", "по меньшей мере одно из A или B", "A, B или C", "по меньшей мере одно из A, B и C" и "по меньшей мере одно из A, B или C", может включать в себя все возможные комбинации элементов, перечисляемых вместе в соответствующей одной из фраз. Когда используются здесь, такие термины как "1-ый" и "2-ой" или "первый" и "второй" могут использоваться, чтобы просто различать соответствующий компонент от другого, и не ограничивают компоненты в другом аспекте (например, важности или порядке). Следует понимать, что, если выполняется ссылка на элемент (например, первый элемент), с или без помощи термина "функционально" или "с возможностью связи", как "связанный с", "присоединенный к", "соединенный с" или "подключенный к" другому элементу (например, второму элементу), это означает, что элемент может быть соединен с другим элементом непосредственно (например, проводным образом), беспроводным образом или через третий элемент.
[38] Используемый здесь термин "модуль" может включать в себя модуль, реализованный в аппаратном обеспечении, программном обеспечении или микропрограммном обеспечении, и может использоваться взаимозаменяемо с другими терминами, например, "логика", "логический блок", "часть" или "схема". Модуль может представлять собой единый составной компонент или минимальный блок или его часть, приспособленные для выполнения одной или более функций. Например, согласно варианту осуществления раскрытия, модуль может быть реализован в виде специализированной интегральной схемы (ASIC).
[39] Различные варианты осуществления, как изложено здесь, могут быть реализованы в качестве программного обеспечения (например, программы), включающего в себя одну или более инструкций, которые хранятся на носителе хранения данных (например, внутреннем запоминающем устройстве или внешнем запоминающем устройстве), который может считываться машиной (например, электронным устройством). Например, процессор (например, процессор) машины (например, электронного устройства) может вызывать по меньшей мере одну из одной или более инструкций, хранящихся на носителе хранения данных, и исполнять ее с или без помощи одного или более других компонентов под управлением процессора. Это позволяет машине работать, выполняя по меньшей мере одну функцию в соответствии с упомянутой по меньшей мере одной вызванной инструкцией. Упомянутые одна или более инструкций могут включать в себя код, сгенерированный компилятором, или код, выполняемый интерпретатором. Машиночитаемый носитель данных может быть предоставлен в форме невременного носителя данных. При этом термин "невременный" просто означает, что носитель данных является материальным устройством и не включает в себя сигнал (например, электромагнитную волну), но этот термин не делает различий между тем, где данные сохраняются полупостоянным образом на носителе данных и где данные временно сохраняются на носителе данных.
[40] Согласно варианту осуществления раскрытия, способ согласно различным вариантам осуществления раскрытия может быть включен и предоставлен в виде компьютерного программного продукта. Компьютерные программные продукты могут продаваться как товары между продавцами и покупателями. Компьютерный программный продукт может распространяться в виде машиночитаемого носителя хранения данных (например, постоянного запоминающего устройства на компакт-диске (CD-ROM)) или распространяться (например, загружаться или выгружаться) онлайн через магазин приложений (например, PlayStore™) или между двумя пользовательскими устройствами (например, смартфонами) напрямую. При распространении в сети по меньшей мере часть компьютерного программного продукта может быть временно сгенерирована или по меньшей мере временно сохранена на машиночитаемом носителе данных, таком как запоминающее устройство сервера производителя, сервера магазина приложений или сервера ретрансляции.
[41] Согласно различным вариантам осуществления раскрытия, каждый компонент (например, модуль или программа) из вышеописанных компонентов может включать в себя единственный объект или множество объектов. Некоторые из множества объектов могут быть отдельно расположены в разных компонентах. Согласно различным вариантам осуществления раскрытия один или более из описанных выше компонентов могут быть исключены или могут быть добавлены один или более других компонентов. Альтернативно или дополнительно, множество компонентов (например, модулей или программ) может быть объединено в единый компонент. В таком случае, согласно различным вариантам осуществления раскрытия, интегрированный компонент может выполнять одну или более функций каждого из множества компонентов таким же или аналогичным образом, как они выполнялись соответствующим одним из множества компонентов перед интеграцией. Согласно различным вариантам осуществления раскрытия, операции, выполняемые с помощью модуля, программы или другого компонента, могут выполняться последовательно, параллельно, циклически или эвристически, или одна или более операций могут выполняться в другом порядке или быть пропущены, или одна или более других операций могут быть добавлены.
[42] Фиг. 1 является схемой, иллюстрирующей плоское состояние электронного устройства согласно различным вариантам осуществления изобретения. Фиг. 2 является схемой, иллюстрирующей сложенное состояние электронного устройства согласно различным вариантам осуществления изобретения. Фиг. 3 является покомпонентным видом в перспективе, иллюстрирующим электронное устройство согласно различным вариантам осуществления изобретения.
[43] В описании различных вариантов осуществления изобретения конфигурация, в которой пара корпусов (например, первый корпус 110 и второй корпус 120) соединены друг с другом с возможностью поворота с помощью шарнирной конструкции (например, шарнирного модуля 102 на фиг. 3A), может быть взята в качестве примера. Однако, следует отметить, что этот вариант осуществления не ограничивает электронное устройство 100 согласно различным вариантам осуществления изобретения. Например, электронное устройство 100 согласно различным вариантам осуществления изобретения может включать в себя три или более корпусов, и термин "пара корпусов" в варианте осуществления, раскрытом ниже, может означать "два корпуса, соединенных с возможностью поворота друг с другом, из трех или более корпусов".
[44] В последующем подробном описании "направление +X/-X", "направление +Y/-Y" или "направление +Z/-Z" могут быть упомянуты, и следует отметить, что декартова система координат, в общем, описывается ниже относительно направления X по ширине, направления Y по длине или направления Z по толщине первого корпуса 110 на фиг. 1 или 2. Например, согласно некоторым вариантам осуществления или в зависимости от какой-либо другой конструкции, заданной в качестве начала координат в электронном устройстве 100, определения вышеупомянутых направлений могут изменяться. В последующем подробном описании могут быть упомянуты "передняя поверхность (сторона)" или "задняя поверхность (сторона)" электронного устройства 100 или каждого из корпусов 110 и 120. Независимо от относительных положений (например, плоского или разложенного состояния или сложенного состояния) корпусов 110 и 120, поверхность, на которой гибкий дисплей 130 на фиг. 1 размещается, определяется как "передняя поверхность электронного устройства 100 (или передние поверхности корпусов 110 и 120)", а поверхность, обращенная в противоположном направлении поверхности с гибким дисплеем 130, размещенным на ней, определяется как "задняя поверхность электронного устройства 100 (или задние поверхности корпусов 110 и 120)". Согласно некоторым вариантам осуществления, ссылка может быть сделана на "конфигурацию, в которой электронное устройство 100 включает в себя дисплей", где "дисплей" может относиться к гибкому дисплею 130 на фиг. 1 или фиг. 3A.
[45] Обращаясь к фиг. 1 и 2, в варианте осуществления электронное устройство 100 может включать в себя пару корпусов 110 и 120, соединенных друг с другом с возможностью поворота, крышку шарнира (например, крышку 140 шарнира на фиг. 3A), которая покрывает складные части корпусов 110 и 120, и складной дисплей (т.е. гибкий дисплей 130), размещенный в пространстве, определенном корпусами 110 и 120. Согласно варианту осуществления, поверхность, на которой гибкий дисплей 130 размещен, может быть определена как первая поверхность 110a и/или третья поверхность 120a электронного устройства 100 и/или корпуса 110 или 120. В другом варианте осуществления поверхность, противоположная первой поверхности 110a и/или третьей поверхности 120a, может быть определена как вторая поверхность 110b и/или четвертая поверхность 120b электронного устройства 100 и/или корпуса 110 или 120. В другом варианте осуществления поверхность, окружающая пространство между первой поверхностью 110a и второй поверхностью 110b, и/или поверхность, окружающая пространство между третьей поверхностью 120a и четвертой поверхностью 120b, могут быть определены как боковая поверхность 113 (например, первая боковая поверхность 111a или вторая боковая поверхность 121a) электронного устройства 100 и/или корпуса 110 или 120. Вторая поверхность 110b может включать в себя вспомогательный дисплей 182.
[46] Согласно различным вариантам осуществления, первый корпус 110 и второй корпус 120 могут быть размещены бок о бок друг с другом в разложенном положении (т.е. плоском состоянии), и между первым корпусом 110 и вторым корпусом 120 в разложенном положении может быть образована шарнирная область (или шарнирное пространство). В разложенном положении шарнирная область (или шарнирное пространство) могут быть по меньшей мере частично размещены в положении, соответствующем области 133 складывания гибкого дисплея 130. Например, шарнирная конструкция или шарнирный модуль 102 могут быть предусмотрены в шарнирной области, по меньшей мере в плоском состоянии, и соединять первый корпус 110 и второй корпус 120 друг с другом с возможностью поворота. В варианте осуществления шарнирная область или шарнирное пространство способны деформироваться по форме или размеру, когда первый корпус 110 и второй корпус 120 поворачиваются относительно друг друга.
[47] Согласно различным вариантам осуществления, корпуса 110 и 120 могут включать в себя первый корпус (или первую корпусную конструкцию) 110, второй корпус (или вторую корпусную конструкцию) 120, включающий в себя область 124 датчиков, первую заднюю крышку 180, вторую заднюю крышку 190 и шарнирную конструкцию (например, шарнирную конструкцию или шарнирный модуль 102 на фиг. 4). Корпуса 110 и 120 электронного устройства 100 могут быть реализованы путем объединения и/или соединениях других форм или компонентов друг с другом, не ограниченных по форме или сочетанию, проиллюстрированным на фиг. 1 и 2. Например, в другом варианте осуществления первый корпус 110 и первая задняя крышка 180 могут быть сформированы как одно целое, и второй корпус 120 и вторая задняя крышка 190 могут быть сформированы как одно целое.
[48] Согласно различным вариантам осуществления, первый корпус 110 может быть соединен с шарнирным модулем 102, чтобы поворачиваться вокруг первой оси вращения (например, первой оси P1 вращения на фиг. 3A), и включает в себя первую поверхность 110a, обращенную в первом направлении (например, направлении +Z), и вторую поверхность 110b, обращенную во втором направлении (например, направлении -Z), противоположном первому направлению. Второй корпус 110 может быть соединен с шарнирным модулем 102, чтобы поворачиваться вокруг второй оси вращения (например, второй оси P2 вращения на фиг. 3A) и включать в себя третью поверхность 130a, обращенную в третьем направлении, и четвертую поверхность 130b, обращенную в четвертом направлении, противоположном третьему направлению. Второй корпус 120 может поворачиваться относительно первого корпуса 110 по шарнирному модулю 102. Третье направление может быть направлением оси Z. Третье направление может быть определено как направление +Z или направление -Z согласно плоскому состоянию или сложенному состоянию. Например, электронное устройство 100 может быть изменено в сложенное состояние или плоское состояние. В одном варианте осуществления расстояние между первой и второй осями P1 и P2 вращения может изменяться в зависимости от конструкции шарнирного модуля 102. В некоторых вариантах осуществления первая ось P1 вращения и вторая ось P2 вращения формируются практически параллельно, тогда как в других вариантах осуществления первая ось P1 вращения и вторая ось P2 вращения могут совпадать друг с другом, образуя ось A складывания на фиг. 1. Конфигурация шарнирной конструкции или шарнирного модуля 102 будет дополнительно описана со ссылкой на фиг. 3B.
[49] Фиг. 3B является видом в разрезе, иллюстрирующим шарнирную конструкцию или шарнирный модуль электронного устройства (например, электронного устройства 100 на фиг. 1, 2 и 3A) согласно различным вариантам осуществления изобретения.
[50] Обращаясь к фиг. 3B, шарнирная конструкция или шарнирный модуль 102 может включать в себя держатель 141 шарнира, шарнирные рычаги 143a и 143b и/или поворотные штифты 145a и 145b. В одном варианте осуществления в электронном устройстве 100 может быть размещено отдельно друг от друга множество (например, пара) шарнирных конструкций или шарнирных модулей 102. Например, пара шарнирных модулей 102 может быть размещена с предварительно определенным интервалом в направлении оси Y. В одном варианте осуществления проводка (например, гибкая печатная плата (FPCB) 441 на фиг. 10), которая электрически соединяет внутренний компонент первого корпуса 110 с внутренним компонентом второго корпуса 120, может быть размещена в зазоре или промежутке между парой шарнирных модулей 102, пересекая первую ось P1 вращения и/или вторую ось P2 вращения.
[51] Согласно различным вариантам осуществления, держатель 141 шарнира может быть размещен практически в крышке 140 шарнира и прикреплен к внутренней поверхности крышки 140 шарнира. В варианте осуществления первый шарнирный рычаг 143a из шарнирных рычагов 143a и 143b может быть размещен на или прикреплен к первой промежуточной пластине 152 и соединен с возможностью поворота с держателем 141 шарнира. Например, первый поворотный штифт 145a из поворотных штифтов 145a и 145b может соединять с возможностью поворота первый шарнирный рычаг 143a с держателем 141 шарнира. В другом варианте осуществления второй шарнирный рычаг 143b из шарнирных рычагов 143a и 143b может быть размещен на или прикреплен ко второй промежуточной пластине 154 и соединен с возможностью поворота с держателем 141 шарнира. Например, второй поворотный штифт 145b из поворотных штифтов 145a и 145b может соединять с возможностью поворота первый шарнирный рычаг 143a с держателем 141 шарнира.
[52] Согласно различным вариантам осуществления, первая ось P1 вращения и вторая ось P2 вращения могут быть определены, по существу, поворотными штифтами 145a и 145b. Например, поворотные штифты 145a и 145b могут быть размещены с возможностью поворота на держателе 141 шарнира, параллельно оси Y. В некоторых вариантах осуществления поворотные штифты 145a и 145b могут быть прикреплены к держателю 141 шарнира, и шарнирные рычаги 143a и 143b могут быть соединены с возможностью поворота с поворотными штифтами 145a и 145b. Согласно варианту осуществления, расстояние между первой и второй осями P1 и P2 вращения могут быть заданы согласно расстоянию между поворотными штифтами 145a и 145b на держателе 141 шарнира.
[53] Согласно различным вариантам осуществления, первая поверхность 110a может быть обращена к третьей поверхности 120a в сложенном состоянии электронного устройства 100, и третье направление может быть идентично первому направлению в плоском состоянии электронного устройства 100. Например, первый корпус 110 и второй корпус 120 могут поворачиваться относительно друг друга между первым положением, при котором первый и второй корпуса 110 и 120 сложены обращенными друг к другу, и вторым положением, при котором первый и второй корпуса 110 и 120 разложены на конкретный угол (например, 180 градусов) от первого положения. Согласно варианту осуществления, первое и третье направления могут быть направлением +Z, а второе и четвертое направления могут быть направлением -Z в плоском состоянии электронного устройства 100. Согласно варианту осуществления, первое и четвертое направления могут быть направлением +Z, а второе и третье направления могут быть направлением -Z в сложенном состоянии электронного устройства 100. Пока не упомянуто иное, направления будут описываться ниже на основе плоского состояния электронного устройства 100.
[54] Согласно различным вариантам осуществления, первый корпус 110 и второй корпус 120 могут быть размещены по обеим сторонам от оси A складывания и могут быть симметричны относительно оси A складывания в целом. Как описывается позже, угол или расстояние между первым корпусом 110 и вторым корпусом 120 может быть различным в зависимости от того, находится ли электронное устройство 100 в плоском состоянии, сложенном состоянии или промежуточном состоянии. Согласно варианту осуществления, второй корпус 120 отличается от первого корпуса 110 в том, что второй корпус 120 дополнительно включает в себя область 124 датчиков, в которой размещаются различные датчики. Однако, первый и второй корпуса 110 и 120 могут быть симметричными друг с другом в остальной области за исключением области 124 датчиков.
[55] Согласно различным вариантам осуществления, электронное устройство 100 может включать в себя конструкцию, в которую вставляется цифровое перо (например, перо стилуса). Например, в боковой поверхности первого корпуса 110 или второго корпуса 120 электронного устройства 100 может быть сформировано отверстие 123, в которое может быть вставлено цифровое перо. Поскольку цифровое перо может быть вставлено в отверстие 123, пользователь может быть избавлен от неудобства ношения цифрового пера.
[56] Согласно различным вариантам осуществления, первый корпус 110 и второй корпус 120 могут формировать углубление для размещения гибкого дисплея 130, как проиллюстрировано на фиг. 1. Согласно варианту осуществления, гибкий дисплей 130 может быть частично асимметричным по форме из-за области 124 датчиков.
[57] Согласно различным вариантам осуществления, по меньшей мере часть первого корпуса 110 и второго корпуса 120 может быть сформирована из металла или неметалла, имеющего жесткость, выбранную, чтобы поддерживать гибкий дисплей 130. Упомянутая по меньшей мере металлическая часть может обеспечивать пластину заземления для электронного устройства 100 и может быть электрически соединена с шиной заземления, сформированной на печатной плате (PCB) (например, схемных платах 162 и 164 на фиг. 3A).
[58] Согласно различным вариантам осуществления, область 124 датчиков может быть сформирована имеющей предварительно определенную площадь смежно с одним углом второго корпуса 120. Однако, компоновка, форма и размер области 124 датчиков не ограничивается проиллюстрированным примером. Например, в другом варианте осуществления область 124 датчиков может быть предусмотрена в другом углу второго корпуса 120 или в любой области между верхним и нижним углами второго корпуса 120. В варианте осуществления компоненты для выполнения различных функций, встроенные в электронное устройство 100, могут быть открыты из передней поверхности электронного устройства 100 через область 124 датчиков или через один или более проемов, предусмотренных в области 124 датчиков. В различных вариантах осуществления компоненты могут включать в себя различные типы датчиков. Датчики могут включать в себя, например, по меньшей мере одно из передней камеры, приемника, датчика освещенности или бесконтактного датчика (приближения).
[59] Согласно различным вариантам осуществления, первая задняя крышка 180 может быть размещена на задней поверхности электронного устройства 100 (например, первом корпусе 110) с одной стороны от оси A складывания. Первая задняя крышка 180 может иметь, например, практически прямоугольную периферию, которая может быть окружена первым корпусом 110. Аналогично, вторая задняя крышка 190 может быть размещена на задней поверхности электронного устройства 100 (например, втором корпусе 120) с другой стороны от оси A складывания, при этом ее периферия окружена вторым корпусом 120.
[60] Согласно различным вариантам осуществления, первая задняя крышка 180 и вторая задняя крышка 190 могут быть практически симметричны относительно оси A складывания. Однако, первая задняя крышка 180 и вторая задняя крышка 190 необязательно симметричны по отношению друг к другу, и в другом варианте осуществления электронное устройство 100 может включать в себя первую заднюю крышку 180 и вторую заднюю крышку 190 в различных формах. В другом варианте осуществления первая задняя крышка 180 может быть сформирована как одно целое с первым корпусом 110, а вторая задняя крышка 190 может быть сформирована как одно целое со вторым корпусом 120.
[61] Согласно различным вариантам осуществления, первая задняя крышка 180, вторая задняя крышка 190, первый корпус 110 и второй корпус 120 могут формировать пространство, в котором могут быть размещены различные компоненты (например, PCB или батарея) электронного устройства 100. Согласно варианту осуществления, один или более компонентов могут быть размещены или визуально открыты на задней поверхности электронного устройства 100. Например, электронное устройство 100 может включать в себя вспомогательный дисплей, который по меньшей мере частично открыт из первой задней области первой задней крышки 180. В другом варианте осуществления один или более компонентов или датчиков могут быть визуально открыты из второй задней области 192 второй задней крышки 190. В различных вариантах осуществления датчики, открытые из второй задней области 192, могут включать в себя бесконтактный датчик и/или заднюю камеру.
[62] Согласно различным вариантам осуществления, передняя камера, открытая из передней поверхности электронного устройства 100 через один или более проемов, образованных в области 124 датчиков, или задняя камера, открытая из второй задней области 192 второй задней крышки 190, может включать в себя один или более объективов, датчик изображения и/или процессор сигналов изображения. В некоторых вариантах осуществления во второй задней области 192 может быть размещена вспышка, включающая в себя, например, светоизлучающий диод (LED) или ксеноновую лампу. В некоторых вариантах осуществления на одной поверхности электронного устройства 100 могут быть размещены два или более объективов (инфракрасная камера, широкоугольный объектив и фотографический телеобъектив) и датчики изображения.
[63] Обращаясь к фиг. 2, крышка 140 шарнира может быть размещена между первым корпусом 110 и вторым корпусом 120 и выполнена с возможностью вмещать и закрывать внутренний компонент (например, шарнирную конструкцию или шарнирный модуль 102 на фиг. 3A). Согласно варианту осуществления, крышка 140 шарнира может быть закрыта частями первого корпуса 110 и второго корпуса 120 или открыта наружу, в зависимости от состояния (плоского или сложенного состояния) электронного устройства 100. В одном варианте осуществления, в первом положении, например, в сложенном состоянии, проиллюстрированном на фиг. 2, первый корпус 110 и второй корпус 120 могут быть практически сложены обращенными друг к другу, и крышка 140 шарнира может быть визуально открыта наружу. В другом варианте осуществления, во втором положении, например, в плоском состоянии, проиллюстрированном на фиг. 1, первый корпус 110 и второй корпус 120 могут быть разложены под углом 180 градусов от первого положения, и крышка 140 шарнира может быть практически скрыта первым корпусом 110 и вторым корпусом 120. В другом примере, в промежуточном состоянии, в котором первый корпус 110 и второй корпус 120 сложены под некоторым углом, крышка 140 шарнира может быть частично открыта наружу между первым корпусом 110 и вторым корпусом 120. В этом случае, однако, открытая область может быть меньше, чем в полностью сложенном состоянии. В одном варианте осуществления крышка 140 шарнира может включать в себя изогнутую поверхность.
[64] Согласно различным вариантам осуществления, гибкий дисплей 130 может быть размещен в пространстве, сформированном корпусами 110 и 120. Например, гибкий дисплей 130 может быть установлен в углублении, сформированном корпусами 110 и 120, и образует большую часть передней поверхности электронного устройства 100. Соответственно, передняя поверхность электронного устройства 100 может включать в себя гибкий дисплей 130, частичную область первого корпуса 110, смежную с гибким дисплеем 130, и частичную область второго корпуса 120, смежную с гибким дисплеем 130. Дополнительно, задняя поверхность электронного устройства 100 может включать в себя первую заднюю крышку 180, частичную область первого корпуса 110, смежную с первой задней крышкой 180, вторую заднюю крышку 190, и частичную область второго корпуса 120, смежную со второй задней крышкой 190.
[65] Согласно различным вариантам осуществления, гибкий дисплей 130 может относиться к гибкому дисплею, который может быть по меньшей мере частично трансформирован в плоскую поверхность или изогнутую поверхность. Согласно варианту осуществления, гибкий дисплей 130 может включать в себя область 133 складывания, первую область 131, размещенную с одной стороны от области 133 складывания (например, слева от области 133 складывания на фиг. 1), и вторую область 132, размещенную с другой стороны от области 133 складывания (например, справа от области 133 складывания на фиг. 1).
[66] Однако, разделение области гибкого дисплея 130, проиллюстрированное на фиг. 1, является примерным, и гибкий дисплей 130 может быть разделен на множество (например, четыре или более, или две) областей согласно своей структуре или функции. Например, хотя область гибкого дисплея 130 может быть разделена областью 133 складывания, простирающейся параллельно оси Y или оси A складывания в варианте осуществления, проиллюстрированном на фиг. 1, область гибкого дисплея 130 может быть разделена на основе другой области складывания (например, области складывания, параллельной оси X) или другой оси складывания (например, оси складывания, параллельной оси X) в другом варианте осуществления. Согласно варианту осуществления, гибкий дисплей 130 может быть объединен или размещен смежно с чувствительной к касаниям схемой, датчиком давления для измерения интенсивности (давления) касания и/или цифровым преобразователем, выполненным с возможностью обнаруживать перо стилуса типа магнитного поля.
[67] Согласно различным вариантам осуществления, первая область 131 и вторая область 132 могут быть симметричны относительно области 133 складывания в целом. Однако, в отличие от первой области 131, вторая область 132 может включать в себя вырезанную выемку или прозрачную область согласно наличию области 124 датчиков и может быть симметричной с первой областью 131 в оставшейся области. Другими словами, первая область 131 и вторая область 132 могут быть симметричны в одной части и асимметричны в другой части.
[68] Теперь будет предоставлено описание действий первого корпуса 110 и второго корпуса 120 и каждой области гибкого дисплея 130 согласно состоянию (например, плоскому или сложенному состоянию) электронного устройства 100.
[69] Согласно различным вариантам осуществления, когда электронное устройство 100 находится в плоском состоянии (например, фиг. 1), первый корпус 110 и второй корпус 120 могут быть под конкретным углом, например, 180 градусов, при этом первая область 131 и вторая область 132 гибкого дисплея 130 обращены в одном и том же направлении. Например, поверхность первой области 131 и поверхность второй области 132 находятся под углом 180 градусов относительно друг друга, обращены в одинаковом направлении (например, переднем направлении электронного устройства 100). Область 133 складывания может быть на одной и той же плоскости с первой областью 131 и второй плоскостью 132.
[70] Согласно различным вариантам осуществления, когда электронное устройство 100 находится в сложенном состоянии (например, фиг. 2), первый корпус 110 и второй корпус 120 могут быть обращены друг к другу. Поверхность первой области 131 может быть обращена к поверхности второй области 132 под острым углом (например, между 0 и 10 градусами). По меньшей мере часть области 133 складывания может быть изогнутой поверхностью с конкретным изгибом.
[71] Согласно различным вариантам осуществления, когда электронное устройство 100 находится в промежуточном состоянии, первый корпус 110 и второй корпус 120 могут быть под некоторым углом, например, под любым из углов между первым положением на фиг. 2 и вторым положением на фиг. 1. Поверхность первой области 131 и поверхность второй области 132 в гибком дисплее 130 могут быть под углом, большим, чем в сложенном состоянии, и меньшим, чем в плоском состоянии. По меньшей мере часть области 133 складывания может быть изогнутой поверхностью с конкретным изгибом, который может быть меньшим, чем в сложенном состоянии.
[72] Обращаясь к фиг. 3A, электронное устройство 100 может включать в себя корпуса 110 и 120, гибкий дисплей 130 и схемные платы 162 и 164. Корпуса 110 и 120 могут включать в себя первый корпус 110, второй корпус 120, узел 150 держателя, первую заднюю крышку 180, вторую заднюю крышку 190 и шарнирный модуль 102.
[73] Согласно различным вариантам осуществления, гибкий дисплей 130 может включать в себя панель 135 отображения и по меньшей мере одну поддерживающую пластину 137, на которую устанавливается панель 135 отображения. Поддерживающая пластина 137 может быть размещена между панелью 135 отображения и узлом 150 держателя.
[74] Согласно различным вариантам осуществления, узел 150 держателя может включать в себя первую промежуточную пластину 152 и вторую промежуточную пластину 154. Шарнирная конструкция или шарнирный модуль 102 могут быть размещены между первой промежуточной пластиной 152 и второй промежуточной пластиной 154. Если смотреть снаружи, шарнирный модуль 102 может быть закрыт крышкой шарнира (например, крышкой 140 шарнира на фиг. 2). Согласно варианту осуществления, на узле 150 держателя, по первой промежуточной пластине 152 и второй промежуточной пластине 154 могут быть размещены разводки (например, FPCB на фиг. 4 или фиг. 10) 441.
[75] Согласно различным вариантам осуществления, схемные платы 162 и 164 могут включать в себя первую схемную плату 162, размещенную на первой промежуточной пластине 152, и вторую схемную плату 164, размещенную на второй промежуточной пластине 154. Первая схемная плата 162 и вторая схемная плата 164 могут быть размещены внутри пространства, образованного узлом 150 держателя, первым корпусом 110, вторым корпусом 120, первой задней крышкой 180 и второй задней крышкой 190. На первой схемной плате 162 и второй схемной плате 164 могут быть установлены электрические/электронные компоненты для реализации различных функций электронного устройства 100. В некоторых вариантах осуществления каждая из первой схемной платы 162 и второй схемной платы 164 может быть интерпретирована как один из электрических/электронных компонентов.
[76] Согласно различным вариантам осуществления, с гибким дисплеем 130, соединенным с узлом 150 держателя, могут быть собраны первый корпус 110 и второй корпус 120, чтобы соединяться с обеими сторонами узла 150 держателя. Например, первый корпус 110 может включать в себя первый боковой элемент 111, окружающий по меньшей мере часть боковой поверхности первой промежуточной пластины 152, а второй корпус 120 может включать в себя второй боковой элемент 121, окружающий по меньшей мере часть боковой поверхности второй промежуточной пластины 154. Первый корпус 110 может включать в себя первую поддерживающую поверхность 112 для поворота, а второй корпус 120 может включать в себя вторую поддерживающую поверхность 122 для поворота, соответствующую первой поддерживающей поверхности 112 для поворота. Первая поддерживающая поверхность 112 для поворота и вторая поддерживающая поверхность 122 для поворота могут включать в себя изогнутые поверхности, соответствующие изогнутым поверхностям, включенным в крышку 140 шарнира. Согласно варианту осуществления, первый боковой элемент 111 может включать в себя первую боковую поверхность 111a, которая по меньшей мере частично окружает пространство между первой поверхностью 110a и второй поверхностью 110b и перпендикулярна первому направлению или второму направлению. Согласно варианту осуществления, второй боковой элемент 121 может включать в себя вторую боковую поверхность 121a, которая по меньшей мере частично окружает пространство между третьей поверхностью 120a и четвертой поверхностью 120b и перпендикулярна третьему направлению или четвертому направлению.
[77] Согласно варианту осуществления, когда электронное устройство 100 находится в плоском состоянии (например, электронное устройство на фиг. 1), первая поддерживающая поверхность 112 для поворота и вторая поддерживающая поверхность 122 для поворота могут закрывать крышку 140 шарнира, так что крышка 140 шарнира может быть не открытой или может быть открытой в минимальной степени с задней поверхности электронного устройства 100. В другом примере, когда электронное устройство 100 находится в сложенном состоянии (например, электронное устройство на фиг. 2), крышка 140 шарнира может быть полностью открыта наружу из электронного устройства 100.
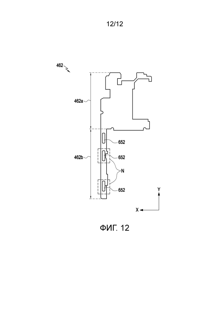
[78] Согласно различным вариантам осуществления, электронное устройство 100 может включать в себя одну или более батарей 169a и 169b. Например, электронное устройство 100 может включать в себя батареи 169a и 169b, размещенные в одном из корпусов 110 и 120 или размещенные соответственно в двух корпусах 110 и 120. Батареи 169a и 169b могут быть размещены практически смежно со схемными платами 162 и 164 и подавать питание по меньшей мере одному компоненту электронного устройства 100. Согласно варианту осуществления, каждая из батарей 169a и 169b может включать в себя, например, неперезаряжаемый первичный гальванический элемент, перезаряжаемый аккумуляторный элемент или топливный элемент.
[79] Фиг. 4 является схемой, иллюстрирующей структуру разводки электронного устройства (например, электронного устройства 100 на фиг. 1, 2 и 3A) согласно различным вариантам осуществления изобретения.
[80] Обращаясь к фиг. 4, электронное устройство 400 включает в себя по меньшей мере одну FPCB 441 (например, первую FPCB 441a и вторую(ые) PCB 441b), размещенную пересекающей по меньшей мере одну из оси P1 вращения или оси P2 вращения. Например, FPCB 441 может простираться из внутреннего пространства первого корпуса 110 во внутреннее пространство второго корпуса 120 через пространство, сформированное крышкой 140 шарнира (например, крышкой 140 шарнира на фиг. 2 или фиг. 3A). В некоторых вариантах осуществления электронное устройство 400 может включать в себя другую FPCB (например, третью FPCB 441c), соединяющую электронные компоненты друг с другом в одном корпусе (например, первом корпусе 110). Например, третья FPCB 441c может соединять первую схемную плату 162 с зарядным выводом или гнездом для подключения наушников (не показаны) внутри первого корпуса 110.
[81] Согласно различным вариантам осуществления, первая FPCB 441a может передавать аналоговый сигнал для беспроводной связи. В некоторых вариантах осуществления вторая(ые) FPCB 441b могут предоставлять топологию схемы для сигнала интерфейса процессора мобильной промышленности (MIPI), MIPI-сигнала камеры (CAM), сигнала шины взаимодействия периферийных компонентов типа экспресс (PCIe), различных тактовых сигналов, управляющего сигнала интегральной схемы (IC), питания системы, питания блока ввода/вывода (I/O), питания модуля идентификации абонента (SIM) и/или батареи. В зависимости от числа второй(ых) FPCB 441b одна вторая FPCB 441b может включать в себя сигнальную линию(и) для передачи выбранной части вышеуказанных сигналов или питания. В другом варианте осуществления одна вторая FPCB 441b может включать в себя сигнальную линию(и) для передачи или переноса всех из вышеуказанных сигналов или питания. В другом варианте осуществления третья FPCB 441c может предоставлять топологию схемы для сигнала универсальной последовательной шины (USB) 2.0, сигнала USB 3.0, различных тактовых сигналов, линии зарядки и/или сигнала управления IC. В некоторых вариантах осуществления третья FPCB 441c может электрически соединять разъем для подсоединения внешнего электронного устройства со схемной платой(ами) 162 и 164.
[82] Согласно различным вариантам осуществления, во втором положении, например, в плоском состоянии корпусов 110 и 120, один концевой участок FPCB 441 может быть расположен между одной из батарей 169a и 169b и осями P1 и P2 вращения на виде сверху. Например, с первой батареей 169a, размещенной в первом корпусе 110, один концевой участок FPCB 441 может быть размещен между первой батареей 169a и первой осью P1 вращения в первом корпусе 110, когда электронное устройство 400 разложено. Например, часть первой схемной платы 462 (например, первой схемной платы 162 на фиг. 3A), размещенной в первом корпусе 110, может быть расположена параллельно с одной стороны от первой батареи 169a и предоставлять область, с которой FPCB 441 соединяется. В другом варианте осуществления, со второй батареей 169b, размещенной во втором корпусе 120, другой концевой участок FPCB 441 может быть размещен между второй батареей 169b и второй осью P2 вращения во втором корпусе 120, когда электронное устройство 400 разложено. Например, часть второй схемной платы 464 (например, второй схемной платы 164 на фиг. 3A), размещенной во втором корпусе 120, может быть расположена параллельно с одной стороны второй батареи 169b и предоставлять область, с которой FPCB 441 соединяется.
[83] Согласно различным вариантам осуществления, первая схемная плата 462 может быть, например, главной схемной платой электронного устройства 400 и включать в себя электрические/электронные компоненты (например, интегральную микросхему), включающие в себя электронные схемы, такие как процессор, модуль связи и модуль управления питанием. Конфигурация первой схемной платы 462 будет описана со ссылкой на фиг. 5 и 6.
[84] Фиг. 5 является первым видом сверху, иллюстрирующим первую схемную плату электронного устройства (например, электронного устройства 100 на фиг. 1, 2 и 3A) согласно различным вариантам осуществления изобретения. Фиг. 6 является вторым видом сверху, иллюстрирующим первую схемную плату электронного устройства согласно различным вариантам осуществления изобретения.
[85] Обращаясь к фиг. 5 и 6, первая схемная плата 462 может включать в себя первую область 462a размещения и вторую область 462b размещения. Первая область 462a размещения, которая является областью, в которой устанавливаются электрические/электронные компоненты, такие как процессор или модуль связи, может быть расположена параллельно батарее 169a, в направлении по длине (направлении оси Y) и/или направлении, параллельном осям P1 и P2 вращения. Вторая область 462b размещения может простираться от одного края первой области 462a размещения, параллельно первой батарее 169a в направлении по ширине (направлении оси X) (и/или направлении, пересекающем оси P1 и P2 вращения). Например, вторая область 462b размещения может простираться от первой области 462a размещения в направлении по длине (направлении оси Y) и может быть размещена смежно с первой батареей 169a. В одном варианте осуществления первая область 462a размещения и вторая область 462b размещения могут быть размещены в соответствии с двумя боковыми поверхностями первой батареи 169a на виде сверху.
[86] Согласно различным вариантам осуществления, вторая область 462b размещения может быть расположена на одном из обоих краев первого корпуса 110 в направлении по ширине (направлении оси X), таким образом обеспечивая среду, в которой может быть в достаточной степени обеспечена емкость (например, объем) батареи 169b. В некоторых вариантах осуществления вторая область 462b размещения может быть расположена во внутреннем пространстве первого корпуса 110, между поддерживающей поверхностью для поворота (например, первой поддерживающей поверхностью 112 для поворота на фиг. 3A) и первой батареей 169a. Например, поскольку вторая область 462b размещения располагается в положении, практически смежном к первой поддерживающей поверхности 112 для поворота, вторая область 462b размещения может обеспечивать среду, в которой может быть обеспечена емкость первой батареи 169a.
[87] Согласно различным вариантам осуществления, вторая схемная плата 464, которая является, например, вспомогательной платой электронного устройства 400, может включать в себя другие электрические/электронные компоненты (например, интегральную микросхему) с электрическими схемами, смонтированными на ней. Конфигурация второй схемной платы 464 будет описана со ссылкой на фиг. 7 и 8.
[88] Фиг. 7 является первым видом сверху, иллюстрирующим вторую схемную плату электронного устройства (например, электронного устройства 100 на фиг. 1, 2 и 3A) согласно различным вариантам осуществления изобретения. Фиг. 8 является вторым видом сверху, иллюстрирующим вторую схемную плату электронного устройства согласно различным вариантам осуществления изобретения.
[89] Обращаясь к фиг. 7 и 8, вторая схемная плата 464 может включать в себя третью область 464a размещения и четвертую область 464b размещения. Третья область 464a размещения, которая является областью, в которой устанавливаются электрические/электронные компоненты, такие как процессор или модуль связи, может быть расположена параллельно второй батарее 169b, в направлении по длине (направлении оси Y) и/или направлении, параллельном осям P1 и P2 вращения. Четвертая область 464b размещения может простираться от одного края третьей области 464a размещения, параллельно второй батарее 169b в направлении по ширине (направлении оси X) (и/или направлении, пересекающем оси P1 и P2 вращения). Например, четвертая область 464b размещения может простираться от третьей области 464a размещения в направлении по длине (направлении оси Y) и может быть размещена смежно со второй батареей 169b. В одном варианте осуществления третья область 464a размещения и четвертая область 464b размещения могут быть размещены в соответствии с двумя боковыми поверхностями второй батареи 169b на виде сверху.
[90] Согласно различным вариантам осуществления, четвертая область 464b размещения может быть расположена на одном из обоих краев второго корпуса 120 в направлении по ширине (направлении оси X), таким образом обеспечивая среду, в которой может быть в достаточной степени обеспечена емкость (например, объем) второй батареи 169b. В некоторых вариантах осуществления четвертая область 464b размещения может быть расположена во внутреннем пространстве второго корпуса 120, между поддерживающей поверхностью для поворота (например, второй поддерживающей поверхностью 122 для поворота на фиг. 3A) и второй батареей 169b. Например, поскольку четвертая область 464b размещения располагается в положении, практически смежно ко второй поддерживающей поверхности 122 для поворота, четвертая область 464b размещения может обеспечивать среду, в которой может быть обеспечена емкость второй батареи 169b.
[91] Хотя третья область 464a размещения и четвертая область 464b размещения второй схемной платы 464 описываются отдельно от конфигурации первой схемной платы 462 в вышеописанном варианте осуществления, третья область 464a размещения может быть практически аналогична первой области 462a размещения, а четвертая область 464b размещения может быть практически аналогична второй области 462b размещения. В последующем подробном описании конфигурация первой области 462a размещения и ее подробное описание могут пониматься как конфигурация и подробное описание третьей области 464a размещения, а конфигурация второй области 462b размещения и ее подробное описание могут пониматься как конфигурация четвертой области 464b размещения и ее подробное описание.
[92] Согласно различным вариантам осуществления, электронное устройство 400 и/или первая схемная плата 462 и вторая схемная плата 464 могут дополнительно включать в себя разъемы 462c и 464c, размещенные во второй области 462b размещения и четвертой области 464b размещения. Разъемы 462c и 464c могут быть различными по размеру или форме в зависимости от числа сигнальных линий, соединенных с каждым из разъемов 462c и 464c, или типа сигнала, назначенного каждому из разъемов 462c и 464c. Разъемы 462c и 464c могут в общем простираться в одном направлении и могут быть размещены в направлении по длине (направлении оси Y) и/или направлении, в котором простираются оси P1 и P2 вращения. Один концевой участок FPCB 441 может быть сформирован как участок с разъемом (например, участок 443a с разъемом на фиг. 10), соответствующий какому-либо одному из разъемов 462c и 464c. Например, один концевой участок FPCB 441 может быть соединен с первой схемной платой 462 (или второй схемной платой 464) через один из разъемов 462c (или 464c) во второй области 462b размещения (или четвертой области 464b) размещения.
[93] Согласно различным вариантам осуществления, схемные платы 462 и 464, например, по меньшей мере вторая область 462b размещения и/или четвертая область 464b размещения могут включать в себя сигнальные линии, по которым передаются цифровые сигналы, такие как различные управляющие сигналы, информационные сигналы и питание системы. В некоторых вариантах осуществления схемные платы 462 и 464 могут включать в себя 12 слоев проводника (например, сигнальных линий), и между слоями проводника может быть предусмотрен изолирующий слой и/или диэлектрический слой. В некоторых вариантах осуществления в качестве одного из токопроводящих слоев во второй области 462b размещения и/или четвертой области 464b размещения может быть предусмотрена усиливающая пластина (например, усиливающая пластина 462d или 464d на фиг. 6 или фиг. 8), описываемая позже. Пример передаваемых сигналов, назначенных слоям проводника, иллюстрируется в Таблице 1 ниже.
[94] Табл. 1
Цифровой акустический сигнал
Сигнал управления IC
Питание I/O-блока (блока ввода/вывода)
Сигнал управления IC
Питание I/O-блока
Питание системы
Батарея
USB 2.0
Тактовый сигнал
Питание системы
Батарея
Высокочастотная передача сигнала для беспроводной связи
Батарея
MIPI
CAM MIPI
Батарея
Высокочастотная передача сигнала для беспроводной связи
Питание системы
Батарея
Батарея
Сигнал управления IC
Питание системы
Батарея
Питание SIM
Сигнал управления IC
Питание системы
[95] Фиг. 9 является первым видом сверху, иллюстрирующим усиливающую пластину (например, усиливающую пластину 462d или 464d на фиг. 6 или фиг. 8) электронного устройства согласно различным вариантам осуществления изобретения. Обращаясь к фиг. 6, 8 и 9, электронное устройство 400 и/или каждая из первой схемной платы 462 (например, первой схемной платы 162 на фиг. 3A) и второй схемной платы 464 (например, второй схемной платы 164 на фиг. 3A) может дополнительно включать в себя усиливающую пластину 562 (например, усиливающую пластину 462d или 464d на фиг. 6 или фиг. 8). Усиливающая пластина 562 может быть сформирована в соответствии с по меньшей мере второй областью 462b размещения из первой области 462a размещения и второй области 462b размещения и может включать в себя плоский участок 562a и изогнутые участки 562b. Плоский участок 562a может быть частью, соединенной по существу обращенной к схемной плате 462 или 464, а изогнутые участки 562b могут быть частями, изогнутыми от плоского участка 562a, по меньшей мере частично окружая боковые поверхности схемной платы 462 или 464. В некоторых вариантах осуществления множество изогнутых участков 562b может быть размещено на по меньшей мере одной стороне плоского участка 562a, и между изогнутыми участками 562b может быть сформирована открытая область 562c. Открытая область 562c может быть, например, областью для размещения участка, выступающего от края схемной платы 462 или 464.
[96] Согласно различным вариантам осуществления, усиливающая пластина 562 может быть размещена обращенной ко второй области 462b размещения (или четвертой области 464b размещения) от другой поверхности первой схемной платы 462 или второй схемной платы 464. Согласно одному варианту осуществления, усиливающая пластина 562 может быть соединена с первой схемной платой 462 (или второй схемной платой 464) практически во второй области 462b размещения (или четвертой области 464b размещения). Например, поскольку ширина (длина, измеренная в направлении оси X) второй области 462b размещения является небольшой, механическая прочность второй области 462b размещения может быть ослаблена. Таким образом, усиливающая пластина 562 может быть соединена со второй областью 462b размещения, дополняя механическую прочность первой схемной платы 462. В некоторых вариантах осуществления усиливающая пластина 562 может быть сформирована из электропроводящего материала, такого как нержавеющая сталь (SUS), и может функционировать в качестве заземляющего проводника первой схемной платы 462 (или второй схемной платы 464).
[97] Согласно различным вариантам осуществления, поддерживающие поверхности для поворота (например, первая поддерживающая поверхность 112 для поворота и вторая поддерживающая поверхность 122 для поворота на фиг. 3A) могут быть изогнуты в соответствии с крышкой 440 шарнира, и внешний размер электронного устройства 400 (например, корпусов 110 и 120) может определяться поддерживающими поверхностями 112 и 122 для поворота. Во внутреннем пространстве электронного устройства 400 первая батарея 169a и/или вторая батарея 169b могут быть изготовлены практически в форме прямоугольного параллелепипеда. Например, внешний размер или форма внутреннего пространства (например, наклонная или изогнутая поверхность) электронного устройства 400 и/или корпусов 110 и 120, определенные поддерживающими поверхностями 112 и 122 для поворота, могут вносить ничтожно малый вклад в увеличение емкости (например, объем) первой батареи 169a и/или второй батареи 169b. Например, участок, который не делает вклад в обеспечение емкости батареи (далее здесь называемый "неиспользуемым пространством"), может существовать в положении, смежном к крышке 140 шарнира во внутреннем пространстве электронного устройства 400 (например, корпусов 110 и 120). Согласно варианту осуществления, вторая область 462b размещения и/или четвертая область 464b размещения могут быть расположены во внутреннем пространстве, например, неиспользуемом пространстве, по существу обеспеченном поддерживающими поверхностями для поворота (например, первой поддерживающей поверхностью 112 для поворота и второй поддерживающей поверхностью 122 для поворота на фиг. 3A).
[98] Согласно различным вариантам осуществления, во втором положении каждая из второй области 462b размещения и четвертой области 464b размещения может быть размещена параллельно другой области размещения с одной стороны от другой области размещения. Например, разъемы 462c второй области 462b размещения и разъемы 464c четвертой области 464b размещения могут быть размещены параллельно друг другу с одной стороны друг от друга и уменьшать путь разводки, который электрически соединяет первую схемную плату 462 с первой схемной платой 464. Согласно варианту осуществления, когда разъемы 462c и 464c размещаются в направлении по длине (направлении оси Y) в первой области 462a размещения и/или третьей области 464a размещения, чтобы уменьшать путь разводки, эта компоновка может стать препятствием в продлении длины первой батареи 169a и/или второй батареи 169b (например, длины в направлении оси Y). Например, поскольку разъемы 462c и/или 464c располагаются во второй области 462b размещения и/или четвертой области 464b размещения, можно легко увеличивать длину (например, емкость) первой батареи 169a и/или второй батареи 169b. Как описано выше, в электронном устройстве согласно различным вариантам осуществления изобретения (например, электронных устройствах 100 и 400 на фиг. 1-4) один концевой участок FPCB 441 может быть размещен параллельно с одной стороны (например, неиспользованном пространстве) от одной из батарей 169a и 169b, пересекая оси P1 и P2 вращения и таким образом соединенным с одной из схемных плат 462 и 464. Например, компоновка структуры разводки в неиспользованном пространстве может обеспечивать среду, в которой увеличивается эффективность использования внутреннего пространства электронного устройства 100 или 400 и/или корпусов 110 и 120, и емкости батарей 169a легко увеличиваются в направлении по длине (направлении оси Y). Более подробно со ссылкой на фиг. 11 будет описана корреляция между второй областью 462b размещения и/или четвертой областью 464b размещения схемной платы 462 и/или схемной платы 464 и емкостями батарей 169a и 169b.
[99] Фиг. 10 является схемой, иллюстрирующей множество FPCB в электронном устройстве (например, электронных устройствах 100 и 400 на фиг. 1, 2, 3 и 4) согласно различным вариантам осуществления изобретения.
[100] Обращаясь к фиг. 10, электронное устройство 400 может включать в себя множество FPCB 441. Среди FPCB 441 первая FPCB 441a может быть выполнена с возможностью передавать аналоговый сигнал, такой как радиочастотный сигнал для беспроводной связи. Один концевой участок первой FPCB 441a может быть соединен со второй областью 462b размещения (или четвертой областью 464b размещения) в положении, смежном с первой областью 462a размещения (или третьей областью 464a размещения). Среди множества FPCB 441 могут быть предусмотрены одна или более вторых FPCB 441b. Вторая(ые) FPCB 441b могут быть размещены вместе с первой FPCB 441a вдоль направления первой оси P1 вращения или второй оси P2 вращения и имеют один концевой участок, соединенный со второй областью 462b размещения (или четвертой областью 464b размещения). Аналогично размещению разъемов 462c и 464c первые концевые участки (например, участок 443a с разъемом) множества FPCB 441 могут быть размещены в направлении, в котором простирается вторая область 462b размещения, например, в направлении по длине (направлении оси Y) и/или направлении, в котором простираются оси P1 и P2 вращения.
[101] Согласно различным вариантам осуществления, одна из вторых FPCB 441b взята в качестве примера. FPCB 441 может включать в себя участки 443a с разъемом на обоих своих концевых участках, первые изогнутые участки 443b, закрепленные участки 443c и/или второй изогнутый участок 443d. Каждый из участков 443a с разъемом может предоставлять конструкцию, соединяемую с одним из разъемов 462c и 464c. Например, когда разъемы 462c и 464c являются штекерными разъемами, участки 443a с разъемом могут быть гнездовыми разъемами. Первые изогнутые участки 443b могут простираться от участков 443a с разъемом и могут быть размещены наклонными (например, перпендикулярно) относительно участков 443a с разъемом в корпусах 110 и 120. В одном варианте осуществления закрепленные участки 443c могут простираться от первых изогнутых участков 443b и могут быть размещены наклоненными (например, перпендикулярно) относительно первого изогнутого участка 443b по существу обращенными к участкам 443a с разъемом. В некоторых вариантах осуществления закрепленные участки 443c могут быть размещены обращенными к участкам 443a с разъемом с некоторыми из внутренних конструкций корпусов 110 и 120 между ними. В другом варианте осуществления закрепленные участки 443c могут быть прикреплены к некоторым из внутренних конструкций корпусов 110 и 120. Например, каждый из закрепленных участков 443c может быть прикреплен к одной из первой промежуточной пластины 152 и второй промежуточной пластины 154 по фиг. 3A. Второй изогнутый участок 443d является участком, простирающимся между двумя закрепленными участками 443с, и может быть размещен во внутреннем пространстве крышки 140 шарнира, в форме в общем кривой линии или изогнутой поверхности. Во втором положении, например, в плоском состоянии электронного устройства второй изогнутый участок 443d может принимать форму кривой линии или изогнутой поверхности, имеющей точку перегиба (точку, в которой радиус изгиба изменяется с отрицательного значения на положительное значение или с положительного значения на отрицательное значение).
[102] Фиг. 11 является видом в разрезе, иллюстрирующим разрезанную часть электронного устройства (например, электронных устройств 100 и 400 по фиг. 1, 2, 3 и 4) согласно различным вариантам осуществления изобретения.
[103] Фиг. 11 является схемой, иллюстрирующей, например, сечение электронного устройства 400, взятое по линии A-A на фиг. 4. Для компонентов, которые могут быть легко поняты из приведенного выше варианта осуществления, могут быть присвоены те же ссылочные позиции, что и ссылочные позиции в приведенном выше варианте осуществления, или ссылочные номерами могут не присваиваться, и их подробное описание будет здесь пропущено.
[104] Обращаясь к фиг. 11 вместе с фиг. 10, электронное устройство 500 может дополнительно включать в себя первый поддерживающий элемент 556a и второй поддерживающий элемент 556b. Первый поддерживающий элемент 556a может быть размещен внутри первого корпуса 110 и определять пространство, в котором размещается первая батарея 169a. Например, первый поддерживающий элемент 556a может быть размещен между первой батареей 169a и первой схемной платой 462 (например, второй областью 462b размещения на фиг. 5), чтобы защищать батарею 169a от механической помехи. В одном варианте осуществления второй поддерживающий элемент 566b может быть размещен внутри второго корпуса 120 и может защищать вторую батарею 169b от механической помехи. В некоторых вариантах осуществления первый поддерживающий элемент 556a может быть частью первой промежуточной пластины 152 и/или может быть сформирован как одно целое с первым боковым элементом 111 по фиг. 3A. Второй поддерживающий элемент 556b может быть частью второй промежуточной пластины 154 и/или может быть сформирован как одно целое со вторым боковым элементом 121 по фиг. 3A.
[105] Согласно различным вариантам осуществления, электронное устройство 500 может дополнительно включать в себя первый уплотнительный элемент 599a, размещенный на первой поддерживающей поверхности 112 для поворота, и второй уплотнительный элемент 599b, размещенный на второй поддерживающей поверхности 122 для поворота. Уплотнительные элементы 599a и 599b могут по существу приходить в тесное соприкосновение с внешней поверхностью крышки 140 шарнира. В одном варианте осуществления внутреннее пространство электронного устройства 500 может быть сформировано за счет конструкции, в которой объединены крышка 140 шарнира и корпуса 110 и 120. Корпуса 110 и 120 могут складываться или раскладываться путем поворота относительно друг друга и/или относительно крышки 140 шарнира, и для плавного поворота крышка 140 шарнира и корпуса 110 и 120 могут быть разнесены друг от друга на точно определенный зазор. В одном варианте осуществления уплотнительные элементы 599a и 599b могут быть сформированы из упругого материала низкой плотности (например, губки), так что уплотнительные элементы 599a и 599b уплотняют зазор между крышкой 140 шарнира и корпусами 110 и 120, в то же время скользя в соприкосновении с внешней поверхностью крышки 140 шарнира. В некоторых вариантах осуществления материал уплотнительных элементов 599a и 599b может быть надлежащим образом выбран с учетом характеристики уплотнения или гладкости скользящего контакта.
[106] Согласно различным вариантам осуществления, один концевой участок (например, участок 443a с разъемом на фиг. 10) FPCB 441 может быть соединен с первой схемной платой 462 (например, второй областью 462b размещения на фиг. 5) внутри первого корпуса 110, а другой концевой участок FPCB 441 может быть соединен со второй схемной платой 464 (например, четвертой областью 464b размещения на фиг. 7) внутри второго корпуса 120. FPCB 441 может быть размещена во внутреннем пространстве крышки 140 шарнира через область между первой батареей 169a (или второй батареей 169b) и первой схемной платой 462 (или второй схемной платой 464) и/или область между первой схемной платой 462 (или второй схемной платой 464) и гибким дисплеем 130. Например, поскольку FPCB 441 расположена, частично окружая первую схемную плату 462 (или вторую схемную плату 464), по меньшей мере часть (например, закрепленный участок 443c на фиг. 10) FPCB 441 может быть размещена между одним концевым участком (например, участком 443a разъема на фиг. 10) FPCB 441 и гибким дисплеем 130. Согласно одному варианту осуществления, закрепленный участок 443c может перекрываться по меньшей мере частично с одним концевым участком (например, участком 443a с разъемом) FPCB 441 в направлении толщины (например, направлении оси Z) внутри первого корпуса 110 или второго корпуса 120.
[107] В некоторых вариантах осуществления каждый из закрепленных участков 443c на фиг. 10 может быть прикреплен к внутренней конструкции (например, промежуточным пластинам 152 или 154) корпуса 110 или 120, по меньшей мере частично, между первой схемной платой 462 (или второй схемной платой 464) и гибким дисплеем 130. Согласно варианту осуществления, часть (например, первый изогнутый участок 443b на фиг. 10) FPCB 441 между одним крайним участком и закрепленным участком 443c FPCB 441 может быть размещен обращенным к одной боковой поверхности батареи 169a или 169b или одной боковой поверхности первой схемной платы 462 (или второй схемной платы 464). В некоторых вариантах осуществления часть каждого из поддерживающих элементов 556a и 556b может быть размещена между первым изогнутым участком 443b и одной боковой поверхностью батареи 169a или 169b. Хотя части FPCB 441, выровненные в направлении оси Z, например, первые изогнутые участки 443b, проиллюстрированы на фиг. 11 как сформированные в виде прямых линий, различные варианты осуществления изобретения не ограничиваются этим. Например, FPCB 441 может иметь некую степень упругости, и когда участки 443a с разъемом и закрепленные участки 443c прикрепляются обращенными друг к другу, первые изогнутые участки 443b могут быть размещены в форме изогнутых поверхностей.
[108] Согласно различным вариантам осуществления, изогнутая форма поддерживающих поверхностей 112 и 122 для поворота и/или крышки 140 шарнира может быть причиной ограничения емкости батареи относительно внутреннего пространства корпусов 110 и 120, как упомянуто ранее. Как проиллюстрировано на фиг. 11, в конструкции, в которой ширины батарей 169a и 169b обеспечиваются до максимума в направлении оси X, неиспользованное пространство, которое вносит небольшой вклад в увеличение емкости батареи (например, внутренние пространства корпусов 110 и 120, сформированные поддерживающими поверхностями 112 и 122 для поворота), может быть по существу расположено между батареями 169a и 169b и крышкой 140 шарнира. В одном варианте осуществления, поскольку неиспользованная область находится на расстоянии от гибкого дисплея 130 в направлении -Z, неиспользованное пространство может простираться в направлении +X в первом корпусе 110 и в направлении -X во втором корпусе 120. В одном варианте осуществления вторая область 462b размещения (или четвертая область 464b размещения) и FPCB 441 могут по меньшей мере частично перекрываться с поддерживающими поверхностями 112 и 122 для поворота и/или крышкой 140 шарнира, если смотреть в направлении толщины корпусов 110 и 120 (например, направлении оси Z). В некоторых вариантах осуществления, когда высота h схемных плат 462 и 464 (например, второй области 462b размещения и четвертой области 464b размещения) от гибкого дисплея 130 увеличивается, каждая из областей 462b и 464b размещения могут перекрываться с одной из поддерживающих поверхностей для поворота на протяжении увеличенной площади или ширины OL, и зазор W между поддерживающими элементами 556a и 556b и/или батареями 169a и 169b и схемными платами 462 и 464 может увеличиваться. Например, когда схемные платы 462 и 464 (например, вторая область 462b размещения и четвертая область 464b размещения) размещаются ближе к шарнирному модулю 102 в диапазоне, допускаемом внутренним пространством корпусов 110 и 120, по меньшей мере часть зазора w может быть использована в качестве пространства для значительного увеличения емкости батарей 169a и 169b. Хотя в проиллюстрированном варианте осуществления вторая область размещения 462b (или четвертая область 464b размещения) и FPCB 441 перекрываются по меньшей мере частично с поддерживающей поверхностью 112 или 122 для поворота и/или крышкой 140 шарнира, если смотреть с направления толщины корпусов 110 и 120 (например, в направлении оси Z), изобретение не ограничивается этим. Например, когда толщина конструкции, формирующей поддерживающие поверхности 112 и 122 для поворота, увеличивается, может быть труднее обеспечивать достаточную высоту, чтобы вмещать вторую область 462b размещения (или четвертую область 464b размещения) и/или участки 443a с разъемом FPCB 441, например, высоту неиспользованного пространства в направлении оси Z. В этом случае вторая область 462b размещения (или четвертая область 464b размещения) и FPCB 441 могут не перекрываться с поддерживающей поверхностью 112 или 122 для поворота и/или крышкой 140 шарнира в направлении толщины. В другом варианте осуществления вторая область 462b размещения (или четвертая область 464b размещения) и FPCB 441 могут перекрываться с поддерживающей поверхностью 112 или 122 для поворота в направлении толщины, а не с крышкой 140 шарнира.
[109] Как описано выше, в электронном устройстве (например, электронных устройствах 100 и 400 по фиг. 1, 2, 3 и 4 и/или электронном устройстве 500 по фиг. 11) согласно различным вариантам осуществления изобретения, структура разводки (например, области 462b и 464b размещения на фиг. 5 или фиг. 7 и/или множество FPCB 441 на фиг. 10) располагается с помощью области, которая вносит небольшой вклад в обеспечение емкости батарей 169a и 169b в конструкции, в которой по меньшей мере пара корпусов 110 и 120 соединяются с возможностью поворота друг с другом. Следовательно, может быть увеличена свобода проектирования, касающаяся компоновки электрических/электронных компонентов в оставшихся областях. В другом варианте осуществления для обеспечения емкости батареи или способствования миниатюризации схемных плат и/или корпусов может быть использовано дополнительное свободное пространство, обеспеченное путем размещения структуры разводки в неиспользованном пространстве.
[110] Как описано со ссылкой на фиг. 11, может быть легко понято, что, поскольку схемная плата (например, схемные платы 462 и 464 по фиг. 5, 6, 7 и 8), например, вторая область 462b размещения (или четвертая область 464b размещения) имеет меньшую толщину или ширину, легче размещать структуру разводки даже в более узком неиспользованном пространстве. В одном варианте осуществления, поскольку усиливающая пластина по фиг. 6, 8 и/или 9 может увеличивать толщину или ширину второй области размещения, усиливающая пластина может способствовать увеличению жесткости или прочности схемных плат 462 и 464. Однако, усиливающая пластина может ограничивать использование неиспользованного пространства. Конструкция для дальнейшего улучшения пригодности к использованию неиспользованного пространства будет описана с дополнительной ссылкой на фиг. 12.
[111] Фиг. 12 является схемой, иллюстрирующей пример модификации схемной(ых) плат (например, схемных плат 462 и 464 по фиг. 5, 6, 7 и 8) или усиливающей пластины 652 (например, усиливающей пластины 462d или 464d по фиг. 6 или фиг. 8) в электронном устройстве (например, электронных устройствах 100 и 400 по фиг. 1, 2, 3 и 4 или электронном устройстве 500 по фиг. 11) согласно варианту осуществления изобретения.
[112] Обращаясь к фиг. 12, электронное устройство (например, электронные устройства 100 и 400 по фиг. 1, 2, 3 и 4 или электронное устройство 500 по фиг. 11) может включать в себя по меньшей мере одну усиливающую пластину, размещенную на упомянутой другой поверхности второй области 462b размещения первой схемной платы 462 (или четвертой области 464b размещения схемной платы 464). По сравнению с усиливающей пластиной 562 по фиг. 9, которая практически покрывает всю вторую область 462b размещения, усиливающая пластин 652 по фиг. 12 может быть размещена на части второй области 462b размещения. Например, часть (например, часть, обозначенная "N") второй области 462b размещения может иметь более узкую ширину, чем другие ее части вследствие внутренней конструкции или формы первого корпуса или второго корпуса (например, корпусов 110 и 120 по фиг. 1, 2 и 3A). Электронное устройство 100, 400 или 500 может включать в себя усиливающую пластину 652, размещенную на упомянутой другой поверхности первой схемной платы 462 (или второй схемной платы 464) в узкой части, обозначенной "N", тем самым увеличивая прочность по меньшей мере узкой части второй области 462b размещения.
[113] Согласно различным вариантам осуществления, может быть предусмотрено множество усиливающих пластин 652, и по меньшей мере одна из усиливающих пластин 652 может быть размещена в положении, соответствующем одному из разъемов 462c и 464c. Например, усиливающие пластины 652 могут быть размещены на узких частях второй области 462b размещения или в соответствии с разъемами 462c и 464c, улучшая прочность схемных плат 462 и 464. В одном варианте осуществления на другой поверхности второй области 462b размещения или четвертой области 464b размещения могут быть размещены пассивный элемент и/или интегральная микросхема (не показана), и усиливающая пластина(ы) 652 могут быть размещены без перекрытия с пассивным устройством (элементом) и/или интегральной микросхемой на упомянутой другой поверхности второй области 462b размещения или четвертой области 464b размещения.
[114] Согласно различным вариантам осуществления, усиливающая пластина(ы) 652 могут иметь толщину меньше высоты, на которую пассивный элемент или интегральная микросхема выступает из другой поверхности второй области 462b размещения или четвертой области 464b размещения. В другом варианте осуществления усиливающая пластина(ы) 652 могут быть размещены практически во второй области 462b размещения или четвертой области 464b размещения в направлении по ширине (например, направлении оси X). Например, размещение усиливающей пластины(ин) 652 может не влиять на пространство, требуемое для вмещения второй области 462b размещения или четвертой области 464b размещения внутри корпусов 110 и 102. Соответственно, размещение усиливающей пластины(ин) 652 может улучшать прочность схемных плат 462 и 464 без необходимости в дополнительном пространстве для размещения. В одном варианте осуществления форма или размер усиливающей пластины(ин) 652 может быть надлежащим образом спроектирована с учетом формы области или пространства, в котором усиливающая пластина(ы) 652 фактически размещается. В некоторых вариантах осуществления усиливающая пластина(ы) 652 может быть сформирована из электропроводящего материала, например, SUS, и при формировании из электропроводящего материала усиливающая пластина(ы) 652 может функционировать в качестве заземления электронных устройств 100, 400 и 500 и/или схемных плат 462 и 464.
[115] Как описано выше, согласно различным вариантам осуществления изобретения, электронное устройство (например, электронные устройства 100 и 400 на фиг. 1, 2, 3 и 4 и/или электронное устройство 500 на фиг. 11) может содержать первый корпус (например, первый корпус 110 на фиг. 1, 2, 3 и 4 или фиг. 11), второй корпус (например, второй корпус 120 на фиг. 1, 2, 3 и 4 или фиг. 11), шарнирную область (например, область или пространство, сформированное между первым корпусом 120 и вторым корпусом 120 на фиг. 1 и 3 и по меньшей мере частично расположенное в положении, соответствующем области 133 складывания гибкого дисплея 130 в разложенном положении), расположенную между первым корпусом и вторым корпусом, по меньшей мере один шарнирный модуль (например, шарнирную конструкцию или шарнирный модуль 102 на фиг. 3A и/или фиг. 11), предусмотренный в шарнирной области, соединенный с первым корпусом и вторым корпусом и выполненный с возможностью обеспечивать поворот первого корпуса и второго корпуса относительно друг друга между сложенным положением (например, состоянием, проиллюстрированным на фиг. 2) и разложенным положением (например, состоянием, проиллюстрированным на фиг. 1), первую батарею (например, одну из батарей 169a и 169b на фиг. 3A, фиг. 4 или фиг. 11), предусмотренную в первом корпусе, первую схемную плату (например, первую схемную плату 162 или 462 на фиг. 3A, 3B, 4 и 5 или фиг. 11 или вторую схемную плату 164 или 464 на фиг. 3A, 4 и 7 или фиг. 11), предусмотренную в первом корпусе, причем первая схемная плата включает в себя первый участок (например, вторую или четвертую область 462b или 464b размещения на фиг. 5 или фиг. 7), расположенный между первой батареей и шарнирной областью, и по меньшей мере одну гибкую печатную плату (FPCB) (например, FPCB 441 на фиг. 4, фиг. 10 или фиг. 11), простирающуюся из внутреннего пространства первого корпуса во внутреннее пространство второго корпуса, при этом участок упомянутой по меньшей мере одной FPCB размещается между первой батареей и первым участком первой схемной платы.
[116] Согласно различным вариантам осуществления изобретения, электронное устройство (например, электронные устройства 100 и 400 на фиг. 1, 2, 3 и 4 и/или электронное устройство 500 на фиг. 11) может включать в себя по меньшей мере один шарнирный модуль (например, шарнирную конструкцию или шарнирный модуль 102 на фиг. 3A и/или фиг. 11), предоставляющий по меньшей мере одну ось складывания (например, по меньшей мере одну из оси A1 вращения или оси A2 вращения на фиг. 3A или фиг. 4), первый корпус (например, первый корпус 110 на фиг. 1, 2, 3 и 4 или фиг. 11), соединенный с шарнирным модулем, чтобы поворачиваться вокруг оси складывания, второй корпус (например, второй корпус 120 на фиг. 1, 2, 3 и 4 или фиг. 11), соединенный с шарнирным модулем, чтобы поворачиваться вокруг оси складывания, и поворачивающийся относительно первого корпуса между первым положением (например, состоянием, проиллюстрированным на фиг. 2), в котором второй корпус сложен, обращенным к первому корпусу, и вторым положением (например, состоянием, проиллюстрированным на фиг. 1), в котором второй корпус разложен на конкретный угол от первого положения, первую батарею (например, одну из батарей 169a и 169b на фиг. 3A, фиг. 4 или фиг. 11), предусмотренную в первом корпусе,
[117] Устройство содержит первую схемную плату (например, первую схемную плату 162 или 462 на фиг. 3A, 3B, 4 и 5 или фиг. 11 или вторую схемную плату 164 или 464 на фиг. 3A, 4 и 7 или фиг. 11), включающую в себя первую область размещения (например, первую или третью область 462a или 464a размещения на фиг. 5 или фиг. 7), размещенную параллельно первой батарее, по меньшей мере частично в направлении, параллельном оси складывания, и вторую область размещения (например, вторую или четвертую область 462b или 464b размещения на фиг. 5 или фиг. 7), простирающуюся от первой области размещения и расположенную между осью складывания и батареей, и по меньшей мере одну FPCB (например, FPCB 441 на фиг. 4, фиг. 10 или фиг. 11), простирающуюся из внутреннего пространства первого корпуса во внутреннее пространство второго корпуса поперек оси складывания. Внутри первого корпуса один концевой участок FPCB может соединяться со второй областью размещения, между осью складывания и первой батареей, и часть FPCB может размещаться между первой батареей и второй областью размещения.
[118] Согласно различным вариантам осуществления, FPCB может включать в себя участок с разъемом(ами) (например, участок 443a с разъемом на фиг. 10), соединенный со второй областью размещения, первый изогнутый участок (например, первый изогнутый участок 443b на фиг. 10), простирающийся от участка с разъемом и размещенный между первой батареей и второй областью размещения, и закрепленный участок (например, закрепленный участок 443c на фиг. 10), простирающийся от первого изогнутого участка и размещенный обращенным к участку с разъемом с частью второй области размещения между ними.
[119] Согласно различным вариантам осуществления, электронное устройство может дополнительно включать в себя гибкий дисплей (например, гибкий дисплей 130 на фиг. 3A или фиг. 11), расположенный от одной поверхности первого корпуса до одной поверхности второго корпуса поперек области, в которой расположен шарнирный модуль, и закрепленный участок может быть расположен, по меньшей мере частично, между участком с разъемом и гибким дисплеем.
[120] Согласно различным вариантам осуществления, закрепленный участок может быть прикреплен внутри первого корпуса (например, к первой промежуточной пластине 152 на фиг. 3 или фиг. 11), между второй областью размещения и гибким дисплеем.
[121] Согласно различным вариантам осуществления, электронное устройство может включать в себя гибкий дисплей, расположенный от одной поверхности первого корпуса до одной поверхности второго корпуса поперек области, в которой расположен шарнирный модуль, и крышку шарнира (например, крышку 140 шарнира на фиг. 3A, фиг. 4 или фиг. 11), расположенную между первым корпусом и вторым корпусом и вмещающую по меньшей мере часть шарнирного модуля. FPCB может включать в себя участок с разъемом, соединенный со второй областью размещения, первый изогнутый участок, простирающийся от участка с разъемом и расположенный между первой батареей и второй областью размещения, закрепленный участок, простирающийся от первого изогнутого участка и расположенный, по меньшей мере частично, между второй областью размещения и гибким дисплеем, второй изогнутый участок (например, второй изогнутый участок 443d на фиг. 10), простирающийся от закрепленного участка и расположенный внутри крышки шарнира, и другой закрепленный участок, простирающийся от второго изогнутого участка и расположенный внутри второго корпуса.
[122] Согласно различным вариантам осуществления, FPCB может дополнительно включать в себя другой первый изогнутый участок, простирающийся от другого закрепленного участка и расположенный внутри второго корпуса, и другой участок с разъемом, простирающийся от другого первого изогнутого участка и расположенный внутри второго корпуса. Другой закрепленный участок может быть расположен, по меньшей мере частично, между другим участком с разъемом и гибким дисплеем.
[123] Согласно различным вариантам осуществления, вторая область размещения может простираться от одного края первой области размещения в направлении оси складывания и может быть расположена с одной стороны от первой батареи.
[124] Согласно различным вариантам осуществления, электронное устройство может дополнительно включать в себя крышку шарнира, расположенную между первым корпусом и вторым корпусом и вмещающую по меньшей мере часть шарнирного модуля. Крышка шарнира может быть открыта между первым корпусом и вторым корпусом в первом положении и может быть, по меньшей мере частично, скрыта за счет первого корпуса и второго корпуса во втором положении.
[125] Согласно различным вариантам осуществления, если смотреть вдоль направления толщины первого корпуса или второго корпуса во втором положении, один концевой участок FPCB может перекрываться, по меньшей мере частично, с крышкой шарнира (например, см. фиг. 11).
[126] Согласно различным вариантам осуществления, во втором положении один концевой участок FPCB может быть расположен в пространстве между первой батареей и крышкой шарнира (например, см. фиг. 11).
[127] Согласно различным вариантам осуществления, электронное устройство может дополнительно включать в себя вторую схемную плату, размещенную во втором корпусе, и FPCB может электрически соединять первую схемную плату и вторую схемную плату друг с другом.
[128] Согласно различным вариантам осуществления, электронное устройство может дополнительно включать в себя вторую батарею, расположенную смежно со второй схемной платой внутри второго корпуса, и другой концевой участок FPCB может быть соединен со второй схемной платой, между второй батареей и осью складывания.
[129] Согласно различным вариантам осуществления, вторая схемная плата может включать в себя третью область размещения, расположенную параллельно второй батарее в направлении, параллельном оси складывания, и четвертую область размещения, простирающуюся от третьей области размещения в направлении оси складывания и расположенную между осью складывания и второй батареей. Другой концевой участок FPCB может быть соединен с четвертой областью размещения.
[130] Согласно различным вариантам осуществления, электронное устройство может дополнительно включать в себя по меньшей мере одну усиливающую пластину (например, усиливающую пластину 462d или 464d на фиг. 6 или фиг. 8), расположенную в по меньшей мере одной из второй области размещения или четвертой области размещения.
[131] Согласно различным вариантам осуществления, электронное устройство может дополнительно включать в себя по меньшей мере одну усиливающую пластину, расположенную на одной поверхности по меньшей мере одной из второй области размещения или четвертой области размещения, и FPCB может быть соединена с первой схемной платой и второй схемной платы с другой поверхности второй области размещения и другой поверхности четвертой области размещения, соответственно.
[132] Согласно различным вариантам осуществления, электронное устройство может включать в себя множество FPCB, размещенных в направлении оси складывания.
[133] Согласно различным вариантам осуществления изобретения, переносное устройство связи (например, электронные устройства 100 и 400 на фиг. 1, 2, 3 и 4 и/или электронное устройство 500 на фиг. 11) может включать в себя корпус, складываемый относительно оси складывания (например, по меньшей мере одной из первой оси A1 вращения на фиг. 3A или фиг. 4 или второй оси A2 вращения на фиг. 3A или фиг. 4) и включающий в себя первую корпусную часть (например, первый корпус 110 на фиг. 1, 2, 3 и 4 или фиг. 11), вторую корпусную часть (например, второй корпус 120 на фиг. 1, 2, 3 и 4 или фиг. 11) и крышку шарнира (например, крышку 140 шарнира на фиг. 3A, фиг. 4 или фиг. 11), расположенную между по меньшей мере частью первой корпусной части и по меньшей мере частью второй корпусной части, причем первая корпусная часть включает в себя первую часть боковой стенки, простирающуюся параллельно оси складывания (например, часть боковой стенки первого корпуса 110, простирающуюся параллельно оси Y и удаленную от первой оси A1 вращения на фиг. 3A), вторую часть боковой стенки, простирающуюся от первого конца первой части боковой стенки, перпендикулярно оси складывания (например, часть боковой стенки, являющуюся одной из двух частей боковой стенки первого корпуса 110, простирающуюся параллельно оси X и более близкую к оси +Y, чем упомянутая другая на фиг. 3A), и третью часть боковой стенки, простирающуюся от второго конца первой части боковой стенки, перпендикулярно оси складывания (например, часть боковой стенки, являющаяся другой из двух частей боковой стенки первого корпуса 110, простирающаяся параллельно оси X и более близкая к оси -Y, чем первая часть боковой стенки на фиг. 3A), шарнирный модуль (например, шарнирную конструкцию или шарнирный модуль 102 на фиг. 3A и/или фиг. 11), размещенный в корпусе и соединенный с первой корпусной частью и второй корпусной частью, гибкий дисплей (например, гибкий дисплей 130 на фиг. 3A или фиг. 11), размещенный в первой корпусной части и второй корпусной части, батарею (например, одну из батарей 169a и 169b на фиг. 3A, фиг. 4 или фиг. 11), размещенную в первой корпусной части и имеющую первую боковую поверхность, направленную ко второй части боковой стенки и разнесенную от второй части боковой стенки на первое расстояние, и вторую боковую поверхность, направленную к крышке шарнира и разнесенную от крышки шарнира на второе расстояние, меньшее, чем первое расстояние, первую жесткую печатную плату (RPCB) (например, первую схемную плату 162 на фиг. 3A), размещенную в первой корпусной части и включающую в себя первую часть (например, первую или третью область 462a или 464a размещения на фиг. 5 или фиг. 7), расположенную между первой боковой поверхностью батареи и второй частью боковой стенки, и вторую часть (например, вторую или четвертую область 462b или 464b размещения на фиг. 5 или фиг. 7), простирающуюся от первой части и расположенную между второй боковой поверхностью батареи и крышкой шарнира, причем вторая часть включает в себя первую поверхность, направленную к гибкому дисплею, вторую поверхность, направленную в направлении, противоположном первой поверхности второй части, и первый разъем (например, разъем(ы) 462c на фиг. 5), расположенный на второй поверхности второй части, вторую RPCB (например, вторую схемную плату 164 на фиг. 3A), размещенную во второй корпусной части и включающую в себя третью часть (например, четвертую область 464b размещения на фиг. 7), противоположную второй части первой RPCB в сложенном состоянии корпуса, причем третья часть включает в себя первую поверхность, направленную к гибкому дисплею, вторую поверхность, направленную в направлении, противоположном первой поверхности третьей части, и второй разъем (например, разъем(ы) 464c на фиг. 7), расположенный на второй поверхности третьей части, и FPCB (например, FPCB 441 на фиг. 4, фиг. 10 или фиг. 11), по меньшей мере частично, размещенную между крышкой шарнира и гибким дисплеем и соединенную с первым разъемом первой RPCB и вторым разъемом второй RPCB. FPCB может простираться в первом направлении (например, направлении оси -X от крышки 140 шарнира на фиг. 11), окружая вторую поверхность второй части первой RPCB, боковую поверхность между первой поверхностью и второй поверхностью второй части и часть первой поверхности второй части, и соединяется с первым разъемом. FPCB может также простираться во втором направлении (например, направлении оси +X от крышки 140 шарнира на фиг. 11), противоположном первому направлению, и соединяется со вторым разъемом.
[134] Согласно различным вариантам осуществления, переносное устройство связи может дополнительно включать в себя поддерживающий элемент (например, первую промежуточную пластину 152 на фиг. 3 или фиг. 11), размещенный между FPCB и первой корпусной частью и закрепляющий некоторую часть (например, закрепленный участок 443c на фиг. 10) FPCB.
[135] Согласно различным вариантам осуществления, если смотреть с направления, практически перпендикулярного первой RPCB, часть FPCB может перекрываться, по меньшей мере частично, с первым разъемом.
[136] Согласно различным вариантам осуществления, по меньшей мере участок части (например, первого изогнутого участка 443b на фиг. 10) FPCB, окружающей боковую поверхность второй части первой RPCB, может быть разнесен от боковой поверхности второй части первой RPCB и образовывать изогнутую поверхность.
[137] Согласно различным вариантам осуществления, переносное устройство связи может включать в себя прикладной процессор (например, электрический/электронный компонент, расположенный или включенный в схемную плату 462 или 464 на фиг. 4), расположенный в первой части первой RPCB и электрически соединенный с первым разъемом.
[138] Согласно различным вариантам осуществления, переносное устройство связи может дополнительно включать в себя по меньшей мере одну другую FPCB, расположенную между крышкой шарнира и гибким дисплеем. Первая RPCB может включать в себя по меньшей мере один третий разъем, расположенный на второй поверхности второй части, и вторая RPCB может включать в себя по меньшей мере один четвертый разъем, расположенный на второй поверхности третьей части. Упомянутая другая FPCB может простираться в первом направлении, окружая первую поверхность второй части первого RPCB, боковую поверхность второй части и часть второй поверхности второй части, и может быть соединена с третьим разъемом. Другая FPCB может также простираться во втором направлении, окружая первую поверхность третьей части второй RPCB, боковую поверхность третьей части и часть второй поверхности третьей части, и может быть соединена с четвертым разъемом.
[139] Согласно различным вариантам осуществления, переносное устройство связи может дополнительно включать в себя другой дисплей (например, вспомогательный дисплей, визуально открытый наружу через одну из задних крышек 180 и 190 на фиг. 2), размещенный во второй корпусной части. Гибкий дисплей может быть расположен, чтобы не быть визуально открытым наружу из переносного устройства связи, когда корпус сложен, а другой дисплей может быть расположен, чтобы быть визуально открытым наружу из переносного устройства связи независимо от того, является ли корпус сложенным.
[140] Хотя изобретение было показано и описано со ссылкой на различные варианты его осуществления, специалистам в области техники будет понятно, что различные изменения в форме и деталях могут быть сделаны здесь без отступления от сущности и объема раскрытия, которые определены прилагаемой формулой изобретения и ее эквивалентами.
| название | год | авторы | номер документа |
|---|---|---|---|
| ЭЛЕКТРОННОЕ УСТРОЙСТВО, СОДЕРЖАЩЕЕ КОНСТРУКЦИЮ ЗАКРЕПЛЕНИЯ ЭЛЕМЕНТА ПРОВОДКИ | 2019 |
|
RU2779913C1 |
| ЭЛЕКТРОННОЕ УСТРОЙСТВО, СОДЕРЖАЩЕЕ КРЫШКУ ШАРНИРА | 2022 |
|
RU2830975C2 |
| Устройство контроля модуля аккумуляторной батареи и модуль аккумуляторной батареи для электромобиля | 2020 |
|
RU2794728C1 |
| ЭЛЕКТРОННОЕ УСТРОЙСТВО, ВКЛЮЧАЮЩЕЕ В СЕБЯ АНТЕННОЕ УСТРОЙСТВО | 2020 |
|
RU2778557C1 |
| ЭЛЕКТРОННОЕ УСТРОЙСТВО | 2022 |
|
RU2820193C2 |
| ПОРТАТИВНОЕ УСТРОЙСТВО СВЯЗИ, ВКЛЮЧАЮЩЕЕ В СЕБЯ ДИСПЛЕЙ | 2020 |
|
RU2827902C2 |
| СКЛАДНОЕ УСТРОЙСТВО | 2020 |
|
RU2795111C2 |
| СКЛАДНОЕ ЭЛЕКТРОННОЕ УСТРОЙСТВО, ВКЛЮЧАЮЩЕЕ В СЕБЯ ЗАЩИТНУЮ КОНСТРУКЦИЮ ДЛЯ ДИСПЛЕЯ | 2022 |
|
RU2804413C2 |
| СКЛАДНОЕ УСТРОЙСТВО | 2020 |
|
RU2782976C1 |
| ЭЛЕКТРОННОЕ УСТРОЙСТВО, ВКЛЮЧАЮЩЕЕ В СЕБЯ ПРОВОДЯЩИЙ ЭЛЕМЕНТ | 2021 |
|
RU2833792C2 |
Изобретение относится к области электронных устройств связи, а именно к устройству, в котором по меньшей мере пара корпусов соединяется друг с другом с возможностью поворота. Техническим результатом является обеспечение расширения площади размещения других электронных компонентов на схемной плате при миниатюризации электронного устройства. Для этого электронное устройство включает в себя по меньшей мере один шарнирный модуль, предусматривающий по меньшей мере одну ось складывания, первый корпус, соединенный с шарнирным модулем, чтобы поворачиваться вокруг оси складывания, второй корпус, соединенный с шарнирным модулем, чтобы поворачиваться вокруг оси складывания, и поворачивающийся относительно первого корпуса между первым положением, при котором второй корпус сложен, обращенным к первому корпусу, и вторым положением, при котором второй корпус разложен на конкретный угол от первого положения, первую батарею, предусмотренную в первом корпусе, первую схемную плату, включающую в себя первую область размещения, расположенную параллельно первой батарее по меньшей мере частично вдоль направления, параллельного оси складывания, и вторую область размещения, простирающуюся от первой области размещения и расположенную между осью складывания и батареей, и по меньшей мере одну гибкую печатную плату (FPCB), простирающуюся из внутреннего пространства первого корпуса во внутреннее пространство второго корпуса поперек оси складывания. Внутри первого корпуса один концевой участок FPCB соединен со второй областью размещения между осью складывания и первой батареей, и часть FPCB размещена между первой батареей и второй областью размещения. 2 н. и 23 з.п. ф-лы, 12 ил., 1 табл.
1. Складное электронное устройство связи с гибкой печатной платой, содержащее:
первый корпус;
второй корпус;
шарнирную область, расположенную между первым корпусом и вторым корпусом;
по меньшей мере один шарнирный модуль, предусмотренный в шарнирной области, соединенный с первым корпусом и вторым корпусом и выполненный с возможностью обеспечивать поворот первого корпуса и второго корпуса относительно друг друга между сложенным положением и разложенным положением;
первую батарею, предусмотренную в первом корпусе;
первую схемную плату, предусмотренную в первом корпусе, включающую в себя первый участок, расположенный между первой батареей и шарнирной областью; и
по меньшей мере одну гибкую печатную плату (FPCB), простирающуюся из внутреннего пространства первого корпуса во внутреннее пространство второго корпуса,
при этом участок упомянутой по меньшей мере одной FPCB расположен между первой батареей и первым участком первой схемной платы.
2. Электронное устройство связи по п. 1, в котором упомянутая по меньшей мере одна FPCB содержит:
участок с разъемом, соединенный с первым участком;
первый изогнутый участок, простирающийся от участка с разъемом и расположенный между первой батареей и первым участком; и
закрепленный участок, простирающийся от первого изогнутого участка и расположенный обращенным к участку с разъемом с частью первого участка между ними.
3. Электронное устройство связи по п. 2, дополнительно содержащее:
гибкий дисплей, расположенный от одной поверхности первого корпуса до одной поверхности второго корпуса поперек шарнирной области,
при этом закрепленный участок расположен, по меньшей мере частично, между участком с разъемом и гибким дисплеем.
4. Электронное устройство связи по п. 3, в котором закрепленный участок закреплен внутри первого корпуса между первым участком и гибким дисплеем.
5. Электронное устройство связи по п. 1, дополнительно содержащее:
гибкий дисплей, расположенный от одной поверхности первого корпуса до одной поверхности второго корпуса поперек шарнирной области; и
крышку шарнира, расположенную между первым корпусом и вторым корпусом и вмещающую по меньшей мере часть упомянутого по меньшей мере одного шарнирного модуля,
при этом упомянутая по меньшей мере одна FPCB содержит:
участок с разъемом, соединенный с первым участком,
первый изогнутый участок, простирающийся от участка с разъемом и расположенный между первой батареей и первым участком,
закрепленный участок, простирающийся от первого изогнутого участка и расположенный, по меньшей мере частично, между первым участком и гибким дисплеем,
второй изогнутый участок, простирающийся от закрепленного участка и расположенный внутри крышки шарнира, и
другой закрепленный участок, простирающийся от второго изогнутого участка и расположенный внутри второго корпуса.
6. Электронное устройство связи по п. 5, в котором упомянутая по меньшей мере одна FPCB дополнительно содержит:
другой первый изогнутый участок, простирающийся от упомянутого другого закрепленного участка и расположенный внутри второго корпуса, и
другой участок с разъемом, простирающийся от упомянутого другого первого изогнутого участка и расположенный внутри второго корпуса, и
при этом упомянутый другой закрепленный участок расположен, по меньшей мере частично, между упомянутым другим участком с разъемом и гибким дисплеем.
7. Электронное устройство связи по п. 1, в котором первая схемная плата дополнительно включает в себя второй участок, расположенный параллельно первой батарее, и первый участок простирается от одного края второго участка и расположен с одной стороны от первой батареи.
8. Электронное устройство связи по п. 1, дополнительно содержащее:
крышку шарнира, расположенную между первым корпусом и вторым корпусом и вмещающую по меньшей мере часть упомянутого по меньшей мере одного шарнирного модуля,
при этом крышка шарнира открыта между первым корпусом и вторым корпусом в сложенном положении и скрыта, по меньшей мере частично, первым корпусом и вторым корпусом в разложенном положении.
9. Электронное устройство связи по п. 8, в котором, если смотреть вдоль направления толщины первого корпуса или второго корпуса в разложенном положении, один концевой участок упомянутой по меньшей мере одной FPCB перекрывается, по меньшей мере частично, с крышкой шарнира.
10. Электронное устройство связи по п. 8, в котором в разложенном положении один концевой участок упомянутой по меньшей мере одной FPCB расположен в пространстве между первой батареей и крышкой шарнира.
11. Электронное устройство связи по п. 1, дополнительно содержащее:
вторую схемную плату, размещенную во втором корпусе,
при этом упомянутая по меньшей мере одна FPCB электрически соединяет первую схемную плату и вторую схемную плату друг с другом.
12. Электронное устройство связи по п. 11, дополнительно содержащее:
вторую батарею, расположенную смежно со второй схемной платой внутри второго корпуса,
при этом другой концевой участок упомянутой по меньшей мере одной FPCB соединен со второй схемной платой, между второй батареей и шарнирной областью.
13. Электронное устройство связи по п. 12, в котором вторая схемная плата содержит:
третий участок, расположенный параллельно второй батарее; и
четвертый участок, простирающийся от третьего участка и расположенный между шарнирной областью и второй батареей, и
при этом упомянутый другой концевой участок упомянутой по меньшей мере одной FPCB соединен с четвертым участком.
14. Электронное устройство связи по п. 13, дополнительно содержащее по меньшей мере одну усиливающую пластину, расположенную в по меньшей мере одном из первого участка или четвертого участка.
15. Электронное устройство связи по п. 13, дополнительно содержащее:
по меньшей мере одну усиливающую пластину, расположенную на одной поверхности по меньшей мере одного из первого участка или четвертого участка,
при этом упомянутая по меньшей мере одна FPCB соединена с первой схемной платой и второй схемной платой с упомянутой другой поверхности первого участка и упомянутой другой поверхности четвертого участка, соответственно.
16. Электронное устройство связи по п. 1, в котором упомянутый по меньшей мере один шарнирный модуль выполнен с возможностью обеспечивать по меньшей мере одну ось складывания, вокруг которой поворачиваются первый корпус и второй корпус, и
при этом вдоль направления упомянутой по меньшей мере одной оси складывания размещено множество FPCB.
17. Переносное устройство связи, содержащее:
корпус, складываемый относительно оси складывания и включающий в себя первую корпусную часть, вторую корпусную часть и крышку шарнира, расположенную между по меньшей мере частью первой корпусной части и по меньшей мере частью второй корпусной части, причем первая корпусная часть включает в себя первую боковую стенку, простирающуюся параллельно оси складывания, вторую боковую стенку, простирающуюся от первого конца первой боковой стенки перпендикулярно оси складывания, и третью боковую стенку, простирающуюся от второго конца первой боковой стенки перпендикулярно оси складывания;
шарнирный модуль, размещенный в корпусе и соединенный с первой корпусной частью и второй корпусной частью;
гибкий дисплей, размещенный в первой корпусной части и второй корпусной части;
батарею, размещенную в первой корпусной части и имеющую первую боковую поверхность, направленную ко второй боковой стенке и разнесенную от второй боковой стенки на первое расстояние, и вторую боковую поверхность, направленную к крышке шарнира и разнесенную от крышки шарнира на второе расстояние, меньшее, чем первое расстояние;
первую жесткую печатную плату (RPCB), размещенную в первой корпусной части и включающую в себя первую часть, расположенную между первой боковой поверхностью батареи и второй боковой стенкой, и вторую часть, простирающуюся от первой части и расположенную между второй боковой поверхностью батареи и крышкой шарнира, причем вторая часть включает в себя первую поверхность, направленную к гибкому дисплею, вторую поверхность, направленную в направлении, противоположном первой поверхности второй части, и первый разъем, расположенный на второй поверхности второй части;
вторую RPCB, размещенную во второй корпусной части и включающую в себя третью часть, по меньшей мере частично обращенную ко второй части первой RPCB в сложенном состоянии корпуса, причем третья часть включает в себя первую поверхность, направленную к гибкому дисплею, вторую поверхность, направленную в направлении, противоположном первой поверхности третьей части, и второй разъем, расположенный на второй поверхности третьей части; и
гибкую печатную плату (FPCB), по меньшей мере частично расположенную между крышкой шарнира и гибким дисплеем и соединенную с первым разъемом первой RPCB и вторым разъемом второй RPCB,
при этом FPCB простирается в первом направлении, окружая вторую поверхность второй части первой RPCB, боковую поверхность между первой поверхностью и второй поверхностью второй части и часть первой поверхности второй части, и соединена с первым разъемом, и
при этом FPCB простирается во втором направлении, противоположном первому направлению, и соединена со вторым разъемом.
18. Переносное устройство связи по п. 17, дополнительно содержащее поддерживающий элемент, расположенный между FPCB и первой корпусной частью и скрепленный с частью FPCB.
19. Переносное устройство связи по п. 18, в котором, если смотреть в направлении, практически перпендикулярном первой RPCB, упомянутая часть FPCB перекрывается, по меньшей мере частично, с первым разъемом.
20. Переносное устройство связи по п. 17, в котором по меньшей мере часть FPCB, окружающая боковую поверхность второй части первой RPCB, разнесена от боковой поверхности второй части первой RPCB и образует изогнутую поверхность.
21. Переносное устройство связи по п. 17, дополнительно содержащее прикладной процессор, расположенный в первой части первой RPCB и электрически соединенный с первым разъемом.
22. Переносное устройство связи по п. 17, дополнительно содержащее:
другую FPCB, расположенную между крышкой шарнира и гибким дисплеем,
при этом первая RPCB включает в себя третий разъем, расположенный на второй поверхности второй части, и вторая RPCB включает в себя четвертый разъем, расположенный на второй поверхности третьей части,
при этом другая FPCB простирается в первом направлении, окружая первую поверхность второй части первой RPCB, боковую поверхность второй части и часть второй поверхности второй части, и соединена с третьим разъемом, и
при этом другая FPCB простирается во втором направлении, окружая первую поверхность третьей части второй RPCB, боковую поверхность третьей части и часть второй поверхности третьей части, и соединена с четвертым разъемом.
23. Переносное устройство связи по п. 17, дополнительно содержащее:
другой дисплей, размещенный во второй корпусной части,
при этом гибкий дисплей расположен так, чтобы не быть визуально открытым наружу из переносного устройства связи, когда корпус сложен, и
при этом упомянутый другой дисплей расположен так, чтобы быть визуально открытым наружу из переносного устройства связи независимо от того, является ли корпус сложенным.
24. Переносное устройство связи по п. 17, в котором шарнирный модуль включает в себя:
держатель шарнира;
множество поворотных штифтов, включающих в себя первый поворотный штифт и второй поворотный штифт; и
множество шарнирных рычагов, включающих в себя первый шарнирный рычаг, соединенный с возможностью поворота с держателем шарнира первым поворотным штифтом, и второй шарнирный рычаг, соединенный с возможностью поворота с держателем шарнира вторым поворотным штифтом.
25. Переносное устройство связи по п. 24, в котором первый шарнирный рычаг соединен с промежуточной пластиной первой корпусной части, а второй шарнирный рычаг соединен с промежуточной пластиной второй корпусной части.
| Станок для придания концам круглых радиаторных трубок шестигранного сечения | 1924 |
|
SU2019A1 |
| СКЛАДНОЕ УСТРОЙСТВО | 2015 |
|
RU2683290C2 |
| Способ получения цианистых соединений | 1924 |
|
SU2018A1 |
| Токарный резец | 1924 |
|
SU2016A1 |
| Печь-кухня, могущая работать, как самостоятельно, так и в комбинации с разного рода нагревательными приборами | 1921 |
|
SU10A1 |
| Способ восстановления спиралей из вольфрамовой проволоки для электрических ламп накаливания, наполненных газом | 1924 |
|
SU2020A1 |
| Способ восстановления спиралей из вольфрамовой проволоки для электрических ламп накаливания, наполненных газом | 1924 |
|
SU2020A1 |
| CN 110445913 A, 12.11.2019. | |||
Авторы
Даты
2025-03-04—Публикация
2021-07-08—Подача