[0001] Настоящая заявка испрашивает приоритет патентной заявки Китая №. 202010308652.7, поданной в Национальное управление интеллектуальной собственности Китая 18 апреля 2020 г. и озаглавленной «LINK PROCESSING METHOD, MULTI-LINK DEVICE, AND COMPUTER-READABLE STORAGE MEDIUM», которая полностью включена в настоящий документ посредством ссылки.
ОБЛАСТЬ ТЕХНИКИ
[0002] Эта заявка относится к области связи и, в частности, к способу обработки линии связи, устройству с множественными линиями связи и машиночитаемому носителю данных.
УРОВЕНЬ ТЕХНИКИ
[0003] Для достижения чрезвычайно высокой пропускной способности в стандарте беспроводной локальной сети следующего поколения (Wireless Local Area Network, WLAN) в качестве ключевой технологии используется технология множественных линий связи. Множественность линий связи заключается в том, что каждое устройство WLAN имеет возможность многодиапазонной передачи и приема для повышения пропускной способности при большей полосе пропускания. Многополосность включает в себя, без ограничения, 2,4 ГГц, 5 ГГц, 6 ГГц и т.п. Доступ и передача по множеству полос частот называется множеством линий связи. Кроме того, устройство, поддерживающее множество линий связи, называется устройством с множественными линиями связи.
[0004] Устройство с множественными линиями связи включает в себя устройство с множественными линиями связи с множественными радиоканалами и устройство с множественными линиями связи с одним радиоканалом. Устройство с множественными линиями связи с множественными радиоканалами имеет множество радиочастотных модулей, и радиочастотные модули могут работать по отдельности на разных полосах частот или каналах. Когда разнесение каналов между отдельно работающими радиочастотными модулями достаточно велико, линии связи могут работать независимо друг от друга без взаимных помех. Устройство с множественными линиями связи с множественными радиоканалами работает в энергосберегающем режиме. Линия связи без передачи данных может находиться в спящем или отключенном состоянии. Линия связи с передачей данных может находиться в активном или включенном состоянии. То есть линия связи должна перейти из спящего или отключенного состояния в активное или включенное состояние. Устройство с множественными линиями связи с одним радиоканалом, имеющее один радиочастотный модуль, может работать на разных полосах частот или каналах, но в любой момент может работать только на одной полосе частот, то есть нуждается в переключении с одной линии связи на другую линию связи.
[0005] Для линии связи, статус которой является переходным, или линии связи, на которую переключаются, для передачи кадра данных необходимо дополнительно принять маяковый (beacon) кадр по линии связи, статус которой является переходным, или линии связи, на которую переключаются, для получения последней конфигурации BSS, требуемой для передачи данных по этой линии связи.
[0006] Можно понять, что этот процесс приводит к чрезмерно длительному времени ожидания, требуемому с момента, когда определено, что необходимо передать статус линии связи или переключиться на линию связи, до момента, когда кадр данных может быть передан. Другими словами, нельзя реализовать быстрый переход между статусами линий связи или быстрое переключение между линиями связи.
СУЩНОСТЬ ИЗОБРЕТЕНИЯ
[0007] Эта заявка предоставляет способ обработки линии связи, устройство с множественными линиями связи и машиночитаемый носитель для реализации быстрого перехода между статусами линий связи или быстрого переключения между линиями связи.
[0008] Согласно первому аспекту эта заявка обеспечивает способ обработки линии связи. В способе множество линий связи между первым MLD и вторым MLD может включать в себя первую линию связи и вторую линию связи. Первое MLD может принимать первую информацию второй линии связи по первой линии связи. Первая информация используется первым MLD для определения, обновлена ли конфигурация BSS второй линии связи. Если конфигурация BSS второй линии связи не обновлена, первое MLD может передать кадр данных по второй линии связи, на которую переключаются, или второй линии связи, статус которой является переходным, и ему не нужно передавать кадр данных до тех пор, пока не будет принят маяковый кадр и получен самый последний параметр конфигурации BSS по второй линии связи, на которую переключаются, или второй линии связи, статус которой является переходным. Следовательно, способ сокращает время ожидания, требуемое перед тем, как кадр данных будет передан по второй линии связи, на которую переключаются, или по второй линии связи, статус которой является переходным.
[0009] Кроме того, если кадр данных по первой линии связи необходимо переключить на вторую линию связи, в упомянутом способе перед переключением с первой линии связи на вторую линию связи первое MLD может узнать, что конфигурация BSS второй линии связи не обновлена. Таким образом, первое MLD может непосредственно передавать кадр данных по второй линии связи, на которую переключаются, и ему не нужно передавать кадр данных до того, пока не будет принят маяковый кадр и получена последняя конфигурация BSS после переключения. Следовательно, в упомянутом способе сокращается длительность воздействия процесса переключения линии связи на передачу кадра данных. Если кадр данных по первой линии связи необходимо выгрузить на вторую линию связи, в способе, перед тем как статус второй линии связи станет переходным, первое MLD может узнать, что конфигурация BSS второй линии связи не обновлена, и может непосредственно передавать кадр данных по второй линии связи, статус которой является переходным, не дожидаясь приема маякового кадра. Следовательно, длительность, необходимая для передачи с выгрузкой кадров данных, сокращается.
[0010] Первая линия связи - это линия связи во включенном состоянии. Вторая линия связи является линией связи, на которую переключаются, или линий связи, статус линии связи которой является переходным.
[0011] Необязательно, кадр данных может быть кадром данных восходящей линии связи, кадром нулевого качества обслуживания (QoS NULL) или кадром уведомления о статусе линии связи. Кадр уведомления о статусе линии связи указывает, что вторая линия связи находится в активном (awake) или включенном (enable) состоянии, так что второе MLD своевременно отправляет кадр данных нисходящей линии связи по второй линии связи. Кроме того, кадр данных восходящей линии связи и кадр качества нулевого обслуживания (QoS NULL) также могут уведомлять второе MLD о том, что вторая линия связи находится в активном или включенном состоянии.
[0012] В другой необязательной реализации, если конфигурация BSS второй линии связи обновляется, способ дополнительно включает в себя: первое MLD отправляет вторую информацию по второй линии связи. Вторая информация представляет собой порядковый номер конфигурации BSS, порядковый номер конфигурации точки доступа (AP-CSN) или значение проверочного маяка (check beacon), которое хранится в первом MLD и которое идентифицирует вторую линию связи. Первое MLD принимает по второй линии связи обновленный параметр конфигурации BSS второй линии связи. Обновленный параметр конфигурации BSS второй линии связи определяется на основе второй информации.
[0013] Необязательно, вторая информация второй линии связи переносится для отправки в кадре одноадресного пробного запроса по второй линии связи. Обновленный параметр конфигурации BSS второй линии связи переносится в кадре ответа проверки, который принимается по второй линии связи. Кадр ответа проверки возвращается на основе кадра одноадресного пробного запроса. То есть, если конфигурация BSS второй линии обновлена, первое MLD может получить обновленный параметр конфигурации BSS второй линии связи через кадр одноадресного пробного запроса и кадр ответа проверки по второй линии связи. Кадр одноадресного пробного запроса несет вторую информацию. Вторая информация используется вторым MLD для определения параметра, который необходимо обновить в конфигурации BSS. В некоторой реализации первое MLD отправляет кадр одноадресного пробного запроса по второй линии связи. Кадр одноадресного пробного запроса включает в себя вторую информацию. Первое MLD принимает по второй линии связи обновленный параметр конфигурации BSS второй линии связи. Обновленный параметр конфигурации BSS второй линии связи получается вторым MLD путем сравнения второй информации с первой информацией.
[0014] Можно понять, что в этой реализации, несмотря на то, что конфигурация BSS второй линии связи обновлена, первое MLD также может получить обновленный параметр через один кадр одноадресного пробного запроса и один кадр ответа проверки, и не нужно передавать кадр данных пока не будет принят маяковый кадр и не будет получена вся конфигурация BSS. Это помогает сократить длительность ожидания перед передачей кадра данных и уменьшить накладные расходы на сигнализацию. Кроме того, первое MLD отправляет кадр одноадресного запроса только после того, как узнает, что конфигурация BSS второй линии связи обновлена. По сравнению со способом, при котором первое MLD непосредственно отправляет кадр запроса проверки, не узнавая, есть ли обновление, это может сократить время ожидания, требуемое перед передачей кадра данных при обработке линии связи.
[0015] Необязательно, первая информация представляет собой порядковый номер конфигурации BSS, порядковый номер конфигурации точки доступа (AP-CSN) или значение проверочного маяка (check beacon), которое находится во втором MLD и которое идентифицирует вторую линию связи. Вторая информация - это порядковый номер конфигурации BSS, порядковый номер конфигурации точки доступа (AP-CSN) или значение проверочного маяка (check beacon), которое хранится (или записывается) в первом MLD и которое идентифицирует вторую линию связи. Таким образом, первое MLD сравнивает, согласуется ли первая информация со второй информацией. Если первая информация согласуется со второй информацией, это указывает, что конфигурация BSS второй линии связи не обновлена. Если первая информация не согласуется со второй информацией, это указывает на то, что конфигурация BSS второй линии связи обновлена. Это помогает первому MLD вовремя передать кадр данных по второй линии связи.
[0016] То есть первая информация представляет собой порядковый номер текущей конфигурации BSS, AP-CSN или значение проверочного маяка второй линии связи. Вторая информация представляет собой порядковый номер конфигурации BSS, AP-CSN или значение проверочного маяка, которое относится ко второй линии связи и которое ранее было получено первым MLD. Следовательно, если текущая конфигурация BSS второй линии связи не обновлена по сравнению с конфигурацией BSS второй линии связи, полученной ранее посредством первого MLD, первая информация равна второй информации. Если текущая конфигурация BSS второй линии связи обновлена, первая информация не равна или больше второй информации.
[0017] Необязательно, вторая информация получается из маякового (beacon) кадра или кадра ответа проверки множественных линий связи первой линии связи, когда первое MLD выполняет зондирование канала, или получается из кадра ответа ассоциации множественных линий связи первой линии, когда первое MLD выполняет ассоциацию линий связи. То есть маяковый (beacon) кадр, кадр ответа проверки множественных линий связи или кадр ответа ассоциации множественных линий связи первой линии дополнительно несет другую информацию, такую как статус линии связи и использование канала второй линии связи.
[0018] Необязательно, маяковый кадр, кадр ответа проверки множественной линии связи или кадр ответа ассоциации множественных линий связи первой линии связи могут нести информацию о множестве линий связи или обо всех линиях связи. В дополнение ко второй информации (например, AP-CSN или значению проверочного маяка) информация о каждой линии связи дополнительно включает в себя, помимо прочего, одно или несколько из следующего: статус линии связи и использование канала. Следовательно, когда первое MLD выполняет переключение линии связи или переход статуса линии связи, первое MLD может выбрать, на основе информации, линию связи, на которую выполняется переключение, или линию связи, статус которой является переходным.
[0019] В необязательной реализации первая информация второй линии связи переносится в сообщении ответа переключения линии связи, отчетном сообщении информации о перекрестной линии связи, кадре управления доступом к среде, кадре ответа для согласования отношения соответствия между идентификатором трафика и линией связи, маяковом кадре, поле управления кадра данных или кадре запроса для согласования отношения соответствия между идентификатором трафика и линией связи, принятой по первой линии связи. В реализации, то, что первое MLD принимает первую информацию о второй линии связи по первой линии связи, включает в себя: первое MLD принимает по первой линии связи сообщение ответа переключения линии связи, сообщении информационного отчета о перекрестной линии связи, кадр управления доступом к среде или кадр ответа для согласования отношения соответствия между идентификатором трафика и линией связи. Первая информация второй линии связи переносится в сообщении ответа переключения линии связи, отчетном сообщении информации о перекрестной линии связи, кадре управления доступом к среде или кадре ответа для согласования отношения соответствия между идентификатором трафика и линией связи.
[0020] Необязательно, первое MLD может сначала отправить сообщение запроса переключения линии связи, сообщение запроса отчета информации о перекрестной линии связи или кадр запроса для согласования отношения соответствия между идентификатором трафика и линией связи, так что второе MLD возвращает первую информацию второй линии связи через вышеупомянутое сообщение ответа. Можно понять, что в этой реализации первое MLD может активно запрашивать первую информацию линии связи, на которую переключаются, чтобы узнать, обновлена ли конфигурация BSS второй линии связи. Это помогает избежать, после переключения или перехода статуса, проблемы, связанной с тем, что кадр данных передается только после приема маякового кадра, и сокращает время ожидания, требуемое перед передачей кадра данных по линии связи, на которую переключаются, или линии связи, статус которой является переходным.
[0021] Первое MLD отправляет кадр запроса для согласования отношения соответствия между идентификатором трафика и линией связи, когда первому MLD необходимо изменить отношение соответствия между линией связи и идентификатором трафика, так что статусы линий связи некоторых линий связи должны переходить из отключенного/спящего состояния во включенное/активное состояние. Соответственно кадр ответа для согласования отношения соответствия между идентификатором трафика и линией связи, возвращенный вторым MLD, дополнительно используется для указания, принимает ли второе MLD запрос конфигурации соответствия между идентификатором трафика и линией связи. Если второе MLD принимает запрос конфигурации соответствия, кадр ответа для согласования отношения соответствия между идентификатором трафика и линией связи включает в себя первую информацию второй линии связи. Если второе MLD не принимает запрос конфигурации соответствия, кадр ответа для согласования отношения соответствия между идентификатором трафика и линией связи не включает в себя первую информацию второй линии связи.
[0022] В другой необязательной реализации, когда второму MLD необходимо изменить отношение соответствия между линией связи и идентификатором трафика, второму MLD дополнительно необходимо выполнить переход статусов линий связи некоторых линий связи из отключенного/спящего состояния во включенное/активное состояние. Второе MLD также может отправить кадр запроса для согласования отношения соответствия между идентификатором трафика и линией связи на первое MLD. Кадр запроса для согласования отношения соответствия между идентификатором трафика и линией связи может нести первую информацию второй линии связи. Таким образом, первое MLD может выполнить переход статуса линии связи на основе первой информации второй линии связи в вышеприведенной реализации, чтобы сократить время ожидания, необходимое перед передачей кадра данных.
[0023] Соответственно кадр ответа для согласования отношения соответствия между идентификатором трафика и линией связи, возвращенный первым MLD второму MLD, указывает, принимает ли первое MLD запрос конфигурации соответствия между идентификатором трафика и линией связи. Если первое MLD принимает запрос конфигурации соответствия, кадр ответа для согласования отношения соответствия между идентификатором трафика и линией связи может нести информацию, которая подтверждается как принятая. Если первое MLD не принимает запрос конфигурации соответствия, кадр ответа для согласования отношения соответствия между идентификатором трафика и линией связи может согласовать информацию, которая отклонена.
[0024] Первое MLD или второе MLD могут определить, на основе требования, линию связи, для статуса которой необходимо выполнить переход, чтобы определить количество линий связи, переносимых в кадре запроса, для согласования отношения соответствия между идентификатором трафика и линией связи.
[0025] Можно узнать, что в необязательной реализации первая информация второй линии связи переносится в различных сообщениях, так что первое MLD или второе MLD могут своевременно инициировать запрос переключения линии связи или запрос перехода статуса линии связи в различных сценариях. Следовательно, время ожидания, необходимое для передачи кадра данных по линии связи, на которую переключаются, или линии связи, статус которой является переходным, дополнительно сокращается.
[0026] Согласно второму аспекту эта заявка дополнительно обеспечивает способ обработки линии связи. Способ обработки линии связи в этом аспекте соответствует способу обработки линии связи в первом аспекте, и способ обработки линии связи в этом аспекте описан с точки зрения второго MLD.
[0027] В этом способе множество линий связи между вторым MLD и первым MLD включают в себя первую линию связи и вторую линию связи. Вторая линия связи представляет собой линию связи, которая переключается с первой линии связи первым MLD, или линию связи, статус линии связи которой является переходным посредством первого MLD. Второе MLD определяет первую информацию второй линии связи. Первая информация используется первым MLD для определения того, обновлена ли конфигурация BSS набора базовых услуг второй линии связи. Второе MLD отправляет первую информацию второй линии связи в первое MLD по первой линии связи. Необязательно, второе MLD может отправить первую информацию второй линии связи в первое MLD до того, как первое MLD переключится с первой линии связи на вторую линию связи, или до того, как будет выполнен переход статуса второй линии связи.
[0028] Можно понять, что способ помогает первому MLD определить на основе первой информации, обновлена ли конфигурация BSS второй линии связи. Кроме того, если конфигурация BSS второй линии связи не обновлена, первое MLD может непосредственно передать кадр данных по второй линии связи, на которую переключаются, или второй линии связи, статус которой является переходным, и ему не нужно передавать кадр данных до тех пор, пока маяковый кадр не принят, и последний параметр конфигурации BSS получается на линии связи, на которую переключаются, или на второй линии связи, статус которой является переходным. Это сокращает время ожидания, необходимое перед тем, как кадр данных будет передан по второй линии связи, на которую переключаются, или по второй линии связи, статус которой является переходным.
[0029] В необязательной реализации, когда конфигурация BSS второй линии связи не обновляется, второе MLD может принимать кадр данных восходящей линии связи, кадр нулевого качества обслуживания (QoS NULL) или кадр уведомления о статусе линии связи от первого MLD по второй линии связи. Кадр уведомления о статусе линии связи указывает, что вторая линия связи находится в активном или включенном состоянии, так что второе MLD своевременно доставляет кадр данных нисходящей линии связи.
[0030] В необязательной реализации, когда конфигурация BSS второй линии связи обновляется, второе MLD принимает вторую информацию от первого MLD по второй линии связи, определяет обновленный параметр конфигурации BSS второй линии связи на основе второй информации и отправляет обновленный параметр конфигурации BSS второй линии связи на первое MLD по первой линии связи.
[0031] Необязательно, первая информация представляет собой порядковый номер конфигурации BSS, порядковый номер конфигурации точки доступа (AP-CSN) или значение проверочного маяка (check beacon), которое находится во втором MLD и которое идентифицирует вторую линию связи. Вторая информация представляет собой порядковый номер конфигурации BSS, порядковый номер конфигурации точки доступа (AP-CSN) или значение проверочного маяка (check beacon), которое хранится в первом MLD и которое идентифицирует вторую линию связи. Таким образом, первое MLD может сравнить, согласуется ли первая информация со второй информацией. Если первая информация согласуется со второй информацией, это указывает, что конфигурация BSS второй линии связи не обновлена. Если первая информация не согласуется со второй информацией, это указывает на то, что конфигурация BSS второй линии связи обновлена. Это помогает первому MLD вовремя передать кадр данных по второй линии связи.
[0032] То есть первая информация является идентификатором текущей конфигурации BSS второй линии связи. Вторая информация представляет собой идентификатор конфигурации BSS второй линии связи, который ранее был получен первым MLD. Следовательно, если недавно обновленная или текущая конфигурация BSS второй линии связи не обновлена по сравнению с конфигурацией BSS второй линии связи, полученной ранее посредством первого MLD, первая информация равна второй информации. Если недавно обновленная или текущая конфигурация BSS второй линии связи обновлена, первая информация не равна или больше второй информации.
[0033] В необязательной реализации вторая информация второй линии связи переносится в кадре одноадресного пробного запроса, который принимается по второй линии связи. Обновленный параметр конфигурации BSS второй линии связи переносится, для отправки, в кадре ответа проверки по второй линии связи. Кадр ответа проверки отправляется на основе кадра одноадресного пробного запроса. То есть то, что второе MLD принимает вторую информацию по второй линии связи, включает в себя: второе MLD принимает кадр одноадресного пробного запроса по второй линии связи. Кадр одноадресного пробного запроса включает в себя вторую информацию второй линии связи. Второе MLD отправляет кадр ответа поверки по второй линии связи. Кадр ответа проверки включает в себя обновленный параметр конфигурации BSS второй линии связи. Обновленный параметр конфигурации BSS второй линии связи получается вторым MLD на основе второй информации.
[0034] Необязательно, вторая информация, относящаяся ко второй линии связи и отправляемая на второе MLD, может быть получена первым MLD из маякового (beacon) кадра, кадра ответа проверки множественных линий связи или кадра ответа ассоциации множественных линий связи первой линии связи, когда первое MLD выполняет зондирование канала или ассоциацию линий связи. В реализации, второе MLD отправляет маяковый (beacon) кадр, кадр ответа проверки множественных линий связи множественных линий связи или кадр ответа ассоциации множественных линий связи первой линии связи по первой линии связи. Маяковый кадр, кадр ответа проверки множественных линий связи или кадр ответа ассоциации множественных линий связи включает в себя вторую информацию второй линии связи. Это помогает первому MLD сообщать вторую информацию второму MLD по второй линии связи для получения обновленного параметра конфигурации BSS второй линии связи.
[0035] Необязательно, маяковый (beacon) кадр, кадр ответа проверки множественных линий связи или кадр ответа ассоциации множественных линий связи первой линии дополнительно несет информацию, такую как статус линии связи и использование канала второй линии связи.
[0036] В необязательной реализации первая информация второй линии связи отправляется вторым MLD в первое MLD посредством сообщения ответа переключения линии связи, отчетного сообщения с информацией о перекрестной линии связи, кадра управления доступом к среде, кадра ответа для согласования отношения соответствия между идентификатором трафика и линией связи, маякового кадра, поля управления кадра данных или кадра запроса для согласования отношения соответствия между идентификатором трафика и линией связи на, которая находится на первой линии связи. То есть, то, что второе MLD отправляет первую информацию второй линии связи по первой линии связи, включает в себя: второе MLD отправляет сообщение ответа переключения линии связи, сообщении информационного отчета о перекрестной линии связи, кадр управления доступом к среде, кадр ответа для согласования отношения соответствия между идентификатором трафика и линией связи, маяковый кадр, поле управления кадра данных или кадр запроса для согласования отношения соответствия между идентификатором трафика и линией связи на первой линии связи. Первая информация второй линии связи переносится в сообщении ответа о переключении линии связи, отчетном сообщении информации о перекрестной линии связи, кадре управления доступом к среде, кадре ответа для согласования отношения соответствия между идентификатором трафика и линией связи, маяковом кадре, поле управления кадра данных или кадре запроса для согласования отношения соответствия между идентификатором трафика и линией связи.
[0037] Необязательно, второе MLD может сначала принять сообщение запроса переключения линии связи, сообщение запроса отчета информации о перекрестной линии связи или кадр запроса для согласования отношения соответствия между идентификатором трафика и линией связи от первого MLD по первой линии связи, а затем вернуть вышеупомянутое сообщение. Можно понять, что в этой реализации первое MLD может активно запрашивать первую информацию о линии связи, на которую переключаются, чтобы узнать, обновлена ли конфигурация BSS второй линии связи. Это помогает избежать, после переключения или перехода статуса, проблемы, связанной с тем, что кадр данных передается только после приема маякового кадра, и сокращает время ожидания, необходимое перед передачей кадра данных по линии связи, на которую переключаются, или линии связи, статус которой является переходным.
[0038] Кадр запроса для согласования отношения соответствия между идентификатором трафика и линией связи из первого MLD отправляется, когда первому MLD необходимо изменить отношение соответствия между линией связи и идентификатором трафика, так что необходимо осуществить переход статусов линий связи некоторых линий связи из отключенного/спящего состояния в включенное/активное состояние. Соответственно кадр ответа для согласования отношения соответствия между идентификатором трафика и линией связи, возвращенный вторым MLD, дополнительно используется для указания, принимает ли второе MLD запрос конфигурации соответствия между идентификатором трафика и линией связи. Необязательно, если второе MLD принимает запрос конфигурации соответствия, кадр ответа для согласования отношения соответствия между идентификатором трафика и линией связи включает в себя первую информацию второй линии связи. Если второе MLD не принимает запрос конфигурации соответствия, кадр ответа для согласования отношения соответствия между идентификатором трафика и линией связи не включает в себя первую информацию второй линии связи.
[0039] В другой необязательной реализации, когда второму MLD необходимо изменить отношение соответствия между линией связи и идентификатором трафика, второму MLD дополнительно необходимо осуществить переход статуса некоторых линий связи из отключенного/спящего состояния в включенное/активное состояние. Второе MLD также может отправить кадр запроса для согласования отношения соответствия между идентификатором трафика и линией связи на первое MLD. Кадр запроса для согласования соотношения соответствия между идентификатором трафика и линией связи может нести первую информацию второй линии связи. Таким образом, первое MLD может осуществить переход статуса линии связи на основе первой информации второй линии связи в вышеприведенной реализации, чтобы уменьшить время ожидания, необходимое перед передачей кадра данных.
[0040] Соответственно кадр ответа для согласования отношения соответствия между идентификатором трафика и линией связи, принятым вторым MLD, указывает, принимает ли первое MLD запрос конфигурации соответствия между идентификатором трафика и линией связи. Необязательно, если первое MLD принимает запрос конфигурации соответствия, кадр ответа для согласования отношения соответствия между идентификатором трафика и линией связи может нести информацию, которая подтверждается как принятая. Если первое MLD не принимает запрос конфигурации соответствия, кадр ответа для согласования отношения соответствия между идентификатором трафика и линией связи может согласовать информацию, которая отклонена.
[0041] В предыдущих двух реализациях первое MLD или второе MLD могут определять, на основе линии связи, статус линии связи которой должен выполнить переход, количество линий связи, переносимых в кадре запроса, для согласования отношения соответствия между идентификатором трафика и линией связи.
[0042] Можно узнать, что в необязательной реализации первая информация второй линии связи переносится в различных сообщениях, так что первое MLD или второе MLD могут своевременно инициировать запрос переключения линии связи или запрос перехода статуса линии связи в различных сценариях. Следовательно, время ожидания, необходимое для передачи кадра данных по линии связи, на которую переключаются, или линии связи, статус которой является переходным, дополнительно сокращается.
[0043] Согласно третьему аспекту эта заявка дополнительно обеспечивает способ обработки линии связи. Различие между упомянутым способом и способом обработки линии связи согласно первому аспекту заключается в том, что в этом аспекте второе MLD определяет, обновляется ли конфигурация BSS второй линии связи, на которую переключаются, или второй линии связи, статус которой является переходным. Кроме того, по первой линии связи обновленный параметр конфигурации BSS второй линии связи может быть отправлен на первое MLD, или первое MLD может быть уведомлено о том, что конфигурация BSS второй линии связи не обновлена. Таким образом, первое MLD может непосредственно передавать кадр данных по второй линии связи, на которую переключаются, или второй линии связи, статус которой является переходным, и ему не нужно передавать кадр данных до тех пор, пока не будет дополнительно принят маяковый кадр и последний параметр конфигурация BSS получен по второй лини связи, на которую переключаются, или по второй линии связи, статус которой является переходным. Это сокращает время ожидания, необходимое перед тем, как кадр данных будет передан по второй линии связи, на которую переключаются, или по второй линии связи, статус которой является переходным.
[0044] Кроме того, если кадр данных по первой линии связи необходимо переключить на вторую линию связи, в способе перед переключением с первой линии связи на вторую линию связи первое MLD может узнать, что конфигурация BSS второй линии связи не обновлена или узнать обновленный параметр конфигурации BSS второй линии связи. Таким образом, кадр данных может быть передан непосредственно по второй линии связи, на которую переключаются, и его не нужно передавать до того, как маяковый кадр не будет принят после переключения. Это помогает сократить длительность воздействия процесса переключения линии связи на передачу кадра данных. Если кадр данных по первой линии связи необходимо выгрузить во вторую линию связи, в способе перед передачей статуса второй линии связи первое MLD может узнать, что конфигурация BSS второй линии связи не обновлена, или узнать обновленный параметр конфигурации BSS второй линии связи. Следовательно, кадр данных может быть передан непосредственно по второй линии связи, статус которой является переходным, и его не нужно передавать до тех пор, пока после перехода статуса не будет принят маяковый кадр. Это сокращает длительность, необходимую для передачи с выгрузкой кадра данных.
[0045] Способ обработки линии связи в этом аспекте включает в себя: первое MLD отправляет вторую информацию второй линии связи по первой линии связи. Вторая информация используется вторым MLD для определения, обновлена ли конфигурация BSS второй линии связи. Первое MLD принимает третью информацию по первой линии связи. Третья информация определяется вторым MLD на основе второй информации. Третья информация указывает, что конфигурация BSS второй линии связи не обновлена, или обновленный параметр конфигурации BSS второй линии связи. Таким образом, первое MLD может непосредственно передавать кадр данных по второй линии связи на основе третьей информации. Можно понять, что первое MLD может непосредственно передавать кадр данных по второй линии связи, на которую переключаются, или второй линии связи, статус которой является переходным. Это сокращает время ожидания, необходимое перед передачей кадра данных по второй линии связи, на которую переключаются, или по второй линии связи, статус которой является переходным.
[0046] Когда конфигурация BSS второй линии связи обновляется, третья информация включает в себя обновленный параметр конфигурации BSS второй линии связи. Когда конфигурация BSS второй линии связи не обновлена, третья информация может указывать, что конфигурация BSS второй линии связи не обновлена.
[0047] Кадр данных может быть кадром данных восходящей линии связи или кадром нулевого качества обслуживания (QoS NULL) для уведомления второго MLD о том, что вторая линия связи находится в активном/включенном состоянии. Необязательно, первое MLD может дополнительно передавать кадр уведомления о статусе линии связи по второй линии связи. Кадр уведомления о статусе линии связи указывает, что вторая линия связи находится в активном/включенном состоянии, так что второе MLD может вовремя отправить кадр данных нисходящей линии связи по второй линии связи.
[0048] Вторая информация представляет собой порядковый номер конфигурации BSS, порядковый номер конфигурации точки доступа (AP-CSN) или значение провеочного маяка (check beacon), которое хранится в первом MLD и которое идентифицирует вторую линию связи. Первая информация представляет собой порядковый номер конфигурации BSS, порядковый номер конфигурации точки доступа (AP-CSN) или значение проверочного маяка (check beacon), которое находится во втором MLD и которое идентифицирует вторую линию связи. Таким образом, второе MLD может сравнивать, согласуется ли первая информация со второй информацией. Если первая информация согласуется со второй информацией, это указывает, что конфигурация BSS второй линии связи не обновлена. Если первая информация не согласуется со второй информацией, это указывает на то, что конфигурация BSS второй линии связи обновлена. Это помогает второму MLD узнать, на основе первой информации и второй информации, обновлена ли конфигурация BSS второй линии связи.
[0049] То есть первая информация представляет собой порядковый номер текущей конфигурации BSS, AP-CSN или значение проверочного маяка второй линии связи. Вторая информация представляет собой порядковый номер конфигурации BSS, AP-CSN или значение проверочного маяка, которое относится ко второй линии связи и которое ранее было получено первым MLD. Следовательно, если недавно обновленная или текущая конфигурация BSS второй линии связи не обновлена по сравнению с конфигурацией BSS второй линии связи, полученной ранее посредством первого MLD, первая информация равна второй информации. Если обновляется недавно обновленная или текущая конфигурация BSS второй линии связи, первая информация не равна или больше второй информации.
[0050] Необязательно, вторая информация получается первым MLD из маякового (beacon) кадра или кадра ответа проверки множественных линий связи первой линии, когда первое MLD выполняет зондирование канала. Альтернативно, вторая информация получается первым MLD из кадра ответа проверки множественных линий связи первой линии, когда первое MLD выполняет ассоциацию линий связи.
[0051] Необязательно, маяковый (beacon) кадр, кадр ответа проверки множественных линий связи или кадр ответа ассоциации множественных линий связи первой линии связи могут нести информацию о множестве линий связи или всех линиях связи. Информация о каждой линии связи включает в себя вторую информацию и дополнительно включает в себя, помимо прочего, одно или несколько из следующего: статус линии связи, использование канала и т.п. В этой реализации, когда первое MLD выполняет переключение линии связи или переход статуса линии связи, первое MLD может выбрать, на основе упомянутой информации, линию связи, на которую осуществляется переключение, или линию связи, статус которой является переходным.
[0052] В необязательной реализации первое MLD может отправить сообщение запроса переключения линии связи, сообщение запроса отчета об информации о перекрестной линии связи или кадр запроса для согласования отношения соответствия между идентификатором трафика и линией связи на первой линии связи, чтобы уведомить MLD о второй информации второй линии связи. То есть вторая информация о второй линии связи переносится в сообщении запроса переключения линии связи, в сообщении запроса отчетта об информации о перекрестной линии связи или в кадре запроса для согласования отношения соответствия между идентификатором трафика и линией связи.
[0053] Соответственно, первое MLD может принимать сообщение ответа переключения линии связи, сообщении информационного отчета о перекрестной линии связи, кадр управления доступом к среде или кадр ответа для согласования отношения соответствия между идентификатором трафика и линией связи на первой линии связи, чтобы получить третью информацию второй линии связи. В реализации то, что первое устройство с множественными линиями связи (MLD) принимает третью информацию по первой линии связи, включает в себя: первое MLD принимает по первой линии связи сообщение ответа, сообщение переключения линии связи, сообщении информационного отчета о перекрестной линии связи, кадр управления доступом к среде или кадр ответа для согласования отношения соответствия между идентификатором трафика и линией связи. Третья информация второй линии связи переносится в сообщении ответа переключения линии связи, отчетном сообщении информации о перекрестной линии связи, кадре управления доступом к среде или кадре ответа для согласования отношения соответствия между идентификатором трафика и линией связи.
[0054] Кадр запроса для согласования отношения соответствия между идентификатором трафика и линией связи из первого MLD отправляется, когда первому MLD необходимо изменить отношение соответствия между линией связи и идентификатором трафика, так что необходимо выполнить переход статусов для некоторых линий связи из отключенного/спящего состояния в включенное/активное состояние. Соответственно кадр ответа для согласования отношения соответствия между идентификатором трафика и линией связи, возвращенный вторым MLD, указывает, принимает ли второе MLD запрос конфигурации соответствия между идентификатором трафика и линией связи. Необязательно, если второе MLD принимает запрос конфигурации соответствия, кадр ответа для согласования отношения соответствия между идентификатором трафика и линией связи включает в себя третью информацию второй линии связи. Если второе MLD не принимает запрос конфигурации соответствия, кадр ответа для согласования отношения соответствия между идентификатором трафика и линией связи не включает в себя третью информацию второй линии связи.
[0055] Можно понять, что в этой реализации первое MLD может активно сообщать вторую информацию о линии связи, на которую переключаются, чтобы получить третью информацию. Это помогает избежать проблемы, связанной с тем, что после переключения линии связи или перехода статуса, кадр данных передается только после приема маякового кадра, и сокращает время ожидания, необходимое перед передачей кадра данных по линии связи, на которую переключаются.
[0056] В соответствии с четвертым аспектом эта заявка дополнительно обеспечивает способ обработки линии связи. Способ соответствует способу обработки линии связи в третьем аспекте, и этот аспект описан с точки зрения второго MLD. В соответствии с этим аспектом второе MLD определяет, обновляется ли конфигурация BSS для второй линии связи, на которую переключаются, или второй линии связи, статус которой является переходным. Кроме того, по первой линии связи на первое MLD отправляется обновленный параметр, или первое MLD уведомляется о том, что конфигурация BSS второй линии связи не обновлена. Таким образом, первое MLD может непосредственно передавать кадр данных по второй линии связи, на которую переключаются, или второй линии связи, статус которой является переходным, и ему не нужно передавать кадр данных до тех пор, пока не будет получен маяковый кадр и не будет получен последний параметр конфигурации BSS по линии связи, на которую переключаются, или по второй линии связи, статус которой является переходным. Это сокращает время ожидания, необходимое перед тем, как кадр данных будет передан по второй линии связи, на которую переключаются, или по второй линии связи, статус которой является переходным.
[0057] Кроме того, если кадр данных по первой линии связи необходимо переключить на вторую линию связи, в способе, перед переключением с первой линии связи на вторую линию связи, первое MLD может узнать, что конфигурация BSS второй линии связи не обновлена или узнать обновленный параметр конфигурации BSS второй линии связи. Таким образом, кадр данных может быть передан непосредственно по второй линии связи, на которую переключаются, и его не нужно передавать до тех пор, пока после переключения не будет получен маяковый кадр. Это сокращает длительность воздействия процесса переключения линии связи на передачу кадра данных. Если кадр данных по первой линии связи необходимо выгрузить во вторую линию связи, в способе, перед переходом статуса второй линии связи, первое MLD может узнать, что конфигурация BSS второй линии связи не обновлена, или узнать обновленный параметр конфигурации BSS второй линии связи. Следовательно, кадр данных может быть передан непосредственно по второй линии связи, статус которой является переходным, и его не нужно передавать до тех пор, пока после перехода статуса не будет принят маяковый кадр. Это сокращает длительность, необходимую для передачи с выгрузкой кадра данных.
[0058] Способ обработки линии связи в этом аспекте включает в себя: второе MLD принимает вторую информацию второй линии связи по первой линии связи. Вторая информация используется вторым MLD для определения, обновлена ли конфигурация BSS второй линии связи. Второе MLD отправляет третью информацию по первой линии связи. Третья информация определяется вторым MLD на основе второй информации. Третья информация указывает, что конфигурация BSS второй линии связи не обновлена, или обновленный параметр конфигурации BSS второй линии связи.
[0059] Когда конфигурация BSS второй линии связи обновлена, третья информация включает в себя обновленный параметр конфигурации BSS второй линии связи. Когда конфигурация BSS второй линии связи не обновлена, третья информация указывает, что конфигурация BSS второй линии связи не обновлена.
[0060] Можно понять, что, поскольку второе MLD может уведомлять первое MLD по первой линии связи, обновляется ли конфигурация BSS второй линии связи или об обновленном параметре конфигурации BSS второй линии связи, первое MLD может непосредственно передавать кадр данных по второй линии связи, на которую переключаются, или второй линии связи, статус которой является переходным, без ожидания приема маякового кадра. Это сокращает время ожидания, необходимое перед передачей кадра данных по второй линии связи, на которую переключаются, или по второй линии связи, статус которой является переходным.
[0061] Необязательно, после отправки третьей информации по первой линии связи второе MLD может дополнительно принять кадр данных по второй линии связи. Кадр данных включает в себя кадр данных восходящей линии связи, кадр нулевого качества обслуживания (QoS NULL) или кадр уведомления о статусе линии связи. Кадр уведомления о статусе линии связи указывает, что вторая линия связи находится в активном/включенном состоянии, так что второе MLD вовремя отправляет кадр данных нисходящей линии связи по второй линии связи.
[0062] Вторая информация представляет собой порядковый номер конфигурации BSS, порядковый номер конфигурации точки доступа (AP-CSN) или значение проверочного маяка (check beacon), которое хранится в первом MLD и которое идентифицирует вторую линию связи. Первая информация представляет собой порядковый номер конфигурации BSS, порядковый номер конфигурации точки доступа (AP-CSN) или значение проверочного маяка (check beacon), которое находится во втором MLD и которое идентифицирует вторую линию связи. Таким образом, второе MLD может сравнивать, согласуется ли первая информация со второй информацией. Если первая информация согласуется со второй информацией, это указывает, что конфигурация BSS второй линии связи не обновлена. Если первая информация не согласуется со второй информацией, это указывает на то, что конфигурация BSS второй линии связи обновлена. Это помогает второму MLD узнать, на основе первой информации и второй информации, обновлена ли конфигурация BSS второй линии связи.
[0063] То есть первая информация представляет собой порядковый номер текущей конфигурации BSS, AP-CSN или значение проверочного маяка второй линии связи. Вторая информация представляет собой порядковый номер конфигурации BSS, AP-CSN или значение проверочного маяка, которое относится ко второй линии связи и которое ранее было получено первым MLD. Следовательно, если недавно обновленная или текущая конфигурация BSS второй линии связи не обновлена по сравнению с конфигурацией BSS второй линии связи, полученной ранее посредством первого MLD, первая информация равна второй информации. Если обновляется недавно обновленная или текущая конфигурация BSS второй линии связи, первая информация не равна или больше второй информации.
[0064] Необязательно, вторая информация получается из маякового (beacon) кадра или кадра ответа проверки множественных линий связи первой линии, когда первое MLD выполняет зондирование канала. В качестве альтернативы, вторая информация получается из кадра ответа проверки множественных линий связи первой линии, когда первое MLD выполняет ассоциацию линий связи.
[0065] Необязательно, маяковый (beacon) кадр, кадр ответа проверки множественных линий связи или кадр ответа ассоциации множественных линий связи первой линии связи могут нести информацию о множестве линий связи или всех линиях связи. Информация о каждой линии связи включает в себя вторую информацию и дополнительно включает в себя, помимо прочего, одно или несколько из следующего: статус линии связи, использование канала и т.п. В этой реализации, когда первое MLD выполняет переключение линии связи или переход статуса линии связи, первое MLD может выбрать, на основе упомянутой информации, линию связи, на которую осуществляется переключение, или линию связи, статус которой является переходным.
[0066] В необязательной реализации второе MLD может принимать сообщение запроса переключения линии связи, сообщение запроса отчета об информации перекрестной линии связи или кадр запроса для согласования отношения соответствия между идентификатором трафика и линией связи от первого MLD по первой линии связи, для получения второй информации второй линии связи. То есть вторая информация второй линии связи переносится в сообщении запроса переключения линии связи, в сообщении запроса отчета об информации о перекрестной линии связи или в кадре запроса для согласования отношения соответствия между идентификатором трафика и линией связи.
[0067] Соответственно, второе MLD может отправить сообщение ответа переключения линии связи, сообщении информационного отчета о перекрестной линии связи, кадр управления доступом к среде или кадр ответа для согласования отношения соответствия между идентификатором трафика и линией связи по первой линии связи, чтобы отправить третью информацию второй линии связи на первое MLD. То есть третья информация второй линии связи переносится в сообщении ответа о переключении линии связи, отчетном сообщении информации о перекрестной линии связи, кадре управления доступом к среде или кадре ответа для согласования отношения соответствия между идентификатором трафика и линией связи.
[0068] Кадр запроса для согласования отношения соответствия между идентификатором трафика и линией связи из первого MLD отправляется, когда первому MLD необходимо изменить отношение соответствия между линией связи и идентификатором трафика, так что необходимо выполнить переход статусов линий связи некоторых линий связи из отключенного/спящего состояния в включенное/активное состояние. Соответственно кадр ответа для согласования отношения соответствия между идентификатором трафика и линией связи, возвращенный вторым MLD, указывает, принимает ли второе MLD запрос конфигурации соответствия между идентификатором трафика и линией связи. Необязательно, если второе MLD принимает запрос конфигурации соответствия, кадр ответа для согласования отношения соответствия между идентификатором трафика и линией связи включает в себя третью информацию второй линии связи. Если второе MLD не принимает запрос конфигурации соответствия, кадр ответа для согласования отношения соответствия между идентификатором трафика и линией связи не включает в себя третью информацию второй линии связи.
[0069] Можно узнать, что в этой реализации первое MLD может активно сообщать вторую информацию о линии связи, на которую переключаются, или линии связи, статус которой является переходным, для получения третьей информации.
[0070] Можно узнать, что в вышеупомянутых реализациях вторая информация и третья информация второй линии связи могут переносится в различных сообщениях, так что первое MLD или второе MLD могут инициировать запрос переключения линии связи или запрос перехода статуса линии связи вовремя в различных сценариях. Следовательно, время ожидания, необходимое перед передачей кадра данных по линии связи, на которую переключаются, или линии связи, статус которой является переходным, дополнительно сокращается.
[0071] Согласно пятому аспекту эта заявка предоставляет устройство с множественными линиями связи. Устройство с множественными линиями связи может включать в себя множество функциональных модулей, сконфигурированных для соответствующего выполнения способа, предусмотренного в первом аспекте, или способа, предусмотренного в любой из возможных реализаций первого аспекта.
[0072] Согласно шестому аспекту эта заявка предоставляет устройство с множественными линиями связи. Устройство с множественными линиями связи может включать в себя множество функциональных модулей, сконфигурированных для соответствующего выполнения способа, предусмотренного во втором аспекте, или способа, предусмотренного в любой из возможных реализаций второго аспекта.
[0073] Согласно седьмому аспекту эта заявка обеспечивает устройство с множественными линиями связи. Устройство с множественными линиями связи может включать в себя множество функциональных модулей, сконфигурированных для соответствующего выполнения способа, предусмотренного в третьем аспекте, или способа, предусмотренного в любой из возможных реализаций третьего аспекта.
[0074] Согласно восьмому аспекту эта заявка обеспечивает устройство с множественными линиями связи. Устройство с множественными линиями связи может включать в себя множество функциональных модулей, сконфигурированных для соответствующего выполнения способа, предусмотренного в четвертом аспекте, или способа, предусмотренного в любой из возможных реализаций четвертого аспекта.
[0075] В соответствии с девятым аспектом эта заявка предоставляет устройство с множественными линиями связи, сконфигурированное для выполнения способа обработки линии связи, описанного в первом аспекте. Устройство с множественными линиями связи может включать в себя память, а также процессор и приемопередатчик, которые соединены с памятью. Приемопередатчик выполнен с возможностью осуществления связи с другим устройством связи (например, с устройством с множественными линиями связи). Память сконфигурирована для хранения кода реализации способа обработки линии связи, описанного в первом аспекте. Процессор выполнен с возможностью выполнения программного кода, хранящегося в памяти, то есть выполнения способа, предусмотренного в первом аспекте, или способа, предусмотренного в любой из возможных реализаций первого аспекта.
[0076] Согласно десятому аспекту эта заявка предоставляет устройство с множественными линиями связи, сконфигурированное для выполнения способа обработки линии связи, описанного во втором аспекте. Устройство с множественными линиями связи может включать в себя память, а также процессор и приемопередатчик, которые соединены с памятью. Приемопередатчик выполнен с возможностью осуществления связи с другим устройством связи (например, с устройством с множественными линиями связи). Память сконфигурирована для хранения кода реализации способа обработки линии связи, описанного во втором аспекте. Процессор сконфигурирован для выполнения программного кода, хранящегося в памяти, то есть выполнения способа, предусмотренного во втором аспекте, или способа, предусмотренного в любой из возможных реализаций второго аспекта.
[0077] В соответствии с одиннадцатым аспектом эта заявка предоставляет устройство с множественными линиями связи, сконфигурированное для выполнения способа обработки линии связи, описанного в третьем аспекте. Устройство с множественными линиями связи может включать в себя память, а также процессор и приемопередатчик, которые соединены с памятью. Приемопередатчик выполнен с возможностью осуществления связи с другим устройством связи (например, с устройством с множественными линиями связи). Память сконфигурирована для хранения кода реализации способа обработки линии связи, описанного в третьем аспекте. Процессор выполнен с возможностью выполнения программного кода, хранящегося в памяти, то есть выполнения способа, предусмотренного в третьем аспекте, или способа, предусмотренного в любой из возможных реализаций третьего аспекта.
[0078] В соответствии с двенадцатым аспектом эта заявка предоставляет устройство с множественными линиями связи, сконфигурированное для выполнения способа обработки линии связи, описанного в четвертом аспекте. Устройство с множественными линиями связи может включать в себя память, а также процессор и приемопередатчик, которые соединены с памятью. Приемопередатчик выполнен с возможностью осуществления связи с другим устройством связи (например, с устройством с множественными линиями связи). Память сконфигурирована для хранения кода реализации способа обработки линии связи, описанного в четвертом аспекте. Процессор выполнен с возможностью выполнения программного кода, хранящегося в памяти, то есть выполнения способа, предусмотренного в четвертом аспекте, или способа, предусмотренного в любой из возможных реализаций четвертого аспекта.
[0079] Согласно тринадцатому аспекту эта заявка обеспечивает систему микросхем. Чиповая система может включать в себя процессор и один или несколько интерфейсов, связанных с процессором. Процессор может быть сконфигурирован для вызова из памяти программы реализации способа обработки линии связи, предусмотренного в первом аспекте, или способа обработки линии связи, предусмотренного в любой из возможных реализаций первого аспекта, и выполнения инструкций, включенных в программу. Интерфейс может быть сконфигурирован для вывода процессором результата обработки линии связи.
[0080] Согласно четырнадцатому аспекту эта заявка обеспечивает систему микросхем. Система микросхем может включать в себя процессор и один или несколько интерфейсов, связанных с процессором. Процессор может быть сконфигурирован для вызова из памяти программы реализации способа обработки линии связи, предусмотренного во втором аспекте, или способа обработки линии связи, предусмотренного в любой из возможных реализаций второго аспекта, и выполнения инструкций, включенных в программу. Интерфейс может быть сконфигурирован для вывода процессором результата обработки линии связи.
[0081] Согласно пятнадцатому аспекту эта заявка обеспечивает систему микросхем. Система микросхем может включать в себя процессор и один или несколько интерфейсов, связанных с процессором. Процессор может быть сконфигурирован для вызова из памяти программы реализации способа обработки линии связи, предусмотренного в третьем аспекте, или способа обработки линии связи, предусмотренного в любой из возможных реализаций третьего аспекта, и выполнения инструкций, включенных в программу. Интерфейс может быть сконфигурирован для вывода процессором результата обработки линии связи.
[0082] Согласно шестнадцатому аспекту эта заявка обеспечивает систему микросхем. Система микросхем может включать в себя процессор и один или несколько интерфейсов, связанных с процессором. Процессор может быть сконфигурирован для вызова из памяти программы реализации способа обработки линии связи, предусмотренного в четвертом аспекте, или способа обработки линии связи, предусмотренного в любой из возможных реализаций четвертого аспекта, и выполнения инструкций, включенных в программу. Интерфейс может быть сконфигурирован для вывода процессором результата обработки линии связи.
[0083] Согласно семнадцатому аспекту эта заявка обеспечивает систему связи, включающую в себя первое устройство с множественными линиями связи и второе устройство с множественными линиями связи.
[0084] Первое устройство с множественными линиями связи может быть сконфигурировано для выполнения способа обработки линии связи, предусмотренного в первом аспекте, или способа обработки линии связи, предусмотренного в любой из возможных реализаций первого аспекта. Второе устройство с множественными линиями связи может быть сконфигурировано для выполнения способа обработки линии связи, предусмотренного во втором аспекте, или способа обработки линии связи, предусмотренного в любой из возможных реализаций второго аспекта.
[0085] Согласно восемнадцатому аспекту эта заявка предоставляет систему связи, включающую в себя первое устройство с множественными линиями связи и второе устройство с множественными линиями связи.
[0086] Первое устройство с множественными линиями связи может быть сконфигурировано для выполнения способа обработки линии связи, предусмотренного в третьем аспекте, или способа обработки линии связи, предусмотренного в любой из возможных реализаций третьего аспекта. Второе устройство с множественными линиями связи может быть сконфигурировано для выполнения способа обработки линии связи, предусмотренного в четвертом аспекте, или способа обработки линии связи, предусмотренного в любой из возможных реализаций четвертого аспекта.
[0087] Согласно девятнадцатому аспекту предоставлен машиночитаемый носитель данных. машиночитаемый носитель данных хранит программный код для реализации способа обработки линии связи, предусмотренного в первом аспекте, или способа обработки линии связи, предусмотренного в любой из возможных реализаций первого аспекта. Программный код включает в себя инструкции выполнения для исполнения способа обработки линии связи, предоставленного в первом аспекте, или способа обработки линии связи, предоставленного в любой из возможных реализаций первого аспекта.
[0088] В соответствии с двадцатым аспектом предоставляется машиночитаемый носитель данных. Машиночитаемый носитель данных хранит программный код для реализации способа обработки линии связи, предусмотренного во втором аспекте, или способа обработки линии связи, предусмотренного в любой из возможных реализаций второго аспекта. Программный код включает в себя инструкции выполнения для исполнения способа обработки линии связи, предусмотренного во втором аспекте, или способа обработки линии связи, предусмотренного в любой из возможных реализаций второго аспекта.
[0089] В соответствии с двадцать первым аспектом предоставляется машиночитаемый носитель данных. машиночитаемый носитель данных хранит программный код для реализации способа обработки линии связи, предусмотренного в третьем аспекте, или способа обработки линии связи, предусмотренного в любой из возможных реализаций третьего аспекта. Программный код включает в себя инструкции выполнения для исполнения способа обработки линии связи, предоставленного в третьем аспекте, или способа обработки линии связи, предоставленного в любой из возможных реализаций третьего аспекта.
[0090] В соответствии с двадцать вторым аспектом предоставляется машиночитаемый носитель данных. Машиночитаемый носитель данных хранит программный код для реализации способа обработки линии связи, предусмотренного в четвертом аспекте, или способа обработки линии связи, предусмотренного в любой из возможных реализаций четвертого аспекта. Программный код включает в себя инструкции выполнения для исполнения способа обработки линии связи, предусмотренного в четвертом аспекте, или способа обработки линии связи, предусмотренного в любой из возможных реализаций четвертого аспекта.
[0091] В соответствии с двадцать третьим аспектом эта заявка дополнительно предоставляет компьютерный программный продукт, включающий в себя компьютерную программу. Когда компьютерный программный продукт запускается на компьютере, компьютер получает возможность выполнять способ обработки линии связи в соответствии с первым аспектом или способ обработки линии связи в соответствии с любой из возможных реализаций первого аспекта.
[0092] В соответствии с двадцать четвертым аспектом эта заявка дополнительно предоставляет компьютерный программный продукт, включающий в себя компьютерную программу. Когда компьютерный программный продукт запускается на компьютере, компьютер получает возможность выполнять способ обработки линии связи в соответствии со вторым аспектом или способ обработки линии связи в соответствии с любой из возможных реализаций второго аспекта.
[0093] В соответствии с двадцать пятым аспектом эта заявка дополнительно предоставляет компьютерный программный продукт, включающий в себя компьютерную программу. Когда компьютерный программный продукт запускается на компьютере, компьютер получает возможность выполнять способ обработки линии связи в соответствии с третьим аспектом или способ обработки линии связи в соответствии с любой из возможных реализаций третьего аспекта.
[0094] В соответствии с двадцать шестым аспектом эта заявка дополнительно обеспечивает компьютерный программный продукт, включающий в себя компьютерную программу. Когда компьютерный программный продукт запускается на компьютере, компьютеру предоставляется возможность выполнять способ обработки линии связи в соответствии с четвертым аспектом или способ обработки линии связи в соответствии с любой из возможных реализаций четвертого аспекта.
КРАТКОЕ ОПИСАНИЕ ЧЕРТЕЖЕЙ
[0095] Фиг. 1А представляет собой схематическое представление структуры системы связи в соответствии с вариантом осуществления этой заявки;
[0096] Фиг. 1В представляет собой схематическое представление структуры другой системы связи в соответствии с вариантом осуществления этой заявки;
[0097] Фиг. 2 представляет собой схематическое представление способа ассоциации линии связи согласно варианту осуществления этой заявки;
[0098] Фиг. 3 представляет собой схематическое представление способа переключения линии связи в соответствии с вариантом осуществления этой заявки;
[0099] Фиг. 4 является схематичным представлением способа перехода статуса линии связи согласно варианту осуществления этой заявки;
[00100] Фиг. 5A представляет собой схематическое представление способа обработки линии связи согласно варианту осуществления этой заявки;
[00101] Фиг. 5B представляет собой схематическое представление другого способа обработки линии связи в соответствии с вариантом осуществления этой заявки;
[00102] Фиг. 5C представляет собой схематическое представление еще одного способа обработки линии связи в соответствии с вариантом осуществления этой заявки;
[00103] Фиг. 6 представляет собой схематическое представление структуры маякового кадра согласно варианту осуществления этой заявки;
[00104] Фиг. 7 представляет собой схематическое представление структуры кадра ответа проверки множественных линий связи согласно варианту осуществления этой заявки;
[00105] Фиг. 8 представляет собой схематическое представление структуры элемента переключения линии связи согласно варианту осуществления этой заявки;
[00106] Фиг. 9 - схематическая диаграмма структуры элемента перехода статуса линии связи согласно варианту осуществления этой заявки;
[00107] Фиг. 10 представляет собой схематическое представление структуры устройства с множественными линиями связи согласно варианту осуществления этой заявки;
[00108] Фиг. 11 представляет собой схематическое представление структуры другого устройства с множественными линиями связи в соответствии с вариантом осуществления этой заявки; и
[00109] Фиг. 12 представляет собой схематическое представление структуры микросхемы согласно варианту осуществления этой заявки.
ОПИСАНИЕ ВАРИАНТОВ ОСУЩЕСТВЛЕНИЯ
[00110] Далее описаны технические решения в вариантах осуществления данной заявки со ссылкой на прилагаемые чертежи.
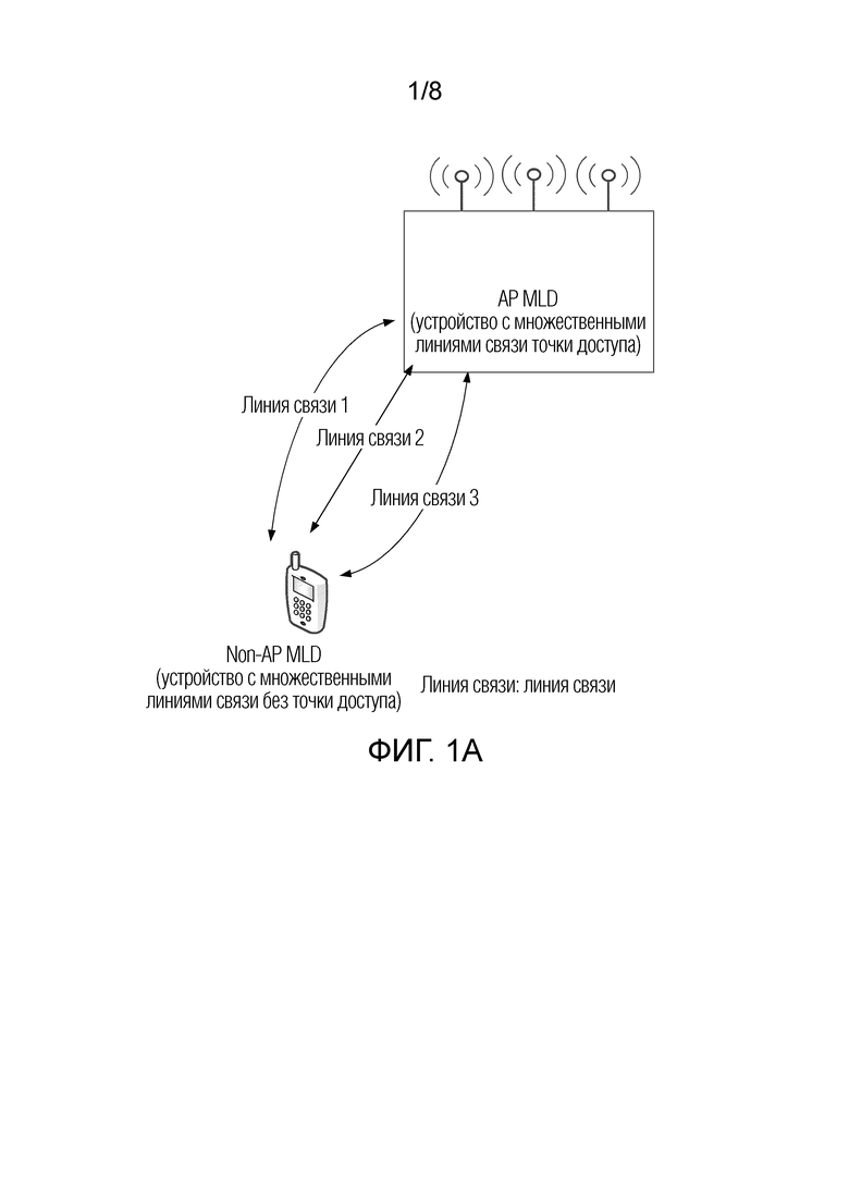
[00111] Варианты осуществления этой заявки обеспечивают способ обработки линии связи, основанный на системе связи, показанной на фиг. 1А и фиг. 1Б. Способ может реализовать быстрый переход между статусами линий связи или быстрое переключение между линиями связи. Система 100 связи, показанная на фиг. 1А и фиг. 1B включает в себя по меньшей мере два устройства с множественными линиями связи (multi-link device, MLD). Например, одно представляет собой устройство с множественными линиями связи точки доступа (access point, AP), а другое - устройство с множественными линиями связи без точки доступа (non-access point, без AP).
[00112] На фиг. 1A, в качестве примеров используются MLD без AP с одним радиоканалом и MLD AP с несколькими радиоканалами. В любой момент MLD без точки доступа с одним радиоканалом может иметь только одну линию связи с MLD AP, а остальные линии связи находятся в отключенном состоянии. На фиг. 1B, в качестве примера используются MLD без AP с множественными радиоканалами и MLD AP с множественными радиоканалами. В любой момент MLD без AP с множественными радиоканалами может иметь одну или несколько линий связи для связи с MLD AP. На фиг. 1А и фиг. 1B, например, MLD без AP включает в себя три STA (например, STA 1, STA 2 и STA 3), а MLD AP включает в себя три AP (например, AP 1, AP 2, и AP 3). STA 1 может быть ассоциирована с AP 1 и может осуществлять связь с AP 1 через линию связи (link) 1; STA 2 ассоциирована с AP 2 и может осуществлять связь с AP 2 через линию связи 2; и STA 3 ассоциирована с AP 3 и может осуществлять связь с AP 3 через линию связи 3. Кроме того, связанные операции MLD без AP и MLD AP на линии связи 1 могут соответственно выполняться STA 1 и AP 1. Например, «MLD AP отправляет первую информацию по линии связи 1, а MLD без AP получает первую информацию по линии связи 1» может быть «AP 1 отправляет первую информацию по линии связи 1, а STA 1 принимает первую информацию по линии связи 1. Соответственно, связанные операции MLD без AP и MLD AP на линии связи 2 могут соответственно выполняться STA 2 и AP 2. Связанные операции MLD без AP и MLD AP на линии связи 3 могут соответственно выполняться STA 3 и AP 3. Для простоты описания в этом варианте осуществления этой заявки для описания используется пример, в котором MLD без AP и MLD AP по отдельности используются в качестве исполнительных объектов.
[00113] 1. Система связи
[00114] В этом варианте осуществления этой заявки система 100 связи может быть беспроводной локальной сетью (Wireless local Area Network, WLAN), сотовой сетью или другой системой беспроводной связи, которая поддерживает параллельную передачу по множеству линий связи. В этом варианте осуществления этой заявки сеть, в которой развернут IEEE 802.11, в основном используется в качестве примера для описания. Различные аспекты этой заявки могут быть распространены на другую сеть, в которой используются различные стандарты или протоколы, например, BLUETOOTH (Bluetooth), высокопроизводительная радиолокальная сеть (high performance radio LAN, HIPERLAN) (стандарт беспроводной связи, аналогичный IEEE 802.1 1, в основном используемый в Европе), глобальная сеть (WAN), беспроводная локальная сеть (wireless local area network, WLAN), персональная сеть (personal area network, PAN) или другая сеть, известная или разработанная в настоящее время или в будущем. Следовательно, различные аспекты, представленные в этой заявке, могут быть применимы к любой подходящей беспроводной сети независимо от зоны покрытия и используемого протокола беспроводного доступа.
[00115] 2. Устройство с множественными линиями связи
[00116] Устройство с множественными линиями связи представляет собой устройство, которое может работать на множестве полос частот или множестве каналов. Например, полоса частот или канал, на котором может работать устройство с множественными линиями связи, может включать в себя, помимо прочего, все или часть частот суб-1 ГГц, 2,4 ГГц, 5 ГГц, 6 ГГц и высокой частоты 60 ГГц. MLD AP и MLD без AP на фиг. 1B может работать соответственно на 2,4 ГГц, 5 ГГц и 6 ГГц. Многоканальность может представлять собой разделение каналов, выполняемое на основе любой полосы частот, например, канала 160 МГц, канала 80 МГц, канала 40 МГц или линии связи 20 МГц в полосе частот 5 ГГц. Устройство с множественными линиями связи может осуществлять беспроводную связь в соответствии с протоколами серии 802.11, например, в соответствии со станцией с чрезвычайно высокой пропускной способностью (Extremely High Throughput, EHT) или в соответствии со станцией на основе 802.11be или станцией, которая совместима с 802.11be, чтобы реализовать связь с другим устройством. Другое устройство может быть устройством с множественными линиями связи или может не быть устройством с множественными линиями связи.
[00117] Устройство с множественными линиями связи включает в себя одну или несколько аффилированных станций STA (affiliated STA). Аффилированная STA является логической станцией и может работать на одной линии связи, или несколько логических станций могут работать на и той же линии связи. Аффилированная станция может быть точкой доступа (Access Point, AP) или станцией без точки доступа (non-Access Point Station, non-AP STA). Для простоты описания в этой заявке устройство с множественными линиями связи, аффилированная станция которого является AP, может называться AP с множественными линиями связи, устройством AP с множественными линиями связи или устройством с множественными линиями связи AP (AP multi-link device) (например, MLD AP на фиг. 1A и фиг. 1B). Устройство с множественными линиями связи, аффилированная станция которого является STA без AP, может упоминаться как STA с множественными линиями связи, устройство STA с множественными линиями связи, устройство с множественными линиями связи STA (STA multi-link device) или MLD без AP (например, MLD без AP на фиг. 1A и фиг. 1B). Для простоты описания «устройство с множественными линиями связи включает в себя аффилированнную STA» также кратко описывается как «устройство с множественными линиями связи включает в себя STA» (как показано на фиг. 1A и фиг. 1B) или «устройство с множественными линиями связи включает в себя AP» в этом варианте осуществления этой заявки.
[00118] В этом варианте осуществления этой заявки устройство с множественными линиями связи (например, MLD AP и MLD без AP на фиг. 1A и 1B) представляет собой аппаратуру, имеющую функцию беспроводной связи. Аппаратура может быть устройством всей системы или может быть микросхемой, системой обработки и т.п., установленными в устройстве всей системы. Устройство, на котором установлена микросхема или система обработки, может реализовать способ и функцию в этом варианте осуществления данной заявки под управлением микросхемы или системы обработки. Например, устройство с множественными линиями связи может быть устройством с множественными линиями связи с одной антенной (или одним радиочастотным модулем) или может быть устройством с множественными линиями связи с множеством антенн (или множеством радиочастотных модулей). Количество антенн, входящих в состав устройства с множественными линиями связи, в данном варианте осуществления данной заявки не ограничено.
[00119] В этом варианте осуществления этой заявки MLD без AP (например, MLD без AP на фиг. 1A и фиг. 1B) имеет функцию беспроводного приемопередатчика, может поддерживать протоколы серии 802.11 и обмениваться данными с MLD AP, другим MLD без AP или устройством с одной линией связи. Например, MLD без AP может быть любым устройством связи пользователя, которое позволяет пользователю осуществлять связь с AP и дополнительно осуществлять связь с WLAN, в том числе, помимо прочего, пользовательским оборудованием, которое может быть подключено к сети, таким как планшетный компьютер, настольный компьютер, портативный компьютер, лэптоп, сверхмобильный персональный компьютер (Ultra-mobile Personal Computer, UMPC), карманный компьютер, нетбук, персональный цифровой помощник (Personal Digital Assistant, PDA) или мобильный телефон или узел Интернета вещей в Интернете вещей, или установленное на транспортном средстве устройство связи в Интернете транспортных средств и т.п. Альтернативно, MLD без AP может быть микросхемой и системой обработки в вышеупомянутых терминалах.
[00120] В этом варианте осуществления этой заявки MLD AP (например, MLD AP на фиг. 1A и 1B) представляет собой аппаратуру, которая предоставляет услуги для MLD без AP и может поддерживать протоколы серии 802.11. Например, MLD AP может быть коммуникационным объектом, таким как сервер связи, маршрутизатор, коммутатор или мост, или MLD AP может включать в себя базовую макростанцию, базовую микростанцию, ретрансляционную станцию и т.п. в различных формах. Конечно, MLD AP альтернативно может быть микросхемой и системой обработки в устройствах в различных формах. Таким образом, реализуются способ и функция в этом варианте осуществления этой заявки.
[00121] Кроме того, устройство с множественными линиями связи может поддерживать передачу с высокой скоростью и малой задержкой. При непрерывном развитии сценариев применений беспроводной локальной сети устройство с множественными линиями связи может быть дополнительно применено к большему количеству сценариев, например, узлу датчиков (например, интеллектуальный счетчик воды, интеллектуальный счетчик электроэнергии и интеллектуальный узел обнаружения воздуха) в умном городе, умному устройству (например, умная камера, проектор, экран дисплея, телевизор, музыкальный центр, холодильник, стиральная машина) в умном доме, узлу в интернете вещей, развлекательному терминалу (например, носимое устройство типа AR и VR), интеллектуальному устройству (например, принтер или проектор) в интеллектуальном офисе, устройству интернета транспортных средств в интернете транспортных средств, и некоторым инфраструктурам (например, торговый автомат, навигационная консоль самообслуживания в супермаркете, касса самообслуживания и автомат самообслуживания) в сценарии повседневной жизни. В этом варианте осуществления данной заявки конкретные формы MLD AP и MLD без AP специально не ограничены и являются просто примерами для описания в данном документе. Протокол 802.11 может быть протоколом, который поддерживает 802.11be или совместим с 802.11be.
[00122] 3. Идентификатор линии связи
[00123] В этом варианте осуществления этой заявки идентификатор линии связи представляет собой линию связи, соответствующую BSS, которая работает на канале. Необязательно, если имеется множество наборов базовых услуг на одном канале, множество идентификаторов линии связи может использоваться для представления линии связи, соответствующей каждому набору базовых услуг (basic service set, BSS).
[00124] Линия связи иногда также представляет AP или STA, работающие на линии связи. Для простоты описания в некоторых частях этой спецификации линия связи может использоваться для представления STA по линии связи. Соответственно, работа устройства с множественными линиями связи на одной линии связи также может называться работой AP или STA на линии связи. То, что MLD без AP принимает первую информацию линии связи 2 от линии связи 1, может также упоминаться как то, что STA 1 в MLD без AP принимает первую информацию линии связи 2 по линии связи 1. Соответственно, MLD AP может заключаться в том, что AP 1 в MLD AP отправляет первую информацию линии связи 2 по линии связи 1.
[00125] MLD AP и MLD без AP могут определять ассоциативные отношения между множеством STA упомянутых MLD без AP и множеством AP упомянутых MLD AP посредством операций ассоциации. Например, на фиг. 2, MLD без AP отправляет кадр ассоциации множественных линий связи (multi-link association request) по линии связи 1. В дополнение к переносу такой информации, как возможности STA 1, кадр запроса ассоциации множественных линий связи может дополнительно нести информацию о STA 2 и информацию о STA 3. Линия связи 1 может упоминаться как передаваемая линия связи (Transmitted Link). Линия связи 2 и линия связи 3 называются непередаваемыми линиями связи (Non-transmitted Link). Соответственно, MLD AP возвращает кадр ответа ассоциации множественных линий связи (multi-link association response) по линии связи 1. В дополнение к переносу такой информации, как идентификатор набора базовых услуг (basic service set identifier, BSSID) AP 1, кадр ответа ассоциации множественных линий связи может дополнительно нести информацию о AP 2 и информацию о AP 3. Таким образом, STA 1, STA 2 и STA 3 упомянутого MLD без AP могут отдельно устанавливать ассоциации с AP 1, AP 2 и AP 3 упомянутого MLD AP на основе кадра ответа ассоциации множественных линий связи. Следовательно, соответствующие ассоциативные отношения, показанные на фиг. 1А и фиг. 1В получаются: (AP 1, STA 1), (AP 2, STA 2) и (AP 3, STA 3). Необязательно, фиг. 1А и фиг. 1B используют эти соответствия в качестве примера. MLD AP может дополнительно установить другие соответствующие ассоциативные отношения путем изменения последовательности переносимой информации о AP, например, (AP 1, STA 2), (AP 2, STA 1) и (AP 3, STA 3).
[00126] Кроме того, на фиг. 1А, фиг. 1В, фиг. 2 и других последующих схематических диаграммах система 100 связи используется в качестве примера для описания. Например, система 100 связи включает в себя MLD AP и MLD без AP. Это предназначено для более четкого описания технических решений в вариантах осуществления этой заявки и не является ограничением технических решений, представленных в вариантах осуществления этой заявки. Специалист в данной области техники может понять, что с развитием системы связи и появлением нового сценария обслуживания варианты осуществления этой заявки также применимы к аналогичной технической задаче. Например, система связи, включающая в себя устройство с множественными линиями связи MLD, альтернативно может быть системой связи, включающей в себя MLD 1 AP и MLD 2 AP, или системой связи, включающей в себя MLD 1 без AP и MLD 2 без AP. В другом примере MLD AP включает в себя одну или более AP (AP 1, AP 2, ... и AP N). MLD без AP включает в себя одну или несколько STA (STA 1, STA 2,... и STA N). Существует множество линий связи (линия связи 1, линия связи 2, ... и линия связи N) между MLD AP и MLD без AP. Коммуникационная линия связи между AP 1 и STA 1 - это линия связи 1, коммуникационная линия связи между AP 2 и STA 2 - это линия связи 2, коммуникационная линия связи между AP N и STA N - это линия связи N, и т.п.
[00127] 4. Переключение линии связи, переход статуса линии связи и задачи, которые необходимо решить
[00128] Устройство с множественными линиями связи с одним радиоканалом имеет один радиочастотный модуль. Хотя устройство с множественными линиями связи с одним радиоканалом может работать на разных полосах частот или каналах, устройство с множественными линиями связи с одним радиоканалом может работать только на одной полосе частот или канале в любой момент времени. Следовательно, когда RSSI (индикатор уровня принимаемого сигнала, receive signal strength indicator) линии связи становится плохим из-за перемещения линии связи, устройство с множественными линиями связи с одним радиоканалом может переключаться с одной линии связи на другую, например, с линии связи, развернутой в полосе частот 5 ГГц, на линию связи, развернутую в полосе частот 2,4 ГГц. Как показано на фиг. 3 предполагается, что MLD без AP является устройством с множественными линиями связи с одним радиоканалом, а линия связи 1 находится в включенном состоянии. Если кадр данных необходимо передать по линии связи 2, MLD без AP должен переключиться с линии связи 1 на линию связи 2. Соответственно, линия связи 1 переходит из «включено» в «отключено», линия связи 2 переходит из «отключено» в «включено», а линия связи 3 всегда находится в состоянии «отключено». Поскольку устройство с множественными линиями связи с одним радиоканалом выполняет переключение между различными полосами частот или каналами, необходимо сконфигурировать соответствующий рабочий параметр радиочастотного модуля. Следовательно, существует задержка переключения (switch delay), когда линия связи 2 переходит из «отключено» во «включено». Кроме того, когда линия связи 2 передает кадр данных, STA 2 дополнительно необходимо получить соответствующий параметр, в настоящее время сконфигурированный посредством AP 2 для BSS, соответствующего линии связи 2. Например, параметр, который сконфигурирован посредством AP 2 для BSS, соответствующего линии связи 2, и который получен STA 2 через кадр ответа ассоциации множественных линий связи, показанный на фиг. 2, может обновляться текущим параметром конфигурации BSS упомянутой AP 2, и обновляются один или несколько параметров, показанных в таблице 1. Таким образом, после перехода линии связи 2 «отключено» во «включено», MLD без AP дополнительно должен корректно принять маяковый (beacon) кадр по линии связи 2. Маяковый кадр несет параметр BSS, сконфигурированный в данный момент посредством AP 2 для линии связи 2, так что кадр данных может быть передан.
[00129] Для устройства с множественными линиями связи с несколькими радиоканалами, когда объем данных относительно невелик или отсутствует услуга, чувствительная к задержке, для снижения энергопотребления часть линий связи может находиться в спящем (doze) или отключенном (disable) состоянии. Когда объем данных относительно велик или есть услуга в реальном времени, линия связи в спящем (doze) или отключенном (disable) состоянии снова включается, так что линия связи находится в активном (awake) состоянии или включенном (enable) состоянии. Например, как показано на фиг. 4 предполагается, что MLD 102 без AP представляет собой устройство с множественными линиями связи с множественными радиоканалами, линия связи 1 находится в включенном состоянии, а линия связи 2 и линия связи 3 находятся в спящем состоянии. Если кадр данных необходимо передать по линии связи 2, MLD без AP должен перевести линию связи 2 из спящего состояния в активное состояние. Поскольку каждому радиочастотному модулю в устройстве с множественными линиями связи с множественными радиоканалами не требуется реконфигурировать соответствующий рабочий параметр и т.п., когда линия связи 2 переходит из спящего состояния в активное состояние, задержки переключения (switch delay) нет. Поскольку AP 2 может обновить параметр конфигурации BSS, когда STA 2 находится в спящем состоянии, после того, как STA 2 перейдет из спящего состояния в активное состояние, STA 2 необходимо корректно принять маяковый (beacon) кадр по линии связи 2. Маяковый кадр несет текущий параметр, сконфигурированный AP 2 для BSS, соответствующего линии связи 2, так что кадр данных может быть передан.
[00130] Можно понять, что, независимо от перехода статуса линии связи в устройстве с множественными линиями связи с множественными радиоканалами или переключения линии связи в устройстве с множественными линиями связи с одним радиоканалом, для передачи кадра данных необходимо дополнительно принять маяковый (beacon) кадр по линии связи, статус которой является переходным, или линии связи, на которую переключаются, и необходимо дополнительно получить текущую конфигурацию BSS второй линии связи. Это приводит к чрезмерно длительному времени ожидания, необходимому перед передачей кадра данных по линии связи, статус которой является переходным, или по линии связи, на которую осуществляется переключение. То есть быстрый переход между статусами линий связи или быстрое переключение между линиями связи не может быть реализован.
[00131] Чтобы решить эту задачу, эта заявка предоставляет способ обработки линии связи. В способе обработки линии связи первое MLD принимает первую информацию второй линии связи по первой линии связи. Первая информация используется первым MLD для определения, обновлена ли конфигурация BSS второй линии связи. Таким образом, когда конфигурация BSS второй линии связи не обновлена, первое MLD может непосредственно передавать кадр данных по второй линии связи, чтобы реализовать быстрый переход между статусами второй линии связи или быстрое переключение с первой линии связи на вторую линию связи.
[00132] Эта заявка дополнительно предоставляет способ обработки линии связи. В способе обработки линии связи второе MLD определяет, обновляется ли конфигурация BSS второй линии связи, на которую переключаются, или второй линии связи, статус которой является переходным. Дополнительно, по первой линии связи на первое MLD отправляется обновленный параметр, или первое MLD уведомляется о том, что конфигурация BSS второй линии связи не обновлена. Таким образом, первое MLD может непосредственно передавать кадр данных по второй линии связи, на которую переключаются, или второй линии связи, статус которой является переходным, не дожидаясь приема маякового кадра. Это сокращает время ожидания, необходимое перед тем, как кадр данных будет передан по второй линии связи, на которую переключаются, или по второй линии связи, статус которой является переходным.
[00133] То есть один способ обработки линии связи заключается в том, что первое MLD определяет, обновлена ли конфигурация BSS второй линии связи. Другой способ обработки линии связи заключается в том, что второе MLD определяет, нужно ли обновлять конфигурацию BSS, относящуюся ко второй линии связи и хранящуюся в первом MLD. Вышеуказанные два способа обработки линии связи отдельно описаны ниже в части 6 и части 7. Если не указано иное, реализации, описанные в вариантах осуществления этой заявки, применимы к устройству с множественными линиями связи с одним радиоканалом, а также применимы к устройству с множественными линиями связи с множественными радиоканалами.
[00134] 5. Связанные понятия в этой заявке
[00135] Для облегчения понимания вариантов осуществления этой заявки сначала поясняются некоторые понятия или существительные.
[00136] Первая линия связи представляет собой линию связи в включенном (enable) состоянии во множестве линий связи между MLD без AP и MLD AP. Вторая линия связи представляет собой линию связи в отключенном (disable) состоянии или в спящем (doze) состоянии во множестве линий связи, и вторая линия связи представляет собой линию связи, на которую MLD без AP переключается с первой линии связи, или линию связи, статус линии связи которой должен быть переходным.
[00137] Для MLD без AP с одним радиоканалом первая линия связи является линией связи в состоянии включения во множестве линий связи. Вторая линия связи является линией связи, на которую переключаются, которая находится в отключенном состоянии во множестве линий связи. Для MLD без AP с множественными радиоканалами первая линия связи является линией связи в включенном состоянии, линией связи в активном состоянии или линией связи привязки (anchor) из множества линий связи. Вторая линия связи является линией связи в отключенном состоянии или спящем состоянии во множестве линий связи, и статус второй линии связи должен быть перейден из отключенного/спящего состояния в включенное/активное состояние.
[00138] Для MLD без AP с одним радиоканалом после переключения первой линии связи на вторую линию связи первая линия связи находится в отключенном состоянии, а вторая линия связи находится в включенном состоянии. Для MLD без AP с несколькими радиоканалами после переключения первой линии связи на вторую линию связи вторая линия связи находится в включенном состоянии, но последующее состояние первой линии связи не ограничено. То есть первая линия связи может находиться в отключенном/спящем/включенном/активном состоянии в зависимости от ситуации. Необязательно, для MLD без AP с множественными радиоканалами может быть множество линий связи, статусы которых должны быть переходными. Способ обработки для каждой линии связи такой же, как и способ перехода статуса линии связи для второй линии связи. Необязательно, первая информация и вторая информация множества линий связи, статусы которых должны быть переходными, могут переноситься в одном сообщении или могут переноситься во множестве одинаковых или разных сообщений.
[00139] Первая информация второй линии связи используется первым MLD для определения, обновлена ли конфигурация набора базовых услуг BSS второй линии связи. Необязательно, первая информация представляет собой порядковый номер конфигурации BSS, порядковый номер конфигурации точки доступа (AP-CSN) или значение проверочного маяка (проверочного маяка), которое идентифицирует последнюю конфигурацию второго MLD и относится ко второй линии связи.
[00140] Вторая информация второй линии связи используется вторым MLD для определения, обновлена ли конфигурация набора базовых услуг BSS второй линии связи. Вторая информация представляет собой порядковый номер конфигурации BSS, порядковый номер конфигурации точки доступа (AP-CSN) или значение проверочного маяка (check beacon), которое хранится в первом MLD и которое идентифицирует вторую линию связи.
[00141] Необязательно, в способе обработки линии связи, описанном в части 6 ниже, вторая информация второй линии связи может конкретно использоваться вторым MLD для определения обновленного параметра конфигурации BSS второй линии связи. В способе обработки линии связи, описанном в части 2, вторая информация может конкретно использоваться вторым MLD для определения, обновлена ли конфигурация BSS второй линии связи, и обновленного параметра конфигурации BSS второй линии связи.
[00142] Обновленный параметр конфигурации BSS второй линии связи, описанный в этой спецификации, относится к параметру, который необходимо обновить в конфигурации BSS второй линии связи и который хранится в первом MLD по сравнению с текущей конфигурацией BSS второй линии связи во втором MLD. В качестве альтернативы, обновленный параметр конфигурации BSS второй линии связи заключается в том, обновляется ли параметр конфигурации BBS второй линии связи после того, как вторая линия связи находится в отключенном/спящем состоянии, по сравнению с параметром конфигурации BBS второй линии связи до того, как вторая линия связи перейдет в отключенное/спящее состояние. Следовательно, первая информация второй линии связи может использоваться для оказания помощи первой MLD в определении, обновлена ли конфигурация BSS набора базовых услуг второй линии связи. Например, первое MLD определяет на основании первой информации и второй информации, обновляется ли конфигурация набора базовых услуг BSS второй линии связи. Вторая информация второй линии связи может использоваться для помощи второму MLD в определении, обновлена ли конфигурация набора базовых услуг BSS второй линии связи. Например, второе MLD определяет на основе первой информации и второй информации, обновляется ли конфигурация набора базовых услуг BSS второй линии связи.
[00143] В способе, описанном в части 7 ниже, третья информация определяется вторым MLD на основе второй информации второй линии связи и отправляется по первой линии связи. Третья информация указывает, что конфигурация BSS второй линии связи не обновлена, или указывает обновленный параметр конфигурации BSS второй линии связи. Когда конфигурация BSS второй линии связи не обновлена, третья информация может указывать, что конфигурация BSS второй линии связи не обновлена. Когда конфигурация BSS второй линии связи обновлена, третья информация включает в себя обновленный параметр конфигурации BSS второй линии связи.
[00144] Конфигурация BSS указывает параметр, относящийся к BSS. Станцией на линии связи необходимо управлять на основе параметра конфигурации BSS. Обновленный параметр конфигурации BSS может включать, помимо прочего, один или несколько параметров, показанных в таблице 1. Конфигурация BSS второй линии связи в первом MLD получается, когда первое MLD выполняет зондирование канала или ассоциацию линий связи. Следовательно, конфигурация BSS второй линии связи в первом MLD также может называться начальной конфигурацией BSS второй линии связи в первом MLD или конфигурацией BSS второй линии связи, которая хранится в первом MLD. Соответственно, конфигурация BSS второй линии связи во втором MLD может упоминаться как текущая конфигурация BSS второй линии связи.
[00145] Способ обработки линии связи в вариантах осуществления этой заявки может применяться, но не ограничивается ими, к системам связи, показанным на фиг. 1А по фиг. 4. Для простоты описания используется пример, в котором первое MLD является MLD без AP, а второе MLD является MLD AP. Кроме того, для первой линии связи и второй линии связи, включенных во множество линий связи между MLD AP и MLD без AP, линия связи 1 и линия связи 2 могут использоваться по отдельности в качестве примера. Линия связи 2 - это линия связи, на которую переключаются с линии связи 1, или линия связи, статус которой является переходным. То есть линия связи 1 находится в включенном состоянии, линия связи 2 находится в спящем/ отключенном состоянии, и линию связи 2 необходимо перевести из спящего/отключенного состояния в активное/включенное состояние. Состояние линии связи 3 не обсуждается.
[00146] 6. Способ обработки линии связи
[00147] (1) Способ обработки линии связи, при котором конфигурация BSS линии связи 2 не обновляется.
[00148] Фиг. 5A представляет собой схематическое представление способа обработки линии связи согласно варианту осуществления этой заявки. Способ обработки линии связи может включать в себя следующие этапы.
[00149] Этап 101: MLD AP определяет первую информацию линии связи 2. Первая информация используется MLD без AP, чтобы определить, обновлена ли конфигурация BSS линии связи 2.
[00150] Этап 102: MLD AP отправляет первую информацию линии связи 2 по линии связи 1.
[00151] Этап 103: MLD без AP принимает первую информацию линии связи 2 по линии связи 1. Если конфигурация BSS линии связи 2 не обновлена, MLD без AP выполняет этап 104.
[00152] Этап 104: MLD без AP использует линию связи 2 для передачи кадра данных.
[00153] Этап 101 может быть необязательным. Необязательно, когда MLD без AP является устройством с множественными линиями связи на одной линии связи, существует задержка переключения перед передачей кадра данных с использованием линии связи 2; когда MLD без AP является устройством с множественными линиями связи на множестве линий связи, задержки переключения нет. Кроме того, на этапе 104, когда MLD без AP передает кадр данных с использованием линии связи 2, используемая конфигурация BSS является конфигурацией BSS линии связи 2 в MLD без AP.
[00154] Кадр данных может быть кадром данных восходящей линии связи, кадром нулевого качества обслуживания (QoS NULL) или кадром уведомления о статусе линии связи. Кадр уведомления о статусе линии связи указывает, что вторая линия связи находится в активном/включенном состоянии, так что второе MLD вовремя отправляет кадр данных нисходящей линии связи по второй линии связи. Необязательно, кадр данных восходящей линии связи или кадр качества нулевого обслуживания (QoS NULL) также может указывать на то, что вторая линия связи находится в активном/включенном состоянии.
[00155] Можно понять, что, как показано на фиг. 5A, поскольку конфигурация BSS линии связи 2 не обновляется, MLD без AP непосредственно передает кадр данных по линии связи 2, на которую переключаются, и ему не нужно передавать кадр данных до тех пор, пока маяковый кадр по линии связи 2 не будет принят после переключения или перехода статуса. Согласно способу обработки, показанному на фиг. 3 или фиг. 4, время ожидания, необходимое перед передачей кадра данных по линии связи 2, уменьшается.
[00156] Дополнительно, после этапа 103, MLD без AP может переключиться на линию связи 2 или перевести статус линии связи 2 в активное/включенное состояние на основе первой информации линии связи 2.
[00157] (2) Способ обработки линии связи, при котором конфигурация BSS линии связи 2 обновляется.
[00158] В реализации, на этапе 104, если конфигурация BSS линии связи 2 обновлена, как показано на фиг. 5B, разница между упомянутым способом обработки линии связи и способом обработки линии связи, показанным на фиг. 5A, заключается в том, что конфигурация BSS линии связи 2 обновляется, и могут быть выполнены следующие этапы.
[00159] Этап 105: MLD без AP отправляет вторую информацию на MLD AP по линии связи 2. Вторая информация представляет собой порядковый номер конфигурации BSS, порядковый номер конфигурации точки доступа (AP-CSN) или значение проверочного маяка (check beacon), которое идентифицирует линию связи 2 в MLD без AP.
[00160] Этап 106: MLD AP принимает вторую информацию и отправляет по линии связи 2 на основе второй информации обновленный параметр конфигурации BSS для линии связи 2.
[00161] Как показано на фиг. 5C, вторая информация на фиг. 5B может переноситься в кадре одноадресного пробного запроса (probe request) по линии связи 2. Третья информация может переноситься в кадре ответа проверки (probe response) по линии связи 2. Реализация может быть следующей: MLD без AP отправляет кадр одноадресного пробного запроса на MLD AP по линии связи 2. Кадр одноадресного пробного запроса включает в себя вторую информацию. MLD без AP принимает кадр ответа проверки от MLD AP по линии связи 2. Кадр ответа проверки представляет собой упрощенный кадр ответа проверки и включает в себя обновленный параметр конфигурации BSS линии связи 2. Обновленный параметр конфигурации BSS линии связи 2 определяется посредством MLD AP на основе второй информации.
[00162] Например, MLD AP определяет, какие параметры обновляются в текущей конфигурации BSS линии связи 2 (то есть конфигурация BSS линии связи 2, соответствующая первой информации) по сравнению с конфигурацией BSS линии связи 2, соответствующей второй информации, и может возвращать все обновленные параметры или обновленные ключевые параметры в кадре ответа проверки упомянутому MLD без AP.
[00163] Этап 107: MLD без AP принимает обновленный параметр конфигурации BSS линии связи 2.
[00164] Кроме того, способ обработки линии связи может дополнительно включать в себя: MLD без AP обновляет конфигурацию BSS линии связи 2 в MLD без AP, используя обновленный параметр конфигурации BSS линии связи 2, и передает кадр данных по линии связи 2 на основе обновленной конфигурации BSS линии связи 2. MLD без AP дополнительно соответствующим образом обновляет порядковый номер конфигурации BSS/AP-CSN/значения проверочного маяка, который идентифицирует линию связи 2.
[00165] Соответственно, когда конфигурация BSS линии связи 2 не обновляется, этап 104 может быть: MLD без AP передает кадр данных по линии связи 2, используя конфигурацию BSS линии связи 2 в MLD без AP.
[00166] Можно понять, что, как показано на фиг. 5B, если конфигурация BSS линии связи 2 обновлена, MLD без AP должно отправить вторую информацию и принять обновленный параметр конфигурации BSS линии связи 2, чтобы кадр данных мог быть передан по линии связи 2. В этой реализации первое MLD отправляет одноадресный пробный кадр только после того, как узнает, что конфигурация BSS второй линии связи обновлена, и ему не нужно отправлять одноадресный пробный кадр независимо от того, имеется ли обновление. Следовательно, в этой реализации время ожидания, необходимое перед передачей кадра данных в процессе обработки линии связи, сокращается.
[00167] В другой реализации, если конфигурация BSS линии связи 2 обновлена, MLD без AP может принять маяковый кадр по линии связи 2 и после корректного приема маякового кадра передать кадр данных на основе параметра, относящегося к конфигурации BSS и переносимого в маяковом кадре. Эта реализация объединена с фиг. 5A, чтобы избежать проблемы, заключающейся в том, что время ожидания является чрезмерно большим, поскольку кадр данных передается только после приема маякового кадра. Следовательно, эта реализация все еще может сократить время ожидания, необходимое перед передачей кадра данных по линии связи 2.
[00168] На этапе 103 то, как MLD без AP определяет, обновляется ли конфигурация BSS линии связи 2 на основе первой информации, может быть следующим: MLD без AP определяет, согласуется ли первая информация со второй информацией. Если первая информация согласуется со второй информацией, это указывает, что конфигурация BSS линии связи 2 не обновлена. Если первая информация не согласуется со второй информацией, это указывает на то, что конфигурация BSS линии связи 2 обновлена. Первая информация представляет собой порядковый номер конфигурации BSS, AP-CSN или значение проверочного маяка, которое находится в MLD AP и которое идентифицирует вторую линию связи. Вторая информация представляет собой порядковый номер конфигурации BSS, AP-CSN или значение проверочного маяка, которое находится в MLD без AP и которое идентифицирует вторую линию связи.
[00169] Например, первой информацией является AP-CSN 1, а второй информацией является AP-CSN 2. Если AP-CSN 1 равен AP-CSN 2, конфигурация BSS линии связи 2, соответствующей AP-CSN 1, не обновляется по сравнению с конфигурацией BSS линии связи 2, соответствующей AP-CSN 2. То есть конфигурация BSS линии связи 2 не обновляется. Если AP-CSN 1 не равен или больше AP-CSN 2, конфигурация BSS линии связи 2, соответствующей AP-CSN 1, обновляется по сравнению с конфигурацией BSS линии связи 2, соответствующей AP-CSN. 2. То есть конфигурация BSS линии связи 2 обновляется. Кроме того, обновленный параметр, который обновляется в конфигурации BSS линии связи 2, может быть получен с помощью предыдущих этапов 105-107.
[00170] В этом варианте осуществления этой заявки вторая информация линии связи 2 в MLD без AP может быть получена и сохранена посредством MLD без AP из маякового (beacon) кадра или кадра ответа проверки линии связи 1, или может быть полученным и сохраненным посредством MLD без AP из кадра ответа ассоциации множественных линий связи по линии связи 1. Следовательно, прежде чем MLD без AP переключит линию связи на линию связи 2 или переведет статус линии связи 2, MLD без AP может сравнить вторую информацию с первой информацией, чтобы определить, обновлена ли конфигурация BSS линии связи 2.
[00171] Помимо переноса второй информации линии связи 2, маяковый (beacon) кадр, кадр ответа проверки или кадр ответа ассоциации множественных линий связи упомянутой линии связи 1 могут дополнительно нести другую информацию по линии связи 2 и соответствующую информацию другой линии связи. Описания отдельно приведены ниже.
[00172] Например, как показано на фиг. 6, вторая информация представляет собой AP-CSN. Маяковый кадр линии связи 1 может нести один или несколько типов информации, включая, помимо прочего, следующее: состояние включения/выключения каждой линии связи, AP-CSN каждой линии связи, использование канала (channel utilization) линии связи в включенном состоянии, количество станций линии связи в включенном состоянии, идентификатор линии связи (link ID), операционный класс (operating class), номер канала (channel number) и идентификатор набора базовых услуг (BSSID). Состояние включения/выключения каждой линии связи указывает, включена ли точка доступа каждой линии связи в MLD AP. AP-CSN каждой линии связи используется для оказания помощи MLD без AP в выполнении переключения линии связи или перехода статуса линии связи в описанной выше обработке линии связи. Использование канала линии связи в включенном состоянии используется для выбора линии связи, когда MLD без AP рекомендует переключение линии связи или требует переключения линии связи, или используется для выбора рекомендуемой или требуемой линии связи, когда MLD без AP рекомендует переход статуса линии связи или требует переход статуса линии связи. Количество станций линии связи в включенном состоянии используется для помощи MLD без AP в оценке степени перегрузки AP на основе количества станций, подключенных к AP линии связи.
[00173] Кадр ответа проверки может быть кадром многоканального ответа проверки множественных линий связи (multi-link probe response). Метод указания информации о каждой линии связи, переносимой в кадре ответа проверки множественных линий связи, подобен методу указания информации о каждой линии связи, переносимой в кадре ответа ассоциации множественных линий связи. Например, элемент, в котором информация о непереданной линии связи отличается от информации о переданной линии связи, переносится в элементе индекса линии связи (link-index element) каждой непереданной линии связи. Например, как показано на фиг. 7, линия связи 1 является передаваемой линией связи. Следовательно, элемент индекса линии связи (link-index element) непередаваемой линии связи не включает в себя информацию линии связи 1. Соответственно, в дополнение к переносу состояния включения/отключения линии связи, AP-CSN линии связи, использования канала (channel utilization) линии связи в включенном состоянии, количества станций линии связи в включенном состоянии, идентификатора линии связи (link ID), операционного класса (operating class), номера канала (channel number) и идентификатора набора базовых услуг (BSSID), элемент индекса канала, показанный на фиг. 7, может дополнительно нести метку времени (timestamp), интервал маяка (beacon Interval) и указание информации о возможностях (capability information).
[00174] Необязательно, кадр пробного запроса множественных линий связи (multi-link probe request) или кадр запроса ассоциации множественных линий связи может содержать количество радиочастот устройства и статус линии связи. Количество радиочастот устройства указывает, использует ли совместно линия связи радиочастоту с другой линией связи. Например, линия связи использует 1 бит, чтобы указать, использует ли совместно линия связи одну радиочастоту с предыдущей линией связи. Предыдущая линия связи относится к тому, что когда указано множество фрагментов информации линии связи, статус предыдущей линии связи может быть отключенным или включенным. Если статус линии связи включенный, может быть дополнительно указано, находится ли линия связи в активном состоянии или в спящем состоянии.
[00175] Необязательно, соответствие между последовательностью компоновки информации о каждой линии связи в кадре запроса ассоциации множественных линий связи и последовательностью компоновки информации о каждой линии связи в кадре ответа ассоциации множественных линий связи может использоваться для определения статуса ассоциации между каждой STA в MLD без AP и каждой AP в MLD AP. Таким образом, MLD AP может корректировать размещение компоновки или порядок информации о каждой линии связи в кадре ответа множественных линий связи, чтобы изменить статус ассоциации между каждой STA и каждой AP.
[00176] Есть возможность объединения (агрегации) множественных линий связи: только BSS, принадлежащие одному и тому же идентификатору набора услуг (service set identifier, SSID), разрешено объединять. То есть пакет данных одного идентификатора трафика (traffic identifier, TID) разрешается передавать по множеству линий связи. То есть TID может быть поставлен в соответствие множеству линий связи. Следовательно, в запросе ассоциации множественных линий связи, показанном на фиг. 7, информация профиля непередаваемой линии связи (Non-transmitted link profile info) не должна нести элемент SSID.
[00177] На этапе 102 первая информация второй линии связи может быть перенесена в сообщении ответа переключения линии связи (link switch response), сообщении информационного отчета перекрестной линии связи (cross-link info report), кадре управления доступом к среде (MAC control), или сообщении ответа на согласование соответствия идентификатора трафика с линией связи (TID-to-link mapping negotiation response) первой линии связи. Необязательно, после этапа 103, MLD без AP может переключиться с линии связи 1 на линию связи 2 или перейти из состояния линии связи 2 в активное/включенное состояние на основании сообщения ответа переключения линии связи, сообщения информационного отчета перекрестной линии связи, или сообщения ответа на согласование соответствия TID с линией связи.
[00178] Дополнительно, после приема сообщения информационного отчета перекрестной линии связи, MLD без AP может вернуть сообщение подтверждения (ACK) на MLD AP по линии связи 1. Необязательно, когда информация перекрестной линии связи (cross-link info) переносится в поле A-control (control) в кадре управления MAC, после приема кадра управления MAC, MLD без AP может не нуждаться в возврате сообщения подтверждения (ACK).
[00179] Сообщение ответа переключения линии связи возвращается MLD AP в ответ на сообщение запроса переключения линии связи (link switch request) от MLD без AP. Сообщение ответа на согласование соответствия TID с линией связи возвращается MLD AP в ответ на сообщение запроса согласования соответствия TID с линией связи (запрос согласования соответствия TID с линией связи), отправленное MLD без AP. Необязательно, сообщение информационного отчета перекрестных линий связи (cross-link info report) может быть возвращено MLD AP в ответ на сообщение запроса информации перекрестных линий связи (cross-link info request), отправленное MLD без AP. Таким образом, когда качество линии связи 1 ухудшается или необходимо узнать информацию перекрестной лини связи, чтобы помочь в переключении лини связи, STA в MLD без AP или MLD без AP инициирует запрос на переключение линии связи или запрос информации перекрестной линии связи. То есть перед этапом 101 MLD без AP может сначала отправить сообщение запроса, чтобы запросить переключение линии связи или переход статуса линии связи, чтобы выполнить этапы 102-107. Можно понять, что эти сообщения запроса и сообщения ответа помогают MLD без AP инициировать запрос на переключение линии связи или переход статуса линии связи во множестве сценариев и передавать кадр данных по линии связи, на которую переключаются, или линии связи, состояние которой является переходным.
[00180] 3. Способ переключения линии связи, инициированный MLD без AP и полученный ответ MLD AP
[00181] В способе переключения линии связи MLD без AP может инициировать запрос, используя сообщение запроса переключения линии связи, сообщение запроса информации перекрестной линии связи или сообщение запроса согласования соответствия TID с линией связи. MLD AP может отвечать или отвечать, используя соответствующее сообщение ответа переключения линии связи, сообщение информационного отчета перекрестной линии связи или сообщение ответа согласования соответствия TID с линией связи. Различные режимы запроса для переключения линии связи определяют информацию, переносимую в этих сообщениях запроса. Соответственно, различные режимы ответа также определяют информацию, переносимую в этих сообщениях ответа. Однако со ссылкой на вышеизложенные реализации эти сообщения ответа несут, по меньшей мере, первую информацию о линии связи, на которую переключаются. Следующие необязательные режимы запросов и режимы ответов значительно улучшают гибкость операции переключения линии связи и облегчают использование соответствующего режима запроса и режима ответа на основе требований конкретного сценария.
[00182] Сообщение ответа переключения линии связи и сообщение информационного отчета перекрестной линии связи несут информацию, указывающую, принимает ли MLD AP запрос на переключение линии связи, инициированный MLD без AP. Сообщение ответа на согласование соответствия TID с линией связи указывает, принимает ли MLD AP запрос конфигурации соответствия между идентификатором трафика и линией связи, инициированный MLD без AP. Запрос конфигурации соответствия между идентификатором трафика и линией связи может фактически быть запросом на переключение линии связи. Следовательно, сообщение ответа о согласовании соответствия TID с линией связи указывает, принимает ли MLD AP запрос на переключение линии связи, инициированный MLD без AP.
[00183] Как показано в Таблице 2, режим запроса MLD без AP может включать в себя, помимо прочего, одно или несколько из следующего: (1a) Запросить переключение лини связи и не предоставить целевую линию связи, на которую переключаются; (2a) порекомендовать переключить линию связи и предоставить одну или несколько целевых линий связи, на которые переключаются; и (3a) требовать переключения линии связи, предоставлять целевую линию связи, на которую переключаются, и не принимать никаких модификаций в целевой линии связи, на которую переключаются. Соответственно, режим ответа MLD AP может включать в себя, помимо прочего, одно или несколько из следующего: (1b) принять переключение линии связи и указать целевую линию связи, на которую переключаются; (2b) изменить рекомендуемую или требуемую целевую линию связи, на которую переключаются, то есть не принимать запрошенную или рекомендованную целевую линию связи, на которую переключаются, посредством MLD без AP и дополнительно предоставить одну или несколько рекомендуемых целевых линий связи; (3b) не принимать никаких запрошенных целевых линий связи, на которые переключаются, посредством MLD без AP, указывать только целевую линию связи, на которую переключаются, и указывать, что MLD без AP может переключаться только на целевую линию связи; и (4b) отклонить переключение линии связи, и, необязательно, может быть дополнительно указана причина отклонения. Целевая линия связи, описанная в этой части, является линией связи, на которую переключаются, то есть второй линией связи в предыдущих вариантах осуществления, например линией связи 2.
[00184] Как показано в таблице 2, для режима (1a) запроса необязательные режимы ответа включают в себя режим (1b) ответа и режим (4b) ответа. Для режима (2a) запроса необязательные режимы ответа включают в себя режим (1b) ответа, режим (2b) ответа, режим (3b) ответа и режим (4b) ответа. Для режима (3а) запроса необязательные режимы ответа включают в себя режим (1b) ответа и режим (4b) ответа. Для различных режимов запроса ниже описывается информация, которая может переноситься в сообщении запроса на переключение линии связи, сообщении запроса информации перекрестной линии связи и сообщении запроса согласования соответствия TID с линией связи, соответствующие режимы ответа и информация, которая может переноситься в сообщении ответа переключения линии связи, сообщении информационного отчета перекрестной лини связи и сообщении ответа о согласовании соответствия TID с линией связи. То есть сообщение ответа переключения линии связи, сообщение информационного отчета перекрестной линии связи и сообщение ответа о согласовании соответствия TID с линией связи не только несут первую информацию о линии связи 2, но также могут нести другую информацию о линии связи 2 или информацию о другой линии связи.
[00185] Для режима (1a) запроса сообщение запроса переключения линии связи, сообщение запроса информации о перекрестной линии связи или сообщение запроса на согласование соответствия TID с линией связи могут нести указание причины для переключения линии связи (код причины для переключения линии связи), используемое для уведомления MLD AP о причине переключения линии связи. Например, причиной переключения линии связи может быть плохой показатель уровня принятого сигнала (Received signal strength indicator, RSSI), задержка большая, сделан запрос на изменение соответствия идентификатора трафика с линией связи (TID-to-link mapping), или включена служба в реальном времени, или тому подобное.
[00186] Соответственно, для режима (1b) ответа режима (1a) запроса сообщение ответа переключения линии связи, сообщение информационного отчета перекрестной линии связи или сообщение ответа согласования соответствия TID в линией связи, возвращаемое MLD AP, может включать в себя, помимо прочего, один или несколько типов следующей информации: указание статуса (status code), идентификатор линии связи для целевой линии связи, на которую переключаются, и первая информация. Указание статуса (код статуса) указывает, принимает ли MLD AP запрос на переключение линии связи от MLD без AP. Например, если MLD AP принимает запрос на линии связи от MLD без AP, сообщение ответа переключения линии связи, сообщение информационного отчета перекрестной линии связи или сообщение ответа о согласовании соответствия TID с линией связи может дополнительно нести идентификатор линии связи целевой линии связи, на которую переключаются, первую информацию (такую как AP-CSN).
[00187] Для режима (4b) ответа режима (1a) запроса сообщение ответа переключения линии связи, сообщение информационного отчета перекрестной линии связи или сообщение ответа согласования соответствия TID с линией связи, возвращаемое MLD AP, может включать в себя, но не ограничивается одним или несколькими типами следующей информации: указание статуса (код статуса) отклонения запроса переключения линии связи и причина отклонения.
[00188] Для режима (2a) запроса сообщение запроса переключения линии связи, сообщение запроса информации о перекрестной линии связи или сообщение запроса на согласование соответствия TID с линией связи могут содержать информацию, включающую в себя, помимо прочего, следующую информацию: причина переключения линии связи и идентификатор линии связи для целевой линии связи, на которую переключаются.
[00189] Соответственно, для режима (1b) ответа режима (2a) запроса сообщение ответа переключения линии связи, сообщение информационного отчета перекрестной линии связи или сообщение ответа о согласовании составления TID с линией связи, возвращаемое MLD AP, может включать в себя, но не ограничивается одним или несколькими типами следующей информации: указание статуса (код статуса) и первая информация запрошенной целевой линии связи.
[00190] Для режима (2b) ответа режима (2a) запроса сообщение ответа переключения линии связи, сообщение информационного отчета перекрестной линии связи или сообщение ответа согласования соответствия TID с линией связи. MLD AP может включать, помимо прочего, одну или несколько частей следующей информации: дополнительно предоставленные идентификаторы линий связи одной или нескольких целевых линий связи, на которые можно переключиться, и связанную информацию об этих целевых линиях связи. Связанная информация о целевой линии связи включает в себя первую информацию, режим переключения линии связи (Link Switch mode), счетчик переключений линии связи или смещение целевого времени переключения, идентификатор линии связи, использование канала и количество STA. В этом режиме ответа MLD без AP дополнительно необходимо выполнить операции на этапах 104-107 в предыдущем варианте осуществления на основе первой информации, чтобы MLD AP мог узнать о целевой линии связи, на которую переключаются, окончательно выбранной MLD без AP через линию связи, используемую MLD без AP для передачи кадра данных. То есть в этой реализации MLD без AP решает переключиться на линию связи, рекомендованную AP-MLD. Следовательно, сообщение ответа переключения линии связи, сообщение информационного отчета перекрестной линии связи или сообщение ответа о согласовании соответствия TID с линией связи должны включать в себя информацию обо всех рекомендуемых линиях связи, чтобы помочь MLD без AP в принятии решения.
[00191] Режим переключения линии связи указывает на ограничение передачи перед переключением линии связи. Когда режим переключения линии связи установлен на 1, это означает, что станция должна остановить передачу перед переключением линии связи. Когда режим переключения линии связи установлен на 0, передача станции не ограничивается. Счетчик переключений линии связи указывает количество маяковых кадров, отправленных перед переключением на новую линию связи. Когда счетчик переключений линии связи установлен равным 1, это указывает, что переключение линии связи происходит непосредственно перед моментом отправки следующего маякового кадра. Когда счетчик переключений линии связи установлен на 0, это означает, что переключение линии связи происходит в любой момент после отправки кадра, включающего информацию. В качестве альтернативы счетчик переключений линии связи указывает смещение (offset) целевого времени переключения. Необязательно, для смещения целевого времени переключения необходимо учитывать время отправки следующего маякового кадра по линии связи, на которую переключаются. Таким образом, для вышеприведенной реализации, в которой должен быть принят маяковый кадр по линии связи, на которую переключаются, это помогает избежать слишком длительного ожидания MLD без AP. Использование канала и количество STA используются MLD без AP, чтобы узнать количество STA, подключенных к целевой линии связи и условиям канала.
[00192] Для режима (3b) ответа режима (2a) запроса сообщение ответа переключения линии связи, сообщение информационного отчета перекрестной линии связи или сообщение ответа согласования соответствия TID с линией связи, возвращаемое MLD AP, может включать, но не ограничивается следующей информацией: идентификатором линии связи и связанной информацией только о линии связи, на которую переключаются. Связанная информация о целевой линии связи может включать в себя, помимо прочего, одну или несколько частей следующей информации: первая информация, режим переключения линии связи (Link Switch mode), счетчик переключений линии связи или смещение времени целевого переключения, идентификатор линии связи, использование канала и количество STA.
[00193] Для режима (4b) ответа режима (2a) запроса сообщение ответа переключения линии связи, сообщение информационного отчета перекрестной линии связи или сообщение ответа согласования соответствия TID с линией связи, возвращаемое MLD AP, может включать, но не ограничивается одним или несколькими типами следующей информации: указание статуса (код статуса) отклонения запроса переключения линии связи и причина отклонения.
[00194] Для режима (3a) запроса сообщение запроса переключения линии связи, сообщение запроса информации о перекрестной линии связи или сообщение запроса на согласование соответствия TID с линией связи могут содержать указание причины для переключения линии связи (код причины для переключения линии связи), и идентификатор целевой линии связи, на которую необходимо переключиться.
[00195] Соответственно, для режима (1b) ответа режима (3a) запроса сообщение ответа переключения линии связи, сообщение информационного отчета перекрестной линии связи или сообщение ответа согласования соответствия TID с линией связи, возвращаемое MLD AP, может включать в себя, помимо прочего, один или несколько типов следующей информации: указание статуса (код статуса) принятия запроса переключения линии связи, идентификатор линии связи целевой линии связи, первая информация целевой линии связи, режим переключения линии связи, счетчик переключений линии связи или смещение целевого времени переключения, использование канала и количество STA.
[00196] Для режима (4b) ответа режима (3a) запроса сообщение ответа переключения линии связи, сообщение информационного отчета перекрестной линии связи или сообщение ответа о согласовании соответствия TID с линией связи, возвращаемое MLD AP, может включать в себя, но не ограничивается одним или несколькими типами следующей информации: указание статуса (код статуса) отклонения запроса переключения линии связи и причина отклонения.
[00197] 4. Способ перехода статуса линии связи, инициированный MLD без AP и полученный ответ MLD AP
[00198] В способе перехода статуса линии связи, MLD без AP может инициировать запрос, используя сообщение запроса переключения линии связи, сообщение запроса информации перекрестной линии связи или сообщение запроса согласования соответствия TID с линией связи. MLD AP может отвечать или отвечать, используя соответствующее сообщение ответа переключения линии связи, сообщение информационного отчета перекрестной линии связи или сообщение ответа о согласовании соответствия TID с линией связи. Эта реализация аналогична способу переключения линии связи, который инициируется MLD без AP и отвечает MLD AP в пункте 3. Единственное отличие состоит в том, что в пункте 3 целевая линия связи является линией связи, на которую переключаются, а в этой реализации целевая линия связи - это линия связи, статус которой является переходным. Следовательно, для связанного содержимого в этой реализации «переключение» в приведенной выше таблице 2 и связанное содержимое может быть изменено на «переход статуса», как показано в таблице 3. Информацию, которая может содержаться в каждом сообщении запроса и каждом сообщении ответа и которая описана на основе таблицы 3, см. в соответствующем содержании в таблице 2. Подробности здесь повторно не приводятся.
[00199] Сообщение ответа переключения линии связи и сообщение информационного отчета перекрестной линии связи несут информацию, указывающую, принимает ли MLD AP запрос перехода статуса, инициированный MLD без AP. Сообщение ответа согласования соответствия TID с линией связи указывает, принимает ли MLD AP запрос конфигурации соответствия между идентификатором трафика и линией связи, инициированный MLD без AP. Необязательно, запрос конфигурации соответствия между идентификатором трафика и линией связи может фактически быть запросом переключения линии связи. Следовательно, сообщение ответа согласования соответствия TID с линией связи указывает, принимает ли MLD AP запрос перехода статуса линии связи, инициированный MLD без AP.
[00200] 5. Способ перехода статуса линии связи, инициированный MLD AP и полученный ответ MLD без AP
[00201] В этой реализации, поскольку запрос инициируется MLD AP, сообщение запроса, отправленное MLD AP, должно нести первую информацию о линии связи, статус которой является переходным. Соответственно, MLD без AP может вернуть сообщение ответа. Сообщение ответа указывает, принимает ли MLD без AP запрос. Если MLD без AP не принимает запрос, сообщение ответа может содержать параметр причины отклонения. Если MLD без AP принимает запрос, сообщение ответа может нести идентификатор линии связи принятой целевой линии связи или может не нести идентификатор линии связи принятой целевой линии связи и указывать, что запрос перехода статуса линии связи принят.
[00202] Далее описываются возможные режимы запроса, режимы ответа и информация, которая может переноситься на примере, в котором MLD AP инициирует запрос, используя сообщение запроса согласования соответствия TID с линией связи, а MLD без AP, отвечает сообщением ответа согласования соответствия TIDc линией связи. Сообщение ответа согласования соответствия TID с линией связи указывает, принимает ли MLD без AP запрос конфигурации соответствия между идентификатором трафика и линией связи, инициированный MLD AP. Необязательно, запрос конфигурации соответствия между идентификатором трафика и линией связи может фактически быть запросом перехода статуса линии связи. Следовательно, сообщение ответа согласования соответствия TID с линией связи указывает, принимает ли MLD без AP запрос перехода статуса линии связи, инициированный MLD AP.
[00203] Как показано в Таблице 4, режим запроса MLD AP может включать в себя, помимо прочего, одно или несколько из следующего: (1a) Рекомендовать переход статуса и рекомендовать одну или несколько целевых линий связи, статусы которых являются переходными; и (2a) требовать переход статуса, требовать одной или нескольких целевых линий связи, статусы которых являются переходными, и не принимать никаких модификаций в целевой линии связи. Соответственно, режим ответа MLD без AP может включать в себя, помимо прочего, одно или несколько из следующих действий: (1b) Принять переход статуса всех рекомендуемых или требуемых целевых линий связи, чьи статусы являются переходными; (2b) принять переход статуса одной или нескольких рекомендуемых целевых линий связи, чьи статусы являются переходными; и (3b) отклонение перехода статуса, и, необязательно, может быть дополнительно указана причина отклонения. Целевая линия связи, описанная в этой части, представляет собой линию связи, состояние которой должно перейти из отключенного или спящего состояния в включенное или активное состояние, то есть вторая линия связи в предыдущих вариантах осуществления, например линия связи 2.
[00204] Для режима запроса (1а) необязательные режимы ответа включают режим ответа (1b), режим ответа (2b), режим ответа (3b). Для режима запроса (2а) необязательные режимы ответа включают режим ответа (1b) и режим ответа (3b). Для различных режимов запроса ниже описывается информация, которая может передаваться в кадре запроса согласования соответствия TID с линией связи, часть соответствующих режимов ответа и информация, которая может передаваться в кадре ответа согласования соответствия TID с линией связи.
[00205] Для режима (1a) запроса кадр запроса согласования соответствия TID с линией связи может нести указание причины перехода статуса линии связи (код причины для переключения статуса линии связи) и связанную информацию об одной или нескольких целевых линиях связи, статусы которых являются переходными. В дополнение к первой информации (например, текущему AP-CSN целевой линии связи) связанная информация целевого линии связи может дополнительно включать в себя идентификатор линии связи, информацию о векторе распределения сети (network allocation vector, NAV), использовании линии связи, количество STA и политику линий связи.
[00206] Для режима (1b) ответа, соответствующего режиму (1a) запроса, кадр ответа согласования отображения TID с линией связи несет указание статуса. Указание статуса указывает, что MLD без AP принимает переход статуса линии связи и переход статуса рекомендованных или требуемых целевых линий связи.
[00207] Для режима (2b) ответа, соответствующего режиму (1a) запроса, кадр ответа согласования отображения TID на линию связи несет в себе указание статуса и идентификаторы линии связи одной или нескольких целевых линий связи. Указание статуса указывает, что MLD без AP принимает переход статуса линии связи, запрошенный MLD AP. Идентификаторы линий связи одной или нескольких целевых линий связи выбираются MLD без AP из целевых линий связи, рекомендованных MLD AP.
[00208] Для режима (3b) ответа, соответствующего режиму (1a) запроса, кадр ответа согласования отображения TID на линию связи несет указание статуса. Указание статуса указывает, что MLD без AP не принимает запрошенный переход статуса. Кроме того, кадр ответа согласования отображения TID на линию связи может дополнительно содержать причину отклонения.
[00209] 6. Способ переключения линии связи, инициированный MLD AP и полученный ответ MLD без AP
[00210] В этой реализации, поскольку запрос инициируется MLD AP, сообщение запроса, отправленное MLD AP, должно нести первую информацию о линии связи, на которую переключаются. Соответственно, MLD без AP может вернуть сообщение ответа. Сообщение ответа указывает, принимает ли MLD без AP запрос. Если MLD без AP не принимает запрос, сообщение ответа может нести параметр причины отклонения. Если MLD без AP принимает запрос, сообщение ответа может нести идентификатор принятой целевой линии связи или может не нести идентификатор принятой целевой линии связи и указывать, что запрос перехода статуса линии связи принят.
[00211] Например, MLD AP инициирует запрос, используя сообщение запроса согласования соответствия TID с линией связи, а MLD без AP отвечает сообщением ответа согласования соответствия TID с линией связи. Сообщение ответа согласования соответствия TID с линией связи указывает, принимает ли MLD без AP запрос конфигурации соответствия между идентификатором трафика и линией связи, инициированный MLD AP. Необязательно, запрос конфигурации соответствия между идентификатором трафика и линией связи может фактически быть запросом на переключение линии связи. Следовательно, сообщение ответа согласования соответствия TID с линией связи указывает, принимает ли MLD без AP запрос на переключение линии связи, инициированный MLD AP.
[00212] Эта реализация способа переключения линии связи аналогична реализации способа перехода статуса линии связи, который инициируется MLD AP и отвечает MLD без AP в пункте 5. Единственное отличие состоит в том, что в пункте 5 целевая линия связи является линией связи, статус которой является переходным, а в этой реализации целевая линия связи является линией связи, на которую переключаются. Следовательно, для связанного содержимого в этой реализации «переход статуса» в приведенной выше таблице 4 и связанное содержимое может быть изменено на «переключение», как показано в таблице 5. Информацию, которая может содержаться в каждом сообщении запроса и каждом сообщении ответа и которая описана на основе таблицы 5, см. в соответствующем содержании в таблице 4. Подробности здесь повторно не приводятся.
[00213] Для вышеупомянутых режимов запроса и режимов ответа, как описано в третьем варианте осуществления, сообщение запроса переключения линии связи, сообщение запроса информации перекрестной линии связи, сообщение запроса согласования соответствия TID с линией связи, сообщение ответа переключения линии связи, сообщение информационного отчета перекрестной линии связи и сообщение ответа согласования соответствия TID с линией связи могут нести вновь определенный элемент переключения линии связи (link switch element).
[00214] Как показано на фиг. 8, элемент переключения линии связи может включать в себя поле запроса переключения линии связи (link switch request) и поле типа переключения линии связи (link switch type). В каждом поле или кадре в этой заявке идентификатор поля (элемент ID) указывает поле, а длина (Length) указывает длину поля. Поле запроса переключения линии связи указывает, является ли STA, которая передает линию связи элемента переключения линии связи, STA запроса переключения линии связи или STA ответа переключения линии связи. Поле типа переключения линии связи указывает один из вышеупомянутых режимов запроса и режимов ответа. Например, когда поле типа переключения линии связи имеет значение от 0 до 2, это указывает, что сообщение, которое несет элемент переключения линии связи, является сообщением запроса переключения линии связи в режиме (1а) запроса в режим (3а) запроса. Когда поле типа переключения линии связи имеет значения от 3 до 6, это указывает, что сообщение, которое несет элемент переключения линии связи, является сообщением ответа переключения линии связи в вышеупомянутом режиме (1b) ответа на режим (4b) ответа. Кроме того, MLD без AP и MLD AP могут определить на основе элемента переключения линии связи информацию, которую необходимо переносить в запросе, и информацию, которую необходимо переносить в ответе.
[00215] Для вышеупомянутых режимов запросов и режимов ответов, как описано в пятом варианте осуществления, сообщение запроса согласования соответствия TID с линией связи и сообщение ответа согласования отображения TID с линией связи могут нести новый определенный элемент перехода статуса линии связи (link status transition element). Структура элемента перехода статуса линии связи аналогична структуре, показанной на фиг. 8, и может включать в себя поле запроса перехода статуса линии связи (link status transition request) и поле типа перехода статуса линии связи (link status transition type). Поле запроса перехода статуса линии связи указывает, является ли STA, которая передает линию связи элемента перехода статуса линии связи, STA запроса перехода статуса линии связи или STA ответа перехода статуса линии связи. Поле типа перехода статуса линии связи указывает один из вышеупомянутых режимов запроса и режимов ответа. Например, когда поле типа перехода статуса линии связи имеет значение от 0 до 1, это указывает, что сообщение, которое несет элемент перехода статуса линии связи, является одним из вышеупомянутых режимов (1a) запроса в режим (2a) запроса. Когда поле типа перехода статуса линии связи имеет значение от 2 до 4, это указывает, что сообщение, которое несет элемент перехода статуса линии связи, является одним из режимов (1b) ответа на режим (3b) ответа. Кроме того, MLD без AP и MLD AP могут определять на основе элемента перехода статуса линии связи информацию, которую необходимо переносить в запросе, и информацию, которую необходимо переносить в ответе.
[00216] 7. Другой способ обработки линии связи
[00217] Разница между упомянутым способом и способом обработки линии связи, описанным в части 6, заключается в том, что в этом аспекте второе MLD определяет, обновляется ли конфигурация BSS второй линии связи, на которую переключаются, или второй линии связи, статус которой является переходным. Кроме того, по первой линии связи на первое MLD отправляется обновленный параметр, или первое MLD уведомляется о том, что конфигурация BSS второй линии связи не обновлена. Таким образом, первое MLD может непосредственно передавать кадр данных по второй линии связи, на которую переключаются, или второй линии связи, статус которой является переходным, и ему не нужно передавать кадр данных до тех пор, пока не будет дополнительно получен маяковый кадр и последний параметр конфигурация BSS получен по второй линии связи, на которую переключаются, или по второй линии связи, статус которой является переходным. Следовательно, способ сокращает время ожидания, необходимое перед тем, как кадр данных будет передан по второй линии связи, на которую переключаются, или по второй линии связи, статус которой является переходным.
[00218] Для простоты описания используется пример, в котором первое MLD является MLD без AP, а второе MLD является MLD AP. Кроме того, для первой линии связи и второй линии связи, включенных во множество линий связи между MLD AP и MLD без AP, линия связи 1 и линия связи 2 могут использоваться по отдельности в качестве примера. Линия связи 2 - это линия связи, на которую переключена линия связи 1, или линия связи, статус которой является переходным. То есть линия связи 1 находится в включенном состоянии, линия связи 2 находится в спящем/отключенном состоянии, и линию связи 2 необходимо перевести из состояния спящего/отключенного в активное/включенное состояние. Состояние линии связи 3 не обсуждается.
[00219] Со ссылкой на фиг. 9, способ обработки линии связи может включать в себя следующие этапы.
[00220] Этап 201: MLD без AP отправляет вторую информацию линии связи 2 по линии связи 1. Вторая информация используется MLD AP для определения того, обновляется ли конфигурация BSS линии связи 2.
[00221] Этап 202: MLD AP принимает вторую информацию линии связи 2 по линии связи 1.
[00222] Этап 203: MLD AP отправляет третью информацию по линии связи 1. Третья информация определяется MLD AP на основе второй информации. Третья информация указывает, что конфигурация BSS линии связи 2 не обновлена, или обновленный параметр конфигурации BSS линии связи 2.
[00223] Этап 204: MLD без AP принимает третью информацию по линии связи 1 и передает кадр данных по линии связи 2 на основе третьей информации.
[00224] Можно узнать, что MLD без AP может непосредственно передать кадр данных перед приемом маякового кадра по лини связи 2, на которую переключаются, или линии связи 2, состояние которой является переходным. Это сокращает время ожидания, необходимое перед тем, как линия связи 2 передаст кадр данных.
[00225] Когда конфигурация BSS линии связи 2 обновлена, третья информация включает в себя обновленный параметр конфигурации BSS второй линии связи. Когда конфигурация BSS линии связи 2 не обновлена, третья информация может указывать, что конфигурация BSS второй линии связи не обновлена.
[00226] Когда конфигурация BSS линии связи 2 обновлена, на этапе 204 то, что MLD без AP передает кадр данных по линии связи 2 на основе третьей информации, может включать в себя: MLD без AP обновляет конфигурацию BSS линии связи 2 в MLD без AP, используя обновленный параметр конфигурации BSS линии связи 2, и передает кадр данных по линии связи 2 на основе обновленной конфигурации BSS линии связи 2. MLD без AP дополнительно соответствующим образом обновляет порядковый номер значения маяка конфигурации BSS/CSN-CSN/проверки, которое идентифицирует линию связи 2. Когда конфигурация BSS линии связи 2 не обновлена, MLD без AP передает кадр данных по линии связи 2, используя конфигурацию BSS линии связи 2 в MLD без AP.
[00227] Кадр данных может быть кадром данных восходящей линии связи или кадром нулевого качества обслуживания (QoS NULL) для уведомления второго MLD о том, что линия связи 2 находится в активном/включенном состоянии. Необязательно, первое MLD может дополнительно передать кадр уведомления о статусе линии связи по линии связи 2. Кадр уведомления о статусе линии связи указывает, что линия связи 2 находится в активном/включенном состоянии, так что второе MLD может вовремя отправить кадр данных нисходящей линии связи по линии связи 2.
[00228] Вторая информация линии связи 2 представляет собой порядковый номер конфигурации BSS, порядковый номер конфигурации точки доступа (AP-CSN) или значение проверочного маяка (check beacon), которое хранится в первом MLD и которое идентифицирует линию связи 2. Первая информация представляет собой порядковый номер конфигурации BSS, порядковый номер конфигурации точки доступа (AP-CSN) или значение проверочного маяка (check beacon), которое находится во втором MLD и которое идентифицирует линию связи 2. Таким образом, второе MLD может сравнивать, согласуется ли первая информация со второй информацией. Если первая информация согласуется со второй информацией, это указывает, что конфигурация BSS линии связи 2 не обновлена. Если первая информация не согласуется со второй информацией, это указывает на то, что конфигурация BSS линии связи 2 обновлена. Это помогает MLD AP узнавать на основе первой информации и второй информации, обновляется ли конфигурация BSS линии связи 2.
[00229] То есть первая информация линии связи 2 представляет собой порядковый номер текущей конфигурации BSS, AP-CSN или значение проверочного маяка линии связи 2. Вторая информация представляет собой порядковый номер конфигурации BSS, AP-CSN или значение проверочного маяка, которое относится к линии связи 2 и которое ранее было получено MLD без AP. Следовательно, если недавно обновленная или текущая конфигурация BSS линии связи 2 не обновлена по сравнению с конфигурацией BSS линии связи 2, которая ранее была получена MLD без AP, первая информация равна второй информации. Если обновляется недавно обновленная или текущая конфигурация BSS линии связи 2, первая информация не равна или больше второй информации.
[00230] Например, первая информация линии связи 2 - это AP-CSN 1, а вторая информация линии связи 2 - это AP-CSN 2. Если AP-CSN 1 равен AP-CSN 2, конфигурация BSS линии связи 2, соответствующей AP-CSN 1, не обновляется по сравнению с конфигурацией BSS линии связи 2, соответствующей AP-CSN 2. То есть конфигурация BSS линии связи 2 не обновлена. Если AP-CSN 1 не равен или больше AP-CSN 2, конфигурация BSS линии связи 2, соответствующего AP-CSN 1, обновляется по сравнению с конфигурацией BSS линии связи 2, соответствующего AP-CSN. 2. То есть конфигурация BSS линии связи 2 обновляется. Кроме того, обновленный параметр, который обновляется в конфигурации BSS линии связи 2, может быть получен посредством третьей информации.
[00231] Необязательно, вторая информация линии связи 2 может быть получена MLD без AP из маякового (beacon) кадра или кадра ответа проверки множественных линий связи линии связи 1, когда MLD без AP выполняет зондирование линии связи. В качестве альтернативы, вторая информация линии связи 2 получается MLD без AP из кадра ответа проверки множественных линий связи линии связи 1, когда MLD без AP выполняет ассоциацию линий связи.
[00232] Необязательно маяковый (beacon) кадр, кадр ответа проверки множественных линий связи или кадр ассоциации множественных линий связи для линии связи 1 могут нести информацию о множестве линий связи или всех линиях связи. Информация о каждой линии связи включает в себя вторую информацию и дополнительно включает в себя, помимо прочего, одно или несколько из следующего: статус линии связи, использование линии связи и т.п. В этой реализации, когда MLD без AP выполняет переключение линии связи или переход статуса линии связи, MLD без AP может выбрать, на основе информации, линию связи для переключения или линию связи, статус которой является переходным.
[00233] Для способа переноса второй информации в маяковом (beacon) кадре линии связи 1 см. соответствующие описания на фиг. 6 в части 6. Способ переноса второй информации в кадре ответа проверки множественных линий связи см. в соответствующих описаниях на фиг. 7 в части 6. Прочую переносимую информацию см. в описании в части 6.
[00234] В необязательной реализации MLD без AP может отправить сообщение запроса переключения линии связи, сообщение запроса информационного отчета перекрестной линии связи или кадр запроса для согласования отношения соответствия между идентификатором трафика и линией связи на линии связи 1, чтобы уведомить MLD AP о второй информации линии связи 2. То есть вторая информация линии связи 2 переносится в сообщении запроса переключения линии связи, в сообщении запроса информационного отчета о перекрестной линии связи или в кадре запроса для согласования отношения соответствия между идентификатором трафика и линией связи.
[00235] Соответственно, MLD без AP может принимать сообщение ответа переключения линии связи, сообщении информационного отчета о перекрестной линии связи, кадр управления доступом к среде или кадр ответа для согласования отношения соответствия между идентификатором трафика и линией связи на линии связи 1, получить третью информацию линии связи 2. В реализации, то, что первое устройство с множественными линиями связи (MLD) принимает третью информацию по линии связи 1, включает в себя: MLD без AP принимает по линии связи 1 сообщение ответа переключения линии связи, сообщении информационного отчета о перекрестной линии связи, кадр управления доступом к среде или кадр ответа согласования отношения соответствия между идентификатором трафика и линией связи. Третья информация линии связи 2 переносится в сообщении ответа переключения линии связи, отчетном сообщении информации о перекрестной линии связи, кадре управления доступом к среде или кадре ответа для согласования отношения соответствия между идентификатором трафика и линией связи .
[00236] Кадр запроса для согласования отношения соответствия между идентификатором трафика и линией связи от MLD без AP отправляется, когда MLD без AP необходимо изменить отношение соответствия между линией связи и идентификатором трафика, чтобы статусы линий связи некоторых линий связи были переведены из отключенного/спящего состояния в включенное/ активное состояние. Соответственно кадр ответа для согласования отношения соответствия между идентификатором трафика и линией связи, возвращенный MLD AP, указывает, принимает ли MLD AP запрос конфигурации соответствия между идентификатором трафика и линией связи. Необязательно, если MLD AP принимает запрос конфигурации соответствия, кадр ответа для согласования отношения соответствия между идентификатором трафика и линией связи включает в себя третью информацию о линии связи 2. Если MLD AP не принимает запрос конфигурации соответствия, кадр ответа для согласования отношения соответствия между идентификатором трафика и линией связи не включает в себя третью информацию о линии связи 2.
[00237] Можно узнать, что в этой реализации MLD без AP может активно сообщать вторую информацию о линии связи, на которую переключаются, чтобы получить третью информацию. Это помогает дополнительно сократить время ожидания, необходимое перед передачей кадра данных по линии связи, на которую переключаются.
[00238] С точки зрения инициирования MLD без AP, ниже описывается другая информация, которая может передаваться без AP в дополнение ко второй информации линии связи 2, и другая информация, которая может передаваться MLD AP в дополнение к третьей информации линии связи 2.
[00239] 1. Способ переключения линии связи, инициированный MLD без AP и полученный ответ MLD AP
[00240] В способе переключения линии связи, MLD без AP может инициировать запрос, используя сообщение запроса переключения линии связи, сообщение запроса информации перекрестной линии связи или сообщение запроса согласования соответствия TID с линией связи. MLD AP может отвечать или отвечать, используя соответствующее сообщение ответа переключения линии связи, сообщение информационного отчета о перекрестной линии связи или сообщение ответа о согласовании отображения TID с линией связи. Различные режимы запроса для переключения линии связи определяют информацию, переносимую в этих сообщениях запроса. Соответственно, различные режимы ответа также определяют информацию, переносимую в этих сообщениях ответа. Однако со ссылкой на вышеизложенные реализации эти сообщения запроса несут по меньшей мере вторую информацию о линии связи, на которую переключаются, и эти сообщения ответа несут, по меньшей мере, третью информацию о линии связи, на которую переключаются. Различные дополнительные режимы запросов и режимы ответов значительно повышают гибкость операции переключения линии связи и облегчают использование соответствующего режима запроса и режима ответа на основе требований конкретного сценария.
[00241] Сообщение ответа переключения линии связи и сообщение информационного отчета о перекрестной линии связи несут информацию, указывающую, принимает ли MLD AP запрос на переключение линии связи, инициированный MLD без AP. Сообщение ответа согласования соответствия TID с линией связи указывает, принимает ли MLD AP запрос конфигурации соответствия между идентификатором трафика и линией связи, инициированный MLD без AP. Запрос конфигурации соответствия между идентификатором трафика и линией связи может фактически быть запросом на переключение линии связи. Следовательно, сообщение ответа согласования соответствия TID и линии связи указывает, принимает ли MLD AP запрос переключения линии связи, инициированный MLD без AP.
[00242] Отличие сообщения запроса от сообщения ответа в этой части и пункта 3 в части 6 заключается в том, что сообщение запроса в этой части несет как минимум вторую информацию о линии связи, на которую переключаются, а сообщение ответа в этой части несет по меньшей мере третью информацию о линии связи, на которую переключаются, и ему не нужно нести первую информацию о линии связи, на которую переключаются. О другом содержании см. пункт 3 в части 6. Подробности здесь повторно не приводятся.
[00243] 2. Способ перехода статуса линии связи, инициированный MLD без AP, и полученный ответ MLD AP
[00244] В способе перехода статуса линии связи, MLD без AP может инициировать запрос, используя сообщение запроса переключения линии связи, сообщение запроса информации перекрестной линии связи или сообщение запроса согласования соответствия TID с линией связи. MLD AP может отвечать или отвечать, используя соответствующее сообщение ответа переключения линии связи, сообщение информационного отчета о перекрестной линии связи или сообщение ответа согласования соответствия TID с линией связи. Эта реализация аналогична способу переключения линии связи, который инициируется MLD без AP, и ответа MLD AP в пункте 1. Единственное отличие состоит в том, что в пункте 3 целевая линия связи является линией связи, на которую переключаются, а в этой реализации целевая линия связи - это линия связи, статус которой является переходным. Следовательно, для связанного контента в этой реализации «переключение» в пункте 1 в части 7 и связанный контент может быть изменен на «переход статуса».
[00245] Необязательно, различие между сообщением запроса и сообщением ответа в этой части и пунктом 4 в части 6 заключается в том, что сообщение запроса в этой части несет как минимум вторую информацию линии связи, на которую переключаются, а сообщение ответа в этой части несет, по меньшей мере, третью информацию линии связи, на которую переключаются, и ей не нужно нести первую информацию линии связи, на которую переключаются. О другом содержании см. пункт 4 в части 6. Подробности здесь повторно не приводятся.
[00246] Можно понять, что вышеупомянутые варианты осуществления имеют свои собственные акценты. Для реализации, которая подробно не описана в одном варианте осуществления, обратитесь к другому варианту осуществления. Подробности здесь повторно не приводятся. Кроме того, варианты осуществления, описанные в этом описании, могут быть независимыми решениями или могут быть объединены на основе внутренней логики. Все эти решения подпадают под сферу защиты этой заявки. Другими словами, вышеупомянутые варианты осуществления могут быть объединены друг с другом. Например, способ обработки линии связи, описанный в пункте 1 части 6, может быть объединен с способом обработки линии связи, описанным в пункте 2 части 6. В качестве другого примера, способы, описанные в пункте 1, пункте 2 и пункте 3 в части 6, могут быть объединены. В качестве другого примера, способы, описанные в пункте 1, пункте 2 и пункте 4 в части 6, могут быть объединены. В качестве другого примера, способы, описанные в пункте 1, пункте 2 и пункте 5 в части 6, могут быть объединены. В другом примере способы, описанные в пункте 1, пункте 2 и пункте 6 части 6, могут быть объединены. В другом примере способ обработки линии связи, показанный на фиг. 9 в части 7, можно совмещать с способом, описанным в пункте 1 в части 7. В другом примере способ обработки линии связи, показанный на фиг. 9 в части 7, можно комбинировать с способом, описанным в пункте 2 в части 7.
[00247] Вышеизложенное отдельно описывает способы обработки линии связи, предусмотренные в вариантах осуществления этой заявки, с точки зрения взаимодействия между первым MLD и вторым MLD, например, с точки зрения взаимодействия между MLD без AP и MLD AP. Связанные операции MLD без AP и MLD AP до и после переключения между линией связи 1 и линией связи 2 описаны выше с использованием линии связи 1 и линии связи 2 в качестве примера. В операциях, связанных с MLD без AP и MLD AP, операции MLD без AP и MLD AP на линии связи 1 могут выполняться отдельно STA 1, соответствующей линии связи 1, и AP 1, соответствующей линии связи 1. Соответственно, операции MLD без AP и MLD AP на линии связи 2 могут выполняться по отдельности STA 2, соответствующей линии связи 2, и AP 2, соответствующей линии связи 2.
[00248] Для реализации быстрого переключения между линиями связи и быстрого перехода между статусами линий связи в вариантах осуществления этой заявки описано следующее множество устройств с множественными линиями связи.
[00249] Вариант осуществления этой заявки обеспечивает устройство с множественными линиями связи. Устройство с множественными линиями связи включает в себя одну или несколько станций. В качестве примера используются первая станция и вторая станция.
[00250] Первая станция принимает первую информацию о второй линии связи по первой линии связи. Первая информация используется устройством с множественными линиями связи для определения, обновлена ли конфигурация набора базовых услуг BSS второй линии связи.
[00251] Когда конфигурация BSS второй линии связи не обновлена, вторая станция передает кадр данных по второй линии связи, на которую переключаются, или второй линии связи, статус линии связи которой является переходным.
[00252] Можно узнать, что до того, как устройство с множественными линиями связи переключится с первой линии связи на вторую линию связи или выполнит переход статуса второй линии связи, устройство с множественными линиями связи может узнать, был ли обновлен параметр конфигурации BSS второй линии связи. Когда параметр конфигурации BSS второй линии связи не обновляется, после переключения второй линии связи или перехода статуса второй линии связи, вторая станция может непосредственно передать кадр данных по второй линии связи, не дожидаясь маяковый кадр, который необходимо принять. Это сокращает время ожидания, необходимое перед тем, как кадр данных будет передан по второй линии связи, на которую переключаются, или по второй линии связи, статус которой является переходным.
[00253] Устройство с множественными линиями связи, описанное в этом варианте осуществления данной заявки, имеет любую функцию первого MLD в первом аспекте сущности изобретения и любую функцию MLD без AP в части 6 конкретных реализаций. Все технические детали устройства с множественными линиями связи см. в первом аспекте сущности изобретения и в части 6 конкретных реализаций. Подробности здесь повторно не приводятся.
[00254] Вариант осуществления этой заявки обеспечивает устройство с множественными линиями связи. Устройство с множественными линиями связи включает в себя одну или несколько точек доступа. Первая точка доступа и точка доступа используются в качестве примера.
[00255] Первая точка доступа определяет первую информацию второй линии связи и отправляет первую информацию второй линии связи по первой линии связи. Первая информация используется MLD без AP для определения, обновлена ли конфигурация BSS набора базовых услуг второй линии связи.
[00256] Можно понять, что до того, как устройство с множественными линиями связи переключится с первой линии связи на вторую линию связи или выполнит переход статуса второй линии связи, первая точка доступа может уведомить первую станцию о первой информации второй линии связи, так что вторая станция определяет, обновлен ли параметр конфигурации BSS второй линии связи. Если параметр конфигурации BSS второй линии связи не обновлен, после переключения второй линии связи или перехода статуса второй линии связи, вторая станция может непосредственно передать кадр данных по второй линии связи, не дожидаясь маяковый кадр, который необходимо принять. Это помогает сократить время ожидания перед передачей кадра данных по второй линии связи.
[00257] Устройство с множественными линиями связи, описанное в этом варианте осуществления этой заявки, имеет любую функцию второго MLD в каждом способе обработки линии связи во втором аспекте сводки или имеет любую функцию MLD AP в каждом способе обработки линии связи в части 6. Подробности здесь повторно не приводятся.
[00258] Вариант осуществления этой заявки обеспечивает устройство с множественными линиями связи. Устройство с множественными линиями связи включает в себя одну или несколько станций. В качестве примера используются первая станция и вторая станция.
[00259] Первая станция отправляет вторую информацию о второй линии связи по первой линии связи. Вторая информация используется MLD AP для определения, обновлена ли конфигурация BSS второй линии связи.
[00260] Первая станция принимает третью информацию второй линии связи по первой линии связи. Третья информация определяется MLD AP на основе второй информации. Третья информация указывает, что конфигурация BSS второй линии связи не обновлена, или обновленный параметр конфигурации BSS второй линии связи.
[00261] Вторая станция передает кадр данных по второй линии связи на основании третьей информации.
[00262] Можно понять, что до того, как устройство с множественными линиями связи переключится с первой линии связи на вторую линию связи или выполнит переход статуса второй линии связи, вторая станция может узнать о третьей информации. Следовательно, после переключения на вторую линию связи, кадр данных может быть передан непосредственно по второй линии связи на основе третьей информации, не дожидаясь приема маякового кадра. Это помогает сократить время ожидания перед передачей кадра данных по второй линии связи.
[00263] Устройство с множественными линиями связи в этом варианте осуществления этой заявки имеет любую функцию первого MLD в третьем аспекте сущности изобретения или любую функцию MLD без AP в части 7 конкретных реализаций. Подробности здесь повторно не приводятся.
[00264] Вариант осуществления этой заявки обеспечивает устройство с множественными линиями связи. Устройство с множественными линиями связи включает в себя одну или несколько точек доступа. В качестве примера используются первая точка доступа и вторая точка доступа. Первая точка доступа принимает вторую информацию о второй линии связи по первой линии связи. Вторая информация используется MLD AP для определения, обновлена ли конфигурация BSS второй линии связи.
[00265] Первая точка доступа отправляет третью информацию второй линии связи по первой линии связи. Третья информация определяется MLD AP на основе второй информации. Третья информация указывает, что конфигурация BSS второй линии связи не обновлена, или обновленный параметр конфигурации BSS второй линии связи.
[00266] Можно узнать, что до того, как устройство с множественными линиями связи переключится с первой линии связи на вторую линию связи или выполнит переход статуса второй линии связи, первая точка доступа может уведомить первую станцию о третьей информации второй линии связи. Следовательно, после переключения на вторую линию связи, вторая станция может непосредственно передать кадр данных по второй линии связи на основе третьей информации, не дожидаясь приема маякового кадра. Это помогает сократить время ожидания, необходимое перед тем, как кадр данных будет передан по второй линии связи после того, как первая линия связи переключится на вторую линию связи или будет выполнен переход статуса второй линии связи.
[00267] Устройство с множественными линиями связи в этом варианте осуществления этой заявки имеет любую функцию второго MLD в четвертом аспекте сущности изобретения или любую функцию MLD AP в части 7 конкретных реализаций. Подробности здесь повторно не приводятся.
[00268] Для реализации функций в вышеизложенном способе, предусмотренных в вариантах осуществления данной заявки, точка доступа и станция могут включать в себя аппаратную структуру и программный модуль, для реализации вышеуказанных функций в виде аппаратной структуры, программного модуля или комбинации аппаратной структуры и программного модуля. Функция из вышеперечисленных функций может быть выполнена в форме аппаратной структуры, программного модуля или комбинации аппаратной структуры и программного модуля. Устройство с множественными линиями связи, описанное ниже, может быть MLD AP или может быть MLD без AP, или может быть микросхемой, системой микросхем или процессором, который поддерживает устройство с множественными линиями связи при реализации вышеизложенного способа, или может быть микросхемой, системой микросхем или процессором, который поддерживает устройство с множественными линиями связи при реализации вышеуказанного способа. Устройство с множественными линиями связи может быть сконфигурировано для реализации способа, описанного в предшествующих вариантах осуществления способа. Подробности см. в описаниях вышеприведенных вариантов осуществления способа.
[00269] Фиг. 10 представляет собой схематическое представление структуры устройства с множественными линиями связи согласно варианту осуществления этой заявки. Устройство с множественными линиями связи может включать в себя один или более процессоров 1001. Процессор 1001 может быть процессором общего назначения, специализированным процессором и т.п. Процессор 1001 может быть выполнен с возможностью: управлять одной или несколькими точками доступа, одной или несколькими микросхемами точек доступа, одной или несколькими станциями, одной или несколькими микросхемами станций и т.п. в устройстве с множественными линиями связи, выполнять программу программного обеспечения и обрабатывать данные программы.
[00270] Дополнительно устройство с множественными линиями связи может включать в себя одно или несколько памятей 1002. Память 1002 может хранить команду 1004. Команда может выполняться на процессоре 1001, так что устройство с множественными линиями связи выполняет способ, описанный в предыдущих вариантах осуществления способа. Необязательно, память 1002 может дополнительно хранить данные, например, хранить первую информацию, вторую информацию или третью информацию в вышеприведенном варианте осуществления способа. Процессор 1001 и память 1002 могут быть расположены отдельно или могут быть объединены вместе.
[00271] Дополнительно устройство с множественными линиями связи может дополнительно включать в себя приемопередатчик 1005 и антенну 1006. Приемопередатчик 1005 может называться блоком приемопередатчика, приемопередающей машиной, схемой приемопередатчика и т.п., и он сконфигурирован для реализации функции приемопередатчика. Приемопередатчик 1005 может включать в себя приемник и передатчик. Приемник может называться приемной машиной, схемой приемника и т.п., и он сконфигурирован для реализации функции приема. Передатчик может называться передающей машиной, схемой передатчика и т.п., и он сконфигурирован для реализации функции отправки. Приемопередатчик 1005 сконфигурирован для выполнения операции приема или отправки в вышеописанных вариантах осуществления способа.
[00272] В необязательной реализации приемопередатчик 1005 сконфигурирован для приема первой информации второй линии связи по первой линии связи.
[00273] Множество линий связи между первым MLD и вторым MLD включают в себя первую линию связи и вторую линию связи.
[00274] Первая информация используется первым MLD для определения, обновлена ли конфигурация BSS набора базовых услуг второй линии связи.
[00275] Приемопередатчик 1005 дополнительно сконфигурирован для того, чтобы: если конфигурация BSS второй линии связи не была обновлена, передать кадр данных по второй линии связи, на которую переключаются, или второй линии связи, статус которой является переходным.
[00276] Можно узнать, что устройство с множественными линиями связи может узнать, обновлен ли параметр конфигурации BSS второй линии связи. Когда параметр конфигурации BSS второй линии связи не обновлен, устройство с множественными линиями связи может непосредственно передавать кадр данных по второй линии связи, на которую переключаются, или второй линии связи, статус линии связи которой является переходным. Это сокращает время ожидания, необходимое перед тем, как кадр данных будет передан по второй линии связи, на которую переключаются, или по второй линии связи, статус которой является переходным.
[00277] Устройство с множественными линиями связи, описанное в этом варианте осуществления данной заявки, имеет любую функцию первого MLD в первом аспекте сущности изобретения и любую функцию MLD без AP в части 6 конкретных реализаций. Все технические детали устройства с множественными линиями связи см. в первом аспекте сущности изобретения и в части 6 конкретных реализаций. Подробности здесь повторно не приводятся.
[00278] В другой необязательной реализации процессор 1001 сконфигурирован для определения первой информации второй линии связи. Первая информация используется первым MLD для определения, обновлена ли конфигурация BSS набора базовых услуг второй линии связи.
[00279] Приемопередатчик 1005 сконфигурирован для отправки первой информации второй линии связи по первой линии связи.
[00280] Множество линий связи между вторым MLD и первым MLD включают в себя первую линию связи и вторую линию связи.
[00281] Вторая линия связи - это линия связи, на которую переключаются с первой линии связи, или линия связи, статус линии связи которой является переходным.
[00282] Можно понять, что эта реализация помогает первому MLD определить, обновлен ли параметр конфигурации BSS второй линии связи. Когда параметр конфигурации BSS второй линии связи не обновлен, первое MLD может непосредственно передавать кадр данных по второй линии связи, на которую переключаются, или второй линии связи, статус линии связи которой является переходным. Это сокращает время ожидания, необходимое перед тем, как кадр данных будет передан по второй линии связи, на которую переключаются, или по второй линии связи, статус которой является переходным.
[00283] Устройство с множественными линиями связи, описанное в этом варианте осуществления этой заявки, имеет любую функцию второго MLD в каждом способе обработки линии связи во втором аспекте сущности изобретения или имеет любую функцию MLD AP в каждом способе обработки линии связи в части 6. Подробности здесь повторно не приводятся.
[00284] В еще одной необязательной реализации приемопередатчик 1005 сконфигурирован для отправки второй информации о второй линии связи по первой линии связи. Вторая информация используется вторым MLD для определения, обновлена ли конфигурация BSS второй линии связи.
[00285] Приемопередатчик 1005 сконфигурирован для приема третьей информации по первой линии связи. Третья информация определяется вторым MLD на основе второй информации. Третья информация указывает, что конфигурация BSS второй линии связи не обновлена, или указывает обновленный параметр конфигурации BSS второй линии связи. Таким образом, первое MLD может передавать кадр данных по второй линии связи на основе третьей информации.
[00286] Можно понять, что устройство с множественными линиями связи может непосредственно передавать кадр данных по второй линии связи, на которую переключаются, или второй линии связи, статус которой является переходным. Это сокращает время ожидания, необходимое перед тем, как кадр данных будет передан по второй линии связи, на которую переключаются, или по второй линии связи, статус которой является переходным.
[00287] В еще одной необязательной реализации приемопередатчик 1005 сконфигурирован для приема второй информации второй линии связи по первой линии связи. Вторая информация используется устройством с множественными линиями связи для определения, обновлена ли конфигурация BSS второй линии связи.
[00288] Приемопередатчик 1005 сконфигурирован для отправки третьей информации по первой линии связи. Третья информация определяется устройством с множественными линиями связи на основе второй информации. Третья информация указывает, что конфигурация BSS второй линии связи не обновлена, или обновленный параметр конфигурации BSS второй линии связи.
[00289] Можно узнать, что, поскольку устройство с множественными линиями связи может уведомить MLD без AP на первой линии связи, обновлена ли конфигурация BSS второй линии связи или об обновленном параметре конфигурации BSS второй линии связи, MLD без AP может непосредственно передавать кадр данных по второй линии связи, на которую переключаются, или второй линии связи, статус которой является переходным, не дожидаясь приема маякового кадра. Это сокращает время ожидания, необходимое перед тем, как кадр данных будет передан по второй линии связи, на которую переключаются, или по второй линии связи, статус которой является переходным.
[00290] Фиг. 11 представляет собой схематическое представление структуры другого устройства с множественными линиями связи в соответствии с вариантом осуществления этой заявки. Устройство с множественными линиями связи может включать в себя блок 1101 связи и блок 1102 обработки. Блок 1101 связи может включать в себя блок отправки и блок приема. Блок отправки сконфигурирован для реализации функции отправки, блок приема сконфигурирован для реализации функции приема, а блок 1101 связи может реализовать функцию отправки и/или функцию приема. Блок связи также может быть описан как блок приемопередатчика.
[00291] В необязательной реализации
блок 1101 связи сконфигурирован для приема первой информации второй линии связи по первой линии связи.
[00292] Множество линий связи между первым MLD и вторым MLD включают в себя первую линию связи и вторую линию связи.
[00293] Первая информация используется первым MLD для определения, обновлена ли конфигурация BSS набора базовых услуг второй линии связи.
[00294] Блок 1101 связи дополнительно сконфигурирован для: если конфигурация BSS второй линии связи не обновлена, передачи кадра данных по второй линии связи, на которую переключаются, или второй линии связи, статус линии которой является переходным.
[00295] Можно понять, что устройство с множественными линиями связи может узнать, обновлен ли параметр конфигурации BSS второй линии связи. Когда параметр конфигурации BSS второй линии связи не обновлен, устройство с множественными линиями связи может непосредственно передавать кадр данных по второй линии связи, на которую переключаются, или второй линии связи, статус линии связи которой является переходным. Это сокращает время ожидания, необходимое перед тем, как кадр данных будет передан по второй линии связи, на которую переключаются, или по второй линии связи, статус которой является переходным.
[00296] Устройство с множественными линиями связи, описанное в этом варианте осуществления данной заявки, имеет любую функцию первого MLD в первом аспекте сущности изобретения и любую функцию MLD без AP в части 6 конкретных реализаций. Все технические детали устройства с множественными линиями связи см. в первом аспекте сущности изобретения и в части 6 конкретных реализаций. Подробности здесь повторно не приводятся.
[00297] В другой необязательной реализации блок 1102 обработки сконфигурирован для определения первой информации второй линии связи. Первая информация используется первым MLD для определения, обновлена ли конфигурация BSS набора базовых услуг второй линии связи.
[00298] Блок 1101 связи сконфигурирован для отправки первой информации второй линии связи по первой линии связи.
[00299] Множество линий связи между вторым MLD и первым MLD включают в себя первую линию связи и вторую линию связи.
[00300] Вторая линия связи - это линия связи, на которую переключаются с первой линии связи, или линия связи, статус линии связи которой является переходным.
[00301] Можно узнать, что эта реализация помогает первому MLD определить, обновлен ли параметр конфигурации BSS второй линии связи. Когда параметр конфигурации BSS второй линии связи не обновлен, первое MLD может непосредственно передавать кадр данных по второй линии связи, на которую переключаются, или второй линии связи, статус линии связи которого является переходным. Это сокращает время ожидания, необходимое перед тем, как кадр данных будет передан по второй линии связи, на которую переключаются, или по второй линии связи, статус которой является переходным.
[00302] Устройство с множественными линиями связи, описанное в этом варианте осуществления этой заявки, имеет любую функцию второго MLD в каждом способе обработки линии связи во втором аспекте сущности изобретения или имеет любую функцию MLD AP в каждом способе обработки линии связи в части 6. Подробности здесь повторно не приводятся.
[00303] В еще одной необязательной реализации блок 1101 связи сконфигурирован для отправки второй информации второй линии связи по первой линии связи. Вторая информация используется вторым MLD для определения, обновлена ли конфигурация BSS второй линии связи.
[00304] Блок 1101 связи сконфигурирован для приема третьей информации по первой линии связи. Третья информация определяется вторым MLD на основе второй информации. Третья информация указывает, что конфигурация BSS второй линии связи не обновлена, или указывает обновленный параметр конфигурации BSS второй линии связи. Таким образом, первое MLD может передавать кадр данных по второй линии связи на основе третьей информации.
[00305] Можно понять, что устройство с множественными линиями связи может непосредственно передавать кадр данных по второй линии связи, на которую переключаются, или второй линии связи, статус которой является переходным. Это сокращает время ожидания, необходимое перед тем, как кадр данных будет передан по второй линии связи, на которую переключаются, или по второй линии связи, статус которой является переходным.
[00306] В еще одной необязательной реализации блок 1101 связи сконфигурирован для приема второй информации второй линии связи по первой линии связи. Вторая информация используется устройством с множественными линиями связи для определения, обновлена ли конфигурация BSS второй линии связи.
[00307] Блок 1101 связи сконфигурирован для отправки третьей информации по первой линии связи. Третья информация определяется устройством с множественными линиями связи на основе второй информации. Третья информация указывает, что конфигурация BSS второй линии связи не обновлена, или обновленный параметр конфигурации BSS второй линии связи.
[00308] Можно понять, что, поскольку устройство с множественными линиями связи может уведомить MLD без AP на первой линии связи, обновляется ли конфигурация BSS второй линии связи или об обновленном параметре конфигурации BSS второй линии связи, MLD без AP может непосредственно передавать кадр данных по второй линии связи, на которую переключаются, или второй линии связи, статус которой является переходным, не дожидаясь приема маякового кадра. Это сокращает время ожидания, необходимое перед тем, как кадр данных будет передан по второй линии связи, на которую переключаются, или по второй линии связи, статус которой является переходным.
[00309] Можно понять, что для конкретной реализации каждого функционального блока, входящего в состав устройства с множественными линиями связи, следует обращаться к предшествующим вариантам осуществления. Подробности здесь повторно не приводятся.
[00310] Фиг. 12 представляет собой схематическое представление структуры микросхемы согласно варианту осуществления этой заявки. Как показано на фиг. 12, микросхема, показанная на фиг. 12 включает в себя процессор 1201 и интерфейс 1202. Может быть один или несколько процессоров 1201. Может быть множество интерфейсов 1202.
[00311] Для случая, когда микросхема сконфигурирована для реализации функций станции в вариантах осуществления настоящего приложения:
в варианте осуществления,
приемопередатчик 1202 сконфигурирован для приема первой информации второй линии связи по первой линии связи.
[00312] Множество линий связи между первым MLD и вторым MLD включают в себя первую линию связи и вторую линию связи.
[00313] Первая информация используется первым MLD для определения, обновлена ли конфигурация BSS набора базовых услуг второй линии связи.
интерфейс 1202 дополнительно сконфигурирован для того, чтобы: если конфигурация BSS второй линии связи не обновлена, передавать кадр данных по второй линии связи, на которую переключаются, или второй линии связи, статус линии которой является переходным.
[00314] Можно понять, что устройство с множественными линиями связи может узнать, обновлен ли параметр конфигурации BSS второй линии связи. Когда параметр конфигурации BSS второй линии связи не обновлен, устройство с множественными линиями связи может непосредственно передавать кадр данных по второй линии связи, на которую переключаются, или второй линии связи, статус линии связи которой является переходным. Это сокращает время ожидания, необходимое перед тем, как кадр данных будет передан по второй линии связи, на которую переключаются, или по второй линии связи, статус которой является переходным.
[00315] Устройство с множественными линиями связи, описанное в этом варианте осуществления данной заявки, имеет любую функцию первого MLD в первом аспекте сущности изобретения и любую функцию MLD без AP в части 6 конкретных реализаций. Все технические детали устройства с множественными линиями связи см. в первом аспекте сущности изобретения и в части 6 конкретных реализаций. Подробности здесь повторно не приводятся.
[00316] В другой необязательной реализации
процессор 1201 сконфигурирован для определения первой информации второй линии связи. Первая информация используется первым MLD для определения, обновлена ли конфигурация BSS набора базовых услуг второй линии связи.
[00317] Интерфейс 1202 сконфигурирован для отправки первой информации второй линии связи по первой линии связи.
[00318] Множество линий связи между вторым MLD и первым MLD включают в себя первую линию связи и вторую линию связи.
[00319] Вторая линия связи - это линия связи, на которую переключаются с первой линии связи, или линия связи, статус линии связи которой является переходным.
[00320] Можно понять, что эта реализация помогает первому MLD определить, обновлен ли параметр конфигурации BSS второй линии связи. Когда параметр конфигурации BSS второй линии связи не обновлен, первое MLD может непосредственно передавать кадр данных по второй линии связи, на которую переключаются, или второй линии связи, статус линии связи которой является переходным. Это сокращает время ожидания, необходимое перед тем, как кадр данных будет передан по второй линии связи, на которую переключаются, или по второй линии связи, статус которой является переходным.
[00321] Устройство с множественными линиями связи, описанное в этом варианте осуществления этой заявки, имеет любую функцию второго MLD в каждом способе обработки линии связи во втором аспекте сущности изобретения или имеет любую функцию MLD AP в каждом способе обработки линии связи в части 6. Подробности здесь повторно не приводятся.
[00322] В еще одной необязательной реализации
интерфейс 1202 сконфигурирован для отправки второй информации второй линии связи по первой линии связи. Вторая информация используется вторым MLD для определения, обновлена ли конфигурация BSS второй линии связи.
[00323] Интерфейс 1202 сконфигурирован для приема третьей информации по первой линии связи. Третья информация определяется вторым MLD на основе второй информации. Третья информация указывает, что конфигурация BSS второй линии связи не обновлена, или обновленный параметр конфигурации BSS второй линии связи. Таким образом, первое MLD может передавать кадр данных по второй линии связи на основе третьей информации.
[00324] Можно узнать, что устройство с множественными линиями связи может непосредственно передавать кадр данных по второй линии связи, на которую переключаются, или второй линии связи, статус которой является переходным. Это сокращает время ожидания, необходимое перед тем, как кадр данных будет передан по второй линии связи, на которую переключаются, или по второй линии связи, статус которой является переходным.
[00325] В еще одной необязательной реализации
интерфейс 1202 сконфигурирован для приема второй информации второй линии связи по первой линии связи. Вторая информация используется устройством с множественными линиями связи для определения, обновлена ли конфигурация BSS второй линии связи.
[00326] Интерфейс 1202 сконфигурирован для отправки третьей информации по первой линии связи. Третья информация определяется устройством с множественными линиями связи на основе второй информации. Третья информация указывает, что конфигурация BSS второй линии связи не обновлена, или обновленный параметр конфигурации BSS второй линии связи.
[00327] Можно узнать, что, поскольку устройство с множественными линиями связи может уведомить MLD без AP на первой линии связи, обновляется ли конфигурация BSS второй линии связи, или об обновленном параметре конфигурации BSS второй линии связи, MLD без AP может непосредственно передавать кадр данных по второй линии связи, на которую переключаются, или второй линии связи, статус которой является переходным, не дожидаясь приема маякового кадра. Это сокращает время ожидания, необходимое перед тем, как кадр данных будет передан по второй линии связи, на которую переключаются, или по второй линии связи, статус которой является переходным.
[00328] Следует понимать, что термин «и/или» в данном описании описывает только ассоциативное отношение для описания ассоциированных объектов и представляет, что могут существовать три отношения. Например, A и/или B могут представлять следующие три случая: существует только A, существуют как A, так и B, и существует только B. Кроме того, символ "/" в этом описании обычно указывает связь "или" между ассоциированными объектами.
[00329] Специалисту в данной области техники может быть известно, что в сочетании с примерами, описанными в вариантах осуществления, раскрытых в данном описании, этапы и блоки способа могут быть реализованы электронными аппаратными средствами, компьютерным программным обеспечением или их комбинацией. Чтобы четко описать взаимозаменяемость между аппаратными средствами и программным обеспечением, выше в целом описаны этапы и составы каждого варианта осуществления в соответствии с функциями. Выполняются ли функции с помощью аппаратного или программного обеспечения, зависит от конкретных применений и конструктивных ограничений технических решений. Специалист в данной области техники может использовать разные способы для реализации описанных функций для каждого конкретного применения, но не следует считать, что реализация выходит за рамки данной заявки.
[00330] Специалисту в данной области должно быть ясно понятно, что для удобства и краткого описания подробного рабочего процесса вышеописанной системы, аппаратуры и блока можно сделать ссылку на соответствующий процесс в вышеизложенных вариантах осуществления способа. Подробности здесь повторно не приводятся.
[00331] В нескольких вариантах осуществления, обеспеченных в настоящей заявке, следует понимать, что раскрытые система, аппаратура и способ могут быть реализованы другими методами. Например, вышеприведенные варианты осуществления аппаратуры являются просто примерами. Например, разделение на блоки является просто логическим разделением функций и может быть другим разделением в фактической реализации. Например, множество блоков или компонентов могут быть объединены или интегрированы в другую систему, или некоторые признаки могут игнорироваться или не выполняться. Кроме того, отображаемые или обсуждаемые взаимные связи или прямые связи или коммуникационные соединения могут быть реализованы через некоторые интерфейсы. Косвенные связи или коммуникационные соединения между аппаратурами или блоками могут быть реализованы в электрических, механических или других формах.
[00332] Блоки, описанные как отдельные части, могут быть или не быть физически отдельными, и части, изображенные как блоки, могут быть или могут не быть физическими блоками, то есть могут быть расположены в одном месте или могут быть распределены по множеству сетевых блоков. Часть или все блоки могут быть выбраны на основе фактических требований для достижения целей решений вариантов осуществления этой заявки.
[00333] Кроме того, функциональные блоки в вариантах осуществления этой заявки могут быть интегрированы в один блок обработки, или каждый из блоков может физически существовать сам по себе, или два или более блоков могут быть объединены в один блок. Интегрированный блок может быть реализован в виде аппаратного обеспечения или может быть реализован в виде функционального блока программного обеспечения.
[00334] Когда интегрированный блок реализуется в виде функционального блока программного обеспечения и продается или используется как независимый продукт, интегрированный блок может храниться на машиночитаемом носителе данных. Исходя из такого понимания, технические решения в этой заявке, по существу, или часть, способствующая общепринятому уровню техники, или все или часть технических решений могут быть реализованы в виде программного продукта. Компьютерный программный продукт хранится на носителе данных и включает в себя несколько инструкций для указания компьютерному устройству (которое может быть персональным компьютером, сервером, сетевым устройством и т.п.) выполнить все или часть этапов способов, описанных в вариантах осуществления этой заявки. Вышеупомянутый носитель данных включает в себя любой носитель, на котором может храниться программный код, такой как флэш-накопитель USB, съемный жесткий диск, постоянное запоминающее устройство (read-only memory, ROM), оперативное запоминающее устройство (random access memory, RAM), магнитный диск или оптический диск.
[00335] Приведенные выше описания являются просто конкретными вариантами осуществления этой заявки, но не предназначены для ограничения объема защиты этой заявки. Любая модификация или замена, легко достижимая специалистом в данной области техники в рамках технического объема, раскрытого в данной заявке, должны подпадать под объем защиты данной заявки. Следовательно, объем охраны настоящей заявки должен соответствовать объему охраны формулы изобретения.
| название | год | авторы | номер документа |
|---|---|---|---|
| СПОСОБ УПРАВЛЕНИЯ КРИТИЧНЫМ ПАРАМЕТРОМ BSS, ПРИМЕНЯЕМЫЙ К МНОЖЕСТВУ ЛИНИЙ СВЯЗИ, И СООТВЕТСТВУЮЩЕЕ УСТРОЙСТВО | 2021 |
|
RU2812180C1 |
| СПОСОБЫ РЕАЛИЗАЦИИ БЕСПРОВОДНЫХ ЛОКАЛЬНЫХ СЕТЕЙ (WLAN) С МНОЖЕСТВОМ ЛИНИЙ СВЯЗИ | 2020 |
|
RU2816579C2 |
| СПОСОБ И УСТРОЙСТВО ПЕРЕДАЧИ ТРАФИКА С ГРУППОВОЙ АДРЕСАЦИЕЙ С МНОЖЕСТВОМ ЛИНИЙ СВЯЗИ | 2021 |
|
RU2804753C1 |
| СПОСОБ И АППАРАТУРА СВЯЗИ, ПРИМЕНЯЕМЫЕ К УСТРОЙСТВУ С МНОЖЕСТВЕННЫМИ ЛИНИЯМИ СВЯЗИ В БЕСПРОВОДНОЙ ЛОКАЛЬНОЙ СЕТИ | 2021 |
|
RU2832864C1 |
| СПОСОБ И УСТРОЙСТВО СВЯЗИ | 2022 |
|
RU2831433C2 |
| СПОСОБ СВЯЗИ И УСТРОЙСТВО СВЯЗИ | 2021 |
|
RU2834761C1 |
| Способ связи и устройство связи | 2021 |
|
RU2832258C2 |
| СПОСОБ И АППАРАТУРА ДЛЯ РЕКОНФИГУРИРОВАНИЯ МНОГОКАНАЛЬНЫХ СОЕДИНЕНИЙ | 2022 |
|
RU2822824C1 |
| СПОСОБ И УСТРОЙСТВО ДЛЯ УСКОРЕННОГО УСТАНОВЛЕНИЯ ЛИНИИ СВЯЗИ | 2013 |
|
RU2628207C2 |
| СПОСОБ И УСТРОЙСТВО ДЛЯ ПОДТВЕРЖДЕНИЯ И ПОВТОРНОЙ ПЕРЕДАЧИ ГРУППОВЫХ ДАННЫХ В БЕСПРОВОДНЫХ ЛОКАЛЬНЫХ СЕТЯХ | 2008 |
|
RU2490802C2 |
Изобретение относится к области беспроводной связи. Технический результат заключается в повышении скорости переключения между линиями связи. Технический результат достигается тем, что первое устройство с множественными линиями связи (MLD) принимает первую информацию второй линии связи по первой линии связи, при этом множество линий связи между первым MLD и вторым MLD содержат первую линию связи и вторую линию связи. Первая информация используется первым MLD для определения, обновлена ли конфигурация набора базовых услуг (BSS) второй линии связи. Если конфигурация BSS второй линии связи не обновлена, осуществляется передача посредством первого MLD кадра данных по второй линии связи, на которую переключаются, или по второй линии связи, статус которой является переходным из спящего или отключенного состояния в активное или включенное состояние. 9 н. и 16 з.п. ф-лы, 15 ил., 5 табл.
1. Способ обработки линии связи, причем способ содержит:
прием первым устройством с множественными линиями связи (MLD) первой информации второй линии связи по первой линии связи, при этом множество линий связи между первым MLD и вторым MLD содержат первую линию связи и вторую линию связи; и
причем первая информация используется первым MLD для определения, обновлена ли конфигурация набора базовых услуг (BSS) второй линии связи; и
если конфигурация BSS второй линии связи не обновлена, передачу, посредством первого MLD, кадра данных по второй линии связи, на которую переключаются, или второй линии связи, статус линии связи которой является переходным из спящего или отключенного состояния в активное или включенное состояние.
2. Способ по п. 1, отличающийся тем, что кадр данных содержит кадр данных восходящей линии связи, кадр нулевого качества обслуживания (QoS NULL) или кадр уведомления о статусе линии связи, и при этом кадр уведомления о статусе линии связи указывает, что вторая линия связи находится в активном или включенном состоянии.
3. Способ по п. 1 или 2, в котором первая информация второй линии связи представляет собой порядковый номер конфигурации BSS, или порядковый номер конфигурации точки доступа (AP-CSN), или значение проверочного маяка (check beacon), которое находится во втором MLD и которое идентифицирует вторую линию связи.
4. Способ по любому из пп. 1-3, в котором первая информация о второй линии связи переносится в сообщении ответа переключения линии связи, или в сообщении информационного отчета перекрестной линии связи, или в кадре управления доступом к среде, или в кадре ответа для согласования отношения соответствия между идентификатором трафика и линией связи, или маяковом кадре, или поле управления кадра данных, или кадре запроса для согласования отношения соответствия между идентификатором трафика и линией связи, который принимается по первой линии связи.
5. Способ по п. 4, отличающийся тем, что, если первая информация второй линии связи переносится в кадре запроса для согласования отношения соответствия между идентификатором трафика и линией связи, принятом по первой линии, перед передачей первым MLD кадра данных по второй линии связи, способ дополнительно содержит:
отправку, первым MLD, кадра ответа для согласования отношения соответствия между идентификатором трафика и линией связи по первой линии связи, при этом кадр ответа для согласования отношения соответствия между идентификатором трафика и линией связи указывает, принимает ли первое MLD запрос конфигурации соответствия между идентификатором трафика и линией связи.
6. Способ по любому из пп. 1-5, отличающийся тем, что, если конфигурация BSS второй линии связи обновлена, способ дополнительно содержит:
отправку, посредством первого MLD, второй информации по второй линии связи, при этом вторая информация представляет собой порядковый номер конфигурации BSS, порядковый номер конфигурации точки доступа (AP-CSN) или значение проверочного маяка (check beacon), которое хранится в первом MLD и идентифицирует вторую линию связи; и
прием, первым MLD, по второй линии связи обновленного параметра конфигурации BSS второй линии связи, при этом обновленный параметр конфигурации BSS второй линии связи определяется на основе второй информации.
7. Способ по п. 6, в котором:
вторая информация второй линии связи переносится для отправки в кадре одноадресного пробного запроса по второй линии связи; и
при этом обновленный параметр конфигурации BSS второй линии связи переносится в кадре ответа проверки, который принимается по второй линии связи, и кадр ответа проверки возвращается на основе кадра одноадресного пробного запроса.
8. Способ по п. 6 или 7, отличающийся тем, что, перед приемом первым устройством с множественными линиями связи (MLD) первой информации второй линии связи по первой линии связи, способ дополнительно содержит:
получение, посредством первого MLD, второй информации второй линии связи из маякового (beacon) кадра, кадра ответа проверки множественных линий связи или кадра ответа ассоциации множественных линий связи первой линии связи, и сохранение второй информации второй линии связи, причем вторая информация представляет собой порядковый номер конфигурации BSS, порядковый номер конфигурации точки доступа (AP-CSN) или значение проверочного маяка (check beacon), которое хранится в первом MLD и которое идентифицирует вторую линию связи.
9. Способ по п. 8, в котором:
маяковый (beacon) кадр, кадр ответа проверки множественных линий связи или кадр ответа ассоциации множественных линий связи первой линии связи дополнительно несет статус линии связи и использование канала второй линии связи.
10. Способ обработки линии связи, причем способ содержит:
определение вторым устройством с множественными линиями связи (MLD) первой информации второй линии связи, при этом первая информация используется первым MLD для определения, обновлена ли конфигурация BSS набора базовых услуг второй линии связи;
отправку, посредством второго MLD, первой информации второй линии связи по первой линии связи, при этом множество линий связи между вторым MLD и первым MLD содержат первую линию связи и вторую линию связи; и
вторая линия связи - это линия связи, на которую переключаются с первой линии связи, или линия связи, статус линии связи которой является переходным из спящего или отключенного состояния в активное или включенное состояние.
11. Способ по п. 10, при этом способ дополнительно содержит:
прием, вторым MLD, кадра данных по второй линии связи, при этом кадр данных содержит кадр данных восходящей линии связи, кадр нулевого качества обслуживания (QoS NULL) или кадр уведомления о статусе линии связи, и кадр уведомления о статусе линии связи указывает, что вторая линия связи находится в активном или включенном состоянии.
12. Способ по п. 10 или 11, в котором первая информация второй линии связи представляет собой порядковый номер конфигурации BSS, или порядковый номер конфигурации точки доступа (AP-CSN), или значение проверочного маяка (check beacon), которое находится во втором MLD и которое идентифицирует вторую линию связи.
13. Способ по любому из пп. 10-12, в котором первая информация второй линии связи переносится для отправки в сообщении ответа переключения линии связи, или в сообщении информационного отчета о перекрестной линии связи, или в кадре управления доступом к среде, или в кадре ответа для согласования отношения соответствия между идентификатором трафика и линией связи, или маяковом кадре, или поле управления кадра данных, или кадре запроса для согласования отношения соответствия между идентификатором трафика и линией связи, который находится на первой линии связи.
14. Способ по п. 13, отличающийся тем, что, если первая информация второй линии связи переносится для отправки в кадре запроса для согласования отношения соответствия между идентификатором трафика и линией связи, принятом по первой линии связи, перед передачей, посредством второго MLD, кадра данных по второй линии связи, способ дополнительно содержит:
прием, вторым MLD, кадра ответа для согласования отношения соответствия между идентификатором трафика и линией связи на первой линии связи, при этом кадр ответа для согласования отношения соответствия между идентификатором трафика и линией связи указывает, принимает ли первое MLD запрос конфигурации соответствия между идентификатором трафика и линией связи.
15. Способ по любому из пп. 10-14, при этом способ дополнительно содержит:
прием, вторым MLD, второй информации по второй линии связи, при этом вторая информация представляет собой порядковый номер конфигурации BSS, порядковый номер конфигурации точки доступа (AP-CSN) или значение проверочного маяка (check beacon), которое хранится в первом MLD и идентифицирует вторую линию связи; и
отправку, посредством второго MLD, по второй линии связи обновленного параметра конфигурации BSS второй линии связи на основе второй информации.
16. Способ по п. 15, в котором:
вторая информация второй линии связи переносится в кадре одноадресного пробного запроса, который принимается по второй линии связи; и
обновленный параметр конфигурации BSS второй линии связи переносится, для отправки, в кадре ответа проверки по второй линии связи, и кадр ответа проверки отправляется на основе кадра одноадресного пробного запроса.
17. Способ по пп. 12-16, отличающийся тем, что, перед отправкой, вторым устройством с множественными линиями связи (MLD), первой информации второй линии связи по первой линии связи, способ дополнительно содержит:
отправку, посредством второго MLD, по первой линии связи маякового (beacon) кадра, кадра ответа проверки множественных линий связи или кадра ответа ассоциации множественных линий связи первой линии связи; и маяковый кадр, кадр ответа проверки множественных линий связи или кадр ответа ассоциации множественных линий связи содержит вторую информацию о второй линии связи.
18. Способ по п. 17, в котором:
маяковый (beacon) кадр, кадр ответа проверки множественных линий связи или кадр ответа ассоциации множественных линий связи первой линии связи дополнительно несет статус линии связи и использование канала второй линии связи.
19. Устройство с множественными линиями связи, содержащее:
интерфейс и схему обработки, при этом интерфейс соединен со схемой обработки, интерфейс сконфигурирован для связи с другими аппаратурами связи, а схема обработки сконфигурирована для исполнения программы, так что устройство с множественными линиями связи реализует способ по любому из пп. 1-9.
20. Устройство с множественными линиями связи, содержащее:
интерфейс и схему обработки, при этом интерфейс соединен со схемой обработки, интерфейс сконфигурирован для связи с другими аппаратурами связи, а схема обработки сконфигурирована для исполнения программы, так что устройство с множественными линиями связи реализует способ по любому из пп. 10-18.
21. Машиночитаемый носитель данных, при этом на машиночитаемом носителе данных хранится компьютерная программа, и компьютерная программа может выполняться компьютером для управления компьютером для выполнения способа по любому из пп. 1-9 или способа по любому из пп. 10-18.
22. Устройство с множественными линиями связи, сконфигурированное для выполнения способа по любому из пп. 1-9.
23. Устройство с множественными линиями связи, сконфигурированное для выполнения способа по любому из пп. 10-18.
24. Система связи, содержащая:
устройство с множественными линиями связи по п. 19.
25. Система связи, содержащая:
устройство с множественными линиями связи по п. 20.
| WO 2020050649 A1, 12.03.2020 | |||
| CN 104125224 B, 31.07.2018 | |||
| WO 2020032633 A1, 13.02.2020 | |||
| CN 105828394 A, 03.08.2016 | |||
| СПОСОБ И УСТРОЙСТВО ДЛЯ МОБИЛЬНОСТИ МНОГОАДРЕСНОЙ ПЕРЕДАЧИ | 2010 |
|
RU2524846C2 |
Авторы
Даты
2025-03-05—Публикация
2021-04-17—Подача