Настоящее изобретение относится к узлу токоприемника (сусцептора) для переноса жидкости, предназначенному для переноса и индукционного нагрева жидкости, образующей аэрозоль. Настоящее изобретение также относится к индукционному нагревательному узлу и изделию, генерирующему аэрозоль, каждое из которых содержит такой узел токоприемника (сусцептора). Настоящее изобретение также относится к системе, генерирующей аэрозоль, содержащей устройство, генерирующее аэрозоль, с индукционным нагревом и изделие, генерирующее аэрозоль, для использования с этим устройством.
Генерирование вдыхаемых аэрозолей посредством нагрева жидкостей, образующих аэрозоль, общеизвестно из уровня техники. Для этого жидкий субстрат, образующий аэрозоль, может быть перенесен посредством фитильного элемента из резервуара для жидкости в область за пределами резервуара, где он может испаряться с помощью нагревателя и подвергаться воздействию воздушного канала для последующей вытяжки в виде аэрозоля. Нагреватель может быть индукционным нагревателем. В частности, фитильным элементом может быть индукционно нагреваемый фитильный элемент, который содержит токоприемный материал (материал сусцептора) и, таким образом, способен выполнять обе функции: капиллярную и нагревательную. Следовательно, при воздействии переменного магнитного поля фитильный элемент нагревается из-за по меньшей мере одного из вихревых токов или потерь на магнитный гистерезис, которые индуцируются в фитильном элементе в зависимости от его магнитных и электрических свойств. Соответственно, такой фитильный элемент можно также рассматривать как токоприемник (сусцептор) для переноса жидкости или узел токоприемника (сусцептора).
Существуют различные конфигурации элемента фитиля, например сетчатые конфигурации. Однако многие из этих конфигураций являются достаточно сложными и, таким образом, трудными в изготовлении. Кроме того, нагрев жидкости, образующей аэрозоль, которая подлежит испарению, часто является неэффективным.
Поэтому было бы желательно получить узел токоприемника (сусцептора) для переноса жидкости, индукционный нагревательный узел, изделие, генерирующее аэрозоль, и систему, генерирующую аэрозоль, с преимуществами решения известного уровня техники, одновременно устраняя их недостатки. В частности, было бы желательно получить узел токоприемника (сусцептора) для переноса жидкости, индукционный нагревательный узел, изделие, генерирующее аэрозоль, и систему, генерирующую аэрозоль, содержащую узел токоприемника (сусцептора) для переноса жидкости, которые просты и недороги в изготовлении и обеспечивают улучшенную эффективность нагрева.
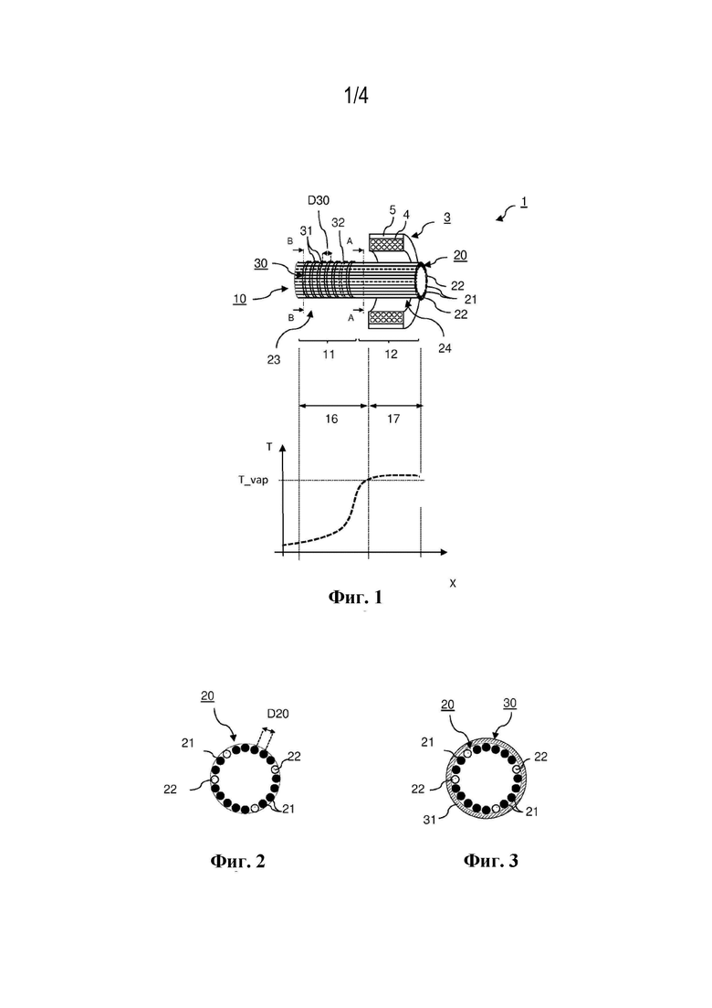
Согласно аспекту настоящего изобретения предложен узел токоприемника (сусцептора) для переноса жидкости, предназначенный для переноса и индукционного нагрева жидкости, образующей аэрозоль, под действием переменного магнитного поля. Узел токоприемника (сусцептора) содержит матрицу индукционно нагреваемых продольных нитей, расположенных рядом друг с другом. Узел токоприемника (сусцептора) дополнительно содержит матрицу поперечных нитей, расположенных рядом друг с другом и пересекающих матрицу продольных нитей поперечно протяженности в длину продольных нитей. Матрица поперечных нитей проходит только вдоль части длины матрицы продольных нитей, так что узел токоприемника (сусцептора) содержит по меньшей мере один сетчатый участок и по меньшей мере один несетчатый участок.
Согласно настоящему изобретению было обнаружено, что эффективность нагрева многих известных узлов токоприемника (сусцептора) снижена, поскольку определенные части узла токоприемника являются индукционно нагреваемыми лишь в ограниченной степени или вовсе нет. По сути это обусловлено тем фактом, что вихревые токи всегда протекают по замкнутым контурам в пределах проводников, в перпендикулярных магнитному полю плоскостях. Как следствие, пространство для протекания вихревых токов внутри определенных частей узла токоприемника может быть ограничено в зависимости от геометрии и ориентации этих частей относительно направления магнитного поля, проходящего через них. Например, токоотвод, расположенный перпендикулярно магнитному полю, обычно нагревается меньше, чем токоотвод, расположенный параллельно магнитному полю. В результате части узла токоприемника, которые являются едва нагреваемыми посредством магнитной индукции, просто увеличивают пассивную теплоемкость узла токоприемника, поскольку эти части поглощают тепловую энергию из других частей узла токоприемника, а не генерируют тепло. Более того, поглощенная энергия сначала ограничена и, таким образом, не доступна для испарения жидкости, образующей аэрозоль.
Для решения этой проблемы, в настоящем изобретении предложен узел токоприемника, содержащий две матрицы нитей, только частично пересекающих друг друга. Эта конфигурация приводит к узлу токоприемника, который имеет по меньшей мере один сетчатый участок и по меньшей мере один несетчатый участок. То есть в сетчатом участке матрица поперечных нитей и матрица продольных нитей пересекаются друг с другом, тогда как в несетчатом участке узел токоприемника содержит только продольные нити, но без поперечных нитей. Из-за отсутствия поперечных нитей, несетчатый участок предпочтительно только содержит те нити, которые являются эффективно нагреваемыми посредством магнитной индукции. По сути несетчатый участок только содержит те нити, чья геометрия и ориентация оптимизированы в отношении ориентации переменного магнитного поля для использования для нагрева узла токоприемника. Предпочтительно узел токоприемника выполнен таким образом, что продольные нити расположены по существу параллельно магнитному полю для использования с узлом токоприемника. Следовательно, несетчатый участок или по меньшей мере части несетчатого участка предпочтительно используются в качестве секции нагрева узла токоприемника для подвергания воздействию переменного магнитного поля для испарения жидкости, образующей аэрозоль. Аналогичным образом сетчатый участок предпочтительно выполнен с возможностью погружения в резервуар для жидкости: Соответственно, сетчатый участок или по меньшей мере часть сетчатого участка можно использовать в качестве секции пропитки.
В контексте данного документа термин «секция нагрева» обозначает секцию узла токоприемника, выполненную с возможностью подвергания воздействию переменного магнитного поля для испарения жидкости, образующей аэрозоль, с целью индукционного нагрева. Аналогичным образом термин «секция пропитки» обозначает секцию узла токоприемника, выполненную с возможностью погружения в резервуар для жидкости.
Также было обнаружено, что узел токоприемника, содержащий две матрицы нитей, которые только частично пересекаются друг с другом, является простым и недорогим в изготовлении.
По сути, матрица поперечных нитей используется для удерживания вместе матрицы продольных нитей. В результате узел токоприемника содержит хорошую связь нитей, а также улучшенную механическую стабильность и стабильность размеров.
К тому же, также было обнаружено, что нити особенно подходят для переноса жидкостей, поскольку они по своей природе обеспечивают капиллярный эффект. Более того, в конфигурации сетки капиллярный эффект дополнительно повышается благодаря промежуткам между поперечными нитями и продольными нитями, то есть благодаря узким пространствам переносимая и нагреваемая жидкость, образующая аэрозоль, может образовывать мениск в промежутках между пересекающимися нитями.
Так как по меньшей мере продольные нити являются индукционно нагреваемыми, узел токоприемника способен выполнять обе функции: перенос и нагрев жидкости, образующей аэрозоль. Преимущественно, эта двойная функция обеспечивает высокую экономичность с точки зрения материалов и компактную конструкцию узла токоприемника без отдельных средств для переноса и нагрева. Кроме того, существует непосредственный тепловой контакт между источником тепла, то есть индукционно нагреваемыми нитями, и притягивающейся к этим нитям жидкостью, образующей аэрозоль. В отличие от нагревателя, находящегося в контакте с пропитанным фитилем, непосредственный контакт между нитями и небольшим количеством жидкости преимущественно обеспечивает мгновенный нагрев, то есть быстрое начало испарения. Предпочтительно поперечные нити также являются индукционно нагреваемыми. Также допускается, что поперечные нити являются невосприимчивыми, то есть индукционно не нагреваются. В этой конфигурации поперечные нити могут по сути служить для увеличения капиллярного эффекта на узел токоприемника и стабилизировать связь нитей, как описано выше.
В контексте данного документа термин «токоприемный материал» («материал сусцептора») обозначает материал, который способен преобразовывать электромагнитную энергию в тепло при воздействии на него переменного магнитного поля. Это может быть результатом по меньшей мере одного из потерь на гистерезис или вихревых токов, индуцированных в токоприемном материале, в зависимости от электрических и магнитных свойств. Потери на гистерезис происходят в ферромагнитных или ферримагнитных токоприемных материалах в связи с переключением магнитных доменов внутри материала под влиянием переменного электромагнитного поля. Вихревые токи индуцируются в электропроводящих токоприемных материалах. В случае электрически проводящего ферромагнитного или ферримагнитного токоприемного материала тепло генерируется посредством как вихревых токов, так и потерь на гистерезис.
Как упоминалось выше, сетчатый участок узла токоприемника или по меньшей мере часть сетчатого участка может быть выполнена с возможностью погружения в резервуар для жидкости: соответственно, та часть сетчатого участка, которая используется для погружения в резервуар для жидкости, может быть обозначена как секция пропитки. Для этой цели по меньшей мере один сетчатый участок предпочтительно расположен на одном из двух продольных концевых участках матрицы продольных нитей.
Оттуда жидкость, образующая аэрозоль, может быть перенесена к другому продольному концевому участку матрицы продольных нитей. Там переносимая жидкость может испаряться посредством индукционного нагрева и подвергаться воздействию воздушного канала для вытяжки в виде аэрозоля. Соответственно, эту часть можно обозначить как секцию нагрева узла токоприемника. Как дополнительно упомянуто выше, именно несетчатый участок предпочтительно выполнен с возможностью использования по меньшей мере частично как секция нагрева, которая подвергается переменному магнитному полю для испарения жидкости, образующей аэрозоль. Предпочтительно, секция нагрева расположена на продольном концевом участке матрицы продольных нитей, противоположном секции пропитки, в частности, противоположном сетчатому участку узла токоприемника. Соответственно, по меньшей мере один несетчатый участок может быть расположен на продольном концевом участке матрицы продольных нитей, предпочтительно на продольном концевом участке матрицы продольных нитей, противоположном секции пропитки, в частности, противоположном сетчатому участку узла токоприемника. В контексте данного документа противоположные концевые участки означают концевые участки матрицы продольных нитей при рассмотрении по протяженности в длину продольных нитей.
Также допускается, что по меньшей мере один сетчатый участок расположен между обоими продольными концевыми участками матрицы продольных нитей. В этой конфигурации узел токоприемника может содержать два несетчатых участка, по одному на каждом продольном концевом участке матрицы продольных нитей. В частности, узел токоприемника может содержать две секции нагрева, по одной на каждом продольном концевом участке матрицы продольных нитей. При использовании жидкость, образующая аэрозоль, может быть перенесена из по меньшей мере одного сетчатого участка, служащего секцией пропитки, к несетчатым участкам в соответствующих продольных концевых участках. Там переносимая жидкость может испаряться посредством индукционного нагрева соответствующей секции нагрева на продольных концевых участках. То есть узел токоприемника может содержать сетчатый участок, который расположен между обоими продольными концевыми участками матрицы продольных нитей, и два несетчатых участка на продольных концевых участках матрицы продольных нитей, по одному на каждом конце.
И наоборот, узел токоприемника может содержать несетчатый участок, который расположен между обоими продольными концевыми участками матрицы продольных нитей, и два сетчатых участка на продольных концевых участках матрицы продольных нитей, по одному на каждом конце.
Во время использования секция нагрева нагревается до температур, достаточных для испарения жидкости, образующей аэрозоль, при этом секция пропитки предпочтительно должна оставаться при температурах ниже температуры испарения, чтобы избежать кипения жидкости, образующей аэрозоль, в резервуаре для жидкости. Следовательно, при использовании узел токоприемника содержит температурный профиль, в частности, по протяженности в длину матрицы продольных нитей с секциями более высоких и более низких температур. В частности, пучок нитей может содержать температурный профиль показывающий повышение температуры от температур ниже температуры испарения на по меньшей мере одной секции пропитки до температур выше соответствующей температуры испарения на по меньшей мере одной секции нагрева.
Температурный профиль, фактически образующийся при использовании узла токоприемника, зависит, среди прочего, от теплопроводности и длины матрицы продольных нитей. Достаточный температурный градиент между секцией пропитки и секцией нагрева требует определенного расстояния между секцией пропитки и секцией нагрева. Следовательно, необходима определенная протяженность в длину продольных нитей, чтобы температура в секции пропитки была ниже температуры испарения.
Соответственно, размер по длине продольных нитей может находиться в диапазоне от 5 миллиметров до 50 миллиметров, в частности, от 10 миллиметров до 40 миллиметров, предпочтительно от 10 миллиметров до 30 миллиметров, более предпочтительно от 10 миллиметров до 20 миллиметров.
Как описано выше, чем больше несетчатый участок, тем лучше эффективность нагрева. Следовательно, чтобы как можно больше улучшить эффективность нагрева узла токоприемника, размер по длине несетчатого участка по протяженности в длину продольных нитей может составлять по меньшей мере 5 процентов, 10 процентов, 20 процентов, 30 процентов, 40 процентов, 50 процентов, 60 процентов, 70 процентов или 80 процентов размера по длине продольных нитей. Это подразумевает определенный максимальный размер по длине сетчатого участка. Соответственно, размер по длине сетчатого участка по протяженности в длину продольных нитей может составлять не более 90 процентов, не более 80 процентов, не более 75 процентов, не более 70 процентов, не более 60 процентов, не более 50 процентов, не более 40 процентов, не более 30 процентов, не более 25 процентов или не более 20 процентов размера по длине продольных нитей.
И наоборот, для обеспечения достаточной связи нитей, а также достаточной механической стабильности и стабильности размеров узла токоприемника, размер по длине несетчатого участка по протяженности в длину продольных нитей может составлять не более 10 процентов, 20 процентов, 30 процентов, 40 процентов, 50 процентов, 60 процентов, 70 процентов, 80 процентов или 90 процентов размера по длине продольных нитей. Аналогичным образом размер по длине сетчатого участка по протяженности в длину продольных нитей может составлять по меньшей мере 5 процентов, по меньшей мере 10 процентов, по меньшей мере 20 процентов, по меньшей мере 25 процентов, по меньшей мере 30 процентов, по меньшей мере 40 процентов, по меньшей мере 50 процентов, по меньшей мере 60 процентов, по меньшей мере 70 процентов, по меньшей мере 75 процентов, по меньшей мере 80 процентов размера по длине продольных нитей.
Узел токоприемника может дополнительно содержать разветвленный участок на по меньшей мере одном продольном концевом участке матрицы продольных нитей, где продольные нити расходятся друг от друга. Предпочтительно разветвленный участок является частью несетчатого участка. Предпочтительно секция нагрева пучка нитей расположена по меньшей мере частично на разветвленном участке, в частности, по меньшей мере частично перекрывается разветвленным участком. Такой разветвленный участок может оказаться полезным для облегчения воздействия испаряемой жидкости, образующей аэрозоль, на воздушный канал и, таким образом, облегчает образование аэрозоля. По этой причине секция нагрева узла токоприемника предпочтительно расположена по меньшей мере частично на разветвленном участке, в частности, по меньшей мере частично перекрывается разветвленным участком.
Возможно, что узел токоприемника может содержать два разветвленных участка, по одному на каждом продольном концевом участке площади продольных нитей. Это, в частности, отверстия в случае, если узел токоприемника содержит два несетчатых участка, по одному на каждом из концевых продольных участков, как описано выше.
Разветвленный участок может иметь длину по меньшей мере 5 процентов, 10 процентов, 20 процентов, 30 процентов, 40 процентов, 50 процентов или 60 процентов размера по длине продольных нитей. И наоборот, разветвленный участок может иметь длину не более 10 процентов, 20 процентов, 30 процентов, 40 процентов или 50 процентов размера по длине продольных нитей.
Матрица поперечных нитей может проходить по всему поперечному размеру матрицы продольных нитей, перпендикулярной протяженности в длину продольных нитей. Это обеспечивает достаточную связь нитей, а также достаточную механическую стабильность и стабильность размеров узла токоприемника. Предпочтительно поперечные нити расположены перпендикулярно протяженности в длину продольных нитей так, что сетчатый участок узла токоприемника содержит прямоугольный решетчатый рисунок. Также допускается, что поперечные нити расположены поперечно протяженности в длину продольных нитей под углом, отличным от 90 градусов, например 80 градусов, или 70 градусов, или 60 градусов, или 50 градусов, или 45 градусов, или 30 градусов, или 20 градусов, или 10 градусов.
Матрица поперечных нитей может быть расположена на одной из сторон жгута матрицы продольных нитей. В этой конфигурации матрица поперечных нитей может быть приклеена к матрице продольных нитей, например, посредством сварки или приклеивания. Также допускается, что поперечные нити переплетены с продольными нитями. Преимущественно переплетающаяся конфигурация удерживает продольные нити крепко и на месте. В переплетающейся конфигурации матрица поперечных нитей может дополнительно быть приклеена к матрице продольных нитей, например, посредством сварки или приклеивания.
В целом, узел токоприемника может иметь любую форму конфигурации, которая подходит для реализации системы, генерирующей аэрозоль, в частности в изделии, генерирующем аэрозоль, для использования с индукционно нагревающимся устройством, генерирующим аэрозоль.
В качестве примера, матрица продольных нитей может иметь по существу цилиндрическую форму, в частности, полую цилиндрическую форму. В качестве другого примера, матрица продольных нитей может иметь по существу коническую форму или по существу форму усеченного конуса, в частности, по существу полую коническую форму или по существу полую форму усеченного конуса. В любой из этих конфигураций продольные нити образуют поверхность оболочки цилиндрической, конической формы, формы усеченного конуса, полой цилиндрической, полой конической формы или полой формы усеченного конуса, соответственно. Ось длины соответствующей формы проходит по существу по протяженности в длину продольных нитей. Преимущественно любая из вышеупомянутых форм обеспечивает присущую ей механическую стабильность размеров.
Матрица поперечных нитей предпочтительно имеет по существу форму кольца в любой из этих конфигураций. То есть поперечные нити могут проходить по окружности матрицы продольных нитей цилиндрической, конической формы, формы усеченного конуса, полой цилиндрической, полой конической формы или полой формы усеченного конуса в сетчатом участке узла токоприемника. Поперечные нити могут проходить по внутренней окружности или по внешней окружности матрицы продольных нитей цилиндрической, конической формы, формы усеченного конуса, полой цилиндрической, полой конической формы или полой формы усеченного конуса. То есть поперечные нити могут быть расположены внутри или снаружи матрицы продольных нитей цилиндрической, конической формы, формы усеченного конуса, полой цилиндрической, полой конической формы или полой формы усеченного конуса. Также допускается, что поперечные нити переплетены с продольными нитями. Преимущественно переплетающаяся конфигурация удерживает продольные нити крепко и на месте.
Рассматривая в целом, узел токоприемника имеет по существу форму короны в любой из вышеупомянутых конфигураций.
К тому же, в случае конической формы, формы усеченного конуса, полой конической формы или полой формы усеченного конуса продольные нити расходятся друг от друга к основанию соответствующей формы. Поэтому матрица продольных нитей с конической формой, формой усеченного конуса, полой конической формой или полой формой усеченного конуса облегчает обеспечение разветвленного участка.
Коническая форма, форма усеченного конуса, полая коническая форма или полая форма усеченного конуса может содержать поверхности оболочки, которые являются неизогнутыми (прямыми), по протяженности в длину продольных нитей. В этой конфигурации продольные нити по существу являются неизогнутыми (прямыми, несогнутыми). Такая конфигурация не исключает небольшого изгиба продольных нитей, то есть больших радиусов кривизны по протяженности в длину продольных нитей. В контексте данного документа большие радиусы кривизны могут включать радиусы кривизны, которые в 10 раз, в частности, в 20 раз или в 50 раз, или, в частности, в 100 раз превышают общую длину продольных нитей. Коническая форма, форма усеченного конуса, полая коническая форма или полая форма усеченного конуса может также содержать поверхности оболочки, которые являются изогнутыми по протяженности в длину продольных нитей. В этой конфигурации продольные нити являются изогнутыми.
Также допускается, что матрица продольных нитей содержит множество коаксиальных подматриц продольных нитей, каждая из которых имеет цилиндрическую, коническую форму, форму усеченного конуса, полую цилиндрическую, полую коническую форму или полую форму усеченного конуса. То есть подматрицы образуют разные слои узла токоприемника, имеющего цилиндрическую, коническую форму, форму усеченного конуса, полую цилиндрическую, полую коническую форму или полую форму усеченного конуса, при этом слои расположены соосно друг с другом, один над другим или окружая другие. В конфигурации одна или более поперечных нитей могут проходить по окружности каждой подматрицы цилиндрической, конической формы, формы усеченного конуса, полой цилиндрической, полой конической формы или полой формы усеченного конуса. То есть в этой конфигурации матрица поперечных нитей содержит множество поперечных нитей в форме кольца или множество подматриц поперечных нитей в форме кольца, при этом множество поперечных нитей в форме кольца или множество подматриц поперечных нитей в форме кольца расположены соосно друг с другом.
К тому же, возможно, что матрица продольных нитей скручена спирально вокруг оси, которая проходит по существу по протяженности в длину, в частности, параллельно протяженности в длину продольных нитей, например образует скрученный, раковинообразный узел токоприемника (похожий на рулет). В этой конфигурации матрица поперечных нитей также имеет спиральную форму, при этом поперечные нити проходят вдоль направления намотки спиральной формы.
Как упоминалось выше, матрица поперечных нитей может быть приклеена к матрице продольных нитей, например, посредством сварки или приклеивания. Также допускается, что матрица поперечных нитей переплетена с матрицей продольных нитей.
Среднее межцентровое расстояние между соседними продольными нитями может находиться в диапазоне от 0,1 миллиметра до 2 миллиметров, в частности, от 0,1 миллиметра до 1 миллиметра. В частности, среднее межцентровое расстояние между соседними продольными нитями может составлять не более 0,025 миллиметра, не более 0,05 миллиметра, не более 0,1 миллиметра, не более 0,15 миллиметра, не более 0,2 миллиметра, не более 0,25 миллиметра, не более 0,3 миллиметра, не более 0,35 миллиметра, не более 0,4 миллиметра, не более 0,45 миллиметра или не более 0,5 миллиметра. Эти значения межцентрового расстояния особенно подходят для обеспечения достаточного капиллярного эффекта. Также допускается, что среднее межцентровое расстояние между соседними продольными нитями составляет не более чем 1 миллиметр или даже не более чем 2 миллиметра. Последние значения могут относиться к тем конфигурациям узла токоприемника, которые имеют разветвленный участок. В частности, среднее межцентровое расстояние между соседними продольными нитями может отличаться от, в частности, большего, чем среднее межцентровое расстояние между соседними поперечными нитями.
Аналогичным образом среднее межцентровое расстояние между соседними поперечными нитями может находиться в диапазоне от 0,025 миллиметра до 0,5 миллиметра. В частности, среднее межцентровое расстояние между соседними поперечными нитями может составлять не более 0,025 миллиметра, не более 0,05 миллиметра, не более 0,1 миллиметра, не более 0,15 миллиметра, не более 0,2 миллиметра, не более 0,25 миллиметра, не более 0,3 миллиметра, не более 0,35 миллиметра, не более 0,4 миллиметра, не более 0,45 миллиметра или не более 0,5 миллиметра. Также допускается, что среднее межцентровое расстояние между соседними нитями составляет не более чем 1 миллиметр или даже не более чем 2 миллиметра.
Как упоминалось выше, продольные нити выполнены с возможностью их индукционного нагрева. Соответственно, продольные нити предпочтительно содержат одну или более первых нитей, которые содержат первый токоприемный материал. Аналогичным образом поперечные нити также могут содержать одну или более первых нитей, которые содержат первый токоприемный материал.
Предпочтительно множество первых нитей представляет собой нити из твердого материала. Нити из твердого материала недороги и просты в изготовлении. Кроме того, нити из твердого материала обеспечивают хорошую механическую стабильность, что делает пучок нитей прочным. По тем же причинам множество первых нитей предпочтительно представляет собой нити из материала одного сорта. Соответственно, множество первых нитей предпочтительно выполнено из первого токоприемного материала.
В контексте данного документа термин «токоприемный материал» обозначает материал, который способен преобразовывать электромагнитную энергию в тепло при воздействии на него переменного магнитного поля. Это может быть результатом по меньшей мере одного из потерь на гистерезис или вихревых токов, индуцированных в токоприемном материале, в зависимости от электрических и магнитных свойств. Потери на гистерезис происходят в ферромагнитных или ферримагнитных токоприемных материалах в связи с переключением магнитных доменов внутри материала под влиянием переменного электромагнитного поля. Вихревые токи индуцируются в электропроводящих токоприемных материалах. В случае электрически проводящего ферромагнитного или ферримагнитного токоприемного материала тепло генерируется посредством как вихревых токов, так и потерь на гистерезис.
Соответственно, первый токоприемный материал может быть выполнен из любого материала, который может быть индукционно нагрет до температуры, достаточной для генерирования аэрозоля из субстрата, образующего аэрозоль. Поэтому первый токоприемный материал может содержать или может быть выполнен из материала, который является по меньшей мере одним из электропроводящих и ферромагнитных или ферримагнитных материалов, соответственно. То есть, первый токоприемный материал может содержать или может быть выполнен из одного из ферримагнитного материала, или ферромагнитного материала, или электропроводящего материала, или электропроводящего ферримагнитного материала, или электропроводящего ферромагнитного материала.
Например, первый токоприемный материал может содержать или может быть выполнен из одного из феррита, алюминия, железа, никеля, меди, бронзы, кобальта, сплава никеля, простой углеродистой стали, нержавеющей стали, ферритной нержавеющей стали, ферромагнитной нержавеющей стали, мартенситной нержавеющей стали или аустенитной нержавеющей стали.
Капиллярность или капиллярный эффект обычно основывается на уменьшении поверхностной энергии двух отдельных поверхностей, поверхности жидкости и твердой поверхности нитей. Капиллярность или капиллярный эффект включает в себя эффект, который зависит от радиуса кривизны как поверхности жидкости, так и нитей. Следовательно, может возникнуть потребность в больших площадях поверхности и малых радиусах кривизны, и то и другое достигается за счет малого диаметра нитей и матрицеобразной природы узла токоприемника. Радиус кривизны нитей важен, поскольку жидкость смачивает нити.
Соответственно, множество первых нитей может иметь диаметр не более 0,025 миллиметра, не более 0,05 миллиметра, не более 0,1 миллиметра, не более 0,15 миллиметра, не более 0,2 миллиметра, не более 0,25 миллиметра, не более 0,3 миллиметра, не более 0,35 миллиметра, не более 0,4 миллиметра, не более 0,45 миллиметра или не более 0,5 миллиметра.
Наоборот, диаметр первых нитей предпочтительно имеет определенный минимум, связанный с так называемой глубиной поверхностного слоя. Глубина поверхностного слоя является мерой того, насколько глубоко имеет место электрическая проводимость в электропроводящем токоприемном материале при индукционном нагреве. В отличие от постоянных токов, переменные токи в основном протекают в «поверхностном слое» электрического проводника между наружной поверхностью проводника и уровнем, который называется глубиной поверхностного слоя. Плотность переменного тока является наибольшей вблизи поверхности проводника и уменьшается с большей глубиной в проводнике. Данное явление известно как поверхностный эффект, который в основном обусловлен противоположными вихревыми токами, индуцированными переменным магнитным полем. Предпочтительно множество первых нитей имеет диаметр, по меньшей мере в два раза превышающий глубину поверхностного слоя, для индуцирования достаточное количество вихревых токов и, таким образом, для генерирования достаточного количества тепловой энергии.
В целом, глубина поверхностного слоя зависит от проницаемости и электропроводности токоприемного материала, а также от частоты управляющего переменного тока или частоты переменного магнитного поля, соответственно. Предпочтительно узел токоприемника управляется высокочастотным переменным магнитным полем. В контексте данного документа высокочастотное электромагнитное поле может находиться в диапазоне от 500 кГц (килогерц) до 30 МГц (мегагерц), в частности от 5 МГц (мегагерц) до 15 МГц (мегагерц), предпочтительно от 5 МГц (мегагерц) до 10 МГц (мегагерц).
В зависимости от материалов и частоты используемого переменного магнитного поля множество первых нитей может иметь диаметр не менее 0,015 миллиметра, не менее 0,02 миллиметра, не менее 0,025 миллиметра, не менее 0,05 миллиметра, не менее 0,075 миллиметра, не менее 0,1 миллиметра, не менее 0,125 миллиметра, не менее 0,15 миллиметра, не менее 0,2 миллиметра, не менее 0,3 миллиметра или не менее 0,4 миллиметра.
В целом, множество первых нитей может иметь любую форму поперечного сечения, подходящую для переноса жидкости, образующей аэрозоль, расположенную в матрице. Соответственно, по меньшей мере одна из, в частности каждая из множества первых нитей, может иметь круглое, эллипсоидальное, овальное, треугольное, прямоугольное, квадратное, шестиугольное или многоугольное поперечное сечение. Предпочтительно все первые нити имеют одинаковое поперечное сечение. Также допускается, чтобы одна или более нитей из множества первых нитей имели поперечное сечение, которое отличается от поперечных сечений одной или более других нитей из множества первых нитей. Предпочтительно множество первых нитей имеет круглое, эллипсоидальное или овальное поперечное сечение. Преимущественно последние формы поперечного сечения обеспечивают то, что нити в соответствующей матрице находятся только в линейном контакте друг с другом, но не в контакте по площади, если вообще находятся в линейном контакте. Благодаря этому, между множествами нитей сами по себе образуются узкие промежутки, которые способствуют капиллярному эффекту, необходимому для переноса жидкости, образующей аэрозоль.
Поверхность множества первых нитей может быть обработана. В частности, множество первых нитей может содержать, по меньшей мере частично, поверхностное покрытие, например поверхностное покрытие, усиливающее образование аэрозоля, поверхностное покрытие, притягивающее жидкость, поверхностное покрытие, отталкивающее жидкость, или антибактериальное поверхностное покрытие. Поверхностное покрытие, усиливающее образование аэрозоля, преимущественно может увеличить разнообразие ощущений пользователя. Поверхностное покрытие, притягивающее жидкость, может быть полезным в отношении усиления капиллярного эффекта пучка нитей. Антибактериальное поверхностное покрытие может служить для уменьшения бактериального загрязнения. Поверхностное покрытие, отталкивающее жидкость, в частности на конце нитей, может предотвратить капание жидкости.
В зависимости от доступного пространства, размеров нитей и количества переносимой и нагреваемой жидкости, образующей аэрозоль, множество первых нитей в пучке нитей может содержать от 2 до 100 первых нитей, в частности, от 10 до 80 первых нитей, предпочтительно от 20 до 80 первых нитей, предпочтительно от 30 до 50 первых нитей, например, 40 первых нитей.
Предпочтительно количество продольных нитей больше чем количество поперечных нитей. Соответственно, матрица продольных нитей может содержать больше первых нитей, чем матрица поперечных нитей.
В дополнение к множеству первых нитей, по меньшей мере одно из продольных нитей и поперечных нитей может дополнительно содержать множество вторых нитей, которые содержат второй токоприемный материал. В то время как первый токоприемный материал множества первых нитей может быть оптимизирован в отношении потерь тепла и, таким образом, эффективности нагрева, второй токоприемный материал может быть преимущественно использован в качестве температурного маркера. Для этого второй токоприемный материал предпочтительно содержит один из ферримагнитного материала или ферромагнитного материала. В частности второй токоприемный материал выбран таким образом, чтобы иметь температуру Кюри, соответствующую заданной температуре нагрева узла токоприемника. Магнитные свойства второго токоприемного материала при его температуре Кюри изменяются с ферромагнитных или ферримагнитных на парамагнитные, что сопровождается временным изменением его электрического сопротивления. Таким образом, путем отслеживания соответствующего изменения электрического тока, поглощаемого индукционным источником, можно обнаружить, когда второй токоприемный материал достиг своей температуры Кюри и, таким образом, когда была достигнута заданная температура нагрева.
Предпочтительно первый токоприемный материал отличается от второго токоприемного материала.
Второй токоприемный материал предпочтительно имеет температуру Кюри, которая ниже 500 градусов Цельсия. В частности, второй токоприемный материал может иметь температуру Кюри ниже 350 градусов Цельсия, предпочтительно ниже 300 градусов Цельсия, более предпочтительно ниже 250 градусов Цельсия, еще более предпочтительно ниже 200 градусов Цельсия, наиболее предпочтительно ниже 150 градусов Цельсия. Предпочтительно температуру Кюри выбирают такой, чтобы она была ниже точки кипения жидкости, образующей аэрозоль, которая подлежит испарению, чтобы предотвратить образование опасных компонентов в аэрозоле.
Подходящие материалы для второго токоприемного материала могут включать никель и определенные сплавы никеля. Аналогичным образом второй токоприемный материал может содержать один из мю-металла или пермаллоя. В частности, второй токоприемный материал может иметь относительную максимальную магнитную проницаемость по меньшей мере 80 или по меньшей мере 100, более конкретно по меньшей мере 1000, предпочтительно по меньшей мере 10000 для частот не более чем 50 кГц и температуры 25 градусов Цельсия.
Помимо этого, множество вторых нитей могут иметь такие же или подобные свойства, как описано выше в отношении множества первых нитей.
Соответственно, множество вторых нитей может представлять собой нити из твердого материала. К тому же, множество вторых нитей может представлять собой нити из материала одного сорта. В частности, множество вторых нитей могут быть выполнены из второго токоприемного материала.
Аналогичным образом поверхность множества вторых нитей может быть обработана. В частности, множество вторых нитей может содержать поверхностное покрытие, например поверхностное покрытие, усиливающее образование аэрозоля, поверхностное покрытие, притягивающее жидкость, поверхностное покрытие, отталкивающее жидкость, или антибактериальное поверхностное покрытие.
К тому же, по меньшей мере одна из, в частности каждая из множества вторых нитей, может иметь круглое, эллипсоидальное, овальное, треугольное, прямоугольное, квадратное, шестиугольное или многоугольное поперечное сечение.
По тем же причинам, что обсуждались выше в отношении множества первых нитей, множество вторых нитей может иметь диаметр не менее 0,015 миллиметра, не менее 0,02 миллиметра, не менее 0,025 миллиметра, не менее 0,05 миллиметра, не менее 0,075 миллиметра, не менее 0,1 миллиметра, не менее 0,125 миллиметра, не менее 0,15 миллиметра, не менее 0,2 миллиметра, не менее 0,3 миллиметра или не менее 0,4 миллиметра. Аналогичным образом множество вторых нитей может иметь диаметр не более 0,025 миллиметра, не более 0,05 миллиметра, не более 0,1 миллиметра, не более 0,15 миллиметра, не более 0,2 миллиметра, не более 0,25 миллиметра, не более 0,3 миллиметра, не более 0,35 миллиметра, не более 0,4 миллиметра, не более 0,45 миллиметра или не более 0,5 миллиметра.
В любой из матрицы продольных нитей и матрицы поперечных нитей, множество первых нитей и множество вторых нитей может иметь одинаковый диаметр. Как следствие, капиллярный эффект и скорость сдвига одинаковы по всему узлу токоприемника. И наоборот, также допускается, чтобы множество первых нитей и множество вторых нитей имели различный диаметр. Различные диаметры нитей можно использовать для изменения капиллярного эффекта по всему узлу токоприемника.
По меньшей мере одна из матрицы продольных нитей и матрицы поперечных нитей содержит 1-100 вторых нитей, в частности, 10-80 вторых нитей, предпочтительно 20-60 вторых нитей, предпочтительно 30-50 вторых нитей, например, 40 вторых нитей. Как рассмотрено выше, количество продольных нитей предпочтительно больше чем количество поперечных нитей. Соответственно, матрица продольных нитей может содержать больше вторых нитей, чем матрица поперечных нитей.
В целом, количество первых нитей может быть таким же как количество вторых нитей в любой из матрицы продольных нитей и матрицы поперечных нитей. Однако также допускается, чтобы количество первых нитей отличалось от количества вторых нитей. В частности, количество первых нитей может быть больше, например, в два или три раза, или в четыре раза, или в пять раз, или в шесть раз, или в семь раз, или в восемь раз, или в девять раз, или в десять раз, чем количество вторых нитей. Это, в частности, относится к случаям, когда вторые нити используются в качестве генераторов температуры, для чего достаточно небольшого количества вторых нитей.
Одна или более первых нитей и одна или более вторых нитей по существу равномерно распределены по меньшей мере по одной из матрицы продольных нитей и матрицы поперечных нитей. Равномерное распределение может поддерживать равномерный капиллярный эффект по всему токоприемнику. В качестве альтернативы также допускается, что одна или более первых нитей и одна или более вторых нитей по существу неравномерно распределены по меньшей мере по одной из матрицы продольных нитей и матрицы поперечных нитей. Например, множество вторых нитей может быть распределено по пучку нитей случайным образом. К тому же, допускается, что длина множества вторых нитей может отличаться от длины множества первых нитей. В частности, длина множества вторых нитей может быть короче длины множества первых нитей. И наоборот, длина множества вторых нитей может быть больше, чем длина множества первых нитей.
Матрица поперечных нитей может не содержать какие-либо вторые нити.
Согласно другому аспекту настоящего изобретения предложен индукционный нагревательный узел, предназначенный для переноса и индукционного нагрева жидкости, образующей аэрозоль. Нагревательный узел содержит по меньшей мере один узел токоприемника для переноса жидкости согласно настоящему изобретению и как описано в настоящем документе. Нагревательный узел дополнительно содержит по меньшей мере один индукционный источник, выполненный и размещенный с возможностью генерирования переменного магнитного поля в секции нагрева по меньшей мере одного узла токоприемника для переноса жидкости, в частности, в секции нагрева пучка нитей.
Для генерирования переменного магнитного поля индукционный источник может содержать по меньшей мере один индуктор, предпочтительно по меньшей мере одну индукционную катушку. Предпочтительно индукционная катушка расположена по меньшей мере вокруг секции нагрева узла токоприемника для переноса жидкости, в частности, по меньшей мере вокруг секции нагрева пучка нитей.
По меньшей мере одна индукционная катушка может представлять собой винтовую катушку или плоскую катушку планарного типа, в частности дисковую катушку или изогнутую катушку планарного типа. Использование плоской спиральной катушки обеспечивает компактность конструкции, которая является надежной и недорогой в производстве. Использование спиралевидной индукционной катушки преимущественно обеспечивает генерирование однородного переменного магнитного поля. В контексте данного документа «плоская спиральная катушка» обозначает катушку, являющуюся в общем плоской, где ось наматывания катушки перпендикулярна плоскости, в которой лежит катушка. Плоская спиральная индукционная катушка может иметь любую требуемую форму в плоскости катушки. Например, плоская спиральная катушка может иметь круглую форму или может иметь в общем продолговатую или прямоугольную форму. Однако термин «плоская спиральная катушка» в контексте данного документа охватывает как катушки, являющиеся планарными, так и плоские спиральные катушки, форма которых соответствует изогнутой поверхности. Например, индукционная катушка может представлять собой «изогнутую» катушку планарного типа, размещенную по окружности предпочтительно цилиндрического держателя катушки, например, ферритового сердечника. К тому же, плоская спиральная катушка может содержать, например, два слоя четырехвитковой плоской спиральной катушки или один слой четырехвитковой плоской спиральной катушки.
По меньшей мере одна индукционная катушка может удерживаться внутри одного из корпуса нагревательного узла, или основной части, или корпуса устройства, генерирующего аэрозоль, которое содержит нагревательный узел.
Как дополнительно описано выше в отношении узла токоприемника, секция нагрева узла токоприемника для переноса жидкости, в частности, секция нагрева несетчатого участка, может быть расположена на одном из двух продольных концевых участков матрицы продольных нитей. Эта конфигурация может преимущественно предотвращать кипение жидкости, образующей аэрозоль, в случае, если узел токоприемника содержит секцию пропитки на противоположном конце продольного концевого участка матрицы продольных нитей, в частности, в сетчатом участке.
Длина секции нагрева может быть выбрана такой, чтобы генерировать требуемое количество аэрозоля. Чем короче секция нагрева, тем меньше жидкости, образующей аэрозоль, испаряется и, таким образом, меньше аэрозоля генерируется. Соответственно, секция нагрева несетчатого участка может иметь длину по меньшей мере 5 процентов, 10 процентов, 20 процентов, 30 процентов, 40 процентов, 50 процентов, 60 процентов, 70 процентов, 80 процентов размера по длине несетчатого участка по протяженности в длину продольных нитей. Аналогичным образом секция нагрева несетчатого участка может иметь длину не более 10 процентов, 20 процентов, 30 процентов, 40 процентов, 50 процентов, 60 процентов, 70 процентов, 80 процентов, 90 процентов или 100 процентов размера по длине несетчатого участка по протяженности в длину продольных нитей.
Узел токоприемника может быть расположен со смещением от центра относительно оси симметрии переменного магнитного поля, генерируемого индукционным источником при использовании нагревательного узла. Преимущественно из-за расположения со смещением от центра, то есть асимметричного расположения, узел токоприемника расположен в области переменного магнитного поля, имеющего более высокую плотность поля по сравнению с симметричным расположением относительно центра. Как следствие, эффективность нагрева преимущественно повышается.
Индукционный источник может содержать генератор переменного тока (AC). Генератор переменного тока может получать питание от источника питания устройства, генерирующего аэрозоль. Генератор AC функционально соединен с по меньшей мере одной индукционной катушкой. В частности, по меньшей мере одна индукционная катушка может быть неотделимой частью генератора AC. Генератор переменного тока выполнен с возможностью генерирования высокочастотного колебательного тока для прохождения через по меньшей мере одну индукционную катушку для генерирования переменного магнитного поля. Переменный ток можно подавать на по меньшей мере одну индукционную катушку непрерывно после активации системы или можно подавать с перерывами, например от затяжки к затяжке.
Предпочтительно индукционный источник содержит преобразователь постоянного тока в переменный, соединенный с источником питания постоянного тока, содержащим LC-цепь, при этом LC-цепь содержит последовательное соединение конденсатора и индуктора.
Индукционный источник предпочтительно выполнен с возможностью генерирования высокочастотного магнитного поля. В контексте данного документа высокочастотное магнитное поле может существовать в диапазоне от 500 кГц (килогерц) до 30 МГц (мегагерц), в частности от 5 МГц (мегагерц) до 15 МГц (мегагерц), предпочтительно от 5 МГц (мегагерц) до 10 МГц (мегагерц).
Нагревательный узел может дополнительно содержать контроллер, приспособленный для управления работой нагревательного узла. В частности, контроллер может быть выполнен с возможностью управления работой индукционного источника, предпочтительно в конфигурации с обратной связью, для управления нагревом жидкости, образующей аэрозоль, до заданной рабочей температуры. Рабочая температура, используемая для нагрева жидкости, образующей аэрозоль, может находиться в диапазоне от 100 градусов Цельсия до 300 градусов Цельсия, в частности, от 150 градусов Цельсия до 250 градусов Цельсия, например 230 градусов Цельсия. Эти температуры являются обычными рабочими температурами для нагрева, но не сжигания субстрата, образующего аэрозоль. Жидкость, образующая аэрозоль, может представлять собой жидкость, образующую аэрозоль, на водной основе или жидкость, образующую аэрозоль, на масляной основе.
Контроллер может содержать микропроцессор, например, программируемый микропроцессор, микроконтроллер, или специализированную интегральную схему (ASIC), или другую электронную схему, способную обеспечивать управление. Контроллер может содержать дополнительные электронные компоненты, такие как по меньшей мере один преобразователь постоянного тока в переменный и/или усилители мощности, например усилитель мощности класса С или усилитель мощности класса D, или усилитель мощности класса E. В частности, индукционный источник может быть частью контроллера.
Контроллер может представлять собой главный контроллер, или его часть, устройства, генерирующего аэрозоль, частью которого является нагревательный узел согласно настоящему изобретению.
Нагревательный узел может содержать источник питания, в частности источник питания постоянного тока, выполненный с возможностью обеспечения напряжения питания постоянного тока и силы постоянного тока для индукционного источника. Предпочтительно источник питания является батареей, такой как литий-железо-фосфатная батарея. В качестве альтернативы источник питания может представлять собой устройство накопления заряда другого типа, такое как конденсатор. Источник питания может нуждаться в перезарядке, то есть источник питания может быть перезаряжаемым. Источник питания может иметь емкость, которая позволяет накапливать достаточно энергии для одного или более применений пользователем. Например, источник питания может иметь достаточную емкость для обеспечения возможности непрерывного генерирования аэрозоля в течение периода, составляющего приблизительно шесть минут, или в течение периода, который является кратным шести минутам. В еще одном примере источник питания может иметь емкость, достаточную для обеспечения возможности выполнения предварительно определенного количества затяжек или отдельных активаций индукционного источника. Источник питания может представлять собой главный источник питания устройства, генерирующего аэрозоль, частью которого является нагревательный узел согласно настоящему изобретению.
Нагревательный узел может дополнительно содержать концентратор потока, расположенный вокруг по меньшей мере участка индукционной катушки и выполненный с возможностью искажения переменного магнитного поля по меньшей мере одного индукционного источника в сторону узла токоприемника, в частности, в сторону секции нагрева узла токоприемника при использовании нагревательного узла. Концентратор потока предпочтительно содержит фольгу концентратора потока, в частности многослойную фольгу концентратора потока.
Дополнительные признаки и преимущества нагревательного узла согласно настоящему изобретению уже были описаны применительно к узлу токоприемника согласно настоящему изобретению и, таким образом, являются в равной степени применимыми.
Согласно настоящему изобретению также предусмотрено изделие, генерирующее аэрозоль, предназначенное для использования с устройством, генерирующим аэрозоль, с индукционным нагревом. Изделие содержит по меньшей мере один резервуар для хранения жидкости, образующей аэрозоль, при этом резервуар для жидкости содержит выпускное отверстие. Изделие дополнительно содержит по меньшей мере один узел токоприемника для переноса жидкости согласно настоящему изобретению и как описано в данном документе для подачи жидкости, образующей аэрозоль, из резервуара для жидкости через выпускное отверстие в область за пределами резервуара для жидкости.
В контексте данного документа термин «изделие, генерирующее аэрозоль» относится к расходной части, предназначенной для использования с устройством, генерирующим аэрозоль, с индукционным нагревом, в частности к расходной части, подлежащей утилизации после однократного использования. Например, изделие может представлять собой картридж, который вставляется в устройство, генерирующее аэрозоль, с индукционным нагревом. Предпочтительно изделие, генерирующее аэрозоль, содержит по меньшей мере одну жидкость, образующую аэрозоль, которая предназначена для нагрева, а не для сжигания, и которая при нагреве высвобождает летучие соединения, которые могут образовывать аэрозоль.
Предпочтительно узел токоприемника содержит по меньшей мере одну секцию пропитки, расположенную в резервуаре для жидкости. Как описано выше, секция пропитки узла токоприемника может быть расположена на продольном концевом участке матрицы продольных нитей. В этой конфигурации узел токоприемника может содержать секцию нагрева на противоположном концевом участке матрицы продольных нитей.
Предпочтительно секция пропитки является частью сетчатого участка или наоборот, сетчатый участок предпочтительно является частью секции пропитки.
Длина секции пропитки может преимущественно использоваться для регулирования количества жидкости, образующей аэрозоль, которая должна впитываться и переноситься из резервуара для жидкости. Соответственно, секция пропитки сетчатого участка может иметь длину не более 10 процентов, не более 20 процентов, не более 30 процентов, не более 40 процентов, не более 50 процентов или не более 60 процентов сетчатого участка по протяженности в длину продольных нитей. И наоборот, по меньшей мере одна секция пропитки сетчатого участка может иметь длину по меньшей мере 10 процентов, по меньшей мере 20 процентов, по меньшей мере 30 процентов, по меньшей мере 40 процентов, по меньшей мере 50 процентов или по меньшей мере 60 процентов сетчатого участка по протяженности в длину продольных нитей. В частности, по меньшей мере одна секция пропитки сетчатого участка может иметь длину 10 процентов, 20 процентов, 30 процентов, 40 процентов, 50 процентов или 60 процентов сетчатого участка по протяженности в длину продольных нитей.
Аналогичным образом секция пропитки узла токоприемника может быть расположена между двумя продольными концевыми участками матрицы продольных нитей. В этой конфигурации оба продольных концевых участка узла токоприемника можно использовать в качестве секций нагрева. В частности, узел токоприемника может содержать несетчатый участок, который расположен между обоими продольными концевыми участками матрицы продольных нитей, и два сетчатых участка на продольных концевых участках матрицы продольных нитей, по одному на каждом конце.
Также допускается, чтобы узел токоприемника содержал две секции пропитки, каждая из которых расположена в резервуаре для жидкости. Предпочтительно две секции пропитки могут быть расположены на продольных концевых участках матрицы продольных нитей, по одной на каждом конце. В этой конфигурации участок между обоими продольными концевыми участками матрицы продольных нитей можно использовать в качестве секции нагрева. В частности, узел токоприемника может содержать сетчатый участок, который расположен между обоими продольными концевыми участками матрицы продольных нитей, и два несетчатых участка на продольных концевых участках матрицы продольных нитей, по одному на каждом конце.
Изделие, генерирующее аэрозоль, может представлять собой изделие, генерирующее аэрозоль, для одноразового использования или изделие, генерирующее аэрозоль, для многократного использования. В последнем случае изделие, генерирующее аэрозоль, может быть повторно заправляемым. То есть резервуар может быть повторно заполнен жидкостью, образующей аэрозоль. В любой конфигурации изделие, генерирующее аэрозоль, может дополнительно содержать жидкость, образующую аэрозоль, содержащуюся резервуаре для жидкости.
В контексте данного документа термин «жидкость, образующая аэрозоль» относится к жидкости, способной высвобождать летучие соединения, которые могут образовывать аэрозоль при нагреве жидкости, образующей аэрозоль. Жидкость, образующая аэрозоль, может содержать как твердые, так и жидкие материал, образующий аэрозоль, или компоненты. Жидкость, образующая аэрозоль, может содержать табакосодержащий материал, содержащий летучие табачные вкусоароматические соединения, которые высвобождаются из жидкости при нагреве. Альтернативно или дополнительно жидкость, образующая аэрозоль, может содержать нетабачный материал. Жидкость, образующая аэрозоль, может дополнительно содержать вещество для образования аэрозоля. Примерами подходящих веществ для образования аэрозоля являются глицерин и пропиленгликоль. Жидкость, образующая аэрозоль, также может содержать другие добавки и ингредиенты, такие как никотин или ароматизаторы. В частности, жидкость, образующая аэрозоль, может содержать воду, растворители, этанол, растительные экстракты и натуральные или искусственные ароматизаторы. Жидкость, образующая аэрозоль, может представлять собой жидкость, образующую аэрозоль, на водной основе или жидкость, образующую аэрозоль, на масляной основе.
Кроме того, изделие может содержать мундштук. В контексте данного документа термин «мундштук» обозначает часть устройства, которая помещается в рот пользователя для непосредственного вдыхания аэрозоля из изделия. Предпочтительно мундштук содержит фильтр. Фильтр можно использовать для отфильтровки нежелательных компонентов аэрозоля. Фильтр может также содержать дополнительный материал, например ароматизирующий материал, добавляемый в аэрозоль.
Изделие может иметь простую конструкцию. Изделие может иметь корпус, содержащий резервуар для жидкости и, при наличии, второй резервуар для жидкости. Корпус предпочтительно представляет собой жесткий корпус, состоящий из непроницаемого для жидкости материала. Корпус может содержать или может быть выполнен из одного из PEEK (полиэфирэфиркетона), PP (полипропилена), PE (полиэтилена) или PET (полиэтилентерефталата). PP, PE и PET особенно экономичны и легко поддаются формованию, в частности экструдированию. В контексте данного документа, «жесткий корпус» означает корпус, который является самонесущим. Субстрат, образующий аэрозоль, является субстратом, который может высвобождать летучие соединения, которые могут образовывать аэрозоль. Корпус также может содержать гибкие участки или сложенные участки. Корпус может дополнительно содержать по меньшей мере одно вентиляционное отверстие для компенсации объема.
Дополнительные признаки и преимущества изделия, генерирующего аэрозоль, согласно настоящему изобретению уже были описаны применительно к узлу токоприемника согласно настоящему изобретению и, таким образом, являются в равной степени применимыми.
Согласно данному изобретению предусмотрена система, генерирующая аэрозоль, содержащая устройство, генерирующее аэрозоль, с индукционным нагревом, изделие, генерирующее аэрозоль, для использования с устройством, генерирующим аэрозоль, и индукционный нагревательный узел согласно настоящему изобретению и как описано в данном документе. Индукционный источник нагревательного узла может быть частью устройства, генерирующего аэрозоль, с индукционным нагревом, и узел токоприемника для переноса жидкости нагревательного узла может быть частью изделия, генерирующего аэрозоль.
При наличии, контроллер нагревательного узла может быть частью устройства, генерирующего аэрозоль, в частности расположенным в устройстве, генерирующем аэрозоль. Предпочтительно контроллер устройства, генерирующего аэрозоль, может содержать или может представлять собой контроллер нагревательного узла.
Аналогичным образом, при наличии, источник питания нагревательного узла может быть частью устройства, генерирующего аэрозоль, в частности расположенным в устройстве, генерирующем аэрозоль. Предпочтительно источник питания устройства, генерирующего аэрозоль, может содержать или может представлять собой источник питания нагревательного узла.
В контексте данного документа термин «устройство, генерирующее аэрозоль» используется для описания электрического устройства, способного взаимодействовать с по меньшей мере одним изделием, генерирующим аэрозоль, содержащим по меньшей мере одну жидкость, образующую аэрозоль, например для генерирования аэрозоля посредством индукционного нагрева узла токоприемника, и таким образом, с жидкостью, образующей аэрозоль, в изделии. Предпочтительно устройство, генерирующее аэрозоль, представляет собой устройство для затяжки для генерирования аэрозоля, непосредственно вдыхаемого пользователем через рот. В частности, устройство, генерирующее аэрозоль, является удерживаемым рукой устройством, генерирующим аэрозоль.
Устройство, генерирующее аэрозоль, может содержать приемную полость для вмещения с возможностью извлечения по меньшей мере части изделия, генерирующего аэрозоль.
Индукционная катушка индукционного источника может быть расположена, например, с возможностью окружения по меньшей мере участка приемной полости, в частности, например, с возможностью окружения по меньшей мере участка узла токоприемника изделия, генерирующего аэрозоль, в частности, секции нагрева несетчатого участка, когда изделие, генерирующее аэрозоль, размещено в приемной полости.
Помимо конкретной конфигурации узла токоприемника нагревательного узла, изделие, генерирующее аэрозоль, системы, генерирующей аэрозоль, может представлять собой изделие, генерирующее аэрозоль, согласно настоящему изобретению и как описано выше.
Дополнительные признаки и преимущества системы, генерирующей аэрозоль, согласно настоящему изобретению были описаны в отношении узла токоприемника, изделия, генерирующего аэрозоль, и нагревательного узла согласно настоящему изобретению, и, следовательно, являются в равной степени применимыми.
Изобретение определено в формуле изобретения. Однако ниже предложен не являющийся исчерпывающим перечень неограничивающих примеров. Любые один или более из признаков этих примеров можно комбинировать с любыми одним или более признаками другого примера, варианта осуществления или аспекта, описанных в данном документе.
Пример Ex1: Узел токоприемника для переноса жидкости, предназначенный для переноса и индукционного нагрева жидкости, образующей аэрозоль, под воздействием переменного магнитного поля, причем узел токоприемника содержит матрицу индукционно нагреваемых продольных нитей, расположенных рядом друг с другом, и матрицу поперечных нитей, расположенных рядом друг с другом, и пересекающих матрицу продольных нитей поперечно протяженности в длину продольных нитей, при этом матрица поперечных нитей проходит только вдоль части длины матрицы продольных нитей, так что узел токоприемника содержит по меньшей мере один сетчатый участок и по меньшей мере один несетчатый участок.
Пример Ex2: Узел токоприемника, согласно примеру Ex1, при этом по меньшей мере один сетчатый участок расположен на одном из двух продольных концевых участков матрицы продольных нитей.
Пример Ex3: Узел токоприемника, согласно примеру Ex1, при этом по меньшей мере один сетчатый участок расположен между обоими продольными концевыми участками матрицы продольных нитей.
Пример Ex4: Узел токоприемника согласно любому из предыдущих примеров, при этом по меньшей мере один несетчатый участок расположен на продольном концевом участке матрицы продольных нитей.
Пример Ex5: Узел токоприемника согласно любому из примеров Ex1 или Ex2, при этом по меньшей мере один несетчатый участок расположен между обоими продольными концевыми участками матрицы продольных нитей.
Пример Ex6: Узел токоприемника согласно любому из предыдущих примеров, при этом размер по длине продольных нитей находится в диапазоне от 5 миллиметров до 50 миллиметров, в частности, от 10 миллиметров до 40 миллиметров, предпочтительно от 10 миллиметров до 30 миллиметров, более предпочтительно от 10 миллиметров до 20 миллиметров.
Пример Ex7: Узел токоприемника согласно любому из предыдущих примеров, при этом размер по длине несетчатого участка по протяженности в длину продольных нитей составляет по меньшей мере 5 процентов, 10 процентов, 20 процентов, 30 процентов, 40 процентов, 50 процентов, 60 процентов, 70 процентов или 80 процентов размера по длине продольных нитей.
Пример Ex8: Узел токоприемника согласно любому из предыдущих примеров, при этом размер по длине несетчатого участка по протяженности в длину продольных нитей составляет не более 10 процентов, 20 процентов, 30 процентов, 40 процентов, 50 процентов, 60 процентов, 70 процентов, 80 процентов или 90 процентов размера по длине продольных нитей.
Пример Ex9: Узел токоприемника согласно любому из предыдущих примеров, при этом размер по длине сетчатого участка по протяженности в длину продольных нитей составляет не более 90 процентов, не более 80 процентов, не более 75 процентов, не более 70 процентов, не более 60 процентов, не более 50 процентов, не более 40 процентов, не более 30 процентов, не более 25 процентов или не более 20 процентов размера по длине продольных нитей.
Пример Ex10: Узел токоприемника согласно любому из предыдущих примеров, при этом размер по длине сетчатого участка по протяженности в длину продольных нитей составляет по меньшей мере 5 процентов, по меньшей мере 10 процентов, по меньшей мере 20 процентов, по меньшей мере 25 процентов, по меньшей мере 30 процентов, по меньшей мере 40 процентов, по меньшей мере 50 процентов, по меньшей мере 60 процентов, по меньшей мере 70 процентов, по меньшей мере 75 процентов, по меньшей мере 80 процентов размера по длине продольных нитей.
Пример Ex11: Узел токоприемника согласно любому из предыдущих примеров, при этом матрица поперечных нитей проходит по всему поперечному размеру матрицы продольных нитей перпендикулярно протяженности в длину продольных нитей.
Пример Ex12: Узел токоприемника согласно любому из предыдущих примеров, при этом поперечные нити расположены перпендикулярно протяженности в длину продольных нитей.
Пример Ex13: Узел токоприемника согласно любому из предыдущих примеров, при этом матрица продольных нитей имеет по существу цилиндрическую форму или по существу полую цилиндрическую форму.
Пример Ex14: Узел токоприемника согласно любому из примеров Ex1-Ex12, при этом матрица продольных нитей имеет по существу коническую форму или по существу форму усеченного конуса, в частности, по существу полую коническую форму или по существу полую форму усеченного конуса.
Пример Ex15: Узел токоприемника согласно любому из предыдущих примеров, при этом матрица поперечных нитей имеет по существу форму кольца.
Пример Ex16: Узел токоприемника согласно любому из предыдущих примеров, при этом среднее межцентровое расстояние между соседними продольными нитями находится в диапазоне от 0,1 миллиметра до 2 миллиметров, в частности, от 0,1 миллиметра до 1 миллиметра.
Пример Ex17: Узел токоприемника согласно любому из предыдущих примеров, при этом среднее межцентровое расстояние между соседними поперечными нитями находится в диапазоне от 0,025 миллиметра до 0,5 миллиметра.
Пример Ex18: Узел токоприемника согласно любому из предыдущих примеров, при этом поперечные нити являются индукционно нагреваемыми.
Пример Ex19: Узел токоприемника согласно любому из предыдущих примеров, при этом по меньшей мере одна их продольных нитей и поперечных нитей содержит одну или более первых нитей, содержащих первый токоприемный материал.
Пример Ex20: Узел токоприемника согласно примеру Ex19, при этом одна или более первых нитей представляют собой нити из твердого материала.
Пример Ex21: Узел токоприемника согласно любому из примеров Ex19 или Ex20, при этом одна или более первых нитей представляют собой нити из материала одного сорта.
Пример Ex22: Узел токоприемника согласно любому из примеров Ex19-Ex21, при этом одна или более первых нитей выполнены из первого токоприемного материала.
Пример Ex23: Узел токоприемника согласно любому из примеров Ex19-Ex22, при этом первый токоприемный материал содержит или выполнен из одного из ферримагнитного материала, или ферромагнитного материала, или электропроводящего материала, или электропроводящего ферримагнитного материала, или электропроводящего ферромагнитного материала.
Пример Ex24: Узел токоприемника согласно любому из примеров Ex19-Ex23, при этом первый токоприемный материал содержит или выполнен из одного из феррита, алюминия, железа, никеля, меди, бронзы, кобальта, сплава никеля, простой углеродистой стали, нержавеющей стали, ферритной нержавеющей стали, стали, ферромагнитной нержавеющей стали, мартенситной нержавеющей стали или аустенитной нержавеющей стали.
Пример Ex25: Узел токоприемника согласно любому из примеров Ex19-Ex24, при этом множество первых нитей имеет диаметр по меньшей мере 0,015 миллиметра, по меньшей мере 0,02 миллиметра, по меньшей мере 0,025 миллиметра, по меньшей мере 0,05 миллиметра, по меньшей мере 0,075 миллиметра, по меньшей мере 0,1 миллиметра, по меньшей мере 0,125 миллиметра, по меньшей мере 0,15 миллиметра, по меньшей мере 0,2 миллиметра, по меньшей мере 0,3 миллиметра или по меньшей мере 0,4 миллиметра.
Пример Ex26: Узел токоприемника согласно любому из примеров Ex19-Ex25, при этом множество первых нитей имеет диаметр не более 0,025 миллиметра, не более 0,05 миллиметра, не более 0,1 миллиметра, не более 0,15 миллиметра, не более 0,2 миллиметра, не более 0,25 миллиметра, не более 0,3 миллиметра, не более 0,35 миллиметра, не более 0,4 миллиметра, не более 0,45 миллиметра или не более 0,5 миллиметра.
Пример Ex27: Узел токоприемника согласно любому из примеров Ex19-Ex26, при этом множество первых нитей имеет круглое, эллипсоидальное, овальное, треугольное, прямоугольное, квадратное, шестиугольное или многоугольное поперечное сечение.
Пример Ex28: Узел токоприемника согласно любому из примеров Ex19-Ex27, при этом множество первых нитей предусматривает обработку поверхности, в частности, включающую нанесение поверхностного покрытия, например поверхностного покрытия, усиливающего образование аэрозоля, поверхностного покрытия, притягивающего жидкость, поверхностного покрытия, отталкивающего жидкость, или антибактериального поверхностного покрытия.
Пример Ex29: Узел токоприемника согласно любому из примеров Ex19-Ex28, при этом по меньшей мере одна из матрицы продольных нитей и матрицы поперечных нитей содержит 2-100 первых нитей, в частности, 10-80 первых нитей, предпочтительно 20-80 первых нитей, предпочтительно 30-50 первых нитей.
Пример Ex30: Узел токоприемника согласно любому из примеров Ex19-Ex29, при этом по меньшей мере одна из продольных нитей и поперечных нитей содержит одну или более вторых нитей, содержащих второй токоприемный материал.
Пример Ex31: Узел токоприемника согласно примеру Ex30, при этом второй токоприемный материал содержит один из ферримагнитного материала или ферромагнитного материала.
Пример Ex32: Узел токоприемника согласно любому из примеров Ex30-Ex31, при этом второй токоприемный материал имеет температуру Кюри ниже 500 градусов Цельсия, в частности, ниже 350 градусов Цельсия, предпочтительно ниже 300 градусов Цельсия, более предпочтительно ниже 250 градусов Цельсия, еще более предпочтительно ниже 200 градусов Цельсия, наиболее предпочтительно ниже 150 градусов Цельсия.
Пример Ex33: Узел токоприемника согласно любому из примеров Ex30-Ex32, при этом второй токоприемный материал содержит одно из никеля, сплава никеля, мю-металла или пермаллоя.
Пример Ex34: Узел токоприемника согласно любому из примеров Ex30-Ex33, при этом множество вторых нитей представляет собой нити из твердого материала.
Пример Ex35: Узел токоприемника согласно любому из примеров Ex30-Ex34, при этом множество вторых нитей представляет собой нити из материала одного сорта.
Пример Ex36: Узел токоприемника согласно любому из примеров Ex30-Ex35, при этом множество вторых нитей выполнены из второго токоприемного материала.
Пример Ex37: Узел токоприемника согласно любому из примеров Ex30-Ex36, при этом множество вторых нитей предусматривает обработку поверхности, в частности, включающую нанесение поверхностного покрытия, например поверхностного покрытия, усиливающего образование аэрозоля, поверхностного покрытия, притягивающего жидкость, поверхностного покрытия, отталкивающего жидкость, или антибактериального поверхностного покрытия.
Пример Ex38: Узел токоприемника согласно любому из примеров Ex30-Ex37, при этом по меньшей мере одна из, в частности каждая из множества вторых нитей, имеет круглое, эллипсоидальное, овальное, треугольное, прямоугольное, квадратное, шестиугольное или многоугольное поперечное сечение.
Пример Ex39: Узел токоприемника согласно любому из примеров Ex30-Ex38, при этом множество вторых нитей имеет диаметр по меньшей мере 0,015 миллиметра, по меньшей мере 0,02 миллиметра, по меньшей мере 0,025 миллиметра, по меньшей мере 0,05 миллиметра, по меньшей мере 0,075 миллиметра, по меньшей мере 0,1 миллиметра, по меньшей мере 0,125 миллиметра, по меньшей мере 0,15 миллиметра, по меньшей мере 0,2 миллиметра, по меньшей мере 0,3 миллиметра или по меньшей мере 0,4 миллиметра.
Пример Ex40: Узел токоприемника согласно любому из примеров Ex30-Ex39, при этом множество вторых нитей имеет диаметр не более 0,025 миллиметра, не более 0,05 миллиметра, не более 0,1 миллиметра, не более 0,15 миллиметра, не более 0,2 миллиметра, не более 0,25 миллиметра, не более 0,3 миллиметра, не более 0,35 миллиметра, не более 0,4 миллиметра, не более 0,45 миллиметра или не более 0,5 миллиметра.
Пример Ex41: Узел токоприемника согласно любому из примеров Ex30-Ex40, при этом множество первых нитей и множество вторых нитей имеют одинаковый диаметр.
Пример Ex42: Узел токоприемника согласно любому из примеров Ex30-Ex40, при этом множество первых нитей и множество вторых нитей имеют различный диаметр.
Пример Ex43: Узел токоприемника согласно любому из примеров Ex30-Ex42, при этом по меньшей мере одна из матрицы продольных нитей и матрицы поперечных нитей содержит 1-100 вторых нитей, в частности, 10-80 вторых нитей, предпочтительно 20-60 вторых нитей, предпочтительно 30-50 вторых нитей, например 40 вторых нитей.
Пример Ex44: Узел токоприемника согласно любому из примеров Ex30-Ex43, при этом одна или более первых нитей и одна или более вторых нитей по существу равномерно распределены по меньшей мере по одной из матрицы продольных нитей и матрицы поперечных нитей.
Пример Ex45: Узел токоприемника согласно любому из примеров Ex30-Ex43, при этом одна или более первых нитей и одна или более вторых нитей по существу неравномерно распределены по меньшей мере по одной из матрицы продольных нитей и матрицы поперечных нитей.
Пример Ex46: Узел токоприемника согласно любому из предыдущих примеров, при этом среднее расстояние между соседними продольными нитями составляет не более 0,025 миллиметра, не более 0,05 миллиметра, не более 0,1 миллиметра, не более 0,15 миллиметра, не более 0,2 миллиметра, не более 0,25 миллиметра, не более 0,3 миллиметра, не более 0,35 миллиметра, не более 0,4 миллиметра, не более 0,45 миллиметра или не более 0,5 миллиметра.
Пример Ex47: Узел токоприемника согласно любому из предыдущих примеров, при этом среднее расстояние между соседними поперечными нитями составляет не более 0,025 миллиметра, не более 0,05 миллиметра, не более 0,1 миллиметра, не более 0,15 миллиметра, не более 0,2 миллиметра, не более 0,25 миллиметра, не более 0,3 миллиметра, не более 0,35 миллиметра, не более 0,4 миллиметра, не более 0,45 миллиметра или не более 0,5 миллиметра.
Пример Ex48: Узел токоприемника по любому из предыдущих примеров, при этом узел токоприемника содержит разветвленный участок на по меньшей мере одном продольном концевом участке матрицы продольных нитей, где продольные нити расходятся друг от друга.
Пример Ex49: Узел токоприемника согласно примеру Ex48, при этом разветвленный участок имеет длину по меньшей мере 5 процентов, 10 процентов, 20 процентов, 30 процентов, 40 процентов, 50 процентов или 60 процентов размера по длине продольных нитей.
Пример Ex50: Узел токоприемника согласно любому из примеров Ex48 или Ex49, при этом разветвленный участок имеет длину не более 10 процентов, 20 процентов, 30 процентов, 40 процентов или 50 процентов размера по длине продольных нитей.
Пример Ex51: Индукционный нагревательный узел, предназначенный для переноса и индукционного нагрева жидкости, образующей аэрозоль, при этом нагревательный узел содержит:
- по меньшей мере один узел токоприемника для переноса жидкости согласно любому из предыдущих примеров;
- по меньшей мере один индукционный источник, выполненный и размещенный с возможностью генерирования переменного магнитного поля в секции нагрева по меньшей мере одного узла токоприемника для переноса жидкости, в частности, в секции нагрева несетчатого участка.
Пример Ex52: Нагревательный узел согласно примеру Ex51, при этом индукционный источник содержит индукционную катушку, расположенную по меньшей мере вокруг секции нагрева узла токоприемника для переноса жидкости, в частности, по меньшей мере вокруг секции нагрева несетчатого участка.
Пример Ex53: Нагревательный узел согласно любому из примеров Ex51 или Ex52, при этом секция нагрева узла токоприемника для переноса жидкости, в частности, секция нагрева несетчатого участка расположена на продольном концевом участке матрицы продольных нитей.
Пример Ex54: Нагревательный узел согласно любому из примеров Ex51-Ex53, при этом секция нагрева несетчатого участка имеет длину по меньшей мере 5 процентов, 10 процентов, 20 процентов, 30 процентов, 40 процентов, 50 процентов, 60 процентов, 70 процентов, 80 процентов размера по длине несетчатого участка по протяженности в длину продольных нитей.
Пример Ex55: Нагревательный узел согласно любому из примеров Ex51-Ex54, при этом секция нагрева несетчатого участка имеет длину не более 10 процентов, 20 процентов, 30 процентов, 40 процентов, 50 процентов, 60 процентов, 70 процентов, 80 процентов, 90 процентов или 100 процентов размера по длине несетчатого участка по протяженности в длину продольных нитей.
Пример Ex56: Нагревательный узел согласно любому из примеров Ex51-Ex55, при этом узел токоприемника расположен со смещением от центра относительно оси симметрии переменного магнитного поля, генерируемого индукционным источником при использовании нагревательного узла.
Пример Ex57: Изделие, генерирующее аэрозоль, для использования с устройством, генерирующим аэрозоль, с индукционным нагревом, причем изделие содержит:
- по меньшей мере один резервуар для хранения жидкости, образующей аэрозоль, при этом резервуар для жидкости содержит выпускное отверстие;
- по меньшей мере один узел токоприемника для переноса жидкости согласно любому из примеров Ex1-Ex50 для доставки жидкости, образующей аэрозоль, от резервуара для жидкости через выпускное отверстие в области за пределами резервуара для жидкости.
Пример Ex58: Изделие, генерирующее аэрозоль, согласно примеру Ex57, при этом узел токоприемника содержит по меньшей мере одну секцию пропитки, расположенную в резервуаре для жидкости.
Пример Ex59: Изделие, генерирующее аэрозоль, согласно любому из примеров Ex57 или Ex58, при этом секция пропитки узла токоприемника расположен на продольном концевом участке матрицы продольных нитей.
Пример Ex60: Изделие, генерирующее аэрозоль, согласно любому из примеров Ex57-Ex59, при этом секция пропитки является частью сетчатого участка или при этом сетчатый участок является частью секции пропитки.
Пример Ex61: Изделие, генерирующее аэрозоль, согласно примеру Ex60, при этом секция пропитки сетчатого участка имеет длину не более 10 процентов, не более 20 процентов, не более 30 процентов, не более 40 процентов, не более 50 процентов или не более 60 процентов размера по длине сетчатого участка по протяженности в длину продольных нитей.
Пример Ex62: Изделие, генерирующее аэрозоль, согласно любому из примеров Ex60 или 61, при этом по меньшей мере одна секция пропитки сетчатого участка может иметь длину по меньшей мере 10 процентов, по меньшей мере 20 процентов, по меньшей мере 30 процентов, по меньшей мере 40 процентов, по меньшей мере 50 процентов или по меньшей мере 60 процентов сетчатого участка по протяженности в длину продольных нитей.
Пример Ex63: Изделие, генерирующее аэрозоль, согласно любому из примеров Ex57-Ex62, дополнительно содержащее жидкость, образующую аэрозоль, содержащуюся в резервуаре для жидкости.
Пример Ex64: Система, генерирующая аэрозоль, содержащая устройство, генерирующее аэрозоль, с индукционным нагревом, изделие, генерирующее аэрозоль, для использования с устройством, генерирующим аэрозоль, и индукционный нагревательный узел согласно любому из примеров Ex51-Ex56, при этом индукционный источник нагревательного узла является частью устройства, генерирующего аэрозоль, с индукционным нагревом, и при этом узел токоприемника для переноса жидкости является частью изделия, генерирующего аэрозоль.
Далее примеры будут дополнительно описаны со ссылкой на фигуры, на которых:
на фиг. 1 схематически изображен индукционный нагревательный узел, содержащий узел токоприемника согласно первому варианту осуществления настоящего изобретения;
на фиг. 2 показано поперечное сечение через узел токоприемника согласно фиг. 1 вдоль линии A-A;
на фиг. 3 показано поперечное сечение через узел токоприемника согласно фиг. 1 вдоль линии B-B;
на фиг. 4 схематически изображен узел токоприемника согласно второму варианту осуществления настоящего изобретения;
на фиг. 5 схематически изображен узел токоприемника согласно третьему варианту осуществления настоящего изобретения;
на фиг. 6 схематически изображен узел токоприемника согласно четвертому варианту осуществления настоящего изобретения;
на фиг. 7 схематически изображен узел токоприемника согласно пятому варианту осуществления настоящего изобретения;
на фиг. 8 схематически изображен иллюстративный вариант осуществления изделия, генерирующего аэрозоль, согласно настоящему изобретению; и
на фиг. 9 схематически изображен иллюстративный вариант осуществления системы, генерирующей аэрозоль, согласно настоящему изобретению.
На фиг. 1 схематически изображен индукционный нагревательный узел 1, содержащий узел 10 токоприемника для переноса жидкости согласно первому варианту осуществления настоящего изобретения. В целом, узел 10 токоприемника содержит две матрицы 20, 30 нитей, которые только частично пересекаются друг с другом, так что узел 10 токоприемника содержит один сетчатый участок 11, в котором две матрицы 20, 30 нитей пересекаются друг с другом, и несетчатый участок 12, в котором две матрицы 20, 30 нитей не пересекаются друг с другом.
В настоящем варианте осуществления одна из двух матриц 20, 30 образуется матрицей 20 индукционно нагреваемых продольных нитей 21, 22, которые расположены параллельно друг другу в непосредственной близости в полой цилиндрической конфигурации, в которой продольные нити 21, 22 проходят по существу по оси цилиндра, образуя стенку полой цилиндрической конфигурации. Другая матрица образуется матрицей 30 поперечных нитей 31, 32, которые расположены рядом друг с другом в форме множества круглых колец, окружающих по окружности полую цилиндрическую конфигурацию матрицы 20 продольных нитей 21, 22 таким образом, чтобы пересекать матрицу 20 продольных нитей 21, 22, поперечно протяженности в длину продольных нитей 21, 22. Согласно настоящему изобретению матрица 30 поперечных нитей 31, 32 проходит только вдоль части длины матрицы 20 продольных нитей 21, 22 таким образом, что узел 10 токоприемника содержит сетчатый участок 11 и несетчатый участок 12, как описано выше.
Узел 10 токоприемника способен выполнять две функции: переносить и нагревать жидкость, образующую аэрозоль. Для этой цели матрица 20 содержит множество первых нитей 21 и множество вторых нитей 22, при этом множество первых нитей 21 содержит первый токоприемный материал, а множество вторых нитей 22 содержит второй токоприемный материал. Аналогичным образом матрица 30 содержит множество первых нитей 31 и множество вторых нитей 32, при этом множество первых нитей 32 содержит первый токоприемный материал, а множество вторых нитей 32 содержит второй токоприемный материал. Предпочтительно первый и второй токоприемные материалы нитей 21, 22, 31, 32 обеих матриц 20, 30 являются идентичными. Благодаря токоприемным свойствам материалов нитей первые нити 21, 32 и вторые нити 22, 32 могут быть индукционно нагреты в переменном магнитном поле и, таким образом, способны нагревать жидкость, образующую аэрозоль, при тепловом контакте с нитями. К тому же, благодаря расположению первой и второй нитей 21, 22, 31, 32 и узла 10 токоприемника и благодаря малому диаметру нитей 21, 22, 31, 32, между нитями 21, 22, 31, 32 образуются узкие промежутки, обеспечивающие капиллярный эффект в обоих участках, в сетчатом участке 11 и несетчатом участке 12, в частности, по продольному направлению X узла 10 токоприемника. Таким образом, в качестве примера, если один продольный концевой участок 23 матрицы 20 продольных нитей 21, 22 погружен в жидкость, образующую аэрозоль, жидкость может быть перенесена к противоположному продольному концевому участку 24 матрицы 20 продольных нитей 21, 22, где переносимая жидкость может испаряться и подвергаться воздействию воздушного канала для вытягивания в виде аэрозоля.
Для испарения жидкости нагревательный узел 1 дополнительно содержит индукционный источник 3, содержащий индукционную катушку 4. В настоящем варианте осуществления индукционная катушка 4 представляет собой двухслойную спиральную катушку, причем каждый слой имеет шесть витков, которая способна генерировать по существу однородное переменное магнитное поле. Как можно видеть на фиг. 1, индукционная катушка 4 расположена вокруг концевой части 24 пучка 18 нитей таким образом, чтобы генерировать переменное магнитное поле, которое локально проникает в узел токоприемника только на продольном концевом участке 24. Как следствие, узел 10 токоприемника локально нагревается в секции 17 нагрева на продольном концевом участке 24. Из-за отсутствия поперечных нитей, несетчатый участок 11 содержит только те нити 21, 22, чья геометрия и ориентация оптимизированы в отношении ориентации переменного магнитного поля, используемого для нагрева узла токоприемника. В частности, продольные нити 21, 22 расположены по существу параллельно магнитному полю, проникающему в узел 10 токоприемника на продольном концевом участке 24.
В отличие от этого, матрица 30 поперечных нитей 31, 32 в основном служит только для удержания матрицы 20 продольных нитей 21, 22, чтобы обеспечивать хорошую связь нитей, а также улучшенные механическую стабильность и стабильность размеров узла 10 токоприемника.
Напряженность магнитного поля выбирают такой, чтобы секция 17 нагрева нагревалась до температуры, достаточной для испарения жидкости, образующей аэрозоль, переносимой через узел 10 токоприемника. В отличие от этого, благодаря исключительно локальному нагреву оставшаяся секция 16 узла 10 токоприемника, в частности, продольного концевого участка 23 остается при температурах ниже температуры испарения. Следовательно, при использовании нагревательного узла 1 узел 10 токоприемника включает температурный профиль вдоль направления Х своей длины с секциями более высоких и более низких температур, как показано в нижней части фиг. 1. Более конкретно, температурный профиль показывает повышение температуры от продольного концевого участка 23 к секции 17 нагрева на противоположном продольном концевом участке 24, от температур ниже температуры T_vap испарения жидкости, образующей аэрозоль, до температур выше соответствующей температуры T_vap испарения. Преимущественно наличие оставшейся секции 16 с температурой ниже температуры T_vap испарения предотвращает кипение жидкости, образующей аэрозоль, в этой части узла 10 токоприемника. Более того, в случае использования оставшейся секции 16 или по меньшей мере ее части в качестве секции 16 пропитки для погружения в резервуар для жидкости, также предотвращается кипение жидкости, образующей аэрозоль, внутри резервуара. Как можно видеть на фиг. 1, секция 17 нагрева является частью несетчатого участка 12, тогда как сетчатый участок 12 является частью оставшейся секции 16, которую можно использовать в качестве секции 16 пропитки.
Фактический температурный профиль, образующийся при использовании узла 10 токоприемника, зависит от теплопроводности и размера по длине матрицы 20 продольных нитей 21, 22. Соответственно, для обеспечения достаточного температурного градиента между продольным концевым участком 23 и продольным концевым участком 24, продольные нити 21, 22 требуют определенной общей длины. Что касается настоящего варианта осуществления, размер по длине продольных нитей 21, 22 может находиться в диапазоне от 5 миллиметров до 50 миллиметров, в частности, от 10 миллиметров до 40 миллиметров, предпочтительно от 10 до 30 миллиметров, более предпочтительно от 10 до 20 миллиметров. Это относится к каждому типу нитей, то есть к множеству первых нитей 21 и к множеству вторых нитей 22.
На фиг. 2 показано поперечное сечение через узел 10 токоприемника вдоль линии А-А на фиг. 1, то есть через несетчатый участок 12. Аналогичным образом на фиг. 3 показано поперечное сечение через узел 10 токоприемника вдоль линии B-B на фиг. 1, то есть через сетчатый участок 11. Как множество первых нитей 21, 31, так и множество вторых нитей 22 каждой матрицы 20, 30 представляют собой нити из твердого материала, имеющие по существу круглое поперечное сечение. Благодаря конкретному расположению нитей, капиллярные промежутки образуются между множествами нитей 21, 22, 31, 32. Также допустимы другие формы поперечного сечения множества первых и вторых нитей 21, 22, 31, 32, например овальное, эллиптическое, треугольное, прямоугольное, квадратное, шестиугольное или многоугольное поперечные сечения.
Для обеспечения достаточного капиллярного эффекта, среднее межцентровое расстояние D20 между соседними продольными нитями 21, 22 может находиться в диапазоне от 0,1 миллиметра до 0,2 миллиметра. Аналогичным образом, как указано на фиг. 1, среднее межцентровое расстояние D30 между соседними поперечными нитями 31, 32 составляет не более 1 миллиметра, предпочтительно составляет не более 0,5 миллиметра.
Капиллярному эффекту также способствует малый радиус кривизны и, таким образом, малый диаметр первой и второй нитей 21, 22, 31, 32. Соответственно, первые и вторые нити 21, 22, 31, 32 могут иметь диаметр не более 0,025 миллиметра, не более 0,05 миллиметра, не более 0,1 миллиметра, не более 0,15 миллиметра, не более 0,2 миллиметра, не более 0,25 миллиметра, не более 0,3 миллиметра, не более 0,35 миллиметра, не более 0,4 миллиметра, не более 0,45 миллиметра или не более 0,5 миллиметра. Однако диаметр первых и вторых нитей 21, 22, 31, 32 должен быть больше, чем удвоенная глубина поверхностного слоя, для индуцирования достаточного количества вихревых токов и, таким образом, для генерирования достаточного количества тепловой энергии, когда узел 10 токоприемника подвергается воздействию переменного магнитного поля. Соответственно, в зависимости от материалов и частоты используемого переменного магнитного поля, первые и вторые нити 11, 12 могут иметь диаметр не менее 0,015 миллиметра, не менее 0,02 миллиметра, не менее 0,025 миллиметра не менее 0,05 миллиметра, не менее 0,075 миллиметра, не менее 0,1 миллиметра, не менее 0,125 миллиметра, не менее 0,15 миллиметра, не менее 0,2 миллиметра, не менее 0,3 миллиметра или не менее 0,4 миллиметра.
В настоящем варианте осуществления первые и вторые нити 21, 22, 31, 32 обеих площадей 20, 30 содержат поверхностное покрытие, притягивающее жидкость (не показано). Поверхностное покрытие, притягивающее жидкость, также усиливает капиллярный эффект узла 10 токоприемника.
Первый токоприемный материал множества первых нитей 21, 31 оптимизирован в отношении генерирования тепла. Например, первый токоприемный материал может представлять собой ферромагнитную нержавеющую сталь, вызывающую индукционный нагрев множества первых нитей 21, 31 посредством вихревых токов, а также посредством потерь на гистерезис. Температуру Кюри ферромагнитного первого токоприемного материала выбирают таким образом, чтобы она была выше температуры испарения, предпочтительно выше 300 градусов Цельсия. В отличие от этого, как дополнительно описано выше, множество вторых нитей 22, 32 в основном служат в качестве температурных маркеров. Для этой цели второй токоприемный материал может представлять собой ферромагнитный или ферримагнитный материал, который предпочтительно имеет температуру Кюри приблизительно при заданной рабочей температуре узла 10 токоприемника. Соответственно, когда узел 10 токоприемника достигает температуры Кюри второго токоприемного материала, магнитные свойства второго токоприемного материала изменяются из ферромагнитных или ферримагнитных в парамагнитные, что сопровождается временным изменением его электрического сопротивления. Таким образом, посредством наблюдения за соответствующим изменением электрического тока, потребляемого индукционным источником 3, который используется для генерирования переменного магнитного поля, можно определить, когда второй токоприемный материал достиг своей температуры Кюри и, таким образом, когда была достигнута заданная рабочая температура. Подходящими материалами для второго токоприемного материала могут быть мю-металл или пермаллой. Для адекватной работы в качестве температурных маркеров требуется всего несколько вторых нитей 22, 32. Соответственно, количество первых нитей 21 может быть больше, в частности, в два раза или в три раза, или в четыре раза, или в пять раз, или в шесть раз, или в семь раз, или в восемь раз, или в девять раз, или в десять раз, чем количество вторых нитей 12. В настоящем варианте осуществления матрица 20 продольных нитей 21, 22, например, содержит пятнадцать первых нитей 21 и четыре вторые нити 12. Аналогичным образом матрица 30 поперечных нитей 31, 32, например, содержит шесть первых нитей 31 и одну вторую нить 32. Однако, поскольку сетчатый участок 11 не предназначен для нагрева, матрица 30 поперечных нитей не обязательно должна содержать какие-либо вторые нити 32. Более того, матрица 30 поперечных нитей не обязательно должна содержать какие-либо нити, которые являются индукционно нагреваемыми.
Как также можно видеть на фиг. 2, множество вторых нитей 22 случайным образом распределены по матрице 20 продольных нитей 21, 22. Преимущественно случайное распределение требует лишь незначительного усилия при изготовлении узла 10 токоприемника. Как также можно увидеть на фиг. 2, матрица 20 продольных нитей 21, 22 имеет по существу круглое, в частности, кольцеобразное поперечное сечение, которое является особенно простым в изготовлении.
Опять же со ссылкой на фиг. 1, первая и вторая нити 21, 22 расположены параллельно друг другу, чтобы образовывать участок пучка с параллельным размещением нитей по всей протяженности в длину матрицы 20 продольных нитей 21, 22. То есть матрица 20 продольных нитей 21, 22 является нескрученной, в которой первые и вторые нити 21, 22 не скручены и не перекручены и, таким образом, не пересекаются друг с другом. Параллельное размещение нитей является особенно преимущественным для обеспечения достаточного капиллярного эффекта по всей протяженности в длину матрицы 20 продольных нитей 21, 22. К тому же, такой узел 10 токоприемника является простым и экономичным в изготовлении.
На фиг. 4 показан второй вариант осуществления узла 110 токоприемника согласно настоящему изобретению. В целом, узел 110 токоприемника согласно фиг. 4 аналогичен узлу 10 токоприемника, показанному на фиг. 1-3. Поэтому идентичные или подобные признаки обозначены одинаковыми ссылочными позициями, но с увеличением на 100. В отличие от первого варианта осуществления, показанного на фиг. 1-3, матрица 130 поперечных нитей 131 узла 110 токоприемника согласно фиг. 4 разделена на части. Эта конфигурация приводит в результате к узлу токоприемника, содержащему один несетчатый участок 112, который расположен между обоими продольными концевыми участками 123, 124 матрицы 120 продольных нитей 121, 122, и два сетчатых участка 111 на продольных концевых участках матрицы продольных нитей 123, 124, по одному на каждом конце. Преимущественно два сетчатых участка 111 на каждом продольном концевом участке 123, 124 можно использовать в качестве секций пропитки для переноса жидкости, образующей аэрозоль, от двух сторон по направлению к несетчатому участку 112, где жидкость, образующая аэрозоль, может испаряться. Благодаря этому, емкость переноса жидкости узла 110 токоприемника увеличивается. Кроме того, в отличие от узла 10 токоприемника согласно фиг. 1-3, матрица 130 поперечных нитей 131 содержит только один тип нитей, которые не обязательно должны быть индукционно нагреваемыми.
На фиг. 5 показан третий вариант осуществления узла 210 токоприемника согласно настоящему изобретению. В целом, узел 210 токоприемника согласно фиг. 5 аналогичен узлу 10 токоприемника, показанному на фиг. 1-3. Поэтому идентичные или подобные признаки обозначены одинаковыми ссылочными позициями, но с увеличением на 200. В отличие от первого варианта осуществления, показанного на фиг. 1-3, узел 210 токоприемника, отмеченный на фиг. 5, имеет по существу форму усеченного конуса, в частности, по существу полую форму усеченного конуса. В этой конфигурации ось длины формы усеченного конуса проходит по существу по протяженности в длину продольных нитей. Однако матрица 220 продольных нитей 221, 222 образует поверхность оболочки формы усеченного конуса.
На фиг. 6 показан четвертый вариант осуществления узла 310 токоприемника согласно настоящему изобретению, аналогичного узлу 210 токоприемника согласно фиг. 5. Поэтому идентичные или подобные признаки обозначены одинаковыми ссылочными позициями, но с увеличением на 100. В отличие от третьего варианта осуществления, показанного на фиг. 5, узел 310 токоприемника согласно фиг. 6 имеет по существу коническую форму, в частности, полую коническую форму, в которой продольные нити 321, 322 сходятся в одном из продольных концевых участков 323 матрицы 320 продольных нитей 321, 322.
Со ссылкой на оба варианта осуществления, показанных на фиг. 5 и фиг. 6, коническая форма или форма усеченного конуса обеспечивает присущую ей механическую стабильность размеров. К тому же, продольные нити 321, 322, 421, 422 расходятся друг от друга к основанию конической формы или формы усеченного конуса. Соответственно, матрица продольных нитей с конической формой или формой усеченного конуса облегчает обеспечение разветвленного участка на одном продольном концевом участке 224, 324 матрицы 320 продольных нитей 321, 322.
На фиг. 7 показан пятый вариант осуществления узла 410 токоприемника согласно настоящему изобретению, аналогичного узлу 210 токоприемника согласно фиг. 5. Поэтому идентичные или подобные признаки обозначены одинаковыми ссылочными позициями, но с увеличением на 200. В отличие от третьего варианта осуществления, показанного на фиг. 5, узел 310 токоприемника согласно фиг. 6 имеет по существу цилиндрическую, в частности, по существу полую цилиндрическую форму по сетчатому участку 411 на продольном концевом участке 423 матрицы 420 продольных нитей 421, 422. В отличие от этого, в сетчатом участке 412 продольные нити 421, 422 изогнуты таким образом, чтобы расходится друг от друга к противоположному продольному концевому участку 423 матрицы 420 продольных нитей 421, 422. В результате, узел 410 токоприемника согласно фиг. 7 подобно узлу 220 токоприемника, показанному на фиг. 5, также содержит разветвленный участок на продольном концевом участке 424 матрицы 420 продольных нитей 421, 322. В этом смысле можно также рассматривать, что узел 410 токоприемника согласно фиг. 7 имеет форму усеченного конуса, включая поверхность оболочки, которая является изогнутой по протяженности в длину продольных нитей 421, 422.
В любой из этих конфигураций, показанных на фиг. 4-7, матрица поперечных нитей предпочтительно имеет по существу форму кольца. То есть поперечные нити проходят по окружности матрицы продольных нитей цилиндрической, конической формы или формы усеченного конуса (в частности, полой цилиндрической, полой конической формы или полой формы усеченного конуса) в сетчатых участках 111, 211, 311, 411 узла 110, 210, 310, 410 токоприемника.
На фиг. 8 схематически изображен иллюстративный вариант осуществления изделия 40, генерирующего аэрозоль, согласно настоящему изобретению. Как будет дополнительно описано ниже в отношении фиг. 9, изделие 40, генерирующее аэрозоль, выполнено с возможностью использования с устройством, генерирующим аэрозоль, с индукционным нагревом. Изделие 40 содержит жесткий корпус 43 изделия, выполненный из непроницаемого для жидкости материала. Вместе с втулкой 44 корпус 43 изделия образует резервуар 41 для жидкости, который содержит жидкость 51, образующую аэрозоль. Втулка 44 содержит кольцеобразное отверстие, образующее выпускное отверстие резервуара 41 для жидкости. Изделие 40 дополнительно содержит узел 10 токоприемника для переноса жидкости, который по существу соответствует узлу 10 токоприемника, показанному на фиг. 1-3. Полый цилиндрический узел 10 токоприемника проходит через кольцеобразное отверстие во втулке 44 таким образом, чтобы быть частично расположенным в резервуаре 41 для жидкости и частично расположенным в испарительной полости 45, которая образована корпусом 43 изделия и втулкой 44, смежной с резервуаром 41 для жидкости. Благодаря этому, узел 10 токоприемника способен доставлять жидкость 51, образующую аэрозоль, из резервуара 41 для жидкости через выпускное отверстие в область за пределами резервуара 41 для жидкости, то есть в испарительную полость 45. Там переносимая жидкость 51 может испаряться посредством индукционного нагрева той части пучка 18 нитей, которая расположена в испарительной полости 45. Соответственно, та часть пучка 18 нитей, которая содержит сетчатый участок 11 и расположена в резервуаре 41 для жидкости так, чтобы быть погруженной в жидкость 51, образующую аэрозоль, выполняет функцию секции 16 пропитки. Длина секции 16 пропитки может преимущественно использоваться для регулирования количества жидкости, образующей аэрозоль, которая впитывается и переносится из резервуара 41 для жидкости в испарительную полость 45. В настоящем варианте осуществления секция 16 пропитки имеет длину приблизительно 60% от общей длины пучка 18 нитей.
Аналогичным образом та часть узла токоприемника, которая является частью несетчатого участка 12 и расположена в испарительной полости 45, по меньшей мере частично выполняет функцию секции 17 нагрева, когда она подвергается воздействию переменного магнитного поля, как описано выше со ссылкой на фиг. 1.
Как также можно увидеть на фиг. 8, изделие 40 содержит впускные отверстия 46 для воздуха в корпусе 43 изделия в испарительную полость 45, обеспечивающие поступление воздуха в испарительную полость 45. Впускное отверстие 46 для воздуха может быть выполнено с возможностью обеспечения потока воздуха на секцию 16 нагрева узла 10 токоприемника или вокруг нее. Впускное отверстие 46 для воздуха может быть отверстием в корпусе резервуара. Аналогичным образом впускное отверстие 46 для воздуха может представлять собой сопло, выполненное с возможностью направления потока воздуха в конкретное целевое место на узле 10 токоприемника. Кроме того, изделие 41 содержит мундштук 47, образующий ближний концевой участок испарительной полости 45. Мундштук 47 имеет сужающуюся форму, имеющую выпускное отверстие 48 для воздуха на самом конце, что позволяет пользователю непосредственно вдыхать аэрозоль из изделия. Предпочтительно мундштук содержит фильтр (не показано). Следовательно, когда пользователь делает затяжку, жидкость, образующая аэрозоль, испаряющаяся с секции 17 нагрева, подвергается воздействию потока воздуха, поступившего в испарительную полость 45 через впускные отверстия 46 для воздуха, с образованием аэрозоля, который может быть вытянут через выпускное отверстие 48 для воздуха в мундштуке 47.
В целом, изделие 40, генерирующее аэрозоль, может представлять собой изделие, генерирующее аэрозоль, для одноразового использования или изделие, генерирующее аэрозоль, для многократного использования. В последнем случае изделие 40, генерирующее аэрозоль, может быть повторно заправляемым. То есть резервуар 41 для жидкости может повторно заправляться жидкостью 51, образующей аэрозоль, после исчерпания.
На фиг. 9 схематически изображен иллюстративный вариант осуществления системы 80, генерирующей аэрозоль, согласно настоящему изобретению. Система 80 содержит устройство 60, генерирующее аэрозоль, с индукционным нагревом и изделие 40, генерирующее аэрозоль, для использования с устройством 60. В настоящем варианте осуществления изделие 40, генерирующее аэрозоль, соответствует изделию, показанному на фиг. 8. В частности, изделие 40 содержит узел 10 токоприемника для переноса и нагрева образующей аэрозоль жидкости 51, содержащейся в изделии 40. Устройство 60, генерирующее аэрозоль, представляет собой устройство с электрическим приводом, способное взаимодействовать с изделием 40 для генерирования аэрозоля путем индукционного нагрева жидкости, образующей аэрозоль, через узел 10 токоприемника. Для этого устройство 60, генерирующее аэрозоль, содержит приемную полость 62, образованную внутри корпуса 61 устройства в ближней части устройства 60. Приемная полость 62 выполнена с возможностью размещения и извлечения по меньшей мере части изделия 40, генерирующего аэрозоль. Для нагрева узла 10 токоприемника устройство 60, генерирующее аэрозоль, содержит индукционный источник, содержащий индукционную катушку 4. В настоящем варианте осуществления индукционная катушка 4 представляет собой единую спиральную катушку, которая расположена и выполнена с возможностью генерирования по существу однородного переменного магнитного поля. Как можно видеть на фиг. 1, индукционная катушка 4 расположена вокруг ближнего концевого участка приемной полости 62 таким образом, чтобы окружать участок несетчатого участка узла 10 токоприемника, когда изделие 40, генерирующее аэрозоль, размещено в приемной полости 62. В частности, индукционная катушка 4 расположена так, чтобы она могла генерировать переменное магнитное поле, которое локально проникает в узел токоприемника, в частности, в несетчатый участок только в секции 17 нагрева. В отличие от этого, благодаря локальному нагреву, секция 16 пропитки пучка 18 нитей остается при температурах ниже температуры испарения. Таким образом предотвращается кипение жидкости 51, образующей аэрозоль, в резервуаре 41 для жидкости.
Вместе с тем, индукционный источник устройства 60, генерирующего аэрозоль, и узел 10 токоприемника изделия 44, генерирующего аэрозоль, образуют индукционный нагревательный узел согласно настоящему изобретению.
Устройство 60, генерирующее аэрозоль, дополнительно содержит контроллер 64 для управления работой системы 80, генерирующей аэрозоль, в частности для управления процессом нагрева.
К тому же, устройство 60, генерирующее аэрозоль, содержит источник 63 питания, обеспечивающий электрическую мощность для генерирования переменного магнитного поля. Предпочтительно источник 63 питания является батареей, такой как литий-железо-фосфатная батарея. Источник 63 питания может иметь емкость, которая позволяет накапливать достаточно энергии для одного или более применений пользователем.
Как контроллер 64, так и источник 63 питания расположены в дальней части устройства 60, генерирующего аэрозоль.
Для целей настоящего описания и приложенной формулы изобретения, за исключением случаев, в которых указано иное, все числа, выражающие величины, количества, процентные доли и т. д., следует понимать как модифицированные во всех случаях термином «приблизительно». Кроме того, все диапазоны включают раскрытые точки максимума и минимума и включают любые промежуточные диапазоны между ними, которые могут быть или могут не быть конкретно перечислены в данном документе. Поэтому в данном контексте число А следует понимать как А±5 процентов А. В данном контексте число А можно считать включающим численные значения, находящиеся в пределах обычной стандартной ошибки для измерения свойства, которое число А модифицирует. Число А в некоторых случаях при использовании в приложенной формуле изобретения может отклоняться на перечисленные выше процентные доли при условии, что величина, на которую отклоняется А, существенно не влияет на основную и новую характеристику (основные и новые характеристики) заявленного изобретения. Кроме того, все диапазоны включают раскрытые точки максимума и минимума и включают любые промежуточные диапазоны между ними, которые могут быть или могут не быть конкретно перечислены в данном документе.
Изобретение относится к узлу токоприемника для переноса жидкости, предназначенному для переноса и индукционного нагрева жидкости, образующей аэрозоль, под действием переменного магнитного поля. Узел токоприемника содержит матрицу индукционно нагреваемых продольных нитей, расположенных рядом друг с другом. Узел токоприемника дополнительно содержит матрицу поперечных нитей, расположенных рядом друг с другом и пересекающих матрицу продольных нитей поперечно протяженности в длину продольных нитей. Матрица поперечных нитей проходит только вдоль части длины матрицы продольных нитей, так что узел токоприемника содержит по меньшей мере один сетчатый участок и по меньшей мере один несетчатый участок. Настоящее изобретение также относится к индукционному нагревательному узлу и изделию, генерирующему аэрозоль, каждое из которых содержит такой узел токоприемника. Настоящее изобретение также относится к системе, генерирующей аэрозоль, содержащей устройство, генерирующее аэрозоль, с индукционным нагревом и изделие, генерирующее аэрозоль, для использования с этим устройством. Технический результат – упрощение конструкции, обеспечение технологичности изготовления и повышение эффективности нагрева. 4 н. и 10 з.п. ф-лы, 9 ил.
1. Узел сусцептора для переноса жидкости, предназначенный для переноса и индукционного нагрева жидкости, образующей аэрозоль, под воздействием переменного магнитного поля, причем узел сусцептора содержит матрицу индукционно нагреваемых продольных нитей, расположенных рядом друг с другом, и матрицу поперечных нитей, расположенных рядом друг с другом и пересекающих матрицу продольных нитей поперечно протяженности в длину продольных нитей, при этом матрица поперечных нитей проходит только вдоль части длины матрицы продольных нитей, так что узел сусцептора содержит по меньшей мере один сетчатый участок и по меньшей мере один несетчатый участок, при этом в сетчатом участке матрица поперечных нитей и матрица продольных нитей пересекаются друг с другом, тогда как в несетчатом участке узел сусцептора содержит только продольные нити, но без поперечных нитей, и при этом размер по длине по меньшей мере одного несетчатого участка по протяженности в длину продольных нитей составляет по меньшей мере 20 процентов размера по длине продольных нитей.
2. Узел сусцептора по п. 1, отличающийся тем, что по меньшей мере один сетчатый участок расположен на одном из двух продольных концевых участков матрицы продольных нитей, или при этом по меньшей мере один сетчатый участок расположен между обоими продольными концевыми участками матрицы продольных нитей.
3. Узел сусцептора по любому из предыдущих пунктов, отличающийся тем, что по меньшей мере один несетчатый участок расположен на продольном концевом участке матрицы продольных нитей, или при этом по меньшей мере один несетчатый участок расположен между обоими продольными концевыми участками матрицы продольных нитей.
4. Узел сусцептора по любому из предыдущих пунктов, отличающийся тем, что размер по длине несетчатого участка по протяженности в длину продольных нитей составляет по меньшей мере 30 процентов, 40 процентов, 50 процентов, 60 процентов, 70 процентов или 80 процентов размера по длине продольных нитей.
5. Узел сусцептора по любому из предыдущих пунктов, отличающийся тем, что размер по длине сетчатого участка по протяженности в длину продольных нитей составляет не более 80 процентов, не более 75 процентов, не более 70 процентов, не более 60 процентов, не более 50 процентов, не более 40 процентов, не более 30 процентов, не более 25 процентов или не более 20 процентов размера по длине продольных нитей.
6. Узел сусцептора по любому из предыдущих пунктов, отличающийся тем, что матрица продольных нитей имеет цилиндрическую форму, или полую цилиндрическую форму, или коническую форму, или форму усеченного конуса, или полую коническую форму, или полую форму усеченного конуса.
7. Узел сусцептора по любому из предыдущих пунктов, отличающийся тем, что матрица поперечных нитей имеет форму кольца.
8. Узел сусцептора по любому из предыдущих пунктов, отличающийся тем, что по меньшей мере одно из продольных нитей и поперечных нитей содержит одну или более первых нитей, содержащих первый материал сусцептора, и множество вторых нитей, содержащих второй материал сусцептора, при этом второй материал сусцептора содержит одно из ферримагнитного материала или ферромагнитного материала.
9. Узел сусцептора по любому из предыдущих пунктов, отличающийся тем, что содержит разветвленный участок на по меньшей мере одном продольном концевом участке матрицы продольных нитей, где продольные нити расходятся друг от друга.
10. Индукционный нагревательный узел, предназначенный для переноса и индукционного нагрева жидкости, образующей аэрозоль, при этом нагревательный узел содержит:
- по меньшей мере один узел сусцептора для переноса жидкости по любому из предыдущих пунктов;
- по меньшей мере один индукционный источник, выполненный и размещенный с возможностью генерирования переменного магнитного поля в секции нагрева по меньшей мере одного узла сусцептора для переноса жидкости, в частности, в секции нагрева несетчатого участка.
11. Нагревательный узел по п. 10, отличающийся тем, что секция нагрева несетчатого участка имеет длину по меньшей мере 5 процентов, 10 процентов, 20 процентов, 30 процентов, 40 процентов, 50 процентов, 60 процентов, 70 процентов, 80 процентов размера по длине несетчатого участка по протяженности в длину продольных нитей.
12. Изделие, генерирующее аэрозоль, для использования с устройством, генерирующим аэрозоль, с индукционным нагревом, причем изделие содержит:
- по меньшей мере один резервуар для хранения жидкости, образующей аэрозоль, при этом резервуар для жидкости содержит выпускное отверстие;
- по меньшей мере один узел сусцептора для переноса жидкости по любому из пп. 1-9, предназначенный для доставки жидкости, образующей аэрозоль, из резервуара для жидкости через выпускное отверстие в область за пределами резервуара для жидкости.
13. Изделие, генерирующее аэрозоль, по п. 12, отличающееся тем, что узел сусцептора содержит по меньшей мере одну секцию пропитки, расположенную в резервуаре для жидкости, и при этом секция пропитки является частью сетчатого участка или при этом сетчатый участок является частью секции пропитки.
14. Система, генерирующая аэрозоль, содержащая устройство, генерирующее аэрозоль, с индукционным нагревом, изделие, генерирующее аэрозоль, для использования с устройством, генерирующим аэрозоль, и индукционный нагревательный узел по любому из пп. 10, 11, при этом индукционный источник нагревательного узла является частью устройства, генерирующего аэрозоль, с индукционным нагревом, и при этом узел сусцептора для переноса жидкости является частью изделия, генерирующего аэрозоль.
| Способ восстановления спиралей из вольфрамовой проволоки для электрических ламп накаливания, наполненных газом | 1924 |
|
SU2020A1 |
| CN 109152422 A, 04.01.2019 | |||
| CN 108291851 A, 17.07.2018 | |||
| КАРТРИДЖ ДЛЯ СИСТЕМЫ, ГЕНЕРИРУЮЩЕЙ АЭРОЗОЛЬ | 2016 |
|
RU2698550C2 |
| CA 2901396 A1, 28.08.2014. | |||
Авторы
Даты
2025-03-06—Публикация
2021-05-12—Подача