Изобретение относится к области измерительной техники, предназначенной для преобразования линейного ускорения, и может быть использовано для преобразования линейного ускорения в два частотных выходных сигнала.
В настоящее время существует потребность в повышении точности виброчастотных преобразователей ускорения и уменьшении влияния температуры окружающей среды на точность измерения. Предлагаемое устройство представляет собой двухкомпонентный виброчастотный преобразователь ускорения, позволяющий преобразовывать величину линейного ускорения в направлении оси чувствительности и, по сравнению с аналогами, обеспечивающий повышение точности и надежности измерения линейного ускорения за счет реализации в конструкции дифференциальной схемы измерения.
Известен датчик линейных ускорений [патент РФ на изобретение №2650715, МПК G01P 15/097, приор. 28.11.2016, опубл. 17.04.2018], содержащий систему компенсации фонового напряжения, состоящую из двух электромагнитов, основание и кожух, накрывающий часть основания и зафиксированный на нем, образовывая герметичный объем, внутри которого расположены элемент упругий, состоящий из опорного основания, зафиксированного на основании, инерционной массы, резонатора, соединенного с одной стороны с инерционной массой, и упругих подвесов, соединяющих инерционную массу с опорным основанием, система возбуждения и регистрации колебаний, содержащая электромагниты возбуждения и регистрации колебаний, между которыми расположен резонатор элемента упругого, и расположенная на основании.
Электромагниты системы компенсации фона выходного сигнала расположены с зазором напротив друг друга, один из них и электромагнит возбуждения колебаний подключены параллельно, а другой и электромагнит съема колебаний подключены последовательно.
Недостатком датчика является то, что он не обеспечивает устойчивость к изменению температуры внешней среды, что приводит к увеличению погрешности выходного сигнала частотного датчика при воздействии температуры.
Данное устройство принимается за прототип, как наиболее близкое по технической сущности к заявляемому изобретению.
Технический результат, на достижение которого направлено заявляемое изобретение, заключается в повышении точности преобразования ускорения при одновременном повышении устойчивости к изменению температуры внешней среды.
Указанный технический результат достигается тем, что двухкомпонентный виброчастотный преобразователь ускорения содержит систему компенсации фонового напряжения, состоящую из двух электромагнитов, основание и кожух, накрывающий нижнюю часть основания и зафиксированный на нем, образовывая герметичный объем, внутри которого расположены элемент упругий, состоящий из опорного основания, зафиксированного на основании, инерционной массы, резонатора, соединенного с одной стороны с инерционной массой, и упругих подвесов, соединяющих инерционную массу с опорным основанием, система возбуждения и регистрации колебаний, содержащая электромагниты возбуждения и регистрации колебаний, между которыми расположен резонатор элемента упругого, и расположенная на основании, согласно изобретению элемент упругий оснащен дополнительной инерционной массой, которая через упругие подвесы соединена с опорным основанием, при этом резонатор соединен с другой стороны с дополнительной инерционной массой, кроме того, преобразователь оснащен вторым элементом упругим, второй системой возбуждения и регистрации колебаний и второй системой компенсации фонового напряжения, каждый второй компонент идентичен первому, при этом второй элемент упругий и вторая система возбуждения и регистрации колебаний расположены с противоположной стороны основания, таким образом, что при ускорении вдоль оси чувствительности преобразователя резонатор элемента упругого сжимается под действием силы со стороны инерционной массы, а резонатор второго элемента упругого растягивался под действием силы со стороны инерционной массы.
Таким образом, содержание второго элементом упругим, второй системой возбуждения и регистрации колебаний и второй системой компенсации фонового напряжения, идентичных первым, расположение второго элемента упругого и второй системы возбуждения и регистрации колебаний на противоположной стороне основания, таким образом, что при ускорении вдоль оси чувствительности преобразователя резонатор элемента упругого сжимается под действием силы со стороны инерционной массы, а резонатор второго элемента упругого растягивался под действием силы со стороны инерционной массы, позволяет повысить точность преобразования ускорения при одновременном повышении устойчивости к изменению температуры внешней среды.
Кроме того, с целью упрощения компоновки и минимизации габаритных характеристик, системы компенсации фонового напряжения установлены вне герметичного объема, образованного кожухом и основанием.
Наличие в заявляемом изобретении признаков, отличающих его от прототипа, позволяет считать его соответствующим условию «новизна».
Новые признаки, которые содержит отличительная часть формулы изобретения, не выявлены в технических решениях аналогичного назначения, на этом основании можно сделать вывод о соответствии заявляемого изобретения условию «изобретательский уровень».
Техническое решение иллюстрируется чертежами:
на фиг.1 представлен продольный разрез двухкомпонентного виброчастотного преобразователя ускорения со стороны элемента упругого;
на фиг.2 - разрез А-А фиг.1;
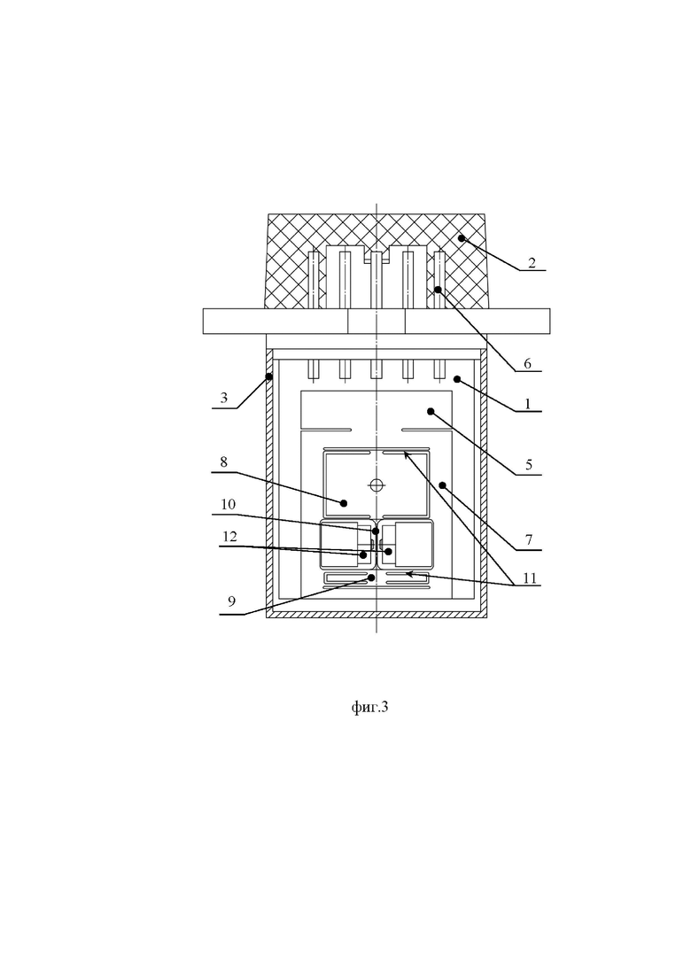
на фиг.3 - продольный разрез двухкомпонентного виброчастотного преобразователя ускорения со стороны второго элемента упругого.
Двухкомпонентный виброчастотный преобразователь ускорения содержит основание 1, крышку 2, кожух 3, первый и второй элемент упругий 4 и 5, первую и вторую системы возбуждения и регистрации колебаний, первую и вторую системы компенсации фонового напряжения.
Основание 1 оснащено отверстиями для крепления на объекте исследования (не показано). Также основание 1 оснащено отверстием для установки токовыводов 6.
Крышка 2 установлена на основании 1 и оснащена отверстиями, совпадающими с отверстием основания 1 для установки токовыводов 6. Каждый токовывод 6 герметично зафиксирован в отверстиях крышки 2.
Кожух 3 накрывает часть основания 1 и отверстие для токовыводов 6 и зафиксирован на нем, образовывая герметичный объем. Внутри герметичного объема расположены первый и второй элемент упругий 4 и 5, первая и вторая системы возбуждения и регистрации колебаний.
Первый и второй элементы упругие 4 и 5 идентичны и каждый из них содержит опорное основание 7, инерционную массу 8, дополнительную инерционную массу 9, резонатор 10 и упругие подвесы 11. Опорные основания 7 первого и второго элементов упругих 4 и 5 зафиксированы на противоположных сторонах основания 1, таким образом, что при ускорении вдоль оси чувствительности преобразователя резонатор 10 первого элемента упругого 4 сжимается под действием силы со стороны инерционной массы 8, а резонатор 10 второго элемента упругого 5 растягивался под действием силы со стороны инерционной массы 8. Тем самым реализуется дифференциальная схема преобразования ускорения. Резонатор 10 выполнен в виде струны, одним концом соединенной с инерционной массой 8, а другим - с дополнительной инерционной массой 9. Упругие подвесы 11 соединяют инерционную массу 8 и дополнительную инерционную массу 9 с опорным основанием 7.
Первая и вторая система возбуждения и регистрации колебаний идентичны и каждая из них состоит из электромагнитов возбуждения и регистрации колебаний 12, зафиксированных на основании 1 и расположенных друг напротив друга, так что в зазоре между ними расположены резонаторы 10 первого и второго элементов упругих 4 и 5 соответственно.
Первую и вторую системы компенсации фонового напряжения идентичны и каждая из них состоит двух электромагнитов 13, расположенных друг напротив друга вне герметичного объема на крышке 2.
Работает устройство следующим образом.
Двухкомпонентный виброчастотный преобразователь ускорения устанавливают на объект исследования (не показано) и фиксируют с помощью отверстий основания 1. На электромагнит возбуждения 12 подается переменное напряжение, создающее переменное магнитное поле, воздействующее на резонатор 10 и вызывающее его колебания. Колебание резонатора 10 приводит к изменению зазора между электромагнитом регистрации колебаний. Изменение зазора приведет к наведению ЭДС в катушке электромагнита регистрации колебаний 12, которая по амплитуде будет пропорциональна амплитуде колебаний резонатора 10, а по частоте будет равна частоте колебаний резонатора 10. При совпадении частоты питающего напряжения с собственной частотой колебаний резонатора 10 в системе возникает резонанс, который характеризуется резким, скачкообразным увеличением амплитуды колебаний резонатора 10 и, соответственно, значительным ростом ЭДС, наводимой в электромагните регистрации колебаний. Система возбуждения и регистрации колебаний второго упругого элемента 5 работает аналогичным образом на частоте отличной от первого упругого элемента 4.
Система компенсации фонового напряжения предназначена для подавления постоянной составляющей выходного сигнала на частотах, отличных от резонансных. Указанное подавление обеспечивается сложением сигнала переменного напряжения с электромагнита регистрации колебаний 12 и сигнала с электромагнита 13 системы компенсации фонового напряжения за счет их параллельного соединения. За счет последовательного соединения электромагнита возбуждения 12 и второго электромагнита 13 системы компенсации фонового напряжения происходит ее возбуждение.
При колебаниях резонатора 10 на частотах, близких к резонансу, происходит фазовый сдвиг сигнала, снимаемого с электромагнита регистрации колебаний 12, тем самым исключается его подавление системой компенсации.
При ускорении в направлении оси чувствительности преобразователя ускорения на инерционные массы 9 первого 4 и второго 5 элемента упругого действуют силы инерции, которые приводят к перемещению инерционной массы 9. В упругом элементе 4 перемещение инерционной массы 9 вызывает растяжение резонатора 10, во втором упругом элементе 5 - сжатие. Это воздействие приводит к изменению собственных частот колебаний резонаторов 10 в сторону увеличения частоты в упругом элементе 4 и уменьшения во втором 5. По разнице частот собственных колебаний резонаторов 10 судят о величине преобразуемого ускорения датчика.
Ввиду того, что первый 4 и второй 6 упругие элементы идентичны друг другу, они обладают одинаковыми (в первом приближении) температурными коэффициентами частоты. При вычитании собственных частот колебаний двух идентичных резонаторов 10 с одинаковыми температурными коэффициентами частоты они будут взаимокомпенсироваться.
Дифференциальная схема преобразования позволяет минимизировать температурную зависимость преобразователя за счет взаимокомпенсации температурных коэффициентов частоты струнных резонаторов первого и второго упругого элемента.
Таким образом, вышеизложенные сведения свидетельствуют о выполнении при использовании заявленного изобретения следующей совокупности условий:
• Средство, воплощающее заявленное изобретение при его осуществлении, относится к измерительной технике, предназначенной для преобразования линейного ускорения, и может быть использовано для преобразования линейного ускорения в два частотных выходных сигнала;
• Для заявленного устройства в том виде, как оно охарактеризовано в пункте формулы изобретения, подтверждена возможность его осуществления;
• Средство, воплощающее заявленное изобретение при осуществлении, способно обеспечить повышение точности преобразования ускорения при одновременном повышении устойчивости к изменению температуры внешней среды.
Следовательно, заявленное изобретение соответствует условию «промышленная применимость».
| название | год | авторы | номер документа |
|---|---|---|---|
| ЛИНЕЙНЫЙ АКСЕЛЕРОМЕТР | 2024 |
|
RU2837037C1 |
| ВИБРОЧАСТОТНЫЙ МИКРОМЕХАНИЧЕСКИЙ АКСЕЛЕРОМЕТР | 2010 |
|
RU2442992C1 |
| ВИБРОЧАСТОТНЫЙ МИКРОМЕХАНИЧЕСКИЙ АКСЕЛЕРОМЕТР | 2010 |
|
RU2434232C1 |
| ДАТЧИК ЛИНЕЙНЫХ УСКОРЕНИЙ | 2016 |
|
RU2650715C1 |
| ЧАСТОТНЫЙ ДАТЧИК ЛИНЕЙНЫХ УСКОРЕНИЙ | 2010 |
|
RU2436106C2 |
| СПОСОБ УМЕНЬШЕНИЯ ЧУВСТВИТЕЛЬНОСТИ ВИБРОЧАСТОТНОГО АКСЕЛЕРОМЕТРА К БОКОВОМУ УСКОРЕНИЮ | 2019 |
|
RU2718474C1 |
| ВИБРОЧАСТОТНЫЙ ДАТЧИК АБСОЛЮТНОГО ДАВЛЕНИЯ | 2017 |
|
RU2660621C1 |
| ЧАСТОТНЫЙ ДАТЧИК ЛИНЕЙНЫХ УСКОРЕНИЙ | 2019 |
|
RU2709706C1 |
| ЧАСТОТНЫЙ МИКРОМЕХАНИЧЕСКИЙ АКСЕЛЕРОМЕТР | 2007 |
|
RU2377575C2 |
| Микроэлектромеханический первичный преобразователь ускорения | 2017 |
|
RU2657351C1 |
Изобретение относится к области измерительной техники. Двухкомпонентный виброчастотный преобразователь ускорения содержит элемент упругий, оснащенный дополнительной инерционной массой, которая через упругие подвесы соединена с опорным основанием, при этом резонатор соединен с другой стороны с дополнительной инерционной массой, кроме того, преобразователь оснащен вторым элементом упругим, второй системой возбуждения и регистрации колебаний и второй системой компенсации фонового напряжения, каждый второй компонент идентичен первому, при этом второй элемент упругий и вторая система возбуждения и регистрации колебаний расположены с противоположной стороны основания, таким образом, что при ускорении вдоль оси чувствительности преобразователя резонатор элемента упругого сжимается под действием силы со стороны инерционной массы, а резонатор второго элемента упругого растягивался под действием силы со стороны инерционной массы. Технический результат - повышение точности преобразования ускорения при одновременном повышении устойчивости к изменению температуры внешней среды. 1 з.п. ф-лы, 3 ил.
1. Двухкомпонентный виброчастотный преобразователь ускорения, содержащий систему компенсации фонового напряжения, состоящую из двух электромагнитов, основание и кожух, накрывающий часть основания и зафиксированный на нем, образовывая герметичный объем, внутри которого расположены элемент упругий, состоящий из опорного основания, зафиксированного на основании, инерционной массы, резонатора, соединенного с одной стороны с инерционной массой, и упругих подвесов, соединяющих инерционную массу с опорным основанием, система возбуждения и регистрации колебаний, содержащая электромагниты возбуждения и регистрации колебаний, между которыми расположен резонатор элемента упругого, и расположенная на основании, отличающийся тем, что элемент упругий оснащен дополнительной инерционной массой, которая через упругие подвесы соединена с опорным основанием, при этом резонатор соединен с другой стороны с дополнительной инерционной массой, кроме того, преобразователь оснащен вторым элементом упругим, второй системой возбуждения и регистрации колебаний и второй системой компенсации фонового напряжения, каждый второй компонент идентичен первому, при этом второй элемент упругий и вторая система возбуждения и регистрации колебаний расположены с противоположной стороны основания, таким образом, что при ускорении вдоль оси чувствительности преобразователя резонатор элемента упругого сжимается под действием силы со стороны инерционной массы, а резонатор второго элемента упругого растягивался под действием силы со стороны инерционной массы.
2. Двухкомпонентный виброчастотный преобразователь ускорения по п.1, отличающийся тем, что системы компенсации фонового напряжения установлены вне герметичного объема, образованного кожухом и основанием.
| ДАТЧИК ЛИНЕЙНЫХ УСКОРЕНИЙ | 2016 |
|
RU2650715C1 |
| ЧАСТОТНЫЙ ДАТЧИК ЛИНЕЙНЫХ УСКОРЕНИЙ | 2019 |
|
RU2709706C1 |
| 0 |
|
SU402805A1 | |
| JP 2011033558 A, 17.02.2011. | |||
Авторы
Даты
2025-03-11—Публикация
2024-10-23—Подача